WO2020179880A1 - ガラス体 - Google Patents

ガラス体 Download PDF

Info

Publication number
WO2020179880A1
WO2020179880A1 PCT/JP2020/009499 JP2020009499W WO2020179880A1 WO 2020179880 A1 WO2020179880 A1 WO 2020179880A1 JP 2020009499 W JP2020009499 W JP 2020009499W WO 2020179880 A1 WO2020179880 A1 WO 2020179880A1
Authority
WO
WIPO (PCT)
Prior art keywords
glass body
body according
coating layer
region
glass
Prior art date
Legal status (The legal status is an assumption and is not a legal conclusion. Google has not performed a legal analysis and makes no representation as to the accuracy of the status listed.)
Ceased
Application number
PCT/JP2020/009499
Other languages
English (en)
French (fr)
Japanese (ja)
Inventor
藤野 一也
慶子 釣
多佳子 岩井
耕太郎 林
Current Assignee (The listed assignees may be inaccurate. Google has not performed a legal analysis and makes no representation or warranty as to the accuracy of the list.)
Nippon Sheet Glass Co Ltd
Original Assignee
Nippon Sheet Glass Co Ltd
Priority date (The priority date is an assumption and is not a legal conclusion. Google has not performed a legal analysis and makes no representation as to the accuracy of the date listed.)
Filing date
Publication date
Application filed by Nippon Sheet Glass Co Ltd filed Critical Nippon Sheet Glass Co Ltd
Priority to JP2021503653A priority Critical patent/JP7495391B2/ja
Publication of WO2020179880A1 publication Critical patent/WO2020179880A1/ja
Anticipated expiration legal-status Critical
Ceased legal-status Critical Current

Links

Images

Classifications

    • CCHEMISTRY; METALLURGY
    • C03GLASS; MINERAL OR SLAG WOOL
    • C03CCHEMICAL COMPOSITION OF GLASSES, GLAZES OR VITREOUS ENAMELS; SURFACE TREATMENT OF GLASS; SURFACE TREATMENT OF FIBRES OR FILAMENTS MADE FROM GLASS, MINERALS OR SLAGS; JOINING GLASS TO GLASS OR OTHER MATERIALS
    • C03C17/00Surface treatment of glass, not in the form of fibres or filaments, by coating
    • C03C17/34Surface treatment of glass, not in the form of fibres or filaments, by coating with at least two coatings having different compositions
    • GPHYSICS
    • G02OPTICS
    • G02FOPTICAL DEVICES OR ARRANGEMENTS FOR THE CONTROL OF LIGHT BY MODIFICATION OF THE OPTICAL PROPERTIES OF THE MEDIA OF THE ELEMENTS INVOLVED THEREIN; NON-LINEAR OPTICS; FREQUENCY-CHANGING OF LIGHT; OPTICAL LOGIC ELEMENTS; OPTICAL ANALOGUE/DIGITAL CONVERTERS
    • G02F1/00Devices or arrangements for the control of the intensity, colour, phase, polarisation or direction of light arriving from an independent light source, e.g. switching, gating or modulating; Non-linear optics
    • G02F1/01Devices or arrangements for the control of the intensity, colour, phase, polarisation or direction of light arriving from an independent light source, e.g. switching, gating or modulating; Non-linear optics for the control of the intensity, phase, polarisation or colour 
    • G02F1/13Devices or arrangements for the control of the intensity, colour, phase, polarisation or direction of light arriving from an independent light source, e.g. switching, gating or modulating; Non-linear optics for the control of the intensity, phase, polarisation or colour  based on liquid crystals, e.g. single liquid crystal display cells
    • G02F1/133Constructional arrangements; Operation of liquid crystal cells; Circuit arrangements
    • G02F1/1333Constructional arrangements; Manufacturing methods
    • G02F1/1335Structural association of cells with optical devices, e.g. polarisers or reflectors

Definitions

  • the present invention relates to a glass body and a display system using the glass body.
  • Patent Document 1 discloses a glass body called a so-called half mirror. This glass body is obtained by laminating a coating layer containing an inorganic oxide on a glass plate, and the visible light transmittance and the visible light reflectance are adjusted. That is, when the glass body is viewed from one side of the glass body, the image is reflected like a mirror, while the light from the image on the other side of the glass body is transmitted and this can be seen from one side.
  • the above half mirrors are used for various purposes, and their uses are expanding. For example, it is conceivable to use a half mirror and a sensor together, but since a coating layer is formed on the surface of the glass plate, for example, the light emitted from the sensor is hard to pass through, and the sensor on the opposite side of the glass body There was a problem that the environment could not be detected.
  • the present invention has been made to solve the above problems, and an object of the present invention is to provide a glass body and a display system that function as a half mirror and can be used with a detection device such as a sensor.
  • the first glass body according to the present invention has a first region having a visible light reflectance and a visible light transmittance of 20% or more, and a second region having a visible light transmittance higher than that of the first region. doing.
  • the visible light transmittance of the second region can be 60% or more.
  • the area of the second region can be 10,000 mm 2 or less.
  • the visible light transmittance of the first region can be made lower than the visible light reflectance of the first region.
  • a plurality of the second regions can be provided.
  • the second region can be formed in a rectangular shape.
  • a second glass body according to the present invention comprises a glass plate and a coating layer laminated on one surface side of the glass plate, the coating layer being formed of an inorganic oxide, Also has a high bending rate, and an exposed region where the glass plate is exposed is formed in the multilayer layer.
  • the coating layer can have a first layer having a refractive index of 1.6 or more.
  • the film thickness of the first layer can be 3 to 50 nm.
  • a second layer which is laminated on the first layer and has a lower refractive index than the first layer can be further provided.
  • the first layer can be configured to contain Si and the second layer can be configured to contain SiO2.
  • an underlayer can be formed between the glass plate and the coating layer.
  • the exposed region may be formed by a through hole or a notch, and the edge portion of the through hole or the notch may be formed to have unevenness.
  • a part of the inorganic oxide may be left in the exposed region.
  • the inner peripheral surface of the coating layer where the exposed region is formed can be inclined.
  • the surface roughness of the exposed region of the glass plate can be configured to be different from the surface roughness of the region other than the exposed region.
  • the resistance value in the second region can be 20 M ⁇ or more.
  • the resistance value in the exposed region can be 20 M ⁇ or more.
  • the first glass body can be further provided with a shielding layer laminated in the first region.
  • the first region can be arranged so as to surround the second region.
  • the second region can be made larger than the first region.
  • the shielding layer can have a CIE standard chromaticity a * of -10 to 50, a chromaticity b * of -10 to 50, and a chromaticity L * of 10 to 100.
  • a shielding layer laminated on a portion corresponding to the coating layer can be further provided on the other surface side of the glass plate.
  • the coating layer can be arranged so as to surround the exposed region.
  • the exposed region can be made larger than the coating layer.
  • the shielding layer can have a CIE standard chromaticity a * of -10 to 50, a chromaticity b * of -10 to 50, and a chromaticity L * of 10 to 100.
  • the display system according to the present invention includes any one of the above-mentioned glass bodies, a display device that is arranged on the glass plate side with the glass body sandwiched therebetween, and a display device that is arranged on the glass plate side with the glass body sandwiched.
  • the detection device is configured to detect the state of an object arranged on the coating layer side with the glass body interposed therebetween through the exposed region.
  • the size of the glass body can be 1 m 2 or more.
  • the first method for producing a glass plate according to the present invention comprises a first step of preparing a glass plate, and one surface of the glass plate having a higher refractive index than the glass plate, and an inorganic oxide.
  • the second step of laminating the formed coating layer and the reaction solution chemically reactive with the inorganic oxide are brought into contact with a part of the coating layer for a predetermined time to remove the portion. It includes a third step of forming an exposed region where the glass plate is exposed.
  • a step of arranging a mask member on the coating layer so that the portion is exposed can be further provided prior to the third step.
  • the mask member can include a base material and an adhesive material for fixing the base material to the coating layer, and at least the adhesive material is the reaction. It can be durable against the solution.
  • the impregnating material impregnated with the reaction solution in the third step, can be brought into contact with the portion.
  • the impregnating material can have breathability.
  • the reaction solution can be a solution containing at least potassium hydroxide.
  • the concentration of the potassium hydroxide in the reaction solution can be more than 10% and less than 50%.
  • a step of bringing hydrogen fluoride into contact with the portion can be further provided prior to the third step.
  • the 2nd manufacturing method of the glass plate which concerns on this invention WHEREIN The 1st step which prepares a glass plate, and the 1st surface of the said glass plate laminate
  • the output of the dot laser is 15 W or more, and dots can be formed at a period of 50 KHz or less.
  • the spot can be removed by moving the dot laser in the surface direction of the glass plate at a speed of 100 to 900 mm/s.
  • a detection device such as a sensor while functioning as a half mirror.
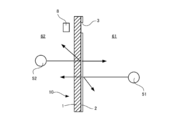
  • FIG. 1 is a cross-sectional view taken along the line AA of FIG. It is a top view which shows the example of the environment where the glass body of FIG. 1 is used. It is an enlarged sectional view of the glass body in which a through hole was formed by a solution. It is a top view which shows the example of the removal of a coating layer by a laser. It is a side view which shows the example of the environment where the glass body of FIG. 1 is used. It is a top view which shows another example of the glass body which concerns on this invention. It is sectional drawing which shows the example of the glass body which attached the mirror LCD. It is a rear view which looked at the glass body of FIG. 7 from the 2nd area side.
  • FIG. 1 is a plan view of a glass body
  • FIG. 2 is a sectional view taken along line AA of FIG. 1
  • FIG. 3 is a plan view of an environment in which the glass body is used.
  • the glass body 10 includes a glass plate 1 and a coating layer 2 laminated on one surface thereof.
  • the visible light transmittance and the visible light reflectance of the glass body 10 are adjusted by the coating layer 2, and the glass body 10 constitutes a so-called half mirror.
  • the first area 61 and the second area 62 are formed with the glass body 10 interposed therebetween, the light from the first image 51 arranged in the first area 61 is emitted. Since the light is reflected on the surface of the glass body 10, the first image 51 is projected on the glass body 10.
  • the glass plate 1 is not particularly limited, and a known glass plate can be used. For example, various glass plates such as float glass, heat ray absorbing glass, clear glass, green glass, UV green glass, and soda lime glass can be used.
  • the thickness of the glass plate 1 is not particularly limited, but is preferably 0.5 to 10 mm, more preferably 0.7 to 8 mm, for example. Since the thickness of the glass plate 1 affects the above-mentioned visible light transmittance and visible light reflectance, it can be appropriately changed according to the required reflectance and transmittance.
  • the coating layer 2 has a first layer 21 laminated on the glass plate 1 and a second layer 22 laminated on the first layer 21.
  • additional layers such as a third layer and a fourth layer can be provided.
  • the refractive index of the layer having the highest refractive index of the layers forming the coating layer 2 is, for example, preferably 1.6 or more, and more preferably 1.8 or more.
  • the refractive index of the other layers is lower than this, for example, preferably 1.6 or less, and more preferably 1.5 or less.
  • Each layer constituting the coating layer 2 can be formed of an inorganic metal oxide, for example, silicon (Si), silicon dioxide (SiO 2 ), tin oxide (SnO 2 ), titanium dioxide (TiO 2 ), SUS or From another suitable inorganic metal oxide, it is appropriately selected so as to satisfy the above-mentioned range of refractive index.
  • the refractive indexes of silicon, silicon dioxide, tin oxide, titanium dioxide, and SUS are about 4.4, about 1.5, about 1.9, about 2.6, and about 2.9, respectively.
  • the layer structure of the coating layer 2 is not particularly limited, but can be, for example, as follows. Further, in order to adjust the electrical resistance of each layer, additives can be appropriately doped.
  • SiO 2 can be provided as a base layer between the first layer 21 and the glass plate 1. Further, when SUS is used, the visible light absorption rate can be improved. When the visible light absorptance is improved, the total value of the visible light reflectance and the visible light transmittance is reduced, so that the visible light reflectance and the visible light transmittance are easily adjusted.
  • the film thickness of the coating layer 2 is preferably 3 to 50 nm, and more preferably 5 to 40 nm.
  • the film thickness of the coating layer 2 is less than 10 nm, it becomes difficult to control the film thickness and the productivity is deteriorated. On the other hand, if it exceeds 50 nm, the cost may increase, the surface irregularities may become noticeable, the haze rate may increase, and the appearance may not be good.
  • the film thickness of each layer constituting the coating layer 2 can be appropriately adjusted so that the film thickness of the coating layer 2 is within the above-mentioned range, and is not particularly limited.
  • the film thickness of silicon can be about 18 nm and the film thickness of silicon dioxide can be about 30 nm.
  • the film thickness of titanium dioxide in Examples 1 and 3 can be about 6 nm
  • the film thickness of SUS in Example 5 can be about 8 nm.
  • the visible light transmittance and visible light reflectance of the glass body 10 provided with the coating layer 2 are preferably 20% or more, more preferably 35% or more, and particularly preferably 40% or more. .. Since the visible light transmittance and the visible light reflectance are generally in a trade-off relationship, for example, it is preferable that the visible light transmittance and the visible light transmittance of the glass body 10 are the same values. However, either one of the visible light transmittance and the visible light reflectance can be increased, and it can be appropriately adjusted according to the required performance of the glass body. For example, the visible light reflectance can be adjusted to be higher than the visible light transmittance.
  • the visible light transmittance and the visible light reflectance of such a glass body 10 can be adjusted by changing the material and film thickness constituting the coating layer 2 and the material and thickness of the glass plate 1.
  • a* and b* can be adjusted by changing the material and the film thickness of the coating layer 2 and the material and the thickness of the glass plate 1, like the visible light transmittance and the visible light reflectance.
  • the distance from the origin at the values of a * and b * is 3.2 to 6.5, it is said to be "a range that can be treated as the same color at the impression level".
  • the reflection color difference level is equal to or lower than the transmission color difference level.
  • the optical characteristics of the coating layer of Example 4 are shown below.
  • the film thickness of the silicon of the first layer was 16 nm
  • the film thickness of silicon dioxide was 38 nm
  • the visible light transmittance and the visible light reflectance were measured by a spectrophotometer (U4100 manufactured by Hitachi, Ltd.).
  • L *, a *, b * were calculated based on JIS Z8781.
  • the light source was D65. The results are as follows.
  • the color difference a * and b * in reflection is 6.5 or less.
  • the color difference b * in transmission is large. Therefore, the color difference of reflection is smaller than the color difference of transmission.
  • the film forming method of the coating layer 2 is not particularly limited, and for example, a so-called physical vapor deposition method such as a sputtering method or a vacuum vapor deposition method, a spray method, or a chemical vapor deposition method (CVD method) can be adopted.
  • CVD method chemical vapor deposition method
  • the online CVD method in the float method glass manufacturing process, a material for a coating layer is supplied from a coater onto a glass ribbon having a temperature of 615 ° C. or higher on a molten tin bath, and the coating layer 2 is subjected to a thermal decomposition oxidation reaction. It is one of the chemical vapor deposition methods to be formed.
  • each layer of the coating layer 2 one material can be supplied from one coater, but when the film thickness of the layer is large, one layer is formed by two or more coaters. You can also. For example, in Example 4 above, when the film thickness of silicon is 18 nm and the film thickness of silicon dioxide is 30 nm, the first to third coaters are prepared, silicon is supplied by the first coater, and the second and third coaters are used.
  • the coating layer 2 can be formed by supplying silicon dioxide.
  • the above-mentioned SUS is formed by sputtering instead of CVD. Further, in order to form a thin material, it is preferable to use sputtering.
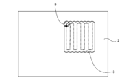
  • the through hole 3 formed in the coating layer 2 exposes the glass plate 1 and is provided so that the light of a detection device such as a sensor or a camera can pass through the glass body 10.
  • a detection device such as a sensor or a camera
  • the first area 61 can be photographed through the through hole 3, that is, through the glass plate 1. ..
  • the sensor can be arranged so that the light detected by the sensor passes through the through hole 3.
  • the through hole 3 is a region where the glass plate 1 is exposed so that the light incident on or emitted from the sensor or the camera is transmitted.
  • the portion where the through hole 3 is formed is the glass plate 1 itself, so that the visible light transmittance is 60% or more.
  • the visible light transmittance can be 70% or more, and further 80% or more.
  • the coating layer 2 needs to function as a half mirror as described above, it is preferable that the area of the through hole 3 be as small as possible, for example, 10000 mm 2 or less.
  • the solution is not particularly limited as long as it can remove the coating layer 2 mainly formed of the inorganic oxide, but can be, for example, a potassium hydroxide solution.
  • the concentration of potassium hydroxide in this solution can be, for example, more than 10% and less than 50%, and is preferably 25% or more and 40% or less. This is because if the concentration is 10% or less, it is difficult to react with the coating layer, and if the concentration is 50% or more, heat generation may occur.
  • the immersion time can be, for example, 3 to 20 hours.
  • sulfuric acid is suitable for removing the Ti layer of the coating layer 2
  • hydrochloric acid is suitable for removing the Sn layer.
  • Zn powder can be used as a catalyst.
  • the mask member is not particularly limited as long as it has durability against a solution, but may be provided with, for example, a sheet-shaped base material and an adhesive material applied to one surface of the base material. Then, the base material is fixed to the coating layer 2 by the adhesive material. Both the base material and the pressure-sensitive adhesive may be durable to the solution, but at least the pressure-sensitive adhesive may be durable.
  • the solution in addition to the method of immersing the glass body in the container in which the solution is stored, the solution can be dropped on the coating layer 2. However, in this case, the solution may evaporate. Therefore, the impregnating material impregnated with the solution can be brought into contact with the coating layer 2 exposed from the mask member.
  • the impregnating material can be formed of, for example, a breathable woven fabric, a non-woven fabric, or the like. However, the impregnating material is preferably breathable. This is because water or the like may be generated as bubbles in the process of the reaction between the solution and the coating layer.
  • bubbles When bubbles are generated, they may be released to the outside through the impregnating material, but if the bubbles are confined between the impregnating material and the coating layer, the removal of the coating layer 2 becomes insufficient. , There is a risk of unevenness.
  • the inner peripheral surface of the through hole 3 may be inclined so as to spread outward from the glass plate 1 as shown in FIG. 4, for example. .. Further, when the coating layer 2 is removed with a solution, the surface roughness of the exposed region on the glass plate 1 may be smaller than that of the unexposed region.
  • the through hole 3 can be formed by heating the coating layer 2 with a laser such as a YAG laser and removing a part of the coating layer 2.
  • a laser such as a YAG laser
  • the coating layer 2 is removed by irradiating the coating layer 2 with a laser 9 having a circular cross section and moving it in a direction orthogonal to the laser 9 while reciprocating it in the plane direction.
  • a rectangular through hole 3 can be formed.
  • a dot laser can be adopted.
  • the output of the laser can be, for example, 15 W or more, and the laser can be irradiated so as to form dots at a period of 50 KHz or less. Under such irradiation conditions, the through hole 3 can be reliably formed in the coating layer 2.
  • the moving speed of the dot laser in the plane direction can be, for example, 100 to 900 mm / s. If the moving speed is less than 100 mm / s, the influence of the laser on the coating layer 2 becomes strong, and the coating layer 2 around the through hole 3 may be deteriorated. In addition, the glass plate 1 may break.
  • the moving speed may be too fast and it may be difficult to form the through hole 2. That is, the output of the laser needs to be adjusted to such an extent that the coating layer 2 is heated and removed. Therefore, in order to prevent the glass plate 1 from cracking, for example, instead of completely removing the coating layer 2, it is possible to irradiate the laser so that a part of the coating layer 2 remains on the glass plate 1. ..
  • the resistance value of the exposed region (second region) on the glass plate 1 may be 20 M ⁇ or more.
  • the glass body configured as described above can be used in various ways, it can be used, for example, in a display system used in a sports gym or the like as described below.
  • the glass body 10 is installed on the floor, and the user 58 who performs a dance exercise is arranged in the first area 61 sandwiching the glass body 10.
  • a glass body having a visible light transmittance and a visible light reflectance adjusted to substantially the same level, for example, 30 to 40% is used.
  • a display device 7 such as a display is arranged in the second area 62 sandwiching the glass body 10.
  • the camera 8 is arranged at a position corresponding to the through hole 3.
  • the display device 7 displays an example dance video.
  • the dance video displayed on the display device 7 can be visually recognized by the user 58 in the first area 61 through the glass body 10.
  • the user 58 can see his / her own image reflected on the glass body 10. That is, you can see your own dance with the glass body 10 as a mirror. Therefore, the user 58 can confirm his / her own dance while watching the video of the example dance.
  • the visible light reflectance of the glass body 10 is adjusted to be higher than the visible light transmittance, the user can visually recognize his / her own dance more clearly. At this time, the image of the display device 7 looks a little unclear. However, if the distance between the display device 7 and the glass body 10 is shortened, the image of the display device 7 becomes clear.
  • the display device 7 and the glass body 10 can be integrally fixed, which not only makes the image clearer but also facilitates transportation.
  • the brightness of the image can be controlled by adjusting the light amount of the display device 7 and the transmission amount of the glass body 10.
  • the user's dance can be confirmed or evaluated after the fact.
  • the camera 8 and the display device 7 can be connected to each other to display the photographed evaluation of the dance on the display device 7 in real time. Further, for example, by inputting the output from the camera 8 into a position sensor system (not shown) and analyzing the image, the information of the camera 8 can be preferably provided to the user 58.
  • the glass body 10 according to the present embodiment has the coating layer 2 whose visible light reflectance and visible light transmittance are adjusted, it can be used as a half mirror. Further, since the through hole 3 from which a part of the coating layer 2 is removed is formed and the glass plate 1 is exposed, the through hole 3 (glass plate 1) on the opposite side is provided by a device such as a sensor or a camera. Various areas can be detected, photographed, and the like.
  • the glass body 10 since the glass body 10 is provided with the first region (portion other than the through hole) and the second region (portion of the through hole) having different optical characteristics, the glass body 10 has the first region. It is more compact than a display system that has only an area.
  • the shape and position of the through hole 3 are not particularly limited, and can be appropriately changed as needed. Further, since the position of the coating layer 2 may be removed and the glass plate 1 may be exposed, for example, the exposed region of the present invention may be formed by the notch 3 as shown in FIG. 7.
  • the shape of the glass plate 1 is not particularly limited, and various shapes are possible. Further, the coating layer 2 does not have to be formed over the entire surface of the glass plate 1, and may be formed in a required area on the glass plate 1. When the glass body is used in the above display system, the area of the glass body is preferably 1 m 2 or more.
  • the glass body 10 is formed by forming the coating layer 2 on the glass plate 1, but the glass body 10 is not limited to this, and the glass body has visible light transmittance and visible light reflectance. It just needs to be adjusted. That is, a first region used as a half mirror and a second region for transmitting light of a camera or the like are formed on the glass body, and the first region used as a half mirror has a visible light transmittance and a visible light reflectance. Both are adjusted to be 20% or more, preferably 35% or more, and more preferably 40% or more. On the other hand, since the second region transmits the light of the camera or the sensor, the visible light transmittance is higher than that of the first region, and can be particularly 60% or more.
  • a so-called mirror LCD 78 (for example, manufactured by Stanley Electric Co., Ltd.) can be provided on the glass body.
  • the mirror LCD 78 can be used as an LCD when the power is turned on, and can display various images and moving images on a display surface, for example.
  • the display surface functions as a mirror.
  • the through hole 3 is formed according to the size of the display surface of the mirror LCD 78. At this time, the size of the through hole 3 can be made larger than that of the covering layer 2 depending on the size of the mirror LCD 78.
  • a shielding layer 75 is laminated on the surface of the glass plate 1 on the second area 62 side so as to correspond to the region where the covering layer 2 is formed.
  • the shielding layer 75 can be formed by a paint such as a dark pigment such as black or navy blue so that the wiring of the mirror LCD 78 cannot be seen from the first area 61 side.
  • the thickness of the shielding layer 75 is not particularly limited, but may be 30 to 100 ⁇ m, for example.
  • the shielding layer 75 can be made to have a warm color instead of a dark color.
  • the color of the shielding layer 75 is -10 to 50 for chromaticity a *, -10 to 50 for chromaticity b *, and chromaticity L * in the L *, a *, b * color system (CIE standard).
  • CIE standard color system
  • the chromaticity a * is preferably 0 to 30, and more preferably 5 to 20.
  • the chromaticity b * is preferably 0 to 30, and more preferably 5 to 20.
  • the chromaticity L * is preferably 10 to 50, more preferably 10 to 30.
  • a coating layer is formed on the glass plate.
  • the coating layer is formed of two layers, the first layer is made of Si having a thickness of 24 nm, and the second layer is made of SiO 2 having a thickness of 30 nm.
  • the mask member is attached to expose the region forming the through hole in the coating layer. Then, this region is removed by a solution. In the following, the coating layer was removed under various conditions.
  • Solution contact method> Test 1 Two non-woven fabrics (Asahi Kasei Co., Ltd.) formed in the size of through-holes were used as an impregnating material, and the solution was dropped using a dropper.
  • the solution is a potassium hydroxide solution with a concentration of 25%. Since this impregnating material is made by stacking two non-woven fabrics, it has breathability. This impregnating material was placed on the coating layer and left in an environment of 20 ° C. for 17 hours. As a result, the coating layer was sufficiently removed and through holes were formed.
  • Test 2 The difference from Test 1 is the number of non-woven fabrics that make up the impregnating material. In Test 2, eight layers of non-woven fabric were used as the impregnating material, but the air permeability was not sufficient. This impregnating material was placed on the coating layer and left for 17 hours. As a result, air bubbles generated from the coating layer that reacted with the solution were confined between the impregnating material and the coating layer, so that the coating layer was not sufficiently removed and unevenness occurred.
  • Test 3 The difference from Test 1 was that the solution was directly dropped on the coating layer without using the impregnating material and left for 17 hours. As a result, the solution evaporated and the coating layer could hardly be removed.
  • the concentration of potassium hydroxide is preferably greater than 10%, preferably less than 50%, and preferably 25% or more and 40% or less.
  • the coating layer was removed by substantially the same method as in Test 1. However, instead of the potassium hydroxide solution, an aqueous solution of hydrogen fluoride (hydrofluoric acid) was used as test 9, and an aqueous solution of sodium hydroxide was used as test 10. In each case, the concentration was set to 25% and the coating layer was sufficiently removed when it was left in an environment of 40° C. for 24 hours.
  • Test 11 The coating layer was removed by substantially the same method as in Test 1. An impregnating material impregnated with an aqueous solution of hydrogen fluoride (hydrofluoric acid) having a concentration of 1% was used, and the mixture was left to stand in an environment of 20 ° C. for 10 minutes. Then, using an impregnating material impregnated with a potassium hydroxide aqueous solution having a concentration of 1%, the mixture was left at room temperature for 10 minutes. As a result, the coating layer could be sufficiently removed.
  • hydrogen fluoride hydrofluoric acid
  • a coating layer is formed on the glass plate.
  • the coating layer is formed of three layers, the first layer is made of Si having a thickness of 25 nm, the second layer is made of SiO 2 having a thickness of 25 nm, and the third layer is made of SiO 2 having a thickness of 340 nm.
  • the coating layer was removed by a laser device (MD-X1520 manufactured by KEYENCE CORPORATION) that irradiates a dot laser to form a through hole.
  • the coating layer was sufficiently removed under the conditions colored in gray.

Landscapes

  • Physics & Mathematics (AREA)
  • Chemical & Material Sciences (AREA)
  • Nonlinear Science (AREA)
  • Engineering & Computer Science (AREA)
  • Crystallography & Structural Chemistry (AREA)
  • General Physics & Mathematics (AREA)
  • Optics & Photonics (AREA)
  • Life Sciences & Earth Sciences (AREA)
  • Mathematical Physics (AREA)
  • Chemical Kinetics & Catalysis (AREA)
  • General Chemical & Material Sciences (AREA)
  • Geochemistry & Mineralogy (AREA)
  • Materials Engineering (AREA)
  • Organic Chemistry (AREA)
  • Surface Treatment Of Glass (AREA)
  • Liquid Crystal (AREA)
PCT/JP2020/009499 2019-03-06 2020-03-05 ガラス体 Ceased WO2020179880A1 (ja)

Priority Applications (1)

Application Number Priority Date Filing Date Title
JP2021503653A JP7495391B2 (ja) 2019-03-06 2020-03-05 ガラス体

Applications Claiming Priority (2)

Application Number Priority Date Filing Date Title
JP2019041041 2019-03-06
JP2019-041041 2019-03-06

Publications (1)

Publication Number Publication Date
WO2020179880A1 true WO2020179880A1 (ja) 2020-09-10

Family

ID=72338195

Family Applications (1)

Application Number Title Priority Date Filing Date
PCT/JP2020/009499 Ceased WO2020179880A1 (ja) 2019-03-06 2020-03-05 ガラス体

Country Status (2)

Country Link
JP (1) JP7495391B2 (enExample)
WO (1) WO2020179880A1 (enExample)

Citations (9)

* Cited by examiner, † Cited by third party
Publication number Priority date Publication date Assignee Title
JPS5244827A (en) * 1975-10-07 1977-04-08 Matsushita Electric Industrial Co Ltd Method of producing diffusing plate for optical use
JPS57205341A (en) * 1981-06-15 1982-12-16 Seiko Epson Corp Formation of glass photomask
JPS638238A (ja) * 1986-06-25 1988-01-14 Tokai Rika Co Ltd 表示部を備えた鏡の製造方法
JPS6424051A (en) * 1987-07-16 1989-01-26 Meisho Koki Kk Sheet glass having transparency pattern and its production
JPH03125025U (enExample) * 1990-03-27 1991-12-18
JPH08184706A (ja) * 1994-12-28 1996-07-16 Sony Corp 光学素子の製造方法及び光学素子
JP2003034554A (ja) * 2001-05-11 2003-02-07 Nippon Sheet Glass Co Ltd 光学機器の設けられた車両用曲げガラス板
JP2003313052A (ja) * 2001-08-06 2003-11-06 Nippon Sheet Glass Co Ltd Hud用コンバイナー付き車両用ガラス板、およびその製造方法
JP2016224077A (ja) * 2015-05-26 2016-12-28 日本精機株式会社 ヘッドアップディスプレイ装置

Family Cites Families (3)

* Cited by examiner, † Cited by third party
Publication number Priority date Publication date Assignee Title
JPH05116988A (ja) * 1991-04-16 1993-05-14 Nippon Soda Co Ltd ハーフミラー用複合酸化物薄膜
KR102058456B1 (ko) 2015-08-31 2019-12-23 삼성전자주식회사 디스플레이 장치 및 이를 포함하는 가전기기
JP2019015884A (ja) 2017-07-07 2019-01-31 フクビ化学工業株式会社 ハーフミラー及びミラーディスプレイ

Patent Citations (9)

* Cited by examiner, † Cited by third party
Publication number Priority date Publication date Assignee Title
JPS5244827A (en) * 1975-10-07 1977-04-08 Matsushita Electric Industrial Co Ltd Method of producing diffusing plate for optical use
JPS57205341A (en) * 1981-06-15 1982-12-16 Seiko Epson Corp Formation of glass photomask
JPS638238A (ja) * 1986-06-25 1988-01-14 Tokai Rika Co Ltd 表示部を備えた鏡の製造方法
JPS6424051A (en) * 1987-07-16 1989-01-26 Meisho Koki Kk Sheet glass having transparency pattern and its production
JPH03125025U (enExample) * 1990-03-27 1991-12-18
JPH08184706A (ja) * 1994-12-28 1996-07-16 Sony Corp 光学素子の製造方法及び光学素子
JP2003034554A (ja) * 2001-05-11 2003-02-07 Nippon Sheet Glass Co Ltd 光学機器の設けられた車両用曲げガラス板
JP2003313052A (ja) * 2001-08-06 2003-11-06 Nippon Sheet Glass Co Ltd Hud用コンバイナー付き車両用ガラス板、およびその製造方法
JP2016224077A (ja) * 2015-05-26 2016-12-28 日本精機株式会社 ヘッドアップディスプレイ装置

Also Published As

Publication number Publication date
JPWO2020179880A1 (enExample) 2020-09-10
JP7495391B2 (ja) 2024-06-04

Similar Documents

Publication Publication Date Title
JP6242902B2 (ja) 太陽エネルギーシステムに適した着色反射および高日射透過率を有する積層グレージング(laminatedglazing)
US9573842B2 (en) Transparent glass substrate having antiglare surface
JP5275442B2 (ja) 発熱体およびその製造方法
EA031346B1 (ru) Прозрачный многослойный элемент
CN115250617A (zh) 具有复合玻璃板和p偏振辐射的投影装置
JP6872005B2 (ja) コレステリック液晶層を有する透明スクリーン、および透明スクリーンシステム
US20190285934A1 (en) Transparent substrate having light blocking region and display device
CN109073803A (zh) 光学体、窗材料及卷帘
CN102165334A (zh) 显示器用过滤器
TWI278657B (en) A mold for manufacturing a microlens substrate, a method of manufacturing microlens substrate, a microlens substrate, a transmission screen, and a rear projection
US20060077549A1 (en) Anti-fog mirror
JP2023121772A (ja) 機能層付き基体およびその製造方法
JP7188650B2 (ja) 反射防止膜付透明基体および画像表示装置
KR20180132704A (ko) 광학체 및 유리재
WO2020179880A1 (ja) ガラス体
JP2008538451A (ja) 細い導電線を有する光学コーティング
US11320730B2 (en) Dark-coloured or black projection screen
KR101613085B1 (ko) 양면 난반사 유리스크린 겸용 칠판 및 그 제조방법
US20030035939A1 (en) Windowpane for head up display and method for manufacturing the same
JP2008039960A (ja) 積層フィルム
JP2020126162A (ja) 画像表示用導光板
US20230339043A1 (en) Glass articles comprising selectively patterned opaque layers for light sensors and display systems comprising the same
TWI296335B (en) Optical element with an opaque chrome coating having an aperture and method of making same
US20130020461A1 (en) Rearview mirror with monitor
CN208110566U (zh) 一种具有半透效果的盖板

Legal Events

Date Code Title Description
121 Ep: the epo has been informed by wipo that ep was designated in this application

Ref document number: 20766746

Country of ref document: EP

Kind code of ref document: A1

ENP Entry into the national phase

Ref document number: 2021503653

Country of ref document: JP

Kind code of ref document: A

NENP Non-entry into the national phase

Ref country code: DE

122 Ep: pct application non-entry in european phase

Ref document number: 20766746

Country of ref document: EP

Kind code of ref document: A1