WO2020178660A1 - 発光デバイス - Google Patents

発光デバイス Download PDF

Info

Publication number
WO2020178660A1
WO2020178660A1 PCT/IB2020/051515 IB2020051515W WO2020178660A1 WO 2020178660 A1 WO2020178660 A1 WO 2020178660A1 IB 2020051515 W IB2020051515 W IB 2020051515W WO 2020178660 A1 WO2020178660 A1 WO 2020178660A1
Authority
WO
WIPO (PCT)
Prior art keywords
light emitting
light
layer
electrode
emitting device
Prior art date
Legal status (The legal status is an assumption and is not a legal conclusion. Google has not performed a legal analysis and makes no representation as to the accuracy of the status listed.)
Ceased
Application number
PCT/IB2020/051515
Other languages
English (en)
French (fr)
Japanese (ja)
Inventor
渡部剛吉
植田藍莉
大澤信晴
瀬尾哲史
Current Assignee (The listed assignees may be inaccurate. Google has not performed a legal analysis and makes no representation or warranty as to the accuracy of the list.)
Semiconductor Energy Laboratory Co Ltd
Original Assignee
Semiconductor Energy Laboratory Co Ltd
Priority date (The priority date is an assumption and is not a legal conclusion. Google has not performed a legal analysis and makes no representation as to the accuracy of the date listed.)
Filing date
Publication date
Application filed by Semiconductor Energy Laboratory Co Ltd filed Critical Semiconductor Energy Laboratory Co Ltd
Priority to CN202080017703.9A priority Critical patent/CN113519205A/zh
Priority to KR1020217030657A priority patent/KR20210132141A/ko
Priority to US17/435,452 priority patent/US11903232B2/en
Priority to JP2021503230A priority patent/JP7450599B2/ja
Publication of WO2020178660A1 publication Critical patent/WO2020178660A1/ja
Anticipated expiration legal-status Critical
Priority to US18/436,886 priority patent/US12302688B2/en
Priority to JP2024032858A priority patent/JP7752713B2/ja
Priority to US19/203,823 priority patent/US20250268018A1/en
Ceased legal-status Critical Current

Links

Images

Classifications

    • HELECTRICITY
    • H10SEMICONDUCTOR DEVICES; ELECTRIC SOLID-STATE DEVICES NOT OTHERWISE PROVIDED FOR
    • H10KORGANIC ELECTRIC SOLID-STATE DEVICES
    • H10K30/00Organic devices sensitive to infrared radiation, light, electromagnetic radiation of shorter wavelength or corpuscular radiation
    • H10K30/80Constructional details
    • H10K30/865Intermediate layers comprising a mixture of materials of the adjoining active layers
    • HELECTRICITY
    • H10SEMICONDUCTOR DEVICES; ELECTRIC SOLID-STATE DEVICES NOT OTHERWISE PROVIDED FOR
    • H10KORGANIC ELECTRIC SOLID-STATE DEVICES
    • H10K50/00Organic light-emitting devices
    • H10K50/10OLEDs or polymer light-emitting diodes [PLED]
    • H10K50/19Tandem OLEDs
    • HELECTRICITY
    • H05ELECTRIC TECHNIQUES NOT OTHERWISE PROVIDED FOR
    • H05BELECTRIC HEATING; ELECTRIC LIGHT SOURCES NOT OTHERWISE PROVIDED FOR; CIRCUIT ARRANGEMENTS FOR ELECTRIC LIGHT SOURCES, IN GENERAL
    • H05B33/00Electroluminescent light sources
    • H05B33/12Light sources with substantially two-dimensional radiating surfaces
    • HELECTRICITY
    • H05ELECTRIC TECHNIQUES NOT OTHERWISE PROVIDED FOR
    • H05BELECTRIC HEATING; ELECTRIC LIGHT SOURCES NOT OTHERWISE PROVIDED FOR; CIRCUIT ARRANGEMENTS FOR ELECTRIC LIGHT SOURCES, IN GENERAL
    • H05B33/00Electroluminescent light sources
    • H05B33/12Light sources with substantially two-dimensional radiating surfaces
    • H05B33/22Light sources with substantially two-dimensional radiating surfaces characterised by the chemical or physical composition or the arrangement of auxiliary dielectric or reflective layers
    • H05B33/24Light sources with substantially two-dimensional radiating surfaces characterised by the chemical or physical composition or the arrangement of auxiliary dielectric or reflective layers of metallic reflective layers
    • HELECTRICITY
    • H05ELECTRIC TECHNIQUES NOT OTHERWISE PROVIDED FOR
    • H05BELECTRIC HEATING; ELECTRIC LIGHT SOURCES NOT OTHERWISE PROVIDED FOR; CIRCUIT ARRANGEMENTS FOR ELECTRIC LIGHT SOURCES, IN GENERAL
    • H05B33/00Electroluminescent light sources
    • H05B33/12Light sources with substantially two-dimensional radiating surfaces
    • H05B33/26Light sources with substantially two-dimensional radiating surfaces characterised by the composition or arrangement of the conductive material used as an electrode
    • HELECTRICITY
    • H05ELECTRIC TECHNIQUES NOT OTHERWISE PROVIDED FOR
    • H05BELECTRIC HEATING; ELECTRIC LIGHT SOURCES NOT OTHERWISE PROVIDED FOR; CIRCUIT ARRANGEMENTS FOR ELECTRIC LIGHT SOURCES, IN GENERAL
    • H05B33/00Electroluminescent light sources
    • H05B33/12Light sources with substantially two-dimensional radiating surfaces
    • H05B33/26Light sources with substantially two-dimensional radiating surfaces characterised by the composition or arrangement of the conductive material used as an electrode
    • H05B33/28Light sources with substantially two-dimensional radiating surfaces characterised by the composition or arrangement of the conductive material used as an electrode of translucent electrodes
    • HELECTRICITY
    • H10SEMICONDUCTOR DEVICES; ELECTRIC SOLID-STATE DEVICES NOT OTHERWISE PROVIDED FOR
    • H10KORGANIC ELECTRIC SOLID-STATE DEVICES
    • H10K50/00Organic light-emitting devices
    • H10K50/10OLEDs or polymer light-emitting diodes [PLED]
    • HELECTRICITY
    • H10SEMICONDUCTOR DEVICES; ELECTRIC SOLID-STATE DEVICES NOT OTHERWISE PROVIDED FOR
    • H10KORGANIC ELECTRIC SOLID-STATE DEVICES
    • H10K50/00Organic light-emitting devices
    • H10K50/10OLEDs or polymer light-emitting diodes [PLED]
    • H10K50/11OLEDs or polymer light-emitting diodes [PLED] characterised by the electroluminescent [EL] layers
    • HELECTRICITY
    • H10SEMICONDUCTOR DEVICES; ELECTRIC SOLID-STATE DEVICES NOT OTHERWISE PROVIDED FOR
    • H10KORGANIC ELECTRIC SOLID-STATE DEVICES
    • H10K50/00Organic light-emitting devices
    • H10K50/10OLEDs or polymer light-emitting diodes [PLED]
    • H10K50/11OLEDs or polymer light-emitting diodes [PLED] characterised by the electroluminescent [EL] layers
    • H10K50/125OLEDs or polymer light-emitting diodes [PLED] characterised by the electroluminescent [EL] layers specially adapted for multicolour light emission, e.g. for emitting white light
    • H10K50/13OLEDs or polymer light-emitting diodes [PLED] characterised by the electroluminescent [EL] layers specially adapted for multicolour light emission, e.g. for emitting white light comprising stacked EL layers within one EL unit
    • HELECTRICITY
    • H10SEMICONDUCTOR DEVICES; ELECTRIC SOLID-STATE DEVICES NOT OTHERWISE PROVIDED FOR
    • H10KORGANIC ELECTRIC SOLID-STATE DEVICES
    • H10K50/00Organic light-emitting devices
    • H10K50/80Constructional details
    • H10K50/85Arrangements for extracting light from the devices
    • H10K50/852Arrangements for extracting light from the devices comprising a resonant cavity structure, e.g. Bragg reflector pair
    • HELECTRICITY
    • H10SEMICONDUCTOR DEVICES; ELECTRIC SOLID-STATE DEVICES NOT OTHERWISE PROVIDED FOR
    • H10KORGANIC ELECTRIC SOLID-STATE DEVICES
    • H10K59/00Integrated devices, or assemblies of multiple devices, comprising at least one organic light-emitting element covered by group H10K50/00
    • H10K59/10OLED displays
    • H10K59/12Active-matrix OLED [AMOLED] displays
    • H10K59/131Interconnections, e.g. wiring lines or terminals
    • HELECTRICITY
    • H10SEMICONDUCTOR DEVICES; ELECTRIC SOLID-STATE DEVICES NOT OTHERWISE PROVIDED FOR
    • H10KORGANIC ELECTRIC SOLID-STATE DEVICES
    • H10K59/00Integrated devices, or assemblies of multiple devices, comprising at least one organic light-emitting element covered by group H10K50/00
    • H10K59/30Devices specially adapted for multicolour light emission
    • H10K59/32Stacked devices having two or more layers, each emitting at different wavelengths
    • HELECTRICITY
    • H10SEMICONDUCTOR DEVICES; ELECTRIC SOLID-STATE DEVICES NOT OTHERWISE PROVIDED FOR
    • H10KORGANIC ELECTRIC SOLID-STATE DEVICES
    • H10K85/00Organic materials used in the body or electrodes of devices covered by this subclass
    • H10K85/30Coordination compounds
    • H10K85/341Transition metal complexes, e.g. Ru(II)polypyridine complexes
    • H10K85/342Transition metal complexes, e.g. Ru(II)polypyridine complexes comprising iridium
    • GPHYSICS
    • G06COMPUTING OR CALCULATING; COUNTING
    • G06VIMAGE OR VIDEO RECOGNITION OR UNDERSTANDING
    • G06V40/00Recognition of biometric, human-related or animal-related patterns in image or video data
    • G06V40/10Human or animal bodies, e.g. vehicle occupants or pedestrians; Body parts, e.g. hands
    • G06V40/12Fingerprints or palmprints
    • G06V40/13Sensors therefor
    • G06V40/1318Sensors therefor using electro-optical elements or layers, e.g. electroluminescent sensing
    • HELECTRICITY
    • H10SEMICONDUCTOR DEVICES; ELECTRIC SOLID-STATE DEVICES NOT OTHERWISE PROVIDED FOR
    • H10KORGANIC ELECTRIC SOLID-STATE DEVICES
    • H10K2102/00Constructional details relating to the organic devices covered by this subclass
    • H10K2102/301Details of OLEDs
    • H10K2102/351Thickness
    • HELECTRICITY
    • H10SEMICONDUCTOR DEVICES; ELECTRIC SOLID-STATE DEVICES NOT OTHERWISE PROVIDED FOR
    • H10KORGANIC ELECTRIC SOLID-STATE DEVICES
    • H10K50/00Organic light-emitting devices
    • H10K50/80Constructional details
    • H10K50/805Electrodes
    • H10K50/81Anodes
    • H10K50/818Reflective anodes, e.g. ITO combined with thick metallic layers
    • HELECTRICITY
    • H10SEMICONDUCTOR DEVICES; ELECTRIC SOLID-STATE DEVICES NOT OTHERWISE PROVIDED FOR
    • H10KORGANIC ELECTRIC SOLID-STATE DEVICES
    • H10K50/00Organic light-emitting devices
    • H10K50/80Constructional details
    • H10K50/805Electrodes
    • H10K50/82Cathodes
    • H10K50/828Transparent cathodes, e.g. comprising thin metal layers
    • HELECTRICITY
    • H10SEMICONDUCTOR DEVICES; ELECTRIC SOLID-STATE DEVICES NOT OTHERWISE PROVIDED FOR
    • H10KORGANIC ELECTRIC SOLID-STATE DEVICES
    • H10K71/00Manufacture or treatment specially adapted for the organic devices covered by this subclass

Definitions

  • One embodiment of the present invention relates to a light emitting device, a light emitting device, a light emitting module, an electronic device, or a lighting device.
  • one embodiment of the present invention is not limited to the above technical field.
  • the technical field of one aspect of the invention disclosed in the present specification and the like relates to a product, a method, or a manufacturing method.
  • one embodiment of the present invention relates to a process, a machine, a manufacture, or a composition (composition of matter). Therefore, as a technical field of one embodiment of the present invention disclosed more specifically in this specification, a semiconductor device, a display device, a light-emitting device, a power storage device, a memory device, a driving method thereof, or a manufacturing method thereof, Can be mentioned as an example.
  • a light emitting device also referred to as an organic EL device or an organic EL element
  • EL Electro Luminescence
  • the basic structure of an organic EL device is such that a layer containing a light emitting organic compound (hereinafter, also referred to as a light emitting layer) is sandwiched between a pair of electrodes. By applying a voltage to this organic EL device, light emission from the light-emitting organic compound can be obtained.
  • Examples of the light-emitting organic compound include a compound capable of converting a triplet excited state into light emission (also referred to as a phosphorescent compound or a phosphorescent material).
  • Patent Document 1 discloses an organometallic complex having iridium or the like as a central metal as a phosphorescent material.
  • Image sensors are also used in various applications such as personal authentication, failure analysis, medical diagnosis, and security.
  • the wavelength of the light source used is properly used according to the application.
  • Image sensors use light of various wavelengths such as visible light, short-wavelength light such as X-rays, and long-wavelength light such as near-infrared light.
  • the light emitting device is also considered to be applied as a light source of the above image sensor.
  • One aspect of the present invention is to provide a novel light emitting device having excellent convenience or reliability. Another object is to provide a novel light emitting device or a novel semiconductor device.
  • One embodiment of the present invention includes an intermediate layer, a first light emitting unit, and a second light emitting unit.
  • the intermediate layer includes a region sandwiched between the first light emitting unit and the second light emitting unit, and the intermediate layer supplies electrons to one of the first light emitting unit and the second light emitting unit and supplies holes to the other. It has a function to supply.
  • the first light emitting unit includes a first light emitting layer, and the first light emitting layer contains a first light emitting material.
  • the second light emitting unit includes a second light emitting layer, and the second light emitting layer contains a second light emitting material.
  • the second light emitting layer has a first distance D1 from the first light emitting layer.
  • the first distance D1 is 5 nm or more and 65 nm or less.
  • an intermediate layer a first light-emitting unit, a second light-emitting unit, a first electrode, a second electrode, and a function of emitting light are provided.
  • the intermediate layer has a function of supplying electrons to one of the first light emitting unit and the second light emitting unit and supplying holes to the other.
  • the first light emitting unit comprises a region sandwiched between a first electrode and an intermediate layer, the first light emitting unit comprises a first light emitting layer, and the first light emitting layer comprises a first light emitting material. ..
  • the second light emitting unit includes a region sandwiched between the intermediate layer and the second electrode, the second light emitting unit includes the second light emitting layer, and the second light emitting layer includes the second light emitting material.
  • the emitted light has a spectrum having a maximum at the first wavelength EL1.
  • the first electrode has a higher reflectance than the second electrode at the first wavelength EL1.
  • the second electrode has a higher transmittance at the first wavelength EL1 than the first electrode, and the second electrode partially transmits and reflects the other portion at the first wavelength EL1. ..
  • the second electrode has a second distance D2 from the first electrode.
  • the second distance D2 when multiplied by 1.8, is included in the range of 0.3 times or more and 0.6 times or less of the wavelength EL1.
  • an intermediate layer a first light emitting unit, a second light emitting unit, a first electrode, a second electrode, a reflective film, and a light are provided. It has a function of ejecting.
  • the intermediate layer has a function of supplying electrons to one of the first light emitting unit and the second light emitting unit and supplying holes to the other.
  • the first light emitting unit comprises a region sandwiched between a first electrode and an intermediate layer, the first light emitting unit comprises a first light emitting layer, and the first light emitting layer comprises a first light emitting material. ..
  • the second light emitting unit includes a region sandwiched between the intermediate layer and the second electrode, the second light emitting unit includes the second light emitting layer, and the second light emitting layer includes the second light emitting material.
  • the emitted light has a spectrum with a maximum at the first wavelength.
  • the reflective film has a higher reflectance than the second electrode at the first wavelength.
  • the first electrode includes a region sandwiched between the first light emitting unit and the reflective film, and the first electrode has a higher transmittance than the second electrode at the first wavelength.
  • the second electrode partially transmits and reflects the other portion at the first wavelength.
  • the second electrode has a second distance from the reflective film, When multiplied by 1.8, the second distance is included in the range of 0.3 times or more and 0.6 times or less of the first wavelength.
  • the optical design for efficiently extracting light becomes easy.
  • light can be extracted efficiently.
  • the full width at half maximum of the spectrum of the emitted light can be narrowed.
  • a microresonator structure can be constructed.
  • one embodiment of the present invention is the above-described light-emitting device, in which the second light-emitting layer has the first distance D1 from the first light-emitting layer.
  • the first distance D1 has the relationship shown in the formula (i) with the first wavelength EL1.
  • the plurality of regions that emit light can be brought close to each other.
  • the optical design becomes easier.
  • the degree of freedom in optical design is increased.
  • the optical design for efficiently extracting light becomes easy.
  • light can be extracted efficiently.
  • One embodiment of the present invention is the above light-emitting device, in which the first light-emitting material has a first emission spectrum having a maximum at the second wavelength PL1 in a solution.
  • the second luminescent material has a second emission spectrum having a maximum at the third wavelength PL2 in the solution.
  • the first wavelength EL1 has a difference of 100 nm or less with the second wavelength PL1, and the first wavelength EL1 has a difference of 100 nm or less with the third wavelength PL2.
  • the luminous efficiency of the light emitting device can be improved.
  • light can be extracted efficiently.
  • one embodiment of the present invention is the above light-emitting device in which the second light-emitting layer contains the first light-emitting material.
  • the luminous efficiency of the light emitting device can be improved.
  • high brightness can be obtained.
  • the intermediate layer has a third distance D31 between the first light emitting layer and a fourth distance D32 between the second light emitting layer and the second light emitting layer. It is a light emitting device.
  • the third distance D31 is 5 nm or more, and the fourth distance D32 is 5 nm or more.
  • the light emitting layer can be separated from the intermediate layer.
  • the light emission efficiency of the light emitting device can be increased. As a result, it is possible to provide a novel light emitting device that is highly convenient or reliable.
  • an EL layer refers to a layer provided between a pair of electrodes of a light-emitting device. Therefore, the light-emitting layer containing an organic compound which is a light-emitting material sandwiched between the electrodes is one mode of the EL layer.
  • the substance A when the substance A is dispersed in a matrix composed of another substance B, the substance B forming the matrix is called a host material, and the substance A dispersed in the matrix is called a guest material. To do.
  • the substance A and the substance B may each be a single substance or a mixture of two or more types of substances.
  • a light-emitting device refers to an image display device or a light source (including a lighting device).
  • a connector such as an FPC (Flexible printed circuit) or TCP (Tape Carrier Package) is attached to the light emitting device, a module in which a printed wiring board is provided in front of the TCP, or a COG on the substrate on which the light emitting device is formed. All modules in which ICs (integrated circuits) are directly mounted by the (Chip On Glass) method are included in the light emitting device.
  • a novel light-emitting device which is highly convenient or reliable can be provided.
  • a novel light emitting device or a novel semiconductor device can be provided.
  • FIG. 1A and FIG. 1B are views for explaining the configuration of the light emitting device according to the embodiment.
  • FIG. 2 is a diagram illustrating a configuration of the light emitting device according to the embodiment.
  • 3A to 3C are diagrams illustrating the configuration of the light emitting device according to the embodiment.
  • 4A and 4B are diagrams illustrating a configuration of the light emitting device according to the embodiment.
  • 5A to 5E are diagrams illustrating the configuration of the electronic device according to the embodiment.
  • FIG. 6 is a diagram illustrating the configuration of the light emitting device according to the embodiment.
  • 7A and 7B are diagrams illustrating the configuration of the light emitting device according to the embodiment.
  • FIG. 8 is a diagram showing the current density-radiation emittance characteristics of the light emitting device 1.
  • FIG. 1A and FIG. 1B are views for explaining the configuration of the light emitting device according to the embodiment.
  • FIG. 2 is a diagram illustrating a configuration of the light emitting device according to the embodiment.
  • FIG. 9 is a diagram showing voltage-current density characteristics of the light emitting device 1.
  • FIG. 10 is a diagram showing current density-radiant flux characteristics of the light emitting device 1.
  • FIG. 11 is a diagram showing the voltage-radiation emittance characteristic of the light emitting device 1.
  • FIG. 12 is a diagram showing current density-external quantum efficiency characteristics of the light emitting device 1.
  • FIG. 13 is a diagram showing an emission spectrum of the light emitting device 1.
  • FIG. 14 is a diagram showing a current density-radiation emittance characteristic of the light emitting device 2.
  • FIG. 15 is a diagram showing voltage-current density characteristics of the light emitting device 2.
  • FIG. 16 is a diagram showing current density-radiant flux characteristics of the light emitting device 2.
  • FIG. 17 is a diagram showing the voltage-radiation emittance characteristic of the light emitting device 2.
  • FIG. 18 is a diagram showing current density-external quantum efficiency characteristics of the light emitting device 2.
  • FIG. 19 is a diagram showing an emission spectrum of the light emitting device 2.
  • FIG. 20 is a diagram showing the current density-radiant emittance characteristic of the light emitting device 3.
  • FIG. 21 is a diagram showing voltage-current density characteristics of the light emitting device 3.
  • FIG. 22 is a diagram showing current density-radiant flux characteristics of the light emitting device 3.
  • FIG. 23 is a diagram showing the voltage-radiation emittance characteristic of the light emitting device 3.
  • FIG. 24 is a diagram showing current density-external quantum efficiency characteristics of the light emitting device 3.
  • FIG. 25 is a diagram showing an emission spectrum of the light emitting device 3.
  • FIG. 26 is a diagram illustrating the configuration of the light emitting device according to the example.
  • FIG. 27 is a diagram for explaining calculation results of the light emitting device according to the example.
  • FIG. 28 shows an ultraviolet/visible absorption spectrum and an emission spectrum of the organometallic complex represented by the structural formula (100).
  • FIG. 29 is an emission spectrum of the organometallic complex represented by the structural formula (100).
  • FIG. 30 is a diagram showing the current density-radiation emittance characteristics of the light emitting device 4.
  • FIG. 31 is a diagram showing voltage-current density characteristics of the light emitting device 4.
  • FIG. 32 is a diagram showing current density-radiant flux characteristics of the light emitting device 4.
  • FIG. 33 is a diagram showing the voltage-radiation emittance characteristic of the light emitting device 4.
  • FIG. 34 is a diagram showing current density-external quantum efficiency characteristics of the light emitting device 4.
  • FIG. 35 is a diagram showing an emission spectrum of the light emitting device 4.
  • FIG. 36 is a diagram showing the angle dependence of the relative intensity of the light emitting device 4.
  • FIG. 37 is a diagram showing the angle dependence of the normalized photon intensity of the light emitting device 4.
  • a light emitting device of one embodiment of the present invention includes an intermediate layer, a first light emitting unit, and a second light emitting unit.
  • the intermediate layer includes a region sandwiched between the first light emitting unit and the second light emitting unit, and the intermediate layer supplies electrons to one of the first light emitting unit and the second light emitting unit and supplies positive electrons to the other. It has a function to supply holes.
  • the first light emitting unit comprises a first light emitting layer
  • the first light emitting layer comprises a first light emitting material
  • the second light emitting unit comprises a second light emitting layer
  • the second light emitting layer comprises a second light emitting layer.
  • the second light emitting layer has a first distance from the first light emitting layer, and the first distance is 5 nm or more and 65 nm or less.
  • the plurality of regions that emit light can be brought close to each other.
  • the optical design becomes easier.
  • the degree of freedom in optical design is increased.
  • the optical design for efficiently extracting light becomes easy.
  • light can be extracted efficiently.
  • FIG. 1 is a diagram illustrating a structure of a light emitting device of one embodiment of the present invention.
  • 1A is a cross-sectional view of a light-emitting device of one embodiment of the present invention
  • FIG. 1B is a schematic diagram illustrating an emission spectrum of a light-emitting device of one embodiment of the present invention.
  • a variable that takes an integer of 1 or more as a value may be used as a code.
  • (p) including the variable p that takes an integer value of 1 or more may be used as a part of the code that specifies any one of the maximum p components.
  • (m, n) including a variable m and a variable n that take an integer value of 1 or more may be used as a part of a code that identifies any one of the maximum m ⁇ n constituent elements.
  • the light emitting device described in this embodiment includes an intermediate layer 104, a light emitting unit 103a, and a light emitting unit 103b (see FIG. 1A).
  • the intermediate layer 104 includes a region sandwiched between the light emitting unit 103a and the light emitting unit 103b. Further, the intermediate layer 104 has a function of supplying electrons to one of the light emitting unit 103a or the light emitting unit 103b and supplying holes to the other. For example, electrons are supplied to the light emitting unit 103a arranged on the anode side, and holes are supplied to the light emitting unit 103b arranged on the cathode side.
  • the intermediate layer 104 can be referred to as a charge generation layer, for example.
  • the light emitting unit 103a includes a light emitting layer 113a, and the light emitting layer 113a includes a first light emitting material.
  • the light emitting unit 103a includes a region in which electrons injected from one side recombine with holes injected from the other side. Further, a configuration including a plurality of light emitting units and an intermediate layer may be referred to as a tandem type light emitting device. Further, the first light-emitting material emits energy generated by recombination of electrons and holes as light.
  • the light emitting unit 103b includes a light emitting layer 113b, and the light emitting layer 113b includes a second light emitting material.
  • the light emitting layer 113b has a distance D1 from the light emitting layer 113a.
  • the distance D1 is 5 nm or more and 65 nm or less.
  • the distance D1 is preferably 5 nm or more and 50 nm or less, and more preferably 5 nm or more and 40 nm or less.
  • the distance D1 is preferably 10 nm or more.
  • a plurality of regions that emit light can be close to each other.
  • the optical design becomes easier.
  • the degree of freedom in optical design is increased.
  • the optical design for efficiently extracting light becomes easy.
  • light can be extracted efficiently.
  • the light-emitting device described in this embodiment has an electrode 101, an electrode 102, and a function of emitting light (see FIG. 1A).
  • the light emitted from the light-emitting device of one embodiment of the present invention has a spectrum having a maximum at the first wavelength EL1 (see FIG. 1B), for example.
  • the wavelength of the maximum with the strongest intensity is set to the wavelength EL1.
  • Electrode 101 has a higher reflectance than the electrode 102 at the wavelength EL1.
  • the electrode 102 has a higher transmittance at the wavelength EL1 than the electrode 101, and the electrode 102 transmits part of the light and reflects the other part of the wavelength EL1.
  • the electrode 102 has a distance D2 between itself and the electrode 101.
  • the distance D2 is included in the range of 0.3 times or more and 0.6 times or less of the wavelength EL1.
  • nm when the distance D2 is 180 nm, (1.8 ⁇ 180) nm is 324 nm.
  • the wavelength EL1 is 800 nm
  • (0.3 ⁇ 800) nm is 240 nm
  • (0.6 ⁇ 800) nm is 480 nm. Therefore, 324 nm is included in the range of 240 nm or more and 480 nm or less.
  • the optical design for efficiently extracting light becomes easy.
  • light can be extracted efficiently.
  • the full width at half maximum of the spectrum of the emitted light can be narrowed.
  • a microresonator structure can be constructed.
  • the conductive film having a light-transmitting property with respect to the light of the wavelength EL1 and the film having a reflective property with respect to the light of the wavelength EL1 can be used for the light emitting device.
  • a conductive film having a property of transmitting light of the wavelength EL1 is used for the electrode 101, and the first film having a property of reflecting light of the wavelength EL1 is provided between the electrode 101 and the light-emitting layer 113a.
  • the reflective first film sandwiches a light-transmitting conductive film with the light-emitting layer 113a.
  • the light-transmitting conductive film has a function of adjusting the distance between the electrode 102 and the reflective first film in addition to the function of the electrode 101. In such a configuration, the electrode 102 has a distance D2 between itself and the reflective first film.
  • a conductive film having a property of transmitting light with a wavelength of EL1 is used for the electrode 102, and a second film having reflectivity with respect to light of a wavelength of EL1 is provided between the electrode 102 and the light-emitting layer 113b. It can be arranged so as to be sandwiched. In other words, the reflective second film sandwiches a light-transmitting conductive film with the light-emitting layer 113b.
  • the light-transmitting conductive film has a function of adjusting the distance between the electrode 101 and the reflective second film in addition to the function of the electrode 102. In such a configuration, the reflective second film has a distance D2 from the electrode 101.
  • the wavelength EL1 is 800 nm
  • (6.3 ⁇ 10 ⁇ 3 ) ⁇ 800 nm is 5.04 nm
  • (81.3 ⁇ 10 ⁇ 3 ) ⁇ 800 nm is 65.04 nm. Therefore, when the wavelength EL1 is 800 nm, the preferable distance D1 is included in the range of 5.04 nm or more and 65.04 nm or less.
  • the plurality of regions that emit light can be brought close to each other.
  • the optical design becomes easier.
  • the degree of freedom in optical design is increased.
  • the optical design for efficiently extracting light becomes easy.
  • light can be extracted efficiently.
  • the first luminescent material comprises a first luminescent spectrum in solution having a maximum at wavelength PL1 (see FIG. 1B).
  • the wavelength of the maximum with the strongest intensity is set to the wavelength PL1.
  • the first emission spectrum can be measured, for example, in a solution using dichloromethane as a solvent and the first light emitting material as a solute.
  • the solvent examples include ketones such as methyl ethyl ketone and cyclohexanone, fatty acid esters such as ethyl acetate, halogenated hydrocarbons such as dichlorobenzene, aromatic hydrocarbons such as toluene, xylene, mesitylene and cyclohexylbenzene, cyclohexane, and the like.
  • ketones such as methyl ethyl ketone and cyclohexanone
  • fatty acid esters such as ethyl acetate
  • halogenated hydrocarbons such as dichlorobenzene
  • aromatic hydrocarbons such as toluene, xylene, mesitylene and cyclohexylbenzene, cyclohexane, and the like.
  • Aliphatic hydrocarbons such as decalin and dodecane
  • solvents such as dimethylformamide (DMF) and dimethylsulfoxide (DMSO) can be
  • the second luminescent material has a second emission spectrum having a maximum at the wavelength PL2 in the solution.
  • the wavelength of the maximum with the strongest intensity is set to the wavelength PL2.
  • the wavelength EL1 has a difference of 100 nm or less with the wavelength PL1. Further, the wavelength EL1 has a difference of 100 nm or less with the wavelength PL2. For example, when the wavelength EL1 is 800 nm and the wavelength PL1 and the wavelength PL2 are 780 nm, the wavelength EL1 has a difference of 20 nm from the wavelength PL1.
  • the luminous efficiency of the light emitting device can be improved.
  • light can be extracted efficiently.
  • the light emitting layer 113b includes a first light emitting material. Further, the same material as the first light emitting material can be used for the second light emitting material.
  • the luminous efficiency of the light emitting device can be improved.
  • high brightness can be obtained.
  • the intermediate layer 104 has a distance D31 from the light emitting layer 113a, and the intermediate layer 104 has a distance D32 from the light emitting layer 113b (see FIG. 1A).
  • the distance D31 is 5 nm or more, and the distance D32 is 5 nm or more.
  • the light emitting layer 113a can be separated from the intermediate layer 104.
  • the decrease in luminous efficiency caused by the approach of the light emitting layer 113a to the intermediate layer 104 can be suppressed.
  • the light emission efficiency of the light emitting device can be increased. As a result, it is possible to provide a novel light emitting device that is highly convenient or reliable.
  • a material that can be used for the light emitting unit (a hole transporting material, an acceptor material, an electron transporting material, and a donor material) can be used for the intermediate layer 104.
  • a hole transporting material, an acceptor material, an electron transporting material, and a donor material can be used for the intermediate layer 104.
  • the description of the configuration example of the light emitting unit described later can be referred to.
  • the intermediate layer 104 With the configuration in which the intermediate layer 104 is sandwiched between a plurality of light emitting units, it is possible to suppress an increase in drive voltage as compared with a configuration in which the intermediate layer 104 is not used. Alternatively, power consumption can be suppressed.
  • the electrodes 101 and 102 preferably have a resistivity of 1 ⁇ 10 ⁇ 2 ⁇ cm or less.
  • the electrode 101 is formed on the substrate by the sputtering method.
  • the electrode 102 is formed on the light emitting unit by a sputtering method or a vacuum evaporation method.
  • At least one of the electrode 101 and the electrode 102 has a property of transmitting light emitted from the light-emitting device. For example, it has a transmittance of 5% or more for the light emitted from the light emitting device.
  • the light emitted from the light emitting device has a reflectance of 20% to 95%, preferably 40% to 70%.
  • One or more conductive materials can be used for the electrodes 101 and 102 as a single layer or a stacked layer.
  • a material for forming the electrode 101 and the electrode 102 the following materials can be appropriately combined and used.
  • a metal, an alloy, an electrically conductive compound, a mixture thereof, or the like can be used as appropriate.
  • In-Sn oxide also referred to as ITO
  • In-Si-Sn oxide also referred to as ITSO
  • In-Zn oxide In-W-Zn oxide
  • elements belonging to Group 1 or 2 of the Periodic Table of Elements for example, lithium (Li), cesium (Cs), calcium (Ca), strontium (Sr)), europium (Eu), ytterbium
  • Yb rare earth metal
  • an alloy containing these in an appropriate combination, graphene, or the like can be used.
  • the light emitting device described in this embodiment includes a light emitting unit 103a and a light emitting unit 103b.
  • the light emitting unit 103a may include a hole injection layer 111a, a hole transport layer 112a, a light emitting layer 113a, an electron transport layer 114a, and an electron injection layer 115a.
  • the light emitting unit 103b may include a hole transport layer 112b, a light emitting layer 113b, an electron transport layer 114b, and an electron injection layer 115b. Note that a material that can be used for the light emitting unit 103a can be used for the light emitting unit 103b.
  • a vacuum process such as an evaporation method or a solution process such as a spin coating method or an inkjet method can be used for manufacturing the light-emitting device described in this embodiment.
  • a physical vapor deposition method such as a sputtering method, an ion plating method, an ion beam vapor deposition method, a molecular beam vapor deposition method, a vacuum vapor deposition method, or a chemical vapor deposition method (CVD method) is used.
  • PVD method physical vapor deposition method
  • CVD method chemical vapor deposition method
  • the vapor deposition method (vacuum vapor deposition method, etc.) and the coating method (dip method).
  • Coating method die coating method, bar coating method, spin coating method, spray coating method, etc.), printing method (inkjet method, screen (stencil printing) method, offset (lithographic printing) method, flexo (topographic printing) method, gravure method, It can be formed by a method such as a microcontact method).
  • the materials of the functional layer and the charge generation layer are not limited to the above materials.
  • materials for the functional layer polymer compounds (oligomers, dendrimers, polymers, etc.), medium molecular compounds (compounds in the intermediate region between low molecules and polymers: molecular weight 400 to 4000), inorganic compounds (quantum dot materials, etc.), etc. May be used.
  • quantum dot material colloidal quantum dot material, alloy type quantum dot material, core/shell type quantum dot material, core type quantum dot material and the like can be used.
  • the hole injection layer 111a is a layer that injects holes from the anode into the light emitting unit 103a, and is a layer containing a material having a high hole injection property.
  • the electrode 101 can be used as an anode.
  • the hole injection layer 111a and the hole transport layer 112a are sequentially laminated on the electrode 101 by the vacuum evaporation method.
  • a transition metal oxide such as molybdenum oxide, vanadium oxide, ruthenium oxide, tungsten oxide, or manganese oxide, phthalocyanine (abbreviation: H 2 Pc), or copper phthalocyanine (abbreviation:).
  • a phthalocyanine compound such as CuPc can be used.
  • Materials with high hole injection properties include poly (N-vinylcarbazole) (abbreviation: PVK), poly (4-vinyltriphenylamine) (abbreviation: PVTPA), and poly [N- (4- ⁇ N'-[ 4-(4-diphenylamino)phenyl]phenyl-N′-phenylamino ⁇ phenyl)methacrylamide] (abbreviation: PTPDMA), poly[N,N′-bis(4-butylphenyl)-N,N′-bis (Phenyl)benzidine] (abbreviation: Poly-TPD) and the like can be used.
  • PVK poly (N-vinylcarbazole)
  • PVTPA poly (4-vinyltriphenylamine)
  • PTPDMA poly [N- (4- ⁇ N'-[ 4-(4-diphenylamino)phenyl]phenyl-N′-phenylamino ⁇ phenyl)methacrylamide]
  • a polymer compound to which an acid such as poly (3,4-ethylenedioxythiophene) / poly (styrene sulfonic acid) (abbreviation: PEDOT / PSS) or polyaniline / poly (styrene sulfonic acid) (Pani / PSS) is added. Etc. can also be used.
  • a composite material containing a hole-transporting material and an acceptor material can also be used.
  • electrons are extracted from the hole transporting material by the acceptor material, holes are generated in the hole injection layer 111a, and holes are injected into the light emitting layer 113a through the hole transport layer 112a.
  • the hole-injection layer 111a may be formed as a single layer formed of a composite material containing a hole-transporting material and an acceptor material, and the hole-transporting material and the acceptor material are separate layers. It may be formed by laminating.
  • the hole transport layer 112a is a layer that transports holes injected from the electrode 101 to the light emitting layer 113a by the hole injection layer 111a.
  • the hole-transporting layer 112 is a layer containing a hole-transporting material.
  • As the hole-transporting material used for the hole-transporting layer 112a it is preferable to use a material having a HOMO level which is the same as or close to the HOMO level of the hole-injecting layer 111a.
  • an oxide of a metal belonging to Groups 4 to 8 in the periodic table can be used.
  • Specific examples include molybdenum oxide, vanadium oxide, niobium oxide, tantalum oxide, chromium oxide, tungsten oxide, manganese oxide, and rhenium oxide.
  • molybdenum oxide is particularly preferable because it is stable in the air, has low hygroscopicity, and is easy to handle.
  • organic acceptors such as quinodimethane derivatives, chloranil derivatives, and hexaazatriphenylene derivatives can be used.
  • F 4 -TCNQ 7,7,8,8-tetracyano-2,3,5,6-tetrafluoroquinodimethane
  • chloranil 2,3,6,7,10,11-hexacyano-1,4,5,8,9,12-hexaazatriphenylene
  • HAT-CN 2,3,4,5,7,8-hexa
  • fluorotetracyano-naphthoquinodimethane abbreviation: F6-TCNNQ
  • a compound such as HAT-CN in which an electron withdrawing group is bonded to a condensed aromatic ring having a plurality of hetero atoms is preferable because it is thermally stable.
  • a [3]radialene derivative having an electron-withdrawing group (in particular, a halogen group such as a fluoro group or a cyano group) is preferable because it has a very high electron accepting property.
  • ⁇ , ⁇ ′, ⁇ ′′- 1,2,3-Cyclopropanetriylidentris [4-cyano-2,3,5,6-tetrafluorobenzenitrile], ⁇ , ⁇ ', ⁇ ''-1,2,3-cyclopropanetriiridentris [2,6-dichloro-3,5-difluoro-4- (trifluoromethyl) benzenenitrile acetonitrile], ⁇ , ⁇ ', ⁇ ''-1,2,3-cyclopropanthrylilidentris [2,3,4 , 5,6-Pentafluorobenzeneacetonitrile] and the like.
  • the hole-transporting material used for the hole-injection layer 111a and the hole-transport layer 112a a substance having a hole mobility of 10 ⁇ 6 cm 2 /Vs or higher is preferable. Note that substances other than these substances can be used as long as they have a property of transporting more holes than electrons.
  • a ⁇ -electron excess type heteroaromatic compound for example, a carbazole derivative, a thiophene derivative, a furan derivative, etc.
  • an aromatic amine compound a compound having an aromatic amine skeleton
  • the material is preferred.
  • carbazole derivative compound having a carbazole skeleton
  • examples of the carbazole derivative include a bicarbazole derivative (eg, 3,3′-bicarbazole derivative), an aromatic amine compound having a carbazolyl group, and the like.
  • bicarbazole derivative examples include 3,3′-bis(9-phenyl-9H-carbazole) (abbreviation: PCCP) and 9,9′-bis. (1,1'-biphenyl-4-yl)-3,3'-bi-9H-carbazole, 9,9'-bis(1,1'-biphenyl-3-yl)-3,3'-bi- 9H-carbazole, 9-(1,1'-biphenyl-3-yl)-9'-(1,1'-biphenyl-4-yl)-9H,9'H-3,3'-bicarbazole (abbreviation) : MBPCCBP), 9-(2-naphthyl)-9′-phenyl-9H, 9′H-3,3′-bicarbazole (abbreviation: ⁇ NCCP), and the like.
  • PCCP 3,3′-bis(9-phenyl-9H-carbazole)
  • ⁇ NCCP 9,9′-bis
  • aromatic amine compound having a carbazolyl group examples include 4-phenyl-4'-(9-phenyl-9H-carbazole-3-yl) triphenylamine (abbreviation: PCBA1BP) and N- (4-).
  • PCPPn 3-[4-(9-phenanthryl)-phenyl]-9-phenyl-9H-carbazole
  • PCPN 3-[4-(1-naphthyl)-phenyl] -9-Phenyl-9H-carbazole
  • mCP 1,3-bis(N-carbazolyl)benzene
  • CBP 4,4'-di(N-carbazolyl)biphenyl
  • CzTP 1,3,5-tris[4-(N-carbazolyl)phenyl]benzene
  • TCPB 9-[ 4-(10-phenyl-9-anthracenyl)phenyl]-9H-carbazole
  • thiophene derivative compound having a thiophene skeleton
  • furan derivative compound having a furan skeleton
  • aromatic amine compound examples include 4,4′-bis[N-(1-naphthyl)-N-phenylamino]biphenyl (abbreviation: NPB or ⁇ -NPD), N,N′-bis( 3-Methylphenyl)-N,N'-diphenyl-[1,1'-biphenyl]-4,4'-diamine (abbreviation: TPD), 4,4'-bis[N-(spiro-9,9' -Bifluoren-2-yl)-N-phenylamino]biphenyl (abbreviation: BSPB), 4-phenyl-4'-(9-phenylfluoren-9-yl)triphenylamine (abbreviation: BPAFLP), 4-phenyl- 3'-(9-phenylfluoren-9-yl)triphenylamine (abbreviation: mBPAFLP), N-(9,9-dimethyl-9H-fluor
  • Polymer compounds such as PVK, PVTPA, PTPDMA, and Poly-TPD can also be used as the hole-transporting material.
  • the hole-transporting material can be used for the hole-injecting layer 111a and the hole-transporting layer 112a by combining one or more known various materials without limitation to the above.
  • the light emitting layer 113a is a layer containing a light emitting material.
  • the light emitting layer 113a is formed on the hole transport layer 112a by a vacuum deposition method.
  • the light-emitting device of one embodiment of the present invention has a light-emitting organic compound as a light-emitting material.
  • the luminescent organic compound emits near infrared light.
  • the maximum peak wavelength of light emitted by the light-emitting organic compound is greater than 780 nm and 900 nm or less.
  • the organometallic complex described in Embodiment 1 can be used. Further, as a light-emitting organic compound, an organometallic complex described in Examples below can also be used.
  • the light emitting layer 113a can include one or more kinds of light emitting materials.
  • the light emitting layer 113a may include one or more kinds of organic compounds (host material, assist material, etc.) in addition to the light emitting material (guest material).
  • the one or more kinds of organic compounds one or both of the hole-transporting material and the electron-transporting material described in this embodiment can be used.
  • a bipolar material may be used as the one or more kinds of organic compounds.
  • the light-emitting material that can be used for the light-emitting layer 113a is not particularly limited, and a light-emitting material that changes singlet excitation energy into light emission in the near infrared light region or light emission that changes triplet excitation energy into light emission in the near infrared light region. Materials can be used.
  • Examples of the light emitting material that converts the single-term excitation energy into light emission include a substance that emits fluorescence (fluorescent material), and examples thereof include pyrene derivative, anthracene derivative, triphenylene derivative, fluorene derivative, carbazole derivative, dibenzothiophene derivative, dibenzofuran derivative, and dibenzo. Examples thereof include quinoxaline derivatives, quinoxaline derivatives, pyridine derivatives, pyrimidine derivatives, phenanthrene derivatives, naphthalene derivatives.
  • Examples of the luminescent material that converts triplet excitation energy into luminescence include a substance that emits phosphorescence (phosphorescent material) and a thermally activated delayed fluorescence (TADF) material that exhibits thermally activated delayed fluorescence.
  • phosphorescent material phosphorescent material
  • TADF thermally activated delayed fluorescence
  • the phosphorescent material examples include an organic metal complex having a 4H-triazole skeleton, a 1H-triazole skeleton, an imidazole skeleton, a pyrimidine skeleton, a pyrazine skeleton, or a pyridine skeleton (particularly an iridium complex), and a phenylpyridine derivative having an electron-withdrawing group.
  • organic metal complex having a 4H-triazole skeleton, a 1H-triazole skeleton, an imidazole skeleton, a pyrimidine skeleton, a pyrazine skeleton, or a pyridine skeleton (particularly an iridium complex), and a phenylpyridine derivative having an electron-withdrawing group.
  • organometallic complex as a ligand (in particular, an iridium complex), a platinum complex, a rare earth metal complex, and the like.
  • the light-emitting device of one embodiment of the present invention may include a light-emitting material other than a light-emitting material that emits near infrared light.
  • the light-emitting device of one embodiment of the present invention may include, for example, a light-emitting material that emits visible light (red, blue, green, or the like) in addition to a light-emitting material that emits near-infrared light.
  • organic compound (host material, assist material, or the like) used for the light-emitting layer 113a one or more kinds of substances having an energy gap larger than that of the light-emitting material can be selected and used.
  • the organic compound used in combination with the light emitting material has a large energy level in the singlet excited state and a small energy level in the triplet excited state. Is preferred.
  • the organic compounds that can be used in combination with the luminescent material include anthracene derivatives, tetracene derivatives, phenanthrene derivatives, pyrene derivatives, chrysene derivatives, and dibenzo [g, p] chrysene derivatives. Examples include ring aromatic compounds.
  • organic compound (host material) used in combination with the fluorescent material examples include 9-phenyl-3- [4- (10-phenyl-9-anthryl) phenyl] -9H-carbazole (abbreviation: PCzPA), 3, 6-Diphenyl-9- [4- (10-phenyl-9-anthryl) phenyl] -9H-carbazole (abbreviation: DPCzPA), PCPN, 9,10-diphenylanthracene (abbreviation: DPAnth), N, N-diphenyl- 9- [4- (10-phenyl-9-anthryl) phenyl] -9H-carbazole-3-amine (abbreviation: CzA1PA), 4- (10-phenyl-9-anthryl) triphenylamine (abbreviation: DPhPA), 4- (9H-carbazole-9-yl) -4'-(10-phenyl-9-anthril) triphenylamine (abbreviation: PC
  • the organic compound used in combination with the light emitting material is an organic compound having a triplet excitation energy larger than the triplet excitation energy (energy difference between ground state and triplet excited state) of the light emitting material. You just have to select.
  • the plurality of organic compounds are phosphorescent. It is preferable to use it as a mixture with a material (particularly an organometallic complex).
  • ExTET Extra Energy Transfer
  • a compound that easily accepts holes hole transporting material
  • a compound that easily accepts electrons electron transporting material
  • the materials described in this embodiment can be used.
  • the organic compounds that can be used in combination with the luminescent material include aromatic amine compounds, carbazole derivatives, dibenzothiophene derivatives, dibenzofuran derivatives, zinc and aluminum-based metal complexes, and oxadiazole derivatives. , Triazole derivatives, benzimidazole derivatives, quinoxaline derivatives, dibenzoquinoxaline derivatives, pyrimidine derivatives, triazine derivatives, pyridine derivatives, bipyridine derivatives, phenanthroline derivatives and the like.
  • aromatic amine compounds compounds having an aromatic amine skeleton
  • carbazole derivatives dibenzothiophene derivatives (thiophene derivatives)
  • dibenzofuran derivatives dibenzofuran derivatives (furan derivatives)
  • examples thereof include the same as the specific examples of the hole transporting material described above.
  • zinc and aluminum-based metal complexes that are organic compounds with high electron transport properties include tris (8-quinolinolato) aluminum (III) (abbreviation: Alq) and tris (4-methyl-8-quinolinolato) aluminum.
  • III) abbreviation: Almq 3
  • bis (10-hydroxybenzo [h] quinolinato) beryllium (II) abbreviation: BeBq 2
  • metal complexes having a quinoline skeleton or a benzoquinoline skeleton such as (III) (abbreviation: BAlq) and bis(8-quinolinolato)zinc (II) (abbreviation: Znq).
  • oxazoles such as bis [2- (2-benzothazolyl) phenolato] zinc (II) (abbreviation: ZnPBO) and bis [2- (2-benzothiazolyl) phenolato] zinc (II) (abbreviation: ZnBTZ)
  • metal complexes having a thiazole-based ligand can also be used.
  • oxadiazole derivative triazole derivative, benzimidazole derivative, benzimidazole derivative, quinoxaline derivative, dibenzoquinoxaline derivative, and phenanthroline derivative, which are organic compounds having high electron transport properties, are 2- (4-biphenylyl) -5.
  • heterocyclic compound having a diazine skeleton, the heterocyclic compound having a triazine skeleton, and the heterocyclic compound having a pyridine skeleton which are organic compounds having a high electron-transporting property, include 4,6-bis[3-(phenanthrene- 9-yl) phenyl] pyrimidine (abbreviation: 4,6 mPnP2Pm), 4,6-bis [3- (4-dibenzothienyl) phenyl] pyrimidine (abbreviation: 4,6 mDBTP2Pm-II), 4,6-bis [3- (9H-carbazole-9-yl) phenyl] pyrimidine (abbreviation: 4.6 mCzP2Pm), 2- ⁇ 4- [3- (N-phenyl-9H-carbazole-3-yl) -9H-carbazole-9-yl] Phenyl ⁇ -4,6-diphenyl-1,
  • organic compounds having high electron transport properties examples include poly (2,5-pyridinediyl) (abbreviation: PPy) and poly [(9,9-dihexylfluorene-2,7-diyl) -co- (pyridine-3,5). -Diyl)] (abbreviation: PF-Py), poly [(9,9-dioctylfluorene-2,7-diyl) -co- (2,2'-bipyridine-6,6'-diyl)] (abbreviation: A polymer compound such as PF-BPy) can also be used.
  • PPy poly (2,5-pyridinediyl)
  • PF-Py poly [(9,9-dihexylfluorene-2,7-diyl) -co- (pyridine-3,5).
  • PF-Py poly [(9,9-dioctylfluorene-2,7-d
  • a TADF material is a material that can up-convert a triplet excited state to a singlet excited state (intersystem crossing) with a small amount of heat energy and efficiently exhibit light emission (fluorescence) from the singlet excited state. is there.
  • the energy difference between the triplet excitation level and the singlet excitation level is 0 eV or more and 0.2 eV or less, preferably 0 eV or more and 0.1 eV or less.
  • the delayed fluorescence in the TADF material refers to light emission having a spectrum similar to that of normal fluorescence but having a remarkably long life. Its life is 10 ⁇ 6 seconds or more, preferably 10 ⁇ 3 seconds or more.
  • TADF material examples include fullerenes and derivatives thereof, acridine derivatives such as proflavine, and eosin. Further, a metal-containing porphyrin containing magnesium (Mg), zinc (Zn), cadmium (Cd), tin (Sn), platinum (Pt), indium (In), palladium (Pd), or the like can be given.
  • metal-containing porphyrin examples include, for example, protoporphyrin-tin fluoride complex (abbreviation: SnF 2 (Proto IX)), mesoporphyrin-tin fluoride complex (abbreviation: SnF 2 (Meso IX)), hematoporphyrin-tin fluoride.
  • SnF 2 Hemato IX
  • SnF 2 coproporphyrin tetramethyl ester-tin fluoride complex
  • SnF 2 Copro III-4Me
  • SnF 2 octaethylporphyrin-tin fluoride complex
  • SnF 2 (OEP) Etioporphyrin-tin fluoride complex
  • PtCl 2 OEP octaethylporphyrin-platinum chloride complex
  • a heterocyclic compound having can be used.
  • a substance in which the ⁇ -electron excess heteroaromatic ring and the ⁇ -electron deficient heteroaromatic ring are directly bound to each other has both a donor property of the ⁇ -electron excess heteroaromatic ring and an acceptor property of the ⁇ -electron deficient heteroaromatic ring It is particularly preferable because the energy difference between the singlet excited state and the triplet excited state becomes small.
  • the TADF material When used, it can be used in combination with other organic compounds. In particular, it can be combined with the above-mentioned host material, hole transporting material, and electron transporting material.
  • the above material can be used for forming the light emitting layer 113a by combining with a low molecular weight material or a high molecular weight material.
  • a known method evaporation method, coating method, printing method, etc.
  • film formation evaporation method, coating method, printing method, etc.
  • the electron transport layer 114a is a layer that transports the electrons injected from the electrode 102 to the light emitting layer 113a by the electron injection layer 115a.
  • the electron-transport layer 114a is a layer containing an electron-transport material.
  • the electron-transporting material used for the electron-transporting layer 114a is preferably a substance having an electron mobility of 1 ⁇ 10 ⁇ 6 cm 2 /Vs or higher. Note that any substance other than these substances can be used as long as it has a property of transporting more electrons than holes.
  • the electron transport layer 114a is formed on the light emitting layer 113a.
  • Examples of the electron-transporting material include a metal complex having a quinoline skeleton, a metal complex having a benzoquinoline skeleton, a metal complex having an oxazole skeleton, a metal complex having a thiazole skeleton, and the like, as well as oxazole derivatives, triazole derivatives, and imidazole derivatives.
  • ⁇ electron deficiency including oxazole derivative, thiazole derivative, phenanthroline derivative, quinoline derivative having quinoline ligand, benzoquinoline derivative, quinoxalin derivative, dibenzoquinoxaline derivative, pyridine derivative, bipyridine derivative, pyrimidine derivative, and other nitrogen-containing heteroaromatic compounds
  • a material having a high electron-transporting property such as a type heteroaromatic compound can be used.
  • the electron transporting material As specific examples of the electron transporting material, the above-mentioned materials can be used.
  • the electron-injection layer 115a is a layer containing a substance having a high electron-injection property.
  • the electron injection layer 115a is formed on the electron transport layer 114a by a vacuum deposition method.
  • the electron injection layer 115a includes an alkali metal such as lithium fluoride (LiF), cesium fluoride (CsF), calcium fluoride (CaF 2 ), lithium oxide (LiO x ), an alkaline earth metal, or the like. Can be used. Further, a rare earth metal compound such as erbium fluoride (ErF 3 ) can be used. Further, electride may be used for the electron injection layer 115a. Examples of the electride include a substance in which a high concentration of electrons is added to a mixed oxide of calcium and aluminum. Note that the above-described substances forming the electron-transport layer 114a can also be used.
  • an alkali metal such as lithium fluoride (LiF), cesium fluoride (CsF), calcium fluoride (CaF 2 ), lithium oxide (LiO x ), an alkaline earth metal, or the like. Can be used. Further, a rare earth metal compound such as erbium fluoride (ErF 3
  • a composite material containing an electron-transporting material and a donor material may be used for the electron-injection layer 115a.
  • a composite material is excellent in electron injection property and electron transport property because electrons are generated in the organic compound by the electron donor.
  • the organic compound is preferably a material excellent in transporting the generated electrons.
  • the electron transporting material metal complex, heteroaromatic compound, etc.
  • the electron donor may be a substance that exhibits an electron donating property to an organic compound.
  • alkali metals, alkaline earth metals, and rare earth metals are preferable, and examples thereof include lithium, cesium, magnesium, calcium, erbium, and ytterbium.
  • alkali metal oxides and alkaline earth metal oxides are preferable, and examples thereof include lithium oxide, calcium oxide, and barium oxide. It is also possible to use a Lewis base such as magnesium oxide. Alternatively, an organic compound such as tetrathiafulvalene (abbreviation: TTF) can be used.
  • TTF tetrathiafulvalene
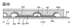
  • 3A and 3B are diagrams illustrating a structure of a light-emitting device of one embodiment of the present invention.
  • 3A is a top view of a light-emitting device of one embodiment of the present invention
  • FIG. 3B is a cross-sectional view of the light-emitting device taken along the cutting line X1-Y1 and the cutting line X2-Y2 in FIG. 3A.
  • FIGS. 4A and 4B are diagrams illustrating a structure of a light-emitting device of one embodiment of the present invention.
  • 4A is a top view of a light-emitting device of one embodiment of the present invention
  • FIG. 4B is a cross-sectional view of the light-emitting device taken along the cutting line A-A′ shown in FIG. 4A.
  • the light-emitting device illustrated in FIGS. 3A to 3C can be used for, for example, a lighting device.
  • the light emitting device may be any of bottom emission, top emission, and dual emission.
  • the 3B includes a substrate 490a, a substrate 490b, a conductive layer 406, a conductive layer 416, an insulating layer 405, an organic EL device 450 (first electrode 401, EL layer 402, and second electrode 403), and It has an adhesive layer 407.
  • the organic EL device 450 can also be referred to as a light emitting element, an organic EL element, a light emitting device, or the like.
  • the EL layer 402 preferably has the organic metal complex described in Embodiment 1 as a light-emitting organic compound in the light-emitting layer.
  • the organic EL device 450 has a first electrode 401 on the substrate 490a, an EL layer 402 on the first electrode 401, and a second electrode 403 on the EL layer 402.
  • the organic EL device 450 is sealed by the substrate 490a, the adhesive layer 407, and the substrate 490b.
  • the ends of the first electrode 401, the conductive layer 406, and the conductive layer 416 are covered with the insulating layer 405.
  • the conductive layer 406 is electrically connected to the first electrode 401 and the conductive layer 416 is electrically connected to the second electrode 403.
  • the conductive layer 406 covered with the insulating layer 405 through the first electrode 401 functions as an auxiliary wiring and is electrically connected to the first electrode 401. It is preferable to have an auxiliary wiring that is electrically connected to the electrode of the organic EL device 450, because a voltage drop due to the resistance of the electrode can be suppressed.
  • the conductive layer 406 may be provided over the first electrode 401. Further, an auxiliary wiring for electrically connecting to the second electrode 403 may be provided on the insulating layer 405 or the like.
  • Glass, quartz, ceramics, sapphire, organic resin, or the like can be used for each of the substrate 490a and the substrate 490b.
  • the flexibility of the display device can be increased.
  • a light extraction structure for improving light extraction efficiency an antistatic film that suppresses adhesion of dust, a water-repellent film that prevents dirt from adhering, and a hardware that suppresses the occurrence of scratches during use. You may arrange
  • Examples of insulating materials that can be used for the insulating layer 405 include resins such as acrylic resin and epoxy resin, and inorganic insulating materials such as silicon oxide, silicon oxynitride, silicon nitride oxide, silicon nitride, and aluminum oxide.
  • various curable adhesives such as an ultraviolet curable photocurable adhesive, a reaction curable adhesive, a thermosetting adhesive, and an anaerobic adhesive can be used.
  • these adhesives include epoxy resin, acrylic resin, silicone resin, phenol resin, polyimide resin, imide resin, PVC (polyvinyl chloride) resin, PVB (polyvinyl butyral) resin, EVA (ethylene vinyl acetate) resin and the like.
  • a material having low moisture permeability such as epoxy resin is preferable.
  • a two-liquid mixed type resin may be used.
  • an adhesive sheet or the like may be used.
  • the light-emitting device illustrated in FIG. 3C includes a barrier layer 490c, a conductive layer 406, a conductive layer 416, an insulating layer 405, an organic EL device 450, an adhesive layer 407, a barrier layer 423, and a substrate 490b.
  • the barrier layer 490c illustrated in FIG. 3C includes a substrate 420, an adhesive layer 422, and an insulating layer 424 having a high barrier property.
  • the organic EL device 450 is arranged between the insulating layer 424 having a high barrier property and the barrier layer 423. Therefore, even if a resin film or the like having a relatively low waterproof property is used for the substrate 420 and the substrate 490b, it is possible to prevent impurities such as water from entering the organic EL device and shortening the life.
  • polyester resins such as polyethylene terephthalate (PET) and polyethylene naphthalate (PEN), polyacrylonitrile resin, acrylic resin, polyimide resin, polymethylmethacrylate resin, polycarbonate (PC) resin, Polyethersulfone (PES) resin, polyamide resin (nylon, aramid, etc.), polysiloxane resin, cycloolefin resin, polystyrene resin, polyamideimide resin, polyurethane resin, polyvinyl chloride resin, polyvinylidene chloride resin, polypropylene resin, polytetra Fluoroethylene (PTFE) resin, ABS resin, cellulose nanofiber, etc.
  • PET polyethylene terephthalate
  • PEN polyethylene naphthalate
  • PES Polyethersulfone
  • polyamide resin nylon, aramid, etc.
  • polysiloxane resin polystyrene resin
  • polyamideimide resin polyurethane resin
  • polyvinyl chloride resin polyvinylid
  • An inorganic insulating film is preferably used as the insulating layer 424 having a high barrier property.
  • an inorganic insulating film such as a silicon nitride film, a silicon nitride film, a silicon oxide film, a silicon nitride film, an aluminum oxide film, or an aluminum nitride film can be used.
  • a hafnium oxide film, a yttrium oxide film, a zirconium oxide film, a gallium oxide film, a tantalum oxide film, a magnesium oxide film, a lanthanum oxide film, a cerium oxide film, a neodymium oxide film, or the like may be used.
  • two or more of the above-mentioned insulating films may be laminated and used.
  • the barrier layer 423 preferably has at least one inorganic film.
  • the barrier layer 423 can have a single-layer structure of an inorganic film or a stacked structure of an inorganic film and an organic film.
  • the above-mentioned inorganic insulating film is suitable as the inorganic film.
  • the laminated structure include a structure in which a silicon oxide film, a silicon oxide film, an organic film, a silicon oxide film, and a silicon nitride film are formed in this order.
  • the insulating layer 424 having a high barrier property and the organic EL device 450 can be directly formed on the flexible substrate 420. In this case, the adhesive layer 422 is unnecessary. Further, the insulating layer 424 and the organic EL device 450 can be transferred to the substrate 420 after being formed on the hard substrate via the release layer. For example, the insulating layer 424 and the organic EL device 450 are separated from the hard substrate by applying heat, force, laser light, or the like to the separation layer, and then the substrate 420 is attached to the substrate 420 by using the adhesive layer 422. May be transposed.
  • the release layer for example, a laminated structure of an inorganic film containing a tungsten film and a silicon oxide film, an organic resin film such as polyimide, or the like can be used.
  • the insulating layer 424 can be formed at higher temperature than a resin substrate, so that the insulating layer 424 can be a dense insulating film having an extremely high barrier property.
  • the light-emitting device of one embodiment of the present invention can be either a passive matrix type or an active matrix type.
  • An active matrix light emitting device will be described with reference to FIG.
  • the active matrix light-emitting device illustrated in FIGS. 4A and 4B includes a pixel portion 302, a circuit portion 303, a circuit portion 304a, and a circuit portion 304b.
  • the circuit portion 303, the circuit portion 304a, and the circuit portion 304b can each function as a scan line driver circuit (gate driver) or a signal line driver circuit (source driver).
  • the circuit may be a circuit that electrically connects the external gate driver or source driver and the pixel unit 302.
  • the lead wiring 307 is provided on the first substrate 301.
  • the lead wiring 307 is electrically connected to the FPC 308 which is an external input terminal.
  • the FPC 308 transmits an external signal (for example, a video signal, a clock signal, a start signal, a reset signal, etc.) or an electric potential to the circuit unit 303, the circuit unit 304a, and the circuit unit 304b.
  • a printed wiring board (PWB) may be attached to the FPC 308.
  • the configuration shown in FIGS. 4A and 4B can also be referred to as a light emitting module including a light emitting device (or a light emitting device) and an FPC.
  • the pixel portion 302 includes a plurality of pixels each including the organic EL device 317, the transistor 311, and the transistor 312.
  • the transistor 312 is electrically connected to the first electrode 313 of the organic EL device 317.
  • the transistor 311 functions as a switching transistor.
  • the transistor 312 functions as a current control transistor.
  • the number of transistors included in each pixel is not particularly limited, and can be appropriately provided as needed.
  • the circuit portion 303 has a plurality of transistors including a transistor 309 and a transistor 310.
  • the circuit portion 303 may be formed of a circuit including a unipolar (only one of N-type or P-type) transistor or a CMOS circuit including an N-type transistor and a P-type transistor. Good. Further, a structure in which a driver circuit is provided outside may be used.
  • the structure of the transistor included in the light-emitting device of this embodiment is not particularly limited.
  • a planar type transistor, a stagger type transistor, an inverted stagger type transistor and the like can be used.
  • either a top gate type or a bottom gate type transistor structure may be used.
  • gates may be provided above and below a semiconductor layer in which a channel is formed.
  • the crystallinity of the semiconductor material used for the transistor is also not particularly limited, and either an amorphous semiconductor or a semiconductor having crystallinity (microcrystalline semiconductor, polycrystalline semiconductor, single crystal semiconductor, or semiconductor having a partially crystalline region). May be used. It is preferable to use a semiconductor having crystallinity because deterioration of transistor characteristics can be suppressed.
  • the semiconductor layer of the transistor preferably contains a metal oxide (also referred to as an oxide semiconductor).
  • the semiconductor layer of the transistor may include silicon. Examples of silicon include amorphous silicon and crystalline silicon (low temperature polysilicon, single crystal silicon, etc.).
  • the semiconductor layers include, for example, indium and M (M is gallium, aluminum, silicon, boron, ittrium, tin, copper, vanadium, beryllium, titanium, iron, nickel, germanium, zirconium, molybdenum, lantern, cerium, neodymium, etc. It is preferable to have zinc and one or more kinds selected from hafnium, tantalum, tungsten, and magnesium).
  • M is preferably one or more selected from aluminum, gallium, yttrium, and tin.
  • an oxide containing indium (In), gallium (Ga), and zinc (Zn) (also referred to as IGZO) is preferably used for the semiconductor layer.
  • the sputtering target used for forming the In-M-Zn oxide preferably has an In atom ratio of M or more.
  • the transistors included in the circuit portion 303, the circuit portion 304a, and the circuit portion 304b and the transistors included in the pixel portion 302 may have the same structure or different structures.
  • the structures of the plurality of transistors included in the circuit unit 303, the circuit unit 304a, and the circuit unit 304b may all be the same, or may have two or more types.
  • the structures of the plurality of transistors included in the pixel unit 302 may all be the same, or there may be two or more types.
  • an end portion of the first electrode 313 is covered with an insulating layer 314.
  • the insulating layer 314 can be formed using an organic compound such as a negative photosensitive resin or a positive photosensitive resin (acrylic resin), or an inorganic compound such as silicon oxide, silicon oxynitride, or silicon nitride.
  • the upper end or the lower end of the insulating layer 314 preferably has a curved surface with a curvature. Accordingly, the coverage with the film formed over the insulating layer 314 can be favorable.
  • the EL layer 315 is provided over the first electrode 313, and the second electrode 316 is provided over the EL layer 315.
  • the EL layer 315 includes a light emitting layer, a hole injection layer, a hole transport layer, an electron transport layer, an electron injection layer, a charge generation layer, and the like.
  • the plurality of transistors and the plurality of organic EL devices 317 are sealed by the first substrate 301, the second substrate 306, and the sealing material 305.
  • the space 318 surrounded by the first substrate 301, the second substrate 306, and the sealant 305 may be filled with an inert gas (nitrogen, argon, or the like) or an organic substance (including the sealant 305).
  • Epoxy resin or glass frit can be used for the sealant 305. Note that it is preferable to use a material which does not transmit moisture and oxygen as much as possible for the sealant 305.
  • a glass frit is used as the sealing material, it is preferable that the first substrate 301 and the second substrate 306 are glass substrates from the viewpoint of adhesiveness.
  • FIG. 5A shows a biometric device for a finger vein, which includes a housing 911, a light source 912, a detection stage 913, and the like.
  • a finger By placing a finger on the detection stage 913, the shape of the vein can be imaged.
  • a light source 912 that emits near infrared light is installed above the detection stage 913, and an imaging device 914 is installed below the detection stage 913.
  • the detection stage 913 is made of a material that transmits near-infrared light, and the near-infrared light emitted from the light source 912 and transmitted through a finger can be imaged by the imaging device 914.
  • An optical system may be provided between the detection stage 913 and the image pickup apparatus 914.
  • the configuration of the above device can also be used as a biometric device for a palm vein.
  • the light-emitting device of one embodiment of the present invention can be used for the light source 912.
  • the light-emitting device of one embodiment of the present invention can be installed in a curved shape and can irradiate an object with light with high uniformity.
  • a light emitting device that emits near-infrared light having the strongest peak intensity in the wavelength range of 760 nm to 900 nm is preferable.
  • the position of a vein can be detected by receiving light that has passed through a finger or a palm and imaging it. The action can be used as biometrics. Further, by combining with the global shutter system, it is possible to perform highly accurate sensing even if the subject moves.
  • the light source 912 can have a plurality of light emitting units as shown in the light emitting units 915, 916, and 917 shown in FIG. 5B.
  • Each of the light emitting units 915, 916, and 917 may have different wavelengths of light emitted, or may be irradiated at different timings. Therefore, different images can be continuously captured by changing the wavelength or angle of the irradiation light, and thus a plurality of images can be used for authentication and high security can be realized.
  • FIG. 5C is a biometric authentication device for the veins of the palm, which includes a housing 921, an operation button 922, a detection unit 923, a light source 924 that emits near infrared light, and the like.
  • a biometric authentication device for the veins of the palm, which includes a housing 921, an operation button 922, a detection unit 923, a light source 924 that emits near infrared light, and the like.
  • a light source 924 is arranged around the detection unit 923 and illuminates an object (hand). Then, the reflected light from the object is incident on the detection unit 923.
  • the light-emitting device of one embodiment of the present invention can be used for the light source 924.
  • An imaging device 925 is arranged immediately below the detection unit 923, and an image of the target object (entire image of the hand) can be captured.
  • An optical system may be provided between the detection unit 923 and the imaging device 925.
  • the configuration of the above device can also be used for a biometric device for a finger vein.
  • FIG. 5D is a nondestructive inspection device, which includes a housing 931, an operation panel 932, a transport mechanism 933, a monitor 934, a detection unit 935, a light source 938 that emits near-infrared light, and the like.
  • the light-emitting device of one embodiment of the present invention can be used for the light source 938.
  • the member to be inspected 936 is transported by the transport mechanism 933 to directly below the detection unit 935.
  • the member to be inspected 936 is irradiated with near-infrared light from the light source 938, and the transmitted light is imaged by an imaging device 937 provided in the detection unit 935.
  • the captured image is displayed on the monitor 934. After that, it is transported to the exit of the housing 931 and the defective products are sorted and collected.
  • By imaging using near-infrared light defective elements such as defects and foreign matters inside the non-inspection member can be detected nondestructively and at high speed.
  • FIG. 5E illustrates a mobile phone, which includes a housing 981, a display portion 982, operation buttons 983, an external connection port 984, a speaker 985, a microphone 986, a first camera 987, a second camera 988, and the like.
  • the mobile phone includes a touch sensor in the display portion 982.
  • the housing 981 and the display portion 982 have flexibility. All operations such as making a phone call or inputting characters can be performed by touching the display unit 982 with a finger or a stylus.
  • the first camera 987 can acquire a visible light image
  • the second camera 988 can acquire an infrared light image (near infrared light image).
  • the mobile phone or display unit 982 shown in FIG. 5E may have a light emitting device according to an aspect of the present invention.
  • the light emitting device 1 manufactured in this example has an intermediate layer 816, a light emitting unit 802a, a light emitting unit 802b, an electrode 801 and an electrode 803, and a function of emitting light (see FIG. 6).
  • the intermediate layer 816 includes a region sandwiched between the light emitting unit 802a and the light emitting unit 802b, and the intermediate layer 816 has a function of supplying electrons to one of the light emitting unit 802a or the light emitting unit 802b and supplying holes to the other.
  • the light emitting unit 802a includes a region sandwiched between the electrode 801 and the intermediate layer 816, and the light emitting unit 802a includes a light emitting layer 813a.
  • the light emitting layer 813a includes a first light emitting material.
  • the light emitting unit 802b includes a region sandwiched between the intermediate layer 816 and the electrode 803, and the light emitting unit 802b includes a light emitting layer 813b.
  • the light emitting layer 813b also includes the first light emitting material.
  • the light emitting layer 813b has a distance D1 from the light emitting layer 813a.
  • the electrode 801 has a higher reflectance than the electrode 803 at a wavelength of 802 nm.
  • the electrode 803 has a higher transmittance than the electrode 801 at a wavelength of 802 nm, transmits part of light, and reflects part of the light.
  • the electrode 803 has a distance D2 from the electrode 801. When multiplied by 1.8, the distance D2 is included in the range of 0.3 times or more and 0.6 times or less of the wavelength 802 nm.
  • the light emitting device 1 includes a first reflective film, and the first reflective film sandwiches a light-transmitting conductive film between the light emitting device 1 and the light emitting layer 813a. Specifically, it is provided with a film of an alloy of silver (Ag), palladium (Pd) and copper (Cu) (Ag-Pd-Cu (APC)), and the film of the APC is 10 nm between the light emitting layer 813a. Sandwich ITSO.
  • the first light-emitting material has an emission spectrum having a maximum at the wavelength PL1 in the solution, and the wavelength EL1 has a difference of 100 nm or less from the second wavelength PL1.
  • [Ir(dmdpbq) 2 (dpm)] used for the first light-emitting material has an emission spectrum having a maximum at a wavelength of 807 nm in a dichloromethane solution (see FIG. 28). Therefore, the maximum wavelength 802 nm included in the spectrum of the light emitted from the light emitting device 1 has a difference of 5 nm from the maximum wavelength 807 nm of the emission spectrum of the first light emitting material that can be observed in the solution.
  • Table 1 shows a specific configuration of the light emitting device 1.
  • the chemical formulas of the materials used in this example are shown below.
  • a first electrode 801 is formed on a substrate 800 as shown in FIG. 6, and a light emitting unit 802a (a hole injection layer 811a, a hole transport layer) is formed on the first electrode 801. 812a, a light emitting layer 813a, an electron transport layer 814a, and an electron injection layer 815a), an intermediate layer 816, and a light emitting unit 802b (a hole transport layer 812b, a light emitting layer 813b, an electron transport layer 814b, and an electron injection layer 815b) in that order. It has a structure in which the second electrode 803 is stacked and the second electrode 803 is stacked on the light emitting unit 802b.
  • the first electrode 801 was formed over the substrate 800.
  • the electrode area was 4 mm 2 (2 mm ⁇ 2 mm).
  • a glass substrate was used as the substrate 800.
  • the first electrode 801 is formed by forming an alloy of silver (Ag), palladium (Pd), and copper (Cu) (Ag-Pd-Cu (APC)) with a film thickness of 100 nm by a sputtering method.
  • ITSO was formed into a film with a thickness of 10 nm by a sputtering method. Note that in this embodiment, the first electrode 801 functions as an anode.
  • the surface of the substrate was washed with water, baked at 200° C. for 1 hour, and then subjected to UV ozone treatment for 370 seconds. After that, the substrate is introduced into a vacuum vapor deposition apparatus whose internal pressure is reduced to about 10 ⁇ 4 Pa, and vacuum baking is performed at 170° C. for 30 minutes in a heating chamber in the vacuum vapor deposition apparatus, and then the substrate is released for about 30 minutes. Chilled.
  • the hole injection layer 811a was formed over the first electrode 801.
  • the hole-injection layer 811a was reduced in pressure in the vacuum evaporation apparatus to 10 ⁇ 4 Pa, and then 1,3,5-tri(dibenzothiophen-4-yl)benzene (abbreviation: DBT3P-II) and molybdenum oxide were added.
  • the hole transport layer 812a was formed over the hole injection layer 811a.
  • the hole-transporting layer 812a includes N-(1,1′-biphenyl-4-yl)-N-[4-(9-phenyl-9H-carbazol-3-yl)phenyl]-9,9-dimethyl-9H.
  • -Fluoren-2-amine (abbreviation: PCBBiF) was used to form a film having a thickness of 20 nm by vapor deposition.
  • the light emitting layer 813a was formed over the hole transporting layer 812a.
  • 2-[3′-(dibenzothiophen-4-yl)biphenyl-3-yl]dibenzo[f,h]quinoxaline (abbreviation: 2mDBTBPDBq-II) was used as a host material, PCBBiF was used as an assist material, and guest was used.
  • the electron-transporting layer 814a was formed over the light-emitting layer 813a.
  • the electron-transporting layer 814a is formed by sequentially vapor-depositing 2,9-bis(naphthalen-2-yl)-4,7-diphenyl-1,10-phenanthroline (abbreviation: NBphen) to a thickness of 15 nm. ..
  • the electron injection layer 815a was formed over the electron transport layer 814a.
  • the electron injection layer 815a was formed by vapor deposition using lithium oxide (Li 2 O) so as to have a film thickness of 0.1 nm.
  • the intermediate layer 816 was formed on the electron injection layer 815a.
  • the hole transport layer 812b was formed on the intermediate layer 816.
  • the hole-transporting layer 812b was formed using PCBBiF by vapor deposition so as to have a thickness of 10 nm.
  • the light emitting layer 813b was formed over the hole transporting layer 812b.
  • 2mDBTBPDBq-II is used as a host material
  • PCBBiF is used as an assist material
  • [Ir(dmdpbq) 2 (dpm)] is used as a guest material (phosphorescent material)
  • the film thickness was 15 nm.
  • the electron-transporting layer 814b was formed over the light-emitting layer 813b.
  • the electron-transporting layer 814b was formed by sequential evaporation so that the film thickness of 2mDBTBPDBq-II was 20 nm and the film thickness of NBphen was 45 nm.
  • the electron injection layer 815b was formed over the electron transport layer 814b.
  • the electron-injection layer 815b was formed by using lithium fluoride (LiF) by vapor deposition so as to have a thickness of 1 nm.
  • the second electrode 803 was formed over the electron-injection layer 815b.
  • the buffer layer 804 was formed over the second electrode 803.
  • the buffer layer 804 was formed using DBT3P-II by vapor deposition so that the film thickness was 100 nm.
  • the light emitting device 1 was formed on the substrate 800.
  • the vapor deposition step in the above-described manufacturing method the vapor deposition method by the resistance heating method was used.
  • the light emitting device manufactured as described above is sealed with another substrate (not shown).
  • another substrate (not shown) coated with an adhesive that solidifies by ultraviolet light is placed on the substrate 800 in a glove box in a nitrogen atmosphere.
  • the substrates were fixed and the substrates were adhered to each other so that the adhesive adhered around the light emitting device formed on the substrate 800.
  • the adhesive was stabilized by irradiating it with ultraviolet light of 365 nm at 6 J/cm 2 to solidify the adhesive and heat-treating it at 80° C. for 1 hour.
  • a microresonator structure is applied to the light emitting device 1.
  • the light-emitting device 1 was manufactured so that the optical distance between the pair of reflective electrodes (APC film and Ag:Mg film) was about 1 ⁇ 2 wavelength with respect to the maximum peak wavelength of light emission of the guest material.
  • ⁇ Operating characteristics of light emitting device 1>> The operating characteristics of the light emitting device 1 were measured. The measurement was performed at room temperature (atmosphere kept at 25° C.).
  • FIG. 8 shows the current density-radiation emittance characteristics of the light emitting device 1.
  • FIG. 9 shows the voltage-current density characteristics of the light emitting device 1.
  • FIG. 10 shows current density-radiant flux characteristics of the light emitting device 1.
  • FIG. 11 shows the voltage-radiation emittance characteristic of the light emitting device 1.
  • FIG. 12 shows current density-external quantum efficiency characteristics of the light emitting device 1. The radiant exitance, radiant flux, and external quantum efficiency were calculated using the radiance, assuming that the light distribution characteristics of the light emitting device were of the Lambersian type.
  • Table 2 shows main initial characteristic values of the light emitting device 1 in the vicinity of 8.9 W/sr/m 2 .
  • the light emitting device 1 exhibited good characteristics.
  • the light emitting device 1 emitted light with higher radiance than the light emitting device 2 and the light emitting device 3 described later, for example, at the same current density. Further, the light emitting device 1 has higher external quantum efficiency than the light emitting devices 2 and 3 at the same current density, for example.
  • the drive voltage of the light emitting device 1 is lower than that of the light emitting device 3 at the same current density, for example.
  • FIG. 13 shows an emission spectrum when a current is passed through the light emitting device 1 at a current density of 10 mA / cm 2 .
  • a near-infrared spectroradiometer (SR-NIR, manufactured by Topcon) was used for the measurement of the emission spectrum.
  • the light emitting device 3 shows an emission spectrum having a maximum peak near 802 nm, which is derived from the emission of [Ir (dmdppbq) 2 (dpm)] contained in the light emitting layer 813a and the light emitting layer 831b. It was
  • the light emitting device 1 efficiently emits light of 760 nm or more and 900 nm or less, and can be said to be highly effective as a light source for sensor applications and the like.
  • the light emitting device 2 manufactured in this reference example has a light emitting unit 802, an electrode 801, an electrode 803, and a function of emitting light (see FIG. 7).
  • the light emitting device 2 is different from the light emitting device 1 in that it includes one light emitting unit.
  • the light emitting unit 802 includes a region sandwiched between the electrodes 801 and 803, and the light emitting unit 802 includes a light emitting layer 813.
  • the light emitting layer 813 includes a first light emitting material.
  • [Ir (dmdppbq) 2 (dpm)] was used as the first light emitting material.
  • the spectrum of light emitted from the manufactured light emitting device 2 has a maximum at a wavelength of 798 nm (see FIG. 19).
  • Table 3 shows a specific configuration of the light emitting device 2.
  • a first electrode 801 is formed on a substrate 800 as shown in FIG. 7A, and a hole injection layer 811, a hole transport layer 812, and a light emitting layer are formed on the first electrode 801. It has a structure in which 813, an electron transport layer 814, and an electron injection layer 815 are sequentially laminated, and a second electrode 803 is laminated on the electron injection layer 815.
  • the first electrode 801 was formed over the substrate 800.
  • the electrode area was 4 mm 2 (2 mm ⁇ 2 mm).
  • a glass substrate was used as the substrate 800.
  • the first electrode 801 is formed by forming an alloy of silver (Ag), palladium (Pd), and copper (Cu) (Ag-Pd-Cu (APC)) with a film thickness of 100 nm by a sputtering method.
  • ITSO was formed into a film with a thickness of 10 nm by a sputtering method. Note that in this embodiment, the first electrode 801 functions as an anode.
  • the surface of the substrate was washed with water, baked at 200° C. for 1 hour, and then subjected to UV ozone treatment for 370 seconds. After that, the substrate is introduced into a vacuum vapor deposition apparatus whose internal pressure is reduced to about 10 ⁇ 4 Pa, and vacuum baking is performed at 170° C. for 30 minutes in a heating chamber in the vacuum vapor deposition apparatus, and then the substrate is released for about 30 minutes. Chilled.
  • the hole-injection layer 811 was formed over the first electrode 801.
  • the hole transport layer 812 was formed over the hole injection layer 811.
  • the hole-transporting layer 812 was formed using PCBBiF by vapor deposition so that the film thickness was 20 nm.
  • the light emitting layer 813 was formed over the hole transporting layer 812.
  • 2mDBTBPDBq-II is used as a host material
  • PCBBiF is used as an assist material
  • [Ir(dmdpbq) 2 (dpm)] is used as a guest material (phosphorescent material)
  • the film thickness was 40 nm.
  • the electron-transporting layer 814 was formed over the light-emitting layer 813.
  • the electron-transporting layer 814 was formed by sequentially vapor-depositing so that the film thickness of 2mDBTBPDBq-II was 20 nm and the film thickness of NBphen was 75 nm.
  • the electron injection layer 815 was formed over the electron transport layer 814.
  • the electron-injection layer 815 was formed using lithium fluoride (LiF) by vapor deposition so as to have a thickness of 1 nm.
  • the second electrode 803 was formed over the electron-injection layer 815.
  • the buffer layer 804 was formed over the second electrode 803.
  • the buffer layer 804 was formed using DBT3P-II by vapor deposition so that the film thickness was 100 nm.
  • the light emitting device 2 was formed on the substrate 800.
  • the vapor deposition step in the above-described manufacturing method the vapor deposition method by the resistance heating method was used.
  • the light emitting device 2 is sealed by another substrate (not shown).
  • the sealing method is the same as that of the light emitting device 1, and Example 1 can be referred to.
  • ⁇ Operating characteristics of light emitting device 2>> The operating characteristics of the light emitting device 2 were measured. The measurement was performed at room temperature (atmosphere kept at 25° C.).
  • FIG. 14 shows the current density-radiant exitance characteristics of the light emitting device 2.
  • FIG. 15 shows the voltage-current density characteristics of the light emitting device 2.
  • FIG. 16 shows current density-radiant flux characteristics of the light emitting device 2.
  • FIG. 17 shows the voltage-radiation emittance characteristic of the light emitting device 2.
  • FIG. 18 shows current density-external quantum efficiency characteristics of the light emitting device 2. The radiant emittance, radiant flux, and external quantum efficiency were calculated using radiance, assuming that the light distribution characteristics of the light emitting device were Lambertian type.
  • Table 4 shows main initial characteristic values of the light emitting device 2 in the vicinity of 4.9 W/sr/m 2 .
  • FIG. 19 shows an emission spectrum when a current is passed through the light emitting device 2 at a current density of 10 mA / cm 2 .
  • a near-infrared spectroradiometer (SR-NIR, manufactured by Topcon) was used to measure the emission spectrum.
  • the light emitting device 3 manufactured in this reference example has an intermediate layer 816, a light emitting unit 802a, a light emitting unit 802b, an electrode 801 and an electrode 803, and a function of emitting light (see FIG. 7B).
  • the light emitting device 3 is different from the light emitting device 1 in that a longer distance than the light emitting device 1 is provided between the light emitting layer 813b and the light emitting layer 813a. Further, the light emitting device 3 is different from the light emitting device 1 in that a longer distance than the light emitting device 1 is provided between the electrodes 801 and 803.
  • the intermediate layer 816 includes a region sandwiched between the light emitting unit 802a and the light emitting unit 802b, and the intermediate layer 816 has a function of supplying electrons to one of the light emitting unit 802a or the light emitting unit 802b and supplying holes to the other.
  • the light emitting unit 802a includes a region sandwiched between the electrode 801 and the intermediate layer 816, and the light emitting unit 802a includes a light emitting layer 813a.
  • the light emitting layer 813a includes a first light emitting material.
  • the light emitting unit 802b includes a region sandwiched between the intermediate layer 816 and the electrode 803, and the light emitting unit 802b includes a light emitting layer 813b.
  • the light emitting layer 813b also includes the first light emitting material.
  • the spectrum of light emitted from the manufactured light emitting device 2 has a maximum at a wavelength of 799 nm (see FIG. 25).
  • the electrode 801 has a higher reflectance than the electrode 803 at the wavelength EL1.
  • the electrode 803 has a higher transmittance than the electrode 801 at the wavelength EL1, transmits part of light, and reflects the other part.
  • Table 5 shows a specific configuration of the light emitting device 3 used in this reference example.
  • the chemical formulas of the materials used in this reference example are shown below.
  • a first electrode 801 is formed on a substrate 800 as shown in FIG. 7B, and a light emitting unit 802a (a hole injection layer 811a, a hole transport layer) is formed on the first electrode 801. 812a, light emitting layer 813a, electron transport layer 814a, and electron injection layer 815a), intermediate layer 816, and light emitting unit 802b (hole injection layer 811b, hole transport layer 812b, light emitting layer 813b, electron transport layer 814b, and electron).
  • the injection layer 815b) is sequentially laminated, and the second electrode 803 is laminated on the light emitting unit 802b.
  • the first electrode 801 was formed over the substrate 800.
  • the electrode area was 4 mm 2 (2 mm ⁇ 2 mm).
  • a glass substrate was used as the substrate 800.
  • the first electrode 801 is formed by forming an alloy of silver (Ag), palladium (Pd), and copper (Cu) (Ag-Pd-Cu (APC)) with a film thickness of 100 nm by a sputtering method.
  • ITSO was formed into a film with a thickness of 10 nm by a sputtering method. Note that in this embodiment, the first electrode 801 functions as an anode.
  • the surface of the substrate was washed with water, baked at 200° C. for 1 hour, and then subjected to UV ozone treatment for 370 seconds. After that, the substrate is introduced into a vacuum vapor deposition apparatus whose internal pressure is reduced to about 10 ⁇ 4 Pa, and vacuum baking is performed at 170° C. for 30 minutes in a heating chamber in the vacuum vapor deposition apparatus, and then the substrate is released for about 30 minutes. Chilled.
  • the hole injection layer 811a was formed over the first electrode 801.
  • the hole transport layer 812a was formed over the hole injection layer 811a.
  • the hole-transporting layer 812a was formed using PCBBiF by vapor deposition so as to have a thickness of 30 nm.
  • the light emitting layer 813a was formed over the hole transporting layer 812a.
  • 2mDBTBPDBq-II was used as the host material
  • PCBBiF was used as the assist material
  • [Ir(dmdpbq) 2 (dpm)] which is an organometallic complex
  • the guest material phosphorescent material
  • the weight ratio was 2mDBTBPDBq-.
  • the film thickness was 40 nm.
  • the electron-transporting layer 814a was formed over the light-emitting layer 813a.
  • the electron transport layer 814a was formed by thin-film deposition so that the film thickness of 2mDBTBPDBq-II was 20 nm and the film thickness of NBphen was 90 nm.
  • the electron injection layer 815a was formed over the electron transport layer 814a.
  • the electron injection layer 815a was formed by vapor deposition using lithium oxide (Li 2 O) so as to have a film thickness of 0.1 nm.
  • the intermediate layer 816 was formed on the electron injection layer 815a.
  • the intermediate layer 816 was formed using copper phthalocyanine (CuPc) by vapor deposition so that the film thickness was 2 nm.
  • CuPc copper phthalocyanine
  • the hole injection layer 811b was formed on the intermediate layer 816.
  • the hole transport layer 812b was formed over the hole injection layer 811b.
  • the hole-transporting layer 812b was formed using PCBBiF by vapor deposition so that the film thickness was 60 nm.
  • the light emitting layer 813b was formed over the hole transporting layer 812b.
  • 2mDBTBPDBq-II is used as a host material
  • PCBBiF is used as an assist material
  • [Ir(dmdpbq) 2 (dpm)] which is an organometallic complex of one embodiment of the present invention is used as a guest material (phosphorescent material).
  • the film thickness was 40 nm.
  • the electron-transporting layer 814b was formed over the light-emitting layer 813b.
  • the electron-transporting layer 814b was sequentially formed by evaporation so that the film thickness of 2mDBTBPDBq-II was 20 nm and the film thickness of NBphen was 65 nm.
  • the electron injection layer 815b was formed over the electron transport layer 814b.
  • the electron-injection layer 815b was formed by using lithium fluoride (LiF) by vapor deposition so as to have a thickness of 1 nm.
  • the second electrode 803 was formed over the electron-injection layer 815b.
  • the buffer layer 804 was formed over the second electrode 803.
  • the buffer layer 804 was formed by using DBT3P-II by vapor deposition so that the film thickness was 110 nm.
  • the light emitting device 3 was formed on the substrate 800.
  • the vapor deposition step in the above-described manufacturing method the vapor deposition method by the resistance heating method was used.
  • the light emitting device 3 is sealed by another substrate (not shown).
  • the sealing method is the same as that of the light emitting device 1, and Example 1 can be referred to.
  • a microresonator structure is applied to the light emitting device 3.
  • the light-emitting device 3 was manufactured such that the optical distance between the pair of reflective electrodes (APC film and Ag:Mg film) was about 1 wavelength with respect to the maximum peak wavelength of light emission of the guest material.
  • ⁇ Operating characteristics of light emitting device 3>> The operating characteristics of the light emitting device 3 were measured. The measurement was performed at room temperature (atmosphere kept at 25° C.).
  • FIG. 20 shows the current density-radiation emittance characteristics of the light emitting device 3.
  • FIG. 21 shows the voltage-current density characteristic of the light emitting device 3.
  • FIG. 22 shows the current density-radiant flux characteristics of the light emitting device 3.
  • FIG. 23 shows the voltage-radiation emittance characteristic of the light emitting device 3.
  • FIG. 24 shows current density-external quantum efficiency characteristics of the light emitting device 3. The radiant emittance, radiant flux, and external quantum efficiency were calculated using radiance, assuming that the light distribution characteristics of the light emitting device were Lambertian type.
  • Table 6 shows main initial characteristic values of the light emitting device 3 in the vicinity of 6.8 W/sr/m 2 .
  • FIG. 25 shows an emission spectrum when a current is passed through the light emitting device 3 at a current density of 10 mA / cm 2 .
  • a near-infrared spectroradiometer (SR-NIR, manufactured by Topcon) was used for the measurement of the emission spectrum.
  • FIG. 26 is a diagram illustrating a structure of a light emitting device of one embodiment of the present invention and a device of a reference example.
  • FIG. 27 is a diagram illustrating the calculation results performed on the light emitting device of one aspect of the present invention and the device of the reference example. Specifically, it is a diagram illustrating how the external quantum efficiency changes depending on the distance D1 between the two light emitting layers.
  • the light-emitting device of one embodiment of the present invention has the intermediate layer 104, the light-emitting unit 103a, the light-emitting unit 103b, the electrode 101, the electrode 102, and the function of emitting light (see FIG. 26).
  • the intermediate layer 104 has a function of supplying electrons to one of the light emitting unit 103a and the light emitting unit 103b and supplying holes to the other.
  • the light emitting unit 103a includes a region sandwiched between the electrode 101 and the intermediate layer 104.
  • the light emitting unit 103a includes a light emitting layer 113a, and the light emitting layer 113a includes a first light emitting material.
  • the thickness of the light emitting layer 113a was set to 10 nm, and [Ir (dmdppbq) 2 (dpm)] was used as the first light emitting material.
  • the light emitting unit 103b includes a region sandwiched between the intermediate layer 104 and the electrode 102.
  • the light emitting unit 103b includes a light emitting layer 113b, and the light emitting layer 113b includes a second light emitting material.
  • the thickness of the light emitting layer 113b is 10 nm, and the same material as the first light emitting material is used for the second light emitting material.
  • the light-emitting device of one embodiment of the present invention emits light having a spectrum having a maximum at the wavelength EL1.
  • light having a spectrum having a maximum near 800 nm is emitted.
  • the electrode 101 has a higher reflectance than the electrode 102 at the wavelength EL1.
  • silver having a thickness of 100 nm was used for the electrode 101.
  • the electrode 102 has a higher transmittance than the electrode 101 at the wavelength EL1.
  • the electrode 102 partially transmits and reflects the other portion at the wavelength EL1.
  • silver having a thickness of about 30 nm was used for the electrode 102.
  • the light-emitting device of one embodiment of the present invention includes the protective layer 105 having a thickness of approximately 100 nm. Note that the protective layer 105 is in contact with the electrode 102.
  • the electrode 102 includes a distance D2 from the electrode 101.
  • the distance D2 is included in the range of 0.3 times or more and 0.6 times or less of the wavelength EL1.
  • a distance in the range of 134 nm to 266 nm is used as the distance D2.
  • the light emitting layer 113b has a distance D1 from the light emitting layer 113a.
  • the distance in the range of 10 nm to 90 nm is used as the distance D1.
  • 10 nm is applied to the distance D1 of the light emitting device 12
  • 20 nm is applied to the distance D1 of the light emitting device 13
  • 30 nm is applied to the distance D1 of the light emitting device 14
  • 40 nm is applied to the distance D1 of the light emitting device 15.
  • apply 80 nm was applied to the distance D1 of the light emitting device 20.
  • the light emitting layer 113a has a distance D33 between itself and the electrode 101.
  • the light emitting layer 113b has a distance D34 between itself and the electrode 102.
  • the distance D33, the distance D34, the thickness of the electrode 102, and the thickness of the protective layer 105 were optimized using a computer.
  • the efficiency of extracting light from the light emitting device was compared for each distance D1.
  • Method of calculation In this example, the calculation was performed using an organic device simulator (semiconductor emissive thin film optics simulator: setfos; manufactured by Cybernet System Co., Ltd.).
  • the thickness of each layer constituting the light emitting device, the refractive index n, the extinction coefficient k, the actual measurement value of the emission spectrum (photoluminescence (PL) spectrum) of the light emitting material, and the light emission position are input, and the parcel is input.
  • the emission intensity and peak waveform in the front direction were calculated in consideration of the modulation of the radiative decay rate of excitons.
  • the emission spectrum of the luminescent material is a near infrared spectroradiometer (SR-NIR Topcon) as a detector, an ultraviolet light emitting LED (NSCU033B made by Nichia Corporation) as excitation light, and a UV U360 (Edmond Optics) as a bandpass filter. Measurement), and SCF-50S-42L (manufactured by Sigma Optical Co., Ltd.) as a long-pass filter.
  • SR-NIR Topcon near infrared spectroradiometer
  • NCU033B ultraviolet light emitting LED
  • UV U360 Electrode
  • SCF-50S-42L manufactured by Sigma Optical Co., Ltd.
  • the emission spectrum used for the calculation is shown in FIG. In FIG. 29, the horizontal axis represents wavelength (unit: nm) and the vertical axis represents energy-based normalized intensity (arbitrary unit: au).
  • the light emitting position was assumed to be the center of the light emitting layer.
  • the emission quantum yield, exciton generation probability, and recombination probability were assumed to be 100%.
  • the external quantum efficiency (Lambascian assumption) obtained by the calculation indicates the light extraction efficiency calculated assuming the Lambertian light distribution from the front emission intensity.
  • the film thickness of the intermediate layer was also obtained.
  • the calculation results are shown in Tables 7 and 8 and FIG.
  • the light emitting device of one aspect of the present invention emitted light with higher efficiency than the light emitting device 21 of Reference Example 3 described later when the distance D1 was 5 nm or more and 65 nm or less.
  • Step 1 Synthesis of 2,3-bis-(3,5-dimethylphenyl)-2-benzo[g]quinoxaline (abbreviation: Hdmdpbq)>
  • Hdmdpbq represented by the structural formula (200), which is an organic compound of one embodiment of the present invention, was synthesized.
  • 3.20 g of 3,3′,5,5′-tetramethylbenzyl, 1.97 g of 2,3-diaminonaphthalene, and 60 mL of ethanol were placed in a three-necked flask equipped with a reflux tube, and the inside was replaced with nitrogen, and then 90° C. The mixture was stirred for 7 hours and a half.
  • Step 1 The synthetic scheme of Step 1 is shown in (a-1).
  • Step 2 15 mL of 2-ethoxyethanol, 5 mL of water, 1.81 g of Hdmdpbq obtained in Step 1 and 0.66 g of iridium chloride hydrate (IrCl 3 .H 2 O) (manufactured by Furuya Metal Co., Ltd.) It was placed in a flask and the inside of the flask was replaced with argon. After that, microwave (2.45 GHz, 100 W) was irradiated for 2 hours to cause a reaction. After a lapse of a predetermined time, the obtained residue was suction-filtered and washed with methanol to obtain an intended product (black solid, yield 1.76 g, yield 81%).
  • the synthetic scheme of Step 2 is shown in (a-2).
  • Step 3 Synthesis of [Ir(dmdpbq) 2 (dpm)]> Then, in Step 3, [Ir(dmdpbq) 2 (dpm)] represented by the structural formula (100), which is an organometallic complex of one embodiment of the present invention, was synthesized.
  • 2-ethoxyethanol 20 mL obtained in Step 2 [Ir (dmdpbq) 2 Cl ] 2 1.75g, dipivaloylmethane (abbreviated: Hdpm) 0.50g, and sodium carbonate 0.95 g, a reflux tube
  • Hdpm dipivaloylmethane
  • sodium carbonate 0.95 g
  • step 3 The synthesis scheme of step 3 is shown in (a-3).
  • the ultraviolet-visible absorption spectrum (hereinafter, simply referred to as “absorption spectrum”) and the emission spectrum of the dichloromethane solution of [Ir (dmdppbq) 2 (dpm)] were measured.
  • An ultraviolet-visible spectrophotometer (manufactured by JASCO Corporation, V550 type) was used to measure the absorption spectrum, and a dichloromethane solution (0.010 mmol/L) was placed in a quartz cell, and the measurement was performed at room temperature.
  • a fluorescence spectrophotometer (FS920 manufactured by Hamamatsu Photonics Co., Ltd.) was used to measure the emission spectrum, and a dichloromethane deoxygenated solution (0.010 mmol/L) was placed in a quartz cell under a nitrogen atmosphere and sealed at room temperature. The measurement was performed.
  • the measurement results of the obtained absorption spectrum and emission spectrum are shown in FIG. 7.
  • the horizontal axis represents wavelength and the vertical axis represents absorption intensity and emission intensity.
  • the thin solid line in FIG. 28 shows the absorption spectrum, and the thick solid line shows the emission spectrum.
  • the absorption spectrum shown in FIG. 28 shows the result of subtracting the absorption spectrum measured by putting only dichloromethane in the quartz cell from the absorption spectrum measured by putting the dichloromethane solution (0.010 mmol/L) in the quartz cell.
  • the light-emitting device 4 is different from the light-emitting device 1 described in Table 1 in the structures of the hole-injection layer 811a, the hole-transport layer 812a, the intermediate layer 816, the hole-transport layer 812b, and the electron-transport layer 814b. ..
  • different parts will be described in detail, and the above description will be applied to parts that can use the same configuration.
  • the light-emitting device 4 includes a reflective first film, and the reflective first film sandwiches a light-transmitting conductive film with the light-emitting layer 813a.
  • a film of an alloy of silver (Ag), palladium (Pd), and copper (Cu) is provided, and the film of the APC has a thickness of 10 nm between the light-emitting layer 813a.
  • Sandwich ITSO. In this configuration, the distance D2 was (10+10+32.5+15+15+0.1+5+5+15+20+52.5+1) nm 181.1 nm.
  • Table 9 shows a specific configuration of the light emitting device 4.
  • the hole-transporting layer 812a was formed using PCBBiF by vapor deposition so that the film thickness was 32.5 nm.
  • the hole-transporting layer 812b was formed using PCBBiF by vapor deposition so that the film thickness was 5 nm.
  • the electron transport layer 814b was formed by thin-film deposition so that the film thickness of 2mDBTBPDBq-II was 20 nm and the film thickness of NBphen was 52.5 nm.
  • ⁇ Operating characteristics of light emitting device 4>> The operating characteristics of the light emitting device 4 were measured. The measurement was performed at room temperature (atmosphere kept at 25° C.).
  • FIG. 30 shows the current density-radiation emittance characteristic of the light emitting device 4.
  • FIG. 31 shows the voltage-current density characteristics of the light emitting device 4.
  • FIG. 32 shows the current density-radiant flux characteristics of the light emitting device 4.
  • FIG. 33 shows the voltage-radiation emittance characteristic of the light emitting device 4.
  • FIG. 34 shows current density-external quantum efficiency characteristics of the light emitting device 4. The radiant emittance, radiant flux, and external quantum efficiency were calculated using radiance, assuming that the light distribution characteristics of the light emitting device were Lambertian type.
  • Table 10 shows main initial characteristic values of the light emitting device 4 in the vicinity of 8.1 W/sr/m 2 .
  • the light emitting device 4 exhibited good characteristics.
  • the light emitting device 4 emitted light with higher radiance than the light emitting devices 2 and 3 described above, for example, at the same current density. Further, the light emitting device 4 has higher external quantum efficiency than the light emitting devices 2 and 3 at the same current density, for example.
  • the drive voltage of the light emitting device 4 is lower than that of the light emitting device 3 at the same current density, for example.
  • FIG. 35 shows an emission spectrum when a current is passed through the light emitting device 4 at a current density of 10 mA / cm 2 .
  • a near-infrared spectroradiometer (SR-NIR, manufactured by Topcon) was used for the measurement of the emission spectrum.
  • the light emitting device 4 shows an emission spectrum having a maximum peak near 803 nm due to the emission of [Ir (dmdppbq) 2 (dpm)] contained in the light emitting layer 813a and the light emitting layer 831b. It was
  • the emission spectrum was narrowed and the half value width was 35 nm.
  • the light emitting device 4 efficiently emits light of 760 nm or more and 900 nm or less, and can be said to be highly effective as a light source for sensor applications and the like.
  • the EL spectrum in the front direction of the light emitting device 4 and the EL spectrum in the oblique direction were measured. Specifically, with the direction perpendicular to the light emitting surface of the light emitting device 4 being 0°, the emission spectrum was measured at a total of 17 points for every 10° from ⁇ 80° to 80°. A multi-channel spectroscope (PMA-12, manufactured by Hamamatsu Photonics KK) was used for the measurement. From the measurement results, the EL spectrum and the photon intensity ratio of the light emitting device 4 at each angle were obtained.
  • PMA-12 manufactured by Hamamatsu Photonics KK
  • FIG. 36 shows the EL spectrum of the light emitting device 4 from 0 ° to 60 °.
  • FIG. 37 shows the photon intensity at each angle with reference to the photon intensity in the front of the light emitting device 4.
  • the light emitting device 4 has a large viewing angle dependence and emits strong light in the front direction. This is because by adopting the microresonator structure, the light emission in the front direction was strengthened while the light emission in the oblique direction was weakened. As described above, the viewing angle characteristic in which light emission in the front direction is strong is suitable as a light source for sensor applications such as a vein sensor.
  • X and Y are objects (for example, devices, elements, circuits, wirings, electrodes, terminals, conductive films, layers, etc.).
  • an element for example, a switch, a transistor, a capacitance element, an inductor, a resistance element, a diode, a display, etc.
  • Elements, light emitting elements, loads, etc. are not connected between X and Y, and elements (eg, switches, transistors, capacitive elements, inductors) that enable electrical connection between X and Y , Resistance element, diode, display element, light emitting element, load, etc.) and X and Y are connected.
  • an element for example, a switch, a transistor, a capacitance element, an inductor, a resistance element, a diode, a display, etc.
  • Element, light emitting element, load, etc. can be connected between X and Y one or more.
  • the switch has a function of controlling on/off. That is, the switch is in a conducting state (on state) or a non-conducting state (off state) and has a function of controlling whether or not to pass a current. Alternatively, the switch has a function of selecting and switching a path through which current flows. Note that the case where X and Y are electrically connected includes the case where X and Y are directly connected.
  • Examples of the case where X and Y are functionally connected include a circuit (for example, a logic circuit (inverter, NAND circuit, NOR circuit, etc.)) that enables functional connection between X and Y, and signal conversion.
  • Circuits (DA conversion circuit, AD conversion circuit, gamma correction circuit, etc.), potential level conversion circuit (power supply circuit (step-up circuit, step-down circuit, etc.), level shifter circuit for changing signal potential level, etc.), voltage source, current source, switching Circuits, amplifier circuits (circuits that can increase signal amplitude or current amount, operational amplifiers, differential amplifier circuits, source follower circuits, buffer circuits, etc.), signal generation circuits, storage circuits, control circuits, etc. It is possible to connect more than one in between.
  • the source (or the first terminal or the like) of the transistor is electrically connected to X through (or not) Z1, and the drain (or the second terminal or the like) of the transistor is connected to Z2.
  • Via (or not) electrically connected to Y, or the source of the transistor (or the first terminal, etc.) is directly connected to a part of Z1 and another part of Z1 Is directly connected to X
  • the drain (or the second terminal, etc.) of the transistor is directly connected to a part of Z2, and another part of Z2 is directly connected to Y. Then, it can be expressed as follows.
  • X and Y, the source (or the first terminal or the like) of the transistor, and the drain (or the second terminal or the like) are electrically connected to each other, and X, the source (or the first terminal) of the transistor, or the like. Terminal, etc.), the drain of the transistor (or the second terminal, etc.), and Y are electrically connected in this order.”
  • the source of the transistor (or the first terminal or the like) is electrically connected to X
  • the drain of the transistor (or the second terminal or the like) is electrically connected to Y
  • the first terminal or the like), the drain of the transistor (or the second terminal, or the like), and Y are electrically connected in this order”.
  • X is electrically connected to Y through a source (or a first terminal or the like) and a drain (or a second terminal or the like) of the transistor, and X, a source (or a first terminal) of the transistor, or the like. Terminal and the like), the drain of the transistor (or the second terminal and the like), and Y are provided in this connection order”.
  • the source (or the first terminal or the like) of the transistor and the drain (or the second terminal or the like) are separated from each other by defining the order of connection in the circuit structure using the expression method similar to these examples. Apart from this, the technical scope can be determined.
  • the source of the transistor (or the first terminal or the like) is electrically connected to X through at least the first connection path, and the first connection path is The second connection path does not have a second connection path, and the second connection path is provided between the source of the transistor (or the first terminal or the like) and the drain of the transistor (or the second terminal or the like) through the transistor.
  • the first connection path is a path via Z1, and the drain (or the second terminal or the like) of the transistor is electrically connected to Y via at least the third connection path.
  • the third connection path does not have the second connection path, and the third connection path is a path via Z2.”
  • the source (or the first terminal or the like) of the transistor is electrically connected to X via at least the first connection path via Z1, and the first connection path is the second connection path.
  • the second connection path has a connection path via a transistor, and the drain (or the second terminal or the like) of the transistor has at least a third connection path via Z2.
  • the source of the transistor (or the first terminal or the like) is electrically connected to X via at least the first electrical path via Z1, and the first electrical path is the second electrical path;
  • the second electrical path is an electrical path from a source (or a first terminal or the like) of the transistor to a drain (or a second terminal or the like) of the transistor,
  • the drain (or the second terminal or the like) of the transistor is electrically connected to Y via at least a third electrical path Z2, and the third electrical path is a fourth electrical path.
  • the fourth electrical path is an electrical path from the drain of the transistor (or the second terminal or the like) to the source of the transistor (or the first terminal or the like).” can do.
  • X, Y, Z1, and Z2 are objects (for example, devices, elements, circuits, wirings, electrodes, terminals, conductive films, layers, etc.).
  • 11 light emitting device, 12: light emitting device, 13: light emitting device, 14: light emitting device, 15: light emitting device, 16: light emitting device, 17: light emitting device, 18: light emitting device, 19: light emitting device, 20: light emitting device, 101: Electrode, 102: Electrode, 103a: Light emitting unit, 103b: Light emitting unit, 104: Intermediate layer, 105: Protective layer, 111a: Hole injection layer, 112: Hole transport layer, 112a: Hole transport layer, 112b : Hole transport layer, 113a: light emitting layer, 113b: light emitting layer, 114a: electron transport layer, 114b: electron transport layer, 115a: electron injection layer, 115b: electron injection layer, 301: substrate, 302: pixel portion, 303 : Circuit part, 304a: Circuit part, 304b: Circuit part, 305: Sealing material, 306: Substrate, 307: Wiring, 308:

Landscapes

  • Physics & Mathematics (AREA)
  • Optics & Photonics (AREA)
  • Chemical & Material Sciences (AREA)
  • Engineering & Computer Science (AREA)
  • Microelectronics & Electronic Packaging (AREA)
  • Crystallography & Structural Chemistry (AREA)
  • Inorganic Chemistry (AREA)
  • Materials Engineering (AREA)
  • Electromagnetism (AREA)
  • Electroluminescent Light Sources (AREA)
PCT/IB2020/051515 2019-03-07 2020-02-24 発光デバイス Ceased WO2020178660A1 (ja)

Priority Applications (7)

Application Number Priority Date Filing Date Title
CN202080017703.9A CN113519205A (zh) 2019-03-07 2020-02-24 发光器件
KR1020217030657A KR20210132141A (ko) 2019-03-07 2020-02-24 발광 디바이스
US17/435,452 US11903232B2 (en) 2019-03-07 2020-02-24 Light-emitting device comprising charge-generation layer between light-emitting units
JP2021503230A JP7450599B2 (ja) 2019-03-07 2020-02-24 発光デバイス
US18/436,886 US12302688B2 (en) 2019-03-07 2024-02-08 Light-emitting device comprising charge-generation layer between light-emitting units
JP2024032858A JP7752713B2 (ja) 2019-03-07 2024-03-05 発光デバイス
US19/203,823 US20250268018A1 (en) 2019-03-07 2025-05-09 Light-Emitting Device

Applications Claiming Priority (2)

Application Number Priority Date Filing Date Title
JP2019041455 2019-03-07
JP2019-041455 2019-03-07

Related Child Applications (2)

Application Number Title Priority Date Filing Date
US17/435,452 A-371-Of-International US11903232B2 (en) 2019-03-07 2020-02-24 Light-emitting device comprising charge-generation layer between light-emitting units
US18/436,886 Continuation US12302688B2 (en) 2019-03-07 2024-02-08 Light-emitting device comprising charge-generation layer between light-emitting units

Publications (1)

Publication Number Publication Date
WO2020178660A1 true WO2020178660A1 (ja) 2020-09-10

Family

ID=72338623

Family Applications (1)

Application Number Title Priority Date Filing Date
PCT/IB2020/051515 Ceased WO2020178660A1 (ja) 2019-03-07 2020-02-24 発光デバイス

Country Status (5)

Country Link
US (2) US12302688B2 (enExample)
JP (2) JP7450599B2 (enExample)
KR (1) KR20210132141A (enExample)
CN (1) CN113519205A (enExample)
WO (1) WO2020178660A1 (enExample)

Cited By (2)

* Cited by examiner, † Cited by third party
Publication number Priority date Publication date Assignee Title
JP2024510192A (ja) * 2021-08-18 2024-03-06 清華大学 タンデム型有機電界発光素子
US11950447B2 (en) 2018-12-10 2024-04-02 Semiconductor Energy Laboratory Co., Ltd. Light-emitting device, light-emitting apparatus, electronic device, and lighting device

Families Citing this family (1)

* Cited by examiner, † Cited by third party
Publication number Priority date Publication date Assignee Title
CN111584597B (zh) * 2020-05-26 2021-10-15 云谷(固安)科技有限公司 显示面板及显示装置

Citations (3)

* Cited by examiner, † Cited by third party
Publication number Priority date Publication date Assignee Title
JP2006324016A (ja) * 2005-05-17 2006-11-30 Sony Corp 有機電界発光素子および表示装置
JP2017208334A (ja) * 2016-05-12 2017-11-24 株式会社半導体エネルギー研究所 発光素子、発光装置、電子機器、および照明装置
JP2018092887A (ja) * 2016-05-20 2018-06-14 株式会社半導体エネルギー研究所 発光装置および電子機器

Family Cites Families (103)

* Cited by examiner, † Cited by third party
Publication number Priority date Publication date Assignee Title
JP2797883B2 (ja) 1993-03-18 1998-09-17 株式会社日立製作所 多色発光素子とその基板
US6133692A (en) 1998-06-08 2000-10-17 Motorola, Inc. White light generating organic electroluminescent device and method of fabrication
JP2001043980A (ja) 1999-07-29 2001-02-16 Sony Corp 有機エレクトロルミネッセンス素子及び表示装置
GB2353400B (en) 1999-08-20 2004-01-14 Cambridge Display Tech Ltd Mutiple-wavelength light emitting device and electronic apparatus
TW478019B (en) 1999-10-29 2002-03-01 Semiconductor Energy Lab Self light-emitting device
US6762553B1 (en) 1999-11-10 2004-07-13 Matsushita Electric Works, Ltd. Substrate for light emitting device, light emitting device and process for production of light emitting device
US6602731B2 (en) 2001-02-07 2003-08-05 Agfa Gevaert Manufacturing of a thin inorganic light emitting diode
JP3933591B2 (ja) 2002-03-26 2007-06-20 淳二 城戸 有機エレクトロルミネッセント素子
US7158161B2 (en) 2002-09-20 2007-01-02 Matsushita Electric Industrial Co., Ltd. Organic electroluminescence element and an exposure unit and image-forming apparatus both using the element
JP4401657B2 (ja) 2003-01-10 2010-01-20 株式会社半導体エネルギー研究所 発光装置の製造方法
US6909233B2 (en) 2003-06-11 2005-06-21 Eastman Kodak Company Stacked OLED display having improved efficiency
US7030553B2 (en) 2003-08-19 2006-04-18 Eastman Kodak Company OLED device having microcavity gamut subpixels and a within gamut subpixel
KR101157579B1 (ko) 2003-09-19 2012-06-19 소니 가부시키가이샤 유기 발광 장치 및 그 제조 방법과 표시 장치
KR101286219B1 (ko) 2003-09-26 2013-07-15 가부시키가이샤 한도오따이 에네루기 켄큐쇼 발광소자의 제조방법
JP4476594B2 (ja) 2003-10-17 2010-06-09 淳二 城戸 有機エレクトロルミネッセント素子
JP4243237B2 (ja) 2003-11-10 2009-03-25 淳二 城戸 有機素子、有機el素子、有機太陽電池、及び、有機fet構造、並びに、有機素子の製造方法
US7002293B2 (en) 2004-01-27 2006-02-21 Eastman Kodak Company Organic light emitting diode with improved light emission through the cathode
JP2005317506A (ja) 2004-03-31 2005-11-10 Sanyo Electric Co Ltd 有機エレクトロルミネッセンス表示装置
US7129634B2 (en) 2004-04-07 2006-10-31 Eastman Kodak Company Color OLED with added color gamut pixels
KR20060046476A (ko) 2004-06-18 2006-05-17 산요덴키가부시키가이샤 일렉트로루미네센스 패널
EP1624502B1 (en) 2004-08-04 2015-11-18 Semiconductor Energy Laboratory Co., Ltd. Light-emitting element, display device, and electronic appliance
WO2006035958A1 (en) 2004-09-30 2006-04-06 Semiconductor Energy Laboratory Co., Ltd. Light emitting element
KR100719991B1 (ko) 2004-09-30 2007-05-21 산요덴키가부시키가이샤 일렉트로루미네센스 소자
KR101210858B1 (ko) 2004-11-05 2012-12-11 가부시키가이샤 한도오따이 에네루기 켄큐쇼 발광 소자 및 이를 이용하는 발광 장치
WO2006049323A1 (en) 2004-11-05 2006-05-11 Semiconductor Energy Laboratory Co., Ltd. Light-emitting element and light emitting device using the same
KR100700013B1 (ko) 2004-11-26 2007-03-26 삼성에스디아이 주식회사 유기전계발광소자 및 그의 제조 방법
US8633473B2 (en) 2004-12-28 2014-01-21 Semiconductor Energy Laboratory Co., Ltd. High contrast light emitting device and method for manufacturing the same
WO2006083413A2 (en) 2004-12-30 2006-08-10 E.I. Dupont De Nemours And Company Electronic device having an optical resonator
JP4939809B2 (ja) 2005-01-21 2012-05-30 株式会社半導体エネルギー研究所 発光装置
US7271537B2 (en) 2005-04-15 2007-09-18 Sony Corporation Display device and a method of manufacturing the display device
JP4507964B2 (ja) 2005-04-15 2010-07-21 ソニー株式会社 表示装置および表示装置の製造方法
TW200714131A (en) 2005-07-29 2007-04-01 Sanyo Electric Co Organic electroluminescent element and organic electroluminescent display device
JP4378366B2 (ja) 2005-08-04 2009-12-02 キヤノン株式会社 発光素子アレイ
KR20070019495A (ko) 2005-08-12 2007-02-15 삼성에스디아이 주식회사 백색 유기 발광 소자 및 그의 제조방법
JP5072312B2 (ja) 2005-10-18 2012-11-14 株式会社半導体エネルギー研究所 有機金属錯体及びそれを用いた発光素子、発光装置
TW200721896A (en) 2005-11-22 2007-06-01 Sanyo Electric Co Light emitting element and display device
JP4441883B2 (ja) 2005-12-06 2010-03-31 ソニー株式会社 表示装置
JP2007242927A (ja) 2006-03-09 2007-09-20 Seiko Epson Corp 発光装置及び発光装置の製造方法
JP2008047340A (ja) 2006-08-11 2008-02-28 Dainippon Printing Co Ltd 有機エレクトロルミネッセンス素子
KR100796603B1 (ko) 2006-11-28 2008-01-21 삼성에스디아이 주식회사 유기전계발광소자 및 그의 제조방법
EP2124270A4 (en) 2007-02-28 2010-08-25 Idemitsu Kosan Co ORGANIC EL-INSTALLATION
US8884846B2 (en) 2007-02-28 2014-11-11 Japan Display Inc. Organic EL display device
JP2008294356A (ja) 2007-05-28 2008-12-04 Panasonic Electric Works Co Ltd 有機エレクトロルミネッセンス素子
JP2009021104A (ja) 2007-07-12 2009-01-29 Sumitomo Chemical Co Ltd 有機発光素子の製造方法
DE102007058005B4 (de) 2007-09-25 2018-05-17 Osram Oled Gmbh Strahlungsemittierende Vorrichtung und Verfahren zu deren Herstellung
JP5176459B2 (ja) 2007-09-28 2013-04-03 大日本印刷株式会社 白色発光素子
US7948172B2 (en) 2007-09-28 2011-05-24 Global Oled Technology Llc LED device having improved light output
KR20100090257A (ko) 2007-10-19 2010-08-13 퀄컴 엠이엠스 테크놀로지스, 인크. 광기전력 소자가 통합된 디스플레이
JP2009277986A (ja) 2008-05-16 2009-11-26 Sony Corp 有機電界発光素子および表示装置
JP5056602B2 (ja) 2008-06-11 2012-10-24 セイコーエプソン株式会社 有機el発光装置および電子機器
JP2010003577A (ja) 2008-06-20 2010-01-07 Canon Inc 積層型発光表示装置
US20110114981A1 (en) 2008-06-30 2011-05-19 Canon Kabushiki Kaisha Light emitting display apparatus
KR20100031317A (ko) 2008-09-12 2010-03-22 삼성전자주식회사 유기 발광 표시 장치
CN102197507A (zh) 2008-10-28 2011-09-21 密执安州立大学董事会 具有单独的红色、绿色和蓝色子元件的堆叠式白色oled
JP2010182637A (ja) 2009-02-09 2010-08-19 Fujifilm Corp 有機電界発光素子の製造方法及び有機電界発光素子
JP2010232163A (ja) 2009-03-03 2010-10-14 Fujifilm Corp 発光表示装置の製造方法、発光表示装置、及び発光ディスプレイ
JP2010287484A (ja) 2009-06-12 2010-12-24 Sony Corp 有機発光素子、並びにこれを備えた表示装置および照明装置
KR101058109B1 (ko) 2009-09-15 2011-08-24 삼성모바일디스플레이주식회사 유기 발광 디스플레이 장치
KR101321878B1 (ko) 2009-09-25 2013-10-28 엘지디스플레이 주식회사 유기전계 발광소자
JP5427528B2 (ja) 2009-09-28 2014-02-26 ユー・ディー・シー アイルランド リミテッド 光学部材
CN102474938B (zh) 2009-09-29 2015-09-09 株式会社日本有机雷特显示器 发光元件以及使用该发光元件的显示装置
JP5676867B2 (ja) 2009-09-29 2015-02-25 住友化学株式会社 有機エレクトロルミネッセンス素子
JP5407907B2 (ja) 2010-01-29 2014-02-05 ソニー株式会社 発光素子、照明装置および表示装置
JP5407910B2 (ja) 2010-01-29 2014-02-05 ソニー株式会社 発光装置、照明装置および表示装置
JP5407908B2 (ja) 2010-01-29 2014-02-05 ソニー株式会社 発光装置、照明装置および表示装置
JP5839819B2 (ja) 2010-04-16 2016-01-06 株式会社半導体エネルギー研究所 発光装置、表示モジュール及び電子機器
CN104934535B (zh) 2010-10-04 2017-09-15 株式会社半导体能源研究所 复合材料、发光元件、发光装置、电子装置以及照明装置
KR101894898B1 (ko) 2011-02-11 2018-09-04 가부시키가이샤 한도오따이 에네루기 켄큐쇼 발광 장치 및 발광 장치를 사용한 전자 기기
US8957442B2 (en) 2011-02-11 2015-02-17 Semiconductor Energy Laboratory Co., Ltd. Light-emitting device and display device
WO2012108482A1 (en) 2011-02-11 2012-08-16 Semiconductor Energy Laboratory Co., Ltd. Light-emitting device and display device
TWI647973B (zh) 2011-02-11 2019-01-11 日商半導體能源研究所股份有限公司 發光元件、發光裝置以及顯示裝置
JP6062636B2 (ja) 2011-03-10 2017-01-18 ローム株式会社 有機el装置
JP2012204256A (ja) 2011-03-28 2012-10-22 Sony Corp 発光素子、照明装置および表示装置
JP6157804B2 (ja) 2011-04-29 2017-07-05 株式会社半導体エネルギー研究所 発光素子
JP2013051155A (ja) 2011-08-31 2013-03-14 Canon Inc 有機el素子
JP6338374B2 (ja) 2011-09-12 2018-06-06 保土谷化学工業株式会社 有機エレクトロルミネッセンス素子
KR101275810B1 (ko) 2012-01-20 2013-06-18 삼성디스플레이 주식회사 유기 발광 표시 장치
WO2013172835A1 (en) 2012-05-17 2013-11-21 Universal Display Corporation Biscarbazole derivative host materials for oled emissive region
JP6210473B2 (ja) 2012-08-03 2017-10-11 国立大学法人山形大学 有機光学デバイス及びこれを用いた有機電子デバイス
JP6253242B2 (ja) 2013-04-15 2017-12-27 キヤノン株式会社 有機el素子、画像形成装置、表示装置及び撮像装置
WO2014199842A1 (en) 2013-06-14 2014-12-18 Semiconductor Energy Laboratory Co., Ltd. Organometallic iridium complex, light-emitting element, light-emitting device, and lighting device
JP2015029089A (ja) 2013-07-04 2015-02-12 キヤノン株式会社 有機発光素子、表示装置、画像情報処理装置及び画像形成装置
JP6424456B2 (ja) 2013-07-17 2018-11-21 セイコーエプソン株式会社 発光装置、発光装置の製造方法、受発光装置、電子機器
TWI742416B (zh) 2014-02-21 2021-10-11 日商半導體能源研究所股份有限公司 發光元件、發光裝置、電子裝置、及照明裝置
KR102291619B1 (ko) 2014-02-26 2021-08-23 삼성디스플레이 주식회사 유기 발광 표시 장치
KR20150130224A (ko) 2014-05-13 2015-11-23 가부시키가이샤 한도오따이 에네루기 켄큐쇼 발광 소자, 발광 장치, 표시 장치, 전자 기기, 및 조명 장치
US9343691B2 (en) 2014-08-08 2016-05-17 Semiconductor Energy Laboratory Co., Ltd. Light-emitting element, light-emitting device, electronic device, and lighting device
KR20170066496A (ko) 2014-09-30 2017-06-14 메르크 파텐트 게엠베하 무기 반도전성 재료 및 유기 결합제를 포함하는 반도체 조성물
US9991471B2 (en) 2014-12-26 2018-06-05 Semiconductor Energy Laboratory Co., Ltd. Light-emitting element, light-emitting device, display device, and electronic device
GB2549246A (en) 2015-12-15 2017-10-18 Cambridge Display Tech Ltd Light-emitting Compound
KR102600474B1 (ko) 2016-03-10 2023-11-13 삼성디스플레이 주식회사 유기 발광 소자
JP2018098024A (ja) 2016-12-13 2018-06-21 パイオニア株式会社 発光装置
CN108341806B (zh) 2017-01-22 2020-09-22 清华大学 铱金属配合物及其应用,以及有机电致发光器件
KR102463734B1 (ko) 2017-03-08 2022-11-04 삼성디스플레이 주식회사 발광 표시 장치
JP7043733B2 (ja) 2017-03-13 2022-03-30 セイコーエプソン株式会社 発光素子、発光装置、光源、認証装置および電子機器
US20190062357A1 (en) 2017-08-28 2019-02-28 Samsung Display Co., Ltd. Organometallic compound, organic light-emitting device including the organometallic compound, and organic light-emitting apparatus including the organic light-emitting device
US11985892B2 (en) 2017-09-12 2024-05-14 Semiconductor Energy Laboratory Co., Ltd. Light-emitting device, light-emitting apparatus, electronic device, and lighting device
KR102470004B1 (ko) * 2018-01-23 2022-11-24 삼성전자주식회사 픽셀과 적어도 일부가 겹치도록 배치된 적외선 소자가 구비된 디스플레이 및 이를 포함하는 전자 장치
US11552278B2 (en) 2018-05-08 2023-01-10 Universal Display Corporation Integrated photobiomodulation device
WO2020017772A1 (ko) * 2018-07-19 2020-01-23 주식회사 엘지화학 유기발광소자
DE112019004869B4 (de) 2018-09-27 2025-04-30 Semiconductor Energy Laboratory Co., Ltd. Licht emittierende Vorrichtung, Licht emittierende Einrichtung, Licht emittierendes Modul, elektronisches Gerät, Beleuchtungsvorrichtung, metallorganischer Komplex, Licht emittierendes Material, organische Verbindung und zweikerniger Komplex
WO2020121097A1 (ja) 2018-12-10 2020-06-18 株式会社半導体エネルギー研究所 発光デバイス、発光装置、電子機器、および照明装置
US11903232B2 (en) * 2019-03-07 2024-02-13 Semiconductor Energy Laboratory Co., Ltd. Light-emitting device comprising charge-generation layer between light-emitting units

Patent Citations (3)

* Cited by examiner, † Cited by third party
Publication number Priority date Publication date Assignee Title
JP2006324016A (ja) * 2005-05-17 2006-11-30 Sony Corp 有機電界発光素子および表示装置
JP2017208334A (ja) * 2016-05-12 2017-11-24 株式会社半導体エネルギー研究所 発光素子、発光装置、電子機器、および照明装置
JP2018092887A (ja) * 2016-05-20 2018-06-14 株式会社半導体エネルギー研究所 発光装置および電子機器

Cited By (3)

* Cited by examiner, † Cited by third party
Publication number Priority date Publication date Assignee Title
US11950447B2 (en) 2018-12-10 2024-04-02 Semiconductor Energy Laboratory Co., Ltd. Light-emitting device, light-emitting apparatus, electronic device, and lighting device
JP2024510192A (ja) * 2021-08-18 2024-03-06 清華大学 タンデム型有機電界発光素子
JP7752434B2 (ja) 2021-08-18 2025-10-10 清華大学 タンデム型有機電界発光素子

Also Published As

Publication number Publication date
CN113519205A (zh) 2021-10-19
JP2024052976A (ja) 2024-04-12
US20240224575A1 (en) 2024-07-04
US20250268018A1 (en) 2025-08-21
KR20210132141A (ko) 2021-11-03
JPWO2020178660A1 (enExample) 2020-09-10
JP7450599B2 (ja) 2024-03-15
US12302688B2 (en) 2025-05-13
JP7752713B2 (ja) 2025-10-10

Similar Documents

Publication Publication Date Title
JP7625030B2 (ja) 電子デバイス、表示装置、電子機器、及び照明装置
JP7143310B2 (ja) 有機化合物、発光素子、発光装置、電子機器、および照明装置
JP7752713B2 (ja) 発光デバイス
JP7623446B2 (ja) 発光デバイス、発光装置、発光モジュール、電子機器及び照明装置
US11903232B2 (en) Light-emitting device comprising charge-generation layer between light-emitting units
JP2025092575A (ja) 発光装置
KR102873801B1 (ko) 유기 화합물, 발광 디바이스용 재료, 발광 디바이스, 발광 장치, 발광 모듈, 전자 기기, 및 조명 장치
JP2019189540A (ja) 有機化合物、発光素子、発光装置、電子機器、および照明装置
JP7562519B2 (ja) 発光デバイス、発光装置、発光モジュール、電子機器、及び照明装置
JPWO2018158659A1 (ja) 有機化合物、発光素子、発光装置、電子機器、および照明装置
JP2025185001A (ja) 発光デバイス
US20250393466A1 (en) Light-emitting device, light-emitting apparatus, light-emitting module, electronic apparatus, lighting apparatus, organometallic complex, light-emitting material, organic compound, and dinuclear complex
KR20250172743A (ko) 발광 디바이스, 발광 장치, 발광 모듈, 전자 기기, 조명 장치, 유기 금속 착체, 발광 재료, 유기 화합물, 및 복핵 착체
WO2020229908A1 (ja) 発光デバイス、発光装置、発光モジュール、電子機器、及び照明装置
JPWO2018189623A1 (ja) 有機金属錯体、発光素子、発光装置、電子機器、および照明装置
JPWO2019012373A1 (ja) 有機化合物、発光素子、発光装置、電子機器、および照明装置

Legal Events

Date Code Title Description
121 Ep: the epo has been informed by wipo that ep was designated in this application

Ref document number: 20766939

Country of ref document: EP

Kind code of ref document: A1

ENP Entry into the national phase

Ref document number: 2021503230

Country of ref document: JP

Kind code of ref document: A

NENP Non-entry into the national phase

Ref country code: DE

ENP Entry into the national phase

Ref document number: 20217030657

Country of ref document: KR

Kind code of ref document: A

122 Ep: pct application non-entry in european phase

Ref document number: 20766939

Country of ref document: EP

Kind code of ref document: A1