WO2020129488A1 - シート空調装置 - Google Patents

シート空調装置 Download PDF

Info

Publication number
WO2020129488A1
WO2020129488A1 PCT/JP2019/044715 JP2019044715W WO2020129488A1 WO 2020129488 A1 WO2020129488 A1 WO 2020129488A1 JP 2019044715 W JP2019044715 W JP 2019044715W WO 2020129488 A1 WO2020129488 A1 WO 2020129488A1
Authority
WO
WIPO (PCT)
Prior art keywords
air
seat
guide member
vehicle
state
Prior art date
Legal status (The legal status is an assumption and is not a legal conclusion. Google has not performed a legal analysis and makes no representation as to the accuracy of the status listed.)
Ceased
Application number
PCT/JP2019/044715
Other languages
English (en)
French (fr)
Japanese (ja)
Inventor
川島 誠文
周治 伊藤
村上 広宣
貴央 藤井
Current Assignee (The listed assignees may be inaccurate. Google has not performed a legal analysis and makes no representation or warranty as to the accuracy of the list.)
Denso Corp
Original Assignee
Denso Corp
Priority date (The priority date is an assumption and is not a legal conclusion. Google has not performed a legal analysis and makes no representation as to the accuracy of the date listed.)
Filing date
Publication date
Application filed by Denso Corp filed Critical Denso Corp
Priority to CN201980083433.9A priority Critical patent/CN113242806A/zh
Publication of WO2020129488A1 publication Critical patent/WO2020129488A1/ja
Priority to US17/348,105 priority patent/US20210309134A1/en
Anticipated expiration legal-status Critical
Ceased legal-status Critical Current

Links

Images

Classifications

    • BPERFORMING OPERATIONS; TRANSPORTING
    • B60VEHICLES IN GENERAL
    • B60HARRANGEMENTS OF HEATING, COOLING, VENTILATING OR OTHER AIR-TREATING DEVICES SPECIALLY ADAPTED FOR PASSENGER OR GOODS SPACES OF VEHICLES
    • B60H1/00Heating, cooling or ventilating [HVAC] devices
    • BPERFORMING OPERATIONS; TRANSPORTING
    • B60VEHICLES IN GENERAL
    • B60HARRANGEMENTS OF HEATING, COOLING, VENTILATING OR OTHER AIR-TREATING DEVICES SPECIALLY ADAPTED FOR PASSENGER OR GOODS SPACES OF VEHICLES
    • B60H1/00Heating, cooling or ventilating [HVAC] devices
    • B60H1/34Nozzles; Air-diffusers
    • BPERFORMING OPERATIONS; TRANSPORTING
    • B60VEHICLES IN GENERAL
    • B60NSEATS SPECIALLY ADAPTED FOR VEHICLES; VEHICLE PASSENGER ACCOMMODATION NOT OTHERWISE PROVIDED FOR
    • B60N2/00Seats specially adapted for vehicles; Arrangement or mounting of seats in vehicles
    • B60N2/002Seats provided with an occupancy detection means mounted therein or thereon
    • BPERFORMING OPERATIONS; TRANSPORTING
    • B60VEHICLES IN GENERAL
    • B60NSEATS SPECIALLY ADAPTED FOR VEHICLES; VEHICLE PASSENGER ACCOMMODATION NOT OTHERWISE PROVIDED FOR
    • B60N2/00Seats specially adapted for vehicles; Arrangement or mounting of seats in vehicles
    • B60N2/56Heating or ventilating devices
    • B60N2/5607Heating or ventilating devices characterised by convection
    • B60N2/5621Heating or ventilating devices characterised by convection by air
    • B60N2/5628Heating or ventilating devices characterised by convection by air coming from the vehicle ventilation system, e.g. air-conditioning system
    • BPERFORMING OPERATIONS; TRANSPORTING
    • B60VEHICLES IN GENERAL
    • B60NSEATS SPECIALLY ADAPTED FOR VEHICLES; VEHICLE PASSENGER ACCOMMODATION NOT OTHERWISE PROVIDED FOR
    • B60N2/00Seats specially adapted for vehicles; Arrangement or mounting of seats in vehicles
    • B60N2/56Heating or ventilating devices
    • B60N2/5607Heating or ventilating devices characterised by convection
    • B60N2/5621Heating or ventilating devices characterised by convection by air
    • B60N2/565Heating or ventilating devices characterised by convection by air sucked from the seat surface

Definitions

  • the present disclosure relates to a seat air conditioner provided on a vehicle seat.
  • this device can improve the comfort of both the front seat space and the rear seat space in the vehicle interior.
  • front seat space refers to a space in front of the back part of the seating surface of the front seat in the vehicle interior space
  • the rear seat space refers to the seating surface of the front seat in the vehicle interior space. The space behind the back.
  • the present disclosure aims to provide a seat air conditioner capable of switching between a state in which the comfort of both the front seat space and the rear seat space are enhanced and a state in which energy consumed for cooling the vehicle interior is reduced.
  • the seat air conditioner installed in the vehicle, An air passage provided in a vehicle seat, A blower that blows air through the air passage, An air outlet that blows the air flowing through the air passage toward the rear of the passenger compartment along the upper surface of the seat,
  • the first state which is provided on the rear side of the vehicle with respect to the air outlet and allows the air blown from the air outlet to be blown toward the rear of the vehicle by entraining the surrounding air, and the air blown from the air outlet.
  • a guide member configured to be displaceable in a second state in which the guide member is guided toward the vehicle ceiling side or the vehicle floor side.
  • the air blown out from the air outlet flows toward the rear of the passenger compartment along the upper surface of the seat.
  • the air around the blowing air that flows along the upper surface of the seat that is, the air in the vicinity of the blowing air and the air in front of the blowing air
  • the flow of air entrained in the blowing air is referred to as "entrainment wind”.
  • the cold air generated in the vehicle air conditioner provided inside the instrument panel of the vehicle and blown into the front seat space is caught in the blown air blown from the seat air conditioner, and becomes a trapped wind.
  • the air is blown to the seat space. Therefore, in this seat air conditioner, by setting the guide member in the first state, it is possible to enhance the comfort of both the front seat space and the rear seat space, for example, when there are occupants in both the front seats and the rear seats. it can.
  • the guide member when the guide member is in the second state, the air blown out from the air outlet flows along the upper surface of the seat and then is guided to the vehicle ceiling side or the vehicle floor side by the guide member.
  • the wind guided by the guide member forms an air curtain as a wall of air that partitions the front seat space and the rear seat space.
  • the air around the blowing air flowing along the upper surface of the seat is blocked from flowing toward the rear of the passenger compartment. Therefore, for example, when there is an occupant only in the front seat, the cool air in the front seat space is suppressed from being blown to the rear seat space, and a temperature difference occurs between the front seat space and the rear seat space. Therefore, in this seat air conditioner, by setting the guide member in the second state, it is possible to improve comfort of the front seat space and reduce energy consumed for cooling the vehicle interior.
  • FIG. 3 is a view of the front seat viewed from the direction III in FIG. 2. It is sectional drawing which shows the 1st state of a guide member in the IV section of FIG. It is sectional drawing which shows the 2nd state of a guide member in the IV section of FIG. It is a perspective view which shows an example of a guide member. It is a perspective view which shows an example of the blowing part and guide member of 1st Embodiment. It is a perspective view which shows the blowing part of a comparative example.
  • FIG. 10 is an enlarged view of the vicinity of the guide member and the upper surface of the seat in FIG. 9. It is a block diagram which shows the control system in the seat air conditioning apparatus which concerns on 3rd Embodiment. It is a figure which shows the 1st state of a guide member in the seat air conditioning apparatus which concerns on 4th Embodiment. It is a figure which shows the 2nd state of a guide member in the seat air conditioning apparatus which concerns on 4th Embodiment. It is a figure which shows the 2nd state of a guide member in the seat air conditioning apparatus which concerns on 5th Embodiment. It is a figure which shows the 2nd state of a guide member in the seat air conditioning apparatus which concerns on 6th Embodiment.
  • a vehicle 2 in which the seat air conditioner 1 of the present embodiment is mounted has a two-row seat, and a front seat 3 and a rear seat 4 are provided.
  • the seat air conditioner 1 of this embodiment is provided in the front seat 3.
  • the seat air conditioner 1 may be provided in both the driver seat and the passenger seat of the front seats 3, or may be provided in only one of them.
  • the front seat 3 may be referred to as a seat
  • the rear seat 4 may be referred to as a rear seat.
  • a vehicle air conditioner 6 for air conditioning the interior of the vehicle is provided inside the instrument panel 5 of the vehicle 2.
  • the vehicle air conditioner 6 sucks in the air outside the vehicle compartment or the air inside the vehicle compartment, and blows out the conditioned air whose temperature and humidity have been adjusted into the vehicle interior space from the air outlet 7 provided in the instrument panel 5 or the like. It is for air conditioning.
  • a space in front of the seat back of the front seat 3 is referred to as a front seat space 8
  • a space behind the seat back of the front seat 3 is referred to as a rear seat space 9.
  • the seat provided with the seat air conditioner 1 has a seat cushion 10 and a seat back 11.
  • a headrest 12 is provided above the seat back 11.
  • the seat back 11 of the seat has a structure in which a pad 14 is provided on a spring (not shown) provided on the frame 13, and the entire surface is covered with a skin 15.
  • the pad 14 is a member that supports the force of the occupant leaning against the seat back 11.
  • a soft material for example, urethane
  • the skin 15 is directly touched by the occupant.
  • the part of the seating surface with which the occupant's back comes into contact is called the back part 16, and the part with which the lower half of the occupant comes into contact is called the buttocks 17.
  • the seat air conditioner 1 includes an air passage 20, a blower 30, a blower 40, a guide member 50, and the like.
  • the air passage 20 is composed of an air passage 21 and an air distribution duct 22 provided in the seat.
  • the ventilation passage 21 is the air passage 20 formed in the pad 14 of the seat.
  • One side of the ventilation passage 21 is open to the skin 15 side forming the back portion 16 of the seat.
  • the other side of the ventilation path 21 is open to the suction port 31 side of the blower 30. Therefore, the ventilation passage 21 can guide the air that has passed through the outer skin 15 of the back portion 16 of the seat to the blower 30.
  • the blower 30 is a device for sucking air from the skin 15 of the back portion 16 of the seat through the ventilation passage 21 and sending the air to the blowing portion 40 through the air distribution duct 22.
  • a centrifugal blower such as a turbo fan, a sirocco fan, or a radial fan is used.
  • the type of the blower 30 is not limited to this, and various types such as an axial flow fan, a mixed flow fan, and a cross flow fan may be used.
  • a suction port packing 32 is provided between the suction port 31 of the blower 30 and the pad 14.
  • the suction port packing 32 is a member that fills the gap between the blower 30 and the pad 14, and for example, one obtained by compressing porous urethane is used.
  • the air distribution duct 22 is a structural member that forms the air passage 20 that connects the blower 30 and the blowout unit 40. One end of the air distribution duct 22 is connected to the air outlet 33 of the blower 30. The other end of the air distribution duct 22 is connected to the blowout part 40. Therefore, the air distribution duct 22 can guide the air blown from the air outlet 33 of the blower 30 to the blowout portion 40.
  • a duct packing 23 is provided between the air distribution duct 22 and the blowout portion 40.
  • the duct packing 23 is a member that fills the gap between the air distribution duct 22 and the blowout portion 40, and for example, one obtained by compressing porous urethane is used.
  • the blowout portion 40 is provided in an upper portion of the seatback 11.
  • the blowout portion 40 is a structural member for forming an outlet 41 that blows out the air supplied from the air distribution duct 22. As shown in FIGS. 3 and 7, the blowout portion 40 is formed to have a large physique in the vehicle width direction. Therefore, the blowing portion 40 occupies most of the lateral width of the seat back 11.
  • the air outlet 41 formed in the air outlet 40 is also formed in a wide range in the vehicle width direction. Therefore, the air outlet 41 occupies most of the seat back 11 in the vehicle width direction.
  • the air outlet 41 is formed so as to blow the air flowing through the air passage 20 toward the rear of the passenger compartment along the upper surface of the seat (hereinafter referred to as the seat upper surface 18).
  • the angle ⁇ formed by the surface of the seat upper surface 18 on the front side of the air outlet 41 and the wall surface on the front side of the air outlet 41 is an acute angle.
  • the angle ⁇ formed by the surface of the seat upper surface 18 on the rear side of the air outlet 41 and the wall surface on the rear side of the air outlet 41 is an obtuse angle.
  • the blowout unit 40 may be provided with an adjusting mechanism 42 for adjusting the wind direction of the blown air blown from the blowout port 41 to the rear of the vehicle interior, if necessary.
  • the width W1 of the adjusting mechanism 42 is smaller than the width W2 of the outlet 41.
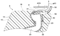
  • the guide member 50 is provided on the vehicle rear side with respect to the air outlet 41.
  • the guide member 50 of this embodiment is formed in an arcuate cross section.
  • the guide member 50 is formed so as to extend in the vehicle width direction.
  • the width W3 of the guide member 50 is longer than the width W2 of the outlet 41. Therefore, as shown in FIG. 7, the width W3 of the guide member 50>the width W2 of the outlet 41>the width W1 of the adjusting mechanism 42.
  • the guide member 50 is rotatably provided around a rotation shaft 52 of a support body 51 provided at both ends in the width direction thereof.
  • the guide member 50 may be configured to rotate by a manual operation of an occupant, or may be configured to rotate by an electric motor (not shown).
  • the guide member 50 is configured to be displaceable between a first state and a second state described below.
  • the first state is a state in which the blown air blown out from the blowout port 41 allows ambient air to be blown and is sent to the rear of the passenger compartment.
  • the second state is a state in which the air blown out from the air outlet 41 is guided toward the vehicle ceiling side or the vehicle floor side.
  • FIG. 4 shows an example of the first state of the guide member 50.
  • the guide member 50 is stored in the storage space 59 provided in the seat.
  • the guide member 50 is brought into a state in which the air blown out from the air outlet 41 is allowed to be blown toward the rear of the passenger compartment by taking in the surrounding air.
  • FIG. 5 shows an example of the second state of the guide member 50.
  • the guide member 50 In the second state, the guide member 50 is at least partially exposed from the storage space 59. Then, in the second state, the guide member 50 of the present embodiment has a shape that extends from the seat upper surface 18 to the ceiling side at the vehicle rear side from the air outlet 41. As a result, the guide member 50 has a shape capable of guiding the flow of air blown from the outlet 41 to the rear of the vehicle interior toward the vehicle ceiling.
  • the operation of the seat air conditioner 1 of this embodiment will be described.
  • air is sucked into the ventilation passage 21 via the skin 15 forming the back portion 16 of the seat.
  • the air flowing through the ventilation passage 21 is collected by the suction port 31 of the blower 30.
  • the air blown from the air outlet 33 of the blower 30 to the air distribution duct 22 flows through the air passage 20 in the air distribution duct 22 to the blowing portion 40.
  • the air that has flown into the blowout portion 40 is blown out into the vehicle interior from the blowout port 41.
  • the air blown out from the air outlet 41 flows rearward in the vehicle compartment along the seat upper surface 18 as indicated by an arrow AF5.
  • the air around the blowing air flowing along the seat upper surface 18 that is, the air in the vicinity of the blowing air and the air in front of the blowing air
  • the flow of air entrained in the blowing air is referred to as "entrainment wind”.
  • the viscosity of air is schematically indicated by the broken line V
  • the entrained wind is indicated by the arrow AF6.
  • the seat air conditioner 1 sets the guide member 50 in the first state, so that, for example, when there are occupants in both the front seats 3 and the rear seats 4, both the front seat space 8 and the rear seat space 9 are instructed. You can increase comfort.
  • the guide member 50 when the guide member 50 is in the second state, the blown air blown out from the blowout port 41 flows along the seat upper surface 18 as shown by an arrow AF7, and then, is guided.
  • the member 50 guides the vehicle to the ceiling side.
  • the wind guided by the guide member 50 forms an air curtain as a wall of air that partitions the front seat space 8 and the rear seat space 9. Therefore, as shown by the arrow AF8, the air around the blown air flowing along the seat upper surface 18 is blocked from flowing toward the rear of the passenger compartment.
  • the seat air conditioner 1 can improve the comfort of the front seat space 8 and reduce the energy consumed by the vehicle air conditioner 6 for cooling the passenger compartment by setting the guide member 50 to the second state. it can.
  • blowout section 400 provided in the seat air conditioner of the comparative example will be described.
  • the blowing unit 400 included in the seat air conditioner of the comparative example is developed by the same applicant as the present disclosure, and is not a known technique at the time of filing the present disclosure.
  • the blowing section 400 included in the seat air conditioner of the comparative example does not include the guide member 50. Therefore, also in the seat air conditioner of the comparative example, when the blower 30 is driven, as in the first embodiment, the air around the air is caught by the blown air blown from the blowout port 41 and blown to the rear of the passenger compartment. It Therefore, the air in the front seat space 8 is blown to the rear seat space 9, so that the comfort of both the front seat space 8 and the rear seat space 9 can be enhanced.
  • the blowing section 400 of the comparative example includes the adjusting mechanism 42, the occupant seated in the rear seat 4 can adjust the wind direction of the blowing air blown out from the blowout port 41.
  • the seat air conditioner of the comparative example when a passenger seated in the front seat 3 uses this device, the air in the front seat space 8 is blown to the rear seat space 9 regardless of whether or not the passenger in the rear seat 4 is present. Will end up. Therefore, when the seat air conditioner of the comparative example is used, the air in both the front seat space 8 and the rear seat space 9 is cooled even when there is no passenger in the rear seat 4, so that the vehicle air conditioner 6 operates in the vehicle. There is a problem in that energy consumed for indoor cooling is wasted.
  • the seat air conditioner 1 of the above-described first embodiment has the following operational effects.
  • the seat air conditioner 1 of the first embodiment and the seat air conditioner of the comparative example both improve the comfort of the occupant by sucking in the stuffy air between the occupant seated on the seat and the back of the seat. It has a function as SVS (abbreviation of seat ventilation system). Further, in all of these seat air conditioners, the air in the front seat space 8 is blown to the rear seat space 9 to enhance the comfort of both the front seat space 8 and the rear seat space 9. (abbreviation of circulator) has a function as.
  • the air in the front seat space 8 is irrelevant regardless of the presence or absence of the passenger in the rear seat 4.
  • the air is blown into the rear seat space 9. Therefore, the energy consumed by the vehicle air conditioner 6 to cool the vehicle interior may be wasted.
  • the rear seat space 9 is not cooled as much as possible when the passenger in the rear seat 4 is absent, and there is a temperature difference between the front seat space 8 and the rear seat space 9.
  • the guide member 50 when the occupant in the rear seat 4 is absent, the guide member 50 is set to the second state to guide the wind direction of the blown air flowing along the seat upper surface 18.
  • the member 50 is configured to be changed in a substantially upward direction.
  • the blown wind whose direction is changed by the guide member 50 forms an air curtain as a wall of air that partitions the front seat space 8 and the rear seat space 9.
  • the blowing air deflected in the orthogonal direction by the guide member 50 prevents the air from flowing into the rear seat space 9.
  • a temperature difference occurs between the front seat space 8 and the rear seat space 9. Therefore, the seat air conditioner 1 can improve the comfort of the front seat space 8 and reduce the energy consumed for cooling the passenger compartment by setting the guide member 50 to the second state.
  • the width W3 of the guide member 50 is longer than the width W2 of the outlet 41.
  • the width W3 of the guide member 50 needs to be longer than the width W2 of the air outlet 41. Even if the width W3 of the guide member 50 is short, the same effect is obtained, but it is considered to be not preferable because a backward flow is generated to some extent.
  • the use of the adjusting mechanism 42 provided in the blowing section 40 is to adjust the blowing air to the wind direction desired by the passenger in the rear seat 4. Therefore, it can be said that the adjusting mechanism 42 assumes the occupant surrounding the rear seat 4 as the range of the wind direction adjustment, and does not assume that the blowing air is bent in a substantially orthogonal direction. Further, the width W1 of the adjusting mechanism 42 is shorter than the width W2 of the air outlet 41. This is because the adjusting mechanism 42 aims to widen the range of air blowing.
  • the width W3 of the guide member 50 in the vehicle width direction is longer than the width W2 of the air outlet 41, so that the guide member 50 is blown out from the air outlet 41 in the second state. It is possible to form a wide air curtain by using almost all of the blowing air. Therefore, by further improving the effect of the air curtain, the comfort of the front seat space 8 can be further improved, and the energy consumed for cooling the vehicle interior can be further reduced.
  • the movable range of the guide member 50 is different from that of the first embodiment.
  • the guide member 50 of the second embodiment is in a state where both the upper end and the lower end are exposed outside the sheet in the second state. In this state, the guide member 50 can guide the flow of air blown from the air outlet 41 to the rear of the vehicle compartment to the vehicle ceiling side and the vehicle floor side, respectively. Specifically, as shown by an arrow AF10, the blowing air guided to the vehicle ceiling side by the guide member 50 forms an air curtain above the seat.
  • the blowing air guided to the vehicle floor side by the guide member 50 forms an air curtain below the seat.
  • the cold air blown from the vehicle air conditioner 6 into the front seat space 8 has a large specific gravity, it flows downward in the vehicle interior space. Therefore, in the second embodiment, by forming the air curtain below the seat by the guide member 50, it is possible to prevent the cool air below the vehicle interior space from flowing into the rear seat space 9.
  • the broken line S50 in FIG. 9 indicates the first state of the guide member 50.
  • the guide member 50 In the first state, the guide member 50 can be stored in the storage space 59 provided in the seat. In the first state, the guide member 50 allows the flow of air blown from the air outlet 41 to the rear of the vehicle interior.
  • the angle of the guide member 50 in the second state is set as follows.
  • a plane connecting the upper end 56 and the lower end 57 of the surface of the guide member 50 on the vehicle front side is referred to as a first virtual surface S1.
  • a plane that includes the center CL of the upper end 56 and the lower end 57 of the guide member 50 on the vehicle front side and is parallel to the seat upper surface 18 is defined as a second virtual surface S2.
  • the angles formed by the first virtual surface S1 and the second virtual surface S2 are defined as ⁇ 1 and ⁇ 2.
  • ⁇ 1 and ⁇ 2 are the angles of the first virtual surface S1 at the rear of the vehicle.
  • the angles ⁇ 1 and ⁇ 2 of the guide member 50 in the second state are set in the range of 45° ⁇ 1 ⁇ 135° or ⁇ 45° ⁇ 2 ⁇ 135°.
  • the angle of the mainstream of the blowing air that forms the air curtain is approximately 45° to 135° with respect to the seat upper surface 18, or It is possible to set approximately -45° to -135°.
  • the function of the air curtain as a wall of air that separates the front seat space 8 and the rear seat space 9 from each other is enhanced, and it is possible to suppress the cold air in the front seat space 8 from moving to the rear seat space 9. is there. Therefore, the seat air conditioner 1 of the second embodiment can further enhance the comfort of the front seat space 8 and further reduce the energy consumed by the vehicle air conditioner 6 for cooling the vehicle interior.
  • the guide member 50 has the angles ⁇ 1 and ⁇ 2 in the second state within the range of 45° ⁇ 1 ⁇ 135° or ⁇ 45° ⁇ 2 ⁇ 135°. Although it has been described as being set, it is not limited to this.
  • the guide member 50 sets the angles ⁇ 1 and ⁇ 2 in the second state within the range of 60° ⁇ 1 ⁇ 120° or ⁇ 60° ⁇ 2 ⁇ 120°. Set. Further, it is more preferable that the guide member 50 sets the angles ⁇ 1 and ⁇ 2 in the second state to be substantially perpendicular to the seat upper surface 18.
  • the third embodiment is a modification of the driving method of the guide member 50 with respect to the first embodiment and the like, and is similar to the first embodiment and the like in other respects, and therefore the parts different from the first embodiment and the like will be described. Only explained.
  • FIG. 11 is a block diagram showing a control system of the seat air conditioner 1 of the third embodiment.
  • the guide member 50 is configured to rotate by the electric motor 60 for driving the guide member.
  • the vehicle 2 equipped with the seat air conditioner 1 of the third embodiment is provided with a detection unit 70 for detecting the presence or absence of an occupant seated in the rear seat 4.
  • the detection unit 70 include a courtesy switch that detects opening and closing of a rear door, a seating sensor provided in the rear seat 4, or an in-vehicle camera.
  • the signal output from the detection unit 70 is transmitted to a control device (ECU: Electronic Control Unit) 80.
  • ECU Electronic Control Unit
  • the control device 80 includes a processor that performs control processing and arithmetic processing, a microcomputer that stores a storage unit such as ROM and RAM that stores programs and data, and its peripheral circuits.
  • the storage unit of the control device 80 is composed of a non-transitional substantive storage medium.
  • the control device 80 controls the operation of the electric motor 60 for driving the guide member, which is connected to the output port, according to the presence or absence of an occupant detected by the detection unit 70. Specifically, the control device 80 sets the guide member 50 to the first state when the detection unit 70 detects that the occupant is seated in the rear seat 4. On the other hand, when the detection unit 70 detects that the occupant is not seated in the rear seat 4, the control device 80 places the guide member 50 in the second state.
  • the control device 80 switches the guide member 50 to the first state or the second state depending on the presence/absence of an occupant seated in the rear seat 4.
  • the guide member 50 automatically switches between the first state and the second state depending on whether or not there is an occupant seated in the rear seat 4. Therefore, the seat air conditioner 1 of the third embodiment can save the labor of the occupant who moves the guide member 50, improve the comfort of the front seat space 8, and reduce the energy consumed for cooling the passenger compartment.
  • the fourth to sixth embodiments are different from the first embodiment and the like in the shape of the guide member 50 and the like, and are otherwise similar to the first embodiment and the like. Only different parts will be described.
  • the guide member 50 included in the seat air conditioner 1 of the fourth embodiment has a linear cross section. Therefore, the guide member 50 is formed in a flat plate shape.
  • FIG. 12 shows the first state of the guide member 50
  • FIG. 13 shows the second state of the guide member 50.
  • the guide member 50 may be driven by, for example, a rack and pinion.
  • the pinion 54 provided on the seat side is configured to mesh with the rack 53 provided on the guide member 50.
  • the guide member 50 is displaced between the first state and the second state.
  • the driving method of the guide member 50 is not limited to this, and the guide member 50 may be configured to be displaced by a manual operation of an occupant. Further, the guide member 50 may be configured to have the support bodies 51 as described in the first embodiment at both ends in the width direction.
  • the guide member 50 included in the seat air conditioner 1 according to the fifth embodiment has a cross-section formed by combining two line segments.
  • the angle ⁇ L formed by the two line segments is 90° ⁇ L ⁇ 180° on the vehicle front side.
  • the first state of the guide member 50 is shown by a broken line S50, and the second state of the guide member 50 is shown by a solid line.
  • the driving method of the guide member 50 may be configured to be displaced by a manual operation of an occupant as in the above-described embodiments, or may be configured to be rotated by an electric motor 60 (not shown). Good.
  • the seat air conditioner 1 of the fifth embodiment can also achieve the same effects as those of the above-described first to fourth embodiments.
  • the guide member 50 included in the seat air conditioner 1 of the sixth embodiment has a shape having a plurality of uneven portions 55.
  • the plurality of uneven portions 55 are provided on the front surface of the vehicle when the guide member 50 is in the second state.
  • the first state of the guide member 50 is shown by a broken line S50
  • the second state of the guide member 50 is shown by a solid line.
  • the driving method of the guide member 50 may be configured to be displaced by a manual operation of an occupant as in the above-described embodiments, or may be configured to be rotated by an electric motor 60 (not shown). Good.
  • the seat air conditioner 1 of the sixth embodiment can also achieve the same effects as those of the above-described first to fifth embodiments.
  • control device and the method thereof described in the present disclosure are realized by a dedicated computer provided by configuring a processor and a memory programmed to execute one or more functions embodied by a computer program. May be done.
  • control device and the method thereof described in the present disclosure may be realized by a dedicated computer provided by configuring a processor with one or more dedicated hardware logic circuits.
  • control device and the method thereof described in the present disclosure are based on a combination of a processor and a memory programmed to execute one or a plurality of functions and a processor configured by one or more hardware logic circuits. It may be realized by one or more dedicated computers configured.
  • the computer program may be stored in a computer-readable non-transition tangible recording medium as an instruction executed by a computer.
  • the seat air conditioner 1 is described as being mounted on the vehicle 2 having two rows of seats, but the present invention is not limited to this.
  • the seat air conditioner 1 may be installed in a vehicle 2 having three or more rows of seats. In that case, the seat air conditioner 1 may be provided in the front seat 3 or in the seats in the second and subsequent rows from the front.
  • the shape of the guide member 50 included in the seat air conditioner 1 is an arc cross section, a straight cross section (that is, a flat plate shape), and a cross section having a combination of two line segments, or
  • the shape having the uneven portion 55 on the surface has been described, but the shape is not limited to this.
  • Various shapes and materials of the guide member 50 and the support body 51 can be adopted.
  • the air passage 20 included in the seat air conditioner 1 is described as including the air passage 21 and the air distribution duct 22 provided in the seat, but the present invention is not limited to this.
  • the air passage 20 included in the seat air conditioner 1 may have any configuration as long as it can guide the wind sucked from the skin 15 of the seat to the blowout portion 40.
  • the seat air conditioner 1 is described as sucking air from the back portion 16 of the seating surface of the seat, but the present invention is not limited to this.
  • the position where the seat air conditioner 1 sucks in air may be any position on the seat.
  • the guide member 50 is stored in the storage space 59 provided in the seat in the first state, but the configuration is not limited to this.
  • the guide member 50 may be configured to move below the seat upper surface 18 along the seat back surface skin 15, for example.
  • the seat air conditioner mounted on the vehicle includes an air passage, a blower, an outlet, and a guide member.
  • the air passage is provided in a vehicle seat.
  • the blower blows air through the air passage.
  • the air outlet blows the air flowing through the air passage toward the rear of the passenger compartment along the upper surface of the seat.
  • the guide member is provided behind the vehicle with respect to the air outlet.
  • the guide member is in a first state in which the blown air blown from the blowout port allows ambient air to be blown to the rear of the passenger compartment, and the blown wind blown from the blowout port is on the vehicle ceiling side or It is configured to be displaceable into a second state in which the vehicle is guided toward the floor side.
  • the air around the blowout air blown out from the blowout port is caught in the blowout air due to the viscosity of the air and blown toward the rear of the vehicle interior. Is configured.
  • the air blown from the air outlet and guided by the guide member to the vehicle ceiling side or the vehicle floor side causes the air around the blown air to flow toward the rear of the vehicle compartment. It is configured to be blocked.
  • the air blown out from the air outlet flows toward the rear of the passenger compartment along the upper surface of the seat.
  • the air around the blowing air that flows along the upper surface of the seat that is, the air in the vicinity of the blowing air and the air in front of the blowing air
  • the cold air generated by the vehicle air conditioner and blown into the front seat space is entrained by the air blown out from the seat air conditioner, and becomes entrained air and is blown to the rear seat space. Therefore, in this seat air conditioner, by setting the guide member in the first state, it is possible to enhance the comfort of both the front seat space and the rear seat space, for example, when there are occupants in both the front seats and the rear seats. it can.
  • the guide member when the guide member is in the second state, the air blown out from the air outlet flows along the upper surface of the seat and then is guided to the vehicle ceiling side or the vehicle floor side by the guide member.
  • the wind guided by the guide member forms an air curtain as a wall of air that partitions the front seat space and the rear seat space.
  • the air around the blowing air flowing along the upper surface of the seat is blocked from flowing toward the rear of the passenger compartment. Therefore, for example, when there is an occupant only in the front seat, the cool air in the front seat space is suppressed from being blown to the rear seat space, and a temperature difference occurs between the front seat space and the rear seat space. Therefore, in this seat air conditioner, by setting the guide member in the second state, it is possible to improve comfort of the front seat space and reduce energy consumed for cooling the vehicle interior.
  • the air passage is configured so that the air sucked from the back of the seating surface of the seat flows to the air outlet.
  • the stuffy air between the occupant sitting on the seat provided with the seat air conditioner and the back of the seat is sucked into the air passage of the seat air conditioner.
  • the seat air conditioner can improve the comfort of the occupant sitting on the seat.
  • the seat air conditioner uses the air blown from the air outlet to enhance the comfort of the rear seat space when there is an occupant in the rear seat, and above the seat or when there is no occupant in the rear seat.
  • An air curtain can be formed below.
  • the width of the guide member is longer than the width of the air outlet.
  • the guide member when the guide member is in the second state, the first virtual surface connecting the upper end and the lower end of the vehicle front side surface of the guide member, and the upper surface of the seat including the center of the upper end and the lower end of the first virtual surface.
  • the angles formed by the second parallel virtual surface are ⁇ 1 and ⁇ 2.
  • the guide member is set such that the angles ⁇ 1 and ⁇ 2 in the second state are in the range of 45° ⁇ 1 ⁇ 135° or ⁇ 45° ⁇ 2 ⁇ 135°.
  • the angle of the main flow forming the air curtain can be set to approximately 45° to 135° or approximately ⁇ 45° to ⁇ 135° with respect to the upper surface of the seat. Is.
  • the seat air conditioner includes a detection unit that detects the presence or absence of an occupant seated in a rear seat located behind the seat in which the seat air conditioner is installed, and the presence or absence of the occupant detected by the detection unit. And a controller for controlling the drive of the guide member according to the above.
  • the control device sets the guide member to the first state when the detection unit detects that the occupant is seated on the rear seat.
  • the control device sets the guide member to the second state when the detection unit detects that the occupant is not seated on the rear seat.
  • the control device automatically switches the guide member to the first state or the second state depending on the presence or absence of an occupant seated on the rear seat. Therefore, this seat air conditioner can save the labor of the occupant who moves the guide member, improve the comfort of the front seat space, and reduce the energy consumed for cooling the vehicle interior.

Landscapes

  • Engineering & Computer Science (AREA)
  • Mechanical Engineering (AREA)
  • Aviation & Aerospace Engineering (AREA)
  • Transportation (AREA)
  • Physics & Mathematics (AREA)
  • Thermal Sciences (AREA)
  • Air-Conditioning For Vehicles (AREA)
PCT/JP2019/044715 2018-12-19 2019-11-14 シート空調装置 Ceased WO2020129488A1 (ja)

Priority Applications (2)

Application Number Priority Date Filing Date Title
CN201980083433.9A CN113242806A (zh) 2018-12-19 2019-11-14 座椅空调装置
US17/348,105 US20210309134A1 (en) 2018-12-19 2021-06-15 Seat air conditioner

Applications Claiming Priority (2)

Application Number Priority Date Filing Date Title
JP2018-237458 2018-12-19
JP2018237458A JP7081474B2 (ja) 2018-12-19 2018-12-19 シート空調装置

Related Child Applications (1)

Application Number Title Priority Date Filing Date
US17/348,105 Continuation US20210309134A1 (en) 2018-12-19 2021-06-15 Seat air conditioner

Publications (1)

Publication Number Publication Date
WO2020129488A1 true WO2020129488A1 (ja) 2020-06-25

Family

ID=71100432

Family Applications (1)

Application Number Title Priority Date Filing Date
PCT/JP2019/044715 Ceased WO2020129488A1 (ja) 2018-12-19 2019-11-14 シート空調装置

Country Status (4)

Country Link
US (1) US20210309134A1 (enExample)
JP (1) JP7081474B2 (enExample)
CN (1) CN113242806A (enExample)
WO (1) WO2020129488A1 (enExample)

Families Citing this family (2)

* Cited by examiner, † Cited by third party
Publication number Priority date Publication date Assignee Title
KR20220123995A (ko) * 2021-03-02 2022-09-13 현대두산인프라코어(주) 건설 기계
DE102022125925A1 (de) * 2022-10-07 2024-04-18 Faurecia Autositze Gmbh Modulträgeranordnung

Citations (6)

* Cited by examiner, † Cited by third party
Publication number Priority date Publication date Assignee Title
JPS6081112U (ja) * 1983-11-11 1985-06-05 トヨタ自動車株式会社 車両用空調装置
JPH05139143A (ja) * 1991-11-19 1993-06-08 Mitsubishi Heavy Ind Ltd 車両用空気調和装置
JPH0725219A (ja) * 1993-07-14 1995-01-27 Mitsubishi Heavy Ind Ltd 自動車用空気調和装置
JP2002362128A (ja) * 2001-06-11 2002-12-18 Denso Corp 車両用空調装置
JP2013095296A (ja) * 2011-11-01 2013-05-20 Inoac Corp 車両の空調構造
JP2014111424A (ja) * 2012-10-29 2014-06-19 Denso Corp 車両用対流促進装置

Family Cites Families (7)

* Cited by examiner, † Cited by third party
Publication number Priority date Publication date Assignee Title
JPH10267423A (ja) * 1997-03-27 1998-10-09 Sharp Corp 温風暖房機
JP2003042528A (ja) * 2001-07-26 2003-02-13 Hitachi Ltd 空気調和機
JP2003294303A (ja) * 2002-04-01 2003-10-15 Mitsubishi Heavy Ind Ltd 風向調整板、案内板、室内機及び空気調和装置
JP4333512B2 (ja) * 2004-07-23 2009-09-16 株式会社デンソー 車両用空調装置
JP2007186152A (ja) * 2006-01-16 2007-07-26 Denso Corp 車両用シート空調装置
JP6197616B2 (ja) * 2012-12-20 2017-09-20 株式会社デンソー 車両用送風装置
JP2016020114A (ja) * 2014-07-11 2016-02-04 トヨタ紡織株式会社 車室内空調制御装置

Patent Citations (6)

* Cited by examiner, † Cited by third party
Publication number Priority date Publication date Assignee Title
JPS6081112U (ja) * 1983-11-11 1985-06-05 トヨタ自動車株式会社 車両用空調装置
JPH05139143A (ja) * 1991-11-19 1993-06-08 Mitsubishi Heavy Ind Ltd 車両用空気調和装置
JPH0725219A (ja) * 1993-07-14 1995-01-27 Mitsubishi Heavy Ind Ltd 自動車用空気調和装置
JP2002362128A (ja) * 2001-06-11 2002-12-18 Denso Corp 車両用空調装置
JP2013095296A (ja) * 2011-11-01 2013-05-20 Inoac Corp 車両の空調構造
JP2014111424A (ja) * 2012-10-29 2014-06-19 Denso Corp 車両用対流促進装置

Also Published As

Publication number Publication date
JP7081474B2 (ja) 2022-06-07
US20210309134A1 (en) 2021-10-07
JP2020097377A (ja) 2020-06-25
CN113242806A (zh) 2021-08-10

Similar Documents

Publication Publication Date Title
JP6376282B2 (ja) 車両用シート空調ユニット
US11780288B2 (en) Vehicle cabin airflow forming device
CN104755292B (zh) 车辆用空气循环促进装置
US6918262B2 (en) Air conditioning system
JP7020943B2 (ja) 車両用空調装置
JP2002046445A (ja) 車両用空調装置およびその制御方法
JP2011194908A (ja) 車両用シート空調装置
JP6597894B2 (ja) 車両用空調装置
JP2014141236A (ja) 車両用空気調和システム
JP2015104980A (ja) 車両用空調システム
JP6627976B2 (ja) 車両用空調装置
WO2020129488A1 (ja) シート空調装置
JP4935515B2 (ja) 車両用空調装置
CN103260916A (zh) 车辆用空调系统
JP6555420B2 (ja) シート送風装置
JP2018140687A (ja) シート送風装置
JP2008149998A (ja) 車両用空調装置
JP2013132925A (ja) 車両用空気調和システムの吸込口装置
JP2020121698A (ja) 車両用空調装置
JP2012121482A (ja) 車両用空気調和システム
JPH11291750A (ja) 産業用機械の空気調和装置
JP4000950B2 (ja) 空調装置
JP2019059433A (ja) シート空調装置
WO2025243676A1 (ja) 車両用空調装置
JP2013129370A (ja) 車両用空気調和システムの吸込口装置

Legal Events

Date Code Title Description
121 Ep: the epo has been informed by wipo that ep was designated in this application

Ref document number: 19900203

Country of ref document: EP

Kind code of ref document: A1

NENP Non-entry into the national phase

Ref country code: DE

122 Ep: pct application non-entry in european phase

Ref document number: 19900203

Country of ref document: EP

Kind code of ref document: A1