WO2020090075A1 - 加工システム、及び、加工方法 - Google Patents

加工システム、及び、加工方法 Download PDF

Info

Publication number
WO2020090075A1
WO2020090075A1 PCT/JP2018/040626 JP2018040626W WO2020090075A1 WO 2020090075 A1 WO2020090075 A1 WO 2020090075A1 JP 2018040626 W JP2018040626 W JP 2018040626W WO 2020090075 A1 WO2020090075 A1 WO 2020090075A1
Authority
WO
WIPO (PCT)
Prior art keywords
processing
light receiving
light
energy beam
irradiation
Prior art date
Legal status (The legal status is an assumption and is not a legal conclusion. Google has not performed a legal analysis and makes no representation as to the accuracy of the status listed.)
Ceased
Application number
PCT/JP2018/040626
Other languages
English (en)
French (fr)
Japanese (ja)
Inventor
茂樹 江上
陽介 立崎
Current Assignee (The listed assignees may be inaccurate. Google has not performed a legal analysis and makes no representation or warranty as to the accuracy of the list.)
Nikon Corp
Original Assignee
Nikon Corp
Priority date (The priority date is an assumption and is not a legal conclusion. Google has not performed a legal analysis and makes no representation as to the accuracy of the date listed.)
Filing date
Publication date
Application filed by Nikon Corp filed Critical Nikon Corp
Priority to PCT/JP2018/040626 priority Critical patent/WO2020090075A1/ja
Priority to JP2020554701A priority patent/JP7235054B2/ja
Priority to TW108139328A priority patent/TW202017683A/zh
Priority to CN201980071312.2A priority patent/CN112930242B/zh
Priority to US17/286,502 priority patent/US12397367B2/en
Priority to JP2020554025A priority patent/JP7409315B2/ja
Priority to CN202311168926.7A priority patent/CN117226248A/zh
Priority to EP19880538.4A priority patent/EP3875207A4/en
Priority to CN202311168921.4A priority patent/CN117245209A/zh
Priority to CN202311168924.8A priority patent/CN117182292A/zh
Priority to PCT/JP2019/042736 priority patent/WO2020090962A1/ja
Publication of WO2020090075A1 publication Critical patent/WO2020090075A1/ja
Anticipated expiration legal-status Critical
Priority to JP2023025263A priority patent/JP7552756B2/ja
Priority to JP2023212250A priority patent/JP7613546B2/ja
Priority to JP2024151345A priority patent/JP2024160010A/ja
Priority to JP2024230394A priority patent/JP2025031984A/ja
Priority to US19/250,308 priority patent/US20250339920A1/en
Ceased legal-status Critical Current

Links

Images

Classifications

    • BPERFORMING OPERATIONS; TRANSPORTING
    • B23MACHINE TOOLS; METAL-WORKING NOT OTHERWISE PROVIDED FOR
    • B23KSOLDERING OR UNSOLDERING; WELDING; CLADDING OR PLATING BY SOLDERING OR WELDING; CUTTING BY APPLYING HEAT LOCALLY, e.g. FLAME CUTTING; WORKING BY LASER BEAM
    • B23K26/00Working by laser beam, e.g. welding, cutting or boring
    • B23K26/02Positioning or observing the workpiece, e.g. with respect to the point of impact; Aligning, aiming or focusing the laser beam
    • B23K26/03Observing, e.g. monitoring, the workpiece
    • BPERFORMING OPERATIONS; TRANSPORTING
    • B23MACHINE TOOLS; METAL-WORKING NOT OTHERWISE PROVIDED FOR
    • B23KSOLDERING OR UNSOLDERING; WELDING; CLADDING OR PLATING BY SOLDERING OR WELDING; CUTTING BY APPLYING HEAT LOCALLY, e.g. FLAME CUTTING; WORKING BY LASER BEAM
    • B23K26/00Working by laser beam, e.g. welding, cutting or boring
    • B23K26/02Positioning or observing the workpiece, e.g. with respect to the point of impact; Aligning, aiming or focusing the laser beam
    • B23K26/03Observing, e.g. monitoring, the workpiece
    • B23K26/032Observing, e.g. monitoring, the workpiece using optical means
    • BPERFORMING OPERATIONS; TRANSPORTING
    • B23MACHINE TOOLS; METAL-WORKING NOT OTHERWISE PROVIDED FOR
    • B23KSOLDERING OR UNSOLDERING; WELDING; CLADDING OR PLATING BY SOLDERING OR WELDING; CUTTING BY APPLYING HEAT LOCALLY, e.g. FLAME CUTTING; WORKING BY LASER BEAM
    • B23K26/00Working by laser beam, e.g. welding, cutting or boring
    • B23K26/02Positioning or observing the workpiece, e.g. with respect to the point of impact; Aligning, aiming or focusing the laser beam
    • B23K26/04Automatically aligning, aiming or focusing the laser beam, e.g. using the back-scattered light
    • BPERFORMING OPERATIONS; TRANSPORTING
    • B23MACHINE TOOLS; METAL-WORKING NOT OTHERWISE PROVIDED FOR
    • B23KSOLDERING OR UNSOLDERING; WELDING; CLADDING OR PLATING BY SOLDERING OR WELDING; CUTTING BY APPLYING HEAT LOCALLY, e.g. FLAME CUTTING; WORKING BY LASER BEAM
    • B23K26/00Working by laser beam, e.g. welding, cutting or boring
    • B23K26/08Devices involving relative movement between laser beam and workpiece
    • BPERFORMING OPERATIONS; TRANSPORTING
    • B23MACHINE TOOLS; METAL-WORKING NOT OTHERWISE PROVIDED FOR
    • B23KSOLDERING OR UNSOLDERING; WELDING; CLADDING OR PLATING BY SOLDERING OR WELDING; CUTTING BY APPLYING HEAT LOCALLY, e.g. FLAME CUTTING; WORKING BY LASER BEAM
    • B23K26/00Working by laser beam, e.g. welding, cutting or boring
    • B23K26/08Devices involving relative movement between laser beam and workpiece
    • B23K26/083Devices involving movement of the workpiece in at least one axial direction
    • B23K26/0853Devices involving movement of the workpiece in at least in two axial directions, e.g. in a plane
    • BPERFORMING OPERATIONS; TRANSPORTING
    • B23MACHINE TOOLS; METAL-WORKING NOT OTHERWISE PROVIDED FOR
    • B23KSOLDERING OR UNSOLDERING; WELDING; CLADDING OR PLATING BY SOLDERING OR WELDING; CUTTING BY APPLYING HEAT LOCALLY, e.g. FLAME CUTTING; WORKING BY LASER BEAM
    • B23K26/00Working by laser beam, e.g. welding, cutting or boring
    • B23K26/50Working by transmitting the laser beam through or within the workpiece
    • BPERFORMING OPERATIONS; TRANSPORTING
    • B23MACHINE TOOLS; METAL-WORKING NOT OTHERWISE PROVIDED FOR
    • B23KSOLDERING OR UNSOLDERING; WELDING; CLADDING OR PLATING BY SOLDERING OR WELDING; CUTTING BY APPLYING HEAT LOCALLY, e.g. FLAME CUTTING; WORKING BY LASER BEAM
    • B23K26/00Working by laser beam, e.g. welding, cutting or boring
    • B23K26/70Auxiliary operations or equipment
    • B23K26/702Auxiliary equipment

Definitions

  • the present invention relates to a technical field of a processing system and a processing method for processing an object, for example.
  • Patent Document 1 describes a processing device that irradiates a laser beam onto an object to process the object. In the technical field related to the processing of such an object, it is desired to improve convenience and performance related to the processing of the object.
  • the irradiation optical system that irradiates the object with the energy beam from the light source, the object mounting device that mounts the object, and the object mounting device, which are provided in the object mounting device, A light receiving device that receives the energy beam, a measuring device that measures the position of at least one of the light receiving device and a portion related to the light receiving device, a moving device that moves the object placement device, and at least the moving device.
  • a control device that controls the object placement device to a position where the light receiving device can receive the energy beam from the irradiation optical system, and the control device controls the at least one of the at least one of When the moving device is controlled so that the object placing device is moved to a position where the position can be measured, and the light receiving device receives the energy beam.
  • the irradiation optical system using the first information regarding the position of the object mounting device and the second information regarding the position of the object mounting device when the at least one is measured using the measuring device.
  • a processing system for controlling at least one of the position of the object placing device at the time of irradiation by the device and the position of the object placing device at the time of measurement by the measuring device.
  • the irradiation optical system that irradiates the object with the energy beam from the light source, the object mounting device that mounts the object, and the object mounting device, which are provided in the object mounting device, A light receiving device that receives the energy beam, a measuring device that measures at least one of the light receiving device and a portion related to the light receiving device, a moving device that moves the irradiation optical system and the measuring device, and at least the move A control device for controlling the device, wherein the control device moves the irradiation optical system to a position where the light receiving device can receive the energy beam from the irradiation optical system, and measures the at least one by the measuring device.
  • the moving device is controlled so as to move the measuring device to a position where the light receiving device receives the energy beam, First information regarding the position of the irradiation optical system within the plane in which the projection optical system moves, and the position within the moving plane of the measuring device when measuring at least one of the measuring devices using the measuring device.
  • the second information is used to control at least one of the position of the object placing device at the time of irradiation by the irradiation optical system and the position of the object placing device at the time of the measurement by the measuring device.
  • a processing system is provided.
  • the irradiation optical system that irradiates the object with the energy beam from the light source, the object mounting device that mounts the object, and the object mounting device, which are provided in the object mounting device, A light receiving device that receives the energy beam, a measuring device that measures at least one of the positions of the light receiving device and a portion related to the light receiving device, a moving device that moves the object placement device, and at least the moving device. And a control device that controls the object placement device to a position where the light receiving device can receive the energy beam from the irradiation optical system, and the control device controls the at least one of the at least one.
  • the moving device When the moving device is controlled so that the object mounting device is moved to a measurable position, and the light receiving device receives the energy beam, The irradiation position of the energy beam using the first information about the position of the object placement device and the second information about the position of the object placement device when the at least one is measured using the measurement device.
  • a processing system for obtaining a positional relationship between the object and the measurement position of the object.
  • an irradiation optical system that irradiates the object with the energy beam from the light source, an object mounting device that mounts the object, and an object mounting device that is provided in the object mounting device,
  • a light receiving device for receiving the energy beam
  • a measuring device for measuring at least one of the light receiving device and a part of a related object associated with the light receiving device
  • a moving device for moving the irradiation optical system and the measuring device.
  • At least a control device for controlling the moving device is provided, wherein the control device moves the irradiation optical system to a position where the light receiving device can receive the energy beam from the irradiation optical system, and the at least the measuring device causes the irradiation optical system to move.
  • the light receiving device receives the energy beam by controlling the moving device so as to move the measuring device to a position where one can be measured.
  • a processing system including a control device that obtains a positional relationship between the irradiation position of the energy beam and the measurement region of the measurement device by using the second information regarding the position in.
  • an irradiation optical system that irradiates the beam irradiation surface with the energy beam from the light source, and the irradiation optical system that moves in a direction along the beam irradiation surface or a surface parallel to the beam irradiation surface,
  • a light receiving device for receiving the energy beam from the optical system via a light transmitting portion, and a calculation device for obtaining an intensity distribution of the energy beam on the beam irradiation surface by using an output from the light receiving device.
  • a processing system is provided in which the light receiving device receives the energy beam while changing a position on the beam irradiation surface or a surface parallel to the beam irradiation surface.
  • an irradiation optical system that irradiates an energy beam from a light source toward a first irradiation position on the beam irradiation surface and a second irradiation position different from the first irradiation position, and an object on which the object is placed.
  • a mounting device a position measuring device for measuring the position of the object mounting device, a light receiving device provided in the object mounting device for receiving the energy beam from the irradiation optical system, and the first irradiation position.
  • a moving device that moves the object mounting device so that the energy beam directed to the laser beam is received by the light receiving device, and the energy beam directed to the second irradiation position is received by the light receiving device.
  • the position measuring device is a processing system that measures the position of the object placement device when the energy beam directed to the first and second irradiation positions is received by the light receiving device.
  • the irradiation optical system for irradiating the energy beam from the light source, the object mounting device for mounting the object irradiated with the energy beam from the irradiation optical system, and the irradiation optical system
  • a processing system includes a light receiving device that receives an energy beam, and a measuring device that measures at least one of the light receiving device and a portion associated with the light receiving device.
  • the irradiation optical system that irradiates the energy beam from the light source, the object mounting device that mounts the object irradiated with the energy beam from the irradiation optical system, and the object mounting device
  • a light receiving device that is provided to receive the energy beam from the irradiation optical system, a measuring device that measures at least one of the light receiving device and a portion related to the light receiving device, and the light receiving device at a measurement position of the measuring device.
  • moving the object mounting device so that at least one of the parts of the related object associated with the light receiving device is positioned and the light receiving device is positioned at the irradiation position of the energy beam from the irradiation optical system.
  • a processing system including a moving device is provided.
  • the irradiation optical system is controlled.
  • the light receiving device can receive the energy beam from the irradiation optical system.
  • Moving the object placing device to a position, moving the object placing device to a position where the measuring device can measure the light receiving device, and when the light receiving device receives the energy beam The first information regarding the position of the object placing device and the second information regarding the position of the object placing device when measuring at least a part of the light receiving device using the measuring device are used.
  • the object placing device by irradiating the object placed on the object placing device with the energy beam from the light source, and by using the light receiving device provided in the object placing device, Receiving the energy beam, measuring the object placed on the object placing device, and irradiating the irradiation optical system at a position where the light receiving device can receive the energy beam from the irradiation optical system. And moving the measuring device to a position where the measuring device can measure the light receiving device, and in the plane in which the irradiation optical system moves when the light receiving device receives the energy beam.
  • the first information regarding the position of the irradiation optical system and the position within the moving plane of the measuring device when measuring at least a part of the light receiving device using the measuring device.
  • the irradiation optical system is controlled.
  • Processing method comprising the obtaining the positional relationship between the irradiation position of the beam and the measurement position of the object is provided.
  • the object placing device by irradiating the object placed on the object placing device with the energy beam from the light source, and by using the light receiving device provided in the object placing device, Receiving the energy beam, measuring the object placed on the object placing device, and irradiating the irradiation optical system at a position where the light receiving device can receive the energy beam from the irradiation optical system. And moving the measuring device to a position where the measuring device can measure the light receiving device, and in the plane in which the irradiation optical system moves when the light receiving device receives the energy beam.
  • the second information processing method comprising the determining the positional relationship between the measurement area of the irradiation position and the measuring apparatus of the energy beam is provided.
  • the thirteenth aspect by irradiating the energy beam from the light source toward the beam irradiation surface, and using the light receiving device that moves in the direction along the beam irradiation surface or a surface parallel to the beam irradiation surface.
  • a method of receiving the energy beam while changing the position of the light transmitting portion on the beam irradiation surface or a surface parallel to the beam irradiation surface.
  • irradiating the energy beam from the light source toward the first irradiation position on the beam irradiation surface and the second irradiation position different from the first irradiation position, and placing the object on the object Measuring the position of the device, using the light receiving device provided in the object placing device to receive the energy beam directed to the first irradiation position with the light receiving device, and the object placing device.
  • the light receiving device provided in the device is used to receive the energy beam directed to the second irradiation position by the light receiving device, and the energy beam directed to the first and second irradiation positions is received.
  • a processing method including measuring the position of the object placement device when the light is received by the light receiving device by the position measuring device.
  • irradiation of the energy beam from the light source, reception of the irradiated energy beam by the light receiving device, and at least one of the light receiving device and a portion related to the light receiving device are performed.
  • a processing method is provided that includes measuring.
  • the irradiation of the energy beam from the light source, the mounting of the object irradiated with the energy beam from the irradiation optical system on the object mounting device, and the irradiation from the irradiation optical system are performed.
  • FIG. 1 is a cross-sectional view showing the structure of the processing system of this embodiment.
  • 2A to 2C are cross-sectional views showing a state of removal processing performed on a work.
  • 3 (a) to 3 (c) are cross-sectional views showing a state of a work processed by non-thermal processing.
  • FIG. 4 is a cross-sectional view showing the structure of the processing device.
  • FIG. 5 is a perspective view showing the structure of an optical system included in the processing apparatus.
  • FIG. 6 is a flowchart showing the flow of the processing operation performed by the processing system SYS.
  • FIG. 7A is a cross-sectional view showing a cross section of an unworked work
  • FIG. 7B is a plan view showing the upper surface of the unworked work W.
  • FIG. 7A is a cross-sectional view showing a cross section of an unworked work
  • FIG. 7B is a plan view showing the upper surface of the unworked work W.
  • FIG. 8 is a plan view showing an example of the positional relationship between the measurement shot area and the work.
  • FIG. 9 is a plan view showing another example of the positional relationship between the measurement shot area and the work.
  • FIG. 10A and FIG. 10B is a plan view showing an example of the movement locus of the measurement shot area moving with respect to the surface of the work.
  • 11A is a cross-sectional view showing an example of the positional relationship between the processing target area and the work
  • FIG. 11B is a plan view showing an example of the positional relationship between the processing target area and the work.
  • FIG. 12 is a cross-sectional view showing a cross section of the processing target portion and the plurality of layered structure portions.
  • FIG. 13D shows a position where the slice data corresponding to a certain layered structure portion is actually removed in the processing target region in the process of removing the certain layered structure portion. It is a top view which shows the example which has shown.
  • FIG. 14 is a cross-sectional view showing how the processing target portion is removed.
  • FIG. 15 is a cross-sectional view showing the work that has been removed.
  • FIG. 16 is a flowchart showing the flow of the initial setting operation for setting the initial value of the processing condition.
  • FIG. 17 is a plot diagram in which the processing amount is plotted with respect to the focus position of the processing light.
  • FIG. 18 is a graph showing the relationship between the focus position of the processing light and the processing amount with an approximate curve.
  • FIG. 19 is a sectional view showing the positional relationship between the focus position of the processing light and the surface of the work.
  • FIG. 20 is a flowchart showing the flow of the first temperature drift reduction operation.
  • 21A is a cross-sectional view showing a cross section of the stage device, and
  • FIG. 21B is a plan view showing the upper surface of the stage device.
  • 22A is a sectional view showing a section of the stage device, and FIG. 22B is a plan view showing an upper surface of the stage device.
  • FIG. 23 is a graph showing the time transition of the position of the work in the Z-axis direction calculated by the control device.
  • FIG. 24 is a flowchart showing the flow of the second temperature drift reduction operation.
  • FIG. 25 is a graph schematically showing the distribution of the position of the work in the Z-axis direction on the XY plane.
  • FIG. 26 is a flowchart showing the flow of the third temperature drift reduction operation.
  • 27A is a cross-sectional view showing the measuring device tilted with respect to the stage, and FIG. 27B is calculated from the measurement result of the measuring device under the situation shown in FIG. 27A.
  • 27C is a cross-sectional view showing the shape of the work, and FIG. 27C is a cross-sectional view showing the work W to be processed by the processing device under the condition that the measuring device is inclined with respect to the stage.
  • FIG. 8A is a cross-sectional view showing a work processed to reduce the influence of the tilt amount.
  • FIG. 28 is a flowchart showing the flow of the first tilt measuring operation for measuring the tilt amount of the measuring device with respect to the work.
  • FIG. 29 is a plan view showing the reference member.
  • 30A is a plan view showing the reference member, and
  • FIG. 30B is a sectional view showing the reference member.
  • FIG. 31 is a plan view showing a stage modified to perform the first tilt measurement operation.
  • FIG. 32 is a flowchart showing the flow of the first tilt measurement operation for measuring the tilt amount of the processing device with respect to the work.
  • FIG. 33 is a schematic diagram showing the structure of the processing system of the first modified example.
  • FIG. 34 is a cross-sectional view showing a first mode of supplying gas by the gas supply device.
  • FIG. 35 is a cross-sectional view showing a second gas supply mode by the gas supply device.
  • FIG. 36 is a schematic diagram showing the structure of the processing system of the second modified example.
  • FIG. 37 is a schematic diagram showing the structure of the processing system of the third modified example.
  • FIG. 38 is a schematic diagram showing another structure of the processing system of the third modified example.
  • 39A is a sectional view showing the structure of the light receiving device
  • FIG. 39B is a plan view showing the structure of the light receiving device.
  • FIG. 40 is a cross-sectional view showing the processing light with which the light receiving device is irradiated.
  • FIG. 41 (a) is a cross-sectional view showing how the processing device irradiates the light receiving device with the processing light to perform the focus control operation, and FIG.
  • FIG. 41 (b) shows the processing device to perform the focus control operation.
  • FIG. 41C is a plan view showing how the processing device irradiates the light receiving device, and FIG. 41C is a graph showing the detection result of the detector provided in the light receiving device.
  • FIG. 42 is a graph showing the detection result of the detector.
  • FIG. 43 is a plan view schematically showing the spot diameter of the processing light EL at each position on the surface of the work when the processing light deflected by the galvanometer mirror scans the surface of the work.
  • 44 (a) and 44 (c) are cross-sectional views showing the positional relationship between the processing device and the light receiving device 9d during the period in which the state detection operation is performed, and FIGS.
  • Each of d) is a plan view showing the positional relationship between the processing device and the light receiving device during the period in which the state detection operation is performed.
  • FIG. 45A is a plan view showing the irradiation position of the processing light on the surface of the work (that is, the surface along the XY plane) under the condition that the temperature drift does not occur
  • FIG. FIG. 5 is a plan view showing an irradiation position of processing light on a surface of a work (that is, a surface along an XY plane) under a condition where temperature drift occurs.
  • 46A is a sectional view showing the stage
  • FIG. 46B is a plan view showing the stage.
  • FIG. 47 is a flowchart showing the flow of stage control operation for controlling the position of the stage based on the measurement result of the opening by the measuring device.
  • FIG. 48 is a sectional view schematically showing the baseline amount in the fourth modified example.
  • FIGS. 49A to 49D is a plan view showing a marker used in the stage control operation.
  • each of the X-axis direction and the Y-axis direction is a horizontal direction (that is, a predetermined direction in the horizontal plane), and the Z-axis direction is a vertical direction (that is, a direction orthogonal to the horizontal plane). Yes, and substantially in the vertical direction or gravity direction).
  • the rotation directions around the X axis, the Y axis, and the Z axis are referred to as the ⁇ X direction, the ⁇ Y direction, and the ⁇ Z direction, respectively.
  • the Z-axis direction may be the gravity direction.
  • the XY plane may be horizontal.
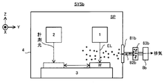
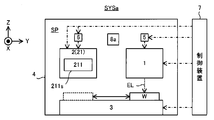
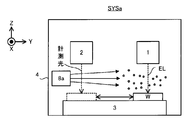
  • FIG. 1 is a cross-sectional view showing the structure of the processing system SYS. Note that, for simplification of the drawing, FIG. 1 does not show a cross section of a part of the components of the processing system SYS.
  • the processing system SYS includes a processing device 1, a measuring device 2, a stage device 3, a housing 4, a drive system 5, a drive system 6, and a control device 7.
  • the processing device 1 can process the work W under the control of the control device 7.
  • the work W may be, for example, a metal, an alloy (for example, duralumin, etc.), a semiconductor (for example, silicon), or a resin (for example, CFRP (Carbon Fiber Reinforced). (Plastic) or the like), glass, or an object made of any other material.
  • the processing device 1 irradiates the work W with the processing light EL in order to process the work W.
  • the processing light EL may be any type of light as long as the work W can be processed by being irradiated on the work W.
  • the processing light EL is described as an example in which the processing light EL is laser light, but the processing light EL may be light of a type different from the laser light.
  • the wavelength of the processing light EL may be any wavelength as long as the work W can be processed by being irradiated with the work W.
  • the processing light EL may be visible light or invisible light (for example, at least one of infrared light and ultraviolet light).
  • the processing apparatus 1 irradiates the work W with the processing light EL1 to perform a removal process (a so-called cutting process or grinding process) for removing a part of the work W.
  • a removal process a so-called cutting process or grinding process
  • the processing apparatus 1 may perform processing different from the removal processing (for example, additional processing or marking processing).
  • the removal processing includes surface cutting processing, surface grinding processing, cylindrical cutting processing, cylindrical grinding processing, hole cutting processing, hole grinding processing, surface polishing processing, cutting processing, and formation of arbitrary characters or arbitrary patterns (in other words, , Engraving) (in other words, engraving) may be included.
  • FIGS. 2A to 2C are cross-sectional views showing a state of the removal process performed on the work W.
  • the processing apparatus 1 irradiates the irradiation light EA set (in other words, formed) on the surface of the work W with the processing light EL.
  • the irradiation light EA is irradiated with the processing light EL, the energy of the processing light EL is transmitted to a portion of the work W that is close to the irradiation area EA.
  • the heat resulting from the energy of the processing light EL melts the material forming the portion of the workpiece W that is close to the irradiation area EA.
  • the melted material becomes droplets and scatters.
  • the melted material is evaporated by the heat caused by the energy of the processing light EL.
  • the part of the work W close to the irradiation area EA is removed. That is, as shown in FIG. 2B, a recess (in other words, a groove) is formed on the surface of the work W.
  • the processing apparatus 1 processes the work W by utilizing the so-called thermal processing principle.
  • the processing apparatus 1 causes the processing light EL to scan the surface of the work W along a desired scanning locus corresponding to the region to be processed for removal, thereby appropriately removing the portion of the work W to be processed for removal. be able to.
  • the processing apparatus 1 can process the work W by using the principle of non-thermal processing (for example, ablation processing). That is, the processing apparatus 1 may perform non-thermal processing (for example, ablation processing) on the work W.
  • non-thermal processing for example, ablation processing
  • the material forming the portion of the workpiece W close to the irradiation area EA is , Instantly evaporates and scatters.
  • FIGS. 3A to 3C which are cross-sectional views showing the state of the work W processed by the non-thermal processing, the work W is heated by the heat caused by the energy of the processing light EL.
  • a recess in other words, a groove
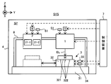
  • the processing apparatus 1 includes a light source 11, an optical system 12, a dichroic mirror 13, and an optical system 14 as shown in FIG. 4, which is a sectional view showing the structure of the processing apparatus 1. And a return light prevention device 15 and an observation device 16.
  • the light source 11 can generate the processing light EL.
  • the processing light EL is laser light
  • the light source 11 may be, for example, a laser diode.
  • the light source 11 may be a light source capable of pulse oscillation.
  • the light source 11 can generate pulsed light (for example, pulsed light having a light emission time of picoseconds or less) as the processing light EL.
  • the light source 11 emits the generated processing light EL toward the optical system 12.
  • the light source 11 may emit the processing light EL in a linearly polarized state.
  • the optical system 12 is an optical system into which the processing light EL emitted from the light source 11 enters.
  • the optical system 12 is an optical system that emits the processing light EL that has entered the optical system 12 toward the return light prevention device 15. That is, the optical system 12 is an optical system that guides the processing light EL emitted from the light source 11 to the return light prevention device 15.
  • the optical system 12 may control the state of the processing light EL emitted from the light source 11, and may emit the processing light EL whose state is controlled toward the return light prevention device 15.
  • the optical system 12 may control the beam diameter of the processing light EL (that is, the size of the processing light EL in the plane intersecting the traveling direction of the processing light EL).
  • the optical system 12 may control the beam diameter of the processing light EL (that is, the spot diameter) on the surface of the work W by controlling the beam diameter of the processing light EL.
  • the optical system 12 may include the beam expander 121.
  • the optical system 12 may control the degree of convergence or divergence of the processing light emitted from the optical system 12.
  • the optical system 12 may include the focus lens 122.
  • the focus lens 122 is composed of one or more lenses, and by adjusting the position of at least a part of the lenses along the optical axis direction, the convergence degree or divergence degree of the processing light EL is changed to adjust the position of the processing light EL.
  • the focus lens 122 may be integrated with the beam expander 121 or may be a separate body from the beam expander 121.
  • the optical system 12 may control the intensity distribution of the processing light EL in the plane intersecting the traveling direction of the processing light EL.
  • the optical system 12 may include an intensity distribution control member 123 capable of controlling the intensity distribution of the processing light EL.
  • the state of the processing light EL controlled by the optical system 12 includes the focus position of the processing light EL, the beam diameter of the processing light EL, the convergence or divergence of the processing light EL, and the intensity distribution of the processing light EL.
  • the pulse length and the number of pulses of the processing light EL, the intensity of the processing light EL, the traveling direction of the processing light EL, and the polarization state of the processing light EL may be used.
  • the dichroic mirror 13 guides the processing light EL that enters the dichroic mirror 13 from the optical system 12 via the return light prevention device 15 to the optical system 14.
  • the dichroic mirror 13 reflects one of the processing light and the observation light (illumination light IL and reflected light ILr) having a wavelength different from the processing light and transmits the other.
  • the dichroic mirror 13 guides the processing light EL to the optical system 14 by reflecting the processing light EL toward the optical system 14.
  • the dichroic mirror 13 may guide the processing light EL to the optical system 14 by passing the processing light EL.
  • the optical system 14 is an optical system for irradiating (that is, guiding) the processing light EL from the dichroic mirror 13 to the work W.
  • the optical system 14 includes a galvanometer mirror 141 and an f ⁇ lens 142.
  • the galvano mirror 141 deflects the processing light EL so that the processing light EL from the f ⁇ lens 142 scans the work W (that is, the irradiation area EA irradiated with the processing light EL moves on the surface of the work W). ..
  • a polygon mirror may be used instead of or in addition to the galvano mirror 141.
  • the galvano mirror 141 includes an X scanning mirror 141X and a Y scanning mirror 141Y, as shown in FIG. 5, which is a perspective view showing the structure of the optical system 14.
  • the X scanning mirror 141X reflects the processing light EL toward the Y scanning mirror 141Y.
  • the X scanning mirror 141X can swing or rotate about the ⁇ Y direction (that is, the rotation direction around the Y axis) as an axis.
  • the machining light EL scans the surface of the work W along the X-axis direction by swinging or rotating the X-scanning mirror 141X.
  • the irradiation area EA moves on the surface of the work W along the X-axis direction by swinging or rotating the X-scanning mirror 141X.
  • the Y scanning mirror 141Y reflects the processing light EL toward the f ⁇ lens 142.
  • the Y scanning mirror 141Y can swing or rotate about the ⁇ X direction (that is, the rotation direction around the X axis) as an axis.
  • the processing light EL scans the surface of the work W along the Y-axis direction.
  • the irradiation area EA moves on the surface of the work W along the Y-axis direction by swinging or rotating the Y scanning mirror 141Y.
  • the f ⁇ lens 142 is an optical element for condensing the processing light EL from the galvano mirror 141 onto the work W.
  • the X scanning mirror 141X may be swingable or rotatable about a direction slightly tilted from the ⁇ Y direction (that is, the rotation direction around the Y axis), and the Y scanning mirror 141Y may rotate in the ⁇ X direction (that is, It may be swingable or rotatable about a direction slightly inclined from the direction of rotation about the X axis).
  • the f ⁇ lens 142 is a telecentric optical system on the exit surface side (workpiece W side) in this example, the f ⁇ lens 142 may not be a telecentric optical system.
  • the f ⁇ lens 142 is a telecentric optical system on the exit surface side (workpiece W side)
  • the irradiation position of the processing light EL does not change in the XY plane even if the thickness of the work W (size in the Z-axis direction) changes.
  • the return light prevention device 15 prevents the return light ELr, which is the processing light EL reflected by the work W, from returning to the optical system 12 and the light source 11.
  • the returning light prevention device 15 guides the processing light EL emitted from the optical system 12 to the dichroic mirror 13 (that is, to the work W).
  • the return light prevention device 15 may use polarized light, for example.
  • the light source 11 preferably emits the processing light EL in the linearly polarized state.
  • the return light prevention device 15 includes, for example, a 1/2 long plate 151, a polarization beam splitter 152, a 1/4 wavelength plate 153, a 1/2 wavelength plate 154, and a beam diffuser 155.
  • the half-wave plate 151 changes the polarization direction of the processing light EL from the optical system 12.
  • the 1 ⁇ 2 wavelength plate 151 changes the polarization direction of the processing light EL from the optical system 12 to a direction in which the processing beam EL can pass through the polarization beam splitter 152.
  • the processing light EL that has passed through the half-wave plate 151 passes through the polarization beam splitter 152.
  • the polarization beam splitter 152 transmits p-polarized light while reflecting s-polarized light with respect to a polarization separation surface of the polarization beam splitter. That is, description will be given using an example in which the processed light EL that has passed through the polarization beam splitter 152 is p-polarized light.
  • the processed light EL that has passed through the polarization beam splitter 152 passes through the quarter-wave plate 153 and becomes circularly polarized light.
  • the processing light EL that has passed through the half-wave plate 153 passes through the half-wave plate 154 and the ellipticity of its polarization is adjusted.
  • the circularly polarized processing light EL enters the dichroic mirror 13. Therefore, the returning light prevention device 15 can guide the processing light EL to the dichroic mirror 13.
  • the return light ELr that has entered the return light prevention device 15 enters the quarter-wave plate 154.
  • the return light ELr since the return light ELr is the processing light EL reflected on the surface of the work W, the rotation direction of the return light ELr is inverted with respect to the rotation direction of the processing light EL. Therefore, the return light ELr that has passed through the quarter-wave plate 154 becomes p-polarized light.
  • the return light ELr that has passed through the quarter-wave plate 154 passes through the half-wave plate 153 and becomes s-polarized light.
  • the return light ELr that has passed through the half-wave plate 153 is reflected by the polarization beam splitter 152.
  • the return light ELr reflected by the polarization beam splitter 152 is absorbed by the beam diffuser 155. Therefore, the return light prevention device 15 can prevent the return light ELr from returning to the optical system 12 and the light source 11.
  • the quarter wave plate may be arranged in the optical path between the quarter wave plate 154 and the work W.
  • the observation device 16 can optically observe the state of the surface of the work W.
  • FIG. 4 illustrates an example in which the observation device 16 can optically capture the state of the surface of the work W.
  • the observation device 16 may include a light source 161, a beam splitter 162, a notch filter 163, and an image sensor 164.
  • the light source 161 generates the illumination light IL.
  • the illumination light IL is visible light, but may be invisible light.
  • the wavelength of the illumination light IL is different from the wavelength of the processing light EL.
  • the wavelength of the illumination light IL is set to a wavelength that can pass through the dichroic mirror 13.
  • the light source 161 emits the generated illumination light IL toward the beam splitter 162.
  • the beam splitter 162 reflects at least a part of the illumination light IL from the light source 161 toward the notch filter 163.
  • the notch filter 163 is a filter that attenuates only the light in a partial wavelength band of the incident illumination light IL.
  • a bandpass filter that transmits only light in a part of the wavelength band of the incident illumination light IL may be used.
  • the notch filter 163 limits the wavelength band of the illumination light IL that passes through the notch filter 163 to a wavelength band that can pass through the dichroic mirror 13.
  • the illumination light IL reflected by the beam splitter 162 enters the dichroic mirror 13 via the notch filter 163.
  • the illumination light EL that has entered the dichroic mirror 13 passes through the dichroic mirror 13.
  • the illumination light IL is applied to the surface of the work W via the optical system 14. That is, the illumination light IL is applied to the surface of the work W through an optical path that at least partially overlaps the optical path of the processing light EL.
  • the illumination light IL is applied to the surface of the work W through a part of the optical system (in the example shown in FIG. 4, the dichroic mirror 13 and the optical system 14) that guides the processing light EL from the light source 11 to the work W. Therefore, in the example shown in FIG. 4, a part of the optical system that guides the processing light EL from the light source 11 to the work W is shared as a part of the optical system that guides the illumination light IL from the light source 161 to the work W. ..
  • the optical system that guides the processing light EL from the light source 11 to the work W and the optical system that guides the illumination light IL from the light source 161 to the work W may be optically separated. At least a part of the illumination light IL applied to the surface of the work W is reflected by the surface of the work W. As a result, the illumination light IL reflected by the work W enters the optical system 14 as reflected light ILr.
  • the reflected light ILr enters the observation device 16 via the optical system 14.
  • the reflected light ILr that has entered the observation device 16 enters the beam splitter 162 via the notch filter 163.
  • the illumination light IL and the reflected light ILr may be referred to as observation light.
  • the notch filter 163 is used as a light blocking member for preventing the processing light EL having a wavelength different from that of the observation light from entering the inside of the observation device 16 (in particular, the image pickup element 164). At least a part of the reflected light ILr incident on the beam splitter 162 passes through the beam splitter 164 and is incident on the image sensor 164. As a result, the observation device 16 can optically capture the state of the surface of the work W.
  • the observation result of the observation device 16 includes information with which the state of the work W can be specified. Therefore, the observation device 16 may be used as a measurement device for measuring the work W.
  • the observation result (specifically, the imaging result) of the observation device 16 includes information that can specify the shape of the work W (for example, the shape of the surface of the work W). Therefore, the observation device 16 may be used as a measurement device for measuring the shape of the work W.
  • a part of the processing device 1 is shared with at least a part of the measuring device (in the example shown in FIG. 4, the observation device 16) for measuring the work W.
  • the measuring device 2 can measure the measuring object under the control of the control device 7.
  • the measurement target includes, for example, the work W.
  • the measuring device 2 may be a device capable of measuring the state of the work W.
  • the state of the work W may include the position of the work W.
  • the position of the work W may include the position of the surface of the work W.
  • the position of the surface of the work W may include a position in at least one of the X-axis direction, the Y-axis direction, and the Z-axis direction of each surface portion obtained by subdividing the surface of the work W.
  • the state of the work W may include the shape of the work W (for example, a three-dimensional shape).
  • the shape of the work W may include the shape of the surface of the work W.
  • the shape of the surface of the work W is, in addition to or instead of the position of the surface of the work W described above, the direction of each surface portion obtained by subdividing the surface of the work W (for example, the direction of the normal line of each surface portion, (Substantially equivalent to the amount of inclination of each surface portion with respect to at least one of the X axis, the Y axis, and the Z axis) may be included.
  • the state of the work W may include the size of the work W (for example, the size in at least one of the X-axis direction, the Y-axis direction, and the Z-axis direction).
  • the measurement information regarding the measurement result of the measurement device 2 is output from the measurement device 2 to the control device 7.
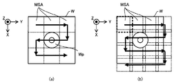
  • the measuring device 2 may include a plurality of measuring devices 21 that differ in at least one of the size (in other words, the width) and the measurement resolution of the measurement shot area MSA.
  • the “measurement shot area MSA” in the present embodiment is measured by the measurement device 21 in a state where the positional relationship between the measurement device 21 and the measurement target (for example, the work W) is fixed (that is, without change).
  • the region (in other words, range) to be performed is shown (see FIGS. 8 and 9 described later).
  • the measurement shot MSA may be referred to as a measurable range or measurable field of the measuring device 2.
  • FIG. 1 shows an example in which the measuring device 2 includes two measuring devices 21 (specifically, the measuring devices 21-1 and 21-2).
  • the measuring device 2 may include a single measuring device 21.
  • the measurement shot area MSA of the first measurement device 21 of the plurality of measurement devices 21 is larger than the measurement shot area MSA of the second measurement device 21 of the plurality of measurement devices 21 different from the first measurement device 21. May be wider (that is, larger).
  • the measurement resolution of the first measurement device 21 having the relatively wide measurement shot area MSA may be lower than the measurement resolution of the second measurement device 21 having the relatively narrow measurement shot area MSA. .. That is, the measurement resolution of the second measurement device 21 having the relatively narrow measurement shot area MSA may be higher than the measurement resolution of the first measurement device 21 having the relatively wide measurement shot area MSA.
  • the measurement shot area MSA of the measurement device 21-1 is wider than the measurement shot area MSA of the measurement device 21-2, and the measurement resolution of the measurement device 21-1 is the measurement device 21-2. It may be lower than the measurement resolution of.
  • the measuring devices 21-1 and 21-2 satisfying such a condition, the work W is measured using a light cutting method that projects slit light onto the surface of the work W and measures the shape of the projected slit light.
  • a measuring device 21-1 for measuring the work W and a measuring device 21-2 for measuring the work W by using a white light interferometry method for measuring an interference pattern of the white light passing through the work W and the white light not passing through the work W are included.
  • the white light referred to here may mean that it has a wavelength width (spectral width) with respect to monochromatic light.
  • each measuring device 21 may measure the work W using another method different from the light section method and the white light interferometry method.
  • a pattern projection method of projecting a light pattern on the surface of the work W and measuring the shape of the projected pattern, projecting light on the surface of the work W, and returning the projected light Time to flight method for measuring the distance from the time to the work W at multiple positions on the work W moire topography method (specifically, grid irradiation method or grid projection method), holography
  • an interferometry method an autocollimation method, a stereo method, an astigmatism method, a critical angle method, and a knife edge method can be mentioned.
  • the measuring device 21 receives a light source that emits measurement light (for example, slit light or white light) and light (for example, reflected light of measurement light) from the work W irradiated with the measurement light. It may be provided with a light receiver.
  • the light receiver may include a single photodetector, may include a plurality of photodetectors arranged in a one-dimensional direction, or may include a plurality of photodetectors arranged in a two-dimensional direction. ..
  • the stage device 3 is arranged (that is, provided) below the processing device 1 and the measuring device 2 (that is, on the ⁇ Z side).
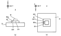
  • the stage device 3 includes a surface plate 31 and a stage 32.
  • the surface plate 31 is arranged on the bottom surface of the housing 4 (or on a supporting surface such as a floor surface on which the housing 4 is placed).
  • a stage 32 is arranged on the surface plate 31.
  • a not-shown protective member for reducing the transmission of the vibration of the surface plate 31 to the stage 32 is provided.
  • a shaking device may be installed.
  • the support frame 8 that supports the processing device 1 and the measuring device 2 may be arranged on the surface plate 31.
  • the processing device 1 and the measuring device 2 may be supported by the same surface plate 31.
  • at least a part of the processing device 1 may not be arranged on the surface plate 31.
  • at least a part of the measuring device 2 may not be arranged on the surface plate 31.
  • At least a part of the processing device 1 and at least a part of the measuring device 2 may be arranged on different surface plates (or other supporting surfaces).
  • the measurement system SYS may be configured without the surface plate 31.
  • the stage 32 may be provided on the predetermined structure of the housing 4.
  • the stage 32 may be made of quartz glass, or may be made of other materials (for example, metal, ceramics, etc.).
  • the work W is placed on the stage 32.
  • the surface of the stage 32 includes a mounting surface 321 on which the work W can be mounted.
  • the mounting surface 321 is a surface parallel to the XY plane.
  • the work W is placed on the placing surface 321.
  • the stage 32 does not have to hold the mounted work W.
  • the stage 32 may hold the mounted work W.
  • the stage 32 may hold the work W by vacuum suction and / or electrostatic suction of the work W.
  • FIG. 1 shows an example in which at least one opening 322 for vacuum suction of the work W is formed on the mounting surface 321 of the stage 32.
  • the stage 32 sucks the work W in vacuum by sucking the back surface of the work W through the opening 322.
  • the stage 32 can move on the surface plate 31 while the work W is placed under the control of the control device 7.
  • the stage 32 is movable with respect to at least one of the surface plate 31, the processing device 1, and the measuring device 2.
  • the stage 32 is movable along each of the X-axis direction and the Y-axis direction. In this case, the stage 32 can move along a stage running surface parallel to the XY plane.
  • the stage 32 may be further movable along at least one of the Z axis direction, the ⁇ X direction, the ⁇ Y direction, and the ⁇ Z direction.
  • the stage device 3 includes a stage drive system 33.
  • the stage drive system 33 moves the stage 32 using, for example, an arbitrary motor (for example, a linear motor or the like).
  • the stage device 3 includes a position measuring device 34 for measuring the position of the stage 32.
  • the position measuring instrument 34 may include, for example, at least one of an encoder and a laser interferometer.
  • the processing device 1 and the measuring device 2 changes. That is, when the stage 32 moves, the position of the stage 32 (further, the work W placed on the stage 32) with respect to the processing device 1 and the measuring device 2 changes. Therefore, moving the stage 32 is equivalent to changing the positional relationship between the stage 32 (further, the workpiece W placed on the stage 32), the processing apparatus 1 and the measuring apparatus 2.
  • the stage 32 may be moved so that at least a part of the work W is located in the processing shot area PSA during at least a part of the processing period in which the processing apparatus 1 processes the work W.
  • the stage 32 may move so that the processing shot area PSA is located on the work W during at least a part of the processing period.
  • the “machining shot area PSA” in the present embodiment is processed by the machining apparatus 1 in a state where the positional relationship between the machining apparatus 1 and an object to be machined (for example, the work W) is fixed (that is, without changing).
  • the region (in other words, range) to be performed is shown.
  • the processing shot area PSA coincides with the scanning range of the processing light EL deflected by the galvano mirror 141 in a state where the positional relationship between the processing device 1 and the processing object is fixed, as shown in FIG.
  • the area is set to be narrower than the scanning range.
  • the processing shot area PSA is an area in which the irradiation area EA to which the processing light EL is irradiated in a state where the positional relationship between the processing device 1 and the processing object is fixed matches the movable range or is narrower than the range. Is set to. Therefore, the processing shot area PSA is an area determined based on the processing apparatus 1 (that is, an area having a predetermined positional relationship with the processing apparatus 1).
  • the processing apparatus 1 detects the workpiece W located in the processing shot area PSA. At least a part of the processing light EL can be irradiated. As a result, at least a part of the work W is processed by the processing light EL emitted from the processing apparatus 1 while being placed on the stage 32 (or being held by the stage 32).
  • the work W is so large that the entire work W cannot be located in the processing shot area PSA, the first portion of the work W is included in the processing shot area PSA.
  • the stage 32 moves so that the second part of the work W different from the first part is included in the processing shot area PSA (further, if necessary, it is processed by the drive system 5 described later).
  • the apparatus 1 moves), and then the second portion of the work W is processed. After that, the same operation is repeated until the processing of the work W is completed.
  • the stage 32 may move so that at least a part of the work W is located in the measurement shot area MSA during at least a part of the measurement period in which the measuring device 2 measures the work W.
  • the stage 32 may move so that the measurement shot area MSA is located on the work W during at least a part of the measurement period.
  • the measuring shot area MSA is the measuring device 2 Of the slit light used for the light cutting method and / or the white light used for the white light interferometry in a state where the positional relationship between the object and the measurement object is fixed (for example, the scanning range of the slit light and / or the white light).
  • the measurement shot area MSA is a light receiving surface (for example, a single light receiving surface of a light receiver that receives light from the work W irradiated with slit light and / or white light in a state where the positional relationship between the measuring device 2 and the measurement object is fixed.
  • the range may be set to correspond to one photodetector or a plurality of photodetectors arranged in the one-dimensional direction or the two-dimensional direction. Therefore, the measurement shot area MSA is an area determined with the measuring device 2 as a reference (that is, an area having a predetermined positional relationship with the measuring device 2).
  • the measuring device 2 measures the work W located in the measurement shot area MSA. At least a part can be measured. That is, at least a part of the work W is measured by the measuring device 2 while being placed on the stage 32 (or being held by the stage 32).
  • the stage 32 moves so that the second part of the work W different from the first part is included in the measurement shot area MSA (further, if necessary, measured by the drive system 6 described later).
  • the device 2 moves), and then the second portion of the work W is measured. After that, the same operation is repeated until the measurement of the work W is completed.
  • the measurement shot area MSA is typically in the shape of a slit extending in a predetermined direction, so that the work W is moved by the stage 32 along the direction intersecting the longitudinal direction of the slit. The work W may be measured while moving.
  • the stage 32 may move between the processing shot area PSA and the measurement shot area MSA while the work W is placed on the stage 32.
  • the stage 32 may move such that the work W moves between the processing shot area PSA and the measurement shot area MSA with the work W placed on the stage 32. That is, the work W moves between the processing shot area PSA and the measurement shot area MSA in addition to the processing period in which the processing apparatus 1 processes the work W and the measurement period in which the measuring apparatus 2 measures the work W. It may remain mounted on the stage 32 during the movement period during which the movement is performed.
  • the work W may remain mounted on the stage 32 between the processing of the work W by the processing device 1 and the measurement of the work W by the measuring device 2.
  • the work W may remain mounted on the stage 32 between the processing of the work W by the processing device 1 and the measurement of the work W by the measuring device 2.
  • the work W may remain mounted on the stage 32 between the measurement of the work W by the measuring device 2 and the processing of the work W by the processing device 1. In other words, between the time when the machining of the workpiece W by the machining apparatus 1 is completed and the time when the measurement of the workpiece W is started by the measuring apparatus 2 or the measurement of the work W by the measuring apparatus 2 is completed, The work W does not have to be removed from the stage 32 before the processing of the work W is started.
  • a holding mode in which the stage 32 holds the work W in at least a part of the machining period and a holding mode in which the stage 32 holds the work W in at least a part of the measurement period. May be the same.
  • An example of the holding mode is the force with which the stage 32 holds the work W.
  • the force with which the stage 32 holds the work W depends on the exhaust speed through the opening 322. In this case, the exhaust speed during the processing period may be the same as the exhaust speed during the measurement period so that the stage 32 has the same force for holding the work W.
  • the force with which the stage 32 holds the work W depends on the voltage applied to the electrodes.
  • the voltage may be the same.
  • the holding mode in which the stage 32 holds the work W during at least a part of the processing period may be different from the holding mode in which the stage 32 holds the work W during at least a part of the measurement period.
  • a weight may be placed on the work W. This is particularly effective when the work W is lightweight or small.
  • the stage 32 may have a plurality of stages 32.
  • the processing device 1 and the measuring device 2 are arranged along the moving direction of the stage 32.
  • the processing device 1 and the measuring device 2 are arranged side by side along the Y direction.
  • the processing device 1 and the measuring device 2 may be arranged along a direction intersecting the moving direction of the stage 32.
  • the processing device 1 and the measuring device 2 are arranged along a direction intersecting the scanning direction of the processing light EL by the processing device 1.
  • the scanning direction of the processing light EL by the processing device 1 is the X direction
  • the processing device 1 and the measuring device 2 are arranged side by side along the Y direction intersecting the X direction.
  • the processing device 1 and the measuring device 2 may be arranged in a direction along the scanning direction of the processing light EL.
  • the casing 4 accommodates the processing device 1, the measuring device 2, and the stage device 3 in an internal accommodation space SP that is separated from the space outside the casing 4. That is, in this embodiment, the processing device 1, the measuring device 2, and the stage device 3 are arranged in the same housing 4.
  • the processing device 1, the measuring device 2, and the stage device 3 are arranged in the same accommodation space SP.
  • the housing 4 accommodates the work W in the accommodation space SP therein. That is, the processing device 1, the measuring device 2, and the work W are arranged in the same accommodation space SP.
  • at least a part of the processing device 1 may not be arranged in the accommodation space SP.
  • At least a part of the processing device 1 may not be arranged outside the housing 4.
  • At least a part of the measuring device 2 may not be arranged in the accommodation space SP. At least a part of the measuring device 2 may not be arranged outside the housing 4. At least a part of the stage device 3 may not be arranged in the accommodation space SP. At least a part of the stage device 3 may not be arranged outside the housing 4.
  • the stage 32 is in a state where the work W is placed on the stage 32. It is possible to move between the processing shot area PSA and the measurement shot area MSA. Furthermore, the same housing 4 can continue to accommodate the work W in at least part of the processing period and at least part of the measurement period. In other words, the work W can be continuously located inside the same housing 4 in at least part of the processing period and at least part of the measurement period.
  • the drive system 5 moves the processing device 1 under the control of the control device 7.
  • the drive system 5 moves the processing apparatus 1 with respect to at least one of the surface plate 31, the stage 32, and the work W placed on the stage 32.
  • the drive system 5 may move the processing device 1 with respect to the measuring device 2.
  • the drive system 5 moves the processing apparatus 1 along at least one of the X axis direction, the Y axis direction, the Z axis direction, the ⁇ X direction, the ⁇ Y direction, and the ⁇ Z direction.
  • the drive system 5 includes, for example, a motor and the like.
  • the processing system SYS includes a position measuring device 51 capable of measuring the position of the processing device 1 moved by the drive system 5.
  • the position measuring device 51 may include, for example, at least one of an encoder and a laser interferometer.
  • the drive system 5 moves the processing apparatus 1, the irradiation area EA and the processing shot area PSA move on the work W. Therefore, the drive system 5 can change the positional relationship between the workpiece W, the irradiation area EA, and the processing shot area PSA by moving the processing apparatus 1.
  • the stage 32 is movable, the positional relationship between the work W and the irradiation area EA and the processing shot area PSA can be changed even if the processing apparatus 1 is not movable. Therefore, the processing device 1 does not have to be movable. In this case, the processing system SYS does not have to include the drive system 5.
  • the processing device 1 since the stage 32 is movable in the XY directions, the processing device 1 may be movable in the Z axis direction. At this time, the focus position of the processing light EL and the focus position of the observation device 16 may be controlled by moving the processing device 1 in the Z-axis direction.
  • the drive system 6 moves the measuring device 2 under the control of the control device 7.
  • the drive system 6 moves the measuring device 2 with respect to at least one of the surface plate 31, the stage 32, and the work W placed on the stage 32.
  • the drive system 6 may move the measuring device 2 with respect to the processing device 1.
  • the drive system 6 moves the measuring device 2 along at least one of the X axis direction, the Y axis direction, the Z axis direction, the ⁇ X direction, the ⁇ Y direction, and the ⁇ Z direction.
  • the drive system 6 includes, for example, a motor and the like.
  • the processing system SYS includes a position measuring device 61 capable of measuring the position of the measuring device 2 moved by the drive system 6.
  • the position measuring device 61 may include, for example, at least one of an encoder and a laser interferometer.
  • the drive system 6 moves the measuring device 2
  • the measurement shot area MSA moves on the work W. Therefore, the drive system 6 can change the positional relationship between the work W and the measurement shot area MSA by moving the measuring device 2.
  • the stage 32 is movable
  • the positional relationship between the workpiece W and the measurement shot area MSA can be changed even if the measuring device 2 is not movable. Therefore, the measuring device 2 may not be movable. In this case, the processing system SYS does not have to include the drive system 6.
  • the measuring device 2 since the stage 32 is movable in the XY directions, the measuring device 2 may be movable in the Z axis direction. At this time, the focus position of the measuring device 2 may be controlled by moving the measuring device 2 in the Z-axis direction.
  • the drive system 6 may move the plurality of measuring devices 21 collectively, or may move each measuring device 21 individually. Good.
  • the control device 7 controls the operation of the processing system SYS.
  • the control device 7 may include, for example, a CPU (Central Processing Unit) and a memory.
  • the control device 7 sets the processing conditions for the work W, and the processing device 1, the measuring device 2, the stage device 3, and the drive system 5 so that the work W is processed according to the set processing conditions.
  • the drive system 6 are controlled.
  • the control device 7 does not have to be arranged inside the processing system SYS, and may be arranged as a server or the like outside the processing system SYS, for example. In this case, the control device 7 and the processing system SYS may be connected by a wired or wireless communication line.
  • FIG. 6 is a flowchart showing the flow of the processing operation performed by the processing system SYS.
  • a work W scheduled to be processed by the processing device 1 is newly placed on the stage 32 (step S101). That is, the unprocessed work W is newly placed on the stage 32.
  • the unprocessed work W is transferred from the outside of the housing 4 to the storage space SP inside the housing 4, and then the work W transferred to the storage space SP is newly placed on the stage 32.
  • the work W may be held by the stage 32.
  • FIG. 7A which is a cross-sectional view showing a cross section of the unprocessed work W
  • FIG. 7B which is a plan view showing the upper surface of the unprocessed work W.
  • W will be described with reference to the workpiece W having a projection Wp protruding to the + Z side on the surface as an example.
  • the machining operation will be described using the machining operation performed on the work W so as to remove the protrusion Wp as an example.
  • the processing system SYS can process an arbitrary work having a different shape from the work W shown in FIGS. 7A and 7B by performing the processing operation based on the flowchart shown in FIG. ..
  • the measuring device 21-1 included in the measuring device 2 measures the work W (step S111). Specifically, first, the stage 32 and / or the measuring device 21-1 is moved so that the entire work W (or a part thereof in some cases) is positioned within the measurement shot area MSA of the measuring device 21-1. To do. After that, the measuring device 21-1 measures the work W. Since the measurement shot area MSA of the measurement device 21-1 is wider than the measurement shot area MSA of the measurement device 2-12, the measurement by the measurement device 21-1 is referred to as “wide area measurement” in the present embodiment for convenience of description. ..
  • the outer edge of the measurement shot area MSA of the measurement device 21-1 that performs wide area measurement is a plan view showing an example of the positional relationship between the measurement shot area MSA and the work W, as shown in FIG. May have a size that can include
  • the size of the outer edge of the measurement shot area MSA of the measuring device 21-1 in the XY plane (or the plane along the surface of the work W, the same applies hereinafter) is larger than the size of the outer edge of the surface of the work W in the XY plane. It may be larger or the same. In this case, after the stage 32 moves so that the work W is located in the measurement shot area MSA, the measurement device 21-1 does not move even if the stage 32 and the measurement device 21-1 do not move. The measurement can be completed.
  • the outer edge of the measurement shot area MSA of the measurement device 21-1 is a plan view showing another example of the positional relationship between the measurement shot area MSA and the work W, as shown in FIG. It may have a size such that it can include a part but cannot include another part of the surface of the work W.
  • the size of the outer edge of the measurement shot area MSA of the measuring device 21-1 in the XY plane may be smaller than the size of the outer edge of the surface of the work W in the XY plane. In this case, after the stage 32 moves so that a part of the work W is located in the measurement shot area MSA, the measuring device 21-1 is located in the measurement shot area MSA of the work W as described above.
  • the stage 32 and / or the measurement device 21-1 moves so that another part of the workpiece W, which has not been measured by the measurement device 21-1 yet, is located in the measurement shot area MSA.
  • the operation is repeated. That is, each time the measuring device 21-1 completes the measurement of the portion of the work W located in the measurement shot area MSA, the measurement shot area MSA is set on the surface of the work W in at least one of the X-axis direction and the Y-axis direction. The operation of moving along is repeated.
  • the measurement shot area MSA is the measurement shot area MSA before the movement.
  • the measurement shot area MSA after the movement may be moved so as not to overlap. That is, in the measurement shot area MSA, the measurement shot area MSA including the first portion of the surface of the work W and the measurement shot area MSA including the second portion adjacent to the first portion of the surface of the work W overlap. You may move so as not to.
  • the measurement shot area MSA includes a first portion of the surface of the work W included in the measurement shot area MSA before the movement and a second portion of the surface of the work W included in the measurement shot area MSA after the movement.
  • the measurement shot area MSA is the same as the measurement shot area MSA before the movement. You may move so that the measurement shot area MSA after movement may partially overlap. That is, the measurement shot area MSA is composed of the measurement shot area MSA including the first portion on the surface of the work W and the measurement shot area MSA including the second portion adjacent to the first portion on the surface of the work W. You may move so that it may overlap.
  • the measurement shot area MSA includes a first portion of the surface of the work W included in the measurement shot area MSA before the movement and a second portion of the surface of the work W included in the measurement shot area MSA after the movement. You may move so that and may partially overlap. Although the work W is moved with respect to the measurement shot area MSA in the above description, the measurement shot area MSA may be moved with respect to the work W by moving the measuring device 21-1, for example.
  • the control device 7 determines whether or not there is a defect in the wide area measurement information indicating the measurement result of the measurement device 21-1 (step S112).
  • the term “deficiency” as used herein means that the wide area measurement information does not include information about the measurement result of a portion of the surface of the work W.
  • the control device 7 interpolates the missing information using the existing data interpolation method or the like ( Step S113).
  • control device 7 may control the measuring device 21-1 or the like to control the measuring device 21-1 or the like so as to measure the portion of the work W corresponding to the missing information again.
  • the measurement conditions for example, the wavelength and the orientation of the measurement device 21-1) by the measurement device 21-1 may be changed and the measurement may be performed again.
  • the control device 7 After that, the control device 7 generates three-dimensional model data of the work W based on the wide area measurement information (step S114).
  • the three-dimensional model data based on the wide area measurement information is referred to as “wide area 3D model data”.
  • the measuring device 21-1 may not perform the wide area measurement in step S111. Specifically, the operations from step S111 to step S114 for generating wide area 3D data may not be performed. In this case, the operation after step S115 may be performed using the wide area 3D data that has already been generated.
  • the control device 7 specifies the position of the work W in the coordinate system used when the stage 32 moves (hereinafter, “stage coordinate system”) (step S115).
  • the measurement device 21-1 performs a wide area measurement in step S111, and a reference mark (for example, described later) formed in advance on the surface of the stage 32 (or other member such as the surface plate 31).
  • the opening 93d (see FIG. 39), the marker AM (see FIG. 49) or any other mark) is measured.
  • the information about the measurement result of the reference mark includes the information about the position of the reference mark. Therefore, the control device 7 can specify the positional relationship between the reference mark and the work W based on the wide area measurement information including the measurement result of the reference mark.
  • the control device 7 controls the position of the stage 32 measured by the position measuring device 34.
  • the position of the reference mark in the stage coordinate system can be specified based on the information about (that is, the position in the stage coordinate system) and the information about the positional relationship between the reference mark and the stage 32.
  • the control device 7 determines the position within the stage coordinate system based on the information regarding the position of the reference mark within the stage coordinate system and the information regarding the positional relationship between the reference mark and the workpiece W measured by the wide area measurement.
  • the position of the work W can be specified. Note that instead of measuring the reference mark on the stage 32, characteristic points on the stage 32 may be measured.
  • the control device 7 sets the processing target area TA of the work W to be actually processed by the processing device 1 (step S116).
  • the control device 7 is based on an instruction (for example, an instruction to set the processing target area TA) of the user of the processing system SYS that has confirmed the three-dimensional model of the workpiece W based on the wide area 3D model data generated in step S114.
  • the processing target area TA may be set.
  • the control device 7 may specify a portion of the work W that satisfies a predetermined specific condition and set a processing target area TA including the specified portion.
  • the control device 7 may specify a surface of the work W that protrudes by a predetermined amount or more in the Z-axis direction as compared with the peripheral surface, and may set the processing target area TA including the specified surface.
  • FIG. 11A is a cross-sectional view showing an example of the positional relationship between the processing target area TA and the work W, and a plan view showing an example of the positional relationship between the processing target area TA and the work W.
  • FIG. 11B the description will proceed using an example in which the processing target area TA including the protrusion Wp is set.
  • the measuring device 21-2 included in the measuring device 2 measures the processing target portion W_target which is a portion included in the processing target area TA of the work W (step S121).
  • the processing target portion W_target matches the protrusion Wp (or includes at least a part of the protrusion Wp).
  • the entire processing target area TA (or a part thereof in some cases) is positioned within the measurement shot area MSA of the measuring device 21-2. Move to. That is, the stage 32 moves so that the entire (or in some cases, part of) the processing target portion W_target is located within the measurement shot area MSA of the measuring device 21-2.
  • the measuring device 21-2 measures the processing target portion W_target. Since the measurement resolution of the measurement device 21-2 is higher than the measurement resolution of the measurement device 21-1, the measurement by the measurement device 21-2 is referred to as “fine measurement” in the present embodiment for convenience of description.
  • the outer edge of the measurement shot area MSA of the measurement device 21-2 that performs fine measurement may be large enough to include the entire processing target area TA.
  • the size of the outer edge of the measurement shot area MSA of the measuring apparatus 21-2 in the XY plane may be larger than or the same as the size of the outer edge of the processing target area TA in the XY plane. In this case, after the stage 32 is moved so that the processing target area TA is located in the measurement shot area MSA, the measuring apparatus 21-2 does not move even if the stage 32 and the measuring apparatus 21-2 do not move. Wide area measurement of the portion W_target can be completed.
  • the outer edge of the measurement shot area MSA of the measurement device 21-2 that performs fine measurement may have a size that cannot cover the entire processing target area TA.
  • the size of the outer edge of the measurement shot area MSA of the measuring apparatus 21-2 in the XY plane may be smaller than the size of the outer edge of the processing target area TA in the XY plane.
  • the stage 32 and / or the measuring device 21-2 are arranged such that the other portion of the processing target portion W_target which is not yet measured by the measuring device 21-2 is located in the measurement shot area MSA.
  • the movement of moving is repeated. That is, every time the measuring device 21-2 completes the measurement of the portion located in the measurement shot area MSA of the processing target portion W_target, the operation of moving the measurement shot area MSA with respect to the surface of the work W is repeated.
  • the measurement shot area MSA of the measurement device 21-2 is similar to the measurement shot area MSA of the measurement device 21-1 so that the measurement shot area MSA before the movement and the measurement shot area MSA after the movement do not overlap. You may move. Alternatively, the measurement shot area MSA may be moved such that the measurement shot area MSA before the movement and the measurement shot area MSA after the movement partially overlap.
  • the control device 7 After the fine measurement of the work W is performed, the control device 7 generates three-dimensional model data of the processing target portion W_target based on the fine measurement information indicating the measurement result of the measuring device 21-2 (step S122).
  • the three-dimensional model data based on the fine measurement information is referred to as “fine 3D model data”.
  • the measuring device 21-2 does not have to perform the fine measurement in step S121. Specifically, the operations of steps S121 to S122 for generating fine 3D data may not be performed. In this case, the operations after step S123 may be performed using the already generated fine 3D data.
  • control device 7 identifies the position of the processing target portion W_target in the stage coordinate system (step S123). Since the operation of specifying the position of the processing target portion W_target in the stage coordinate system may be performed in the same manner as the operation of specifying the position of the work W in the stage coordinate system (step S116 in FIG. 6), Detailed description thereof will be omitted.
  • the control device 7 slices the fine 3D model data at a predetermined slice pitch to create slice data corresponding to the three-dimensional model data of the layer-sliced processing target portion W_target (step S124). Specifically, first, the control device 7 specifies the amount of the reference removal thickness which is a parameter indicating the thickness (that is, the length in the Z-axis direction) of the removed portion removed by one scanning of the processing light EL. To do.
  • the amount of reference removal thickness depends on the characteristics of the processing light EL.
  • the characteristics of the processing light EL are, for example, the total amount of energy of the processing light EL (for example, the total amount of energy transmitted from the processing light EL to the work W), the amount of energy per unit area of the processing light EL (for example, processing).
  • At least one of the transmitted energy amount), the size of the irradiation area EA to which the processing light EL is irradiated, and the irradiation time of the processing light EL may be included.
  • the characteristics of the processing light EL may include at least one of the focus position, the beam diameter (or the spot diameter), and the polarization state of the processing light EL.
  • the characteristics of the processing light EL may include the number of pulses per unit time.
  • the control device 7 specifies the amount of the reference removal thickness based on the characteristics of the processing light EL emitted by the processing device 1. After that, the control device 7 slices the fine 3D model data at a slice pitch corresponding to the amount of the standard removal thickness. As a result, slice data corresponding to the three-dimensional model data of the plurality of layered structure portions SL obtained by slicing the processing target portion W_target in the Z-axis direction is generated. That is, as shown in FIG. 12, which is a cross-sectional view showing the cross section of the processing target portion W_target and the plurality of layered structure portions SL, the control device 7 constitutes the processing target portion W_target by being stacked along the Z-axis direction. Slice data including a plurality of three-dimensional model data respectively corresponding to the plurality of layered structure portions SL is generated. The plurality of layered structure portions SL are virtual on the data.
  • Each layered structure portion SL scans the processing light EL performed in a state where the positional relationship between the work W and the processing apparatus 1 in the Z-axis direction (particularly, the positional relationship between the work W and the focus position of the processing light EL) is fixed. It can be regarded as corresponding to the removed portion removed by. Therefore, the processing apparatus 1 can be regarded as sequentially removing the plurality of layered structure portions SL. Specifically, first, the processing apparatus 1 removes a portion corresponding to the uppermost layered structure portion SL # 1. After that, the stage 32 and / or the processing apparatus 1 is moved so that the processing apparatus 1 approaches the work W by the reference removal thickness amount.
  • the optical system 12 is controlled so that the focus position of the processing light EL approaches the work W by the amount of the reference removal thickness.
  • the processing device 1 removes a portion corresponding to the layered structure portion SL # 2 immediately below the layered structure portion SL # 1.
  • the same operation is repeated until the portions corresponding to all the layered structure portions SL are removed.
  • the slice data may indicate an area where the removal processing is actually performed in the processing target area TA in the process of removing each layered structure portion SL. That is, the slice data may indicate an area to be removed in the processing target area TA in the process of removing each layered structure portion SL. An actual portion corresponding to the layered structure portion SL exists in a region where the removal processing is actually performed in the processing target area TA. Therefore, the slice data may indicate an area in which a portion corresponding to the layered structure portion SL to be actually removed exists in the processing target area TA at the time of removing the portion corresponding to each layered structure portion SL. The processing light EL is actually applied to the area in the processing target area TA where the removal processing is actually performed.
  • the slice data may indicate an area to which the irradiation light EL is actually irradiated in the processing target area TA in the process of removing each layered structure SL. That is, the slice data may indicate the irradiation planned area of the irradiation light EL in the processing target area TA in the process of removing each layered structure SL. For example, FIG.
  • FIG. 13A schematically illustrates an example in which the slice data indicates an area in which the removal processing is actually performed in the processing target area TA in the process of removing the portion corresponding to the layered structure portion SL # 1. Is shown in.
  • FIG. 13B schematically shows an example in which the slice data shows an area in which the removal processing is actually performed in the processing target area TA in the process of removing the portion corresponding to the layered structure portion SL # 2. ing.
  • FIG. 13C schematically shows an example in which the slice data shows a region in which the removal processing is actually performed in the processing target area TA in the process of removing the portion corresponding to the layered structure portion SL # 3. ing.
  • 13D shows that the slice data is actually removed in the processing target area TA in the process of removing a portion corresponding to the layered structure portion SL # n (where n is the number of layered structure portions SL).
  • the example which has shown the position performed is shown typically.
  • the control device 7 sets the processing conditions for removing and processing the workpiece W based on the slice data generated in step S124 (step S125). Specifically, the control device 7 sets machining conditions that determine the operation content of the machining device 1, the stage device 3, and / or the drive system 5 that is required to appropriately remove the machining target portion W_target of the work W. .. Therefore, if the processing device 1, the stage device 3, and / or the drive system 5 operates based on the processing conditions set in step S125, the processing target portion W_target of the work W is appropriately removed.
  • the processing condition may include the first condition regarding the processing device 1 that processes the work W.
  • the first condition may include a condition regarding the characteristics of the processing light EL described above.
  • the first condition may include a condition regarding the irradiation position of the processing light EL.
  • the first condition may include a condition relating to the irradiation timing of the processing light EL (for example, the timing of turning on the processing light EL and / or the timing of turning off the processing light EL).
  • the first condition may include a condition regarding the size and / or the shape of the irradiation area EA on the work W.
  • the first condition may include a condition regarding the frequency of the pulse.
  • the first condition may include a condition regarding the scanning speed.
  • the first condition may include a condition relating to intervals (shot intervals) between a plurality of irradiation positions of the processing light EL when the processing light EL is pulsed light and the processing light EL scans the work W.
  • the first condition may include a condition regarding the pitch of the scanning lines when the processing light EL scans the work W along the plurality of scanning lines.
  • the first condition may include a condition related to the movement of the processing device 1 (in other words, a condition related to the drive system 5 that moves the processing device 1).
  • the condition regarding the movement of the processing device 1 may include a condition regarding at least one of the moving direction, the moving amount, the moving speed, and the moving timing of the processing device 1.
  • the processing conditions may include the second condition regarding the stage device 3 on which the work W is placed.
  • the second condition may include a condition regarding the movement of the stage 32 (in other words, a condition regarding the stage drive system 33 that moves the stage 32).
  • the condition regarding the movement of the stage 32 may include a condition regarding at least one of the moving direction, the moving amount, the moving speed, and the moving timing of the stage 32.
  • the processing conditions may include conditions regarding the positional relationship between the processing shot area PSA, the irradiation area EA, and the work W.
  • the processing conditions may be set using an initial setting operation described later.
  • the processing apparatus 1 starts the removal processing of the work W (step S131). Specifically, the stage 32 and / or the processing apparatus 1 moves so that the processing target area TA is located within the processing shot area PSA of the processing apparatus 1. That is, the stage 32 and / or the processing apparatus 1 moves so that the workpiece W moves from the measurement shot area MSA toward the processing shot area PSA. The stage 32 and / or the processing apparatus 1 moves so that the workpiece W moves from a position below the measuring apparatus 2 toward a position below the processing apparatus 1. At this time, as described above, the work W may remain mounted on the stage 32.
  • the control device 7 controls the processing device 1, the stage device 3, and the drive system 5 so as to sequentially remove the portions corresponding to the plurality of layered structure portions SL based on the processing conditions set in step S125.
  • the plurality of layered structure portions SL are sequentially removed.
  • FIG. 14 which is a cross-sectional view showing a state in which the processing target portion W_target is removed
  • the processing apparatus 1 has a position where the removal processing is actually performed in the processing target area TA (that is, the layered structure portion SL). Is irradiated with the processing light EL.
  • the layered structure portion SL irradiated with the processing light EL is removed.
  • the outer edge of the processing shot area PSA may be large enough to include the entire processing target area TA.
  • the size of the outer edge of the processing shot area PSA in the XY plane may be larger than or the same as the size of the outer edge of the processing target area TA in the XY plane. In this case, after the stage 32 moves so that the processing target area TA is located in the processing shot area PSA, the processing apparatus 1 completes the processing of the work W even if the stage 32 and the processing apparatus 1 do not move. can do.
  • the outer edge of the processing shot area PSA may have a size that can include a part of the processing target area TA but cannot include another part of the processing target area TA. Good.
  • the size of the outer edge of the processing shot area PSA in the XY plane may be smaller than the size of the outer edge of the processing target area TA in the XY plane.
  • the stage 32 and / or the processing apparatus 1 moves so that another portion of the same layered structure portion SL that has not been subjected to the removal processing by the processing apparatus 1 is located in the processing shot area PSA.
  • the operation is repeated. That is, each time the removal processing of the portion of the layered structure portion SL in which the processing apparatus 1 is located is located within the processing shot area PSA is completed, the processing shot area PSA is formed on the work W in at least one of the X-axis direction and the Y-axis direction. The operation of moving along is repeated.
  • each time the processing target portion W_target is processed by a desired amount whether or not the removal processing of the processing target portion W_target may be appropriately performed may be evaluated. For example, every time one layered structure portion SL is removed, it may be evaluated whether or not the removal processing of the layered structure portion SL is appropriately performed.
  • the evaluation of whether or not the removal processing of the layered structure portion SL has been appropriately performed is not limited to the timing at which one layered structure portion SL is removed, but during the period until the removal processing of the work W is completed. May be performed at any desired timing.
  • an example will be described in which whether or not the removal processing of the layered structure portion SL is appropriately performed is performed at the timing when one layered structure portion SL is removed.
  • the measuring device 21-2 measures the processing target portion W_target every time the portion corresponding to the layered structure portion SL is removed (step S132). Therefore, first, the stage 32 and / or the measuring device 21-2 moves so that the processing target area TA (that is, the processing target portion W_target) is located within the measurement shot area MSA of the measuring device 21-2. That is, the stage 32 moves such that the workpiece W (particularly, the processing target portion W_target) moves from the processing shot area PSA toward the measurement shot area MSA. At this time, as described above, the work W may remain mounted on the stage 32. Then, the measuring device 21-2 measures the processing target portion W_target.
  • the measuring device 21-2 is scheduled to perform the removal process on the part of the processing target part W_target that has been actually removed (that is, the part irradiated with the processing light EL) and the processing target part W_target. At least one of the existing portions (that is, the portion where the processing light EL was to be irradiated) is measured.
  • the control device 7 determines whether or not the processing amount by the processing device 1 is a predetermined or assumed appropriate amount (step S133).
  • the processing amount is such that the shape of the processing target portion W_target before the removal processing for removing the portion corresponding to the certain layered structure portion SL and the portion corresponding to the certain layered structure portion SL are removed. Is a parameter indicating the difference from the shape of the processing target portion W_target after the removal processing is performed. For example, the processing amount when the portion corresponding to the layered structure portion SL # 1 is removed and processed is the shape of the processing target portion W_target before the removal processing for removing the portion corresponding to the layered structure portion SL # 1 is performed.
  • the shape of the processing target portion W_target after the removal processing for removing the portion corresponding to the layered structure portion SL # 1 is performed.
  • the processing amount when the portion corresponding to the layered structure portion SL # 2 is removed is the shape of the processing target portion W_target before the removal processing for removing the portion corresponding to the layered structure portion SL # 2 is performed. That is, the difference between the shape of the processing target portion W_targetn in which the layered structure portion SL # 1 is removed and the shape of the processing target portion W_target after the removal processing for removing the layered structure portion SL # 2 is performed. It is a parameter to show.
  • the processing amount when the portion corresponding to the layered structure portion SL # 3 is removed is the shape of the processing target portion W_target before the removal processing for removing the portion corresponding to the layered structure portion SL # 3 is performed. (That is, the processing target portion W_targetn shape in which the portions corresponding to the layered structure portions SL # 1 and 2 are removed) and the removal processing for removing the portion corresponding to the layered structure portion SL # 3 are performed. It is a parameter indicating a difference from the shape of the processing target portion W_target.
  • the fine measurement information indicating the measurement result of the measuring device 21-2 before the removal processing is performed indicates the shape of the processing target portion W_target before the removal processing is performed.
  • the fine measurement information indicating the measurement result of the measuring device 21-2 after the removal processing is performed indicates the shape of the processing target portion W_target after the removal processing is performed. Therefore, the control device 7 controls the fine measurement information indicating the measurement result of the measuring device 21-2 before the removal processing and the fine measurement information indicating the measurement result of the measuring device 21-2 after the removal processing.
  • the processing amount can be calculated based on When the processing device 1 performs the removal processing, the processing amount can be referred to as the removal amount.
  • the control device 7 determines whether or not the processing amount for the comparison target portion that is a part of the processing target portion W_target is an appropriate processing amount that is predetermined or assumed for the comparison target portion. You may. In this case, the control device 7 is based on the information indicating the position of the comparison target portion (for example, the information indicating the position of the comparison target portion in the stage coordinate system described above), and the fine measurement information before the removal processing is performed. Information regarding the shape of the comparison target portion may be acquired from each of the fine measurement information after the removal processing and the processing amount of the comparison target portion may be calculated based on the acquired information. In this case, it can be said that the control device 7 is substantially determining whether or not the removal processing is correctly performed on the portion where the removal processing was to be performed.
  • the processing amount may be a removal amount which is a parameter related to a portion actually removed by the removal processing.
  • the processing amount (removal amount) may be an actual removal thickness amount indicating the thickness of the portion actually removed by the removal processing.
  • the control device 7 may determine whether or not the processing amount is an appropriate amount by comparing the actual removal thickness amount with the above-described reference removal thickness amount. For example, if the difference between the actual removal thickness amount and the reference removal thickness amount is smaller than the predetermined threshold value, the control device 7 may determine that the processing amount is an appropriate amount. For example, if the difference between the amount of actual removal thickness and the amount of reference removal thickness is larger than the predetermined threshold value, the control device 7 may determine that the processing amount is not an appropriate amount.
  • step S133 when it is determined that the machining amount is not an appropriate amount (step S133: No), it is relatively likely that the machining conditions that influence the machining amount are not appropriate. To be done. Therefore, the control device 7 resets the processing conditions. Specifically, the control device 7 sets at least the currently set processing conditions and fine measurement information indicating the measurement result of the processing target portion W_target after the removal processing has been performed (that is, the fine measurement information acquired in step S132). The processing conditions are reset based on the information (step S134). For example, the control device 7 may correct the currently set machining condition based on the fine measurement information acquired in step S132, and set the corrected machining condition as a new machining condition. At this time, the control device 7 may correct the currently set processing conditions based on the fine measurement information acquired in step S132.
  • step S133 when the processing amount is determined to be an appropriate amount as a result of the determination in step S133 (step S133: No), the processing conditions that influence the processing amount are relatively likely to be appropriate. Expected to be high. Therefore, in this case, the control device 7 does not have to reset the processing conditions.
  • step S135) the operations from step S131 to step S134 are repeated until all the removal processing for the work W is completed (that is, until all the layered structure portions SL are removed) (step S135). That is, the processing apparatus 1 irradiates the processing target portion W_target measured by the measuring apparatus 21-2 with the processing light EL, and removes the processing target portion W_target measured by the measuring apparatus 21-2. Then, the measuring device 21-2 measures the processing target portion W_target processed by the processing device 1. After that, the control device 7 resets the processing conditions as needed based on the measurement result of the measurement device 21-2. The above operation is repeated until the removal processing for the work W is completed. As a result, as shown in FIG. 15, which is a cross-sectional view showing the work W that has been completely removed, the processing target portion W_target (the projection Wp in the example shown in FIG. 15) is removed from the work W.
  • FIG. 15 is a cross-sectional view showing the work W that has been completely removed
  • the measuring device 21-2 does not have to measure the processing target portion W_target each time the portion corresponding to the layered structure portion SL is removed.
  • the processing target portion W_target is measured before and after the removal processing of the portion corresponding to the uppermost layered structure portion SL # 1, and it is determined whether or not the processing conditions are appropriate and necessary.
  • the processing conditions may be reset according to the above. After that, the processing target portion W_target does not have to be measured every time the portion corresponding to the layered structure portion SL is removed.
  • the initial setting operation is an operation for setting an initial value (in other words, a reference value or a default value) of the processing condition used in the above-described processing operation.
  • the initial setting operation for setting the initial value of the processing conditions regarding the characteristics of the processing light EL will be described.
  • FIG. 16 is a flowchart showing the flow of the initial setting operation.
  • the processing system SYS typically performs the initial setting operation before performing the above-described processing operation, but may perform the initial setting operation during the processing operation or after the processing operation is completed. ..
  • the processing system SYS may perform the initial setting operation between performing one processing operation and performing another processing operation next.
  • the processing system SYS may perform the initial setting operation between one period for processing the work W and another period for processing the same work W.
  • the characteristics of the work W to be processed for example, the characteristics of the material forming the work W
  • the processing conditions may change. Therefore, when the machining system SYS sets the initial value of the machining condition used in the machining operation for one work W and then performs the machining operation for another work W having a characteristic different from that of the one work W, The initial value of the processing condition used in the processing operation for another work W may be set by performing the initial setting operation again.
  • the processing system SYS does not necessarily have to perform the initial setting operation.
  • the work W is newly placed on the stage 32 (step S21).
  • the work W placed on the stage 32 in step S21 is different from the work W scheduled to be processed by the above-described processing operation.
  • the work W placed on the stage 32 in step S21 is a test work W used for performing the initial setting operation.
  • the test work W used for performing the initial setting operation is referred to as “work Wt”, and is distinguished from the work W scheduled to be processed by the above-described processing operation.
  • the work W placed on the stage 32 in step S21 may be the work W itself scheduled to be processed by the above-described processing operation. That is, the work W scheduled to be processed by the above-described processing operation may be placed on the stage 32 in the initial setting operation.
  • the control device 7 sets the processing condition regarding the characteristics of the processing light EL to a predetermined provisional condition (step S22).
  • the provisional condition may be a processing condition predetermined for the initial setting operation.
  • the provisional condition may be a processing condition actually (already) used as the processing condition regarding the characteristics of the processing light EL when the initial setting operation is performed.
  • the processing device 1 starts the processing of the work Wt under the control of the control device 7 (step S23). Specifically, in the initial setting operation, the processing device 1 processes a plurality of parts of the surface of the work Wt. In the following description, for convenience of description, a portion of the surface of the workpiece Wt that is machined by the initial setting operation is referred to as a trial machined surface. Therefore, the processing apparatus 1 processes each of the plurality of trial processing surfaces set on the surface of the work Wt. Therefore, first, the stage 32 and / or the processing apparatus 1 moves so that at least a part of the plurality of trial processing surfaces is located within the processing shot area PSA. After that, the processing apparatus 1 irradiates each of the plurality of trial processed surfaces with the processing light EL to remove and process the test processed surfaces.
  • the focus position of the processing light EL is controlled so that the focus position of the processing light EL changes for each trial processing surface. That is, the focus position of the processing light EL is controlled so that the positional relationship between the focus position of the processing light EL in the Z-axis direction and the surface of the work Wt changes for each trial processing surface.
  • the processing apparatus 1 irradiates the first trial processing surface with the processing light EL whose focus position is set to the first position, and the second trial processing surface has the second focus position. (However, the second position is different from the first position along the Z-axis direction) is irradiated with the processing light EL, and the focus position is set to the third trial processing surface with respect to the focus position.
  • the processing light EL set to a position different from the position 1) is emitted.
  • the processing device 1 irradiates the first trial processing surface with the processing light EL in a state where the positional relationship between the focus position and the surface of the workpiece Wt is the first positional relationship, and the second With respect to the trial processing surface of the processing light, the processing light is generated in a state where the positional relationship between the focus position and the surface of the workpiece Wt is the second positional relationship (however, the second positional relationship is different from the first positional relationship).
  • the EL is irradiated, and the positional relationship between the focus position and the surface of the workpiece Wt is the third positional relationship with respect to the third trial processed surface (however, the third positional relationship is the first to second positional relationships).
  • the k-th positional relationship is different from the first to k-1th positional relationships). Irradiating the processing light EL in a state.
  • the processing apparatus 1 may control the focus lens 122 in order to control the focus position. Specifically, the processing device 1 may control the focus position by adjusting the position along the optical axis direction of at least one lens forming the focus lens 122. The processing device 1 may control the focus position by moving along the Z-axis direction under the control of the drive system 5. The focus position may be controlled by moving the stage 32 along the Z-axis direction.
  • the spot diameter of the processing light EL on the surface of the work W changes.
  • the fluence of the processing light EL on the surface of the work W changes.
  • the fluence means the energy density of the processing light EL per unit area.
  • the processing device 1 irradiates the first trial processing surface with the processing light EL whose fluence is set to the first fluence value by setting the focus position to the first position
  • the second trial machining surface is irradiated with the machining light EL whose fluence is set to the second fluence value different from the first fluence value by setting the focus position to the second position
  • the focus processing position is set to the third position on the trial processed surface of No. 1, and the processing light EL having the fluence set to the third fluence value different from the first to the second fluence value is irradiated, ....
  • the processing apparatus 1 changes the fluence of the processing light EL for each trial processing surface by changing the focus position of the processing light EL for each trial processing surface. That is, the operation of changing the focus position of the processing light EL for each trial processing surface is substantially equivalent to the operation of changing the fluence of the processing light EL for each trial processing surface.
  • the processing device 1 does not have to change (that is, fix) the characteristics of the processing light EL other than the focus position for each trial processing surface.
  • the processing apparatus 1 may irradiate each of the first to k-th trial processing surfaces with the processing light EL having the same characteristics other than the focus position. If the characteristics other than the focus position do not change, the total amount of energy of the processing light EL (that is, the total amount of energy transmitted from the processing light EL to the work Wt) does not change even if the focus position changes. For this reason, the processing device 1 changes the focus position of the processing light EL for each trial processing surface while fixing the characteristics of the processing light EL other than the focus position, so that the total amount of energy of the processing light EL is fixed.
  • the fluence of EL is changed for each trial processing surface. That is, the operation of changing the focus position of the processing light EL for each trial processing surface while fixing the characteristics of the processing light EL other than the focus position is performed for each trial processing surface EL with the total energy amount of the processing light EL fixed. Is substantially equivalent to the action of changing the fluence of.
  • the processing apparatus 1 uses the irradiation interval (or irradiation pitch) which is the interval (or pitch) on the work W between the plurality of irradiation areas EA formed by different pulsed lights. ) May be added.
  • the overlap rate between the irradiation areas EA formed by different pulse lights changes. Since the processing efficiency may change when the overlap rate changes, other conditions (such as the scanning speed of the irradiation area EA and the frequency of the pulsed light are set so that the overlap rate remains the same when changing the focus position. ) May be adjusted.
  • the measuring device 21-2 measures the work Wt (step S24).
  • the measuring device 21-2 measures the shapes of the plurality of trial-processed surfaces processed in step S23 of the work Wt (step S24). Therefore, first, the stage 32 and / or the measuring device 21-2 moves so that at least a part of the plurality of processed trial-processed surfaces is positioned within the measurement shot area MSA of the measuring device 21-2. That is, the stage 32 moves such that the portion of the workpiece W in which at least a part of the plurality of trial processing surfaces exists moves from the processing shot area PSA toward the measurement shot area MSA. At this time, as described above, The work Wt may remain mounted on the stage 32. After that, the measuring device 21-2 measures the shapes of the plurality of trial processed surfaces.
  • the control device 7 identifies the focus position where the processing amount is maximum based on the measurement result of the measuring device 21-2 in step S24 (step S25). Specifically, the control device 7 uses the measurement results of the measurement device 21-2 in step S24 to calculate the processing amount of each of the plurality of trial processed surfaces (for example, the actual amount corresponding to the thickness of the actually removed portion). The amount of removal thickness) can be specified. As a result, the control device 7 shows the relationship between the focus position and the processing amount of the processing light EL irradiated on each trial processing surface, as shown in FIG. 17, which is a plot diagram in which the processing amount is plotted with respect to the focus position. Can be specified. The circles in FIG.
  • the control device 7 can specify the focus position where the processing amount is maximum.
  • the focus position can be the position in the Z-axis direction of the condensing point of the processing light EL (the position in the Z-axis direction where the cross-sectional area of the processing light EL is the smallest in the plane intersecting the Z axis).
  • the horizontal axis may be replaced with fluence.
  • the focus position is represented by using the distance from the surface of the work Wt in the Z-axis direction.
  • the focus position away from the surface of the work Wt on the + Z side is represented by using a positive distance
  • the focus position away from the surface of the work Wt on the ⁇ Z side is represented by using a negative distance.
  • the processing amount does not always become maximum when the focus position coincides with the surface of the work Wt (that is, the spot diameter of the processing light EL on the surface of the work Wt is minimum).
  • the processing amount has a minimum value in a state where the focus position matches the surface of the work Wt.
  • the processing amount has a maximum value when the focus position is separated from the surface of the work Wt by the first distance DF1 toward the ⁇ Z side.
  • the processing amount has a maximum value when the focus position is apart from the surface of the work Wt by the second distance DF2 on the + Z side.
  • the focus position where the machining amount is maximum is the focus position separated from the surface of the work Wt by the first distance DF1 on the + Z side and the focus position separated from the surface of the work Wt by the second distance DF2 on the ⁇ Z side.
  • the processing amount does not take the maximum value when the focus position is separated from the surface of the work Wt by the first distance DF1 toward the ⁇ Z side.
  • the processing amount may not reach the maximum value in the state where the focus position is apart from the surface of the work Wt by the second distance DF2 toward the + Z side. Further, the processing amount may be maximized when the focus position matches the surface of the work Wt.
  • the control device 7 controls the focus position and the processing amount.
  • An approximate curve indicating the relationship may be calculated, and the focus position where the processing amount is maximum may be specified based on the approximate curve.
  • the control device 7 sets a focus position (for example, a focus position between adjacent plots) different from the focus position actually used when the trial processing surface is irradiated with the processing light EL as the processing amount. It can be specified as the maximum focus position. In the example shown in FIG.
  • the processing amount indicated by the approximate curve has a maximum value in a state where the focus position is apart from the surface of the work Wt by the third distance DF3 toward the ⁇ Z side.
  • the third distance DF3 may or may not match the above-described first distance DF1.
  • the processing amount indicated by the approximate curve has a maximum value in a state where the focus position is apart from the surface of the work Wt by the fourth distance DF4 on the + Z side.
  • the fourth distance DF4 may or may not match the above-described second distance DF2.
  • the focus position where the machining amount is maximum is the focus position separated from the surface of the work Wt by the third distance DF3 on the + Z side and the focus position separated from the surface of the work Wt by the fourth distance DF4 on the ⁇ Z side. At least one.
  • the control device 7 may specify the focus position that maximizes the amount of work, without calculating the approximate curve that shows the relationship between the focus position and the amount of work.
  • the focus position at which the processing amount is maximum among the focus positions actually used when the trial processing surface is irradiated with the processing light EL may be specified as the focus position.
  • the possibility that the machining amount is maximum when the focus position is away from the surface of the work Wt to the ⁇ Z side is that the focus position is away from the surface of the work Wt to the + Z side. It was found that it is more likely that the machining amount will be higher than the maximum possibility under the condition. Therefore, when changing the focus position of the processing light EL for each trial processing surface, the processing device 1 may change the focus position only in the range on the ⁇ Z side of the surface of the work Wt. When changing the focus position of the processing light EL for each trial processing surface, the processing device 1 does not have to change the focus position so that the focus position does not fall within the range on the + Z side of the surface of the work Wt. Good.
  • FIG. 19 is a cross-sectional view showing the positional relationship between the focus position and the surface of the work Wt
  • the processing apparatus 1 is located on the far side (that is, the far side from the surface of the work Wt as viewed from the processing apparatus 1). ),
  • the focus position may be changed.
  • the processing device 1 may change the focus position so that the focus position is not located in the range on the front side (that is, the near side) of the surface of the work Wt as viewed from the processing device 1.
  • the processing amount is not set at the position where the focus position is apart from the surface of the work Wt to the ⁇ Z side, but is set to the position where the focus position is separated from the surface of the work Wt to the + Z side. If it is, it may be the maximum.
  • the processing apparatus 1 when changing the focus position of the processing light EL for each trial processing surface, the processing apparatus 1 has a focus position in the range on the + Z side of the surface of the work Wt and / or on the ⁇ Z side of the surface of the work Wt. May be changed.
  • the control device 7 calculates the fluence realized by the focus position specified in step S25 (step S26). That is, the control device 7 calculates the fluence of the processing light EL whose focus position is set to the focus position specified in step S25 (step S26). Specifically, the control device 7 determines the total energy amount of the processing light EL determined from the output of the light source 11 and the like (when the processing light EL is pulsed light, the energy amount per pulse) and the processing light determined from the focus position. The fluence is calculated based on the EL spot diameter (that is, the spot diameter (spot area) on the surface of the work Wt).
  • the control device 7 calculates the fluence by dividing the total energy amount of the processing light EL determined from the output of the light source 11 or the like by the spot diameter (spot area) of the processing light EL determined from the focus position. To do.
  • the fluence calculated in step S26 corresponds to the fluence capable of maximizing the processing amount. That is, the fluence calculated in step S26 corresponds to the fluence that maximizes the processing efficiency (specifically, the processing amount per unit energy amount).
  • the fluence calculated in step S26 will be referred to as “calculated fluence”.
  • the fluence specified in step S26 becomes the initial value of the fluence of the processing light EL.
  • the control device 7 determines the spot diameter of the processing light EL, which is one of the processing conditions regarding the characteristics of the processing light EL, based on the processing content to be actually performed in the processing operation performed subsequent to the initial setting operation. (Step S27). For example, the smaller the spot diameter of the processing light EL, the finer the processing becomes possible by the processing operation. Therefore, the control device 7 may determine the spot diameter of the processing light EL based on the fineness of processing desired to be realized by the processing operation. The spot diameter determined in step S27 becomes the initial value of the spot diameter of the processing light EL.
  • the control device 7 calculates the total energy amount of the processing light EL based on the calculated fluence specified in step S26 and the spot diameter determined in step S27.
  • the initial value of (amount) is set (step S28). Specifically, the control device 7 sets a value obtained by multiplying the calculated fluence specified in step S26 by the spot diameter determined in step S27 as an initial value of the total energy amount of the processing light EL. . In this case, the control device 7 controls the processing light EL so that the fluence of the processing light EL becomes the calculated fluence specified in step S26 when the work W is irradiated with the processing light EL having the spot diameter determined in step S27. It can be said that the initial value of the total energy amount is set.
  • control device 7 maximizes the processing efficiency (specifically, the processing amount per unit energy amount) when processing the work W using the processing light EL having the spot diameter determined in step S27. It can be said that the initial value of the total energy amount of the processing light EL is set.
  • the initial value of the output of the light source 11 is also determined according to the total energy amount.
  • the control device 7 sets the other values of the processing light EL, if necessary, based on the set initial values (specifically, the initial value of the fluence, the initial value of the spot diameter, and the initial value of the total energy amount). You may set the processing conditions regarding the characteristic of.
  • the work Wt may remain mounted on the stage 32 between the measurement of the work Wt by the measuring device 21 and the processing of the work Wt by the processing device 1.
  • the temperature drift reduction operation is an operation for reducing the influence of temperature drift, which is a phenomenon in which the measurement accuracy of the measurement device 21 changes due to the temperature of the measurement device 21 (in other words, heat).
  • temperature drift a phenomenon in which the measurement accuracy of the measurement device 21 changes due to the temperature of the measurement device 21 (in other words, heat).
  • the measurement accuracy of the measuring device 21 deteriorates.
  • a temperature drift component that is an error component caused by the temperature of the measuring device 21 is superimposed on the measurement result of the measuring device 21.
  • the temperature drift reduction operation is an operation for reducing the deterioration of the measurement accuracy of the measurement device 21 due to the superposition of such temperature drift components.
  • the temperature drift reducing operation in order to reduce the deterioration of the measurement accuracy of the position of the work W in the Z-axis direction (specifically, to reduce the influence of the temperature drift component in the Z-axis direction).
  • the temperature drift reducing operation of will be described.
  • the processing system SYS may perform the temperature drift reducing operation before the above-described processing operation is performed.
  • the processing system SYS may perform the temperature drift reducing operation after the above-described processing operation is performed.
  • the processing system SYS may perform the temperature drift reducing operation during the period when the above-described processing operation is performed.
  • the processing system SYS may perform the temperature drift reducing operation between performing one processing operation and performing another processing operation next.
  • the processing system SYS may perform the temperature drift reducing operation between one period for processing the work W and another period for processing the same work W.
  • the processing system SYS may perform the temperature drift reducing operation before the measuring device 21 measures the work W.
  • the processing system SYS may perform the temperature drift reducing operation after the measuring device 21 measures the work W.
  • the processing system SYS may perform the temperature drift reducing operation during the period in which the measuring device 21 measures the work W.
  • the processing system SYS may perform the temperature drift reduction operation each time the measuring device 21 measures the workpiece W.
  • the processing system SYS may perform the temperature drift reducing operation each time a fixed time period has elapsed since the use of the measuring device 21 was started.
  • the processing system SYS may perform the temperature drift reducing operation every time the measuring device 21 measures the work W a certain number of times. However, the processing system SYS does not necessarily have to perform the temperature drift reducing operation.
  • the processing system SYS may perform at least one of the first temperature drift reducing operation to the third temperature drift reducing operation as the temperature drift reducing operation.
  • the first temperature drift reducing operation to the third temperature drift reducing operation will be described in order.
  • FIG. 20 is a flowchart showing the flow of the first temperature drift reduction operation.
  • the measuring device 21 measures the Z reference plane BSz (step S311). Specifically, the stage 32 and / or the measuring device 21 moves so that the entire Z reference plane BSz (or a part thereof in some cases) is located within the measurement shot area MSA of the measuring device 21. Then, the measuring device 21 measures the Z reference plane BSz.
  • the Z reference plane BSz may be a part of the surface of the stage 32, for example.
  • the Z reference plane BSz is the surface of the stage 32.
  • the Z reference plane BSz is the surface of the surface plate 31. It may be part of the surface.
  • the Z reference plane BSz may be a part of the surface of another member.
  • the measuring device 21 measures the work W (step S312). Specifically, the stage 32 and / or the measuring device 21 moves such that the entire work W (or a part thereof in some cases) is located within the measurement shot area MSA of the measuring device 21. Then, the measuring device 21 measures the work W.
  • the operation of step S312 may be performed as at least a part of the measurement operation of the work W (step S111 or S121 in FIG. 6) in the above-described machining operation. Therefore, when performing the first temperature drift reducing operation, the machining system SYS performs the operation of step S311 of FIG. 20 (that is, the Z reference plane BSz) before and after the operations of step S111 and S121 of FIG. Measurement) may be performed.
  • step S313 is the operation of generating the three-dimensional model data in the above-described machining operation (step S114 or S122 of FIG. 6) and the operation of specifying the position of the work W or the machining target area TA (step S115 of FIG. 6). Alternatively, it may be performed as a part of S123).
  • the control device 7 calculates the position (that is, height) of the Z reference plane BSz in the Z axis direction based on the measurement result of the Z reference plane BSz. Further, the control device 7 calculates the position (that is, height) of the work W in the Z-axis direction based on the measurement result of the work W.
  • the temperature drift component is superimposed on both the position of the Z reference surface BSz and the position of the workpiece W calculated here. In this case, the temperature drift component is not superimposed on the difference between the position of the work W and the position of the Z reference plane BSz. That is, the drift component is not superimposed on the relative position of the work W with respect to the Z reference surface BSz.
  • the control device 7 calculates the relative position of the work W in the Z-axis direction with respect to the Z reference plane BSz based on the position of the Z reference plane BSz and the position of the work W.
  • the control system SYS replaces the information on the position of the work W in the Z-axis direction calculated from the measurement result of the work W with information about the relative position of the work W with respect to the Z reference plane BSz in the Z-axis direction.
  • the processing system SYS can perform the processing operation without being affected by the temperature drift component.
  • FIG. 23 which is a graph showing the time transition of the position of the work W in the Z-axis direction calculated by the control device 7, the position of the work W calculated when the temperature drift reducing operation is not performed ( Compared with (see the dotted line), the position of the workpiece W (solid line) calculated when the first temperature drift reduction operation is performed does not or does not easily overlap the drift component.
  • the machining system SYS performs the same operation as the first temperature drift reducing operation for reducing the deterioration of the measurement accuracy of the position of the work W in the Z-axis direction, so that a direction different from the Z-axis direction (for example, The first temperature drift reducing operation may be performed to reduce deterioration in measurement accuracy of the position of the work W in at least one of the X-axis direction and the Y-axis direction.
  • the control device 7 controls the Z reference plane BSz (or another arbitrary reference plane) in a direction different from the Z-axis direction based on the measurement result of the Z reference plane BSz (or another arbitrary reference plane).
  • Position of the work W in the direction different from the Z-axis direction based on the measurement result of the work W, and the Z reference surface BSz in the direction different from the Z-axis direction (or other The relative position of the work W with respect to the (arbitrary reference plane) may be calculated.
  • FIG. 24 is a flowchart showing the flow of the second temperature drift reduction operation.
  • the same operations as the operations performed in the first temperature drift reducing operation described above are designated by the same step numbers, and detailed description thereof will be omitted.
  • the measuring device 21 measures the Z reference plane BSz (step S311).
  • step S321 is an operation of generating the three-dimensional model data in the above-described machining operation (step S114 or S122 of FIG. 6) and an operation of specifying the position of the work W or the machining target area TA (step S115 of FIG. 6). Alternatively, it may be performed as a part of S123).
  • the Z reference plane BSz at least a part of the surface of the member whose position in the Z-axis direction is known to the control device 7 is used as the Z reference plane BSz. Further, as the Z reference plane BSz, at least a part of the surface of the member having no (or extremely small) position variation in the Z axis direction is used.
  • a surface plate 31 is an example of a member that satisfies this condition.
  • the surface plate 31 may be formed of a low thermal expansion ceramic member or a low thermal expansion glass member.
  • the position of the Z reference plane BSz calculated from the measurement result of the measuring device 21 should match the designed position. is there.
  • the position of the Z reference plane BSz calculated from the measurement result of the measuring device 21 is It is relatively likely that they are affected by drift. In this case, the difference between the position of the Z reference plane BSz calculated from the measurement result of the measuring device 21 and the design position is relatively likely to correspond to the temperature drift component.
  • the control device 7 first calculates the position of the Z reference plane BSz in the Z-axis direction based on the measurement result of the Z reference plane BSz. After that, the control device 7 calculates the difference between the calculated position of the Z reference plane BSz and the designed position of the Z reference plane BSz. The calculated difference is used as an estimated value of the temperature drift component.
  • the measuring device 21 measures the work W (step S312).
  • the Z reference plane BSz may be measured before and after the measuring device 21 measures the work W.
  • a temperature drift component between the time of measuring the Z reference surface BSz before the measurement of the work W and the time of measuring the Z reference surface BSz after the measurement of the work W may be estimated.
  • the control device 7 corrects the measurement result of the work W based on the temperature drift component estimated in step S321 (step S322).
  • the operation of step S322 is an operation of generating the three-dimensional model data in the above-described machining operation (step S114 or S122 in FIG. 6) and an operation of specifying the position of the work W or the machining target area TA (step S115 in FIG. 6). Alternatively, it may be performed as a part of S123).
  • the control device 7 calculates the position of the work W in the Z-axis direction based on the measurement result of the work W. A temperature drift component is superimposed on the position of the workpiece W calculated here. Therefore, the control device 7 subtracts the temperature drift component estimated in step S321 from the calculated position of the work W. That is, the control device 7 removes the temperature drift component estimated in step S321 from the calculated position of the work W. As a result, as shown in FIG. 25, which is a graph schematically showing the distribution of the position of the work W in the Z-axis direction on the XY plane, the control device 7 controls the position of the work W on which the temperature drift component is not superimposed. You can get information about.
  • control system SYS replaces the information on the position of the work W in the Z-axis direction calculated from the measurement result of the work W with the information on the position of the work W from which the temperature drift component is subtracted, in the Z-axis. It is used as information about the position of the work W in the direction.
  • the processing system SYS can perform the processing operation without being affected by the temperature drift component.
  • the machining system SYS performs the same operation as the second temperature drift reducing operation for reducing the deterioration of the measurement accuracy of the position of the work W in the Z-axis direction, and thus the direction different from the Z-axis direction (for example, A second temperature drift reduction operation may be performed to reduce deterioration of measurement accuracy of the position of the work W in at least one of the X-axis direction and the Y-axis direction.
  • the position of the Z reference plane BSz (or any other reference plane) in a direction different from the Z axis direction is known to the control device 7, and is different from the Z axis direction. It is a surface where there is no (or very little) position variation in direction.
  • control device 7 determines the Z reference plane BSz (or another arbitrary reference plane) in a direction different from the Z-axis direction based on the measurement result of the Z reference plane BSz (or another arbitrary reference plane).
  • the position is calculated, the temperature drift component (in particular, the temperature drift component in a direction different from the Z-axis direction) is estimated based on the measurement result of the Z reference plane BSz (or another arbitrary reference plane), and the estimated temperature is calculated.
  • the measurement result of the work W may be corrected based on the drift component.
  • FIG. 26 is a flowchart showing the flow of the third temperature drift reduction operation.
  • the same operation as the operation performed in the first or second temperature drift reducing operation described above is denoted by the same step number, and detailed description thereof will be omitted.
  • the control device 7 acquires temperature information regarding the temperature of the measuring device 21 (step S331).
  • the control device 7 may acquire the temperature information from a temperature sensor that detects the temperature of the measuring device 21.
  • the control device 7 may estimate the temperature of the measuring device 21 from the operating state of the measuring device 21.
  • the operating state of the measuring device 21 may be, for example, operating time (time while the power is on).
  • the control device may estimate the temperature of the measuring device 21 from the operating state of the equipment related to the measuring device 21. Examples of the device related to the measuring device 21 include a device that controls the temperature of the measuring device 21 itself.
  • the control device 7 estimates the temperature drift component based on the temperature information acquired in step S331 (step S332). Specifically, considering that the temperature drift component is generated due to the increase in the temperature of the measuring device 21, the temperature drift component is relatively likely to have a correlation with the temperature of the measuring device 21. Very expensive. Therefore, the control device 7 can estimate the temperature drift component based on the temperature information. For example, the control device 7 may estimate the temperature drift component based on the temperature information and the correlation information indicating the correlation between the temperature drift component and the temperature of the measuring device 21.
  • the measuring device 21 measures the work W before and after the operation of steps S331 to S332 (step S312). Therefore, when performing the third temperature drift reduction operation, the processing system SYS performs the operations of steps S331 to S332 of FIG. 26 (that is, temperature The operation of estimating the drift component) may be performed.
  • the control device 7 corrects the measurement result of the work W based on the temperature drift component estimated in step S332, as in the second temperature drift reducing operation (step S322). ..
  • the processing system SYS can perform the processing operation without being affected by the temperature drift component.
  • the machining system SYS performs the same operation as the third temperature drift reducing operation for reducing the deterioration of the measurement accuracy of the position of the work W in the Z-axis direction, so that a direction different from the Z-axis direction (for example, A third temperature drift reducing operation may be performed to reduce deterioration in measurement accuracy of the position of the work W in at least one of the X-axis direction and the Y-axis direction. That is, the control device 7 may estimate the temperature drift component in the direction different from the Z-axis direction based on the temperature information, and correct the measurement result of the work W based on the estimated temperature drift component.
  • the tilt measuring operation which is one of the operations performed by the processing apparatus SYS will be described.
  • the tilt measurement operation is an operation for measuring the tilt amount of each of the processing device 1 and the measuring device 2 with respect to the stage 32 (particularly, each tilt amount in the ⁇ X direction and the ⁇ Y direction).
  • the processing system SYS does not necessarily have to perform the tilt measurement operation.
  • FIG. 27A is a sectional view showing the measuring device 2 tilted with respect to the stage 32.
  • the inclination of the measuring device 2 with respect to the stage 32 may mean the inclination of each measuring device 21 with respect to the stage 32.
  • the state in which the measuring device 2 is tilted with respect to the stage 32 may include a state in which the measuring device 2 is tilted.
  • the state in which the measuring device 2 is inclined may include the state in which the measuring device 2 is inclined with respect to the designed arrangement of the measuring device 2.
  • the state in which the measuring device 2 is inclined with respect to the stage 32 may include a state in which the stage 32 is inclined.
  • the state in which the stage 32 is tilted may include a state in which the stage 32 is tilted with respect to the design arrangement of the stage 32.
  • the design placement of the stage 32 is such that the mounting surface 321 of the stage 32 is parallel to the XY plane, the mounting surface 321 is in the XY plane when the stage 32 is tilted. It may include a state of being inclined with respect to.
  • FIG. 27B is a cross-sectional view showing the shape of the work W calculated from the measurement result of the measuring device 2 under the situation shown in FIG.
  • the measuring device 2 when the measuring device 2 is tilted with respect to the stage 32 (conversely, when the stage 32 is tilted with respect to the measuring device 2), the measuring device The shape of the work W calculated by the control device 7 from the measurement result 2 is different from the original shape of the work W.
  • the original shape of the work W is a shape in which the surface of the work W is parallel to the mounting surface 321 of the stage 32.
  • the shape of the work W calculated from the measurement result of the measuring device 2 becomes a shape in which the surface of the work W is inclined with respect to the mounting surface 321 of the stage 32. This is because the inclination of the measuring device 2 is not considered at all. That is, although the original shape of the work W is such that the surface of the work W is parallel to the XY plane, the shape of the work W calculated from the measurement result of the measuring device 2 is the surface of the work W. The shape is inclined with respect to the XY plane.
  • FIG. 27B which is a cross-sectional view showing the workpiece W processed by the processing device 1 in the situation where the measuring device 2 is inclined with respect to the stage 32
  • the processing device 1 is Although the work W should be machined so that the machining amount (for example, the amount of actual removal thickness) is constant in the direction along the plane, the work amount is changed in the direction along the XY plane. W will be processed. Therefore, although the surface of the work W after processing should be originally parallel to the XY plane, the surface of the work W after processing is inclined with respect to the XY plane.
  • the processing system SYS performs a tilt measurement operation for measuring the tilt amount of the measuring device 2 with respect to the stage 32. Further, the processing system SYS is based on the measured tilt amount, even when the measuring device 2 is tilted with respect to the stage 32, as in the case where the measuring device 2 is not tilted with respect to the stage 32.
  • the processing operation is performed so as to process the work W.
  • the control device 7 may correct the measurement result of the measuring device 2 so as to eliminate the influence of the tilt of the measuring device 2 with respect to the stage 32, based on the measured tilt amount.
  • the control device 7 indicates that the measurement result of the measurement device 2 when the measurement device 2 is tilted with respect to the stage 32 is the measurement result of the measurement device 2 when the measurement device 2 is not tilted with respect to the stage 32.
  • the measurement result of the measuring device 2 may be corrected so as to match the measurement result.
  • the control device 7 may move the measuring device 2 using the drive system 6 based on the measured tilt amount so that the measuring device 2 is not tilted with respect to the stage 32 and / or the stage is driven.
  • the system 32 may be used to move the stage 32.
  • the control device 7 may set the processing target portion W_target so as to eliminate the influence of the tilt of the measuring device 2 with respect to the stage 32 based on the measured tilt amount (for example, the processing target area TA is set. May be).
  • the control device 7 is set when the processing target portion W_target set when the measuring device 2 is tilted with respect to the stage 32 is not tilted with respect to the stage 32.
  • the processing target portion W_target may be set so as to match the processing target portion W_target.
  • the control device 7 may control the processing device 1 so as to eliminate the influence of the tilt of the measuring device 2 with respect to the stage 32 based on the measured tilt amount.
  • the control device 7 processes the portion processed by the processing device 1 when the measuring device 2 is tilted with respect to the stage 32 and the processing device 1 when the measuring device 2 is not tilted with respect to the stage 32.
  • the processing apparatus 1 may be controlled so that the parts match with the parts to be processed.
  • the control of the processing apparatus 1 includes the control of the position of the processing apparatus 1 (that is, the control of the drive system 5 that moves the processing apparatus 1), the control of the optical system 12, and the control of the optical system 14 (in particular, the galvano mirror 141). May be included.
  • the measuring device 2 is tilted with respect to the stage 32, as shown in FIG.
  • FIG. 27D which is a cross-sectional view showing the workpiece W processed so as to eliminate the influence of the tilt of the measuring device 2 on the stage 32. Even if it is, the processing apparatus 1 can process the work W such that the processing amount (for example, the amount of actual removal thickness) is constant in the direction along the XY plane.
  • the processing amount for example, the amount of actual removal thickness
  • the processing system SYS performs a tilt measurement operation for measuring the tilt amount of the processing device 1 with respect to the stage 32. Furthermore, the processing system SYS is based on the measured tilt amount, and even when the processing apparatus 1 is tilted with respect to the stage 32, it is the same as when the processing apparatus 1 is not tilted with respect to the stage 32.
  • the work W is processed.
  • the control device 7 may control the processing device 1 based on the measured tilt amount so as to eliminate the influence of the inclination of the processing device 1 with respect to the stage 32.
  • the control device 7 controls the processing device 1 when the processing device 1 is tilted with respect to the stage 32 and when the processing device 1 is not tilted with respect to the stage 32.
  • the processing device 1 may be controlled so that the parts match with the parts to be processed. As a result, even when the processing apparatus 1 is inclined with respect to the stage 32, the processing apparatus 1 can appropriately process the work W in a processing mode that should be originally processed.
  • the processing system SYS may perform the tilt measurement operation before the above-described processing operation is performed.
  • the processing system SYS may perform the tilt measurement reduction operation after the above-described processing operation is performed.
  • the processing system SYS may perform the tilt measurement operation during the period when the above-described processing operation is performed.
  • the processing system SYS may perform the tilt measurement operation between performing one processing operation and performing another processing operation next.
  • the processing system SYS may perform the tilt measurement operation between one period for processing the work W and another period for processing the same work W.
  • the processing system SYS may perform the tilt measurement operation before the measuring device 21 measures the work W.
  • the processing system SYS may perform the tilt measurement operation after the measuring device 21 measures the work W.
  • the processing system SYS may perform the tilt measurement operation during the period when the measuring device 21 measures the work W.
  • the processing system SYS may perform the tilt measurement operation each time a fixed time has elapsed after the use of the processing system SYS was started.
  • FIG. 28 is a flowchart showing the flow of the first tilt measurement operation for measuring the tilt amount of the measuring device 2 with respect to the stage 32. If the measuring device 2 includes a plurality of measuring devices 21, the first tilt measurement operation may be performed for each measuring device 21. For example, when the measuring device 2 includes the measuring devices 21-1 and 21-2, the first tilt measuring operation of measuring the tilt amount of the measuring device 21-1 with respect to the stage 32 and the measuring device 21 with respect to the stage 32 are performed.
  • the first tilt measurement operation of measuring the tilt amount of ⁇ 2 may be performed separately.
  • the first tilt measurement operation may be performed on a specific measurement device 21.
  • the tilt amount measured by the first tilt measuring operation is used not only as the tilt amount of the measuring device 21 that actually performed the first tilt measuring operation but also as the tilt amount of the other measuring devices 21. May be. That is, the tilt amount measured by the first tilt measurement operation may be used as the tilt amount of each of the plurality of measuring devices 2.
  • the reference member BM is newly placed on the stage 32 (step S411).
  • the reference member BM is a member on the surface of which a predetermined pattern used for measuring the tilt amount of the measuring device 2 with respect to the stage 32 is formed.
  • An example of such a reference member BM is described in FIGS. 29 and 30 (a) to 30 (b).
  • FIG. 29 which is a plan view showing the reference member BM1 which is an example of the reference member BM
  • the reference member BM has a dot pattern DP of an arbitrary shape on the surface (particularly, the surface along the XY plane).
  • the regularly formed reference member BM1 may be used. Note that in FIG.
  • the reference in which the rectangular dot patterns DP are formed in a matrix (that is, regularly in each of the X-axis direction and the Y-axis direction, in other words, at a predetermined cycle in the X-axis direction and the Y-axis direction).
  • the example of member BM1 is shown.
  • the reference member BM1 may be referred to as a pattern reticle.
  • the reference member BM has a surface as shown in FIG. 30A which is a plan view showing the reference member BM2 which is an example of the reference member BM and FIG. 30B which is a sectional view showing the reference member BM2.
  • the reference member BM2 may be the reference member BM2 in which a plurality of block patterns BP are formed (in particular, the surface along the XY plane).
  • the plurality of block patterns BP may be integrated with the reference member BM2 or may be removable from the reference member BM2.
  • the plurality of block patterns BP may include a plurality of block patterns BP1 having different sizes in an arbitrary direction along the XY plane (in the example shown in FIG. 30A, the X axis direction).
  • the plurality of block patterns BP may include a plurality of block patterns BP2 having different sizes in the direction intersecting the XY plane (Z-axis direction in the example shown in FIG. 30B).
  • the plurality of block patterns BP may include a plurality of block patterns BP2 having different heights in the direction intersecting the XY plane (Z-axis direction in the example shown in FIG. 30B).
  • the block pattern BP2 has a shape protruding from the reference member BM2 in the example shown in FIG. 30B, it may have a shape engraved on the reference member BM2.
  • the reference member BM a block gauge whose thickness is controlled, a glass member having a uniform flatness, or the like can be used.
  • the measuring device 21 measures the reference member BM (step S412). Specifically, the stage 32 and / or the measuring device 21 moves such that the entire reference member BM (or a part thereof in some cases) is located within the measurement shot area MSA of the measuring device 21. Alternatively, the stage 32 and / or the measuring device 21 moves so that the entire (or, in some cases, part of) the predetermined pattern formed on the reference member BM is located within the measurement shot area MSA of the measuring device 21. May be. Then, the measuring device 21 measures the reference member BM. In particular, the measuring device 21 measures a pattern formed on the reference member BM (that is, a predetermined pattern used to measure the tilt amount of the measuring device 2).
  • the control device 7 calculates the tilt amount of the measurement device 21 with respect to the stage 32 (in particular, the tilt amount of the measurement device 21 in each of the ⁇ X direction and the ⁇ Y direction) based on the measurement result of the measurement device 21 (step S413). ).
  • the control device 7 specifies the position and / or the shape of the pattern formed on the reference member BM based on the measurement result of the measurement device 21.
  • the control device 7 identifies the design position and / or shape of the pattern formed on the reference member BM (that is, the measurement result of the measurement device 2 when the measurement device 21 is not inclined with respect to the stage 32).
  • the tilt amount of the measuring device 21 with respect to the stage 32 is calculated based on the difference between the position and / or shape of the pattern that should be formed and the position and / or shape of the actually specified pattern. As described above, even when the measuring device 2 is tilted with respect to the stage 32, the calculated tilt amount is set on the workpiece W in the same manner as when the measuring device 2 is not tilted with respect to the stage 32. It is used as a parameter for operating the processing system SYS so that it can be processed. Further, the control device 7 may calculate the tilt amount of the stage 32 sub-unit (in particular, the tilt amount of the stage 32 in each of the ⁇ X direction and the ⁇ Y direction) based on the measurement result of the measuring device 21.
  • the control device 7 may determine the tilt amount of the measuring device 21 in the ⁇ Z direction and the offset amount of the position of the measuring device 21 in the Z-axis direction based on the measurement result of the measuring device 21. At least one of (the offset amount of the position of the measuring device 21 from the reference position in the Z-axis direction) can be calculated. For example, when the reference member BM2 in which the dot pattern DP is regularly formed as shown in FIG. 29 is used, the control device 7 determines the measurement device 21 in the ⁇ Z direction based on the measurement result of the measurement device 21. The tilt amount can be calculated.
  • the tilt amount of the measuring device 21 in the ⁇ Z direction is such that the measuring device 21 tilts in the ⁇ Z direction with respect to the stage 32 even when the measuring device 21 tilts in the ⁇ Z direction with respect to the stage 32. It may be used as a parameter for operating the processing system SYS so that the work W can be processed in the same manner as in the case where the processing is not performed.
  • the offset amount of the position of the measuring device 2 in the Z-axis direction is the same as when the offset of the measuring device 21 in the Z-axis direction occurs, as in the case where the offset of the measuring device 21 in the Z-axis direction does not occur. It may be used as a parameter for operating the processing system SYS so that W can be processed.
  • the control device 7 can calculate the parameter regarding the shape of the measurement shot area MSA of the measurement device 21.
  • the parameters relating to the shape of the measurement shot area MSA are, for example, the degree of distortion of the measurement shot area MSA, the magnification of the measurement shot area MSA (for example, the magnification of the actual size of the measurement shot area MSA with respect to the design size of the measurement shot area MSA).
  • the curvature of the measurement shot area MSA (for example, the curvature of the measurement shot area MSA with respect to the plane along the XY plane).
  • the measurement shot area MSA may be a three-dimensional area.
  • the degree of distortion of the measurement shot area MSA is the difference between the XY position when there is no error and the Z position when there is no error in the XYZ coordinate system in which the measurement shot area MSA is defined. It may be represented by the difference between the Z positions actually measured.
  • the degree of curvature of the measurement shot area MSA is based on a surface and a reference that approximate the XYZ position where the Z displacement output from the measuring device 21 becomes a predetermined Z displacement output in the XYZ coordinate system in which the measurement shot area MSA is defined. Can be represented by the degree of deviation from the XY plane.
  • the control device 7 based on the measurement result of the measurement device 21, the degree of distortion of the measurement shot area MSA. Also, at least one of the magnification of the measurement shot area MSA can be calculated. For example, when the reference member BM2 having a plurality of block patterns BP2 having different heights in the direction intersecting the XY plane is used as shown in FIG. The curvature of the measurement shot area MSA can be calculated based on the measurement result.
  • the degree of distortion of the measurement shot area MSA is such that the work W can be processed even when the measurement shot area MSA is distorted in the same manner as when the measurement shot area MSA is not distorted.
  • it may be used as a parameter for operating the processing system SYS.
  • the processing system for the magnification of the measurement shot area MSA is such that the workpiece W can be machined even when the magnification of the measurement shot area MSA is not the desired magnification, as in the case where the magnification of the measurement shot area MSA is the desired rate. It may be used as a parameter for operating SYS.
  • the bending degree of the measurement shot area MSA is set by the processing system SYS such that the workpiece W can be processed even when the measurement shot area MSA is curved, as in the case where the measurement shot area MSA is not curved. It may be used as a parameter for operating.
  • the reference member BM is placed on the stage 32 in order to perform the first tilt measurement operation.
  • FIG. 31 which is a plan view showing the stage 32 ′ modified to perform the first tilt measurement operation
  • the stage 32 ′ itself is used to measure the tilt amount of the measuring device 2 with respect to the stage 32.
  • the predetermined pattern used may be formed.
  • FIG. 31 shows an example in which the dot pattern DP is formed on the outer peripheral surface 323 located around the mounting surface 321 on the surface of the stage 32 '.
  • the reference member 32 does not have to be placed on the stage 32, and the measuring device 2 is in addition to or instead of the reference member BM placed on the stage 32,
  • the pattern formed on the stage 32 ′ may be measured.
  • the dot pattern DP may be formed on a part of the outer peripheral surface 323 located around the mounting surface 321 on the surface of the stage 32 ′.
  • the pattern formed on the work W by the processing device 1 processing the work W may be used as a pattern measured by the measuring device 2 to measure the tilt amount and the like.
  • the processing apparatus 1 may process the work W such that a predetermined pattern used for measuring the tilt amount of the measuring device 2 with respect to the stage 32 is formed on the work W.
  • the work W on which the predetermined pattern used for measuring the tilt amount of the measuring device 2 with respect to the stage 32 is formed may be different from the work W scheduled to be processed by the above-described processing operation.
  • the work W may be a test work or the work W scheduled to be processed by the above-described processing operation.
  • the measuring device 2 may measure the pattern formed on the work W in addition to or in place of the reference member BM placed on the stage 32.
  • FIG. 32 is a flowchart showing the flow of the second tilt measuring operation for measuring the tilt amount of the processing apparatus 1 with respect to the stage 32.
  • the processing apparatus 1 processes the work W so that a predetermined pattern used for measuring the tilt amount of the processing apparatus 1 with respect to the stage 32 is formed on the work W (step S421). ).
  • the pattern formed in step S421 may be the same pattern as the predetermined pattern used for measuring the tilt amount of the measuring device 2 with respect to the stage 32 in the first tilt measurement operation.
  • the pattern formed in step S421 may be a pattern different from the predetermined pattern used for measuring the tilt amount of the measuring device 2 with respect to the stage 32.
  • the measuring device 21 measures the work W processed in step S421 (in particular, the processed portion processed in step S421) (step S422). Therefore, first, the stage 32 and / or the measuring device 21 moves so that the processed portion of the work W processed in step S421 is positioned within the measurement shot area MSA of the measuring device 21. That is, the stage 32 moves such that the processed portion of the work W processed in step S421 moves from the processing shot area PSA toward the measurement shot area MSA. At this time, as described above, the work W may remain mounted on the stage 32. After that, the measuring device 21 measures the processed portion of the work W processed in step S421.
  • the control device 7 calculates the tilt amount of the processing device 1 with respect to the stage 32 (in particular, the tilt amount of the processing device 1 in each of the ⁇ X direction and the ⁇ Y direction) based on the measurement result of the measurement device 21 (step S423). ).
  • the control device 7 specifies the actual position and / or shape of the pattern formed on the work W based on the measurement result of the measurement device 21.
  • the control device 7 forms the design position and / or shape of the pattern formed on the work W (that is, the processing device 1 forms the work W on the work W when the processing device 1 is not inclined with respect to the stage 32).
  • the tilt amount of the processing apparatus 1 with respect to the stage 32 is calculated based on the difference between the position and / or shape of the pattern that should be present and the actual position and / or shape of the pattern formed on the work W. As described above, even if the processing apparatus 1 is tilted with respect to the stage 32, the calculated tilt amount is set in the same manner as when the processing apparatus 1 is not tilted with respect to the stage 32. It is used as a parameter for operating the processing system SYS so that it can be processed.
  • the control device 7 determines the tilt amount of the processing device 1 in the ⁇ Z direction and the offset amount of the position of the processing device 1 in the Z-axis direction (based on the measurement result of the measurement device 21). That is, it is possible to calculate the offset amount of the position of the processing apparatus 1 from the reference position in the Z-axis direction) and the parameters related to the shape of the processing shot area PSA of the processing apparatus 1.
  • the parameters relating to the shape of the processing shot area PSA are, for example, the degree of distortion of the processing shot area PSA and the magnification of the processing shot area PSA (for example, the magnification of the actual size of the processing shot area PSA with respect to the design size of the processing shot area PSA).
  • the tilt amount of the processing apparatus 1 in the ⁇ Z direction is such that the processing apparatus 1 tilts in the ⁇ Z direction with respect to the stage 32 even when the processing apparatus 1 tilts in the ⁇ Z direction with respect to the stage 32. It may be used as a parameter for operating the processing system SYS so that the work W can be processed in the same manner as in the case where it is not performed.
  • the offset amount of the position of the processing apparatus 1 in the Z-axis direction is the same as when the offset of the processing apparatus 1 in the Z-axis direction is generated, as in the case where the offset of the processing apparatus 1 in the Z-axis direction is not generated. It may be used as a parameter for operating the processing system SYS so that W can be processed.
  • the degree of distortion of the processing shot area PSA is set by the processing system SYS so that the workpiece W can be processed in the same manner as when the processing shot area PSA is not distorted even when the processing shot area PSA is distorted. It may be used as a parameter for operating.
  • the processing system is such that the magnification of the processing shot area PSA can process the work W in the same manner as when the processing shot area PSA has a desired rate even when the processing shot area PSA does not have a desired rate. It may be used as a parameter for operating SYS.
  • the degree of curvature of the processing shot area PSA is set by the processing system SYS so that the workpiece W can be processed in the same manner as when the processing shot area PSA is not curved even when the processing shot area PSA is curved. It may be used as a parameter for operating.
  • magnification, distortion and field curvature of the optical system (typically the f ⁇ lens) of the processing apparatus 1 may be used as parameters.
  • the reference member BM (particularly, the reference member on which a predetermined pattern used to measure the tilt amount of the processing device 1 with respect to the stage 32 is formed).
  • BM may be mounted on the stage 32.
  • the stage 32 may be formed with a predetermined pattern used for measuring the tilt amount of the processing apparatus 1 with respect to the stage 32.
  • the processing apparatus 1 observes (substantially measures) the position and / or the shape of the pattern formed on the reference member BM and / or the stage 32 using the observation device 16 included in the processing apparatus 1. May be.
  • the control device 7 may calculate the tilt amount of the processing device 1 with respect to the stage 32 based on the observation result of the observation device 16.
  • control device 7 may specify the position and / or the shape of the pattern formed on the reference member BM based on the measurement result of the observation device 16. After that, the control device 7 processes the stage 32 based on the difference between the designed position and / or shape of the pattern formed on the reference member BM and the actually specified position and / or shape of the pattern.
  • the tilt amount of 1 may be calculated. In this case, the processing apparatus 1 does not have to process the work W so as to form a predetermined pattern on the work W that is used to measure the tilt amount of the processing apparatus 1 with respect to the stage 32.
  • the processing system SYS includes both the processing device 1 and the measuring device 2.
  • the processing system SYS includes the processing device 1 and the measuring device 2 in the housing 4 in which the stage device 3 is housed (that is, the work W is housed). Therefore, it is not necessary to remove the work W from the stage 32 between the time when the processing device 1 processes the work W and the time when the measuring device 2 measures the processed work W. Similarly, the work W does not have to be removed from the stage 32 between the time when the measuring device 2 measures the work W and the time when the processing device 1 processes the measured work W. Therefore, the work W measured by the processing device 1 until the measurement device 2 measures the processed work W and / or the work W measured by the measurement device 2 after the measurement of the work W is performed.
  • the workpiece W is still placed on the stage 32 between the processing of the workpiece W by the processing device 1 and the measurement of the workpiece W by the measuring device 2. Therefore, it is possible to reduce the influence of the processing error and the measurement error due to the placement and removal of the work W, and it is possible to improve the throughput related to the processing of the work W.
  • the machining system SYS includes both the machining device 1 and the measuring device 2, the machining system SYS measures the state of the workpiece W processed by the machining device 1 with the measuring device 2 while measuring the workpiece W. It can be processed. As a result, the processing system SYS, when the state of the work W deviates from the desired state (for example, the processing amount of the work W is not appropriate and / or the processing position of the work W is not appropriate), the work W is not.
  • the processing apparatus 1 can be immediately controlled such that the state of 1 approaches or matches the desired state.
  • the machining system SYS adjusts the machining amount of the work W and / or the machining position of the work W to be appropriate.
  • the processing device 1 can be controlled immediately, as appropriate. Therefore, the processing system SYS can process the work W with higher accuracy as compared with the case where the work W is processed without the measuring device 2 measuring the state of the work W processed by the processing device 1. .
  • the processing device 1 processes the work W by using the processing light EL, compared to the case where the work W is processed by using the cutting member or the like, the cutting waste of the work W is less likely to occur. Therefore, even if the processing device 1 and the measuring device 2 are arranged in the same housing 4, the cutting scrap hardly interferes with the proper operation of the measuring device 2.
  • the processing device 1 processes the work W using the processing light EL
  • a relatively large external force acts on the work W as compared with the case where the work W is processed using a cutting member or the like.
  • the stage 32 does not have to hold the work W with a relatively large holding force.
  • the work W can be placed on the stage 32 in substantially the same state both when the processing device 1 processes the work W and when the measuring device 2 measures the work W. Therefore, the measuring device 2 can measure the work W placed on the stage 32 in the same state as when the processing device 1 is processing the work W. That is, the measuring device 2 has a relatively strong holding force when the processing device 1 is processing the work W, as compared with the case where the work W is held by the stage 32.
  • the work W can be measured with relatively high accuracy without being affected by the minute distortion of the work W that may occur. Further, the work W can be processed with high accuracy in a state where the influence of the distortion of the work W is reduced.
  • the processing system SYS can perform an initial setting operation for setting an initial value of processing conditions. Therefore, the processing system SYS can set the initial values of the processing conditions relatively easily and in a short time.
  • the processing system SYS can perform a temperature drift reducing operation. Therefore, the processing system SYS can appropriately reduce the influence of temperature drift, which is a phenomenon in which the measurement accuracy of the measurement device 21 varies due to the temperature of the measurement device 21. Therefore, the processing system SYS can measure the work W with relatively high accuracy as compared with the case where the influence of the temperature drift is not reduced. Further, the processing system SYS can process the work W with relatively high accuracy based on the measurement result of the work W with relatively high accuracy.
  • the processing system SYS can perform tilt measurement operation. Therefore, the processing system SYS can process the work W so as to eliminate the influence of tilt. That is, in the processing system SYS, the processing apparatus 1 and / or the measuring apparatus 2 is not tilted with respect to the stage 32 even when the processing apparatus 1 and / or the measuring apparatus 2 is tilted with respect to the stage 32.
  • the work W can be processed as in the case.
  • FIG. 33 is a sectional view showing the structure of the processing system SYSa of the first modified example. Note that, for simplification of the drawing, FIG. 33 does not show the cross section of a part of the components of the processing system SYSa.
  • the processing system SYSa of the first modified example is different from the above-described processing system SYS in that it is equipped with a gas supply device 8a.
  • Other features of the processing system SYSa may be the same as those of the processing system SYS. Note that, in FIG. 33, for simplification of the drawing, description of some of the constituent elements included in the processing system SYSa is omitted or simplified.
  • the gas supply device 8a supplies (that is, flows) gas into the accommodation space SP.
  • At least one of the atmosphere, CDA (clean dry air), and an inert gas can be given as an example of the gas supplied by the gas supply device 8a.
  • the inert gas include nitrogen gas and argon gas.
  • the gas supply device 8a may reduce adhesion of a substance generated from the work W to the measuring device 2 by irradiating the work W with the processing light EL by supplying the gas. That is, the gas supply device 8a may function as an adhesion reduction device that can reduce the adhesion of the substance generated from the work W to the measurement device 2 by irradiating the work W with the processing light EL.
  • the substance generated from the work W by irradiating the work W with the processing light EL may include a material of the work W that has been melted or evaporated.
  • a substance generated from the work W by irradiating the work W with the processing light EL is referred to as “fumes”.
  • the gas supply device 8a may particularly reduce the adhesion of fumes to a specific portion of the measuring device 2 by supplying gas.
  • the specific part of the measuring device 2 may be a part that may lead to deterioration of the measurement accuracy of the measuring device 2 when fume adheres.
  • the measurement device 2 measures the work W by irradiating the work W with the measurement light (for example, slit light in the light cutting method or white light in the white light interferometry), the measurement device 2 through which the measurement light passes is measured.
  • the optical surface 211s of the optical system 211 is an example of the specific portion.
  • the optical surface of the terminal optical element of the optical system 211 that is, the optical element facing the accommodation space SP
  • the specific portion is an example of the specific portion.
  • the adhered fume may hinder the irradiation of the measurement light (for example, the irradiation of the work W). As a result, the measuring device 2 may not be able to measure the work W appropriately.
  • the adhesion of fumes to the measuring device 2 is reduced. As a result, the measuring device 2 can appropriately measure the work W in a state where the influence of fumes is reduced.
  • the gas supply device 8a supplies the gas to the space between the processing device 1 and the measuring device 2 in the accommodation space SP, as shown in FIG. 34, which is a cross-sectional view showing the first supply mode of the gas by the gas supply device 8a. May be supplied.
  • the gas supply device 8a may supply gas along a direction along the traveling direction of the processing light EL from the processing device 1 to the work W (Z-axis direction in the example shown in FIG. 34).
  • the gas supplied by the gas supply device 8a functions as an air curtain. That is, the gas supplied by the gas supply device 8a can reduce the possibility that the fumes enter the space located on the processing device 1 side of the air curtain to the space located on the measuring device 2 side of the air curtain. It functions as a possible air curtain. As a result, the possibility that the fume adheres to the measuring device 2 is appropriately reduced. Furthermore, the possibility that the fume will enter the space including the optical path of the measurement light is appropriately reduced.
  • the gas supply device 8a supplies the gas to the space between the measurement device 2 and the stage 32 in the accommodation space SP, as shown in FIG. 35, which is a cross-sectional view showing the second supply mode of the gas by the gas supply device 8a. You may.
  • the gas supply device 8a may supply gas to the space including the optical path of the measurement light from the measurement device 2 in the accommodation space SP.
  • the gas supply device 8a may supply the gas along a direction (in the example shown in FIG. 35, the Y-axis direction) intersecting the traveling direction of the processing light EL from the processing device 1 to the work W.
  • the gas supply device 8a may supply the gas flowing from the space including the optical path of the measurement light toward the space including the optical path of the processing light EL.
  • the possibility that the fume adheres to the measurement device 2 is appropriately reduced. Furthermore, the possibility that the fume will enter the space including the optical path of the measurement light is appropriately reduced. Furthermore, if the gas supplied from the gas supply device 8a is blown onto a specific portion of the measuring device 2 (for example, the optical surface 211s of the optical system 211 described above), the gas causes the specific portion of the measuring device 2 to be blown. Fume that had adhered is blown off (that is, removed). Therefore, even if the fume adheres to the measuring device 2, the possibility that the fume continues to adhere to the measuring device 2 is appropriately reduced.
  • the gas supply device 8a supplies the gas to form a gas flow path in a direction that crosses the optical paths of the processing light EL and / or the measurement light, and thus the fumes travel along the flow path to generate fumes. Is less likely to adhere to the measuring device 2 and the processing device 1.
  • FIG. 36 is a cross-sectional view showing the structure of the processing system SYSb of the second modified example.
  • FIG. 36 does not show a cross section of a part of the components of the processing system SYSb.
  • the processing system SYSb of the second modified example is different from the above-described processing system SYS in that the processing system SYSb includes a recovery device 8b.
  • Other features of the processing system SYSb may be the same as those of the processing system SYS. Note that, in FIG. 36, for simplification of the drawing, description of some of the components included in the processing system SYSb is omitted or simplified.
  • the recovery device 8b recovers a gas (or an arbitrary fluid including a liquid, the same applies to the second modification below) from the accommodation space SP inside the housing 4. Specifically, the recovery device 8b recovers the gas from the accommodation space SP via the recovery port 81b, which is an opening formed in the partition wall of the housing 4, and the recovery pipe 82b connected to the recovery port 81b. Good.
  • the recovery device 8b may recover the gas by sucking the gas from the accommodation space SP via the recovery port 81b and the recovery pipe 82b.
  • the recovery device 8b may recover the gas by exhausting at least a part of the accommodation space SP via the recovery port 81b and the recovery pipe 82b.
  • the recovery device 8b is provided with a recovery port 81b on the opposite side of the processing device 1 from the measurement device 2, and the flow of the fluid (gas) in the path from immediately below the measurement device 2 to directly below the processing device 1 to the recovery port 81b. Forming a path. Note that, even in the case of FIG. 36, it may be considered that the space outside the housing 4 and the space inside (the housing space SP) are substantially separated by the housing 4.
  • the recovery device 8b may collect at least a part of the fumes in the accommodation space SP together with the gas.
  • the recovery device 8b may recover gas and fumes along a direction (in the example shown in FIG. 36, the Y-axis direction) intersecting the traveling direction of the processing light EL that travels from the processing device 1 to the work W.
  • the fumes collected from the storage space SP by the collection device 8b may be adsorbed by the filter 83b arranged in the collection pipe 82b.
  • the filter 83b may be removable or replaceable. As a result, it is possible to more appropriately prevent the fume from adhering to the measuring device 2 as compared with the case where the fume is not collected by the collecting device 8b.
  • the collection device 8b may function as an adhesion prevention device that can reduce the adhesion of fumes to the measurement device 2.
  • a flow rate sensor may be provided on the downstream side of the filter 83b to monitor the degree of clogging of the filter 83b. Further, the replacement time of the filter 83b may be estimated from the output of the flow rate sensor.
  • a gas flow path is formed in a direction crossing the optical path of the processing light EL and / or the measuring light, and thus the fumes are collected by the collecting device 8b along the flow path, and the fumes are collected. The possibility that it will adhere to the measuring device 2 and the processing device 1 is reduced.
  • processing system SYSb of the second modified example may include the gas supply device 8a similarly to the processing system SYSa of the first modified example. In this case, fume is further reduced from adhering to the measuring device 2 and the processing device 1.
  • FIG. 37 is a sectional view showing the structure of the processing system SYSc of the third modified example. Note that, for simplification of the drawing, FIG. 37 does not show a cross section of a part of the components of the processing system SYSc.
  • the processing system SYSc of the third modified example is different from the above-described processing system SYS in that it has a housing 8c.
  • Other features of the processing system SYSc may be the same as those of the processing system SYS. Note that in FIG. 37, for simplification of the drawing, description of some of the constituent elements included in the processing system SYSb is omitted or simplified.
  • the housing 8c is arranged in the accommodation space SP.
  • the housing 8c houses at least a part of the measuring device 2 (for example, a specific part of the measuring device 2) in the housing space SP.
  • the housing 8c includes a partition member 81c.
  • the partition member 81c defines an internal space 82c in which the measuring device 2 is housed.
  • the housing 8c (particularly, the partition wall member 81c) prevents the fume from entering the housing space 82c from the housing space SP. Therefore, it is possible to appropriately prevent fume from adhering to the measuring device 2 housed in the housing space 82c.
  • the measuring device 2 measures the work W by irradiating the measuring light
  • the light passage member 83c may be a member through which the measurement light can pass but through which fumes cannot pass.
  • the light passage member 83c may be, for example, a member that is transparent to the measurement light (for example, the transmittance is equal to or higher than a predetermined ratio).
  • the light passing member 83c can pass the measurement light during at least a part of the period in which the measurement light is irradiated (for example, the period during which the measuring device 2 measures the work W), while the measurement light is transmitted.
  • the irradiation is not performed (for example, a period in which the measuring device 2 is not measuring the work W, typically, the processing device 1 is processing the work W)
  • It may be a member that prevents the fume from passing.
  • An example of such a light transmitting member 83c is a light transmissive substrate such as a glass substrate.
  • the measuring device 2 can appropriately measure the work W.
  • the processing system SYSc may supply the gas so as to blow off (that is, remove) the fumes attached to the light passing member 83c.
  • the processing system SYSc may blow off (that is, remove) the fumes attached to the light passage member 83c by using the gas supply device 8a described above. For example, as shown in FIG.
  • the processing system SYSc removes the fume adhering to the light passing member 83c (that is, removes the light passing member 83c).
  • a vibrating device 84c for vibrating may be provided. As a result, fume is prevented from continuing to adhere to the light passing member 83c. Therefore, the irradiation of the measurement light from the measurement device 2 is not hindered by the fumes that continue to adhere to the light passage member 83c.
  • the fumes adhering to the light passing member 83c may be removed at a desired timing. For example, as the amount of fumes adhering to the light passing member 83c increases, the measurement light scattered by the fumes also increases. Therefore, the control device 7 determines whether or not the fume adheres to the light passage member 83c based on the detection result of the detection device that detects the scattered measurement light (or whether or not the fume adheres to a certain amount or more). ) Is determined and it is determined that the fume is attached to the light passing member 83c (or the fume is attached to a certain amount or more), the fume attached to the light passing member 83c may be removed. ..
  • the light passing agent 83c may be removable from the housing 8c. Further, the light passing member 83c may be replaceable with a different light passing member.
  • the processing system SYSc of the third modified example includes at least one of the gas supply device 8a and the recovery device 8b, like at least one of the processing system SYSa of the first modified example and the processing system SYSb of the second modified example. May be. In this case, the fume is more appropriately prevented from adhering to the measuring device 2.
  • the processing system SYSd of the fourth modified example is different from the above-described processing system SYS in that it includes a light receiving device 9d.
  • Other features of the processing system SYSd may be the same as those of the processing system SYS. Therefore, hereinafter, the light receiving device 9d will be described with reference to FIGS. 39 (a) and 39 (b).
  • 39A is a sectional view showing the structure of the light receiving device 9d
  • FIG. 39B is a plan view showing the structure of the light receiving device 9d.
  • the light receiving device 9d is arranged on the stage 32.
  • the light receiving device 9d may be arranged at a position apart from the mounting surface 321 on which the work W is mounted in the stage 32 in at least one of the X-axis direction and the Y-axis direction.
  • the light receiving device 9d may be arranged on the outer peripheral surface 322 of the stage 32 (more specifically, the member of the stage 32 whose outer peripheral surface 322 is the surface).
  • the light receiving device 9d may be arranged on the mounting surface 321 of the stage 32 (more specifically, a member of the stage 32 whose surface is the mounting surface 321).
  • the light receiving device 9d may be arranged at any position on the stage 32. At least a part of the light receiving device 9d may be removable from the stage 32. Alternatively, the light receiving device 9d may be integrated with the stage 32. Further, the light receiving device 9d may be arranged in the mounting surface 321.
  • the light receiving device 9d includes a light blocking member 91d and a detector 92d.
  • the light blocking member 91d is a member capable of blocking the processing light EL.
  • the light blocking member 91d is arranged on the stage 32.
  • the surface (the surface on the + Z side) of the light shielding member 91d has the same height as the surface (the surface on the + Z side, for example, the outer peripheral surface 322) of the stage 32, but may have a different height.
  • the back surface (the surface on the ⁇ Z side) of the light shielding member 91d has the same height as the back surface (the surface on the ⁇ Z side) of the stage 32, but may have a different height.
  • At least a part of the light shielding member 91d may be integrated with the stage 32.
  • At least a part of the stage 32 may also serve as the light blocking member 91d.
  • the light blocking member 91d may be removable from the stage 32.
  • An opening 93d is formed in the light shielding member 91d.
  • the opening 93d is a through hole that penetrates from the front surface to the back surface of the light shielding member 91d.
  • the opening 93d may be a through hole penetrating from the front surface (for example, the outer peripheral surface 322) of the stage 32 to the back surface.
  • the shape of the opening 93d in the plane along the XY plane is a slit shape, but may be any other shape.
  • the size of the opening 93d in the plane along the XY plane is, for example, several micrometers to several tens of micrometers (for example, 5 micrometers to 10 micrometers). , Other sizes may be used.
  • the opening 93d is a through hole through which the processing light EL can pass.
  • the opening 93d is a through hole through which the processing light EL emitted toward the front surface of the stage 32 can pass to the back surface of the stage 32. Therefore, the light blocking member 91d in which the opening 93d is formed functions as a light passing member capable of passing the processing light EL.
  • the light shielding member 91d may be formed by forming a light shielding film on a part of the upper surface of the light transmissive substrate. In this case, the portion where the light shielding film is not formed becomes the opening 93d.
  • the detector 92d is a photodetector capable of detecting the processing light EL (for example, capable of receiving light).
  • An example of the photodetector is a photoelectric converter capable of photoelectrically converting the received processing light EL.
  • the detector 92d is arranged on the back surface of the light shielding member 91d. When at least a part of the light shielding member 91d is integrated with the stage 32, the detector 92d is arranged on the back surface of the stage 32.
  • the detector 92d detects the processing light EL that enters the detector 92d through the opening 93d.
  • the detector 92d detects the processing light EL that passes through the opening 93d and enters the detector 92d.
  • the detection result of the detector 92d includes information regarding the state of the processing light EL that has entered the detector 92d.
  • the detection result of the detector 92d includes information on the intensity of the processing light EL that has entered the detector 92d (specifically, the intensity within the plane intersecting the XY plane). More specifically, the detection result of the detector 92d includes information on the intensity distribution of the processing light EL in the plane along the XY plane.
  • the detection result of the detector 92d is output to the control device 7.
  • the control device 7 processes the processing system SYSd (for example, the processing device 1, the measuring device 2, the stage device 3, the drive device) so that the processing system SYSd can appropriately process the work W based on the detection result of the detector 92d. At least one of the system 5 and the drive system 6) is controlled. For example, the control device 7 may perform the focus control operation of controlling the focus position based on the detection result of the detector 92d. For example, the control device 7 may perform an optical state control operation of controlling the state of the processing light EL in synchronization with the scanning of the processing light EL using the galvano mirror 141 based on the detection result of the detector 92d.
  • the control device 7 is a phenomenon in which the irradiation position of the processing light EL in the plane along the XY plane varies due to the temperature (that is, heat) of the galvano mirror 141 based on the detection result of the detector 92d.
  • a galvano control operation for controlling the galvano mirror 141 may be performed so as to reduce the influence of a certain temperature drift.
  • the processing system SYSd may perform at least a part of these operations (for example, the focus control operation, the light state control operation, and the galvano control operation) before the above-described processing operation is performed.
  • the processing system SYSd may perform at least part of these operations after the above-described processing operations have been performed.
  • the processing system SYSd may perform at least some of these operations during the above-described processing operations.
  • the processing system SYSd may perform at least a part of these processing operations between one processing operation and another processing operation.
  • the processing system SYSd may perform at least a part of these operations between one period for processing the work W and another period for processing the same work W.
  • the processing system SYSd may perform at least a part of these operations each time a certain time has elapsed after the processing system SYSd started operating.
  • the work W is placed on the stage 32 during a period in which at least a part of these operations is performed. It does not have to be done.
  • the details of the focus control operation, the light state control operation, and the galvano control operation will be described later.
  • the processing system SYSd may include a plurality of light receiving devices 9d.
  • FIG. 39B shows an example in which the processing system SYSd includes two light receiving devices 9d (x) and 9d (y).
  • the shape of the openings 93d of the plurality of light receiving devices 9d may be a slit shape in which the longitudinal directions are different.
  • the opening 93d (x) of the light receiving device 9d (x) has a slit shape whose longitudinal direction is along the X-axis direction, and the opening 93d (y) of the light receiving device 9d (y) is formed.
  • Shows an example in which the longitudinal direction is a slit shape whose longitudinal direction is along the Y-axis direction.
  • the number of the plurality of light receiving devices 9d is not limited to two.
  • One or more light receiving devices 9d having a slit shape of ⁇ 45 degrees may be provided.
  • the shape of the opening 93d of the light receiving device 9d is not limited to the rectangular shape, and may be, for example, a circular shape (pinhole shape), an L shape, or a cross shape.
  • a circular shape pinhole shape
  • L shape L-shaped or cross-shaped
  • the functions of the plurality of light receiving devices 9d can be achieved by one light receiving device 9d.
  • the workpiece W is processed by the irradiation of the processing light EL
  • at least a part of the light receiving device 9d is also processed by the irradiation of the processing light EL ( In fact, it may be destroyed). Therefore, the intensity of the processing light EL with which the light receiving device 9d is irradiated (for example, the amount of energy per unit area on the detection surface of the detector 92d) is the processing light EL with which the work W is irradiated to process the work W.
  • Intensity (for example, the amount of energy per unit area on the surface of the work W) is smaller than the intensity of the processing light EL (for example, the amount of energy per unit area in the plane intersecting the traveling direction of the processing light EL). ) May be controlled.
  • the intensity of the processing light EL emitted during the period when the light receiving device 9d is irradiated with the processing light EL is such that the work W is irradiated with the processing light EL for processing the work W.
  • the processing light EL may be generated so as to have a smaller intensity than the processing light EL emitted during the period. For example, as shown in FIG.
  • an attenuation member 18d capable of attenuating the processing light EL may be arranged in the optical path of the processing light EL.
  • the processing apparatus 1 may irradiate the light receiving device 9d with the processing light EL via the attenuating member 18d, while irradiating the work W with the processing light EL without passing through the attenuating member 18d. Therefore, the attenuating member 18 is located in the optical path of the processing light EL during the period when the light receiving device 9d is irradiated with the processing light EL, and the period when the work W is irradiated with the processing light EL for processing the work W.
  • the attenuating member 18d may be disposed inside the processing device 1 or may be outside the processing device 1 (for example, a space between the processing device 1 and the light receiving device 9d or a space above the light receiving device 9d). May be placed in.
  • the processing light EL can be measured while keeping the light emitting condition of the light source 11 (laser oscillation condition as an example) the same as during processing, so that the intensity distribution of the measured processing light EL is It is possible to reduce the problem that it is different from that during processing.
  • the intensity of the processing light EL may be changed by changing the light emitting condition of the light source 11. In this case, the measurement result may be corrected using the information on the relationship between the light emission condition of the light source 11 and the intensity distribution of the processing light EL.
  • FIGS. 41 (a) to 41 (c) one specific example of operation performed based on the light reception result of the detector 92d included in the light receiving device 9d.
  • the focus control operation is described below.
  • 41A is a cross-sectional view showing how the processing device 1 irradiates the light receiving device 9d with the processing light EL in order to perform the focus control operation
  • FIG. 41B shows in order to perform the focus control operation
  • FIG. 41C is a plan view showing how the processing device 1 irradiates the light receiving device 9d with the processing light EL
  • FIG. 41C is a graph showing the detection result of the detector 92d included in the light receiving device 9d.
  • the processing device 1 irradiates the light receiving device 9d (particularly, the detector 92d) with the processing light EL in order to perform the focus control operation. Therefore, first, the stage 32 and / or the processing apparatus 1 moves so that the opening 93d is located in the processing shot area PSA. After that, the processing device 1 irradiates the processing light EL toward the detector 92d through the opening 93d.
  • the processing device 1 allows the processing light EL deflected by using the galvano mirror 141 to pass through the f ⁇ lens 142, so that the processing light EL has at least a part of the surface of the stage 32 (specifically, the opening 93d. (A surface including a portion where is formed) is scanned.
  • the processing apparatus 1 applies the processing light EL to the surface of the stage 32 so that the processing light EL (more specifically, the irradiation area EA of the processing light EL) crosses the opening 93d in the plane along the XY plane. Scan at least a portion.
  • the processing apparatus 1 allows the processing light EL to pass through at least the surface of the stage 32 so that the processing light EL crosses the opening 93d along the lateral direction of the slits forming the opening 93d in the plane along the XY plane.
  • a part may be scanned.
  • the processing device 1 irradiates the light receiving device 9d (x) shown in FIG. 39 (b) with the processing light EL, the processing device 1 has an opening 93d (x in the plane along the XY plane. ),
  • the processing light EL may scan at least a part of the surface of the stage 32 so that the processing light EL crosses the opening 93d (x) along the Y-axis direction that is the lateral direction of the slit.
  • the processing device 1 when the processing device 1 irradiates the light receiving device 9d (y) shown in FIG. 39 (b) with the processing light EL, the processing device 1 has an opening 93d (y) in a plane along the XY plane. ),
  • the processing light EL may scan at least a part of the surface of the stage 32 so that the processing light EL crosses the opening 93d (y) along the X-axis direction that is the lateral direction of the slit. Strictly speaking, the result of scanning the processing light EL with respect to the spatially stationary openings 93 (x) and 93 (y) and the opening 93 with respect to the spatially stationary processing light EL.
  • (X) and 93 (y) are different from the results obtained by scanning, but when the scanning amount (moving amount of the processing light EL in the XY plane) is small (as an example, within 10 times the spot size of the processing light EL). Can be treated equally.
  • 41A and 41B in the plane along the XY plane, the processing light EL crosses the opening 93d along the Y-axis direction, which is the lateral direction of the slit forming the opening 93d. An example is shown.
  • the stage 32 does not have to move while the processing light EL is scanning at least a part of the surface of the stage 32. That is, the positional relationship between the processing apparatus 1 and the stage 32 (in particular, the direction along the XY plane) may be fixed while the processing light EL scans at least a part of the surface of the stage 32. . As a result, the processing light EL scans at least a part of the surface of the stage 32 at a constant scanning speed determined according to the characteristics of the galvano mirror 141.
  • the irradiation area EA of the processing light EL has a constant velocity on at least a part of the surface of the stage 32 along the direction along the surface of the stage 32 (for example, at least one of the X-axis direction and the Y-axis direction). Will be moved in.
  • the processing light EL is irradiated onto the opening 93d at a certain timing during the period in which the processing light EL scans at least a part of the surface of the stage 32. That is, the processing light EL is detected by the detector 92d at a certain timing during the period in which the processing light EL scans at least a part of the surface of the stage 32.
  • the control device 7 compares at least a part of the processing light EL with the opening 93d in comparison with the intensity of the processing light EL during the period in which the opening 93d is not irradiated with the processing light EL.
  • a detection signal indicating that the intensity of the processing light EL is high during the irradiation period is acquired as the detection result of the detector 92d.
  • the time (detection time) on the horizontal axis of FIG. 41C can be read as a relative position between the processing light EL and the stage 32 along the scanning direction (Y direction).
  • the control device 7 can calculate the spot diameter of the processing light EL (that is, the spot diameter on the surface of the work W) based on the detection signal.
  • the control device 7 identifies, from the detection signal, the time during which the intensity of the processing light EL is larger than a predetermined value (that is, the time during which at least a part of the processing light EL is irradiated on the opening 93d). can do. In this case, the control device 7 can calculate the spot diameter of the processing light EL based on the specified time and the scanning speed of the processing light EL.
  • the control device 7 sets the focus position of the processing light EL so that the calculated spot diameter matches the spot diameter set as the processing condition (for example, the spot diameter set by the above-described initial setting operation). You may control. At this time, when the focus position is changed, the control device 7 causes the light receiving device 9d to detect the processing light EL again in order to confirm whether or not the changed focus position is appropriate.
  • the processing device 1 may be controlled. In this case, the control device 7 may determine whether or not the spot diameter newly calculated based on the re-detection result of the detector 92d matches the spot diameter set as the processing condition.
  • the opening 93d (x) having the longitudinal direction in the X direction (the width in the Y direction is narrower than the X direction) is scanned in the Y direction to detect the spot of the processing light EL.
  • the width (position) along the Y direction is detected, and the opening 93d (y) having the longitudinal direction in the Y direction (the width in the X direction is narrower than the Y direction) is scanned in the X direction to detect the processing light EL.
  • the width (position) of the spot along the X direction is detected. Therefore, the ellipticity (ratio (difference) between the size in the X direction and the size in the Y direction) of the spot of the processing light EL can be obtained.
  • an optical member having different refractive powers in two orthogonal directions in the optical system of the processing apparatus 1 (example As an alternative, a toric lens or a cylindrical lens may be arranged to reduce the ellipticity.
  • the focus position of the processing light EL can be controlled appropriately.
  • the detection of the processing light EL by the light receiving device 9d is repeated while changing the position of the light receiving device 9d (particularly, the detector 92d) in the direction intersecting the XY plane (for example, the Z-axis direction). Good. That is, the processing light EL is detected by the light receiving device 9d in a state where the light receiving device 9d (particularly, the detector 92d) is located at the first position in the direction intersecting the XY plane, and the processing light EL is detected in the direction intersecting the XY plane.
  • the processing light EL may be detected by the light receiving device 9d in a state where the light receiving device 9d (particularly, the detector 92d) is located at two positions (however, the second position is different from the first position).
  • the detection of the processing light EL by the light receiving device 9d may be repeated while changing the focus position of the processing light EL in the direction intersecting the XY plane (for example, the Z-axis direction).
  • FIG. 42 (a) which is a graph showing the detection result of the detector 92d
  • the control device 7 can acquire a plurality of detection signals according to the change of the position of the light receiving device 9d. ..
  • the control device 7 may obtain the focus position of the processing light EL based on the plurality of detection signals and the position of the light receiving device 9d when each detection signal is acquired.
  • the focus position may be controlled. For example, changing the position of the light receiving device 9d (particularly, the detector 92d) in the direction intersecting the XY plane is substantially equivalent to changing the focus position of the processing light EL with respect to the light receiving device 9d. Therefore, the control device 7 should move the light receiving device 9d based on the plurality of detection signals and the position of the light receiving device 9d at the time when each detection signal is acquired (that is, what is the focus position). It is possible to specify how much the spot diameter of the processing light EL changes by moving the processing light EL). As a result, the control device 7 can specify how much the focus position should be moved to match the spot diameter of the processing light EL with the spot diameter set as the processing condition.
  • FIG. 42B shows the detection results at a plurality of positions in the Z-axis direction in an overlapping manner.
  • Z (0) is the detection result when the light receiving device 9d is located at the first position in the Z axis direction
  • Z (+1) is the light receiving device 9d is located at the second position in the Z axis direction.
  • Detection result in the state where the light receiving device 9d is located at the third position in the Z-axis direction (the second position is on the + Z side (processing device 1 side) than the first position) ( The third position is the + Z side (processing device 1 side) of the second position
  • Z (-1) is the detection result when the light receiving device 9d is located at the fourth position in the Z-axis direction (the fourth position is the first position).
  • -Z side of the position (opposite to the processing device 1), Z (-2) is the detection result when the light receiving device 9d is located at the fifth position in the Z-axis direction (the fifth position is more than the fourth position).
  • -Z side (side opposite to the processing device 1) is shown in Fig. 42 (c). It is a plot of the maximum position PZ, and the straight line connecting these plotted positions PZ (-2), PZ (-1), PZ (0), PZ (+1), and PZ (+2) has telecentricity.
  • the straight line extends vertically, the Y-direction position of the point PZ at which the strength is maximum does not change even if the position in the Z-axis direction changes, which is telecentric.
  • -2), PZ (-1), PZ (0), PZ (+1), PZ (+2) are detection results Z (-2), Z (-1), Z (0), Z (+1), respectively. , Z (+2).
  • the position of at least part (or all) of the f ⁇ lens 142 in the optical axis direction may be changed to correct the telecentricity.
  • FIG. 43 is a plan view schematically showing spot diameters of the processing light EL at respective positions on the surface of the work W when the processing light EL deflected by the galvano mirror 141 and displaced by the f ⁇ lens scans the surface of the work W. It is a figure.
  • the galvano mirror 141 deflects the processing light EL so that the surface portion of the surface of the workpiece W included in the processing shot area PSA is scanned with the processing light EL.
  • the state where the processing light EL is the same at any position in the processing shot area PSA is an example of an ideal state in that the work W is processed with high accuracy.
  • the state of the processing light EL applied to the position P # 1 the state of the processing light EL applied to the position P # 2
  • the state of the processing light EL irradiated on the position P # 4 the state of the processing light EL irradiated on the position P # 5, the state of the processing light EL irradiated on the position P # 6, and the position
  • the state of the processing light EL applied to P # 7, the state of the processing light EL applied to the position P # 8, and the state of the processing light EL applied to the position P # 9 are the same. , Is an example of an ideal state.
  • the state of the processing light EL applied to a certain position of the processing shot area PSA is different from the state of the processing light EL applied to another position in the processing shot area PSA. It may not be the same. That is, in the processing shot area PSA, the state of the processing light EL may vary depending on the position irradiated with the processing light EL.
  • FIG. 43 shows an example in which the spot diameter of the processing light EL irradiated on a certain position of the processing shot area PSA is not the same as the spot diameter of the processing light EL irradiated on another position of the processing shot area PSA. Shows.
  • One of the reasons may be due to the characteristics of the galvanometer mirror 141 and the characteristics of the f ⁇ lens 42.
  • the processing system SYSd performs the optical state control operation so that the state of the processing light EL and the processing shot area PSA irradiated at a certain position of the processing shot area PSA are different from the case where the optical state control operation is not performed.
  • the state of the processing light EL is changed in synchronization with the scanning of the processing light EL so that the difference from the state of the processing light EL applied to another position in the inside becomes small.
  • FIG. 44A is a cross-sectional view showing the positional relationship between the processing device 1 and the light receiving device 9d during the period in which the state detection operation is performed in order to perform the state detection operation.
  • FIG. 44B which is a plan view showing the positional relationship between the device 1 and the light receiving device 9d
  • the stage 32 and / or the processing device 1 includes the light receiving device 9d (particularly, the opening 93d) in the processing shot area PSA. ) So that it is located.
  • the processing system SYSd has a positional relationship between the processing device 1 and the light receiving device 9d in the plane along the XY plane so that the opening 93d is located in the processing shot region PSA (more specifically, the processing shot region).
  • the positional relationship between the PSA and the opening 93d) is changed.
  • the opening 93d is located at the first position DTP # 1 in the processing shot area PSA.
  • the processing apparatus 1 scans the surface portion of the surface of the stage 32 included in the processing shot area PSA with the processing light EL.
  • the detector 92d detects the processing light EL at the timing when the processing light EL crosses the opening 92d located at the first position DTP # 1.
  • the control device 7 acquires, from the detector 92d, information regarding the state of the processing light EL that is applied to the first position DTP # 1 in the processing shot area PSA. That is, the control device 7 acquires information regarding the state of the processing light EL whose displacement amount is the first displacement amount from the detector 92d.
  • the control device 7 when the detector 92d detects the processing light EL, the control device 7 also obtains information about the position of the stage 32 at the time when the detector 92d detects the processing light EL from the position measuring device 34. To do. Since the light receiving device 9d is arranged on the stage 32, the information on the position of the stage 32 includes the information on the position of the light receiving device 9d (in particular, the position of the opening 93d).
  • FIG. 44C is a cross-sectional view showing the positional relationship between the processing device 1 and the light receiving device 9d during the period when the state detecting operation is performed, and FIG. 44C and the processing device 1 and the light receiving device 9d during the period when the state detecting operation is performed.
  • FIG. 44 (d) which is a plan view showing the positional relationship with the stage 32 and / or the processing apparatus 1, the light receiving device 9d (particularly, the opening 93d) in the processing shot area PSA still has the processing light. Move to a position where EL has never been detected.
  • the processing system SYSd changes the positional relationship between the processing device 1 and the light receiving device 9d in the plane along the XY plane so that the positional relationship between the processing shot area PSA and the opening 93d in the plane along the XY plane.
  • the opening 93d is located at the second position within the processing shot area PSA.
  • the processing apparatus 1 scans the surface portion of the surface of the stage 32 included in the processing shot area PSA with the processing light EL.
  • the detector 92d detects the processing light EL at the timing when the processing light EL crosses the opening 92d located at the second position.
  • the control device 7 acquires, from the detector 92d, information regarding the state of the processing light EL that is applied to the second position within the processing shot area PSA. That is, the control device 7 acquires information regarding the state of the processing light EL whose displacement amount is the second displacement amount from the detector 92d. Also at this time, the control device 7 further acquires information on the position of the stage 32 from the position measuring device 34.
  • control device 7 can acquire information regarding the state of the processing light EL that has been irradiated to each of the plurality of positions within the processing shot area PSA.
  • the control device 7 synchronizes with the scanning of the processing light EL based on the information acquired by the state detection operation as another part of the light state control operation. Perform a state control operation to control the state. Specifically, first, the control device 7 controls the position of the opening 93d at the time when the detector 92d detects the processing light EL (in particular, the stage based on the information on the position of the stage 32 acquired by the state detection operation). Position in the coordinate system). As a result, the control device 7 can provide information regarding the relationship between the position of the opening 93d and the state of the processing light EL detected through the opening 93d.
  • the control device 7 can acquire information regarding the relationship between the position of the opening 93d in the processing shot area PSA and the state of the processing light EL detected through the opening 93d. That is, the control device 7 can acquire information regarding the relationship between the irradiation position of the processing light EL in the processing shot area PSA and the state of the processing light EL irradiated to the irradiation position.
  • the processing light EL indicates that the state of the processing light EL is the same regardless of the irradiation position of the processing light EL in the processing shot area PSA (that is, it does not change), the processing light EL The state is presumed to be an ideal state in which the state of the processing light EL is the same at any position in the processing shot area PSA. Therefore, in this case, the control device 7 does not have to change the state of the processing light EL in synchronization with the scanning of the processing light EL when actually processing the work W. On the other hand, if the information acquired here indicates that the state of the processing light EL changes depending on the irradiation position of the processing light EL in the processing shot area PSA, the state of the processing light EL is not ideal.
  • the control device 7 changes the state of the processing light EL in synchronization with the scanning of the processing light EL.
  • the control device 7 has a small difference between the state of the processing light EL applied to a certain position in the processing shot area PSA and the state of the processing light EL applied to another position in the processing shot area PSA. Therefore, the state of the processing light EL is changed in synchronization with the scanning of the processing light EL.
  • the control device 7 changes the state of the processing light EL in synchronization with the scanning of the processing light EL so that the variation in the state of the processing light EL in the processing shot area PSA becomes small.
  • the control device 7 may change the state of the processing light EL in synchronization with the scanning of the processing light EL so that the state of the processing light EL is the same at any position in the processing shot area PSA.
  • the control device 7 may change the state of the processing light EL in synchronization with the scanning of the processing light EL so that there is no variation in the state of the processing light EL in the processing shot area PSA. Even when the state of the processing light EL changes depending on the irradiation position of the processing light EL in the processing shot area PSA, the control device 7 scans the processing light EL when actually processing the work W. It is not necessary to change the state of the processing light EL in synchronization.
  • the control device 7 determines that the difference between the spot diameter of the processing light EL at the first position in the processing shot area PSA and the spot diameter of the processing light EL at the second position in the processing shot area PSA is greater than a predetermined allowable value.
  • the state of the processing light EL may be changed in synchronization with the scanning of the processing light EL so that the spot diameter condition that becomes smaller (or becomes the same) is satisfied.
  • the control device 7 may change the focus position of the processing light EL in synchronization with the scanning of the processing light EL so as to satisfy the spot diameter condition.
  • control device 7 may change the focus position of the processing light EL to a desired value that is determined according to the irradiation position of the processing light EL so as to satisfy the spot diameter condition.
  • control device 7 may change the focus position of the processing light EL to a desired value that is different or optimized for each irradiation position of the processing light EL so as to satisfy the spot diameter condition.
  • the control device 7 sets the intensity of the processing light EL at the first position in the processing shot area PSA (for example, the amount of energy per unit area) and the intensity of the processing light EL at the second position in the processing shot area PSA.
  • the state of the processing light EL may be changed in synchronization with the scanning of the processing light EL so as to satisfy the intensity condition that the difference is smaller than (or the same as) the predetermined allowable value.
  • the control device 7 may change the intensity of the processing light EL generated by the light source 11 in synchronization with the scanning of the processing light EL so as to satisfy the intensity condition.
  • the control device 7 may change the control mode of the intensity distribution of the processing light EL by the intensity distribution control member 123 included in the optical system 12 in synchronization with the scanning of the processing light EL so as to satisfy the intensity condition.
  • the control device 7 determines that the difference between the intensity distribution of the processing light EL at the first position in the processing shot area PSA and the intensity distribution of the processing light EL at the second position in the processing shot area PSA is within a predetermined allowable range.
  • the state of the processing light EL may be changed in synchronization with the scanning of the processing light EL so that the intensity distribution condition that becomes smaller (or becomes the same) is satisfied.
  • the control device 7 changes the control mode of the intensity distribution of the processing light EL by the intensity distribution control member 123 included in the optical system 12 in synchronization with the scanning of the processing light EL so as to satisfy the intensity distribution condition. Good.
  • the control device 7 determines, based on the detection result of the state of the processing light EL that has entered the detector 92d through the opening 93d located at the first position in the processing shot area PSA.
  • the state of the processing light EL applied to the first position in the processing shot area PSA may be controlled.
  • the control device 7 opens the 93d opening located at the first position in the processing shot area PSA at the timing when the processing light EL is irradiated to the first position in the processing shot area PSA.
  • the state of the processing light EL may be controlled based on the detection result of the state of the processing light EL that has entered the detector 92d via.
  • the control device 7 determines the detection result of the state of the processing light EL that has entered the detector 92d through the opening 93d located at the second position in the processing shot area PSA. Based on this, the state of the processing light EL applied to the second position within the processing shot area PSA may be controlled.
  • the control device 7 opens 93d located at the second position in the processing shot area PSA at the timing when the processing light EL is irradiated to the second position in the processing shot area PSA. The state of the processing light EL may be controlled based on the detection result of the state of the processing light EL that has entered the detector 92d via.
  • the optical state control operation described above suppresses variations in the state of the processing light EL due to the characteristics of the galvano mirror 141 and the f ⁇ lens 142. Therefore, the processing system SYSd can appropriately process the work W by using the processing light EL in which the variation in the state is suppressed.
  • the processing system SYSd uses the processing device 1 to process the work W (for example, a work for which a processing operation is actually performed or a test work), and uses the measurement device 2 to measure the work W. Measure the processing result.
  • the processing system SYSd acquires information about the relationship between the irradiation position of the processing light EL in the processing shot area PSA and the state of the processing light EL irradiated on the irradiation position, based on the measurement result of the measuring device 2. .. After that, the processing system SYSd irradiates the irradiation position and the irradiation position of the processing light EL in the processing shot area PSA, as in the case of changing the state of the processing light EL based on the detection result of the detector 92d. The state of the processing light EL is changed based on the information regarding the relationship with the state of the processing light EL.
  • the galvano control operation reduces the influence of temperature drift, which is a phenomenon that the irradiation position of the processing light EL in the plane along the XY plane varies (that is, changes) due to the temperature of the galvano mirror 141.
  • This is an operation of controlling the galvano mirror 141 so as to reduce the amount. Therefore, first, referring to FIGS. 45 (a) and 45 (b), a phenomenon in which the irradiation position of the processing light EL in the plane along the XY plane varies due to the temperature of the galvano mirror 141 will be briefly described. explain.
  • FIG. 45A is a plan view showing the irradiation position of the processing light EL on the surface of the work W (that is, the surface along the XY plane) under the condition that the temperature drift does not occur.
  • FIG. 45B is a plan view showing the irradiation position of the processing light EL on the surface of the work W (that is, the surface along the XY plane) under the condition where the temperature drift occurs.
  • the processing light EL is moved to the surface of the work W (that is, the XY plane) along the ideal scanning locus in the processing shot area PSA. Surface) can be scanned.
  • the processing light EL can scan the surface of the work W so that the scanning locus of the processing light EL in the Y-axis direction becomes linear.
  • the processing light EL causes the workpiece to follow a scanning locus different from the ideal scanning locus within the processing shot area PSA.
  • the processing light EL may scan the surface of the work W so that the scanning locus of the processing light EL in the Y-axis direction is curved.
  • the irradiation position of the processing light EL deflected by the galvano mirror 141 is an ideal position (for example, in design) as compared with the case where the temperature drift does not occur. Position).
  • the scanning locus of the processing light EL deflected by the galvano mirror 141 is an ideal scanning locus (for example, the designed scanning locus) as compared with the case where the temperature drift does not occur. It may be different from a miracle). It is difficult to say that such a state in which the irradiation position of the processing light EL is different from the ideal position is preferable in terms of appropriate processing of the work W.
  • the control device 7 specifies the irradiation position of the processing light EL in the plane along the XY plane during the period in which the galvano mirror 141 is deflecting the processing light EL, based on the detection result of the detector 92d. .. Then, the control device 7 causes the irradiation position of the processing light EL in the plane along the XY plane during the period in which the galvano mirror 141 is deflecting the processing light EL to approach the ideal position (or to match).
  • the galvanometer mirror 141 is controlled as described above.
  • the processing system SYSd first performs an irradiation position detection operation for detecting the irradiation position of the processing light EL deflected by the galvano mirror 141 with the light receiving device 9d.
  • the stage 32 and / or the processing apparatus 1 moves so that the light receiving device 9d (particularly, the opening 93d) is located in the processing shot area PSA.
  • the processing apparatus 1 scans the surface portion of the surface of the stage 32 included in the processing shot area PSA with the processing light EL.
  • the detector 92d detects the processing light EL at the timing when the processing light EL crosses the opening 92d.
  • the control device 7 acquires, from the position measuring device 34, information regarding the position of the stage 32 at the time when the detector 92d detects the processing light EL. Since the light receiving device 9d is arranged on the stage 32, the information on the position of the stage 32 includes the information on the position of the light receiving device 9d (in particular, the position of the opening 93d). The above operation is repeated while moving the light receiving device 9d (in particular, the opening 93d) within the processing shot area PSA. As a result, the control device 7 can acquire information regarding a plurality of irradiation positions to which the processing light EL deflected by the galvanometer mirror 141 is irradiated.
  • control device 7 can acquire information regarding the irradiation position of the processing light EL in each of the plurality of regions in the plane along the XY plane. Considering that the locus connecting the plurality of irradiation positions in order is the scanning locus of the processing light EL, the control device 7 can obtain information about the scanning locus of the processing light EL deflected by the galvano mirror 141. ..
  • the control device 7 After the irradiation position detection operation is performed, the control device 7 performs the control operation of actually controlling the galvano mirror 141 based on the information acquired by the irradiation position detection operation as another part of the galvano control operation. .. Specifically, first, based on the information about the irradiation position of the processing light EL acquired by the irradiation position detection operation, the control device 7 sets the XY plane during the period in which the galvano mirror 141 is deflecting the processing light EL. A deviation amount between the irradiation position of the processing light EL and the ideal position in the in-plane is calculated. After that, the control device 7 controls the galvanometer mirror 141 so that the calculated shift amount becomes small (or becomes zero).
  • control device 7 may control the drive amount (specifically, the amount of swing or the amount of rotation) of the X scanning mirror 141X and the Y scanning mirror 141Y included in the galvano mirror 141.
  • the irradiation position (that is, the scanning position) of the processing light EL in the plane along the XY plane is corrected and approaches or coincides with the ideal position.
  • the irradiation position of the processing light EL in at least one of the X-axis direction and the Y-axis direction is corrected and approaches or coincides with the ideal position.
  • the scanning locus of the processing light EL is corrected to approach or match the ideal locus.
  • the processing system SYS can process the work W with relatively high precision by irradiating the ideal position with the processing light EL deflected by the galvano mirror 141.
  • the phenomenon that the irradiation position of the processing light EL in the plane along the XY plane varies (that is, fluctuates) due to the temperature of the optical system other than the galvanometer mirror 141 (for example, the f ⁇ lens 142) is described below. You may reduce by the procedure similar to an example.
  • any detection device capable of detecting the processing light EL may be used to specify the irradiation position of the processing light EL displaced by the galvano mirror 141.
  • FIG. 46A which is a cross-sectional view showing the stage 32
  • FIG. 46B which is a plan view showing the stage 32
  • a plurality of photodetectors arranged at a plurality of positions of the stage 32 (for example, The four-division photo detector) 9e may be used to specify the irradiation position of the processing light EL displaced by the galvanometer mirror 141.
  • the light receiving device 9d having the opening 93d may be arranged at a plurality of positions of the stage 32 as in the example of FIG.
  • the processing system SYSd in addition to or instead of the detection result of the detector 92d, based on the measurement result of the actual processing amount of the work W, in each of the plurality of regions in the plane along the XY plane.
  • Information about the irradiation position of the processing light EL may be acquired.
  • the processing system SYSd uses the processing device 1 to process the work W (for example, the work in which the processing operation is actually performed or the test work), and uses the measurement device 2 to perform the work W. Measure the processing result of.
  • the processing system SYSd may acquire information regarding the irradiation position of the processing light EL in each of the plurality of regions in the plane along the XY plane based on the measurement result of the measuring device 2.
  • the control device 7 detects the detection result of the detector 92d. Additionally or alternatively, the irradiation position of the processing light EL in each of the plurality of regions in the plane along the XY plane may be estimated based on the temperature of the galvano mirror 141. Further, since the processing apparatus 1 includes the galvano mirror 141, the temperature of the galvano mirror 141 may have a correlation with the temperature of the processing apparatus 1.
  • control device 7 may estimate the irradiation position of the processing light EL in each of the plurality of regions in the plane along the XY plane based on the temperature of the processing device 1.
  • the information about the estimated irradiation position may be used as the information about the irradiation position of the processing light EL in each of the plurality of regions in the plane along the XY plane.
  • the light receiving device 9d is mainly used for controlling the processing system SYSd based on the detection result of the detector 92d included in the light receiving device 9d. ing. However, the light receiving device 9d may be used for other purposes. As an example, at least a part of the light receiving device 9d (for example, the opening 93d) may be used as a marker (that is, an index) that can be measured or detected by the measuring device 2. In this case, based on the measurement result of the opening 93d by the measuring device 2, the processing system SYSd (for example, the processing device 1, the measuring device 2, the stage device 3, so that the processing system SYSd can appropriately process the work W).
  • the processing system SYSd for example, the processing device 1, the measuring device 2, the stage device 3, so that the processing system SYSd can appropriately process the work W.
  • FIG. 47 is a flowchart showing the flow of a stage control operation for controlling the position of the stage 32 based on the measurement result of the opening 93d by the measuring device 2.
  • the stage 32 and / or the processing apparatus 1 moves so that the light receiving device 9d (particularly, the opening 93d) is located within the processing shot area PSA (step S51). That is, the stage 32 and / or the processing device 1 moves so that the light receiving device 9d (in particular, the opening 93d) is located at a position where the processing light EL from the processing device 1 can be received.
  • the processing apparatus 1 irradiates the processing light point EL to the processing reference point in the processing shot area PSA (step S52).
  • the processing device 1 irradiates the processing light EL without deflecting the processing light EL by the galvano mirror 141 (that is, without driving the galvano mirror 141) to irradiate the processing light EL to the processing reference point.
  • the processing reference point may be, for example, the center of the processing shot area PSA.
  • the processing reference point may be, for example, the intersection of the optical axis of the processing apparatus 1 and the processing shot area PSA.
  • the stage 32 and / or the processing apparatus 1 moves along the XY plane until the detector 92d can detect the processing light EL (step S52). That is, the stage 32 and / or the processing device 1 moves along the XY plane until the light receiving device 9d can receive the processing light EL (step S52).
  • the movement may be stepwise (repeated movement and stopping).
  • the control device 7 controls the position of the stage 32 at the time when the detector 92d can detect the processing light EL (in particular, the stage 32).
  • the stage position information regarding the position (in-plane position along the XY plane) to which is moved is acquired from the position measuring device 34 (step S53).
  • the stage 32 is located on the surface plate 31 when the detector 92d can detect the processing light EL.
  • the control device 7 positions the processing device 1 at the time when the detector 92d can detect the processing light EL (in particular, The processing position information regarding the position within the plane along the XY plane to which the processing device 1 has moved is acquired from the position measuring instrument 51 (step S53).
  • the stage 32 and / or the measuring device 2 moves so that the light receiving device 9d (in particular, the opening 93d) is located within the measurement shot area MSA (step S54). Then, the measuring device 2 measures the opening 93d (step S55). In particular, the measuring device 2 measures the position of the opening 93d. In that state, the stage 32 and / or the measuring device 2 moves along the XY plane until the opening 93d comes to be located at the measurement reference point in the measurement shot area MSA (step S55).
  • the measurement reference point may be, for example, the center of the measurement shot area MSA.
  • the measurement reference point may be, for example, the intersection of the optical axis of the measuring device 2 and the measurement shot area MSA.
  • the measurement reference point is It is a position in the measurement shot area MSA corresponding to at least one specific photodetector of the plurality of photodetectors.
  • the control device 7 controls the position of the stage 32 at the time when the opening 93d is positioned at the measurement reference point (particularly, the XY plane where the stage 32 moves).
  • the stage position information regarding the position in the plane along) is acquired from the position measuring instrument 34 (step S56).
  • the stage 32 is located on the surface plate 31 when the opening 93d is located at the measurement reference point.
  • the control device 7 controls the position of the measuring device 2 at the time when the opening 93d is positioned at the measurement reference point (in particular, the measuring device 2 moves).
  • the measurement position information regarding the in-plane position along the XY plane is obtained from the position measuring device 61 (step S56).
  • the stage position information acquired in step S53 corresponds to information about the position of the stage 32 when the opening 93d is located at the processing reference point. Since the opening 93d is arranged on the stage 32, information about the position of the stage 32 in the state where the opening 93d is located at the processing reference point is the position of the opening 93d located at the processing reference point, the processing reference point. It can be said that the position of No. 1 and the relative position of the processing apparatus 1 and the opening 93d, which serve as the reference of the processing reference point, are indirectly shown. Furthermore, the stage position information acquired in step S56 corresponds to information about the position of the stage 32 when the opening 93d is located at the measurement reference point.
  • the information on the position of the stage 32 in the state where the opening 93d is located at the measurement reference point includes the position of the opening 93d located at the measurement reference point, the position of the measurement reference point, and the measurement reference point. It can also be said that the relative position between the reference measuring device 2 and the opening 93d is shown.
  • the difference between the position of the stage 32 indicated by the stage position information acquired in step S53 and the position of the stage 32 indicated by the stage position information acquired in step S56 is the position of the processing reference point and the position of the measurement reference point. It corresponds to the difference with.
  • the control device 7 determines the distance (specifically, the distance along the XY plane) between the processing reference point and the measurement reference point based on the stage position information acquired in steps S53 and S56. A corresponding baseline amount is calculated (step S57). At this time, since the stage position information acquired in steps S53 and S56 is information related to the position in the stage coordinate system, the control device 7 calculates the baseline amount in the stage coordinate system. Note that FIG. 48 is a cross-sectional view schematically showing the baseline amount in the fourth modified example.
  • the processing position information acquired in step S53 corresponds to the information on the position of the processing device 1 when the opening 93d is located at the processing reference point. Further, since the processing shot area PSA (further, the processing reference point) is a position determined with the processing apparatus 1 as a reference, the processing position information acquired in step S53 is the processing apparatus 1 which is the reference of the processing reference point. It can be said that the position relative to the opening 93d is indirectly indicated.
  • the measurement position information acquired in step S56 corresponds to the information about the position of the measuring device 2 in the state where the opening 93d is located at the measurement reference point.
  • the measurement position information acquired in step S56 is the measurement device 2 that is the reference of the measurement reference point. It can be said that the position relative to the opening 93d is indirectly indicated. Therefore, the difference between the position of the processing device 1 indicated by the processing position information acquired in step S53 and the position of the measuring device 2 indicated by the measurement position information acquired in step S56 is the position of the processing reference point and the measurement reference point. Corresponds to the difference from the position of.
  • control device 7 determines the distance between the machining reference points (specifically, on the XY plane) based on the machining position information and the measurement position information acquired in step S53 and step S56, respectively. A baseline amount corresponding to the distance along the line is calculated (step S57).
  • the control device 7 may calculate information regarding the relative position between the processing device 1 and the measuring device 2 in addition to the baseline amount.
  • the information regarding the relative position between the processing apparatus 1 and the measuring apparatus 2 is, for example, at least one of information regarding the relative position between the processing shot area PSA and the measurement shot area MSA and information regarding the relative position between the processing reference point and the measurement reference point. May be included.
  • the control device 7 controls Each of the plurality of photodetectors of the container may be associated with the stage coordinate system.
  • step S57 the control device 7 sets, as the baseline amount, the baseline amount indicating the distance between the machining reference point and the measurement reference point in the X-axis direction, and the machining reference point and the measurement reference point in the Y-axis direction.
  • the baseline amount indicating the distance between them may be calculated separately.
  • the control device 7 may calculate a baseline amount indicating the distance between the machining reference point and the measurement reference point in the Z-axis direction.
  • the control device 7 may perform at least one of an operation of calculating the baseline amount based on the stage position information and an operation of calculating the baseline amount based on the processing position information and the measurement position information. ..
  • the information regarding the position of the stage 32 may not be acquired in each of steps S53 and S56.
  • the operation of calculating the baseline amount based on the processing position information and the measurement position information is not performed, the information regarding the position of the processing device 1 may not be acquired in step S53, and the measurement device 2 may be acquired in step S56. It is not necessary to obtain the information regarding the position of.
  • step S51 to step S57 may be performed before the processing system SYSd actually processes the work W.
  • the operations from step S51 to step S57 may be performed after the processing system SYSd actually processes the work W.
  • the operations from step S51 to step S57 may be performed between one processing operation of the processing system SYSd and another processing operation.
  • the operations from step S51 to step S57 may be performed between one period for processing the work W and another period for processing the same work W.
  • the operations from step S51 to step S57 may be performed during the period when the machining system SYSd is actually machining the work W.
  • the operation from step S51 to step S57 may be performed each time a fixed period of time has elapsed after the use of the processing system SYSd was started.
  • the machining system SYSd performs the machining operation based on the baseline amount calculated in step S57.
  • Perform step S58.
  • the control device 7 may control the position of the stage 32 based on the baseline amount calculated in step S57 (step S58).
  • the controller 7 may control the stage drive system 33 so that the stage 32 moves based on the baseline amount calculated in step S57 (step S58).
  • the control device 7 may control the drive system 5 so that the processing device 1 moves based on the baseline amount calculated in step S57.
  • the control device 7 may control the drive system 6 so that the measuring device 2 moves based on the baseline amount calculated in step S57.
  • step S58 the control device 7 causes the processing device 1 to irradiate the measured light of the workpiece W, which is actually measured by the measuring device 2, with the processing light EL so that the measured part is processed.
  • the stage 32 may be moved.
  • the control device 7 may move the stage 32 so that the measuring device 2 measures the processed portion of the workpiece W processed by the processing device 1 (that is, the portion irradiated with the processing light EL). ..
  • the control device 7 does not calculate the baseline amount, and the control device 7 performs steps S53 and S56.
  • the position of the stage 32 may be controlled based on the acquired stage position information.
  • the position of the stage 32 may be controlled based on the processing position information and the measurement position information acquired in steps S53 and S56, respectively.
  • the control device 7 causes the measuring device 2 to measure the processed portion of the work W processed by the processing device 1 (that is, the portion irradiated with the processing light EL) based on the processing position information and the measurement position information.
  • the stage 32 may be moved as described above.
  • the control device 7 may manage the position indicated by the processing position information as the position in the stage coordinate system.
  • the control device 7 may manage the position indicated by the measurement position information as the position in the stage coordinate system.
  • the control device 7 performs processing in the stage coordinate system based on the position indicated by the processing position information acquired in step S53 (further, if necessary, the stage position information acquired in step S53).
  • the position of the reference point may be calculated.
  • control device 7 determines the stage coordinate system and the measurement shot area MSA based on the position indicated by the measurement position information acquired in step S56 (further, if necessary, the stage position information acquired in step S56). You may calculate the positional relationship with. Then, the control device 7 processes the workpiece W by the processing device 1 based on the information on the relationship between the stage coordinate system and the measurement shot area MSA and the information on the position of the processing reference point in the stage coordinate system. The stage 32 may be moved so that the measuring device 2 measures the processed portion (that is, the portion irradiated with the processing light EL).
  • control device 7 actually measures the workpiece W in the workpiece W based on the information on the relationship between the stage coordinate system and the measurement shot area MSA and the information on the position of the processing reference point in the stage coordinate system.
  • the stage 32 may be moved such that the processing device 1 irradiates the measured portion with the processing light EL to process the measured portion.
  • the processing system SYSd can perform the processing operation based on the relative position between the processing device 1 and the measuring device 2 (for example, the relative position between the processing reference point and the measurement reference point). .. Therefore, the processing system SYSd is configured so that even if the relative position between the processing device 1 and the measuring device 2 (for example, the relative position between the processing reference point and the measurement reference point) changes with the passage of time, The processing operation can be performed without being affected by the variation in the relative position with respect to the measuring device 2. As a result, the processing system SYSd can process the work W with relatively high accuracy as compared with the case where the stage movement control is not performed.
  • the opening 93d is used as a marker (that is, an index) that can be measured by the measuring device 2.
  • an arbitrary marker AM different from the opening 93d may be measured by the measuring device 2.
  • the stage 32 and / or the processing apparatus 1 moves so that the marker AM is located in the processing shot area PSA (step S51 in FIG. 47), and the observation apparatus 16 images the marker AM (that is, the observation apparatus).
  • 16 receives the return light ILr of the illumination light IL from the marker AM), measures the position of the marker AM, and the control device 7 obtains information about the positions of the stage 32 and the processing device 1 at that time. Good (step S53 of FIG. 47).
  • the stage 32 and / or the measuring device 2 moves so that the marker AM is located in the measurement shot area MSA (step S54 in FIG. 47), and the measuring device 2 measures the position of the marker AM and at that time.
  • the control device 7 may acquire information on the positions of the stage 32 and the measuring device 2 (step S56 in FIG. 47). After that, the same operation as when the opening 93d is used may be performed.
  • the measuring device 2 may measure the opening 93d and the arbitrary marker AM.
  • the stage 32 and / or the processing apparatus 1 is moved so that the opening 93d is positioned in the measurement shot area MSA, and the measurement apparatus 2 measures the opening 93d, and the marker AM is positioned in the measurement shot area MSA. It is also possible to move the stage 32 and / or the processing device 1 so as to perform the operation of measuring the marker AM by the measuring device 2 in a different operation. Further, when the opening 93d and the marker AM can be positioned in the measurement shot area MSA of the measuring device 2, both operations may be performed at the same time.
  • 49A shows an example in which the marker AM is formed on the surface of the stage 32 (for example, the outer peripheral surface 322 (or the mounting surface 321).
  • FIG. 49A shows the surface of the stage 32).
  • 49 (b) shows an example in which the marker AM is formed
  • FIG. 49 (b) shows an example in which the marker AM is formed on the surface of the surface plate 31.
  • FIG. An example is shown in which the marker member 36 on which the marker AM is formed is arranged on the surface plate 31.
  • the marker member 36 may be movable together with the stage 32.
  • FIG. An example is shown in which the marker AM is formed on the mounted work W.
  • the marker AM formed on the work W may include the marker AM previously formed on the work W, or the processing apparatus 1 Including the structure formed by the machining operation by It may contain a marker AM.
  • the measuring device 2 When an arbitrary marker AM different from the opening 93d is measured by the measuring device 2, the relationship between the position of the opening 93d and the position of the arbitrary marker AM is obtained by the measuring device 2 or another measuring device. You may stay.
  • the arbitrary marker AM may be regarded as a part of the related object associated with the opening 93d (light receiving device 9d).
  • the baseline amount may be obtained by processing the work by the processing device 1 and measuring the work processed by the measuring device 2.
  • the processing apparatus 1 irradiates the work W with the processing light EL to perform the removal process of removing a part of the work W.
  • the processing apparatus 1 may irradiate the work W with the processing light EL to perform processing different from the removal processing.
  • the processing device 1 may perform processing different from the removal processing in addition to or instead of the removal processing.
  • the processing apparatus 1 may irradiate the work W with the processing light EL to perform additional processing on the work W.
  • the processing apparatus 1 changes at least a part of the characteristics of the surface of the work W by the irradiation of the processing light EL to form a desired pattern (for example, a character pattern, a figure pattern, or an arbitrary pattern) on the surface of the work W. Marking may be performed.
  • the operation of determining whether the processing amount by the processing apparatus 1 is an appropriate amount in the processing operation (step S133 in FIG. 6) An operation of determining whether or not the amount is appropriate may be included.
  • the addition amount is an amount related to the material newly added to the work W. For example, when an addition operation of sequentially forming a plurality of layered structures is performed, the thickness of the layered structure is used as the addition amount. Good.
  • the operation of determining whether the processing amount by the processing apparatus 1 is an appropriate amount in the processing operation (step S133 in FIG. 6) is performed by the processing apparatus 1. It may include an operation of determining whether or not the characteristics of the pattern are appropriate. Examples of the characteristics of the pattern include the reflectance of the pattern with respect to light, the color exhibited by the pattern, and the shape of the pattern.
  • the stage device 3 includes the stage drive system 33, but the stage drive system 33 may not be provided. That is, the stage 32 does not have to move. When the stage 32 does not move, the stage device 3 may not include the position measuring device 34.
  • the processing system SYS includes the drive system 5, but may not include the drive system 5. That is, the processing device 1 does not have to move. When the processing device 1 does not move, the processing system SYS does not need to include the position measuring device 51.
  • the processing system SYS includes the drive system 6, but may not include the drive system 6. That is, the measuring device 2 does not have to move. When the measuring device 2 does not move, the processing system SYS does not have to include the position measuring device 61.
  • the processing device 1 includes the return light prevention device 15, but the return light prevention device 15 may not be provided.
  • the processing device 1 includes the observation device 16, but the observation device 16 may not be provided.
  • the processing device 1 does not include the observation device 16, the processing device 1 includes the dichroic mirror 13, which is an optical element used to at least partially overlap the optical path of the processing light EL and the optical path of the illumination light IL. It does not have to be provided.
  • the processing apparatus 1 processes the work W by irradiating the work W with the processing light EL.
  • the processing apparatus 1 may process the work W by irradiating the work W with an arbitrary energy beam different from light.
  • the processing apparatus 1 may include a beam irradiation device that can irradiate an arbitrary energy beam in addition to or instead of the light source 11.
  • the optional energy beam may include, but is not limited to, a charged particle beam such as an electron beam, an ion beam, or an electromagnetic wave.
  • the processing system described in Clause 1 is a processing system that includes a processing device that processes an object and a measurement device that performs a measurement operation related to the processing by the processing device.
  • the processing system described in Clause 2 is the processing system described in Clause 1, further including an object placement device on which the object is placed.
  • the processing device processes an object placed on the object placing device, and the measuring device performs the measurement on the object placed on the object placing device. It is the processing system described in Clause 2 that operates.
  • the object placement device is movable between a processing execution position where the processing device performs processing and a measurement execution position where the measurement operation is performed by the measurement device. It is the processing system described in Clause 2 or 3.
  • the object placing device is located at the processing execution position in at least a part of a processing period in which the processing device processes the object, and the measuring device performs the measuring operation.
  • the processing system according to clause 4 wherein the processing system moves so as to be located at the measurement execution position in at least part of a measurement period to be performed.
  • the processing system according to Clause 6 is the processing according to Clause 4 or 5, wherein the object mounting device is movable between the processing execution position and the measurement execution position while the object is mounted. System.
  • the object mounting device can hold the object, and the object mounting device holds the object during at least a part of a processing period in which the processing device processes the object.
  • the holding mode according to any one of Clauses 2 to 6 is the same as the holding mode in which the object placing device holds the object in at least a part of a measurement period in which the measuring device performs the measuring operation. It is a processing system.
  • the processing system according to clause 8 is the processing system according to clause 7, wherein the holding mode includes a force for holding the object.
  • the processing system according to Clause 9 further includes a housing device that can house at least a part of the processing device, at least a part of the measuring device, and the object in a housing space. It is the described processing system.
  • the processing system according to clause 11 is the processing system according to any one of clauses 1 to 10, wherein the processing device processes the object based on a measurement result of the measuring device.
  • the processing system described in Clause 12 is the processing system according to any one of Clauses 1 to 11, in which the measurement operation by the measuring device and the processing of the object by the processing device are alternately repeated.
  • the processing system according to clause 13 is the processing system according to any one of clauses 1 to 12, which determines a processing target region to be processed by the processing device in the object based on a measurement result of the measurement device. Is.
  • the processing system described in Clause 14 is the processing system according to any one of Clauses 1 to 13 that determines the processing conditions of the processing apparatus based on the measurement result of the measurement apparatus.
  • the measuring device performs the measuring operation each time the processing device processes the object, and the processing device next detects the object based on the measurement result of the measuring device. 15.
  • the processing system according to clause 16 is the processing system according to any one of clauses 1 to 15, in which the measuring device measures the state of the object by performing the measuring operation.
  • the processing system according to clause 17 is the processing system according to clause 16, wherein the state of the object includes at least one of the position, shape, and size of the object.
  • the measuring device measures the state of one portion of the object and then measures the state of another portion of the object different from the one portion.
  • 16 or 17 is a processing system.
  • the processing system described in Clause 19 is the processing system described in Clause 18, in which the one portion and the other portion are adjacent to each other without overlapping each other.
  • the processing system described in Clause 20 is the processing system described in Clause 18, in which the one portion and the other portion are adjacent to each other while partially overlapping each other.
  • the processing system according to clause 21 is the processing system according to any one of clauses 1 to 20, wherein the processing device irradiates the object with an energy beam to process the object.
  • the processing system described in Clause 22 is the processing system described in Clause 21, in which the energy beam includes pulsed light that emits a pulse with a light emission time of femtosecond or less.
  • the processing system according to clause 23 is the processing system according to any one of clauses 1 to 22, wherein the measuring device includes a first measuring device and a second measuring device.
  • the processing system described in Clause 24 is the processing system described in Clause 23, in which the measurement resolution of the first measuring device is different from the measurement resolution of the second measuring device.
  • the processing system described in Clause 25 is the processing system according to Clause 23 or 24, in which the measurement range of the first measurement device is different from the measurement range of the second measurement device.
  • the measurement device performs the measurement operation to measure the position of the measurement target, and the measurement device is based on accuracy information regarding the accuracy of the measurement result of the position of the measurement target.
  • the processing system described in Clause 27 is the processing system described in Clause 26, in which the accuracy information includes information on the position of a predetermined reference plane.
  • the measurement device performs the measurement operation to measure the positions of the reference plane and the measurement target, and the measurement device provides information regarding the measurement result of the position of the reference plane. 28.
  • the processing system according to clause 29 is the processing system according to clause 27 or 28, further including an object placement device including a placement surface on which the object is placed and the reference surface.
  • the processing system according to clause 30 is the processing system according to any one of clauses 27 to 29, further including an object device on which the object is placed and a reference member including the reference surface.
  • the measuring device measures the position of the measurement target object in the one direction based on the accuracy information including information about a measurement result of the position of the reference plane in the one direction. 31.
  • the accuracy information includes information regarding accuracy of a measurement result of a position of the measurement target in one direction
  • the measuring device is configured to perform the one direction based on the accuracy information. 32.
  • the processing system described in article 33 is the processing system described in article 31 or 32 in which the one direction includes the gravity direction.
  • the processing system described in Clause 34 is the processing system according to any one of Clauses 26 to 33, in which the accuracy information includes information about the temperature of the measuring device.
  • the processing system described in Clause 35 is the processing system according to any one of Clauses 26 to 34, in which the measurement object includes the object.
  • the processing system according to clause 36 generates any one of first position information regarding a relative position between the processing device and the measuring device, and processes the object based on the first position information.
  • the processing system according to item generates any one of first position information regarding a relative position between the processing device and the measuring device, and processes the object based on the first position information.
  • the processing system described in Clause 37 is the processing system described in Clause 36 that generates the first position information using a predetermined marker.
  • the processing system specifies the relative position between the marker and the processing device using the marker and specifies the relative position between the marker and the measuring device using the marker, and then the marker.
  • the clause 37 for generating the first position information by specifying the relative position between the processing device and the measuring device based on the relative position between the processing device and the processing device and the relative position between the marker and the measuring device. It is the described processing system.
  • the processing system according to clause 39 further includes a position measuring device that measures a relative position between the processing device and the marker, and generates the first position information based on a measurement result of the first position measuring device. It is the processing system according to clause 37 or 38.
  • the processing system described in Clause 40 is the processing system described in Clause 39, in which the position measuring device images the marker and measures a relative position between the processing device and the marker.
  • the processing device irradiates an energy beam on a surface of the object to process the object, and the position measuring device irradiates the energy beam with a beam passing through the marker. 41.
  • the marker includes an opening formed in a predetermined surface, and the position measuring device detects the state of the energy beam through the opening to detect the marker and the processing device. 42.
  • the measuring device measures the relative position between the measuring device and the marker, and generates the first position information based on the measurement result of the measuring device.
  • the processing system according to any one of 1.
  • the processing system according to clause 44 is the processing system according to any one of clauses 37 to 43, in which the marker is formed on at least a part of the object.
  • the processing system according to clause 45 is the processing system according to clause 44, in which the marker includes a structure formed on the object by the processing of the processing device.
  • the processing system according to clause 46 is the processing system according to any one of clauses 37 to 45, in which the marker includes an opening formed on a predetermined surface.
  • the processing system according to clause 47 further comprises an object placement device including a placement surface on which the object is placed and a marker forming surface on which the marker is formed. It is a processing system.
  • the processing system according to clause 48 is the processing system according to any one of clauses 37 to 47, further including an object placement device on which the object is placed and a marker member on which the marker is formed.
  • the first position information is a relative value between the processing device and the measuring device in at least one of a first direction and a second direction intersecting the first direction. 49.
  • the processing system according to clause 50 further includes an object mounting device on which the object is mounted, and generates second position information regarding a relative position between at least one of the processing device and the measuring device and the object mounting device.
  • the processing system described in Clause 51 is the processing system described in Clause 50 that generates the second position information using a predetermined reference member.
  • the processing system according to clause 52 is the processing system according to clause 51, wherein the reference member is placed on the object placement device.
  • the processing system according to clause 53 is the processing system according to clause 51 or 52, in which the reference member is formed on the object placement device.
  • the processing system according to clause 54 is the processing system according to any one of clauses 51 to 53, in which the reference member includes a structure formed on the object by the processing of the processing device.
  • the reference member includes clauses 51 to 54 including a pattern member in which a predetermined pattern is formed on a surface along a mounting surface of the object mounting device on which the object is mounted.
  • the processing system according to any one of 1.
  • the reference member has a size along at least one of a direction along a mounting surface of the object mounting device on which the object is mounted and a direction intersecting with the mounting surface. 56.
  • the processing system according to clause 58 further includes a position measuring device that measures the state of the reference member, and any one of clauses 52 to 57 that generates the second position information based on a measurement result of the position measuring device. It is the processing system described in one item.
  • the second position information includes a first rotation direction around an axis along a first direction and an axis along a second direction intersecting the first direction.
  • the processing system according to any one of clauses 50 to 58 including information about a relative position between at least one of the processing device and the measuring device and the object mounting device in at least one of the second rotation directions of is there.
  • the processing system according to Clause 60 further includes an adhesion preventing device that prevents adhesion of a substance generated due to the processing of the object to a specific portion that is at least a part of the measuring device. 59.
  • the processing system according to Clause 61 is the processing system according to Clause 60, in which the specific portion includes a portion of the measuring device that causes deterioration of measurement accuracy when the substance adheres.
  • the processing system according to clause 62 is the processing system according to clause 60 or 61, in which the specific portion includes an optical surface of an optical system included in the measuring device.
  • the processing system according to clause 63 is the processing system according to any one of clauses 60 to 62, in which the adhesion prevention device includes a gas supply device that supplies gas.
  • the processing system according to clause 64 is the processing system according to clause 63, in which the gas supply device supplies gas so as to prevent the substance from entering the space between the specific portion and the object.
  • the processing system according to clause 65 is the processing system according to clause 63 or 64, wherein the gas supply device supplies gas so as to prevent the substance from entering the specific portion.
  • the processing system described in Clause 66 is the processing system according to any one of Clauses 63 to 65, in which the gas supply device supplies gas so as to blow off the substance attached to the specific portion.
  • the processing system according to Clause 67 is the processing system according to any one of Clauses 60 to 66, in which the adhesion preventing device includes a storage device that stores the specific portion in the internal space.
  • the processing system according to clause 68 is the processing system according to clause 67, wherein the storage device includes a partition wall portion that separates the space in which the object is generated from the internal space.
  • the measurement device performs measurement operation by irradiating the measurement light with the specific portion, and the storage device includes a passage portion through which the measurement light can pass.
  • 68 is a processing system.
  • the processing system according to clause 70 is the processing system according to clause 69, wherein the adhesion preventing device prevents the substance from entering the space between the passage portion and the object.
  • the processing system according to clause 71 is the processing system according to clause 70, in which the adhesion preventing device supplies gas so as to prevent the substance from entering the space between the passage portion and the object.
  • the processing system according to clause 72 is the processing system according to any one of clauses 69 to 71, in which the adhesion prevention device removes the substance adhering to the passage portion.
  • the processing system according to Clause 73 is the processing system according to Clause 72, in which the adhesion preventing device removes the substance by blowing gas to the passage portion and / or vibrating the passage portion.
  • the adhesion prevention device determines whether the substance adheres to the passage part based on light generated by irradiating the substance adhered to the passage part with the measurement light.
  • the processing system according to clause 72 or 73 wherein it is determined whether or not the substance is attached to the passage portion, and when the substance is attached to the passage portion, the substance attached to the passage portion is removed.
  • the processing system according to Clause 75 is the processing system according to any one of Clauses 1 to 74, further including a suction device that sucks a substance generated due to the processing of the object.
  • the processing device processes the object by irradiating the surface of the object with the energy beam while changing the amount of energy per unit area of the energy beam on the surface of the object,
  • the measuring device performs the measuring operation, measures the state of the object processed by the processing device, and determines the processing conditions of the processing device based on the measurement result of the measuring device.
  • the processing system according to Clause 77 is such that the processing device controls the energy beam so that the total energy amount applied to the object by the energy beam does not change before and after the change in the energy amount per unit area of the energy beam.
  • the processing system according to clause 76 which irradiates to process the object.
  • the processing device changes the relative position between the surface of the object and a focus position where the energy beam converges in a direction intersecting the surface of the object to change the surface of the object.
  • the processing system according to clause 76 or 77 which changes the amount of energy per unit area of the energy beam.
  • the processing device changes the relative position between the surface of the object and the focus position while fixing the characteristics of the energy beam other than the focus position, and changes the relative position on the surface of the object. 79.
  • the processing system according to clause 78 which changes the amount of energy per unit area of the energy beam.
  • the processing system according to Clause 80 is such that the processing device determines a relative position between the surface of the object and the focus position in a state where the focus position is located farther back than the surface of the object when viewed from the processing device.
  • the processing system according to clause 81 is the processing system according to any one of clauses 76 to 80, which determines the processing conditions of the processing device so that the processing amount of the object per unit energy by the processing device is maximized. It is a processing system.
  • the processing system described in Clause 82 is the processing system according to any one of Clauses 76 to 81, in which the state of the object includes a processing amount of the object by the processing device.
  • the processing system according to clause 83 is the processing system according to any one of clauses 76 to 82, in which the processing conditions include the amount of energy per unit area of the energy beam on the surface of the object.
  • the processing system according to clause 84 is such that the processing conditions are that the amount of energy per unit area of the energy beam on the surface of the object, the beam diameter of the energy beam on the surface of the object, and the energy beam is the object. 84.
  • the processing system determines the amount of energy per unit area of the energy beam on the surface of the object based on the measurement result of the measuring device, determines the beam diameter according to the processing content, and Clause 84 for determining the total amount of energy the energy beam imparts to the object such that the amount of energy of the energy beam having the determined beam diameter per unit area on the surface of the object is the determined amount of energy. It is the described processing system.
  • the processing device irradiates an energy beam on a surface of the object to process the object, and a mounting surface on which the object is mounted and an opening forming surface on which an opening is formed. Further comprising an object placement device including a beam detection device that detects a state of the energy beam through the opening, the processing device based on a detection result of the beam detection device. 87.
  • the processing system includes an object mounting device including a mounting surface on which an object is mounted and an opening forming surface in which an opening is formed, and the surface of the object is irradiated with an energy beam to process the object. And a beam detection device that detects the state of the energy beam through the opening, the processing device changing the characteristics of the energy beam based on the detection result of the beam detection device.
  • the processing system described in article 88 is the processing system described in article 86 or 87, in which the placement surface and the opening forming surface face the same direction.
  • the processing system according to clause 89 is the processing system according to any one of clauses 86 to 88, in which the object is not placed on the opening forming surface.
  • the processing system according to clause 90 is the processing system according to any one of clauses 86 to 89, wherein the processing device irradiates the energy beam so that the energy beam crosses the opening.
  • the processing device irradiates the surface of the object with an energy beam to process the object, and detects the state of the energy beam through an opening formed in a predetermined surface.
  • the processing device further includes a detection device, and the processing device irradiates the energy beam so that the energy beam crosses the opening and changes a characteristic of the energy beam based on a detection result of the beam detection device.
  • the processing system according to any one of 90.
  • the processing system according to Clause 92 includes a processing device that irradiates the surface of an object with an energy beam to process the object, and a beam detection device that detects a state of the energy beam through an opening formed in a predetermined surface.
  • the machining apparatus is a machining system that irradiates the energy beam so that the energy beam traverses the opening, and changes the characteristic of the energy beam based on a detection result of the beam detection apparatus.
  • the processing system according to clause 93 is the processing system according to any one of clauses 90 to 92, wherein the processing device deflects the energy beam so that the energy beam crosses the opening.
  • the processing device deflects the energy beam to direct the energy beam to the opening during at least a part of a period in which the relative position between the processing device and the opening is fixed.
  • Clause 95 is the processing system according to Clause 95, wherein the opening is along a surface of the object and a first opening extending along a first direction of extension along the surface of the object. Processing system according to any one of clauses 86 to 94, including a second opening extending along a second extending direction that intersects the extending direction of the.
  • the processing apparatus deflects the energy beam to irradiate the aperture with the energy beam, and the beam detection apparatus detects states of the plurality of energy beams having different deflection amounts.
  • the processing device according to any one of Clauses 86 to 95, wherein the processing device changes a state of the energy beam based on a detection result of the beam detection device in at least a part of a processing period for processing the object. It is a processing system.
  • the processing system according to Clause 97 is a processing apparatus that irradiates the surface of an object with the energy beam while deflecting the energy beam to process the object, and a beam that detects a state of the plurality of energy beams having different deflection amounts.
  • the processing apparatus is a processing system that includes a detection device, and that changes the characteristics of the energy beam based on a detection result of the beam detection device during at least a part of a processing period in which the object is processed.
  • the beam detection device sets a state of the energy beam in which a deflection amount is a first amount and a state of the energy beam in which a deflection amount is a second amount different from the first amount.
  • the processing device detects the state of the energy beam having the deflection amount of the first amount at the timing of irradiating the energy beam having the deflection amount of the first amount during the processing period.
  • the state of the energy beam is changed based on the detection result of the state of the energy beam whose deflection amount is the second amount at the timing of irradiating the energy beam whose deflection amount is the second amount.
  • the processing system according to clause 96 or 97 for changing the state of the energy beam.
  • the beam detection device changes a relative position between the processing device and the beam detection device in a direction intersecting with a traveling direction of the energy beam, and the plurality of the deflection amounts are different.
  • the processing system according to any one of clauses 96 to 98 for detecting a state of an energy beam.
  • the processing system according to clause 100 is the processing system according to any one of clauses 96 to 99, in which the state of the energy beam includes a focus position at which the energy beam converges.
  • the processing system described in Clause 101 is the processing system described in Clause 100, in which the processing apparatus changes the focus position to a desired position determined based on the detection result of the beam detection apparatus.
  • the beam detection device detects states of the plurality of energy beams having different focus positions, and the processing device determines the focus position by the plurality of energies by the beam detection device.
  • the processing system according to clause 100 or 101 changes to a desired position that is determined based on the detection result of the state of the beam.
  • the processing system described in Clause 103 is the processing system according to any one of Clauses 96 to 100, in which the state of the energy beam includes the intensity per unit area of the energy beam.
  • the processing system according to clause 104 is the processing system according to clause 103, in which the processing device changes the intensity to a desired intensity determined based on a detection result of the beam detection device.
  • the amount of energy per unit area of the energy beam on the detection surface of the beam detection device during the period in which the beam detection device detects the state of the energy beam is 105.
  • the processing system according to clause 106 is the processing system according to clause 105, further including an attenuator that attenuates the energy beam on a path of the energy beam between the processing device and the beam detection device.
  • the processing device includes a beam source that generates the energy beam, and the beam source is configured to output the energy beam during a period in which the beam detection device detects a state of the energy beam.
  • the energy beam is generated such that the amount of energy per unit area on the optical surface intersecting the traveling direction of is equal to the processing period for processing the object.
  • the processing device comprises a beam source for generating the energy beam, the beam source for the object during the period when the beam detection device detects the state of the energy beam.
  • the energy beam is generated with a smaller amount of energy per unit area on an optical surface intersecting the traveling direction of the energy beam, as compared with a processing period for processing.
  • the processing device irradiates the energy beam onto the surface of the object while deflecting the energy beam to process the object, and displays the state of the object processed by the processing device. Any one of Clauses 1 to 108 for changing the state of the energy beam based on the detection result of the measuring device during the processing period for processing the object, the processing device further comprising a measuring device for performing a measuring operation. It is the processing system according to item 1.
  • the measuring device measures a variation in a state of the object in a direction intersecting a surface of the object, and the processing device reduces the variation during the processing period.
  • the processing system according to clause 109 which changes the state of the energy beam based on the detection result of the measuring device.
  • the processing system described in Clause 111 is the processing system described in Clause 109 or 110 in which the state of the object includes the processing amount of the object by the processing device.
  • the processing device scans the surface of the object with the energy beam to process the object, and based on scanning position information regarding a scanning position of the energy beam, the processing device is 112.
  • the processing system according to any one of Clauses 1 to 111, further including a scanning position correction device that corrects a scanning position of the energy beam during at least a part of a processing period for processing the object.
  • the processing system according to Clause 113 is a processing device that scans a surface of an object with an energy beam to process the object, and the processing device processes the object based on scanning position information regarding a scanning position of the energy beam. And a scanning position correction device that corrects the scanning position of the energy beam in at least a part of the processing period.
  • the processing system according to clause 114 is the processing system according to clause 112 or 113, wherein the scanning position information is generated based on the state of the object after the processing device has processed the object.
  • the processing system according to clause 115 is the processing system according to clause 114, further including a measuring device that measures the state of the object processed by the processing device.
  • the processing system described in Clause 116 is the processing system described in Clause 115 in which the scanning position correction device generates the scanning position information based on the measurement result of the measuring device.
  • Clause 117 The processing system according to Clause 117, wherein the scanning position information is generated based on a detection result of a scanning position of the energy beam during at least a part of a period in which the energy beam scans the surface of the object.
  • the processing system according to any one of 112 to 116.
  • the scanning position information is generated based on a detection result of the scanning position of the energy beam in each of a plurality of regions having different positions in the direction along the surface of the object.
  • the processing system according to any one of 112 to 117.
  • the processing system according to clause 119 is the processing system according to clause 117 or 118, further including a scanning position detection device that detects a scanning position of the energy beam.
  • the processing system described in Clause 120 is the processing system described in Clause 119, in which the scanning position correcting device generates the scanning position information based on the detection result of the scanning position detecting device.
  • the processing system described in Clause 121 is the processing system described in Clause 119 or 120 including a plurality of the scanning position detecting devices.
  • the processing system according to clause 122 includes an object placing device on which the object is placed, and the scanning position detecting device according to any one of clauses 119 to 121 arranged in the object placing device. Processing system.
  • the processing system according to clause 123 is the processing system according to clause 122, wherein the object placement device includes a placement surface on which the object is placed and a device placement surface on which the scanning position detection device is placed. ..
  • the processing system according to Clause 124 is characterized in that the processing device compares the traveling direction of the energy beam during a period in which the scanning position detection device detects the scanning position of the energy beam with a period during which the object is processed. 124.
  • the processing system described in clause 125 is the processing system according to any one of clauses 112 to 124, wherein the scanning position information is generated based on the temperature of the processing device.
  • the processing system according to clause 126 is the processing system according to clause 125, wherein the scanning position information is generated based on the temperature of a scanning device that performs scanning with the energy beam in the processing device.
  • the processing system according to clause 127 is characterized in that the scanning position changing device is in at least one of one direction along a surface of the object and another direction along the surface of the object and intersecting the one direction. 127.
  • the processing device irradiates the energy beam emitted from a beam source to the object through an optical system to process the object, and the energy beam is applied to the object.
  • a return beam prevention device that prevents a return beam from an object from returning to at least one of the beam source and the irradiation optical system.
  • the processing system according to Clause 129 further includes an observation device in which the processing device irradiates the energy beam to the object via an optical system to process the object, and observes the object via the optical system.
  • the processing device includes a removal process for removing at least a part of the object, a joining process for joining the object and another object, an additional process for adding a material to the object, and
  • SYS Processing system 1 Processing device 11 Light source 12 Optical system 121 Beam expander 122 Focus lens 13 Dichroic mirror 14 Optical system 141 Galvano mirror 142 f ⁇ lens 15 Return light prevention device 16 Observation device 2, 21-1, 21-2 Measuring device 3 Stage device 32 Stage 4 Housing 7 Control device W Work EL Processing light

Landscapes

  • Engineering & Computer Science (AREA)
  • Physics & Mathematics (AREA)
  • Optics & Photonics (AREA)
  • Plasma & Fusion (AREA)
  • Mechanical Engineering (AREA)
  • Chemical & Material Sciences (AREA)
  • Chemical Kinetics & Catalysis (AREA)
  • General Chemical & Material Sciences (AREA)
  • Oil, Petroleum & Natural Gas (AREA)
  • Laser Beam Processing (AREA)
  • Length Measuring Devices By Optical Means (AREA)
  • Exposure And Positioning Against Photoresist Photosensitive Materials (AREA)
PCT/JP2018/040626 2018-10-31 2018-10-31 加工システム、及び、加工方法 Ceased WO2020090075A1 (ja)

Priority Applications (16)

Application Number Priority Date Filing Date Title
PCT/JP2018/040626 WO2020090075A1 (ja) 2018-10-31 2018-10-31 加工システム、及び、加工方法
JP2020554701A JP7235054B2 (ja) 2018-10-31 2018-10-31 加工システム、及び、加工方法
TW108139328A TW202017683A (zh) 2018-10-31 2019-10-30 加工系統以及加工方法
CN202311168924.8A CN117182292A (zh) 2018-10-31 2019-10-31 加工系统
PCT/JP2019/042736 WO2020090962A1 (ja) 2018-10-31 2019-10-31 加工システム、及び、加工方法
JP2020554025A JP7409315B2 (ja) 2018-10-31 2019-10-31 加工システム、及び、加工方法
CN202311168926.7A CN117226248A (zh) 2018-10-31 2019-10-31 加工系统以及测量系统
EP19880538.4A EP3875207A4 (en) 2018-10-31 2019-10-31 Processing system and processing method
CN202311168921.4A CN117245209A (zh) 2018-10-31 2019-10-31 加工系统
CN201980071312.2A CN112930242B (zh) 2018-10-31 2019-10-31 加工系统以及加工方法
US17/286,502 US12397367B2 (en) 2018-10-31 2019-10-31 Processing system and processing method
JP2023025263A JP7552756B2 (ja) 2018-10-31 2023-02-21 加工システム、及び、加工方法
JP2023212250A JP7613546B2 (ja) 2018-10-31 2023-12-15 加工システム、及び、加工方法
JP2024151345A JP2024160010A (ja) 2018-10-31 2024-09-03 加工システム、及び、加工方法
JP2024230394A JP2025031984A (ja) 2018-10-31 2024-12-26 加工システム、及び、加工方法
US19/250,308 US20250339920A1 (en) 2018-10-31 2025-06-26 Processing system and processing method

Applications Claiming Priority (1)

Application Number Priority Date Filing Date Title
PCT/JP2018/040626 WO2020090075A1 (ja) 2018-10-31 2018-10-31 加工システム、及び、加工方法

Publications (1)

Publication Number Publication Date
WO2020090075A1 true WO2020090075A1 (ja) 2020-05-07

Family

ID=70463641

Family Applications (2)

Application Number Title Priority Date Filing Date
PCT/JP2018/040626 Ceased WO2020090075A1 (ja) 2018-10-31 2018-10-31 加工システム、及び、加工方法
PCT/JP2019/042736 Ceased WO2020090962A1 (ja) 2018-10-31 2019-10-31 加工システム、及び、加工方法

Family Applications After (1)

Application Number Title Priority Date Filing Date
PCT/JP2019/042736 Ceased WO2020090962A1 (ja) 2018-10-31 2019-10-31 加工システム、及び、加工方法

Country Status (6)

Country Link
US (2) US12397367B2 (enExample)
EP (1) EP3875207A4 (enExample)
JP (6) JP7235054B2 (enExample)
CN (4) CN112930242B (enExample)
TW (1) TW202017683A (enExample)
WO (2) WO2020090075A1 (enExample)

Cited By (1)

* Cited by examiner, † Cited by third party
Publication number Priority date Publication date Assignee Title
WO2025094320A1 (ja) * 2023-11-01 2025-05-08 株式会社ニコン データ生成方法、コンピュータプログラム、記録媒体及び加工装置

Families Citing this family (12)

* Cited by examiner, † Cited by third party
Publication number Priority date Publication date Assignee Title
NL2022663A (en) * 2018-03-29 2019-10-03 Asml Netherlands Bv Position measurement system, interferometer system and lithographic apparatus
JP7515074B2 (ja) * 2020-06-19 2024-07-12 パナソニックIpマネジメント株式会社 レーザ溶接方法および装置
KR20220039966A (ko) * 2020-09-22 2022-03-30 삼성디스플레이 주식회사 빔 교정부를 포함하는 레이저 장치 및 이를 이용한 레이저 조사 방법
WO2022086557A1 (en) * 2020-10-23 2022-04-28 Hewlett-Packard Development Company, L.P. Scanning systems
KR102518030B1 (ko) * 2021-03-25 2023-04-05 한국광기술원 선박의 용접선 작업 처리용 이동 장치
JPWO2023037541A1 (enExample) * 2021-09-13 2023-03-16
JP7786586B2 (ja) * 2022-07-14 2025-12-16 株式会社ニコン 造形システム
JPWO2024013930A1 (enExample) * 2022-07-14 2024-01-18
CN115255772B (zh) * 2022-07-29 2024-03-22 中国原子能科学研究院 用于放射性样品焊接夹具的自动拧紧装置及自动拧紧方法
WO2025069363A1 (en) * 2023-09-29 2025-04-03 Nikon Corporation Beam scanning apparatus, processing apparatus, and processing method
WO2025079245A1 (ja) * 2023-10-13 2025-04-17 株式会社ニコン 加工システム
CN117564489B (zh) * 2024-01-15 2024-03-26 鑫业诚智能装备(无锡)有限公司 一种半导体晶圆激光打标设备

Citations (3)

* Cited by examiner, † Cited by third party
Publication number Priority date Publication date Assignee Title
JPH1015684A (ja) * 1996-07-01 1998-01-20 Nikon Corp レーザ加工装置
JPH115185A (ja) * 1997-06-11 1999-01-12 Nikon Corp レーザ加工装置
JP2016215251A (ja) * 2015-05-22 2016-12-22 三菱重工業株式会社 レーザ切断装置

Family Cites Families (32)

* Cited by examiner, † Cited by third party
Publication number Priority date Publication date Assignee Title
JP3518079B2 (ja) * 1995-07-20 2004-04-12 株式会社デンソー レーザ加工方法
JPH1058174A (ja) * 1996-08-27 1998-03-03 Nikon Corp レーザ加工装置
JP3410989B2 (ja) 1999-08-02 2003-05-26 住友重機械工業株式会社 精密レーザ照射装置及び制御方法
US7456949B2 (en) * 1999-09-14 2008-11-25 Amo Manufacturing Usa, Llc Methods and systems for laser calibration and eye tracker camera alignment
JP3686317B2 (ja) 2000-08-10 2005-08-24 三菱重工業株式会社 レーザ加工ヘッド及びこれを備えたレーザ加工装置
JP2002067171A (ja) 2000-08-25 2002-03-05 Canon Inc 目的物生成装置、目的物生成方法、及び記憶媒体
US20030038121A1 (en) * 2001-01-16 2003-02-27 Christensen C. Paul Laser system and method for marking gemstones
JP2002347128A (ja) 2001-05-24 2002-12-04 Nakakin:Kk 光造形品とその製造方法
US20050205778A1 (en) * 2003-10-17 2005-09-22 Gsi Lumonics Corporation Laser trim motion, calibration, imaging, and fixturing techniques
JP2006337873A (ja) * 2005-06-03 2006-12-14 Fujifilm Holdings Corp 露光装置及び露光方法
SG172681A1 (en) * 2006-06-09 2011-07-28 Nikon Corp Movable-body apparatus, exposure apparatus, exposure method, and device manufacturing method
JP2008055436A (ja) 2006-08-29 2008-03-13 Sharp Corp レーザ照射装置
JP2008093682A (ja) * 2006-10-10 2008-04-24 Tokyo Electron Ltd レーザ発光装置の位置調整方法
US8098362B2 (en) * 2007-05-30 2012-01-17 Nikon Corporation Detection device, movable body apparatus, pattern formation apparatus and pattern formation method, exposure apparatus and exposure method, and device manufacturing method
US8053279B2 (en) * 2007-06-19 2011-11-08 Micron Technology, Inc. Methods and systems for imaging and cutting semiconductor wafers and other semiconductor workpieces
US8378252B2 (en) * 2009-05-29 2013-02-19 Electro Scientific Industries, Inc. Method and apparatus for hybrid resolution feedback of a motion stage
US20100326962A1 (en) * 2009-06-24 2010-12-30 General Electric Company Welding control system
CN103079746A (zh) 2010-09-01 2013-05-01 三菱电机株式会社 激光加工装置及基板位置检测方法
JP6218770B2 (ja) 2014-06-23 2017-10-25 三菱電機株式会社 レーザ加工装置
US10252466B2 (en) 2014-07-28 2019-04-09 Massachusetts Institute Of Technology Systems and methods of machine vision assisted additive fabrication
CN106922135B (zh) * 2014-11-14 2020-07-14 株式会社尼康 造型装置及造型方法
WO2016121116A1 (ja) * 2015-01-30 2016-08-04 株式会社牧野フライス製作所 レーザ加工機およびアライメント調整方法
US11148223B2 (en) * 2015-01-30 2021-10-19 Makino Milling Machine Co., Ltd. Laser beam machine and alignment adjusting meihod
JP5947941B1 (ja) 2015-03-26 2016-07-06 Dmg森精機株式会社 付加加工用ヘッドおよび加工機械
JP5807134B1 (ja) 2015-04-30 2015-11-10 アイエムエス ソフトウェア サービシズ リミテッド 情報処理装置、情報処理方法及びプログラム
JP5948462B1 (ja) 2015-05-19 2016-07-06 株式会社ソディック 積層造形装置
DE102015012565B3 (de) * 2015-09-25 2016-10-27 Lessmüller Lasertechnik GmbH Vorrichtung und Verfahren zur Erhöhung der Genauigkeit eines OCT-Messsystems für die Lasermaterialbearbeitung
EP3383573B1 (en) 2015-12-04 2023-11-08 Raytheon Company Electron beam additive manufacturing
JP6348101B2 (ja) 2015-12-17 2018-06-27 ファナック株式会社 ワークの傾きを考慮したギャップ制御軸の落下防止機能を備えた制御装置
JP6412049B2 (ja) 2016-04-14 2018-10-24 ファナック株式会社 金属粉を供給しながらレーザを照射する加工部を移動させて積層造形を行う積層造形加工方法及び積層造形加工装置
JP6809952B2 (ja) * 2017-03-23 2021-01-06 住友重機械工業株式会社 レーザ加工装置
JP7036129B2 (ja) 2018-01-31 2022-03-15 株式会社ニコン 加工システム、及び、加工方法

Patent Citations (3)

* Cited by examiner, † Cited by third party
Publication number Priority date Publication date Assignee Title
JPH1015684A (ja) * 1996-07-01 1998-01-20 Nikon Corp レーザ加工装置
JPH115185A (ja) * 1997-06-11 1999-01-12 Nikon Corp レーザ加工装置
JP2016215251A (ja) * 2015-05-22 2016-12-22 三菱重工業株式会社 レーザ切断装置

Cited By (1)

* Cited by examiner, † Cited by third party
Publication number Priority date Publication date Assignee Title
WO2025094320A1 (ja) * 2023-11-01 2025-05-08 株式会社ニコン データ生成方法、コンピュータプログラム、記録媒体及び加工装置

Also Published As

Publication number Publication date
CN112930242B (zh) 2023-09-29
JP7235054B2 (ja) 2023-03-08
EP3875207A4 (en) 2022-12-14
JP7613546B2 (ja) 2025-01-15
TW202017683A (zh) 2020-05-16
JPWO2020090075A1 (ja) 2021-09-24
CN117226248A (zh) 2023-12-15
JP2024019574A (ja) 2024-02-09
JP7409315B2 (ja) 2024-01-09
CN117182292A (zh) 2023-12-08
CN112930242A (zh) 2021-06-08
EP3875207A1 (en) 2021-09-08
JP2025031984A (ja) 2025-03-07
CN117245209A (zh) 2023-12-19
JPWO2020090962A1 (ja) 2021-09-24
WO2020090962A1 (ja) 2020-05-07
US20210379693A1 (en) 2021-12-09
US20250339920A1 (en) 2025-11-06
JP7552756B2 (ja) 2024-09-18
JP2024160010A (ja) 2024-11-08
JP2023057171A (ja) 2023-04-20
US12397367B2 (en) 2025-08-26

Similar Documents

Publication Publication Date Title
JP7552756B2 (ja) 加工システム、及び、加工方法
JP7310829B2 (ja) 加工システム、及び、加工方法
JP5743123B1 (ja) レーザーダイシング装置及びダイシング方法
JP4199820B2 (ja) レーザー加工装置及びレーザー加工方法
JP2023164910A (ja) 加工装置及び加工方法
KR101485451B1 (ko) 레이저 다이싱 장치 및 다이싱 방법
JP2021087982A (ja) レーザー加工装置の調整方法
JP2021030295A (ja) レーザ加工装置および光学調整方法
JP2007232629A (ja) レンズ形状測定装置
TW202347906A (zh) 雷射光的光軸調整方法及裝置

Legal Events

Date Code Title Description
121 Ep: the epo has been informed by wipo that ep was designated in this application

Ref document number: 18938467

Country of ref document: EP

Kind code of ref document: A1

ENP Entry into the national phase

Ref document number: 2020554701

Country of ref document: JP

Kind code of ref document: A

NENP Non-entry into the national phase

Ref country code: DE

122 Ep: pct application non-entry in european phase

Ref document number: 18938467

Country of ref document: EP

Kind code of ref document: A1