WO2019167568A1 - ブレーカー及びそれを備えた安全回路 - Google Patents

ブレーカー及びそれを備えた安全回路 Download PDF

Info

Publication number
WO2019167568A1
WO2019167568A1 PCT/JP2019/004073 JP2019004073W WO2019167568A1 WO 2019167568 A1 WO2019167568 A1 WO 2019167568A1 JP 2019004073 W JP2019004073 W JP 2019004073W WO 2019167568 A1 WO2019167568 A1 WO 2019167568A1
Authority
WO
WIPO (PCT)
Prior art keywords
case
piece
breaker
movable
terminal
Prior art date
Legal status (The legal status is an assumption and is not a legal conclusion. Google has not performed a legal analysis and makes no representation as to the accuracy of the status listed.)
Ceased
Application number
PCT/JP2019/004073
Other languages
English (en)
French (fr)
Japanese (ja)
Inventor
勝史 浪川
Current Assignee (The listed assignees may be inaccurate. Google has not performed a legal analysis and makes no representation or warranty as to the accuracy of the list.)
Bourns KK
Original Assignee
Bourns KK
Priority date (The priority date is an assumption and is not a legal conclusion. Google has not performed a legal analysis and makes no representation as to the accuracy of the date listed.)
Filing date
Publication date
Application filed by Bourns KK filed Critical Bourns KK
Priority to CN201980008782.4A priority Critical patent/CN111615737B/zh
Priority to US16/976,011 priority patent/US11239037B2/en
Publication of WO2019167568A1 publication Critical patent/WO2019167568A1/ja
Anticipated expiration legal-status Critical
Ceased legal-status Critical Current

Links

Images

Classifications

    • HELECTRICITY
    • H01ELECTRIC ELEMENTS
    • H01HELECTRIC SWITCHES; RELAYS; SELECTORS; EMERGENCY PROTECTIVE DEVICES
    • H01H37/00Thermally-actuated switches
    • H01H37/02Details
    • H01H37/32Thermally-sensitive members
    • H01H37/52Thermally-sensitive members actuated due to deflection of bimetallic element
    • H01H37/54Thermally-sensitive members actuated due to deflection of bimetallic element wherein the bimetallic element is inherently snap acting
    • H01H37/5427Thermally-sensitive members actuated due to deflection of bimetallic element wherein the bimetallic element is inherently snap acting encapsulated in sealed miniaturised housing
    • HELECTRICITY
    • H01ELECTRIC ELEMENTS
    • H01HELECTRIC SWITCHES; RELAYS; SELECTORS; EMERGENCY PROTECTIVE DEVICES
    • H01H1/00Contacts
    • H01H1/50Means for increasing contact pressure, preventing vibration of contacts, holding contacts together after engagement, or biasing contacts to the open position
    • H01H1/504Means for increasing contact pressure, preventing vibration of contacts, holding contacts together after engagement, or biasing contacts to the open position by thermal means
    • HELECTRICITY
    • H01ELECTRIC ELEMENTS
    • H01HELECTRIC SWITCHES; RELAYS; SELECTORS; EMERGENCY PROTECTIVE DEVICES
    • H01H37/00Thermally-actuated switches
    • H01H37/02Details
    • H01H37/04Bases; Housings; Mountings
    • HELECTRICITY
    • H01ELECTRIC ELEMENTS
    • H01HELECTRIC SWITCHES; RELAYS; SELECTORS; EMERGENCY PROTECTIVE DEVICES
    • H01H71/00Details of the protective switches or relays covered by groups H01H73/00 - H01H83/00
    • H01H71/02Housings; Casings; Bases; Mountings
    • HELECTRICITY
    • H01ELECTRIC ELEMENTS
    • H01HELECTRIC SWITCHES; RELAYS; SELECTORS; EMERGENCY PROTECTIVE DEVICES
    • H01H2229/00Manufacturing
    • H01H2229/044Injection moulding
    • H01H2229/048Insertion moulding

Definitions

  • the present invention relates to a small breaker suitable for use in a safety circuit of electrical equipment.
  • a breaker is used as a protection device (safety circuit) for secondary batteries and motors of various electric devices.
  • a protection device safety circuit
  • Breakers used as such protective devices operate accurately following temperature changes (having good temperature characteristics) and have stable resistance when energized to ensure the safety of the equipment. It is required to be.
  • Patent Document 1 discloses a breaker to which a bimetal is applied as a thermally responsive element.
  • Bimetal is an element that is formed by laminating two types of plate-like metal materials having different coefficients of thermal expansion, and controls the conduction state of the contact by changing the shape in accordance with a temperature change.
  • the breaker shown in the same document is a case in which parts such as a fixed piece, a terminal piece, a movable piece, a thermally responsive element, and a PTC thermistor are housed in a case, and the terminals of the fixed piece and the terminal piece protrude from the case. Used by connecting to the electrical circuit of equipment.
  • the breaker when used as a protection device for a secondary battery or the like installed in an electric device such as a thin-type multifunctional mobile phone called a notebook personal computer, a tablet-type portable information terminal device, or a smartphone, the above-described case is used.
  • miniaturization is required.
  • users have a strong desire for miniaturization (thinning), and devices newly released by each company are designed to be small in order to ensure superiority in design. The tendency to be remarkable is remarkable.
  • breakers that are mounted together with secondary batteries as one component of portable information terminal devices are also strongly required to be further miniaturized.
  • ⁇ Breakers that require a smaller case tend to lower the rigidity and strength (pressure resistance) of the case. Therefore, in the breaker disclosed in Patent Document 1, a cover piece is embedded in the top wall in order to compensate for a decrease in pressure resistance of the case.
  • the present invention has been made to solve the above-described problems, and has as its main object to provide a breaker capable of improving the pressure resistance of the case while enhancing the temperature characteristics.
  • the present invention includes a fixed contact, a plate-like elastic portion that is elastically deformed, and a movable contact at one end of the elastic portion, and presses the movable contact against the fixed contact.
  • the movable piece that is brought into contact with the movable piece and heat that causes the movable piece to shift from a conductive state in which the movable contact contacts the fixed contact to an interrupted state in which the movable contact is separated from the fixed contact by being deformed as the temperature changes.
  • a breaker comprising a responding element and a case that accommodates the fixed contact, the movable piece, and the thermal sensitive element, the case having a side wall extending in a longitudinal direction of the movable piece, Protruding portions projecting outward from the case are provided around the thermoresponsive element.
  • the case has a top wall that intersects the side wall, a cover piece formed in a plate shape is embedded in the top wall, and the cover piece has the convex portion. It has a wide part extended in the direction to protrude, and it is desirable that the length of the wide part in the longitudinal direction is larger than the length of the convex part in the longitudinal direction.
  • the case includes a first resin case having a housing recess for housing the thermally responsive element, and a second resin case fixed to the first resin case and covering the housing recess. It is desirable that the convex portion is provided in the first resin case, and the top wall is provided in the second resin case.
  • the first resin case further includes a terminal piece having a bottom wall intersecting the side wall, and having a terminal exposed from the bottom wall and connected to an external circuit, As viewed from the thickness direction of the part, it is desirable that the wide part overlaps at least a part of the terminal piece.
  • a resin is filled in a region where the wide portion and the terminal piece overlap.
  • the terminal piece has a bent portion bent toward the wide portion.
  • the wide portion overlaps the bent portion as viewed from the thickness direction of the elastic portion.
  • the terminal piece is embedded in the convex portion.
  • a safety circuit for an electrical device includes the above breaker.
  • the side wall of the case is formed with a convex portion protruding outward from the case around the thermal response element, so that the thickness of the side wall around the thermal response element is easy.
  • the rigidity and strength of the case can be increased.
  • the internal volume of a case can be easily increased by the said convex part, and it becomes possible to employ
  • FIG. 8 is a cross-sectional view taken along line AA in FIG. 7.
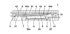
  • FIGS. 1 and 4 show the configuration of the breaker.
  • the breaker 1 includes a pair of terminals 22 and 32 that are partially exposed from the case 10 to the outside.
  • the terminals 22 and 32 are electrically connected to an external circuit (not shown)
  • the breaker 1 constitutes a main part of a safety circuit of the electric device.
  • the breaker 1 has a first terminal piece (fixed piece) 2 having a fixed contact 21 and a terminal 22, a second terminal piece 3 having a terminal 32, and a movable contact 41 at the tip.
  • the movable piece 4 the thermally responsive element 5 that deforms with temperature change, the PTC (PositivePoTemperature Coefficient) thermistor 6, the first terminal piece 2, the second terminal piece 3, the movable piece 4, the thermally responsive element 5 and It is comprised by the case 10 etc. which accommodate the PTC thermistor 6.
  • the case 10 includes a case main body (first resin case) 7, a lid member (second resin case) 8 attached to the upper surface of the case main body 7, and the like.
  • the first terminal piece 2 is formed by, for example, pressing a metal plate mainly composed of copper or the like (other metal plate such as copper-titanium alloy, white or brass), and is inserted into the case body 7. Embedded by molding.
  • the fixed contact 21 is formed by cladding, plating or coating of a material having good conductivity such as copper, silver alloy, gold-silver alloy, in addition to silver, nickel, nickel-silver alloy.
  • the fixed contact 21 is formed at a position facing the movable contact 41 of the first terminal piece 2, and is exposed to the accommodating recess 73 of the case body 7 from a part of the opening 73 a formed inside the case body 7. .
  • the fixed contact 21 and the terminal 22 are arranged at different heights by stepped portions (not shown) embedded in the case body 7.
  • the surface on which the fixed contact 21 is formed (that is, the upper surface in FIG. 1) is the first surface, and the opposite bottom surface is the first surface. It is described as two sides. The same applies to other parts, for example, the second terminal piece 3, the movable piece 4, the thermally responsive element 5, the case 10, the cover piece 9, and the like.
  • the terminal 22 is exposed in a rectangular shape from the bottom wall 16 of the case body 7 and is connected to a land portion of the circuit board by a method such as soldering.
  • a pair of terminals 22 are juxtaposed in the short direction of the breaker 1.
  • the first terminal piece 2 includes a step bent portion 25 bent in a step shape (a crank shape in a side view) and a support portion 26 that supports the PTC thermistor 6.
  • the step bending part 25 connects the fixed contact 21 and the support part 26, and arranges the fixed contact 21 and the support part 26 at different heights.
  • the PTC thermistor 6 is placed on the convex protrusions (dowels) 26a formed at three places on the support portion 26 and supported by the protrusions 26a.
  • the second terminal piece 3 is formed by pressing a metal plate mainly composed of copper or the like, and is embedded in the case body 7 by insert molding.
  • the second terminal piece 3 has a connection portion 31 connected to the movable piece 4 and a terminal 32.
  • the connection portion 31 and the terminal 32 are arranged at different heights by stepped bending portions (not shown) embedded in the case body 7.
  • connection part 31 is exposed to the housing recess 73 of the case body 7 from a part of the opening 73b formed inside the case body 7, and is electrically connected to the movable piece 4.
  • the terminal 32 is exposed in a rectangular shape from the bottom wall 16 of the case body 7, and is connected to a land portion of the circuit board by a method such as soldering.
  • a pair of terminals 32 are juxtaposed in the short direction of the breaker 1.
  • the movable piece 4 is formed in a plate shape by pressing a metal material mainly composed of copper or the like.
  • the movable piece 4 is formed in an arm shape symmetrical to the center line in the longitudinal direction.
  • a movable contact 41 is formed at one end of the movable piece 4.
  • the movable contact 41 is formed on the second surface of the movable piece 4 by the same material as that of the fixed contact 21, and is joined to the tip of the movable piece 4 by a method such as clad or crimping other than welding.
  • connection portion 42 that is electrically connected to the connection portion 31 of the second terminal piece 3 is formed.
  • the first surface of the connection portion 31 of the second terminal piece 3 and the second surface of the connection portion 42 of the movable piece 4 are fixed by, for example, laser welding.
  • Laser welding is a welding technique in which workpieces are joined by irradiating the workpieces with laser light (in this embodiment, the second terminal piece 3 and the movable piece 4 are equivalent) and locally melting and solidifying the workpieces. is there.
  • a laser welding mark having a form different from the welding mark by other welding technique (for example, resistance welding using Joule heat) is formed.
  • the movable piece 4 has an elastic portion 43 between the movable contact 41 and the connection portion 42.
  • the elastic portion 43 extends from the connection portion 42 to the movable contact 41 side.
  • the connection part 42 is provided on the opposite side to the movable contact 41 across the elastic part 43.
  • the movable piece 4 is fixed by being fixed to the connection portion 31 of the second terminal piece 3 at the connection portion 42, and the elastic contact 43 is elastically deformed, whereby the movable contact 41 formed at the tip thereof is fixed contact 21.
  • the first terminal piece 2 and the movable piece 4 can be energized. Since the movable piece 4 and the second terminal piece 3 are electrically connected at the connecting portion 31 and the connecting portion 42, the first terminal piece 2 and the second terminal piece 3 can be energized.
  • the movable piece 4 is bent or bent at the elastic portion 43 by pressing.
  • the degree of bending or bending is not particularly limited as long as the thermally responsive element 5 can be accommodated, and may be appropriately set in consideration of the elastic force at the operating temperature and the return temperature, the pressing force of the contact point, and the like.
  • a pair of protrusions (contact portions) 44 a and 44 b are formed on the second surface of the elastic portion 43 so as to face the thermal response element 5. The protrusions 44a and 44b and the thermally responsive element 5 come into contact with each other, and the deformation of the thermally responsive element 5 is transmitted to the elastic portion 43 through the protrusions 44a and 44b (see FIGS. 1 and 3).
  • the thermally responsive element 5 shifts from a conductive state in which the movable contact 41 contacts the fixed contact 21 to an interrupted state in which the movable contact 41 is separated from the fixed contact 21.
  • the thermally responsive element 5 has an initial shape curved in an arc shape and is formed by laminating thin plate materials having different thermal expansion coefficients. When the operating temperature is reached due to overheating, the curved shape of the thermally responsive element 5 is warped in reverse with a snap motion, and is restored when the temperature falls below the return temperature due to cooling.
  • the initial shape of the thermoresponsive element 5 can be formed by pressing.
  • the material and shape of the thermal response element 5 are particularly limited.
  • the rectangular shape is desirable from the viewpoint of productivity and the efficiency of the reverse warping operation, and it is desirable that the rectangular shape is close to a square in order to efficiently push up the elastic portion 43 while being small.
  • the material of the thermally responsive element 5 include, for example, copper, nickel-manganese alloy or nickel-chromium-iron alloy on the high expansion side and iron-nickel alloy on the low expansion side, white, brass, stainless steel.
  • a laminate of two types of materials having different coefficients of thermal expansion made of various alloys such as steel is used in combination according to the required conditions.
  • the PTC thermistor 6 makes the first terminal piece 2 and the movable piece 4 conductive when the movable piece 4 is in the cut-off state.
  • the PTC thermistor 6 is disposed between the support portion 26 of the first terminal piece 2 and the thermally responsive element 5. In other words, the support portion 26 is located directly below the thermally responsive element 5 with the PTC thermistor 6 interposed therebetween.
  • the PTC thermistor 6 is a positive temperature coefficient thermistor that increases the resistance value as the temperature rises and limits the current
  • the type of operating current, operating voltage, operating temperature, return temperature, etc. can be selected as required.
  • the material and shape are not particularly limited as long as these properties are not impaired.
  • a ceramic sintered body containing barium titanate, strontium titanate or calcium titanate is used.
  • a so-called polymer PTC in which conductive particles such as carbon are contained in a polymer may be used.
  • the case main body 7 and the lid member 8 constituting the case 10 are formed of a thermoplastic resin such as flame retardant polyamide, polyphenylene sulfide (PPS), liquid crystal polymer (LCP), polybutylene terephthalate (PBT) having excellent heat resistance.
  • a thermoplastic resin such as flame retardant polyamide, polyphenylene sulfide (PPS), liquid crystal polymer (LCP), polybutylene terephthalate (PBT) having excellent heat resistance.
  • PPS polyphenylene sulfide
  • LCP liquid crystal polymer
  • PBT polybutylene terephthalate
  • the housing body 7 is formed with a housing recess 73 that is an internal space for housing the movable piece 4, the thermally responsive element 5, the PTC thermistor 6, and the like.
  • the housing recess 73 has openings 73 a and 73 b for housing the movable piece 4, an opening 73 c for housing the movable piece 4 and the thermally responsive element 5, an opening 73 d for housing the PTC thermistor 6, and the like. doing. Note that the edges of the movable piece 4 and the heat-responsive element 5 incorporated in the case body 7 are brought into contact with each other by a frame formed inside the housing recess 73, and are guided when the heat-responsive element 5 is reversely warped. .
  • a cover piece 9 is embedded in the lid member 8 by insert molding.
  • the cover piece 9 is formed in a plate shape by pressing a metal such as the above-described copper or the like, or a metal such as stainless steel. As shown in FIGS. 2 and 3, the cover piece 9 abuts on the first surface of the movable piece 4 as appropriate, restricts the movement of the movable piece 4, and the rigidity of the case 10 as a casing as well as the case 10. -Contributes to downsizing of breaker 1 while increasing strength.
  • the openings 73a, 73b, 73c, etc. of the case body 7 containing the first terminal piece 2, the second terminal piece 3, the movable piece 4, the thermally responsive element 5, the PTC thermistor 6, etc. are closed.
  • the lid member 8 is attached to the case body 7.
  • the case body 7 and the lid member 8 are joined by, for example, ultrasonic welding. At this time, the case main body 7 and the lid member 8 are continuously joined over the entire circumference of each outer edge portion, and the airtightness of the case 10 is improved.
  • the internal space of the case 10 provided by the housing recess 73 is sealed, and components such as the movable piece 4, the thermally responsive element 5, and the PTC thermistor 6 are shielded from the atmosphere outside the case 10 and can be protected.
  • the resin is entirely disposed on the first surface side of the cover piece 9, the airtightness of the housing recess 73 is further enhanced.
  • FIG. 2 shows the operation of the breaker 1 in a normal charging or discharging state.
  • the thermally responsive element 5 maintains its initial shape (before reverse warping).
  • the cover piece 9 is provided with a protruding portion 91 that contacts the top portion 43a of the movable piece 4 and presses the top portion 43a toward the heat-responsive element 5 side.
  • the protruding portion 91 presses the top portion 43a
  • the elastic portion 43 is elastically deformed, and the movable contact 41 formed at the tip thereof is pressed and contacts the fixed contact 21 side. Accordingly, the first terminal piece 2 and the second terminal piece 3 of the breaker 1 are electrically connected through the elastic portion 43 of the movable piece 4 and the like.
  • the elastic part 43 of the movable piece 4 and the thermally responsive element 5 are in contact with each other, and the movable piece 4, the thermally responsive element 5, the PTC thermistor 6 and the first terminal piece 2 may be conducted as a circuit.
  • the resistance of the PTC thermistor 6 is overwhelmingly larger than the resistance of the movable piece 4, the current flowing through the PTC thermistor 6 is substantially larger than the amount flowing through the fixed contact 21 and the movable contact 41. It can be ignored.
  • FIG. 3 shows the operation of the breaker 1 in an overcharged state or an abnormality.
  • the thermally responsive element 5 that has reached the operating temperature is reversely warped, and the elastic portion 43 of the movable piece 4 is pushed up to separate the fixed contact 21 and the movable contact 41.
  • the operating temperature of the thermally responsive element 5 when the thermally responsive element 5 is deformed inside the breaker 1 and the movable piece 4 is pushed up is, for example, 70 ° C. to 90 ° C.
  • the current flowing between the fixed contact 21 and the movable contact 41 is interrupted, and a slight leakage current flows through the thermal actuator 5 and the PTC thermistor 6.
  • FIG. 4 is a perspective view showing the breaker 1 from the first surface side
  • FIG. 5 is a perspective view showing the breaker 1 from the second surface side.
  • the case 10 has a side wall 11 extending in the longitudinal direction D ⁇ b> 1 of the movable piece 4.
  • the side wall 11 has a peripheral region 12 of the first terminal piece 2, a peripheral region 13 of the second terminal piece 3, and a convex portion 14 protruding outward of the case 10.
  • the convex portion 14 is provided between the peripheral region 12 and the peripheral region 13 and protrudes in the short direction D2 perpendicular to the longitudinal direction D1 with respect to the peripheral region 12 and the peripheral region 13.
  • the convex part 14 is provided in the outer side of the transversal direction D2 from the outer periphery of the periphery of the thermoresponsive element 5, ie, the outer edge of the opening 73c (refer FIG. 1) for accommodating the thermoresponsive element 5.
  • the convex portion 14 is formed on the side wall 11 of the case 10, the thickness of the side wall 11 around the thermally responsive element 5 can be easily secured, and the rigidity and strength of the case 10 can be increased.
  • the breaker disclosed in Patent Document 1 it is necessary to provide an accommodating recess for accommodating the movable piece and the thermally responsive element inside the case so that the pressure resistance of the case tends to be insufficient.
  • the convex part 14 is formed in the side wall 11, the thickness of the side wall 11 around the accommodation recessed part 73 is easily ensured, and the rigidity and strength of the case 10 can be increased. It becomes.
  • the internal volume of the case can be easily increased while maintaining the wall thickness of the side wall 11 at a certain value or more by the convex portion 14, and it is possible to employ the heat responsive element 5 having a large size.
  • the operating temperature and return temperature of the thermally responsive element 5 are stabilized, and the temperature characteristics of the breaker 1 are easily improved.
  • such a large heat-responsive element 5 is easy to process, and as a result, the degree of freedom in selecting the material constituting the heat-responsive element 5 is increased.
  • the thermally responsive element 5 can be made of a material having better chemical stability or a less expensive material.
  • the case 10 has a side wall 11 and a top wall 15 that intersects at its upper end.
  • the top wall 15 is configured by the lid member 8.
  • a cover piece 9 is embedded in the top wall 15.
  • the case 10 has a side wall 11 and a bottom wall 16 that intersects at the lower end thereof.
  • the bottom wall 16 is constituted by the case body 7. Terminals 22 and 32 are exposed from the bottom wall 16.
  • FIG. 6 shows the cover piece 9.
  • the cover piece 9 has a wide portion 92 indicated by hatching in FIG.
  • the wide portion 92 extends in the short direction D2 from the region 93 facing the fixed contact 21 across the movable piece 4 and the region 94 facing the connecting portion 31 across the movable piece 4, thereby It is formed wide at D2. That is, the direction in which the convex portion 14 protrudes and the direction in which the wide portion 92 extends are both the short direction D2.
  • the length L1 in the longitudinal direction of the wide portion 92 is larger than the length L2 in the longitudinal direction of the convex portion 14 (see FIGS. 4 and 7).
  • Such a wide portion 92 reinforces the top wall 15 of the case 10 with a wider area, and in particular, the side wall 11 is further strengthened at the convex portion 14 and its periphery.
  • the end edge 92a of the wide portion 92 on the front end 4a side of the movable piece 4 is positioned closer to the front end 4a side than the end edge 14a of the convex portion 14 on the front end 4a side.
  • the side wall 11 is further reinforced from the convex portion 14 to the peripheral region 12 of the first terminal piece 2.
  • the end edge 92b on the connection part 42 side of the movable piece 4 of the wide part 92 is positioned closer to the connection part 42 than the end edge 14b on the connection part 42 side of the convex part 14.
  • Such a wide portion 92 further strengthens the side wall 11 from the convex portion 14 to the peripheral region 13 of the second terminal piece 3.
  • the convex portion 14 is provided on the case body 7.
  • the top wall 15 is provided on the lid member 8. That is, the cover piece 9 having the wide portion 92 is embedded in the lid member 8. With such a configuration, the case main body 7 and the lid member 8 are reinforced in a well-balanced manner, and the pressure resistance of the case 10 is efficiently increased.
  • FIG. 7 is a plan view of the breaker 1 as seen through the case 10 and the like.
  • the outlines of the case body 7 and the lid member 8 constituting the case 10 are indicated by two-dot chain lines
  • the first terminal piece 2 and the second terminal piece 3 are drawn by solid lines
  • the cover piece 9 is one point. It is drawn with a chain line.
  • region of the convex part 14 is shown by the hatching by several dots. Since the elastic part 43 extends substantially parallel to the top wall 15 of the breaker 1, the first terminal piece 2, the second terminal piece 3 and the cover piece 9 in FIG. 7 are viewed from the thickness direction of the elastic part 43.
  • the shape of the first terminal piece 2, the second terminal piece 3, and the cover piece 9 is substantially the same.
  • the 1st terminal piece 2 has the protrusion part 27 which protrudes toward the 2nd terminal piece 3 side (inner side of the longitudinal direction D1) from the terminal 22.
  • the protruding portion 27 is disposed to face the support portion 26.
  • the wide portion 92 of the cover piece 9 overlaps the protruding portion 27 of the first terminal piece 2. Thereby, the pressure resistance of the case 10 is further enhanced.
  • FIG. 8 shows a cross-sectional view taken along the line AA of FIG. 7, that is, a cross section parallel to the first terminal piece 2 and its peripheral direction D1.
  • a resin 17 is filled between the wide portion 92 and the protruding portion 27, that is, a region where the wide portion 92 and the first terminal piece 2 overlap in plan view.
  • the resin 17 is continuously filled from the first surface of the protruding portion 27 to the second surface of the wide portion 92.
  • the resin 17 functions as a binder for integrating the wide portion 92 and the protruding portion 27, and the pressure resistance of the case 10 is further enhanced.
  • the end edge 14a of the convex portion 14 is arranged in the vicinity of a region where the wide portion 92 and the first terminal piece 2 overlap in plan view. For example, it is desirable that both overlap in a side view as viewed from the short side. Thereby, the pressure resistance of the case 10 is further enhanced.
  • the first terminal piece 2 has a bent portion 28 bent toward the wide portion 92.
  • the bent portion 28 is disposed at the base end portion of the protruding portion 27 protruding from the terminal 22. Thereby, the protrusion part 27 inclines toward the wide part 92 side.
  • the first terminal piece 2 is further strengthened by the bent portion 28, and the pressure resistance of the case 10 is further enhanced.
  • the second surface side of the protrusion 27 is also filled with the resin 17, and the pressure resistance of the case 10 is further enhanced.
  • the wide portion 92 overlaps with the bent portion 28. Thereby, the peripheral part of the terminal 22 is strengthened and the pressure resistance of the case 10 is further enhanced.
  • the first terminal piece 2 may have a protruding portion 29 protruding from the terminal 22 in a direction opposite to the protruding portion 27 (outside in the longitudinal direction D1). Further, a bent portion may be arranged at the base end portion of the protruding portion 29 protruding from the terminal 22.
  • the second terminal piece 3 has a protruding portion 37 that protrudes from the terminal 32 toward the first terminal piece 2.
  • the protruding portion 37 is disposed to face the support portion 26 of the first terminal piece 2. It is desirable that the wide portion 92 of the cover piece 9 overlaps the protruding portion 37 of the second terminal piece 3. Thereby, the pressure resistance of the case 10 is further enhanced.
  • the resin 17 is filled in the case 10 between the wide portion 92 and the protruding portion 37, that is, the region where the wide portion 92 and the second terminal piece 3 overlap. desirable.
  • the resin 17 functions as a binder that integrates the wide portion 92 and the protruding portion 37, and the pressure resistance of the case 10 is further enhanced.
  • the end edge 14b of the convex portion 14 is disposed in the vicinity of a region where the wide portion 92 and the second terminal piece 3 overlap in plan view. For example, it is desirable that both overlap in a side view as viewed from the short side. Thereby, the pressure resistance of the case 10 is further enhanced.
  • the second terminal piece 3 has a bent portion 38 bent toward the wide portion 92 side.
  • the bent portion 38 is disposed at the base end portion of the protruding portion 37 protruding from the terminal 32. Thereby, the protrusion part 37 inclines toward the wide part 92 side.
  • the second terminal piece 3 is further strengthened by the bent portion 38, and the pressure resistance of the case 10 is further enhanced.
  • the second surface side of the protruding portion 37 is also filled with the resin 17, and the pressure resistance of the case 10 is further enhanced.
  • the wide portion 92 overlaps with the bent portion 38. Thereby, the peripheral part of the terminal 32 is strengthened and the pressure resistance of the case 10 is further enhanced.
  • the second terminal piece 3 may have a protrusion 39 protruding from the terminal 32 in a direction opposite to the protrusion 37 (outside of the longitudinal direction D1). Further, a bent portion may be arranged at the base end portion of the protruding portion 39 protruding from the terminal 32.
  • the support part 26 of the 1st terminal piece 2 has the edge part 26b of the transversal direction D2.
  • the end edge portion 26b is bent and inclined toward the lid member 8 side. It is desirable that the end edge portion 26 b extends to the convex portion 14 and is embedded in the convex portion 14.
  • the convex part 14 is strengthened by such an end edge part 26b, and the pressure resistance of the case 10 is further enhanced.
  • the resin 17 constituting the side wall 11 is continuously filled from the first surface of the end edge portion 26b to the second surface of the wide portion 92.
  • the resin 17 functions as a binder for integrating the wide portion 92 and the protruding portion 27, and the pressure resistance of the case 10 is further enhanced.
  • the case 14 is formed by a synergistic effect of the convex portion 14 projecting in the short direction D2, the wide portion 92 having a longer length in the longitudinal direction D1 than the convex portion 14, and the end edge portion 26b embedded in the convex portion 14.
  • the ten side walls 11 are reinforced, in particular, at the periphery of the housing recess 73 that houses the thermally responsive element 5. The pressure resistance of the case 10 is further enhanced.
  • the terminal 22 is arranged such that the second surface is flush with the second surface of the case body 7 (the same plane), and the tip in the short direction D2 protrudes from the peripheral region 12 in the short direction D2. Thereby, soldering with the land part of a circuit board is made favorable. Further, the distance between the tips of the pair of terminals 22, that is, the length in the short direction D2 of the first terminal piece 2, is the distance between the pair of convex portions 14, that is, the short direction D2 of the case body 7. Less than length is desirable. As a result, the pressure resistance of the case 10 is enhanced, and a reduction in size is realized.
  • the terminal 32 is arranged such that the second surface is flush with the second surface of the case body 7 (the same plane), and the tip in the short direction D2 protrudes from the peripheral region 13 in the short direction D2. .
  • soldering with the land part of a circuit board is made favorable.
  • the distance between the tips of the pair of terminals 32, that is, the length in the short direction D2 of the second terminal piece 3, is the distance between the pair of convex portions 14, that is, the short direction D2 of the case body 7. Less than length is desirable. As a result, the pressure resistance of the case 10 is enhanced, and a reduction in size is realized.
  • the breaker 1 of the present invention is not limited to the configuration of the above-described embodiment, and can be implemented with various modifications. That is, the breaker 1 has at least the fixed contact 21, the elastic portion 43 formed in a plate shape and elastically deformed, and the movable contact 41 at one end of the elastic portion 43, and presses the movable contact 41 against the fixed contact 21. By moving the movable piece 4 to be brought into contact with the movable contact 4 and deforming as the temperature changes, the movable piece 4 is shifted from a conductive state in which the movable contact 41 contacts the fixed contact 21 to an interrupted state in which the movable contact 41 is separated from the fixed contact 21.
  • the thermal response element 5 includes a fixed contact 21, a movable piece 4, and a case 10 that accommodates the thermal response element 5.
  • the case 10 includes a side wall 11 that extends in the longitudinal direction D ⁇ b> 1 of the movable piece 4. What is necessary is just to have the convex part 14 which protrudes to the outer side of the case 10 in the periphery of the thermal response element 5.
  • the joining method of the case body 7 and the lid member 8 is not limited to ultrasonic welding, and can be appropriately applied as long as both are firmly joined.
  • a liquid or gel adhesive may be applied, filled, and cured to bond them together.
  • the case 10 is not limited to the form constituted by the case main body 7 and the lid member 8 or the like, and may be constituted by two or more parts.
  • the case 10 may be sealed with resin or the like by secondary insert molding or the like. Thereby, the airtightness of case 10 is further improved.
  • the case 10 is reinforced by the configuration of the convex portion 14 and the wide portion 92 described above, even when the filling pressure of the resin material at the time of secondary insert molding is applied to the lid member 8. Therefore, deformation of the case 10 is suppressed.
  • the movable piece 4 and the thermally responsive element 5 may be integrally formed by forming the movable piece 4 from a laminated metal such as bimetal or trimetal. In this case, the configuration of the breaker is simplified and the size can be reduced.
  • the present invention may be applied to a form in which the second terminal piece 3 and the movable piece 4 are integrally formed as shown in WO2011 / 105175.
  • the self-holding circuit using the PTC thermistor 6 is provided, but the present invention can be applied even in a form in which such a configuration is omitted.
  • FIG. 9 shows a safety circuit 502 for electrical equipment.
  • the safety circuit 502 includes the breaker 1 in series in the output circuit of the secondary battery 501.
  • a part of the safety circuit 502 may be constituted by a cable including a connector provided with a breaker.

Landscapes

  • Physics & Mathematics (AREA)
  • Thermal Sciences (AREA)
  • Thermally Actuated Switches (AREA)
PCT/JP2019/004073 2018-02-27 2019-02-05 ブレーカー及びそれを備えた安全回路 Ceased WO2019167568A1 (ja)

Priority Applications (2)

Application Number Priority Date Filing Date Title
CN201980008782.4A CN111615737B (zh) 2018-02-27 2019-02-05 断路器及具备该断路器的安全电路
US16/976,011 US11239037B2 (en) 2018-02-27 2019-02-05 Breaker and safety circuit equipped with the same

Applications Claiming Priority (2)

Application Number Priority Date Filing Date Title
JP2018-033289 2018-02-27
JP2018033289A JP7064350B2 (ja) 2018-02-27 2018-02-27 ブレーカー及びそれを備えた安全回路

Publications (1)

Publication Number Publication Date
WO2019167568A1 true WO2019167568A1 (ja) 2019-09-06

Family

ID=67805286

Family Applications (1)

Application Number Title Priority Date Filing Date
PCT/JP2019/004073 Ceased WO2019167568A1 (ja) 2018-02-27 2019-02-05 ブレーカー及びそれを備えた安全回路

Country Status (4)

Country Link
US (1) US11239037B2 (enExample)
JP (1) JP7064350B2 (enExample)
CN (1) CN111615737B (enExample)
WO (1) WO2019167568A1 (enExample)

Families Citing this family (9)

* Cited by examiner, † Cited by third party
Publication number Priority date Publication date Assignee Title
JP6967878B2 (ja) * 2017-06-01 2021-11-17 ボーンズ株式会社 ブレーカー及びそれを備えた安全回路。
JP6997685B2 (ja) * 2018-07-31 2022-01-18 ボーンズ株式会社 電流遮断装置、安全回路及び2次電池パック
JP7354061B2 (ja) * 2020-06-30 2023-10-02 ボーンズ株式会社 電気回路
CN116368592A (zh) 2020-11-06 2023-06-30 东莞令特电子有限公司 Smd型tco装置
DE102022118405B3 (de) 2022-07-22 2023-08-24 Marcel P. HOFSAESS Temperaturabhängiges Schaltwerk und temperaturabhängiger Schalter mit einem solchen Schaltwerk
DE102022118402B3 (de) 2022-07-22 2023-08-24 Marcel P. HOFSAESS Temperaturabhängiges Schaltwerk, temperaturabhängiger Schalter und Verfahren zur Herstellung eines temperaturabhängigen Schaltwerks
DE102022120446B3 (de) 2022-08-12 2023-11-30 Marcel P. HOFSAESS Temperaturabhängiger Schalter
DE102022120447B3 (de) 2022-08-12 2023-11-30 Marcel P. HOFSAESS Temperaturabhängiger Schalter
JP2025005860A (ja) * 2023-06-28 2025-01-17 ボーンズ株式会社 ブレーカー、安全回路及び2次電池パック

Citations (7)

* Cited by examiner, † Cited by third party
Publication number Priority date Publication date Assignee Title
JP2006100054A (ja) * 2004-09-29 2006-04-13 Texas Instr Japan Ltd 耐圧力性を有するバッテリープロテクタ
JP3185917U (ja) * 2013-04-19 2013-09-12 タイコエレクトロニクスジャパン合同会社 保護装置
JP2014035993A (ja) * 2012-08-10 2014-02-24 Komatsulite Mfg Co Ltd ブレーカー及びそれを備えた安全回路並びに2次電池
JP2014120379A (ja) * 2012-12-18 2014-06-30 Komatsulite Mfg Co Ltd ブレーカー
WO2014171515A1 (ja) * 2013-04-19 2014-10-23 タイコエレクトロニクスジャパン合同会社 保護装置
JP2014203787A (ja) * 2013-04-09 2014-10-27 株式会社小松ライト製作所 ブレーカー及びそれを備えた安全回路並びに2次電池回路
JP2015162448A (ja) * 2014-02-28 2015-09-07 株式会社小松ライト製作所 ブレーカー及びそれを備えた安全回路並びに2次電池回路

Family Cites Families (15)

* Cited by examiner, † Cited by third party
Publication number Priority date Publication date Assignee Title
US4490704A (en) * 1983-09-14 1984-12-25 Therm-O-Disc, Incorporated Thermally responsive switching device
JPH0834075B2 (ja) * 1988-03-29 1996-03-29 東部電気株式会社 サーマルスイッチ
JPH07282701A (ja) * 1994-04-05 1995-10-27 Texas Instr Japan Ltd 自己保持型保護装置
JP2899550B2 (ja) * 1995-08-30 1999-06-02 ウチヤ・サーモスタット株式会社 サーマルプロテクタ
US6559752B1 (en) * 1999-05-24 2003-05-06 Frank J. Sienkiewicz Creepless snap acting bimetallic switch having flexible contact members
JP3756700B2 (ja) * 1999-07-22 2006-03-15 ウチヤ・サーモスタット株式会社 サーマルプロテクタ
JP4312350B2 (ja) * 2000-06-06 2009-08-12 ウチヤ・サーモスタット株式会社 サーマルプロテクタ
US6633222B2 (en) * 2000-08-08 2003-10-14 Furukawa Precision Engineering Co., Ltd. Battery breaker
DE102008048554B3 (de) * 2008-09-16 2010-02-04 Hofsaess, Marcel P. Temperaturabhängiger Schalter
KR20130019370A (ko) 2010-02-26 2013-02-26 주식회사 고마츠라이트 제작소 브레이커
US9159985B2 (en) * 2011-05-27 2015-10-13 Ostuka Techno Corporation Circuit breaker and battery pack including the same
JP5452779B2 (ja) * 2011-10-14 2014-03-26 株式会社小松ライト製作所 ブレーカー及びそれを備えた安全回路並びに2次電池
CN103999180B (zh) * 2011-12-22 2016-12-14 小松电子部品有限公司 断路器以及具备该断路器的安全电路和二次电池组
US9831054B2 (en) * 2014-03-27 2017-11-28 Littelfuse, Inc. Insulated thermal cut-off device
JP6408822B2 (ja) * 2014-07-30 2018-10-17 ボーンズ株式会社 ブレーカー及びそれを備えた安全回路並びに2次電池回路

Patent Citations (7)

* Cited by examiner, † Cited by third party
Publication number Priority date Publication date Assignee Title
JP2006100054A (ja) * 2004-09-29 2006-04-13 Texas Instr Japan Ltd 耐圧力性を有するバッテリープロテクタ
JP2014035993A (ja) * 2012-08-10 2014-02-24 Komatsulite Mfg Co Ltd ブレーカー及びそれを備えた安全回路並びに2次電池
JP2014120379A (ja) * 2012-12-18 2014-06-30 Komatsulite Mfg Co Ltd ブレーカー
JP2014203787A (ja) * 2013-04-09 2014-10-27 株式会社小松ライト製作所 ブレーカー及びそれを備えた安全回路並びに2次電池回路
JP3185917U (ja) * 2013-04-19 2013-09-12 タイコエレクトロニクスジャパン合同会社 保護装置
WO2014171515A1 (ja) * 2013-04-19 2014-10-23 タイコエレクトロニクスジャパン合同会社 保護装置
JP2015162448A (ja) * 2014-02-28 2015-09-07 株式会社小松ライト製作所 ブレーカー及びそれを備えた安全回路並びに2次電池回路

Also Published As

Publication number Publication date
JP2019149285A (ja) 2019-09-05
US20210104371A1 (en) 2021-04-08
JP7064350B2 (ja) 2022-05-10
US11239037B2 (en) 2022-02-01
CN111615737B (zh) 2022-05-10
CN111615737A (zh) 2020-09-01

Similar Documents

Publication Publication Date Title
CN111615737B (zh) 断路器及具备该断路器的安全电路
US11004634B2 (en) Breaker and safety circuit provided with same
US11329325B2 (en) Breaker and safety circuit provided with same
JP7017922B2 (ja) ブレーカー及びそれを備えた安全回路
JP6997689B2 (ja) ブレーカー、安全回路及び2次電池パック
JP6967932B2 (ja) ブレーカー及びそれを備えた安全回路。
JP2016031917A (ja) ブレーカー及びそれを備えた安全回路並びに2次電池回路
JP6047790B2 (ja) ブレーカー及びそれを備えた安全回路並びに2次電池
JP6267479B2 (ja) ブレーカー及びそれを備えた安全回路並びに2次電池回路
JP2017103118A (ja) ブレーカー並びにそれを備えた安全回路及び2次電池回路。
JPWO2020022298A1 (ja) ブレーカー、安全回路及び2次電池パック
JP6159068B2 (ja) ブレーカーの製造方法
WO2020031849A1 (ja) ブレーカー及び安全回路
JP2014203787A (ja) ブレーカー及びそれを備えた安全回路並びに2次電池回路
JP6202923B2 (ja) ブレーカー並びにそれを備えた安全回路及び2次電池回路
JP7425710B2 (ja) ブレーカー及びそれを備えた安全回路、2次電池パック
JP5355767B1 (ja) ブレーカー及びそれを備えた安全回路並びに2次電池回路
JP2017208358A (ja) ブレーカー並びにそれを備えた安全回路及び2次電池回路

Legal Events

Date Code Title Description
121 Ep: the epo has been informed by wipo that ep was designated in this application

Ref document number: 19760431

Country of ref document: EP

Kind code of ref document: A1

NENP Non-entry into the national phase

Ref country code: DE

122 Ep: pct application non-entry in european phase

Ref document number: 19760431

Country of ref document: EP

Kind code of ref document: A1