WO2019107274A1 - 情報処理装置およびゲーム画像配信方法 - Google Patents

情報処理装置およびゲーム画像配信方法 Download PDF

Info

Publication number
WO2019107274A1
WO2019107274A1 PCT/JP2018/043194 JP2018043194W WO2019107274A1 WO 2019107274 A1 WO2019107274 A1 WO 2019107274A1 JP 2018043194 W JP2018043194 W JP 2018043194W WO 2019107274 A1 WO2019107274 A1 WO 2019107274A1
Authority
WO
WIPO (PCT)
Prior art keywords
game
information processing
image
play
user
Prior art date
Legal status (The legal status is an assumption and is not a legal conclusion. Google has not performed a legal analysis and makes no representation as to the accuracy of the status listed.)
Ceased
Application number
PCT/JP2018/043194
Other languages
English (en)
French (fr)
Japanese (ja)
Inventor
藤原 雅宏
松永 圭史
Current Assignee (The listed assignees may be inaccurate. Google has not performed a legal analysis and makes no representation or warranty as to the accuracy of the list.)
Sony Interactive Entertainment Inc
Original Assignee
Sony Interactive Entertainment Inc
Priority date (The priority date is an assumption and is not a legal conclusion. Google has not performed a legal analysis and makes no representation as to the accuracy of the date listed.)
Filing date
Publication date
Application filed by Sony Interactive Entertainment Inc filed Critical Sony Interactive Entertainment Inc
Priority to EP18884614.1A priority Critical patent/EP3718614B1/en
Priority to US16/761,888 priority patent/US11351467B2/en
Priority to CN201880076016.7A priority patent/CN111405931B/zh
Publication of WO2019107274A1 publication Critical patent/WO2019107274A1/ja
Anticipated expiration legal-status Critical
Ceased legal-status Critical Current

Links

Images

Classifications

    • AHUMAN NECESSITIES
    • A63SPORTS; GAMES; AMUSEMENTS
    • A63FCARD, BOARD, OR ROULETTE GAMES; INDOOR GAMES USING SMALL MOVING PLAYING BODIES; VIDEO GAMES; GAMES NOT OTHERWISE PROVIDED FOR
    • A63F13/00Video games, i.e. games using an electronically generated display having two or more dimensions
    • A63F13/70Game security or game management aspects
    • A63F13/79Game security or game management aspects involving player-related data, e.g. identities, accounts, preferences or play histories
    • A63F13/795Game security or game management aspects involving player-related data, e.g. identities, accounts, preferences or play histories for finding other players; for building a team; for providing a buddy list
    • AHUMAN NECESSITIES
    • A63SPORTS; GAMES; AMUSEMENTS
    • A63FCARD, BOARD, OR ROULETTE GAMES; INDOOR GAMES USING SMALL MOVING PLAYING BODIES; VIDEO GAMES; GAMES NOT OTHERWISE PROVIDED FOR
    • A63F13/00Video games, i.e. games using an electronically generated display having two or more dimensions
    • A63F13/85Providing additional services to players
    • A63F13/86Watching games played by other players
    • AHUMAN NECESSITIES
    • A63SPORTS; GAMES; AMUSEMENTS
    • A63FCARD, BOARD, OR ROULETTE GAMES; INDOOR GAMES USING SMALL MOVING PLAYING BODIES; VIDEO GAMES; GAMES NOT OTHERWISE PROVIDED FOR
    • A63F13/00Video games, i.e. games using an electronically generated display having two or more dimensions
    • A63F13/30Interconnection arrangements between game servers and game devices; Interconnection arrangements between game devices; Interconnection arrangements between game servers
    • A63F13/34Interconnection arrangements between game servers and game devices; Interconnection arrangements between game devices; Interconnection arrangements between game servers using peer-to-peer connections
    • AHUMAN NECESSITIES
    • A63SPORTS; GAMES; AMUSEMENTS
    • A63FCARD, BOARD, OR ROULETTE GAMES; INDOOR GAMES USING SMALL MOVING PLAYING BODIES; VIDEO GAMES; GAMES NOT OTHERWISE PROVIDED FOR
    • A63F13/00Video games, i.e. games using an electronically generated display having two or more dimensions
    • A63F13/50Controlling the output signals based on the game progress
    • A63F13/53Controlling the output signals based on the game progress involving additional visual information provided to the game scene, e.g. by overlay to simulate a head-up display [HUD] or displaying a laser sight in a shooting game
    • AHUMAN NECESSITIES
    • A63SPORTS; GAMES; AMUSEMENTS
    • A63FCARD, BOARD, OR ROULETTE GAMES; INDOOR GAMES USING SMALL MOVING PLAYING BODIES; VIDEO GAMES; GAMES NOT OTHERWISE PROVIDED FOR
    • A63F13/00Video games, i.e. games using an electronically generated display having two or more dimensions
    • A63F13/70Game security or game management aspects
    • A63F13/79Game security or game management aspects involving player-related data, e.g. identities, accounts, preferences or play histories
    • AHUMAN NECESSITIES
    • A63SPORTS; GAMES; AMUSEMENTS
    • A63FCARD, BOARD, OR ROULETTE GAMES; INDOOR GAMES USING SMALL MOVING PLAYING BODIES; VIDEO GAMES; GAMES NOT OTHERWISE PROVIDED FOR
    • A63F13/00Video games, i.e. games using an electronically generated display having two or more dimensions
    • A63F13/70Game security or game management aspects
    • A63F13/79Game security or game management aspects involving player-related data, e.g. identities, accounts, preferences or play histories
    • A63F13/798Game security or game management aspects involving player-related data, e.g. identities, accounts, preferences or play histories for assessing skills or for ranking players, e.g. for generating a hall of fame
    • AHUMAN NECESSITIES
    • A63SPORTS; GAMES; AMUSEMENTS
    • A63FCARD, BOARD, OR ROULETTE GAMES; INDOOR GAMES USING SMALL MOVING PLAYING BODIES; VIDEO GAMES; GAMES NOT OTHERWISE PROVIDED FOR
    • A63F13/00Video games, i.e. games using an electronically generated display having two or more dimensions
    • A63F13/85Providing additional services to players
    • A63F13/87Communicating with other players during game play, e.g. by e-mail or chat
    • GPHYSICS
    • G06COMPUTING OR CALCULATING; COUNTING
    • G06FELECTRIC DIGITAL DATA PROCESSING
    • G06F13/00Interconnection of, or transfer of information or other signals between, memories, input/output devices or central processing units
    • HELECTRICITY
    • H04ELECTRIC COMMUNICATION TECHNIQUE
    • H04LTRANSMISSION OF DIGITAL INFORMATION, e.g. TELEGRAPHIC COMMUNICATION
    • H04L67/00Network arrangements or protocols for supporting network services or applications
    • H04L67/01Protocols
    • H04L67/10Protocols in which an application is distributed across nodes in the network
    • H04L67/104Peer-to-peer [P2P] networks
    • H04L67/1044Group management mechanisms 
    • H04L67/1046Joining mechanisms
    • HELECTRICITY
    • H04ELECTRIC COMMUNICATION TECHNIQUE
    • H04LTRANSMISSION OF DIGITAL INFORMATION, e.g. TELEGRAPHIC COMMUNICATION
    • H04L67/00Network arrangements or protocols for supporting network services or applications
    • H04L67/01Protocols
    • H04L67/131Protocols for games, networked simulations or virtual reality
    • HELECTRICITY
    • H04ELECTRIC COMMUNICATION TECHNIQUE
    • H04NPICTORIAL COMMUNICATION, e.g. TELEVISION
    • H04N21/00Selective content distribution, e.g. interactive television or video on demand [VOD]
    • H04N21/20Servers specifically adapted for the distribution of content, e.g. VOD servers; Operations thereof
    • H04N21/23Processing of content or additional data; Elementary server operations; Server middleware
    • H04N21/239Interfacing the upstream path of the transmission network, e.g. prioritizing client content requests
    • HELECTRICITY
    • H04ELECTRIC COMMUNICATION TECHNIQUE
    • H04NPICTORIAL COMMUNICATION, e.g. TELEVISION
    • H04N21/00Selective content distribution, e.g. interactive television or video on demand [VOD]
    • H04N21/20Servers specifically adapted for the distribution of content, e.g. VOD servers; Operations thereof
    • H04N21/25Management operations performed by the server for facilitating the content distribution or administrating data related to end-users or client devices, e.g. end-user or client device authentication, learning user preferences for recommending movies
    • H04N21/258Client or end-user data management, e.g. managing client capabilities, user preferences or demographics, processing of multiple end-users preferences to derive collaborative data
    • AHUMAN NECESSITIES
    • A63SPORTS; GAMES; AMUSEMENTS
    • A63FCARD, BOARD, OR ROULETTE GAMES; INDOOR GAMES USING SMALL MOVING PLAYING BODIES; VIDEO GAMES; GAMES NOT OTHERWISE PROVIDED FOR
    • A63F13/00Video games, i.e. games using an electronically generated display having two or more dimensions
    • A63F13/80Special adaptations for executing a specific game genre or game mode
    • A63F13/812Ball games, e.g. soccer or baseball
    • AHUMAN NECESSITIES
    • A63SPORTS; GAMES; AMUSEMENTS
    • A63FCARD, BOARD, OR ROULETTE GAMES; INDOOR GAMES USING SMALL MOVING PLAYING BODIES; VIDEO GAMES; GAMES NOT OTHERWISE PROVIDED FOR
    • A63F2300/00Features of games using an electronically generated display having two or more dimensions, e.g. on a television screen, showing representations related to the game
    • A63F2300/40Features of games using an electronically generated display having two or more dimensions, e.g. on a television screen, showing representations related to the game characterised by details of platform network
    • A63F2300/408Peer to peer connection
    • AHUMAN NECESSITIES
    • A63SPORTS; GAMES; AMUSEMENTS
    • A63FCARD, BOARD, OR ROULETTE GAMES; INDOOR GAMES USING SMALL MOVING PLAYING BODIES; VIDEO GAMES; GAMES NOT OTHERWISE PROVIDED FOR
    • A63F2300/00Features of games using an electronically generated display having two or more dimensions, e.g. on a television screen, showing representations related to the game
    • A63F2300/50Features of games using an electronically generated display having two or more dimensions, e.g. on a television screen, showing representations related to the game characterized by details of game servers
    • A63F2300/53Features of games using an electronically generated display having two or more dimensions, e.g. on a television screen, showing representations related to the game characterized by details of game servers details of basic data processing
    • A63F2300/537Features of games using an electronically generated display having two or more dimensions, e.g. on a television screen, showing representations related to the game characterized by details of game servers details of basic data processing for exchanging game data using a messaging service, e.g. e-mail, SMS, MMS
    • AHUMAN NECESSITIES
    • A63SPORTS; GAMES; AMUSEMENTS
    • A63FCARD, BOARD, OR ROULETTE GAMES; INDOOR GAMES USING SMALL MOVING PLAYING BODIES; VIDEO GAMES; GAMES NOT OTHERWISE PROVIDED FOR
    • A63F2300/00Features of games using an electronically generated display having two or more dimensions, e.g. on a television screen, showing representations related to the game
    • A63F2300/50Features of games using an electronically generated display having two or more dimensions, e.g. on a television screen, showing representations related to the game characterized by details of game servers
    • A63F2300/55Details of game data or player data management
    • A63F2300/5546Details of game data or player data management using player registration data, e.g. identification, account, preferences, game history
    • A63F2300/558Details of game data or player data management using player registration data, e.g. identification, account, preferences, game history by assessing the players' skills or ranking
    • AHUMAN NECESSITIES
    • A63SPORTS; GAMES; AMUSEMENTS
    • A63FCARD, BOARD, OR ROULETTE GAMES; INDOOR GAMES USING SMALL MOVING PLAYING BODIES; VIDEO GAMES; GAMES NOT OTHERWISE PROVIDED FOR
    • A63F2300/00Features of games using an electronically generated display having two or more dimensions, e.g. on a television screen, showing representations related to the game
    • A63F2300/80Features of games using an electronically generated display having two or more dimensions, e.g. on a television screen, showing representations related to the game specially adapted for executing a specific type of game
    • A63F2300/8011Ball

Definitions

  • the present invention relates to technology for distributing game images.
  • Patent Document 1 discloses a sharing process of broadcasting a live distribution image including a game image being played to a viewing user.
  • the live distribution image disclosed in Patent Document 1 includes a display area of a captured image of a play user, a comment display area in which a comment from a viewing user is sequentially displayed, and a participation button for participating in a game of a distribution user. .
  • the viewing user operates the join button, the game is activated and the viewing user can participate in the distribution user's game.
  • an object of the present invention is to provide a technique for enhancing the usefulness of a sharing system for distributing game images to viewing users.
  • an information processing apparatus includes an image processing unit that generates a distribution image including a game image, and distribution that distributes a distribution image to one or more information processing terminals via a shared server.
  • a processing unit a participation processing unit that accepts a play request of a viewing user who operates the information processing terminal, and approves a game play of one viewing user who requested the play, and information that the viewing user who approves the game play operates
  • an application execution unit configured to process a game using operation information transmitted from the processing terminal.
  • a game image distribution method includes the steps of generating a distribution image including a game image, distributing the distribution image to one or more information processing terminals via the shared server, and operating the information processing terminal. Operation information transmitted from the information processing terminal operated by the viewing user who has approved the game play, the step of accepting the play request of the viewing user who is playing, the step of approving the game play of one viewing user who requested the play, And processing the game.
  • FIG. 1 shows an image sharing system according to an embodiment of the present invention. It is a figure showing a functional block of an information processor. It is a figure showing composition of an information processor. It is a figure which shows an example of the game screen displayed on a user's output device. It is a figure which shows the example of a pop-up window. It is a figure which shows an example of the input screen which shows the option of a share process. It is a figure which shows the example of a screen displayed on a delivery user's output device. It is a figure which shows the list screen of the content by which streaming delivery is carried out. It is a figure which shows the example of a screen displayed on the viewing-and-listening user's output device. It is a figure which shows the example of a game screen displayed on the delivery user's output device. It is a figure which shows the example of a viewing-and-listening user selection screen. It is a figure which shows the example of a pop-up window.
  • FIG. 1 shows an image sharing system 1 according to an embodiment of the present invention.
  • the image sharing system 1 performs live distribution of the game image sound being played by the user A who is the distribution master, and another viewer user B, C, D realizes an environment in which the game image sound is viewed.
  • the embodiment specifically describes streaming distribution of game images, it should be noted that game sound is also streamed simultaneously.
  • viewing users B, C, and D are examples, and are not intended to be limited to three, and the viewing users are not limited to the users registered as friends of distribution user A in image sharing system 1, and management server 5 and shared server 11 may be an unspecified user who can access.
  • the image sharing system 1 includes the information processing apparatus 10 operated by the distribution user A and the information processing terminals 12 b, 12 c and 12 d operated by the viewing users B, C and D (hereinafter, the information processing terminal 12 ), A management server 5 and a shared server 11, which are connected via a network 3 such as the Internet.
  • the configuration around the information processing terminal 12 of the viewing user is the same as the configuration around the information processing apparatus 10 of the distribution user A. Therefore, the configuration around the information processing apparatus 10 of the distribution user A will be representatively described below. .
  • the access point (hereinafter referred to as “AP”) 8 has the functions of a wireless access point and a router, and the information processing apparatus 10 is connected to the AP 8 wirelessly or via a wire, and the management server 5 on the network 3
  • the shared server 11 and the information processing terminal 12 are communicably connected.
  • the input device 6 operated by the user is connected to the information processing apparatus 10 wirelessly or by wire, and outputs operation information by the user to the information processing apparatus 10.
  • the information processing apparatus 10 receives operation information from the input device 6, the information is reflected in the processing of system software and application software and causes the output device 4 to output the processing result.
  • the application software is game software
  • the information processing apparatus 10 is a game apparatus that executes the game software
  • the input device 6 is an apparatus such as a game controller that supplies the information processing apparatus 10 with user operation information.
  • the input device 6 which is a game controller is configured to have a plurality of push-type operation buttons, an analog stick capable of inputting an analog amount, and a plurality of input units such as a rotary button.
  • the input device 6 has at least a "SHARE button” for displaying a screen related to sharing processing and an operation button called a "home button” for displaying a predetermined system screen.
  • the auxiliary storage device 2 is a large-capacity storage device such as a hard disk drive (HDD) or a flash memory, and may be an external storage device connected to the information processing device 10 by USB (Universal Serial Bus) or the like. It may be
  • the output device 4 may be a television having a display for outputting an image and a speaker for outputting an audio.
  • the output device 4 may be connected to the information processing apparatus 10 by a wired cable or may be connected wirelessly.
  • the camera 7 is a stereo camera and captures a space around the output device 4.
  • the camera 7 is used to capture an image of the user A to be included in the delivery image.
  • FIG. 1 shows an example in which the camera 7 is attached to the upper part of the output device 4, it may be disposed to the side of the output device 4 and in any case, the game is played in front of the output device 4 Are arranged at positions where the user A can be photographed.
  • the information processing apparatus 10 broadcasts the game image to the information processing terminal 12 that accesses the shared server 11 by streaming the game image being played to the shared server 11.
  • the image sharing system 1 in the embodiment operates as a game image distribution system.
  • the information processing terminal 12 may be the same device as the information processing device 10.
  • the management server 5 provides and manages network services of the information processing apparatus 10 and the information processing terminal 12.
  • the management server 5 manages a network account identifying a user, and the user signs in to a network service using the network account.
  • Each user can sign in to the network service to register save data of the game and virtual award items (trophies) acquired during the game play in the management server 5, and the game picture sound to the shared server 11.
  • Streaming distribution can be performed, and the shared server 11 can be accessed to view the game image and sound.
  • the user A operates the input device 6 to play a game
  • the output device 4 displays a game image (hereinafter also referred to as a “play image”) being played.
  • the play image is distributed from the information processing apparatus 10 to the information processing terminals 12b, 12c, and 12d of the viewing user via the shared server 11, and the play images are not distinguished from the output devices 14b, 14c, and 14d (hereinafter, they are not particularly distinguished. Is called “output device 14”).
  • the resolution of the play image to be distributed is set to be lower than the resolution of the play image displayed on the output device 4.
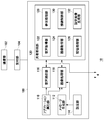
  • FIG. 2 shows a functional block diagram of the information processing apparatus 10.
  • the information processing apparatus 10 includes a main power button 20, a power ON LED 21, a standby LED 22, a system controller 24, a clock 26, a device controller 30, a media drive 32, a USB module 34, a flash memory 36, a wireless communication module 38, and wired communication. It comprises module 40, subsystem 50 and main system 60.
  • the main system 60 includes a main CPU (Central Processing Unit), a memory as a main storage device, a memory controller, a GPU (Graphics Processing Unit), and the like.
  • the GPU is mainly used for arithmetic processing of a game program. These functions may be configured as a system on chip and formed on one chip.
  • the main CPU has a function of executing a game program recorded in the auxiliary storage device 2 or the ROM medium 44.
  • the subsystem 50 includes a sub CPU, a memory as a main storage device, a memory controller, and the like, does not include a GPU, and does not have a function to execute a game program.
  • the number of circuit gates of the sub CPU is smaller than the number of circuit gates of the main CPU, and the operation power consumption of the sub CPU is less than the operation power consumption of the main CPU.
  • the sub CPU operates even while the main CPU is in the standby state, and its processing function is limited in order to reduce power consumption.
  • the main power button 20 is an input unit to which an operation input from a user is performed, and is provided on the front surface of the chassis of the information processing apparatus 10 to turn on or off the power supply to the main system 60 of the information processing apparatus 10 Operated to
  • the power ON LED 21 lights up when the main power button 20 is turned on, and the standby LED 22 lights up when the main power button 20 is turned off.
  • the system controller 24 detects pressing of the main power button 20 by the user. When the main power button 20 is pressed while the main power is off, the system controller 24 acquires the pressing operation as an "on instruction", while the main power is on when the main power is on. When the button 20 is pressed, the system controller 24 acquires the pressing operation as an “off instruction”.
  • the clock 26 is a real time clock that generates current date and time information and supplies it to the system controller 24, the subsystem 50 and the main system 60.
  • the device controller 30 is configured as an LSI (Large-Scale Integrated Circuit) that performs exchange of information between devices like a south bridge. As illustrated, the device controller 30 is connected to devices such as the system controller 24, media drive 32, USB module 34, flash memory 36, wireless communication module 38, wired communication module 40, subsystem 50 and main system 60. Ru.
  • the device controller 30 absorbs differences in electrical characteristics of the respective devices and differences in data transfer rates, and controls the timing of data transfer.
  • the media drive 32 is a drive device that mounts and drives a ROM medium 44 storing application software such as a game and license information, and reads a program or data from the ROM medium 44.
  • the ROM medium 44 may be a read only recording medium such as an optical disc, a magneto-optical disc, or a Blu-ray disc.
  • the USB module 34 is a module connected to an external device by a USB cable.
  • the USB module 34 may be connected to the auxiliary storage device 2 and the camera 7 by a USB cable.
  • the flash memory 36 is an auxiliary storage device that constitutes an internal storage.
  • the wireless communication module 38 wirelessly communicates with, for example, the input device 6 by a communication protocol such as Bluetooth (registered trademark) protocol or IEEE 802.11 protocol.
  • the wired communication module 40 performs wired communication with an external device and connects to the network 3 via the AP 8.
  • FIG. 3 shows the configuration of the information processing apparatus 10 operating as a streaming data distribution apparatus.
  • the information processing apparatus 10 includes a processing unit 100, a communication unit 102, and a reception unit 104.
  • the processing unit 100 includes an application execution unit 110, a message generation unit 112, a setting unit 114, an audio providing unit 116, an image processing unit 118, and sharing.
  • the processing unit 120 is provided.
  • the sharing processing unit 120 includes a voice acquisition unit 122, an image acquisition unit 124, a distribution processing unit 126, a participation processing unit 128, a connection control unit 130, and a setting image generation unit 132.
  • each element described as a functional block that performs various processing can be configured by circuit blocks, memories, and other LSIs in terms of hardware, and as software, it can be considered as system software or memories It is realized by the game program etc. which were loaded to. Therefore, it is understood by those skilled in the art that these functional blocks can be realized in various forms by hardware only, software only, or a combination thereof, and is not limited to any of them.
  • the application execution unit 110 executes game software (hereinafter, also simply referred to as “game”) to generate image data and sound data of the game.
  • game game software
  • the function shown as the application execution unit 110 is realized by system software, game software, hardware such as a GPU, or the like.
  • the game is an example of an application, and the application execution unit 110 may execute an application other than the game.
  • the application execution unit 110 performs arithmetic processing to move the game character in the virtual space based on the operation information input to the input device 6 by the user A.
  • the application execution unit 110 includes a GPU (Graphics Processing Unit) that executes rendering processing and the like, and receives game processing results in a virtual space, and generates game image data from a viewpoint position (virtual camera) in the virtual space.
  • the application execution unit 110 also generates game sound data in the virtual space.
  • the communication unit 102 receives operation information when the user operates the input unit of the input device 6, and transmits image and sound data generated by the processing unit 100 to the shared server 11 and the information processing terminal 12 .
  • the communication unit 102 is expressed as a configuration having the functions of the wireless communication module 38 and the wired communication module 40 shown in FIG.
  • the reception unit 104 is provided between the communication unit 102 and the processing unit 100, and transmits data or information between the communication unit 102 and the processing unit 100. Receiving the operation information of the input unit provided in the input device 6 through the communication unit 102, the reception unit 104 supplies the operation information to the application execution unit 110 and / or the shared processing unit 120 in the processing unit 100.
  • FIG. 4 shows an example of a game screen displayed on the output device 4 of the user A.
  • the game screen shown in FIG. 4 is before streaming distribution.
  • the application execution unit 110 generates a play image and a play sound
  • the image processing unit 118 provides the play image to the output device 4
  • the sound providing unit 116 provides the play sound to the output device 4.
  • the play image and the play sound are output from the output device 4.
  • FIG. 5 shows an example of a pop-up window displayed superimposed on the game screen.
  • the management server 5 registers the friend of the user A. For example, when the friend is online or the friend creates a message for the user A, the management server 5 is a friend of the information processing apparatus 10 of the user A. Send status information and messages.
  • the reception unit 104 receives the status information and the message of the friend, the message generation unit 112 generates a notification message for the user A and provides the notification message to the image processing unit 118.
  • the image processing unit 118 superimposes and displays the generated notification message in the form of the pop-up window 180 on the upper left corner of the game screen.
  • Pop-up window 180 includes a username 184 that identifies the user for the notification message. For example, when the management server 5 requests the registration of the real name as the user name, the pop-up window 180 includes the real name which is personal information. Since the real name display in this case is viewed only by the user A who is a friend, there is no problem with personal information. The pop-up window 180 notifies that it indicates that the message has been received from the friend "Yamada Taro", and the message body 182 shows a part (first sentence) of the message from "Yamada Taro".
  • the sharing processing unit 120 carries out processing for sharing picture and sound data of a game being played by the user A with another user via the sharing server 11.
  • the user who accesses shared server 11 is not limited to the friend of user A, but includes unspecified users who use the service of shared server 11.
  • the sharing process of the game image and sound data is started when the user A operates a specific input unit (SHARE button) provided on the input device 6, and the sharing processing unit 120 selects an option for sharing the image and sound data. Generate an input image to show.
  • SHARE button specific input unit
  • FIG. 6 shows an example of an input screen showing options for sharing processing.
  • the setting image generation unit 132 generates an input image indicating options of the sharing process, and causes the image processing unit 118 to display the image on the output device 4.
  • On this input screen three options regarding sharing of picture and sound data are shown.
  • “Upload video clip” is a GUI for designating that the image recorded in the auxiliary storage device 2 is to be uploaded to the shared server 11.
  • “Upload a screen shot” is a server for sharing the screen shot image.
  • “Broadcast game play” is a GUI for designating that the game sound and sound data is live relayed via the shared server 11.
  • the user A operates the input device 6 to move the selection frame 200, selects one of the GUIs, and presses the determination button, whereby the selected sharing process is executed.
  • a GUI of "broadcast game play" is selected.
  • the setting image generation unit 132 causes the output device 4 to display a setting screen for selecting the resolution of the game image in broadcast distribution, and the user selects the resolution of the distribution image to broadcast. Delivery may be initiated.
  • the selectable resolution is lower than the resolution of the game image displayed on the output device 4.
  • FIG. 7 shows an example of a screen displayed on the output device 4 of the distribution user A.
  • the image processing unit 118 When streaming distribution is started, the image processing unit 118 generates a display image according to the screen layout shown in FIG. In the screen layout, a play image generated by the application execution unit 110 is displayed in the play image display area 210. Since the play image display area 210 is reduced as compared with the display area of the play image shown in FIG. 4, the image processing unit 118 downsizes the play image data and displays it in the play image display area 210.
  • the camera image display area 212 an image photographed by the camera 7 is displayed, and below the camera image display area 212, a viewer number display area 220 is provided. The number of viewers is provided from the management server 5 or the shared server 11, and in this example, the number of viewers is counted as 315.
  • the comment display area 214 displays a comment from the viewing user.
  • the viewing user can input a comment from the information processing terminal 12, and the input comment is transmitted to the information processing apparatus 10 via the shared server 11.
  • the message input area 216 is a field where the play user A inputs a message addressed to the viewing user.
  • the image processing unit 118 generates a display image including a game image according to the screen layout shown in FIG. 7 and outputs the display image to the output device 4 and the sharing processing unit 120.
  • the voice providing unit 116 superimposes the voice input to the microphone of the information processing apparatus 10 on the game voice generated by the application execution unit 110 and provides the shared processing unit 120 with the voice. Do.
  • the audio acquisition unit 122 acquires the audio provided from the audio providing unit 116
  • the image acquisition unit 124 acquires the image provided from the image processing unit 118.
  • the sound acquired by the sound acquisition unit 122 and the image acquired by the image acquisition unit 124 are a distribution sound and a distribution image distributed to the shared server 11, respectively.
  • the distribution processing unit 126 adjusts the resolution of the acquired distribution audio and distribution image as needed, encodes it, and distributes the audio data and the image data by streaming to the one or more information processing terminals 12 via the shared server 11.
  • the information processing terminal 12 of the viewing user can access the shared server 11 and can output the game sound and the sound to be streamed from the output device 14.
  • a mechanism is realized in which the user A temporarily passes the game operation right (control right) to the viewing user. For example, if there is a friend who is good at a soccer game next to the user A, he / she can hand over the input device 6 to the friend when he is in a soccer game and get played instead.
  • the image sharing system 1 of the embodiment although the viewing user is at a distant place, the same game image is viewed together and the situation of the user A is grasped. Therefore, the image sharing system 1 provides a mechanism in which the user A passes the game operation right to the viewing user, and the viewing user temporarily performs proxy play.
  • the viewing user operates the input device 6 to activate a viewing application of the live distribution image.
  • the information processing terminal 12 has the same configuration as the information processing apparatus 10, and thus the application execution unit 110 executes a viewing application of the live distribution image.
  • the information processing terminal 12 displays on the output device 14 a list of contents streamed and distributed by the shared server 11.
  • FIG. 8 shows a list screen of streaming distributed contents.
  • the management server 5 manages information of content distributed live in the shared server 11, and the viewing application acquires information of the content from the management server 5 and generates a list screen.
  • Content information includes a game capture image, a game title, information identifying a distributor, and comment data.
  • the user operates the input device 6 to move the selection frame 300, and arranges the content information to be viewed.
  • the selection frame 300 is arranged in the content information of the game title “ABC soccer” distributed by the user A.
  • the content information of the user A includes a comment from the user A, "Anyone help with share play". This comment is automatically input by the management server 5 by being notified that the management server 5 is accepting game participation from the information processing apparatus 10.
  • the information processing terminal 12 accesses the shared server 11 and outputs the streaming video / sound data of the user A from the output device 14.
  • FIG. 9 shows an example of a screen displayed on the output device 14 of the viewing user.
  • the information processing terminal 12 displays the delivery image of the user A on the output device 14 with a predetermined screen layout.
  • the delivery image to be delivered by streaming from the shared server 11 is displayed in the delivery image display area 302.
  • a comment display area 304 for displaying a comment may be provided.
  • the delivery image includes the comment display area, the comments displayed on both sides may be the same or different.
  • a participation button 306 is provided for the viewing user to indicate participation in the share play requested by the user A.
  • the share play which participates here is game play which a viewing and listening user performs on behalf of distribution user A.
  • the distribution user A approves the participation of the viewing user, the viewing user operates his / her input device 6 in place of the user A to play the game.
  • the join button 306 the operation information is transmitted to the information processing apparatus 10 via the management server 5 as a play request.
  • the management server 5 When transmitting a play request of the viewing user to the information processing apparatus 10, the management server 5 also transmits information indicating the proficiency level of the viewing user regarding the game.
  • the management server 5 manages, as information indicating the proficiency level of each user, the trophy information acquired by achieving various missions prepared for the game. Therefore, the management server 5 transmits the acquisition user's acquisition trophy information of the viewing user to the information processing apparatus 10 together with the play request.
  • the information related to the proficiency level is not limited to the acquired trophy information, and may be another type of information.
  • the receiving unit 104 receives a play request of the viewing user who operates the information processing terminal 12 from the management server 5, and passes it to the sharing processing unit 120.
  • the participation processing unit 128 receives the play request of the viewing user and counts the number of play requests.
  • the participation processing unit 128 transmits the counted number of play requests to the image processing unit 118, and the image processing unit 118 displays the counted number of play requests on the right side of the number-of-viewers display area 220.
  • FIG. 10 shows an example of a game screen displayed on the output device 4 of the distribution user A.
  • the number of people who have received a play request that is, the number of people waiting for share play is displayed in the share play waiting number display area 222 on the right side of the number-of-viewers display area 220.
  • the number of viewers is 413 and the number of people waiting for share play is five.
  • the participation processing unit 128 may periodically provide the message generation unit 112 with the number of play requests accepted, that is, the number of people waiting for the share play.
  • the message generation unit 112 generates a notification message notifying the number of persons waiting for the share play to the user A, and the image processing unit 118 superimposes and displays the generated notification message on the game screen in the form of the pop-up window 190.
  • the user A operates a predetermined button (home button) of the input device 6, a system screen for selecting a viewing user who requested a play is displayed.
  • FIG. 11 shows an example of a viewing user selection screen displayed on the output device 4 of the distribution user A.
  • the participation processing unit 128 provides the received play request to the image processing unit 118.
  • the image processing unit 118 displays a list of viewing users who have requested to play, together with information indicating the proficiency level of the game.
  • the number of trophies acquired by each viewing user is shown.
  • the number of platinum trophies, gold trophies, silver trophies, and bronze trophies acquired is shown from the left in descending order of the degree of difficulty.
  • the participation processing unit 128 approves the game play of one viewing user included in the selection frame 230.
  • the selection frame 230 is arranged in the frame of the user B, and the participation processing unit 128 approves that the viewing user B plays the game instead of the distribution user A by the operation of the determination button.
  • the participation processing unit 128 transmits the approval of the game play to the information processing terminal 12 b of the selected viewing user B via the management server 5.
  • the viewing user B notifies the management server 5 that the viewing user B takes over the game play, it is decided that the viewing user B substitutes for play.
  • the distribution user A can easily find out the viewing user who is familiar with ABC soccer.
  • the participation processing unit 128 approves the game play of one viewing user selected according to a predetermined standard.
  • the participation processing unit 128 may approve one viewing user with the highest level of proficiency, or may approve one viewing user who has declared the participation earliest. Since the participation processing unit 128 automatically selects the viewing user, the distributing user A can omit the trouble of selecting the viewing user who performs proxy play.
  • the participation processing unit 128 approves the game play of at least one viewing user instead of the user A, but may approve the game play of two or more viewing users who play simultaneously.
  • the connection control unit 130 performs P2P (peer-to-peer) connection with the information processing terminal 12b operated by the viewing user B.
  • P2P peer-to-peer
  • This P2P connection establishes a low delay, high image quality, bidirectional communication path, as compared with the connection between the shared server 11 and the information processing terminal 12b.
  • the information processing terminal 12b continues to display the live distribution image from the shared server 11 on the output device 14b until the P2P connection is established, and switches the communication path when the P2P connection is established. Start acquiring game sound data from.
  • the viewing user B plays the game by operating the input device 6b while viewing the game image displayed on the output device 14b.
  • the communication unit 102 of the information processing apparatus 10 receives the operation information transmitted from the information processing terminal 12 b operated by the viewing user B through the P2P communication path with the information processing terminal 12 b, and the application execution unit 110 views The game is processed using the operation information of the user B.
  • the game sound data processed by the application execution unit 110 is transmitted to the information processing terminal 12 b through the P2P communication channel.
  • the message generation unit 112 may generate a notification message for the user A.
  • FIG. 5 shows the pop-up window 180 superimposed on the game screen, the pop-up window 180 includes the user name 184 indicating the sender of the message, the message body 182, etc. It is not preferable from the viewpoint of the protection of personal information to broadcast the content of.
  • a setting unit 114 which enables the user A to set whether or not the notification message can be visually included in the distribution image.
  • the setting unit 114 registers, as setting information, the content in which the user A sets whether or not to include the notification message in the distribution image in a visible manner in the auxiliary storage device 2.
  • notification messages generated by the message generator 112. The following is the list of notification contents by notification message. -A message from a friend has been received-A friend request has been made-A friend has been invited to the game-A friend has come online-A trophy has been acquired, and so on.
  • the distribution user A may be able to set, for each type of notification content, whether or not to include the notification message in the distribution image in a visible manner.
  • the setting unit 114 notifies the image processing unit 118 of the setting content set by the user A.
  • the image processing unit 118 recognizes the type of notification message that may be visually included in the distribution image and the type of notification message that may not be visually included in the distribution image.
  • the image processing unit 118 generates a distribution image according to the setting content in the setting unit 114. Specifically, the image processing unit 118 determines, according to the type of the notification message generated by the message generation unit 112, that the notification message is included or not included in the distribution image in a viewable manner.
  • including in the distribution image in a viewable manner is, for example, superimposing display of the pop-up window 190 as shown in FIG. 10, but there are at least two methods in which it is not included in the distribution image in a viewable manner.
  • One method is that the image processing unit 118 does not superimpose the pop-up window on the delivery image, and another method is that the image processing unit 118 superimposes the pop-up window on the delivery image and then the pop-up window is Masking (hiding) with a black image.
  • the image processing unit 118 performs image processing as to whether or not the notification message is included in the distribution image in a visually recognizable manner, according to the setting content by the setting unit 114.
  • the message generation unit 112 may generate different notification messages depending on whether or not distribution images are being distributed. For example, when the user A sets the notification message to be included in the distribution image in a visible manner, it is not good for the notification message to include personal information or privacy information. Therefore, the message generation unit 112 removes the personal information from the message generated at the normal time (at the time other than the streaming distribution), or replaces the message itself with the message without any fault, thereby displaying the notification message displayed during the streaming distribution. Generate
  • FIG. 12 shows an example of a pop-up window displayed superimposed on the game screen.
  • the pop-up window 180a is generated instead of the pop-up window 180 shown in FIG.
  • the message confirmation method 182a replaces the message body 182, and the online ID 184a is an identifier managed by the management server 5, unlike the user name 184 which is a real name.
  • the message generation unit 112 can generate a notification message that does not include personal information or privacy information, so that a problem-free notification message can be included in the distribution image. Although the amount of information is reduced, the notification message is displayed on the game screen, whereby sharing processing highly convenient for the distribution user A is realized.
  • the present invention can be used in the technical field of distributing game images.

Landscapes

  • Engineering & Computer Science (AREA)
  • Multimedia (AREA)
  • Theoretical Computer Science (AREA)
  • Signal Processing (AREA)
  • Business, Economics & Management (AREA)
  • Computer Security & Cryptography (AREA)
  • General Business, Economics & Management (AREA)
  • Physics & Mathematics (AREA)
  • Computer Networks & Wireless Communication (AREA)
  • Databases & Information Systems (AREA)
  • Mathematical Physics (AREA)
  • Computing Systems (AREA)
  • Health & Medical Sciences (AREA)
  • Child & Adolescent Psychology (AREA)
  • General Engineering & Computer Science (AREA)
  • General Physics & Mathematics (AREA)
  • Computer Graphics (AREA)
  • Optics & Photonics (AREA)
  • Information Transfer Between Computers (AREA)
  • Two-Way Televisions, Distribution Of Moving Picture Or The Like (AREA)
PCT/JP2018/043194 2017-12-01 2018-11-22 情報処理装置およびゲーム画像配信方法 Ceased WO2019107274A1 (ja)

Priority Applications (3)

Application Number Priority Date Filing Date Title
EP18884614.1A EP3718614B1 (en) 2017-12-01 2018-11-22 Information processing device and game image distribution method
US16/761,888 US11351467B2 (en) 2017-12-01 2018-11-22 Information processing apparatus and game image distributing method
CN201880076016.7A CN111405931B (zh) 2017-12-01 2018-11-22 信息处理装置与游戏图像分配方法

Applications Claiming Priority (2)

Application Number Priority Date Filing Date Title
JP2017-232107 2017-12-01
JP2017232107A JP6839068B2 (ja) 2017-12-01 2017-12-01 情報処理装置およびゲーム画像配信方法

Publications (1)

Publication Number Publication Date
WO2019107274A1 true WO2019107274A1 (ja) 2019-06-06

Family

ID=66664549

Family Applications (1)

Application Number Title Priority Date Filing Date
PCT/JP2018/043194 Ceased WO2019107274A1 (ja) 2017-12-01 2018-11-22 情報処理装置およびゲーム画像配信方法

Country Status (5)

Country Link
US (1) US11351467B2 (enExample)
EP (1) EP3718614B1 (enExample)
JP (1) JP6839068B2 (enExample)
CN (1) CN111405931B (enExample)
WO (1) WO2019107274A1 (enExample)

Cited By (1)

* Cited by examiner, † Cited by third party
Publication number Priority date Publication date Assignee Title
JP2023547646A (ja) * 2020-10-28 2023-11-13 ビゴ テクノロジー ピーティーイー. リミテッド 動画再生方法、装置、端末および記憶媒体

Families Citing this family (8)

* Cited by examiner, † Cited by third party
Publication number Priority date Publication date Assignee Title
US20220300393A1 (en) * 2019-08-20 2022-09-22 Sony Interactive Entertainment Inc. Information providing server, information processing device, and method for providing information
JP6776425B1 (ja) * 2019-09-30 2020-10-28 株式会社コロプラ プログラム、方法、および配信端末
JP7300421B2 (ja) * 2020-06-08 2023-06-29 株式会社ソニー・インタラクティブエンタテインメント 情報処理装置および画像共有方法
JP7633641B2 (ja) * 2020-08-27 2025-02-20 株式会社ミラティブ 映像配信装置及び映像配信プログラム
JP7612375B2 (ja) * 2020-10-26 2025-01-14 株式会社バンダイナムコエンターテインメント ゲーム観戦システム及びサーバ装置
JP7494102B2 (ja) 2020-12-18 2024-06-03 株式会社コロプラ プログラム、情報処理システム
CN113144596B (zh) * 2021-04-23 2023-04-07 腾讯科技(深圳)有限公司 棋盘画面的显示方法、装置、终端设备及存储介质
JP2023053652A (ja) * 2021-10-01 2023-04-13 株式会社コロプラ プログラム、コンピュータ、システム、方法

Citations (9)

* Cited by examiner, † Cited by third party
Publication number Priority date Publication date Assignee Title
KR20040005068A (ko) * 2002-07-08 2004-01-16 봉래 박 재생게임 기능이 부가된 게임 시스템 및 게임 진행 방법
JP2008194314A (ja) * 2007-02-14 2008-08-28 Konami Digital Entertainment:Kk ゲームシステム、及び、これに含まれるゲーム装置
JP2011224204A (ja) * 2010-04-21 2011-11-10 Konami Digital Entertainment Co Ltd ゲームシステム、ゲームシステムの制御方法及びプログラム
JP2012034793A (ja) * 2010-08-05 2012-02-23 Sony Computer Entertainment Inc ゲーム装置
WO2013111247A1 (ja) * 2012-01-24 2013-08-01 株式会社ソニー・コンピュータエンタテインメント 情報処理装置および情報処理システム
WO2014068806A1 (ja) 2012-11-05 2014-05-08 株式会社ソニー・コンピュータエンタテインメント 情報処理装置
JP2015036033A (ja) * 2013-08-12 2015-02-23 株式会社ソニー・コンピュータエンタテインメント 情報処理システムおよび情報処理装置
JP2016046538A (ja) * 2014-08-19 2016-04-04 株式会社ソニー・コンピュータエンタテインメント 情報処理装置、制御データ送信方法および情報処理システム
JP2017035298A (ja) * 2015-08-10 2017-02-16 株式会社ソニー・インタラクティブエンタテインメント 情報処理装置および視聴リクエスト送信方法

Family Cites Families (8)

* Cited by examiner, † Cited by third party
Publication number Priority date Publication date Assignee Title
JP3417935B2 (ja) * 2001-05-30 2003-06-16 株式会社コナミコンピュータエンタテインメント大阪 ネットゲーム用サーバ装置、ネットゲーム管理方法及びネットゲーム管理プログラム
JP5258818B2 (ja) 2010-03-04 2013-08-07 株式会社コナミデジタルエンタテインメント ゲームシステム及びゲーム機
EP2602010A4 (en) 2010-08-05 2014-01-08 Sony Computer Entertainment Inc GAME MACHINE
JP6407623B2 (ja) * 2014-08-14 2018-10-17 株式会社ソニー・インタラクティブエンタテインメント 情報処理装置、情報表示方法および情報処理システム
JP6407622B2 (ja) * 2014-08-14 2018-10-17 株式会社ソニー・インタラクティブエンタテインメント 情報処理装置、画像データ送信方法および情報処理システム
EP3928845A1 (en) 2015-04-27 2021-12-29 Sony Interactive Entertainment LLC Interactive events platform
US10632372B2 (en) 2015-06-30 2020-04-28 Amazon Technologies, Inc. Game content interface in a spectating system
JP6015871B1 (ja) 2016-02-02 2016-10-26 株式会社セガゲームス 情報処理装置及びプログラム

Patent Citations (9)

* Cited by examiner, † Cited by third party
Publication number Priority date Publication date Assignee Title
KR20040005068A (ko) * 2002-07-08 2004-01-16 봉래 박 재생게임 기능이 부가된 게임 시스템 및 게임 진행 방법
JP2008194314A (ja) * 2007-02-14 2008-08-28 Konami Digital Entertainment:Kk ゲームシステム、及び、これに含まれるゲーム装置
JP2011224204A (ja) * 2010-04-21 2011-11-10 Konami Digital Entertainment Co Ltd ゲームシステム、ゲームシステムの制御方法及びプログラム
JP2012034793A (ja) * 2010-08-05 2012-02-23 Sony Computer Entertainment Inc ゲーム装置
WO2013111247A1 (ja) * 2012-01-24 2013-08-01 株式会社ソニー・コンピュータエンタテインメント 情報処理装置および情報処理システム
WO2014068806A1 (ja) 2012-11-05 2014-05-08 株式会社ソニー・コンピュータエンタテインメント 情報処理装置
JP2015036033A (ja) * 2013-08-12 2015-02-23 株式会社ソニー・コンピュータエンタテインメント 情報処理システムおよび情報処理装置
JP2016046538A (ja) * 2014-08-19 2016-04-04 株式会社ソニー・コンピュータエンタテインメント 情報処理装置、制御データ送信方法および情報処理システム
JP2017035298A (ja) * 2015-08-10 2017-02-16 株式会社ソニー・インタラクティブエンタテインメント 情報処理装置および視聴リクエスト送信方法

Cited By (2)

* Cited by examiner, † Cited by third party
Publication number Priority date Publication date Assignee Title
JP2023547646A (ja) * 2020-10-28 2023-11-13 ビゴ テクノロジー ピーティーイー. リミテッド 動画再生方法、装置、端末および記憶媒体
JP7473930B2 (ja) 2020-10-28 2024-04-24 ビゴ テクノロジー ピーティーイー. リミテッド 動画再生方法、装置、端末および記憶媒体

Also Published As

Publication number Publication date
US20200306650A1 (en) 2020-10-01
CN111405931B (zh) 2024-03-01
US11351467B2 (en) 2022-06-07
CN111405931A (zh) 2020-07-10
EP3718614A1 (en) 2020-10-07
JP2019097888A (ja) 2019-06-24
EP3718614A4 (en) 2021-07-28
JP6839068B2 (ja) 2021-03-03
EP3718614B1 (en) 2023-09-13

Similar Documents

Publication Publication Date Title
JP6839068B2 (ja) 情報処理装置およびゲーム画像配信方法
JP6743241B2 (ja) 情報処理装置
US20230396851A1 (en) Server and method
JP6737717B2 (ja) 情報処理装置およびアプリケーション画像配信方法
JP6612086B2 (ja) 情報処理装置および視聴リクエスト送信方法
US10668373B2 (en) Information processing apparatus, information displaying method and information processing system for sharing content with users
US10905952B2 (en) Information processing apparatus, information displaying method and information processing system providing multiple sharing modes in interactive application processing
JP7365952B2 (ja) 情報処理装置および画像配信方法
US10632374B2 (en) Information processing apparatus and user information displaying method
WO2019107275A1 (ja) 情報処理装置およびゲーム画像配信方法
JP2024006973A (ja) データ処理方法、システム及びコンピュータプログラム
JP7441735B2 (ja) 配信サーバおよび画像配信方法
JP7139473B2 (ja) 情報処理装置およびゲーム画像表示方法
JP7300421B2 (ja) 情報処理装置および画像共有方法
JP7351945B2 (ja) 情報処理装置およびゲーム画像表示方法
CN114760520A (zh) 直播中小视频拍摄互动方法、装置、设备及存储介质
TW202201956A (zh) 資訊處理裝置及影像共享方法
WO2021193399A1 (ja) 情報処理装置およびゲーム画像配信方法

Legal Events

Date Code Title Description
121 Ep: the epo has been informed by wipo that ep was designated in this application

Ref document number: 18884614

Country of ref document: EP

Kind code of ref document: A1

NENP Non-entry into the national phase

Ref country code: DE

ENP Entry into the national phase

Ref document number: 2018884614

Country of ref document: EP

Effective date: 20200701