WO2019044218A1 - 不織布 - Google Patents
不織布 Download PDFInfo
- Publication number
- WO2019044218A1 WO2019044218A1 PCT/JP2018/026729 JP2018026729W WO2019044218A1 WO 2019044218 A1 WO2019044218 A1 WO 2019044218A1 JP 2018026729 W JP2018026729 W JP 2018026729W WO 2019044218 A1 WO2019044218 A1 WO 2019044218A1
- Authority
- WO
- WIPO (PCT)
- Prior art keywords
- fiber layer
- nonwoven fabric
- surface side
- less
- woven fabric
- Prior art date
- Legal status (The legal status is an assumption and is not a legal conclusion. Google has not performed a legal analysis and makes no representation as to the accuracy of the status listed.)
- Ceased
Links
Images
Classifications
-
- A—HUMAN NECESSITIES
- A61—MEDICAL OR VETERINARY SCIENCE; HYGIENE
- A61F—FILTERS IMPLANTABLE INTO BLOOD VESSELS; PROSTHESES; DEVICES PROVIDING PATENCY TO, OR PREVENTING COLLAPSING OF, TUBULAR STRUCTURES OF THE BODY, e.g. STENTS; ORTHOPAEDIC, NURSING OR CONTRACEPTIVE DEVICES; FOMENTATION; TREATMENT OR PROTECTION OF EYES OR EARS; BANDAGES, DRESSINGS OR ABSORBENT PADS; FIRST-AID KITS
- A61F13/00—Bandages or dressings; Absorbent pads
- A61F13/15—Absorbent pads, e.g. sanitary towels, swabs or tampons for external or internal application to the body; Supporting or fastening means therefor; Tampon applicators
- A61F13/15577—Apparatus or processes for manufacturing
- A61F13/15707—Mechanical treatment, e.g. notching, twisting, compressing, shaping
- A61F13/15731—Treating webs, e.g. for giving them a fibrelike appearance, e.g. by embossing
-
- A—HUMAN NECESSITIES
- A61—MEDICAL OR VETERINARY SCIENCE; HYGIENE
- A61F—FILTERS IMPLANTABLE INTO BLOOD VESSELS; PROSTHESES; DEVICES PROVIDING PATENCY TO, OR PREVENTING COLLAPSING OF, TUBULAR STRUCTURES OF THE BODY, e.g. STENTS; ORTHOPAEDIC, NURSING OR CONTRACEPTIVE DEVICES; FOMENTATION; TREATMENT OR PROTECTION OF EYES OR EARS; BANDAGES, DRESSINGS OR ABSORBENT PADS; FIRST-AID KITS
- A61F13/00—Bandages or dressings; Absorbent pads
- A61F13/15—Absorbent pads, e.g. sanitary towels, swabs or tampons for external or internal application to the body; Supporting or fastening means therefor; Tampon applicators
- A61F13/45—Absorbent pads, e.g. sanitary towels, swabs or tampons for external or internal application to the body; Supporting or fastening means therefor; Tampon applicators characterised by the shape
- A61F13/49—Absorbent pads, e.g. sanitary towels, swabs or tampons for external or internal application to the body; Supporting or fastening means therefor; Tampon applicators characterised by the shape specially adapted to be worn around the waist, e.g. diapers, nappies
- A61F13/49007—Form-fitting, self-adjusting disposable diapers
-
- A—HUMAN NECESSITIES
- A61—MEDICAL OR VETERINARY SCIENCE; HYGIENE
- A61F—FILTERS IMPLANTABLE INTO BLOOD VESSELS; PROSTHESES; DEVICES PROVIDING PATENCY TO, OR PREVENTING COLLAPSING OF, TUBULAR STRUCTURES OF THE BODY, e.g. STENTS; ORTHOPAEDIC, NURSING OR CONTRACEPTIVE DEVICES; FOMENTATION; TREATMENT OR PROTECTION OF EYES OR EARS; BANDAGES, DRESSINGS OR ABSORBENT PADS; FIRST-AID KITS
- A61F13/00—Bandages or dressings; Absorbent pads
- A61F13/15—Absorbent pads, e.g. sanitary towels, swabs or tampons for external or internal application to the body; Supporting or fastening means therefor; Tampon applicators
- A61F13/51—Absorbent pads, e.g. sanitary towels, swabs or tampons for external or internal application to the body; Supporting or fastening means therefor; Tampon applicators characterised by the outer layers of the pads
- A61F13/511—Topsheet, i.e. the permeable cover or layer facing the skin
-
- A—HUMAN NECESSITIES
- A61—MEDICAL OR VETERINARY SCIENCE; HYGIENE
- A61F—FILTERS IMPLANTABLE INTO BLOOD VESSELS; PROSTHESES; DEVICES PROVIDING PATENCY TO, OR PREVENTING COLLAPSING OF, TUBULAR STRUCTURES OF THE BODY, e.g. STENTS; ORTHOPAEDIC, NURSING OR CONTRACEPTIVE DEVICES; FOMENTATION; TREATMENT OR PROTECTION OF EYES OR EARS; BANDAGES, DRESSINGS OR ABSORBENT PADS; FIRST-AID KITS
- A61F13/00—Bandages or dressings; Absorbent pads
- A61F13/15—Absorbent pads, e.g. sanitary towels, swabs or tampons for external or internal application to the body; Supporting or fastening means therefor; Tampon applicators
- A61F13/51—Absorbent pads, e.g. sanitary towels, swabs or tampons for external or internal application to the body; Supporting or fastening means therefor; Tampon applicators characterised by the outer layers of the pads
- A61F13/511—Topsheet, i.e. the permeable cover or layer facing the skin
- A61F13/51104—Topsheet, i.e. the permeable cover or layer facing the skin the top sheet having a three-dimensional cross-section, e.g. corrugations, embossments, recesses or projections
-
- A—HUMAN NECESSITIES
- A61—MEDICAL OR VETERINARY SCIENCE; HYGIENE
- A61F—FILTERS IMPLANTABLE INTO BLOOD VESSELS; PROSTHESES; DEVICES PROVIDING PATENCY TO, OR PREVENTING COLLAPSING OF, TUBULAR STRUCTURES OF THE BODY, e.g. STENTS; ORTHOPAEDIC, NURSING OR CONTRACEPTIVE DEVICES; FOMENTATION; TREATMENT OR PROTECTION OF EYES OR EARS; BANDAGES, DRESSINGS OR ABSORBENT PADS; FIRST-AID KITS
- A61F13/00—Bandages or dressings; Absorbent pads
- A61F13/15—Absorbent pads, e.g. sanitary towels, swabs or tampons for external or internal application to the body; Supporting or fastening means therefor; Tampon applicators
- A61F13/51—Absorbent pads, e.g. sanitary towels, swabs or tampons for external or internal application to the body; Supporting or fastening means therefor; Tampon applicators characterised by the outer layers of the pads
- A61F13/511—Topsheet, i.e. the permeable cover or layer facing the skin
- A61F13/51104—Topsheet, i.e. the permeable cover or layer facing the skin the top sheet having a three-dimensional cross-section, e.g. corrugations, embossments, recesses or projections
- A61F13/51108—Topsheet, i.e. the permeable cover or layer facing the skin the top sheet having a three-dimensional cross-section, e.g. corrugations, embossments, recesses or projections the top sheet having corrugations or embossments having one axis relatively longer than the other axis, e.g. forming channels or grooves in a longitudinal direction
-
- A—HUMAN NECESSITIES
- A61—MEDICAL OR VETERINARY SCIENCE; HYGIENE
- A61F—FILTERS IMPLANTABLE INTO BLOOD VESSELS; PROSTHESES; DEVICES PROVIDING PATENCY TO, OR PREVENTING COLLAPSING OF, TUBULAR STRUCTURES OF THE BODY, e.g. STENTS; ORTHOPAEDIC, NURSING OR CONTRACEPTIVE DEVICES; FOMENTATION; TREATMENT OR PROTECTION OF EYES OR EARS; BANDAGES, DRESSINGS OR ABSORBENT PADS; FIRST-AID KITS
- A61F13/00—Bandages or dressings; Absorbent pads
- A61F13/15—Absorbent pads, e.g. sanitary towels, swabs or tampons for external or internal application to the body; Supporting or fastening means therefor; Tampon applicators
- A61F13/51—Absorbent pads, e.g. sanitary towels, swabs or tampons for external or internal application to the body; Supporting or fastening means therefor; Tampon applicators characterised by the outer layers of the pads
- A61F13/511—Topsheet, i.e. the permeable cover or layer facing the skin
- A61F13/51121—Topsheet, i.e. the permeable cover or layer facing the skin characterised by the material
-
- D—TEXTILES; PAPER
- D04—BRAIDING; LACE-MAKING; KNITTING; TRIMMINGS; NON-WOVEN FABRICS
- D04H—MAKING TEXTILE FABRICS, e.g. FROM FIBRES OR FILAMENTARY MATERIAL; FABRICS MADE BY SUCH PROCESSES OR APPARATUS, e.g. FELTS, NON-WOVEN FABRICS; COTTON-WOOL; WADDING ; NON-WOVEN FABRICS FROM STAPLE FIBRES, FILAMENTS OR YARNS, BONDED WITH AT LEAST ONE WEB-LIKE MATERIAL DURING THEIR CONSOLIDATION
- D04H1/00—Non-woven fabrics formed wholly or mainly of staple fibres or like relatively short fibres
- D04H1/40—Non-woven fabrics formed wholly or mainly of staple fibres or like relatively short fibres from fleeces or layers composed of fibres without existing or potential cohesive properties
- D04H1/42—Non-woven fabrics formed wholly or mainly of staple fibres or like relatively short fibres from fleeces or layers composed of fibres without existing or potential cohesive properties characterised by the use of certain kinds of fibres insofar as this use has no preponderant influence on the consolidation of the fleece
- D04H1/4374—Non-woven fabrics formed wholly or mainly of staple fibres or like relatively short fibres from fleeces or layers composed of fibres without existing or potential cohesive properties characterised by the use of certain kinds of fibres insofar as this use has no preponderant influence on the consolidation of the fleece using different kinds of webs, e.g. by layering webs
-
- D—TEXTILES; PAPER
- D04—BRAIDING; LACE-MAKING; KNITTING; TRIMMINGS; NON-WOVEN FABRICS
- D04H—MAKING TEXTILE FABRICS, e.g. FROM FIBRES OR FILAMENTARY MATERIAL; FABRICS MADE BY SUCH PROCESSES OR APPARATUS, e.g. FELTS, NON-WOVEN FABRICS; COTTON-WOOL; WADDING ; NON-WOVEN FABRICS FROM STAPLE FIBRES, FILAMENTS OR YARNS, BONDED WITH AT LEAST ONE WEB-LIKE MATERIAL DURING THEIR CONSOLIDATION
- D04H1/00—Non-woven fabrics formed wholly or mainly of staple fibres or like relatively short fibres
- D04H1/40—Non-woven fabrics formed wholly or mainly of staple fibres or like relatively short fibres from fleeces or layers composed of fibres without existing or potential cohesive properties
- D04H1/54—Non-woven fabrics formed wholly or mainly of staple fibres or like relatively short fibres from fleeces or layers composed of fibres without existing or potential cohesive properties by welding together the fibres, e.g. by partially melting or dissolving
-
- D—TEXTILES; PAPER
- D04—BRAIDING; LACE-MAKING; KNITTING; TRIMMINGS; NON-WOVEN FABRICS
- D04H—MAKING TEXTILE FABRICS, e.g. FROM FIBRES OR FILAMENTARY MATERIAL; FABRICS MADE BY SUCH PROCESSES OR APPARATUS, e.g. FELTS, NON-WOVEN FABRICS; COTTON-WOOL; WADDING ; NON-WOVEN FABRICS FROM STAPLE FIBRES, FILAMENTS OR YARNS, BONDED WITH AT LEAST ONE WEB-LIKE MATERIAL DURING THEIR CONSOLIDATION
- D04H1/00—Non-woven fabrics formed wholly or mainly of staple fibres or like relatively short fibres
- D04H1/40—Non-woven fabrics formed wholly or mainly of staple fibres or like relatively short fibres from fleeces or layers composed of fibres without existing or potential cohesive properties
- D04H1/54—Non-woven fabrics formed wholly or mainly of staple fibres or like relatively short fibres from fleeces or layers composed of fibres without existing or potential cohesive properties by welding together the fibres, e.g. by partially melting or dissolving
- D04H1/541—Composite fibres, e.g. sheath-core, sea-island or side-by-side; Mixed fibres
- D04H1/5412—Composite fibres, e.g. sheath-core, sea-island or side-by-side; Mixed fibres sheath-core
-
- D—TEXTILES; PAPER
- D04—BRAIDING; LACE-MAKING; KNITTING; TRIMMINGS; NON-WOVEN FABRICS
- D04H—MAKING TEXTILE FABRICS, e.g. FROM FIBRES OR FILAMENTARY MATERIAL; FABRICS MADE BY SUCH PROCESSES OR APPARATUS, e.g. FELTS, NON-WOVEN FABRICS; COTTON-WOOL; WADDING ; NON-WOVEN FABRICS FROM STAPLE FIBRES, FILAMENTS OR YARNS, BONDED WITH AT LEAST ONE WEB-LIKE MATERIAL DURING THEIR CONSOLIDATION
- D04H1/00—Non-woven fabrics formed wholly or mainly of staple fibres or like relatively short fibres
- D04H1/70—Non-woven fabrics formed wholly or mainly of staple fibres or like relatively short fibres characterised by the method of forming fleeces or layers, e.g. reorientation of fibres
- D04H1/72—Non-woven fabrics formed wholly or mainly of staple fibres or like relatively short fibres characterised by the method of forming fleeces or layers, e.g. reorientation of fibres the fibres being randomly arranged
- D04H1/732—Non-woven fabrics formed wholly or mainly of staple fibres or like relatively short fibres characterised by the method of forming fleeces or layers, e.g. reorientation of fibres the fibres being randomly arranged by fluid current, e.g. air-lay
-
- D—TEXTILES; PAPER
- D04—BRAIDING; LACE-MAKING; KNITTING; TRIMMINGS; NON-WOVEN FABRICS
- D04H—MAKING TEXTILE FABRICS, e.g. FROM FIBRES OR FILAMENTARY MATERIAL; FABRICS MADE BY SUCH PROCESSES OR APPARATUS, e.g. FELTS, NON-WOVEN FABRICS; COTTON-WOOL; WADDING ; NON-WOVEN FABRICS FROM STAPLE FIBRES, FILAMENTS OR YARNS, BONDED WITH AT LEAST ONE WEB-LIKE MATERIAL DURING THEIR CONSOLIDATION
- D04H1/00—Non-woven fabrics formed wholly or mainly of staple fibres or like relatively short fibres
- D04H1/70—Non-woven fabrics formed wholly or mainly of staple fibres or like relatively short fibres characterised by the method of forming fleeces or layers, e.g. reorientation of fibres
- D04H1/74—Non-woven fabrics formed wholly or mainly of staple fibres or like relatively short fibres characterised by the method of forming fleeces or layers, e.g. reorientation of fibres the fibres being orientated, e.g. in parallel (anisotropic fleeces)
-
- D—TEXTILES; PAPER
- D04—BRAIDING; LACE-MAKING; KNITTING; TRIMMINGS; NON-WOVEN FABRICS
- D04H—MAKING TEXTILE FABRICS, e.g. FROM FIBRES OR FILAMENTARY MATERIAL; FABRICS MADE BY SUCH PROCESSES OR APPARATUS, e.g. FELTS, NON-WOVEN FABRICS; COTTON-WOOL; WADDING ; NON-WOVEN FABRICS FROM STAPLE FIBRES, FILAMENTS OR YARNS, BONDED WITH AT LEAST ONE WEB-LIKE MATERIAL DURING THEIR CONSOLIDATION
- D04H1/00—Non-woven fabrics formed wholly or mainly of staple fibres or like relatively short fibres
- D04H1/70—Non-woven fabrics formed wholly or mainly of staple fibres or like relatively short fibres characterised by the method of forming fleeces or layers, e.g. reorientation of fibres
- D04H1/76—Non-woven fabrics formed wholly or mainly of staple fibres or like relatively short fibres characterised by the method of forming fleeces or layers, e.g. reorientation of fibres otherwise than in a plane, e.g. in a tubular way
-
- A—HUMAN NECESSITIES
- A61—MEDICAL OR VETERINARY SCIENCE; HYGIENE
- A61F—FILTERS IMPLANTABLE INTO BLOOD VESSELS; PROSTHESES; DEVICES PROVIDING PATENCY TO, OR PREVENTING COLLAPSING OF, TUBULAR STRUCTURES OF THE BODY, e.g. STENTS; ORTHOPAEDIC, NURSING OR CONTRACEPTIVE DEVICES; FOMENTATION; TREATMENT OR PROTECTION OF EYES OR EARS; BANDAGES, DRESSINGS OR ABSORBENT PADS; FIRST-AID KITS
- A61F13/00—Bandages or dressings; Absorbent pads
- A61F13/15—Absorbent pads, e.g. sanitary towels, swabs or tampons for external or internal application to the body; Supporting or fastening means therefor; Tampon applicators
- A61F13/15577—Apparatus or processes for manufacturing
- A61F2013/15821—Apparatus or processes for manufacturing characterized by the apparatus for manufacturing
- A61F2013/15934—Apparatus or processes for manufacturing characterized by the apparatus for manufacturing for making non-woven
-
- A—HUMAN NECESSITIES
- A61—MEDICAL OR VETERINARY SCIENCE; HYGIENE
- A61F—FILTERS IMPLANTABLE INTO BLOOD VESSELS; PROSTHESES; DEVICES PROVIDING PATENCY TO, OR PREVENTING COLLAPSING OF, TUBULAR STRUCTURES OF THE BODY, e.g. STENTS; ORTHOPAEDIC, NURSING OR CONTRACEPTIVE DEVICES; FOMENTATION; TREATMENT OR PROTECTION OF EYES OR EARS; BANDAGES, DRESSINGS OR ABSORBENT PADS; FIRST-AID KITS
- A61F13/00—Bandages or dressings; Absorbent pads
- A61F13/15—Absorbent pads, e.g. sanitary towels, swabs or tampons for external or internal application to the body; Supporting or fastening means therefor; Tampon applicators
- A61F13/51—Absorbent pads, e.g. sanitary towels, swabs or tampons for external or internal application to the body; Supporting or fastening means therefor; Tampon applicators characterised by the outer layers of the pads
- A61F2013/51002—Absorbent pads, e.g. sanitary towels, swabs or tampons for external or internal application to the body; Supporting or fastening means therefor; Tampon applicators characterised by the outer layers of the pads with special fibres
- A61F2013/51023—Absorbent pads, e.g. sanitary towels, swabs or tampons for external or internal application to the body; Supporting or fastening means therefor; Tampon applicators characterised by the outer layers of the pads with special fibres being polymeric fibres
- A61F2013/51026—Absorbent pads, e.g. sanitary towels, swabs or tampons for external or internal application to the body; Supporting or fastening means therefor; Tampon applicators characterised by the outer layers of the pads with special fibres being polymeric fibres being in thermoplastic material
-
- A—HUMAN NECESSITIES
- A61—MEDICAL OR VETERINARY SCIENCE; HYGIENE
- A61F—FILTERS IMPLANTABLE INTO BLOOD VESSELS; PROSTHESES; DEVICES PROVIDING PATENCY TO, OR PREVENTING COLLAPSING OF, TUBULAR STRUCTURES OF THE BODY, e.g. STENTS; ORTHOPAEDIC, NURSING OR CONTRACEPTIVE DEVICES; FOMENTATION; TREATMENT OR PROTECTION OF EYES OR EARS; BANDAGES, DRESSINGS OR ABSORBENT PADS; FIRST-AID KITS
- A61F13/00—Bandages or dressings; Absorbent pads
- A61F13/15—Absorbent pads, e.g. sanitary towels, swabs or tampons for external or internal application to the body; Supporting or fastening means therefor; Tampon applicators
- A61F13/51—Absorbent pads, e.g. sanitary towels, swabs or tampons for external or internal application to the body; Supporting or fastening means therefor; Tampon applicators characterised by the outer layers of the pads
- A61F2013/51092—Absorbent pads, e.g. sanitary towels, swabs or tampons for external or internal application to the body; Supporting or fastening means therefor; Tampon applicators characterised by the outer layers of the pads characterized by the dimensions
-
- D—TEXTILES; PAPER
- D10—INDEXING SCHEME ASSOCIATED WITH SUBLASSES OF SECTION D, RELATING TO TEXTILES
- D10B—INDEXING SCHEME ASSOCIATED WITH SUBLASSES OF SECTION D, RELATING TO TEXTILES
- D10B2401/00—Physical properties
- D10B2401/04—Heat-responsive characteristics
- D10B2401/041—Heat-responsive characteristics thermoplastic; thermosetting
-
- D—TEXTILES; PAPER
- D10—INDEXING SCHEME ASSOCIATED WITH SUBLASSES OF SECTION D, RELATING TO TEXTILES
- D10B—INDEXING SCHEME ASSOCIATED WITH SUBLASSES OF SECTION D, RELATING TO TEXTILES
- D10B2509/00—Medical; Hygiene
- D10B2509/02—Bandages, dressings or absorbent pads
- D10B2509/026—Absorbent pads; Tampons; Laundry; Towels
Definitions
- the present invention relates to non-woven fabrics.
- Nonwoven fabrics are often used for absorbent articles such as sanitary napkins and diapers. There are known techniques for imparting various functions to this non-woven fabric.
- the nonwoven fabrics described in Patent Documents 1 and 2 are intended to enhance cushioning and the like by making the both surfaces uneven.
- the non-woven fabric has a structure in which first protrusions and second protrusions protruding in opposite directions are alternately arranged in different directions intersecting in plan view via an annular wall. The tops of these protrusions are rounded in view of soft touch.
- the present invention is a non-woven fabric having thermoplastic fibers and having a first surface and a second surface opposite to the first surface, wherein the fibers are oriented in a planar direction. Distributed between the outer surface fiber layer on the surface side and the second surface side, the outer surface fiber layer on the first surface side, and the outer surface fiber layer on the second surface side, and the fibers are oriented in the thickness direction of the nonwoven fabric There is provided a non-woven fabric having a plurality of connecting portions, and the outer surface fiber layer on the first surface side, the outer surface fiber layer on the second surface side, and the connecting portions are partially fused to each other. .
- (A) is a top view which partially expands and shows the 1st surface side of the nonwoven fabric of this embodiment
- (B) is a plane which partially expands and shows the 2nd surface side of the nonwoven fabric of this embodiment
- FIG. BRIEF DESCRIPTION OF THE DRAWINGS It is explanatory drawing which shows typically an example of the preferable manufacturing method of the nonwoven fabric of this embodiment, (A) distributes a fiber web on a support male material, and supports female material from said fiber web to a support male material. It is explanatory drawing which shows the process to push in, (B) is explanatory drawing which shows the process of striking a 1st hot air from above the support female material, and shaping a fiber web, (C) is a support female material.
- FIG. 7B is a cross-sectional view showing the arrangement of the projections of the male support and the projections of the female support and the fibers in which the fibers are to be oriented in the thickness direction in the process of FIG. 7B. It is a graph which shows the recoverability after 1-day compression of the nonwoven fabric using the core-sheath-type composite fiber whose resin component of a core is polyethylene terephthalate and whose resin component of a sheath is polyethylene.
- the present invention relates to a non-woven fabric having a cushioning property while securing a sufficient thickness and having a large amount of compressive deformation due to a pressing load.
- the nonwoven fabric of the present invention secures a sufficient thickness, has a large amount of compressive deformation due to a pressing load, and has cushioning properties.
- FIG. 1 shows the nonwoven fabric 10 of the present embodiment.
- the nonwoven fabric 10 has a first surface side Z1 and a second surface side Z2 which is the opposite surface side of the first surface side Z1.
- the first surface side Z1 and the second surface side Z2 are the front and back surface sides of the nonwoven fabric 10.
- the nonwoven fabric 10 can be applied to, for example, a surface sheet of an absorbent article such as a sanitary napkin or disposable diaper. When using as a surface sheet, you may use either side toward a wearer's skin surface. However, from the viewpoint of excellent cushioning properties and soft touch, it is possible to use the first surface side Z1, which is the surface opposite to the surface to which hot air hits at the time of manufacture, toward the skin surface of the wearer.
- FIG. 2 shows an example of a diaper 200 in which the nonwoven fabric 10 is disposed as the top sheet 201 with the first surface Z1 facing the skin surface of the wearer. That is, in this example, the outer surface fiber layer 1 on the first surface side Z1 is directed to the skin surface side of the wearer.
- the diaper 200 includes, in addition to the top sheet 201, an absorbent body 203 sandwiched between the back sheet 202 on the clothes side, the top sheet 201, and the back sheet 202. Furthermore, in the present embodiment, a side leakage prevention gathers 207 formed by the side sheets are provided.
- the diaper 200 shows the tape type which fixes and mounts the fastening tape 206 of the back side R to the ventral side F, it is not limited to this and may be a pants type. Moreover, it is applicable to various absorbent articles other than a diaper, such as a sanitary napkin, for example.
- the following description is given in consideration of an embodiment in which the first surface side Z1 of the non-woven fabric 10 shown in FIG. 1 is directed to the skin surface.
- the present invention is not construed as being limited thereby.
- the nonwoven fabric 10 of the present embodiment has a thermoplastic fiber. In thermoplastic fibers, at least some of the fibers are fused at intersections.
- the non-woven fabric 10 has a thickness shaped in a shape different from that of the conventional sheet-like non-woven fabric, as described below. Furthermore, it has deformation behavior different from that of the conventional sheet-like nonwoven fabric in the compression direction. This deformation behavior is a behavior according to the size of the load, thereby providing a unique cushioning property. For example, the non-woven fabric 10 is not easily crushed against a low load such as being lightly touched by a finger, and gives a moderate elasticity to the finger. This produces a cushioning sensation corresponding to the weak pressure of the finger.
- the non-woven fabric 10 When a large load is applied, it absorbs impact with a large amount of compressive deformation and exhibits excellent thickness recovery. This creates a soft cushioning feel.
- the non-woven fabric 10 has different cushioning properties according to the size of the load.
- the nonwoven fabric 10 has outer fiber layers 1 and 2 of the first surface side Z1 and the second surface side Z2 in which the fibers are oriented in the planar direction.
- the outer surface fiber layer 1 is on the first surface side Z1 in the thickness direction Z of the nonwoven fabric 10, and the outer surface fiber layer 2 is on the second surface side Z2.
- the outer surface fiber layer 1 on the first surface side Z1 and the outer surface fiber layer 2 on the second surface side Z2 are simply referred to as the outer surface fiber layer 1 and the outer surface fiber layer 2, respectively.
- the outer fiber layers 1 and 2 and the connecting portion 3 mutually fuse, and at least a part of the fibers are fused and integrated seamlessly.
- the non-woven fabric 10 is bulky and thick because the connecting portion 3 connects and supports the outer fiber layers 1 and 2.
- the thickness of the non-woven fabric 10 refers not to the local thickness of only the outer surface fiber layers 1 and 2 and the connecting portion 3 but to the apparent thickness of the shaped non-woven fabric as a whole. In the present embodiment, the thickness is between the surface of the first surface side Z1 and the surface of the second surface side Z2. This thickness is also referred to as the apparent thickness of the nonwoven fabric 10.
- thermoplastic fibers are fused at intersections of at least a part of the fibers also in the outer surface fiber layers 1 and 2, the connection portion 3, and each portion other than the connection portion.
- the nonwoven fabric 10 may have intersections at which the thermoplastic fibers do not fuse together.
- the non-woven fabric 10 may contain fibers other than thermoplastic fibers, including the case where the thermoplastic fibers fuse at the intersection with other fibers.
- the outer surface fiber layer 1 and the outer surface fiber layer 2 are portions where fibers are oriented in the planar direction on the first surface side Z1 and the second surface side Z2 of the nonwoven fabric 10, respectively.
- the fibers are oriented in the planar direction means that the longitudinal orientation ratio of the fibers obtained by the measurement method described later is less than 45%.
- the longitudinal orientation ratio of the fibers By setting the longitudinal orientation ratio of the fibers to less than 45%, the fibers can be sufficiently aligned in the planar direction, and a flat shape can be maintained. From the viewpoint of shape retention and strength retention of the non-woven fabric, it is preferable to set the longitudinal orientation ratio of the fibers to 0% or more, and more preferably to 30% or more from the outer surface fiber layer oriented in the planar direction.
- the longitudinal orientation ratio of the fibers of the outer surface fiber layer 1 and the outer surface fiber layer 2 is preferable to set the longitudinal orientation ratio of the fibers of the outer surface fiber layer 1 and the outer surface fiber layer 2 to less than 40%, as it is easy to be in contact with the plane like the normal flat non-woven fabric. It is more preferable to make it% or less.
- the connecting portion 3 is a portion in which the fibers are oriented in the thickness direction of the nonwoven fabric 10 as described above.
- the fibers are oriented in the thickness direction of the nonwoven fabric means that the longitudinal orientation ratio of the fibers obtained by the measurement method described later is 60% or more. It can be said that the connection portion 3 is vertically disposed in the thickness direction of the nonwoven fabric 10 by having the longitudinal orientation ratio of the fibers in this range.
- the connecting portion 3 has a longitudinal orientation ratio of fibers of 60% or more and partially fused between the fibers, and thus stands up like a pillar, and is appropriate in the thickness direction of the nonwoven fabric 10 Give elasticity.
- the non-woven fabric since the fibers of the conventional non-woven fabric do not have the longitudinal orientation ratio of the fibers as in the connecting portion 3 of the present embodiment, the non-woven fabric It deforms to fill in and the amount of deformation increases according to the force.
- the connection portion 3 supports the outer surface fiber layers 1 and 2 like a pillar and can withstand a slight force from the same direction because it is perpendicular to the thickness direction.
- the column is deformed so as to break when a large force is applied.
- deformation similar to the so-called buckling phenomenon which is not found in conventional non-woven fabrics, occurs (hereinafter also referred to as buckling deformation).
- the connection portion is bent as in the buckling phenomenon, the nonwoven fabric 10 can recover its original thickness by the elasticity described later.
- the longitudinal orientation ratio of the fibers of the connecting portion 3 defined above is preferably 63% or more, more preferably 65% or more, and still more preferably 68% or more.
- the upper limit is not particularly limited, but the longitudinal orientation ratio is preferably 90% or less from the viewpoint of forming a fusion point by forming intersection points between fibers and forming fibers in a columnar shape to withstand a force. 85% or less is more preferable, and 80% or less is still more preferable.
- the longitudinal orientation ratio of the connection portion 3 is preferably 63% to 90%, more preferably 65% to 85%, and still more preferably 68% to 80%.
- the outer surface fiber layers 1 and 2 and the connecting portion 3 are portions divided as a region in which the longitudinal orientation ratio of the fibers is in the above range.
- the connection portion 3 is connected to the outer surface fiber layers 1 and 2 at the end without a joint, so in that portion, fibers oriented in the plane direction and fibers oriented in the thickness direction are mixed.
- the longitudinal orientation ratio of the fibers is diagonally oriented at 45% to 60%, the fibers being preferred. It is more preferable that the longitudinal orientation ratio of the film gradually shifts from 45% to a sufficient longitudinal orientation of 60% or less.
- the outer surface fiber layers 1 and 2 form flat surfaces on both sides of the nonwoven fabric 10 by having the orientation of the fibers as described above.
- the connection part 3 is in the state which stood up in the thickness direction of the nonwoven fabric 10 by having orientation of the above fibers.
- the connection part 3 is perpendicularly
- the connecting portion 3 is preferably arranged to connect the end portions of the outer surface fiber layers 1 and 2 from the viewpoint of cushioning properties described later.
- the longitudinal orientation ratio of the fibers of the outer surface fiber layers 1 and 2 and the connecting portion 3 can be measured based on the following (1) to (3).
- (1) Preparation of cross section of non-woven fabric A cross section (longitudinal cross section) of non-woven fabric passing through the outer surface fiber layer 1 on the first surface side Z1 and the outer surface fiber layer 2 on the second surface side Z2 A cross section in the thickness direction is produced at a position orthogonal to the extending direction and passing through the center of the extending length.
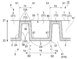
- nonwoven fabric 10 when nonwoven fabric 10 has space part 4 as mentioned below, it is a section (longitudinal section) of nonwoven fabric which passes external fiber layer 1 of the 1st field side Z1 and exterior fiber layer 2 of the 2nd field side Z2. Then, a cross section in the thickness direction at a position passing through the center of the space 4 is produced. For example, a cross section (FIGS. 3 and 4) in the thickness direction passing through the line AA and the line BB in FIG. 1 is prepared.
- the cross section in the thickness direction passing through the line AA shown in FIG. 3 is a cross section orthogonal to the longitudinal direction (Y direction) of the nonwoven fabric from which the connecting portion 3 extends.
- lengths T1, T2 and T3 of the nonwoven fabric width direction (X direction) of the connecting portion 3, the outer surface fiber layer 1 on the first surface side Z1, and the outer surface fiber layer 2 on the second surface side Z2 are shown.
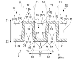
- the cross section in the thickness direction passing through the line B-B shown in FIG. 4 is a cross section orthogonal to the width direction (X direction) of the nonwoven fabric from which the connecting portion 3 extends.
- lengths T4, T5, and T6 of the nonwoven fabric longitudinal direction (Y direction) of the connecting portion 3, the outer surface fiber layer 1 on the first surface side Z1, and the outer surface fiber layer 2 on the second surface side Z2 are shown.
- the said cross section shall cut off the nonwoven fabric of a measuring object 5 mm x 5 mm or more.
- the boundary between the outer fiber layers 1 and 2 in the cross section in the thickness direction can be determined. More specifically, in the cross-sectional observation as shown in FIG. 5, in the fiber layer showing the cross section in the thickness direction, the range in contact with the pedestal 201 is the length T3 of the outer surface fiber layer 2 in the plane direction ( Or T6) and define each boundary (both edges) as S2. Of the fiber layers made into cross sections in the thickness direction, the range in contact with the thick paper 202 is defined as the length T2 (or T5) of the outer fiber layer 1 in the plane direction, and the boundaries (both ends) are S1. It prescribes.
- the base 201 and the thick paper 202 are usually in contact with each other at any cross-section.
- the concepts of T2 and T3 do not exist.
- the length T1 (or T4) in the plane direction of the connecting portion 3 is determined.
- the connection portion 3 is disposed so as to connect the end portions of the outer surface fiber layer 1 on the first surface side Z1 and the outer surface fiber layer 2 on the second surface side Z2 in the thickness direction.
- the planar length T1 (or T4) of the connecting portion 3 is the length between adjacent T2 and T3 (or between T5 and T6).
- the length in the plane direction of the cross-sectional fiber layer sandwiched between imaginary lines obtained by extending the boundary (end) S1 and S2 of the lengths in the plane direction of the outer surface fiber layers 1 and 2 in the thickness direction Let the length T1 (or T4) of the connecting portion 3 in the plane direction. If the length of T1 (or T4) does not exist between T2 and T3 (or between T5 and T6) (that is, if the boundaries S1 and S2 overlap), the length of T1 (or T4) is It is assumed that 0. However, the length T1 (or T4) of the connecting portion 3 in the plane direction is an outer surface fiber, as shown in FIGS. 4 and 5, as the connecting portion 3 gets closer to the arrangement perpendicular to the outer surface fiber layers 1 and 2.
- the lengths T2 and T3 (or T5 and T6) of the layers 1 and 2 in the planar direction are the lengths of partially overlapping portions.
- the lengths T1, T2, and T3 (or T4, T5, and T6) in the planar direction defined by the cross-sectional observation are measured at four points, respectively, and the average value is taken as the length.
- each region of T1 (or T4) is observed by enlarging the cross section in the thickness direction with a SEM (JCM-6000 Plus manufactured by JEOL Ltd.) at a magnification of 35 times.
- a 0.5 mm ⁇ 0.5 mm square line is created as a reference line in the observation image.
- Each side (a reference line) of the square is a side orthogonal to each of the thickness direction and the plane direction in the nonwoven fabric cross section.
- Fibers passing through a square reference line orthogonal to the planar direction of the non-woven fabric are defined as “the number of transverse fibers”
- fibers passing through a square reference line orthogonal to the thickness direction of the non-woven fabric are defined as "the number of longitudinal fibers”.
- the outer surface fiber layer 1 on the first surface side Z1 and the outer surface fiber layer 2 on the second surface side Z2 in plane orientation and the connecting portion 3 in the thickness orientation are mutually fused.
- the non-woven fabric of the tenth embodiment is a touch because the fibers in the thickness direction of the connecting portion 3 and the fibers in the plane direction of the outer fiber layers 1 and 2 described above are fused to form a surface. Elasticity is high, and the cushioning feeling is much higher than the conventional uneven nonwoven fabric. It can be felt that the non-woven fabric is plump and thick on the touched finger. Furthermore, when a pressing force (a force assumed to touch the surface sheet of the absorbent article at the time of use and a force of about 2.5 kPa) is applied to one surface side of the nonwoven fabric 10, the pressing The pressure tends to act concentratedly in the thickness direction rather than being dispersed in the planar direction from near the point of force.
- a pressing force a force assumed to touch the surface sheet of the absorbent article at the time of use and a force of about 2.5 kPa
- the force is dispersed in the planar direction, and as described above, there is a correlation between the amount of deformation and the pressing force, and the appropriate elasticity as in the present invention It was not obtained.
- the nonwoven fabric 10 of the present embodiment the pressing force is transmitted in the direction along the fiber orientation direction in the connecting portion 3 because the connecting portion 3 has a high longitudinal orientation rate. As a result, the pressing force does not cause the entire connecting portion 3 to fall down, but causes a deformation (bending) close to the above-described buckling phenomenon at an intermediate position of the connecting portion 3.
- the non-woven fabric 10 is excellent in thickness recovery after compression deformation due to the longitudinal orientation of the above-described fusion-bonded fibers of the connecting portion 3. That is, when the compressive deformation due to the pressing force is released, the non-woven fabric 10 recovers its original apparent thickness due to the elasticity of the fibers of the connecting portion 3. Thereby, even if the nonwoven fabric 10 is touched repeatedly, cushioning property will return and the persistence of this cushioning property is high. As a result, even if the nonwoven fabric 10 is touched and deformed once, its thickness is easily returned as soon as it is released, and it becomes elastic and comfortable.
- the combination with the outer surface fiber layers 1 and 2 is effective for the development of the above-mentioned appropriate elasticity and compressive deformation (buckling deformation) given to the non-woven fabric 10 by the connecting portion 3.
- buckling deformation compressive deformation
- the connecting portion 3 When directly touching the surface, in the case of only the connecting portion having a high longitudinal orientation rate, the structure has only a so-called column lined up. They tend to fall sideways and it is difficult to say that a force is always applied properly in the thickness direction so that buckling deformation occurs.
- the nonwoven fabric 10 of the present embodiment since the fibers in the planar direction are connected like a bridge, the pressing force tends to be concentrated in the thickness direction.
- the outer fiber layers 1 and 2 have the fiber orientation in the planar direction defined above and are connected to the connecting portion 3 by fusion of the fibers, stress tends to be concentrated on the connecting portion 3.
- the pressing force is applied from the first surface side Z1
- the stress is transmitted to the connecting portion 3 connected by the fusion of the fibers without excessively deforming the outer fiber layer 1 to which the pressing force is most remarkably applied.
- the pressing force applied to the outer surface fiber layer 1 acts so that the connecting portion 3 can be suitably buckled and deformed even when the load is eccentric with respect to the fiber orientation direction of the connecting portion 3.
- the outer fiber layer 2 on the second surface side Z2 is not deformed excessively by the pressing force transmitted through the connecting portion 3, and the connecting portion is a terminal end portion of the connecting portion 3 connected by heat fusion of fibers. Support the root of 3
- the pressing force applied to one surface of the non-woven fabric 10 effectively develops compressive deformation (buckling deformation) limited to the vicinity of the force point of the pressing force without crushing the three-dimensional structure of the entire non-woven fabric 10 it can.
- the outer surface fiber layer oriented in the planar direction also has an effect of improving the feeling other than the cushioning feeling. When checking the texture, etc., the person performs a brooming operation other than the pressing operation.
- the presence of the outer surface having an orientation along the brow direction achieves a smoother texture.
- the non-woven fabric 10 achieves an unprecedented feel by having a cushioning feeling with smoothness in the planar direction and a buckling in the thickness direction.
- the elasticity of the connecting portion 3 acts on the force to be pushed, the thickness (bulk height) of the non-woven fabric 10 is maintained, and the smooth feel is more easily felt.
- the non-woven fabric 10 has a thickness (bulk height) sufficient to impart cushioning properties without increasing the amount of fibers due to the three-dimensional structure in the thickness direction consisting of the outer surface fiber layers 1 and 2 and the connecting portion 3 . Therefore, the non-woven fabric 10 is more flexible than the one in which the fiber amount is simply increased to give a thickness, and the fiber amount per unit volume is smaller and the space is increased, so the amount of compressive deformation is increased. Feels a cushiony feeling and feels good to be able to In addition, due to the orientation of the fibers described above, it has appropriate elasticity and has cushioning properties excellent in texture.
- the apparent thickness and the basis weight are preferably in the following ranges. 1.5 mm or more is preferable, as for the apparent thickness of a nonwoven fabric, 2 mm or more is more preferable, and 3 mm or more is still more preferable. Further, the upper limit of the apparent thickness is not particularly limited, but from the viewpoint of having excellent portability and the like when used as a surface sheet of an absorbent article, 10 mm or less is preferable and 9 mm or less is more preferable. , 8 mm or less is more preferable.
- 100 g / m ⁇ 2 > or less is preferable, as for the basic weight of the nonwoven fabric 10 whole which has the said apparent thickness, 60 g / m ⁇ 2 > or less is more preferable, and 40 g / m ⁇ 2 > or less is still more preferable.
- the lower limit of the basis weight is not particularly limited, but from the viewpoint of securing the formation of the non-woven fabric, 8 g / m 2 or more is preferable, 10 g / m 2 or more is more preferable, and 15 g / m 2 or more is further preferable. preferable.
- Apparent thickness measurement method of nonwoven fabric The nonwoven fabric to be measured is cut into 10 cm ⁇ 10 cm. If 10 cm x 10 cm can not be taken, cut it into the largest possible area. The thickness at a load of 50 Pa is measured using a laser thickness gauge (ZSLD 80 manufactured by OMRON Corporation). Three locations are measured, and the average value is taken as the apparent thickness of the non-woven fabric 10.
- Measuring the basis weight of nonwoven fabric The nonwoven fabric to be measured is cut into 10 cm ⁇ 10 cm. If 10 cm x 10 cm can not be taken, cut it into the largest possible area. Use a balance to measure the weight, and divide by area to make it a basis weight.
- connection part 3 In the nonwoven fabric 10, it is preferable to make the connection part 3 into the following from a viewpoint which exhibits said effect more effectively. That is, as shown in FIG. 3, in the cross section in the thickness direction of the nonwoven fabric 10, the length T1 in the plane direction of the connecting portion 3 is the outer surface fiber layer 1 on the first surface side Z1 and the outer surface fiber layer on the second surface side Z2. 2 It is preferable to make the lengths in the planar direction T2 and T3 shorter. This is because the edges of the outer surface fiber layer 1 and the outer surface fiber layer 2 are connected to the connection portion 3 and the inclination of the connected connection portion 3 is limited within the above range and is along the thickness direction. means. Thereby, when the outer surface fiber layer 1 or 2 is pushed in the thickness direction, the connection portion 3 is unlikely to fall down, the above-mentioned buckling deformation is easily caused more clearly, and the cushioning property becomes more excellent.
- the outer surface fiber layer 1 on the first surface side Z1 has two types of portions.
- the two types of parts are the first outer surface fiber layer 11 and the second outer surface fiber layer 12 disposed on the first surface side Z1. These have the length extended along each of the different direction which planarly crosses the nonwoven fabric 10, respectively.
- the extending direction is the X direction and the Y direction orthogonal to each other along the side of the non-woven fabric 10.
- the Y direction is the longitudinal direction of the nonwoven fabric 10
- the X direction is the width direction of the nonwoven fabric 10.
- one first outer surface fiber layer 11 extends continuously in the Y direction in plan view of the nonwoven fabric 10 and is continuous over the entire length of the nonwoven fabric 10.
- a plurality of first outer surface fiber layers 11 extending in the Y direction are spaced apart from each other in the X direction orthogonal to the Y direction.
- the other second outer surface fiber layer 12 extends in the X direction, and is disposed to connect the first outer surface fiber layers 11 spaced apart and parallel in the X direction. “Connecting the first outer surface fiber layers 11” means that the second outer surface fiber layers 12 adjacent to each other across the first outer surface fiber layer 11 are aligned in a straight line. Specifically, the difference between the width center line extending in the X direction of the second outer surface fiber layer 12 and the width center line extending in the X direction of the second outer surface fiber layer 12 adjacent to the first outer surface fiber layer 11 therebetween.
- the position of the first surface side Z1 of the second outer surface fiber layer 12 is slightly lower than that of the first outer surface fiber layer 11. Therefore, the length of the second outer surface fiber layer 12 is divided in the X direction by the interposition of the first outer surface fiber layer 11, and the plurality of second outer surface fiber layers 12 form a line in the X direction while being separated from each other. Further, the width (the width in the Y direction) of the second outer surface fiber layer 12 is narrower than the width (the width in the X direction) of the first outer surface fiber layer 11.
- a plurality of such rows of the second outer surface fiber layer 12 in the X direction are further spaced apart from one another in the Y direction.
- the shape of the second outer surface fiber layer is not limited to that of the present embodiment.
- the position and the width of the first surface side Z1 may be the same as that of the first outer surface fiber layer 11.
- the second outer surface fiber layer 12 according to the present embodiment the spreading of the pressing force in the planar direction can be suppressed, which is preferable.
- the “different directions intersecting in plan view”, which are the extending directions, are not limited to the X direction and the Y direction. If it is the cross direction in the plane direction of nonwoven fabric 10, various aspects can be taken. From the viewpoint of making the above cushioning properties more excellent and the viewpoint that the longitudinally oriented fibers of the connecting part are easy to create, the crossing angle of “different direction crossing in plan view” is a non-woven fabric with a machine direction of surface fibers (Machine Direction; The crossing angle (90 °) between the MD) direction and the cross direction (CD) perpendicular thereto is most preferable.
- a plurality of outer fiber layers 2 on the second surface side Z2 are spaced apart from one another.
- the outer surface fiber layer 2 on the second surface side Z2 covers the separated space between the first outer surface fiber layers 11 of the first surface side Z1, and the extension direction of the outer surface fiber layer 11 (Y direction ) Are spaced apart from each other in a row.
- a plurality of rows of the outer fiber layer 2 in the Y direction are spaced apart from each other in the X direction orthogonal to the Y direction. That is, the outer surface fiber layer 2 is also arranged in the X direction.
- the arrangement direction of the outer surface fiber layer 2 coincides with the extension direction of the outer surface fiber layer 1. Therefore, when the extension direction of the outer surface fiber layer 1 takes a direction different from the X direction and the Y direction, the arrangement direction of the outer surface fiber layer 2 also becomes a direction different from the X direction and the Y direction accordingly.
- the connecting part 3 has two parts. One is a first connecting portion 31 which connects the first outer surface fiber layer 11 on the first surface side Z1 and the outer surface fiber layer 2 on the second surface side Z2 in the thickness direction. The other is a second connecting portion 32 which connects the second outer surface fiber layer 12 on the first surface side Z1 and the outer surface fiber layer 2 on the second surface side Z2 in the thickness direction.
- a plurality of the connecting portions 3 are spaced apart from one another in the planar direction of the nonwoven fabric 10 in accordance with the separation arrangement of the outer surface fiber layers 1 and 2.
- connection part 3 is the extension length in the plane direction of the non-woven fabric 10 along the extension direction of the height of the non-woven fabric 10 in the thickness direction and the outer fiber layer 1 on the first surface side Z1 and the outer surface fiber layer 2 on the second surface side Z2.
- the connection portion 3 connects the outer surface fiber layers 1 and 2 by the wall surface, and the wall surface is disposed along a plurality of different directions intersecting in plan view of the nonwoven fabric 10.
- the first connection portion 31 has a length (width) that matches the side in the Y direction of the outer surface fiber layer 2 on the second surface side Z2, and the first outer surface fiber layer on the first surface side Z1. 11 has wall surfaces along the extension direction.
- the wall surface of the first connection portion 31 is disposed along the Y direction.
- the second connecting portion 32 has a length (width) that matches the X direction side of the outer surface fiber layer 2 on the second surface side Z2, and extends the second outer surface fiber layer 12 on the first surface side Z1. It has a wall along the exit direction. That is, the wall surface of the second connection portion 32 is disposed along the X direction.
- the direction along the wall surface of the connecting portion 3 coincides with the extension of the outer fiber layer 1. Therefore, when the extension direction of the outer surface fiber layer 1 takes a direction different from the X direction and the Y direction, the direction along the wall surface of the connecting portion 3 also becomes a direction different from the X direction and the Y direction accordingly.
- the connection portion 3 connects the end portions of the outer surface fiber layer 1 on the first surface side Z1 and the outer surface fiber layer 2 on the second surface side Z2. More specifically, the first connecting portion 31 connects the end 11 A of the first outer surface fiber layer 11 and the end 2 A of the outer surface fiber layer 2. At this time, as described above with reference to FIG. 3, the length T1 of the first connection portion 31 in the planar direction is equal to the lengths T2 and T3 of the first outer surface fiber layer 11 and the outer surface fiber layer 2 respectively. Too short.
- the second connecting portion 32 connects the end 12A of the second outer surface fiber layer 12 and the end 2A of the outer surface fiber layer 2. At this time, as shown in FIG.
- the length T4 of the second connecting portion 32 in the planar direction is greater than the lengths T5 and T6 of the second external fiber layer 12 and the external fiber layer 2 in the planar direction. Too short.
- the connection portion 3 connects the end portions of the outer surface fiber layer 1 and the outer surface fiber layer 2 to make the eccentric load on the connection portion 3 of the pressing force applied to the outer surface fiber layer 1 clearer.
- the load efficiently acts on the end portions, and the pressing force is thicker Concentrated in the direction, the deformation behavior tends to take buckling behavior.
- Each of the first connecting portion 31 and the second connecting portion 32 having different wall surface orientations is a portion defined in the above, in which fibers are oriented in the thickness direction of the nonwoven fabric 10. That is, in the connecting portion 3, the fibers are oriented in the thickness direction even if the wall surface is directed in any direction in the planar direction of the nonwoven fabric 10 (even if the extending direction is any direction). In the same manner as in the conventional non-woven fabric, only by forming the non-woven fabric in which the fibers are basically randomly oriented and fused are unevenly shaped, the connecting portions 3 oriented in such a plurality of different directions are oriented in the thickness direction You can not do it.
- the fiber orientation in the thickness direction defined as above in the connecting portion 3 (in the present embodiment, the connecting portions 31 and 32 having mutually orthogonal planes) facing in any direction
- the above-described buckling deformation in the connecting portion 3 suitably occurs and the nonwoven fabric 10 is appropriate Excellent cushioning with elasticity is developed.
- the non-woven fabric 10 has a space 4 surrounded by the connecting portion 3 (in the present embodiment, two first connecting portions 31 and two second connecting portions 32).
- the space portion 4 is in a region in the thickness direction from the region of the first surface side Z1 partitioned by the first outer surface fiber layer 11 and the second outer surface fiber layer 12 to the outer surface fiber layer 2 of the second surface side Z2. .
- the space portion 4 has the outer surface fiber layer 2 on the second surface side Z2 as a bottom, and is open to the first surface side Z1. Since the nonwoven fabric 10 has the space portion 4, buckling deformation of the connection portion 3 is further likely to occur, which is preferable.
- the space portion 4 is surrounded by four connecting portions 3 erected from the four sides of the outer surface fiber layer 2 on the second surface side Z2. Therefore, the plurality of spaces 4 are arranged to be spaced apart from one another in correspondence with the arrangement of the outer surface fiber layer 2 in the X direction and the Y direction. In this arrangement, the space portions 4 are independent without communicating with each other.
- the shape formed by the four connecting portions 3 surrounding the space portion 4 and the outer surface fiber layer 2 is in the shape of a prism or a frustum.
- the shape of the space part 4 is not limited to this, It can be made various shapes, such as cylindrical shape, as long as an effect mentioned later is produced. In order to disperse the load when touching, a square or circular column is more preferable.
- the manner of transmission of the pressing force is the same in any of the connecting portions 3, and buckling deformation can be favorably generated even if the pressing force is transmitted from any direction.
- the equalized lengths T1 and T4 have the relationship with the planar length (T2, T3, T5 and T6) of the outer surface fiber layers 1 and 2 described above.
- the ratio (T1 / T2 or T4 / T5) of the length (T1 or T4) of the connecting portion 3 in the plane direction to the length (T2 or T5) of the outer surface fiber layer 1 on the first surface side Z1 is the above From the viewpoint of making the buckling deformation of the connecting portion 3 favorable and further soften the texture, it is preferably 0.9 or less, more preferably 0.75 or less, and still more preferably 0.5 or less. The smaller the ratio (T1 / T2 or T4 / T5), the better. From the viewpoint of successfully causing the buckling deformation, more than 0 is preferable, 0.001 or more is more preferable, and 0.01 or more is still more preferable.
- the ratio (T1 / T3 or T4 / T6) of the length (T1 or T4) of the connecting portion 3 in the plane direction to the length (T3 or T6) of the outer surface fiber layer 2 on the second surface side Z2 is also And from the viewpoint of maintaining the non-woven fabric structure stably by providing parallel fibers on the lower surface and making the buckling deformation of the connecting portion 3 favorable, the same as the above-mentioned ratio (T1 / T2 or T4 / T5) 0.9 or less is preferable, 0.75 or less is more preferable, and 0.5 or less is more preferable. The smaller the ratio (T1 / T3 or T4 / T6), the better. Moreover, more than 0 is preferable, 0.001 or more is more preferable, and 0.01 or more is still more preferable.
- the presence of the space 4 suppresses the spread of the pressing force in the planar direction of the nonwoven fabric 10.
- the compressive deformation (buckling deformation) limited to the narrow area
- the existence of the intersection of the connecting portions 3 surrounding the space portion 4 makes it easy to maintain the three-dimensional structure of the whole nonwoven fabric 10 in combination with the fiber orientation in the thickness direction defined above.
- the shape recovery property after the buckling deformation occurs in other than the crossing part of the connection part 3 is high, and the cushioning property can be further enhanced.
- the opening of the space 4 on the first surface side Z1 allows the skin surface of the body of the pressing person, such as a finger, to partially enter.
- the nonwoven fabric 10 is pushed from the first surface side Z1
- the cushioning feeling of the sinking of the outer fiber layer 1 due to the buckling deformation of the connection portion 3 and the softer touch in the space portion 4 Can be obtained.
- the pressing force is concentrated on the connection portion 3 at the edge of the space portion 4 and buckling deformation of the connection portion 3 is more likely to occur. Thereby, the cushioning property of the nonwoven fabric 10 becomes more preferable.
- the openings recall the height of breathability and provide a sense of comfort. Furthermore, the space is kept to create the air passage, and the breathability actually suppresses the stuffiness well.
- the plurality of independent spaces 4 are connected in the Y direction by the first outer surface fiber layer 11 while being separated from each other.
- the shape of the surface of the first surface side Z1 of the nonwoven fabric 10 is easily maintained, and the shape recovery after pressing becomes more excellent, which is preferable.
- the first outer surface fiber layer 11 and the second outer surface fiber layer 12 have different heights on the first surface side Z1, spreading of the pressing force in the plane direction of the nonwoven fabric 10 is suppressed, which is preferable.
- the space portion 4 preferably has an area ratio of 5% or more, more preferably 10% or more, and 15% or more as the area ratio of the non-woven fabric 10 on the first surface side Z1. Is more preferred. Further, from the viewpoint of securing the strength of the non-woven fabric, the area ratio of the space portion 4 is preferably 90% or less, more preferably 80% or less, and still more preferably 70% or less. Specifically, the area ratio of the space portion 4 is preferably 5% to 90%, more preferably 10% to 80%, and still more preferably 15% to 70%.
- Method of measuring area ratio of space 4 Using a digital microscope (VHX-900) and VHZ 20R lens made by Keyence Corporation, the area to be measured from the upper surface is enlarged to a size (10x or more and 100x or less) that can be sufficiently measured within the field of view. If the lower surface is also in focus, measure the area of the space 4 by taking the fiber area or the area without fibers as a space, and calculate the ratio from the entire area as the area ratio . When the upper and lower surfaces are not in focus at the same time, the regions are brought into focus and an area out of focus or an area without fibers is defined as a space.
- the non-woven fabric 10 has an uneven shape due to the separation arrangement of the outer surface fiber layer 1 on the first surface side Z1 and the outer surface fiber layer 2 on the second surface side Z2.
- the concavo-convex shape has a concavo-convex shape 8 on the first surface side Z1 and a concavo-convex shape 9 on the second surface side Z2.
- the concavo-convex shape 8 on the first surface side Z1 has a depth corresponding to the thickness height of the connecting portion 3 and has a recess 81 opened on the first surface side Z1 with the outer fiber layer 2 as the bottom (see FIG. 3, 4 and 6 (A)).
- the concavo-convex shape 9 on the second surface side Z2 has a depth corresponding to the thickness height of the connecting portion 3 and has a recess 91 opened on the second surface side Z2 with the outer fiber layer 1 as the bottom.
- the recess 91 has a recess 91A and a recess 91B corresponding to each of the two types of the outer fiber layer 1 (see FIGS. 3, 4 and 6 (B)).
- the recess 91A is in the area of the second surface side Z2 corresponding to the first outer surface fiber layer 11, and has a space between the first connecting portions 31, 31 along the Y direction (longitudinal direction) of the nonwoven fabric.
- the recess 91 ⁇ / b> A is continuous in the Y direction along the extension direction of the first outer surface fiber layer 11.
- the recess 91 B is in the region of the second surface side Z 2 corresponding to the second outer surface fiber layer 12 and has a space between the second connecting portions 32, 32 along the X direction (width direction) of the nonwoven fabric.
- the recess 91 B is continuous in the X direction along the arrangement direction of the second outer surface fiber layer 12.
- the concave portion 91A in the Y direction and the concave portion 91B in the X direction share a space at the intersecting portion, and a lattice-like space is formed on the second surface side Z2 as the entire nonwoven fabric 10.
- the concavo-convex shape on the first surface side Z1 and the second surface side Z2 is arranged.
- the shape necessary for buckling is maintained, and the texture is improved.
- due to the asperity shape it is possible to expect deformation that more closely matches the shape of the finger. The deformation along the shape of the finger allows a person to feel better texture.
- the outer fiber layer 1 and the outer fiber layer 2 preferably have a smaller amount of fiber than the other (i.e., the other of the outer fiber layer 1 and the outer fiber layer 2 than the other). Specifically, it is preferable that the fiber amount of the outer surface fiber layer 2 on the second surface side Z2 to which the hot air is applied during manufacturing is smaller than that of the outer surface fiber layer 1 on the first surface side Z1. As a result, the surface to be touched is rich in fibers and a smooth feel can be felt. On the other hand, by arranging the minimum number of fibers that can hold the shape on the back side that is not touched, the number of fibers to the surface can be increased.
- a fiber when using for the surface sheet of an absorbent article by reducing the fiber of a back surface, a fiber absorbs a liquid efficiently, without inhibiting absorption.
- air permeability can be improved. These can generate a distribution of fibers by stretching the web prior to conventional fusing. If it is desired to give a distribution to the upper and lower layers, this can be realized by pulling the web up and down. For example, by interposing the meshing rolls having unevenness, it is pulled up and down, and a state in which more fibers are distributed upward or downward can be obtained.
- the fiber amount of the outer surface fiber layer 1 on the first surface side Z1 is preferably 1.1 or more times the fiber amount of the outer surface fiber layer 2 on the second surface side Z2. 5 times or more is more preferable, and 2 times or more is still more preferable. Further, from the viewpoint of maintaining the shape of the outer fiber layer 2, the fiber amount of the outer fiber layer 1 on the first surface side Z1 is preferably 20 times or less of the fiber amount of the outer fiber layer 2 on the second surface side Z2. It is more preferably twice or less, still more preferably 5 times or less.
- Method of measuring the fiber amount of the outer surface fiber layer 1 and the outer surface fiber layer 2 The portion corresponding to the outer surface fiber layer 1 of the non-woven fabric and the portion corresponding to the outer surface fiber layer 2 are cut out, the mass is measured, and the weight is divided by the cut out area to obtain a fiber amount (gram weight) (g / m 2 ).
- the number of fusion points of the fibers on the other surface side is larger than that on the one surface side.
- the number of fusion points of the fibers of the outer surface fiber layer 2 of the second surface side Z2 to which hot air is applied during manufacturing is larger than that of the outer surface fiber layer 1 of the first surface side Z1.
- the outer surface fiber layer 2 on the second surface side Z2 has a high ability to absorb pressing force and acts so as to give stiffness to the entire nonwoven fabric 10 so as not to be recessed.
- the non-woven fabric 10 is held in shape by the outer surface fiber layer 2 on the second surface side Z2 having many fusion points, the thickness is increased, and a cushioning feeling is easily felt. Moreover, in the outer surface fiber layer 1 on the first surface side Z1, a smooth texture can be obtained because the number of fusion points is small.
- the surface to which hot air is applied at the time of manufacture is the second surface side Z2, but even if it has the same shape as the non-woven fabric 10, the hot air is applied from the first surface side Z1.
- the fusion points of the fibers on the first surface side Z1 may be increased.
- a male support material 120 and a female support material 130 for shaping the fiber web 110 before being made into a nonwoven fabric are used.
- the fiber web 110 is placed on the male support member 120, and is held by the female support member 130 from above the fiber web 110 and sandwiched and shaped.
- the male support body 120 has a plurality of projections 121 corresponding to the positions at which the four connecting portions 3 surrounding the space portion 4 of the non-woven fabric 10 and the outer surface fiber layer 2 on the second surface Z2 are shaped. Between the projections 121, 121, a concave portion 122 corresponding to a position where the outer surface fiber layer 1 on the first surface side Z1 is shaped is formed. Thus, the male support member 120 has an uneven shape, and the protrusions 121 and the recesses 122 are alternately arranged in directions different from each other in plan view.
- the bottom portion 123 of the concave portion 122 has a structure in which hot air blows off, and for example, a plurality of holes are arranged (not shown).
- the “different direction” is preferably a direction that matches the Y direction (longitudinal direction) and the X direction (width direction) of the nonwoven fabric 10 as a support for producing the nonwoven fabric 10.
- the Y direction corresponds to the machine flow direction in the present manufacturing method
- the X direction corresponds to the width direction orthogonal to the machine flow direction.
- the “different directions” differ depending on the uneven structure of the nonwoven fabric of the present invention, and are not limited to the Y direction and the X direction.
- the female support 130 has grid-like protrusions 131 corresponding to the recesses 122 of the male support 120. Between the projections 131, 131 is a recess 132 corresponding to the projections 121 of the male support member 120. Thus, the female support member 130 has an uneven shape, and the protrusions 131 and the recesses 132 are alternately arranged in directions different from each other in plan view.
- the bottom portion 133 of the concave portion 132 has a structure in which hot air blows off, and, for example, a plurality of holes are arranged. The distance between the projections 131 is made wider than the width of the projections 121 of the male support member 120.
- the distance is appropriately set so that the fiber web 110 can be sandwiched between the protrusions 121 of the male support 120 and the protrusions 131 of the female support 130 so that the connecting portion 3 in which the fibers are oriented in the thickness direction can be suitably shaped.
- the fiber web 110 before being fused is supplied from a carding machine (not shown) to an apparatus for shaping the web so as to have a predetermined thickness.
- the fiber web 110 containing thermoplastic fibers is placed on the male support 120, and the female support 130 is pushed onto the male support 120 from the fiber web 110.
- the protrusion 121 of the male support member 120 and the concave portion 132 of the female support member 130 are fitted.
- the concave portion 122 of the male support member 120 and the protrusion 131 of the female support member 130 are fitted. This creates a shape in which the fibers are oriented in the thickness and planar directions.
- the first hot air W1 is blown to the fiber web 110 from the side of the female support 130. That is, the first hot air W1 is blown from the side to be the second surface of the nonwoven fabric 10.
- the fiber web 110 is fused to an extent that the uneven shape of the nonwoven fabric 10 can be maintained.
- the fibers are very loosely fused.
- the fiber web 110 has a high degree of freedom of movement of fibers. Therefore, the fibers are easily oriented in the thickness direction (longitudinal direction) on the surface of the male support member 120 facing in any direction around the protrusions 121.
- the wall surface of the protrusion 121 of the support male 120 and the wall surface of the protrusion 131 of the support female 130 The connecting portion 3 of the first non-woven fabric layer 5 in which the fibers are oriented in the thickness direction is shaped.
- the fiber web 110 since the fusion of the intersections of the fibers is not formed, the mobility of the fibers is high, and the direction of the fibers can be aligned in the blow-by direction of the first hot air W1. More specifically, as shown in FIG. 7 (B) and FIG.
- the fibers of the fiber web 110 are aligned. That is, in any of the wall surface 131A along the machine flow direction (Y direction) of the protrusion 121 and the wall surface 131B along the width direction (X direction), the fibers are in the blow-by direction of the first hot air W1 regardless of the direction of the surface. Be aligned. Thereby, the structure which the fiber in the connection part 3 of the nonwoven fabric 10 orientated to the thickness direction can be formed.
- the blowout of the first hot air W1 is suppressed, and the fibers are fused in the planar direction.
- the fiber layer corresponding to the outer surface fiber layer 2 on the second surface side Z2 is shaped.
- the fibers are oriented in the planar direction between the bottom of the recess 122 and the top of the protrusion 131. Since the projections 131 inhibit the hot air, the fiber layer to be formed is less fused and a smooth fiber layer can be obtained. Thereby, the fiber layer corresponding to the outer surface fiber layer 1 on the first surface side Z1 is shaped. At this time, the shape of the connecting portion oriented in the thickness direction is also maintained.
- the arrows in the drawing schematically indicate the flow of the first hot air W1.
- the temperature of the first hot air W1 is set to a temperature at which the thermoplastic fiber can maintain its shape in the thickness direction and in the planar direction. Considering a general fiber material used for this type of product, it is preferable that the melting point of the thermoplastic fiber constituting the fiber web 110 be higher by 0 ° C. to 70 ° C., higher by 5 ° C. to 50 ° C. More preferable.
- the speed of the first hot air W1 is preferably 2 m / s or more, and more preferably 3 m / s or more, from the viewpoint of effective fusion.
- the speed of the first hot air W1 is preferably 100 m / s or less, and more preferably 80 m / s or less, from the viewpoint of reducing the size of the device. In this manner, the fiber web 110 is temporarily fused and held in an uneven shape.
- the height of the protrusions 121 of the male support member 120 and the height of the protrusions 131 of the male support member 130 are appropriately determined depending on the apparent thickness of the non-woven fabric 10 to be manufactured.
- 2 mm or more is preferable, 3 mm or more is more preferable, 5 mm or more is more preferable, 15 mm or less is preferable, 10 mm or less is more preferable, and 9 or less is more preferable.
- 2 mm or more and 15 mm or less are preferable, 3 mm or more and 10 mm or less are more preferable, and 5 mm or more and 9 mm or less are still more preferable.
- the second hot air W2 is blown at a temperature at which each fiber of the fiber web 110 shaped into the concavo-convex shape can be appropriately fused.
- the fibers are further fused together.
- the second hot air W2 is blown to the fiber web 110 from the side to be the second surface of the nonwoven fabric 10.
- the temperature of the second hot air W2 at this time should be higher than the melting point of the thermoplastic fiber constituting the fiber web 110 by 0 ° C. or more and 70 ° C. or less in consideration of a general fiber material used for this type of product C. is preferable, and it is more preferable that the temperature is higher than 5.degree.
- the wind speed of the second hot air W2 is preferably 2 m / s or more, and more preferably 3 m / s or more, although it depends on the height of the protrusions 121 of the male support member 120.
- the wind speed of the second hot air W2 is preferably 2 m / s or more, and more preferably 3 m / s or more, although it depends on the height of the protrusions 121 of the male support member 120.
- 100 m / s or less is preferable and, as for the wind speed of 2nd hot air W2, 80 m / s or less is more preferable. Thereby, excessive heat transfer to a fiber can be suppressed and the feel of the nonwoven fabric 10 can be made favorable.
- the process of spraying the first hot air W1 can be omitted by reducing the surface roughness of the female support member.
- By reducing the surface roughness it is possible to remove the female backing member in the process of spraying the second hot air W2 without sticking the non-fused fibers. That is, after producing the web, it is possible to fit the male and female members of the support, remove the female material as it is, and treat it with the second hot air W2. This makes processing simpler.
- thermoplastic fiber what is normally used as a raw material of a nonwoven fabric can be employ
- fibers made of a single resin component or composite fibers made of a plurality of resin components may be used.
- the composite fiber include a core-sheath type, a side-by-side type, and the like.
- the temperature of the hot air blown to the fiber web 110 is The melting point of the low melting point component is preferably not less than the melting point of the high melting point component. More preferably, the temperature is 10 ° C. lower than the melting point of the low melting point component or higher than the melting point of the high melting point component, and still more preferably 20 ° C. or more higher than the melting point of the low melting point component by 5 ° C. or higher .
- the core component be large in the cross-sectional area ratio.
- the core-sheath composite fiber in which the sheath is a low melting point component and the core is a high melting point component include core-sheath composite fibers in which the sheath is polyethylene (PE) and the core is polyethylene terephthalate (PET).
- the resin component of the sheath when the resin component of the sheath is lower in glass transition temperature than the resin component of the core (hereinafter referred to as low glass transition temperature resin) (for example, the resin component of the core is PET and sheath
- low glass transition temperature resin for example, the resin component of the core is PET and sheath
- the recovery of the thickness of the non-woven fabric can be enhanced by reducing the mass ratio of the resin component of (PE) and the low glass transition temperature resin component.
- the following factors can be considered as factors that cause this.
- Low glass transition temperature resins are known to have low relaxation modulus. It is also known that it is difficult to recover from deformation if the relaxation elastic modulus is low. Therefore, it is thought that higher thickness recovery can be imparted to the non-woven fabric by reducing the low glass transition temperature resin component as much as possible.
- the proportion of the low glass transition temperature resin component (PE etc.) in the total amount of fibers is smaller by mass ratio than the proportion of the resin component (PET etc.) with high glass transition temperature in the total amount of fibers Is preferred.
- the proportion of the low glass transition temperature resin component in the total amount of fibers is preferably 45% by mass or less, and more preferably 40% by mass or less in mass ratio.
- the ratio is preferably 10% by mass or more, and more preferably 20% by mass or more in terms of mass ratio.
- FIG. 9 shows the recovery rate after 1-day compression of the non-woven fabric when the ratio of the resin component (PET) of the core and the resin component (PE) of the sheath is changed (the measurement method will be described in the below-mentioned examples).
- This non-woven fabric was manufactured by an air through manufacturing method including the steps shown in FIG.
- the spraying process by the first hot air W1 was performed at a temperature of 160 ° C., a wind speed of 54 m / s, and a spraying time of 6 s.
- the second hot air spraying was performed at a temperature of 160 ° C., a wind speed of 6 m / s, and a spraying time of 6 s.
- the apparent thickness of the prepared non-woven fabric is 6.0 mm for a core ratio of 30, 6.9 mm for a core ratio of 50, and 6.6 mm for a core ratio of 70, for a core ratio of 90
- the one was 6.0 mm.
- the lower the glass transition temperature of PE that is, the smaller the proportion of the resin component of the sheath (the larger the proportion of the resin component of the core), the higher the recovery after one-day compression.
- the proportion of the resin component of the sheath is less than 50% by mass (the proportion of the resin component of the core is more than 50% by mass)
- the recovery rate after 1-day compression is preferably 70% or more.
- the non-woven fabric 10 is manufactured as described above. Between the protrusions 122 of the male support member 120 and the protrusions 131 of the female support member 130, the fibers of the fiber web 110 are aligned and oriented in the thickness direction, and the connecting portion 3 is formed. At this time, the connecting portion 3 in which the fibers are oriented in the thickness direction (longitudinal direction) is formed on the surface facing in any direction around the protrusion 121. Thereby, the space part 4 enclosed by the four connection parts 3 which the nonwoven fabric 10 has is formed. In addition, between the top of the protrusion 121 and the bottom of the recess 132, the outer surface fiber layer 2 of the second surface Z2 in which the fibers are oriented in the planar direction is formed. In addition, the outer surface fiber layer 1 on the first surface side Z1 in which the fibers are oriented in the planar direction is formed between the bottom of the recess 122 and the top of the protrusion 131.
- the lower surface of the obtained nonwoven fabric 10 in FIG. 7C is the first surface side Z1, and the opposite surface is the second surface side Z2. That is, the first surface side Z1 of the non-woven fabric 10 is the side on which the male support member 120 is disposed, and the second surface side Z2 is the side on which the first hot air W1 and the second hot air W2 are blown. Therefore, the fusion points of the fibers of the outer surface fiber layer 2 on the second surface side Z2 become larger than the outer surface fiber layer 1 on the first surface side Z1 due to the difference in the blowing amount of the first hot air W1.
- the surface of the outer surface fiber layer 1 on the first surface side Z1 has less feeling of roughness and a better touch than the surface of the outer surface fiber layer 2 on the second surface side Z2. Even if the process of spraying the first hot air W1 is omitted, the same effect can be obtained by the distance from the second hot air W2.
- the fibers on the female support 130 side fibers to be the outer surface fiber layer 2 on the second surface Z2 of the non-woven fabric 10) are pulled toward the male support 120 more.
- the outer surface fiber of the second surface Z2 formed on the top of the protrusion 121 of the male support member 120 rather than the outer fiber layer 1 of the first surface Z1 formed on the bottom of the recess 122 of the male support member 120 The amount of fibers in layer 2 is reduced.
- the thickness of the non-woven fabric 10 is appropriately determined by the heights of the protrusions 121 of the male support member 120 and the protrusions 131 of the female support member 130.
- increasing the height of the projections increases the apparent thickness of the sheet, and decreasing the height reduces the apparent thickness of the sheet.
- the fiber density of the non-woven fabric 10 is lowered, and when it is lowered, the non-woven fabric 10 of the sheet is increased.
- the nonwoven fabric of the present invention can be used in various applications.
- it can be used suitably as a surface sheet of absorbent articles, such as a disposable diaper for adults and infants, a sanitary napkin, a panty liner, and a urine absorption pad.
- a surface sheet such as a diaper or a catamenial product and an absorber, a covering sheet (core wrap sheet) of an absorber, etc.
- the form utilized as a surface sheet gathers, an exterior sheet, and wings of an absorptive article is mentioned.
- the form utilized as a covering sheet of a wipe sheet, a cleaning sheet, a filter, and a heating implement is also mentioned.
- the present invention discloses the following nonwoven fabrics further about the embodiment mentioned above.
- a non-woven fabric having thermoplastic fibers and having a first surface side and a second surface side opposite to the first surface side, wherein The fibers are arranged between the outer surface fiber layer on the first surface side and the second surface side, the outer surface fiber layer on the first surface side, and the outer surface fiber layer on the second surface side, in which the fibers are oriented in the planar direction And a plurality of connecting portions in which the fibers are oriented in the thickness direction of the non-woven fabric, The non-woven fabric in which fibers are partially fused to each other between the outer surface fiber layer on the first surface side, the outer surface fiber layer on the second surface side, and the connection portion.
- the nonwoven fabric according to ⁇ 1> having a space part surrounded by the connection part.
- the space portion is 5% or more and 90% or less, preferably 10% or more, more preferably 15% or more, and an empty area preferably 80% or less, as an area ratio occupied on one surface of the non-woven fabric.
- the nonwoven fabric according to ⁇ 2> which is more preferably 70% or less.
- the length in the plane direction of the connection portion is the outer surface fiber layer on the first surface side and the second surface side
- the ratio of the length in the plane direction of the connection portion to the length in the plane direction of the outer surface fiber layer on the first surface side is more than 0 and 0.9 or less, preferably 0.75 or less,
- the nonwoven fabric according to the above ⁇ 4> which is preferably 0.5 or less, and preferably 0.001 or more, more preferably 0.01 or more.
- the ratio of the length in the plane direction of the connection portion to the length in the plane direction of the outer surface fiber layer on the first surface side is 0.01 or more and 0.5 or less.
- the ratio of the length in the plane direction of the connection portion to the length in the plane direction of the outer surface fiber layer on the second surface side is more than 0 and 0.9 or less, preferably 0.75 or less,
- a ratio of a length in a plane direction of the connection portion to a length in a plane direction of the outer surface fiber layer on the second surface side is 0.01 or more and 0.5 or less.
- the nonwoven fabric any one of 6>.
- ⁇ 9> A wall surface having the height in the thickness direction of the non-woven fabric and the width in the plane direction of the non-woven fabric along the extension direction of the outer surface fiber layer on the first surface side and the outer surface fiber layer on the second surface side.
- the connecting portion is a cross section in the thickness direction of the non-woven fabric in at least four circumferential directions surrounding the space portion, and a cross section passing through the center of the space portion has a difference in planar direction length of 2 mm
- the nonwoven fabric according to ⁇ 2> to ⁇ 9> which is the following, preferably 1 mm or less, more preferably 0 (zero).
- ⁇ 11> The nonwoven fabric according to any one of ⁇ 1> to ⁇ 10>, wherein a plurality of the connecting portions are disposed apart from each other in the planar direction of the nonwoven fabric.
- ⁇ 12> The nonwoven fabric according to any one of ⁇ 1> to ⁇ 11>, wherein a plurality of outer surface fiber layers are disposed apart from each other on each of the first surface side and the second surface side of the nonwoven fabric.
- ⁇ 13> The non-woven fabric according to ⁇ 12>, wherein the non-woven fabric has an uneven shape due to the spacing arrangement of the outer surface fiber layer.
- the outer surface fiber layer on the first surface side is any one of the above ⁇ 1> to ⁇ 13>, which has two types having lengths extending along different directions in which the nonwoven fabric intersects in plan view.
- Non-woven fabric ⁇ 15>
- the outer fiber layer of one of the two outer fiber layers extends continuously in the longitudinal direction in plan view of the non-woven fabric, and a plurality of the outer fiber layers are spaced apart from each other in the width direction orthogonal to the longitudinal direction
- the other outer surface fiber layer of the two outer surface fiber layers extends in the width direction in plan view of the non-woven fabric, and is arranged to connect the one outer surface fiber layer. Or the nonwoven fabric as described in ⁇ 15>.
- ⁇ 17> The nonwoven fabric according to ⁇ 16>, wherein the other outer surface fiber layer has a lower position on the first surface side than the one outer surface fiber layer.
- ⁇ 18> The nonwoven fabric according to ⁇ 16> or ⁇ 17>, wherein the width of the other outer surface fiber layer in the longitudinal direction of the non-woven fabric is narrower than the width of the one outer surface fiber layer in the width direction of the non-woven fabric.
- the outer surface fiber layer on the second surface side covers the space between the outer surface fiber layers on the first surface side, and extends in the longitudinal direction of the nonwoven fabric which is the extension direction of the outer surface fiber layer on the first surface side.
- nonwoven fabric according to any one of ⁇ 14> to ⁇ 18>, wherein the nonwoven fabric is disposed in a plurality of rows separated from each other.
- ⁇ 20> The non-woven fabric according to ⁇ 19>, wherein a plurality of longitudinal rows formed by the outer surface fiber layer on the second surface side are spaced apart from each other in the width direction orthogonal to the longitudinal direction.
- ⁇ 21> The nonwoven fabric according to any one of ⁇ 1> to ⁇ 20>, wherein the connecting part connects ends of the outer surface fiber layer on the first surface side and the end portions of the outer surface fiber layer on the second surface side.
- ⁇ 22> The nonwoven fabric according to any one of ⁇ 1> to ⁇ 21>, wherein the outer surface fiber layer on the first surface side and the outer surface fiber layer on the second surface side have a smaller amount of fiber than the other.
- the fiber amount of the outer surface fiber layer on the first surface side is 1.1 times or more and 20 times or less, preferably 1.5 times or more, more preferably the fiber amount of the outer surface fiber layer on the second surface side.
- the nonwoven fabric as described in said ⁇ 22> which is 2 times or more, and preferably 10 times or less, More preferably, 5 times or less.
- the longitudinal alignment ratio of fibers in the cross section in the thickness direction of each outer surface fiber layer is 45
- the longitudinal orientation ratio of fibers in the cross section in the thickness direction of each outer surface fiber layer is 0% or more and less than 40%.
- the longitudinal orientation ratio of fibers in a cross section in the thickness direction of each outer surface fiber layer is 30% or more and 37% or less.
- the orientation of the fibers in the connecting portion in the thickness direction means that the longitudinal orientation ratio of the fibers in the cross section in the thickness direction of the connecting portion is 60% or more in any one of the above ⁇ 1> to ⁇ 27> Nonwoven fabric described.
- the longitudinal orientation ratio of the fibers in the cross section in the thickness direction of the connection portion is 63% to 90%, preferably 65% or more, more preferably 68% or more, and preferably 85% of the connection portion.
- the apparent thickness of the non-woven fabric is 1.5 mm or more and 10 mm or less, preferably 2 mm or more, more preferably 3 mm or more, and preferably 9 mm or less, more preferably 8 mm or less.
- the nonwoven fabric any one of 30>.
- the basis weight of the nonwoven fabric as a whole is 8 g / m 2 or more and 100 g / m 2 or less, preferably 60 g / m 2 or less, more preferably 40 g / m 2 or less, and preferably 10 g / m 2 or more
- the absorbent article which has a nonwoven fabric any one of said ⁇ 1>- ⁇ 33>.
- ⁇ 35> The nonwoven fabric according to any one of ⁇ 1> to ⁇ 33>, wherein the first surface side, which is the surface opposite to the surface to which hot air hits during production, is directed to the skin surface side of the wearer.
- Absorbent articles arranged as. ⁇ 36> The absorbent article which arranged the 2nd above-mentioned side which is a field which a hot wind hits at the time of manufacture towards the skin side of a wearer as a surface sheet among the nonwoven fabrics given in any 1 of the ⁇ 1>- ⁇ 33> .
- the fiber web is placed on a male support member having a plurality of projections and a plurality of recesses disposed between the plurality of projections, and the concave portions corresponding to the projections and the recesses of the male support member are placed on the fiber web.
- the manufacturing method of the nonwoven fabric which has the process of holding
- the bottom of the recess of the support male and the support female has a structure in which hot air blows off, and the hot air is blown while the support male and the support female are fitted with the fiber web interposed therebetween.
- the manufacturing method of the nonwoven fabric as described in said ⁇ 37> which has a process.
- the spraying process by the first hot air W1 was performed at a temperature of 160 ° C., a wind speed of 54 m / s, and a spraying time of 6 s.
- the second hot air spraying was performed at a temperature of 160 ° C., a wind speed of 6 m / s, and a spraying time of 6 s.
- the non-woven fabric sample of Example 1 was provided with the outer surface fiber layer 1 on the first surface side Z1 and the outer surface fiber layer 2 and the connecting portion 3 on the second surface side Z2 falling under the above-mentioned definition.
- the length T1 of the connecting portion 31 is shorter than the length T2 of the first outer surface fiber layer 11 and the length T3 of the outer surface fiber layer 2.
- the length T4 of the connecting portion 32 is shorter than the length T5 of the second outer surface fiber layer 12 and the length T6 of the outer surface fiber layer 2.
- the fiber amount of the outer surface fiber layer 2 on the second surface side was smaller than that of the outer surface fiber layer 1 on the first surface side.
- Example 2 A nonwoven fabric sample of Example 2 was produced in accordance with the same manufacturing method as in Example 1 except that the temperature of the first stage air through was changed to 145 ° C., and the air velocity was changed to 40 m / s.
- the nonwoven fabric sample of Example 2 includes the outer surface fiber layer 1 on the first surface side Z1 and the outer surface fiber layer 2 and the connecting portion 3 on the second surface side Z2 falling under the above-mentioned definition, and the lengths T1 and T4 of the connecting portion. Are made shorter than the lengths T2 and T5 of the outer surface fiber layer 1 and the lengths T3 and T6 of the outer surface fiber layer 2, respectively. Further, in the non-woven fabric sample of Example 2, the fiber amount of the outer surface fiber layer 2 was smaller than that of the outer surface fiber layer 1.
- PET polyethylene terephthalate
- PE polyethylene
- sheath 7: 3 (mass ratio)
- the nonwoven fabric sample of Example 3 was produced according to the manufacturing method.
- the nonwoven fabric sample of Example 3 includes the outer surface fiber layer 1 on the first surface side Z1 and the outer surface fiber layer 2 and the connecting portion 3 on the second surface side Z2 falling under the above-mentioned definition, and the lengths T1 and T4 of the connecting portion. Are made shorter than the lengths T2 and T5 of the outer surface fiber layer 1 and the lengths T3 and T6 of the outer surface fiber layer 2, respectively. Further, in the non-woven fabric sample of Example 3, the fiber amount of the outer surface fiber layer 2 was smaller than that of the outer surface fiber layer 1.
- Comparative example 1 The uneven nonwoven fabric of the shape shown in FIG. 1 of Patent Document 3 described above is manufactured using an thermoplastic fiber having a fiber diameter of 1.8 dtex by an air through manufacturing method including the manufacturing process described in paragraph [0031] of the specification of the same document. did. This was used as the non-woven fabric sample of Comparative Example 1.
- the spraying process by the first hot air W1 was performed under the conditions of a temperature of 160 ° C., a wind speed of 54 m / s, and a spraying time of 3 s.
- the second hot air spraying was performed at a temperature of 160 ° C., a wind speed of 6 m / s, and a spraying time of 3 s.
- both the first protrusion on the first surface side and the second protrusion on the second surface were both frusto-conical or hemispherical with rounded tops.
- the above-mentioned (the outer surface fiber layer 1 and the second wall) and the annular wall interposed between the first projection and the second projection are described above.
- the measurement method of 2) and the measurement method of the longitudinal orientation rate of the fiber of the connection part 3 was applied mutatis mutandis.
- the wall portion in the nonwoven fabric sample of Comparative Example 1 was not the “connection portion in which the fibers were oriented in the thickness direction” in the nonwoven fabric of the present invention.
- the lengths of the connecting portions are respectively longer than the lengths of the outer surface fiber layer, and the top portion is rounded so that it has a gently uneven shape toward the second outer surface fiber layer.
- Comparative example 2 Using a thermoplastic fiber having a fiber diameter of 1.8 dtex, a flat non-woven fabric which was not unevenly shaped by the air-through manufacturing method was produced and used as a non-woven fabric sample of Comparative Example 2. Because of the flat non-woven fabric, there was no boundary defining the outer surface fiber layer due to the unevenness, and it was not possible to specify T1 to T6. The fiber orientation ratio of the outer surface fiber layer viewed from the top was measured.
- Comparative example 3 The flat non-woven fabric used for the surface material of Mary's Pants L size (made by Kao Corp., 2016) was peeled off to prepare a non-woven fabric sample of Comparative Example 3. Because of the flat non-woven fabric, there was no boundary defining the outer surface fiber layer due to the unevenness, and it was not possible to specify T1 to T6. The fiber orientation ratio of the outer surface fiber layer viewed from the top was measured.
- Comparative example 4 The uneven nonwoven fabric used for the surface material of Mary's M size (Kao Co., Ltd., 2016) was peeled off to prepare a nonwoven fabric sample of Comparative Example 4. Although the uneven nonwoven fabric was used, since the outer surface fiber layer 2 on the non-skin surface side (the second surface side Z2) was flat, it was not possible to specify T1 to T6. The fiber orientation ratio of fibers from the uneven surface toward the flat surface was measured.
- Compression energy WC
- compression recovery rate RC
- KES compression tester KES FB-3 manufactured by Kato Tech Co., Ltd.
- the speed of the terminal is set to 0.1 mm / s for the non-woven fabric, and the normal mode is used.
- the compression characteristics were evaluated by the indentation load up to 5 kPa, and the displayed WC and RC were read.
- pieces in a nonwoven fabric are measured, the average value is calculated
- the WC value represents the energy required for compression per unit area, and the larger the WC value, the easier it is to be compressed.
- the RC value represents the ratio of energy recovered to energy at compression as a percentage. The larger the RC value, the better the recovery from compression and the better the elasticity.
- amount of compressive deformation (the amount of compressive deformation under a load of 0.1 to 2.5 kPa. Mm)
- the amount of deformation from 0.1 to 2.5 kPa was extracted and used as the measured value.
- the larger the value is the more easily it is crushed during a load of 2.5 kPa. When the value is large, the cushioning property is easily felt because it is largely deformed when touched.
- the compressive energy (WC) is large in Examples 1 to 3 and Comparative Examples 1 and 2 where the apparent thickness is high, and is excellent in cushioning properties. Furthermore, the compression recovery rate (RC) is all 40% or more, and the thickness recovery rate is excellent.
- the amount of compressive deformation is smaller than in Examples 1 and 2, and the texture is in the direction of Examples 1 to 3 because the orientation of the connecting portions is not vertical orientation. was excellent.
- the flat non-woven fabric has an apparent thickness equal to or more than that as in Comparative Example 2, the amount of compressive deformation can not be increased because of a large amount of fibers, and no buckling deformation occurs.
- Examples 1 to 3 have appropriate deformation when lightly touched because of the buckling deformation, and the value of the amount of compressive deformation is large due to the existence of the buckling deformation.
- Compression energy (WC) represents a good feeling of cushioning that can not be completely expressed.
- Examples 1 to 3 have the same thickness as Comparative Examples 1 and 2, they have excellent thickness recovery, adequate elasticity, and excellent cushioning due to a large amount of compressive deformation. The feeling was realized, and the example was better in texture. Further, in Comparative Example 3 in which the amount of fiber is small, the thickness can not be secured, and Examples 1 to 3 were superior in texture.
- the uneven nonwoven fabric of Comparative Example 4 has a slight thickness
- the second fiber layer is flat
- the amount of compressive deformation is larger in Examples 1 to 3.
- the apparent thickness can be realized with a low basis weight because the planarly oriented portion and the connecting portion are longitudinally oriented.
- the vertical orientation is a column and a buckling deformation is shown, the amount of deformation (the amount of compressive deformation) in the vicinity of the load felt by a person can be made larger than in Comparative Examples 1 to 4. The texture was greatly improved by this.
- Example 1 to 3 since buckling deformation is shown, appropriate elasticity can be felt when it is rubbed with a finger (weak load less than 100 Pa), and a feeling of thickness can be felt with plumpness. It had a good texture.
- a finger for example, a pressure of about 2.5 kPa
- partial sinking occurs near the force point of the non-woven fabric, and compared with the comparative example, The spread of the transformation to is limited.
- Example 3 in which the mass ratio of PE as the sheath resin (the temperature of the glass transition component is lower than that of PET as the core resin) is smaller than the recovery after 1 day compression. It was found that the thickness was recoverable even after crushing the nonwoven fabric with a pack or the like.
Landscapes
- Health & Medical Sciences (AREA)
- Engineering & Computer Science (AREA)
- Textile Engineering (AREA)
- Animal Behavior & Ethology (AREA)
- Public Health (AREA)
- Heart & Thoracic Surgery (AREA)
- Vascular Medicine (AREA)
- Life Sciences & Earth Sciences (AREA)
- Epidemiology (AREA)
- General Health & Medical Sciences (AREA)
- Biomedical Technology (AREA)
- Veterinary Medicine (AREA)
- Mechanical Engineering (AREA)
- Manufacturing & Machinery (AREA)
- Nonwoven Fabrics (AREA)
- Absorbent Articles And Supports Therefor (AREA)
- Laminated Bodies (AREA)
Priority Applications (7)
| Application Number | Priority Date | Filing Date | Title |
|---|---|---|---|
| RU2020109134A RU2732103C1 (ru) | 2017-08-31 | 2018-07-17 | Нетканый материал |
| DE112018004764.4T DE112018004764T5 (de) | 2017-08-31 | 2018-07-17 | Vliesstoff |
| US16/628,385 US20200216989A1 (en) | 2017-08-31 | 2018-07-17 | Nonwoven fabric |
| CN201880055525.1A CN111094640B (zh) | 2017-08-31 | 2018-07-17 | 无纺布 |
| MYPI2020000053A MY192471A (en) | 2017-08-31 | 2018-07-17 | Nonwoven fabric |
| KR1020197038749A KR102100102B1 (ko) | 2017-08-31 | 2018-07-17 | 부직포 |
| GB2003139.9A GB2579948B (en) | 2017-08-31 | 2018-07-17 | Nonwoven fabric |
Applications Claiming Priority (2)
| Application Number | Priority Date | Filing Date | Title |
|---|---|---|---|
| JP2017168000 | 2017-08-31 | ||
| JP2017-168000 | 2017-08-31 |
Publications (1)
| Publication Number | Publication Date |
|---|---|
| WO2019044218A1 true WO2019044218A1 (ja) | 2019-03-07 |
Family
ID=65526450
Family Applications (1)
| Application Number | Title | Priority Date | Filing Date |
|---|---|---|---|
| PCT/JP2018/026729 Ceased WO2019044218A1 (ja) | 2017-08-31 | 2018-07-17 | 不織布 |
Country Status (10)
| Country | Link |
|---|---|
| US (1) | US20200216989A1 (enExample) |
| JP (1) | JP6595051B2 (enExample) |
| KR (1) | KR102100102B1 (enExample) |
| CN (1) | CN111094640B (enExample) |
| DE (1) | DE112018004764T5 (enExample) |
| GB (1) | GB2579948B (enExample) |
| MY (1) | MY192471A (enExample) |
| RU (1) | RU2732103C1 (enExample) |
| TW (1) | TWI696735B (enExample) |
| WO (1) | WO2019044218A1 (enExample) |
Cited By (38)
| Publication number | Priority date | Publication date | Assignee | Title |
|---|---|---|---|---|
| JP2019044319A (ja) * | 2017-08-31 | 2019-03-22 | 花王株式会社 | 不織布 |
| US12029677B2 (en) | 2021-04-06 | 2024-07-09 | Purewick Corporation | Fluid collection devices having a collection bag, and related systems and methods |
| US12042423B2 (en) | 2020-10-07 | 2024-07-23 | Purewick Corporation | Fluid collection systems including at least one tensioning element |
| US12121468B2 (en) | 2014-03-19 | 2024-10-22 | Purewick Corporation | Apparatus and methods for receiving discharged urine |
| US12138196B2 (en) | 2014-03-19 | 2024-11-12 | Purewick Corporation | Apparatus and methods for receiving discharged urine |
| US12138195B2 (en) | 2020-04-10 | 2024-11-12 | Purewick Corporation | Fluid collection assemblies including one or more leak prevention features |
| US12150885B2 (en) | 2021-05-26 | 2024-11-26 | Purewick Corporation | Fluid collection system including a cleaning system and methods |
| US12156792B2 (en) | 2020-09-10 | 2024-12-03 | Purewick Corporation | Fluid collection assemblies including at least one inflation device |
| US12161579B2 (en) | 2014-03-19 | 2024-12-10 | Purewick Corporation | Apparatus and methods for receiving discharged urine |
| US12178735B2 (en) | 2021-02-09 | 2024-12-31 | Purewick Corporation | Noise reduction for a urine suction system |
| US12186229B2 (en) | 2021-01-19 | 2025-01-07 | Purewick Corporation | Variable fit fluid collection devices, systems, and methods |
| US12193962B2 (en) | 2016-06-02 | 2025-01-14 | Purewick Corporation | Using wicking material to collect liquid for transport |
| US12208031B2 (en) | 2020-10-21 | 2025-01-28 | Purewick Corporation | Adapters for fluid collection devices |
| US12233003B2 (en) | 2021-04-29 | 2025-02-25 | Purewick Corporation | Fluid collection assemblies including at least one length adjusting feature |
| US12245967B2 (en) | 2020-11-18 | 2025-03-11 | Purewick Corporation | Fluid collection assemblies including an adjustable spine |
| US12245966B2 (en) | 2021-02-26 | 2025-03-11 | Purewick Corporation | Fluid collection devices having a sump between a tube opening and a barrier, and related systems and methods |
| US12251333B2 (en) | 2021-05-21 | 2025-03-18 | Purewick Corporation | Fluid collection assemblies including at least one inflation device and methods and systems of using the same |
| US12257173B2 (en) | 2017-01-31 | 2025-03-25 | Purewick Corporation | Apparatus and methods for receiving discharged urine |
| US12257174B2 (en) | 2020-10-21 | 2025-03-25 | Purewick Corporation | Fluid collection assemblies including at least one of a protrusion or at least one expandable material |
| US12268627B2 (en) | 2021-01-06 | 2025-04-08 | Purewick Corporation | Fluid collection assemblies including at least one securement body |
| US12274638B2 (en) | 2018-05-01 | 2025-04-15 | Purewick Corporation | Fluid collection devices, related systems, and related methods |
| US12285352B2 (en) | 2018-05-01 | 2025-04-29 | Purewick Corporation | Fluid collection devices, systems, and methods |
| US12290485B2 (en) | 2020-11-11 | 2025-05-06 | Purewick Corporation | Urine collection system including a flow meter and related methods |
| US12295876B2 (en) | 2018-05-01 | 2025-05-13 | Purewick Corporation | Fluid collection devices and methods of using the same |
| US12324767B2 (en) | 2021-05-24 | 2025-06-10 | Purewick Corporation | Fluid collection assembly including a customizable external support and related methods |
| US12329364B2 (en) | 2019-07-19 | 2025-06-17 | Purewick Corporation | Fluid collection devices including at least one shape memory material |
| US12350187B2 (en) | 2020-08-11 | 2025-07-08 | Purewick Corporation | Fluid collection assemblies defining waist and leg openings |
| US12350190B2 (en) | 2020-01-03 | 2025-07-08 | Purewick Corporation | Urine collection devices having a relatively wide portion and an elongated portion and related methods |
| US12419778B2 (en) | 2019-06-21 | 2025-09-23 | Purewick Corporation | Fluid collection devices including a base securement area, and related systems and methods |
| US12440370B2 (en) | 2020-10-21 | 2025-10-14 | Purewick Corporation | Apparatus with compressible casing for receiving discharged urine |
| US12440371B2 (en) | 2020-08-06 | 2025-10-14 | Purewick Corporation | Fluid collection system including a garment and a fluid collection device |
| US12447042B2 (en) | 2020-04-17 | 2025-10-21 | Purewick Corporation | Fluid collection assemblies including a fluid impermeable barrier having a sump and a base |
| US12458525B2 (en) | 2021-03-10 | 2025-11-04 | Purewick Corporation | Acoustic silencer for a urine suction system |
| US12465514B2 (en) | 2020-04-17 | 2025-11-11 | Purewick Corporation | Fluid collection devices, systems, and methods securing a protruding portion in position for use |
| US12465515B2 (en) | 2019-10-28 | 2025-11-11 | Purewick Corporation | Fluid collection assemblies including a sample port |
| US12472090B2 (en) | 2020-04-17 | 2025-11-18 | Purewick Corporation | Female external catheter devices having a urethral cup, and related systems and methods |
| US12478499B2 (en) | 2021-01-07 | 2025-11-25 | Purewick Corporation | Wheelchair securable urine collection systems and related methods |
| US12491104B2 (en) | 2020-04-20 | 2025-12-09 | Purewick Corporation | Fluid collection devices adjustable between a vacuum-based orientation and a gravity-based orientation, and related systems and methods |
Families Citing this family (4)
| Publication number | Priority date | Publication date | Assignee | Title |
|---|---|---|---|---|
| EP4072495A1 (en) * | 2019-12-11 | 2022-10-19 | The Procter & Gamble Company | Flexible and compliant mechanically-deformed nonwovens for use in absorbent articles |
| JP7466354B2 (ja) * | 2020-03-30 | 2024-04-12 | 花王株式会社 | 吸収性物品 |
| JP7466355B2 (ja) * | 2020-03-30 | 2024-04-12 | 花王株式会社 | 吸収性物品用不織布 |
| JP7570773B2 (ja) * | 2020-04-09 | 2024-10-22 | 花王株式会社 | 不織布 |
Citations (5)
| Publication number | Priority date | Publication date | Assignee | Title |
|---|---|---|---|---|
| JP2001095845A (ja) * | 1999-10-04 | 2001-04-10 | Uni Charm Corp | 吸収性物品およびその製造方法 |
| JP2006520324A (ja) * | 2002-12-20 | 2006-09-07 | ザ プロクター アンド ギャンブル カンパニー | 布状のパーソナルケア用品 |
| WO2011122355A1 (ja) * | 2010-03-29 | 2011-10-06 | ユニ・チャーム株式会社 | 不織布シート |
| JP2014109085A (ja) * | 2012-12-03 | 2014-06-12 | Kao Corp | 凹凸シートの製造方法、及び不織布 |
| WO2016104768A1 (ja) * | 2014-12-26 | 2016-06-30 | ユニ・チャーム株式会社 | 吸収性物品用の、賦形された不織布を製造する方法 |
Family Cites Families (12)
| Publication number | Priority date | Publication date | Assignee | Title |
|---|---|---|---|---|
| JP3776328B2 (ja) * | 2001-03-30 | 2006-05-17 | 大王製紙株式会社 | パンツ型使い捨て紙おむつ |
| JP4454540B2 (ja) * | 2005-06-08 | 2010-04-21 | 花王株式会社 | 伸縮性シート |
| JP5328089B2 (ja) * | 2006-06-23 | 2013-10-30 | ユニ・チャーム株式会社 | 多層不織布及び多層不織布の製造方法 |
| JP5674454B2 (ja) | 2010-12-24 | 2015-02-25 | 花王株式会社 | 不織布及びこれを用いた吸収性物品 |
| JP5498474B2 (ja) * | 2011-12-14 | 2014-05-21 | 花王株式会社 | 積層不織布の製造方法 |
| JP5858776B2 (ja) * | 2011-12-27 | 2016-02-10 | 花王株式会社 | 不織布 |
| CN102747578B (zh) * | 2011-12-31 | 2014-07-02 | 金红叶纸业集团有限公司 | 压花设备、工艺及复合无纺布吸收体及其生产设备、工艺 |
| JP6047428B2 (ja) | 2012-06-07 | 2016-12-21 | 花王株式会社 | 不織布 |
| JP5925835B2 (ja) * | 2013-09-24 | 2016-05-25 | 花王株式会社 | 不織布の製造方法 |
| JP6289224B2 (ja) * | 2014-04-04 | 2018-03-07 | ユニ・チャーム株式会社 | 不織布 |
| JP6587509B2 (ja) * | 2015-11-05 | 2019-10-09 | 花王株式会社 | 積層不織布 |
| MY192471A (en) * | 2017-08-31 | 2022-08-22 | Kao Corp | Nonwoven fabric |
-
2018
- 2018-07-17 MY MYPI2020000053A patent/MY192471A/en unknown
- 2018-07-17 DE DE112018004764.4T patent/DE112018004764T5/de not_active Withdrawn
- 2018-07-17 GB GB2003139.9A patent/GB2579948B/en active Active
- 2018-07-17 US US16/628,385 patent/US20200216989A1/en not_active Abandoned
- 2018-07-17 RU RU2020109134A patent/RU2732103C1/ru active
- 2018-07-17 CN CN201880055525.1A patent/CN111094640B/zh active Active
- 2018-07-17 TW TW107124564A patent/TWI696735B/zh not_active IP Right Cessation
- 2018-07-17 KR KR1020197038749A patent/KR102100102B1/ko not_active Expired - Fee Related
- 2018-07-17 JP JP2018134296A patent/JP6595051B2/ja active Active
- 2018-07-17 WO PCT/JP2018/026729 patent/WO2019044218A1/ja not_active Ceased
Patent Citations (5)
| Publication number | Priority date | Publication date | Assignee | Title |
|---|---|---|---|---|
| JP2001095845A (ja) * | 1999-10-04 | 2001-04-10 | Uni Charm Corp | 吸収性物品およびその製造方法 |
| JP2006520324A (ja) * | 2002-12-20 | 2006-09-07 | ザ プロクター アンド ギャンブル カンパニー | 布状のパーソナルケア用品 |
| WO2011122355A1 (ja) * | 2010-03-29 | 2011-10-06 | ユニ・チャーム株式会社 | 不織布シート |
| JP2014109085A (ja) * | 2012-12-03 | 2014-06-12 | Kao Corp | 凹凸シートの製造方法、及び不織布 |
| WO2016104768A1 (ja) * | 2014-12-26 | 2016-06-30 | ユニ・チャーム株式会社 | 吸収性物品用の、賦形された不織布を製造する方法 |
Cited By (41)
| Publication number | Priority date | Publication date | Assignee | Title |
|---|---|---|---|---|
| US12161579B2 (en) | 2014-03-19 | 2024-12-10 | Purewick Corporation | Apparatus and methods for receiving discharged urine |
| US12324765B2 (en) | 2014-03-19 | 2025-06-10 | Purewick Corporation | Apparatus and methods for receiving discharged urine |
| US12239567B2 (en) | 2014-03-19 | 2025-03-04 | Purewick Corporation | Apparatus and methods for receiving discharged urine |
| US12121468B2 (en) | 2014-03-19 | 2024-10-22 | Purewick Corporation | Apparatus and methods for receiving discharged urine |
| US12138196B2 (en) | 2014-03-19 | 2024-11-12 | Purewick Corporation | Apparatus and methods for receiving discharged urine |
| US12171685B2 (en) | 2014-03-19 | 2024-12-24 | Purewick Corporation | Apparatus and methods for receiving discharged urine |
| US12193962B2 (en) | 2016-06-02 | 2025-01-14 | Purewick Corporation | Using wicking material to collect liquid for transport |
| US12257173B2 (en) | 2017-01-31 | 2025-03-25 | Purewick Corporation | Apparatus and methods for receiving discharged urine |
| JP2019044319A (ja) * | 2017-08-31 | 2019-03-22 | 花王株式会社 | 不織布 |
| US12274638B2 (en) | 2018-05-01 | 2025-04-15 | Purewick Corporation | Fluid collection devices, related systems, and related methods |
| US12295876B2 (en) | 2018-05-01 | 2025-05-13 | Purewick Corporation | Fluid collection devices and methods of using the same |
| US12285352B2 (en) | 2018-05-01 | 2025-04-29 | Purewick Corporation | Fluid collection devices, systems, and methods |
| US12419778B2 (en) | 2019-06-21 | 2025-09-23 | Purewick Corporation | Fluid collection devices including a base securement area, and related systems and methods |
| US12329364B2 (en) | 2019-07-19 | 2025-06-17 | Purewick Corporation | Fluid collection devices including at least one shape memory material |
| US12465515B2 (en) | 2019-10-28 | 2025-11-11 | Purewick Corporation | Fluid collection assemblies including a sample port |
| US12350190B2 (en) | 2020-01-03 | 2025-07-08 | Purewick Corporation | Urine collection devices having a relatively wide portion and an elongated portion and related methods |
| US12138195B2 (en) | 2020-04-10 | 2024-11-12 | Purewick Corporation | Fluid collection assemblies including one or more leak prevention features |
| US12472090B2 (en) | 2020-04-17 | 2025-11-18 | Purewick Corporation | Female external catheter devices having a urethral cup, and related systems and methods |
| US12447042B2 (en) | 2020-04-17 | 2025-10-21 | Purewick Corporation | Fluid collection assemblies including a fluid impermeable barrier having a sump and a base |
| US12465514B2 (en) | 2020-04-17 | 2025-11-11 | Purewick Corporation | Fluid collection devices, systems, and methods securing a protruding portion in position for use |
| US12491104B2 (en) | 2020-04-20 | 2025-12-09 | Purewick Corporation | Fluid collection devices adjustable between a vacuum-based orientation and a gravity-based orientation, and related systems and methods |
| US12440371B2 (en) | 2020-08-06 | 2025-10-14 | Purewick Corporation | Fluid collection system including a garment and a fluid collection device |
| US12350187B2 (en) | 2020-08-11 | 2025-07-08 | Purewick Corporation | Fluid collection assemblies defining waist and leg openings |
| US12156792B2 (en) | 2020-09-10 | 2024-12-03 | Purewick Corporation | Fluid collection assemblies including at least one inflation device |
| US12042423B2 (en) | 2020-10-07 | 2024-07-23 | Purewick Corporation | Fluid collection systems including at least one tensioning element |
| US12257174B2 (en) | 2020-10-21 | 2025-03-25 | Purewick Corporation | Fluid collection assemblies including at least one of a protrusion or at least one expandable material |
| US12440370B2 (en) | 2020-10-21 | 2025-10-14 | Purewick Corporation | Apparatus with compressible casing for receiving discharged urine |
| US12208031B2 (en) | 2020-10-21 | 2025-01-28 | Purewick Corporation | Adapters for fluid collection devices |
| US12290485B2 (en) | 2020-11-11 | 2025-05-06 | Purewick Corporation | Urine collection system including a flow meter and related methods |
| US12245967B2 (en) | 2020-11-18 | 2025-03-11 | Purewick Corporation | Fluid collection assemblies including an adjustable spine |
| US12268627B2 (en) | 2021-01-06 | 2025-04-08 | Purewick Corporation | Fluid collection assemblies including at least one securement body |
| US12478499B2 (en) | 2021-01-07 | 2025-11-25 | Purewick Corporation | Wheelchair securable urine collection systems and related methods |
| US12186229B2 (en) | 2021-01-19 | 2025-01-07 | Purewick Corporation | Variable fit fluid collection devices, systems, and methods |
| US12178735B2 (en) | 2021-02-09 | 2024-12-31 | Purewick Corporation | Noise reduction for a urine suction system |
| US12245966B2 (en) | 2021-02-26 | 2025-03-11 | Purewick Corporation | Fluid collection devices having a sump between a tube opening and a barrier, and related systems and methods |
| US12458525B2 (en) | 2021-03-10 | 2025-11-04 | Purewick Corporation | Acoustic silencer for a urine suction system |
| US12029677B2 (en) | 2021-04-06 | 2024-07-09 | Purewick Corporation | Fluid collection devices having a collection bag, and related systems and methods |
| US12233003B2 (en) | 2021-04-29 | 2025-02-25 | Purewick Corporation | Fluid collection assemblies including at least one length adjusting feature |
| US12251333B2 (en) | 2021-05-21 | 2025-03-18 | Purewick Corporation | Fluid collection assemblies including at least one inflation device and methods and systems of using the same |
| US12324767B2 (en) | 2021-05-24 | 2025-06-10 | Purewick Corporation | Fluid collection assembly including a customizable external support and related methods |
| US12150885B2 (en) | 2021-05-26 | 2024-11-26 | Purewick Corporation | Fluid collection system including a cleaning system and methods |
Also Published As
| Publication number | Publication date |
|---|---|
| GB2579948A (en) | 2020-07-08 |
| RU2732103C1 (ru) | 2020-09-11 |
| US20200216989A1 (en) | 2020-07-09 |
| CN111094640B (zh) | 2022-04-26 |
| KR20200006599A (ko) | 2020-01-20 |
| JP6595051B2 (ja) | 2019-10-23 |
| TWI696735B (zh) | 2020-06-21 |
| GB2579948B (en) | 2021-04-14 |
| KR102100102B1 (ko) | 2020-04-13 |
| JP2019044319A (ja) | 2019-03-22 |
| MY192471A (en) | 2022-08-22 |
| DE112018004764T5 (de) | 2020-06-10 |
| CN111094640A (zh) | 2020-05-01 |
| GB202003139D0 (en) | 2020-04-15 |
| TW201912865A (zh) | 2019-04-01 |
Similar Documents
| Publication | Publication Date | Title |
|---|---|---|
| WO2019044218A1 (ja) | 不織布 | |
| US11168420B2 (en) | Nonwoven fabric | |
| JP6594936B2 (ja) | 不織布 | |
| JP6561183B2 (ja) | 不織布 | |
| JP4343992B2 (ja) | 吸収性物品の表面シート | |
| CN104246046B (zh) | 无纺布、吸收性物品、卫生巾以及无纺布的制造方法 | |
| JP4318597B2 (ja) | 立体不織布 | |
| JP6468803B2 (ja) | 積層不織布 | |
| JP2021037057A (ja) | 吸収性物品 | |
| JP7612524B2 (ja) | 不織布 | |
| JP3249760U (ja) | 吸収性物品用不織布 | |
| JP2021159168A (ja) | 吸収性物品用不織布 | |
| JP7789521B2 (ja) | 吸収性物品 | |
| JP2023166229A (ja) | 不織布 | |
| JP2024132465A (ja) | 吸収性物品用不織布シート | |
| JP2023054943A (ja) | 吸収性物品用の表面シート | |
| JP2022104208A (ja) | 吸収性物品用表面材 | |
| JPWO2020148818A1 (ja) | 吸収性物品用不織布 | |
| JP2019119068A (ja) | 積層フィルム |
Legal Events
| Date | Code | Title | Description |
|---|---|---|---|
| 121 | Ep: the epo has been informed by wipo that ep was designated in this application |
Ref document number: 18849950 Country of ref document: EP Kind code of ref document: A1 |
|
| ENP | Entry into the national phase |
Ref document number: 20197038749 Country of ref document: KR Kind code of ref document: A |
|
| ENP | Entry into the national phase |
Ref document number: 202003139 Country of ref document: GB Kind code of ref document: A Free format text: PCT FILING DATE = 20180717 |
|
| 122 | Ep: pct application non-entry in european phase |
Ref document number: 18849950 Country of ref document: EP Kind code of ref document: A1 |