WO2019026586A1 - ガラス板の折割機械 - Google Patents
ガラス板の折割機械 Download PDFInfo
- Publication number
- WO2019026586A1 WO2019026586A1 PCT/JP2018/026347 JP2018026347W WO2019026586A1 WO 2019026586 A1 WO2019026586 A1 WO 2019026586A1 JP 2018026347 W JP2018026347 W JP 2018026347W WO 2019026586 A1 WO2019026586 A1 WO 2019026586A1
- Authority
- WO
- WIPO (PCT)
- Prior art keywords
- glass plate
- glass
- pressing
- moving
- cutting line
- Prior art date
- Legal status (The legal status is an assumption and is not a legal conclusion. Google has not performed a legal analysis and makes no representation as to the accuracy of the status listed.)
- Ceased
Links
Images
Classifications
-
- C—CHEMISTRY; METALLURGY
- C03—GLASS; MINERAL OR SLAG WOOL
- C03B—MANUFACTURE, SHAPING, OR SUPPLEMENTARY PROCESSES
- C03B33/00—Severing cooled glass
- C03B33/02—Cutting or splitting sheet glass or ribbons; Apparatus or machines therefor
- C03B33/023—Cutting or splitting sheet glass or ribbons; Apparatus or machines therefor the sheet or ribbon being in a horizontal position
- C03B33/03—Glass cutting tables; Apparatus for transporting or handling sheet glass during the cutting or breaking operations
-
- B—PERFORMING OPERATIONS; TRANSPORTING
- B28—WORKING CEMENT, CLAY, OR STONE
- B28D—WORKING STONE OR STONE-LIKE MATERIALS
- B28D1/00—Working stone or stone-like materials, e.g. brick, concrete or glass, not provided for elsewhere; Machines, devices, tools therefor
- B28D1/22—Working stone or stone-like materials, e.g. brick, concrete or glass, not provided for elsewhere; Machines, devices, tools therefor by cutting, e.g. incising
- B28D1/225—Working stone or stone-like materials, e.g. brick, concrete or glass, not provided for elsewhere; Machines, devices, tools therefor by cutting, e.g. incising for scoring or breaking, e.g. tiles
-
- B—PERFORMING OPERATIONS; TRANSPORTING
- B26—HAND CUTTING TOOLS; CUTTING; SEVERING
- B26F—PERFORATING; PUNCHING; CUTTING-OUT; STAMPING-OUT; SEVERING BY MEANS OTHER THAN CUTTING
- B26F3/00—Severing by means other than cutting; Apparatus therefor
-
- B—PERFORMING OPERATIONS; TRANSPORTING
- B26—HAND CUTTING TOOLS; CUTTING; SEVERING
- B26F—PERFORATING; PUNCHING; CUTTING-OUT; STAMPING-OUT; SEVERING BY MEANS OTHER THAN CUTTING
- B26F3/00—Severing by means other than cutting; Apparatus therefor
- B26F3/002—Precutting and tensioning or breaking
-
- B—PERFORMING OPERATIONS; TRANSPORTING
- B28—WORKING CEMENT, CLAY, OR STONE
- B28D—WORKING STONE OR STONE-LIKE MATERIALS
- B28D1/00—Working stone or stone-like materials, e.g. brick, concrete or glass, not provided for elsewhere; Machines, devices, tools therefor
- B28D1/22—Working stone or stone-like materials, e.g. brick, concrete or glass, not provided for elsewhere; Machines, devices, tools therefor by cutting, e.g. incising
-
- B—PERFORMING OPERATIONS; TRANSPORTING
- B28—WORKING CEMENT, CLAY, OR STONE
- B28D—WORKING STONE OR STONE-LIKE MATERIALS
- B28D5/00—Fine working of gems, jewels, crystals, e.g. of semiconductor material; apparatus or devices therefor
-
- B—PERFORMING OPERATIONS; TRANSPORTING
- B28—WORKING CEMENT, CLAY, OR STONE
- B28D—WORKING STONE OR STONE-LIKE MATERIALS
- B28D7/00—Accessories specially adapted for use with machines or devices of the preceding groups
- B28D7/04—Accessories specially adapted for use with machines or devices of the preceding groups for supporting or holding work or conveying or discharging work
-
- B—PERFORMING OPERATIONS; TRANSPORTING
- B65—CONVEYING; PACKING; STORING; HANDLING THIN OR FILAMENTARY MATERIAL
- B65G—TRANSPORT OR STORAGE DEVICES, e.g. CONVEYORS FOR LOADING OR TIPPING, SHOP CONVEYOR SYSTEMS OR PNEUMATIC TUBE CONVEYORS
- B65G49/00—Conveying systems characterised by their application for specified purposes not otherwise provided for
- B65G49/05—Conveying systems characterised by their application for specified purposes not otherwise provided for for fragile or damageable materials or articles
- B65G49/06—Conveying systems characterised by their application for specified purposes not otherwise provided for for fragile or damageable materials or articles for fragile sheets, e.g. glass
- B65G49/063—Transporting devices for sheet glass
- B65G49/064—Transporting devices for sheet glass in a horizontal position
-
- C—CHEMISTRY; METALLURGY
- C03—GLASS; MINERAL OR SLAG WOOL
- C03B—MANUFACTURE, SHAPING, OR SUPPLEMENTARY PROCESSES
- C03B33/00—Severing cooled glass
- C03B33/02—Cutting or splitting sheet glass or ribbons; Apparatus or machines therefor
- C03B33/023—Cutting or splitting sheet glass or ribbons; Apparatus or machines therefor the sheet or ribbon being in a horizontal position
- C03B33/033—Apparatus for opening score lines in glass sheets
-
- C—CHEMISTRY; METALLURGY
- C03—GLASS; MINERAL OR SLAG WOOL
- C03B—MANUFACTURE, SHAPING, OR SUPPLEMENTARY PROCESSES
- C03B33/00—Severing cooled glass
- C03B33/02—Cutting or splitting sheet glass or ribbons; Apparatus or machines therefor
- C03B33/023—Cutting or splitting sheet glass or ribbons; Apparatus or machines therefor the sheet or ribbon being in a horizontal position
- C03B33/037—Controlling or regulating
-
- C—CHEMISTRY; METALLURGY
- C03—GLASS; MINERAL OR SLAG WOOL
- C03B—MANUFACTURE, SHAPING, OR SUPPLEMENTARY PROCESSES
- C03B33/00—Severing cooled glass
- C03B33/02—Cutting or splitting sheet glass or ribbons; Apparatus or machines therefor
- C03B33/04—Cutting or splitting in curves, especially for making spectacle lenses
-
- B—PERFORMING OPERATIONS; TRANSPORTING
- B65—CONVEYING; PACKING; STORING; HANDLING THIN OR FILAMENTARY MATERIAL
- B65G—TRANSPORT OR STORAGE DEVICES, e.g. CONVEYORS FOR LOADING OR TIPPING, SHOP CONVEYOR SYSTEMS OR PNEUMATIC TUBE CONVEYORS
- B65G2201/00—Indexing codes relating to handling devices, e.g. conveyors, characterised by the type of product or load being conveyed or handled
- B65G2201/02—Articles
- B65G2201/0214—Articles of special size, shape or weigh
- B65G2201/022—Flat
Definitions
- the present invention relates to a glass sheet breaking machine.
- the cleaving device is moved along a split line formed on the glass plate in a plane parallel to the surface of the glass plate placed on the endless belt, while the glass plate receiving device is broken down below the endless belt.
- Glass sheet breaking machines are known which are adapted to be moved in correspondence with the movement of the device.
- the glass sheet receiving surface of the glass sheet receiving device is disposed on the lower surface of the glass sheet in a region surrounded by the dividing line when pressing against the glass sheet along the cutting line
- the pressing rod is pressed outside the area surrounded by the dividing line against the upper surface of the glass sheet whose lower surface is supported by the glass sheet receiving surface disposed in such an area, and the glass sheet is pushed and split along the dividing line
- the glass plate receiving surface may push up the breaking cullet after the pressing, and the lifting of the breaking cullet may occur.
- the glass plate as a product may be chipped or the like on the cracked surface.
- the present invention has been made in view of the above-mentioned points, and an object of the present invention is to provide a glass sheet breaking machine which does not cause chipping or the like in a broken surface of a glass sheet as a product after being crushed. It is in.
- a flexible member on which a glass sheet having a cutting line formed thereon is placed, and the glass sheet at the central portion of the lower surface of the glass sheet via the flexible member A glass having a support mechanism having a support surface to support, a glass plate receiving surface for receiving a glass plate from the lower surface of the glass plate via the flexible member, and a glass disposed below the flexible member
- a second moving device for moving the pushing device.
- the first moving device is a parting line of the glass plate in plan view when the pushing surface of the glass plate is pushed and split.
- Glass plate at a position outside the area enclosed by The second moving device is configured to move the glass plate receiving device so that the grate is disposed, and the second moving device is configured to move the glass in plan view to correspond to the glass plate receiving surface when the pressing surface presses against the glass plate.
- the pushing device is moved so that the pushing surface is arranged at a position outside the area surrounded by the cutting line of the plate, and pushing along the cutting line of the glass plate by the pushing surface is the support surface of the support mechanism. It is intended to be performed on the glass plate outside the area surrounded by the scribe line of the bent glass plate at the glass plate receiving surface disposed above the glass plate.
- a glass sheet bent by the pressing surface is bent at the glass sheet receiving surface disposed above the supporting surface of the supporting mechanism.
- the glass plate receiving device is configured to press the glass plate along the cutting line of the glass plate by the pressing surface of the pressing device, and to press the glass plate before pressing the pressing surface to the pressing surface of the glass plate. It has an elevation means of the glass plate receiving surface which moves the glass plate receiving surface toward the flexible member so as to cause the glass plate between the cutting line and the pressing surface to be pressed against the glass plate to be bent.
- the glass plate receiving surface may always be disposed above the support surface of the support mechanism regardless of the pressure split along the cutting line of the glass plate by the pressing surface.
- the glass plate can be pushed and split along the parting line of the glass plate so that the glass plate can be bent upward, and as a result, the push arranged above the glass plate
- unnecessary pressure on the flexible member of the glass plate receiving surface can be avoided, and damage to the flexible member It can be reduced.
- the width is determined by the width etc., and in a preferred example, it is about 1 mm to 5 mm, but is not limited thereto.
- the first moving device is a movement for moving the glass plate receiving surface in one direction and the other direction intersecting the one direction in a plane parallel to the plane of the glass plate.
- the second moving device has a moving mechanism for moving the pushing surface in one direction and another direction intersecting the one direction in a plane parallel to the plane of the glass plate. doing.
- the flexible member comprises an endless belt
- the glass sheet breaking machine comprises a means for applying tension to the endless belt and a running means for running the endless belt. ing.
- the glass plate receiving surface has, in a preferred example, a flat surface which receives the lower surface of the glass plate through the flexible member in relation to the cutter wheel in the formation of a cutting line including an end cutting line
- a flat surface may be a circle, an ellipse, or a polygon having a triangle or more.
- the pressing surface has, in a preferred example, a flat surface capable of pressing the upper surface of the glass plate.
- Glass plates to be broken by the breaking machine of the present invention include general window glass plates for buildings, glass plates for furniture, glass plates for automobiles such as front glass, rear glass or side glass, computers, mobile phones, etc. Although the glass plate for display screens of can be illustrated, it may also include other glass plates.
- a flexible endless belt which is a flexible endless member can be mentioned as a preferable example, but in addition, it may be a flexible endless sheet.
- the present invention it is possible to provide a glass sheet cracking machine which does not cause chipping or the like on the fracture surface of the glass sheet as a product after being crushed.
- FIG. 1 is a side view of a preferred embodiment of the present invention.
- FIG. 2 is a front view of the specific example shown in FIG.
- FIG. 3 is a plan view of the endless belt, the support member and the like in the embodiment shown in FIG.
- FIG. 4 is a detailed side view of the glass plate receiving apparatus in the specific example shown in FIG.
- FIG. 5 is a detailed plan view of the glass plate receiving apparatus in the specific example shown in FIG.
- FIG. 6 is an operation explanatory view of the glass plate receiving apparatus in the specific example shown in FIG.
- FIG. 7 is a detailed side view of the press and split device in the specific example shown in FIG.
- FIG. 8 is an operation explanatory diagram of the specific example shown in FIG.
- FIG. 9 is an operation explanatory diagram of the specific example shown in FIG.
- FIG. 10 is an operation explanatory diagram of the specific example shown in FIG.
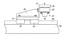
- the glass sheet breaking machine 1 of this example includes the flexible endless belt 3 as a flexible member on which the glass sheet 2 is placed, and the periphery of the upper portion of the endless belt 3
- the supporting member 4 supporting from the lower surface side, and the glass plate receiving surface which receives the glass plate 2 from the lower surface of the glass plate 2 via the endless belt 3 in the area 5 surrounded by the supporting member 4 6 and 6a and arranged in the lower part of the upper portion of the endless belt 3 in this example, two or more glass plate receiving devices 7 and 7a, respectively, each of the glass plate receiving surfaces 6 and 6a In the plane parallel to the plane of the glass plate 2, in this example, in the horizontal plane, in the X direction and in the other direction intersecting the X direction,
- the moving devices 8 and 8a are moved in the Y direction orthogonal to the X direction and A plurality of, in this example two, pushers 9 and 9a disposed above the upper portion of endless belt 3, and each of pushers 9 and 9a are arranged in an
- the moving devices 10 and 10a for moving in the other direction intersecting the X direction, in this example, the Y direction orthogonal to the X direction, and the glass plate 2 before breaking are carried into the area 5 surrounded by the support member 4 Carrying out the broken glass plate 2 out of the region 5 surrounded by the support member 4, carrying out means 11, tensioning means 12 for applying tension to the endless belt 3, and endless belt 3 in the X direction
- the glass plate receivers 7 and 7a respectively, the moving devices 8 and 8a respectively, the pushing devices 9 and 9a respectively and the moving devices 10 and 10a respectively are identically configured, so in the following if particularly necessary Except for the glass plate receiving device 7, the moving device 8, the pushing device 9, and the moving device 10, and the corresponding components are only illustrated with the same numeral a.
- the endless belt 3 is wound around the drive drum 17 and the driven drum 18 and the free rotating drums 19 and 20.
- the support member 4 made of a hollow rectangular member is supported by the base 23 of the frame 16 via the bracket 21 and the intermediate base 22 of the frame 16.
- the supporting member 4 may be a plate-like member instead of the hollow rectangular member, and in short, the upper side portion of the endless belt 3 is supported from the lower surface side, and the upper side portion of the endless belt 3 is extremely drooping down.
- the support member 4 may be omitted as long as the endless belt 3 can be tensioned as desired so that the upper portion of the endless belt 3 does not excessively drop.
- the drive drum 17 and the driven drum 18 function as a part of the support member 4 so that the drive drum 17 and the driven drum in the support member 4 are driven.
- the portion extending parallel to the drum 18 may be omitted.
- the glass plate receiving device 7 While raising the glass plate receiving surface 6 in contact with the lower surface of the upper side portion of the endless belt 3 by about 1 mm to 5 mm, the glass plate receiving device 7 lowers the glass plate receiving surface 6 to the original position after the raising.
- the cylinder device 35 may be an air cylinder, but may be a hydraulic cylinder, and in its operation, the movably received via the piston rod
- the member 28 is adapted to raise and lower.
- the flat glass plate receiving surface 6 having a circular outer contour 31 and extending parallel to the lower surface of the glass plate 2 supports the upper surface 51 of the support mechanism 15 and the support member 4 when not lifted by the lifting means 27 It is parallel to the upper surface 52 as a surface, and is arranged at the same height as the upper surface 51 and the upper surface 52 or as high as about 1 mm to 5 mm.
- the moving device 8 includes an X-direction moving mechanism 55 and a Y-direction moving mechanism 56.
- the X-direction moving mechanism 55 includes an X-direction linear moving table 57 to which the base 30 of the glass plate receiving device 7 is attached, an electric motor 59 attached to the lateral member 58, and bearings 60 and 61 on the lateral member 58.
- the Y-direction moving mechanism 56 is configured in substantially the same manner as the X-direction moving mechanism 55, and includes a horizontal member 58 as a linear moving table in the Y direction, and a support member 70 and a bracket 21 on the intermediate base 22.
- a nut (not shown) screwed on the screw shaft 75 and fixedly attached to the lower surface of the cross member 58, a pair of rails 79 formed on the cross member 71, and a pair of rails 79 are slidable.
- And androgynous a slider 80 which is fixed attached to the lower surface of the horizontal member 58.
- the pushing device 9 is attached to an air cylinder device 85 and a piston rod 86 of the air cylinder device 85 and has a flat pushing surface 87 on its lower surface, an air cylinder device 89, and an air cylinder device 89. And a cutter block 93 having a cutter wheel 92 at its tip, an electric motor 94, and a pulley or gear 95 mounted on the output rotary shaft of the electric motor 94.
- the push rod 88 is moved vertically, that is, in the Z direction, and when the piston rod 90 is expanded and contracted by the operation of the air cylinder device 89.
- the cutter wheel 92 is moved in the Z direction, and when the gear 99 is rotated via the chain 100 by the rotation of the gear 95 by the operation of the electric motor 94, the engagement member 102 and the engagement member 102 are engaged with the slit 101.
- the engaging piece 103 is also rotated in the R direction about the axial center 105, and the cutter wheel 92 is similarly rotated in the R direction about the axial center 105 by this rotation, and the cutting edge is directed in the cutting line forming direction.
- the moving device 10 includes an X-direction moving mechanism 110 and a Y-direction moving mechanism 111.
- the X-direction moving mechanism 110 includes an X-direction linear moving table 112 to which a base 104 of the pushing device 9 is attached, an electric motor 114 attached to the lateral member 113, and bearings 115 and 116 on the lateral member 113.
- a screw shaft 117 rotatably supported, and a pulley 118 fixed to an output rotation shaft of the electric motor 114 and one end of the screw shaft 117 so as to transmit rotation of the output rotation shaft of the electric motor 114 to the screw shaft 117 119 and a belt 120 stretched between the pulleys 118 and 119, a nut (not shown) attached to and fixed to the lower surface of the linear moving table 112 by screwing on a screw shaft 117, and a cross member 113.
- a pair of rails 121 formed, and a slider 1 slidably fitted on the pair of rails 121 and attached to and fixed to the lower surface of the linear moving table 112 It is androgynous and 2.
- the linear movement table 112 is guided by the pair of rails 121 and is linear in the X direction. It is supposed to be moved.
- the Y-direction moving mechanism 111 is configured in substantially the same manner as the X-direction moving mechanism 110, and fixed to the horizontal member 113 as a linear moving table in the Y direction and the upper frame 132 of the frame 16 via a bracket 133 or the like.
- the cross member 113 is suspended and supported movably in the Y direction via the slider.
- the carrying in / out means 11 lifts the glass plate 2 placed on the belt 3 and completed the cleavage, and supporting the glass plate 2 placed on the belt 3 during the cleavage via the belt 3 And the lifting mechanism 152 for placing the glass plate to be split on the belt 3 and the pair of lifting devices 151 and 152 in the Y direction. And a reciprocating mechanism 153.
- the lifting mechanism 151 includes an air cylinder device 156 attached to the movable base 155 and a vacuum suction device 158 attached to the tip of the piston rod 157 of the air cylinder device 156.
- the vacuum suction device 158 lifts the glass plate 2 placed on the belt 3 and the glass plate 2 placed on the belt 3 through the belt 3 In cooperation with the support mechanism 15, it clamps it and fixes it on the belt 3.
- the lifting mechanism 152 is formed in the same manner as the lifting mechanism 151, and includes an air cylinder device 161 attached to the movable base 155 common to the lifting mechanism 151 and a vacuum attached to the tip of the piston lot 162 of the air cylinder device 161.
- the vacuum suction device 163 places the suctioned glass plate 2 on the belt 3 when the piston rod 162 is lowered in the Z direction by the operation of the air cylinder device 161. Do.
- the reciprocating mechanism 153 includes a movable base 155, an electric motor 166 attached to the upper frame 165 of the frame 16, a screw shaft 168 rotatably supported on the upper frame 132 of the frame 16 via a bearing 167, and an electric motor
- the output rotary shaft of the electric motor 166 and pulleys 169 and 170 fixed to one end of the screw shaft 168 and the pulleys 169 and 170 are stretched so as to transmit the rotation of the output rotary shaft of the motor 166 to the screw shaft 168
- the belt 171 and a nut 172 screwed on the screw shaft 168 and attached and fixed to the upper surface of the movable table 155, a pair of rails 173 formed on the upper frame 132, and a pair of rails 173 are slidable.
- a slider 174 attached and fixed to the upper surface of the movable base 155.
- the movable base 155 supported by the upper frame 132 so as to be movable in the Y direction via the slider 174 is screwed via the pulleys 169 and 170 and the belt 171 by the rotation of its output rotary shaft by the operation of the electric motor 166.
- the shaft 168 When the shaft 168 is rotated, it is guided by the pair of rails 173 so as to be linearly reciprocated in the Y direction.
- the loading and unloading means 11 linearly reciprocates the lifting devices 151 and 152 in the Y direction by the operation of the reciprocating mechanism 153, and in this rectilinear reciprocation, the lifting device 152 is placed on the entrance side transport device 181
- the unbroken glass sheet 2 is lifted and carried into the area 5 surrounded by the support member 4 and placed on the upper surface of the upper side portion of the endless belt 3.
- the broken glass plate 2 placed on the upper surface of the upper part of the above is carried out of the area 5 surrounded by the support member 4 and placed on the delivery device 182 on the delivery side.
- the tension applying means 12 includes a pair of air cylinder devices 185 and 186 supported by the bracket 21.
- the piston rod of the air cylinder device 185 rotatably supports the free rotating drum 19, and the air cylinder
- the piston rod of the device 186 rotatably supports the free rotating drum 20.
- the tension applying means 12 applies tension to the endless belt 3 through the free rotating drums 19 and 20 by the air elastic force of the air cylinder devices 185 and 186, whereby the endless belt 3 is tensioned. There is. If the endless belt 3 can be tensioned as desired by adjusting the positions of the drive drum 17, the driven drum 18, and the free rotating drums 19 and 20, the tension applying means 12 may not be provided.
- the traveling device 13 includes an electric motor 191 attached to the base 23, the drive drum 17 and the driven drum 18, the free rotary drums 19 and 20, and rotation of the output rotary shaft of the electric motor 191. It has a pulley 192 and 193 attached to the output rotary shaft of the electric motor 191 and the rotary shaft of the drive drum 17 so as to transmit to the rotary shaft, and a belt 194 wound around the pulleys 192 and 193.
- the drum 17 and the driven drum 18 are rotatably mounted on frames 195 and 196 supported by the intermediate base 22, respectively.
- the traveling device 13 rotates the drive drum 17 via the pulley 192, the belt 194 and the pulley 193 when the electric motor 191 is operated and the output rotation shaft is rotated, and the rotation of the drive drum 17 causes the belt 3 to
- the belt 3 travels in the A direction, whereby the belt 3 transports and discharges the cullet folded on the belt 3 in the A direction.
- the support mechanism 15 includes a rectangular receiving plate 201 and a support 202 for supporting the receiving plate 201, and the support 202 is supported by the bracket 21 via the cross member 203.
- the support mechanism 15 supports the glass plate 2 mounted on the endless belt 3 from below via the endless belt 3 on the upper surface 51 of the receiving plate 201 and cooperates with the vacuum suction device 158 to operate the glass plate 2. And clamp it on the belt 3.
- the entrance side conveyance device 181 includes an endless belt 211 on which the glass plate 2 to be broken is placed, and a traveling device (not shown) for causing the endless belt 211 to travel.
- the plate 2 is accurately carried in to a predetermined position by the travel of the endless belt 211 based on the operation of the travel device.
- the delivery side transport device 182 includes an endless belt 212 on which the broken glass plate 2 is placed and a traveling device (not shown) for causing the endless belt 212 to travel, and the broken glass
- the plate 2 is conveyed to the next processing step, for example, grinding and polishing of the split edge, by traveling the endless belt 212 based on the operation of the traveling device.
- the glass plate cracking machine 1 additionally has a control device comprising a microcomputer and the like, and the control device is a numerical control command in which the operation of the electric motor, the air cylinder device, the vacuum suction device and the like is preprogrammed. Control through. Since such a control device itself is known, the detailed description thereof is omitted.
- the glass sheet breaking machine 1 performs a folding operation on the glass sheet 2 as follows.
- the glass plate 2 to which a planned breaking line (main cutting line) 221 is attached in advance as a cutting line is arranged by the endless belt 211 at an accurate position.
- a planned breaking line 221 may be formed by the glass plate breaking machine 1 of this embodiment.
- the vacuum suction devices 158 and 163 are operated by the operation of the air cylinder devices 156 and 161, respectively, and the broken glass on the endless belt 3 is operated by the vacuum suction device 158.
- the vacuum suction device 163 sucks the glass plate 2 to be broken next on the endless belt 211 by the vacuum suction device 163, and then the air cylinder devices 156 and 161 are operated to cause the vacuum suction device 158 to move the endless belt 3 above.
- the broken glass plate 2 is lifted by the vacuum suction device 163 to lift the glass plate 2 to be broken on the endless belt 211.
- the electric motor 166 of the reciprocating mechanism 153 is operated to move the movable table 155 forward, and the already broken glass plate 2 lifted by the vacuum suction device 158 is outside the area 5 surrounded by the support member 4.
- the glass sheet 2 to be broken up from now is taken out from the endless belt 212 and carried into the area 5 surrounded by the support member 4 on the endless belt 3.
- the electric motor 191 is operated in a state where the glass plate 2 is lifted, whereby the endless belt 3 travels in the A direction and remains on the upper side portion of the endless belt 3
- the broken cullet is conveyed in the direction A as the endless belt 3 travels and discharged.
- the operation of the electric motor 191 is stopped, and the traveling of the endless belt 3 in the A direction is stopped.
- the air cylinder devices 156 and 161 are reactivated, the vacuum suction devices 158 and 163 are lowered, and after the vacuum suction devices 158 and 163 are lowered to predetermined positions, suction of the vacuum suction devices 158 and 163 is performed. The operation is stopped, and the glass plate 2 to be broken up on the endless belt 212 by the vacuum suction device 158 is placed on the endless belt 3 by the vacuum suction device 163 and the glass plate 2 to be broken from this is placed.
- the air cylinder devices 156 and 161 are reversely operated to raise the vacuum suction devices 158 and 163, and further the electric motor 166 of the reciprocating mechanism 153 is reversely operated to move the movable base 155 back to move the vacuum suction disks.
- the device 163 is moved on the endless belt 211 and the vacuum suction device 158 is moved on the endless belt 3.
- the air cylinder devices 156 and 161 are reactivated to lower the vacuum suction devices 158 and 163 to the predetermined positions of the vacuum suction devices 158 and 163.
- the glass plate 2 placed on the upper side of the endless belt 3 is pressed against the endless belt 3 by the vacuum suction device 158 with the air elastic force based on the air cylinder device 156 and the air cylinder device 161 similarly.
- the glass plate 2 placed on the endless belt 211 by the vacuum suction device 163 is pressed against the endless belt 211 with an air elastic force based on that.
- the glass plate 2 placed on the upper side of the endless belt 3 is held between the vacuum suction device 158 and the receiving plate 201 with the endless belt 3 in the center, and the endless belt 3 is firmly fixed. It will be held and fixed on the upper side.
- the electric motors 59 and 59a and 72 and 72a are operated to move the glass plate receiving devices 7 and 7a in the X and Y directions so that the glass receiving surfaces 6 and 6a are disposed under the cutter wheels 92 and 92a.
- Operating the electric motors 114 and 114a and 135 and 135a to move the pressers 9 and 9a in the X and Y directions to move the cutter wheels 92 and 92a in the radial direction starting from the intended breaking line 221 Let At the same time as the cutter wheels 92 and 92a move from the intended fracture line 221, the air cylinder devices 89 and 89a are simultaneously operated to bring the cutter wheels 92 and 92a into contact with the glass plate 2, whereby the cutter wheels 92 and 92a An end cutting line (auxiliary cutting line) 222 is formed on the glass plate 2 as a cutting line.
- the electric motors 94 and 94a are operated to direct the cutting edges of the cutter wheels 92 and 92a in the forming direction of the cutting line. Also, while forming the end cutting line, the push rods 88 and 88 a are lifted without abutting on the glass plate 2.
- the pushing devices 9 and 9a and the glass plate receiving devices 7 and 7a are moved to the next end cutting line forming position, and the cutter wheels 92 and 92a are cut in the area 5 Perform line formation respectively.
- the glass plates 6 and 6a receive the pressing force of the cutter wheels 92 and 92a via the glass plate 2 and the belt 3 in response to the movement of the cutter wheels 92 and 92a.
- the receivers 7 and 7a are moved.
- the air cylinder devices 89 and 89a are then operated to raise the cutter wheels 92 and 92a to release the contact between the cutter wheels 92 and 92a and the glass plate 2.
- FIG. 8 it is a position out of the area
- Electric motors 59 and 59a and 72 and 72a are operated to position the glass plate receiving surfaces 6 and 6a at positions circumscribing the intended breaking line 221 of the plate 2 to move the glass plate receiving devices 7 and 7a in the X and Y directions. And move the pushers 9 and 9a in the X and Y directions by operating the electric motors 114 and 114a and 135 and 135a to move the pushing surfaces 87 and 87a of the push rods 88 and 88a to the glass plate receiving surfaces, respectively. Place above 6 and 6a respectively.
- the cylinder devices 35 and 35a are operated to move the movable receiving members 28 and 28a.
- the glass plate receiving surfaces 6 and 6a are raised by about 1 mm to 5 mm via them to correspond to the glass plate receiving surfaces 6 and 6a, and the glass plate by the intended fracture line 221 of the glass plate 2 and the pressing surfaces 87 and 87a respectively
- the air cylinder devices 85 and 85a are moved in a state in which the glass plate 2 between the surface to be pressed against the surface 2 and the surface to be pressed is bent upward starting from the intended breaking line 221 to cause such bending.
- the push rods 88 and 88a are lowered to abut the glass plate 2 outside the area B surrounded by the planned breaking line 221 to push the glass plate 2 along the planned breaking line 221.
- the glass plate 2 outside the region B and pressing the glass plate 2 between the end cutting lines 222 from the glass plate 2 in the region B and lowering the glass plate receiving surfaces 6 and 6a after the pressing and the pressing rods 88 and 88a Along with the return of the glass plate receiving surfaces 6 and 6a and the pushing surfaces 87 and 87a to the original position due to the rising, the glass plate 2 outside the area B is discharged as a split cullet by traveling of the endless belt 3 in the A direction. The operation is performed on each pressing scheduled surface between the cut lines 222.
- the endless belt 3 on which the glass plate 2 on which the intended fracture line 221 and the end cutting line 222 are formed is placed, and the upper surface supporting the glass plate 2 at the central portion of the lower surface of the glass plate 2 via the endless belt 3 51 has a support mechanism 15 having a guide 51, and glass plate receiving surfaces 6 and 6a for receiving the glass plate 2 from the lower surface of the glass plate 2 via the endless belt 3 and disposed below the endless belt 3
- the glass plate 2 on which the glass plate receiving devices 7 and 7a, the moving devices 8 and 8a for moving the glass plate receiving devices 7 and 7a, and the breaking lines 221 and the end cutting lines 222 are formed is the breaking lines 221 And pushers 87 and 87b that push and break along the end score line 22 and pushers 9 and 9a disposed above the endless belt 3, and moving units 10 and 1 for moving the pushers 9 and 9a.
- the moving devices 8 and 8a each have an area B outside the region B surrounded by the planned breaking line 221 of the glass plate 2 in plan view when the pressing surfaces 87 and 87a respectively press and divide the glass plate 2.
- the glass plate receiving devices 7 and 7a are respectively moved so that the glass plate receiving surfaces 6 and 6a are respectively disposed at the positions of When the pressing surfaces 87 and 87a are pressed and split, the pressing surfaces 87 and 87a are positioned outside the area B surrounded by the planned breaking line 221 of the glass plate 2 in plan view corresponding to the glass plate receiving surfaces 6 and 6a.
- the push device To move the push device so that each of them is disposed, and the push splits along the lines to be split 221 and the cut lines 222 of the glass sheet 2 by the push faces 87 and 87a.
- the glass plate 2 Of the glass plate 2 outside the area B surrounded by the planned breaking line 221 of the glass plate 2 bent by the glass plate receiving surfaces 6 and 6a disposed above the upper surface 51 of the support mechanism 15 In the machine 1 for breaking the glass sheet 2 which is to be carried out, the glass sheet receiving surfaces 6 and 6a are out of the area B in plan view when the pressing surfaces 87 and 87a are respectively pushed and split on the glass sheet 2.
- the split cullet outside the region B and the glass plate 2 in the region B are broken. It is possible to avoid a collision with the fractured surface and to eliminate the occurrence of chipping or the like on the fractured surface of the glass sheet 2 as a product after being crushed.
- the planned breaking lines 211 may be formed by the pressing devices 9 and 9a of the glass sheet breaking machine 1, and in the glass plate breaking machine 1, the pressing lines It is also possible to perform only the process of forming the end cutting line in the previous step, and in this case, the cutter holes 92 and 92a and the like can be omitted.
- a pair of glass plate receiving devices 7 and 7a, a pair of moving devices 8 and 8a, a pair of pushing devices 9 and 9a and a pair of moving devices 10 and 10a are provided.
- the cutting line formation and the pressing and dividing are performed in a shared manner, instead of this, only one piece or three or more pieces may be provided to constitute a glass plate breaking machine. .
- the outer contour 31 is a position circumscribing the planned breaking line 221 of the glass plate 2 in plan view, and the glass plate receiving surfaces 6 and 6 a in plan view as well. Operates the electric motors 59 and 59a and 72 and 72a so as to move the glass plate receiving devices 7 and 7a in the X and Y directions so that the electric motors 114 and 114a and 135 and 135a move. Is operated to move the pressers 9 and 9a in the X and Y directions so that the push surfaces 87 and 7a of the push rods 88 and 88a are respectively located above the glass plate receiving surfaces 6 and 6a. Instead of this, as shown in FIG.
- the outer contour 31 is a position slightly outside the intended fracture line 221 of the glass plate 2 in plan view, and the glass plate receiving surface 6 in plan view as well. 6a are located outside the region B, and as shown in FIG. 10, at a position where the outer contour line 31 intersects with the planned breakage line 221 of the glass plate 2 in plan view, the glass plate receiving surface 6
- the electric motors 59 and 59a and 72 and 72a are operated to move the glass plate receiving devices 7 and 7a in the X and Y directions so that most of the parts 6a and 6a are located outside the region B, and also the electric motors 114 and 114a.
- And 135 and 135a are operated to move the pressers 9 and 9a in the X and Y directions so that the push surfaces 87 and 7a of the push rods 88 and 88a are respectively located above the glass plate receiving surfaces 6 and 6a, respectively.
- the fold may be performed.
- the glass plate receiving surfaces 6 and 6a are lifted and lowered by the lifting and lowering means 27 and 27a, respectively, the glass plate receiving surfaces 6 and 6a are always upper surfaces without providing the lifting and lowering means 27 and 27a. It may be disposed about 1 mm to 5 mm above 51.
Landscapes
- Engineering & Computer Science (AREA)
- Chemical & Material Sciences (AREA)
- Mechanical Engineering (AREA)
- Materials Engineering (AREA)
- Organic Chemistry (AREA)
- Life Sciences & Earth Sciences (AREA)
- Forests & Forestry (AREA)
- Mining & Mineral Resources (AREA)
- Re-Forming, After-Treatment, Cutting And Transporting Of Glass Products (AREA)
- Perforating, Stamping-Out Or Severing By Means Other Than Cutting (AREA)
- Processing Of Stones Or Stones Resemblance Materials (AREA)
Applications Claiming Priority (2)
| Application Number | Priority Date | Filing Date | Title |
|---|---|---|---|
| JP2017-149541 | 2017-08-01 | ||
| JP2017149541 | 2017-08-01 |
Publications (1)
| Publication Number | Publication Date |
|---|---|
| WO2019026586A1 true WO2019026586A1 (ja) | 2019-02-07 |
Family
ID=65232690
Family Applications (2)
| Application Number | Title | Priority Date | Filing Date |
|---|---|---|---|
| PCT/JP2018/026347 Ceased WO2019026586A1 (ja) | 2017-08-01 | 2018-07-12 | ガラス板の折割機械 |
| PCT/JP2018/028761 Ceased WO2019026931A1 (ja) | 2017-08-01 | 2018-07-31 | ガラス板の折割機械 |
Family Applications After (1)
| Application Number | Title | Priority Date | Filing Date |
|---|---|---|---|
| PCT/JP2018/028761 Ceased WO2019026931A1 (ja) | 2017-08-01 | 2018-07-31 | ガラス板の折割機械 |
Country Status (11)
| Country | Link |
|---|---|
| US (1) | US11891325B2 (enExample) |
| EP (1) | EP3498679B1 (enExample) |
| JP (2) | JP6544493B2 (enExample) |
| KR (1) | KR102031720B1 (enExample) |
| CN (1) | CN109790058A (enExample) |
| BR (1) | BR112019005150A2 (enExample) |
| ES (1) | ES3046552T3 (enExample) |
| MX (1) | MX2019003306A (enExample) |
| RU (1) | RU2720028C1 (enExample) |
| TW (4) | TWI680950B (enExample) |
| WO (2) | WO2019026586A1 (enExample) |
Families Citing this family (4)
| Publication number | Priority date | Publication date | Assignee | Title |
|---|---|---|---|---|
| JP2020066539A (ja) * | 2018-10-22 | 2020-04-30 | 坂東機工株式会社 | ガラス板の折割機械 |
| JP7520290B2 (ja) * | 2020-09-09 | 2024-07-23 | 日本電気硝子株式会社 | ガラス板の製造方法及び製造装置 |
| JP2024129340A (ja) * | 2023-03-13 | 2024-09-27 | 坂東機工株式会社 | 折割装置 |
| CN118637359A (zh) * | 2024-06-21 | 2024-09-13 | 江苏上玻玻璃有限公司 | 一种玻璃上料用双向定位台 |
Citations (3)
| Publication number | Priority date | Publication date | Assignee | Title |
|---|---|---|---|---|
| WO2000012439A1 (fr) * | 1998-08-28 | 2000-03-09 | Bando Kiko Co., Ltd. | Machine d'enclenchement de plaque de verre |
| JP2006117518A (ja) * | 2004-10-15 | 2006-05-11 | Bystronic Maschinen Ag | ガラス板の切断用装置及び方法 |
| JP2013043348A (ja) * | 2011-08-24 | 2013-03-04 | Nippon Electric Glass Co Ltd | 脆性板材の割断方法と割断装置 |
Family Cites Families (30)
| Publication number | Priority date | Publication date | Assignee | Title |
|---|---|---|---|---|
| US2078386A (en) * | 1935-11-29 | 1937-04-27 | Michael B Kendis | Glass cutting mechanism |
| FR1290194A (fr) * | 1961-02-23 | 1962-04-13 | Saint Gobain | Machine pour tracer et rompre des panneaux en verre |
| SU528268A1 (ru) | 1974-07-17 | 1976-09-15 | Одесский Проектно-Конструкторский И Экспериментальный Филиал Всесоюзного Научно-Исследовательского И Проектно-Конструкторского Института Стекольного Машиностроения | Устройство дл отделени бортов от непрерывной ленты стекла и их дроблени |
| SU1350120A1 (ru) | 1986-03-26 | 1987-11-07 | Белорусский Научно-Исследовательский И Проектно-Технологический Институт Организации И Управления Строительством Госстроя Бсср | Устройство дл разделени листов стекла |
| JP2890137B2 (ja) * | 1990-07-05 | 1999-05-10 | 坂東機工株式会社 | ガラス板の折割装置 |
| EP0556407B1 (en) | 1991-09-07 | 1998-10-21 | Bando Kiko Co. Ltd. | Machine for bend-cutting glass plate |
| JPH07237929A (ja) | 1994-02-28 | 1995-09-12 | Central Glass Co Ltd | 薄板ガラスの折割方法およびその装置 |
| JP3042349B2 (ja) | 1995-02-07 | 2000-05-15 | 坂東機工株式会社 | ガラス板の加工装置 |
| JPH1095626A (ja) * | 1996-09-18 | 1998-04-14 | Tokai Rika Co Ltd | 曲面ガラス切断機 |
| JP4433555B2 (ja) * | 2000-03-23 | 2010-03-17 | 坂東機工株式会社 | ガラス板の加工方法及びその装置 |
| US6962279B1 (en) * | 2000-10-18 | 2005-11-08 | Ge Medical Systems Global Technology Company, Llc | Apparatus and method for glass separation for flat panel displays |
| CN1486285B (zh) * | 2001-01-17 | 2013-01-16 | 三星宝石工业株式会社 | 划线分断设备及其系统 |
| US20070095108A1 (en) * | 2005-10-31 | 2007-05-03 | Kirby Thomas E | Methods and apparatus for reducing stress variations in glass sheets produced from a glass ribbon |
| DE102006012582B4 (de) * | 2006-03-16 | 2010-01-21 | Schott Ag | Vorrichtung und Verfahren zum Abtrennen von Abschnitten von Glasstangen |
| KR100959104B1 (ko) * | 2008-07-16 | 2010-05-25 | 삼성모바일디스플레이주식회사 | 평판 디스플레이 패널 절단 장치 |
| JP5434014B2 (ja) * | 2008-08-22 | 2014-03-05 | 坂東機工株式会社 | ガラス板の加工方法及びガラス板加工装置 |
| US8269138B2 (en) * | 2009-05-21 | 2012-09-18 | Corning Incorporated | Method for separating a sheet of brittle material |
| US8245539B2 (en) * | 2010-05-13 | 2012-08-21 | Corning Incorporated | Methods of producing glass sheets |
| US8584918B2 (en) * | 2012-01-12 | 2013-11-19 | Ritek Corporation | Fracturing apparatus |
| US9251951B2 (en) * | 2012-02-01 | 2016-02-02 | Nissan Motor Co., Ltd. | Method of manufacturing magnet segment of field pole magnet body |
| EP2679551A1 (en) * | 2012-06-28 | 2014-01-01 | Corning Incorporated | Process and system for fine tuning precision glass sheet bending |
| US9908255B2 (en) * | 2012-07-02 | 2018-03-06 | Nissan Motor Co., Ltd. | Apparatus and method for manufacturing magnet segments constituting field pole magnetic body |
| CN105339316B (zh) * | 2013-02-25 | 2018-11-09 | 康宁股份有限公司 | 制造薄玻璃块的方法 |
| JP5800011B2 (ja) | 2013-12-09 | 2015-10-28 | 坂東機工株式会社 | ガラス板の折割機械 |
| CN105848841B (zh) * | 2013-12-27 | 2017-07-28 | 旭硝子株式会社 | 脆性板的加工方法及脆性板的加工装置 |
| WO2016079951A1 (ja) | 2014-11-19 | 2016-05-26 | 坂東機工株式会社 | ガラス板の折割方法及びその折割装置 |
| JP2016104683A (ja) * | 2014-11-19 | 2016-06-09 | 坂東機工株式会社 | ガラス板の折割方法及びその折割装置 |
| CN107207317B (zh) * | 2015-06-10 | 2020-04-03 | 坂东机工株式会社 | 玻璃板的切断及切断后的玻璃板的定位方法以及其装置 |
| JP6601388B2 (ja) | 2016-12-28 | 2019-11-06 | 坂東機工株式会社 | ガラス板の折割方法 |
| TWI680951B (zh) * | 2017-10-25 | 2020-01-01 | 日商坂東機工股份有限公司 | 玻璃板之折斷機械 |
-
2018
- 2018-07-12 WO PCT/JP2018/026347 patent/WO2019026586A1/ja not_active Ceased
- 2018-07-25 TW TW107125692A patent/TWI680950B/zh not_active IP Right Cessation
- 2018-07-25 TW TW108131676A patent/TW201942079A/zh unknown
- 2018-07-31 RU RU2019108383A patent/RU2720028C1/ru active
- 2018-07-31 WO PCT/JP2018/028761 patent/WO2019026931A1/ja not_active Ceased
- 2018-07-31 KR KR1020197007495A patent/KR102031720B1/ko active Active
- 2018-07-31 US US16/333,321 patent/US11891325B2/en active Active
- 2018-07-31 BR BR112019005150A patent/BR112019005150A2/pt active Search and Examination
- 2018-07-31 CN CN201880003563.2A patent/CN109790058A/zh active Pending
- 2018-07-31 ES ES18840393T patent/ES3046552T3/es active Active
- 2018-07-31 JP JP2018562266A patent/JP6544493B2/ja active Active
- 2018-07-31 MX MX2019003306A patent/MX2019003306A/es unknown
- 2018-07-31 EP EP18840393.5A patent/EP3498679B1/en active Active
- 2018-08-31 TW TW107130552A patent/TWI679178B/zh not_active IP Right Cessation
- 2018-08-31 TW TW108131708A patent/TW202007667A/zh unknown
-
2019
- 2019-06-03 JP JP2019103737A patent/JP7352933B2/ja active Active
Patent Citations (3)
| Publication number | Priority date | Publication date | Assignee | Title |
|---|---|---|---|---|
| WO2000012439A1 (fr) * | 1998-08-28 | 2000-03-09 | Bando Kiko Co., Ltd. | Machine d'enclenchement de plaque de verre |
| JP2006117518A (ja) * | 2004-10-15 | 2006-05-11 | Bystronic Maschinen Ag | ガラス板の切断用装置及び方法 |
| JP2013043348A (ja) * | 2011-08-24 | 2013-03-04 | Nippon Electric Glass Co Ltd | 脆性板材の割断方法と割断装置 |
Also Published As
| Publication number | Publication date |
|---|---|
| JP6544493B2 (ja) | 2019-07-17 |
| TW202007667A (zh) | 2020-02-16 |
| EP3498679A1 (en) | 2019-06-19 |
| CN109790058A (zh) | 2019-05-21 |
| JPWO2019026931A1 (ja) | 2019-11-07 |
| TWI679178B (zh) | 2019-12-11 |
| TWI680950B (zh) | 2020-01-01 |
| ES3046552T3 (en) | 2025-12-02 |
| JP2019194151A (ja) | 2019-11-07 |
| EP3498679A4 (en) | 2020-03-25 |
| BR112019005150A2 (pt) | 2019-06-04 |
| KR102031720B1 (ko) | 2019-10-14 |
| RU2720028C1 (ru) | 2020-04-23 |
| EP3498679C0 (en) | 2025-10-08 |
| WO2019026931A1 (ja) | 2019-02-07 |
| US20190248694A1 (en) | 2019-08-15 |
| JP7352933B2 (ja) | 2023-09-29 |
| EP3498679B1 (en) | 2025-10-08 |
| KR20190042615A (ko) | 2019-04-24 |
| TW201910281A (zh) | 2019-03-16 |
| TW202007666A (zh) | 2020-02-16 |
| US11891325B2 (en) | 2024-02-06 |
| MX2019003306A (es) | 2019-07-08 |
| TW201942079A (zh) | 2019-11-01 |
Similar Documents
| Publication | Publication Date | Title |
|---|---|---|
| JP4449084B2 (ja) | ガラス板の折割機械 | |
| JP6544493B2 (ja) | ガラス板の折割機械 | |
| JPWO2000012439A1 (ja) | ガラス板の折割機械 | |
| JP6544502B1 (ja) | ガラス板の折割機械 | |
| JP5800011B2 (ja) | ガラス板の折割機械 | |
| JP6944636B2 (ja) | ガラス板の折割機械 | |
| JP6958787B2 (ja) | ガラス板の折割機械 | |
| WO2020084840A1 (ja) | ガラス板の折割機械 | |
| JP4998535B2 (ja) | ガラス板の折割機械 | |
| JP5609794B2 (ja) | ガラス板の折割機械 | |
| JP2015129090A (ja) | ガラス板の折割機械 | |
| JPH10265234A (ja) | ガラス板の加工装置 |
Legal Events
| Date | Code | Title | Description |
|---|---|---|---|
| 121 | Ep: the epo has been informed by wipo that ep was designated in this application |
Ref document number: 18842160 Country of ref document: EP Kind code of ref document: A1 |
|
| NENP | Non-entry into the national phase |
Ref country code: DE |
|
| 122 | Ep: pct application non-entry in european phase |
Ref document number: 18842160 Country of ref document: EP Kind code of ref document: A1 |