WO2018225545A1 - 冷凍サイクル装置 - Google Patents

冷凍サイクル装置 Download PDF

Info

Publication number
WO2018225545A1
WO2018225545A1 PCT/JP2018/020232 JP2018020232W WO2018225545A1 WO 2018225545 A1 WO2018225545 A1 WO 2018225545A1 JP 2018020232 W JP2018020232 W JP 2018020232W WO 2018225545 A1 WO2018225545 A1 WO 2018225545A1
Authority
WO
WIPO (PCT)
Prior art keywords
vehicle
refrigerant
state
circulation circuit
determination unit
Prior art date
Legal status (The legal status is an assumption and is not a legal conclusion. Google has not performed a legal analysis and makes no representation as to the accuracy of the status listed.)
Ceased
Application number
PCT/JP2018/020232
Other languages
English (en)
French (fr)
Japanese (ja)
Inventor
麿 緑川
家田 恒
Current Assignee (The listed assignees may be inaccurate. Google has not performed a legal analysis and makes no representation or warranty as to the accuracy of the list.)
Denso Corp
Original Assignee
Denso Corp
Priority date (The priority date is an assumption and is not a legal conclusion. Google has not performed a legal analysis and makes no representation as to the accuracy of the date listed.)
Filing date
Publication date
Application filed by Denso Corp filed Critical Denso Corp
Priority to CN201880037472.0A priority Critical patent/CN110709265A/zh
Publication of WO2018225545A1 publication Critical patent/WO2018225545A1/ja
Priority to US16/692,690 priority patent/US20200086719A1/en
Anticipated expiration legal-status Critical
Ceased legal-status Critical Current

Links

Images

Classifications

    • BPERFORMING OPERATIONS; TRANSPORTING
    • B60VEHICLES IN GENERAL
    • B60HARRANGEMENTS OF HEATING, COOLING, VENTILATING OR OTHER AIR-TREATING DEVICES SPECIALLY ADAPTED FOR PASSENGER OR GOODS SPACES OF VEHICLES
    • B60H1/00Heating, cooling or ventilating [HVAC] devices
    • B60H1/32Cooling devices
    • B60H1/3204Cooling devices using compression
    • B60H1/3205Control means therefor
    • B60H1/3208Vehicle drive related control of the compressor drive means, e.g. for fuel saving purposes
    • BPERFORMING OPERATIONS; TRANSPORTING
    • B60VEHICLES IN GENERAL
    • B60HARRANGEMENTS OF HEATING, COOLING, VENTILATING OR OTHER AIR-TREATING DEVICES SPECIALLY ADAPTED FOR PASSENGER OR GOODS SPACES OF VEHICLES
    • B60H1/00Heating, cooling or ventilating [HVAC] devices
    • B60H1/00642Control systems or circuits; Control members or indication devices for heating, cooling or ventilating devices
    • B60H1/00735Control systems or circuits characterised by their input, i.e. by the detection, measurement or calculation of particular conditions, e.g. signal treatment, dynamic models
    • B60H1/00764Control systems or circuits characterised by their input, i.e. by the detection, measurement or calculation of particular conditions, e.g. signal treatment, dynamic models the input being a vehicle driving condition, e.g. speed
    • B60H1/00771Control systems or circuits characterised by their input, i.e. by the detection, measurement or calculation of particular conditions, e.g. signal treatment, dynamic models the input being a vehicle driving condition, e.g. speed the input being a vehicle position or surrounding, e.g. GPS-based position or tunnel
    • BPERFORMING OPERATIONS; TRANSPORTING
    • B60VEHICLES IN GENERAL
    • B60HARRANGEMENTS OF HEATING, COOLING, VENTILATING OR OTHER AIR-TREATING DEVICES SPECIALLY ADAPTED FOR PASSENGER OR GOODS SPACES OF VEHICLES
    • B60H1/00Heating, cooling or ventilating [HVAC] devices
    • B60H1/00642Control systems or circuits; Control members or indication devices for heating, cooling or ventilating devices
    • B60H1/00735Control systems or circuits characterised by their input, i.e. by the detection, measurement or calculation of particular conditions, e.g. signal treatment, dynamic models
    • B60H1/00764Control systems or circuits characterised by their input, i.e. by the detection, measurement or calculation of particular conditions, e.g. signal treatment, dynamic models the input being a vehicle driving condition, e.g. speed
    • BPERFORMING OPERATIONS; TRANSPORTING
    • B60VEHICLES IN GENERAL
    • B60HARRANGEMENTS OF HEATING, COOLING, VENTILATING OR OTHER AIR-TREATING DEVICES SPECIALLY ADAPTED FOR PASSENGER OR GOODS SPACES OF VEHICLES
    • B60H1/00Heating, cooling or ventilating [HVAC] devices
    • B60H1/00642Control systems or circuits; Control members or indication devices for heating, cooling or ventilating devices
    • B60H1/00735Control systems or circuits characterised by their input, i.e. by the detection, measurement or calculation of particular conditions, e.g. signal treatment, dynamic models
    • B60H1/00764Control systems or circuits characterised by their input, i.e. by the detection, measurement or calculation of particular conditions, e.g. signal treatment, dynamic models the input being a vehicle driving condition, e.g. speed
    • B60H1/00778Control systems or circuits characterised by their input, i.e. by the detection, measurement or calculation of particular conditions, e.g. signal treatment, dynamic models the input being a vehicle driving condition, e.g. speed the input being a stationary vehicle position, e.g. parking or stopping
    • BPERFORMING OPERATIONS; TRANSPORTING
    • B60VEHICLES IN GENERAL
    • B60HARRANGEMENTS OF HEATING, COOLING, VENTILATING OR OTHER AIR-TREATING DEVICES SPECIALLY ADAPTED FOR PASSENGER OR GOODS SPACES OF VEHICLES
    • B60H1/00Heating, cooling or ventilating [HVAC] devices
    • B60H1/00642Control systems or circuits; Control members or indication devices for heating, cooling or ventilating devices
    • B60H1/00978Control systems or circuits characterised by failure of detection or safety means; Diagnostic methods
    • FMECHANICAL ENGINEERING; LIGHTING; HEATING; WEAPONS; BLASTING
    • F25REFRIGERATION OR COOLING; COMBINED HEATING AND REFRIGERATION SYSTEMS; HEAT PUMP SYSTEMS; MANUFACTURE OR STORAGE OF ICE; LIQUEFACTION SOLIDIFICATION OF GASES
    • F25BREFRIGERATION MACHINES, PLANTS OR SYSTEMS; COMBINED HEATING AND REFRIGERATION SYSTEMS; HEAT PUMP SYSTEMS
    • F25B49/00Arrangement or mounting of control or safety devices
    • F25B49/02Arrangement or mounting of control or safety devices for compression type machines, plants or systems
    • GPHYSICS
    • G01MEASURING; TESTING
    • G01CMEASURING DISTANCES, LEVELS OR BEARINGS; SURVEYING; NAVIGATION; GYROSCOPIC INSTRUMENTS; PHOTOGRAMMETRY OR VIDEOGRAMMETRY
    • G01C21/00Navigation; Navigational instruments not provided for in groups G01C1/00 - G01C19/00
    • G01C21/26Navigation; Navigational instruments not provided for in groups G01C1/00 - G01C19/00 specially adapted for navigation in a road network
    • GPHYSICS
    • G05CONTROLLING; REGULATING
    • G05DSYSTEMS FOR CONTROLLING OR REGULATING NON-ELECTRIC VARIABLES
    • G05D1/00Control of position, course, altitude or attitude of land, water, air or space vehicles, e.g. using automatic pilots
    • G05D1/0088Control of position, course, altitude or attitude of land, water, air or space vehicles, e.g. using automatic pilots characterized by the autonomous decision making process, e.g. artificial intelligence, predefined behaviours
    • BPERFORMING OPERATIONS; TRANSPORTING
    • B60VEHICLES IN GENERAL
    • B60HARRANGEMENTS OF HEATING, COOLING, VENTILATING OR OTHER AIR-TREATING DEVICES SPECIALLY ADAPTED FOR PASSENGER OR GOODS SPACES OF VEHICLES
    • B60H1/00Heating, cooling or ventilating [HVAC] devices
    • B60H1/32Cooling devices
    • B60H1/3204Cooling devices using compression
    • B60H1/3225Cooling devices using compression characterised by safety arrangements, e.g. compressor anti-seizure means or by signalling devices
    • BPERFORMING OPERATIONS; TRANSPORTING
    • B60VEHICLES IN GENERAL
    • B60HARRANGEMENTS OF HEATING, COOLING, VENTILATING OR OTHER AIR-TREATING DEVICES SPECIALLY ADAPTED FOR PASSENGER OR GOODS SPACES OF VEHICLES
    • B60H1/00Heating, cooling or ventilating [HVAC] devices
    • B60H1/32Cooling devices
    • B60H2001/3236Cooling devices information from a variable is obtained
    • B60H2001/3239Cooling devices information from a variable is obtained related to flow
    • B60H2001/3242Cooling devices information from a variable is obtained related to flow of a refrigerant

Definitions

  • This disclosure relates to a refrigeration cycle apparatus that is mounted on a vehicle and has a circulation circuit through which a refrigerant circulates.
  • Patent Document 1 a refrigeration cycle apparatus used for air conditioning in a house or the like.
  • This refrigeration cycle apparatus includes a circulation circuit through which a refrigerant flows, a temperature thermistor that detects the temperature of each part of the refrigerant in the circulation circuit, and an input that controls the refrigeration cycle based on each detected value detected by each temperature thermistor.
  • a calculation / determination unit and a display unit for displaying the output of the input / calculation / determination unit are provided.
  • the input / calculation / determination unit calculates and compares the measured value and the theoretical value related to the amount of the liquid phase part of the refrigerant in the outdoor heat exchanger, and automatically corrects when charging the refrigerant. The amount is judged and the refrigerant charging state is displayed on the display unit.
  • a refrigeration cycle apparatus used for air conditioning of houses, buildings, etc. employs a highly airtight hermetic compressor, and various pipes are joined by welding.
  • the configuration is such that substantially no refrigerant leakage occurs.
  • a semi-hermetic or open type compressor is adopted for the convenience of maintenance, or a circulation circuit is used to absorb vibration during movement of the moving body. It is necessary to adopt rubber piping for some parts.
  • this type of refrigeration cycle apparatus a small amount of refrigerant leaks from a part of the compressor and piping. Therefore, it is desired that the amount of refrigerant circulating in the pipe can be detected with high accuracy.
  • the state of the refrigeration cycle in the refrigeration cycle apparatus mounted on a moving body such as a vehicle is greatly affected by the running conditions of the vehicle.
  • the rotational speed of the compressor changes depending on the rotational speed of the engine. That is, the state of the refrigerant circulating in the circulation circuit greatly varies depending on the engine speed.
  • the traveling wind introduced into the radiator greatly varies depending on the vehicle speed. That is, the state of the refrigerant circulating in the circulation circuit varies greatly depending on the vehicle speed.
  • the detection scene for detecting the refrigerant amount is limited to a state where the refrigerant circulating in the circulation circuit is stable, and the refrigerant amount is detected when the detection mode button is operated by the occupant in this state. Can be considered. However, such a method imposes a triggering action on the occupant and makes the occupant feel annoying. Further, when the detection mode button is not operated by the occupant, the refrigerant amount cannot be detected.
  • This disclosure is intended to enable accurate detection of the amount of refrigerant circulating in a circulation circuit without requiring operation by a passenger in a refrigeration cycle apparatus mounted on a vehicle.
  • a refrigeration cycle device that is mounted on a vehicle and has a circulation circuit in which a refrigerant circulates acquires a physical quantity for specifying the refrigerant quantity of the refrigerant that circulates in the circulation circuit, and uses the physical quantity as the physical quantity.
  • a refrigerant amount calculation unit that calculates the refrigerant amount of the refrigerant that circulates in the circulation circuit, and an operation state that determines whether or not the vehicle is in an operation state in which the state of the refrigerant that circulates in the circulation circuit becomes stable and stable.
  • a refrigerant amount calculation unit that circulates the circulation circuit when the operation state determination unit determines that the vehicle is in an operation state in which the state of the refrigerant circulating through the circulation circuit is stable and stable. The refrigerant amount of the refrigerant to be calculated is calculated.
  • the refrigerant amount calculating unit determines that the vehicle is in an operating state in which the vehicle is in a stable state in which the state of the refrigerant circulating through the circulation circuit is stable, and the refrigerant circulating through the circulation circuit.
  • the amount of refrigerant is calculated. Therefore, in the refrigeration cycle apparatus mounted on the vehicle, it is possible to accurately detect the refrigerant amount of the refrigerant circulating in the circulation circuit without requiring an operation by an occupant.
  • FIG. 1 In the present embodiment, an example in which the refrigeration cycle apparatus 20 is mounted on an autonomous driving vehicle 1 that is a moving body will be described.
  • the automobile 1 of this embodiment is equipped with an engine 10 that functions as a driving source for traveling and a driving source for the refrigeration cycle apparatus 20.
  • the refrigeration cycle apparatus 20 is applied to a vehicle air conditioner that air-conditions the interior space of the automobile 1.
  • the refrigeration cycle apparatus 20 functions to cool the air blown into the vehicle interior space until it reaches a desired temperature.
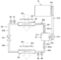
  • the refrigeration cycle apparatus 20 is configured as a vapor compression refrigeration cycle including a circulation circuit 200 in which a refrigerant circulates, a compressor 21, a radiator 22, a decompression device 23, and an evaporator 24.
  • the refrigeration cycle apparatus 20 employs R134a, which is an HFC refrigerant, as the refrigerant.
  • the refrigerant is mixed with oil that lubricates the compressor 21. Part of the oil circulates in the circulation circuit 200 together with the refrigerant.
  • the compressor 21 is a device that compresses and discharges the sucked refrigerant.
  • the compressor 21 includes a reciprocating compression mechanism. Note that the compressor 21 may include a rotary compression mechanism.
  • the compressor 21 of the present embodiment is configured to be driven by a rotational driving force output from the external engine 10.
  • the compressor 21 of this embodiment is configured as an open type compressor.
  • the compressor 21 of the present embodiment has a power transmission mechanism 213 such as a pulley and a belt such that a shaft 212 that protrudes outside through the housing 211 is rotated by a driving force from the engine 10.
  • a power transmission mechanism 213 such as a pulley and a belt
  • the compressor 21 of the present embodiment is provided with an electromagnetic clutch 214 that turns on / off transmission of the rotational driving force from the engine 10.
  • the compressor 21 of the present embodiment is configured to stop its operation when the electromagnetic clutch 214 is turned off.
  • a portion where the shaft 212 passes through the housing 211 is sealed by a seal member 215 such as a mechanical seal or a lip seal.
  • the seal member 215 is made of a polymer material containing a resin. The polymer material has gas permeability. For this reason, in the compressor 21, the refrigerant inside the housing 211 may gradually permeate outside through the seal member 215.
  • the heat radiator 22 exchanges heat of the high-temperature and high-pressure refrigerant discharged from the compressor 21 with the outside air introduced from the outdoor blower 221 or the outside air introduced by the ram pressure during travel of the automobile 1. It is a heat exchanger that dissipates heat.
  • the radiator 22 of the present embodiment is disposed in a front portion of the engine room where outside air is introduced by the ram pressure when the automobile 1 is traveling. The refrigerant flowing into the radiator 22 is condensed by heat exchange with the outside air. Note that the outside air passes through the radiator 22 as indicated by a broken line arrow AFo in FIG.
  • the decompression device 23 is an expansion valve that decompresses and expands the refrigerant that has passed through the radiator 22.
  • a temperature type expansion valve configured so that the temperature on the outlet side of the evaporator 24 can be adjusted to a predetermined temperature is employed.
  • the evaporator 24 is a heat exchanger that evaporates the low-temperature and low-pressure refrigerant decompressed by the decompression device 23 by heat exchange with the blown air supplied from the indoor blower 241 that blows air into the vehicle interior space. .
  • the blown air supplied from the indoor blower 241 passes through the evaporator 24 as indicated by a broken line arrow AFc in FIG.
  • the blown air supplied from the indoor blower 241 is cooled to a desired temperature by the latent heat of vaporization of the refrigerant, and then blown out into the vehicle interior.
  • the circulation circuit 200 is a closed circuit configured by sequentially connecting the compressor 21, the radiator 22, the decompression device 23, and the evaporator 24 through a plurality of pipes 201 to 204.
  • the circulation circuit 200 includes a first high-pressure pipe 201 that connects the refrigerant discharge side of the compressor 21 and the refrigerant inlet side of the radiator 22, the refrigerant outlet side of the radiator 22, and the refrigerant inlet side of the decompression device 23.
  • the second high-pressure pipe 202 is connected.
  • the circulation circuit 200 connects the first low-pressure pipe 203 connecting the refrigerant outlet side of the decompression device 23 and the refrigerant inlet side of the evaporator 24, and connects the refrigerant outlet side of the evaporator 24 and the refrigerant suction side of the compressor 21.
  • the second low-pressure pipe 204 is configured.
  • the high-pressure pipes 201 and 202 and the low-pressure pipes 203 and 204 are basically composed of metal pipes.
  • the first high-pressure pipe 201 is a first polymer pipe partially containing a polymer material (for example, rubber or resin) having excellent flexibility in order to absorb vibration of the engine 10 or the compressor 21.
  • 201a is a first polymer pipe partially containing a polymer material (for example, rubber or resin) having excellent flexibility in order to absorb vibration of the engine 10 or the compressor 21.
  • the second low-pressure pipe 204 is a second polymer partly containing a polymer material (for example, rubber or resin) having excellent flexibility in order to absorb vibrations of the engine 10 and the compressor 21. It is comprised by the piping 204a.
  • each polymer pipe 201a, 204a has higher gas permeability than a part constituted by a metal pipe, the refrigerant flowing inside may gradually permeate to the outside.
  • the high-pressure refrigerant compressed by the compressor 21 flows through the first polymer pipe 201a, the refrigerant tends to easily leak to the outside.
  • the refrigeration cycle apparatus 20 of the present embodiment includes a refrigerant leakage detection device 30 that detects refrigerant leakage.
  • a storage unit 31 such as a processor, ROM, RAM, flash memory, and its peripheral circuits.
  • a storage unit 31 such as a processor, ROM, RAM, flash memory, and its peripheral circuits.
  • Each element of the storage unit 31 is a non-transitional physical storage medium.
  • the refrigerant leakage detection device 30 includes an outside air temperature sensor 301 that detects the outside air temperature on its input side, an air conditioning control device 40 that controls the refrigeration cycle device 20, an engine control device 50 that controls the engine 10, and the like. Is connected.
  • the refrigerant leak detection device 30 is connected to the air conditioning control device 40 and the engine control device 50 so that the air conditioning control information of the air conditioning control device 40 and the travel control information of the engine control device 50 can be acquired. .
  • the air conditioning control device 40 is connected to various sensors for detecting the temperature and pressure of the refrigerant flowing through the circulation circuit 200 on the input side. Specifically, a high-pressure side pressure sensor 41 and a high-pressure side temperature sensor 42 that detect the pressure and temperature of the high-pressure refrigerant that has flowed out of the radiator 22 are connected to the air conditioning control device 40. The air conditioning control device 40 is connected to a low-pressure side pressure sensor 43 and a low-pressure side temperature sensor 44 that detect the pressure and temperature of the low-pressure refrigerant that has flowed out of the evaporator 24.
  • the refrigerant leak detection device 30 of the present embodiment can acquire information detected by the high pressure side pressure sensor 41, the high pressure side temperature sensor 42, the low pressure side pressure sensor 43, and the low pressure side temperature sensor 44 from the air conditioning control device 40 as air conditioning control information. It has become.
  • the engine control device 50 is connected to its input side with a rotation speed sensor 51 that detects the rotation speed of the engine 10, a vehicle speed sensor 52 that detects the traveling speed of the automobile 1, and the like.
  • the refrigerant leak detection device 30 of the present embodiment can acquire information detected by the rotation speed sensor 51 and the vehicle speed sensor 52 from the engine control device 50 as engine control information.
  • the refrigeration cycle apparatus 20 has a configuration in which the compressor 21 is driven by the rotational driving force output from the engine 10. For this reason, the rotation speed of the engine 10 is a factor that greatly affects the operation of the compressor 21 of the refrigeration cycle apparatus 20.
  • the refrigeration cycle apparatus 20 is configured such that the heat radiator 22 is introduced to the outside air by the ram pressure when the automobile 1 is traveling. For this reason, the traveling speed of the automobile 1 is a factor that affects the heat radiation amount of the radiator 22 in the refrigeration cycle apparatus 20.
  • the refrigerant leak detection device 30 is connected to the electromagnetic clutch 214 of the compressor 21 and a notification device 60 that notifies the user of the abnormality on the output side.
  • the notification device 60 has a display panel that visually displays various abnormality information of the refrigeration cycle device 20.
  • the notification device 60 displays information indicating abnormal leakage on the display panel when an abnormal signal indicating abnormal refrigerant leakage is input from the refrigerant leakage detection device 30.
  • the notification device 60 is not limited to a configuration that visually notifies abnormality information, and may be configured to notify the abnormality information audibly.
  • the refrigerant leak detection device 30 is connected to a communication device 70 mounted on the automobile 1.
  • the communicator 70 is configured to be able to communicate with an automatic driving control device 80 that realizes automatic driving.
  • the automatic driving control device 80 includes a laser radar 81, a peripheral camera 82, a GPS receiver 83, a rudder angle sensor 84, a vehicle speed sensor 85, and a control unit 86.
  • a sensor group such as a laser radar 81, a peripheral camera 82, a GPS receiver 83, a rudder angle sensor 84, and a vehicle speed sensor 85 is connected to the control unit 86.
  • the laser radar 81 irradiates a predetermined range around the own vehicle with laser light, receives the reflected light, detects the presence of an object and the distance from the automobile 1 to the reflection point, and sends the detected distance to the control unit 86. Output.
  • Peripheral camera 82 images a region extending in a predetermined angular range around automobile 1 and outputs the captured video signal to control unit 86.
  • the GPS receiver 83 receives a radio wave from a GPS artificial satellite, and outputs information (latitude and longitude information) for specifying the current position included in the radio wave to the control unit 86.
  • the steering angle sensor 84 is a sensor that detects the steering angle of the steering of the automobile 1.
  • the steering angle when the automobile 1 travels in a straight traveling state is set to a neutral position (0 degree), and the rotation angle from the neutral position is steered.
  • the angle is output to the control unit 86.
  • the vehicle speed sensor 85 outputs a vehicle speed signal corresponding to the rotation speed of each rolling wheel to the control unit 86.
  • the control unit 86 is configured as a computer having a CPU, a RAM, a ROM, a flash memory, and an I / O, and the CPU performs various processes according to a program stored in the ROM.
  • the control unit 86 performs a process of specifying the current position of the automobile 1 and the direction of the automobile 1 based on various signals input from the sensor group.
  • the RAM, ROM, and flash memory of the control unit 86 are non-transitional physical storage media.
  • the flash memory of the control unit 86 stores route information indicating routes to a plurality of predetermined destinations.
  • the route information represents link identification information, link position information, link type information, link road case information (that is, type information such as an expressway, a motorway, a general road, and a narrow street), and a traveling speed.
  • the information includes speed information, node identification information, node position information, node type information, connection information indicating a connection relationship between a node and a link, information indicating presence / absence of a traffic signal at the node, traffic signal position information, and the like.
  • the control unit 86 reads out route information representing a route to one destination selected from a plurality of destinations from the flash memory, and performs automatic driving according to the route based on the route information. Specifically, the control unit 86 changes the accelerator opening, the steering angle, the brake pressure, and the like by transmitting instruction signals to various ECUs of the vehicle 1 so that the vehicle speed of the vehicle 1 becomes a preset target speed. While controlling to approach, automatic driving is performed so that the automobile 1 travels along the route.
  • the control unit 86 performs wireless communication with the server 90 installed in the operation management center or the like, and performs a process of transmitting the operation status of the automobile 1, vehicle abnormality, and the like to the server 90. Further, the control unit 86 performs a process of changing the destination and the route to the destination in accordance with an instruction from the server 90, a process of storing traffic jam information transmitted from the server 90 in the RAM, and the like.
  • the air conditioning control device 40 turns on the electromagnetic clutch 214 to operate the compressor 21.
  • the refrigerant discharged from the compressor 21 (that is, the point A1 in FIG. 4) flows into the radiator 22 and is radiated by heat exchange with the outside air in the radiator 22. (That is, point A1 ⁇ point A2 in FIG. 4).
  • the refrigerant that has flowed out of the radiator 22 flows into the decompression device 23 and is decompressed and expanded until it reaches a predetermined pressure in the decompression device 23 (that is, point A2 ⁇ A3 in FIG. 4). ).
  • the refrigerant that has flowed out of the decompression device 23 flows into the evaporator 24, and in the evaporator 24, absorbs heat from the air blown into the passenger compartment and evaporates (that is, point A3 in FIG. 4). A4 points). Thereby, the air blown into the passenger compartment is cooled. Then, the refrigerant flowing out of the evaporator 24 (that is, point A4 in FIG. 4) flows to the refrigerant suction side of the compressor 21 and is compressed again by the compressor 21 (that is, point A4 in FIG. 4). ⁇ A1 point).
  • the refrigerant leak detection device 30 periodically performs the process shown in FIG. 5 when the engine 10 of the automobile 1 is in an operating state.
  • Each control step of the control process shown in FIG. 5 constitutes a function realization unit that realizes various functions executed by the refrigerant leak detection device 30.
  • the refrigerant leak detection device 30 acquires route information to the destination in step S100. Specifically, a transmission request for route information to the destination is made to the control unit 86 of the automatic driving control device 80, and the route information to the destination transmitted from the control unit 86 in response to the transmission request is sent. get.
  • the route information includes the link identification information, the link position information, the link type information, the link road status information (ie, the type of highway, exclusive road, general road, narrow street, etc.). Information) and the like.
  • the refrigerant leak detection device 30 acquires the position information and traffic jam information of the automobile 1 in step S102. Specifically, the refrigerant leak detection device 30 makes a transmission request for the position information and traffic jam information of the automobile 1 to the control unit 86 of the automatic operation control device 80, and is transmitted from the control unit 86 in response to the transmission request. Position information (for example, latitude / longitude information) and traffic jam information of the automobile 1 are acquired.
  • the refrigerant leak detection device 30 determines a refrigerant quantity detection point in step S104.
  • the route to the destination includes an expressway as shown in FIG. More specifically, the route to the destination, after passing through the general road from the current location, enter the highway from the entrance P 1 of the high-speed road, again from the outlet P 2 of the highway, to the destination through the general road It is assumed that the route is an arrival route.
  • the refrigerant amount detection point is determined as a point at which the automobile 1 enters an operating state in which the state of the refrigerant circulating through the circulation circuit 200 is stable and stable.
  • step S106 the refrigerant leak detection device 30 determines that the vehicle is in a stable state in which the state of the refrigerant circulating in the circulation circuit 200 is stable based on whether or not the vehicle 1 has reached the refrigerant amount detection point. It is determined whether or not an operating state is reached. If the vehicle 1 has not reached the refrigerant amount detection start location, the determination in S106 is repeated. Then, when the vehicle 1 reaches the refrigerant amount detection start location and the vehicle enters an operating state in which the state of the refrigerant circulating through the circulation circuit 200 is in a stable state, the refrigerant amount determination process is performed in S200. To do.
  • the automobile 1 may not be in an operating state in which the state of the refrigerant circulating in the circulation circuit 200 becomes stable and stable. Therefore, it is determined that the vehicle does not enter an operating state in which the state of the refrigerant circulating through the circulation circuit 200 becomes stable and stable.
  • FIG. 1 A flowchart of the refrigerant quantity determination process in S200 is shown in FIG.
  • the refrigerant leak detection device 30 acquires various signals in S202.
  • the refrigerant temperature x 1 detected by the low-pressure side temperature sensor 44, the refrigerant pressure x 2 detected by the low-pressure side pressure sensor 43, the rotational speed x 3 of the engine 10, and the vehicle speed x 4 of the automobile 1 are acquired. .
  • the refrigerant amount M calculated in S204 is equal to or smaller than the refrigerant threshold Mth.
  • the refrigerant amount M becomes equal to or smaller than the refrigerant threshold Mth
  • it is determined in S208 that the refrigerant amount is abnormal the fact that the refrigerant amount is abnormal is notified from the notification device 60, and the process returns to FIG.
  • the notification device 60 notifies that the refrigerant amount is normal, and the process returns to FIG.
  • the refrigeration cycle apparatus includes the circulation circuit 200 that is mounted on the vehicle 1 and in which the refrigerant circulates.
  • the refrigeration cycle apparatus acquires a physical quantity for specifying the quantity of refrigerant circulating in the circulation circuit, and calculates the refrigerant quantity of the refrigerant circulating in the circulation circuit based on the physical quantity (S200).
  • the vehicle includes an operation state determination unit (S100 to S106) that determines whether or not the vehicle is in an operation state in which the state of the refrigerant circulating through the circulation circuit becomes a stable state.
  • the refrigerant amount calculation unit determines the refrigerant amount of the refrigerant circulating in the circulation circuit when the operation state determination unit determines that the vehicle is in an operation state in which the state of the refrigerant circulating in the circulation circuit is in a stable state. Is calculated.
  • the refrigerant amount calculating unit determines that the vehicle is in an operating state in which the vehicle is in a stable state in which the state of the refrigerant circulating through the circulation circuit is stable, and the refrigerant circulating through the circulation circuit.
  • the amount of refrigerant is calculated. Therefore, in the refrigeration cycle apparatus mounted on the vehicle, it is possible to accurately detect the refrigerant amount of the refrigerant circulating in the circulation circuit without requiring an operation by an occupant.
  • the vehicle is an automatic driving vehicle that runs automatically according to a preset vehicle speed along a preset route.
  • the operating state determination unit includes an expressway or an automobile-only road included in the route on which the autonomous driving vehicle travels
  • the autonomous driving vehicle includes an expressway or an automobile-only road included in the route on which the autonomous driving vehicle runs.
  • a travel determination unit (S106) for determining whether or not the vehicle is traveling is provided.
  • the traveling determination unit determines that the autonomous driving vehicle is traveling on an expressway or an automobile exclusive road included in the route on which the autonomous driving vehicle travels, the autonomous driving vehicle is supplied with the refrigerant circulating in the circulation circuit. It is determined that the operating state is a stable state where the state is stable.
  • the state of the refrigerant circulating in the circulation circuit is determined by the autonomous driving vehicle. It is determined that the operating state is in a stable and stable state, and the refrigerant amount of the refrigerant circulating in the circulation circuit can be calculated.
  • the operating state determination unit has traffic jam on the expressway or the automobile-only road based on the traffic jam information. If it is determined that it has occurred, it is determined that the self-driving vehicle does not enter an operating state in which the state of the refrigerant circulating in the circulation circuit becomes stable and stable.
  • a location information acquisition unit that acquires location information indicating the location of the autonomous driving vehicle
  • the traveling determination unit is configured to detect whether the autonomous driving vehicle is an expressway or a vehicle based on the location information acquired by the location information acquisition unit. It is determined whether or not the vehicle is traveling on a dedicated road.
  • the autonomous driving vehicle is traveling on the expressway or the automobile exclusive road.
  • FIGS. 1 A refrigeration cycle apparatus 20 according to a second embodiment of the present disclosure will be described with reference to FIGS.
  • the refrigeration cycle apparatus 20 the passenger's refrigeration cycle apparatus 20, the passenger's accelerator operation, and the brake It is mounted on a general automobile that travels by operation, steering operation, etc. Therefore, the automobile 1 equipped with the refrigeration cycle apparatus 20 of the present embodiment is not equipped with the automatic operation control device 80 shown in FIG.
  • the refrigeration cycle apparatus 20 of the present embodiment has the same configuration as that shown in FIGS.
  • FIG. 9 shows a flowchart of the refrigerant leak detection device 30 of the present embodiment.
  • the refrigerant leakage detection device 30 periodically performs the process shown in FIG. 9 when the engine 10 of the automobile 1 is in an operating state.
  • the refrigerant leak detection device 30 determines in S300 whether the magnitude ⁇ v of the difference between the vehicle speed v of the automobile 1 and the vehicle speed v t-1 one hour before is smaller than a predetermined value e (for example, 5 kilometers per hour). Determine whether or not.
  • a predetermined value e for example, 5 kilometers per hour.
  • the vehicle speed v t-1 one hour before is set to zero.
  • the count value C is changed to C + 1 in S304.
  • next step S306 it is determined whether or not the count value C is larger than the count threshold value Cth .
  • the count value C is less than or equal to the count threshold value C th, it returns to S300.
  • next step S306 it is determined whether or not the count value C is larger than the count threshold value Cth .
  • the count value C is smaller than the count threshold C th, it returns to S300.
  • the state in which the vehicle speed v of the automobile 1 is maintained at about 100 km / h, ⁇ v
  • ⁇ e continues for a predetermined period, and the count value C is larger than the count threshold C th. Then, the refrigerant amount determination process is performed in S200.
  • the operating state determination unit includes a continuous travel determination unit that determines whether or not the vehicle is traveling continuously for a predetermined period or longer in a state where the vehicle speed is within a predetermined fluctuation range based on the vehicle speed signal of the vehicle.
  • the continuous travel determination unit determines that the vehicle is traveling continuously for a predetermined period or longer while the vehicle speed is within a predetermined fluctuation range, the state of the refrigerant circulating in the circulation circuit is stabilized. It is determined that the operating state is in a stable state.
  • the vehicle when it is determined that the vehicle is continuously running for a predetermined period or longer in a state where the vehicle speed is within the predetermined fluctuation range based on the vehicle speed signal, the vehicle is supplied with the refrigerant circulating in the circulation circuit. It can also be determined that the operating state is a stable state where the state is stable.
  • FIG. 20 A refrigeration cycle apparatus 20 according to a third embodiment of the present disclosure will be described with reference to FIG.
  • the refrigeration cycle apparatus 20 is mounted on a general automobile that travels by an occupant's accelerator operation, brake operation, steering operation, or the like. Therefore, the automobile 1 equipped with the refrigeration cycle apparatus 20 of the present embodiment is not equipped with the automatic operation control device 80 shown in FIG.
  • the refrigeration cycle apparatus 20 of the present embodiment has the same configuration as that shown in FIGS.
  • FIG. 9 shows a flowchart of the refrigerant leak detection device 30 of the present embodiment.
  • the refrigerant leakage detection device 30 periodically performs the process shown in FIG. 9 when the engine 10 of the automobile 1 is in an operating state.
  • the refrigerant leak detection device 30 determines whether the engine of the automobile 1 is in an idle state based on the rotational speed of the engine 10 detected by the rotational speed sensor 51 and the vehicle speed signal output from the vehicle speed sensor 52 in S400. Determine whether or not. Specifically, when the rotational speed of the engine 10 is an idle rotational speed and the vehicle speed of the automobile 1 is 0 km / h based on the vehicle speed signal, the engine of the automobile 1 is in an idle state. It is determined that If the engine of the automobile 1 is not in an idle state, the counter is reset in S402, and the process returns to S400.
  • next step S406 it is determined whether or not the count value C is larger than the count threshold value Cth .
  • the count value C is less than or equal to the count threshold value C th, it returns to S400.
  • next step S406 it is determined whether or not the count value C is larger than the count threshold value Cth .
  • the count value C is less than or equal to the count threshold value C th, it returns to S400.
  • Such a process is repeatedly performed.
  • the engine of the car 1 continues idle continuously for the predetermined time period, the count value C is greater than the count threshold C th, implementing the refrigerant amount determination process at S200.
  • the refrigerant amount determination process is performed.
  • the vehicle includes an engine 10.
  • the operating state determination unit includes an idle determination unit that determines whether the engine 10 has been in an idle state continuously for a predetermined period or longer. When the idle determination unit determines that the engine has been in an idle state continuously for a predetermined period or longer, it is determined that the vehicle has entered an operating state in which the state of the refrigerant circulating in the circulation circuit is stable. To do.
  • the refrigerant temperature x 1 detected by the low-pressure side temperature sensor 44, the refrigerant pressure x 2 detected by the low-pressure side pressure sensor 43, the rotational speed x 3 of the engine 10, and the vehicle speed of the automobile 1 are set. 4 was used to estimate the refrigerant amount M.
  • the refrigerant amount M may be estimated using the above.
  • the low-temperature and low-pressure refrigerant decompressed by the decompression device 23 the blower output of the indoor blower 241 that blows air into the vehicle interior space, the blower output of the outdoor blower 221 that introduces outside air to the radiator 22, and the rotational speed of the compressor 21
  • the refrigerant amount M may be estimated using the above. Further, the refrigerant quantity M may be estimated by extracting any state quantity from these state quantities.
  • the autonomous driving vehicle when it is determined whether the route on which the autonomous driving vehicle travels includes an expressway and the autonomous driving vehicle is traveling on the expressway, the autonomous driving vehicle However, it has been determined that the operating state in which the state of the refrigerant circulating through the circulation circuit 200 is in a stable state is stabilized.
  • the autonomous driving vehicle is It may be determined that the operating state is a stable state in which the state of the refrigerant circulating in 200 is stable.
  • the fast predetermined distance from the entrance P 1 in the outlet P 2 side of the highway road (for example, two kilometers) apart is the refrigerant amount detection start point, but any point on the expressway or automobile road may be used as the refrigerant amount detection start point.
  • the positional information showing the position of an autonomous driving vehicle is acquired, and it is determined whether the autonomous driving vehicle is drive
  • information indicating whether or not the autonomous driving vehicle is traveling on the expressway is acquired as position information, and the autonomous driving vehicle is obtained based on the information indicating whether or not the autonomous driving vehicle is traveling on the expressway.
  • the present disclosure is not limited to the above-described embodiment, and can be changed as appropriate. Further, the above embodiments are not irrelevant to each other, and can be combined as appropriate unless the combination is clearly impossible. In each of the above-described embodiments, it is needless to say that elements constituting the embodiment are not necessarily indispensable except for the case where it is clearly indicated that the element is essential and the case where the element is clearly considered essential in principle. Yes. Further, in each of the above embodiments, when numerical values such as the number, numerical value, quantity, range, etc. of the constituent elements of the embodiment are mentioned, it is clearly limited to a specific number when clearly indicated as essential and in principle. The number is not limited to the specific number except for the case.
  • the refrigerating-cycle apparatus is mounted in a vehicle (1), and has the circulation circuit (200) through which a refrigerant circulates. Then, a physical quantity for specifying the quantity of the refrigerant circulating in the circulation circuit is acquired, and a refrigerant quantity calculation unit (S200) for calculating the refrigerant quantity circulating in the circulation circuit based on the physical quantity is provided.
  • the vehicle includes an operation state determination unit (S100 to S106, S300, S400) for determining whether or not the vehicle is in an operation state in which the state of the refrigerant circulating through the circulation circuit becomes a stable state.
  • an operation state determination unit S100 to S106, S300, S400 for determining whether or not the vehicle is in an operation state in which the state of the refrigerant circulating through the circulation circuit becomes a stable state.
  • the refrigerant amount calculation unit determines the circulation circuit. This is to calculate the refrigerant amount of the circulating refrigerant.
  • the vehicle is an autonomous driving vehicle that automatically runs along a preset route according to a preset vehicle speed.
  • the operating state determination unit includes an expressway or an automobile exclusive road in a route on which the autonomous driving vehicle travels, and the autonomous driving vehicle includes the expressway included in the route on which the autonomous driving vehicle travels.
  • a travel determination unit (S106) for determining whether or not the vehicle is traveling on the automobile-only road is provided.
  • the traveling determination unit determines that the autonomous driving vehicle is traveling on the highway or the automobile exclusive road included in the route on which the autonomous driving vehicle travels, the autonomous driving vehicle is It is determined that the refrigerant has circulated through the circulation circuit and is in an operating state where the state of the refrigerant is stable.
  • the autonomous driving vehicle when it is determined that the autonomous driving vehicle is traveling on the expressway or the automobile exclusive road included in the route on which the autonomous driving vehicle travels, the autonomous driving vehicle circulates in the circulation circuit. It can be determined that the operating state is a stable state in which the state of the refrigerant is stable.
  • the operating state determination unit includes an expressway or an automobile-only road in the route traveled by the autonomous driving vehicle by the travel determination unit. And even if it is determined that the autonomous driving vehicle is traveling on the expressway or the automobile exclusive road included in the route on which the autonomous driving vehicle travels, the expressway or the When it is determined that there is a traffic jam on the automobile exclusive road, it is determined that the autonomous driving vehicle is not in an operating state in which the state of the refrigerant circulating in the circulation circuit becomes stable and stable.
  • the state of the refrigerant that the automatic driving vehicle circulates in the circulation circuit is stable. Since it is determined that the operation state that is a stable state does not occur, the refrigerant amount of the refrigerant circulating in the circulation circuit can be prevented from being calculated.
  • the position information acquisition part (S102) which acquires the position information showing the position of an autonomous driving vehicle is provided. And the said travel determination part determines whether the said self-driving vehicle is drive
  • the autonomous driving vehicle is traveling on the expressway or the automobile exclusive road.
  • the operating state determination unit is configured to perform a predetermined period or more in a state where the vehicle speed of the vehicle is within a predetermined fluctuation range based on the vehicle speed signal of the vehicle
  • a continuous travel determination unit (S300) that determines whether or not the vehicle is traveling continuously is provided.
  • the continuous running determination unit determines that the vehicle is running continuously for a predetermined period or more with the vehicle speed within a predetermined fluctuation range, the vehicle circulates through the circulation circuit. It is determined that the operating state is a stable state in which the state of the refrigerant is stable.
  • the vehicle when it is determined by the continuous travel determination unit that the vehicle is traveling continuously for a predetermined period or longer with the vehicle speed within a predetermined fluctuation range, the vehicle circulates in the circulation circuit. It can be determined that the operating state is a stable state in which the state of the refrigerant is stable.
  • the vehicle includes an engine (10).
  • the operating state determination unit includes an idle determination unit (S400) that determines whether or not the engine is in an idle state continuously for a predetermined period or longer.
  • the idle determination unit determines that the engine is in an idle state continuously for a predetermined period or longer, the vehicle is operated in a stable state in which the state of the refrigerant circulating in the circulation circuit is stable. It is determined that the state has been reached.
  • the vehicle when it is determined by the idle determination unit that the engine is continuously idle for a predetermined period or longer, the vehicle is in a stable state in which the state of the refrigerant circulating in the circulation circuit is stable. It can be determined that the operating state has been reached.
  • S200 corresponds to the refrigerant amount calculation unit
  • S100 to S106, S300, and S400 correspond to the operating state determination unit
  • S106 corresponds to a travel determination unit
  • S102 corresponds to a position information acquisition unit
  • S300 corresponds to a continuous travel determination unit
  • S400 corresponds to an idle determination unit.

Landscapes

  • Engineering & Computer Science (AREA)
  • Physics & Mathematics (AREA)
  • Thermal Sciences (AREA)
  • Mechanical Engineering (AREA)
  • Radar, Positioning & Navigation (AREA)
  • Remote Sensing (AREA)
  • Automation & Control Theory (AREA)
  • General Physics & Mathematics (AREA)
  • Evolutionary Computation (AREA)
  • Business, Economics & Management (AREA)
  • Health & Medical Sciences (AREA)
  • Artificial Intelligence (AREA)
  • Game Theory and Decision Science (AREA)
  • Medical Informatics (AREA)
  • Aviation & Aerospace Engineering (AREA)
  • General Engineering & Computer Science (AREA)
  • Air-Conditioning For Vehicles (AREA)
  • Navigation (AREA)
PCT/JP2018/020232 2017-06-08 2018-05-25 冷凍サイクル装置 Ceased WO2018225545A1 (ja)

Priority Applications (2)

Application Number Priority Date Filing Date Title
CN201880037472.0A CN110709265A (zh) 2017-06-08 2018-05-25 制冷循环装置
US16/692,690 US20200086719A1 (en) 2017-06-08 2019-11-22 Refrigeration cycle apparatus

Applications Claiming Priority (2)

Application Number Priority Date Filing Date Title
JP2017-113656 2017-06-08
JP2017113656A JP6791024B2 (ja) 2017-06-08 2017-06-08 冷凍サイクル装置

Related Child Applications (1)

Application Number Title Priority Date Filing Date
US16/692,690 Continuation US20200086719A1 (en) 2017-06-08 2019-11-22 Refrigeration cycle apparatus

Publications (1)

Publication Number Publication Date
WO2018225545A1 true WO2018225545A1 (ja) 2018-12-13

Family

ID=64566478

Family Applications (1)

Application Number Title Priority Date Filing Date
PCT/JP2018/020232 Ceased WO2018225545A1 (ja) 2017-06-08 2018-05-25 冷凍サイクル装置

Country Status (4)

Country Link
US (1) US20200086719A1 (enExample)
JP (1) JP6791024B2 (enExample)
CN (1) CN110709265A (enExample)
WO (1) WO2018225545A1 (enExample)

Families Citing this family (3)

* Cited by examiner, † Cited by third party
Publication number Priority date Publication date Assignee Title
JP7263116B2 (ja) * 2019-05-20 2023-04-24 サンデン株式会社 車両搭載機器の温度調整装置及びそれを備えた車両用空気調和装置
JP7147825B2 (ja) * 2020-10-23 2022-10-05 株式会社富士通ゼネラル 空気調和機
EP4163135A1 (de) * 2021-10-08 2023-04-12 Siemens Mobility GmbH Klimaanlage für ein fahrzeug

Citations (6)

* Cited by examiner, † Cited by third party
Publication number Priority date Publication date Assignee Title
JPH0470975U (enExample) * 1990-10-31 1992-06-23
JP2001263885A (ja) * 2000-03-24 2001-09-26 Japan Climate Systems Corp 車両空調用不足冷媒量検出装置
JP2006010176A (ja) * 2004-06-24 2006-01-12 Mitsubishi Heavy Ind Ltd 車両用空調装置の冷媒漏れ検知制御
JP2007322021A (ja) * 2006-05-30 2007-12-13 Denso Corp 車両用冷凍サイクル装置
JP2008045792A (ja) * 2006-08-11 2008-02-28 Denso Corp 冷媒量検知方法、冷媒量検知装置、および冷媒量検知装置を備える空調装置。
JP2016161244A (ja) * 2015-03-04 2016-09-05 株式会社ヴァレオジャパン 冷媒不足判定装置、これを備えた冷凍サイクル、及び冷凍サイクルの冷媒不足判定方法

Family Cites Families (6)

* Cited by examiner, † Cited by third party
Publication number Priority date Publication date Assignee Title
JPS59227518A (ja) * 1983-06-06 1984-12-20 Nissan Motor Co Ltd ク−ラ付自動車の放熱制御装置
US4481784A (en) * 1983-11-03 1984-11-13 General Motors Corporation Automotive air conditioning compressor control system
JP2006076430A (ja) * 2004-09-09 2006-03-23 Denso Corp 車両用空調装置
JP4705878B2 (ja) * 2006-04-27 2011-06-22 ダイキン工業株式会社 空気調和装置
DE102011006970A1 (de) * 2011-03-23 2012-09-27 Robert Bosch Gmbh Verfahren sowie Diagnosetester zum Erkennen eines Fehlers in einem Kühlkreislauf eines Kraftfahrzeugs
CN105438182B (zh) * 2014-09-11 2018-05-18 上海通用汽车有限公司 车用空调制冷剂泄漏在线检测方法和车辆

Patent Citations (6)

* Cited by examiner, † Cited by third party
Publication number Priority date Publication date Assignee Title
JPH0470975U (enExample) * 1990-10-31 1992-06-23
JP2001263885A (ja) * 2000-03-24 2001-09-26 Japan Climate Systems Corp 車両空調用不足冷媒量検出装置
JP2006010176A (ja) * 2004-06-24 2006-01-12 Mitsubishi Heavy Ind Ltd 車両用空調装置の冷媒漏れ検知制御
JP2007322021A (ja) * 2006-05-30 2007-12-13 Denso Corp 車両用冷凍サイクル装置
JP2008045792A (ja) * 2006-08-11 2008-02-28 Denso Corp 冷媒量検知方法、冷媒量検知装置、および冷媒量検知装置を備える空調装置。
JP2016161244A (ja) * 2015-03-04 2016-09-05 株式会社ヴァレオジャパン 冷媒不足判定装置、これを備えた冷凍サイクル、及び冷凍サイクルの冷媒不足判定方法

Also Published As

Publication number Publication date
CN110709265A (zh) 2020-01-17
JP2018203179A (ja) 2018-12-27
US20200086719A1 (en) 2020-03-19
JP6791024B2 (ja) 2020-11-25

Similar Documents

Publication Publication Date Title
WO2019044353A1 (ja) 冷凍サイクル装置
WO2018142911A1 (ja) 熱交換モジュール、および温度調整装置
US20200086719A1 (en) Refrigeration cycle apparatus
JP2003159936A (ja) 車両用空調装置
CN110382980B (zh) 制冷剂泄漏检测装置、制冷循环装置
US10596880B2 (en) Method and system for controlling the release of heat by a temperature control unit
WO2018186105A1 (ja) 冷媒漏れ検知装置、冷凍サイクル装置
WO2018225419A1 (ja) 冷媒量推定装置、冷凍サイクル装置
KR102536310B1 (ko) 차량용 공조장치
JPH09105567A (ja) 冷凍装置
EP1837215B1 (en) Vehicular air conditioner
CN112292574B (zh) 检查系统、信息处理设备
JP4380730B2 (ja) 冷凍サイクル装置のコンプレッサの吸入圧力推定装置
CN110234945B (zh) 车载制冷装置
WO2021161670A1 (ja) 空調システム、空調制御方法および空調制御プログラム
JP2019152386A (ja) 冷媒量推定装置、冷凍サイクル装置
JP2009078631A (ja) 車両用空調制御システム
WO2018186106A1 (ja) 冷媒漏れ検知装置、冷凍サイクル装置
EP1609642A1 (en) Air conditioning system for vehicles
US20210016626A1 (en) Air conditioner control system
CN113137787A (zh) 空调系统、空调用通信装置、空调控制方法以及空调控制装置
JP2010047149A (ja) 車両用空調装置
JP2002370519A (ja) 車両用空調装置の内外気切換制御方法
JP2007168750A (ja) 車両用空調装置
HK40044263B (en) Inspection system, and information processing machine

Legal Events

Date Code Title Description
121 Ep: the epo has been informed by wipo that ep was designated in this application

Ref document number: 18814106

Country of ref document: EP

Kind code of ref document: A1

NENP Non-entry into the national phase

Ref country code: DE

122 Ep: pct application non-entry in european phase

Ref document number: 18814106

Country of ref document: EP

Kind code of ref document: A1