WO2018221351A1 - 発光装置、プロジェクター、および発光装置の製造方法 - Google Patents

発光装置、プロジェクター、および発光装置の製造方法 Download PDF

Info

Publication number
WO2018221351A1
WO2018221351A1 PCT/JP2018/019841 JP2018019841W WO2018221351A1 WO 2018221351 A1 WO2018221351 A1 WO 2018221351A1 JP 2018019841 W JP2018019841 W JP 2018019841W WO 2018221351 A1 WO2018221351 A1 WO 2018221351A1
Authority
WO
WIPO (PCT)
Prior art keywords
light emitting
emitting device
base
electrode
light
Prior art date
Legal status (The legal status is an assumption and is not a legal conclusion. Google has not performed a legal analysis and makes no representation as to the accuracy of the status listed.)
Ceased
Application number
PCT/JP2018/019841
Other languages
English (en)
French (fr)
Japanese (ja)
Inventor
浩康 加▲瀬▼谷
Current Assignee (The listed assignees may be inaccurate. Google has not performed a legal analysis and makes no representation or warranty as to the accuracy of the list.)
Seiko Epson Corp
Original Assignee
Seiko Epson Corp
Priority date (The priority date is an assumption and is not a legal conclusion. Google has not performed a legal analysis and makes no representation as to the accuracy of the date listed.)
Filing date
Publication date
Application filed by Seiko Epson Corp filed Critical Seiko Epson Corp
Priority to CN201880034936.2A priority Critical patent/CN110678991B/zh
Priority to US16/618,088 priority patent/US11239390B2/en
Publication of WO2018221351A1 publication Critical patent/WO2018221351A1/ja
Anticipated expiration legal-status Critical
Ceased legal-status Critical Current

Links

Images

Classifications

    • HELECTRICITY
    • H10SEMICONDUCTOR DEVICES; ELECTRIC SOLID-STATE DEVICES NOT OTHERWISE PROVIDED FOR
    • H10HINORGANIC LIGHT-EMITTING SEMICONDUCTOR DEVICES HAVING POTENTIAL BARRIERS
    • H10H20/00Individual inorganic light-emitting semiconductor devices having potential barriers, e.g. light-emitting diodes [LED]
    • H10H20/80Constructional details
    • H10H20/81Bodies
    • H10H20/819Bodies characterised by their shape, e.g. curved or truncated substrates
    • H10H20/821Bodies characterised by their shape, e.g. curved or truncated substrates of the light-emitting regions, e.g. non-planar junctions
    • HELECTRICITY
    • H10SEMICONDUCTOR DEVICES; ELECTRIC SOLID-STATE DEVICES NOT OTHERWISE PROVIDED FOR
    • H10HINORGANIC LIGHT-EMITTING SEMICONDUCTOR DEVICES HAVING POTENTIAL BARRIERS
    • H10H20/00Individual inorganic light-emitting semiconductor devices having potential barriers, e.g. light-emitting diodes [LED]
    • H10H20/01Manufacture or treatment
    • HELECTRICITY
    • H10SEMICONDUCTOR DEVICES; ELECTRIC SOLID-STATE DEVICES NOT OTHERWISE PROVIDED FOR
    • H10HINORGANIC LIGHT-EMITTING SEMICONDUCTOR DEVICES HAVING POTENTIAL BARRIERS
    • H10H20/00Individual inorganic light-emitting semiconductor devices having potential barriers, e.g. light-emitting diodes [LED]
    • H10H20/80Constructional details
    • H10H20/81Bodies
    • H10H20/813Bodies having a plurality of light-emitting regions, e.g. multi-junction LEDs or light-emitting devices having photoluminescent regions within the bodies
    • HELECTRICITY
    • H10SEMICONDUCTOR DEVICES; ELECTRIC SOLID-STATE DEVICES NOT OTHERWISE PROVIDED FOR
    • H10HINORGANIC LIGHT-EMITTING SEMICONDUCTOR DEVICES HAVING POTENTIAL BARRIERS
    • H10H20/00Individual inorganic light-emitting semiconductor devices having potential barriers, e.g. light-emitting diodes [LED]
    • H10H20/80Constructional details
    • H10H20/83Electrodes
    • H10H20/831Electrodes characterised by their shape
    • HELECTRICITY
    • H10SEMICONDUCTOR DEVICES; ELECTRIC SOLID-STATE DEVICES NOT OTHERWISE PROVIDED FOR
    • H10HINORGANIC LIGHT-EMITTING SEMICONDUCTOR DEVICES HAVING POTENTIAL BARRIERS
    • H10H20/00Individual inorganic light-emitting semiconductor devices having potential barriers, e.g. light-emitting diodes [LED]
    • H10H20/80Constructional details
    • H10H20/85Packages
    • HELECTRICITY
    • H10SEMICONDUCTOR DEVICES; ELECTRIC SOLID-STATE DEVICES NOT OTHERWISE PROVIDED FOR
    • H10HINORGANIC LIGHT-EMITTING SEMICONDUCTOR DEVICES HAVING POTENTIAL BARRIERS
    • H10H20/00Individual inorganic light-emitting semiconductor devices having potential barriers, e.g. light-emitting diodes [LED]
    • H10H20/80Constructional details
    • H10H20/85Packages
    • H10H20/857Interconnections, e.g. lead-frames, bond wires or solder balls
    • HELECTRICITY
    • H10SEMICONDUCTOR DEVICES; ELECTRIC SOLID-STATE DEVICES NOT OTHERWISE PROVIDED FOR
    • H10HINORGANIC LIGHT-EMITTING SEMICONDUCTOR DEVICES HAVING POTENTIAL BARRIERS
    • H10H20/00Individual inorganic light-emitting semiconductor devices having potential barriers, e.g. light-emitting diodes [LED]
    • H10H20/80Constructional details
    • H10H20/85Packages
    • H10H20/858Means for heat extraction or cooling
    • H10H20/8585Means for heat extraction or cooling being an interconnection
    • HELECTRICITY
    • H10SEMICONDUCTOR DEVICES; ELECTRIC SOLID-STATE DEVICES NOT OTHERWISE PROVIDED FOR
    • H10HINORGANIC LIGHT-EMITTING SEMICONDUCTOR DEVICES HAVING POTENTIAL BARRIERS
    • H10H20/00Individual inorganic light-emitting semiconductor devices having potential barriers, e.g. light-emitting diodes [LED]
    • H10H20/01Manufacture or treatment
    • H10H20/036Manufacture or treatment of packages

Definitions

  • the present invention relates to a light emitting device, a projector, and a method for manufacturing the light emitting device.
  • junction-down mounting is known as a mounting method for light emitting elements such as semiconductor lasers and light emitting diodes. By junction-down mounting the light emitting element, heat generated in the light emitting element can be efficiently dissipated.
  • Patent Document 1 discloses a light-emitting element in which a surface electrode of a laser chip is bonded to a mount serving as a heat sink with a solder material and junction-down mounted.
  • the laser chip is provided on the substrate, the active layer formed on the substrate including the lower cladding layer, the quantum well layer, and the upper cladding layer, the surface electrode formed on the active layer, and the back surface of the substrate And a back electrode.
  • the light emitting device is A light emitting device including a first substrate provided with a laminate; A second substrate provided with the light emitting element; A first member provided between the first base and the second base,
  • the laminate includes a light emitting unit, The light emitting unit A first semiconductor layer; A second semiconductor layer having a conductivity type different from that of the first semiconductor layer; A light emitting layer provided between the first semiconductor layer and the second semiconductor layer and capable of emitting light when a current is injected;
  • the first member has one end connected to the first base and the other end connected to the second base.
  • the laminate is connected to the second base on the side opposite to the first base.
  • such a light emitting device includes a first member having one end connected to the first base and the other end connected to the second base, the stack is connected to the second base in the manufacturing process (that is, the stack).
  • the force applied to the light-emitting element including the light-emitting element when mounted on the second substrate is dispersed in the laminate and the first member. Therefore, in such a light emitting device, it is possible to reduce the pressure applied to the light emitting unit (laminated body) during mounting. As a result, it is possible to reduce the possibility of stress and distortion occurring in the light emitting portion (laminated body), and to realize a highly reliable light emitting device having stable light emitting characteristics.
  • the first member may be provided so as to surround the periphery of the stacked body.
  • the laminate may be hermetically sealed with the first member, the first base, and the second base.
  • the device can be reduced in size and the manufacturing process can be simplified as compared with a case where the light emitting element is hermetically sealed with a package such as a ceramic package or a CAN package.
  • the first member may be conductive and electrically connected to the first semiconductor layer.
  • the first member can also function as an electrode for injecting current into the first semiconductor layer.
  • the second member may have one end connected to the first base and the other end connected to the second base.
  • the force applied during mounting is distributed to the stacked body, the first member, and the second member, so that the pressure applied to the light-emitting portion (laminated body) during mounting can be further reduced.
  • the second member may surround the first member and the laminate.
  • the second substrate may be provided with a penetrating electrode that penetrates the second substrate.
  • the laminate (light-emitting portion) hermetically sealed by the first member, the first base, and the second base can be electrically connected to the external power supply device.
  • the second semiconductor layer may be electrically connected to the through electrode.
  • the first member, the first base, and the second semiconductor layer included in the stacked body (light emitting portion) hermetically sealed by the second base are electrically connected to the external power supply device. Can be connected to.
  • the laminate has a plurality of columnar parts
  • the light emitting unit may be composed of the plurality of columnar parts.
  • Such a light emitting device In such a light emitting device, dislocations and defects generated in the first semiconductor layer, the light emitting layer, and the second semiconductor layer can be reduced, and high quality crystals can be obtained. Therefore, such a light emitting device can have excellent light emission characteristics.
  • the first member may be connected to the second base via a bonding member.
  • the first member can be reliably connected (joined) to the second base.
  • the projector according to the present invention includes the light emitting device according to the present invention.
  • Such a projector can include the light emitting device according to the present invention.
  • a method for manufacturing a light emitting device includes: Forming a laminate including a light emitting portion on the first substrate; Forming a first member on the first base; Connecting the laminate formed on the first base and the first member to a second base, and The light emitting unit A first semiconductor layer; A second semiconductor layer having a conductivity type different from that of the first semiconductor layer; A light emitting layer provided between the first semiconductor layer and the second semiconductor layer and capable of emitting light when a current is injected.
  • the force applied during mounting is laminated. Dispersed in the body and the first member. Therefore, the pressure applied to the light emitting part (laminated body) at the time of mounting can be reduced. As a result, the possibility of stress and distortion occurring in the light emitting portion (laminated body) can be reduced, and a highly reliable light emitting device having stable light emitting characteristics can be manufactured.
  • Sectional drawing which shows typically the light-emitting device which concerns on 1st Embodiment.
  • the top view which shows typically the light-emitting device which concerns on 1st Embodiment.
  • 5 is a flowchart showing an example of a method for manufacturing the light emitting device according to the first embodiment.
  • Sectional drawing which shows typically the manufacturing process of the light-emitting device which concerns on 2nd Embodiment. Sectional drawing which shows typically the manufacturing process of the light-emitting device which concerns on 2nd Embodiment. Sectional drawing which shows typically the manufacturing process of the light-emitting device which concerns on 2nd Embodiment. Sectional drawing which shows typically the manufacturing process of the light-emitting device which concerns on the modification of 2nd Embodiment. Sectional drawing which shows typically the light-emitting device which concerns on 3rd Embodiment. The top view which shows typically the light-emitting device which concerns on 3rd Embodiment. 9 is a flowchart illustrating an example of a method for manufacturing a light emitting device according to a third embodiment.
  • FIG. 10 schematically illustrates a projector according to a sixth embodiment.
  • FIG. 1 is a cross-sectional view schematically showing a light emitting device 100 according to the first embodiment.
  • FIG. 2 is a plan view schematically showing the light emitting device 100 according to the first embodiment.
  • 1 is a cross-sectional view taken along the line II of FIG.
  • the light emitting device 100 includes a light emitting element 1 having a first base 10, a laminate 20, a first electrode 30 (first member), and a second electrode 40, and a second base 50. Including.
  • the first base 10, the stacked body 20, the first electrode 30, and the second electrode 40 constitute the light emitting element 1, and the light emitting element 1 is junction-down mounted on the second base 50 (mounting substrate). Yes.
  • the first base 10 has, for example, a plate shape.
  • the first base 10 is, for example, a sapphire substrate.
  • the first substrate 10 is transparent to the light L generated in the light emitting layer 24. Therefore, the light L generated in the light emitting layer 24 passes through the first base 10 and is emitted to the outside. That is, the light emitting device 100 emits light L from the first base 10 side.
  • substrate 10 is not limited to a sapphire substrate, Other ceramic substrates, a glass substrate, etc. can be used.
  • the laminate 20 is provided on the first base 10.
  • the stacked body 20 is provided on the main surface 11 of the first base 10.
  • the stacked body 20 is located between the first base 10 and the second base 50.
  • the stacked body 20 is composed of a plurality of layers stacked on the main surface 11 of the first base 10.
  • the stacked body 20 includes the light emitting unit 2.
  • the light emitting unit 2 includes a first semiconductor layer 22, a light emitting layer 24, and a second semiconductor layer 26.
  • the light emitting element 1 is mounted on the second base 50 in a junction-down manner. That is, in the light emitting device 100, the stacked body 20 is connected to the second base 50 on the opposite side of the first base 10. The stacked body 20 is connected to the second base body 50 (second wiring 62) via the second electrode 40 and the bonding member 72.
  • connection means, for example, “a specific thing (hereinafter referred to as“ A ”) is connected to another specific thing (hereinafter referred to as“ B ”)”.
  • A is connected to B directly (A and B are in contact), and A is connected to B through another And the word “connection” is used.
  • the word “provide” means, for example, “a specific thing (hereinafter referred to as“ C ”) is provided in another specific thing (hereinafter referred to as“ D ”)”.
  • C is provided directly to D (C and D are in contact with each other), and C is provided to D via another And the word “provide” is used.
  • the first semiconductor layer 22 is provided on the first base 10.
  • the first semiconductor layer 22 is provided between the first base 10 and the light emitting layer 24.
  • the first semiconductor layer 22 is, for example, a first conductivity type (for example, n-type) GaN layer (specifically, a GaN layer doped with Si).
  • a buffer layer may be provided between the first semiconductor layer 22 and the first base 10.
  • the buffer layer is, for example, an undoped GaN layer.
  • the light emitting layer 24 is provided between the first semiconductor layer 22 and the second semiconductor layer 26.
  • the light emitting layer 24 is a layer capable of emitting light when current is injected.
  • the light emitting layer 24 has, for example, a quantum well structure composed of a GaN layer and an InGaN layer.
  • the number of GaN layers and InGaN layers constituting the light emitting layer 24 is not particularly limited.
  • the second semiconductor layer 26 is provided between the light emitting layer 24 and the second electrode 40.
  • the second semiconductor layer 26 is a layer having a different conductivity type from the first semiconductor layer 22.
  • the second semiconductor layer 26 is, for example, a second conductivity type (for example, p-type) GaN layer (specifically, a GaN layer doped with Mg).
  • a pin diode is formed by the p-type second semiconductor layer 26, the light emitting layer 24 not doped with impurities, and the n-type first semiconductor layer 22.
  • Each of the first semiconductor layer 22 and the second semiconductor layer 26 is a layer having a band gap larger than that of the light emitting layer 24.
  • the light L generated in the light emitting layer 24 passes through the first base 10 and is emitted in the stacking direction of the stacked body 20 (hereinafter also simply referred to as “stacking direction”).
  • the light emitting element 1 is a light emitting diode (LED).
  • the first electrode 30 is provided between the first base 10 and the second base 50.
  • the first electrode 30 has one end connected to the first base 10 and the other end connected to the second base 50.
  • the first electrode 30 and the first base 10 remove the first semiconductor layer 22 provided on the first base 10 and form the first electrode 30 directly on the first base 10. Connected by that.
  • One end of the first electrode 30 is further connected to the first semiconductor layer 22.
  • the first electrode 30 and the second base body 50 are joined via a joining member 70.
  • the first electrode 30 and the second substrate 50 are connected by bonding the first electrode 30 to the first wiring 60 provided on the second substrate 50 with a bonding member 70.
  • the first electrode 30 is electrically connected to the first semiconductor layer 22.
  • the first electrode 30 is electrically connected to the first wiring 60.
  • the first electrode 30 is one electrode for injecting current into the light emitting layer 24.
  • a metal layer such as an Au layer or an Ag layer, or a layer in which a Cr layer, a Ni layer, and an Au layer are stacked in this order from the first base 10 and the first semiconductor layer 22 side is used.
  • the first electrode 30 surrounds the periphery of the stacked body 20 in a plan view (viewed from the stacking direction).
  • the first electrode 30 is provided along the outer edge of the stacked body 20 in plan view. In plan view, a part of the first electrode 30 overlaps the outer edge portion of the first semiconductor layer 22.
  • the first electrode 30 has a rectangular tube shape.
  • a space for accommodating the stacked body 20 in an airtight manner is formed. That is, the stacked body 20 is hermetically sealed by the first electrode 30, the first base 10, and the second base 50.
  • the space in which the stacked body 20 is accommodated is, for example, an inert gas atmosphere.
  • the second electrode 40 is provided on the opposite side of the laminate 20 from the first base 10 side.
  • the second electrode 40 is provided between the stacked body 20 and the second wiring 62 (second base body 50).
  • the second electrode 40 is electrically connected to the second semiconductor layer 26.
  • the second electrode 40 is electrically connected to the second wiring 62. Therefore, the second semiconductor layer 26 is electrically connected to the through electrode 64 via the second electrode 40 and the second wiring 62.
  • the second electrode 40 is the other electrode for injecting current into the light emitting layer 24.
  • a metal layer such as an Au layer or an Ag layer, or a layer in which a Pd layer, a Pt layer, and an Au layer are stacked in this order from the second semiconductor layer 26 side is used.
  • the material of the first electrode 30 and the material of the second electrode 40 may be the same or different.
  • a contact layer may be provided between the second electrode 40 and the second semiconductor layer 26.
  • the contact layer may be in ohmic contact with the second electrode 40.
  • the contact layer is, for example, a p-type GaN layer.
  • the height H30 of the first electrode 30 is equal to the height (H20 + H40) obtained by adding the height H40 of the second electrode 40 to the height H20 of the stacked body 20.
  • the height refers to the size in the stacking direction. That is, the distance between the main surface 11 of the first substrate 10 and the surface of the first electrode 30 on the second substrate 50 side, and the distance between the main surface 11 of the first substrate 10 and the second electrode 40 on the second substrate 50 side. The distance to the surface is equal.
  • the height H30 of the first electrode 30 may be different from the height (H20 + H40) obtained by adding the height H40 of the second electrode 40 to the height H20 of the stacked body 20.
  • the second base 50 has, for example, a plate shape.
  • the second base 50 is a mounting substrate for mounting the light emitting element 1.
  • the first wiring 60 electrically connected to the first electrode 30 and the second electrode electrically connected to the second electrode 40.
  • a wiring 62 is provided.
  • the second substrate 50 is provided with a through electrode 64 that penetrates the second substrate 50.
  • the through electrode 64 is electrically connected to the second electrode 40 via the second wiring 62.
  • the second substrate 50 for example, a semiconductor substrate such as a SiC substrate, a ceramic substrate such as an AlN substrate, or the like is used. Semiconductor materials such as SiC and ceramic materials such as AlN have high thermal conductivity and high electrical insulation. Therefore, by using these substrates as the second base 50, the heat dissipation of the light emitting unit 2 can be improved, and the first wiring 60, the second wiring 62, and the through electrode 64 can be easily insulated.
  • a metal substrate such as a CuW substrate or a CuMo substrate may be used as the second substrate 50. In this case, when forming the first wiring 60, the second wiring 62, and the through electrode 64, it is necessary to provide an insulating layer or the like between the second base 50 and the wirings 60, 62 and the through electrode 64.
  • the thermal expansion coefficient of the second base 50 is preferably close to the thermal expansion coefficient of the first base 10. Thereby, the curvature of the 1st base
  • the thermal conductivity of the second substrate 50 is preferably higher than the thermal conductivity of the stacked body 20, for example, and more preferably higher than the thermal conductivity of the first substrate 10.
  • the heat capacity of the second base 50 is preferably larger than the heat capacity of the first base 10. Thereby, the heat dissipation of the light emission part 2 (laminated body 20) can be improved.
  • the method for measuring the thermal conductivity of the first base 10, the laminate 20, and the second base 50 is not particularly limited.
  • the thermal conductivity of the first substrate 10, the laminate 20, and the second substrate 50 may be obtained by, for example, a steady method, or the specific heat capacity and thermal diffusivity obtained by an unsteady method such as a flash method. It may be obtained from Further, when the measurement object is a ceramic substrate or the like, the thermal conductivity may be measured according to JIS R1611.
  • the first wiring 60 is provided on the main surface 51 of the second base body 50.
  • the first wiring 60 is provided in a region overlapping the first electrode 30 in plan view.
  • the first wiring 60 is a wiring for electrically connecting the first electrode 30 and an external power supply device (not shown).
  • the second wiring 62 is provided on the main surface 51 of the second base 50.
  • the second wiring 62 is provided in a region overlapping the second electrode 40 in plan view.
  • the second wiring 62 is electrically connected to the through electrode 64.
  • the penetrating electrode 64 penetrates the second substrate 50.
  • the through electrode 64 is provided in a region overlapping the second wiring 62 in plan view. In the illustrated example, a plurality of through electrodes 64 are provided. The number of through electrodes 64 is not particularly limited.
  • the second wiring 62 and the through electrode 64 are wirings for electrically connecting the second electrode 40 and an external power supply device. Power can be supplied to the stacked body 20 (light emitting unit 2) hermetically sealed by the through electrode 64.
  • the joining member 70 electrically and mechanically connects the first electrode 30 and the first wiring 60.
  • the joining member 70 connects the first electrode 30 and the first wiring 60 so as to ensure airtightness of the space in which the stacked body 20 is accommodated.
  • the joining member 72 electrically and mechanically connects the second electrode 40 and the second wiring 62.
  • the joining member 70 and the joining member 72 are, for example, Au solder such as AuSn.
  • the light emitting device 100 has the following features, for example.
  • the stacked body 20 including the light emitting unit 2 is connected to the second base 50 on the side opposite to the first base 10. That is, in the light emitting device 100, the light emitting element 1 is mounted on the second base body 50 in a junction down manner. Thereby, the heat dissipation of the light emission part 2 can be improved. In addition, since the first electrode 30 is connected to the second base body 50, the heat dissipation of the light emitting element 1 can be enhanced.
  • the first electrode 30 has one end connected to the first base 10 and the other end connected to the second base 50. Therefore, in the light emitting device 100, the force applied when the light emitting element 1 is mounted on the second substrate 50 in the manufacturing process is distributed to the stacked body 20 and the first electrode 30. Therefore, in the light emitting device 100, it is possible to reduce the pressure applied to the stacked body 20 (light emitting unit 2) during mounting. As a result, it is possible to reduce the possibility of stress and distortion occurring in the light emitting unit 2 (laminated body 20), and to realize a highly reliable light emitting device having stable light emitting characteristics.
  • the first electrode 30 that is electrically connected to the first semiconductor layer 22 and has electrical conductivity functions as a member (first member) for reducing the pressure applied to the light emitting unit 2 during mounting. Therefore, in the light emitting device 100, the pressure applied to the light emitting unit 2 during mounting can be reduced without increasing the number of components.
  • the first electrode 30 is provided so as to surround the periphery of the stacked body 20. Therefore, in the light-emitting device 100, it can prevent that the force applied at the time of mounting concentrates on the laminated body 20, and can reduce the pressure added to the light emission part 2 at the time of mounting. For example, when the first electrode 30 does not surround the stack 20, the force applied at the time of mounting may be concentrated on the stack 20 rather than the first electrode 30. On the other hand, in the light emitting device 100, since the first electrode 30 surrounds the periphery of the stacked body 20, it is possible to prevent the force applied at the time of mounting from being concentrated on the stacked body 20.
  • the stacked body 20 is hermetically sealed by the first electrode 30, the first base 10, and the second base 50. Therefore, in the light emitting device 100, the size of the device can be reduced, the manufacturing process can be simplified, and the cost can be reduced.
  • the light emitting element 1 when the light emitting element 1 is sealed with resin or the like, sufficient airtightness cannot be ensured. Further, when the light emitting element 1 is accommodated in a ceramic package using a glass lid, a CAN package, or the like, airtightness can be secured, but there are problems such as an increase in size of the apparatus and cost.
  • the stacked body 20 can be hermetically sealed by providing the first electrode 30 so as to surround the stacked body 20, the device can be downsized and the manufacturing process can be simplified. be able to.
  • the second substrate 50 is provided with a through electrode 64.
  • the second semiconductor layer 26 is electrically connected to the through electrode 64. Therefore, in the light emitting device 100, the second semiconductor layer 26 hermetically sealed by the first electrode 30, the first base 10, and the second base 50 and the external power supply device (not shown) are electrically connected. Can be connected to.
  • the first electrode 30 is connected to the second base body 50 via the bonding member 70. Therefore, in the light emitting device 100, the first electrode 30 and the second base body 50 can be more reliably connected.
  • FIG. 3 is a flowchart showing an example of a method for manufacturing the light emitting device 100 according to the first embodiment.
  • 4 to 8 are diagrams schematically showing a manufacturing process of the light emitting device 100 according to the first embodiment.
  • 5 is a cross-sectional view taken along line VV in FIG. 6, and
  • FIG. 7 is a cross-sectional view taken along line VII-VII in FIG.
  • a stacked body 20 including the light emitting unit 2 is formed on the main surface 11 of the first base 10.
  • the first semiconductor layer 22, the light emitting layer 24, and the second semiconductor layer 26 are epitaxially grown in this order on the main surface 11 of the first base 10.
  • the epitaxial growth method include a MOCVD (Metal Organic Chemical Deposition) method, an MBE (Molecular Beam Epitaxy) method, and the like.
  • the first semiconductor layer 22, the light emitting layer 24, and the second semiconductor layer 26 are epitaxially grown in this order on the buffer layer. You may let them.
  • the second semiconductor layer 26, the light emitting layer 24, and the first semiconductor layer 22 are patterned.
  • the patterning is performed by, for example, photolithography and etching.
  • a region 12 where the first base 10 is exposed is formed on the main surface 11 of the first base 10 so as to surround the periphery of the stacked body 20 in plan view.
  • a region 23 where the first semiconductor layer 22 is exposed is formed so as to surround the light emitting layer 24 and the second semiconductor layer 26 in plan view.
  • the laminated body 20 can be formed by the above process.
  • first electrode 30 is formed on the first substrate 10 (region 12) and the first semiconductor layer 22 (region 23), and on the stacked body 20 (on the second semiconductor layer 26). ) To form the second electrode 40.
  • the first electrode 30 and the second electrode 40 are formed by, for example, a vacuum deposition method, a lift-off method, or the like.
  • the 1st electrode 30 is formed so that the circumference
  • the first electrode 30 and the second electrode 30 are set so that the height H30 of the first electrode 30 is equal to the height (H20 + H40) obtained by adding the height H40 of the second electrode 40 to the height H20 of the stacked body 20.
  • An electrode 40 is formed. Accordingly, the first electrode 30 and the second base 50 (first wiring 60), and the second electrode 40 and the second base 50 (second wiring 62) can be reliably connected in a mounting step (S14) described later. it can.
  • the light-emitting element 1 can be formed.
  • the formation order of the 1st electrode 30 and the 2nd electrode 40 is not specifically limited.
  • the stacked body 20 is mounted so that the side opposite to the first base 10 is connected to the second base 50 (junction down mounting).
  • first electrode 30 and the first wiring 60 are connected by the bonding member 70, and the second electrode 40 and the second wiring 62 are connected by the bonding member 72.
  • a first wiring 60, a second wiring 62, and a through electrode 64 are formed on the second base 50 in advance.
  • the joining member 70 and the joining member 72 are solders, and the first electrode 30 and the first wiring 60, and the second electrode 40 and the second wiring 62 are soldered, respectively.
  • the first electrode 30 is in contact with the joining member 70
  • the second electrode 40 is in the joining member 72.
  • Heating is performed in a state where the light emitting element 1 is disposed on the second substrate 50 so as to be in contact with the substrate. Accordingly, the first electrode 30 and the first wiring 60 are connected (bonded), and the second electrode 40 and the second wiring 62 are connected (bonded).
  • the space for accommodating the stacked body 20 can be made an inert gas atmosphere.
  • the laminate 20 formed on the first substrate 10 is pressed against the second substrate 50, so that pressure is applied to the laminate 20.
  • the first electrode 30 is formed on the first base 10 in addition to the stacked body 20, the force applied at the time of mounting is distributed to the stacked body 20 and the first electrode 30, and the stacked body The pressure applied to 20 (light emitting unit 2) can be reduced.
  • the light emitting element 1 is mounted on the second base 50 and the stacked body 20 is hermetically sealed by the first electrode 30, the first base 10, and the second base 50.
  • the light emitting device 100 can be manufactured through the above steps.
  • the manufacturing method of the light emitting device 100 according to the present embodiment has the following features, for example.
  • the step of forming the stacked body 20 including the light emitting unit 2 on the first base 10 the step of forming the first electrode 30 on the first base 10, Connecting the laminate 20 and the first electrode 30 formed on the base body 10 to the second base body 50 (mounting process). Therefore, as described above, the pressure applied to the stacked body 20 (light emitting unit 2) can be reduced in the mounting process. Therefore, it is possible to reduce the possibility of stress and distortion occurring in the light emitting unit 2 (laminated body 20), and it is possible to manufacture a highly reliable light emitting device having stable light emitting characteristics.
  • the first electrode 30 is formed so as to surround the periphery of the multilayer body 20. Therefore, the stacked body 20 can be hermetically sealed by the first electrode 30, the first base 10, and the second base 50 in the mounting process. Therefore, the manufacturing process can be simplified as compared with the case where the light emitting element 1 is hermetically sealed using a ceramic package or a CAN package.
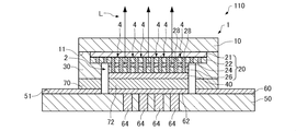
  • FIG. 9 is a cross-sectional view schematically showing a light emitting device 110 according to a modification of the first embodiment.
  • the planar shape of the light emitting device 110 according to the modification of the first embodiment is the same as the planar shape of the light emitting device 100 shown in FIG.
  • the light emitting device 110 is different from the light emitting device 100 described above in that the stacked body 20 includes a plurality of columnar portions 4 and the light emitting portion 2 includes a plurality of columnar portions 4.
  • the light emitting element 1 is, for example, a semiconductor laser to which a nanostructure is applied.
  • the laminate 20 has a buffer layer 21.
  • the buffer layer 21 is provided on the main surface 11 of the first base 10.
  • the buffer layer 21 is provided between the first semiconductor layer 22 and the first base 10.
  • the buffer layer 21 is, for example, an undoped GaN layer.
  • the columnar part 4 is provided in the buffer layer 21.
  • a plurality of columnar portions 4 are provided.
  • the cross-sectional shape of the columnar part 4 (cross-sectional shape in a direction orthogonal to the stacking direction) is, for example, a circle, a polygon (for example, a hexagon), or the like.
  • the diameter of the columnar part 4 (inscribed circle diameter in the case of a polygon) is, for example, on the order of nm, and specifically 10 nm or more and 500 nm or less.
  • the columnar part 4 is also called, for example, a nanocolumn, nanowire, nanorod, or nanopillar.
  • the size of the columnar portions 4 in the stacking direction is, for example, not less than 0.1 ⁇ m and not more than 5 ⁇ m.
  • the plurality of columnar portions 4 are separated from each other.
  • the interval between the adjacent columnar portions 4 is, for example, not less than 1 nm and not more than 500 nm.
  • the columnar portion 4 includes a first semiconductor layer 22, a light emitting layer 24, and a second semiconductor layer 26.
  • the plurality of columnar portions 4 are arranged at a predetermined pitch in a predetermined direction in plan view.
  • the light generated in the light emitting layer 24 propagates in the direction orthogonal to the stacking direction by the semiconductor layers 22 and 26, and forms a standing wave in the direction orthogonal to the stacking direction in the columnar part 4.
  • the layer 24 receives the gain and oscillates. Then, the + 1st order diffracted light and the ⁇ 1st order diffracted light (light L) travel in the stacking direction and are transmitted through the first base 10 and emitted.
  • connecting members 28 connected to each of the adjacent columnar portions 4 are provided between the adjacent columnar portions 4.
  • the connecting member 28 is continuous between the adjacent columnar parts 4.
  • the connection member 28 is a buried layer that is buried between adjacent columnar portions 4. In the illustrated example, the entire space between the adjacent columnar portions 4 is embedded with the connection member 28.
  • the connection member 28 connects the adjacent columnar portions 4 or the connection member 28 is connected to each of the adjacent columnar portions 4. This is an expression including a state in which the connection member 28 is embedded.
  • connection member 28 between the adjacent columnar portions 4 By providing the connection member 28 between the adjacent columnar portions 4, the strength of the columnar portions 4 can be improved. Therefore, when the light emitting element 1 is mounted on the second base body 50, stress or strain is generated in the columnar portion 4 due to the pressure applied to the columnar portion 4, and defects or dislocations are generated in the columnar portion 4, resulting in unstable light emission characteristics. It is possible to reduce the possibility that the columnar part 4 will be destroyed. Further, even after mounting, when the environmental temperature changes, the stress generated in the columnar portion 4 due to the difference in the thermal expansion coefficient, that is, the second base 50, the first electrode 30, the second electrode 40, which occurs due to the environmental temperature change, for example.
  • connection member 28 may include a gap.
  • the connection member 28 is provided in the entire space between the adjacent columnar portions 4, but the connection member 28 is provided in a part of the space between the adjacent columnar portions 4. Also good. That is, it is only necessary that a part of the space between the adjacent columnar portions 4 is embedded with the connection member 28. Even in such a case, the strength of the columnar portion 4 can be improved as compared with the case where the connection member 28 is not provided (when the gap between adjacent columnar portions 4 is a gap).
  • the connection member 28 is transparent to the light generated in the light emitting layer 24 and can propagate the light generated in the light emitting layer 24.
  • the refractive index of the connection member 28 is closer to the refractive index of the light emitting layer 24 than the refractive index of air (gap), for example. That is, the difference between the refractive index of the light emitting layer 24 and the refractive index of the connection member 28 is smaller than the difference between the refractive index of the connection member 28 and the refractive index of air.
  • the refractive index of the connection member 28 is lower than the refractive indexes of the semiconductor layers 22 and 26 and the light emitting layer 24, for example.
  • the connecting member 28 is made of, for example, an insulating material.
  • the material of the connecting member 28 is, for example, GaN, InGaN, TiO2, SiO2, or SiON. Further, polyimide may be used as the connection member 28.
  • the connecting member 28 may be composed of a plurality of layers. For example, a portion of the connecting member 28 that contacts the columnar portion 4 is an insulating layer, and a portion that is not in contact with the columnar portion 4 (a region insulated from the columnar portion 4 by the insulating layer) is a conductive layer or a semiconductor made of p-type GaN or the like. It is good also as a layer.
  • the light emitting element 1 was a semiconductor laser using a nanostructure
  • the light emitting element 1 is a superluminescent diode using a nanostructure or an LED using a nanostructure. It may be.
  • the light emitting device 110 can obtain the same effects as the light emitting device 100 described above.
  • the stacked body 20 has a plurality of columnar parts 4, and the light emitting part 2 is composed of a plurality of columnar parts 4. Therefore, in the light emitting device 110, dislocations and defects generated in the light emitting layer 24 and the semiconductor layers 22 and 26 can be reduced, and high quality crystals can be obtained. Therefore, the light emitting device 110 can have excellent light emission characteristics.
  • 10 to 12 are cross-sectional views schematically showing manufacturing steps of the light emitting device 110 according to the modification of the first embodiment.
  • the manufacturing method of the light emitting device 110 is the same as the manufacturing method of the light emitting device 100 shown in FIG. 3, the step of forming the stacked body 20 (S10), and the step of forming the first electrode 30 and the second electrode 40 (S12). And a mounting step (S14).
  • the buffer layer 21 is epitaxially grown on the main surface 11 of the first base 10.
  • a mask layer (not shown) is formed on the buffer layer 21.
  • the mask layer is, for example, a silicon oxide layer, a silicon oxynitride layer, an aluminum oxide layer, a hafnium oxide layer, a titanium layer, a titanium oxide layer, a zirconium oxide layer, a silicon nitride layer, or a laminated film thereof.
  • the mask layer is formed by, for example, film formation by sputtering or vapor deposition, and patterning by photolithography and etching.
  • the first semiconductor layer 22, the light emitting layer 24, and the second semiconductor layer 26 are epitaxially grown in this order on the buffer layer 21 by MOCVD, MBE, or the like. Thereby, the some columnar part 4 can be formed.
  • the connecting member 28 is formed between the adjacent columnar parts 4.
  • the connecting member 28 is embedded between the adjacent columnar portions 4.
  • the connecting member 28 is SOG (Spin on Glass), polyimide, or the like
  • the connecting member 28 is formed by a spin coating method or the like
  • the connecting member 28 is an oxide such as TiO 2
  • the connecting member 28 is ALD (Atomic Layer). (Deposition) method or the like.
  • the connection member 28 is a semiconductor layer such as GaN or InGaN
  • the connection member 28 is formed by MOCVD or the like.
  • the columnar section 4, the buffer layer 21, and the connecting member 28 are patterned. At this time, a region 12 where the first base 10 is exposed is formed on the main surface 11 of the first base 10. Further, the first semiconductor layer 22 is formed with a region 23 where the first semiconductor layer 22 is exposed.
  • the laminated body 20 can be formed by the above process.
  • first electrode 30 is formed on the first base 10 (region 12) and the first semiconductor layer 22 (region 23), and on the stacked body 20 (on the second semiconductor layer 26).
  • second electrode 40 is formed in the same manner as the step (S12) of forming the first electrode 30 and the second electrode 40 in the method for manufacturing the light emitting device 100 described above. Through the above steps, the light-emitting element 1 can be formed.
  • the light emitting device 110 can be manufactured.
  • the method for manufacturing the light emitting device 110 according to the present embodiment can achieve the same effects as the method for manufacturing the light emitting device 100 described above.
  • FIG. 13 is a cross-sectional view schematically showing the light emitting device 200 according to the second embodiment. Note that the planar shape of the light emitting device 200 according to the second embodiment is the same as the planar shape of the light emitting device 100 shown in FIG.
  • the joining member 70 and the joining member 72 shown in FIG. 1 were solder.
  • the joining member 70 and the joining member 72 are conductive pastes.
  • the conductive paste used as the joining member 70 and the joining member 72 is, for example, a silver paste.
  • the silver paste is a paste containing nano-sized silver particles. Note that as the bonding member 70 and the bonding member 72, a paste containing metal particles other than silver particles may be used.
  • the height H30 of the first electrode 30 is equal to the height (H20 + H40) obtained by adding the height H20 of the second electrode 40 to the height H20 of the stacked body 20.
  • the height H30 of the first electrode 30 is not particularly limited. In the illustrated example, the height H30 of the first electrode 30 is smaller than the height (H20 + H40) obtained by adding the height H40 of the second electrode 40 to the height H20 of the stacked body 20.
  • the light emitting device 200 can achieve the same effects as the light emitting device 100 described above.
  • 14 to 16 are cross-sectional views schematically showing manufacturing steps of the light emitting device 200 according to the second embodiment.
  • the manufacturing method of the light emitting device 200 is the same as the manufacturing method of the light emitting device 100 shown in FIG. 3, the step of forming the stacked body 20 (S10), and the step of forming the first electrode 30 and the second electrode 40 (S12). And a mounting step (S14).
  • the stacked body 20 including the light emitting unit 2 is formed on the main surface 11 of the first base 10. This step is performed in the same manner as the step (S10) of forming the stacked body 20 in the method for manufacturing the light emitting device 100 described above.
  • first electrode 30 is formed on the first base 10 (region 12) and the first semiconductor layer 22 (region 23), and on the stacked body 20 (on the second semiconductor layer 26). ) To form the second electrode 40.
  • the height H30 of the first electrode 30 is smaller than the height (H20 + H40) formed by adding the height H20 of the second electrode 40 to the height H20 of the stacked body 20 except for the above point.
  • This is performed in the same manner as the step (S12) of forming the first electrode 30 and the second electrode 40 in the method for manufacturing the light emitting device 100.
  • the light-emitting element 1 can be formed.
  • the stacked body 20 is mounted so that the side opposite to the first base 10 is connected to the second base 50 (junction down).
  • a conductive paste is screen-printed on the first electrode 30 and the second electrode 40 and then baked to form bumps 70a and bumps 72a.
  • the bump 70a and the bump 72a are cut out by grinding or cutting to flatten the surface, and the height of the bump 70a and the height of the stacked body 20 plus the height of the second electrode 40 and the bump 72a are obtained. , Make them equal. Accordingly, the first electrode 30 and the second base 50 (first wiring 60), and the second electrode 40 and the second base 50 (second wiring 62) can be reliably connected (joined).
  • the first wiring 60, the second wiring 62, and the through electrode 64 are formed on the main surface 51 of the second base 50.
  • the conductive paste 70 b and the conductive paste 72 b are screen-printed or applied on the first wiring 60 and the second wiring 62.
  • the bump 70a is positioned on the first wiring 60 via the conductive paste 70b
  • the bump 72a is positioned on the second wiring 62 via the conductive paste 72b.
  • the conductive pastes 70b and 72b are baked. Accordingly, the first electrode 30 and the first wiring 60 are connected (bonded) by the bonding member 70, and the second electrode 40 and the second wiring 62 are connected (bonded) by the bonding member 72.
  • the bump 70 a and the conductive paste 70 b form the bonding member 70
  • the bump 72 a and the conductive paste 72 b form the bonding member 72.
  • the force applied when the light emitting element 1 is mounted on the second substrate 50 is distributed to the stacked body 20 and the first electrode 30, so that the pressure applied to the stacked body 20 (light emitting unit 2) during mounting. Can be reduced.
  • the light emitting element 1 is mounted on the second base 50 and the stacked body 20 is hermetically sealed by the first electrode 30, the first base 10, and the second base 50.
  • the light emitting device 200 can be manufactured through the above steps.
  • the method for manufacturing the light emitting device 200 according to the present embodiment can achieve the same effects as the method for manufacturing the light emitting device 100 described above.
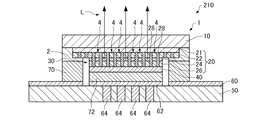
  • FIG. 17 is a cross-sectional view schematically showing a light emitting device 210 according to a modification of the second embodiment.
  • the planar shape of the light emitting device 210 according to the modification of the second embodiment is the same as the planar shape of the light emitting device 100 shown in FIG.
  • the stacked body 20 has a plurality of columnar portions 4, and the light emitting portion 2 is different from the above-described light emitting device 200 in that the light emitting portion 2 is configured by a plurality of columnar portions 4.
  • the light emitting element 1 is, for example, a semiconductor laser to which a nanostructure is applied.
  • the configuration of the stacked body 20 is the same as the configuration of the stacked body 20 (see FIG. 9) of the light emitting device 110 described above.
  • the light emitting device 210 can achieve the same effects as the light emitting device 200 described above. Further, the light emitting device 210 can have excellent light emission characteristics, similar to the light emitting device 110 described above.
  • the manufacturing method of the light emitting device 210 is the same as the manufacturing method of the light emitting device 100 shown in FIG. 3, the step of forming the stacked body 20 (S10) and the step of forming the first electrode 30 and the second electrode 40 (S12). And a mounting step (S14).
  • the process (S10) of forming the laminated body 20 is performed similarly to the process (S10) of forming the laminated body 20 in the method for manufacturing the light emitting device 110 described above.
  • the step (S12) and the mounting step (S14) of forming the first electrode 30 and the second electrode 40 include the step of forming the first electrode 30 and the second electrode 40 in the method for manufacturing the light emitting device 200 described above (S12). ) And the mounting step (S14).
  • the method for manufacturing the light emitting device 210 according to the present modification can achieve the same effects as the method for manufacturing the light emitting device 200 described above.
  • FIG. 18 is a cross-sectional view schematically showing a light emitting device 300 according to the third embodiment.
  • FIG. 19 is a plan view schematically showing the light emitting device 300 according to the third embodiment.
  • 18 is a cross-sectional view taken along line XVIII-XVIII in FIG.
  • the light-emitting device 300 is provided between the first base 10 and the second base 50, and includes a sealing member 80 ( It differs from the light-emitting device 100 mentioned above by the point comprised including the 2nd member.
  • the sealing member 80 has one end connected to the first base 10 and the other end connected to the second base 50.
  • the sealing member 80 and the first base 10 are connected to the first base 10 by joining the sealing member 80 directly.
  • the sealing member 80 and the second base body 50 are connected by joining the sealing member 80 to the first wiring 60 provided on the second base body 50.
  • the sealing member 80 is, for example, low melting point glass.
  • the sealing member 80 surrounds the first electrode 30 and the stacked body 20 in a plan view.
  • a space for accommodating the first electrode 30 and the stacked body 20 in an airtight manner is formed by the two base bodies 50. That is, the first electrode 30 and the stacked body 20 are hermetically sealed by the sealing member 80, the first base 10, and the second base 50.
  • the laminate 20 is surrounded by the first electrode 30, and the first electrode 30 is surrounded by the sealing member 80. That is, the stacked body 20 is doubly surrounded by the first electrode 30 and the sealing member 80 and is double-sealed. Therefore, in the light emitting device 300, the airtightness of the space in which the stacked body 20 is accommodated can be further increased.
  • the light emitting device 300 can achieve the same effects as the light emitting device 100 described above.
  • the sealing member 80 is provided between the first base 10 and the second base 50, one end of the sealing member 80 is connected to the first base 10, and the other end of the sealing member 80 Is connected to the second base 50. Therefore, in the light emitting device 300, the force applied when the light emitting element 1 is mounted on the second substrate 50 is dispersed in the stacked body 20, the first electrode 30, and the sealing member 80. Therefore, in the light emitting device 300, it is possible to further reduce the pressure applied to the stacked body 20 (light emitting unit 2) during mounting. As a result, it is possible to reduce the possibility of stress and distortion occurring in the light emitting unit 2 (laminated body 20), and to realize a highly reliable light emitting device having stable light emitting characteristics.
  • the sealing member 80 is provided so as to surround the first electrode 30 and the stacked body 20. Therefore, in the light emitting device 300, it is possible to prevent the force applied at the time of mounting from being concentrated on the stacked body 20, and the pressure applied to the light emitting unit 2 at the time of mounting can be reduced.
  • the first electrode 30 and the stacked body 20 are hermetically sealed by the sealing member 80, the first base 10, and the second base 50. That is, in the light emitting device 300, the stacked body 20 is double-sealed. Therefore, in the light emitting device 300, the airtightness of the space in which the stacked body 20 is accommodated can be further increased.
  • the sealing member 80 for sealing the first electrode 30 and the stacked body 20 functions as a member (second member) for reducing the pressure applied to the light emitting unit 2 during mounting. Therefore, in the light emitting device 300, the pressure applied to the light emitting unit 2 during mounting can be reduced without increasing the number of components.
  • FIG. 20 is a flowchart illustrating an example of a method for manufacturing the light emitting device 300 according to the third embodiment.
  • FIG. 21 is a cross-sectional view schematically showing a manufacturing process of the light emitting device 300 according to the third embodiment.
  • the stacked body 20 including the light emitting unit 2 is formed on the main surface 11 of the first base 10. This step is performed in the same manner as the step (S10) of forming the stacked body 20 in the method for manufacturing the light emitting device 100 described above.
  • first electrode 30 is formed on the first substrate 10 (region 12) and the first semiconductor layer 22 (region 23), and the second electrode 40 is formed on the stacked body 20 (on the second semiconductor layer 26).
  • This step is performed in the same manner as the step (S12) of forming the first electrode 30 and the second electrode 40 in the method for manufacturing the light emitting device 100 described above. Through the above steps, the light-emitting element 1 can be formed (see FIG. 7).
  • a sealing member 80 is formed on the main surface 51 of the second base 50.
  • the sealing member 80 is formed by applying glass frit to the main surface 51 of the second substrate 50 and firing the glass frit. In this way, by firing the glass frit in advance, the solvent in the glass frit can be blown off and the solvent remaining in the space sealed by the sealing member 80 can be prevented.
  • a first wiring 60, a second wiring 62, and a through electrode 64 are formed on the second base 50 in advance.
  • first, the first electrode 30 and the first wiring 60 are connected (solder bonding) by the bonding member 70, and the second electrode 40 and the second wiring 62 are connected by the bonding member 72 (solder bonding). .
  • the sealing member 80 is irradiated with laser, one end of the sealing member 80 is fused to the first base 10, and the other end of the sealing member 80 is fused to the second base 50. Thereby, one end of the sealing member 80 is connected (bonded) to the first base 10, and the other end of the sealing member 80 is connected (bonded) to the second base 50.
  • the space for accommodating the first electrode 30 and the stacked body 20 can be made an inert gas atmosphere.
  • the stacked body 20 formed on the first substrate 10 is pressed against the second substrate 50, so that pressure is applied to the stacked body 20.
  • the first electrode 30 is formed on the first base 10
  • the sealing member 80 is formed on the second base 50. Therefore, the force applied at the time of mounting is distributed to the stacked body 20, the first electrode 30, and the sealing member 80, and the pressure applied to the stacked body 20 (light emitting unit 2) can be reduced.
  • the light-emitting element 1 is mounted on the second base 50 and the first electrode 30 and the stacked body 20 are hermetically sealed by the sealing member 80, the first base 10, and the second base 50.
  • connection (bonding) between the first electrode 30 and the first wiring 60, the connection (bonding) between the second electrode 40 and the second wiring 62, and the connection (fusion) between the sealing member 80 and the bases 10 and 50. ) May be performed simultaneously. That is, the joining members 70 and 72 (for example, AuSn solder) and the sealing member 80 (low melting point glass) may be heated at the same time, and the respective connections (joining and fusion) may be performed simultaneously.
  • the light emitting device 300 can be manufactured through the above steps.
  • the method for manufacturing the light emitting device 300 according to the present embodiment can achieve the same effects as the method for manufacturing the light emitting device 100 described above.
  • the pressure applied to the stacked body 20 (light emitting unit 2) by the first electrode 30 and the sealing member 80 in the mounting process can be reduced. Therefore, it is possible to reduce the possibility that stress or distortion occurs in the light emitting unit 2 (laminated body 20), and it is possible to manufacture a highly reliable light emitting device having stable light emitting characteristics.
  • the sealing member 80 is formed so as to surround the first electrode 30. Therefore, the stacked body 20 can be double-sealed by the sealing member 80 and the first electrode 30 by performing junction down mounting of the light emitting element 1 on the second base 50. Thereby, the airtightness of the space in which the stacked body 20 is accommodated can be further enhanced.
  • FIG. 22 is a cross-sectional view schematically showing a light emitting device 310 according to a modification of the third embodiment.
  • the planar shape of the light emitting device 310 according to the modification of the third embodiment is the same as the planar shape of the light emitting device 300 shown in FIG.
  • the stacked body 20 has a plurality of columnar portions 4, and the light emitting portion 2 is different from the above-described light emitting device 300 in that it is composed of a plurality of columnar portions 4.
  • the light emitting element 1 is, for example, a semiconductor laser to which a nanostructure is applied.
  • the configuration of the light-emitting device 310 is the same as that of the light-emitting device 300 except that the light-emitting element 1 is the light-emitting element 1 (see FIG. 9) of the light-emitting device 110 described above.
  • the light emitting device 310 can achieve the same effects as the light emitting device 300 described above. Furthermore, the light emitting device 310 can have excellent light emission characteristics, similar to the light emitting device 110 described above.
  • FIG. 23 is a cross-sectional view schematically showing a light emitting device 400 according to the fourth embodiment.
  • the planar shape of the light emitting device 400 according to the fourth embodiment is the same as the planar shape of the light emitting device 300 shown in FIG.
  • the light emitting device 400 is provided between the first base 10 and the second base 50, and includes a sealing member 80 (second member) surrounding the first electrode 30 and the stacked body 20. ) Is different from the light-emitting device 200 described above.
  • the configuration of the light emitting device 400 is the same as the configuration of the light emitting device 300 (see FIG. 18) except that the configuration of the light emitting element 1 is the same as the configuration of the light emitting element 1 (see FIG. 13) of the light emitting device 200 described above. The description is omitted.
  • the light emitting device 400 can achieve the same effects as the light emitting device 300 described above.
  • the manufacturing method of the light emitting device 400 according to the fourth embodiment can be manufactured by combining the manufacturing method of the light emitting device 200 according to the second embodiment and the manufacturing method of the light emitting device 300 according to the third embodiment. .
  • the manufacturing method of the light emitting device 400 can achieve the same effects as the manufacturing method of the light emitting devices 200 and 300 described above.
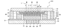
  • FIG. 24 is a cross-sectional view schematically showing a light emitting device 410 according to a modification of the fourth embodiment.
  • the planar shape of the light-emitting device 410 which concerns on the modification of 4th Embodiment is the same as the planar shape of the light-emitting device 300 shown in FIG. 19, and abbreviate
  • the stacked body 20 has a plurality of columnar portions 4, and the light emitting portion 2 is different from the above-described light emitting device 400 in that it is composed of a plurality of columnar portions 4.
  • the light emitting element 1 is, for example, a semiconductor laser to which a nanostructure is applied.
  • the configuration of the light-emitting device 410 is the same as that of the light-emitting device 400 except that the light-emitting element 1 is the light-emitting element 1 (see FIG. 17) of the light-emitting device 210 described above, and a description thereof is omitted.
  • the light emitting device 410 can achieve the same effects as the light emitting device 400 described above.
  • the light emitting device 410 can have excellent light emission characteristics, similar to the light emitting device 210 described above.
  • FIG. 25 is a cross-sectional view schematically showing a light emitting device 500 according to the fifth embodiment.
  • FIG. 26 is a plan view schematically showing a light emitting device 500 according to the fifth embodiment.
  • FIG. 25 is a sectional view taken along line XXV-XXV in FIG.
  • the first electrode 30 includes a space in which the stacked body 20 inside the first electrode 30 is accommodated, and the first electrode 30 and the sealing member 80. It differs from the light emitting device 400 in that a slit portion 32 that communicates with the space between the light emitting devices 400 is provided. That is, in the light emitting device 500, the stacked body 20 is not sealed by the first electrode 30 and is hermetically sealed only by the sealing member 80.
  • the first electrode 30 Since the slit portion 32 is formed in the first electrode 30, the first electrode 30 does not surround the laminate 20.
  • the first electrode 30 has a shape in which a part of the side wall of the rectangular tube is cut out.
  • the pressure applied to the laminated body 20 (light emitting part 2) at the time of mounting can be reduced.
  • the light emitting device 500 according to the fifth embodiment can achieve the same effects as the light emitting device 400 described above.
  • the manufacturing method of the light emitting device 500 according to the fifth embodiment is that the slit portion 32 is provided in the first electrode 30 and the gas is exhausted through the slit portion 32 in the light emitting device 400 according to the fourth embodiment described above. Different from the manufacturing method. Hereinafter, this difference will be described.
  • the slit portion 32 is formed in the first electrode 30 in the step of forming the first electrode 30 and the second electrode 40.
  • the space inside the first electrode 30 is exhausted through the slit portion 32 and replaced with an inert gas.
  • the first electrode 30 and the first wiring 60 are joined by the joining member 70 (conductive paste), and the second electrode 40 and the second wiring 62 are joined by the joining member 72 (conductive paste). Join.
  • gas is generated from the joining members 70 and 72 by baking the conductive paste.
  • the gas is exhausted from the space inside the first electrode 30 through the slit portion 32 and replaced with an inert gas.
  • the sealing member 80 is irradiated with a laser so that one end of the sealing member 80 is fused to the first base 10 and the other end of the sealing member 80 is fused to the second base 50. Thereby, the stacked body 20 and the first electrode 30 can be hermetically sealed.
  • the solvent is vaporized from the conductive paste to generate gas.
  • the stack 20 (light emitting unit 2) may be contaminated by this gas.
  • the slit portion 32 is not provided in the first electrode 30, the space in which the stacked body 20 is accommodated is hermetically sealed by firing the conductive paste, and gas generated from the conductive paste is sealed in this space. It will remain.
  • the gas generated from the conductive paste can be removed by providing the slit portion 32 in the first electrode 30. As a result, contamination of the stacked body 20 by gas can be reduced.
  • the method for manufacturing the light emitting device 500 according to the fifth embodiment can achieve the same effects as the method for manufacturing the light emitting device 400 according to the fourth embodiment.
  • the gas generated from the joining members 70 and 72 can be removed through the slit portion 32 in the mounting process. Therefore, contamination of the stacked body 20 (light emitting unit 2) due to the gas generated from the joining members 70 and 72 during mounting can be reduced.
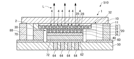
  • FIG. 27 is a cross-sectional view schematically showing a light emitting device 510 according to a modification of the fifth embodiment.
  • the planar shape of the light emitting device 510 according to the modification of the fifth embodiment is the same as the planar shape of the light emitting device 500 shown in FIG.
  • the stacked body 20 has a plurality of columnar portions 4, and the light emitting portion 2 is different from the light emitting device 500 described above in that it is composed of a plurality of columnar portions 4.
  • the light emitting element 1 is, for example, a semiconductor laser to which a nanostructure is applied.
  • the configuration of the light-emitting device 510 is the same as that of the light-emitting device 500 except that the light-emitting element 1 is the light-emitting element 1 (see FIG. 17) of the light-emitting device 210 described above.
  • the light emitting device 510 can achieve the same effects as the light emitting device 500 described above. Further, the light emitting device 510 can have excellent light emission characteristics, similar to the light emitting device 210 described above.
  • FIG. 28 is a diagram schematically showing a projector 900 according to the sixth embodiment.
  • the projector according to the present invention includes the light emitting device according to the present invention.
  • a projector 900 including the light emitting device 100 as the light emitting device according to the present invention will be described.
  • the projector 900 includes a housing (not shown), and a red light source 100R, a green light source 100G, and a blue light source 100B that emit red light, green light, and blue light provided in the housing.
  • Each of the red light source 100R, the green light source 100G, and the blue light source 100B includes, for example, a plurality of light emitting devices 100 arranged in an array in a direction orthogonal to the stacking direction, and the second substrate 50 is used as a common substrate in the plurality of light emitting devices 100. It is what.
  • the number of the light emitting devices 100 constituting each of the light sources 100R, 100G, and 100B is not particularly limited. For the sake of convenience, in FIG. 28, the casing that constitutes the projector 900 is omitted, and the light sources 100R, 100G, and 100B are simplified.
  • the projector 900 further includes lens arrays 902R, 902G, and 902B, transmissive liquid crystal light valves (light modulation devices) 904R, 904G, and 904B and a projection lens (projection device) 908 provided in the housing.
  • lens arrays 902R, 902G, and 902B transmissive liquid crystal light valves (light modulation devices) 904R, 904G, and 904B and a projection lens (projection device) 908 provided in the housing.
  • the light emitted from the light sources 100R, 100G, and 100B is incident on the lens arrays 902R, 902G, and 902B.
  • Light emitted from the light sources 100R, 100G, and 100B is collected by the lens arrays 902R, 902G, and 902B, and can be superimposed (partially superimposed), for example.
  • the liquid crystal light valves 904R, 904G, and 904B can be irradiated with good uniformity.
  • the light condensed by the lens arrays 902R, 902G, and 902B is incident on the liquid crystal light valves 904R, 904G, and 904B.
  • Each of the liquid crystal light valves 904R, 904G, and 904B modulates incident light according to image information.
  • the projection lens 908 enlarges and projects an image (image) formed by the liquid crystal light valves 904R, 904G, and 904B onto a screen (display surface) 910.
  • the projector 900 can include a cross dichroic prism (color light combining means) 906 that combines the light emitted from the liquid crystal light valves 904R, 904G, and 904B and guides the light to the projection lens 908.
  • a cross dichroic prism color light combining means
  • the three color lights modulated by the liquid crystal light valves 904R, 904G, and 904B are incident on the cross dichroic prism 906.
  • This prism is formed by bonding four right-angle prisms, and a dielectric multilayer film that reflects red light and a dielectric multilayer film that reflects blue light are arranged in a cross shape on the inner surface thereof.
  • These dielectric multilayer films combine the three color lights to form light representing a color image.
  • the synthesized light is projected onto the screen 910 by the projection lens 908 which is a projection optical system, and an enlarged image is displayed.
  • the light sources 100R, 100G, and 100B control the liquid crystal light valves 904R, 904G, and 904B by controlling (modulating) the light emitting devices 100 constituting the light sources 100R, 100G, and 100B as image pixels according to image information. You may form an image
  • the projection lens 908 may enlarge and project the image formed by the light sources 100R, 100G, and 100B onto the screen 910.
  • a transmissive liquid crystal light valve is used as the light modulation device, but a light valve other than liquid crystal may be used, or a reflective light valve may be used. Examples of such a light valve include a reflective liquid crystal light valve and a digital micromirror device (Digital Micromirror Device). Further, the configuration of the projection optical system is appropriately changed depending on the type of light valve used.
  • the light source 100R, 100G, 100B has scanning means that is an image forming apparatus that displays an image of a desired size on the display surface by causing the light from the light source 100R, 100G, 100B to scan on the screen.
  • the present invention can also be applied to a light source device of a simple scanning image display device (projector).
  • the light-emitting element 1 is junction-down mounted by bonding the second electrode 40 to the second base 50 (second wiring 62).
  • the body 20 is provided with a member (metal layer or the like) for transferring the heat generated in the light emitting unit 2 to the second base 50, and the light emitting element 1 is junction-down mounted by joining the member to the second base 50. May be.
  • the second electrode 40 may not be bonded to the second substrate 50. This modification can also be applied to the second to fifth embodiments described above.
  • the first electrode 30 is connected (bonded) to the second base body 50 by the bonding member 70 to hermetically seal the stacked body 20.
  • the pressure applied to the laminated body 20 during the mounting was reduced, but it was a member separate from the first electrode 30 and having one end connected to the first base 10 and the other end connected to the second base 50.
  • First member may be provided to reduce the pressure applied to the stacked body 20 during mounting.
  • the member does not necessarily have to be bonded (adhered) to the second base 50 and may be in contact with the second base 50 as long as the pressure applied to the stacked body 20 at the time of mounting can be reduced.
  • the member may be an insulating member. This modification can also be applied to the second to fifth embodiments described above.
  • Apps of the light-emitting device according to the present invention are not limited to the above-described embodiments, but besides projectors, indoor / outdoor lighting, display backlights, laser printers, scanners, in-vehicle lights, sensing devices using light, communication It can also be used as a light source for equipment and the like.
  • the present invention includes substantially the same configuration (for example, a configuration having the same function, method, and result, or a configuration having the same purpose and effect) as the configuration described in the embodiment.
  • the invention includes a configuration in which a non-essential part of the configuration described in the embodiment is replaced.
  • the present invention includes a configuration that exhibits the same operational effects as the configuration described in the embodiment or a configuration that can achieve the same object.
  • the invention includes a configuration in which a known technique is added to the configuration described in the embodiment.

Landscapes

  • Led Device Packages (AREA)
  • Semiconductor Lasers (AREA)
  • Projection Apparatus (AREA)
  • Led Devices (AREA)
PCT/JP2018/019841 2017-05-31 2018-05-23 発光装置、プロジェクター、および発光装置の製造方法 Ceased WO2018221351A1 (ja)

Priority Applications (2)

Application Number Priority Date Filing Date Title
CN201880034936.2A CN110678991B (zh) 2017-05-31 2018-05-23 发光装置、投影仪以及发光装置的制造方法
US16/618,088 US11239390B2 (en) 2017-05-31 2018-05-23 Light emitting apparatus, projector, method for manufacturing light emitting apparatus

Applications Claiming Priority (2)

Application Number Priority Date Filing Date Title
JP2017-108346 2017-05-31
JP2017108346A JP6972665B2 (ja) 2017-05-31 2017-05-31 発光装置、プロジェクター、および発光装置の製造方法

Publications (1)

Publication Number Publication Date
WO2018221351A1 true WO2018221351A1 (ja) 2018-12-06

Family

ID=64455337

Family Applications (1)

Application Number Title Priority Date Filing Date
PCT/JP2018/019841 Ceased WO2018221351A1 (ja) 2017-05-31 2018-05-23 発光装置、プロジェクター、および発光装置の製造方法

Country Status (4)

Country Link
US (1) US11239390B2 (enExample)
JP (1) JP6972665B2 (enExample)
CN (1) CN110678991B (enExample)
WO (1) WO2018221351A1 (enExample)

Cited By (2)

* Cited by examiner, † Cited by third party
Publication number Priority date Publication date Assignee Title
JP2023041231A (ja) * 2021-09-13 2023-03-24 セイコーエプソン株式会社 発光装置、プロジェクター、およびディスプレイ
WO2024161754A1 (ja) * 2023-01-31 2024-08-08 ウシオ電機株式会社 光源装置

Families Citing this family (4)

* Cited by examiner, † Cited by third party
Publication number Priority date Publication date Assignee Title
JP7147132B2 (ja) * 2017-05-31 2022-10-05 セイコーエプソン株式会社 発光装置、プロジェクター、および発光装置の製造方法
JP6954562B2 (ja) * 2017-09-15 2021-10-27 セイコーエプソン株式会社 発光装置およびその製造方法、ならびにプロジェクター
US20200091388A1 (en) 2018-09-19 2020-03-19 Vuereal Inc. Highly efficient microdevices
JP2021150373A (ja) * 2020-03-17 2021-09-27 セイコーエプソン株式会社 発光装置、プロジェクター、およびディスプレイ

Citations (6)

* Cited by examiner, † Cited by third party
Publication number Priority date Publication date Assignee Title
JP2007235122A (ja) * 2006-02-02 2007-09-13 Matsushita Electric Ind Co Ltd 半導体発光装置及びその製造方法
JP2008227404A (ja) * 2007-03-15 2008-09-25 Fuji Xerox Co Ltd 半導体素子および光学装置
JP2009252777A (ja) * 2008-04-01 2009-10-29 Nippon Telegr & Teleph Corp <Ntt> 光半導体素子の実装構造
JP2010153561A (ja) * 2008-12-25 2010-07-08 Nichia Corp 発光装置
WO2013161208A1 (ja) * 2012-04-27 2013-10-31 パナソニック株式会社 発光素子
US20150091042A1 (en) * 2013-09-27 2015-04-02 Seoul Viosys Co., Ltd. Light emitting diode chip and light emitting device having the same

Family Cites Families (16)

* Cited by examiner, † Cited by third party
Publication number Priority date Publication date Assignee Title
JP2000261088A (ja) 1999-03-05 2000-09-22 Hitachi Ltd 発光素子
KR100624419B1 (ko) * 2004-04-07 2006-09-19 삼성전자주식회사 나노와이어 발광소자 및 그 제조방법
US7022550B2 (en) * 2004-04-07 2006-04-04 Gelcore Llc Methods for forming aluminum-containing p-contacts for group III-nitride light emitting diodes
JP2008047850A (ja) 2006-07-19 2008-02-28 Mitsubishi Cable Ind Ltd 窒化物半導体発光ダイオード素子
US7786491B2 (en) * 2006-02-02 2010-08-31 Panasonic Corporation Semiconductor light-emitting device comprising a plurality of semiconductor layers
US20100038670A1 (en) * 2008-08-18 2010-02-18 Luminus Devices, Inc. Illumination assembly including chip-scale packaged light-emitting device
WO2010023921A1 (ja) 2008-09-01 2010-03-04 学校法人上智学院 半導体光素子アレイおよびその製造方法
WO2010033792A1 (en) * 2008-09-18 2010-03-25 Lumenz Llc Textured semiconductor light-emitting devices
CN101859824A (zh) * 2009-04-07 2010-10-13 山东璨圆光电科技有限公司 双回路电极设计的发光二极管芯片
JP5679117B2 (ja) * 2011-03-09 2015-03-04 セイコーエプソン株式会社 発光装置、照射装置、およびプロジェクター
JP2013042079A (ja) 2011-08-19 2013-02-28 Sharp Corp 半導体発光装置
JP2015056652A (ja) * 2013-09-13 2015-03-23 株式会社東芝 窒化物半導体発光装置
KR20150035111A (ko) * 2013-09-27 2015-04-06 서울바이오시스 주식회사 주변 발광부를 구비하는 발광다이오드 칩
US10910350B2 (en) * 2014-05-24 2021-02-02 Hiphoton Co., Ltd. Structure of a semiconductor array
CN204144306U (zh) * 2014-09-16 2015-02-04 惠州比亚迪实业有限公司 Led芯片
EP3323152B1 (en) * 2015-07-13 2021-10-27 Crayonano AS Nanowires/nanopyramids shaped light emitting diodes and photodetectors

Patent Citations (6)

* Cited by examiner, † Cited by third party
Publication number Priority date Publication date Assignee Title
JP2007235122A (ja) * 2006-02-02 2007-09-13 Matsushita Electric Ind Co Ltd 半導体発光装置及びその製造方法
JP2008227404A (ja) * 2007-03-15 2008-09-25 Fuji Xerox Co Ltd 半導体素子および光学装置
JP2009252777A (ja) * 2008-04-01 2009-10-29 Nippon Telegr & Teleph Corp <Ntt> 光半導体素子の実装構造
JP2010153561A (ja) * 2008-12-25 2010-07-08 Nichia Corp 発光装置
WO2013161208A1 (ja) * 2012-04-27 2013-10-31 パナソニック株式会社 発光素子
US20150091042A1 (en) * 2013-09-27 2015-04-02 Seoul Viosys Co., Ltd. Light emitting diode chip and light emitting device having the same

Cited By (3)

* Cited by examiner, † Cited by third party
Publication number Priority date Publication date Assignee Title
JP2023041231A (ja) * 2021-09-13 2023-03-24 セイコーエプソン株式会社 発光装置、プロジェクター、およびディスプレイ
JP7776817B2 (ja) 2021-09-13 2025-11-27 セイコーエプソン株式会社 発光装置、プロジェクター、およびディスプレイ
WO2024161754A1 (ja) * 2023-01-31 2024-08-08 ウシオ電機株式会社 光源装置

Also Published As

Publication number Publication date
JP6972665B2 (ja) 2021-11-24
JP2018206860A (ja) 2018-12-27
US11239390B2 (en) 2022-02-01
CN110678991A (zh) 2020-01-10
US20200152833A1 (en) 2020-05-14
CN110678991B (zh) 2022-12-23

Similar Documents

Publication Publication Date Title
JP7147132B2 (ja) 発光装置、プロジェクター、および発光装置の製造方法
CN111755580B (zh) 发光装置和投影仪
CN110678991B (zh) 发光装置、投影仪以及发光装置的制造方法
JP7056628B2 (ja) 発光装置およびプロジェクター
JP7136020B2 (ja) 発光装置およびプロジェクター
JP7017761B2 (ja) 発光装置、プロジェクター、およびディスプレイ
JP2020141048A (ja) 発光装置およびプロジェクター
JP7188690B2 (ja) プロジェクター
US8955987B2 (en) Light emitting device, super-luminescent diode, and projector
JP2019029516A (ja) 発光装置およびプロジェクター
JP2017138566A (ja) 光源装置、光源装置の製造方法およびプロジェクター
JP2020161621A (ja) 発光装置およびプロジェクター
JP2013239614A (ja) 発光装置の製造方法
JP2022011468A (ja) 発光装置およびプロジェクター
JP2017139444A (ja) 光源装置、光源装置の製造方法およびプロジェクター
JP2015162566A (ja) 発光装置およびその製造方法、並びにプロジェクター
JP7320794B2 (ja) 発光装置、プロジェクター、およびディスプレイ
JP7230901B2 (ja) 発光装置およびプロジェクター
JP2023041231A (ja) 発光装置、プロジェクター、およびディスプレイ
US20230140772A1 (en) Light-emitting device and projector
JP2022011467A (ja) 発光装置、プロジェクター、および発光装置の製造方法
CN114649740A (zh) 发光装置和投影仪
JP2022079897A (ja) 発光装置、プロジェクター、及び、発光装置の製造方法。
JP2023065944A (ja) 発光装置およびプロジェクター

Legal Events

Date Code Title Description
121 Ep: the epo has been informed by wipo that ep was designated in this application

Ref document number: 18809874

Country of ref document: EP

Kind code of ref document: A1

NENP Non-entry into the national phase

Ref country code: DE

122 Ep: pct application non-entry in european phase

Ref document number: 18809874

Country of ref document: EP

Kind code of ref document: A1