WO2018190132A1 - 顕微鏡システム、顕微鏡、処理装置、及び顕微鏡用カメラ - Google Patents

顕微鏡システム、顕微鏡、処理装置、及び顕微鏡用カメラ Download PDF

Info

Publication number
WO2018190132A1
WO2018190132A1 PCT/JP2018/012893 JP2018012893W WO2018190132A1 WO 2018190132 A1 WO2018190132 A1 WO 2018190132A1 JP 2018012893 W JP2018012893 W JP 2018012893W WO 2018190132 A1 WO2018190132 A1 WO 2018190132A1
Authority
WO
WIPO (PCT)
Prior art keywords
imaging
microscope
optical
image
distance
Prior art date
Legal status (The legal status is an assumption and is not a legal conclusion. Google has not performed a legal analysis and makes no representation as to the accuracy of the status listed.)
Ceased
Application number
PCT/JP2018/012893
Other languages
English (en)
French (fr)
Japanese (ja)
Inventor
山宮 広之
Current Assignee (The listed assignees may be inaccurate. Google has not performed a legal analysis and makes no representation or warranty as to the accuracy of the list.)
Yokogawa Electric Corp
Original Assignee
Yokogawa Electric Corp
Priority date (The priority date is an assumption and is not a legal conclusion. Google has not performed a legal analysis and makes no representation as to the accuracy of the date listed.)
Filing date
Publication date
Application filed by Yokogawa Electric Corp filed Critical Yokogawa Electric Corp
Priority to US16/604,150 priority Critical patent/US20200116990A1/en
Priority to CN201880023673.5A priority patent/CN110494787A/zh
Priority to EP18783910.5A priority patent/EP3611551A1/en
Publication of WO2018190132A1 publication Critical patent/WO2018190132A1/ja
Anticipated expiration legal-status Critical
Ceased legal-status Critical Current

Links

Images

Classifications

    • GPHYSICS
    • G02OPTICS
    • G02BOPTICAL ELEMENTS, SYSTEMS OR APPARATUS
    • G02B21/00Microscopes
    • G02B21/36Microscopes arranged for photographic purposes or projection purposes or digital imaging or video purposes including associated control and data processing arrangements
    • G02B21/365Control or image processing arrangements for digital or video microscopes
    • G02B21/367Control or image processing arrangements for digital or video microscopes providing an output produced by processing a plurality of individual source images, e.g. image tiling, montage, composite images, depth sectioning, image comparison
    • GPHYSICS
    • G02OPTICS
    • G02BOPTICAL ELEMENTS, SYSTEMS OR APPARATUS
    • G02B21/00Microscopes
    • G02B21/0004Microscopes specially adapted for specific applications
    • G02B21/002Scanning microscopes
    • G02B21/0024Confocal scanning microscopes (CSOMs) or confocal "macroscopes"; Accessories which are not restricted to use with CSOMs, e.g. sample holders
    • G02B21/0052Optical details of the image generation
    • G02B21/006Optical details of the image generation focusing arrangements; selection of the plane to be imaged
    • GPHYSICS
    • G02OPTICS
    • G02BOPTICAL ELEMENTS, SYSTEMS OR APPARATUS
    • G02B27/00Optical systems or apparatus not provided for by any of the groups G02B1/00 - G02B26/00, G02B30/00
    • G02B27/10Beam splitting or combining systems
    • GPHYSICS
    • G06COMPUTING OR CALCULATING; COUNTING
    • G06TIMAGE DATA PROCESSING OR GENERATION, IN GENERAL
    • G06T5/00Image enhancement or restoration
    • G06T5/50Image enhancement or restoration using two or more images, e.g. averaging or subtraction
    • GPHYSICS
    • G06COMPUTING OR CALCULATING; COUNTING
    • G06TIMAGE DATA PROCESSING OR GENERATION, IN GENERAL
    • G06T2207/00Indexing scheme for image analysis or image enhancement
    • G06T2207/10Image acquisition modality
    • G06T2207/10056Microscopic image

Definitions

  • the present invention relates to a microscope system, a microscope, a processing apparatus, and a microscope camera.
  • Patent Document 1 discloses an example in which an image is captured while moving a focal plane by moving a stage on which a sample to be observed by a microscope is moved by a motor or the like.
  • an inverted microscope that observes a sample to be observed from below is known as a microscope for observing a living organism. In this inverted microscope, the objective lens is moved up and down with a motor or the like with respect to the observation target and imaged.
  • phase contrast microscope image By recovering the phase from a plurality of images thus captured, an image similar to a phase contrast microscope image can be captured.
  • this method it is not necessary to use special illumination or an objective lens unlike conventional phase contrast microscopes, and a simple configuration is required.
  • contrast is stronger than phase contrast microscope images, and images suitable for image analysis are captured. be able to.
  • Patent Document 2 discloses an example in which focusing is controlled by moving an image sensor in addition to a lens (advancement / retraction movement).
  • Patent Document 3 discloses an example in which an image having a deep depth of field is synthesized by moving (moving forward and backward) an image sensor to capture a plurality of images.
  • Patent Document 1 discloses an example in which an imaging element is moved (advanced / retracted) in addition to a lens in order to control focusing.
  • Patent Document 3 discloses an example of synthesizing an image having a deep depth of field by capturing a plurality of images obtained by moving (advancing and retreating) an image sensor. I can't do it.
  • One aspect of the present invention has been made in view of the above circumstances, a microscope system, a microscope, a processing apparatus, and a microscope that can construct a phase-recovered image from microscope images having different focal planes with a simpler configuration than before. It is to provide a microscope camera.
  • one aspect of the present invention is a microscope system that is mounted on a microscope and includes a microscope camera that captures an image observed by the microscope, and the observation is performed through an imaging lens of the microscope.
  • An image sensor on which an image is incident and a plurality of images of the observation image having different optical distances from the imaging lens to the image sensor and having different focal planes using the image sensor
  • a microscope system including an imaging unit.
  • the microscope system includes a distance changing unit that can change an optical distance from the imaging lens to the imaging element, and the imaging unit is configured to perform the optical operation by the distance changing unit.
  • a plurality of images of the observation images having different optical distances are picked up using the image pickup device in response to a change in target distance.
  • the distance changing unit changes the optical distance by moving the image sensor in an optical axis direction from the imaging lens to the image sensor. .
  • the distance changing unit changes the optical distance by changing an optical system provided between the imaging lens and the imaging element.
  • the distance changing unit in the microscope system, can move an optical lens provided as the optical system between the imaging lens and the imaging element in the optical axis direction.
  • the optical distance is changed by moving the optical lens in the optical axis direction.
  • One embodiment of the present invention is the microscope system, wherein the distance changing unit inserts and removes an optical lens provided as the optical system between the imaging lens and the imaging element. By doing so, the optical distance is changed.
  • the microscope camera in the microscope system, is provided so as to be movable in an optical axis direction from the imaging lens to the imaging element, and the distance changing unit includes the microscope The optical distance is changed by relatively moving the camera or the imaging lens in the optical axis direction.
  • the microscope system includes a plurality of the imaging elements on which the observation image is incident via the imaging lens, and the plurality of imaging elements have different optical distances.
  • the imaging unit captures the images of the observation images having different optical distances simultaneously using the plurality of imaging elements.
  • the microscope system includes at least one beam splitter that causes the observation image to enter the plurality of imaging elements.
  • One embodiment of the present invention includes a stage on which an observation target is installed, an objective lens, an imaging lens that forms an image of the observation target incident through the objective lens, and the imaging lens.
  • An image pickup unit that picks up an image using an image pickup device; and an image processing unit that restores phase information of the observation image using the plurality of images picked up by the image pickup unit and enhances the contrast of the observation image.
  • Another embodiment of the present invention is a processing device that controls a microscope camera that is mounted on a microscope and captures an observation image obtained by the microscope, and is observed from the imaging lens of the microscope through the imaging lens.
  • a distance change control unit that performs control to change an optical distance to an image sensor on which an image is incident, and the optical distance is different depending on the change of the optical distance by the distance change control unit.
  • An imaging control unit that performs control to capture a plurality of images of the observation image, which are images of observation images and have different focal planes of the microscope, using the imaging device, and the plurality of images captured by the control of the imaging control unit
  • An image processing unit that restores the phase information of the observation image using a single image and enhances the contrast of the observation image.
  • the processing apparatus includes a magnification correction unit that corrects magnification of at least some of the captured images of the plurality of images obtained by capturing the observation images having different optical distances.
  • One embodiment of the present invention is a microscope camera that is mounted on a microscope and captures an observation image by the microscope, and the imaging element on which the observation image is incident through an imaging lens of the microscope;
  • An image pickup unit that picks up a plurality of images of the observation image having different optical distances from the imaging lens to the image pickup device, and having different focal planes of the microscope using the image pickup device; This is a microscope camera.
  • the microscope camera includes a distance changing unit that can change an optical distance from the imaging lens to the imaging element, and the imaging unit is configured to change the distance by the distance changing unit.
  • a plurality of images of the observation images having different optical distances are picked up using the image pickup device in accordance with the change in the optical distance.
  • the distance changing unit changes the optical distance by moving the image sensor in an optical axis direction from the imaging lens to the image sensor. To do.
  • One embodiment of the present invention is the above-described microscope camera, wherein the distance changing unit changes the optical distance by changing an optical system provided between the imaging lens and the imaging element. To do.
  • the distance changing unit can move an optical lens provided as the optical system between the imaging lens and the imaging element in the optical axis direction. Yes, the optical distance is changed by moving the optical lens in the optical axis direction.
  • One embodiment of the present invention is the microscope camera, wherein the distance changing unit inserts an optical lens provided as the optical system between the imaging lens and the imaging element into the optical system. The optical distance is changed by removing.
  • the microscope camera is provided so as to be movable in an optical axis direction from the imaging lens to the imaging element, and the distance changing unit includes the microscope camera or the connection.
  • the optical distance is changed by relatively moving the image lens in the optical axis direction.
  • the microscope camera includes a plurality of the imaging elements on which the observation image is incident through the imaging lens, and the plurality of imaging elements have different optical distances.
  • the imaging unit images the images of the observation images having different optical distances simultaneously using the plurality of imaging elements.
  • FIG. 3 is a detailed view showing an example of the configuration of a microscope camera according to the first embodiment.
  • 5 is a flowchart illustrating an example of a microscope image capturing process according to the first embodiment.
  • Explanatory drawing about the optical distance when the position of the image sensor which concerns on 1st Embodiment is an initial state.
  • Explanatory drawing about the optical distance when the image pick-up element which concerns on 1st Embodiment is moved to an optical axis direction (front).
  • Explanatory drawing about the optical distance when the image pick-up element which concerns on 1st Embodiment is moved to an optical axis direction (back).
  • the figure explaining the example which images simultaneously the image of the observation image from which the optical distance which concerns on 5th Embodiment differs differs.
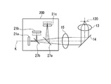
  • FIG. 1 is a diagram illustrating an example of a configuration of a microscope system 1 according to the first embodiment.
  • the illustrated microscope system 1 includes a microscope 10 that is a microscope body, a microscope camera 20 attached to the microscope 10, a processing device 30 that controls the microscope camera 20, and a monitor 40 attached to the processing device 30. ing.
  • the microscope 10 includes a transmission illumination 11, a sample stage 12, an objective lens 13, a bending mirror 14, and an imaging lens 15.
  • the transmitted illumination 11 irradiates the sample stage 12 with light for observation.
  • a sample to be observed with the microscope 10 is placed on the sample stage 12.
  • the objective lens 13 enlarges the image of the observation target installed on the sample stage 12.
  • the bending mirror 14 guides the parallel light of the observation target image magnified by the objective lens 13 to the imaging lens 15.
  • the parallel light guided from the objective lens 13 through the bending mirror 14 is imaged by the imaging lens 15.
  • the image of the observation object imaged by the imaging lens 15 is also referred to as an observation image.
  • an eyepiece lens is not attached after the imaging lens 15.
  • the microscope camera 20 is attached to the microscope 10 and captures an observation image incident from the microscope 10.
  • the microscope camera 20 shown in the figure includes an imaging element 21 on which an observation image is incident through the imaging lens 15 of the microscope 10.
  • the observation image is formed on the imaging surface of the imaging element 21 by the imaging lens 15.
  • the microscope camera 20 captures an image observed by the microscope 10 using the image sensor 21.
  • an alternate long and short dash line indicated by a symbol K indicates an optical axis of light incident on the image sensor 21 through the objective lens 13, the bending mirror 14, and the imaging lens 15, and the same applies to other drawings. It is.
  • FIG. 2 is a detailed diagram illustrating an example of the configuration of the microscope camera 20 according to the first embodiment.
  • the microscope camera 20 includes an imaging device 21, an imaging unit 22 that captures an image observed by the microscope 10 using the imaging device 21, and a distance changing unit that can change the optical distance from the imaging lens 15 to the imaging device 21. 23.
  • the distance changing unit 23 changes the optical distance from the imaging lens 15 to the image sensor 21 by moving the image sensor 21 in the optical axis direction.
  • the optical axis direction is a direction along the optical axis of light incident on the image sensor 21 via the imaging lens 15 (that is, the optical axis direction from the imaging lens 15 to the image sensor 21).
  • the optical axis direction includes both a direction in which the imaging element 21 approaches and a direction in which the imaging element 21 moves away from the imaging lens 15.
  • the distance changing unit 23 includes a linear guide 231, a stage unit 232, a ball screw 233, a fixed block 234, and a stepping motor 235.
  • the image sensor 21 is fixed to the stage portion 232 on the linear guide 231 and can be translated in the direction indicated by the arrow 100 (optical axis direction).
  • a fixed block 234 is connected to the linear guide 231, and a stepping motor 235 is fixed to the fixed block 234.
  • a ball screw 233 is rotatably supported on the fixed block 234 by a bearing (not shown).
  • the ball screw 233 is connected to the stepping motor 235 by a coupling (not shown).
  • a ball nut (not shown) is disposed inside the stage portion 232 and is screwed with the ball screw 233.
  • the ball screw 233 is rotated by driving the stepping motor 235, and the image sensor 21 is translated along with the stage portion 232 in the direction (optical axis direction) indicated by the arrow 100.
  • the imaging unit 22 that captures an image using the imaging element 21 and the stepping motor 235 are connected to the processing device 30.
  • the processing device 30 is a computer device used by a user, and a PC (Personal Computer), a tablet PC, a mobile phone such as a smartphone or a feature phone, a personal digital assistant (PDA: Personal Digital Assistant), or the like can be applied.
  • PC Personal Computer
  • PDA Personal Digital Assistant
  • the processing device 30 moves the imaging device 21 in the optical axis direction by controlling the imaging unit 22 and the stepping motor 235 of the microscope camera 20.
  • the processing device 30 translates the image pickup device 21 in the optical axis direction, and obtains a plurality of images of observation images having different optical distances from the imaging lens 15 to the image pickup device 21 (that is, different focal planes).
  • the microscope camera 20 is controlled so as to capture an image.
  • the processing device 30 constructs (generates) a captured image (phase recovered image) obtained by recovering (restoring) the phase information from a plurality of images having different optical distances.
  • FIG. 3 is a flowchart illustrating an example of the microscope image capturing process according to the first embodiment.
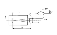
  • FIG. 4 is an explanatory diagram of the optical distance when the position of the image sensor 21 is in the initial state.
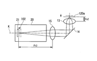
  • 5 and 6 are explanatory diagrams of the optical distance when the image sensor 21 is moved in the optical axis direction.
  • Step S100 First, the light from the transmission illumination 11 illuminates the sample placed on the sample stage 12.
  • the light that has passed through the sample is incident on the objective lens 13, changed in direction by the bending mirror 14, and incident on the imaging element 21 of the microscope camera 20 by the imaging lens 15.
  • an enlarged image is formed on the image sensor 21.
  • the position of the image sensor 21 is at a preset position, and when the sample is placed on the stage 7, the image sensor 21 is adjusted so that the sample generally comes to the focal plane.
  • the observer manually moves the position of the objective lens 13 of the microscope 10 while taking an image of the image sensor 21 to focus.
  • the distance from the principal point of the imaging lens 15 to the image sensor 21 is Ft0
  • the distance from the principal point of the objective lens 13 to the focal plane 120 is Fo0
  • the magnification is Ft0 / Fo0 (see FIG. 4).
  • Step S102 In this initial state, the processing device 30 causes the microscope camera 20 to capture an image of an observation image obtained by the microscope 10.
  • Step S104 Next, as shown in FIG. 5, the processing device 30 captures an image from the initial state to the front (in the direction of the arrow 101) from the initial state by a predetermined amount set in advance according to the objective lens 13 being used.
  • the stepping motor 235 is driven so that the element 21 moves in translation.
  • the distance from the principal point of the imaging lens 15 to the image sensor 21 is Ft1
  • the distance from the principal point of the objective lens 13 to the focal plane 120a is Fo1. Therefore, the enlargement magnification is Ft1 / Fo1, and the enlargement magnification is slightly smaller than that in the initial state shown in FIG.
  • the focus may be finely adjusted using an autofocus function provided in the microscope camera 20 using the contrast of the observation image.
  • Step S106 The processing device 30 causes the microscope camera 20 to capture an image of an observation image by the microscope 10 in a state where the imaging element 21 is translated forward.
  • Step S108 Next, as shown in FIG. 6, the processing device 30 captures an image from the initial state to the rear (in the direction of the arrow 102) by a predetermined amount set in advance according to the objective lens 13 being used.
  • the stepping motor 235 is driven so that the element 21 moves in translation.
  • the distance from the principal point of the imaging lens 15 to the image sensor 21 is Ft2
  • the distance from the principal point of the objective lens 13 to the focal plane 120b is Fo2. Therefore, the enlargement magnification is Ft2 / Fo2, and the enlargement magnification is slightly larger than that in the initial state shown in FIG. 4 (see FIG. 6).
  • the focus may be finely adjusted using an autofocus function provided in the microscope camera 20 using the contrast of the observation image.
  • Step S110 Then, the processing device 30 causes the microscope camera 20 to capture an image of an observation image by the microscope 10 in a state where the image sensor 21 is translated backward.
  • Step S112 Next, among the images captured in Steps S102, S106, and S110, the images captured in Steps S106 and S110 are slightly different in magnification from the image captured in Step S102.
  • the processing device 30 corrects those magnifications. For example, the processing device 30 corrects the image captured in steps S106 and S110 to be the same magnification as the image captured in step S102 by enlarging or reducing the image. Specifically, the processing device 30 enlarges the image captured in step S106 so as to have the same magnification as the image captured in step S102. In addition, the processing device 30 reduces the image captured in step S110 so as to have the same magnification as the image captured in step S102.
  • Step S112 Subsequently, the processing device 30 performs a Fourier transform process, an image calculation process, and an inverse Fourier transform process as described in the prior art document on each image captured in steps S102, S106, and S110. And a phase-recovered image whose phase is recovered (restored) is constructed. Then, the processing device 30 stores the constructed phase recovery image in the storage device and displays it on the monitor 40.
  • the storage device may be built in the processing device 30 or an external device connected by a cable or the like. The storage device may be connected to the processing device 30 via the Internet.
  • the processing device 30 may drive the stepping motor 235 to obtain the initial position of the image sensor 21 that maximizes the contrast of the image.
  • FIG. 7 is a block diagram illustrating an example of the functional configuration of the processing device 30 according to the first embodiment.
  • the illustrated processing device 30 includes a CPU (Central Processing Unit) 31, a storage unit 32, an input unit 33, a display output unit 34, and a communication unit 35. These components are connected via a bus so that they can communicate with each other.
  • the CPU 31 executes various programs stored in the storage unit 32 and controls each unit of the processing device 30.
  • the storage unit 32 includes, for example, an HDD (Hard Disk Drive), an SSD (Solid State Drive), an EEPROM (Electrically Erasable Programmable Read-Only Memory), and a ROM (Read-Only Memory).
  • Various information, images, programs, and the like processed by the processing device 30 are stored.
  • the storage unit 32 is not limited to a built-in unit in the processing device 30 and may be an external storage device connected by a digital input / output port such as a USB.
  • the input unit 33 is a keyboard, a mouse, a touch pad, a microphone to which various instructions are input by voice, or the like.
  • the input unit 33 may be integrated with the display of the monitor 40 as a touch panel.
  • the display output unit 34 outputs information to be displayed on the monitor 40.
  • the communication unit 35 is connected to the microscope camera 20 in a wired or wireless manner, and transmits or receives various data to and from the microscope camera 20.
  • the communication unit 35 transmits control information for controlling the microscope camera 20 or receives image data of an image captured by the microscope camera 20.
  • the processing device 30 may include a speaker (not shown), an audio output terminal, and the like.
  • the processing device 30 includes a distance change control unit 311, an imaging control, and the like as a functional configuration realized by the CPU 31 executing a control program (a program for controlling the microscope camera 20) stored in the storage unit 32.
  • the distance change control unit 311 performs control to change the optical distance from the imaging lens 15 of the microscope 10 to the image sensor 21 through which the observation image is incident via the imaging lens 15. For example, the distance change control unit 311 changes the optical distance from the imaging lens 15 to the image sensor 21 by driving the stepping motor 235 to move (translate) the image sensor 21 in the optical axis direction.
  • the imaging control unit 312 controls the imaging unit 22 in accordance with the change of the optical distance by the distance change control unit 311 to capture a plurality of images of observation images having different optical distances.
  • the magnification correction unit 313 corrects the magnification of at least some of the captured images among the plurality of images obtained by capturing observation images having different optical distances. For example, the magnification correction unit 313 picks up the image obtained by moving the image sensor 21 forward (translational movement) in the optical axis direction from the position in the initial state and moves backward (translational movement) in the optical axis direction. The image is enlarged or reduced so as to have the same magnification as the image captured at the initial position. Specifically, the magnification correction unit 313 sets an image captured by moving the image sensor 21 forward (translational movement) from the position in the initial state in the optical axis direction to the same magnification as the image captured at the position in the initial state. Enlarge to become. In addition, the magnification correction unit 313 reduces an image captured by moving backward (translational movement) in the optical axis direction so that the image has the same magnification as the image captured at the initial position.
  • the image processing unit 314 performs image processing from a plurality of images (for example, images after correction by the magnification correction unit 313) obtained by imaging observation images having different optical distances from the imaging lens 15 of the microscope 10 to the imaging element 21.
  • a plurality of images for example, images after correction by the magnification correction unit 313
  • the phase information is recovered (restored), and a captured image (phase recovered image) with enhanced contrast is constructed (generated).
  • the microscope camera 20 is a camera that is attached to the microscope 10 and captures an observation image by the microscope 10, and is connected via the imaging lens 15 of the microscope 10.
  • a plurality of images of the observation image having different optical distances from the imaging lens 15 to the imaging device 21 are picked up using the imaging device 21.
  • An imaging unit 22 is included in the microscope camera 20.
  • the microscope camera 20 includes a distance changing unit 23 that can change the optical distance from the imaging lens 15 to the imaging element 21, and the imaging unit 22 changes the optical distance by the distance changing unit 23. Accordingly, a plurality of images of observation images having different optical distances are picked up using the image pickup device 21.
  • the distance changing unit 23 moves (translates) the image sensor 21 in the optical axis direction (both directions along the optical axis) from the imaging lens 15 to the image sensor 21, thereby changing the optical distance. change.
  • the processing device 30 includes an image processing unit 314 that restores phase information of an observation image using a plurality of images captured by the imaging unit 22 of the microscope camera 20 and enhances the contrast of the observation image. ing.
  • the microscope camera 20 translates the image sensor 21 in the optical axis direction, thereby allowing a plurality of focal planes to be observed using the general-purpose microscope 10 without driving the stage of the microscope 10 or the like.
  • An image can be captured. Therefore, according to the present embodiment, for example, it is only necessary to mount the microscope camera 20 on an inexpensive manual microscope. Can be built.
  • conventional motorized microscopes are generally expensive, and it is expensive to configure a system that captures a microscope image by controlling a camera for imaging while sending a signal for controlling the electric microscope from the outside. There was a problem of becoming. However, in this embodiment, since a phase recovery image can be constructed from images (microscopic images) of observation images having different focal planes with a simple configuration, an inexpensive system can be obtained.
  • the processing device 30 that controls the microscope camera 20 includes a distance change control unit 311 that performs control to change the optical distance from the imaging lens 15 of the microscope 10 to the image pickup device 21, and an optical system using the distance change control unit 311. And an imaging control unit 312 that performs control to capture a plurality of images of observation images having different optical distances using the imaging device 21 in accordance with the change of the target distance.
  • the distance change control unit 311 controls the optical distance by moving (translating) the image sensor 21 in the optical axis direction (both directions along the optical axis) from the imaging lens 15 to the image sensor 21. To change.
  • the processing device 30 changes the optical distance from the imaging lens 15 of the microscope camera 20 to the image sensor 21 (for example, by translating the image sensor 21 in the optical axis direction).
  • a plurality of images (microscopic images) of observation images having different focal planes can be captured. Therefore, according to the present embodiment, it is possible to acquire images (microscope images) of observation images having different focal planes using only the microscope camera 20 as a control target using the general-purpose microscope 10. Therefore, according to the present embodiment, it is possible to construct a phase-recovered image from observation image images (microscopic images) having different focal planes with a simpler and less expensive configuration than in the past.
  • the processing device 30 restores phase information by image processing from a plurality of images obtained by imaging observation images having different optical distances from the imaging lens 15 of the microscope 10 to the imaging device 21, and performs imaging with enhanced contrast.
  • An image processing unit 314 for constructing an image is provided.
  • the processing device 30 can construct a phase-recovered image with contrast from observation image images (microscopic images) having different focal planes with a simpler and less expensive configuration than the conventional one.
  • the processing device 30 includes a magnification correction unit 315 that corrects the magnification of at least some of the captured images of the plurality of images obtained by capturing observation images having different optical distances.
  • the processing device 30 can suppress the influence due to the magnification change between captured images caused by different focal planes, and a fine image can be obtained.
  • the image sensor 21 is moved (translated) in the optical axis direction as a method of changing the optical distance from the imaging lens 15 to the image sensor 21.
  • the optical distance from the imaging lens 15 to the imaging device 21 is changed by changing the optical system provided between the imaging lens 15 and the imaging device 21. .
  • FIG. 8 is a diagram for explaining an example of changing the optical distance from the imaging lens 15 to the image sensor 21 according to the second embodiment.
  • the microscope camera 20A shown in the drawing is provided with an optical system including variable power optical elements 25a and 25b for changing the focal length between the imaging lens 15 and the image sensor 21 in the first embodiment. Unlike the microscope camera 20, the other configurations are the same.
  • the microscope camera 20 ⁇ / b> A moves an optical system (variable magnification optical elements 25 a and 25 b) provided between the imaging lens 15 and the imaging element 21 to move from the imaging lens 15 to the imaging element 21.
  • a distance changing unit 23A capable of changing the optical distance is provided.
  • the distance changing unit 23A includes a stepping motor (not shown), a linear guide, and the like corresponding to each of the variable magnification optical elements 25a and 25b so as to be movable in the optical axis direction (the direction of the arrow 103 shown). Yes.
  • the processing device 30 moves the variable power optical elements 25a and 25b independently in the optical axis direction by independently driving stepping motors corresponding to the variable power optical elements 25a and 25b.
  • the processing device 30 can change the focal plane for the observation image by translating each of the variable magnification optical elements 25a and 25b to an arbitrary position in the optical axis direction.
  • the optical lenses (variable magnification optical elements 25a and 25b) provided as an optical system between the imaging lens 15 and the imaging element 21 move in the optical axis direction.
  • the optical distance from the imaging lens 15 to the image sensor 21 is changed by moving the optical lens in the optical axis direction (translational movement).
  • the microscope camera 20A translates the optical system (variable magnification optical elements 25a and 25b) between the imaging lens 15 and the imaging element 21 in the direction of the optical axis, and is the same as in the first embodiment.
  • a phase recovery image can be constructed.
  • the optical distance from the imaging lens 15 to the imaging device 21 is changed by changing the optical system provided between the imaging lens 15 and the imaging device 21.
  • the method of changing the optical system is different.
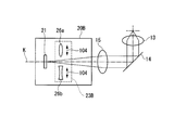
  • FIG. 9 is a diagram illustrating an example of changing the optical distance from the imaging lens 15 to the image sensor 21 according to the third embodiment.
  • the illustrated microscope camera 20B includes an optical system including variable magnification optical elements 26a and 26b for changing the focal length between the imaging lens 15 and the image pickup element 21. This is different from the microscope camera 20A of the second embodiment in that it can be inserted and removed. Inserting and removing from the optical system means that the variable magnification optical elements 26a and 26b are placed in a range of light in which the observation image enters the imaging element 21 via the imaging lens 15 (a predetermined range centered on the optical axis).
  • the distance changing unit 23B includes an actuator (not shown), a linear guide, and the like corresponding to each of the variable magnification optical elements 26a and 26b so that they can be inserted into and removed from the optical system.
  • the processing device 30 drives the actuators corresponding to the variable power optical elements 26a and 26b independently to insert and remove the variable power optical elements 26a and 26b from the optical system. That is, the processing device 30 can insert and remove each of the variable magnification optical elements 25a and 25b with respect to the optical system, and can change the focal plane for the observation image.
  • the microscope camera 20B uses the variable power optical elements 26a and 26b (an example of an optical lens) provided as an optical system between the imaging lens 15 and the imaging element 21 as an optical system.
  • the optical distance from the imaging lens 15 to the image sensor 21 is changed by inserting and removing.
  • the microscope camera 20B inserts and removes the optical system (variable magnification optical elements 26a and 26b) between the imaging lens 15 and the image pickup element 21 with respect to the optical system, whereby the first and second embodiments are implemented.
  • the optical system variable magnification optical elements 26a and 26b
  • observation images having different optical distances from the imaging lens 15 to the image sensor 21 that is, different focal planes
  • the observation image (microscope image) having a different focal plane can be obtained with a simpler and less expensive configuration than the conventional one.
  • a phase recovery image can be constructed.
  • FIG. 10 is a diagram for explaining an example of changing the optical distance from the imaging lens 15 to the image sensor 21 according to the fourth embodiment.
  • the microscope camera 20C shown in the figure is provided so as to be movable (translatable) in the optical axis direction (both directions along the optical axis) from the imaging lens 15 to the imaging device 21.
  • the processing device 30 moves (translates) the main body of the microscope camera 20C relative to the imaging lens 15 in the direction of the optical axis (in the direction of the arrow 105) by driving an actuator (not shown). Move).
  • the imaging lens 15 is moved relative to the microscope camera 20C in the optical axis direction. Accordingly, the optical distance from the imaging lens 15 to the image sensor 21 may be changed.
  • the optical distance from the imaging lens 15 to the image sensor 21 is obtained by relatively translating the main body of the microscope camera 20C or the imaging lens 15 in the optical axis direction. To change.
  • the microscope camera 20C can capture images of observation images having different optical distances from the imaging lens 15 to the image sensor 21 (that is, different focal planes), as in the first to third embodiments. become. Therefore, according to the present embodiment, since it is only necessary to attach the camera 20C for the present microscope to an inexpensive manual microscope, for example, from an image of an observation image (microscope image) having a different focal plane with a simpler and less expensive configuration than before. A phase recovery image can be constructed.
  • FIG. 11 is a diagram for explaining an example of simultaneously capturing a plurality of images of observation images having different optical distances according to the fifth embodiment.
  • the microscope camera 20D shown in the figure includes three image sensors 21a, 21b, and 21c, and beam splitters 27a and 27b.
  • the child optical path is branched by the beam splitters 27a and 27b.
  • the beam splitters 27a and 27b are, for example, pellicle beam splitters, which are formed of a thin cellulose film or the like and have a feature that does not generate a ghost image generated by an optical element having a normal thickness.
  • the beam splitters 27a and 27b are installed in the order of the beam splitters 27a and 27b on the optical axis from the imaging lens 15 to the imaging device 21a.
  • the beam splitter 27a reflects 1 / of the light incident from the imaging lens 15 upward (in the direction in which the imaging element 21c is installed) in FIG. 11, and the remaining light is reflected to the left (the beam splitter 27b and the imaging). The light is transmitted in the direction in which the element 21a is installed.
  • the beam splitter 27b is installed between the beam splitter 27a and the image sensor 21a, reflects 50% of the light transmitted through the beam splitter 27a upward (in the direction in which the image sensor 21b is installed), and the remaining 50 % Light is transmitted to the left (the direction in which the image sensor 21a is installed).
  • the image pickup device 21c is arranged farther from the imaging lens 15 than the image pickup device 21a, and the image pickup device 21b is arranged closer to the imaging lens 15 than the image pickup device 21a. That is, in this embodiment, images of observation images having different optical distances from the imaging lens 15 to the image sensor 21 (that is, different focal planes) are simultaneously obtained using the three image sensors 21a, 21b, and 21c. Imaging is possible.
  • the microscope camera 20D includes the plurality of imaging elements 21a, 21b, and 21c on which the observation image is incident via the imaging lens 15.
  • the microscope camera 20D includes a plurality of beam splitters 27a and 27b that allow an observation image to be incident on the plurality of imaging elements 21a, 21b, and 21c.
  • the plurality of image pickup devices 21a, 21b, and 21c are provided so that the optical distances from the imaging lens 15 to the image pickup device 21 are different.
  • the imaging unit 22 of the microscope camera 20D simultaneously captures images of observation images having different optical distances using the plurality of imaging elements 21a, 21b, and 21c.
  • images of observation images having different optical distances can be obtained without changing the optical distance in time series as in the first to fourth embodiments.
  • images can be captured simultaneously.
  • it is possible to reduce the time required for imaging.
  • the structure which moves an image pick-up element, an optical system, or the camera body for microscopes etc. is unnecessary, it can be set as a simple structure and can also reduce the load of failure and precision management.
  • the processing apparatus 30 has described the example of constructing the phase recovery image in which the phase information is restored from the images of the observation images having different optical distances (that is, different focal planes).
  • the microscope cameras 20, 20A, 20B, 20C, and 20D may perform this.
  • the microscope cameras 20, 20 ⁇ / b> A, 20 ⁇ / b> B, 20 ⁇ / b> C, and 20 ⁇ / b> D can enhance the contrast of the observation image by constructing the phase recovery image.
  • the microscope cameras 20, 20 ⁇ / b> A, 20 ⁇ / b> B, 20 ⁇ / b> C, and 20 ⁇ / b> D may be configured as a phase contrast microscope integrated with the microscope 10.
  • This phase-contrast microscope includes, for example, a sample stage 12 on which an observation target is set, an objective lens 13, an imaging lens 15 that forms an image of the observation target incident through the objective lens 13, and an imaging lens.
  • the imaging element 21 that receives the observation image formed by the image 15 and the imaging unit 22 that uses the imaging element 21 to capture images of a plurality of observation images having different optical distances from the imaging lens 15 to the imaging element 21. And at least. Any of the first to fifth embodiments can be applied as means for capturing images of a plurality of observation images having different optical distances.
  • the processing apparatus 30 in embodiment mentioned above may make it implement
  • a program for realizing the above-described function is recorded on a computer-readable recording medium, and the program recorded on the recording medium is read into a computer system and executed to realize the above-described function.
  • the “computer system” is a computer system built in the processing device 30 and includes an OS and hardware such as peripheral devices.
  • the “computer system” includes a homepage providing environment (or display environment) if a WWW system is used.
  • the “computer-readable recording medium” refers to a storage device such as a flexible medium, a magneto-optical disk, a portable medium such as a ROM or a CD-ROM, and a hard disk incorporated in a computer system.
  • the “computer-readable recording medium” is a medium that dynamically holds a program for a short time, such as a communication line when transmitting a program via a network such as the Internet or a communication line such as a telephone line, In this case, a volatile memory inside a computer system that serves as a server or a client may be included that holds a program for a certain period of time.
  • the program may be a program for realizing a part of the functions described above, and may be a program capable of realizing the functions described above in combination with a program already recorded in a computer system.
  • a part or all of the processing device 30 in the above-described embodiment may be realized as an integrated circuit such as an LSI (Large Scale Integration).
  • LSI Large Scale Integration
  • Each functional block of the processing device 30 may be individually made into a processor, or a part or all of them may be integrated into a processor.
  • the method of circuit integration is not limited to LSI, and may be realized by a dedicated circuit or a general-purpose processor.
  • an integrated circuit based on the technology may be used.
  • unit is used to indicate a component, unit, hardware, or a portion of software programmed to perform a desired function.
  • Typical examples of hardware are devices and circuits, but are not limited to these.

Landscapes

  • Physics & Mathematics (AREA)
  • General Physics & Mathematics (AREA)
  • Engineering & Computer Science (AREA)
  • Optics & Photonics (AREA)
  • Multimedia (AREA)
  • Chemical & Material Sciences (AREA)
  • Analytical Chemistry (AREA)
  • Computer Vision & Pattern Recognition (AREA)
  • Theoretical Computer Science (AREA)
  • Microscoopes, Condenser (AREA)
PCT/JP2018/012893 2017-04-13 2018-03-28 顕微鏡システム、顕微鏡、処理装置、及び顕微鏡用カメラ Ceased WO2018190132A1 (ja)

Priority Applications (3)

Application Number Priority Date Filing Date Title
US16/604,150 US20200116990A1 (en) 2017-04-13 2018-03-28 Microscope system, microscope, processing device, and camera for microscope
CN201880023673.5A CN110494787A (zh) 2017-04-13 2018-03-28 显微镜系统、显微镜、处理装置以及显微镜用照相机
EP18783910.5A EP3611551A1 (en) 2017-04-13 2018-03-28 Microscope system, microscope, processing device, and camera for microscopes

Applications Claiming Priority (2)

Application Number Priority Date Filing Date Title
JP2017079985A JP2018180296A (ja) 2017-04-13 2017-04-13 顕微鏡システム、顕微鏡、処理装置、及び顕微鏡用カメラ
JP2017-079985 2017-04-13

Publications (1)

Publication Number Publication Date
WO2018190132A1 true WO2018190132A1 (ja) 2018-10-18

Family

ID=63792686

Family Applications (1)

Application Number Title Priority Date Filing Date
PCT/JP2018/012893 Ceased WO2018190132A1 (ja) 2017-04-13 2018-03-28 顕微鏡システム、顕微鏡、処理装置、及び顕微鏡用カメラ

Country Status (5)

Country Link
US (1) US20200116990A1 (enExample)
EP (1) EP3611551A1 (enExample)
JP (1) JP2018180296A (enExample)
CN (1) CN110494787A (enExample)
WO (1) WO2018190132A1 (enExample)

Families Citing this family (2)

* Cited by examiner, † Cited by third party
Publication number Priority date Publication date Assignee Title
US11857151B2 (en) * 2018-09-12 2024-01-02 Steris Instrument Management Services, Inc. Systems and methods for standalone endoscopic objective image analysis
JP7227604B2 (ja) * 2019-03-20 2023-02-22 株式会社日立ハイテクサイエンス 三次元形状測定方法および三次元形状測定装置

Citations (12)

* Cited by examiner, † Cited by third party
Publication number Priority date Publication date Assignee Title
JPH075370A (ja) * 1993-06-14 1995-01-10 Nikon Corp 多数面同時測定顕微鏡装置
JPH07333511A (ja) * 1994-06-08 1995-12-22 Nikon Corp 顕微鏡
JPH0829668A (ja) 1994-07-18 1996-02-02 Olympus Optical Co Ltd 光学素子移動装置
US20020044346A1 (en) * 2000-01-21 2002-04-18 Nguyen Lam K. Multiparallel three dimensional optical microscopy system
US6433325B1 (en) * 1999-08-07 2002-08-13 Institute Of Microelectronics Apparatus and method for image enhancement
JP2002529689A (ja) 1998-11-02 2002-09-10 ザ ユニバーシティ オブ メルボルン 放射波動場の位相決定
JP2003078802A (ja) 2001-09-04 2003-03-14 Nippon Hoso Kyokai <Nhk> 撮像装置
JP2008102294A (ja) * 2006-10-18 2008-05-01 Olympus Corp 位相物体の可視化方法とその顕微鏡システム
WO2008069220A1 (ja) * 2006-11-30 2008-06-12 Nikon Corporation 結像装置及び顕微鏡
JP2011007872A (ja) * 2009-06-23 2011-01-13 Olympus Corp 観察装置、及び倍率補正方法
JP2013084152A (ja) * 2011-10-11 2013-05-09 Acutelogic Corp 全焦点画像生成方法、全焦点画像生成装置、全焦点画像生成プログラム、被写体高さ情報取得方法、被写体高さ情報取得装置及び被写体高さ情報取得プログラム
JP2016180675A (ja) * 2015-03-24 2016-10-13 オリンパス株式会社 光検出機構、アライメント機構、観測システム、及び観測方法

Family Cites Families (4)

* Cited by examiner, † Cited by third party
Publication number Priority date Publication date Assignee Title
CN102981261B (zh) * 2012-11-30 2015-03-11 山东大学 一种激光相干衍射显微成像装置及应用
JP6010450B2 (ja) * 2012-12-20 2016-10-19 浜松ホトニクス株式会社 光観察装置及び光観察方法
JP5376076B1 (ja) * 2013-01-22 2013-12-25 株式会社高岳製作所 共焦点スキャナおよびそれを用いた光学的計測装置
CN104089573B (zh) * 2014-07-03 2017-03-15 佛山市南海区欧谱曼迪科技有限责任公司 基于正交偏振光的多通道白光共路干涉显微层析系统

Patent Citations (12)

* Cited by examiner, † Cited by third party
Publication number Priority date Publication date Assignee Title
JPH075370A (ja) * 1993-06-14 1995-01-10 Nikon Corp 多数面同時測定顕微鏡装置
JPH07333511A (ja) * 1994-06-08 1995-12-22 Nikon Corp 顕微鏡
JPH0829668A (ja) 1994-07-18 1996-02-02 Olympus Optical Co Ltd 光学素子移動装置
JP2002529689A (ja) 1998-11-02 2002-09-10 ザ ユニバーシティ オブ メルボルン 放射波動場の位相決定
US6433325B1 (en) * 1999-08-07 2002-08-13 Institute Of Microelectronics Apparatus and method for image enhancement
US20020044346A1 (en) * 2000-01-21 2002-04-18 Nguyen Lam K. Multiparallel three dimensional optical microscopy system
JP2003078802A (ja) 2001-09-04 2003-03-14 Nippon Hoso Kyokai <Nhk> 撮像装置
JP2008102294A (ja) * 2006-10-18 2008-05-01 Olympus Corp 位相物体の可視化方法とその顕微鏡システム
WO2008069220A1 (ja) * 2006-11-30 2008-06-12 Nikon Corporation 結像装置及び顕微鏡
JP2011007872A (ja) * 2009-06-23 2011-01-13 Olympus Corp 観察装置、及び倍率補正方法
JP2013084152A (ja) * 2011-10-11 2013-05-09 Acutelogic Corp 全焦点画像生成方法、全焦点画像生成装置、全焦点画像生成プログラム、被写体高さ情報取得方法、被写体高さ情報取得装置及び被写体高さ情報取得プログラム
JP2016180675A (ja) * 2015-03-24 2016-10-13 オリンパス株式会社 光検出機構、アライメント機構、観測システム、及び観測方法

Also Published As

Publication number Publication date
JP2018180296A (ja) 2018-11-15
CN110494787A (zh) 2019-11-22
EP3611551A1 (en) 2020-02-19
US20200116990A1 (en) 2020-04-16

Similar Documents

Publication Publication Date Title
JP5755188B2 (ja) 撮像装置およびレンズ装置
CN108377342B (zh) 双摄像头拍照方法、装置、存储介质及终端
US11988851B2 (en) Lens system with optical actuator
JP2013246313A (ja) カメラおよび携帯端末装置
JP2012095186A (ja) 電子機器
US11695896B2 (en) Synthetically enlarged camera aperture
JP2012065257A (ja) 顕微鏡用撮像装置
JP2009145645A (ja) 光学機器
JP6300606B2 (ja) 顕微鏡システム
JP6061619B2 (ja) 顕微鏡システム
WO2014041820A1 (ja) 顕微鏡
JP2018046535A (ja) 撮像装置
WO2018190132A1 (ja) 顕微鏡システム、顕微鏡、処理装置、及び顕微鏡用カメラ
JP2018148383A (ja) 撮像装置および撮像ユニット
JP2010169968A (ja) 顕微鏡システム及び該制御方法
CN118741073A (zh) 基于眼球追踪的控制方法、装置、头戴设备及介质
JP2007286613A (ja) 内視鏡装置
JP2014219473A (ja) 交換レンズ
WO2022263259A1 (en) Optical imaging devices incorporating a metalens to facilitate zooming operations
JP2009239460A (ja) 焦点制御方法、測距装置、撮像装置
EP3443400A1 (en) Variable working distance microscope
JP2005266718A (ja) 顕微鏡画像撮影システム
JP2019204027A (ja) 顕微鏡用光学システム及び処理装置
JP7699586B2 (ja) デジタル顕微鏡を用いて合成画像を提供する方法、デジタル顕微鏡システム、およびデジタル顕微鏡を用いて合成画像を提供するプログラム
JP2018061292A (ja) 画像処理装置、画像処理方法、プログラム

Legal Events

Date Code Title Description
121 Ep: the epo has been informed by wipo that ep was designated in this application

Ref document number: 18783910

Country of ref document: EP

Kind code of ref document: A1

NENP Non-entry into the national phase

Ref country code: DE

ENP Entry into the national phase

Ref document number: 2018783910

Country of ref document: EP

Effective date: 20191113