WO2018173739A1 - プロジェクターおよびプロジェクターの制御方法 - Google Patents

プロジェクターおよびプロジェクターの制御方法 Download PDF

Info

Publication number
WO2018173739A1
WO2018173739A1 PCT/JP2018/008526 JP2018008526W WO2018173739A1 WO 2018173739 A1 WO2018173739 A1 WO 2018173739A1 JP 2018008526 W JP2018008526 W JP 2018008526W WO 2018173739 A1 WO2018173739 A1 WO 2018173739A1
Authority
WO
WIPO (PCT)
Prior art keywords
projection
unit
image
projector
captured image
Prior art date
Legal status (The legal status is an assumption and is not a legal conclusion. Google has not performed a legal analysis and makes no representation as to the accuracy of the status listed.)
Ceased
Application number
PCT/JP2018/008526
Other languages
English (en)
French (fr)
Japanese (ja)
Inventor
博行 市枝
Current Assignee (The listed assignees may be inaccurate. Google has not performed a legal analysis and makes no representation or warranty as to the accuracy of the list.)
Seiko Epson Corp
Original Assignee
Seiko Epson Corp
Priority date (The priority date is an assumption and is not a legal conclusion. Google has not performed a legal analysis and makes no representation as to the accuracy of the date listed.)
Filing date
Publication date
Application filed by Seiko Epson Corp filed Critical Seiko Epson Corp
Priority to US16/496,393 priority Critical patent/US11131911B2/en
Priority to CN201880019673.8A priority patent/CN110463191B/zh
Publication of WO2018173739A1 publication Critical patent/WO2018173739A1/ja
Anticipated expiration legal-status Critical
Ceased legal-status Critical Current

Links

Images

Classifications

    • GPHYSICS
    • G03PHOTOGRAPHY; CINEMATOGRAPHY; ANALOGOUS TECHNIQUES USING WAVES OTHER THAN OPTICAL WAVES; ELECTROGRAPHY; HOLOGRAPHY
    • G03BAPPARATUS OR ARRANGEMENTS FOR TAKING PHOTOGRAPHS OR FOR PROJECTING OR VIEWING THEM; APPARATUS OR ARRANGEMENTS EMPLOYING ANALOGOUS TECHNIQUES USING WAVES OTHER THAN OPTICAL WAVES; ACCESSORIES THEREFOR
    • G03B17/00Details of cameras or camera bodies; Accessories therefor
    • G03B17/48Details of cameras or camera bodies; Accessories therefor adapted for combination with other photographic or optical apparatus
    • G03B17/54Details of cameras or camera bodies; Accessories therefor adapted for combination with other photographic or optical apparatus with projector
    • GPHYSICS
    • G03PHOTOGRAPHY; CINEMATOGRAPHY; ANALOGOUS TECHNIQUES USING WAVES OTHER THAN OPTICAL WAVES; ELECTROGRAPHY; HOLOGRAPHY
    • G03BAPPARATUS OR ARRANGEMENTS FOR TAKING PHOTOGRAPHS OR FOR PROJECTING OR VIEWING THEM; APPARATUS OR ARRANGEMENTS EMPLOYING ANALOGOUS TECHNIQUES USING WAVES OTHER THAN OPTICAL WAVES; ACCESSORIES THEREFOR
    • G03B21/00Projectors or projection-type viewers; Accessories therefor
    • G03B21/14Details
    • G03B21/142Adjusting of projection optics
    • GPHYSICS
    • G03PHOTOGRAPHY; CINEMATOGRAPHY; ANALOGOUS TECHNIQUES USING WAVES OTHER THAN OPTICAL WAVES; ELECTROGRAPHY; HOLOGRAPHY
    • G03BAPPARATUS OR ARRANGEMENTS FOR TAKING PHOTOGRAPHS OR FOR PROJECTING OR VIEWING THEM; APPARATUS OR ARRANGEMENTS EMPLOYING ANALOGOUS TECHNIQUES USING WAVES OTHER THAN OPTICAL WAVES; ACCESSORIES THEREFOR
    • G03B21/00Projectors or projection-type viewers; Accessories therefor
    • G03B21/14Details
    • G03B21/147Optical correction of image distortions, e.g. keystone
    • HELECTRICITY
    • H04ELECTRIC COMMUNICATION TECHNIQUE
    • H04NPICTORIAL COMMUNICATION, e.g. TELEVISION
    • H04N9/00Details of colour television systems
    • H04N9/12Picture reproducers
    • H04N9/31Projection devices for colour picture display, e.g. using electronic spatial light modulators [ESLM]
    • H04N9/3179Video signal processing therefor
    • H04N9/3185Geometric adjustment, e.g. keystone or convergence
    • HELECTRICITY
    • H04ELECTRIC COMMUNICATION TECHNIQUE
    • H04NPICTORIAL COMMUNICATION, e.g. TELEVISION
    • H04N9/00Details of colour television systems
    • H04N9/12Picture reproducers
    • H04N9/31Projection devices for colour picture display, e.g. using electronic spatial light modulators [ESLM]
    • H04N9/3191Testing thereof
    • H04N9/3194Testing thereof including sensor feedback
    • GPHYSICS
    • G03PHOTOGRAPHY; CINEMATOGRAPHY; ANALOGOUS TECHNIQUES USING WAVES OTHER THAN OPTICAL WAVES; ELECTROGRAPHY; HOLOGRAPHY
    • G03BAPPARATUS OR ARRANGEMENTS FOR TAKING PHOTOGRAPHS OR FOR PROJECTING OR VIEWING THEM; APPARATUS OR ARRANGEMENTS EMPLOYING ANALOGOUS TECHNIQUES USING WAVES OTHER THAN OPTICAL WAVES; ACCESSORIES THEREFOR
    • G03B21/00Projectors or projection-type viewers; Accessories therefor
    • G03B21/14Details
    • G03B21/145Housing details, e.g. position adjustments thereof
    • GPHYSICS
    • G03PHOTOGRAPHY; CINEMATOGRAPHY; ANALOGOUS TECHNIQUES USING WAVES OTHER THAN OPTICAL WAVES; ELECTROGRAPHY; HOLOGRAPHY
    • G03BAPPARATUS OR ARRANGEMENTS FOR TAKING PHOTOGRAPHS OR FOR PROJECTING OR VIEWING THEM; APPARATUS OR ARRANGEMENTS EMPLOYING ANALOGOUS TECHNIQUES USING WAVES OTHER THAN OPTICAL WAVES; ACCESSORIES THEREFOR
    • G03B5/00Adjustment of optical system relative to image or object surface other than for focusing
    • G03B5/02Lateral adjustment of lens

Definitions

  • the present invention relates to a projector and a projector control method.
  • Patent Document 1 describes a projector that corrects trapezoidal distortion of a projected image. Upon receiving an instruction transmitted in response to a remote control operation by a user, the projector described in Patent Literature 1 detects a frame of the screen serving as a projection surface, and trapezoidal distortion so that the projected image fits in the frame (projection area). Perform correction.
  • This invention is made in view of the situation mentioned above, and makes it a solution subject to provide the technique which can reduce the user's effort for projecting a projection image on the projection area
  • An aspect of the projector includes a projection unit that projects a projection image on a projection surface, an imaging unit that captures the projection surface and generates a captured image, and the projection surface that is disposed on the projection surface based on the captured image. And a detection unit that detects a position of the detachable object that is attached and an adjustment unit that adjusts a projection position of the projection image on the projection surface based on the position of the object.
  • the projection position can be automatically adjusted according to the position of the detachable object arranged on the projection surface. For this reason, it becomes possible to reduce a user's effort for projecting a projection image on the projection area of a projection surface.
  • the detection unit further detects the movement of the object on the captured image based on the captured image
  • the adjustment unit detects the object on the captured image. It is desirable to adjust the projection position when movement is detected.
  • the position of the projector or the projection surface is shifted, the relative positional relationship between the projector and the projection surface changes, and the projection position of the projection image is shifted on the projection surface. Further, when the relative positional relationship between the projector and the projection surface changes, the object moves on the captured image.
  • the projection position is adjusted when the movement of the object on the captured image is detected. For this reason, according to this aspect, when the projection position is shifted on the projection surface, the projection position can be automatically adjusted.
  • the detection unit detects positions of a plurality of detachable objects arranged on the projection surface
  • the adjustment unit is configured to detect the projection image based on the positions of the plurality of objects. It is desirable to determine a projection range and adjust the projection position so that the projection image is projected within the projection range. According to this aspect, it becomes possible to project a projection image in the projection range determined based on the positions of a plurality of objects.
  • the adjustment unit adjusts the projection position by controlling driving of a position changing unit that changes the projection position. According to this aspect, it is possible to adjust the projection position using the position changing unit.
  • the position changing unit changes the projection position by changing a projection direction of the projection image. According to this aspect, it is possible to adjust the projection position by changing the projection direction of the projection image.
  • the projection unit includes a projection lens, and a lens shift unit that shifts the projection lens in a direction intersecting the optical axis of the projection lens, and the position changing unit includes A lens shift unit is desirable. According to this aspect, it is possible to adjust the projection position using the lens shift unit.
  • the position changing unit changes the projection position by shifting the projection unit.
  • the projection position can be adjusted by shifting the projection unit.
  • the position changing unit changes the projection position by rotating the projection unit.
  • the projection position can be adjusted by rotating the projection unit.
  • the projection unit preferably includes a zoom lens and a lens driving unit that changes a zoom state of the zoom lens, and the position changing unit is preferably the lens driving unit. According to this aspect, it is possible to adjust the projection position by changing the zoom state of the zoom lens.
  • the adjustment unit adjusts the projection position by adjusting image information indicating the projection image. According to this aspect, it is possible to adjust the projection position by adjusting the image information.
  • the object is preferably a retroreflective member.
  • the light reflected by the retroreflective member is reflected in the direction of the incident light.
  • the imaging part provided with the projection part in the projector becomes easy to receive this reflected light.
  • the object is easily displayed on the captured image, and the position of the object is easily detected.
  • One aspect of the projector control method includes a step of projecting a projection image onto a projection surface, a step of capturing the projection surface to generate a captured image, and the projection surface based on the captured image.
  • the method includes a step of detecting a position of an object arranged detachably, and a step of adjusting a projection position of the projection image on the projection surface based on the position of the object. According to this aspect, it becomes possible to reduce a user's effort for projecting a projection image on the projection area of a projection surface.
  • FIG. 1 is a diagram schematically illustrating a projector 1.
  • FIG. 2 is a diagram illustrating an example of an imaging unit.
  • FIG. It is the figure which showed the installation guide image I1. It is the figure which showed the pattern 12 for position detection. It is the figure which showed the 1st pattern I3. It is the figure which showed the 2nd pattern I4. It is the figure which showed the 3rd pattern I5. It is a flowchart for demonstrating the operation
  • FIG. It is the figure which showed the further another example by which the projection image was projected on the projection area
  • FIG. It is a flowchart for demonstrating a tracking process. It is the figure which showed the condition when the projection surface 5 rotated. It is the figure which showed the captured image when the projection surface 5 rotated. It is the flowchart which showed the operation
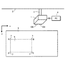
  • FIG. 1 is a diagram showing a projector 1 according to a first embodiment to which the present invention is applied.
  • the projector 1 is supported by a support device 3 installed on the ceiling 2.
  • the support device 3 may be installed not on the ceiling 2 but on a wall or the like.
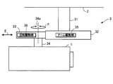
  • FIG. 2 is a diagram illustrating an example of the support device 3.
  • the support device 3 includes a base part 31, a first arm part 32, a second arm part 33, a holding part 34, an arm driving part 35, and a rotation driving part 36.
  • the base portion 31 is fixed to the ceiling 2 and supports the first arm portion 32.
  • the second arm portion 33 is configured to be slidable in the direction of arrow E (the optical axis direction of the projection image of the projector 1) with respect to the first arm portion 32.
  • the first arm portion 32 is provided with an arm driving portion 35 that adjusts the sliding amount of the second arm portion 33. Driving by the arm driving unit 35 is controlled by the projector 1.
  • the arm drive unit 35 is an example of a position change unit that changes the projection position of the projection image of the projector 1 by shifting the projector 1 (particularly, the projection unit 104).
  • the second arm unit 33 supports a holding unit 34 that holds the projector 1.
  • the holding portion 34 is configured to be rotatable in the direction of arrow F with the shaft 34a as a rotation axis.
  • the second arm portion 33 is provided with a rotation driving portion 36 that adjusts the rotation amount of the holding portion 34.
  • the driving by the rotation driving unit 36 is controlled by the projector 1.
  • the rotation driving unit 36 is an example of a position changing unit that changes the projection position by changing the projection direction of the projection image of the projector 1.
  • the rotation drive unit 36 is an example of a position changing unit that changes the projection position of the projection image of the projector 1 by rotating the projector 1 (in particular, the projection unit 104).
  • the projector 1 can adjust the attitude of the projector 1 by controlling the drive of the arm drive unit 35 and the rotation drive unit 36 of the support device 3.
  • the projector 1 receives image information from a PC (personal computer) 4 and projects a projection image corresponding to the image information from the projection unit 104 onto the projection surface 5.
  • the projection surface 5 is, for example, a projection surface of a magnet screen.
  • the magnet screen has a projection surface and a magnet surface that face each other.
  • a projection image is projected from the projector 1 onto the projection surface of the magnet screen with the magnet surface attached to a blackboard or the like.
  • the projection surface 5 is not limited to the projection surface of the magnet screen, and may be a white board, for example, and can be changed as appropriate.
  • the user arranges the object 7 on the projection surface 5 to set the projection area 6 on which the user wants to project a projection image on the projection surface 5.
  • a rectangular projection area 6 is set by four objects 7. Specifically, the object 7 is arranged at each of the four vertices A to D of the projection area 6.
  • the object 7 is detachable from the projection surface 5.
  • a retroreflective member provided with a magnet is used as the object 7.
  • the object 7 is not limited to the retroreflective member provided with a magnet, and can be changed as appropriate.
  • the projector 1 captures the projection surface 5 on which the object 7 is arranged with the image capturing unit 108 and generates a captured image.
  • the projector 1 detects the position of the object 7 arranged on the projection surface 5 based on the captured image.
  • the projector 1 determines the projection area 6 based on the position of the object 7 and projects a projection image on the projection area 6.
  • the projector 1 when the projector 1 repeatedly generates captured images and detects the movement of the object 7 on the captured image (for example, when the projector 1, the projection surface 5, or the object 7 is moved), the movement of the object 7 is performed.
  • the projection area 6 is determined based on the later position, and a projection image is projected onto the projection area 6.
  • the projector 1 controls both or one of the arm driving unit 35 and the rotation driving unit 36 of the support device 3 to determine the position of the projector 1 relative to the projection surface 5.
  • a method of projecting a projected image on the projection area 6 by changing the posture is mentioned.
  • the projector 1 performs trapezoidal distortion correction on the projection image so that the projection image is projected onto the projection region 6.
  • FIG. 3 is a diagram schematically showing the projector 1.
  • the projector 1 includes an operation unit 101, an image processing unit 102, a light valve driving unit 103, a projection unit 104, a light source driving unit 105, a lens driving unit 106, a lens shift unit 107, an imaging unit 108, A storage unit 109, a control unit 110, and a bus 111 are included.
  • the image processing unit 102 includes an image composition unit 102a and a trapezoidal distortion correction unit 102b.
  • the projection unit 104 includes a light source 11, three liquid crystal light valves 12 (12 R, 12 G, and 12 B) that are examples of a light modulation device, and a projection optical system 13.
  • the projection optical system 13 includes a zoom lens 13a and a projection lens 13b.
  • optical axis of the zoom lens 13a coincides with the optical axis of the projection lens 13b.
  • optical axis 13c the optical axis of the zoom lens 13a and the optical axis of the projection lens 13b are indicated by “optical axis 13c”.
  • the operation unit 101 is, for example, various operation buttons, operation keys, or a touch panel.
  • the operation unit 101 receives a user's input operation.
  • the operation unit 101 may be a remote controller or the like that transmits information according to an input operation wirelessly or by wire.
  • the projector 1 includes a receiving unit that receives information transmitted by the remote controller.
  • the remote controller includes various operation buttons, operation keys, or a touch panel that receives an input operation.
  • the image processing unit 102 performs image processing on the image information to generate an image signal.
  • the image processing unit 102 performs image processing on image information (hereinafter also referred to as “received image information”) received from the PC 4 (see FIG. 1) to generate an image signal.
  • image information hereinafter also referred to as “received image information”
  • the image composition unit 102a composes a plurality of pieces of image information or outputs a single piece of image information. Specifically, the image composition unit 102a synthesizes or outputs image information written in an image memory (hereinafter also referred to as “layer”). The layer may or may not be built in the image composition unit 102a.
  • the image composition unit 102a includes two layers, specifically, a first layer and a second layer.
  • received image information is written in the first layer.
  • the second layer for example, installation guide image information indicating an image for guiding the installation of the projector 1 (hereinafter referred to as “installation guide image”), position detection pattern information indicating a pattern for detecting the position of the object 7 (Image information) and matrix generation pattern information (image information) indicating a pattern for generating a projective transformation matrix are alternatively written.
  • the first to third pattern information is used as the matrix generation pattern information.
  • the projective transformation matrix will be described later.
  • the image composition unit 102a When the image information is written in the first layer and the image information is not written in the second layer, the image composition unit 102a outputs the image information written in the first layer. When the image information is not written in the first layer and the image information is written in the second layer, the image composition unit 102a outputs the image information written in the second layer. When image information is written in both the first layer and the second layer, the image composition unit 102a combines the image information written in the first layer and the image information written in the second layer. Composite image information is generated, and composite image information (image information) is output.
  • the trapezoidal distortion correction unit 102b performs trapezoidal distortion correction on the image information output from the image synthesis unit 102a to generate an image signal.
  • the trapezoidal distortion correcting unit 102b generates an image signal corresponding to the image information output from the image combining unit 102a when the keystone distortion correction is not performed on the image information output from the image combining unit 102a.
  • the light valve driving unit 103 drives the liquid crystal light valve 12 (12R, 12G, 12B) based on the image signal.
  • Projection unit 104 projects a projection image on projection surface 5.
  • the liquid crystal light valve 12 modulates the light emitted from the light source 11 to form projection image light (projection image), and this projection image light is enlarged and projected from the projection optical system 13.
  • the light source 11 is a xenon lamp, an ultra-high pressure mercury lamp, an LED (Light Emitting Diode), or a laser light source.
  • the light emitted from the light source 11 is reduced in variation in luminance distribution by an integrator optical system (not shown), and then red (R), green (G), which are the three primary colors of light by a color separation optical system (not shown), It is separated into blue (B) color light components.
  • the color light components of R, G, and B are incident on the liquid crystal light valves 12R, 12G, and 12B, respectively.
  • the liquid crystal light valve 12 is composed of a liquid crystal panel in which liquid crystal is sealed between a pair of transparent substrates.
  • the liquid crystal light valve 12 is formed with a rectangular pixel region 12a composed of a plurality of pixels 12p arranged in a matrix.
  • a driving voltage can be applied to the liquid crystal for each pixel 12p.
  • each pixel 12p is set to a light transmittance corresponding to the image signal. For this reason, the light emitted from the light source 11 is modulated by transmitting through the pixel region 12a, and an image corresponding to the image signal is formed for each color light.
  • the image of each color is synthesized for each pixel 12p by a color synthesis optical system (not shown), and projection image light (projection image) that is color image light (color image) is generated.
  • projection image projection image
  • color image color image
  • the projected image light is enlarged and projected onto the projection surface 5 by the projection optical system 13.
  • the light source driving unit 105 drives the light source 11.
  • the light source driving unit 105 causes the light source 11 to emit light when the operation unit 101 receives a power-on operation.
  • the lens driving unit 106 changes the zoom state of the zoom lens 13a. Specifically, the lens driving unit 106 changes the zoom state of the zoom lens 13a by moving the zoom lens 13a in the direction G along the optical axis 13c.
  • the lens driving unit 106 is an example of a position changing unit.
  • the lens shift unit 107 can shift the projection optical system 13, more specifically, the projection lens 13b, in a direction H (for example, a direction orthogonal to the optical axis 13c) intersecting the optical axis 13c.
  • the lens shift unit 107 can further shift the projection lens 13b in a direction perpendicular to both the optical axis 13c and the direction H.
  • the lens shift unit 107 is an example of a position changing unit that changes the projection position by changing the projection direction of the projection image.
  • the imaging unit 108 captures the projection surface 5 and generates a captured image.
  • FIG. 4 is a diagram illustrating an example of the imaging unit 108.
  • the imaging unit 108 is a camera that includes an optical system 21 such as a lens and an imaging element 22 that converts light collected by the optical system 21 into an electrical signal.
  • the imaging element 22 is, for example, a CCD (Charge Coupled Device) image sensor or a CMOS (Complementary Metal Oxide Semiconductor) image sensor.
  • the imaging unit 108 repeatedly captures the projection surface 5 and generates captured images in time series.
  • the storage unit 109 is a computer-readable recording medium.
  • the storage unit 109 stores a program that defines the operation of the projector 1 and various information (for example, image information used in the image composition unit 102a).
  • the image information used in the image composition unit 102a is, for example, installation guide image information, position detection pattern image information, and first to third pattern information. Note that these pieces of information are not limited to the configuration stored in advance in the storage unit 109, and may be generated each time by a program.
  • FIG. 5 shows the installation guide image I1 according to the installation guide image information.
  • guide information for guiding the installation of the projector 1 to the user is shown.
  • FIG. 6 is a diagram showing a position detection pattern I2 corresponding to the position detection pattern image information.
  • the position detection pattern I2 is used to detect the object 7 arranged on the projection surface 5.
  • the position detection pattern image is, for example, a white image as a whole.
  • FIG. 7 shows the first pattern I3 corresponding to the first pattern information.
  • the white rectangular pattern I3b is superimposed on the black background I3a.
  • FIG. 8 is a diagram illustrating a second pattern I4 corresponding to the second pattern information.
  • the second pattern I4 is a black image as a whole.
  • FIG. 9 is a diagram showing a third pattern I5 corresponding to the third pattern information.
  • white dots I5b are superimposed at the same positions as the positions of the four vertices of the rectangular pattern I3b shown in FIG.
  • the first pattern I3, the second pattern I4, and the third pattern I5 are used to generate a projective transformation matrix.
  • the projective transformation matrix is a matrix for projectively transforming an image in the liquid crystal light valve 12 into a captured image. That is, the projective transformation matrix is information that associates a position between the projection image projected by the projection unit 104 and the captured image obtained by capturing the projection image.
  • control unit 110 is a computer such as a CPU (Central Processing Unit).
  • the control unit 110 reads and executes a program stored in the storage unit 109 to thereby execute a projection control unit 41, an imaging control unit 42, a position detection unit 43, an adjustment unit 44, a conversion matrix generation unit 45, and the like. Is realized.
  • the projection control unit 41 controls the light source driving unit 105 to control the projection image projected by the projection unit 104.
  • the imaging control unit 42 controls imaging by the imaging unit 108.
  • the position detection unit 43 detects the position of the object 7 arranged on the projection surface 5 based on the captured image. Further, the position detection unit 43 detects the movement of the object 7 on the captured image based on the captured image.
  • the position detection unit 43 is an example of a detection unit.
  • the adjustment unit 44 adjusts the projection position of the projection image on the projection surface 5 based on the position of the object 7. For example, when the movement of the object 7 is detected, the adjustment unit 44 adjusts the projection position of the projection image on the projection surface 5 based on the position after the movement of the object 7.
  • the adjustment unit 44 controls the operation of the trapezoidal distortion correction unit 102b, the lens driving unit 106, the lens shift unit 107, the arm driving unit 35 (see FIG. 2), or the rotation driving unit 36 (see FIG. 2) to control the projection surface. 5 adjusts the projection position of the projected image. For example, the adjustment unit 44 adjusts the projection amount by adjusting the image information by adjusting the correction amount in the trapezoidal distortion correction unit 102b.
  • the transformation matrix generation unit 45 generates a projective transformation matrix.
  • the transformation matrix generation unit 45 stores the projective transformation matrix in the storage unit 109.
  • FIG. 10 is a flowchart for explaining an operation associated with power-on.
  • the projection surface 5 such as a magnet screen
  • the user sets a plurality of objects 7 (in this embodiment, 4 Two objects 7) are arranged on the projection surface 5 (see FIG. 12).
  • the user operates the operation unit (for example, a remote controller) 101 of the projector 1 supported by the support device 3 to turn on the power of the projector 1.
  • the projection control unit 41 controls the light source driving unit 105 to turn on the light source 11.
  • the user operates the operation unit 101 to input a correction start instruction to start automatic adjustment of the projection position.
  • the adjustment unit 44 reads the installation guide image information from the storage unit 109, writes the installation guide image information to the second layer, and further sets the correction amount in the trapezoidal distortion correction unit 102b to zero.
  • the image processing unit 102 generates an image signal corresponding to the installation guide image information
  • the projection unit 104 projects the installation guide image I1 (see FIG. 5) on the projection surface 5 according to the image signal. (Step S1).
  • FIG. 13 is a diagram showing a projection example of the installation guide image I1.
  • the guide information shown in the area I1a is “adjust the position of the projector or the like so that the object enters the blue part”. Is used. The guide information is changed as appropriate.
  • trapezoidal distortion occurs in the installation guide image I ⁇ b> 1.
  • FIG. 14 is a diagram illustrating a state in which manual adjustment has been completed.
  • step S2 the adjustment unit 44 starts projection of each pattern and detection of each pattern in order to automatically adjust the projection position.
  • the adjustment unit 44 reads the position detection pattern information from the storage unit 109 and writes the position detection pattern information to the second layer. Thereby, the image processing unit 102 generates an image signal corresponding to the position detection pattern information, and the projection unit 104 converts the position detection pattern I2 (see FIG. 6) into the projection surface 5 according to the image signal. (Step S3).
  • FIG. 15 is a diagram showing a projection example of the position detection pattern I2.
  • the position detection pattern I2 is used to detect light reflected by the object 7.
  • a white image is used as the position detection pattern I2 in order to easily detect the reflected light from the object 7.
  • the imaging control unit 42 causes the imaging unit 108 to capture the projection surface 5 and generate a captured image (step S4). At this time, the imaging control unit 42 performs exposure control so that the captured image is generated with appropriate brightness.
  • the position detection unit 43 analyzes the captured image and detects the position of the object 7 on the captured image (step S5).
  • step S5 the following processing is executed. Since the object 7 has a retroreflective member, the brightness of the object 7 is higher than that of the surrounding area on the captured image. For this reason, the position detection unit 43 first detects an area having a higher brightness than the surrounding area on the captured image as an “area where the object 7 exists”. Subsequently, the position detection unit 43 detects, for each object 7, the barycentric position (the barycentric coordinate) of the “region where the object 7 exists” as the “position of the object 7”.
  • the object 7 preferably has a shape and reflection characteristics (for example, a characteristic such that the object 7 has a circular shape in plan view and has a higher reflectance as it is closer to the position of the center of gravity). .
  • the position of the object 7 is not limited to the position of the center of gravity of the object 7 and can be changed as appropriate.
  • the vertex of the object 7 may be used as the position of the object 7.
  • the object 7 has a thick three-dimensional shape (such as a sphere or a rectangular parallelepiped)
  • the position of the object 7 may be obtained in consideration of an offset amount corresponding to the thickness.
  • step S5 the transformation matrix generation unit 45 reads the first pattern information from the storage unit 109 and writes the first pattern information to the second layer. Thereby, the image processing unit 102 generates an image signal corresponding to the first pattern information, and the projection unit 104 projects the first pattern I3 (see FIG. 7) onto the projection surface 5 according to the image signal.
  • Step S6 the transformation matrix generation unit 45 reads the first pattern information from the storage unit 109 and writes the first pattern information to the second layer.
  • the image processing unit 102 generates an image signal corresponding to the first pattern information
  • the projection unit 104 projects the first pattern I3 (see FIG. 7) onto the projection surface 5 according to the image signal.
  • FIG. 16 is a diagram illustrating a projection example of the first pattern I3.
  • the imaging control unit 42 causes the imaging unit 108 to image the projection surface 5 to generate a first captured image (step S7). Subsequently, the imaging unit 108 outputs the first captured image to the conversion matrix generation unit 45.
  • FIG. 17 is a diagram illustrating a projection example of the second pattern I4.
  • the imaging control unit 42 causes the imaging unit 108 to image the projection surface 5 to generate a second captured image (step S9). Subsequently, the imaging unit 108 outputs the second captured image to the conversion matrix generation unit 45.
  • the conversion matrix generation unit 45 detects the rectangular pattern I3b by taking the difference between the first captured image and the second captured image. Subsequently, the transformation matrix generation unit 45 detects the positions of the four vertices of the rectangular pattern I3b on the captured image (step S10).
  • FIG. 18 is a diagram illustrating a projection example of the third pattern I5.
  • the imaging control unit 42 causes the imaging unit 108 to image the projection surface 5 to generate a third captured image (step S12). Subsequently, the imaging unit 108 outputs the third captured image to the conversion matrix generation unit 45.
  • the transformation matrix generation unit 45 uses the positions of the four vertices detected in step S10 as the search start position of the dot I5b, and “a region where the dot I5b exists” for each dot I5b. Is detected. Subsequently, the conversion matrix generation unit 45 detects, for each dot I5b, the centroid position (centroid coordinates) of the “region where the dot I5b exists” as the “position of the dot I5b” (step S13).
  • the transformation matrix generation unit 45 detects the center of gravity of the dots that can be detected with high accuracy based on the vertices of the rectangular pattern that is easy to detect, and thus quickly identifies a predetermined position with high accuracy. be able to.
  • the transformation matrix generation unit 45 calculates a projective transformation matrix based on the positional relationship between the barycentric coordinates of the four dots I5b specified by the third pattern information and the barycentric coordinates of the four dots I5b in the captured image. Calculate (step S14). Subsequently, the transformation matrix generation unit 45 stores the projective transformation matrix in the storage unit 109. Note that, when the position accuracy is not so high, the projective transformation matrix may be calculated based on the positions of the four vertices of the rectangular pattern I3b without using the third pattern I5 (dot I5b). In the third pattern I5, a cross mark or the like may be arranged instead of the dot I5b, and the projective transformation matrix may be calculated based on the position of this intersection.
  • the position detection unit 43 calculates an inverse matrix of the projective transformation matrix, and converts the position of the object 7 on the captured image into a position on the liquid crystal light valve 12 using this matrix.
  • the adjustment unit 44 uses a quadrangular area (an area corresponding to the projection area 6 in the liquid crystal light valve 12) whose apex is the position of the four objects 7 on the liquid crystal light valve 12 as a projection range of the projection image. decide.
  • the adjustment unit 44 calculates a trapezoidal distortion correction amount for accommodating the projection image within the projection range of the projection image (step S15).
  • the adjustment unit 44 sets the trapezoidal distortion correction amount calculated in step S15 in the trapezoidal distortion correction unit 102b.
  • the trapezoidal distortion correction unit 102b executes trapezoidal distortion correction on the output (image information) of the image composition unit 102a based on the trapezoidal distortion correction amount (step S16). For this reason, for example, as shown in FIG. 19, a projection image (for example, an image corresponding to the received image information) is projected onto the projection area 6 specified by the position of the object 7.
  • the adjustment unit 44 may calculate a trapezoidal distortion correction amount for storing the projection image in the projection area while maintaining the aspect ratio of the projection image based on the image information. For example, as shown in FIG. 20, the adjustment unit 44 has a trapezoidal shape so that the entire projection image P is within the projection region 6 and the region 6 a of the projection region 6 where the projection image P does not exist is displayed in black. A distortion correction amount is calculated. In this case, it is possible to suppress the disturbance of the aspect ratio of the projection image P.
  • the adjustment unit 44 may calculate the trapezoidal distortion correction amount so that the projection image P is projected on the entire projection region 6 while maintaining the aspect ratio of the projection image P as shown in FIG. .
  • the adjustment unit 44 makes the vertical length of the projection image P and the vertical length of the projection area 6 match, or the horizontal length of the projection image P and the horizontal length of the projection area 6 match.
  • the trapezoidal distortion correction amount is calculated.
  • the size of the projection image P can be increased while suppressing the disturbance of the aspect ratio of the projection image P. It should be noted that it is desirable that the mode of projection image P in FIGS. 19 to 21 can be selected by the user through a menu operation or the like before or after the start of automatic adjustment of the projection position.
  • FIG. 22 is a flowchart for explaining the tracking process.
  • the same processes as those shown in FIG. 10 are denoted by the same reference numerals.
  • processes different from the processes shown in FIG. 10 will be mainly described.
  • the tracking process illustrated in FIG. 22 is periodically performed.
  • the period (frequency) of the tracking process for example, the user may be able to determine a desired period by menu operation or the like from among hourly, daily, weekly, or monthly units.
  • the position detection unit 43 detects the object 7 from the captured image generated by the imaging unit 108 and compares the position of the object 7 detected in the current tracking process with the position of the object 7 detected in the previous tracking process. Then, it is determined whether or not the object 7 has moved (step S21). In the first tracking process after the tracking mode is turned on, since the previous captured image does not exist, the position detection unit 43 determines that the object 7 has not moved. Alternatively, when the tracking mode is turned on, the process shown in FIG. 10 may be executed and the initial position of the object 7 may be stored. In step S21, the following processing is executed.
  • the position of each of the four objects 7 on the captured image is moved by moving the magnet screen (projection surface 5), moving the projector 1, or moving the position of the object 7 on the projection surface 5.
  • the position detection unit 43 determines that the object 7 has moved. Note that the threshold for determining the movement of the object 7 may be a different threshold depending on the position of the object 7.
  • the position detection unit 43 determines that there is no movement of the object 7. For this reason, for example, even if the object 7 moves within a range of a predetermined threshold value or less on the captured image due to vibration of the projection surface 5 or the like, the position detection unit 43 does not move the object 7 substantially. Judge that there is no. Further, for example, a person crosses between the object 7 and the projector 1, and due to the influence, some objects 7 cannot be detected, or only the movement amount of some objects 7 exceeds a predetermined threshold. In addition, the position detection unit 43 determines that the object 7 has not substantially moved.
  • the position detection unit 43 may determine that the object 7 has moved when the amount of movement of the object 7 exceeds a predetermined threshold continuously for a predetermined number of times. In this way, for example, when the position of the object 7 moves on the captured image due to temporary vibration, it can be determined that the object 7 has not moved substantially. Further, the position detection unit 43 may determine whether or not the object 7 has moved on the captured image by another method (for example, a combination of the methods described above). For example, when the movement of the positions of at least two objects 7 exceeds a predetermined threshold, the position detection unit 43 may determine that the object 7 has moved.
  • step S21: NO If the position detection unit 43 does not detect the movement of the object 7 (step S21: NO), the current tracking process ends.
  • step S21 when the position detection unit 43 detects the movement of the object 7 (step S21: YES), first, processing for generating a projective transformation matrix is executed (steps S6 to S14).
  • the adjustment unit 44 determines whether or not the position of the object 7 is within the projectable region (step S22). Specifically, the adjustment unit 44 first estimates the position of the pixel area 12a (projectable area) of the liquid crystal light valve 12 on the captured image based on the newly generated projective transformation matrix. Subsequently, when the position of the object 7 is included in the pixel area 12a (projectable area) in the captured image, the adjustment unit 44 determines that the position of the object 7 is within the projectable area. On the other hand, when the position of the object 7 is not included in the pixel area 12a (projectable area) in the captured image, the adjustment unit 44 determines that the position of the object 7 is outside the projectable area.
  • steps S15 and S16 are executed, and a projection image is projected onto the projection region 6.
  • the adjustment unit 44 drives at least one of the lens driving unit 106, the lens shift unit 107, the arm driving unit 35, and the rotation driving unit 36 in accordance with the movement of the object 7 on the captured image, so that the projector The positional relationship between 1 and the projection surface 5 is changed (step S23).
  • the adjustment unit 44 causes the projection lens 13b to move in an amount corresponding to the movement amount in a direction corresponding to the movement.
  • the lens shift unit 107 is driven.
  • the adjustment unit 44 is narrowed by an amount corresponding to the increase in the interval between the objects 7 on the captured image. As described above (to increase the distance between the projector 1 and the object 7), both or one of the arm driving unit 35 and the lens driving unit 106 is driven.
  • the adjustment unit 44 increases the interval between the objects 7 on the captured image. Then, both or one of the arm driving unit 35 and the lens driving unit 106 is driven. For example, when the interval between the objects 7 on the captured image is narrowed, the adjustment unit 44 increases the distance between the objects 7 on the captured image by a predetermined amount (projector 1 and object 7). The arm driving unit 35 and / or the lens driving unit 106 are driven so that the distance of the lens driving unit 35 is shortened.
  • the adjustment unit 44 drives the rotation driving unit 36 so that the distance between the object 7a and the object 7d is shortened and the distance between the object 7b and the object 7c is increased in the captured image 9.
  • steps S3 to S5 are executed, and then the process returns to step S22.
  • the projection position can be automatically adjusted according to the position of the detachable object 7 arranged on the projection surface 5. Even if the positional relationship between the projector 1 and the projection surface 5 changes, the projection position can be automatically adjusted to the projection area. For this reason, it becomes possible to reduce a user's effort.
  • the position detection unit 43 may detect the amount of movement of the object 7 on the captured image.
  • the adjustment unit 44 moves the lens drive unit 106, the lens shift unit 107, and the arm drive unit so that the projection unit 104 moves by an amount corresponding to the movement amount of the object 7 on the captured image.
  • At least one of 35 and the rotation drive unit 36 may be driven.
  • the trapezoidal distortion correction is performed using the projective transformation matrix, but the arm is used until the positional relationship between the position of the object 7 and the four vertices of the projection image becomes a predetermined positional relationship based on the captured image. You may perform control which drives the drive part 35 and the rotation drive part 36 little by little.
  • the configuration including the lens driving unit 106 that changes the zoom state of the zoom lens 13a and the lens shift unit 107 that shifts the projection lens 13b as the position changing unit is exemplified.
  • the position may be changed.
  • the image processing unit 102 forms a image in a range smaller than the pixel area 12a of the liquid crystal light valve 12, and the digital zoom that reduces the image, or the digital shift that moves the image reduced by the digital zoom in the pixel area 12a. May be performed.
  • the resolution decreases when digital zoom is used it is desirable to lower the priority of adjustment using digital zoom.
  • the configuration in which the projector 1 is slid in the optical axis direction (front-rear direction) by the arm driving unit 35 as the position changing unit is exemplified. Further, it may be configured to be able to slide in a plurality of directions among the front-rear direction, the left-right direction, and the vertical direction. Further, in the above embodiment, the configuration in which the projector 1 is horizontally rotated by the rotation driving unit 36 as the position changing unit is exemplified. However, a configuration in which vertical tilt or horizontal roll rotation is possible, horizontal rotation, vertical It is good also as a structure which can be rotated among a tilt and a horizontal roll.
  • the rotation drive unit 36 includes a mechanism capable of horizontal rotation, vertical tilt and horizontal roll rotation, the horizontal roll is adjusted after the horizontal rotation and vertical tilt are adjusted to make the projection image rectangular. It is desirable to make adjustments.
  • the adjustment unit 44 may adjust the projection position by combining a plurality of position change units, or may perform adjustment using only one position change unit.
  • the adjustment unit 44 rotates the three axes of the projector 1 in accordance with the measured inclination by providing a measurement unit that can measure the inclination of the projector 1 with respect to the projection surface 5 using a technique such as triangulation. You may make it the structure which adjusts.
  • the number of objects 7 may be greater than four.
  • the object 7 is used to specify the projection area and is used to detect movement on the captured image.
  • the object used for specifying the projection area and the object used for detecting movement on the captured image may be different.
  • each object in the captured image Can be identified.
  • the number of objects used for detecting movement on the captured image is not limited to four and can be changed as appropriate.
  • the number of objects used for specifying the projection area is not limited to four, and may be two or more. For example, when the number of objects used for specifying the projection area is 2, these two objects are installed at diagonal positions of the rectangular projection area.
  • the object 7 has a reflection characteristic different from the reflection characteristic of the projection surface 5. Further, if the reflection characteristics of the object 7 can be changed by switching the reflection surface itself or switching the optical filter, the object 7 can be easily detected on various projection surfaces 5. In this case, if the object 7 includes means for receiving a control signal by wireless communication or infrared communication and means for changing the reflection characteristic based on the received control signal, the user can obtain the reflection characteristic by operating the remote controller. Can be changed. Further, the projector 1 may transmit a control signal based on the image captured by the imaging unit 108 to the object 7 so that the reflection characteristics are automatically switched.
  • FIG. 25 is a flowchart showing an operation example when the tracking process shown in FIG. 22 is performed instead of the manual adjustment.
  • FIG. 25 the same processes as those shown in FIG. 22 are denoted by the same reference numerals.
  • the image composition unit 102a may use the image information stored in the storage unit 109 instead of the received image information.
  • All or part of the elements realized by the control unit 110 executing the program may be realized by hardware by an electronic circuit such as an FPGA (field programmable gate array) or an ASIC (Application Specific IC). It may be realized by cooperation of software and hardware.
  • an electronic circuit such as an FPGA (field programmable gate array) or an ASIC (Application Specific IC). It may be realized by cooperation of software and hardware.
  • a liquid crystal light valve is used as the light modulation device, but the light modulation device is not limited to the liquid crystal light valve and can be changed as appropriate.
  • the light modulation device is composed of a system combining one liquid crystal panel and a color wheel, a system using three digital mirror devices (DMD), and a system combining one digital mirror device and a color wheel. It may be.
  • DMD digital mirror devices
  • a configuration capable of modulating the light emitted from the light source can be employed as the light modulation device.

Landscapes

  • Physics & Mathematics (AREA)
  • General Physics & Mathematics (AREA)
  • Engineering & Computer Science (AREA)
  • Multimedia (AREA)
  • Signal Processing (AREA)
  • Optics & Photonics (AREA)
  • Geometry (AREA)
  • Projection Apparatus (AREA)
  • Transforming Electric Information Into Light Information (AREA)
  • Controls And Circuits For Display Device (AREA)
PCT/JP2018/008526 2017-03-23 2018-03-06 プロジェクターおよびプロジェクターの制御方法 Ceased WO2018173739A1 (ja)

Priority Applications (2)

Application Number Priority Date Filing Date Title
US16/496,393 US11131911B2 (en) 2017-03-23 2018-03-06 Projector and method for controlling projector
CN201880019673.8A CN110463191B (zh) 2017-03-23 2018-03-06 投影仪及投影仪的控制方法

Applications Claiming Priority (2)

Application Number Priority Date Filing Date Title
JP2017057144A JP2018160803A (ja) 2017-03-23 2017-03-23 プロジェクターおよびプロジェクターの制御方法
JP2017-057144 2017-03-23

Publications (1)

Publication Number Publication Date
WO2018173739A1 true WO2018173739A1 (ja) 2018-09-27

Family

ID=63586370

Family Applications (1)

Application Number Title Priority Date Filing Date
PCT/JP2018/008526 Ceased WO2018173739A1 (ja) 2017-03-23 2018-03-06 プロジェクターおよびプロジェクターの制御方法

Country Status (4)

Country Link
US (1) US11131911B2 (enExample)
JP (1) JP2018160803A (enExample)
CN (1) CN110463191B (enExample)
WO (1) WO2018173739A1 (enExample)

Cited By (1)

* Cited by examiner, † Cited by third party
Publication number Priority date Publication date Assignee Title
US11184592B2 (en) 2020-02-20 2021-11-23 Seiko Epson Corporation Projection system, method of controlling projector, and projector

Families Citing this family (9)

* Cited by examiner, † Cited by third party
Publication number Priority date Publication date Assignee Title
JP6683791B1 (ja) * 2018-11-02 2020-04-22 富士フイルム株式会社 投射レンズ及び投射装置
JP6915632B2 (ja) * 2019-01-15 2021-08-04 セイコーエプソン株式会社 プロジェクターの制御方法、プロジェクターおよび投写システム
JP7316210B2 (ja) * 2019-12-26 2023-07-27 株式会社キーエンス レーザ加工装置
JP7608723B2 (ja) * 2020-03-30 2025-01-07 セイコーエプソン株式会社 設定支援方法、及び設定支援装置
CN112040206A (zh) * 2020-08-21 2020-12-04 广景视睿科技(深圳)有限公司 一种变焦投影方法及投影仪
JP7314425B2 (ja) * 2020-11-18 2023-07-25 富士フイルム株式会社 制御装置、制御方法、制御プログラム、及び投影システム
CN115150599B (zh) * 2021-03-31 2023-11-28 成都极米科技股份有限公司 确定目标坐标的方法及装置
JP7647416B2 (ja) * 2021-07-26 2025-03-18 セイコーエプソン株式会社 プロジェクターの制御方法、及びプロジェクター
KR20240152113A (ko) * 2023-04-12 2024-10-21 삼성전자주식회사 전자 장치 및 영상 매핑 방법

Citations (6)

* Cited by examiner, † Cited by third party
Publication number Priority date Publication date Assignee Title
JP2004072570A (ja) * 2002-08-08 2004-03-04 Casio Comput Co Ltd 表示制御装置、情報端末装置、表示制御プログラム
JP2005215542A (ja) * 2004-01-30 2005-08-11 Toshiba Corp ビデオプロジェクタ装置及びその投射映像の位置調整方法
JP2006098789A (ja) * 2004-09-29 2006-04-13 Casio Comput Co Ltd 投影装置、投影方法及びプログラム
JP2007036482A (ja) * 2005-07-25 2007-02-08 Nippon Telegr & Teleph Corp <Ntt> 情報投影表示装置およびプログラム
JP2008287171A (ja) * 2007-05-21 2008-11-27 Funai Electric Co Ltd 投射型映像表示装置
JP2015011282A (ja) * 2013-07-01 2015-01-19 株式会社ニコン 投影装置

Family Cites Families (9)

* Cited by examiner, † Cited by third party
Publication number Priority date Publication date Assignee Title
US7175285B2 (en) * 2003-07-29 2007-02-13 Sharp Laboratories Of America, Inc. Projection system that adjusts for keystoning
JP3925521B2 (ja) * 2004-08-19 2007-06-06 セイコーエプソン株式会社 スクリーンの一部の辺を用いたキーストーン補正
US20060221309A1 (en) * 2005-04-01 2006-10-05 Konica Minolta Opto, Inc. Projection type of image displaying apparatus
JP2009200683A (ja) * 2008-02-20 2009-09-03 Seiko Epson Corp 画像処理装置、プロジェクタ、歪み補正方法
JP6089424B2 (ja) * 2012-03-21 2017-03-08 セイコーエプソン株式会社 画像処理装置、プロジェクター、およびプロジェクターの制御方法
JP6089461B2 (ja) * 2012-06-22 2017-03-08 セイコーエプソン株式会社 プロジェクター、画像表示システム、プロジェクターの制御方法
CN103313013A (zh) * 2013-06-17 2013-09-18 苏州旭宇升电子有限公司 一种投影装置
JP2015046847A (ja) * 2013-08-29 2015-03-12 株式会社リコー 画像投影装置、画像投影システム及び画像投影方法
JP7167503B2 (ja) * 2018-06-27 2022-11-09 セイコーエプソン株式会社 プロジェクター

Patent Citations (6)

* Cited by examiner, † Cited by third party
Publication number Priority date Publication date Assignee Title
JP2004072570A (ja) * 2002-08-08 2004-03-04 Casio Comput Co Ltd 表示制御装置、情報端末装置、表示制御プログラム
JP2005215542A (ja) * 2004-01-30 2005-08-11 Toshiba Corp ビデオプロジェクタ装置及びその投射映像の位置調整方法
JP2006098789A (ja) * 2004-09-29 2006-04-13 Casio Comput Co Ltd 投影装置、投影方法及びプログラム
JP2007036482A (ja) * 2005-07-25 2007-02-08 Nippon Telegr & Teleph Corp <Ntt> 情報投影表示装置およびプログラム
JP2008287171A (ja) * 2007-05-21 2008-11-27 Funai Electric Co Ltd 投射型映像表示装置
JP2015011282A (ja) * 2013-07-01 2015-01-19 株式会社ニコン 投影装置

Cited By (1)

* Cited by examiner, † Cited by third party
Publication number Priority date Publication date Assignee Title
US11184592B2 (en) 2020-02-20 2021-11-23 Seiko Epson Corporation Projection system, method of controlling projector, and projector

Also Published As

Publication number Publication date
JP2018160803A (ja) 2018-10-11
US20210109428A1 (en) 2021-04-15
CN110463191A (zh) 2019-11-15
US11131911B2 (en) 2021-09-28
CN110463191B (zh) 2022-01-11

Similar Documents

Publication Publication Date Title
WO2018173739A1 (ja) プロジェクターおよびプロジェクターの制御方法
CN110650327B (zh) 投影仪和投影仪的控制方法
JP6915632B2 (ja) プロジェクターの制御方法、プロジェクターおよび投写システム
JP6784280B2 (ja) プロジェクターおよびプロジェクターの制御方法
JP5327468B2 (ja) プロジェクター、プログラム、情報記憶媒体および台形歪み補正方法
JP6201359B2 (ja) 投影システム、投影方法及び投影プログラム
US20190124309A1 (en) Projector and method for controlling projector
WO2012046575A1 (ja) 投写型映像表示装置
JP2012018214A (ja) 投写型映像表示装置
JP6749402B2 (ja) 投射型映像表示装置および投射映像の調整方法
JP7147617B2 (ja) プロジェクター及びプロジェクターの制御方法
JP2013083985A (ja) 投影装置、投影方法及びプログラム
KR20120116076A (ko) 디스플레이장치 및 그 제어방법
JP5630799B2 (ja) 投影装置、投影方法及びプログラム
JP2014187515A (ja) プロジェクター及びプロジェクターの制御方法
JP6347126B2 (ja) プロジェクター、及び、プロジェクターの制御方法
JP2012095181A (ja) プロジェクター、及び、プロジェクターの制御方法
JP2016071864A (ja) プロジェクタ装置
JP2009168887A (ja) 携帯型画像投写装置
JP2020154191A (ja) 画像投射装置およびその制御方法
JP6822209B2 (ja) プロジェクターおよびプロジェクターの制御方法
TWI695625B (zh) 畫面校正方法及投影機系統
JP2006330644A (ja) 投写型映像表示装置
JP2016139156A (ja) プロジェクター、及び、プロジェクターの制御方法
JP2018136889A (ja) プロジェクターおよびプロジェクターの制御方法

Legal Events

Date Code Title Description
121 Ep: the epo has been informed by wipo that ep was designated in this application

Ref document number: 18771051

Country of ref document: EP

Kind code of ref document: A1

NENP Non-entry into the national phase

Ref country code: DE

122 Ep: pct application non-entry in european phase

Ref document number: 18771051

Country of ref document: EP

Kind code of ref document: A1