WO2018150777A1 - トルク変動抑制装置、トルクコンバータ、及び動力伝達装置 - Google Patents

トルク変動抑制装置、トルクコンバータ、及び動力伝達装置 Download PDF

Info

Publication number
WO2018150777A1
WO2018150777A1 PCT/JP2018/000754 JP2018000754W WO2018150777A1 WO 2018150777 A1 WO2018150777 A1 WO 2018150777A1 JP 2018000754 W JP2018000754 W JP 2018000754W WO 2018150777 A1 WO2018150777 A1 WO 2018150777A1
Authority
WO
WIPO (PCT)
Prior art keywords
centrifuge
rotating body
torque fluctuation
torque
cam
Prior art date
Legal status (The legal status is an assumption and is not a legal conclusion. Google has not performed a legal analysis and makes no representation as to the accuracy of the status listed.)
Ceased
Application number
PCT/JP2018/000754
Other languages
English (en)
French (fr)
Japanese (ja)
Inventor
友透 西川
Current Assignee (The listed assignees may be inaccurate. Google has not performed a legal analysis and makes no representation or warranty as to the accuracy of the list.)
Exedy Corp
Original Assignee
Exedy Corp
Priority date (The priority date is an assumption and is not a legal conclusion. Google has not performed a legal analysis and makes no representation as to the accuracy of the date listed.)
Filing date
Publication date
Application filed by Exedy Corp filed Critical Exedy Corp
Priority to US16/473,618 priority Critical patent/US11156277B2/en
Priority to CN201880012220.2A priority patent/CN110300862B/zh
Publication of WO2018150777A1 publication Critical patent/WO2018150777A1/ja
Anticipated expiration legal-status Critical
Ceased legal-status Critical Current

Links

Images

Classifications

    • FMECHANICAL ENGINEERING; LIGHTING; HEATING; WEAPONS; BLASTING
    • F16ENGINEERING ELEMENTS AND UNITS; GENERAL MEASURES FOR PRODUCING AND MAINTAINING EFFECTIVE FUNCTIONING OF MACHINES OR INSTALLATIONS; THERMAL INSULATION IN GENERAL
    • F16HGEARING
    • F16H45/00Combinations of fluid gearings for conveying rotary motion with couplings or clutches 
    • F16H45/02Combinations of fluid gearings for conveying rotary motion with couplings or clutches  with mechanical clutches for bridging a fluid gearing of the hydrokinetic type
    • FMECHANICAL ENGINEERING; LIGHTING; HEATING; WEAPONS; BLASTING
    • F16ENGINEERING ELEMENTS AND UNITS; GENERAL MEASURES FOR PRODUCING AND MAINTAINING EFFECTIVE FUNCTIONING OF MACHINES OR INSTALLATIONS; THERMAL INSULATION IN GENERAL
    • F16FSPRINGS; SHOCK-ABSORBERS; MEANS FOR DAMPING VIBRATION
    • F16F15/00Suppression of vibrations in systems; Means or arrangements for avoiding or reducing out-of-balance forces, e.g. due to motion
    • F16F15/10Suppression of vibrations in rotating systems by making use of members moving with the system
    • F16F15/12Suppression of vibrations in rotating systems by making use of members moving with the system using elastic members or friction-damping members, e.g. between a rotating shaft and a gyratory mass mounted thereon
    • F16F15/131Suppression of vibrations in rotating systems by making use of members moving with the system using elastic members or friction-damping members, e.g. between a rotating shaft and a gyratory mass mounted thereon the rotating system comprising two or more gyratory masses
    • F16F15/133Suppression of vibrations in rotating systems by making use of members moving with the system using elastic members or friction-damping members, e.g. between a rotating shaft and a gyratory mass mounted thereon the rotating system comprising two or more gyratory masses using springs as elastic members, e.g. metallic springs
    • F16F15/134Wound springs
    • FMECHANICAL ENGINEERING; LIGHTING; HEATING; WEAPONS; BLASTING
    • F16ENGINEERING ELEMENTS AND UNITS; GENERAL MEASURES FOR PRODUCING AND MAINTAINING EFFECTIVE FUNCTIONING OF MACHINES OR INSTALLATIONS; THERMAL INSULATION IN GENERAL
    • F16FSPRINGS; SHOCK-ABSORBERS; MEANS FOR DAMPING VIBRATION
    • F16F15/00Suppression of vibrations in systems; Means or arrangements for avoiding or reducing out-of-balance forces, e.g. due to motion
    • F16F15/10Suppression of vibrations in rotating systems by making use of members moving with the system
    • F16F15/14Suppression of vibrations in rotating systems by making use of members moving with the system using masses freely rotating with the system, i.e. uninvolved in transmitting driveline torque, e.g. rotative dynamic dampers
    • FMECHANICAL ENGINEERING; LIGHTING; HEATING; WEAPONS; BLASTING
    • F16ENGINEERING ELEMENTS AND UNITS; GENERAL MEASURES FOR PRODUCING AND MAINTAINING EFFECTIVE FUNCTIONING OF MACHINES OR INSTALLATIONS; THERMAL INSULATION IN GENERAL
    • F16FSPRINGS; SHOCK-ABSORBERS; MEANS FOR DAMPING VIBRATION
    • F16F15/00Suppression of vibrations in systems; Means or arrangements for avoiding or reducing out-of-balance forces, e.g. due to motion
    • F16F15/10Suppression of vibrations in rotating systems by making use of members moving with the system
    • F16F15/14Suppression of vibrations in rotating systems by making use of members moving with the system using masses freely rotating with the system, i.e. uninvolved in transmitting driveline torque, e.g. rotative dynamic dampers
    • F16F15/1407Suppression of vibrations in rotating systems by making use of members moving with the system using masses freely rotating with the system, i.e. uninvolved in transmitting driveline torque, e.g. rotative dynamic dampers the rotation being limited with respect to the driving means
    • F16F15/145Masses mounted with play with respect to driving means thus enabling free movement over a limited range
    • F16F15/1457Systems with a single mass
    • FMECHANICAL ENGINEERING; LIGHTING; HEATING; WEAPONS; BLASTING
    • F16ENGINEERING ELEMENTS AND UNITS; GENERAL MEASURES FOR PRODUCING AND MAINTAINING EFFECTIVE FUNCTIONING OF MACHINES OR INSTALLATIONS; THERMAL INSULATION IN GENERAL
    • F16HGEARING
    • F16H25/00Gearings comprising primarily only cams, cam-followers and screw-and-nut mechanisms
    • F16H25/18Gearings comprising primarily only cams, cam-followers and screw-and-nut mechanisms for conveying or interconverting oscillating or reciprocating motions
    • FMECHANICAL ENGINEERING; LIGHTING; HEATING; WEAPONS; BLASTING
    • F16ENGINEERING ELEMENTS AND UNITS; GENERAL MEASURES FOR PRODUCING AND MAINTAINING EFFECTIVE FUNCTIONING OF MACHINES OR INSTALLATIONS; THERMAL INSULATION IN GENERAL
    • F16HGEARING
    • F16H45/00Combinations of fluid gearings for conveying rotary motion with couplings or clutches 
    • F16H45/02Combinations of fluid gearings for conveying rotary motion with couplings or clutches  with mechanical clutches for bridging a fluid gearing of the hydrokinetic type
    • F16H2045/0221Combinations of fluid gearings for conveying rotary motion with couplings or clutches  with mechanical clutches for bridging a fluid gearing of the hydrokinetic type with damping means
    • FMECHANICAL ENGINEERING; LIGHTING; HEATING; WEAPONS; BLASTING
    • F16ENGINEERING ELEMENTS AND UNITS; GENERAL MEASURES FOR PRODUCING AND MAINTAINING EFFECTIVE FUNCTIONING OF MACHINES OR INSTALLATIONS; THERMAL INSULATION IN GENERAL
    • F16HGEARING
    • F16H45/00Combinations of fluid gearings for conveying rotary motion with couplings or clutches 
    • F16H45/02Combinations of fluid gearings for conveying rotary motion with couplings or clutches  with mechanical clutches for bridging a fluid gearing of the hydrokinetic type
    • F16H2045/0221Combinations of fluid gearings for conveying rotary motion with couplings or clutches  with mechanical clutches for bridging a fluid gearing of the hydrokinetic type with damping means
    • F16H2045/0263Combinations of fluid gearings for conveying rotary motion with couplings or clutches  with mechanical clutches for bridging a fluid gearing of the hydrokinetic type with damping means the damper comprising a pendulum

Definitions

  • the present invention relates to a torque fluctuation suppressing device, and more particularly, to a torque fluctuation suppressing device for suppressing torque fluctuation of a rotating body that rotates around a rotating shaft and receives torque.
  • the present invention also relates to a torque converter and a power transmission device including a torque fluctuation suppressing device.
  • a clutch device including a damper device and a torque converter are provided between an automobile engine and a transmission. Further, the torque converter is provided with a lockup device for mechanically transmitting torque at a predetermined rotational speed or more in order to reduce fuel consumption.
  • the lockup device generally has a clutch part and a damper having a plurality of torsion springs.
  • the clutch portion has a piston with a friction member that is pressed against the front cover by the action of hydraulic pressure. In the lock-up-on state, torque is transmitted from the front cover to the piston via the friction member, and further transmitted to the output side member via the plurality of torsion springs.
  • torque fluctuations can be suppressed by a damper having a plurality of torsion springs.
  • a dynamic damper device including an inertia member.
  • the dynamic damper device of Patent Document 1 is mounted on a plate that supports a torsion spring, a pair of inertia rings that are rotatable relative to the plate, and a plurality of coil springs provided between the plate and the inertia ring. And have.
  • An object of the present invention is to be able to suppress a peak of torque fluctuation in a relatively wide rotational speed range in an apparatus for suppressing torque fluctuation of a rotating member.
  • a torque fluctuation suppressing device is a device that suppresses torque fluctuation of a rotating body to which torque is input.
  • the torque fluctuation suppressing device includes a mass body, a plurality of centrifuges, a plurality of cam mechanisms, and a plurality of regulating mechanisms.
  • the mass body can be rotated together with the rotating body, and is disposed so as to be rotatable relative to the rotating body.
  • the plurality of centrifuges are arranged so as to receive a centrifugal force due to the rotation of the rotating body and the mass body.
  • the plurality of cam mechanisms receive a centrifugal force acting on the centrifuge, and when a relative displacement in the rotational direction occurs between the rotating body and the mass body, the centrifugal force is converted into a circumferential direction in which the relative displacement is reduced. Convert to force.
  • the plurality of restricting mechanisms allow operation of the centrifuge by the cam mechanism and restrict movement of the centrifuge in the radial direction.
  • the centrifuge receives a centrifugal force.
  • the cam mechanism converts the centrifugal force acting on the centrifuge into a circumferential force, which is applied between the rotating body and the mass body. It acts to reduce the relative displacement of. Torque fluctuation is suppressed by the operation of the cam mechanism.
  • the centrifugal force acting on the centrifuge is used as a force for suppressing the torque fluctuation
  • the characteristic for suppressing the torque fluctuation changes according to the rotational speed of the rotating body. Further, for example, the characteristics for suppressing torque fluctuation can be appropriately set depending on the shape of the cam and the like, and the peak of torque fluctuation in a wider rotational speed range can be suppressed.
  • the operation of the centrifuge by the cam mechanism is allowed by the restriction mechanism, but the movement of the centrifuge in the radial direction is restricted. For this reason, it can be avoided that the centrifuge moves in the radial direction and collides with another member such as a rotating body to generate a hitting sound. Moreover, even when the centrifuge and another member collide, the hitting sound at the time of the collision can be suppressed.
  • the restriction mechanism has a restriction shaft and a restriction groove.
  • the restriction shaft is provided on one of the mass body and the centrifuge and extends along the rotation axis of the rotating body.
  • the restriction groove is formed on the other of the mass body and the centrifuge, and the restriction shaft is inserted therein.
  • a restriction shaft is provided in the centrifuge, and this restriction shaft is inserted into a restriction groove formed in the mass body, for example. For this reason, at the time of operation of the centrifuge, the regulating shaft moves while being regulated by the regulating groove, and as a result, the radial movement of the centrifuge is regulated.
  • the regulation mechanism can be realized with a simple configuration. Further, since the restriction shaft is inserted into the restriction groove, the movement of the centrifuge in the radial direction outside and inside can be restricted.
  • the different regulation mechanisms have different regulation axes and regulation surfaces.
  • the restriction shaft is provided on the mass body and extends along the rotation shaft of the rotating body.
  • the restriction surface is formed on the inner peripheral surface of the centrifuge, and the restriction shaft slides.
  • the centrifuge operates while the regulating surface formed on the inner circumferential surface is in contact with the regulating shaft provided on the mass body. For this reason, the movement of the centrifuge inward in the radial direction can be restricted. Further, it is not necessary to form a groove for guiding the regulating shaft, and the configuration becomes simpler.
  • the elastic body further provided in the outer peripheral surface of the control shaft or the surface which a control shaft contact
  • the collision between the restriction shaft and the portion where the restriction shaft collides is alleviated, and the hitting sound at the time of the collision can be further suppressed.
  • a rotary body has a some recessed part in an outer peripheral surface, and each of a some centrifuge is accommodated in the recessed part of a rotating body. The restricting mechanism restricts the inner peripheral surface of the centrifuge from coming into contact with the bottom surface of the recess.
  • the centrifuge receives the centrifugal force and tries to move outward in the radial direction.
  • the centrifugal force does not act on the centrifuge. Therefore, when the restriction mechanism is not provided, the centrifuge located above the plurality of centrifuges falls downward and collides with the bottom surface of the recess. A hitting sound is generated at the time of this collision.
  • the movement of the centrifuge in the radial direction is regulated by the regulation mechanism, and the centrifuge is prevented from colliding with the bottom surface of the recess. Therefore, the hitting sound between the centrifuge and the bottom surface of the recess can be eliminated when the rotation is stopped.
  • the cam mechanism includes a cam provided on one of the mass body and the centrifuge, and a cam follower provided on the other of the mass body and the centrifuge and moving along the cam.
  • the amount of relative displacement in the rotational direction between the rotating body and the mass body varies depending on the magnitude of torque variation of the rotating body.
  • torque variation can be suppressed more efficiently by setting the shape of the cam so that the circumferential force converted from the centrifugal force changes according to the relative displacement.
  • the mass body includes a first inertia ring and a second inertia ring arranged to face each other with the rotating body interposed therebetween, and a pin that connects the first inertia ring and the second inertia ring so as not to be relatively rotatable.
  • the centrifuge is arranged between the first inertia ring and the second inertia ring in the axial direction on the outer peripheral portion of the rotating body and on the inner peripheral side of the pin.
  • the cam follower is a cylindrical roller having a hole through which a pin penetrates in the axial direction.
  • the cam is formed in the centrifuge and contacts the cam follower, and has a shape in which the circumferential force changes according to the relative displacement amount in the rotational direction between the rotating body and the mass body.
  • the cam follower is mounted using a pin that connects the first inertia ring and the second inertia ring. This simplifies the configuration of the cam mechanism.
  • the torque converter according to the present invention is disposed between the engine and the transmission.
  • This torque converter includes an input-side rotator to which torque from the engine is input, a hub flange that outputs torque to the transmission, a damper disposed between the input-side rotator and the turbine, A torque fluctuation suppressing device.
  • a power transmission device includes a flywheel, a clutch device, and any of the torque fluctuation suppression devices described above.
  • the flywheel includes a first inertial body that rotates about a rotation axis, a second inertial body that rotates about the rotation axis and is rotatable relative to the first inertial body, and a first inertial body and a second inertial body. And a damper disposed therebetween.
  • the clutch device is provided on the second inertial body of the flywheel.
  • the peak of torque fluctuation can be suppressed in a relatively wide rotational speed range in the apparatus for suppressing torque fluctuation of the rotating member. Further, in the present invention, it is possible to suppress the hitting sound that the centrifuge collides with other members.
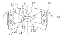
  • FIG. 2 is a front partial view of the hub flange and torque fluctuation suppressing device of FIG. 1.
  • FIG. 3 is an arrow A view of FIG. 2.
  • the external appearance perspective view of the part shown by FIG. The figure for demonstrating the action
  • FIG. 2 of 2nd Embodiment of this invention The figure for demonstrating the action
  • FIG. 2 of 3rd Embodiment of this invention The figure equivalent to FIG. 2 of 4th Embodiment of this invention.
  • FIG. 2 of 5th Embodiment of this invention The schematic diagram which shows the application example 1 of this invention.
  • the schematic diagram which shows the application example 2 of this invention The schematic diagram which shows the application example 3 of this invention.
  • the schematic diagram which shows the application example 4 of this invention The schematic diagram which shows the application example 5 of this invention.
  • the schematic diagram which shows the application example 6 of this invention The schematic diagram which shows the application example 7 of this invention.
  • the schematic diagram which shows the application example 8 of this invention The schematic diagram which shows the application example 9 of this invention.
  • FIG. 1 is a schematic diagram when the torque fluctuation suppressing device according to the first embodiment of the present invention is mounted on a lock-up device of a torque converter.
  • OO is the rotational axis of the torque converter.
  • the torque converter 1 includes a front cover 2, a torque converter main body 3, a lockup device 4, and an output hub 5. Torque is input to the front cover 2 from the engine.
  • the torque converter main body 3 includes an impeller 7 connected to the front cover 2, a turbine 8, and a stator (not shown).
  • the turbine 8 is connected to the output hub 5, and an input shaft (not shown) of the transmission can be engaged with the inner peripheral portion of the output hub 5 by a spline.
  • the lock-up device 4 has a clutch part, a piston that is operated by hydraulic pressure, and the like, and can take a lock-up on state and a lock-up off state.
  • the lock-up on state the torque input to the front cover 2 is transmitted to the output hub 5 via the lock-up device 4 without passing through the torque converter body 3.
  • the lock-up off state torque input to the front cover 2 is transmitted to the output hub 5 via the torque converter body 3.
  • the lockup device 4 includes an input side rotating body 11, a hub flange 12 (rotating body), a damper 13, and a torque fluctuation suppressing device 14.
  • the input side rotating body 11 includes a piston that is movable in the axial direction, and a friction member 16 is fixed to a side surface on the front cover 2 side. When the friction member 16 is pressed against the front cover 2, torque is transmitted from the front cover 2 to the input side rotating body 11.
  • the hub flange 12 is disposed so as to face the input-side rotator 11 in the axial direction, and is rotatable relative to the input-side rotator 11.
  • the hub flange 12 is connected to the output hub 5.
  • the damper 13 is disposed between the input side rotating body 11 and the hub flange 12.
  • the damper 13 has a plurality of torsion springs, and elastically connects the input side rotating body 11 and the hub flange 12 in the rotational direction.
  • the damper 13 transmits torque from the input side rotating body 11 to the hub flange 12 and absorbs and attenuates torque fluctuations.
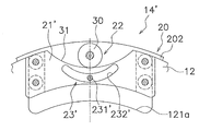
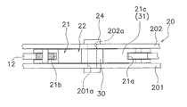
  • FIG. 2 is a front view of the hub flange 12 and the torque fluctuation suppressing device 14. Note that FIG. 2 shows one (near side) inertia ring removed. 3 is a view seen from the direction A in FIG. 2, and FIG. 4 is an external perspective view of FIG. 2 and the subsequent drawings show a part of the hub flange 12 and the torque fluctuation suppressing device 14, but as a whole, the portions shown in each figure are provided at equal angular intervals at four locations in the circumferential direction. Yes.
  • the torque fluctuation suppressing device 14 includes a first inertia ring 201 and a second inertia ring 202 that constitute the mass body 20, four centrifuges 21, four cam mechanisms 22, four restriction mechanisms 23, have.
  • the first and second inertia rings 201 and 202 are plates each having a predetermined thickness formed in a continuous annular shape, and as shown in FIG. 3, both axial sides of the hub flange 12 sandwich the hub flange 12. Are arranged with a predetermined gap. That is, the hub flange 12 and the first and second inertia rings 201 and 202 are arranged side by side in the axial direction.
  • the first and second inertia rings 201 and 202 have the same rotation axis as the rotation axis of the hub flange 12, can rotate together with the hub flange 12, and can rotate relative to the hub flange 12.
  • first and second inertia rings 201, 202 holes 201a, 202a penetrating in the axial direction are formed. And the 1st inertia ring 201 and the 2nd inertia ring 202 are being fixed by the rivet 24 which penetrates those holes 201a and 202a. Therefore, the first inertia ring 201 cannot move in the axial direction, the radial direction, and the rotation direction with respect to the second inertia ring 202.
  • the hub flange 12 is formed in a disc shape, and the inner peripheral portion is connected to the output hub 5 as described above.
  • Four protrusions 121 are formed on the outer peripheral portion of the hub flange 12 so as to protrude further to the outer peripheral side and have a predetermined width in the circumferential direction.
  • a concave portion 121a having a predetermined width is formed at the central portion of the protruding portion 121 in the circumferential direction.
  • the recess 121a is formed so as to open to the outer peripheral side and has a predetermined depth.
  • the centrifuge 21 is disposed in the recess 121 a of the hub flange 12 and can move in the radial direction by the centrifugal force generated by the rotation of the hub flange 12.
  • the centrifuge 21 is formed to extend in the circumferential direction, and has grooves 21 a and 21 b at both ends in the circumferential direction.
  • the widths of the grooves 21a and 21b are larger than the thickness of the hub flange 12, and the hub flange 12 is inserted into a part of the grooves 21a and 21b.
  • the outer peripheral surface 21c of the centrifuge 21 is formed in an arc shape that is recessed toward the inner peripheral side, and functions as a cam 31 as described later.
  • Two rollers 26a and 26b are disposed in the grooves 21a and 21b at both ends of the centrifuge 21, respectively.
  • Each of the rollers 26a and 26b is rotatably mounted around a pin 27 provided through the grooves 21a and 21b in the rotation axis direction. And each roller 26a, 26b can contact
  • the cam mechanism 22 includes a cylindrical roller 30 as a cam follower and a cam 31 that is an outer peripheral surface 21 c of the centrifuge 21.
  • the roller 30 is fitted on the outer periphery of the trunk portion of the rivet 24. That is, the roller 30 is supported by the rivet 24.
  • the roller 30 is preferably mounted so as to be rotatable with respect to the rivet 24, but may not be rotatable.
  • the cam 31 is an arcuate surface with which the roller 30 abuts.
  • the restriction mechanism 23 allows the centrifuge 21 to be operated by the cam mechanism 22 and restricts the movement of the centrifuge 21 in the radial direction.
  • the restriction mechanism 23 includes a pin (restriction shaft) 231 and a groove (restriction groove) 232.
  • the pin 231 is provided so as to penetrate the centrifuge 21 in the rotation axis direction. More specifically, the pin 231 is provided at the central portion in the longitudinal direction (circumferential direction) of the centrifuge 21 so as to extend along the rotation axis. Further, the groove 232 is formed in the same shape at the same position in each of the first inertia ring 201 and the second inertia ring 202. The groove 232 is formed in a convex arc shape on the outer peripheral side, and a pin 231 is inserted into the groove 232. A predetermined gap is provided between the pin 231 and the groove 232, and the pin 231 can move smoothly in the groove 232.
  • the pin 231 is located at the center in the longitudinal direction (circumferential direction) of the groove 232.
  • the centrifuge 21 moves in the radial direction by the operation of the cam mechanism 22.
  • the pin 231 moves along the groove 232.
  • the shape of the groove 232 is set so that the inner peripheral surface of the centrifuge 21 does not contact the bottom surface of the recess 121 a of the hub flange 12 wherever the pin 231 is located in the groove 232.
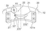
  • the hub flange 12 and the inertia ring 20 rotate in the state shown in FIG. In this state, the roller 30 of the cam mechanism 22 abuts on the innermost circumferential position (circumferential center position) of the cam 31 and the rotational phase difference between the hub flange 12 and the inertia ring 20 is “0”. .
  • rotational phase difference the relative displacement amount in the rotational direction between the hub flange 12 and the inertia ring 20 is referred to as “rotational phase difference”, which is shown in FIG. 2, FIG. 5 and FIG. 21 shows a deviation between the center position of the circumferential direction of the cam 21 and the cam 31 and the center position of the roller 30.
  • FIG. 5 shows a case where a rotational phase difference + ⁇ 1 (for example, 5 degrees) is generated on the + R side
  • FIG. 6 similarly shows a case where a rotational phase difference + ⁇ 2 (for example, 10 degrees) is generated on the + R side.
  • the first component force P1 is a force that moves the hub flange 12 in the left direction in FIG. 5 via the cam mechanism 22 and the centrifuge 21. That is, a force in the direction of reducing the rotational phase difference between the hub flange 12 and the inertia ring 20 acts on the hub flange 12. Moreover, the centrifuge 21 is moved to the inner peripheral side against the centrifugal force by the second component force P2.
  • the force that suppresses the torque fluctuation described above varies depending on the centrifugal force, that is, the rotational speed of the hub flange 12, and also varies depending on the rotational phase difference and the shape of the cam 31. Therefore, by setting the shape of the cam 31 as appropriate, the characteristics of the torque fluctuation suppressing device 14 can be optimized according to engine specifications and the like.
  • the shape of the cam 31 can be made such that the first component force P1 changes linearly according to the rotational phase difference in the state where the same centrifugal force is acting.
  • the shape of the cam 31 can be a shape in which the first component force P1 changes nonlinearly according to the rotational phase difference.
  • the movement of the centrifuge 21 is not restricted by the restriction mechanism 23. That is, the pin 231 provided on the centrifuge 21 can move smoothly along the groove 232, and the movement of the centrifuge 21 in the radial direction is not restricted.
  • centrifugal force does not act on the centrifuge 21, so that the centrifuge 21 located above the four centrifuges 21 is not It falls in the circumferential direction (downward).
  • the restriction mechanism 23 is not provided, the centrifuge 21 falls downward, the inner peripheral surface of the centrifuge 21 collides with the bottom surface of the recess 121a, and a hitting sound is generated.
  • the centrifuge 21 located above when the rotation is stopped falls to a position where it contacts the bottom surface of the recess 121a. In this case, there is a relatively wide gap between the cam 31 and the roller 30 that are the outer peripheral surface of the centrifuge 21.
  • the centrifuge 21 moves to the outer peripheral side and collides with the roller 30 to generate a hitting sound.
  • FIG. 7 is a diagram illustrating an example of torque fluctuation suppression characteristics.
  • the horizontal axis represents the rotational speed, and the vertical axis represents the torque fluctuation (rotational speed fluctuation).
  • the characteristic Q1 is a case where a device for suppressing torque fluctuation is not provided
  • the characteristic Q2 is a case where a conventional dynamic damper device is provided
  • the characteristic Q3 is a case where the torque fluctuation suppressing device 14 of the present embodiment is provided. Show.
  • Embodiment- 8 to 10 show a part of the torque fluctuation suppressing device according to the second embodiment of the present invention, and are equivalent to FIGS. 2, 5 and 6 of the first embodiment.
  • the inertia ring 201 on one side is removed.
  • the basic configuration of the torque fluctuation suppressing device 14 ′ of the second embodiment such as the operation of the cam mechanism 22 is the same as that of the first embodiment, but the configuration of the restriction mechanism is different from that of the first embodiment.
  • the restriction mechanism 23 ' shown in FIG. 8 permits the operation of the centrifuge 21' by the cam mechanism 22 and restricts the movement of the centrifuge 21 'in the radial direction, as in the first embodiment.
  • the regulation mechanism 23 ' has a pin (regulation shaft) 231' and a groove (regulation groove) 232 '.
  • the pin 231 ′ is provided so as to connect the first inertia ring 201 and the second inertia ring 202. In other words, the pin 231 ′ extends between the inertia rings 201 and 202 along the rotation axis direction. Further, the pin 231 ′ is provided so as to be located at the center in the circumferential direction of the recess 121a of the hub flange 12 in a state where there is no rotational phase difference between the hub flange 12 and the inertia ring 20 (the state shown in FIG. 8). ing.
  • the groove 232 ′ is formed in an arc shape convex toward the inner peripheral side at the center in the circumferential direction of the centrifuge 21 ′, and the pin 231 ′ passes through the groove 232 ′.
  • a predetermined gap is provided between the pin 231 ′ and the groove 232 ′, and the pin 231 ′ can move smoothly in the groove 232 ′.
  • the shape of the groove 232 ′ is set so that the inner peripheral surface of the centrifuge 21 ′ does not come into contact with the bottom surface of the recess 121 a of the hub flange 12 no matter where the pin 231 ′ is located in the groove 232 ′.
  • FIGS. 9 and 10 are diagrams showing the operating state of the cam mechanism 22 and correspond to FIGS. 5 and 6 of the first embodiment. Since the operation of the cam mechanism 22 and the operation of the restriction mechanism 23 'are the same as those in the first embodiment, detailed description thereof is omitted.
  • FIG. 11 shows a part of the torque fluctuation suppressing device according to the third embodiment, and corresponds to FIG. 2 of the first embodiment and FIG. 8 of the second embodiment.
  • the restriction mechanism 23 ′′ of the third embodiment is composed of a pin 231 ′ and a restriction surface 232 ′′ formed on the inner peripheral surface of the centrifuge 21 ′′.
  • the pin 231 ′ is the same as in the second embodiment.
  • the regulating surface 232 ′′ is the inner peripheral surface of the centrifuge 21 ′′, and this regulating surface 232 ′′ is in contact with the pin 231 ′.
  • the restricting surface 232 ′′ is formed in an arc shape that is convex on the inner peripheral side.
  • the inner peripheral surface of the centrifuge 21 ′ contacts the bottom surface of the recess 121 a of the hub flange 12 no matter where the pin 231 ′ is in contact with the regulating surface 232 ′′.
  • the shape of the restricting surface 232 ′′ is set so as not to occur.
  • FIG. 12 shows a part of the torque fluctuation suppressing device according to the fourth embodiment, and corresponds to FIG. 2 of the first embodiment.
  • this 4th Embodiment only the structure of a control mechanism differs from 1st Embodiment. That is, in the fourth embodiment, the elastic body 233 is provided on the outer peripheral surface of the pin 321.
  • the elastic body 233 may be provided not on the outer peripheral surface of the pin 231 but on the inner peripheral surface of the restriction groove 232, that is, the surface with which the pin 231 contacts.
  • FIG. 13 shows a part of the torque fluctuation suppressing device according to the fifth embodiment, which corresponds to FIG. 2 of the first embodiment.
  • the restriction mechanism 23 ′ ′′ of the fifth embodiment includes a pin (regulation shaft) 27 ′ that supports the rollers 26a and 26b and grooves (regulation grooves) formed in the first and second inertia rings 201 and 202. 232 ′ ′′.
  • the pin 27 ′ is provided through the centrifuge 21 and the groove 232 ′′ ′′ of the first and second inertia rings 201, 202 in the rotation axis direction.
  • the groove 232 ′′ ′′ is formed in the same position and in the same shape in each of the first inertia ring 201 and the second inertia ring 202.
  • the groove 232 ′′ ′′ is formed in a convex arc shape on the outer peripheral side, and a pin 27 ′ is inserted into the groove 232 ′′ ′′.
  • a predetermined gap is provided between the pin 27 ′ and the groove 232 ′′ ′′, and the pin 27 ′ can move smoothly in the groove 232 ′′ ′′.
  • the inertia ring is constituted by a continuous annular member, but a plurality of divided inertia bodies may be arranged in the circumferential direction.
  • a holding member such as an annular holding ring on the outer peripheral side of the inertia body.
  • the guide roller is disposed as the guide portion, but another member that reduces friction such as a resin race or a sheet may be disposed.
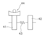
  • FIG. 14 is a diagram schematically showing the torque converter, and the torque converter is provided between the input side rotating body 41, the hub flange 42, and the input side rotating body 41 and the hub flange 42. And a damper 43.
  • the input side rotating body 41 includes members such as a front cover, a drive plate, and a piston.
  • the hub flange 42 includes a driven plate and a turbine hub.
  • the damper 43 includes a plurality of torsion springs.
  • a centrifuge is provided in any of the rotating members that constitute the input-side rotator 41, and a cam mechanism and a regulating mechanism that operate using centrifugal force acting on the centrifuge. 44 is provided.
  • the cam mechanism and the regulating mechanism 44 the same configuration as that shown in each of the above embodiments can be applied.
  • a centrifuge is provided in any of the rotating members constituting the hub flange 42, and a cam mechanism and a regulation that operate using centrifugal force acting on the centrifuge A mechanism 44 is provided.
  • the cam mechanism and the regulating mechanism 44 the same configuration as that shown in each of the above embodiments can be applied.
  • the torque converter shown in FIG. 16 has another damper 45 and an intermediate member 46 provided between the two dampers 43, 45 in addition to the configuration shown in FIGS. is doing.
  • the intermediate member 46 is rotatable relative to the input side rotating body 41 and the hub flange 42, and causes the two dampers 43 and 45 to act in series.
  • the intermediate member 46 is provided with a centrifuge, and a cam mechanism and a regulating mechanism 44 that operate by utilizing a centrifugal force acting on the centrifuge are provided.
  • a cam mechanism and a regulating mechanism 44 that operate by utilizing a centrifugal force acting on the centrifuge are provided.
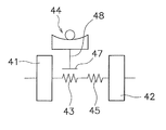
  • the torque converter shown in FIG. 17 has a float member 47.
  • the float member 47 is a member for supporting the torsion spring constituting the damper 43, and is formed, for example, in an annular shape so as to cover the outer periphery and at least one side surface of the torsion spring. Further, the float member 47 is rotatable relative to the input side rotating body 41 and the hub flange 42, and rotates around the damper 43 by friction with the torsion spring of the damper 43. That is, the float member 47 also rotates.
  • the float member 47 is provided with a centrifuge 48, and a cam mechanism and a regulation mechanism 44 that operate using a centrifugal force acting on the centrifuge 48 are provided.
  • a cam mechanism and a regulation mechanism 44 that operate using a centrifugal force acting on the centrifuge 48 are provided.
  • FIG. 18 is a schematic diagram of a power transmission device having a flywheel 50 having two inertia bodies 51 and 52 and a clutch device 54. That is, the flywheel 50 disposed between the engine and the clutch device 54 includes a first inertial body 51, a second inertial body 52 disposed so as to be rotatable relative to the first inertial body 51, and two inertial bodies. And a damper 53 disposed between 51 and 52. The second inertia body 52 also includes a clutch cover that constitutes the clutch device 54.
  • a centrifuge is provided in any of the rotating members constituting the second inertial body 52, and a cam mechanism and a regulating mechanism 55 that operate using centrifugal force acting on the centrifuge. Is provided.
  • the cam mechanism and the restriction mechanism 55 the same configuration as that shown in each of the above embodiments can be applied.
  • FIG. 19 is an example in which a centrifuge is provided in the first inertial body 51 in the same power transmission device as in FIG.
  • a cam mechanism and a regulation mechanism 55 that operate using the centrifugal force acting on the centrifuge are provided.
  • the cam mechanism and the restriction mechanism 55 the same configuration as that shown in each of the above embodiments can be applied.
  • the power transmission device shown in FIG. 20 includes another damper 56 and an intermediate member 57 provided between the two dampers 53, 56. Have.
  • the intermediate member 57 is rotatable relative to the first inertial body 51 and the second inertial body 52.
  • a centrifuge 58 is provided on the intermediate member 57, and a cam mechanism and a regulation mechanism 55 that operate using a centrifugal force acting on the centrifuge 58 are provided.
  • the cam mechanism and the restriction mechanism 55 the same configuration as that shown in each of the above embodiments can be applied.
  • FIG. 21 is a schematic diagram of a power transmission device in which a clutch device is provided on one flywheel.
  • the first inertia body 61 in FIG. 21 includes one flywheel and a clutch cover of the clutch device 62.
  • a centrifuge is provided in one of the rotating members constituting the first inertial body 61, and a cam mechanism and a regulating mechanism 64 that operate using a centrifugal force acting on the centrifuge are provided. Yes.
  • the cam mechanism and the regulating mechanism 64 the same configuration as that shown in each of the above embodiments can be applied.
  • FIG. 22 is an example in which a centrifuge 65 is provided on the output side of the clutch device 62 in the power transmission device similar to FIG.
  • a cam mechanism and a regulation mechanism 64 that operate using centrifugal force acting on the centrifuge 65 are provided.
  • the cam mechanism and the regulating mechanism 64 the same configuration as that shown in each of the above embodiments can be applied.
  • the torque fluctuation suppressing device of the present invention may be disposed on any of the rotating members constituting the transmission, and further, the shaft (propeller shaft or drive) on the output side of the transmission (Shaft).
  • the torque fluctuation suppressing device of the present invention may be further applied to a conventionally known dynamic damper device or a power transmission device provided with a pendulum type damper device.
  • the peak of the torque fluctuation can be suppressed in a relatively wide rotational speed range. Further, in the present invention, it is possible to suppress the hitting sound that the centrifuge collides with other members.
  • 1 Torque Converter 11 Input Side Rotating Body 12, 120 Hub Flange (Rotating Body) 121a Opening 14, 14 'Torque fluctuation suppressing device 20, 201, 202 Inertia ring (mass body) 21, 21 ′, 21 ′′ Centrifuge 22, 22 Cam mechanism 23, 23 ′, 23 ′′, 23 ′′ Restricting mechanism 231, 231 ′ Pin (regulating shaft) 232, 232 ', 232''' groove (regulating groove) 232 '' restriction surface 30 roller (cam follower) 31 cams

Landscapes

  • Engineering & Computer Science (AREA)
  • General Engineering & Computer Science (AREA)
  • Mechanical Engineering (AREA)
  • Physics & Mathematics (AREA)
  • Acoustics & Sound (AREA)
  • Aviation & Aerospace Engineering (AREA)
  • One-Way And Automatic Clutches, And Combinations Of Different Clutches (AREA)
  • Transmission Devices (AREA)
  • Centrifugal Separators (AREA)
PCT/JP2018/000754 2017-02-17 2018-01-15 トルク変動抑制装置、トルクコンバータ、及び動力伝達装置 Ceased WO2018150777A1 (ja)

Priority Applications (2)

Application Number Priority Date Filing Date Title
US16/473,618 US11156277B2 (en) 2017-02-17 2018-01-15 Torque fluctuation inhibiting device, torque converter and power transmission device
CN201880012220.2A CN110300862B (zh) 2017-02-17 2018-01-15 转矩变动抑制装置、变矩器以及动力传递装置

Applications Claiming Priority (2)

Application Number Priority Date Filing Date Title
JP2017-027688 2017-02-17
JP2017027688A JP6774352B2 (ja) 2017-02-17 2017-02-17 トルク変動抑制装置、トルクコンバータ、及び動力伝達装置

Publications (1)

Publication Number Publication Date
WO2018150777A1 true WO2018150777A1 (ja) 2018-08-23

Family

ID=63170550

Family Applications (1)

Application Number Title Priority Date Filing Date
PCT/JP2018/000754 Ceased WO2018150777A1 (ja) 2017-02-17 2018-01-15 トルク変動抑制装置、トルクコンバータ、及び動力伝達装置

Country Status (4)

Country Link
US (1) US11156277B2 (enExample)
JP (1) JP6774352B2 (enExample)
CN (1) CN110300862B (enExample)
WO (1) WO2018150777A1 (enExample)

Cited By (2)

* Cited by examiner, † Cited by third party
Publication number Priority date Publication date Assignee Title
CN112703334A (zh) * 2018-11-20 2021-04-23 爱信艾达株式会社 振动衰减装置以及其设计方法
US20220010794A1 (en) * 2020-07-07 2022-01-13 Exedy Corporation Rotary device and power transmission device

Families Citing this family (8)

* Cited by examiner, † Cited by third party
Publication number Priority date Publication date Assignee Title
JP7047683B2 (ja) * 2018-09-14 2022-04-05 トヨタ自動車株式会社 捩り振動低減装置
JP7208826B2 (ja) * 2019-02-25 2023-01-19 株式会社エクセディ 回転装置
JP7218221B2 (ja) * 2019-03-13 2023-02-06 株式会社エクセディ トルク変動抑制装置、及びトルクコンバータ
JP7263066B2 (ja) 2019-03-13 2023-04-24 株式会社エクセディ トルク変動抑制装置、及びトルクコンバータ
JP2021071190A (ja) * 2019-11-01 2021-05-06 株式会社エクセディ トルク変動抑制装置及び動力伝達装置
EP4056831A4 (en) * 2019-11-08 2022-11-30 NISSAN MOTOR Co., Ltd. INTERNAL COMBUSTION ENGINE CONTROL METHOD AND INTERNAL COMBUSTION ENGINE CONTROL DEVICE
CN115398115B (zh) * 2020-04-13 2025-11-28 株式会社F.C.C. 动力传递装置
JP7522672B2 (ja) 2020-07-07 2024-07-25 株式会社エクセディ 回転装置、及び動力伝達装置

Citations (7)

* Cited by examiner, † Cited by third party
Publication number Priority date Publication date Assignee Title
JPH062048Y2 (ja) * 1987-02-23 1994-01-19 トヨタ自動車株式会社 ト−シヨナルダンパ付フライホイ−ル
JP2010071341A (ja) * 2008-09-17 2010-04-02 Toyota Motor Corp 振子式動吸振装置
JP2014020467A (ja) * 2012-07-18 2014-02-03 Aisin Aw Industries Co Ltd 回転体の振動低減装置
JP5571513B2 (ja) * 2010-09-16 2014-08-13 アイシン・エィ・ダブリュ工業株式会社 動吸振器
JP2014145413A (ja) * 2013-01-29 2014-08-14 Toyota Motor Corp 捩り振動減衰装置
JP2015057565A (ja) * 2013-08-09 2015-03-26 アイシン・エィ・ダブリュ株式会社 遠心振子式吸振装置
JP2015083847A (ja) * 2013-10-25 2015-04-30 株式会社エクセディ ダイナミックダンパ装置及びトルクコンバータのロックアップ装置

Family Cites Families (8)

* Cited by examiner, † Cited by third party
Publication number Priority date Publication date Assignee Title
US4947706A (en) 1986-09-05 1990-08-14 Toyota Jidosha Kabushiki Kaisha Flywheel with a torsional damper
FR2989753B1 (fr) * 2012-04-20 2014-04-18 Valeo Embrayages Dispositif d'amortissement pendulaire, en particulier pour une transmission de vehicule automobile
CN104685259B (zh) * 2012-07-06 2016-08-24 舍弗勒技术股份两合公司 离心力摆
DE102013213373A1 (de) * 2013-07-09 2015-01-15 Zf Friedrichshafen Ag Tilgerschwingungsdämpfer
WO2015020086A1 (ja) 2013-08-09 2015-02-12 アイシン・エィ・ダブリュ株式会社 遠心振子式吸振装置
JP6182434B2 (ja) 2013-11-12 2017-08-16 株式会社エクセディ トルクコンバータのロックアップ装置
FR3014982B1 (fr) * 2013-12-16 2016-03-11 Valeo Embrayages Dispositif d'amortissement pendulaire
JP2021071190A (ja) * 2019-11-01 2021-05-06 株式会社エクセディ トルク変動抑制装置及び動力伝達装置

Patent Citations (7)

* Cited by examiner, † Cited by third party
Publication number Priority date Publication date Assignee Title
JPH062048Y2 (ja) * 1987-02-23 1994-01-19 トヨタ自動車株式会社 ト−シヨナルダンパ付フライホイ−ル
JP2010071341A (ja) * 2008-09-17 2010-04-02 Toyota Motor Corp 振子式動吸振装置
JP5571513B2 (ja) * 2010-09-16 2014-08-13 アイシン・エィ・ダブリュ工業株式会社 動吸振器
JP2014020467A (ja) * 2012-07-18 2014-02-03 Aisin Aw Industries Co Ltd 回転体の振動低減装置
JP2014145413A (ja) * 2013-01-29 2014-08-14 Toyota Motor Corp 捩り振動減衰装置
JP2015057565A (ja) * 2013-08-09 2015-03-26 アイシン・エィ・ダブリュ株式会社 遠心振子式吸振装置
JP2015083847A (ja) * 2013-10-25 2015-04-30 株式会社エクセディ ダイナミックダンパ装置及びトルクコンバータのロックアップ装置

Cited By (4)

* Cited by examiner, † Cited by third party
Publication number Priority date Publication date Assignee Title
CN112703334A (zh) * 2018-11-20 2021-04-23 爱信艾达株式会社 振动衰减装置以及其设计方法
EP3839291A4 (en) * 2018-11-20 2021-11-03 Aisin Aw Co., Ltd. VIBRATION DAMPING DEVICE AND METHOD OF DESIGNING THE SAME
US20220010794A1 (en) * 2020-07-07 2022-01-13 Exedy Corporation Rotary device and power transmission device
US11927254B2 (en) * 2020-07-07 2024-03-12 Exedy Corporation Rotary device and power transmission device

Also Published As

Publication number Publication date
JP6774352B2 (ja) 2020-10-21
JP2018132160A (ja) 2018-08-23
CN110300862B (zh) 2021-05-11
US11156277B2 (en) 2021-10-26
CN110300862A (zh) 2019-10-01
US20190323576A1 (en) 2019-10-24

Similar Documents

Publication Publication Date Title
WO2018150777A1 (ja) トルク変動抑制装置、トルクコンバータ、及び動力伝達装置
JP6534589B2 (ja) トルク変動抑制装置、トルクコンバータ、及び動力伝達装置
KR102520861B1 (ko) 토크 변동 억제 장치, 토크 컨버터 및 동력 전달 장치
JP6657041B2 (ja) トルク変動抑制装置、トルクコンバータ、及び動力伝達装置
JP6653538B2 (ja) トルク変動抑制装置、トルクコンバータ、及び動力伝達装置
JP6757680B2 (ja) トルク変動抑制装置、トルクコンバータ、及び動力伝達装置
WO2018016212A1 (ja) トルク変動抑制装置、トルクコンバータ、及び動力伝達装置
JP2018132159A (ja) トルク変動抑制装置、トルクコンバータ、及び動力伝達装置
JP2019052715A (ja) トルク変動抑制装置、トルクコンバータ、及び動力伝達装置
JP2019039456A (ja) トルク変動抑制装置、トルクコンバータ、及び動力伝達装置
JP2019039456A5 (enExample)
US10808797B2 (en) Torque fluctuation inhibiting device, torque converter and power transmission device
JP6577823B2 (ja) トルク変動抑制装置、トルクコンバータ、及び動力伝達装置
JP6539180B2 (ja) トルク変動抑制装置、トルクコンバータ、及び動力伝達装置
JP6656868B2 (ja) トルク変動抑制装置、トルクコンバータ、及び動力伝達装置
JP7232667B2 (ja) トルク変動抑制装置
JP6709764B2 (ja) トルク変動抑制装置、トルクコンバータ、及び動力伝達装置
JP2020076505A (ja) トルク変動抑制装置、トルクコンバータ、及び動力伝達装置
JP2021042840A (ja) トルク変動抑制装置、及び動力伝達装置
JP6709770B2 (ja) トルク変動抑制装置及びトルクコンバータ
JP6682572B2 (ja) トルク変動抑制装置
JP2019138421A (ja) トルク変動抑制装置、トルクコンバータ、及び動力伝達装置

Legal Events

Date Code Title Description
121 Ep: the epo has been informed by wipo that ep was designated in this application

Ref document number: 18754002

Country of ref document: EP

Kind code of ref document: A1

NENP Non-entry into the national phase

Ref country code: DE

122 Ep: pct application non-entry in european phase

Ref document number: 18754002

Country of ref document: EP

Kind code of ref document: A1