WO2018096931A1 - 配線モジュール - Google Patents

配線モジュール Download PDF

Info

Publication number
WO2018096931A1
WO2018096931A1 PCT/JP2017/040354 JP2017040354W WO2018096931A1 WO 2018096931 A1 WO2018096931 A1 WO 2018096931A1 JP 2017040354 W JP2017040354 W JP 2017040354W WO 2018096931 A1 WO2018096931 A1 WO 2018096931A1
Authority
WO
WIPO (PCT)
Prior art keywords
connector
female connector
wiring module
housing
movement
Prior art date
Legal status (The legal status is an assumption and is not a legal conclusion. Google has not performed a legal analysis and makes no representation as to the accuracy of the status listed.)
Ceased
Application number
PCT/JP2017/040354
Other languages
English (en)
French (fr)
Japanese (ja)
Inventor
清水 宏
怜也 岡本
仁司 竹田
Current Assignee (The listed assignees may be inaccurate. Google has not performed a legal analysis and makes no representation or warranty as to the accuracy of the list.)
Sumitomo Wiring Systems Ltd
AutoNetworks Technologies Ltd
Sumitomo Electric Industries Ltd
Original Assignee
Sumitomo Wiring Systems Ltd
AutoNetworks Technologies Ltd
Sumitomo Electric Industries Ltd
Priority date (The priority date is an assumption and is not a legal conclusion. Google has not performed a legal analysis and makes no representation as to the accuracy of the date listed.)
Filing date
Publication date
Application filed by Sumitomo Wiring Systems Ltd, AutoNetworks Technologies Ltd, Sumitomo Electric Industries Ltd filed Critical Sumitomo Wiring Systems Ltd
Priority to CN201780071476.6A priority Critical patent/CN109964340B/zh
Priority to US16/347,241 priority patent/US10763616B2/en
Publication of WO2018096931A1 publication Critical patent/WO2018096931A1/ja
Anticipated expiration legal-status Critical
Ceased legal-status Critical Current

Links

Images

Classifications

    • HELECTRICITY
    • H01ELECTRIC ELEMENTS
    • H01RELECTRICALLY-CONDUCTIVE CONNECTIONS; STRUCTURAL ASSOCIATIONS OF A PLURALITY OF MUTUALLY-INSULATED ELECTRICAL CONNECTING ELEMENTS; COUPLING DEVICES; CURRENT COLLECTORS
    • H01R13/00Details of coupling devices of the kinds covered by groups H01R12/70 or H01R24/00 - H01R33/00
    • H01R13/62Means for facilitating engagement or disengagement of coupling parts or for holding them in engagement
    • H01R13/629Additional means for facilitating engagement or disengagement of coupling parts, e.g. aligning or guiding means, levers, gas pressure electrical locking indicators, manufacturing tolerances
    • HELECTRICITY
    • H01ELECTRIC ELEMENTS
    • H01RELECTRICALLY-CONDUCTIVE CONNECTIONS; STRUCTURAL ASSOCIATIONS OF A PLURALITY OF MUTUALLY-INSULATED ELECTRICAL CONNECTING ELEMENTS; COUPLING DEVICES; CURRENT COLLECTORS
    • H01R13/00Details of coupling devices of the kinds covered by groups H01R12/70 or H01R24/00 - H01R33/00
    • H01R13/44Means for preventing access to live contacts
    • H01R13/447Shutter or cover plate
    • HELECTRICITY
    • H01ELECTRIC ELEMENTS
    • H01GCAPACITORS; CAPACITORS, RECTIFIERS, DETECTORS, SWITCHING DEVICES, LIGHT-SENSITIVE OR TEMPERATURE-SENSITIVE DEVICES OF THE ELECTROLYTIC TYPE
    • H01G11/00Hybrid capacitors, i.e. capacitors having different positive and negative electrodes; Electric double-layer [EDL] capacitors; Processes for the manufacture thereof or of parts thereof
    • H01G11/10Multiple hybrid or EDL capacitors, e.g. arrays or modules
    • HELECTRICITY
    • H01ELECTRIC ELEMENTS
    • H01GCAPACITORS; CAPACITORS, RECTIFIERS, DETECTORS, SWITCHING DEVICES, LIGHT-SENSITIVE OR TEMPERATURE-SENSITIVE DEVICES OF THE ELECTROLYTIC TYPE
    • H01G4/00Fixed capacitors; Processes of their manufacture
    • H01G4/002Details
    • H01G4/228Terminals
    • HELECTRICITY
    • H01ELECTRIC ELEMENTS
    • H01MPROCESSES OR MEANS, e.g. BATTERIES, FOR THE DIRECT CONVERSION OF CHEMICAL ENERGY INTO ELECTRICAL ENERGY
    • H01M10/00Secondary cells; Manufacture thereof
    • H01M10/42Methods or arrangements for servicing or maintenance of secondary cells or secondary half-cells
    • H01M10/425Structural combination with electronic components, e.g. electronic circuits integrated to the outside of the casing
    • HELECTRICITY
    • H01ELECTRIC ELEMENTS
    • H01MPROCESSES OR MEANS, e.g. BATTERIES, FOR THE DIRECT CONVERSION OF CHEMICAL ENERGY INTO ELECTRICAL ENERGY
    • H01M50/00Constructional details or processes of manufacture of the non-active parts of electrochemical cells other than fuel cells, e.g. hybrid cells
    • H01M50/20Mountings; Secondary casings or frames; Racks, modules or packs; Suspension devices; Shock absorbers; Transport or carrying devices; Holders
    • H01M50/204Racks, modules or packs for multiple batteries or multiple cells
    • H01M50/207Racks, modules or packs for multiple batteries or multiple cells characterised by their shape
    • H01M50/209Racks, modules or packs for multiple batteries or multiple cells characterised by their shape adapted for prismatic or rectangular cells
    • HELECTRICITY
    • H01ELECTRIC ELEMENTS
    • H01MPROCESSES OR MEANS, e.g. BATTERIES, FOR THE DIRECT CONVERSION OF CHEMICAL ENERGY INTO ELECTRICAL ENERGY
    • H01M50/00Constructional details or processes of manufacture of the non-active parts of electrochemical cells other than fuel cells, e.g. hybrid cells
    • H01M50/20Mountings; Secondary casings or frames; Racks, modules or packs; Suspension devices; Shock absorbers; Transport or carrying devices; Holders
    • H01M50/296Mountings; Secondary casings or frames; Racks, modules or packs; Suspension devices; Shock absorbers; Transport or carrying devices; Holders characterised by terminals of battery packs
    • HELECTRICITY
    • H01ELECTRIC ELEMENTS
    • H01MPROCESSES OR MEANS, e.g. BATTERIES, FOR THE DIRECT CONVERSION OF CHEMICAL ENERGY INTO ELECTRICAL ENERGY
    • H01M50/00Constructional details or processes of manufacture of the non-active parts of electrochemical cells other than fuel cells, e.g. hybrid cells
    • H01M50/20Mountings; Secondary casings or frames; Racks, modules or packs; Suspension devices; Shock absorbers; Transport or carrying devices; Holders
    • H01M50/298Mountings; Secondary casings or frames; Racks, modules or packs; Suspension devices; Shock absorbers; Transport or carrying devices; Holders characterised by the wiring of battery packs
    • HELECTRICITY
    • H01ELECTRIC ELEMENTS
    • H01MPROCESSES OR MEANS, e.g. BATTERIES, FOR THE DIRECT CONVERSION OF CHEMICAL ENERGY INTO ELECTRICAL ENERGY
    • H01M50/00Constructional details or processes of manufacture of the non-active parts of electrochemical cells other than fuel cells, e.g. hybrid cells
    • H01M50/50Current conducting connections for cells or batteries
    • HELECTRICITY
    • H01ELECTRIC ELEMENTS
    • H01MPROCESSES OR MEANS, e.g. BATTERIES, FOR THE DIRECT CONVERSION OF CHEMICAL ENERGY INTO ELECTRICAL ENERGY
    • H01M50/00Constructional details or processes of manufacture of the non-active parts of electrochemical cells other than fuel cells, e.g. hybrid cells
    • H01M50/50Current conducting connections for cells or batteries
    • H01M50/502Interconnectors for connecting terminals of adjacent batteries; Interconnectors for connecting cells outside a battery casing
    • H01M50/507Interconnectors for connecting terminals of adjacent batteries; Interconnectors for connecting cells outside a battery casing comprising an arrangement of two or more busbars within a container structure, e.g. busbar modules
    • HELECTRICITY
    • H01ELECTRIC ELEMENTS
    • H01MPROCESSES OR MEANS, e.g. BATTERIES, FOR THE DIRECT CONVERSION OF CHEMICAL ENERGY INTO ELECTRICAL ENERGY
    • H01M50/00Constructional details or processes of manufacture of the non-active parts of electrochemical cells other than fuel cells, e.g. hybrid cells
    • H01M50/50Current conducting connections for cells or batteries
    • H01M50/502Interconnectors for connecting terminals of adjacent batteries; Interconnectors for connecting cells outside a battery casing
    • H01M50/521Interconnectors for connecting terminals of adjacent batteries; Interconnectors for connecting cells outside a battery casing characterised by the material
    • H01M50/522Inorganic material
    • HELECTRICITY
    • H01ELECTRIC ELEMENTS
    • H01MPROCESSES OR MEANS, e.g. BATTERIES, FOR THE DIRECT CONVERSION OF CHEMICAL ENERGY INTO ELECTRICAL ENERGY
    • H01M50/00Constructional details or processes of manufacture of the non-active parts of electrochemical cells other than fuel cells, e.g. hybrid cells
    • H01M50/50Current conducting connections for cells or batteries
    • H01M50/569Constructional details of current conducting connections for detecting conditions inside cells or batteries, e.g. details of voltage sensing terminals
    • HELECTRICITY
    • H01ELECTRIC ELEMENTS
    • H01RELECTRICALLY-CONDUCTIVE CONNECTIONS; STRUCTURAL ASSOCIATIONS OF A PLURALITY OF MUTUALLY-INSULATED ELECTRICAL CONNECTING ELEMENTS; COUPLING DEVICES; CURRENT COLLECTORS
    • H01R13/00Details of coupling devices of the kinds covered by groups H01R12/70 or H01R24/00 - H01R33/00
    • H01R13/44Means for preventing access to live contacts
    • HELECTRICITY
    • H01ELECTRIC ELEMENTS
    • H01RELECTRICALLY-CONDUCTIVE CONNECTIONS; STRUCTURAL ASSOCIATIONS OF A PLURALITY OF MUTUALLY-INSULATED ELECTRICAL CONNECTING ELEMENTS; COUPLING DEVICES; CURRENT COLLECTORS
    • H01R13/00Details of coupling devices of the kinds covered by groups H01R12/70 or H01R24/00 - H01R33/00
    • H01R13/46Bases; Cases
    • HELECTRICITY
    • H01ELECTRIC ELEMENTS
    • H01RELECTRICALLY-CONDUCTIVE CONNECTIONS; STRUCTURAL ASSOCIATIONS OF A PLURALITY OF MUTUALLY-INSULATED ELECTRICAL CONNECTING ELEMENTS; COUPLING DEVICES; CURRENT COLLECTORS
    • H01R13/00Details of coupling devices of the kinds covered by groups H01R12/70 or H01R24/00 - H01R33/00
    • H01R13/46Bases; Cases
    • H01R13/502Bases; Cases composed of different pieces
    • HELECTRICITY
    • H01ELECTRIC ELEMENTS
    • H01RELECTRICALLY-CONDUCTIVE CONNECTIONS; STRUCTURAL ASSOCIATIONS OF A PLURALITY OF MUTUALLY-INSULATED ELECTRICAL CONNECTING ELEMENTS; COUPLING DEVICES; CURRENT COLLECTORS
    • H01R13/00Details of coupling devices of the kinds covered by groups H01R12/70 or H01R24/00 - H01R33/00
    • H01R13/46Bases; Cases
    • H01R13/516Means for holding or embracing insulating body, e.g. casing, hoods
    • HELECTRICITY
    • H01ELECTRIC ELEMENTS
    • H01RELECTRICALLY-CONDUCTIVE CONNECTIONS; STRUCTURAL ASSOCIATIONS OF A PLURALITY OF MUTUALLY-INSULATED ELECTRICAL CONNECTING ELEMENTS; COUPLING DEVICES; CURRENT COLLECTORS
    • H01R13/00Details of coupling devices of the kinds covered by groups H01R12/70 or H01R24/00 - H01R33/00
    • H01R13/62Means for facilitating engagement or disengagement of coupling parts or for holding them in engagement
    • H01R13/639Additional means for holding or locking coupling parts together, after engagement, e.g. separate keylock, retainer strap
    • HELECTRICITY
    • H01ELECTRIC ELEMENTS
    • H01RELECTRICALLY-CONDUCTIVE CONNECTIONS; STRUCTURAL ASSOCIATIONS OF A PLURALITY OF MUTUALLY-INSULATED ELECTRICAL CONNECTING ELEMENTS; COUPLING DEVICES; CURRENT COLLECTORS
    • H01R13/00Details of coupling devices of the kinds covered by groups H01R12/70 or H01R24/00 - H01R33/00
    • H01R13/73Means for mounting coupling parts to apparatus or structures, e.g. to a wall
    • HELECTRICITY
    • H01ELECTRIC ELEMENTS
    • H01MPROCESSES OR MEANS, e.g. BATTERIES, FOR THE DIRECT CONVERSION OF CHEMICAL ENERGY INTO ELECTRICAL ENERGY
    • H01M2220/00Batteries for particular applications
    • H01M2220/20Batteries in motive systems, e.g. vehicle, ship, plane
    • YGENERAL TAGGING OF NEW TECHNOLOGICAL DEVELOPMENTS; GENERAL TAGGING OF CROSS-SECTIONAL TECHNOLOGIES SPANNING OVER SEVERAL SECTIONS OF THE IPC; TECHNICAL SUBJECTS COVERED BY FORMER USPC CROSS-REFERENCE ART COLLECTIONS [XRACs] AND DIGESTS
    • Y02TECHNOLOGIES OR APPLICATIONS FOR MITIGATION OR ADAPTATION AGAINST CLIMATE CHANGE
    • Y02EREDUCTION OF GREENHOUSE GAS [GHG] EMISSIONS, RELATED TO ENERGY GENERATION, TRANSMISSION OR DISTRIBUTION
    • Y02E60/00Enabling technologies; Technologies with a potential or indirect contribution to GHG emissions mitigation
    • Y02E60/10Energy storage using batteries

Definitions

  • the present invention relates to a wiring module.
  • the thing of the following literature 1 is known as an example of the wiring module distribute
  • Such a wiring module generally includes a detection electric wire for detecting the state of each single cell inside, and a connector (hereinafter referred to as a counterpart connector) provided in a counterpart device such as an ECU (Electronic Control Unit) at the tip thereof.
  • a connector for connection is provided. Since this connector is a power supply side connector, it is common sense to employ a female connector from the viewpoint of preventing tentacles.
  • the detection electric wires routed from each battery side to the one end edge of the wiring module through the inside of the wiring module main body are further extended to the outside and bundled. It has a shape (so-called pigtail) in which a female connector is arranged.
  • Such a pigtail can eliminate the external force by changing the degree of bending even when an external force that pulls or pushes the female connector is applied when the female connector is fitted to the mating connector. That is, external force and so-called edge cutting can be performed outside the wiring module body.
  • the present invention has been completed based on the above circumstances, and an object thereof is to provide a wiring module capable of suppressing external force from a connector to a detection wire while saving space.
  • a wiring module is a wiring module that is attached to a power module in which a plurality of power elements that store or generate electric power are arranged, and includes a plurality of wiring elements for interconnecting the power elements.
  • An insulation protector that accommodates the interconnection conductor; a plurality of detection wires that are accommodated in the insulation protector and extend from the power element sides to detect the state of the power element; and provided at an end of the detection wire.
  • a connector disposed in the insulation protector, and a movement restricting means provided on the insulation protector for restricting the movement of the connector by locking the connector.
  • the connector can be restricted by the insulation protector, even if an external force acts on the connector, it is possible to prevent the detection electric wire from being affected.
  • the following configuration is preferable.
  • the connector is a female connector having a housing in which a front portion is externally fitted by a hood portion provided in a mating connector, and the insulating protector supports a rear portion of the housing that is not externally fitted by the hood portion.
  • a support base is provided to hold the front portion that is externally fitted in a state of being lifted from the insulating protector.
  • the movement restricting means a back stop that restricts the rearward movement of the housing by locking an outer region of the back surface of the female connector where the detection electric wire is introduced as the movement restricting means.
  • the part is provided integrally.
  • the mating connector is attached with the female connector attached to the insulation protector. Can be fitted. Even if a force to move to the back side acting on the female connector at the time of fitting is received by the movement restricting means, there is no possibility that an external force is applied to the detection wire. And since it contacts so that the area
  • the support base is integrally provided with a pair of lateral stoppers for restricting the lateral movement of the female connector by contacting the side wall of the housing of the female connector.
  • an upper stopper for restricting the upward movement of the female connector by contacting the top plate of the housing of the female connector is integrated with each of the pair of lateral stoppers. Provided.
  • a cantilevered elastic piece having a rear end of the female connector as a free end corresponding to a portion of the insulation protector in which the housing of the female connector is in a floating state is provided.
  • the female connector In a state where the female connector is not fitted to the counterpart connector, the female connector is restrained from moving forward by locking the free end to the housing of the female connector, and the counterpart connector is connected to the female connector.
  • the mating connector When mating with a connector, the mating connector is pressed by the hood portion and elastically displaced outside the mating path of the hood portion.
  • the elastic piece abuts the front surface of the connector when the mating connector is not fitted and restricts forward displacement, while the mating connector is fitted when the connector is mated with the mating connector. Displace outside the joint path to avoid interference with the mating connector. Thereby, when the connector is not fitted with the counterpart connector, the connector can be restricted from moving forward (in the fitting direction with the counterpart connector).
  • the insulation protector is provided with a cover portion that covers both connectors in a state where the female connector and the mating connector are fitted, and the housing of the female connector protrudes into a portion that is not externally fitted by the hood portion.
  • a rib portion to project is provided, and as the movement restricting means, a front stopper portion that can contact the front surface of the rib portion is provided on the cover portion so as to cover both the fitted connectors.
  • the connector is placed in the insulation protector from the front side with the front side of the movement restricting part open by removing the front stop part by opening the cover, and then the cover is put on the connector.
  • the forward movement of the connector can be restricted.
  • a female connector can be reliably controlled in all directions.
  • the wiring module according to the technique disclosed in the present specification, it is possible to protect the detection electric wire from an external force applied to the connector while saving space.
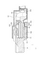
  • Top view showing wiring module The perspective view which shows a connector accommodating part
  • the wiring module 1 (an example of a power module) of the present embodiment is mounted on a power storage module BT in which a plurality of power storage elements BC such as lithium ion batteries are arranged.
  • the power storage module BT is mounted on a vehicle such as an electric vehicle or a hybrid vehicle, and is used as a power source for traveling.
  • the storage element BC is an example of a power element, but the power element is not limited to this, and may be, for example, a capacitor or a fuel cell.
  • the X direction in the drawing is the right side
  • the Y direction is the front
  • the Z direction is the upper side.
  • symbol may be attached
  • symbol may be attached
  • the power storage module BT includes a plurality of power storage elements BC arranged in a line in the left-right direction so that the positive and negative electrodes are staggered, and the wiring module 1 is attached to the upper surface thereof as shown in FIG.
  • Each power storage element BC has a flat rectangular parallelepiped main body portion in which a power storage element is accommodated, and includes a bolt-shaped electrode terminal (not shown) protruding from a pedestal surface provided on the upper portion of the main body portion.
  • the storage element BC is an example of a power element, and may be a battery, a capacitor, or a fuel cell.
  • the wiring module 1 is connected to a plurality of bus bar terminals 10 (an example of a circuit), a plurality of detection wires 90 connected to each bus bar terminal 10, and the ends of the detection wires 90.
  • the female connector 30 an example of a connector
  • the insulating protector 20 that accommodates these and is placed on the upper surface of the power storage module BT.
  • the bus bar terminal 10 corresponds to an interconnection conductor formed of a conductive metal plate such as copper, copper alloy, aluminum, aluminum alloy, and the like, and is connected to the terminal connection portion 12 connected to the electrode terminal BP of the storage element BC.
  • the terminal connection portion 12 and the wire connection portion 11 formed integrally with the terminal connection portion 12 are provided.
  • the bus bar is an example of an interconnection conductor, but the interconnection conductor is not limited to this, and may be, for example, an electric wire or an insulated wire.
  • the terminal connection portion 12 has a substantially rectangular plate shape, and bolt through holes 13 are provided at both ends in the longitudinal direction in order to connect the batteries.
  • the electrode terminal BP of the power storage element BC can be inserted into the bolt through hole 13.
  • the electric wire connecting portion 11 is composed of a pair of caulking pieces, and one end portion of the detection electric wire 90 is connected thereto by caulking.
  • a terminal fitting (not shown) of a mating connector M (male connector) described later is connected to the other end of the detection wire 90.
  • the detection electric wire 90 is an insulated electric wire in which the periphery of the conductor portion is covered with an insulating coating (insulating layer).
  • the detection wire 90 and the counterpart connector M are for connecting the bus bar terminal 10 to an external ECU (Electronic Control Unit) (not shown).
  • ECU Electronic Control Unit
  • the ECU is equipped with a microcomputer, electronic components, etc., and has a function for detecting the voltage, current, temperature, etc. of the storage element BC, charging / discharging control of each storage element BC, and the like. Of the configuration.
  • the insulation protector 20 is made of an insulating synthetic resin, and is integrally formed so as to be continuous from the right end of the bus bar support 50 and the bus bar support 50 supporting the bus bar terminal 10 as shown in FIGS. And a connector housing 60 provided in the housing.
  • the bus bar support portion 50 has a substantially rectangular plate surface, and is provided with a front wall portion 58A and a rear wall portion 58B at the front and rear edges thereof, and between the front wall portion 58A and the rear wall portion 58B, the first to fourth portions.
  • Partition walls 51A to 51D are provided extending in the left-right direction.
  • Each right edge portion of the third partition wall 51C and the fourth partition wall 51D is connected to a partition connection portion 55 provided so as to rise from the plate surface of the bus bar support portion 50.
  • the plate surface between the front wall portion 58A and the first partition wall 51A and the plate surface between the rear wall portion 58B and the second partition wall 51B are respectively the first bus bar. It is a mounting surface 52A and a second bus bar mounting surface 52B.
  • Each of the bus bar mounting surfaces 52A and 52B is divided into a plurality of small partitions arranged on the left and right by a plurality of partition walls, and two through holes (not shown) are provided for each small partition.
  • each bus bar terminal 10 is placed on the bus bar placement surfaces 52A and 52B in each small section in a direction in which two screw holes are arranged in the left-right direction (the direction in which the storage elements BC are arranged).
  • the upper edge part of 51 A of 1st partition walls and the 2nd partition wall 51B is provided with the notch for every small division.
  • the second bus bar mounting surface 52B is positioned to the right by half the left-right dimension of the small section than the first bus bar mounting surface 52A. Staggered.
  • an excess surface 61B having a width that is half of the left and right width of the small section of the first bus bar mounting surface 52A is formed in front of the second bus bar mounting surface 52B up to the front wall surface of the connector housing portion 60. Yes.
  • the plate surface between the first partition wall 51A and the third partition wall 51C and the plate surface between the second partition wall 51B and the fourth partition wall 51D are respectively
  • the first electric wire placement surface 53A and the second electric wire placement surface 53B are provided.
  • the detection electric wires 90 connected to the bus bar terminals 10 pass through the notches of the first partition wall 51A and the second partition wall 51B from the bus bar placement surfaces 52A and 52B, and on the electric wire placement surfaces 53A and 53B. And extends from its right end.
  • the detailed illustration for every detection electric wire 90 in the bus-bar support part 50 and the connector accommodating part 60 is abbreviate
  • a flat plate-like first cover 54A and second cover 54B are integrally provided via hinges on the upper edge portions of the front wall portion 58A and the rear wall portion 58B of the bus bar support portion 50, respectively.
  • Locking claws 56A and 56B are provided at equal intervals on the edge of the first cover 54A and the second cover 54B opposite to the hinges.
  • the third partition wall 51C has a surface farther than the front wall portion 58A and a surface farther than the rear wall portion 58B in the fourth partition wall 51D, respectively.
  • the receiving portions 57A and 57B are provided at equal intervals.
  • the connector housing portion 60 is provided on the right end side of the insulation protector 20 in the direction in which the power storage elements BC are arranged. As shown in FIGS. 2 and 3, the plate-like base portion 61 and the support base portion provided on the base portion 61. 62 (an example of a support base part and an example of a movement restricting means), a side wall part 64, a connector cover 65 (an example of a cover part), a front electric wire cover 66, and a rear electric wire cover 70.
  • the pedestal portion 61 includes the above-described surplus surface 61B of the plate surface of the above-described bus bar support portion 50, and an extending surface 61A extending rightward from the front half of the surplus surface 61B. It is an L-shaped plate surface. That is, the pedestal portion 61 is provided in a part of the plate surface of the bus bar support portion 50 by using the surplus surface 61B.
  • the support base part 62 is provided in the front-rear direction substantially center of the extending surface 61 ⁇ / b> A in the base part 61. In other words, the support base 62 is arranged on the base 61 so as to be shifted to the right by the width of the surplus surface 61B.
  • the support base 62 includes a pair of plate-like lateral stoppers 62B that rise vertically from the extending surface 61A, and a pair of plates that are provided integrally with the lateral stoppers 62B and extend from the upper ends of the lateral stoppers 62B toward each other.
  • a plate-like support portion 62A (an example of a support base) extending left and right between the side wall portions 64 on the extended surface 61A, and a back stop portion provided on the back surface 45 side 62D, and has a left-right symmetric shape across a center line in the left-right direction of the extending surface 61A.
  • the mutually opposing surfaces of the both lateral stoppers 62B are flat surfaces parallel to each other. Further, the lower surface of the upper stopper 62C and the upper surface of the support 62A are flat surfaces parallel to the extending surface 61A. Then, in the front view of the support base 62, the flat front surface of the rear stop 62D is exposed in the substantially U-shape of the upper opening in the back of the space. Thereby, the support part 62A, the side stopper part 62B, the upper stopper part 62C, and the rear stopper part 62D are integrally provided.
  • the back side of the rear stop 62D is an inclined surface from the upper end to the extending surface 61A of the pedestal 61.
  • the rear stopper 62 ⁇ / b> D has a trapezoidal shape in which the front side is perpendicular to the bottom in a cross section in the front-rear direction.
  • the support base 62 further includes a pair of cantilevered elastic pieces 62E disposed symmetrically in front of the support 62A in the extended surface 61A.
  • the elastic piece 62E has a front end as a base end portion, and extends backward while inclining so as to be higher toward the rear, and is bent at a position higher than the upper surface of the placement portion, and beyond that extends substantially parallel to the extension surface 61A. Yes.
  • the depth dimension from the rear end edge (free end) of the elastic piece 62E to the front surface of the rear stop portion 62D is set to such an extent that it can receive the lower plate portion 42 of the frame portion 40 of the female connector 30 described later. It is desirable to set the minimum dimension within that range.
  • the side wall portion 64 of the connector housing portion 60 is provided so as to rise from the plate surface continuously from the right front corner portion of the extending surface 61A to the right rear corner portion of the surplus surface 61B in the pedestal portion 61.
  • the size is such that the upper end surface is flush with the upper end surface of the second partition wall 51B of the bus bar support portion 50.
  • the rear end edge part of the side wall part 64 is connected to the right end edge part of the second partition wall 51B.
  • the connector cover 65 is integrally provided at the upper edge of the straight portion rising from the extending surface 61A in the side wall portion 64 so as to be rotatable via a hinge.
  • a concave portion that matches the upper surface shape of the female connector 30 is provided on the inner side (upper surface side in FIG. 3) of the connector cover 65.
  • a pair of front and rear stoppers 67 are provided symmetrically with respect to the center line in the left-right direction of the concave portion at a position slightly ahead of the substantially central portion in the front-rear direction on the bottom surface of the concave portion.
  • Each of the front and rear stop portions 67 includes a flat small piece of a back stop piece 67B and a front stop piece 67A (an example of a front stop portion) arranged in the front-rear direction while providing a gap about the thickness of the rear edge rib 34 of the female connector 30. It is arranged with. From each front stopper piece 67A, a reinforcing rib 67C extends through the rear stopper piece 67B along the front-rear direction and extends to the rear end of the recess.
  • the right end edge portion of the connector cover 65 in the state of FIG. 3 is extended to the right in a flat plate shape, and the extension portion is extended rearward, and the front wire cover 66 covering the front side of the surplus surface 61B. It has become.
  • a first protrusion 67D protrudes upward from the front end edge of the front wire cover 66, and a second protrusion is provided from the plate surface of the front wire cover 66 with a gap behind the first protrusion 67D.
  • a piece 67E is provided to protrude upward. The dimension of the gap between the first protruding piece 67D and the second protruding piece 67E is about the thickness of the front wall portion 58A of the surplus surface 61B.
  • the third protrusion 67F protrudes upward from the outer side (back side) of the rear end edge of the connector cover 65, and the fourth protrusion 67G extends upward from the inner side (recess side) of the rear end edge. Protrusively provided.
  • the second cover 54 ⁇ / b> B provided on the bus bar support portion 50 has a rear electric wire cover 70 that covers the rear side of the surplus surface 61 ⁇ / b> B with the right rear corner extending rearward. It has become.
  • the rear wire cover 70 is provided with a side piece 70A protruding upward at the left end in the state shown in FIGS.
  • the female connector 30 is configured by housing a female terminal 31 in a housing 32. As shown in FIGS. 4 to 6, the housing 32 is integrally provided with a flat rectangular parallelepiped connector main body 33 and a U-shaped frame 40 surrounding the rear end.
  • the frame portion 40 includes a side plate portion 41 and a lower plate portion 42.
  • the center part of the lower plate part 42 in the left and right direction of the frame part 40 protrudes downward symmetrically and is supported by a support part 62A of the support base part 62 provided in the connector housing part 60. It has become.
  • the lower surface of the leg portion 43 is a flat surface parallel to the lower surface of the connector main body portion 33, and is provided with the front end aligned with the front end of the lower plate portion 42.
  • a rear edge rib 34 (an example of a rib portion) extending left and right along the rear edge, a pair of side edge ribs 35 extending along the side edge, and both side edge ribs 35.
  • a plurality of vertical ribs 36 and 37 that are symmetrically arranged and extend in the front-rear direction are provided so as to protrude upward.
  • each portion sandwiched between the left and right first ribs 36 closest to the center line in the left and right direction of the top surface and the left and right second ribs 37 adjacent thereto is a front and rear stopper 67 of the connector cover 65. 34A to be sandwiched between the two.
  • the trailing edge rib 34, both the second ribs 37, and the both side edge ribs 35 are provided continuously, and the upper end surfaces thereof are flush with each other. Between both the 1st ribs 36, the to-be-latched part for the latching
  • the housing 32 is provided with a plurality of terminal holes 38 that open in the forward direction (that is, the direction orthogonal to the direction in which the power storage elements BC are arranged), and each female terminal 31 is accommodated in each terminal hole 38. That is, the housing 32 is a portion in which a front portion (a portion not surrounded by the frame portion 40) is externally fitted by a hood portion provided in a mating connector M (hereinafter, mating connector M), and a rear portion ( The frame portion 40) is a portion that is not externally fitted by the hood portion of the mating connector M.
  • a plurality of introduction holes 39 for introducing the detection electric wires 90 are provided side by side on the back surface 45 of the main body portion of the housing 32.
  • at least the back surface 45 of the frame portion 40 of the back surface 45 of the housing 32 is an outer region of the region where the insertion hole is provided.
  • the back surface 45 of the frame portion 40 is flush with the back surface 45 of the main body portion.
  • the back surface 45 of the female connector 30 is directed to the rear of the connector accommodating portion 60, and the free end side of the elastic piece 62E is elastically displaced downward on the lower surface of the frame portion 40. While approaching backwards.
  • the frame 40 of the connector passes over the elastic piece 62E and is disposed in the space defined by the both lateral stoppers 62B, the both upper stoppers 62C, and the support 62A of the support base 62, it is elastic.
  • the female connector 30 has the frame portion 40 (the portion that is not externally fitted by the hood portion of the mating connector M) supported by the support portion 62 ⁇ / b> A of the support base portion 62, and the lateral stopper portion.
  • the detection electric wire 90 extending from the second electric wire placement surface 53 ⁇ / b> B and entering the connector housing portion 60 is bent forward at a substantially right angle on the surplus surface 61 ⁇ / b> B. It extends to the extension line of the surface 53A and merges with the detection wire 90 that has entered the connector housing portion 60 from the first wire placement surface 53A.
  • the joined detection wire 90 is gently bent diagonally forward to the right, covered with a fixing member 69 from above and inserted into the insertion hole of the pedestal portion 61 to be fixed on the pedestal portion 61, and further to the rear of the female connector 30. It is gently bent forward.
  • the U-shaped fixing member 69 is illustrated in the present embodiment, the fixing member 69 may use a binding band or the like. In short, the detection electric wire 90 is fixed inside the connector housing 60. I can do it.
  • the connector cover 65 When the connector cover 65 is put on the upper surface of the female connector 30 accommodated in the connector accommodating portion 60, the female connector 30 and the detection electric wire 90 on the extending surface 61A are covered with the connector cover 65, and on the surplus surface 61B. A front portion of the arranged detection electric wire 90 is covered with a front electric wire cover 66. At this time, as shown in FIG. 12, the front stop piece 67A and the back stop piece 67B of the front and rear stop portion 67 provided in the concave portion of the connector cover 65 sandwich the clamped portion 34A provided on the top surface of the connector.
  • the first projecting piece 67D and the second projecting piece 67E provided on the front wire cover 66 sandwich the upper edge of the front wall 58A of the surplus surface 61B, and the third projecting piece 67F and the fourth projecting piece 67G
  • the upper edge of the side wall 64 rising from the rear edge of the extending surface 61A of the pedestal 61 is sandwiched.
  • the connector cover 65 is supported by the front wall portion 58A of the surplus surface 61B and the side wall portion 64 of the pedestal portion 61 and the displacement in the front-rear direction is restricted. Movement is restricted.
  • a rear portion of the detection electric wire 90 arranged on the surplus surface 61B is a rear electric wire cover 70 provided integrally with the second cover 54B when the second cover 54B is put on the bus bar support portion 50. Covered by. At this time, the rear wire cover 70 is supported by the partition connecting portion 55 by straddling the partition connecting portion 55 over the side piece 70 ⁇ / b> A of the rear wire cover 70.
  • the hood portion of the mating connector M is externally fitted to the front of the female connector 30 and is moved backward. Then, the elastic piece 62E protruding into the approach path is pressed against the lower surface of the hood portion and is elastically displaced downward, and comes into contact with the lower surface of the hood portion. And the other party connector M is latched by the latching
  • the front portion of the female connector 30 that is externally fitted to the counterpart connector M is held in a lifted state, and the portion of the female connector 30 that is not fitted to the counterpart connector M is supported while the displacement of the female connector 30 is reduced.
  • the rear stop portion 62 ⁇ / b> D of the support base 62 hits a substantially U-shaped region surrounding the introduction region of the detection wire 90 in the back surface 45 of the female connector 30. Therefore, no force is applied to the detection wire 90, and the force can be received evenly on the left and right.
  • the forward displacement of the female connector 30 can be restricted by the elastic piece 62E, and the front and rear stop portion 67 provided on the cover is not necessarily required. Therefore, for example, if the work for mounting the wiring module 1 on the power storage module BT is performed with the cover open, the state of the detection electric wire 90 can be confirmed even during the work, and the female wiring is also possible when the wiring module 1 is tilted. Since it is not necessary to cover the connector cover 65 only to prevent the connector 30 from being displaced forward, workability is good.
  • the rear stop portion 62D of the support base portion 62 abuts against the left and right end portions and the lower end portion of the back surface 45 of the female connector 30 to receive the force from the outside, while the connector cover 65 is After being attached, the front and rear stopper 67 provided on the connector cover 65 further contacts the rear surface 45 of the rib provided on the upper surface of the female connector 30 from the rear to receive the force from the outside. Backward movement can be restricted.
  • the support base 62 is disposed with the surplus surface 61B separated from the bus bar support 50, the extension length of the detection electric wire 90 in the connector housing 60 can be afforded accordingly.
  • the bent portions of the detection wire 90 can be dispersed, the handling of the female connector 30 is facilitated, the workability is improved, and the impact from the outside via the connector is caused by the play of the detection wire 90. Can be resolved.
  • the wiring module 1 according to the first embodiment has a configuration in which the female connector 30 is fixed to the insulating protector 20 with the terminal holes 38 facing forward (that is, in a direction orthogonal to the direction in which the power storage elements BC are arranged).
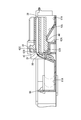
  • the female connector 130 is fixed to the insulating protector 120 with the terminal holes 138 facing right (that is, along the direction in which the power storage elements BC are arranged).
  • the present embodiment only the configuration different from the embodiment will be described, and the description of the same configuration as in the first embodiment will be omitted.
  • the support base part 162 is provided with a front wall part 158 ⁇ / b> A at the front end edge part of the base part 161 so as to be continuous with the front wall part 158 ⁇ / b> A of the bus bar support part 150, while the right end edge has no side wall part 164. Open end.
  • the support stand part 162 similar to 1st Embodiment is the extension part of the base part 161, making the lower end edge part of the inclined surface provided in the back surface 145 part of a back stop part follow the right end of the surplus surface 161B. They are arranged symmetrically across the center line in the upper front-rear direction.
  • the connector cover 165 is integrally provided at the upper edge of the front wall portion 158A of the base portion 161 so as to be rotatable via a hinge.
  • the connector cover 165 has a concave portion that is open on the right side, and a front-rear stop portion 167 and a reinforcing rib 167C are provided symmetrically across the center line in the front-rear direction at a substantially central portion of the bottom surface thereof. Displacement in the front-rear direction in the fitting direction is regulated.
  • an annular piece provided with a through hole in the front-rear direction is provided on the edge of the connector cover 165 opposite to the hinge in the state of FIG. 15, while the side wall 164 rising from the rear edge of the extending surface 161A is provided.
  • the front wire cover is not provided, and the concave portion of the connector cover 165 covers both the female connector 130 and the detection wire 190 on the front side of the connector.
  • the protrusion fits into the through hole 113 of the annular piece, thereby restricting the movement of the connector cover 165 in the left-right direction (front-back direction in the connector fitting direction). ing.
  • the detection electric wire 190 extending from the second electric wire placement surface 153B and entering the connector housing portion 160 is bent forward at a substantially right angle on the surplus surface 161B as shown by the dotted line in FIG.
  • the detection wire 190 is extended to the extension line of the placement surface 153A, and joined to the detection wire 190 bent at a right angle toward the front after entering the connector housing portion 160 from the first wire placement surface 153A.
  • the joined detection wires 190 extend forward, and are fixed on the pedestal 161 by being covered with a fixing member 169 from above and inserted through the insertion hole of the pedestal 161, and then further forward. And is folded 180 degrees before the front wall 158A of the pedestal 161.
  • the bundle of detection wires 190 that are folded back are stacked on the detection wires 190 themselves before being folded back and extend rearward as they are, and then bent at a right angle behind the female connector 130 (back side). Then, as shown in FIGS. 17 to 18, the mating connector M is fitted to the mating connector M by externally fitting the mating connector M to the female connector 130 from the right side (alignment direction of the power storage elements BC).
  • the support base part 162 is arranged close to the right end of the surplus surface 161B, thereby ensuring a minimum space corresponding to the width of the bundle of the detection wires 190 extending into the connector housing part 160.
  • the length dimension of the connector housing portion 160 in the direction in which the power storage elements BC are arranged is minimized.
  • the distance from the right end of the first electric wire placement surface 153A to the connector back surface 145 becomes extremely short.
  • the space on the surplus surface 161B is effectively used from the front-rear length to the vertical depth, and the detection wires 190 are folded and stacked, so that the length of the detection wires 190 can be sufficiently secured. it can.
  • the bent portions of the detection wire 190 can be dispersed, the handling of the female connector 130 is facilitated, the workability is improved, and the impact from the outside via the connector is caused by the play of the detection wire 190. Can be absorbed.
  • the detection electric wire 90 is configured to detect the voltage of the battery with one end connected to the bus bar terminal 10, but instead of or in addition to this, the temperature of a power element such as a battery It may be an electric wire connected to a temperature sensor for detecting, and may be an electric wire for detecting the state of a power element such as a battery.
  • the female connector 30 is placed on the support portion 62A, so that the portion fitted to the mating connector M in the insulation protector 20 is held in a lifted state. If it is not necessary to hold the connector, the support portion 62A may be omitted, and the connector accommodated in the insulation protector may be placed directly on the pedestal portion 61.
  • the elastic piece 62E is not limited to being integrally molded with the insulating protector 20, but may be configured as an independent part, and provided according to the necessity of a front stop in a state where the elastic piece 62E is not fitted to the mating connector M. It is only necessary and not essential.
  • Wiring module 10 Bus bar terminal 90: Detection electric wire 20: Insulation protector 30, 130: Female connector 32: Housing 33: Connector main-body part 34: Rear edge rib (rib part) 40: frame part 50: bus bar support part 60, 160: connector housing part 61, 161: base part 61A, 161A: extension surface 61B: surplus surface 62: support base part (support base part, movement restricting means) 62A: Supporting part 62B: Side stopper 62C: Upper stopper 62D: Rear stopper 62E: Elastic piece 65, 165: Connector cover 66: Front wire cover 67A, 167A: Front stopper (front stopper) 70, 170: Rear wire cover M: Mating connector

Landscapes

  • Chemical & Material Sciences (AREA)
  • General Chemical & Material Sciences (AREA)
  • Chemical Kinetics & Catalysis (AREA)
  • Electrochemistry (AREA)
  • Engineering & Computer Science (AREA)
  • Power Engineering (AREA)
  • Microelectronics & Electronic Packaging (AREA)
  • Manufacturing & Machinery (AREA)
  • Inorganic Chemistry (AREA)
  • Details Of Connecting Devices For Male And Female Coupling (AREA)
  • Connection Of Batteries Or Terminals (AREA)
  • Secondary Cells (AREA)
  • Battery Mounting, Suspending (AREA)
PCT/JP2017/040354 2016-11-22 2017-11-09 配線モジュール Ceased WO2018096931A1 (ja)

Priority Applications (2)

Application Number Priority Date Filing Date Title
CN201780071476.6A CN109964340B (zh) 2016-11-22 2017-11-09 布线模块
US16/347,241 US10763616B2 (en) 2016-11-22 2017-11-09 Wiring module

Applications Claiming Priority (2)

Application Number Priority Date Filing Date Title
JP2016226995A JP6788794B2 (ja) 2016-11-22 2016-11-22 配線モジュール
JP2016-226995 2016-11-22

Publications (1)

Publication Number Publication Date
WO2018096931A1 true WO2018096931A1 (ja) 2018-05-31

Family

ID=62196220

Family Applications (1)

Application Number Title Priority Date Filing Date
PCT/JP2017/040354 Ceased WO2018096931A1 (ja) 2016-11-22 2017-11-09 配線モジュール

Country Status (4)

Country Link
US (1) US10763616B2 (enExample)
JP (2) JP6788794B2 (enExample)
CN (1) CN109964340B (enExample)
WO (1) WO2018096931A1 (enExample)

Cited By (1)

* Cited by examiner, † Cited by third party
Publication number Priority date Publication date Assignee Title
US12308464B2 (en) 2019-09-03 2025-05-20 Gs Yuasa International Ltd. Energy storage apparatus

Families Citing this family (14)

* Cited by examiner, † Cited by third party
Publication number Priority date Publication date Assignee Title
JP6788794B2 (ja) * 2016-11-22 2020-11-25 株式会社オートネットワーク技術研究所 配線モジュール
JP7184079B2 (ja) 2018-04-26 2022-12-06 三菱ケミカル株式会社 ポリアミド系3次元プリンタ用材料
JP6439892B1 (ja) * 2018-05-21 2018-12-19 株式会社オートネットワーク技術研究所 接続モジュール
JP7042420B2 (ja) * 2018-10-24 2022-03-28 住友電装株式会社 積層コネクタ
JP7034106B2 (ja) * 2019-01-21 2022-03-11 矢崎総業株式会社 導電モジュール
JP7183995B2 (ja) * 2019-08-29 2022-12-06 住友電装株式会社 電池配線モジュール
JP7207238B2 (ja) * 2019-08-29 2023-01-18 住友電装株式会社 電池配線モジュール
JP7375512B2 (ja) * 2019-12-05 2023-11-08 株式会社オートネットワーク技術研究所 電気接続箱
US11588198B2 (en) 2020-01-29 2023-02-21 Toyota Motor Engineering & Manufacturing North America, Inc. Pivoting bus bar module terminal assembly
KR20220092267A (ko) * 2020-12-24 2022-07-01 현대모비스 주식회사 차량의 배터리 시스템
JP7719029B2 (ja) * 2022-04-28 2025-08-05 株式会社Aescジャパン 電圧検出装置及び電池モジュール
JP2024019924A (ja) * 2022-08-01 2024-02-14 住友電装株式会社 電池配線モジュール
CN220138622U (zh) * 2023-06-16 2023-12-05 惠州亿纬锂能股份有限公司 支架组件、线束集成组件及电池模组
WO2025044177A1 (zh) * 2023-08-25 2025-03-06 惠州亿纬锂能股份有限公司 线束隔离板、信息采集组件和电池模组

Citations (4)

* Cited by examiner, † Cited by third party
Publication number Priority date Publication date Assignee Title
JP2011108461A (ja) * 2009-11-16 2011-06-02 Sumitomo Wiring Syst Ltd ロック構造
JP2013016367A (ja) * 2011-07-05 2013-01-24 Auto Network Gijutsu Kenkyusho:Kk コネクタ支持具、配線具及びワイヤハーネス
JP2013152918A (ja) * 2011-12-26 2013-08-08 Auto Network Gijutsu Kenkyusho:Kk 配線モジュール
JP2014060044A (ja) * 2012-09-18 2014-04-03 Auto Network Gijutsu Kenkyusho:Kk 電池用配線モジュール

Family Cites Families (19)

* Cited by examiner, † Cited by third party
Publication number Priority date Publication date Assignee Title
JP3990960B2 (ja) * 2002-08-30 2007-10-17 矢崎総業株式会社 バッテリ接続プレートおよびその取付構造
JP5139745B2 (ja) * 2007-08-10 2013-02-06 矢崎総業株式会社 電源装置
JP5741948B2 (ja) * 2011-11-11 2015-07-01 株式会社オートネットワーク技術研究所 電池配線モジュール
JP5772525B2 (ja) * 2011-11-11 2015-09-02 株式会社オートネットワーク技術研究所 電池配線モジュール
US9647470B2 (en) * 2011-12-29 2017-05-09 General Electric Company Rechargeable battery system
JP5518979B2 (ja) * 2012-11-09 2014-06-11 株式会社フジクラ 光コネクタレセプタクル、レセプタクルハウジング、光コネクタアダプタ、アダプタハウジング
JP5975296B2 (ja) * 2013-03-27 2016-08-23 株式会社オートネットワーク技術研究所 配線モジュール
JP6080786B2 (ja) * 2014-03-07 2017-02-15 ヒロセ電機株式会社 電気コネクタ
EP3748789B1 (en) * 2014-04-14 2024-05-01 Leviton Manufacturing Company, Inc. Communication outlet with shutter mechanism and wire manager
JP6168359B2 (ja) 2014-06-26 2017-07-26 住友電装株式会社 配線モジュール
JP6101664B2 (ja) * 2014-09-26 2017-03-22 矢崎総業株式会社 コネクタ装置
JP6245159B2 (ja) * 2014-12-17 2017-12-13 株式会社オートネットワーク技術研究所 電池配線モジュール
JP6217984B2 (ja) * 2014-12-18 2017-10-25 株式会社オートネットワーク技術研究所 電池配線モジュール
JP6315278B2 (ja) * 2014-12-25 2018-04-25 株式会社オートネットワーク技術研究所 蓄電モジュール
CN108028522B (zh) * 2015-09-16 2021-01-05 株式会社自动网络技术研究所 端子以及布线模块
CN205070007U (zh) * 2015-09-24 2016-03-02 泰科电子(上海)有限公司 用于电池箱的连接器总成、电池箱及电池装置
CN205646362U (zh) * 2016-03-28 2016-10-12 成都华川电装有限责任公司 一种线束插座固定结构
CN106099458B (zh) * 2016-07-28 2018-08-07 宁波市全盛壳体有限公司 一种电池电路连接器及使用方法
JP6788794B2 (ja) * 2016-11-22 2020-11-25 株式会社オートネットワーク技術研究所 配線モジュール

Patent Citations (4)

* Cited by examiner, † Cited by third party
Publication number Priority date Publication date Assignee Title
JP2011108461A (ja) * 2009-11-16 2011-06-02 Sumitomo Wiring Syst Ltd ロック構造
JP2013016367A (ja) * 2011-07-05 2013-01-24 Auto Network Gijutsu Kenkyusho:Kk コネクタ支持具、配線具及びワイヤハーネス
JP2013152918A (ja) * 2011-12-26 2013-08-08 Auto Network Gijutsu Kenkyusho:Kk 配線モジュール
JP2014060044A (ja) * 2012-09-18 2014-04-03 Auto Network Gijutsu Kenkyusho:Kk 電池用配線モジュール

Cited By (1)

* Cited by examiner, † Cited by third party
Publication number Priority date Publication date Assignee Title
US12308464B2 (en) 2019-09-03 2025-05-20 Gs Yuasa International Ltd. Energy storage apparatus

Also Published As

Publication number Publication date
CN109964340B (zh) 2021-12-03
JP2021048131A (ja) 2021-03-25
CN109964340A (zh) 2019-07-02
US10763616B2 (en) 2020-09-01
JP2018085201A (ja) 2018-05-31
US20190288447A1 (en) 2019-09-19
JP6788794B2 (ja) 2020-11-25

Similar Documents

Publication Publication Date Title
WO2018096931A1 (ja) 配線モジュール
CN101375446B (zh) 用于燃料电池的电压检测连接器和采用该连接器的燃料电池
CN102859749B (zh) 蓄电池连接器
JP6788795B2 (ja) 配線モジュール
US11888179B2 (en) Battery connection module
JP5653700B2 (ja) セル電圧検出コネクタ
US11139624B2 (en) Twisted pair cable joint connector
WO2016084760A1 (ja) 配線モジュール
JP2018200790A (ja) バスバモジュール及び電源装置
JP6044495B2 (ja) 配線モジュール
JP7152364B2 (ja) 電線保持構造及びバスバーモジュール
CN109148803B (zh) 导体模块装接结构
US11031724B2 (en) Stacked connector and wire harness
JP6571627B2 (ja) 導電モジュール及び電池パック
CN110581408B (zh) 电连接器及线缆连接器组件
JP2017091704A (ja) ジョイント端子およびジョイントコネクタ
JP7778054B2 (ja) 配線モジュール
JP7680172B2 (ja) 異品番検出構造
JP7759304B2 (ja) 配線モジュール
JP7725152B2 (ja) コネクタ
JP2025080991A (ja) 回路体の保持構造
JP2024055108A (ja) 配線モジュール
JP2025020733A (ja) バスバー及び配線モジュール
JP2024055064A (ja) 配線モジュール
JP2022171473A (ja) 電圧検知ユニット、及び、蓄電装置

Legal Events

Date Code Title Description
121 Ep: the epo has been informed by wipo that ep was designated in this application

Ref document number: 17873318

Country of ref document: EP

Kind code of ref document: A1

NENP Non-entry into the national phase

Ref country code: DE

122 Ep: pct application non-entry in european phase

Ref document number: 17873318

Country of ref document: EP

Kind code of ref document: A1