WO2018092478A1 - 燃料電池システムおよび燃料電池システムの運転方法 - Google Patents

燃料電池システムおよび燃料電池システムの運転方法 Download PDF

Info

Publication number
WO2018092478A1
WO2018092478A1 PCT/JP2017/037161 JP2017037161W WO2018092478A1 WO 2018092478 A1 WO2018092478 A1 WO 2018092478A1 JP 2017037161 W JP2017037161 W JP 2017037161W WO 2018092478 A1 WO2018092478 A1 WO 2018092478A1
Authority
WO
WIPO (PCT)
Prior art keywords
hydrogen
fuel cell
reformer
containing gas
amount
Prior art date
Legal status (The legal status is an assumption and is not a legal conclusion. Google has not performed a legal analysis and makes no representation as to the accuracy of the status listed.)
Ceased
Application number
PCT/JP2017/037161
Other languages
English (en)
French (fr)
Japanese (ja)
Inventor
友規 三浦
Current Assignee (The listed assignees may be inaccurate. Google has not performed a legal analysis and makes no representation or warranty as to the accuracy of the list.)
Sawafuji Electric Co Ltd
Original Assignee
Sawafuji Electric Co Ltd
Priority date (The priority date is an assumption and is not a legal conclusion. Google has not performed a legal analysis and makes no representation as to the accuracy of the date listed.)
Filing date
Publication date
Application filed by Sawafuji Electric Co Ltd filed Critical Sawafuji Electric Co Ltd
Priority to US16/333,976 priority Critical patent/US20190267652A1/en
Priority to DE112017005847.3T priority patent/DE112017005847T8/de
Priority to CN201780056019.XA priority patent/CN109792062A/zh
Publication of WO2018092478A1 publication Critical patent/WO2018092478A1/ja
Anticipated expiration legal-status Critical
Ceased legal-status Critical Current

Links

Images

Classifications

    • HELECTRICITY
    • H01ELECTRIC ELEMENTS
    • H01MPROCESSES OR MEANS, e.g. BATTERIES, FOR THE DIRECT CONVERSION OF CHEMICAL ENERGY INTO ELECTRICAL ENERGY
    • H01M8/00Fuel cells; Manufacture thereof
    • H01M8/04Auxiliary arrangements, e.g. for control of pressure or for circulation of fluids
    • H01M8/04298Processes for controlling fuel cells or fuel cell systems
    • H01M8/04992Processes for controlling fuel cells or fuel cell systems characterised by the implementation of mathematical or computational algorithms, e.g. feedback control loops, fuzzy logic, neural networks or artificial intelligence
    • CCHEMISTRY; METALLURGY
    • C01INORGANIC CHEMISTRY
    • C01BNON-METALLIC ELEMENTS; COMPOUNDS THEREOF; METALLOIDS OR COMPOUNDS THEREOF NOT COVERED BY SUBCLASS C01C
    • C01B3/00Hydrogen; Gaseous mixtures containing hydrogen; Separation of hydrogen from mixtures containing it; Purification of hydrogen
    • C01B3/02Production of hydrogen or of gaseous mixtures containing a substantial proportion of hydrogen
    • C01B3/04Production of hydrogen or of gaseous mixtures containing a substantial proportion of hydrogen by decomposition of inorganic compounds, e.g. ammonia
    • CCHEMISTRY; METALLURGY
    • C01INORGANIC CHEMISTRY
    • C01BNON-METALLIC ELEMENTS; COMPOUNDS THEREOF; METALLOIDS OR COMPOUNDS THEREOF NOT COVERED BY SUBCLASS C01C
    • C01B3/00Hydrogen; Gaseous mixtures containing hydrogen; Separation of hydrogen from mixtures containing it; Purification of hydrogen
    • C01B3/50Separation of hydrogen or hydrogen containing gases from gaseous mixtures, e.g. purification
    • C01B3/56Separation of hydrogen or hydrogen containing gases from gaseous mixtures, e.g. purification by contacting with solids; Regeneration of used solids
    • HELECTRICITY
    • H01ELECTRIC ELEMENTS
    • H01MPROCESSES OR MEANS, e.g. BATTERIES, FOR THE DIRECT CONVERSION OF CHEMICAL ENERGY INTO ELECTRICAL ENERGY
    • H01M8/00Fuel cells; Manufacture thereof
    • H01M8/04Auxiliary arrangements, e.g. for control of pressure or for circulation of fluids
    • HELECTRICITY
    • H01ELECTRIC ELEMENTS
    • H01MPROCESSES OR MEANS, e.g. BATTERIES, FOR THE DIRECT CONVERSION OF CHEMICAL ENERGY INTO ELECTRICAL ENERGY
    • H01M8/00Fuel cells; Manufacture thereof
    • H01M8/04Auxiliary arrangements, e.g. for control of pressure or for circulation of fluids
    • H01M8/04082Arrangements for control of reactant parameters, e.g. pressure or concentration
    • H01M8/04201Reactant storage and supply, e.g. means for feeding, pipes
    • HELECTRICITY
    • H01ELECTRIC ELEMENTS
    • H01MPROCESSES OR MEANS, e.g. BATTERIES, FOR THE DIRECT CONVERSION OF CHEMICAL ENERGY INTO ELECTRICAL ENERGY
    • H01M8/00Fuel cells; Manufacture thereof
    • H01M8/04Auxiliary arrangements, e.g. for control of pressure or for circulation of fluids
    • H01M8/04223Auxiliary arrangements, e.g. for control of pressure or for circulation of fluids during start-up or shut-down; Depolarisation or activation, e.g. purging; Means for short-circuiting defective fuel cells
    • H01M8/04225Auxiliary arrangements, e.g. for control of pressure or for circulation of fluids during start-up or shut-down; Depolarisation or activation, e.g. purging; Means for short-circuiting defective fuel cells during start-up
    • HELECTRICITY
    • H01ELECTRIC ELEMENTS
    • H01MPROCESSES OR MEANS, e.g. BATTERIES, FOR THE DIRECT CONVERSION OF CHEMICAL ENERGY INTO ELECTRICAL ENERGY
    • H01M8/00Fuel cells; Manufacture thereof
    • H01M8/04Auxiliary arrangements, e.g. for control of pressure or for circulation of fluids
    • H01M8/04298Processes for controlling fuel cells or fuel cell systems
    • H01M8/043Processes for controlling fuel cells or fuel cell systems applied during specific periods
    • H01M8/04302Processes for controlling fuel cells or fuel cell systems applied during specific periods applied during start-up
    • HELECTRICITY
    • H01ELECTRIC ELEMENTS
    • H01MPROCESSES OR MEANS, e.g. BATTERIES, FOR THE DIRECT CONVERSION OF CHEMICAL ENERGY INTO ELECTRICAL ENERGY
    • H01M8/00Fuel cells; Manufacture thereof
    • H01M8/04Auxiliary arrangements, e.g. for control of pressure or for circulation of fluids
    • H01M8/04298Processes for controlling fuel cells or fuel cell systems
    • H01M8/04313Processes for controlling fuel cells or fuel cell systems characterised by the detection or assessment of variables; characterised by the detection or assessment of failure or abnormal function
    • H01M8/0438Pressure; Ambient pressure; Flow
    • H01M8/04425Pressure; Ambient pressure; Flow at auxiliary devices, e.g. reformers, compressors, burners
    • HELECTRICITY
    • H01ELECTRIC ELEMENTS
    • H01MPROCESSES OR MEANS, e.g. BATTERIES, FOR THE DIRECT CONVERSION OF CHEMICAL ENERGY INTO ELECTRICAL ENERGY
    • H01M8/00Fuel cells; Manufacture thereof
    • H01M8/04Auxiliary arrangements, e.g. for control of pressure or for circulation of fluids
    • H01M8/04298Processes for controlling fuel cells or fuel cell systems
    • H01M8/04313Processes for controlling fuel cells or fuel cell systems characterised by the detection or assessment of variables; characterised by the detection or assessment of failure or abnormal function
    • H01M8/0444Concentration; Density
    • HELECTRICITY
    • H01ELECTRIC ELEMENTS
    • H01MPROCESSES OR MEANS, e.g. BATTERIES, FOR THE DIRECT CONVERSION OF CHEMICAL ENERGY INTO ELECTRICAL ENERGY
    • H01M8/00Fuel cells; Manufacture thereof
    • H01M8/04Auxiliary arrangements, e.g. for control of pressure or for circulation of fluids
    • H01M8/04298Processes for controlling fuel cells or fuel cell systems
    • H01M8/04694Processes for controlling fuel cells or fuel cell systems characterised by variables to be controlled
    • H01M8/04746Pressure; Flow
    • H01M8/04776Pressure; Flow at auxiliary devices, e.g. reformer, compressor, burner
    • HELECTRICITY
    • H01ELECTRIC ELEMENTS
    • H01MPROCESSES OR MEANS, e.g. BATTERIES, FOR THE DIRECT CONVERSION OF CHEMICAL ENERGY INTO ELECTRICAL ENERGY
    • H01M8/00Fuel cells; Manufacture thereof
    • H01M8/04Auxiliary arrangements, e.g. for control of pressure or for circulation of fluids
    • H01M8/04298Processes for controlling fuel cells or fuel cell systems
    • H01M8/04694Processes for controlling fuel cells or fuel cell systems characterised by variables to be controlled
    • H01M8/04858Electric variables
    • H01M8/04925Power, energy, capacity or load
    • H01M8/04932Power, energy, capacity or load of the individual fuel cell
    • HELECTRICITY
    • H01ELECTRIC ELEMENTS
    • H01MPROCESSES OR MEANS, e.g. BATTERIES, FOR THE DIRECT CONVERSION OF CHEMICAL ENERGY INTO ELECTRICAL ENERGY
    • H01M8/00Fuel cells; Manufacture thereof
    • H01M8/04Auxiliary arrangements, e.g. for control of pressure or for circulation of fluids
    • H01M8/04298Processes for controlling fuel cells or fuel cell systems
    • H01M8/04694Processes for controlling fuel cells or fuel cell systems characterised by variables to be controlled
    • H01M8/04858Electric variables
    • H01M8/04925Power, energy, capacity or load
    • H01M8/0494Power, energy, capacity or load of fuel cell stacks
    • HELECTRICITY
    • H01ELECTRIC ELEMENTS
    • H01MPROCESSES OR MEANS, e.g. BATTERIES, FOR THE DIRECT CONVERSION OF CHEMICAL ENERGY INTO ELECTRICAL ENERGY
    • H01M8/00Fuel cells; Manufacture thereof
    • H01M8/06Combination of fuel cells with means for production of reactants or for treatment of residues
    • H01M8/0606Combination of fuel cells with means for production of reactants or for treatment of residues with means for production of gaseous reactants
    • HELECTRICITY
    • H01ELECTRIC ELEMENTS
    • H01MPROCESSES OR MEANS, e.g. BATTERIES, FOR THE DIRECT CONVERSION OF CHEMICAL ENERGY INTO ELECTRICAL ENERGY
    • H01M8/00Fuel cells; Manufacture thereof
    • H01M8/06Combination of fuel cells with means for production of reactants or for treatment of residues
    • H01M8/0662Treatment of gaseous reactants or gaseous residues, e.g. cleaning
    • H01M8/0687Reactant purification by the use of membranes or filters
    • HELECTRICITY
    • H01ELECTRIC ELEMENTS
    • H01MPROCESSES OR MEANS, e.g. BATTERIES, FOR THE DIRECT CONVERSION OF CHEMICAL ENERGY INTO ELECTRICAL ENERGY
    • H01M8/00Fuel cells; Manufacture thereof
    • H01M8/10Fuel cells with solid electrolytes
    • YGENERAL TAGGING OF NEW TECHNOLOGICAL DEVELOPMENTS; GENERAL TAGGING OF CROSS-SECTIONAL TECHNOLOGIES SPANNING OVER SEVERAL SECTIONS OF THE IPC; TECHNICAL SUBJECTS COVERED BY FORMER USPC CROSS-REFERENCE ART COLLECTIONS [XRACs] AND DIGESTS
    • Y02TECHNOLOGIES OR APPLICATIONS FOR MITIGATION OR ADAPTATION AGAINST CLIMATE CHANGE
    • Y02EREDUCTION OF GREENHOUSE GAS [GHG] EMISSIONS, RELATED TO ENERGY GENERATION, TRANSMISSION OR DISTRIBUTION
    • Y02E60/00Enabling technologies; Technologies with a potential or indirect contribution to GHG emissions mitigation
    • Y02E60/30Hydrogen technology
    • Y02E60/36Hydrogen production from non-carbon containing sources, e.g. by water electrolysis
    • YGENERAL TAGGING OF NEW TECHNOLOGICAL DEVELOPMENTS; GENERAL TAGGING OF CROSS-SECTIONAL TECHNOLOGIES SPANNING OVER SEVERAL SECTIONS OF THE IPC; TECHNICAL SUBJECTS COVERED BY FORMER USPC CROSS-REFERENCE ART COLLECTIONS [XRACs] AND DIGESTS
    • Y02TECHNOLOGIES OR APPLICATIONS FOR MITIGATION OR ADAPTATION AGAINST CLIMATE CHANGE
    • Y02EREDUCTION OF GREENHOUSE GAS [GHG] EMISSIONS, RELATED TO ENERGY GENERATION, TRANSMISSION OR DISTRIBUTION
    • Y02E60/00Enabling technologies; Technologies with a potential or indirect contribution to GHG emissions mitigation
    • Y02E60/30Hydrogen technology
    • Y02E60/50Fuel cells
    • YGENERAL TAGGING OF NEW TECHNOLOGICAL DEVELOPMENTS; GENERAL TAGGING OF CROSS-SECTIONAL TECHNOLOGIES SPANNING OVER SEVERAL SECTIONS OF THE IPC; TECHNICAL SUBJECTS COVERED BY FORMER USPC CROSS-REFERENCE ART COLLECTIONS [XRACs] AND DIGESTS
    • Y02TECHNOLOGIES OR APPLICATIONS FOR MITIGATION OR ADAPTATION AGAINST CLIMATE CHANGE
    • Y02PCLIMATE CHANGE MITIGATION TECHNOLOGIES IN THE PRODUCTION OR PROCESSING OF GOODS
    • Y02P70/00Climate change mitigation technologies in the production process for final industrial or consumer products
    • Y02P70/50Manufacturing or production processes characterised by the final manufactured product

Definitions

  • the fuel cell system of the present invention always stores an amount of hydrogen-containing gas necessary for starting the fuel cell in a hydrogen storage container under the control of the control unit during steady operation.
  • the hydrogen-containing gas stored from the hydrogen storage container is supplied to the fuel cell, whereby the fuel cell is started and power generation is started.
  • the reformer is activated and hydrogen production is started.
  • the fuel cell can continue power generation using hydrogen produced by the reformer.
  • the output power of the fuel cell is larger than the power consumed by the reformer.
  • the operating temperature of the fuel cell is preferably equal to or higher than the operating temperature of the reformer.
  • the present invention is applied to a fuel cell system including a second power supply path and a control unit.
  • the control unit of the fuel cell system receives the measurement data of the measurement unit, and determines the production amount of the hydrogen-containing gas in the reformer, the storage amount of the hydrogen-containing gas in the hydrogen storage container, and the power generation amount of the fuel cell. Control.
  • the control unit stores a threshold value of measurement data corresponding to the minimum amount of hydrogen-containing gas necessary for starting the fuel cell. By comparing the measured data input from the measuring unit with the stored threshold value and making a feedback control of the production volume of the hydrogen-containing gas in the reformer, the storage amount of the hydrogen storage container can be used to start the fuel cell. Control more than necessary.
  • the self-sustained start-up of the fuel cell system in the present invention refers to starting the reformer and the fuel cell without receiving supply of electric energy or equivalent energy from the outside, starting power generation, and supplying energy to the external load.
  • the hydrogen source is a means for storing a raw material containing hydrogen and supplying this material as a raw material to the fuel cell system of the present invention. More specifically, it refers to a storage container for raw materials containing hydrogen or a supply pipe communicating with the storage container.
  • the substance stored or supplied by the hydrogen source is a hydrocarbon gas such as ammonia, urea, or methane.
  • the fuel cell system of the present invention and the operation method of this apparatus will be described with reference to FIGS.
  • the fuel cell system 1 shown in FIG. 1 includes an input unit 11, a reformer 12, a hydrogen storage container 13, a measurement unit 14, a fuel cell 15, and a control unit 18.
  • An open / close valve 19 is provided on the outlet side of the hydrogen storage container 13.
  • the control unit 18 is connected to the input unit 11, the reformer 12, the measurement unit 14, the fuel cell 15, the oxygen supply unit 43, and the on-off valve 19 in a communicable state.
  • the fuel cell 15 is connected to a first power supply path 16 that supplies at least a part of the generated power to the reformer and a second power supply path 17 that supplies power to the external load 42.
  • the fuel cell 15 generates power using the hydrogen-containing gas supplied from the hydrogen storage container 13 and oxygen contained in the air supplied from the oxygen supply means 43.
  • a polymer electrolyte fuel cell having an operating temperature of 100 ° C. or less is most preferably applied.
  • the power output from the fuel cell is distributed and supplied to the first power supply path 16 and the second power supply path 17.
  • the control unit 18 monitors the power generation amount of the fuel cell 15 and secures the necessary power generation amount. For this purpose, the control unit 18 controls the opening / closing amount of the on-off valve 19 and the oxygen supply amount of the oxygen supply means 43.
  • a normal blower (fan) is preferably used for the oxygen supply means 43.
  • step S27 the oxygen supply means 43 is stopped, and the oxygen supply to the fuel cell 15 is stopped.
  • step S28 the operation of the fuel cell 15 is stopped.
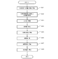
  • control part 18 opens the input part 11, and introduce
  • the reformer 12 is activated to start production of hydrogen (step S8).
  • the control unit 18 confirms again the measurement data of the measurement unit 14 and confirms that a hydrogen-containing gas that is equal to or greater than the amount of hydrogen for activation is stored in the hydrogen storage container 13 (step S9).
  • step S9 becomes yes, and the normal operation is started to control the power generation amount (step S10).
  • supply of power to the external load 42 is started via the second power supply path (step S11).

Landscapes

  • Chemical & Material Sciences (AREA)
  • Engineering & Computer Science (AREA)
  • Life Sciences & Earth Sciences (AREA)
  • Manufacturing & Machinery (AREA)
  • Sustainable Development (AREA)
  • Sustainable Energy (AREA)
  • Chemical Kinetics & Catalysis (AREA)
  • Electrochemistry (AREA)
  • General Chemical & Material Sciences (AREA)
  • Organic Chemistry (AREA)
  • Combustion & Propulsion (AREA)
  • Inorganic Chemistry (AREA)
  • Health & Medical Sciences (AREA)
  • General Health & Medical Sciences (AREA)
  • Fuel Cell (AREA)
  • Artificial Intelligence (AREA)
  • Automation & Control Theory (AREA)
  • Computing Systems (AREA)
  • Evolutionary Computation (AREA)
  • Fuzzy Systems (AREA)
  • Medical Informatics (AREA)
  • Software Systems (AREA)
  • Theoretical Computer Science (AREA)
  • Hydrogen, Water And Hydrids (AREA)
PCT/JP2017/037161 2016-11-18 2017-10-13 燃料電池システムおよび燃料電池システムの運転方法 Ceased WO2018092478A1 (ja)

Priority Applications (3)

Application Number Priority Date Filing Date Title
US16/333,976 US20190267652A1 (en) 2016-11-18 2017-10-13 Fuel Battery System and Fuel Battery System Operation Method
DE112017005847.3T DE112017005847T8 (de) 2016-11-18 2017-10-13 Brennstoffbatteriesystem und Brennstoffbatteriesystem-Betriebsverfahren
CN201780056019.XA CN109792062A (zh) 2016-11-18 2017-10-13 燃料电池系统和燃料电池系统操作方法

Applications Claiming Priority (2)

Application Number Priority Date Filing Date Title
JP2016224911A JP6789080B2 (ja) 2016-11-18 2016-11-18 燃料電池システムおよび燃料電池システムの運転方法
JP2016-224911 2016-11-18

Publications (1)

Publication Number Publication Date
WO2018092478A1 true WO2018092478A1 (ja) 2018-05-24

Family

ID=62145604

Family Applications (1)

Application Number Title Priority Date Filing Date
PCT/JP2017/037161 Ceased WO2018092478A1 (ja) 2016-11-18 2017-10-13 燃料電池システムおよび燃料電池システムの運転方法

Country Status (5)

Country Link
US (1) US20190267652A1 (enExample)
JP (1) JP6789080B2 (enExample)
CN (1) CN109792062A (enExample)
DE (1) DE112017005847T8 (enExample)
WO (1) WO2018092478A1 (enExample)

Cited By (1)

* Cited by examiner, † Cited by third party
Publication number Priority date Publication date Assignee Title
WO2021024511A1 (ja) * 2019-08-06 2021-02-11 株式会社セイブ・ザ・プラネット アンモニアの燃焼方法及びアンモニアの燃焼システム

Families Citing this family (11)

* Cited by examiner, † Cited by third party
Publication number Priority date Publication date Assignee Title
JP7278544B2 (ja) * 2019-04-26 2023-05-22 国立大学法人東海国立大学機構 燃料改質装置及び燃料改質方法
CN110272020B (zh) * 2019-06-27 2022-03-25 大连民族大学 一种阵列式非平衡等离子体重整器的控制方法
CN212669209U (zh) * 2019-11-25 2021-03-09 福建海峡两岸环境工程有限公司 一种应用氢气生产装置供用氢燃电池的模块
US12000333B2 (en) 2021-05-14 2024-06-04 AMOGY, Inc. Systems and methods for processing ammonia
US11724245B2 (en) 2021-08-13 2023-08-15 Amogy Inc. Integrated heat exchanger reactors for renewable fuel delivery systems
JP2024521417A (ja) 2021-06-11 2024-05-31 アモジー インコーポレイテッド アンモニアを処理するためのシステムおよび方法
US11539063B1 (en) 2021-08-17 2022-12-27 Amogy Inc. Systems and methods for processing hydrogen
JP7291819B1 (ja) 2022-02-08 2023-06-15 株式会社三井E&S アンモニア固体酸化物形燃料電池システム、運転方法、及びプログラム
US11912574B1 (en) 2022-10-06 2024-02-27 Amogy Inc. Methods for reforming ammonia
US11795055B1 (en) 2022-10-21 2023-10-24 Amogy Inc. Systems and methods for processing ammonia
US11866328B1 (en) 2022-10-21 2024-01-09 Amogy Inc. Systems and methods for processing ammonia

Citations (5)

* Cited by examiner, † Cited by third party
Publication number Priority date Publication date Assignee Title
JP2001313051A (ja) * 2000-04-28 2001-11-09 Japan Metals & Chem Co Ltd 燃料電池用水素供給装置及び水素吸蔵方法
JP2003056798A (ja) * 2001-08-13 2003-02-26 Sony Corp 水素貯蔵容器及び水素供給方法
JP2010238593A (ja) * 2009-03-31 2010-10-21 Toto Ltd 燃料電池システム
JP2014070012A (ja) * 2012-10-02 2014-04-21 Gifu Univ 水素生成装置及び水素生成装置を備えた燃料電池システム
JP2015014197A (ja) * 2013-07-03 2015-01-22 日産自動車株式会社 排気後処理装置

Family Cites Families (8)

* Cited by examiner, † Cited by third party
Publication number Priority date Publication date Assignee Title
US20020114984A1 (en) * 2001-02-21 2002-08-22 Edlund David J. Fuel cell system with stored hydrogen
JP2004327191A (ja) * 2003-04-24 2004-11-18 Nissan Motor Co Ltd 燃料電池用改質ガス製造方法及び改質ガス製造装置
US7192666B2 (en) * 2003-12-05 2007-03-20 Microsoft Corporation Apparatus and method for heating fuel cells
US20080213637A1 (en) * 2007-01-16 2008-09-04 Hce, Llc Gas Station Hydrogen
WO2009047897A1 (ja) * 2007-10-11 2009-04-16 Panasonic Corporation 燃料電池システム
GB0908910D0 (en) * 2009-05-22 2009-07-01 Univ Heriot Watt Fuel cell
CN203250816U (zh) * 2013-04-02 2013-10-23 江苏大学 一种输出电压可调的等离子碱性燃料电池
JP6527365B2 (ja) * 2015-03-31 2019-06-05 日立造船株式会社 燃料電池システム

Patent Citations (5)

* Cited by examiner, † Cited by third party
Publication number Priority date Publication date Assignee Title
JP2001313051A (ja) * 2000-04-28 2001-11-09 Japan Metals & Chem Co Ltd 燃料電池用水素供給装置及び水素吸蔵方法
JP2003056798A (ja) * 2001-08-13 2003-02-26 Sony Corp 水素貯蔵容器及び水素供給方法
JP2010238593A (ja) * 2009-03-31 2010-10-21 Toto Ltd 燃料電池システム
JP2014070012A (ja) * 2012-10-02 2014-04-21 Gifu Univ 水素生成装置及び水素生成装置を備えた燃料電池システム
JP2015014197A (ja) * 2013-07-03 2015-01-22 日産自動車株式会社 排気後処理装置

Cited By (4)

* Cited by examiner, † Cited by third party
Publication number Priority date Publication date Assignee Title
WO2021024511A1 (ja) * 2019-08-06 2021-02-11 株式会社セイブ・ザ・プラネット アンモニアの燃焼方法及びアンモニアの燃焼システム
JP2021025715A (ja) * 2019-08-06 2021-02-22 株式会社セイブ・ザ・プラネット アンモニアの燃焼方法及びアンモニアの燃焼システム
JP7236348B2 (ja) 2019-08-06 2023-03-09 株式会社セイブ・ザ・プラネット アンモニアの燃焼方法及びアンモニアの燃焼システム
US12104790B2 (en) 2019-08-06 2024-10-01 Save The Planet Co., Ltd. Ammonia combustion method and ammonia combustion system

Also Published As

Publication number Publication date
CN109792062A (zh) 2019-05-21
US20190267652A1 (en) 2019-08-29
JP6789080B2 (ja) 2020-11-25
JP2018081870A (ja) 2018-05-24
DE112017005847T8 (de) 2019-12-19
DE112017005847T5 (de) 2019-08-01

Similar Documents

Publication Publication Date Title
JP6789080B2 (ja) 燃料電池システムおよび燃料電池システムの運転方法
JP6929045B2 (ja) 水素製造装置および水素製造装置の運転方法
KR101994240B1 (ko) 수소 생성 장치
JP6582011B2 (ja) 燃料電池システムを備えた輸送機器
US9515334B2 (en) Utilization-based fuel cell monitoring and control
US8691463B2 (en) Thermally primed hydrogen-producing fuel cell system
CN104661955A (zh) 氢生成装置及设置有氢生成装置的燃料电池系统
CN101341617B (zh) 供电系统及其控制方法
JP5037214B2 (ja) 改質器システム、燃料電池システム、及びその運転方法
JP2018081870A5 (enExample)
AU2005251140B2 (en) Utilization-based fuel cell monitoring and control
US20090123796A1 (en) Hydrogen and power generation system and method of activating hydrogen generation mode thereof
JP2020105024A (ja) 水素生成システム及びその運転方法
CA2667780C (en) Utilization-based fuel cell monitoring and control
JP2009272214A (ja) 燃料電池システムおよび車両
TWI866337B (zh) 產氫燃料電池系統及其操作之方法
EP2750232A1 (en) Fuel cell system and operation method therefor
JPH076781A (ja) りん酸型燃料電池発電装置
JP2020066552A (ja) 水素生成システムとその運転方法
JP2005293959A (ja) 水素ガス製造発電システム及びその運転方法
US20230078714A1 (en) Hydrogen system and method for operating hydrogen system
KR20080042607A (ko) 연료 전지 시스템 및 그 제어 방법

Legal Events

Date Code Title Description
121 Ep: the epo has been informed by wipo that ep was designated in this application

Ref document number: 17871500

Country of ref document: EP

Kind code of ref document: A1

122 Ep: pct application non-entry in european phase

Ref document number: 17871500

Country of ref document: EP

Kind code of ref document: A1