WO2018079271A1 - ワイヤーハーネスモジュール - Google Patents

ワイヤーハーネスモジュール Download PDF

Info

Publication number
WO2018079271A1
WO2018079271A1 PCT/JP2017/036908 JP2017036908W WO2018079271A1 WO 2018079271 A1 WO2018079271 A1 WO 2018079271A1 JP 2017036908 W JP2017036908 W JP 2017036908W WO 2018079271 A1 WO2018079271 A1 WO 2018079271A1
Authority
WO
WIPO (PCT)
Prior art keywords
wire harness
vehicle
vehicle fixing
holding
harness
Prior art date
Legal status (The legal status is an assumption and is not a legal conclusion. Google has not performed a legal analysis and makes no representation as to the accuracy of the status listed.)
Ceased
Application number
PCT/JP2017/036908
Other languages
English (en)
French (fr)
Japanese (ja)
Inventor
雪清 董
英敏 石田
Current Assignee (The listed assignees may be inaccurate. Google has not performed a legal analysis and makes no representation or warranty as to the accuracy of the list.)
Sumitomo Wiring Systems Ltd
AutoNetworks Technologies Ltd
Sumitomo Electric Industries Ltd
Original Assignee
Sumitomo Wiring Systems Ltd
AutoNetworks Technologies Ltd
Sumitomo Electric Industries Ltd
Priority date (The priority date is an assumption and is not a legal conclusion. Google has not performed a legal analysis and makes no representation as to the accuracy of the date listed.)
Filing date
Publication date
Application filed by Sumitomo Wiring Systems Ltd, AutoNetworks Technologies Ltd, Sumitomo Electric Industries Ltd filed Critical Sumitomo Wiring Systems Ltd
Priority to US16/341,288 priority Critical patent/US11117531B2/en
Priority to EP17864865.5A priority patent/EP3503325B1/en
Priority to CN201780065402.1A priority patent/CN109863658B/zh
Publication of WO2018079271A1 publication Critical patent/WO2018079271A1/ja
Anticipated expiration legal-status Critical
Ceased legal-status Critical Current

Links

Images

Classifications

    • BPERFORMING OPERATIONS; TRANSPORTING
    • B60VEHICLES IN GENERAL
    • B60RVEHICLES, VEHICLE FITTINGS, OR VEHICLE PARTS, NOT OTHERWISE PROVIDED FOR
    • B60R16/00Electric or fluid circuits specially adapted for vehicles and not otherwise provided for; Arrangement of elements of electric or fluid circuits specially adapted for vehicles and not otherwise provided for
    • B60R16/02Electric or fluid circuits specially adapted for vehicles and not otherwise provided for; Arrangement of elements of electric or fluid circuits specially adapted for vehicles and not otherwise provided for electric constitutive elements
    • B60R16/0207Wire harnesses
    • B60R16/0215Protecting, fastening and routing means therefor
    • BPERFORMING OPERATIONS; TRANSPORTING
    • B60VEHICLES IN GENERAL
    • B60RVEHICLES, VEHICLE FITTINGS, OR VEHICLE PARTS, NOT OTHERWISE PROVIDED FOR
    • B60R16/00Electric or fluid circuits specially adapted for vehicles and not otherwise provided for; Arrangement of elements of electric or fluid circuits specially adapted for vehicles and not otherwise provided for
    • B60R16/02Electric or fluid circuits specially adapted for vehicles and not otherwise provided for; Arrangement of elements of electric or fluid circuits specially adapted for vehicles and not otherwise provided for electric constitutive elements
    • HELECTRICITY
    • H01ELECTRIC ELEMENTS
    • H01BCABLES; CONDUCTORS; INSULATORS; SELECTION OF MATERIALS FOR THEIR CONDUCTIVE, INSULATING OR DIELECTRIC PROPERTIES
    • H01B7/00Insulated conductors or cables characterised by their form
    • HELECTRICITY
    • H01ELECTRIC ELEMENTS
    • H01BCABLES; CONDUCTORS; INSULATORS; SELECTION OF MATERIALS FOR THEIR CONDUCTIVE, INSULATING OR DIELECTRIC PROPERTIES
    • H01B7/00Insulated conductors or cables characterised by their form
    • H01B7/40Insulated conductors or cables characterised by their form with arrangements for facilitating mounting or securing
    • HELECTRICITY
    • H02GENERATION; CONVERSION OR DISTRIBUTION OF ELECTRIC POWER
    • H02GINSTALLATION OF ELECTRIC CABLES OR LINES, OR OF COMBINED OPTICAL AND ELECTRIC CABLES OR LINES
    • H02G3/00Installations of electric cables or lines or protective tubing therefor in or on buildings, equivalent structures or vehicles
    • H02G3/30Installations of cables or lines on walls, floors or ceilings

Definitions

  • This invention relates to a wire harness module incorporated in a vehicle.
  • Patent Document 1 discloses at least a wire harness in which a plurality of electric wires are bundled, a bendable exterior member sheathed on the wire harness, and attached to the exterior member or the wire harness and attachable to a vehicle.
  • a wire harness module comprising: at least one vehicle-fixing component for holding a bent state, wherein the at least one vehicle-fixing component holds the wire harness in a bent state.
  • the first bending state maintaining vehicle fixing component and the second bending state maintaining vehicle fixing component each include a vehicle fixing portion fixed to the vehicle, and the first bending state maintaining vehicle fixing component and the first bending state maintaining vehicle fixing component
  • the two-bending state holding vehicle fixing component discloses a configuration in which the vehicle fixing portions are engaged with each other so that they can be combined.
  • the vehicle fixing parts can be combined to engage with each other. If it is a simple structure, it is necessary to fix each vehicle fixing
  • this invention aims at providing the technique suitable for extending the said wire harness and assembling
  • a wire harness module includes a wire harness including a plurality of electric wires, and a plurality of vehicle fixing parts that are attached to the wire harness and configured to be attachable to a vehicle. And at least one of the plurality of vehicle fixing parts is maintained in a state that can be fixed to the vehicle, and at least one of the plurality of vehicle fixing parts is maintained in a bent form of the wire harness. is there.
  • a 2nd aspect is a wire harness module which concerns on a 1st aspect, Comprising: These vehicle fixing components are the vehicle fixing components for 1st bending state holding
  • a second bending state holding vehicle fixing part wherein the first bending state holding vehicle fixing part includes a first harness attachment part attached to the wire harness, and a first vehicle fixing part fixable to the vehicle.
  • the second bent state holding vehicle fixing component includes a second harness mounting portion attached to the wire harness, a second vehicle fixing portion fixable to the vehicle, and the first And a second coalesced portion that can be detached from the coalesced portion.
  • a 3rd aspect is a wire harness module which concerns on a 1st or 2nd aspect, Comprising:
  • the said several vehicle fixing component is the said wire harness as at least 1 vehicle fixing component maintained in the form which bent the said wire harness. And a harness mounting portion that is fixed to the vehicle and a harness holding and vehicle fixing portion that can be fixed to the vehicle and that keeps the wire harness bent.
  • a 4th aspect is a wire harness module which concerns on any one 1st-3rd aspect, Comprising: The edge part holding
  • a 5th aspect is a wire harness module which concerns on a 4th aspect, Comprising:
  • maintenance part can be attached to the part attached to the said wire harness among at least one of these vehicle fixing components, or a vehicle. It includes an end holding component that is separable from the constructed portion.
  • the wire harness after fixing one of the plurality of vehicle fixing parts that is fixed to the vehicle to the vehicle, the wire harness can be extended and assembled to the vehicle.
  • the first harness mounting portion and the first vehicle fixing portion of the first bending state holding vehicle fixing component, the second harness mounting portion and the second vehicle fixing portion of the second bending state holding vehicle fixing component are provided, the influence on the mounting function to the wire harness and the fixing function to the vehicle can be reduced as much as possible.
  • the holding of the wire harness by the harness / vehicle fixing part of the combined vehicle fixing part is released, and the wire harness is extended.
  • the harness holding and vehicle fixing portion can be fixed to the vehicle.
  • the harness holding and vehicle fixing portion can also be used as a configuration for holding the harness in a bent state and a configuration for fixing the harness to the vehicle, thereby simplifying the configuration.
  • a wire harness module can be made into a more compact form by hold
  • the end holding portion can be separated, so that the end holding portion does not get in the way.
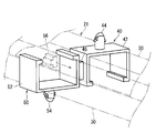
  • FIG. 1 is a schematic perspective view showing a form in which the wire harness module 20 is disposed in a vehicle
  • FIG. 2 is a schematic perspective view showing the wire harness module 20.
  • the wire harness module 20 shown in FIG. 2 has shown the initial state which arrange
  • the wire harness module 20 includes a wire harness 21, a first bending state holding vehicle fixing component 40 and a second bending state holding vehicle fixing component 50 as a plurality of vehicle fixing components.
  • the wire harness 21 includes a plurality of electric wires.
  • the wire harness 21 includes a wire harness body 22 formed by bundling a plurality of electric wires. In each drawing, an outer shape in which a plurality of electric wires are bundled is shown.
  • the wire harness body 22 may be branched in the middle of its extending direction, or may be bundled together without such a branch. In the example shown in FIG.1 and FIG.2, the wire harness main body 22 is branched in two places in the middle of the extension direction.
  • the wire harness body 22 includes a trunk portion 23 and a branch portion 24 that branches in the middle of the trunk portion 23.
  • the wire harness body 22 may include an optical cable or the like.
  • Connectors 25 and 26 are attached to each end of the wire harness main body 22, that is, both ends of the trunk portion 23, and a connector 27 is attached to the end of the branch portion 24.
  • Each of the connectors 25, 26, and 27 is a connector having one housing portion, and the end portion of the trunk portion 23 and the branch portion 24 are obtained by inserting and holding the terminal at the end portion of the electric wire in the cavity of the housing portion. Connectors 25, 26, and 27 are attached to the ends of the connectors.
  • this wire harness main body 22 is used as a wiring material that electrically connects various electric components in the vehicle.
  • the vehicle to which the wire harness 21 is assembled may be a four-wheeled vehicle or a two-wheeled vehicle.
  • the assembly target location may be a panel shape such as a metal plate, or may be a rectangular or cylindrical elongated member.
  • the assembly target location 10 is in the form of a panel such as a metal plate, and an example in which a plurality of fixing holes 10h are formed in the assembly target location 10 will be described (only one is shown in FIG. 2).
  • the bendable exterior member 30 is armored on the wire harness body 22.
  • the exterior member 30 is a cylindrical member formed by extruding resin. If the exterior member 30 is formed of a soft resin or a cylindrical shape having a bendable thickness, the exterior member 30 can be configured to be bendable.
  • the exterior member 30 may be formed of a material having a base resin of polyvinyl chloride (PVC), polypropylene (PP), polyethylene (PE), polyamide (PA), polyethylene terephthalate (PET), or the like.
  • the entire extending direction of the exterior member 30 is configured such that the bending direction is regulated so as to bend best in a predetermined direction from the linear state.
  • the cross-sectional shape of the exterior member 30 is formed to be an elongated annular shape, in this case, a long rectangular annular shape on one side.
  • the exterior member 30 is formed in a rectangular rectangular tube shape. From the straight state, the exterior member 30 can be bent relatively easily in the direction in which the cross-sectional shape is short (see the direction of arrow A in FIG. 1), while the direction in which the cross-sectional shape is long (in FIG. 1). In the direction of arrow B), it is harder to bend than the former direction.
  • a bending direction control part which controls a bending direction so that the whole extension direction of the exterior member 30 may bend best from a linear state to a predetermined direction (refer arrow A direction of FIG. 1). It will be.
  • the said wire harness 21 forms the slit along the extension direction in the exterior member 30 by passing in the said exterior member 30 from the opening of the one end side of the exterior member 30, and through the slit It is disposed in the exterior member 30.
  • An opening is formed in the middle of the extending direction of the exterior member 30, and the branch portion 24 is drawn out through the opening.
  • the bending direction can be regulated so as to bend best in a predetermined direction.
  • the bending direction be regulated so that the exterior member bends best in a predetermined direction
  • the exterior member may be formed in a cylindrical shape, a square cylindrical shape, or the like.
  • a corrugated tube may be used as the exterior member.
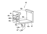
  • FIG. 3 is a perspective view showing the first bent state holding vehicle fixing part 40
  • FIG. 4 is a perspective view showing the second bent state holding vehicle fixing part 50
  • FIG. 5 is the first bent state holding vehicle. It is a perspective view which shows the united state of the fixing component 40 and the 2nd bending state holding vehicle fixing component 50.
  • the first bending state holding vehicle fixing part 40 and the second bending state holding vehicle fixing part 50 are parts attached to the wire harness main body 22 at positions separated in the extending direction.
  • the vehicle is attached at a position separated in the extending direction.
  • the exterior member 30 is bent in its elastic deformation region, and the first bending state holding vehicle fixing part 40 and the second bending state holding vehicle fixing part 40.
  • maintenance is provided.
  • first bending state holding vehicle fixing part 40 and the second bending state holding vehicle fixing part 50 may be directly attached to the wire harness body 22.
  • a plurality of exterior members are attached to the distant parts, and the first bending state holding vehicle fixing component and the second bending state holding vehicle fixing component are attached to each of the exterior members. Also good.
  • Each of the first bending state holding vehicle fixing part 40 and the second bending state holding vehicle fixing part 50 is configured to be attached to the wire harness 21 and attachable to the assembly target location 10 of the vehicle.
  • the first bending state holding vehicle fixing component 40 is a component integrally molded with resin or the like, and includes a first harness mounting portion 42, a first vehicle fixing portion 44, and a first combined portion 46. Prepare.
  • the first harness attachment portion 42 is configured to be attachable to a part of the extending direction of the exterior member 30.
  • the 1st harness attachment part 42 is provided with the base 42a and a pair of side part 42b.
  • the base portion 42 a is formed in an elongated plate shape that can be disposed over the entire width direction of the outer surface of the exterior member 30 on the wide side.
  • the pair of side portions 42b is formed in a shape that rises from both side portions of the base portion 42a to one main surface side of the base portion 42a.
  • the pair of side portions 42 b is formed to have a length dimension that exceeds the outer surface of the exterior member 30 on the narrow side.
  • a locking piece 42c that protrudes inward is formed at the tip of the pair of side portions 42b.
  • a space in which the exterior member 30 can be disposed is formed between the base portion 42a and the pair of side portions 42b.
  • the first harness attachment portion 42 is attached to the exterior member 30 by bringing the stop piece 42c into contact with both sides of the other outer surface on the wide side of the exterior member 30, and the first bending state maintaining vehicle fixing component 40 is secured. It is attached to the exterior member 30 as a whole.
  • the first harness attachment portion is formed so as to be attachable to the attachment target in accordance with the shape to be attached.
  • the attachment target is a corrugated tube as an exterior member or a wire bundle of the wire harness body 22
  • the first harness attachment portion can be held in a substantially circumferential shape. You may form in the character-shaped part.
  • the first vehicle fixing portion 44 includes a columnar portion 44a that protrudes outward from the center portion of the outer surface of the base portion 42a, and a pair of retaining protrusions 44b that protrude from the tip of the columnar portion 44a. Is provided.
  • the retaining protrusion 44b is provided so as to spread outward from the distal end portion of the columnar portion 44a toward the proximal end portion.
  • the retaining protrusion 44b is retained and locked to the peripheral portion of the fixing hole 10h, thereby fixing the first vehicle.
  • the portion 44 is fixed at a fixed position with respect to the assembly target location 10.
  • the configuration itself of the first vehicle fixing portion 44 is adopted as a structure for mounting on a vehicle as a part called a clamp, a clip or the like.
  • the shape that can be fixed to the assembly target location is also adopted for the first vehicle fixing portion in accordance with the shape of the assembly target location.
  • One example thereof will be described in a second embodiment to be described later.
  • the 1st union part 46 is constituted so that releasable union to the 2nd unification part 56 mentioned below is possible.
  • the 1st united part 46 is formed in the 1st side of the 1st harness attaching part 42, ie, the outer surface of one side part 42b.
  • the first united portion 46 includes a pair of side portions 46a, a ceiling portion 46b, and a stopper piece portion 46c.
  • the pair of side portions 46a is formed in an elongated plate shape provided with a gap in the direction connecting the base end portion and the tip end portion of the side portion 42b.
  • a ceiling portion 46b is formed so as to connect the tip portions of the pair of side portions 46a.
  • An insertion recess 46bh is formed at the center in the width direction of the ceiling 46b from the one end to the other end in the extending direction of the pair of side portions 46a.
  • the stop piece 46c is formed so as to connect the other ends of the pair of side portions 46a.
  • a protrusion protrusion that gradually protrudes from the one end side to the other end side in the extending direction of the pair of side portions 46a on the outer surface of the side portion 42b and between the pair of side portions 46a. 46d is formed.
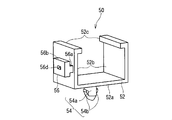
  • the second bending state holding vehicle fixing component 50 is a component integrally molded with resin or the like, and includes a second harness mounting portion 52, a second vehicle fixing portion 54, and a second combined portion 56. Prepare.
  • the second harness attachment portion 52 is configured to be attachable to a part of the extending direction of the exterior member 30.
  • the 2nd harness attachment part 52 is the structure similar to the said 1st harness attachment part 42, and is set as the structure provided with the base 52a and a pair of side part 52b.
  • the second harness attachment portion is also formed so as to be attachable to the attachment target in accordance with the shape to be attached.
  • the second vehicle fixing portion 54 is configured to be fixable to the assembly target location 10 (see FIG. 1) of the vehicle.
  • fixed part 54 is the structure similar to the said 1st vehicle fixing
  • the shape that can be fixed to the assembling target location is also adopted for the second vehicle fixing portion in accordance with the shape of the assembling target location.
  • One example thereof will be described in a second embodiment to be described later.
  • the 2nd uniting part 56 is constituted so that uniting is possible so that removal to the 1st uniting part 46 is possible.
  • the second combined portion 56 is formed on one side of the second harness mounting portion 52, that is, on the outer surface of one side portion 52b.
  • the second united portion 56 includes a base portion 56a and an insertion piece 56b.
  • the base portion 56a is an elongated portion formed along the direction connecting the both ends of the side portion 52b on the outer surface of the side portion 52b (the direction orthogonal to the direction connecting the base end portion and the distal end portion of the side portion 52b). is there.
  • the thickness of the base portion 56a is set to be equal to or smaller (slightly smaller) than the width of the insertion recess 46bh, and is formed to be insertable into the insertion recess 46bh.
  • the insertion piece 56b is formed in a rectangular piece formed so as to protrude from the distal end portion of the base portion 56a to both sides thereof. Is the thickness dimension of the insertion piece 56b set to be the same or smaller (slightly smaller) than the gap between the side part 42b and the ceiling part 46b, and is the width dimension of the insertion piece 56b the same as the interval between the pair of side parts 46a? It is set small (slightly small).
  • a retaining recess 56d into which the retaining projection 46d can be fitted is formed on the outward surface of the insertion piece 56b.
  • the positions of the retaining protrusions 46d and the retaining recesses 56d are not limited to the above example, and the concavo-convex relationship may be reversed. In a state where the first combined portion 46 and the second combined portion 56 are combined, a convex portion is formed on one of them, and a concave portion into which the convex portion is fitted is formed on the other.
  • the base portion 56a of the first combined portion 46 is inserted into the insertion concave portion 46bh, and the insertion piece 56b is inserted into the space surrounded by the pair of side portions 46a and the ceiling portion 46b.
  • the first combined portion 46 and the second combined portion 56 are combined with each other by locking the retaining recess 56d. Further, from this state, when a force is applied to the first united portion 46 in the direction of pulling out the second united portion 56, the first united portion 46 and the second united portion 56 are prevented from coming off due to elastic deformation of at least a part thereof.
  • the protrusion 46d and the stopper protrusion 46d are released from being released, the combined state of the first combined part 46 and the second combined part 56 can be canceled, and the second combined part 56 is removed from the first combined part 46. Can do.
  • the wire harness module 20 can be fixed to at least one of the first vehicle fixing portion 44 and the second vehicle fixing portion 54, which are a plurality of vehicle fixing components, in a bent form at the time of transportation and at the initial stage of assembly.
  • at least one of the first vehicle fixing portion 44 and the second vehicle fixing portion 54 keeps the wire harness 21 bent.
  • the first combined portion 46 of the first bending state holding vehicle fixing component 40 and the second combining portion 56 of the second bent state holding vehicle fixing component 50 keep the wire harness 21 bent.
  • the first vehicle fixing portion 44 and the second vehicle fixing portion 54 are kept in a state that can be fixed to the assembly target location 10 of the vehicle in a form that is exposed to the outside.
  • the first vehicle fixing portion 44 of the first bending state holding vehicle fixing component 40 is kept in a state where the first combining portion 46 and the second combining portion 56 are combined. It is inserted and fixed in one fixing hole 10h of the assembling target location 10, and then the second combined portion 56 is removed from the first combined portion 46, and the wire harness 21 is extended to maintain the second bent state.
  • the second vehicle fixing portion 54 of the vehicle fixing component 50 can be fixed by being inserted into one fixing hole 10 h of the assembly target location 10.
  • the work of assembling the wire harness 21 to the vehicle can be easily performed.
  • the unit of the combined structure of the first bending state holding vehicle fixing part 40 and the second bending state holding vehicle fixing part 50 is a robot hand. And then fixed to the vehicle, and then the robot hand is used to release the first bent state holding vehicle fixing part 40 and the second bent state holding vehicle fixing part 50 to form the second bent state.
  • the operation of fixing the holding vehicle fixing component 50 to the vehicle can be easily performed as a series of operations.
  • first harness mounting part 42 and the first vehicle fixing part 44 of the first bending state holding vehicle fixing part 40, and the second harness mounting part 52 and the second vehicle fixing part of the second bending state holding vehicle fixing part 50 Since the first united portion 46 and the second united unit 56 are provided separately from 54, the wire harness 21 can be made while minimizing the influence of the function of attaching each component to the wire harness 21 and the function of fixing to the vehicle.
  • the first combined part 46 and the second combined part 56 can be provided with emphasis on the function of maintaining the bent shape.
  • FIG. 6 is a perspective view showing an exterior member 130 according to a first modification
  • FIG. 7 is a cross-sectional view showing the exterior member 130
  • FIG. 8 is a view showing a state in which the exterior member 130 is bent.
  • the exterior member 130 is a long member formed by extruding a softened resin.
  • the extrusion molding is a processing method in which a softened resin is supplied to an extrusion molding die and extruded as a long member having a predetermined cross-sectional shape.
  • the long member is manufactured as a member having a predetermined cross-sectional shape corresponding to the shape of the outlet of the extrusion mold. For this reason, by forming the exit shape of the extrusion mold into a predetermined shape to be processed as the exterior member 130, a long member having the same cross-sectional shape along the extending direction can be formed easily and continuously. can do.
  • the exterior member 130 includes a main body 132 having a rectangular tube shape.
  • the cross-sectional shape of the main body 132 is a rectangular shape in which one set of opposite sides (the opposite sides along the horizontal direction in FIG. 7) is longer than the other set of opposite sides (the opposite sides along the vertical direction in FIG. 7).
  • a cross-sectional shape an example of a polygonal cross-sectional shape.
  • the main body portion 132 has a rectangular tube shape surrounded by the bottom plate portion 133, the upper plate portion 134, and the pair of side plate portions 135 and 135.
  • the direction connecting the bottom plate portion 133 and the upper plate portion 134 will be described as the vertical direction
  • the direction connecting the pair of side plate portions 135 and 135 will be described as the width direction. It is not limited to.
  • the exterior member 130 is formed with a slit 131 for accommodating the wire harness 21 along its extending direction.
  • main body portion 132 of the exterior member 130 is formed with reinforcing protrusions 136 and 137 extending along the extending direction.
  • a pair of elongate plate-shaped reinforcing protrusions 136 are formed from both side edge portions of the bottom plate portion 133 toward the outside of the pair of side plate portions 135. Further, a pair of elongated protrusions 137 are formed from the edge of the pair of side plates 135 toward the outer side (upward) of the upper plate 134 from the edge on the upper plate 134 side.
  • each of the reinforcing protrusions 136 and 137 is formed in a shape that gradually becomes thinner toward the outside thereof, but this is not essential.
  • the exterior member 130 can be made difficult to bend in the width direction and the vertical direction, and the straight line state can be more reliably established. Can be maintained.
  • the reinforcing protrusions 136 and 137 appear as protrusions protruding sideways and upward in the cross-sectional shape of the exterior member 130.
  • the components including the main body 132 and the reinforcing protrusions 136 and 137 are formed by resin extrusion.
  • the exterior member 130 is formed with a separation portion 140 for making it easy to bend partially in the extending direction.
  • the separation part 140 is a part where a part of the outer peripheral part of the exterior member 130 is separated on both sides in the extending direction, and is formed by performing additional processing on the extruded long member.
  • the additional processing of the separation part 140 can be formed by a press blade, a cutter blade, laser cutting, or the like.
  • the cut-off portion 140 only needs to be formed on a part of the outer peripheral portion of the exterior member 130, and therefore may be formed only on the reinforcing protrusion 136 (or the reinforcing protrusion 137), or the main body portion. It may be formed so as to penetrate inside and outside a part of the outer peripheral portion of 132.
  • the two first portions 138 in the intermediate portion in the extending direction of the exterior member 130 are gently bent in opposite directions and bent so as to draw a gentle S-shaped curve in plan view (see FIG. 6). .
  • a plurality of separation portions 140 are formed at intervals in the portion of the first portion 138 that faces the outer peripheral side in a bent state. For this reason, the portion of the first portion 138 can be bent easily by opening the reinforcing protrusions 136 or 137 on one side at the respective separation portions 140.
  • the separating portion is formed in a shape that separates linearly, but the separating portion may be formed in a shape that separates the electric wire exterior member with a width in the extending direction. Good.
  • this part is a path regulating unit that regulates the path of the wire harness 21.
  • the 1st part 138 in which the separation part 140 was formed among the exterior members 30 is an easily bendable part which is easier to bend than the path regulating part.
  • the exterior member 130 is attached by attaching the first bent state holding vehicle fixing part 40 and the second bent state holding vehicle fixing part 50, and combining them.
  • the member 30 can be held in a certain conveying form, and the same effect as described in the above embodiment can be obtained.
  • the first portion 138 may be provided in a portion that bends in a state where the first bending state holding vehicle fixing component 40 and the second bending state holding vehicle fixing component 50 are combined.
  • the first portion 138 may be provided in a portion that is bent and disposed in a state in which the wire harness module including the exterior member 130 is assembled to the vehicle.
  • portions other than these portions may be set as route restriction portions that are not provided with the separation portion.
  • the wire harness module including the exterior member 130 can be more reliably maintained in a certain state in the conveyance form and the arrangement form in the vehicle.
  • a thick annular part and a narrow annular part include those described in this modification.
  • a cylindrical member or the like in which a corrugated tube-shaped portion that is alternately continuous in the extending direction and a cylindrical portion in which the same-shaped portion (the same-diameter portion) is continuous can be used.
  • At least one of the plurality of vehicle fixing parts may be provided with an end holding portion that holds the end of the wire harness main body 22.
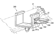
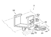
  • the first bent state holding vehicle fixing component 240 corresponding to the first bent state holding vehicle fixing component 40 is provided with an end holding portion 242 that holds the end of the wire harness 21. It is a figure which shows an example.
  • the end holding portion 242 is provided so as to be separable from the first harness attaching portion 42 or the first vehicle fixing portion 44, and FIG. 9 shows that the end holding portion 242 is separated from the first harness attaching portion 42.
  • FIG. 10 shows a state in which the end holding portion 242 is separated from the first harness mounting portion 42.
  • the end holding portion 242 is provided on the outer surface of the side portion 42b on the opposite side of the pair of side portions 42b of the first bending state holding vehicle fixing component 240 from the one where the first combined portion 46 is provided.
  • the end holding part uniting part 241 and the end holding part 244 are provided.
  • the end holding part uniting part 241 includes a pair of side parts 241a, a ceiling part 241b, and a stopper piece part 241c.
  • the pair of side portions 241a is formed in an elongated plate shape that is provided with an interval in a direction connecting the base end portion and the tip end portion of the side portion 42b.
  • a ceiling portion 241b is formed so as to connect the tip portions of the pair of side portions 241a.
  • An insertion recess 241bh extending from one end side in the extending direction of the pair of side portions 241a to the other end side is formed in the center portion in the width direction of the ceiling portion 241b.
  • the stop piece 241c is formed so as to connect the other ends of the pair of side portions 241a.
  • the end holding component 244 is a component that is integrally molded with resin or the like, and includes a harness holding portion 246 and a combined portion 248.
  • the harness holding part 246 is formed in a U-shape, and the width of the base end part is set smaller than the width of the opening on the front end side. Then, when any one end of the wire harness 21 is disposed in the harness holding part 246, the end of the wire harness 21 is held in a state of being held by the harness holding part 246. At this time, since the opening on the front end side of the harness holding portion 246 is formed to be narrow, dropping of the end portion of the wire harness 21 is suppressed. When the end of the wire harness 21 is moved toward the opening of the harness holding portion 246 and the end opening of the harness holding portion 246 is elastically opened, the end of the wire harness 21 is removed from the harness holding portion 246. be able to.
  • the union part 248 is provided in the outward part of the base end part of the harness clamping part 246.
  • the united portion 248 includes a base portion 248a and an insertion piece 248b.
  • the base 248a is formed in an elongated shape.
  • the thickness dimension of the base 248a is set to be the same as or smaller (slightly smaller) than the width of the insertion recess 241bh, and is formed to be insertable into the insertion recess 241bh.
  • the insertion piece 248b is formed in a square piece formed so as to protrude from the tip end portion of the base portion 248a to both sides thereof.
  • the thickness dimension of the insertion piece 248b is set to be the same or smaller (slightly smaller) than the gap between the side part 42b and the ceiling part 241b, and is the width dimension of the insertion piece 248b the same as the distance between the pair of side parts 241a? It is set small (slightly small).
  • the base portion 248a of the merged portion 248 is inserted into the insertion recess 241bh, and the insertion piece 248b is inserted into the space surrounded by the pair of side portions 241a and the ceiling portion 241b, thereby combining the end holding portion merged portion.
  • 241 and the merged portion 248 are merged. Further, from this state, when a force is applied in a direction in which the united portion 248 is pulled out from the end holding unit united portion 241, the united state can be released, and the united portion 248 can be connected to the end holding unit united portion 241. Can be removed.
  • maintenance part united part 241 and the united part 248 may be formed with a convex part and a concave part that are locked in the combined state.
  • the end portion of the wire harness 21 can be held by the first bending state holding vehicle fixing component 240, which is at least one of the plurality of vehicle fixing components, so that the wire harness module can be made more compact. It can be in the form.
  • maintenance component 244 is separable from the 1st harness attachment part 42 and the 1st vehicle fixing
  • the end holding component 244 that has been removed is lost, the end holding component 244 does not get in the way, and interference with other parts of the vehicle can be suppressed.
  • the end holding component 244 may be collected and reused or discarded.
  • the example in which the end holding portion 242 is provided in the first bending state holding vehicle fixing component 240 has been described.
  • the second bending state holding vehicle fixing component 50 has an end.
  • a part holding part may be provided.
  • the end holding component 244 has been described as an example that can be combined with the end holding unit combining unit 241, but the part holding the end of the wire harness is a thin part, a thin part, etc. It may be integrally formed in a state where it is connected to the harness mounting portion or the vehicle fixing portion via the weakened portion, and after the wire harness is assembled to the vehicle, it may be broken and separated at the weakened portion.
  • FIG. 11 is a schematic perspective view showing a form in which the wire harness module 320 is extended
  • FIG. 12 is a schematic perspective view showing the wire harness module 320.
  • the wire harness module 320 in an initial state in which the work is arranged in the vehicle from the folded state is shown by a solid line
  • the wire harness module 320 extended from this state is shown by a two-dot chain line. ing.
  • the same components as those described in the first embodiment may be denoted by the same reference numerals and description thereof may be omitted.
  • the wire harness module 320 includes the wire harness 21 and a plurality of vehicle fixing parts 340 as a plurality of vehicle fixing parts.
  • the wire harness 21 has the same configuration as that described in the first embodiment, and has a configuration in which an exterior member 30 is sheathed on the wire harness body 22.
  • FIG. 13 is a schematic perspective view showing the vehicle fixing component 340.
  • the assembling target part 310 is an elongated frame-shaped part, more specifically, a rectangular cylindrical part having the same width and height as the exterior member 30.
  • the vehicle fixing part 340 is a part integrally molded with resin or the like, and includes a harness attachment part 342 and a vehicle fixing part 344.
  • the harness attachment part 342 is a component similar to the first harness attachment part 42.
  • the vehicle fixing portion 344 is configured to be attachable to the assembly target location 310 of the vehicle.
  • the vehicle fixing portion 344 includes a base portion and a pair of side portions 344b, similarly to the first harness attachment portion 42.
  • the base of the vehicle fixing part 344 is shared with the base 42a of the harness mounting part 342.
  • the pair of side portions 344b is formed in a shape that rises from both side portions of the base portion 42a to the other main surface side of the base portion 42a (that is, opposite to the pair of side portions 42b of the harness attachment portion 342).
  • the pair of side portions 344b is formed to have a length dimension that exceeds the outer surface of the exterior member 30 and the assembly target location 310 on the narrow side.
  • a locking piece 344c that protrudes inward is formed at the tip of the pair of side portions 344b.
  • a space in which the exterior member 30 or the assembly target location 310 can be disposed is formed between the base portion 42a and the pair of side portions 344b.
  • the inward surface of the base portion 42a is brought into contact with one outer surface on the wide side of the exterior member 30 or the assembly target location 310, and the inward surfaces of the pair of side portions 344b are brought into contact with the exterior member 30 or the assembly target location 310.
  • the vehicle fixing portion 344 is brought into contact with the pair of outer surfaces on the narrow side, and the locking piece 42c is brought into contact with both sides of the outer member 30 or the other outer surface on the wide side of the assembly target location 310, so And selectively attached to the assembly target location 310.
  • a plurality (two in this case) of vehicle fixing components 340 are provided at positions separated from each other in the extending direction with respect to the wire harness 21 (here, the exterior member 30), as in the first embodiment.
  • one vehicle fixing component 340 among a plurality (two in this case) of vehicle fixing components 340 is used as a dual-purpose vehicle fixing component.
  • the vehicle fixing portion 344 of the one combined vehicle fixing component 340 serves as a harness holding and combined vehicle fixing portion as another portion of the wire harness 21 (here, the other portion of the exterior member 30 and the other vehicle fixing component).
  • the position of the wire harness 21 is kept bent (see FIG. 12).
  • fixed part 344 of the other vehicle fixing component 340 is exposed outside, and is maintained in the state which can be fixed to a vehicle.
  • fixed part) 340 The holding of the wire harness 21 by 344 is released, and the vehicle fixing part (harness holding / vehicle fixing part) 344 of one vehicle fixing part (also used as a vehicle fixing part) 340 is fixed to the assembly target location 310.
  • the assembly target location 310 to which the vehicle fixing part 344 of the other vehicle fixing part 340 is fixed, and the vehicle fixing part (harness holding and vehicle fixing part) 344 of one vehicle fixing part (also used as a vehicle fixing part) 340 are illustrated.
  • the vehicle harness is fixed to the other vehicle fixing part 340 (harness holding and vehicle fixing part) 344 while the wire harness 21 is kept bent.
  • the vehicle fixing part 344 of the part 340 is fixed to the assembly target location 310, and then the vehicle fixing part (harness holding / vehicle fixing part) 344 of one vehicle fixing part (combined vehicle fixing part) 340 is connected from the wire harness 21.
  • the wire harness 21 can be removed and the vehicle fixing part (harness holding / vehicle fixing part) 344 of one of the vehicle fixing parts (combined vehicle fixing parts) 340 can be fixed to the assembly target part 310.
  • vehicle fixing portion (harness holding and vehicle fixing portion) 344 can be shared with a configuration for holding the wire harness 21 in a bent state and a configuration for fixing the wire harness 21 to the vehicle, and the configuration can be simplified. .
  • the said 1st united part 46 or the 2nd united part 56 may be provided in the vehicle fixing
  • the end holding portion 242 may be provided in the vehicle fixing component 340 described in the second embodiment.

Landscapes

  • Engineering & Computer Science (AREA)
  • Mechanical Engineering (AREA)
  • Architecture (AREA)
  • Civil Engineering (AREA)
  • Structural Engineering (AREA)
  • Installation Of Indoor Wiring (AREA)
  • Details Of Indoor Wiring (AREA)
  • Insulated Conductors (AREA)
PCT/JP2017/036908 2016-10-31 2017-10-12 ワイヤーハーネスモジュール Ceased WO2018079271A1 (ja)

Priority Applications (3)

Application Number Priority Date Filing Date Title
US16/341,288 US11117531B2 (en) 2016-10-31 2017-10-12 Wire harness module
EP17864865.5A EP3503325B1 (en) 2016-10-31 2017-10-12 Wire harness module
CN201780065402.1A CN109863658B (zh) 2016-10-31 2017-10-12 线束模块

Applications Claiming Priority (2)

Application Number Priority Date Filing Date Title
JP2016-212667 2016-10-31
JP2016212667A JP6589819B2 (ja) 2016-10-31 2016-10-31 ワイヤーハーネスモジュール

Publications (1)

Publication Number Publication Date
WO2018079271A1 true WO2018079271A1 (ja) 2018-05-03

Family

ID=62024799

Family Applications (1)

Application Number Title Priority Date Filing Date
PCT/JP2017/036908 Ceased WO2018079271A1 (ja) 2016-10-31 2017-10-12 ワイヤーハーネスモジュール

Country Status (5)

Country Link
US (1) US11117531B2 (enExample)
EP (1) EP3503325B1 (enExample)
JP (1) JP6589819B2 (enExample)
CN (1) CN109863658B (enExample)
WO (1) WO2018079271A1 (enExample)

Families Citing this family (6)

* Cited by examiner, † Cited by third party
Publication number Priority date Publication date Assignee Title
JP7294082B2 (ja) * 2019-11-20 2023-06-20 住友電装株式会社 配線部材
JP7314790B2 (ja) * 2019-12-19 2023-07-26 住友電装株式会社 プロテクタ及びワイヤハーネス
JP2022016785A (ja) * 2020-07-13 2022-01-25 住友電装株式会社 プロテクタ及びワイヤハーネス
CN112008760B (zh) * 2020-08-18 2022-03-25 深圳市汇川技术股份有限公司 线缆绑扎结构和机器人
KR102807541B1 (ko) * 2022-12-08 2025-05-13 현대자동차주식회사 에어백용 와이어 가이드
CN115771472A (zh) * 2022-12-30 2023-03-10 采埃孚股份公司 带有卡扣的线缆或线束支架及其制造和安装方法

Citations (2)

* Cited by examiner, † Cited by third party
Publication number Priority date Publication date Assignee Title
JPH0620972U (ja) * 1992-08-21 1994-03-18 矢崎総業株式会社 ワイヤーハーネス固定具
WO2014034899A1 (ja) * 2012-09-03 2014-03-06 矢崎総業株式会社 ワイヤハーネス同士の合体構造

Family Cites Families (10)

* Cited by examiner, † Cited by third party
Publication number Priority date Publication date Assignee Title
US5112013A (en) * 1991-02-25 1992-05-12 Chrysler Corporation Tie strap structure for electric wiring
JPH0620972A (ja) 1992-07-03 1994-01-28 Ebara Corp Cvd装置
JP2001245426A (ja) * 2000-02-29 2001-09-07 Sumitomo Wiring Syst Ltd クランプおよび該クランプを用いたワイヤハーネスへのコネクタ固定構造
US20020129961A1 (en) * 2001-03-16 2002-09-19 Siemens Automotive Corporation Wiring harness retainer
DE10256144A1 (de) * 2002-11-29 2004-06-17 Newfrey Llc, Newark Befestigungsvorrichtung für einen länglichen Gegenstand, insbesondere Kabelbaum
JP2012115021A (ja) * 2010-11-24 2012-06-14 Yazaki Corp ワイヤハーネス配索構造
JP5824282B2 (ja) * 2011-08-10 2015-11-25 矢崎総業株式会社 ワイヤハーネス
JP6048472B2 (ja) * 2014-10-27 2016-12-21 株式会社オートネットワーク技術研究所 ワイヤーハーネスモジュール
JP6237581B2 (ja) * 2014-11-14 2017-11-29 株式会社オートネットワーク技術研究所 ワイヤハーネスおよびワイヤハーネスの製造方法
JP2016189271A (ja) * 2015-03-30 2016-11-04 株式会社オートネットワーク技術研究所 ワイヤーハーネスモジュール及びワイヤーハーネスモジュール管理システム

Patent Citations (2)

* Cited by examiner, † Cited by third party
Publication number Priority date Publication date Assignee Title
JPH0620972U (ja) * 1992-08-21 1994-03-18 矢崎総業株式会社 ワイヤーハーネス固定具
WO2014034899A1 (ja) * 2012-09-03 2014-03-06 矢崎総業株式会社 ワイヤハーネス同士の合体構造

Non-Patent Citations (1)

* Cited by examiner, † Cited by third party
Title
See also references of EP3503325A4 *

Also Published As

Publication number Publication date
EP3503325A4 (en) 2019-09-18
US20210114533A1 (en) 2021-04-22
US11117531B2 (en) 2021-09-14
EP3503325A1 (en) 2019-06-26
JP2018074774A (ja) 2018-05-10
CN109863658B (zh) 2020-08-11
CN109863658A (zh) 2019-06-07
EP3503325B1 (en) 2025-12-17
JP6589819B2 (ja) 2019-10-16

Similar Documents

Publication Publication Date Title
JP6589819B2 (ja) ワイヤーハーネスモジュール
JP5772405B2 (ja) 経路維持部材付コルゲートチューブ及びワイヤーハーネス
JP2013013177A (ja) 経路維持部材付コルゲートチューブ及びワイヤーハーネス
US20160372907A1 (en) Wire harness having fixing member
JP6048472B2 (ja) ワイヤーハーネスモジュール
JP6386255B2 (ja) ワイヤーハーネス
JP2013106485A (ja) ワイヤーハーネス及びその経路規制部材
JP6294695B2 (ja) ワイヤハーネス形状保持体及び形状保持体付きワイヤハーネス
WO2015115164A1 (ja) 電線外装部材、電線モジュール及び電線外装部材の製造方法
WO2015087791A1 (ja) バンド部付配線固定部材及び固定部材付ワイヤーハーネス
JP2008162393A (ja) 車両のワイヤハーネス配索用クランプ
WO2013035363A1 (ja) ワイヤーハーネス及びワイヤーハーネス用保護部材
JP6217781B2 (ja) 電線保護部材及びワイヤーハーネスモジュール
JP4170308B2 (ja) 光ファイバケーブル固定具
WO2016088531A1 (ja) ワイヤハーネス用の外装材
JP2017153185A (ja) バンドクリップおよびこれを備えたワイヤハーネス
JP6191579B2 (ja) ワイヤーハーネスモジュール
JP2017210988A (ja) バンド具
JP2018017285A (ja) 配線部材固定用部品及びプロテクタ付配線部材
JP2015167450A (ja) プロテクタ付ワイヤーハーネス及びプロテクタ付ワイヤーハーネスの製造方法
JP2017139879A (ja) ガイドクランプ、ワイヤーハーネス及びガイド部
JP2016167465A (ja) ワイヤハーネス
JP2013233031A (ja) コルゲートチューブ外装治具および該コルゲートチューブ外装治具を用いたコルゲートチューブの外装方法
JP2015089208A (ja) グロメット及びグロメット付ワイヤーハーネス
JP2013037844A (ja) コネクタ保護具及びワイヤハーネス

Legal Events

Date Code Title Description
121 Ep: the epo has been informed by wipo that ep was designated in this application

Ref document number: 17864865

Country of ref document: EP

Kind code of ref document: A1

ENP Entry into the national phase

Ref document number: 2017864865

Country of ref document: EP

Effective date: 20190319

NENP Non-entry into the national phase

Ref country code: DE