WO2018016364A1 - 密閉形回転圧縮機、及び、冷凍空調装置 - Google Patents

密閉形回転圧縮機、及び、冷凍空調装置 Download PDF

Info

Publication number
WO2018016364A1
WO2018016364A1 PCT/JP2017/025110 JP2017025110W WO2018016364A1 WO 2018016364 A1 WO2018016364 A1 WO 2018016364A1 JP 2017025110 W JP2017025110 W JP 2017025110W WO 2018016364 A1 WO2018016364 A1 WO 2018016364A1
Authority
WO
WIPO (PCT)
Prior art keywords
cylinder
rotary compressor
chamber
suction
rotary
Prior art date
Legal status (The legal status is an assumption and is not a legal conclusion. Google has not performed a legal analysis and makes no representation as to the accuracy of the status listed.)
Ceased
Application number
PCT/JP2017/025110
Other languages
English (en)
French (fr)
Japanese (ja)
Inventor
香曽我部 弘勝
坪野 勇
康弘 岸
直洋 土屋
謙治 竹澤
Current Assignee (The listed assignees may be inaccurate. Google has not performed a legal analysis and makes no representation or warranty as to the accuracy of the list.)
Hitachi Johnson Controls Air Conditioning Inc
Original Assignee
Hitachi Johnson Controls Air Conditioning Inc
Priority date (The priority date is an assumption and is not a legal conclusion. Google has not performed a legal analysis and makes no representation as to the accuracy of the date listed.)
Filing date
Publication date
Application filed by Hitachi Johnson Controls Air Conditioning Inc filed Critical Hitachi Johnson Controls Air Conditioning Inc
Priority to CN201780032185.6A priority Critical patent/CN109154296B/zh
Publication of WO2018016364A1 publication Critical patent/WO2018016364A1/ja
Anticipated expiration legal-status Critical
Ceased legal-status Critical Current

Links

Images

Classifications

    • FMECHANICAL ENGINEERING; LIGHTING; HEATING; WEAPONS; BLASTING
    • F04POSITIVE - DISPLACEMENT MACHINES FOR LIQUIDS; PUMPS FOR LIQUIDS OR ELASTIC FLUIDS
    • F04CROTARY-PISTON, OR OSCILLATING-PISTON, POSITIVE-DISPLACEMENT MACHINES FOR LIQUIDS; ROTARY-PISTON, OR OSCILLATING-PISTON, POSITIVE-DISPLACEMENT PUMPS
    • F04C29/00Component parts, details or accessories of pumps or pumping installations, not provided for in groups F04C18/00 - F04C28/00
    • F04C29/02Lubrication; Lubricant separation
    • FMECHANICAL ENGINEERING; LIGHTING; HEATING; WEAPONS; BLASTING
    • F25REFRIGERATION OR COOLING; COMBINED HEATING AND REFRIGERATION SYSTEMS; HEAT PUMP SYSTEMS; MANUFACTURE OR STORAGE OF ICE; LIQUEFACTION SOLIDIFICATION OF GASES
    • F25BREFRIGERATION MACHINES, PLANTS OR SYSTEMS; COMBINED HEATING AND REFRIGERATION SYSTEMS; HEAT PUMP SYSTEMS
    • F25B1/00Compression machines, plants or systems with non-reversible cycle
    • FMECHANICAL ENGINEERING; LIGHTING; HEATING; WEAPONS; BLASTING
    • F25REFRIGERATION OR COOLING; COMBINED HEATING AND REFRIGERATION SYSTEMS; HEAT PUMP SYSTEMS; MANUFACTURE OR STORAGE OF ICE; LIQUEFACTION SOLIDIFICATION OF GASES
    • F25BREFRIGERATION MACHINES, PLANTS OR SYSTEMS; COMBINED HEATING AND REFRIGERATION SYSTEMS; HEAT PUMP SYSTEMS
    • F25B1/00Compression machines, plants or systems with non-reversible cycle
    • F25B1/04Compression machines, plants or systems with non-reversible cycle with compressor of rotary type

Definitions

  • the present invention relates to a hermetic rotary compressor used in, for example, an air conditioner, a refrigerator, and the like, and a refrigeration air conditioner that includes the hermetic rotary compressor and constitutes a refrigeration cycle.
  • a 2-cylinder type rotary compressor having two sets of cylinders as rotary compression elements has been standardized as the applicable capacity range is expanded.
  • an operation that performs compression action in both cylinder chambers and a cylinder that can switch between compression and stop according to the load are provided, and variable mechanical capacity operation (cylinder operation) is enabled.
  • a rotary compressor is known.
  • R32 refrigerant having a small global warming coefficient has been attracting attention as a refrigerant for a refrigerating and air-conditioning system instead of the conventional R410A refrigerant.
  • the compression mechanism portion of the hermetic rotary compressor of Patent Document 1 includes a cylinder having a cylinder chamber communicating with a suction passage, a roller that is accommodated in the cylinder chamber so as to be able to move eccentrically, and a tip portion that abuts on the peripheral wall of the roller.
  • This is a rotary compression mechanism that has a blade (vane) that divides the cylinder chamber into a suction chamber and a compression chamber, and a discharge valve device that discharges gas compressed in the cylinder chamber into the sealed case.
  • the cylinder is provided with a cylinder resting mechanism for guiding the suction pressure through the passage and stopping the compression operation by separating the tip edge of the blade from the peripheral wall of the roller.
  • a communication passage 36 is provided for communicating suction chambers formed in the cylinder chamber of the compression mechanism section.
  • the first cylinder chamber having a cylinder resting mechanism is close to the main bearing, and the second cylinder chamber is disposed below the intermediate partition plate, so that the mechanical capacity variable operation ( Since the compression operation is performed in the second cylinder chamber separated from the main bearing at the time of the idle cylinder operation), the auxiliary bearing closer to the second cylinder chamber increases the bearing load than the main bearing and increases the mechanical loss or the bearing. There is a problem that tends to cause a decrease in reliability.
  • the lubricating oil that has entered the first cylinder chamber stays below the cylinder chamber. Due to the provided communication hole, it is not sufficiently guided to the operating cylinder chamber located above, and there is a problem that the lubricant loss remains in the idle cylinder chamber and the eccentric rotation roller increases the agitation loss of the oil. There exists a subject that the compressor performance at the time of variable operation (cylinder operation) falls.
  • An object of the present invention is to improve the performance and reliability of a hermetic rotary compressor equipped with a cylinder that can be switched between compression and stop according to a load, during variable mechanical capacity operation (cylinder operation). It is to obtain a hermetic rotary compressor capable of performing the above and a refrigeration air conditioner using the same.
  • a hermetic rotary compressor of the present invention includes a hermetic container provided with one discharge pipe and two suction pipes, an electric motor provided in the hermetic container and rotating a rotating shaft.
  • Two rotary compression elements provided below the electric motor and driven by the rotation of the rotary shaft, and a partition plate for partitioning the two rotary compression elements, each rotary compression element having a suction passage
  • a cylinder having a cylinder chamber that communicates with the suction pipe, a roller that is eccentrically rotatable in the cylinder chamber, a vane that divides the cylinder chamber into a suction chamber and a compression chamber, and compression in the cylinder chamber
  • a discharge valve device that discharges the discharged working fluid into the sealed container
  • the lower rotary compression element is a cylinder resting mechanism that stops the compression operation, and a cylinder oil that sucks up the lubricating oil that has entered the cylinder chamber Has a passage
  • the partition plate is disposed a partition plate oil flow passage communicating the suction chamber of the
  • the present invention it is possible to obtain a hermetic rotary compressor capable of improving performance and reliability during variable mechanical capacity operation (cylinderless operation) and a refrigeration air conditioner excellent in annual energy efficiency using the same. There is an effect that can.
  • FIG. 9 is a perspective view of the cylinder inner wall surface near the vane from the cylinder center of FIG. Schematic diagram of the refrigeration cycle of a refrigeration air conditioner equipped with the hermetic rotary compressor of the present invention
  • FIGS. 1 is a vertical cross-sectional view of a two-cylinder sealed rotary compressor
  • FIG. 2 is a cross-sectional view taken along line AA in FIG. 1
  • FIG. 3 is a cross-sectional view taken along B-O-B in FIG. 3 is an enlarged cross-sectional view of the main part of FIG. 3 showing the state
  • FIG. 5 is an enlarged cross-sectional view of the main part of FIG. 3 showing the one-cylinder idle operation state
  • FIG. FIG. 7 is a DD cross-sectional view of FIG. 6, and
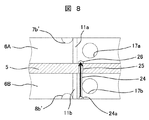
  • FIG. 8 is a perspective view of the cylinder inner wall surface near the vane from the cylinder center.
  • reference numeral 1 denotes a sealed container provided with one discharge pipe and two suction pipes.
  • Two rotary compression element portions 2 are accommodated in the lower part of the sealed container 1, and the upper part drives this.
  • the electric motor unit 3 is accommodated, and the electric motor unit 3 and the rotary compression element unit 2 are connected via a rotary shaft 4 arranged vertically.
  • the electric motor unit 3 includes a stator 3 a fixed to the inner surface of the hermetic container 1, and a rotor 3 b that is disposed inside the stator 3 a with a predetermined gap and fixed to the rotating shaft 4.
  • the motor unit 3 is electrically connected to an inverter (not shown) that controls the operating frequency.
  • the rotary compression element part 2 is composed of a first rotary compression element part 2A and a second rotary compression element part 2B arranged above and below the partition plate 5.
  • the upper first rotary compression element portion 2A includes a first cylinder 6A
  • the lower second rotary compression element portion 2B includes a second cylinder 6B.
  • the first cylinder 6A is overlaid on the lower surface of the main bearing 7 fixed to the inner surface of the sealed container 1, and the sub bearing 8 is attached to the lower surface of the second cylinder 6B.
  • the rotating shaft 4 is rotatably supported by the main bearing 7 and the sub-bearing 8, and the two eccentric portions 4a, 4b are positioned at positions inside the first cylinder 6A and the second cylinder 6B with a phase difference of about 180 °.
  • rollers 9a and 9b are rotatably fitted on the outer circumferences of the eccentric parts 4a and 4b.
  • the first cylinder 6A and the second cylinder 6B are partitioned by the partition plate 5, the main bearing 7 and the auxiliary bearing 8, and a first cylinder chamber 10a is formed in the first cylinder 6A.
  • a second cylinder chamber 10b is formed in the cylinder 6B.
  • the main bearing 7 is provided with a discharge cover 7a that forms a discharge space for the compressed working fluid, and covers the discharge valve device 7b mounted on the end plate of the main bearing 7.
  • a discharge cover 8 a is also attached to the auxiliary bearing 8 and covers the discharge valve device 8 b mounted on the end plate of the auxiliary bearing 8.
  • the discharge valve device 7b of the main bearing 7 communicates with the first cylinder chamber 10a and opens when the inside of the cylinder chamber 10a rises to a predetermined pressure due to the compression action, and the compressed working fluid is discharged into the discharge cover 7a. Discharge.
  • the discharge valve device 8a of the auxiliary bearing 8 communicates with the second cylinder chamber 10b and opens when the inside of the cylinder chamber 10b rises to a predetermined pressure due to the compression action, and the compressed working fluid is discharged into the discharge cover 8a. Discharge.
  • the first cylinder 6A and the second cylinder 6B accommodate vanes 11a and 11b that are reciprocally disposed in the cylinder chambers 10a and 10b, respectively, and vane springs 12a, 12b is housed, and the tip of each vane is abutted against the outer periphery of the rollers 9a and 9b by elastic force.
  • the lower end of the rotating shaft 4 is exposed below the auxiliary bearing 8 and is immersed in the lubricating oil 19 stored at the bottom of the sealed container 1.
  • An oil supply pump is attached to the lower end surface of the rotary shaft 4, and from there, lubricating oil is passed through oil supply passages to the sliding parts of the parts constituting the second rotary compression element part 2 ⁇ / b> B and the first rotary compression element part 2 ⁇ / b> A. To supply.
  • a suction pipe 14 into which a working fluid flows from an external refrigeration circuit is connected to the top of the suction tank 15 having a gas-liquid separation function, and a first suction pipe 16a and a second suction pipe for the compressor are connected to the bottom of the suction tank 15.
  • the pipe 16b is connected.
  • the first suction pipe 16a communicates with the first cylinder chamber 10a via a suction passage 17a formed in the first cylinder 6A
  • the second suction pipe 16b is a suction formed in the second cylinder 6B. It communicates with the second cylinder chamber 10b through the passage 17b.
  • Reference numeral 28 denotes a fixing bolt for assembling the compression element portion
  • 29 is a discharge passage for guiding the working fluid discharged into the lower discharge cover 8a into the upper discharge cover 7a.
  • the tip and the rear end of the blade (vane) as disclosed in Patent Document 1 are set at the same pressure.
  • a method of attracting and restraining the blade with a permanent magnet so that no pressure is applied and the blade does not protrude into the cylinder, but in this embodiment, it is possible to realize a cylinder resting operation with a simpler structure.
  • a method of mechanically constraining the vane by electromagnetic force will be described.
  • 20 is a solenoid that controls the movement of the vane 11b, and is electrically connected to a power supply switching circuit (not shown) of the compressor.
  • 20a is a movable iron core of the solenoid
  • 20b is a fixture for fixing the solenoid 20 to the second cylinder 6B
  • 21 is a sliding pin disposed on the end plate of the auxiliary bearing 8 so as to be reciprocally movable. It is in contact with the iron core 20a.
  • Reference numeral 22 denotes a return spring for releasing the restraint of the vane by the sliding pin 21 when the solenoid 20 is turned off.
  • Reference numeral 23 denotes a groove formed on the lower end surface of the vane 11b and engaged with the end portion having the inclined surface of the sliding pin 21. is there.
  • FIG. 4 shows a full capacity (two cylinders) operation state in which both the first cylinder chamber 10a and the second cylinder chamber 10b perform a compression action.
  • full capacity operation since the solenoid 20 is not energized, no magnetic attractive force acts on the movable iron core 20a, the sliding pin 21 moves downward by the spring force of the return spring 22, and the movable iron core 20a is also a stopper at the lower end. It is in the state contact
  • the first and second rollers 9a and 9b make an eccentric motion in the first cylinder chamber 10a and the second cylinder chamber 10b, and the vanes 11a and 11b.
  • the vane springs 12a and 12b are pressed against the outer circumferences of the first and second rollers 9a and 9b by the vane springs 12a and 12b, so that a normal compression action is performed in both the cylinder chambers 10a and 10b, and a high-pressure working fluid is It is discharged into the sealed container 1 through the discharge covers 7a and 8a, and flows out to the external refrigeration cycle through the discharge pipe 18 on the upper part of the sealed container 1.
  • FIG. 5 shows a variable mechanical capacity operation (one-cylinder idle operation) in which the first cylinder chamber 10a performs normal compression operation and the second cylinder chamber 10b performs idle cylinder operation.
  • the solenoid 20 when the solenoid 20 is energized, a magnetic attractive force acts on the movable iron core 20a, and the sliding pin 21 is moved upward against the spring force of the return spring 22, and the lower end surface of the vane 11b is moved. Enter the formed groove 23.
  • the sliding pin 21 enters the groove 23 of the vane 11b, even if the vane 11b is pushed by the vane spring 12b, it does not return into the cylinder chamber 10b.
  • the first and second rollers 9a and 9b in the first cylinder chamber 10a and the second cylinder chamber 10b perform an eccentric motion. Since the inside of the cylinder chamber 10b is not partitioned by the vane 11b, there is no volume change in the cylinder chamber 10b and no compression action is performed. On the other hand, since the vane 11a is urged against the outer periphery of the first roller 9a by the vane spring 12a in the first cylinder chamber 10a, a normal compression action is performed in the cylinder chamber 10a, and a high-pressure working fluid is produced.
  • the end contact surface of the sliding pin 21 that engages with the groove 23 formed on the lower end surface of the vane 11 b is an inclined surface, and the vane 11 b is applied by the magnetic attraction force of the solenoid 20.
  • the vane 11b can be pulled up to a position where the front end of the second cylinder chamber 10b is retracted from the inner wall of the second cylinder chamber 10b by a dimension ⁇ .
  • reference numeral 24 denotes a cylinder oil flow passage formed in the second cylinder 6B performing the cylinder resting operation, and is formed in a form penetrating the cylinder 6B in the axial direction at a position between the vane 11b and the suction passage 17b.
  • Reference numeral 24a denotes a cylinder notch that opens the lower end of the cylinder oil flow passage 24 into the cylinder chamber 10b
  • 25 denotes a partition plate oil flow passage that communicates with the cylinder oil flow passage 24 formed in the partition plate 5.
  • the diameter is larger than that of the flow passage 24.
  • 26 is a cylinder notch on the side of the operating cylinder 6A that opens the upper end of the partition plate oil flow passage 25 into the cylinder chamber 10a.
  • Reference numeral 7b ' denotes a discharge notch that engages with the discharge port of the discharge valve device 7b of the main bearing 7, and 8b' denotes a discharge notch that engages with the discharge port of the discharge valve device 8b of the auxiliary bearing 8.
  • the low pressure state is continued in the second cylinder chamber 10b by the suction pipe 16b connected to the suction tank 15 and the suction passage 17b communicating therewith.
  • the high-pressure working fluid is discharged to the sealed container 1, and the sealed container 1 is in a high-pressure state.
  • the lubricating oil 19 stored at the bottom of the hermetic container 1 enters the second cylinder chamber 10b from the clearance of each component constituting the second rotary compression element 2B.
  • the entered lubricating oil stays below the second cylinder chamber 10b due to the action of gravity.
  • the accumulated lubricating oil is sucked up to the first rotary compression element portion 2A through the cylinder oil flow passage 24 and the partition plate oil flow passage 25 as shown by the arrows in FIG. That is, since the compression action is performed in the first cylinder chamber 10a, the pressure on the partition plate oil flow passage 25 side opened by the cylinder notch 26 is a negative pressure lower than the suction pressure (intake tank 15 internal pressure). Yes. On the other hand, since the pressure in the second cylinder chamber 10b is maintained at the suction pressure, the lubricating oil that has entered the second cylinder chamber 10b due to the pressure difference between the two opens to the lower end of the second cylinder 6B.
  • both the cylinder oil flow passage 24 and the partition plate oil flow passage 25 have a passage area sufficiently smaller than the passage areas of the first suction passage 17a and the second suction passage 17b connecting the cylinder chamber and the suction pipe. It is formed as follows. This prevents the cylinder oil flow passage 24 and the partition plate oil flow passage 25 from interfering with each other in the working fluid suction action of the first rotary compression element portion 2A and the second rotary compression element portion 2B during full capacity operation, Each compression efficiency is not impaired.
  • the second rotary compression element portion 2B provided with a cylinder resting mechanism is provided on the auxiliary bearing 8 side, and the first rotary compression element portion 2A that does not cylinder rest is provided on the main bearing 7 side.
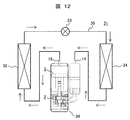
  • FIG. 12 is a schematic diagram of a refrigeration cycle provided with a hermetic rotary compressor 30 according to the present embodiment.
  • a refrigeration cycle using R32 as a working fluid as a refrigerant will be described as an example.
  • R32 has a global warming potential (GWP) smaller than that of refrigerant R410A conventionally used in refrigeration and air conditioning systems, and has recently been attracting attention from the viewpoint of preventing global warming.
  • GWP global warming potential
  • FIG. 12 components denoted by the same reference numerals as those in FIG. 1 are the same components and perform the same functions, and a refrigeration cycle 31 including a hermetic rotary compressor 30 of this embodiment is shown. Further, 32 is a condenser, 33 is an expansion valve, and 34 is an evaporator, and these are sequentially connected by a refrigerant pipe 35 to constitute a refrigeration cycle.
  • the high-temperature and high-pressure refrigerant discharged from the hermetic rotary compressor 30 enters the condenser 32 and dissipates heat to lower the temperature.
  • the refrigerant discharged from the condenser 32 enters the expansion valve 33 and is discharged as a low-temperature, low-pressure gas-liquid two-phase refrigerant.
  • the gas-liquid two-phase refrigerant exiting the expansion valve 33 enters the evaporator 34, absorbs heat and gasifies, returns to the hermetic rotary compressor 30, is compressed again, and the same cycle is repeated thereafter. Thereby, if it is a freezing apparatus, the to-be-cooled object will be cooled by the evaporator 34.
  • the hermetic rotary compressor 30 of the present embodiment it becomes possible to provide a hermetic rotary compressor having excellent performance and reliability at the time of variable mechanical capacity operation (cylinder operation). The performance and reliability of the air conditioning system can be improved.
  • the description is applied to the compression element portion of the two-cylinder type.
  • the present invention is not limited to this, and the present invention is also applied to the rotary compressor including the compression element portion of the three-cylinder type. it can.
  • the rotary compression element portion not provided with the cylinder resting mechanism is not limited to the structure in which the vane is elastically pressed by the vane.
  • the same effect can be obtained in a swing type rotary compressor in which the roller and the vane are integrated. Is obtained.
  • FIG. 9 is a transverse sectional view of the hermetic rotary compressor according to the second embodiment (corresponding to the AA section of FIG. 1)
  • FIG. 10 is an enlarged sectional view of the main part of FIG. 9, and
  • FIG. It is the perspective view which looked at the cylinder inner wall surface of the vicinity.
  • the same reference numerals as those in FIG. 1 denote the same parts and perform the same functions.
  • an oil flow passage that communicates a suction chamber formed in a cylinder chamber of a rotary compression element provided with a cylinder resting mechanism and a cylinder chamber of another rotary compression element and a suction passage that connects a suction pipe is arranged.
  • reference numeral 25a denotes a partition plate oil circulation groove that communicates the oil flow direction to the lower portion of the suction passage 17a while communicating with the partition plate oil flow passage
  • 25a denotes a partition plate oil circulation groove that communicates the oil flow direction to the lower portion of the suction passage 17a while communicating with the partition plate oil flow passage
  • 27 denotes a cylinder that communicates the partition plate oil circulation groove 25a and the suction passage 17a. It is an oil flow passage.
  • the pressure in the suction passage 17a where the cylinder oil flow passage 27 on the operating cylinder side opens is a negative pressure lower than the pressure in the first cylinder chamber 10a due to the dynamic pressure effect due to the flow of the working fluid. . Since the pressure in the second cylinder chamber 10b, which is a closed cylinder, is maintained at the suction pressure, the lubricating oil that has entered the second cylinder chamber 10b due to the pressure difference therebetween is shown by the arrow in FIG.
  • the suction passage 17a is sucked up from the cylinder cutout 24a opened at the lower end of the second cylinder 6B, passes through the cylinder oil flow passage 24, the partition plate oil flow passage 25, and the partition plate oil circulation groove 25a from the cylinder oil flow passage 27.
  • the lubricating oil that has entered the idle cylinder can be more effectively guided to the operating cylinder. Also in the present embodiment, as in the first embodiment, it is possible to improve the performance and reliability of the hermetic rotary compressor by eliminating the residual lubricant in the cylinder provided with the cylinder resting mechanism.

Landscapes

  • Engineering & Computer Science (AREA)
  • Mechanical Engineering (AREA)
  • General Engineering & Computer Science (AREA)
  • Physics & Mathematics (AREA)
  • Thermal Sciences (AREA)
  • Applications Or Details Of Rotary Compressors (AREA)
PCT/JP2017/025110 2016-07-19 2017-07-10 密閉形回転圧縮機、及び、冷凍空調装置 Ceased WO2018016364A1 (ja)

Priority Applications (1)

Application Number Priority Date Filing Date Title
CN201780032185.6A CN109154296B (zh) 2016-07-19 2017-07-10 封闭式旋转压缩机以及冷冻空调装置

Applications Claiming Priority (2)

Application Number Priority Date Filing Date Title
JP2016-141211 2016-07-19
JP2016141211A JP6363134B2 (ja) 2016-07-19 2016-07-19 密閉形回転圧縮機、及び、冷凍空調装置

Publications (1)

Publication Number Publication Date
WO2018016364A1 true WO2018016364A1 (ja) 2018-01-25

Family

ID=60993057

Family Applications (1)

Application Number Title Priority Date Filing Date
PCT/JP2017/025110 Ceased WO2018016364A1 (ja) 2016-07-19 2017-07-10 密閉形回転圧縮機、及び、冷凍空調装置

Country Status (3)

Country Link
JP (1) JP6363134B2 (enExample)
CN (1) CN109154296B (enExample)
WO (1) WO2018016364A1 (enExample)

Cited By (1)

* Cited by examiner, † Cited by third party
Publication number Priority date Publication date Assignee Title
CN110935412A (zh) * 2019-12-06 2020-03-31 浙江光华科技股份有限公司 一种饱和聚酯树脂生产中的加料防团聚装置

Families Citing this family (2)

* Cited by examiner, † Cited by third party
Publication number Priority date Publication date Assignee Title
CN112746961A (zh) * 2019-10-30 2021-05-04 广东美芝制冷设备有限公司 旋转式压缩机及具有其的冷冻循环装置
JP7707102B2 (ja) * 2022-02-18 2025-07-14 日本キヤリア株式会社 多段回転式圧縮機および冷凍サイクル装置

Citations (2)

* Cited by examiner, † Cited by third party
Publication number Priority date Publication date Assignee Title
JP2009203861A (ja) * 2008-02-27 2009-09-10 Toshiba Carrier Corp 密閉型圧縮機および冷凍サイクル装置
JP2014040812A (ja) * 2012-08-23 2014-03-06 Toshiba Carrier Corp 回転式圧縮機と冷凍サイクル装置

Family Cites Families (4)

* Cited by examiner, † Cited by third party
Publication number Priority date Publication date Assignee Title
JP2001289189A (ja) * 2000-04-07 2001-10-19 Matsushita Electric Ind Co Ltd 2段圧縮可能な冷媒圧縮機
CN100404867C (zh) * 2005-03-24 2008-07-23 松下电器产业株式会社 转子式密闭压缩机
JP2007146747A (ja) * 2005-11-28 2007-06-14 Matsushita Electric Ind Co Ltd 冷凍サイクル装置
JP6071190B2 (ja) * 2011-12-09 2017-02-01 東芝キヤリア株式会社 多気筒回転式圧縮機及び冷凍サイクル装置

Patent Citations (2)

* Cited by examiner, † Cited by third party
Publication number Priority date Publication date Assignee Title
JP2009203861A (ja) * 2008-02-27 2009-09-10 Toshiba Carrier Corp 密閉型圧縮機および冷凍サイクル装置
JP2014040812A (ja) * 2012-08-23 2014-03-06 Toshiba Carrier Corp 回転式圧縮機と冷凍サイクル装置

Cited By (1)

* Cited by examiner, † Cited by third party
Publication number Priority date Publication date Assignee Title
CN110935412A (zh) * 2019-12-06 2020-03-31 浙江光华科技股份有限公司 一种饱和聚酯树脂生产中的加料防团聚装置

Also Published As

Publication number Publication date
CN109154296B (zh) 2020-09-01
JP2018013042A (ja) 2018-01-25
JP6363134B2 (ja) 2018-07-25
CN109154296A (zh) 2019-01-04

Similar Documents

Publication Publication Date Title
CN100498121C (zh) 致冷剂循环装置
JP4875484B2 (ja) 多段圧縮機
JP5005579B2 (ja) 密閉型圧縮機および冷凍サイクル装置
CN112412801A (zh) 一种油路结构、卧式涡旋压缩机及冷冻设备
CN101793252B (zh) 多汽缸旋转式压缩机及制冷循环装置
JP6363134B2 (ja) 密閉形回転圧縮機、及び、冷凍空調装置
JP6568841B2 (ja) 密閉形回転圧縮機及び冷凍空調装置
CN101344088B (zh) 多汽缸旋转压缩机
KR100758403B1 (ko) 밀폐형 회전식 압축기
JP4398321B2 (ja) 冷凍サイクル装置
JP4018908B2 (ja) 冷凍空調装置
CN102312816A (zh) 密闭型压缩机及制冷循环装置
JP2010223088A (ja) 回転式圧縮機と空気調和機
JP5988828B2 (ja) 冷凍サイクル装置
JP6078393B2 (ja) 回転式圧縮機、冷凍サイクル装置
CN112412791B (zh) 回转式压缩机及冷冻循环装置
JP2009074445A (ja) 2気筒回転式圧縮機および冷凍サイクル装置
CN221568841U (zh) 压缩机及空调器
CN221568843U (zh) 压缩机及空调器
CN221568842U (zh) 压缩机及空调器
WO2021149180A1 (ja) 圧縮機
JP5738030B2 (ja) ロータリ式圧縮機及び冷凍サイクル装置
JP6324624B2 (ja) 冷媒圧縮機及びそれを備えた蒸気圧縮式冷凍サイクル装置
CN105008721B (zh) 多气缸旋转压缩机和制冷循环装置
JP2024048814A (ja) 密閉型ロータリ圧縮機及びこれを備えた冷蔵庫

Legal Events

Date Code Title Description
121 Ep: the epo has been informed by wipo that ep was designated in this application

Ref document number: 17830884

Country of ref document: EP

Kind code of ref document: A1

NENP Non-entry into the national phase

Ref country code: DE

122 Ep: pct application non-entry in european phase

Ref document number: 17830884

Country of ref document: EP

Kind code of ref document: A1