WO2018008525A1 - 磁気センサ - Google Patents

磁気センサ Download PDF

Info

Publication number
WO2018008525A1
WO2018008525A1 PCT/JP2017/023983 JP2017023983W WO2018008525A1 WO 2018008525 A1 WO2018008525 A1 WO 2018008525A1 JP 2017023983 W JP2017023983 W JP 2017023983W WO 2018008525 A1 WO2018008525 A1 WO 2018008525A1
Authority
WO
WIPO (PCT)
Prior art keywords
layer
magnetization
ferromagnetic layer
fixed
ferromagnetic
Prior art date
Legal status (The legal status is an assumption and is not a legal conclusion. Google has not performed a legal analysis and makes no representation as to the accuracy of the status listed.)
Ceased
Application number
PCT/JP2017/023983
Other languages
English (en)
French (fr)
Japanese (ja)
Inventor
喬干 古市
建一 青
康夫 安藤
幹彦 大兼
貴文 中野
Current Assignee (The listed assignees may be inaccurate. Google has not performed a legal analysis and makes no representation or warranty as to the accuracy of the list.)
Tohoku University NUC
Denso Corp
Original Assignee
Tohoku University NUC
Denso Corp
Priority date (The priority date is an assumption and is not a legal conclusion. Google has not performed a legal analysis and makes no representation as to the accuracy of the date listed.)
Filing date
Publication date
Application filed by Tohoku University NUC, Denso Corp filed Critical Tohoku University NUC
Priority to DE112017003371.3T priority Critical patent/DE112017003371T5/de
Priority to CN201780040532.XA priority patent/CN109478593A/zh
Publication of WO2018008525A1 publication Critical patent/WO2018008525A1/ja
Priority to US16/233,602 priority patent/US20190137578A1/en
Anticipated expiration legal-status Critical
Ceased legal-status Critical Current

Links

Images

Classifications

    • GPHYSICS
    • G01MEASURING; TESTING
    • G01RMEASURING ELECTRIC VARIABLES; MEASURING MAGNETIC VARIABLES
    • G01R33/00Arrangements or instruments for measuring magnetic variables
    • G01R33/02Measuring direction or magnitude of magnetic fields or magnetic flux
    • G01R33/06Measuring direction or magnitude of magnetic fields or magnetic flux using galvano-magnetic devices
    • G01R33/09Magnetoresistive devices
    • G01R33/093Magnetoresistive devices using multilayer structures, e.g. giant magnetoresistance sensors
    • BPERFORMING OPERATIONS; TRANSPORTING
    • B82NANOTECHNOLOGY
    • B82YSPECIFIC USES OR APPLICATIONS OF NANOSTRUCTURES; MEASUREMENT OR ANALYSIS OF NANOSTRUCTURES; MANUFACTURE OR TREATMENT OF NANOSTRUCTURES
    • B82Y25/00Nanomagnetism, e.g. magnetoimpedance, anisotropic magnetoresistance, giant magnetoresistance or tunneling magnetoresistance
    • GPHYSICS
    • G01MEASURING; TESTING
    • G01RMEASURING ELECTRIC VARIABLES; MEASURING MAGNETIC VARIABLES
    • G01R33/00Arrangements or instruments for measuring magnetic variables
    • G01R33/0023Electronic aspects, e.g. circuits for stimulation, evaluation, control; Treating the measured signals; calibration
    • GPHYSICS
    • G01MEASURING; TESTING
    • G01RMEASURING ELECTRIC VARIABLES; MEASURING MAGNETIC VARIABLES
    • G01R33/00Arrangements or instruments for measuring magnetic variables
    • G01R33/02Measuring direction or magnitude of magnetic fields or magnetic flux
    • G01R33/06Measuring direction or magnitude of magnetic fields or magnetic flux using galvano-magnetic devices
    • G01R33/09Magnetoresistive devices
    • GPHYSICS
    • G01MEASURING; TESTING
    • G01RMEASURING ELECTRIC VARIABLES; MEASURING MAGNETIC VARIABLES
    • G01R33/00Arrangements or instruments for measuring magnetic variables
    • G01R33/02Measuring direction or magnitude of magnetic fields or magnetic flux
    • G01R33/06Measuring direction or magnitude of magnetic fields or magnetic flux using galvano-magnetic devices
    • G01R33/09Magnetoresistive devices
    • G01R33/091Constructional adaptation of the sensor to specific applications
    • GPHYSICS
    • G01MEASURING; TESTING
    • G01RMEASURING ELECTRIC VARIABLES; MEASURING MAGNETIC VARIABLES
    • G01R33/00Arrangements or instruments for measuring magnetic variables
    • G01R33/02Measuring direction or magnitude of magnetic fields or magnetic flux
    • G01R33/06Measuring direction or magnitude of magnetic fields or magnetic flux using galvano-magnetic devices
    • G01R33/09Magnetoresistive devices
    • G01R33/098Magnetoresistive devices comprising tunnel junctions, e.g. tunnel magnetoresistance sensors
    • GPHYSICS
    • G11INFORMATION STORAGE
    • G11BINFORMATION STORAGE BASED ON RELATIVE MOVEMENT BETWEEN RECORD CARRIER AND TRANSDUCER
    • G11B5/00Recording by magnetisation or demagnetisation of a record carrier; Reproducing by magnetic means; Record carriers therefor
    • G11B5/127Structure or manufacture of heads, e.g. inductive
    • G11B5/33Structure or manufacture of flux-sensitive heads, i.e. for reproduction only; Combination of such heads with means for recording or erasing only
    • G11B5/39Structure or manufacture of flux-sensitive heads, i.e. for reproduction only; Combination of such heads with means for recording or erasing only using magneto-resistive devices or effects
    • G11B5/3903Structure or manufacture of flux-sensitive heads, i.e. for reproduction only; Combination of such heads with means for recording or erasing only using magneto-resistive devices or effects using magnetic thin film layers or their effects, the films being part of integrated structures
    • G11B5/3906Details related to the use of magnetic thin film layers or to their effects
    • HELECTRICITY
    • H10SEMICONDUCTOR DEVICES; ELECTRIC SOLID-STATE DEVICES NOT OTHERWISE PROVIDED FOR
    • H10NELECTRIC SOLID-STATE DEVICES NOT OTHERWISE PROVIDED FOR
    • H10N50/00Galvanomagnetic devices
    • H10N50/10Magnetoresistive devices
    • HELECTRICITY
    • H10SEMICONDUCTOR DEVICES; ELECTRIC SOLID-STATE DEVICES NOT OTHERWISE PROVIDED FOR
    • H10NELECTRIC SOLID-STATE DEVICES NOT OTHERWISE PROVIDED FOR
    • H10N50/00Galvanomagnetic devices
    • H10N50/80Constructional details
    • H10N50/85Materials of the active region

Definitions

  • This disclosure relates to a magnetic sensor.
  • a magnetic sensor that detects an external magnetic field using a magnetoresistive element is known (see, for example, Japanese Patent Application Laid-Open No. 2014-157985).
  • This type of magnetic sensor includes a fixed layer with a fixed magnetization direction (that is, a pinned layer or a fixed magnetization layer), a free layer whose magnetization direction changes according to an external magnetic field (that is, a magnetization free layer), a fixed layer, And an intermediate layer provided between the layers.
  • the present disclosure has been made in view of the above points, and an object thereof is to satisfactorily suppress a decrease in detection accuracy caused by a leakage magnetic field.
  • a magnetic sensor includes a substrate having a main surface, a free layer having an easy axis direction in an in-plane direction parallel to the main surface, a fixed layer, the free layer, and the And an intermediate layer provided between the fixed layer.
  • the fixed layer includes a first ferromagnetic layer whose magnetization direction is fixed in a first direction non-parallel to the main surface, and a component in a direction parallel to the normal to the main surface is opposite to the first direction.
  • a second ferromagnetic layer having a magnetization direction fixed in the second direction, and a nonmagnetic layer provided between the first ferromagnetic layer and the second ferromagnetic layer. is doing.
  • the fixed layer includes a first ferromagnetic layer and a second ferromagnetic layer in which components in a direction parallel to the normal in the magnetization direction (that is, perpendicular magnetization direction components) are opposite to each other. It has a so-called laminated ferrimagnetic structure in which the nonmagnetic layer is sandwiched therebetween. Therefore, the leakage of the magnetic field from the fixed layer can be suppressed as much as possible. Therefore, according to the above configuration, it is possible to satisfactorily suppress a decrease in detection accuracy due to the leakage magnetic field.
  • the magnetic sensor 1 is a so-called magnetoresistive element, and includes a substrate 2, a free layer 3, an intermediate layer 4, and a fixed layer 5.
  • the substrate 2 is a thin plate material having a uniform thickness, and is formed using, for example, a silicon wafer.
  • the substrate 2 has a main surface 21 that is a flat surface orthogonal to the thickness direction.
  • the main surface 21 is provided in parallel with the XY plane in the drawing.
  • the Z-axis direction in the drawing is a direction parallel to the normal line of the main surface 21, and this is hereinafter referred to as a “plane perpendicular direction”.
  • the direction parallel to the main surface 21 is hereinafter referred to as “in-plane direction”.
  • the free layer 3 is formed so as to have an in-plane direction of the easy axis of magnetization, as indicated by broken line arrows in the figure.
  • Such an in-plane magnetization free layer 3 can be formed using a known material, for example, an amorphous alloy containing at least one of Fe, Co, and Ni and B. .
  • the intermediate layer 4 that is a nonmagnetic layer is provided between the free layer 3 and the fixed layer 5.
  • the intermediate layer 4 is provided between the substrate 2 and the free layer 3.
  • the intermediate layer 4 can be formed of an insulator such as MgO or AlO, for example.
  • the magnetic sensor 1 has a configuration as a tunnel magnetoresistive element.
  • the tunnel magnetoresistive element is also called a TMR element.
  • TMR is an abbreviation for Tunneling Magneto Resistance.
  • the intermediate layer 4 can be formed of a conductor such as Cu or Ag, for example.
  • the magnetic sensor 1 has a configuration as a giant magnetoresistive element.
  • the giant magnetoresistive element is also called a GMR element.
  • GMR is an abbreviation for Giant Magneto Resistance.
  • the fixed layer 5 is disposed opposite to the free layer 3 with the intermediate layer 4 interposed therebetween. Specifically, in the present embodiment, the fixed layer 5 is provided between the substrate 2 and the intermediate layer 4. That is, the free layer 3, the intermediate layer 4, the fixed layer 5, and the substrate 2 are laminated in this direction. In the present embodiment, the fixed layer 5 is configured such that the magnetization direction faces the perpendicular direction as a whole. That is, the fixed layer 5 is configured to function as a perpendicular magnetization film in the operation of detecting an external magnetic field. Specifically, the fixed layer 5 includes a first ferromagnetic layer 51, a second ferromagnetic layer 52, and a nonmagnetic layer 53.
  • the first ferromagnetic layer 51 is a ferromagnetic film whose magnetization direction is fixed in a direction non-parallel to the main surface 21. Specifically, in the present embodiment, the first ferromagnetic layer 51 has a magnetization direction in the Z1 direction (that is, the Z axis) parallel to the perpendicular direction, as indicated by a solid arrow in the drawing. This is a so-called perpendicular magnetization film that is in the positive direction.
  • the first ferromagnetic layer 51 can be formed using, for example, a known thin film exemplified below. Co / Pt multilayer film, Co / Pd multilayer film, thin film obtained by adding Pt, Ta, B, Nb, etc.
  • CoCr alloy, Co / (Pt or Pd) multilayer film and Co—Xa / (Pt or Pd) multilayer film layer Xa is a laminated magnetic film with Cr, B, Ta, Mn, V
  • a Co / (Pt or Pd) multilayer film and a Co / ⁇ (Pt-Ya) or (Pd-Ya) ⁇ multilayer film layer Ya B, Ta, Ru, Re, Ir, Mn, Mg, Zr, Nb
  • a CoCr alloy film and a Co / (Pt or Pd) multilayer film, a FePt alloy, and a CoPt alloy a laminated magnetic film with Cr, B, Ta, Mn, V
  • Ya B, Ta, Ru, Re, Ir, Mn, Mg, Zr, Nb
  • the second ferromagnetic layer 52 is a ferromagnetic film whose magnetization direction is fixed in a direction non-parallel to the main surface 21.
  • the second ferromagnetic layer 52 has a direction perpendicular to the magnetization direction of the second ferromagnetic layer 52 in a direction opposite to the direction perpendicular to the magnetization direction of the first ferromagnetic layer 51.
  • the magnetization direction is set.
  • the second ferromagnetic layer 52 has a magnetization direction that is anti-parallel to the magnetization direction of the first ferromagnetic layer 51, as indicated by the solid arrows in the figure. This is a so-called perpendicular magnetization film in the Z2 direction (that is, the negative Z-axis direction) in the figure.
  • the second ferromagnetic layer 52 can be formed using, for example, the known thin film exemplified above.
  • the nonmagnetic layer 53 is a thin film formed of a nonmagnetic material such as Ru, and is provided between the first ferromagnetic layer 51 and the second ferromagnetic layer 52. That is, the fixed layer 5 has a so-called laminated ferrimagnetic structure in which a nonmagnetic layer 53 is interposed between a first ferromagnetic layer 51 and a second ferromagnetic layer 52 whose magnetization directions are antiparallel to each other. Have.
  • the fixed layer 5 is configured such that the difference in magnetization between the first ferromagnetic layer 51 and the second ferromagnetic layer 52 is substantially zero.
  • the first ferromagnetic layer 51 and the second ferromagnetic layer 52 are formed of the same material and the same thickness.
  • FIG. 1 a main configuration as a so-called magnetoresistive element is shown. That is, details (for example, a wiring portion, a protective layer, a base layer, etc.) necessary for an actual element configuration such as a TMR element are not shown in FIG. The same applies to other embodiments shown in FIG.
  • an in-plane magnetization free layer 3 is provided.
  • the fixed layer 5 has a laminated ferrimagnetic structure in which a nonmagnetic layer 53 is sandwiched between a first ferromagnetic layer 51 and a second ferromagnetic layer 52 whose perpendicular magnetization direction components are opposite to each other. ing.
  • the leakage of the magnetic field from the fixed layer 5 can be suppressed as much as possible. That is, a decrease in detection accuracy due to the leakage magnetic field from the fixed layer 5 can be satisfactorily suppressed. Therefore, according to the configuration of the present embodiment, it is possible to detect the magnetic field strength with good accuracy in a wide magnetic field range. Furthermore, in the configuration of the present embodiment, the fixed layer 5 is formed on the substrate 2 side. According to such a configuration, the crystallinity of the substrate 2 can be easily reflected in the fixed layer 5. Therefore, according to such a configuration, the crystallinity of the fixed layer 5 is improved, and hence the magnetization characteristics of the fixed layer 5 are improved.
  • the magnetic sensor 1 according to the second embodiment is the first in that the difference in magnetization between the first ferromagnetic layer 51 and the second ferromagnetic layer 52 is not substantially zero.
  • the first ferromagnetic layer 51 and the second ferromagnetic layer 52 are formed of the same material.
  • the first ferromagnetic layer 51 and the second ferromagnetic layer 52 are formed to have different thicknesses. In the example of FIG.
  • the first ferromagnetic layer 51 that is positioned closer to the intermediate layer 4 than the nonmagnetic layer 53 and is magnetized in the Z1 direction is different from the intermediate layer 4 with the nonmagnetic layer 53 interposed therebetween. It is formed thicker than the second ferromagnetic layer 52 located on the opposite side and magnetized in the Z2 direction. That is, the magnetization amount of the first ferromagnetic layer 51 on the intermediate layer 4 side is larger than that of the second ferromagnetic layer 52. Therefore, the magnetization amount of the fixed layer 5 as a whole in the direction perpendicular to the plane does not become zero but a predetermined amount in the Z1 direction.
  • the magnetic sensor 1 according to the second embodiment has the same configuration as that of the first embodiment. Therefore, in the following description, description of the same configuration and effect as the first embodiment is omitted.
  • the configuration of the present embodiment it is possible to detect the magnetic field strength with good accuracy in a wide magnetic field range.
  • the magnetization amount of the fixed layer 5 as a whole that is, a vector addition of the magnetization amount of the first ferromagnetic layer 51 and the magnetization amount of the second ferromagnetic layer 52
  • the fixed layer 5 is configured to take a predetermined amount. Therefore, a configuration in which a bridge circuit connecting a plurality of magnetoresistive element portions is formed on the common substrate 2 (for example, a configuration shown in a fourth embodiment described later) can be easily realized by a simple manufacturing process.
  • the magnetic sensor 1 according to the third embodiment is the same as the configuration of the first embodiment and the second embodiment except for the number of fixed layers 5. Therefore, in the following description, description of the same configurations and effects as those of the first embodiment and the second embodiment will be omitted.
  • the fixed layer 5 of the magnetic sensor 1 in addition to the first ferromagnetic layer 51, the second ferromagnetic layer 52, and the nonmagnetic layer 53, the fixed layer 5 of the magnetic sensor 1 according to the third embodiment further includes a nonmagnetic layer 54 and a third layer. And a ferromagnetic layer 55.
  • the nonmagnetic layer 54 is provided on the opposite side of the nonmagnetic layer 53 with the second ferromagnetic layer 52 interposed therebetween.
  • the third ferromagnetic layer 55 is provided between the substrate 2 and the nonmagnetic layer 53.
  • the third ferromagnetic layer 55 is a ferromagnetic film having a magnetization direction fixed in a direction non-parallel to the main surface 21.
  • the third ferromagnetic layer 55 has a direction perpendicular to the magnetization direction of the third ferromagnetic layer 55 so that the component perpendicular to the direction perpendicular to the magnetization direction of the second ferromagnetic layer 52 is opposite to that of the third ferromagnetic layer 55.
  • the magnetization direction is set.
  • the third ferromagnetic layer 55 has a magnetization direction antiparallel to the magnetization direction of the second ferromagnetic layer 52, as indicated by the solid arrows in the figure. This is a so-called perpendicular magnetization film in the Z1 direction in the figure.
  • the third ferromagnetic layer 55 can be formed using, for example, the known thin film exemplified above.
  • the fixed layer 5 has a so-called multilayer laminated ferri structure.
  • the magnetization amounts of the first ferromagnetic layer 51, the second ferromagnetic layer 52, and the third ferromagnetic layer 55 can be appropriately adjusted using parameters such as the material and the film thickness.
  • the configuration in which the magnetization amount as a whole of the fixed layer 5 as shown in FIG. 1 is substantially zero can be obtained even if the magnetization amount as a whole of the fixed layer 5 as shown in FIG.
  • a configuration that is not substantially zero can also be realized stably. That is, according to the configuration of the present embodiment, the robustness with respect to variations in the film thickness and / or composition of each layer during manufacturing is improved.
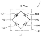
  • the magnetic sensor 1 includes a first element unit 101, a second element unit 102, a third element unit 103, and a fourth element unit 104.
  • the first element unit 101 is a magnetoresistive element having the same configuration as that of the magnetic sensor 1 of the second embodiment shown in FIG. That is, the first element unit 101 includes the substrate 2, the free layer 3, the intermediate layer 4, and the fixed layer 5 shown in FIG. 2.
  • the second element portion 102 is a magnetoresistive element having a configuration in which the magnetization direction of the fixed layer 5 as a whole in the magnetic sensor 1 of the second embodiment shown in FIG. 2 is reversed.
  • the magnetization direction of the fixed layer 5 as a whole is different between the first element portion 101 and the second element portion 102.
  • the thickness of the first ferromagnetic layer 51 is the same, but the magnetization direction is reversed.
  • the thickness of the second ferromagnetic layer 52 is the same, but the magnetization directions are reversed.
  • the first ferromagnetic layer 51 magnetized in the Z1 direction is thicker than the second ferromagnetic layer 52 magnetized in the Z2 direction.
  • the magnetization direction as a whole of the layer 5 is the Z1 direction.
  • the first ferromagnetic layer 51 magnetized in the Z2 direction is more than the second ferromagnetic layer 52 magnetized in the Z1 direction. Since it is thick, the magnetization direction of the fixed layer 5 as a whole is the Z2 direction.
  • the third element portion 103 is a magnetoresistive element having the same configuration as the second element portion 102. That is, the magnetization direction of the entire fixed layer 5 is the same in the second element portion 102 and the third element portion 103. Specifically, in the present embodiment, the thickness and the magnetization direction of the first ferromagnetic layer 51 are the same in the second element portion 102 and the third element portion 103. The same applies to the second ferromagnetic layer 52.
  • the fourth element unit 104 is a magnetoresistive element having the same configuration as the first element unit 101. That is, the first element portion 101 and the fourth element portion 104 have the same magnetization direction as the entire fixed layer 5.
  • the first element part 101, the second element part 102, the third element part 103, and the fourth element part 104 are formed on the common substrate 2. That is, in the present embodiment, a plurality of magnetoresistive element portions each including the free layer 3, the intermediate layer 4, and the fixed layer 5 shown in FIG. 2 are provided on the substrate 2.
  • the first element unit 101 and the second element unit 102 are connected in series between the power supply voltage terminals.
  • the third element part 103 and the fourth element part 104 are connected in series between the power supply voltage terminals.
  • the series connection body of the first element part 101 and the second element part 102 and the series connection body of the third element part 103 and the fourth element part 104 are connected in parallel between the power supply voltage terminals. That is, the first element unit 101, the second element unit 102, the third element unit 103, and the fourth element unit 104 form a so-called full bridge circuit or Wheatstone bridge circuit.
  • the terminal potential V01 at the connection portion between the first element portion 101 and the second element portion 102, and the terminal potential V02 at the connection portion between the third element portion 103 and the fourth element portion 104 Magnetic field detection is performed based on the potential difference. According to the magnetic sensor 1 having such a configuration, the influence of disturbance (for example, temperature) at the time of magnetic field detection can be suppressed as much as possible.
  • disturbance for example, temperature
  • the magnetic sensor 1 having such a configuration can be satisfactorily realized on one substrate 2 by appropriately adjusting known manufacturing conditions including film formation conditions and magnetization conditions. That is, the magnetic sensor 1 having the configuration shown in FIG. 4 can be stably manufactured by using a simple film formation process and magnetization process.
  • the substrate 2 may have a single layer structure or a multilayer structure.
  • the free layer 3 may have a single layer structure or a multilayer structure.
  • the intermediate layer 4 may have a single layer structure or a multilayer structure.
  • Each layer constituting the fixed layer 5 may have a single layer structure or a multilayer structure.
  • the configuration of the first ferromagnetic layer 51 and the like constituting the fixed layer 5 is not limited to the specific mode shown in the above embodiment.
  • the second ferromagnetic layer 52 may be formed thicker than the first ferromagnetic layer 51.
  • the material constituting the first ferromagnetic layer 51 and the material constituting the second ferromagnetic layer 52 may be the same or different.
  • the material constituting the first ferromagnetic layer 51 and the third ferromagnetic layer 55 may be the same or different. That is, the magnetization amount as a whole of the fixed layer 5 in the perpendicular direction can be appropriately set depending on the magnetization amount per unit dimension of each layer and the dimensions of each layer.
  • the first ferromagnetic layer 51 and the second ferromagnetic layer 52 have the same cross-sectional area in the in-plane direction.
  • the amount of magnetization per unit thickness of the first ferromagnetic layer 51 is Ms1
  • the thickness of the first ferromagnetic layer 51 is t1.
  • the amount of magnetization per unit thickness of the second ferromagnetic layer 52 is Ms2
  • the thickness of the second ferromagnetic layer 51 is t2.
  • Ms1 and Ms2 are positive when the magnetization direction is Z1 and negative when Z2.
  • the absolute values of Ms1 and Ms2 can be set as appropriate depending on the selection of materials and the like.
  • the magnetization amount Ms in the Z1 direction of the fixed layer 5 is obtained by the following equation. That is, when the value of Ms is negative, the magnetization state of the fixed layer 5 as a whole has an absolute value of ⁇ Ms and a magnetization direction of Z2.
  • the material and thickness of each layer can be appropriately set so that Ms is substantially zero in the first embodiment and Ms is a positive or negative predetermined value in the second embodiment.
  • Ms Ms1 ⁇ t1 + Ms2 ⁇ t2
  • the magnetization direction of the fixed layer 5 becomes the Z1 direction.
  • the magnetization direction of the fixed layer 5 becomes the Z2 direction.
  • the fixed layer 5 may be provided outside the free layer 3 (that is, on the external magnetic field side). That is, the substrate 2, the free layer 3, the intermediate layer 4, and the fixed layer 5 may be laminated in the perpendicular direction in this order.
  • the free layer 3 is formed on the substrate 2 side, the crystallinity of the substrate 2 is easily reflected in the free layer 3. Therefore, in this case, the crystallinity of the free layer 3 is improved, and hence the magnetic properties of the free layer 3 are improved.
  • the third element part 103 and the fourth element part 104 in FIG. 4 can be omitted. That is, the magnetic sensor 1 may be a half bridge circuit including a plurality of magnetoresistive elements.
  • the magnetization directions of the layers constituting the fixed layer 5 may be opposite to each other in the first element portion 101 and the second element portion 102. That is, the magnetization directions of the first ferromagnetic layer 51 and the second ferromagnetic layer 52 in the first element unit 101 are Z1 and Z2, respectively, while the first ferromagnetic layer 51 and the second ferromagnetic layer 51 in the second element unit 102 are The magnetization directions of the second ferromagnetic layer 52 may be Z2 and Z1, respectively.
  • the bridge circuit described above can also be realized by a magnetoresistive element having the configuration shown in FIG.
  • the modified examples are not limited to the above examples.
  • a plurality of modifications may be combined with each other.
  • all or part of the embodiment and all or part of the modification may be combined with each other.

Landscapes

  • Physics & Mathematics (AREA)
  • Condensed Matter Physics & Semiconductors (AREA)
  • General Physics & Mathematics (AREA)
  • Engineering & Computer Science (AREA)
  • Chemical & Material Sciences (AREA)
  • Nanotechnology (AREA)
  • Manufacturing & Machinery (AREA)
  • Crystallography & Structural Chemistry (AREA)
  • Measuring Magnetic Variables (AREA)
  • Hall/Mr Elements (AREA)
PCT/JP2017/023983 2016-07-04 2017-06-29 磁気センサ Ceased WO2018008525A1 (ja)

Priority Applications (3)

Application Number Priority Date Filing Date Title
DE112017003371.3T DE112017003371T5 (de) 2016-07-04 2017-06-29 Magnetsensor
CN201780040532.XA CN109478593A (zh) 2016-07-04 2017-06-29 磁传感器
US16/233,602 US20190137578A1 (en) 2016-07-04 2018-12-27 Magnetic sensor

Applications Claiming Priority (2)

Application Number Priority Date Filing Date Title
JP2016132536A JP6702034B2 (ja) 2016-07-04 2016-07-04 磁気センサ
JP2016-132536 2016-07-04

Related Child Applications (1)

Application Number Title Priority Date Filing Date
US16/233,602 Continuation US20190137578A1 (en) 2016-07-04 2018-12-27 Magnetic sensor

Publications (1)

Publication Number Publication Date
WO2018008525A1 true WO2018008525A1 (ja) 2018-01-11

Family

ID=60912772

Family Applications (1)

Application Number Title Priority Date Filing Date
PCT/JP2017/023983 Ceased WO2018008525A1 (ja) 2016-07-04 2017-06-29 磁気センサ

Country Status (5)

Country Link
US (1) US20190137578A1 (enExample)
JP (1) JP6702034B2 (enExample)
CN (1) CN109478593A (enExample)
DE (1) DE112017003371T5 (enExample)
WO (1) WO2018008525A1 (enExample)

Cited By (2)

* Cited by examiner, † Cited by third party
Publication number Priority date Publication date Assignee Title
WO2019040408A1 (en) * 2017-08-24 2019-02-28 Everspin Technologies, Inc. MAGNETIC FIELD SENSOR AND METHOD OF MANUFACTURING
DE102019126320A1 (de) * 2019-09-30 2021-04-01 Infineon Technologies Ag Magnetoresistiver Sensor und Fertigungsverfahren für einen magnetoresistiven Sensor

Families Citing this family (4)

* Cited by examiner, † Cited by third party
Publication number Priority date Publication date Assignee Title
CN109283228B (zh) * 2018-11-19 2024-07-23 江苏多维科技有限公司 一种基于磁阻元件的氢气传感器及其检测氢气的方法
CN209783606U (zh) * 2019-05-23 2019-12-13 歌尔股份有限公司 一种磁传感器模组
CN111430535A (zh) * 2020-03-19 2020-07-17 西安交通大学 一种测试灵敏方向可调的gmr磁场传感器及制备方法
US11630168B2 (en) * 2021-02-03 2023-04-18 Allegro Microsystems, Llc Linear sensor with dual spin valve element having reference layers with magnetization directions different from an external magnetic field direction

Citations (5)

* Cited by examiner, † Cited by third party
Publication number Priority date Publication date Assignee Title
JP2014157985A (ja) * 2013-02-18 2014-08-28 Denso Corp センサ用磁気抵抗素子、およびセンサ回路
WO2015033464A1 (ja) * 2013-09-09 2015-03-12 株式会社日立製作所 磁気センサ素子
JP2015207593A (ja) * 2014-04-17 2015-11-19 三星電子株式会社Samsung Electronics Co.,Ltd. 磁気抵抗素子
WO2015195122A1 (en) * 2014-06-18 2015-12-23 Intel Corporation Coupled spin hall nano oscillators with tunable strength
JP2016039313A (ja) * 2014-08-08 2016-03-22 株式会社デンソー 磁気抵抗素子

Family Cites Families (14)

* Cited by examiner, † Cited by third party
Publication number Priority date Publication date Assignee Title
US5465185A (en) * 1993-10-15 1995-11-07 International Business Machines Corporation Magnetoresistive spin valve sensor with improved pinned ferromagnetic layer and magnetic recording system using the sensor
US6771472B1 (en) * 2001-12-07 2004-08-03 Seagate Technology Llc Structure to achieve thermally stable high sensitivity and linear range in bridge GMR sensor using SAF magnetic alignments
US20040184311A1 (en) * 2003-03-18 2004-09-23 Manish Sharma Magnetic sensor
DE102007032867B4 (de) * 2007-07-13 2009-12-24 Infineon Technologies Ag Magnetoresistive Magnetfeldsensorstrukturen und Herstellungsverfahren
JP5448438B2 (ja) * 2008-12-19 2014-03-19 エイチジーエスティーネザーランドビーブイ 磁気リード・ヘッド
KR20130015927A (ko) * 2011-08-05 2013-02-14 에스케이하이닉스 주식회사 멀티 레벨을 갖는 자기 저항 메모리 장치 및 그 구동방법
CN102565727B (zh) * 2012-02-20 2016-01-20 江苏多维科技有限公司 用于测量磁场的磁电阻传感器
WO2013153942A1 (ja) * 2012-04-09 2013-10-17 国立大学法人東北大学 磁気抵抗効果素子および磁気メモリ
JP5664706B2 (ja) * 2012-07-05 2015-02-04 株式会社デンソー 磁気センサ
CN103543414A (zh) * 2012-07-13 2014-01-29 爱盛科技股份有限公司 三维平面磁传感器
JP5795288B2 (ja) * 2012-08-02 2015-10-14 株式会社日立製作所 スピントルク発振器を有するマイクロ波アシスト磁気記録ヘッド及び磁気記録装置
US20140062470A1 (en) * 2012-08-29 2014-03-06 Meng-Huang Lai Three-dimensional in-plane magnetic sensor
EP2860542B1 (en) * 2013-10-11 2016-04-20 Crocus Technology S.A. Method for measuring three-dimensional magnetic fields
JP6513407B2 (ja) 2015-01-20 2019-05-15 株式会社イシダ 振分装置及び検査振分システム

Patent Citations (5)

* Cited by examiner, † Cited by third party
Publication number Priority date Publication date Assignee Title
JP2014157985A (ja) * 2013-02-18 2014-08-28 Denso Corp センサ用磁気抵抗素子、およびセンサ回路
WO2015033464A1 (ja) * 2013-09-09 2015-03-12 株式会社日立製作所 磁気センサ素子
JP2015207593A (ja) * 2014-04-17 2015-11-19 三星電子株式会社Samsung Electronics Co.,Ltd. 磁気抵抗素子
WO2015195122A1 (en) * 2014-06-18 2015-12-23 Intel Corporation Coupled spin hall nano oscillators with tunable strength
JP2016039313A (ja) * 2014-08-08 2016-03-22 株式会社デンソー 磁気抵抗素子

Cited By (5)

* Cited by examiner, † Cited by third party
Publication number Priority date Publication date Assignee Title
WO2019040408A1 (en) * 2017-08-24 2019-02-28 Everspin Technologies, Inc. MAGNETIC FIELD SENSOR AND METHOD OF MANUFACTURING
US10794968B2 (en) 2017-08-24 2020-10-06 Everspin Technologies, Inc. Magnetic field sensor and method of manufacture
DE102019126320A1 (de) * 2019-09-30 2021-04-01 Infineon Technologies Ag Magnetoresistiver Sensor und Fertigungsverfahren für einen magnetoresistiven Sensor
US11467232B2 (en) 2019-09-30 2022-10-11 Infineon Technologies Ag Magnetoresistive sensor and fabrication method for a magnetoresistive sensor
DE102019126320B4 (de) 2019-09-30 2024-03-28 Infineon Technologies Ag Magnetoresistiver Sensor und Fertigungsverfahren für einen magnetoresistiven Sensor

Also Published As

Publication number Publication date
US20190137578A1 (en) 2019-05-09
JP6702034B2 (ja) 2020-05-27
JP2018006598A (ja) 2018-01-11
DE112017003371T5 (de) 2019-03-21
CN109478593A (zh) 2019-03-15

Similar Documents

Publication Publication Date Title
JP6702034B2 (ja) 磁気センサ
US11531071B2 (en) Magnetic field detection device
JP2018517225A (ja) 磁気抵抗センサ
US12385990B2 (en) Magnetism detection device
US10060992B2 (en) Magnetic sensor including bias magnetic field generation unit for generating stable bias magnetic field
JP2015125019A (ja) 電流センサ、電流測定モジュール及びスマートメータ
EP3091364B1 (en) Magnetic sensor, method of manufacturing magnetic sensor, and method of designing magnetic sensor
JP2012185044A (ja) 磁気センサ及びその製造方法
US10256022B2 (en) Magnetic field generator, magnetic sensor system and magnetic sensor
CN111090063B (zh) 磁传感器
JP2011103336A (ja) 磁気抵抗効果素子およびそれを用いたセンサ
WO2018079404A1 (ja) 磁気センサおよびその製造方法
WO2018037634A1 (ja) 磁気センサおよび電流センサ
JP7023428B1 (ja) 磁気センサ素子、磁気センサおよび磁気センサ装置
JP2015135267A (ja) 電流センサ
US20170371006A1 (en) Magnetic sensor and current sensor
CN109541503A (zh) 磁传感器
JP6007479B2 (ja) 電流センサ
US11488758B2 (en) Exchange coupling film, and magnetoresistive sensor and magnetic detector including the same
WO2011111457A1 (ja) 磁気センサ及びそれを備えた磁気平衡式電流センサ
JP6881413B2 (ja) 磁気センサ
JP2016157818A (ja) 磁気センサおよび電流センサ
JP6204391B2 (ja) 磁気センサおよび電流センサ
WO2022209548A1 (ja) 磁気センサ

Legal Events

Date Code Title Description
121 Ep: the epo has been informed by wipo that ep was designated in this application

Ref document number: 17824130

Country of ref document: EP

Kind code of ref document: A1

122 Ep: pct application non-entry in european phase

Ref document number: 17824130

Country of ref document: EP

Kind code of ref document: A1