WO2017188247A1 - 表示制御装置 - Google Patents

表示制御装置 Download PDF

Info

Publication number
WO2017188247A1
WO2017188247A1 PCT/JP2017/016367 JP2017016367W WO2017188247A1 WO 2017188247 A1 WO2017188247 A1 WO 2017188247A1 JP 2017016367 W JP2017016367 W JP 2017016367W WO 2017188247 A1 WO2017188247 A1 WO 2017188247A1
Authority
WO
WIPO (PCT)
Prior art keywords
image
obstacle
vehicle
display control
display
Prior art date
Legal status (The legal status is an assumption and is not a legal conclusion. Google has not performed a legal analysis and makes no representation as to the accuracy of the status listed.)
Ceased
Application number
PCT/JP2017/016367
Other languages
English (en)
French (fr)
Japanese (ja)
Inventor
前田 優
岳人 原田
充保 松浦
博彦 柳川
宗昭 松本
Current Assignee (The listed assignees may be inaccurate. Google has not performed a legal analysis and makes no representation or warranty as to the accuracy of the list.)
Denso Corp
Original Assignee
Denso Corp
Priority date (The priority date is an assumption and is not a legal conclusion. Google has not performed a legal analysis and makes no representation as to the accuracy of the date listed.)
Filing date
Publication date
Application filed by Denso Corp filed Critical Denso Corp
Priority to DE112017002189.8T priority Critical patent/DE112017002189T5/de
Priority to CN201780025745.5A priority patent/CN109076197B/zh
Priority to US16/096,042 priority patent/US11064151B2/en
Publication of WO2017188247A1 publication Critical patent/WO2017188247A1/ja
Anticipated expiration legal-status Critical
Priority to US17/346,662 priority patent/US11750768B2/en
Ceased legal-status Critical Current

Links

Images

Classifications

    • HELECTRICITY
    • H04ELECTRIC COMMUNICATION TECHNIQUE
    • H04NPICTORIAL COMMUNICATION, e.g. TELEVISION
    • H04N5/00Details of television systems
    • H04N5/44Receiver circuitry for the reception of television signals according to analogue transmission standards
    • H04N5/445Receiver circuitry for the reception of television signals according to analogue transmission standards for displaying additional information
    • H04N5/44504Circuit details of the additional information generator, e.g. details of the character or graphics signal generator, overlay mixing circuits
    • BPERFORMING OPERATIONS; TRANSPORTING
    • B60VEHICLES IN GENERAL
    • B60RVEHICLES, VEHICLE FITTINGS, OR VEHICLE PARTS, NOT OTHERWISE PROVIDED FOR
    • B60R1/00Optical viewing arrangements; Real-time viewing arrangements for drivers or passengers using optical image capturing systems, e.g. cameras or video systems specially adapted for use in or on vehicles
    • B60R1/20Real-time viewing arrangements for drivers or passengers using optical image capturing systems, e.g. cameras or video systems specially adapted for use in or on vehicles
    • B60R1/22Real-time viewing arrangements for drivers or passengers using optical image capturing systems, e.g. cameras or video systems specially adapted for use in or on vehicles for viewing an area outside the vehicle, e.g. the exterior of the vehicle
    • B60R1/23Real-time viewing arrangements for drivers or passengers using optical image capturing systems, e.g. cameras or video systems specially adapted for use in or on vehicles for viewing an area outside the vehicle, e.g. the exterior of the vehicle with a predetermined field of view
    • B60R1/27Real-time viewing arrangements for drivers or passengers using optical image capturing systems, e.g. cameras or video systems specially adapted for use in or on vehicles for viewing an area outside the vehicle, e.g. the exterior of the vehicle with a predetermined field of view providing all-round vision, e.g. using omnidirectional cameras
    • GPHYSICS
    • G06COMPUTING OR CALCULATING; COUNTING
    • G06TIMAGE DATA PROCESSING OR GENERATION, IN GENERAL
    • G06T1/00General purpose image data processing
    • GPHYSICS
    • G06COMPUTING OR CALCULATING; COUNTING
    • G06TIMAGE DATA PROCESSING OR GENERATION, IN GENERAL
    • G06T7/00Image analysis
    • G06T7/10Segmentation; Edge detection
    • G06T7/13Edge detection
    • GPHYSICS
    • G06COMPUTING OR CALCULATING; COUNTING
    • G06VIMAGE OR VIDEO RECOGNITION OR UNDERSTANDING
    • G06V20/00Scenes; Scene-specific elements
    • G06V20/50Context or environment of the image
    • G06V20/56Context or environment of the image exterior to a vehicle by using sensors mounted on the vehicle
    • G06V20/58Recognition of moving objects or obstacles, e.g. vehicles or pedestrians; Recognition of traffic objects, e.g. traffic signs, traffic lights or roads
    • HELECTRICITY
    • H04ELECTRIC COMMUNICATION TECHNIQUE
    • H04NPICTORIAL COMMUNICATION, e.g. TELEVISION
    • H04N5/00Details of television systems
    • H04N5/222Studio circuitry; Studio devices; Studio equipment
    • H04N5/262Studio circuits, e.g. for mixing, switching-over, change of character of image, other special effects ; Cameras specially adapted for the electronic generation of special effects
    • H04N5/2628Alteration of picture size, shape, position or orientation, e.g. zooming, rotation, rolling, perspective, translation
    • HELECTRICITY
    • H04ELECTRIC COMMUNICATION TECHNIQUE
    • H04NPICTORIAL COMMUNICATION, e.g. TELEVISION
    • H04N5/00Details of television systems
    • H04N5/222Studio circuitry; Studio devices; Studio equipment
    • H04N5/262Studio circuits, e.g. for mixing, switching-over, change of character of image, other special effects ; Cameras specially adapted for the electronic generation of special effects
    • H04N5/272Means for inserting a foreground image in a background image, i.e. inlay, outlay
    • HELECTRICITY
    • H04ELECTRIC COMMUNICATION TECHNIQUE
    • H04NPICTORIAL COMMUNICATION, e.g. TELEVISION
    • H04N7/00Television systems
    • H04N7/18Closed-circuit television [CCTV] systems, i.e. systems in which the video signal is not broadcast
    • BPERFORMING OPERATIONS; TRANSPORTING
    • B60VEHICLES IN GENERAL
    • B60RVEHICLES, VEHICLE FITTINGS, OR VEHICLE PARTS, NOT OTHERWISE PROVIDED FOR
    • B60R2300/00Details of viewing arrangements using cameras and displays, specially adapted for use in a vehicle
    • B60R2300/30Details of viewing arrangements using cameras and displays, specially adapted for use in a vehicle characterised by the type of image processing
    • B60R2300/304Details of viewing arrangements using cameras and displays, specially adapted for use in a vehicle characterised by the type of image processing using merged images, e.g. merging camera image with stored images
    • BPERFORMING OPERATIONS; TRANSPORTING
    • B60VEHICLES IN GENERAL
    • B60RVEHICLES, VEHICLE FITTINGS, OR VEHICLE PARTS, NOT OTHERWISE PROVIDED FOR
    • B60R2300/00Details of viewing arrangements using cameras and displays, specially adapted for use in a vehicle
    • B60R2300/30Details of viewing arrangements using cameras and displays, specially adapted for use in a vehicle characterised by the type of image processing
    • B60R2300/304Details of viewing arrangements using cameras and displays, specially adapted for use in a vehicle characterised by the type of image processing using merged images, e.g. merging camera image with stored images
    • B60R2300/305Details of viewing arrangements using cameras and displays, specially adapted for use in a vehicle characterised by the type of image processing using merged images, e.g. merging camera image with stored images merging camera image with lines or icons
    • BPERFORMING OPERATIONS; TRANSPORTING
    • B60VEHICLES IN GENERAL
    • B60RVEHICLES, VEHICLE FITTINGS, OR VEHICLE PARTS, NOT OTHERWISE PROVIDED FOR
    • B60R2300/00Details of viewing arrangements using cameras and displays, specially adapted for use in a vehicle
    • B60R2300/30Details of viewing arrangements using cameras and displays, specially adapted for use in a vehicle characterised by the type of image processing
    • B60R2300/307Details of viewing arrangements using cameras and displays, specially adapted for use in a vehicle characterised by the type of image processing virtually distinguishing relevant parts of a scene from the background of the scene
    • BPERFORMING OPERATIONS; TRANSPORTING
    • B60VEHICLES IN GENERAL
    • B60RVEHICLES, VEHICLE FITTINGS, OR VEHICLE PARTS, NOT OTHERWISE PROVIDED FOR
    • B60R2300/00Details of viewing arrangements using cameras and displays, specially adapted for use in a vehicle
    • B60R2300/60Details of viewing arrangements using cameras and displays, specially adapted for use in a vehicle characterised by monitoring and displaying vehicle exterior scenes from a transformed perspective
    • B60R2300/607Details of viewing arrangements using cameras and displays, specially adapted for use in a vehicle characterised by monitoring and displaying vehicle exterior scenes from a transformed perspective from a bird's eye viewpoint
    • BPERFORMING OPERATIONS; TRANSPORTING
    • B60VEHICLES IN GENERAL
    • B60RVEHICLES, VEHICLE FITTINGS, OR VEHICLE PARTS, NOT OTHERWISE PROVIDED FOR
    • B60R2300/00Details of viewing arrangements using cameras and displays, specially adapted for use in a vehicle
    • B60R2300/80Details of viewing arrangements using cameras and displays, specially adapted for use in a vehicle characterised by the intended use of the viewing arrangement
    • B60R2300/8093Details of viewing arrangements using cameras and displays, specially adapted for use in a vehicle characterised by the intended use of the viewing arrangement for obstacle warning
    • GPHYSICS
    • G06COMPUTING OR CALCULATING; COUNTING
    • G06TIMAGE DATA PROCESSING OR GENERATION, IN GENERAL
    • G06T2207/00Indexing scheme for image analysis or image enhancement
    • G06T2207/30Subject of image; Context of image processing
    • G06T2207/30248Vehicle exterior or interior
    • G06T2207/30252Vehicle exterior; Vicinity of vehicle
    • G06T2207/30261Obstacle
    • GPHYSICS
    • G06COMPUTING OR CALCULATING; COUNTING
    • G06VIMAGE OR VIDEO RECOGNITION OR UNDERSTANDING
    • G06V2201/00Indexing scheme relating to image or video recognition or understanding
    • G06V2201/08Detecting or categorising vehicles

Definitions

  • the present disclosure relates to a display control device that displays an image photographed by a camera mounted on a vehicle on a display device provided in the vehicle.
  • Patent Document 1 discloses a technique for displaying an image of a rear part of a vehicle on a display device and displaying a symbol indicating the direction and distance of an obstacle detected by a back sonar.
  • the driver can know the approximate direction of the obstacle and the distance to the obstacle based on the position and color of the symbol displayed together with the photographed image.
  • information such as the position and color of the pattern alone is not sufficient to grasp the specific properties such as what shape the obstacle is facing. A certain problem was found.
  • a display control device displays an image created based on a video in which a predetermined range around a vehicle is captured by a camera mounted on the vehicle on a display device provided in the vehicle. It is configured to let you.
  • the display control device includes an image acquisition unit, an obstacle specifying unit, and a control unit.
  • symbol in the parenthesis described in the claim shows the correspondence with the specific means as described in embodiment mentioned later as one aspect, Comprising: The technical scope of this indication is limited is not.
  • the image acquisition unit is configured to acquire a peripheral image that is an image based on a video taken by a camera.
  • the peripheral image is an image that directly represents a video captured by the camera, or an image obtained by coordinate-converting a video captured by the camera into an image from another viewpoint (for example, a bird's-eye view image).
  • the obstacle specifying unit specifies the shape of the obstacle including at least an inclination in a road surface direction of a portion where the obstacle faces the vehicle with respect to the obstacle specified from the range shown in the peripheral image acquired by the image acquisition unit. It is configured.
  • the control unit creates a superimposed image in which a sign image created as a symbol indicating the obstacle is superimposed on a position corresponding to the obstacle on the peripheral image,
  • the generated superimposed image is configured to be displayed on the display device.
  • the control unit is configured to make the property of the sign image variable according to the inclination of the obstacle specified by the obstacle specifying unit.
  • the property of the sign image that is a symbol indicating the obstacle can be freely changed according to the shape including at least the inclination of the obstacle.
  • operator of a vehicle can grasp
  • FIG. 1 is a block diagram illustrating a schematic configuration of an in-vehicle display system.
  • FIG. 2 is a flowchart showing the procedure of the distance measurement process.
  • FIG. 3 is a flowchart showing the procedure of the obstacle display process.
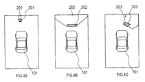
  • FIG. 4A is a diagram illustrating a display example of a superimposed image.
  • FIG. 4B is a diagram illustrating a display example of a superimposed image.
  • FIG. 4C is a diagram illustrating a display example of a superimposed image.
  • FIG. 5A is a diagram illustrating a time-series transition of the superimposed image.
  • FIG. 5B is a diagram illustrating time-series transition of the superimposed image.
  • FIG. 5C is a diagram illustrating a time-series transition of the superimposed image.
  • FIG. 6A is a diagram illustrating a variant of the marked image.
  • FIG. 6B is a diagram illustrating a variation of the sign image.
  • FIG. 6C is a diagram illustrating a variation of the sign image.
  • FIG. 6D is a diagram illustrating a variant of the sign image.
  • FIG. 6E is a diagram illustrating a variation of the sign image.
  • FIG. 6F is a diagram illustrating a variation of the sign image.
  • FIG. 7 is a diagram illustrating a display example of a superimposed image.
  • FIG. 8 is a diagram illustrating a display example of a superimposed image.
  • FIG. 7 is a diagram illustrating a display example of a superimposed image.
  • FIG. 9 is a diagram illustrating a display example of a superimposed image.
  • FIG. 10A is a diagram illustrating a boundary of a detected obstacle.
  • FIG. 10B is a diagram illustrating a display example of a superimposed image.
  • FIG. 11A is a diagram illustrating a display example of a superimposed image at a long distance.
  • FIG. 11B is a diagram illustrating a display example of a superimposed image at a short distance.
  • FIG. 11C is a diagram illustrating a display example of a superimposed image at a close distance.
  • FIG. 12 is a diagram illustrating a display example of a superimposed image.
  • FIG. 13 is a diagram illustrating a display example of a superimposed image.
  • FIG. 14A is a diagram illustrating a display example of a superimposed image.
  • FIG. 14B is a diagram illustrating a display example of a superimposed image.
  • FIG. 15A is a diagram illustrating a display example of a superimposed image.
  • FIG. 15B is a diagram illustrating a display example of a superimposed image.
  • FIG. 16 is a diagram illustrating a display example of a superimposed image.
  • FIG. 17 is a diagram illustrating a display example of a superimposed image.
  • FIG. 18A is a diagram illustrating a display example of a superimposed image at a long distance.
  • FIG. 18B is a diagram illustrating a display example of a superimposed image at a short distance.
  • FIG. 18C is a diagram illustrating a display example of a superimposed image at a close distance.
  • FIG. 19A is a diagram in which an image of the host vehicle is arranged on an original image including surrounding vehicles.
  • FIG. 19B is a diagram illustrating a boundary line of a surrounding vehicle that is actually detected.
  • FIG. 19C is a diagram in which icons representing vehicles are arranged in accordance with the detection lines.
  • FIG. 19D is a diagram in which an icon representing a vehicle is superimposed on an original image of surrounding vehicles.
  • FIG. 19E is a diagram in which a transparent icon representing a vehicle is superimposed on an original image of surrounding vehicles.
  • FIG. 20 is a diagram in which an icon representing a vehicle is superimposed on an original image of surrounding vehicles.
  • the in-vehicle display system 10 is a system that supports driving by displaying an image that is mounted on the vehicle 1 and created based on video captured by a camera. As illustrated in FIG. 1, the in-vehicle display system 10 includes an image processing unit 14, a camera 11, a distance measuring unit 12, and a display unit 13 connected to the image processing unit 14.
  • the camera 11 is an imaging device installed toward the periphery of the vehicle 1 such as the front, side, and rear.
  • the camera 11 is configured to image a peripheral region of the vehicle 1 and output data of an image representing the captured image (hereinafter also referred to as a captured image) to the image processing unit 14.
  • the distance measuring unit 12 scans a range photographed by the camera 11, so that obstacles (for example, other vehicles, pedestrians, building walls and pillars) existing in the scanned range, the vehicle 1, And a sensor configured to acquire information representing the direction of the obstacle and the direction viewed from the vehicle 1.
  • the distance measuring unit 12 is embodied by, for example, an ultrasonic sonar, a millimeter wave radar, a laser radar, a stereo camera, a monocular camera, a peripheral monitoring camera, or the like. From the measurement result obtained by the distance measuring unit 12, the position of the obstacle, the shape of the boundary, the inclination of the surface, and the approximate width can be recognized.
  • the display unit 13 is a display configured to display image information supplied from the image processing unit 14.
  • the display unit 13 is provided in a place such as an instrument panel of the vehicle 1 that is easily visible from the driver of the vehicle 1.
  • the image processing unit 14 is an information processing apparatus mainly configured with a CPU, a RAM, a ROM, a semiconductor memory such as a flash memory (not shown), an input / output interface, and the like.
  • the image processing unit 14 is realized by, for example, a microcontroller or the like in which functions as a computer system are integrated.
  • the function of the image processing unit 14 is realized by the CPU executing a program stored in a non-transitional physical storage medium such as a ROM or a semiconductor memory.
  • the number of microcontrollers constituting the image processing unit 14 may be one or more.
  • the method for realizing the functions of the image processing unit 14 is not limited to software, and some or all of the elements may be realized using hardware in which a logic circuit, an analog circuit, or the like is combined.
  • the image processing unit 14 executes distance measurement processing and obstacle display processing according to the above-described program. Details of these processes will be described later. [Description of distance measurement processing] The procedure of the distance measurement process executed by the image processing unit 14 will be described with reference to the flowchart of FIG. This distance measurement process is repeatedly executed every predetermined control period while the in-vehicle display system 10 is in operation.
  • the image processing unit 14 uses the distance measuring unit 12 to measure the distance to the obstacle existing around the vehicle 1 and acquires position information regarding the obstacle. Specifically, the image processing unit 14 continuously scans the periphery of the vehicle 1 with detection waves such as radar and sonar constituting the distance measuring unit 12 and receives reflected waves from obstacles, thereby scanning. Position information representing the distribution of the distances of obstacles existing in the specified range is acquired. Alternatively, position information representing the distribution of the distance to the obstacle may be acquired by a known image recognition technique that recognizes the distance to the object from an image captured by a stereo camera, a monocular camera, a peripheral monitoring camera, or the like.
  • the image processing unit 14 stores the position information acquired in S100, that is, information indicating the distribution of the distance between the vehicle 1 and the obstacle in the memory in the image processing unit 14. After S102, the image processing unit 14 returns the process to S100.
  • the image processing unit 14 acquires the latest captured image for one frame from the camera 11.
  • the image processing unit 14 converts the coordinates of the pixels constituting the captured image acquired in S200 using a known bird's-eye conversion process so that the captured image of the camera 11 is located above the vehicle 1. The image is converted into a bird's-eye view image simulating the state seen from the set viewpoint.
  • the image processing unit 14 reads the latest position information acquired in the above-described distance measurement process (see FIG. 2) from the memory.
  • the image processing unit 14 designates the obstacle present on the bird's-eye image according to the position information read in S204 and the shape of the obstacle shown in the bird's-eye image created in S202.
  • a sign image is created. Specific properties of the sign image created here will be described later.
  • the image processing unit 14 creates a superimposed image in which the sign image created in S206 is superimposed at a position corresponding to the obstacle reflected on the bird's-eye image created in S202, and the created superimposed image is displayed. It is displayed on the display unit 13.
  • the image processing unit 14 superimposes the obstacle image on the obstacle image according to the shape, inclination, position, color, and the like of the obstacle identified in the image captured by the camera 11 and the distance measuring unit 12.
  • the superimposed image is created by changing the properties of.
  • the property of the sign image here is, for example, the shape, size, inclination, blinking, color, density, transparency, etc. of the symbol.
  • FIGS. 1-10 a specific application example of the sign image superimposed on the obstacle image will be described with reference to FIGS.
  • FIG. 4A, 4B, and 4C are examples of superimposed images displayed on the display unit 13.
  • a vehicle image 101 that is a virtual image representing the appearance of the vehicle 1 (that is, the host vehicle) is arranged.
  • the vehicle image 101 is drawn by the image processing unit 14 when an image captured by the camera 11 is converted to a bird's eye view.
  • a sign image that is a symbol indicating an obstacle reflected in the bird's-eye view image is drawn by the image processing unit 14.
  • the image processing unit 14 creates a sign image 301 composed of a plate-like symbol having a width approximately equal to the width of the obstacle image 201. Then, the image processing unit 14 creates a superimposed image by superimposing the indication image 301 in accordance with the position of the obstacle image 201 on the bird's-eye view image.
  • the image processing unit 14 creates a sign image 302 composed of a plate-like symbol having a width wider than that of the case of FIG. 4A according to the width of the obstacle being reflected. Then, the image processing unit 14 creates a superimposed image by superimposing the indication image 302 in accordance with the position of the obstacle image 202 on the bird's-eye view image.
  • the image processing unit 14 creates a sign image 303 composed of symbols whose plate-like surfaces are inclined in accordance with the inclination of the obstacle image 203 with respect to the front direction of the vehicle image 101. Then, the image processing unit 14 creates a superimposed image by superimposing the indication image 303 in accordance with the position of the obstacle image 203 on the bird's-eye view image.
  • the image processing unit 14 changes the direction of the sign image formed of a plate-like pattern according to the inclination in the road surface direction of the portion where the obstacles 201, 202, and 203 face the vehicle 1. It is configured to be variable. Specifically, the image processing unit 14 determines that the obstacles 201, 202, 203 are connected to the vehicle 1 based on the boundary shape of the obstacles 201, 202, 203 represented by the position information acquired by the distance measuring unit 12. Recognize the slope in the road surface direction of the facing part.
  • the image processing unit 14 creates sign images 301, 302, and 303 that are configured with geometric symbols having the same inclination as that of the obstacles 201, 202, and 203 in the bird's-eye image coordinate system.
  • the image is superimposed on the images of the obstacles 201, 202, and 203.
  • the image processing unit 14 may be configured to periodically blink a sign image displayed to be superimposed on an obstacle image. Moreover, as illustrated in FIGS. 5A, 5B, and 5C, the length of the cycle of blinking the indication image 304 may be changed according to the distance between the vehicle 1 and the obstacle 204. By doing so, the driver can accurately grasp the distance to the obstacle.
  • the example of FIG. 5A is a time series representing the temporal transition of the superimposed image displayed by the image processing unit 14 in a situation where the distance between the vehicle 1 and the obstacle is relatively far.
  • the image processing unit 14 displays a superimposed image that blinks the sign image 304 superimposed on the obstacle image 204 at a relatively long period.
  • the case of FIG. 5B is a time series representing the temporal transition of the superimposed image displayed by the image processing unit 14 in a situation where the distance between the vehicle 1 and the obstacle is relatively short (that is, closer to the case of FIG. 5A). is there.
  • the image processing unit 14 displays a superimposed image that blinks the indication image 304 superimposed on the obstacle image 204 at a relatively shorter cycle than the case of FIG. 5A.
  • the case of FIG. 5C is a time series representing the temporal transition of the superimposed image displayed by the image processing unit 14 in a situation where the distance between the vehicle 1 and the obstacle is very close (that is, closer to the case of FIG. 5B). It is.
  • the image processing unit 14 continuously displays the indication image 304 superimposed on the obstacle image 204, or displays a superimposed image that blinks at a shorter cycle than the case of FIG. 5B.
  • the image processing unit 14 displays a sign image that can include various shapes of figures, symbols, icons, and character information on an obstacle image. The structure which overlaps may be sufficient.
  • the example of FIG. 6A is an example of a superimposed image in which a sign image 305 composed of a plate-shaped symbol is superimposed along the surface of the obstacle image 205.
  • the example in FIG. 6B is an example of a superimposed image in which a sign image 306 configured with a polygonal line pattern along the surface of the obstacle image 205 is superimposed.
  • the example of FIG. 6C is an example of a superimposed image in which a sign image 307 configured with wavy lines along the surface of the obstacle image 205 is superimposed.
  • the example in FIG. 6D is an example of a superimposed image in which a sign image 308 configured with a dot-sequence pattern along the surface of the obstacle image 205 is superimposed.
  • the example in FIG. 6E is an example of a superimposed image in which a marking image 309 composed of an icon including a symbol for prompting attention is superimposed along the surface of the obstacle image 205.
  • the example in FIG. 6F is an example of a superimposed image in which a marking image 310 composed of character information representing the distance to the obstacle is superimposed along the surface of the obstacle image 205.
  • the image processing unit 14 may have a configuration in which a sign image is arranged for an obstacle corresponding to a course predicted to travel the vehicle 1 or a range in which the vehicle width is extended in the longitudinal direction of the vehicle length. In that case, for other ranges, it is not necessary to display the sign image even if an obstacle is detected.
  • the image processing unit 14 predicts the course of the vehicle 1 by acquiring vehicle information indicating the steering status of the vehicle 1 and the like, and information on the vehicle width and the vehicle length of the vehicle 1 registered in advance. Based on the above, the range of the predicted course on the bird's-eye view image and the range in the front-rear direction of the vehicle length are specified.
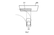
  • the example of FIG. 7 is an example of a superimposed image displayed in a situation in which a course in which the vehicle 1 turns to the left is predicted.
  • along the obstacle image 206 along the lateral range corresponding to the range of the trajectory on the predicted course where the vehicle 1 turns leftward and the range where the vehicle width of the vehicle 1 is projected in the front direction.
  • a sign image 311 is arranged. By doing so, obstacles can be presented to the driver in an easy-to-understand manner in a range where the vehicle 1 may come into contact.
  • Figure 8 Application Example 5
  • the image processing unit 14 is configured to arrange a sign image for an obstacle corresponding to a range based on the vehicle width of the vehicle 1 in consideration of the possibility that the vehicle 1 and the obstacle come into contact with each other. Good.
  • the sign image may be arranged in a range slightly wider than the vehicle width of the vehicle 1.
  • the example of FIG. 8 is an example of a superimposed image displayed in a situation where an obstacle exists diagonally forward of the vehicle 1.
  • the indication image 312 is arranged in a portion corresponding to a display range obtained by enlarging the range in which the vehicle width of the vehicle 1 is projected in the front direction by a predetermined distance from side to side. By doing so, obstacles can be presented to the driver in an easy-to-understand manner in a range where the vehicle 1 may come into contact.
  • the image processing unit 14 relates to the obstacle in a range wider than the width of the detection line with respect to a boundary line (hereinafter also referred to as a detection line) representing the shape of the obstacle detected by the radar or sonar of the distance measuring unit 12.
  • a boundary line hereinafter also referred to as a detection line
  • positions a marking image may be sufficient.
  • the image processing unit 14 specifies the width of the obstacle detection line represented by the position information acquired by the distance measuring unit 12, and arranges the indication image based on the width of the detection line. Identify the range.
  • the example of FIG. 9 is an example of a superimposed image displayed in a situation where an obstacle exists in front of the vehicle.
  • the indication image 313 is arranged in a portion corresponding to a display range in which the width of the actually detected detection line is enlarged to the left and right by a predetermined distance in the obstacle image 208. In this way, even when the actual obstacle width is larger than the width of the detection line, the scale of the obstacle can be accurately presented to the driver.
  • the image processing unit 14 recognizes the boundary of the obstacle by image recognition from the bird's-eye view image regarding the obstacle detected by the radar or sonar of the distance measuring unit 12, and indicates the obstacle along the recognized boundary.
  • positions an image may be sufficient.
  • the image processing unit 14 extracts feature quantities such as edges from the image area around the detection line of the obstacle image 209 shown in the bird's-eye view image, and the extracted features.
  • the vertical boundary of the obstacle is detected based on the amount.
  • the image processing unit 14 superimposes the sign image 314 having a width along the boundary of the obstacle image 209 on the obstacle image 209. In this way, even when the actual obstacle width is larger than the width of the detection line, the scale of the obstacle can be accurately presented to the driver.
  • the image processing unit 14 is configured to change the properties (for example, shape, size, color, transmittance, etc.) of the sign image superimposed on the obstacle image according to the distance between the vehicle 1 and the obstacle. Also good. By doing so, the driver can accurately grasp the distance to the obstacle.
  • 11A is an example of a superimposed image displayed by the image processing unit 14 in a situation where the distance between the vehicle 1 and the obstacle is relatively long.
  • the image processing unit 14 displays a superimposed image in which a sign image 315 having a relatively small shape is superimposed on the obstacle image 210.
  • FIG. 11B is an example of a superimposed image displayed by the image processing unit 14 in a situation where the distance between the vehicle 1 and the obstacle is relatively short (that is, closer to the case of FIG. 11A).
  • the image processing unit 14 displays a superimposed image in which the indication image 316 having a relatively larger shape than the case of FIG. 11A is superimposed on the obstacle image 210.
  • the image processing unit 14 may change the color and transmittance of the sign image 316 to an aspect more emphasized than the sign image 315 in FIG. 11A.
  • FIG. 11C is an example of a superimposed image displayed by the image processing unit 14 in a situation where the distance between the vehicle 1 and the obstacle is very close (that is, closer to the case of FIG. 11B).
  • the image processing unit 14 displays a superimposed image in which a sign image 317 having a larger shape than the case of FIG. 11B is superimposed on the obstacle image 210.
  • the image processing unit 14 may change the color and transmittance of the sign image 317 to an aspect more emphasized than the sign image 316 in FIG. 11B.
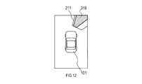
  • the image processing unit 14 may be configured to draw a sign image superimposed on the obstacle image in a manner in which the sign image is extended to the outer edge of the display range of the superimposed image in a direction corresponding to the upper side of the obstacle. Specifically, as illustrated in FIG. 12, the image processing unit 14 displays a superimposed image in the direction corresponding to the upper side of the obstacle image 211 for the indication image 318 arranged on the obstacle image 211. Draw in a shape stretched to the top of the range. By doing in this way, the sign image regarding an obstacle can be shown to a driver in the mode which emphasizes the height of an obstacle.
  • FIG. 13 Application Example 10
  • image distortion for example, the image is radially expanded as it is farther from the center
  • the image processing unit 14 converts the image captured by the camera 11 into a bird's-eye image
  • the image is displayed as an obstacle image on the bird's-eye image.
  • You may comprise so that the shape of the indication image to superimpose may be extended radially.
  • the image processing unit 14 radiates the indication image 318 superimposed on the obstacle image 211 with the image position on the bird's-eye image corresponding to the position of the camera 11 as a center. Draw in a shape stretched to. By doing in this way, the discomfort given to a driver can be reduced.
  • the image processing unit 14 may be configured to draw a sign image to be superimposed on the obstacle image in a manner that emphasizes the lower end side of the obstacle. Specifically, as illustrated in FIGS. 14A and 14B, the image processing unit 14 changes the color, density, and transmittance of the symbols constituting the marking images 320 and 321 from the upper end side to the lower end side of the obstacle image 213. The lower end side of the obstacle image 213 is emphasized by drawing it while changing it continuously or stepwise. By doing in this way, an indication image can be displayed in the mode which emphasizes the lower part of an obstacle which may be in contact with vehicles 1.
  • the image processing unit 14 may be configured to recognize the color of an obstacle from a captured image and draw a sign image using a color corresponding to a color complementary to the recognized color of the obstacle. Specifically, as illustrated in FIGS. 15A and 15B, the indication images 322 and 323 composed of symbols that are complementary to the colors of the obstacle images 214 and 215 are superimposed on the obstacle images 214 and 215. To do. By doing in this way, an obstruction image and a sign image can be made to stand out mutually, and the visibility by a driver can be improved.
  • the image processing unit 14 estimates that the obstacle detected by the distance measuring unit 12 is a slope, the image processing unit 14 also arranges a sign image in a range closer to the vehicle 1 than the detection line representing the boundary of the detected obstacle. It may be a configuration.
  • the image processing unit 14 arranges the marking image 324 in the range including the region closer to the vehicle image 101 than the actual detection line, regarding the slope image 216 detected as an obstacle. To do. By doing in this way, the driver's attention can be alerted to the part of the slope that is not detected by the radar or sonar of the distance measuring unit 12.
  • the image processing unit 14 may be configured to draw an area actually detected by the distance measuring unit 12 in a manner that emphasizes more than other areas, with respect to a sign image superimposed on an obstacle image. Specifically, as illustrated in FIG. 17, the image processing unit 14 displays a sign image 325 ⁇ / b> A composed of a plate-shaped symbol on the obstacle image 217, and also includes a radar and sonar of the distance measuring unit 12.
  • the enhanced image 325B is displayed in an image area corresponding to the area detected by the above. It is assumed that the enhanced image 325B is composed of a pattern drawn using colors, densities, and transmittances that are more emphasized than the sign image 325A. In this way, the driver's attention can be drawn to the boundary of the obstacle.
  • the image processing unit 14 is configured to display a grid-like line (hereinafter referred to as a grid line) that serves as a measure of the distance between the vehicle 1 and the obstacle in the superimposed image according to the distance between the vehicle 1 and the obstacle. It may be. Further, the fineness of the grid of the grid line may be made variable according to the distance between the vehicle 1 and the obstacle. By doing so, the driver can accurately grasp the distance to the obstacle.
  • a grid line a grid-like line that serves as a measure of the distance between the vehicle 1 and the obstacle in the superimposed image according to the distance between the vehicle 1 and the obstacle. It may be. Further, the fineness of the grid of the grid line may be made variable according to the distance between the vehicle 1 and the obstacle. By doing so, the driver can accurately grasp the distance to the obstacle.
  • the example in FIG. 18A is an example of a superimposed image displayed by the image processing unit 14 in a situation where the distance between the vehicle 1 and the obstacle is relatively long.
  • the image processing unit 14 displays a superimposed image in which the indication image 315 is superimposed on the obstacle image 218.
  • a grid line that is a measure of the distance between the vehicle 1 and the obstacle is not displayed.
  • 18B is an example of a superimposed image displayed by the image processing unit 14 in a situation where the distance between the vehicle 1 and the obstacle is relatively close (that is, closer to the case of FIG. 18A).
  • the image processing unit 14 superimposes the indication image 327 on the obstacle image 218 and draws a grid line composed of relatively rough grids around the vehicle image 101 and the obstacle image 218. The superimposed image is displayed.
  • 18C is an example of a superimposed image displayed by the image processing unit 14 in a situation where the distance between the vehicle 1 and the obstacle is very close (that is, even closer than the case of FIG. 18B).
  • the image processing unit 14 superimposes the indication image 328 on the obstacle image 218, and displays a grid line composed of finer meshes than the case of FIG. 18B in the vehicle image 101 and the obstacle image 218. A superimposed image drawn around is displayed.
  • FIG. 19 Application Example 16
  • the image processing unit 14 estimates that the obstacle detected by the distance measuring unit 12 is a vehicle
  • the orientation and size of the vehicle detected as an obstacle is represented by an indication image configured with an icon imitating the vehicle.
  • the display may be superimposed and displayed in accordance with the above. In this way, the driver can accurately recognize other vehicles existing around the vehicle 1.
  • FIG. 19A represents a situation in which images 401 and 402 of two other vehicles are shown around the vehicle image 101 corresponding to the vehicle 1 in the bird's-eye view image created from the image captured by the camera 11. .
  • FIG. 19B shows a detection line representing the boundary of another vehicle actually detected by the distance measuring unit 12 under the situation illustrated in FIG. 19A.
  • the image processing unit 14 creates the indication images 501 and 502 composed of icons simulating a vehicle along the shape and inclination of the detection line as illustrated in FIG. 19C. Note that the sign images 501 and 502 created in the example of FIG. 19C are assumed to be drawn using an opaque color. Then, as illustrated in FIG. 19D, the image processing unit 14 displays superimposed images in which the created indication images 501 and 502 are superimposed on the images 401 and 402 of other vehicles, respectively.
  • the image processing unit 14 is configured to superimpose the sign images 601 and 602, in which the inside of the vehicle symbol is transparent only, on the images 401 and 402 of other vehicles. May be.
  • the image processing unit 14 may be configured to use a single representative color acquired from an original image of another vehicle that is a target for overlaying the marking image when drawing the marking image configured with an icon simulating a vehicle. .
  • the image processing unit 14 extracts a specific color from the image 403 of the other vehicle shown in the bird's-eye view image, and draws using the extracted color.
  • the displayed indication image 503 is displayed so as to be superimposed on the image 403 of the other vehicle. By doing in this way, even when a complicated pattern is drawn on another vehicle detected as an obstacle, or when a complicated pattern is received by receiving light passing through the grating of a multilevel parking lot, etc.
  • the sign image can be displayed in a simple and easy-to-view manner.
  • the vehicle-mounted display system has the following effects.
  • the orientation and shape of the sign image representing the obstacle can be freely changed.
  • the display mode such as the size, color, and blinking of the sign image can be freely changed according to the distance from the obstacle.
  • the image processing unit 14 corresponds to an example of a display control device.
  • the processing of S200 and S202 executed by the image processing unit 14 corresponds to an example of processing as an image acquisition unit.
  • the process of S206 executed by the image processing unit 14 corresponds to an example of a process as an obstacle specifying unit and a control unit.
  • the configuration may be such that the properties such as the color and pattern of the sign image are changed according to the inclination of the obstacle.
  • an example has been described in which an image captured by the camera 11 is converted into a bird's-eye image, and then a sign image is superimposed on an obstacle image on the converted bird's-eye image.
  • a sign image may be superimposed on the image captured by the camera 11 itself.
  • a sign image may be superimposed on an image converted into an image of a different viewpoint from the bird's-eye view image.
  • the present disclosure can also be realized in various forms such as a program for causing a computer to function as the above-described image processing unit 14 and a non-transition actual recording medium such as a semiconductor memory in which the program is recorded.

Landscapes

  • Engineering & Computer Science (AREA)
  • Multimedia (AREA)
  • Signal Processing (AREA)
  • General Physics & Mathematics (AREA)
  • Theoretical Computer Science (AREA)
  • Physics & Mathematics (AREA)
  • Mechanical Engineering (AREA)
  • Computer Vision & Pattern Recognition (AREA)
  • Computer Graphics (AREA)
  • Traffic Control Systems (AREA)
  • Closed-Circuit Television Systems (AREA)
  • Image Processing (AREA)
  • Image Analysis (AREA)
PCT/JP2017/016367 2016-04-26 2017-04-25 表示制御装置 Ceased WO2017188247A1 (ja)

Priority Applications (4)

Application Number Priority Date Filing Date Title
DE112017002189.8T DE112017002189T5 (de) 2016-04-26 2017-04-25 Anzeigesteuerungsgerät
CN201780025745.5A CN109076197B (zh) 2016-04-26 2017-04-25 显示控制装置
US16/096,042 US11064151B2 (en) 2016-04-26 2017-04-25 Display control apparatus
US17/346,662 US11750768B2 (en) 2016-04-26 2021-06-14 Display control apparatus

Applications Claiming Priority (2)

Application Number Priority Date Filing Date Title
JP2016-088183 2016-04-26
JP2016088183A JP6595401B2 (ja) 2016-04-26 2016-04-26 表示制御装置

Related Child Applications (2)

Application Number Title Priority Date Filing Date
US16/096,042 A-371-Of-International US11064151B2 (en) 2016-04-26 2017-04-25 Display control apparatus
US17/346,662 Continuation US11750768B2 (en) 2016-04-26 2021-06-14 Display control apparatus

Publications (1)

Publication Number Publication Date
WO2017188247A1 true WO2017188247A1 (ja) 2017-11-02

Family

ID=60159728

Family Applications (1)

Application Number Title Priority Date Filing Date
PCT/JP2017/016367 Ceased WO2017188247A1 (ja) 2016-04-26 2017-04-25 表示制御装置

Country Status (5)

Country Link
US (2) US11064151B2 (enExample)
JP (1) JP6595401B2 (enExample)
CN (1) CN109076197B (enExample)
DE (1) DE112017002189T5 (enExample)
WO (1) WO2017188247A1 (enExample)

Families Citing this family (10)

* Cited by examiner, † Cited by third party
Publication number Priority date Publication date Assignee Title
JP6595401B2 (ja) 2016-04-26 2019-10-23 株式会社Soken 表示制御装置
JP2018005091A (ja) * 2016-07-06 2018-01-11 富士通株式会社 表示制御プログラム、表示制御方法および表示制御装置
JP6541097B2 (ja) * 2017-10-10 2019-07-10 マツダ株式会社 車両用表示装置
CN110197097B (zh) * 2018-02-24 2024-04-19 北京图森智途科技有限公司 一种港区监控方法及系统、中控系统
JP7189695B2 (ja) * 2018-08-07 2022-12-14 日立Astemo株式会社 運転支援装置
JP6696558B1 (ja) * 2018-12-26 2020-05-20 株式会社Jvcケンウッド 車両用記録制御装置、車両用記録装置、車両用記録制御方法およびプログラム
US11829128B2 (en) 2019-10-23 2023-11-28 GM Global Technology Operations LLC Perception system diagnosis using predicted sensor data and perception results
CN114108219A (zh) * 2020-08-28 2022-03-01 青岛海高设计制造有限公司 洗衣机
USD1015342S1 (en) * 2021-01-08 2024-02-20 Sony Group Corporation Display screen or portion thereof with animated graphical user interface
DE102022205393A1 (de) * 2022-05-30 2023-11-30 Volkswagen Aktiengesellschaft Verfahren zum Betreiben eines Informationssystems, Computerprogrammprodukt sowie Fahrzeug

Citations (4)

* Cited by examiner, † Cited by third party
Publication number Priority date Publication date Assignee Title
JP2007295043A (ja) * 2006-04-20 2007-11-08 Matsushita Electric Ind Co Ltd 車両周囲監視装置
JP2012175314A (ja) * 2011-02-21 2012-09-10 Nissan Motor Co Ltd 車両の運転支援装置
JP2012244600A (ja) * 2011-05-24 2012-12-10 Fujitsu Ten Ltd 画像表示システム、画像処理装置、及び、画像表示方法
JP2016052867A (ja) * 2014-09-04 2016-04-14 株式会社デンソー 運転支援装置

Family Cites Families (42)

* Cited by examiner, † Cited by third party
Publication number Priority date Publication date Assignee Title
JP3626613B2 (ja) 1998-11-13 2005-03-09 日産車体株式会社 障害物検出表示装置
JP3645196B2 (ja) * 2001-02-09 2005-05-11 松下電器産業株式会社 画像合成装置
JP2002359839A (ja) * 2001-03-29 2002-12-13 Matsushita Electric Ind Co Ltd リアビューカメラの画像表示方法及びその装置
JPWO2004083889A1 (ja) * 2003-03-20 2006-06-22 松下電器産業株式会社 障害物検知装置
DE102004009924A1 (de) * 2004-02-23 2005-09-01 Valeo Schalter Und Sensoren Gmbh Verfahren und Warnvorrichtung zum grafischen Aufbereiten eines Bildes einer Kamera
US8885045B2 (en) * 2005-08-02 2014-11-11 Nissan Motor Co., Ltd. Device and method for monitoring vehicle surroundings
JP4720386B2 (ja) * 2005-09-07 2011-07-13 株式会社日立製作所 運転支援装置
JP4887980B2 (ja) * 2005-11-09 2012-02-29 日産自動車株式会社 車両用運転操作補助装置および車両用運転操作補助装置を備えた車両
JP4687411B2 (ja) * 2005-11-15 2011-05-25 株式会社デンソー 車両周辺画像処理装置及びプログラム
JP2008219063A (ja) * 2007-02-28 2008-09-18 Sanyo Electric Co Ltd 車両周辺監視装置及び方法
US20090096937A1 (en) * 2007-08-16 2009-04-16 Bauer Frederick T Vehicle Rearview Assembly Including a Display for Displaying Video Captured by a Camera and User Instructions
JP4458138B2 (ja) * 2007-09-18 2010-04-28 株式会社デンソー 車両周辺監視装置
CN201154669Y (zh) * 2008-01-03 2008-11-26 李植滔 一种倒车可视测距系统
JP2012040883A (ja) * 2008-12-19 2012-03-01 Panasonic Corp 車両周囲画像生成装置
JP5240149B2 (ja) * 2009-09-28 2013-07-17 三菱自動車工業株式会社 車両周辺監視装置
JP2011109170A (ja) * 2009-11-12 2011-06-02 Clarion Co Ltd 車両周囲表示装置、車両周囲表示方法
JP5071743B2 (ja) * 2010-01-19 2012-11-14 アイシン精機株式会社 車両周辺監視装置
JP5505702B2 (ja) * 2010-02-24 2014-05-28 アイシン精機株式会社 車両周辺監視装置
JP4990421B2 (ja) * 2010-03-16 2012-08-01 三菱電機株式会社 路車協調型安全運転支援装置
CN102906593B (zh) * 2010-05-19 2015-06-17 三菱电机株式会社 车辆后方监视装置
CN102918833B (zh) * 2010-06-15 2015-07-08 三菱电机株式会社 车辆周边监视装置
FR2968262B1 (fr) * 2010-12-06 2012-11-23 Peugeot Citroen Automobiles Sa Dispositif d'aide pour permettre a un conducteur d'un vehicule de verifier d'une zone de stationnement quittee
CN103582906B (zh) * 2011-06-02 2016-01-20 丰田自动车株式会社 车辆用视野辅助装置
EP2723069B1 (en) * 2011-06-16 2017-10-18 Aisin Seiki Kabushiki Kaisha Vehicle periphery monitoring device
KR20140031369A (ko) * 2011-06-17 2014-03-12 로베르트 보쉬 게엠베하 도로 위 차량의 차선 안내 시에 운전자를 보조하기 위한 방법 및 장치
EP2775467A4 (en) * 2011-11-01 2016-09-28 Aisin Seiki ALARM DEVICE FOR OBSTACLES
JP6014442B2 (ja) * 2012-09-27 2016-10-25 富士通テン株式会社 画像生成装置、画像表示システム、および、画像生成方法
JP5710752B2 (ja) * 2012-11-13 2015-04-30 株式会社東芝 検出装置、方法及びプログラム
US10179543B2 (en) * 2013-02-27 2019-01-15 Magna Electronics Inc. Multi-camera dynamic top view vision system
JP5991647B2 (ja) * 2013-03-28 2016-09-14 株式会社デンソー 車両用周辺監視制御装置
JP2014191763A (ja) * 2013-03-28 2014-10-06 Fujitsu Ltd 車両認識装置、システム、プログラム及び方法
JP6287237B2 (ja) * 2014-01-17 2018-03-07 株式会社リコー 情報処理装置、情報処理方法及びプログラム
JP2015184874A (ja) * 2014-03-24 2015-10-22 株式会社東芝 移動体操作支援装置、移動体操作支援方法、および移動体操作支援プログラム
JP6262068B2 (ja) * 2014-04-25 2018-01-17 日立建機株式会社 車体近傍障害物報知システム
JP6075331B2 (ja) * 2014-06-13 2017-02-08 トヨタ自動車株式会社 車両用照明装置
JP6464673B2 (ja) 2014-10-31 2019-02-06 株式会社Ihi 支障物検知システムおよび鉄道車両
GB2532953A (en) * 2014-12-02 2016-06-08 Ibm Overlay display
JP6542539B2 (ja) * 2015-02-10 2019-07-10 クラリオン株式会社 車両用進入可否判定装置
US9505404B2 (en) * 2015-04-10 2016-11-29 Jaguar Land Rover Limited Collision avoidance system
EP3292024A4 (en) * 2015-05-06 2018-06-20 Magna Mirrors of America, Inc. Vehicle vision system with blind zone display and alert system
FR3036353B1 (fr) * 2015-05-20 2018-12-07 Valeo Comfort And Driving Assistance Procede de controle interactif du stationnement automatique d'un vehicule automobile au moyen d'un terminal mobile
JP6595401B2 (ja) 2016-04-26 2019-10-23 株式会社Soken 表示制御装置

Patent Citations (4)

* Cited by examiner, † Cited by third party
Publication number Priority date Publication date Assignee Title
JP2007295043A (ja) * 2006-04-20 2007-11-08 Matsushita Electric Ind Co Ltd 車両周囲監視装置
JP2012175314A (ja) * 2011-02-21 2012-09-10 Nissan Motor Co Ltd 車両の運転支援装置
JP2012244600A (ja) * 2011-05-24 2012-12-10 Fujitsu Ten Ltd 画像表示システム、画像処理装置、及び、画像表示方法
JP2016052867A (ja) * 2014-09-04 2016-04-14 株式会社デンソー 運転支援装置

Also Published As

Publication number Publication date
US11750768B2 (en) 2023-09-05
US20190132543A1 (en) 2019-05-02
JP2017200006A (ja) 2017-11-02
CN109076197B (zh) 2020-09-04
US11064151B2 (en) 2021-07-13
JP6595401B2 (ja) 2019-10-23
CN109076197A (zh) 2018-12-21
US20210306590A1 (en) 2021-09-30
DE112017002189T5 (de) 2019-01-10

Similar Documents

Publication Publication Date Title
JP6595401B2 (ja) 表示制御装置
CN109017570B (zh) 车辆周围场景呈现方法和装置、车辆
CN105745122B (zh) 用于显示车辆周围环境的驾驶员辅助系统
US11321911B2 (en) Method for representing the surroundings of a vehicle
JP7283059B2 (ja) 周辺監視装置
JP6379779B2 (ja) 車両用表示装置
CN103959341A (zh) 用于呈现车辆环境的方法
JP7263731B2 (ja) 画像処理装置
WO2016002163A1 (ja) 画像表示装置、画像表示方法
EP2642364B1 (en) Method for warning the driver of a motor vehicle about the presence of an object in the surroundings of the motor vehicle, camera system and motor vehicle
CN114531568B (zh) 周边图像生成装置和显示控制方法
WO2017122294A1 (ja) 周囲監視装置、画像処理方法、及び画像処理プログラム
JP5966513B2 (ja) 車両の後側方撮影装置
CN103999122A (zh) 用于改进多摄像机系统中的对象探测的方法
JP4872245B2 (ja) 歩行者認識装置
JP5374549B2 (ja) 車両周辺監視装置
JP5831331B2 (ja) 車両の後側方撮影装置
JP5310616B2 (ja) 車両周辺表示装置
JPWO2020144798A1 (ja) 情報表示制御装置及び方法、並びにプログラム及び記録媒体
JP2005217482A (ja) 車両周辺監視方法および装置
CN120886863A (zh) 车辆用显示装置、车辆用显示系统、车辆用显示方法以及计算机程序产品
US20210323471A1 (en) Method and arrangement for generating a representation of surroundings of a vehicle, and vehicle having such an arrangement
JP2009147628A (ja) 車載用画像処理装置及び車載用画像表示装置
CN105930764B (zh) 能对立体视野摄像的摄像装置、摄像方法以及存储介质
JP2014059723A (ja) 車両用後方視界支援装置及び車両用後方視界支援方法

Legal Events

Date Code Title Description
121 Ep: the epo has been informed by wipo that ep was designated in this application

Ref document number: 17789529

Country of ref document: EP

Kind code of ref document: A1

122 Ep: pct application non-entry in european phase

Ref document number: 17789529

Country of ref document: EP

Kind code of ref document: A1