WO2017104376A1 - 燃料ポンプユニット - Google Patents

燃料ポンプユニット Download PDF

Info

Publication number
WO2017104376A1
WO2017104376A1 PCT/JP2016/084871 JP2016084871W WO2017104376A1 WO 2017104376 A1 WO2017104376 A1 WO 2017104376A1 JP 2016084871 W JP2016084871 W JP 2016084871W WO 2017104376 A1 WO2017104376 A1 WO 2017104376A1
Authority
WO
WIPO (PCT)
Prior art keywords
fuel pump
fuel
suction
peripheral wall
cylindrical hole
Prior art date
Legal status (The legal status is an assumption and is not a legal conclusion. Google has not performed a legal analysis and makes no representation as to the accuracy of the status listed.)
Ceased
Application number
PCT/JP2016/084871
Other languages
English (en)
French (fr)
Japanese (ja)
Inventor
早川 哲生
酒井 博美
代司 古橋
Current Assignee (The listed assignees may be inaccurate. Google has not performed a legal analysis and makes no representation or warranty as to the accuracy of the list.)
Denso Corp
Original Assignee
Denso Corp
Priority date (The priority date is an assumption and is not a legal conclusion. Google has not performed a legal analysis and makes no representation as to the accuracy of the date listed.)
Filing date
Publication date
Application filed by Denso Corp filed Critical Denso Corp
Priority to CN201680073322.6A priority Critical patent/CN108368803B/zh
Priority to DE112016005804.7T priority patent/DE112016005804T5/de
Priority to US16/061,070 priority patent/US11441522B2/en
Publication of WO2017104376A1 publication Critical patent/WO2017104376A1/ja
Anticipated expiration legal-status Critical
Ceased legal-status Critical Current

Links

Images

Classifications

    • FMECHANICAL ENGINEERING; LIGHTING; HEATING; WEAPONS; BLASTING
    • F02COMBUSTION ENGINES; HOT-GAS OR COMBUSTION-PRODUCT ENGINE PLANTS
    • F02MSUPPLYING COMBUSTION ENGINES IN GENERAL WITH COMBUSTIBLE MIXTURES OR CONSTITUENTS THEREOF
    • F02M37/00Apparatus or systems for feeding liquid fuel from storage containers to carburettors or fuel-injection apparatus; Arrangements for purifying liquid fuel specially adapted for, or arranged on, internal-combustion engines
    • F02M37/02Feeding by means of suction apparatus, e.g. by air flow through carburettors
    • BPERFORMING OPERATIONS; TRANSPORTING
    • B01PHYSICAL OR CHEMICAL PROCESSES OR APPARATUS IN GENERAL
    • B01DSEPARATION
    • B01D35/00Filtering devices having features not specifically covered by groups B01D24/00 - B01D33/00, or for applications not specifically covered by groups B01D24/00 - B01D33/00; Auxiliary devices for filtration; Filter housing constructions
    • B01D35/02Filters adapted for location in special places, e.g. pipe-lines, pumps, stop-cocks
    • B01D35/027Filters adapted for location in special places, e.g. pipe-lines, pumps, stop-cocks rigidly mounted in or on tanks or reservoirs
    • FMECHANICAL ENGINEERING; LIGHTING; HEATING; WEAPONS; BLASTING
    • F02COMBUSTION ENGINES; HOT-GAS OR COMBUSTION-PRODUCT ENGINE PLANTS
    • F02MSUPPLYING COMBUSTION ENGINES IN GENERAL WITH COMBUSTIBLE MIXTURES OR CONSTITUENTS THEREOF
    • F02M37/00Apparatus or systems for feeding liquid fuel from storage containers to carburettors or fuel-injection apparatus; Arrangements for purifying liquid fuel specially adapted for, or arranged on, internal-combustion engines
    • F02M37/04Feeding by means of driven pumps
    • F02M37/045Arrangements for driving rotary positive-displacement pumps
    • FMECHANICAL ENGINEERING; LIGHTING; HEATING; WEAPONS; BLASTING
    • F02COMBUSTION ENGINES; HOT-GAS OR COMBUSTION-PRODUCT ENGINE PLANTS
    • F02MSUPPLYING COMBUSTION ENGINES IN GENERAL WITH COMBUSTIBLE MIXTURES OR CONSTITUENTS THEREOF
    • F02M37/00Apparatus or systems for feeding liquid fuel from storage containers to carburettors or fuel-injection apparatus; Arrangements for purifying liquid fuel specially adapted for, or arranged on, internal-combustion engines
    • F02M37/04Feeding by means of driven pumps
    • F02M37/08Feeding by means of driven pumps electrically driven
    • F02M37/10Feeding by means of driven pumps electrically driven submerged in fuel, e.g. in reservoir
    • FMECHANICAL ENGINEERING; LIGHTING; HEATING; WEAPONS; BLASTING
    • F02COMBUSTION ENGINES; HOT-GAS OR COMBUSTION-PRODUCT ENGINE PLANTS
    • F02MSUPPLYING COMBUSTION ENGINES IN GENERAL WITH COMBUSTIBLE MIXTURES OR CONSTITUENTS THEREOF
    • F02M37/00Apparatus or systems for feeding liquid fuel from storage containers to carburettors or fuel-injection apparatus; Arrangements for purifying liquid fuel specially adapted for, or arranged on, internal-combustion engines
    • F02M37/04Feeding by means of driven pumps
    • F02M37/08Feeding by means of driven pumps electrically driven
    • F02M37/10Feeding by means of driven pumps electrically driven submerged in fuel, e.g. in reservoir
    • F02M37/106Feeding by means of driven pumps electrically driven submerged in fuel, e.g. in reservoir the pump being installed in a sub-tank
    • FMECHANICAL ENGINEERING; LIGHTING; HEATING; WEAPONS; BLASTING
    • F02COMBUSTION ENGINES; HOT-GAS OR COMBUSTION-PRODUCT ENGINE PLANTS
    • F02MSUPPLYING COMBUSTION ENGINES IN GENERAL WITH COMBUSTIBLE MIXTURES OR CONSTITUENTS THEREOF
    • F02M37/00Apparatus or systems for feeding liquid fuel from storage containers to carburettors or fuel-injection apparatus; Arrangements for purifying liquid fuel specially adapted for, or arranged on, internal-combustion engines
    • F02M37/22Arrangements for purifying liquid fuel specially adapted for, or arranged on, internal-combustion engines, e.g. arrangements in the feeding system
    • F02M37/32Arrangements for purifying liquid fuel specially adapted for, or arranged on, internal-combustion engines, e.g. arrangements in the feeding system characterised by filters or filter arrangements
    • F02M37/44Filters structurally associated with pumps
    • FMECHANICAL ENGINEERING; LIGHTING; HEATING; WEAPONS; BLASTING
    • F02COMBUSTION ENGINES; HOT-GAS OR COMBUSTION-PRODUCT ENGINE PLANTS
    • F02MSUPPLYING COMBUSTION ENGINES IN GENERAL WITH COMBUSTIBLE MIXTURES OR CONSTITUENTS THEREOF
    • F02M37/00Apparatus or systems for feeding liquid fuel from storage containers to carburettors or fuel-injection apparatus; Arrangements for purifying liquid fuel specially adapted for, or arranged on, internal-combustion engines
    • F02M37/22Arrangements for purifying liquid fuel specially adapted for, or arranged on, internal-combustion engines, e.g. arrangements in the feeding system
    • F02M37/32Arrangements for purifying liquid fuel specially adapted for, or arranged on, internal-combustion engines, e.g. arrangements in the feeding system characterised by filters or filter arrangements
    • F02M37/50Filters arranged in or on fuel tanks
    • FMECHANICAL ENGINEERING; LIGHTING; HEATING; WEAPONS; BLASTING
    • F04POSITIVE - DISPLACEMENT MACHINES FOR LIQUIDS; PUMPS FOR LIQUIDS OR ELASTIC FLUIDS
    • F04CROTARY-PISTON, OR OSCILLATING-PISTON, POSITIVE-DISPLACEMENT MACHINES FOR LIQUIDS; ROTARY-PISTON, OR OSCILLATING-PISTON, POSITIVE-DISPLACEMENT PUMPS
    • F04C13/00Adaptations of machines or pumps for special use, e.g. for extremely high pressures
    • F04C13/005Removing contaminants, deposits or scale from the pump; Cleaning
    • FMECHANICAL ENGINEERING; LIGHTING; HEATING; WEAPONS; BLASTING
    • F04POSITIVE - DISPLACEMENT MACHINES FOR LIQUIDS; PUMPS FOR LIQUIDS OR ELASTIC FLUIDS
    • F04CROTARY-PISTON, OR OSCILLATING-PISTON, POSITIVE-DISPLACEMENT MACHINES FOR LIQUIDS; ROTARY-PISTON, OR OSCILLATING-PISTON, POSITIVE-DISPLACEMENT PUMPS
    • F04C13/00Adaptations of machines or pumps for special use, e.g. for extremely high pressures
    • F04C13/008Pumps for submersible use, i.e. down-hole pumping
    • FMECHANICAL ENGINEERING; LIGHTING; HEATING; WEAPONS; BLASTING
    • F04POSITIVE - DISPLACEMENT MACHINES FOR LIQUIDS; PUMPS FOR LIQUIDS OR ELASTIC FLUIDS
    • F04CROTARY-PISTON, OR OSCILLATING-PISTON, POSITIVE-DISPLACEMENT MACHINES FOR LIQUIDS; ROTARY-PISTON, OR OSCILLATING-PISTON, POSITIVE-DISPLACEMENT PUMPS
    • F04C2/00Rotary-piston machines or pumps
    • F04C2/08Rotary-piston machines or pumps of intermeshing-engagement type, i.e. with engagement of co-operating members similar to that of toothed gearing
    • F04C2/10Rotary-piston machines or pumps of intermeshing-engagement type, i.e. with engagement of co-operating members similar to that of toothed gearing of internal-axis type with the outer member having more teeth or tooth-equivalents, e.g. rollers, than the inner member
    • F04C2/102Rotary-piston machines or pumps of intermeshing-engagement type, i.e. with engagement of co-operating members similar to that of toothed gearing of internal-axis type with the outer member having more teeth or tooth-equivalents, e.g. rollers, than the inner member the two members rotating simultaneously around their respective axes
    • FMECHANICAL ENGINEERING; LIGHTING; HEATING; WEAPONS; BLASTING
    • F02COMBUSTION ENGINES; HOT-GAS OR COMBUSTION-PRODUCT ENGINE PLANTS
    • F02DCONTROLLING COMBUSTION ENGINES
    • F02D41/00Electrical control of supply of combustible mixture or its constituents
    • F02D41/30Controlling fuel injection
    • F02D41/3082Control of electrical fuel pumps
    • FMECHANICAL ENGINEERING; LIGHTING; HEATING; WEAPONS; BLASTING
    • F04POSITIVE - DISPLACEMENT MACHINES FOR LIQUIDS; PUMPS FOR LIQUIDS OR ELASTIC FLUIDS
    • F04CROTARY-PISTON, OR OSCILLATING-PISTON, POSITIVE-DISPLACEMENT MACHINES FOR LIQUIDS; ROTARY-PISTON, OR OSCILLATING-PISTON, POSITIVE-DISPLACEMENT PUMPS
    • F04C15/00Component parts, details or accessories of machines, pumps or pumping installations, not provided for in groups F04C2/00 - F04C14/00
    • F04C15/06Arrangements for admission or discharge of the working fluid, e.g. constructional features of the inlet or outlet
    • FMECHANICAL ENGINEERING; LIGHTING; HEATING; WEAPONS; BLASTING
    • F04POSITIVE - DISPLACEMENT MACHINES FOR LIQUIDS; PUMPS FOR LIQUIDS OR ELASTIC FLUIDS
    • F04CROTARY-PISTON, OR OSCILLATING-PISTON, POSITIVE-DISPLACEMENT MACHINES FOR LIQUIDS; ROTARY-PISTON, OR OSCILLATING-PISTON, POSITIVE-DISPLACEMENT PUMPS
    • F04C2210/00Fluid
    • F04C2210/20Fluid liquid, i.e. incompressible
    • F04C2210/203Fuel

Definitions

  • the present disclosure relates to a fuel pump unit including a suction filter and a fuel pump.
  • a fuel pump unit including a suction filter and a fuel pump is known.
  • the fuel pump sucks the fuel filtered by the suction filter.
  • the fuel pump includes a suction hole portion for sucking fuel into the rotor housing chamber and an outer peripheral wall provided to surround the suction hole portion.
  • the suction filter has a filter element and a cylindrical hole.
  • the filter element filters the fuel and takes it into the internal space.
  • the cylindrical hole portion is formed in a cylindrical hole shape having an inner peripheral wall, and the inner space and the suction hole portion are communicated with each other by being fitted with the outer peripheral wall and the inner peripheral wall facing each other.
  • the cylindrical hole portion of Patent Document 1 has the rotation center line outside the inner peripheral wall. It will be arranged to pass.
  • the vibration transmission is not uniform, such as the vibration that can be generated in the fuel pump with the rotation of the rotating shaft is easily transmitted to a specific portion of the cylindrical hole portion.
  • the suction filter may be inclined with respect to the fuel pump due to non-uniform vibration transmission.
  • JP 2014-152726 A (corresponding to US2014 / 0227082A1)
  • the present disclosure has been made in view of the problems described above, and an object thereof is to provide a fuel pump unit that suppresses the inclination of the suction filter.
  • a fuel pump unit comprising a suction filter that filters fuel and a fuel pump that sucks fuel filtered by the suction filter,
  • the fuel pump A rotation axis disposed along the rotation center line and driven to rotate;
  • a rotor portion housed in the rotor housing chamber and rotated according to the rotational drive of the rotation shaft;
  • An outer peripheral wall provided surrounding the suction hole, Suction filter A filter element that filters fuel into the internal space; It is formed in a cylindrical hole shape having an inner peripheral wall, and is fitted with the outer peripheral wall and the inner peripheral wall facing each other, thereby providing a cylindrical hole portion that communicates the internal space and the suction hole portion,
  • the cylindrical hole portion provides a fuel pump unit that is arranged so that the rotation center line passes through the inside of the inner peripheral wall.
  • the cylindrical hole portion formed in the cylindrical hole shape on the inner peripheral wall is fitted with the outer peripheral wall provided surrounding the suction hole portion in the fuel pump and the inner peripheral wall being opposed to each other.
  • the internal space of the filter element communicates with the suction hole.
  • the cylinder hole part is arrange
  • FIG. 4 is a sectional view taken along line IV-IV in FIG. 3. It is the figure which looked at the pump cover of FIG. 3 in the V direction. It is the figure which looked at the pump cover of FIG. 3 in VI direction.
  • FIG. 7 is a sectional view taken along line VII-VII in FIGS. It is a figure corresponding to FIG. 2 in 2nd Embodiment.
  • FIG. 9 is a diagram corresponding to FIG. 2 in Modification 1.
  • the fuel pump unit 9 includes a suction filter 90 and a fuel pump 10 coupled to each other as shown in FIGS.
  • the fuel pump unit 9 is disposed in the sub tank 2 of the fuel pump module 100 installed in the fuel tank for storing fuel in the vehicle.
  • the fuel pump module 100 supplies fuel to the internal combustion engine by pumping the fuel in the fuel tank to the outside of the fuel tank.
  • the fuel in the fuel tank flows into the sub tank 2 through the flapper valve.
  • the fuel in the sub tank 2 is filtered by the suction filter 90 and then sucked into the fuel pump 10.
  • the fuel discharged from the fuel pump 10 passes through a high-pressure filter and a pressure regulator, and is pumped out of the fuel tank through a flange that closes the fuel tank opening in the fuel pump module 100.
  • the fuel in this embodiment is light oil.
  • the fuel pump 10 has an electric motor 13, a pump main body 19, and an electric motor 13 accommodated in an annular pump body 12 on the opposite side of the pump main body 19 across the axial direction Da.
  • the protruding side cover 15 is mainly used.
  • the rotating shaft 13a of the electric motor 13 is rotationally driven by energization from an external circuit via the electrical connector 15a of the side cover 15.
  • the outer gear 30 and the inner gear 20 of the pump body 19 rotate using the driving force of the rotating shaft 13a.
  • the fuel sucked into the gear housing chamber 70a in which both the gears 20 and 30 are housed and pressurized is discharged from the discharge outlet 15b of the side cover 15 through the fuel passage 16 outside the gear housing chamber 70a.
  • an inner rotor type brushless motor is employed as the electric motor 13.
  • the electric motor 13 has a stator 13b and a rotor 13c.
  • the stator 13b is fixed to the pump body 12 and is formed in a cylindrical shape.
  • the stator 13b has a winding portion molded of synthetic resin, and a 6-slot coil is formed and arranged.
  • the rotor 13c is located on the inner peripheral side with respect to the stator 13b, and is formed in a cylindrical shape with a rotation shaft 13a assembled at the center.
  • a quadrupole magnet is formed and arranged on the rotor 13c.
  • the rotation shaft 13a is disposed along the rotation center line Cig set as a virtual straight line in the axial direction Da at the center of the pump.
  • the axial direction Da substantially matches the direction of gravity when the vehicle travels on a flat ground or stops on a flat ground.
  • the pump main body 19 includes a joint member 60, an inner gear 20, an outer gear 30, and a pump housing 70.
  • the joint member 60 is formed of a synthetic resin such as PPS resin, for example, and is a member that relays the rotating shaft 13a with the inner gear 20.
  • the joint member 60 integrally includes a main body portion 62 through which the rotary shaft 13a is inserted into the fitting hole 62a, and an insertion portion 64.
  • a plurality of insertion portions 64 are provided at equal intervals in the circumferential direction.
  • Each insertion portion 64 has flexibility due to the shape extending from the outer peripheral side portion of the main body portion 62 toward the gear housing chamber 70a along the axial direction.
  • the inner gear 20 shown in FIGS. 3 and 4 is a so-called trochoid gear which is formed of a rigid metal material such as an iron-based sintered body, for example, and each tooth has a trochoid curve.
  • the inner gear 20 is arranged eccentrically in the gear housing chamber 70a by having the center together with the rotary shaft 13a.
  • the inner gear 20 has an insertion hole 26 at a position facing the main body 62 of the joint member 60 in the axial direction Da.
  • a plurality of insertion holes 26 are provided at equal intervals in the circumferential direction corresponding to each insertion portion 64. Each insertion hole 26 penetrates the inner gear 20 along the axial direction Da.
  • each insertion hole 26 a corresponding insertion portion 64 is inserted with a gap.
  • the insertion portion 64 presses against the insertion hole 26, whereby the driving force of the rotary shaft 13 a is transmitted to the inner gear 20 through the joint member 60. That is, the inner gear 20 is rotatable in the rotation direction Rig around the rotation center line Cig coaxial with the rotation shaft 13a.
  • the inner gear 20 is rotatable in the rotation direction Rig around the rotation center line Cig coaxial with the rotation shaft 13a.
  • FIG. 4 only a part of the insertion hole 26 and the insertion portion 64 are denoted by reference numerals.
  • the inner gear 20 has a plurality of external teeth 24 a arranged at equal intervals in the rotation direction Rig on the outer peripheral portion 24.
  • the outer gear 30 shown in FIGS. 3 and 4 is also a so-called trochoid gear that is formed of, for example, a metal material having rigidity of an iron-based sintered material, and each tooth has a trochoidal curve.
  • the outer gear 30 is arranged coaxially in the gear accommodating chamber 70a by being eccentric with respect to the rotation center line Cig.
  • the inner gear 20 is eccentric with respect to the outer gear 30 in an eccentric direction De as a radial direction of the outer gear 30.
  • the outer gear 30 is eccentric from the rotation center line Cig and has a virtual outer center line Cog along the axial direction Da as the rotation center, so that the outer center line Cog is interlocked with the inner gear 20. It can be rotated in the surrounding rotation direction Rog.
  • the outer gear 30 has a plurality of inner teeth 32 a arranged at equal intervals in the rotation direction Rog in the inner peripheral portion 32.
  • the number of inner teeth 32 a in the outer gear 30 is set to be one more than the number of outer teeth 24 a in the inner gear 20. In the present embodiment, the number of inner teeth 32a is ten and the number of outer teeth 24a is nine.
  • the inner gear 20 meshes with the outer gear 30 by relative eccentricity in the eccentric direction De.
  • the gears 20 and 30 are engaged with each other with a small gap on the eccentric side, but a plurality of pump chambers 40 are formed between the gears 20 and 30 on the opposite side.
  • the outer gear 30 and the inner gear 20 rotate according to the rotational drive of the rotating shaft 13a, so that the volume thereof is expanded and contracted.
  • the outer gear 30 and the inner gear 20 constitute a rotor portion 19a that rotates in a gear housing chamber 70a as a rotor housing chamber.
  • the pump housing 70 has a cylindrical hole-shaped gear housing chamber 70 a that rotatably accommodates both the gears 20 and 30 by superimposing the pump cover 71 and the pump casing 80 in the axial direction Da. It is defined. Accordingly, the pump housing 70 sandwiches both the gears 20 and 30 from both sides in the axial direction Da, thereby forming a pair of sliding surfaces 72 and 82 on which the both gears 20 and 30 slide in a planar shape. .
  • the pump cover 71 shown in FIGS. 3 and 5 to 7 is a component of the pump housing 70.
  • the pump cover 71 is formed in a disk shape having wear resistance by performing a surface treatment such as plating on a base material made of a metal having rigidity such as a steel material.
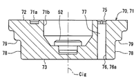
  • a circular flat opening plane 73 projects outward.
  • the pump cover 71 has an outer peripheral wall 78 connected to the outer edge of the opening plane 73 and facing the outer peripheral side. Due to the opening plane 73 and the outer peripheral wall 78, the suction filter 90 side of the pump cover 71 is formed in a cylindrical shape.
  • a stopper that is connected to the outer peripheral wall 78 on the outer peripheral side of the outer peripheral wall 78 and closer to the gear housing chamber 70a and faces the suction filter 90 in the axial direction Da.
  • a wall 79 is provided.
  • the stopper wall 79 is provided in an annular shape so as to surround the outer peripheral wall 78 over the entire circumference.
  • the pump cover 71 has a joint housing chamber 71b for housing the main body 62 of the joint member 60 at a location facing the inner gear 20 on the rotation center line Cig.
  • the joint accommodation chamber 71b is recessed from the sliding surface 72 along the axial direction Da.
  • a thrust bearing 52 is fitted and fixed to the bottom of the joint accommodation chamber 71b on the rotation center line Cig in order to support the rotation shaft 13a in the axial direction Da.
  • the pump cover 71 has a suction port portion 74 for sucking fuel from the outside to the inside of the gear housing chamber 70a on the outer peripheral side of the joint housing chamber 71b.
  • the suction port portion 74 has a suction extension groove 75 and a suction hole portion 76.
  • the suction extending groove 75 is recessed from the sliding surface 72 and has an arcuate groove shape extending along the circumferential direction of the pump cover 71.
  • the suction hole portion 76 has a plurality of suction opening holes 76a.
  • the plurality of suction opening holes 76 a are provided, for example, and are arranged along the extending direction of the suction extending grooves 75.
  • Each suction opening hole 76a is formed in a cylindrical hole shape penetrating the pump cover 71 along the axial direction Da so as to open at the bottom of the suction extending groove 75 and to the opening plane 73 on the suction filter 90 side. It is open.
  • the suction hole 76 is disposed so as to be surrounded by the outer peripheral wall 78 provided over the entire circumference.
  • Each suction opening hole 76a has an opening area corresponding to the volume of the opposing pump chamber 40, and the opening area of the suction opening hole 76a on the side opposite to the eccentric side is set to be the largest.
  • a reinforcing rib 77 that reinforces the pump cover 71 is provided between the suction opening holes 76a.
  • the width Wr of the reinforcing rib 77 is set substantially equal between the suction opening holes 76a.
  • the pump casing 80 is formed in a bottomed cylindrical shape having wear resistance by performing a surface treatment such as plating on a base material made of a metal having rigidity such as a steel material.
  • the opening of the pump casing 80 is covered with the pump cover 71 so as to be closed over the entire circumference.
  • the inner peripheral portion 80b of the pump casing 80 is formed in a cylindrical hole shape that is eccentric from the rotation center line Cig and coaxial with the outer center line Cog.
  • a radial bearing 50 is fitted and fixed on the rotation center line Cig of the concave bottom portion 80c of the pump casing 80 in order to support the rotating shaft 13a penetrating the concave bottom portion 80c.
  • the pump casing 80 has a discharge port portion 84 that discharges fuel from the inside of the gear housing chamber 70 a to the outside on the outer peripheral side of the radial bearing 50.
  • the discharge port portion 84 has a discharge extending groove 85 and a discharge hole portion 86.
  • the discharge extending groove 85 is recessed from the sliding surface 82 and has an arcuate groove shape extending along the circumferential direction of the pump casing 80.
  • the discharge hole portion 86 has a plurality of discharge opening holes 86a.
  • the plurality of discharge opening holes 86 a are formed in a cylindrical hole shape penetrating the pump casing 80 along the axial direction Da, thereby opening at the bottom of the discharge extending groove 85 and opening at the fuel passage 16.
  • a reinforcing rib 87 for reinforcing the pump casing 80 is provided between the discharge opening holes 86a.
  • the discharge hole portion 86, the discharge opening hole 86 a, and a part of the reinforcing rib 87 are denoted by reference numerals.
  • the suction extending groove 75 is formed in the portion facing the suction extending groove 75 of the suction port portion 74 with the gear housing chamber 70a interposed therebetween, as shown in FIG.
  • an arcuate groove-shaped suction facing groove 80a is formed.
  • the suction facing groove 80 a is formed to be recessed from the sliding surface 82.
  • the discharge extending groove 85 of the discharge port portion 84 is provided with the outline of the suction opposing groove 80a substantially symmetrical with respect to the line.
  • the discharge extending groove 85 and the suction facing groove 80a are separated by a sliding surface 82.
  • a portion of the pump cover 71 that faces the discharge extending groove 85 of the discharge port portion 84 across the gear housing chamber 70a has an arc corresponding to the shape of the discharge extending groove 85 projected in the axial direction Da.
  • a groove-like discharge facing groove 71a is formed.
  • the discharge facing groove 71 a is formed to be recessed from the sliding surface 72.
  • the suction extending groove 75 of the suction port portion 74 is provided with the discharge facing groove 71a and its contour substantially symmetrical with respect to the line.
  • the sliding between the suction extending groove 75 and the discharge facing groove 71a is slid. It is separated by a surface 72.
  • the inner gear 20 is formed so that its thickness dimension is slightly smaller than the dimension between the pair of sliding surfaces 72 and 82.
  • the inner gear 20 has its inner peripheral portion 22 supported in the radial direction by the radial bearing 50 and is also supported by the pair of sliding surfaces 72 and 82 on both sides in the axial direction Da.
  • the outer gear 30 has an outer diameter slightly smaller than the inner diameter of the pump casing 80. At the same time, the outer gear 30 is formed so that its thickness dimension is slightly smaller than the dimension between the pair of sliding surfaces 72 and 82. Thus, the outer gear 30 has its outer peripheral portion 34 supported by the inner peripheral portion 80b of the pump casing 80, and both sides in the axial direction Da are supported by the pair of sliding surfaces 72 and 82.
  • each discharge opening 86 a of the discharge hole 86 communicates with the discharge extending groove 85 recessed from the sliding surface 82, so that the fuel discharge is performed while the pump chamber 40 faces the discharge extending groove 85. Will continue.
  • the fuel filtered by the suction filter 90 is sucked from the suction port portion 74 of the fuel pump 10.
  • the fuel sequentially sucked into the pump chamber 40 in the gear housing chamber 70a through the suction port portion 74 and then discharged through the discharge port portion 84 is discharged from the discharge outlet 15b to the outside of the fuel pump 10 through the fuel passage 16. .
  • the suction filter 90 includes a filter element 92, a cylindrical hole portion 94, a contact portion 96, and an opposing wall 98.
  • the filter element 92 has a bag shape in which an internal space 92a is formed.
  • the filter element 92 is disposed with a gap in the axial direction Da from the sub tank bottom wall 2a, and has a shape extending along the bottom wall 2a.
  • the filter element 92 filters foreign matters such as sand, dust, and gas station tank rust that may be contained in the fuel, and takes them into the internal space 92a. More specifically, light oil as a fuel has a higher viscosity than gasoline, and is particularly jelly-like in a low temperature state. Therefore, in order to suck such light oil, the filter element 92 has a coarser mesh than that of gasoline. Is also set roughly (for example, 100 to 200 ⁇ m).
  • a frame portion 90a is disposed in the internal space 92a of the filter element 92.
  • the shape of the bag-like filter element 92 is maintained by the skeleton 90a. If such a filter element 92 is inclined, for example, when the amount of fuel in the sub-tank 2 decreases, the area where the filter element 92 contacts the fuel decreases, and the intake amount may decrease. is there. Alternatively, when the filter element 92 contacts the sub tank bottom wall 2a, noise due to vibration may occur.
  • the cylindrical hole portion 94, the contact portion 96, and the opposing wall 98 are integrally formed of, for example, a rigid resin such as polyphenylene sulfide (PPS) resin or polyacetal (POM) resin.
  • a coupling member 99 is configured.
  • the cylindrical hole portion 94 is formed in a cylindrical hole shape having an inner peripheral wall 94a.
  • the cylindrical hole portion 94 has one end communicating with the internal space 92 a of the filter element 92.
  • the other end on the fuel pump 10 side can be fitted with the fuel pump 10 by opening as an opening 94b.
  • the contact portion 96 is formed in an annular shape connected to the outer peripheral side from the opening portion 94b of the cylindrical hole portion 94, and constitutes the cylindrical end portion of the coupling member 99 by facing the fuel pump 10 side in the axial direction Da. . That is, the contact portion 96 is provided on the outer peripheral side with respect to the inner peripheral wall 94a.
  • the suction filter 90 is coupled to the fuel pump 10 by press-fitting the coupling member 99 into the pump cover 71 along the axial direction Da.
  • the cylindrical hole portion 94 is fitted with the inner peripheral wall 94a thereof opposed to the outer peripheral wall 78 of the fuel pump 10 in the radial direction.
  • the outer peripheral wall 78 and the inner peripheral wall 94a are in a press-contact state over the entire circumference by being fitted by press fitting.
  • the contact portion 96 is in contact with the stopper wall 79 of the fuel pump 10 and the axial direction Da over the entire circumference, the displacement of the suction filter 90 with respect to the fuel pump 10 is regulated. .
  • the cylindrical hole portion 94 communicates the internal space 92 a of the filter element 92 and the suction opening holes 76 a of the suction hole portion 76 together.
  • the cylindrical hole portion 94 is disposed so that the rotation center line Cig passes through the inner peripheral wall 94a.
  • the cylindrical hole portion 94 is disposed on the same axis as the rotation shaft 13 a because the rotation center line Cig and the center of the cylindrical hole portion 94 substantially coincide with each other.
  • the outer center line Cog that is eccentric from the rotation center line Cig also passes through the inner peripheral wall 94a.
  • the inner peripheral wall 94a is provided on the outer peripheral side with respect to the inner gear 20 connected to the rotary shaft 13a and the rotor 13c of the electric motor 13.
  • the opposing wall 98 is formed so as to protrude from the inner peripheral wall 94a to the inner peripheral side on the filter element 92 side of the opening plane 73 disposed inside the cylindrical hole portion 94 and surrounded by the inner peripheral wall 94a.
  • the facing wall 98 faces the opening plane 73 with a gap in the axial direction Da.
  • a connecting portion 90b that protrudes from the location on the rotation center line Cig of the opposing wall 98 toward the filter element 92 and is connected to the frame portion 90a is provided. Further, the opposing wall 98 does not completely block the cylindrical hole portion 94, and a hollow cavity portion 90c is provided in the cylindrical hole portion 94 where the suction hole portion 76 is extended in the axial direction Da.
  • the cylindrical hole portion 94 formed with the inner peripheral wall 94a in a cylindrical hole shape is fitted with the outer peripheral wall 78 provided surrounding the suction hole 76 in the fuel pump 10 and the inner peripheral wall 94a facing each other.
  • the internal space 92a of the filter element 92 and the suction hole 76 are communicated.
  • the cylindrical hole part 94 is arrange
  • the contact portion 96 is in contact with the fuel pump 10 in the axial direction Da.
  • the contact portion 96 can receive a force that cancels the inclination from the fuel pump 10. Therefore, the inclination of the suction filter 90 can be suppressed.
  • the contact portion 96 is formed in an annular shape connected to the outer peripheral side from the opening portion 94b of the cylindrical hole portion 94. Therefore, the contact portion 96 and the fuel pump 10 are annularly contacted in the axial direction Da on the outer peripheral side of the inner peripheral wall 94a surrounding the rotation center line Cig. Under such circumstances, even if the suction filter 90 tends to tilt in an arbitrary direction due to transmission of vibrations that can occur in the fuel pump 10, the contact portion 96 can reliably receive a force that cancels the tilt. Therefore, the inclination of the suction filter 90 can be suppressed.
  • the cylindrical hole portion 94 is formed in a cylindrical hole shape coaxial with the rotating shaft 13a.
  • the cylindrical hole part 94 and the rotating shaft 13a are arrange
  • the suction hole 76 opens in the flat opening plane 73. Therefore, when the fuel is sucked into the suction hole 76 from the internal space 92a of the filter element 92 through the cylindrical hole 94, the fuel flow is less likely to be disturbed, and the fuel pressure fluctuation, pulsation, or vibration is suppressed. it can.
  • the second embodiment of the present disclosure is a modification of the first embodiment.
  • the second embodiment will be described with a focus on differences from the first embodiment.
  • the fuel pump 10 in the second embodiment includes an opening plane 73 in which the suction hole 76 opens.
  • the suction filter 290 in the second embodiment includes an opposing wall 98 facing the opening plane 73 and the axial direction Da, as in the first embodiment.
  • the suction filter 290 further includes an elastic member 291.
  • the elastic member 291 is, for example, a rubber packing mainly composed of synthetic rubber formed in a thin partial circle, and is formed to be elastically deformable.
  • the elastic member 291 is disposed between the opening plane 73 and the facing wall 98 and can exert an elastic force on the opening plane 73 and the facing wall 98.
  • the fuel pump 10 and the suction filter 290 are in contact with each other in the axial direction Da via the elastic member 291.
  • the elastic member 291 is disposed between the opening plane 73 and the opposing wall 98. Since such an elastic member 291 absorbs vibration that can be generated in the fuel pump 10 due to elastic deformation, the inclination of the suction filter 290 can be suppressed.
  • the suction filter 90 may include an elastic member on the inner peripheral wall 94a.
  • an annular rubber packing as an elastic member 991 is embedded in a part of the inner peripheral wall 94a.
  • the contact portion 96 may not be formed in an annular shape connected to the outer peripheral side from the opening portion 94b of the cylindrical hole portion 94.
  • the opposing wall 98 may correspond to the contact portion 96 by contacting the opening plane 73 of the fuel pump 10 in the axial direction Da.
  • a snap-fit claw may be provided on the suction filter 90 so that the claw contacts the fuel pump 10 in the axial direction Da.
  • the cylindrical hole portion 94 may be slightly decentered with respect to the rotation center line Cig as long as the rotation center line Cig is disposed so as to pass inside the inner peripheral wall 94a.
  • the cylindrical hole portion 94 may have a cylindrical hole shape other than the cylindrical hole shape, such as an ellipse or a polygon.
  • the suction hole 76 may be open to a curved surface other than the flat opening plane 73.
  • the suction hole 76 may be constituted by a single suction opening hole 76a.
  • the outer peripheral wall 78 may be configured to surround a single suction opening hole 76 a as the suction hole portion 76.
  • gasoline other than light oil or liquid fuel based on these may be employed.

Landscapes

  • Engineering & Computer Science (AREA)
  • Mechanical Engineering (AREA)
  • General Engineering & Computer Science (AREA)
  • Chemical & Material Sciences (AREA)
  • Combustion & Propulsion (AREA)
  • Chemical Kinetics & Catalysis (AREA)
  • Details And Applications Of Rotary Liquid Pumps (AREA)
  • Rotary Pumps (AREA)
PCT/JP2016/084871 2015-12-17 2016-11-25 燃料ポンプユニット Ceased WO2017104376A1 (ja)

Priority Applications (3)

Application Number Priority Date Filing Date Title
CN201680073322.6A CN108368803B (zh) 2015-12-17 2016-11-25 燃料泵单元
DE112016005804.7T DE112016005804T5 (de) 2015-12-17 2016-11-25 Kraftstoffpumpeneinheit
US16/061,070 US11441522B2 (en) 2015-12-17 2016-11-25 Fuel pump unit

Applications Claiming Priority (2)

Application Number Priority Date Filing Date Title
JP2015246453A JP6380363B2 (ja) 2015-12-17 2015-12-17 燃料ポンプユニット
JP2015-246453 2015-12-17

Publications (1)

Publication Number Publication Date
WO2017104376A1 true WO2017104376A1 (ja) 2017-06-22

Family

ID=59056355

Family Applications (1)

Application Number Title Priority Date Filing Date
PCT/JP2016/084871 Ceased WO2017104376A1 (ja) 2015-12-17 2016-11-25 燃料ポンプユニット

Country Status (5)

Country Link
US (1) US11441522B2 (enExample)
JP (1) JP6380363B2 (enExample)
CN (1) CN108368803B (enExample)
DE (1) DE112016005804T5 (enExample)
WO (1) WO2017104376A1 (enExample)

Families Citing this family (2)

* Cited by examiner, † Cited by third party
Publication number Priority date Publication date Assignee Title
JP6380364B2 (ja) * 2015-12-17 2018-08-29 株式会社デンソー 燃料ポンプ及び燃料ポンプモジュール
DE102023116638A1 (de) * 2023-06-23 2024-12-24 Valeo Embrayages Hydraulikpumpe für einen Antriebsstrang eines Kraftfahrzeugs und Getriebe mit einer solchen Hydraulikpumpe

Citations (9)

* Cited by examiner, † Cited by third party
Publication number Priority date Publication date Assignee Title
JPS56169470U (enExample) * 1980-05-19 1981-12-15
JPS57184250U (enExample) * 1981-05-19 1982-11-22
JPH07208291A (ja) * 1994-01-24 1995-08-08 Mitsubishi Electric Corp インタンク形ポンプ装置及びその製造方法
US6423221B1 (en) * 1997-05-03 2002-07-23 Mannesmann Vdo Ag Pump assembly
JP2005127249A (ja) * 2003-10-24 2005-05-19 Nifco Inc フューエルフィルタ装置
JP2005315243A (ja) * 2004-04-02 2005-11-10 Denso Corp 燃料ポンプおよびそれを用いた燃料供給装置
JP2008082184A (ja) * 2006-09-26 2008-04-10 Denso Corp サクションフィルタおよびそれを用いた燃料供給装置
JP2014152726A (ja) * 2013-02-12 2014-08-25 Denso Corp 燃料ポンプモジュール
JP2015155700A (ja) * 2015-04-21 2015-08-27 株式会社デンソー 燃料供給装置

Family Cites Families (22)

* Cited by examiner, † Cited by third party
Publication number Priority date Publication date Assignee Title
JPS57184250A (en) 1982-04-12 1982-11-12 Nippon Telegr & Teleph Corp <Ntt> Field-effect type semiconductor circuit element
US4500270A (en) * 1982-07-29 1985-02-19 Walbro Corporation Gear rotor fuel pump
US4831990A (en) * 1986-11-07 1989-05-23 Walbro Corporation In-tank fuel reservoir with reservoir fuel level control
US4869225A (en) * 1987-10-26 1989-09-26 Nippondenso Co., Ltd. Fuel supply device for vehicles
US5110265A (en) * 1991-01-16 1992-05-05 Aisan Kogyo Kabushiki Kaisha Fuel pump
DE69920601T2 (de) * 1998-02-27 2006-03-09 Stanadyne Corp., Windsor Brennstoffzufuhrpumpe für benzineinspritzanlagen
US5908020A (en) * 1998-07-13 1999-06-01 Uis, Inc. Marine fuel pump and cooling system
JP2002028408A (ja) * 2000-07-18 2002-01-29 Kyosan Denki Co Ltd 濾過器
JP2005083303A (ja) * 2003-09-10 2005-03-31 Aisan Ind Co Ltd フューエルポンプの振動緩和構造
DE102005015014A1 (de) 2004-04-02 2005-11-03 Denso Corp., Kariya Brennstoffpumpe, Brennstoffzufuhrvorrichtung unter Verwendung der Brennstoffpumpe und Verfahren zur Herstellung der Brennstoffpumpe
JP4875398B2 (ja) * 2006-04-21 2012-02-15 株式会社ケーヒン 燃料供給モジュール
DE102008040479A1 (de) * 2007-07-23 2009-02-05 Denso Corp., Kariya-shi Kraftstoffzufuhrvorrichtung
JP4914389B2 (ja) * 2008-03-11 2012-04-11 株式会社デンソー サクションフィルタ
JP5280329B2 (ja) * 2009-09-30 2013-09-04 本田技研工業株式会社 燃料ポンプ構造
JP2011122563A (ja) * 2009-12-14 2011-06-23 Denso Corp 燃料ポンプ
US9109554B2 (en) * 2011-10-19 2015-08-18 Coavis Fuel pump module for vehicle having excellent filtering efficiency
US8939736B2 (en) * 2011-11-30 2015-01-27 Walbro Engine Management, L.L.C. Fuel pump assembly
JP5858001B2 (ja) * 2013-06-05 2016-02-10 株式会社デンソー モータ、及び、それを用いた燃料ポンプ
JP5880977B2 (ja) 2013-08-28 2016-03-09 株式会社デンソー 燃料ポンプモジュールの製造方法
JP6248868B2 (ja) * 2013-11-05 2017-12-20 株式会社デンソー 燃料供給装置
US9968874B2 (en) * 2015-04-06 2018-05-15 Delphi Technologies Ip Limited Fluid pump with a strainer
JP6421712B2 (ja) 2015-07-06 2018-11-14 株式会社デンソー 容積ポンプ

Patent Citations (9)

* Cited by examiner, † Cited by third party
Publication number Priority date Publication date Assignee Title
JPS56169470U (enExample) * 1980-05-19 1981-12-15
JPS57184250U (enExample) * 1981-05-19 1982-11-22
JPH07208291A (ja) * 1994-01-24 1995-08-08 Mitsubishi Electric Corp インタンク形ポンプ装置及びその製造方法
US6423221B1 (en) * 1997-05-03 2002-07-23 Mannesmann Vdo Ag Pump assembly
JP2005127249A (ja) * 2003-10-24 2005-05-19 Nifco Inc フューエルフィルタ装置
JP2005315243A (ja) * 2004-04-02 2005-11-10 Denso Corp 燃料ポンプおよびそれを用いた燃料供給装置
JP2008082184A (ja) * 2006-09-26 2008-04-10 Denso Corp サクションフィルタおよびそれを用いた燃料供給装置
JP2014152726A (ja) * 2013-02-12 2014-08-25 Denso Corp 燃料ポンプモジュール
JP2015155700A (ja) * 2015-04-21 2015-08-27 株式会社デンソー 燃料供給装置

Also Published As

Publication number Publication date
DE112016005804T5 (de) 2018-10-11
US20180363607A1 (en) 2018-12-20
CN108368803B (zh) 2021-05-04
JP6380363B2 (ja) 2018-08-29
CN108368803A (zh) 2018-08-03
US11441522B2 (en) 2022-09-13
JP2017110590A (ja) 2017-06-22

Similar Documents

Publication Publication Date Title
CN108291507B (zh) 燃料泵及燃料泵模块
JP5474117B2 (ja) 電動ポンプ、及び電動ポンプの製造方法
JP5511770B2 (ja) 電動ポンプ、及び電動ポンプの製造方法
JP5550419B2 (ja) 圧縮機
JP6380363B2 (ja) 燃料ポンプユニット
JP2016200096A (ja) 流体ポンプ
JP5499151B2 (ja) 可変容量形ポンプ
KR101978318B1 (ko) 연료펌프
JP6421712B2 (ja) 容積ポンプ
JP6817891B2 (ja) カートリッジ式ベーンポンプ、及びポンプ装置
CN107208626A (zh) 燃料泵
US10612547B2 (en) Fuel pump
US10393077B2 (en) Fuel pump
JP7144652B2 (ja) オイルポンプ
JPH0311188A (ja) 圧縮機
JP6507998B2 (ja) 燃料ポンプ
CN112576498B (zh) 齿轮泵
WO2017104420A1 (ja) 燃料ポンプ
CN102257275A (zh) 内齿轮泵
JP6979798B2 (ja) 燃料ポンプおよび燃料供給装置
CN110714914A (zh) 滚子泵

Legal Events

Date Code Title Description
121 Ep: the epo has been informed by wipo that ep was designated in this application

Ref document number: 16875360

Country of ref document: EP

Kind code of ref document: A1

WWE Wipo information: entry into national phase

Ref document number: 112016005804

Country of ref document: DE

122 Ep: pct application non-entry in european phase

Ref document number: 16875360

Country of ref document: EP

Kind code of ref document: A1