WO2017098792A1 - 車両用空調装置 - Google Patents

車両用空調装置 Download PDF

Info

Publication number
WO2017098792A1
WO2017098792A1 PCT/JP2016/079548 JP2016079548W WO2017098792A1 WO 2017098792 A1 WO2017098792 A1 WO 2017098792A1 JP 2016079548 W JP2016079548 W JP 2016079548W WO 2017098792 A1 WO2017098792 A1 WO 2017098792A1
Authority
WO
WIPO (PCT)
Prior art keywords
support member
axis
opening
air
longitudinal direction
Prior art date
Legal status (The legal status is an assumption and is not a legal conclusion. Google has not performed a legal analysis and makes no representation as to the accuracy of the status listed.)
Ceased
Application number
PCT/JP2016/079548
Other languages
English (en)
French (fr)
Japanese (ja)
Inventor
仲戸 宏治
鈴木 敦
靖洋 渡辺
Current Assignee (The listed assignees may be inaccurate. Google has not performed a legal analysis and makes no representation or warranty as to the accuracy of the list.)
Mitsubishi Heavy Industries Thermal Systems Ltd
Original Assignee
Mitsubishi Heavy Industries Automotive Thermal Systems Co Ltd
Priority date (The priority date is an assumption and is not a legal conclusion. Google has not performed a legal analysis and makes no representation as to the accuracy of the date listed.)
Filing date
Publication date
Application filed by Mitsubishi Heavy Industries Automotive Thermal Systems Co Ltd filed Critical Mitsubishi Heavy Industries Automotive Thermal Systems Co Ltd
Priority to DE112016005618.4T priority Critical patent/DE112016005618B4/de
Priority to CN201680071721.9A priority patent/CN108367652B/zh
Priority to US15/781,847 priority patent/US10828967B2/en
Publication of WO2017098792A1 publication Critical patent/WO2017098792A1/ja
Anticipated expiration legal-status Critical
Ceased legal-status Critical Current

Links

Images

Classifications

    • BPERFORMING OPERATIONS; TRANSPORTING
    • B60VEHICLES IN GENERAL
    • B60HARRANGEMENTS OF HEATING, COOLING, VENTILATING OR OTHER AIR-TREATING DEVICES SPECIALLY ADAPTED FOR PASSENGER OR GOODS SPACES OF VEHICLES
    • B60H3/00Other air-treating devices
    • B60H3/06Filtering
    • B60H3/0608Filter arrangements in the air stream
    • BPERFORMING OPERATIONS; TRANSPORTING
    • B01PHYSICAL OR CHEMICAL PROCESSES OR APPARATUS IN GENERAL
    • B01DSEPARATION
    • B01D46/00Filters or filtering processes specially modified for separating dispersed particles from gases or vapours
    • B01D46/0002Casings; Housings; Frame constructions
    • BPERFORMING OPERATIONS; TRANSPORTING
    • B01PHYSICAL OR CHEMICAL PROCESSES OR APPARATUS IN GENERAL
    • B01DSEPARATION
    • B01D46/00Filters or filtering processes specially modified for separating dispersed particles from gases or vapours
    • B01D46/10Particle separators, e.g. dust precipitators, using filter plates, sheets or pads having plane surfaces
    • BPERFORMING OPERATIONS; TRANSPORTING
    • B01PHYSICAL OR CHEMICAL PROCESSES OR APPARATUS IN GENERAL
    • B01DSEPARATION
    • B01D46/00Filters or filtering processes specially modified for separating dispersed particles from gases or vapours
    • B01D46/42Auxiliary equipment or operation thereof
    • BPERFORMING OPERATIONS; TRANSPORTING
    • B01PHYSICAL OR CHEMICAL PROCESSES OR APPARATUS IN GENERAL
    • B01DSEPARATION
    • B01D46/00Filters or filtering processes specially modified for separating dispersed particles from gases or vapours
    • B01D46/52Particle separators, e.g. dust precipitators, using filters embodying folded corrugated or wound sheet material
    • B01D46/521Particle separators, e.g. dust precipitators, using filters embodying folded corrugated or wound sheet material using folded, pleated material
    • BPERFORMING OPERATIONS; TRANSPORTING
    • B60VEHICLES IN GENERAL
    • B60HARRANGEMENTS OF HEATING, COOLING, VENTILATING OR OTHER AIR-TREATING DEVICES SPECIALLY ADAPTED FOR PASSENGER OR GOODS SPACES OF VEHICLES
    • B60H1/00Heating, cooling or ventilating [HVAC] devices
    • B60H1/00642Control systems or circuits; Control members or indication devices for heating, cooling or ventilating devices
    • B60H1/00664Construction or arrangement of damper doors
    • B60H1/00671Damper doors moved by rotation; Grilles
    • B60H1/00678Damper doors moved by rotation; Grilles the axis of rotation being in the door plane, e.g. butterfly doors
    • BPERFORMING OPERATIONS; TRANSPORTING
    • B60VEHICLES IN GENERAL
    • B60HARRANGEMENTS OF HEATING, COOLING, VENTILATING OR OTHER AIR-TREATING DEVICES SPECIALLY ADAPTED FOR PASSENGER OR GOODS SPACES OF VEHICLES
    • B60H1/00Heating, cooling or ventilating [HVAC] devices
    • B60H1/00642Control systems or circuits; Control members or indication devices for heating, cooling or ventilating devices
    • B60H1/00814Control systems or circuits characterised by their output, for controlling particular components of the heating, cooling or ventilating installation
    • B60H1/00821Control systems or circuits characterised by their output, for controlling particular components of the heating, cooling or ventilating installation the components being ventilating, air admitting or air distributing devices
    • B60H1/00835Damper doors, e.g. position control
    • B60H1/00849Damper doors, e.g. position control for selectively commanding the induction of outside or inside air
    • BPERFORMING OPERATIONS; TRANSPORTING
    • B01PHYSICAL OR CHEMICAL PROCESSES OR APPARATUS IN GENERAL
    • B01DSEPARATION
    • B01D2265/00Casings, housings or mounting for filters specially adapted for separating dispersed particles from gases or vapours
    • B01D2265/06Details of supporting structures for filtering material, e.g. cores
    • BPERFORMING OPERATIONS; TRANSPORTING
    • B01PHYSICAL OR CHEMICAL PROCESSES OR APPARATUS IN GENERAL
    • B01DSEPARATION
    • B01D2273/00Operation of filters specially adapted for separating dispersed particles from gases or vapours
    • B01D2273/30Means for generating a circulation of a fluid in a filtration system, e.g. using a pump or a fan
    • BPERFORMING OPERATIONS; TRANSPORTING
    • B01PHYSICAL OR CHEMICAL PROCESSES OR APPARATUS IN GENERAL
    • B01DSEPARATION
    • B01D2279/00Filters adapted for separating dispersed particles from gases or vapours specially modified for specific uses
    • B01D2279/50Filters adapted for separating dispersed particles from gases or vapours specially modified for specific uses for air conditioning
    • BPERFORMING OPERATIONS; TRANSPORTING
    • B60VEHICLES IN GENERAL
    • B60HARRANGEMENTS OF HEATING, COOLING, VENTILATING OR OTHER AIR-TREATING DEVICES SPECIALLY ADAPTED FOR PASSENGER OR GOODS SPACES OF VEHICLES
    • B60H1/00Heating, cooling or ventilating [HVAC] devices
    • B60H1/00007Combined heating, ventilating, or cooling devices
    • B60H1/00021Air flow details of HVAC devices
    • B60H2001/00078Assembling, manufacturing or layout details
    • B60H2001/00085Assembling, manufacturing or layout details of air intake
    • BPERFORMING OPERATIONS; TRANSPORTING
    • B60VEHICLES IN GENERAL
    • B60HARRANGEMENTS OF HEATING, COOLING, VENTILATING OR OTHER AIR-TREATING DEVICES SPECIALLY ADAPTED FOR PASSENGER OR GOODS SPACES OF VEHICLES
    • B60H1/00Heating, cooling or ventilating [HVAC] devices
    • B60H1/00507Details, e.g. mounting arrangements, desaeration devices
    • B60H2001/006Noise reduction
    • BPERFORMING OPERATIONS; TRANSPORTING
    • B60VEHICLES IN GENERAL
    • B60HARRANGEMENTS OF HEATING, COOLING, VENTILATING OR OTHER AIR-TREATING DEVICES SPECIALLY ADAPTED FOR PASSENGER OR GOODS SPACES OF VEHICLES
    • B60H3/00Other air-treating devices
    • B60H3/06Filtering
    • B60H3/0608Filter arrangements in the air stream
    • B60H2003/065Details for holding filter elements in position

Definitions

  • the present invention relates to a vehicle air conditioner.
  • the vehicle is provided with a vehicle air conditioner that is a heating ventilating air conditioning (HVAC).
  • HVAC heating ventilating air conditioning
  • the vehicle air conditioner has a filter unit disposed upstream of the blower, and improves the quality of air inside the vehicle by collecting foreign matter and the like by the filter unit.
  • the force of the air may cause the filter portion to be deformed to bend toward the blower. Therefore, as disclosed in Patent Document 1, a support member for suppressing the deflection of the filter portion is provided.
  • the NZ sound When air flows around the support member, depending on the structure of the support member, the NZ sound may be amplified and an unpleasant noise may be generated.
  • the NZ sound is a narrow band noise generated in correlation with the number of rotations (N) and the number of fans (Z) of the blower, and is considered to be generated due to the deviation of the flow velocity or pressure of air flowing into the blower.
  • An object of the present invention is to provide a vehicle air conditioner capable of suppressing the generation of noise.
  • a housing having an opening
  • a fan having a fan housed inside the housing and rotating about a rotation axis parallel to the first axis, and disposed between a gas inlet and the opening And at least a part of the filter portion through which the gas taken in from the gas intake and flows into the opening passes, and the blower and the filter portion is disposed at the opening and supports the filter portion
  • the support member includes a rib extending in a longitudinal direction in a predetermined plane orthogonal to the first axis, and a short in the predetermined plane orthogonal to the longitudinal direction from the rib
  • An air conditioner for a vehicle comprising: an overhang portion extending in a direction.
  • the bending of the filter is suppressed by the support member at least a part of which is disposed in the opening. Be done. And this inventor acquired the knowledge that generation
  • the generation of stagnant gas is suppressed, the deviation of the flow velocity or pressure of the gas flowing into the blower is suppressed, and the generation of abnormal noise such as NZ noise is suppressed.
  • the rib portion by providing the rib portion, the strength of the longitudinally extending supporting member is maintained.
  • the support member is fixed to the housing so as to be disposed at the center of the opening.
  • a damper which is rotatable about a rotation axis parallel to the second axis in the predetermined plane and which opens and closes the gas inlet, and the rotation axis of the fan and the rotation axis of the damper are orthogonal to each other.
  • the gas intake port is disposed away from the rotation axis of the damper in a direction parallel to a third axis in the predetermined plane orthogonal to the second axis.
  • the vehicle is provided with a gas intake that takes in the outside air and a gas intake that takes in the inside air, and a damper that rotates around a rotation axis switches between intake of the outside air and intake of the inside air.
  • a gas intake that takes in the outside air
  • a gas intake that takes in the inside air
  • a damper that rotates around a rotation axis switches between intake of the outside air and intake of the inside air.
  • the longitudinal direction is preferably parallel to the second axis.
  • the inventor of the present invention can effectively suppress the generation of abnormal noise by projecting the overhanging portion in a direction parallel to the third axis from the rib in a state where the longitudinal direction of the support member and the rotation axis of the damper are parallel. I got the knowledge that.
  • the overhanging portion overhangs from the rib portion on both sides in the short direction.
  • the inventors of the present invention have found that by providing the overhanging portions on both sides of the rib, the generation of abnormal noise can be more effectively suppressed.
  • the overhanging portion includes a first portion having a first dimension and a second portion having a second dimension different from the first dimension, and the overhanging amount from the rib portion It is preferable that the second portions are alternately provided in the longitudinal direction.
  • the generation of abnormal noise can be effectively suppressed. It is surmised that the generation of abnormal noise can be effectively suppressed because the flow of gas is further disturbed by the unevenness provided at the end of the overhang portion.
  • the overhanging portion includes a third portion having a third dimension which is parallel to the first axis and a fourth portion having a fourth dimension different from the third dimension.
  • the portion and the fourth portion are alternately provided in the longitudinal direction.
  • the third portion and the fourth portion alternately in the longitudinal direction of the support member and providing asperities on the upper surface or the lower surface of the overhang portion, it is possible to effectively suppress the generation of abnormal noise. Also in this case, since the flow of gas is further disturbed by the unevenness provided on the upper surface or the lower surface of the overhang portion, it is presumed that the generation of abnormal noise can be effectively suppressed.
  • a vehicle air conditioner capable of suppressing the generation of abnormal noise is provided.
  • FIG. 1 is a cross-sectional view schematically showing an example of a vehicular air-conditioning system according to the first embodiment.
  • FIG. 2 is a top view of the housing according to the first embodiment, and is a view on arrow AA of FIG.
  • FIG. 3 is a perspective view showing an example of the support member and the filter unit according to the first embodiment.
  • FIG. 4 is a cross-sectional view showing an example of the support member according to the first embodiment.
  • FIG. 5 is a cross-sectional view showing a support member according to a comparative example.
  • FIG. 6 is a cross-sectional view showing an example of the support member according to the second embodiment.
  • FIG. 7 is a cross-sectional view showing an example of the support member according to the third embodiment.
  • FIG. 8 is a cross-sectional view showing an example of the support member according to the fourth embodiment.
  • FIG. 9 is a cross-sectional view showing an example of the support member according to the fifth embodiment.
  • FIG. 10 is a perspective view showing an example of the support member according to the sixth embodiment.
  • FIG. 11 is a perspective view showing an example of the support member according to the sixth embodiment.
  • FIG. 12 is a perspective view showing an example of a support member according to a seventh embodiment.
  • FIG. 13 is a top view of a housing according to an eighth embodiment.
  • the Z axis (first axis), the Y axis (second axis), and the X axis (third axis) are orthogonal to each other.
  • the XY plane (predetermined plane) includes the X axis and the Y axis, and is orthogonal to the Z axis.
  • the + Z direction is appropriately referred to as the upper side
  • the ⁇ Z direction is appropriately referred to as the lower side.
  • FIG. 1 is a cross-sectional view schematically showing an example of a vehicle air conditioner 1 according to the present embodiment.
  • FIG. 2 is a view of the housing 2 according to the present embodiment as viewed from above, and corresponds to the view on arrow AA of FIG.
  • the vehicle air conditioner 1 includes a housing 2, an inside / outside air switching box 3 disposed above the housing 2, and a blower 4 at least a part of which is accommodated inside the housing 2. And a filter portion 5 housed inside the inside / outside air switching box 3 and a support member 6 for supporting the filter portion 5.
  • the housing 2 has an opening 2M into which air, which is a gas, flows, and an upper surface 2T disposed around the opening 2M.
  • the upper surface 2T faces the filter unit 5.
  • the upper surface 2T includes a curved surface, and the opening 2M is formed in a bellmouth shape.
  • the inside / outside air switching box 3 has a gas inlet 7 for taking in air, and a damper 8 for opening and closing the gas inlet 7.
  • the gas inlet 7 includes an outside air inlet 7A for taking in outside air which is air outside the vehicle, and an inside air inlet 7B for taking in air which is air inside the vehicle.
  • the damper 8 is accommodated inside the inside / outside air switching box 3 and switches between intake of the outside air and intake of the inside air by opening one of the outside air inlet 7A and the inside air inlet 7B and closing the other.
  • the damper 8 is rotatable about a rotation axis BX parallel to the Y axis. By rotating around the rotation axis BX, the damper 8 can open one of the outside air inlet 7A and the inside air inlet 7B and close the other.
  • the inside of the inside / outside air switching box 3 and the inside of the housing 2 are connected via the opening 2M.
  • the air taken in from the gas inlet 7 flows into the inside of the housing 2 through the opening 2M.
  • the blower 4 has a fan 9 housed inside the housing 2 and a motor 10 generating power for rotating the fan 9.
  • the fan 9 is a sirocco fan and rotates about a rotation axis AX parallel to the Z axis by the operation of the motor 10.
  • the filter unit 5 is disposed between the gas inlet 7 and the opening 2M.
  • the air taken in from the gas inlet 7 passes through the filter unit 5 and flows into the opening 2M.
  • the filter unit 5 includes, for example, a filter 5F made of filter paper, and collects foreign matters and the like from the air taken in from the gas inlet 7.
  • the filter unit 5 is disposed above the housing 2.
  • the lower surface of the filter unit 5 and the upper surface 2T of the housing 2 are separated. Thereby, the increase in the ventilation resistance in the peripheral portion of the filter unit 5 is suppressed.
  • the upper surface of the filter unit 5 is disposed at a height not in contact with the damper 8.
  • the support member 6 is disposed between the blower 4 and the filter unit 5 and supports the lower surface of the filter unit 5.
  • the force of the gas flowing from the gas inlet 7 toward the opening 2M may cause the filter unit 5 to bend downward.
  • the support member 6 supports the filter unit 5 so that the filter unit 5 does not bend downward.
  • the support member 6 is a rod-like member, and extends in a predetermined direction in the XY plane.
  • the direction in which the support member 6 extends is appropriately referred to as the longitudinal direction
  • the direction in the XY plane orthogonal to the longitudinal direction is appropriately referred to as the lateral direction.
  • the longitudinal direction of the support member 6 is parallel to the Y axis, and the lateral direction of the support member 6 is parallel to the X axis.
  • the support member 6 is fixed to the housing 2. In the present embodiment, only one support member 6 is provided so as to straddle the opening 2M. At least a portion of the support member 6 is disposed in the opening 2M.
  • the opening 2M In the XY plane, the opening 2M is circular, and the center of the opening 2M intersects with the rotation axis AX of the fan 9. The position of the center of the opening 2M in the XY plane coincides with the position of the rotation axis AX.
  • One end and the other end of the support member 6 are fixed to the housing 2 so that the central portion of the support member 6 in the longitudinal direction is disposed at the center of the opening 2M.
  • rotation axis AX of the fan 9 and the rotation axis BX of the damper 8 are orthogonal to each other. In the XY plane, the rotation axis AX and the rotation axis BX overlap.
  • the support member 6 is disposed immediately below the rotation axis BX of the damper 8.
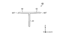
  • the support member 6 has a rib portion 61 extending in the longitudinal direction, and an overhang portion 62 protruding in the short direction from the rib portion 61.
  • the rib portion 61 in the cross section orthogonal to the longitudinal direction of the support member 6, the rib portion 61 has a rectangular cross-sectional shape elongated in the Z-axis direction, and the overhang portion 62 has a rectangular shape elongated in the X-axis direction It has a cross-sectional shape.
  • the overhanging portion 62 overhangs in the lateral direction from the lower end (end on the ⁇ Z side) of the rib 61. Further, in the present embodiment, the overhanging portions 62 project from the rib portion 61 on both sides in the short direction.
  • the overhanging amount of the overhanging portion 62 on the + X side is equal to the overhanging amount of the overhanging portion 62 on the ⁇ X side.
  • t / D is 2.5 [%].
  • the overhang amount t refers to the distance in the lateral direction between the tip of the overhanging portion 62 in the lateral direction and the boundary between the overhanging portion 62 and the rib portion 61.
  • the dimension D of the opening 2M refers to the diameter of the opening 2M in the XY plane.
  • the shape of the support member 6 is such that the condition of the following equation (2) is satisfied. It is fixed.
  • T / D is 7 [%].
  • the dimension T of the overhanging portion 62 refers to the distance between one end of the overhanging portion 62 and the other end in the lateral direction.
  • the gas inlet 7 is disposed apart from the rotation axis BX of the damper 8 in the X-axis direction.
  • the outside air intake 7A is disposed on the ⁇ X side of the rotation axis BX
  • the interior air intake 7B is disposed on the + X side of the rotation axis BX.
  • the gas inlet 7 and the support member 6 do not overlap, and the support member 6 is disposed at a position deviated from immediately below the gas inlet 7. Air taken in from the gas inlet 7 impinges on the support member 6 from an oblique direction.
  • FIG. 3 is a perspective view showing an example of the support member 6 and the filter unit 5 according to the present embodiment.
  • the filter unit 5 includes a filter 5F made of filter paper and a packing 5P made of an elastic material such as urethane foam or a rubber material.
  • the filter 5F is formed by alternately bending the filter paper a plurality of times, and has a plurality of bent portions 5C.
  • the ridge line of the bending portion 5C and the longitudinal direction of the support member 6 are orthogonal to each other.
  • the packing 5P is provided on the side surface of the bent portion 5C of the filter 5F.
  • the gas inlet 7 is disposed above the opening 2M, and the air from the gas inlet 7 flows in the ⁇ Z direction and flows into the opening 2M. A part of the air taken in from the gas inlet 7 and passed through the filter unit 5 strikes the support member 6 from an oblique direction.
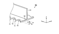
  • FIG. 4 is an enlarged cross-sectional view of the support member 6 according to the present embodiment.
  • the rib portion 61 has a first side surface 61A facing in the -X direction and a second side surface 61B facing in the + X direction.
  • the overhang portion 62 has an upper surface 62A facing in the + Z direction and a lower surface 62B facing in the ⁇ Z direction.
  • the first side surface 61A and the second side surface 61B are substantially parallel, and the upper surface 62A and the lower surface 62B are substantially parallel.
  • FIG. 4 schematically shows the flow of air when the inside air intake 7B is closed by the damper 8 and air is taken in from the outside air intake 7A.
  • the air from the outside air inlet 7A flows along the upper face 62A, bends at the tip 62T of the overhanging part 62 on the -X side, and flows into the space where the lower face 62B faces.
  • the angle ⁇ between the upper surface 62A and the lower surface 62B is approximately 360 °, and the air that strikes the first side surface 61A generates a vortex on the lower surface 62B side.
  • the air that did not hit the first side surface 61A bends at the tip portion 62T of the overhanging portion 62 on the + X side of the rib portion 61, and flows into the space facing the lower surface 62B. Air that has not hit the first side surface 61A also generates a vortex on the lower surface 62B side.
  • the NZ sound is amplified and a remarkable noise is generated if a bias (unevenness) occurs in the flow velocity or pressure of the air flowing into the blower 4 through the opening 2M.
  • the NZ sound is a narrow band noise generated in correlation with the number of rotations (N) and the number of fans (Z) of the blower 4 and is generated by the periodic pressure fluctuation caused by the flow of the blower 4 .
  • NZ noise is considered to be generated when the flow velocity or pressure of the air flowing into the blower 4 is biased.
  • the inventors of the present invention have found that by providing the overhanging portion 62 and disturbing the flow of air flowing into the blower 4, it is possible to suppress the generation of abnormal noise such as NZ noise.
  • FIG. 5 is a view showing a support member 6J according to a comparative example.
  • the support member 6J has a cross-sectional shape extending in the Z-axis direction and does not have an overhang.
  • the support member 6J has a first side face 6JA facing in the -X direction and a second side face 6JB facing in the + X direction.
  • the present inventor can effectively suppress the generation of abnormal noise as compared with the case where the support member 6J according to the comparative example shown in FIG. 5 is used. I got
  • the overhanging portion 62 on the support member 6 even if the air blower 4 operates and air flowing around the support member 6 flows into the air blower 4, The amplification of NZ sound can be suppressed to suppress the generation of unpleasant noise. Further, by providing the rib portion 61, the strength of the support member 6 extending in the longitudinal direction is improved. Therefore, even if the force of air flowing from the gas inlet 7 to the opening 2M through the filter unit 5 causes the filter unit 5 to bend, the support member 6 can effectively suppress the bending of the filter unit 5.
  • the support member 6 in order to effectively suppress the deflection of the filter unit 5, the support member 6 is provided so as to straddle the opening 2M.
  • the support member 6 is disposed so as to straddle the opening 2M, and the structure of the support member 6 is improved even in a situation where the air directly strikes the support member 6. Noise can be suppressed while suppressing noise.
  • At least a part of the support member 6 is disposed at the center of the opening 2M. Since the portion where the amount of deflection of the filter portion 5 is largest is near the center of the opening 2M, the deflection of the filter portion 5 is effectively suppressed by arranging the support member 6 at the center of the opening 2M. Ru.
  • the vehicle is provided with an outside air intake 7A for taking in the outside air and an inside air intake 7B for taking the inside air, and the damper 8 rotating around the rotation axis BX switches between intake of outside air and intake of inside air.
  • the gas intake 7 (the outside air intake 7A and the inside air intake 7B) is often provided at a position separated from the rotation axis BX of the damper 8 in the X axis direction, and as a result, from the gas intake 7 to the opening 2M.
  • the air flowing toward it strikes the support member 6 in an oblique direction.
  • the inventors of the present invention have obtained the knowledge that the generation of abnormal noise can be effectively suppressed by providing the overhanging portion 62 on the support member 6 in such a positional relationship between the gas intake 7 and the support member 6. .
  • the inventor of the present invention can By overhanging in the direction, it was found that generation of abnormal noise can be effectively suppressed.
  • FIG. 6 is a cross-sectional view showing an example of a support member 6B according to the present embodiment.
  • the overhanging portion 62 overhangs in the + X direction from the lower end portion of the rib portion 61, and does not overhang in the ⁇ X direction.
  • the air that has hit the support member 6B is disturbed and flows into the blower 4, so it is possible to suppress the generation of abnormal noise.
  • FIG. 7 is a cross-sectional view showing an example of a support member 6C according to the present embodiment.
  • the overhanging portion 62 projects in the X-axis direction from the central portion of the rib portion 61 in the Z-axis direction.
  • the overhanging portions 62 project from the central portion of the rib portion 61 on both sides in the lateral direction.
  • the air that has hit the support member 6C is disturbed and flows into the blower 4, so it is possible to suppress the generation of abnormal noise.
  • FIG. 8 is a cross-sectional view showing an example of a support member 6D according to the present embodiment.
  • the overhanging portion 62 projects from the upper end portion of the rib portion 61 in the X-axis direction.
  • the overhanging portion 62 overhangs from the upper end portion of the rib portion 61 on both sides in the lateral direction.
  • the air that has hit the support member 6D is disturbed and flows into the blower 4, so it is possible to suppress the generation of abnormal noise.
  • FIG. 9 is a cross-sectional view showing an example of a support member 6E according to the present embodiment.
  • the cross-sectional shape of the support member 6E orthogonal to the longitudinal direction (Y-axis direction) is triangular.
  • the support member 6E has an upper surface 62A that faces the filter unit 5 and receives air, and a lower surface 62B that faces the direction of the blower 4 (-Z direction).
  • the angle ⁇ between the upper surface 62A and the lower surface 62B is, for example, 300 °. That is, the corner of the support member 6E defined by the upper surface 62A and the lower surface 62B is sharp (a sharp angle).
  • the angle ⁇ between the upper surface 62A and the lower surface 62B may be smaller than 360 [°]. Note that the angle ⁇ is preferably larger than 270 ° in order to disturb the flow of air hitting the support member 6E and to effectively suppress the generation of abnormal noise.
  • FIG. 10 is a perspective view showing a part of a support member 6F according to the present embodiment.
  • the overhanging portion 62 includes the first portion 71 of the first dimension F1 and the second portion 72 of the second dimension F2 different from the first dimension F1 from the rib portion 61.
  • the first portions 71 and the second portions 72 are alternately provided in the longitudinal direction (Y-axis direction).
  • the first dimension F1 is larger than the second dimension F2.
  • the unevenness is provided at the tip of the overhanging portion 62 in the short direction (X-axis direction).
  • the pitch of the asperities is constant.
  • corrugation means the distance between the convex parts which adjoin in a longitudinal direction, or the distance between the adjacent recessed parts.
  • the tips of the projections of the asperities are sharp.
  • the inventors of the present invention have obtained the knowledge that the generation of the abnormal noise can be more effectively suppressed by providing the uneven portion at the tip of the overhanging portion 62. It is surmised that the generation of abnormal noise can be suppressed because the flow of gas is further disturbed by the unevenness provided at the tip of the overhanging portion 62.
  • the tip of the convex portion of the concave and convex may be rounded.
  • FIG. 12 is a perspective view showing a part of a support member 6H according to the present embodiment.
  • the overhanging portion 62 includes a third portion 73 having a third dimension H3 and a fourth portion 74 having a fourth dimension H4 different from the third dimension H3 in the Z-axis direction.
  • the portions 73 and the fourth portions 74 are alternately provided in the longitudinal direction (Y-axis direction).
  • the third dimension F3 is larger than the fourth dimension F4.
  • the inventors of the present invention have also obtained the knowledge that the generation of abnormal noise can be effectively suppressed also by providing unevenness on the upper surface of the overhanging portion 62. Also in this case, since the flow of gas is further disturbed by the unevenness provided on the upper surface of the overhang portion 62, it is presumed that the generation of abnormal noise can be suppressed.
  • the unevenness may be provided on the lower surface of the support member 6H facing the blower 4.
  • FIG. 13 is a top view of the housing 2 according to the present embodiment.
  • the longitudinal direction of the support member 6 and the rotation axis BX are parallel to each other.
  • the longitudinal direction of the support member 6 may be inclined with respect to the rotation axis BX in the XY plane.
  • the angle ⁇ between the longitudinal direction of the support member 6 and the rotation axis BX in the XY plane is preferably 45 ° or less, and more preferably 30 ° or less.
  • the air taken in from the gas inlet 7 is made to surround the support member 6 by setting the angle ⁇ to 45 ° or less. Even if it flows and flows into the blower 4, generation of abnormal noise can be suppressed.
  • Reference Signs List 1 vehicle air conditioner, 2 housing, 2M opening, 2T upper surface, 3 inside / outside air switching box, 4 blower, 5 filter unit, 5F filter, 6 support member, 6B, 6C, 6D, 6E, 6G, 6H support Members, 7 gas inlets, 7A open air inlets, 7B inner air inlets, 8 dampers, 9 fans, 10 motors, 61 ribs, 62 overhangs, 71 first portion, 72 second portion, 73 third portion, 74 4th part, AX rotation axis, BX rotation axis.

Landscapes

  • Chemical & Material Sciences (AREA)
  • Chemical Kinetics & Catalysis (AREA)
  • Engineering & Computer Science (AREA)
  • Mechanical Engineering (AREA)
  • Physics & Mathematics (AREA)
  • Thermal Sciences (AREA)
  • Air-Conditioning For Vehicles (AREA)
  • Filtering Of Dispersed Particles In Gases (AREA)
PCT/JP2016/079548 2015-12-08 2016-10-04 車両用空調装置 Ceased WO2017098792A1 (ja)

Priority Applications (3)

Application Number Priority Date Filing Date Title
DE112016005618.4T DE112016005618B4 (de) 2015-12-08 2016-10-04 Klimaanlagenvorrichtung für ein Fahrzeug
CN201680071721.9A CN108367652B (zh) 2015-12-08 2016-10-04 车辆用空调装置
US15/781,847 US10828967B2 (en) 2015-12-08 2016-10-04 Air conditioning device for vehicle

Applications Claiming Priority (2)

Application Number Priority Date Filing Date Title
JP2015239498A JP6697815B2 (ja) 2015-12-08 2015-12-08 車両用空調装置
JP2015-239498 2015-12-08

Publications (1)

Publication Number Publication Date
WO2017098792A1 true WO2017098792A1 (ja) 2017-06-15

Family

ID=59012951

Family Applications (1)

Application Number Title Priority Date Filing Date
PCT/JP2016/079548 Ceased WO2017098792A1 (ja) 2015-12-08 2016-10-04 車両用空調装置

Country Status (5)

Country Link
US (1) US10828967B2 (enExample)
JP (1) JP6697815B2 (enExample)
CN (1) CN108367652B (enExample)
DE (1) DE112016005618B4 (enExample)
WO (1) WO2017098792A1 (enExample)

Families Citing this family (2)

* Cited by examiner, † Cited by third party
Publication number Priority date Publication date Assignee Title
EP3636467B1 (en) * 2018-10-10 2023-02-22 Kubota Corporation Working vehicle
KR102663207B1 (ko) * 2018-10-26 2024-05-03 현대자동차주식회사 차량의 공기조화장치 및 그 제어방법

Citations (4)

* Cited by examiner, † Cited by third party
Publication number Priority date Publication date Assignee Title
JPH08215528A (ja) * 1995-02-10 1996-08-27 Nippondenso Co Ltd 車両用空調装置
JP2000264056A (ja) * 1999-03-16 2000-09-26 Denso Corp 車両用空調装置の通風ユニット
JP2013535374A (ja) * 2010-08-10 2013-09-12 エーベーエム−パプスト ザンクト ゲオルゲン ゲーエムベーハー ウント コー.カーゲー 送風装置
JP2014231296A (ja) * 2013-05-29 2014-12-11 カルソニックカンセイ株式会社 車両用空調装置

Family Cites Families (19)

* Cited by examiner, † Cited by third party
Publication number Priority date Publication date Assignee Title
US4233044A (en) * 1976-05-13 1980-11-11 Flanders Filters, Inc. Self-cleaning fluid sealed air filter
US4511380A (en) * 1983-12-15 1985-04-16 Allis-Chalmers Corp. Suspension and sealing of latticework and filters
JPH0618018U (ja) * 1992-08-11 1994-03-08 株式会社カンセイ 空気清浄器のフィルタ構造
US5876277A (en) * 1997-02-04 1999-03-02 Denso Corporation Air conditioning apparatus for vehicle, having deodorizing filter
JP3459224B2 (ja) 2000-06-02 2003-10-20 株式会社ケーヒン 自動車用空調装置用ケーシング
JP4178992B2 (ja) * 2003-02-20 2008-11-12 株式会社デンソー 車両空調用送風ユニット
JP2006256427A (ja) * 2005-03-16 2006-09-28 Japan Climate Systems Corp 送風装置
KR100736736B1 (ko) * 2005-12-09 2007-07-09 현대자동차주식회사 자동차의 공조장치용 에어필터 어셈블리
JP4725399B2 (ja) * 2006-04-12 2011-07-13 株式会社デンソー 車両用空気浄化装置
JP2008230569A (ja) * 2007-03-23 2008-10-02 Mitsubishi Heavy Ind Ltd 車両用空気調和装置
KR101461987B1 (ko) * 2007-04-12 2014-11-18 한라비스테온공조 주식회사 차량용 송풍장치
US8235649B2 (en) 2007-04-12 2012-08-07 Halla Climate Control Corporation Blower for vehicles
JP5687081B2 (ja) * 2011-01-31 2015-03-18 株式会社ケーヒン 車両用空調装置
JP5556705B2 (ja) 2011-03-09 2014-07-23 株式会社デンソー 空調装置
US9676245B2 (en) * 2012-08-30 2017-06-13 Denso International America, Inc. Three door structure for partial recirculation in an air conditioning system
US9612023B2 (en) * 2013-11-13 2017-04-04 Efip Holdings Lp Filters, filter mounts, and methods of mounting filters
KR102047737B1 (ko) 2014-01-21 2019-11-22 한온시스템 주식회사 차량용 공조기의 송풍장치
DE102014226298A1 (de) 2014-12-17 2016-06-23 Mahle International Gmbh Gebläse
US10974189B2 (en) * 2015-11-13 2021-04-13 W. L. Gore & Associates, Inc. Support members for filter pleated media

Patent Citations (4)

* Cited by examiner, † Cited by third party
Publication number Priority date Publication date Assignee Title
JPH08215528A (ja) * 1995-02-10 1996-08-27 Nippondenso Co Ltd 車両用空調装置
JP2000264056A (ja) * 1999-03-16 2000-09-26 Denso Corp 車両用空調装置の通風ユニット
JP2013535374A (ja) * 2010-08-10 2013-09-12 エーベーエム−パプスト ザンクト ゲオルゲン ゲーエムベーハー ウント コー.カーゲー 送風装置
JP2014231296A (ja) * 2013-05-29 2014-12-11 カルソニックカンセイ株式会社 車両用空調装置

Also Published As

Publication number Publication date
US20180370337A1 (en) 2018-12-27
DE112016005618T5 (de) 2018-09-06
CN108367652B (zh) 2021-03-05
CN108367652A (zh) 2018-08-03
DE112016005618B4 (de) 2023-06-01
JP2017105281A (ja) 2017-06-15
JP6697815B2 (ja) 2020-05-27
US10828967B2 (en) 2020-11-10

Similar Documents

Publication Publication Date Title
JP4952006B2 (ja) 遠心式送風機
JP4947227B1 (ja) 空気調和機
US10047756B2 (en) Ventilating fan
CN104870827B (zh) 离心风机和使用其的带消音箱的风机
WO2014129114A1 (ja) 空気通路開閉装置
JP6622548B2 (ja) 吸音構造及び空気調和装置
WO2017098792A1 (ja) 車両用空調装置
JP6468416B2 (ja) クロスフローファン及びこれを備える空気調和機の室内機
JP6130137B2 (ja) 空調ユニット
JPWO2017042865A1 (ja) 空気調和機の室外機
JP7087841B2 (ja) 直列式軸流ファン
JP2018013318A (ja) ダンパ装置
EP3985323B1 (en) Air conditioner
CN101198794B (zh) 送风装置和具有该送风装置的空调机用室外单元
JP5966149B2 (ja) 空気調和機
JP2016185742A (ja) 車両用空調装置のフィルタ支持構造
JP2010024873A (ja) 送風機
JP6203623B2 (ja) 送風機
CN102192168B (zh) 换气扇
US12270403B2 (en) Blower and indoor unit
JP2013087641A (ja) ジェットファン
JPH1016546A (ja) 車輌用ベンチレータ
JP6477783B2 (ja) 空気調和機の室内機
WO2021054214A1 (ja) 埋込形換気扇、ルーバー
JP6409907B1 (ja) 空気調和機の室内機

Legal Events

Date Code Title Description
121 Ep: the epo has been informed by wipo that ep was designated in this application

Ref document number: 16872692

Country of ref document: EP

Kind code of ref document: A1

WWE Wipo information: entry into national phase

Ref document number: 112016005618

Country of ref document: DE

122 Ep: pct application non-entry in european phase

Ref document number: 16872692

Country of ref document: EP

Kind code of ref document: A1