WO2017047152A1 - 酸化物焼結体およびその製造方法、スパッタターゲット、ならびに半導体デバイスの製造方法 - Google Patents

酸化物焼結体およびその製造方法、スパッタターゲット、ならびに半導体デバイスの製造方法 Download PDF

Info

Publication number
WO2017047152A1
WO2017047152A1 PCT/JP2016/063646 JP2016063646W WO2017047152A1 WO 2017047152 A1 WO2017047152 A1 WO 2017047152A1 JP 2016063646 W JP2016063646 W JP 2016063646W WO 2017047152 A1 WO2017047152 A1 WO 2017047152A1
Authority
WO
WIPO (PCT)
Prior art keywords
oxide
sintered body
crystal phase
oxide sintered
powder
Prior art date
Legal status (The legal status is an assumption and is not a legal conclusion. Google has not performed a legal analysis and makes no representation as to the accuracy of the status listed.)
Ceased
Application number
PCT/JP2016/063646
Other languages
English (en)
French (fr)
Japanese (ja)
Inventor
宮永 美紀
研一 綿谷
英章 粟田
Current Assignee (The listed assignees may be inaccurate. Google has not performed a legal analysis and makes no representation or warranty as to the accuracy of the list.)
Sumitomo Electric Industries Ltd
Original Assignee
Sumitomo Electric Industries Ltd
Priority date (The priority date is an assumption and is not a legal conclusion. Google has not performed a legal analysis and makes no representation as to the accuracy of the date listed.)
Filing date
Publication date
Application filed by Sumitomo Electric Industries Ltd filed Critical Sumitomo Electric Industries Ltd
Priority to EP16846025.1A priority Critical patent/EP3345881A1/en
Priority to CN201680003741.2A priority patent/CN107001146B/zh
Priority to KR1020177013037A priority patent/KR101919268B1/ko
Priority to US15/520,933 priority patent/US10655213B2/en
Priority to KR1020187032478A priority patent/KR101996778B1/ko
Publication of WO2017047152A1 publication Critical patent/WO2017047152A1/ja
Anticipated expiration legal-status Critical
Ceased legal-status Critical Current

Links

Images

Classifications

    • CCHEMISTRY; METALLURGY
    • C04CEMENTS; CONCRETE; ARTIFICIAL STONE; CERAMICS; REFRACTORIES
    • C04BLIME, MAGNESIA; SLAG; CEMENTS; COMPOSITIONS THEREOF, e.g. MORTARS, CONCRETE OR LIKE BUILDING MATERIALS; ARTIFICIAL STONE; CERAMICS; REFRACTORIES; TREATMENT OF NATURAL STONE
    • C04B35/00Shaped ceramic products characterised by their composition; Ceramics compositions; Processing powders of inorganic compounds preparatory to the manufacturing of ceramic products
    • C04B35/01Shaped ceramic products characterised by their composition; Ceramics compositions; Processing powders of inorganic compounds preparatory to the manufacturing of ceramic products based on oxide ceramics
    • C04B35/495Shaped ceramic products characterised by their composition; Ceramics compositions; Processing powders of inorganic compounds preparatory to the manufacturing of ceramic products based on oxide ceramics based on vanadium, niobium, tantalum, molybdenum or tungsten oxides or solid solutions thereof with other oxides, e.g. vanadates, niobates, tantalates, molybdates or tungstates
    • CCHEMISTRY; METALLURGY
    • C23COATING METALLIC MATERIAL; COATING MATERIAL WITH METALLIC MATERIAL; CHEMICAL SURFACE TREATMENT; DIFFUSION TREATMENT OF METALLIC MATERIAL; COATING BY VACUUM EVAPORATION, BY SPUTTERING, BY ION IMPLANTATION OR BY CHEMICAL VAPOUR DEPOSITION, IN GENERAL; INHIBITING CORROSION OF METALLIC MATERIAL OR INCRUSTATION IN GENERAL
    • C23CCOATING METALLIC MATERIAL; COATING MATERIAL WITH METALLIC MATERIAL; SURFACE TREATMENT OF METALLIC MATERIAL BY DIFFUSION INTO THE SURFACE, BY CHEMICAL CONVERSION OR SUBSTITUTION; COATING BY VACUUM EVAPORATION, BY SPUTTERING, BY ION IMPLANTATION OR BY CHEMICAL VAPOUR DEPOSITION, IN GENERAL
    • C23C14/00Coating by vacuum evaporation, by sputtering or by ion implantation of the coating forming material
    • C23C14/22Coating by vacuum evaporation, by sputtering or by ion implantation of the coating forming material characterised by the process of coating
    • C23C14/34Sputtering
    • C23C14/3407Cathode assembly for sputtering apparatus, e.g. Target
    • C23C14/3414Metallurgical or chemical aspects of target preparation, e.g. casting, powder metallurgy
    • CCHEMISTRY; METALLURGY
    • C04CEMENTS; CONCRETE; ARTIFICIAL STONE; CERAMICS; REFRACTORIES
    • C04BLIME, MAGNESIA; SLAG; CEMENTS; COMPOSITIONS THEREOF, e.g. MORTARS, CONCRETE OR LIKE BUILDING MATERIALS; ARTIFICIAL STONE; CERAMICS; REFRACTORIES; TREATMENT OF NATURAL STONE
    • C04B35/00Shaped ceramic products characterised by their composition; Ceramics compositions; Processing powders of inorganic compounds preparatory to the manufacturing of ceramic products
    • C04B35/01Shaped ceramic products characterised by their composition; Ceramics compositions; Processing powders of inorganic compounds preparatory to the manufacturing of ceramic products based on oxide ceramics
    • CCHEMISTRY; METALLURGY
    • C04CEMENTS; CONCRETE; ARTIFICIAL STONE; CERAMICS; REFRACTORIES
    • C04BLIME, MAGNESIA; SLAG; CEMENTS; COMPOSITIONS THEREOF, e.g. MORTARS, CONCRETE OR LIKE BUILDING MATERIALS; ARTIFICIAL STONE; CERAMICS; REFRACTORIES; TREATMENT OF NATURAL STONE
    • C04B35/00Shaped ceramic products characterised by their composition; Ceramics compositions; Processing powders of inorganic compounds preparatory to the manufacturing of ceramic products
    • C04B35/01Shaped ceramic products characterised by their composition; Ceramics compositions; Processing powders of inorganic compounds preparatory to the manufacturing of ceramic products based on oxide ceramics
    • C04B35/453Shaped ceramic products characterised by their composition; Ceramics compositions; Processing powders of inorganic compounds preparatory to the manufacturing of ceramic products based on oxide ceramics based on zinc, tin, or bismuth oxides or solid solutions thereof with other oxides, e.g. zincates, stannates or bismuthates
    • CCHEMISTRY; METALLURGY
    • C04CEMENTS; CONCRETE; ARTIFICIAL STONE; CERAMICS; REFRACTORIES
    • C04BLIME, MAGNESIA; SLAG; CEMENTS; COMPOSITIONS THEREOF, e.g. MORTARS, CONCRETE OR LIKE BUILDING MATERIALS; ARTIFICIAL STONE; CERAMICS; REFRACTORIES; TREATMENT OF NATURAL STONE
    • C04B35/00Shaped ceramic products characterised by their composition; Ceramics compositions; Processing powders of inorganic compounds preparatory to the manufacturing of ceramic products
    • C04B35/622Forming processes; Processing powders of inorganic compounds preparatory to the manufacturing of ceramic products
    • C04B35/626Preparing or treating the powders individually or as batches ; preparing or treating macroscopic reinforcing agents for ceramic products, e.g. fibres; mechanical aspects section B
    • C04B35/62605Treating the starting powders individually or as mixtures
    • C04B35/62645Thermal treatment of powders or mixtures thereof other than sintering
    • CCHEMISTRY; METALLURGY
    • C04CEMENTS; CONCRETE; ARTIFICIAL STONE; CERAMICS; REFRACTORIES
    • C04BLIME, MAGNESIA; SLAG; CEMENTS; COMPOSITIONS THEREOF, e.g. MORTARS, CONCRETE OR LIKE BUILDING MATERIALS; ARTIFICIAL STONE; CERAMICS; REFRACTORIES; TREATMENT OF NATURAL STONE
    • C04B35/00Shaped ceramic products characterised by their composition; Ceramics compositions; Processing powders of inorganic compounds preparatory to the manufacturing of ceramic products
    • C04B35/622Forming processes; Processing powders of inorganic compounds preparatory to the manufacturing of ceramic products
    • C04B35/64Burning or sintering processes
    • CCHEMISTRY; METALLURGY
    • C23COATING METALLIC MATERIAL; COATING MATERIAL WITH METALLIC MATERIAL; CHEMICAL SURFACE TREATMENT; DIFFUSION TREATMENT OF METALLIC MATERIAL; COATING BY VACUUM EVAPORATION, BY SPUTTERING, BY ION IMPLANTATION OR BY CHEMICAL VAPOUR DEPOSITION, IN GENERAL; INHIBITING CORROSION OF METALLIC MATERIAL OR INCRUSTATION IN GENERAL
    • C23CCOATING METALLIC MATERIAL; COATING MATERIAL WITH METALLIC MATERIAL; SURFACE TREATMENT OF METALLIC MATERIAL BY DIFFUSION INTO THE SURFACE, BY CHEMICAL CONVERSION OR SUBSTITUTION; COATING BY VACUUM EVAPORATION, BY SPUTTERING, BY ION IMPLANTATION OR BY CHEMICAL VAPOUR DEPOSITION, IN GENERAL
    • C23C14/00Coating by vacuum evaporation, by sputtering or by ion implantation of the coating forming material
    • C23C14/06Coating by vacuum evaporation, by sputtering or by ion implantation of the coating forming material characterised by the coating material
    • C23C14/08Oxides
    • CCHEMISTRY; METALLURGY
    • C23COATING METALLIC MATERIAL; COATING MATERIAL WITH METALLIC MATERIAL; CHEMICAL SURFACE TREATMENT; DIFFUSION TREATMENT OF METALLIC MATERIAL; COATING BY VACUUM EVAPORATION, BY SPUTTERING, BY ION IMPLANTATION OR BY CHEMICAL VAPOUR DEPOSITION, IN GENERAL; INHIBITING CORROSION OF METALLIC MATERIAL OR INCRUSTATION IN GENERAL
    • C23CCOATING METALLIC MATERIAL; COATING MATERIAL WITH METALLIC MATERIAL; SURFACE TREATMENT OF METALLIC MATERIAL BY DIFFUSION INTO THE SURFACE, BY CHEMICAL CONVERSION OR SUBSTITUTION; COATING BY VACUUM EVAPORATION, BY SPUTTERING, BY ION IMPLANTATION OR BY CHEMICAL VAPOUR DEPOSITION, IN GENERAL
    • C23C14/00Coating by vacuum evaporation, by sputtering or by ion implantation of the coating forming material
    • C23C14/06Coating by vacuum evaporation, by sputtering or by ion implantation of the coating forming material characterised by the coating material
    • C23C14/08Oxides
    • C23C14/083Oxides of refractory metals or yttrium
    • CCHEMISTRY; METALLURGY
    • C23COATING METALLIC MATERIAL; COATING MATERIAL WITH METALLIC MATERIAL; CHEMICAL SURFACE TREATMENT; DIFFUSION TREATMENT OF METALLIC MATERIAL; COATING BY VACUUM EVAPORATION, BY SPUTTERING, BY ION IMPLANTATION OR BY CHEMICAL VAPOUR DEPOSITION, IN GENERAL; INHIBITING CORROSION OF METALLIC MATERIAL OR INCRUSTATION IN GENERAL
    • C23CCOATING METALLIC MATERIAL; COATING MATERIAL WITH METALLIC MATERIAL; SURFACE TREATMENT OF METALLIC MATERIAL BY DIFFUSION INTO THE SURFACE, BY CHEMICAL CONVERSION OR SUBSTITUTION; COATING BY VACUUM EVAPORATION, BY SPUTTERING, BY ION IMPLANTATION OR BY CHEMICAL VAPOUR DEPOSITION, IN GENERAL
    • C23C14/00Coating by vacuum evaporation, by sputtering or by ion implantation of the coating forming material
    • C23C14/06Coating by vacuum evaporation, by sputtering or by ion implantation of the coating forming material characterised by the coating material
    • C23C14/08Oxides
    • C23C14/086Oxides of zinc, germanium, cadmium, indium, tin, thallium or bismuth
    • CCHEMISTRY; METALLURGY
    • C23COATING METALLIC MATERIAL; COATING MATERIAL WITH METALLIC MATERIAL; CHEMICAL SURFACE TREATMENT; DIFFUSION TREATMENT OF METALLIC MATERIAL; COATING BY VACUUM EVAPORATION, BY SPUTTERING, BY ION IMPLANTATION OR BY CHEMICAL VAPOUR DEPOSITION, IN GENERAL; INHIBITING CORROSION OF METALLIC MATERIAL OR INCRUSTATION IN GENERAL
    • C23CCOATING METALLIC MATERIAL; COATING MATERIAL WITH METALLIC MATERIAL; SURFACE TREATMENT OF METALLIC MATERIAL BY DIFFUSION INTO THE SURFACE, BY CHEMICAL CONVERSION OR SUBSTITUTION; COATING BY VACUUM EVAPORATION, BY SPUTTERING, BY ION IMPLANTATION OR BY CHEMICAL VAPOUR DEPOSITION, IN GENERAL
    • C23C14/00Coating by vacuum evaporation, by sputtering or by ion implantation of the coating forming material
    • C23C14/22Coating by vacuum evaporation, by sputtering or by ion implantation of the coating forming material characterised by the process of coating
    • C23C14/34Sputtering
    • HELECTRICITY
    • H01ELECTRIC ELEMENTS
    • H01JELECTRIC DISCHARGE TUBES OR DISCHARGE LAMPS
    • H01J37/00Discharge tubes with provision for introducing objects or material to be exposed to the discharge, e.g. for the purpose of examination or processing thereof
    • H01J37/32Gas-filled discharge tubes
    • H01J37/34Gas-filled discharge tubes operating with cathodic sputtering
    • H01J37/3411Constructional aspects of the reactor
    • H01J37/3414Targets
    • H01J37/3426Material
    • HELECTRICITY
    • H01ELECTRIC ELEMENTS
    • H01LSEMICONDUCTOR DEVICES NOT COVERED BY CLASS H10
    • H01L21/00Processes or apparatus adapted for the manufacture or treatment of semiconductor or solid state devices or of parts thereof
    • H01L21/02Manufacture or treatment of semiconductor devices or of parts thereof
    • H01L21/02104Forming layers
    • H01L21/02365Forming inorganic semiconducting materials on a substrate
    • H01L21/02518Deposited layers
    • H01L21/02521Materials
    • H01L21/02551Group 12/16 materials
    • H01L21/02554Oxides
    • HELECTRICITY
    • H01ELECTRIC ELEMENTS
    • H01LSEMICONDUCTOR DEVICES NOT COVERED BY CLASS H10
    • H01L21/00Processes or apparatus adapted for the manufacture or treatment of semiconductor or solid state devices or of parts thereof
    • H01L21/02Manufacture or treatment of semiconductor devices or of parts thereof
    • H01L21/02104Forming layers
    • H01L21/02365Forming inorganic semiconducting materials on a substrate
    • H01L21/02518Deposited layers
    • H01L21/02521Materials
    • H01L21/02565Oxide semiconducting materials not being Group 12/16 materials, e.g. ternary compounds
    • HELECTRICITY
    • H01ELECTRIC ELEMENTS
    • H01LSEMICONDUCTOR DEVICES NOT COVERED BY CLASS H10
    • H01L21/00Processes or apparatus adapted for the manufacture or treatment of semiconductor or solid state devices or of parts thereof
    • H01L21/02Manufacture or treatment of semiconductor devices or of parts thereof
    • H01L21/02104Forming layers
    • H01L21/02365Forming inorganic semiconducting materials on a substrate
    • H01L21/02518Deposited layers
    • H01L21/0257Doping during depositing
    • HELECTRICITY
    • H01ELECTRIC ELEMENTS
    • H01LSEMICONDUCTOR DEVICES NOT COVERED BY CLASS H10
    • H01L21/00Processes or apparatus adapted for the manufacture or treatment of semiconductor or solid state devices or of parts thereof
    • H01L21/02Manufacture or treatment of semiconductor devices or of parts thereof
    • H01L21/02104Forming layers
    • H01L21/02365Forming inorganic semiconducting materials on a substrate
    • H01L21/02518Deposited layers
    • H01L21/02587Structure
    • H01L21/0259Microstructure
    • H01L21/02592Microstructure amorphous
    • HELECTRICITY
    • H01ELECTRIC ELEMENTS
    • H01LSEMICONDUCTOR DEVICES NOT COVERED BY CLASS H10
    • H01L21/00Processes or apparatus adapted for the manufacture or treatment of semiconductor or solid state devices or of parts thereof
    • H01L21/02Manufacture or treatment of semiconductor devices or of parts thereof
    • H01L21/02104Forming layers
    • H01L21/02365Forming inorganic semiconducting materials on a substrate
    • H01L21/02612Formation types
    • H01L21/02617Deposition types
    • H01L21/02631Physical deposition at reduced pressure, e.g. MBE, sputtering, evaporation
    • HELECTRICITY
    • H10SEMICONDUCTOR DEVICES; ELECTRIC SOLID-STATE DEVICES NOT OTHERWISE PROVIDED FOR
    • H10DINORGANIC ELECTRIC SEMICONDUCTOR DEVICES
    • H10D30/00Field-effect transistors [FET]
    • H10D30/60Insulated-gate field-effect transistors [IGFET]
    • H10D30/67Thin-film transistors [TFT]
    • HELECTRICITY
    • H10SEMICONDUCTOR DEVICES; ELECTRIC SOLID-STATE DEVICES NOT OTHERWISE PROVIDED FOR
    • H10DINORGANIC ELECTRIC SEMICONDUCTOR DEVICES
    • H10D30/00Field-effect transistors [FET]
    • H10D30/60Insulated-gate field-effect transistors [IGFET]
    • H10D30/67Thin-film transistors [TFT]
    • H10D30/674Thin-film transistors [TFT] characterised by the active materials
    • H10D30/6755Oxide semiconductors, e.g. zinc oxide, copper aluminium oxide or cadmium stannate
    • HELECTRICITY
    • H10SEMICONDUCTOR DEVICES; ELECTRIC SOLID-STATE DEVICES NOT OTHERWISE PROVIDED FOR
    • H10DINORGANIC ELECTRIC SEMICONDUCTOR DEVICES
    • H10D99/00Subject matter not provided for in other groups of this subclass
    • CCHEMISTRY; METALLURGY
    • C04CEMENTS; CONCRETE; ARTIFICIAL STONE; CERAMICS; REFRACTORIES
    • C04BLIME, MAGNESIA; SLAG; CEMENTS; COMPOSITIONS THEREOF, e.g. MORTARS, CONCRETE OR LIKE BUILDING MATERIALS; ARTIFICIAL STONE; CERAMICS; REFRACTORIES; TREATMENT OF NATURAL STONE
    • C04B2235/00Aspects relating to ceramic starting mixtures or sintered ceramic products
    • C04B2235/02Composition of constituents of the starting material or of secondary phases of the final product
    • C04B2235/30Constituents and secondary phases not being of a fibrous nature
    • C04B2235/32Metal oxides, mixed metal oxides, or oxide-forming salts thereof, e.g. carbonates, nitrates, (oxy)hydroxides, chlorides
    • C04B2235/3231Refractory metal oxides, their mixed metal oxides, or oxide-forming salts thereof
    • C04B2235/3258Tungsten oxides, tungstates, or oxide-forming salts thereof
    • CCHEMISTRY; METALLURGY
    • C04CEMENTS; CONCRETE; ARTIFICIAL STONE; CERAMICS; REFRACTORIES
    • C04BLIME, MAGNESIA; SLAG; CEMENTS; COMPOSITIONS THEREOF, e.g. MORTARS, CONCRETE OR LIKE BUILDING MATERIALS; ARTIFICIAL STONE; CERAMICS; REFRACTORIES; TREATMENT OF NATURAL STONE
    • C04B2235/00Aspects relating to ceramic starting mixtures or sintered ceramic products
    • C04B2235/02Composition of constituents of the starting material or of secondary phases of the final product
    • C04B2235/30Constituents and secondary phases not being of a fibrous nature
    • C04B2235/32Metal oxides, mixed metal oxides, or oxide-forming salts thereof, e.g. carbonates, nitrates, (oxy)hydroxides, chlorides
    • C04B2235/3231Refractory metal oxides, their mixed metal oxides, or oxide-forming salts thereof
    • C04B2235/3258Tungsten oxides, tungstates, or oxide-forming salts thereof
    • C04B2235/326Tungstates, e.g. scheelite
    • CCHEMISTRY; METALLURGY
    • C04CEMENTS; CONCRETE; ARTIFICIAL STONE; CERAMICS; REFRACTORIES
    • C04BLIME, MAGNESIA; SLAG; CEMENTS; COMPOSITIONS THEREOF, e.g. MORTARS, CONCRETE OR LIKE BUILDING MATERIALS; ARTIFICIAL STONE; CERAMICS; REFRACTORIES; TREATMENT OF NATURAL STONE
    • C04B2235/00Aspects relating to ceramic starting mixtures or sintered ceramic products
    • C04B2235/02Composition of constituents of the starting material or of secondary phases of the final product
    • C04B2235/30Constituents and secondary phases not being of a fibrous nature
    • C04B2235/32Metal oxides, mixed metal oxides, or oxide-forming salts thereof, e.g. carbonates, nitrates, (oxy)hydroxides, chlorides
    • C04B2235/3284Zinc oxides, zincates, cadmium oxides, cadmiates, mercury oxides, mercurates or oxide forming salts thereof
    • CCHEMISTRY; METALLURGY
    • C04CEMENTS; CONCRETE; ARTIFICIAL STONE; CERAMICS; REFRACTORIES
    • C04BLIME, MAGNESIA; SLAG; CEMENTS; COMPOSITIONS THEREOF, e.g. MORTARS, CONCRETE OR LIKE BUILDING MATERIALS; ARTIFICIAL STONE; CERAMICS; REFRACTORIES; TREATMENT OF NATURAL STONE
    • C04B2235/00Aspects relating to ceramic starting mixtures or sintered ceramic products
    • C04B2235/02Composition of constituents of the starting material or of secondary phases of the final product
    • C04B2235/30Constituents and secondary phases not being of a fibrous nature
    • C04B2235/32Metal oxides, mixed metal oxides, or oxide-forming salts thereof, e.g. carbonates, nitrates, (oxy)hydroxides, chlorides
    • C04B2235/3286Gallium oxides, gallates, indium oxides, indates, thallium oxides, thallates or oxide forming salts thereof, e.g. zinc gallate
    • CCHEMISTRY; METALLURGY
    • C04CEMENTS; CONCRETE; ARTIFICIAL STONE; CERAMICS; REFRACTORIES
    • C04BLIME, MAGNESIA; SLAG; CEMENTS; COMPOSITIONS THEREOF, e.g. MORTARS, CONCRETE OR LIKE BUILDING MATERIALS; ARTIFICIAL STONE; CERAMICS; REFRACTORIES; TREATMENT OF NATURAL STONE
    • C04B2235/00Aspects relating to ceramic starting mixtures or sintered ceramic products
    • C04B2235/02Composition of constituents of the starting material or of secondary phases of the final product
    • C04B2235/50Constituents or additives of the starting mixture chosen for their shape or used because of their shape or their physical appearance
    • C04B2235/54Particle size related information
    • C04B2235/5418Particle size related information expressed by the size of the particles or aggregates thereof
    • C04B2235/5436Particle size related information expressed by the size of the particles or aggregates thereof micrometer sized, i.e. from 1 to 100 micron
    • CCHEMISTRY; METALLURGY
    • C04CEMENTS; CONCRETE; ARTIFICIAL STONE; CERAMICS; REFRACTORIES
    • C04BLIME, MAGNESIA; SLAG; CEMENTS; COMPOSITIONS THEREOF, e.g. MORTARS, CONCRETE OR LIKE BUILDING MATERIALS; ARTIFICIAL STONE; CERAMICS; REFRACTORIES; TREATMENT OF NATURAL STONE
    • C04B2235/00Aspects relating to ceramic starting mixtures or sintered ceramic products
    • C04B2235/02Composition of constituents of the starting material or of secondary phases of the final product
    • C04B2235/50Constituents or additives of the starting mixture chosen for their shape or used because of their shape or their physical appearance
    • C04B2235/54Particle size related information
    • C04B2235/5418Particle size related information expressed by the size of the particles or aggregates thereof
    • C04B2235/5445Particle size related information expressed by the size of the particles or aggregates thereof submicron sized, i.e. from 0,1 to 1 micron
    • CCHEMISTRY; METALLURGY
    • C04CEMENTS; CONCRETE; ARTIFICIAL STONE; CERAMICS; REFRACTORIES
    • C04BLIME, MAGNESIA; SLAG; CEMENTS; COMPOSITIONS THEREOF, e.g. MORTARS, CONCRETE OR LIKE BUILDING MATERIALS; ARTIFICIAL STONE; CERAMICS; REFRACTORIES; TREATMENT OF NATURAL STONE
    • C04B2235/00Aspects relating to ceramic starting mixtures or sintered ceramic products
    • C04B2235/02Composition of constituents of the starting material or of secondary phases of the final product
    • C04B2235/50Constituents or additives of the starting mixture chosen for their shape or used because of their shape or their physical appearance
    • C04B2235/54Particle size related information
    • C04B2235/5463Particle size distributions
    • CCHEMISTRY; METALLURGY
    • C04CEMENTS; CONCRETE; ARTIFICIAL STONE; CERAMICS; REFRACTORIES
    • C04BLIME, MAGNESIA; SLAG; CEMENTS; COMPOSITIONS THEREOF, e.g. MORTARS, CONCRETE OR LIKE BUILDING MATERIALS; ARTIFICIAL STONE; CERAMICS; REFRACTORIES; TREATMENT OF NATURAL STONE
    • C04B2235/00Aspects relating to ceramic starting mixtures or sintered ceramic products
    • C04B2235/70Aspects relating to sintered or melt-casted ceramic products
    • C04B2235/74Physical characteristics
    • C04B2235/76Crystal structural characteristics, e.g. symmetry
    • CCHEMISTRY; METALLURGY
    • C04CEMENTS; CONCRETE; ARTIFICIAL STONE; CERAMICS; REFRACTORIES
    • C04BLIME, MAGNESIA; SLAG; CEMENTS; COMPOSITIONS THEREOF, e.g. MORTARS, CONCRETE OR LIKE BUILDING MATERIALS; ARTIFICIAL STONE; CERAMICS; REFRACTORIES; TREATMENT OF NATURAL STONE
    • C04B2235/00Aspects relating to ceramic starting mixtures or sintered ceramic products
    • C04B2235/70Aspects relating to sintered or melt-casted ceramic products
    • C04B2235/74Physical characteristics
    • C04B2235/77Density
    • CCHEMISTRY; METALLURGY
    • C04CEMENTS; CONCRETE; ARTIFICIAL STONE; CERAMICS; REFRACTORIES
    • C04BLIME, MAGNESIA; SLAG; CEMENTS; COMPOSITIONS THEREOF, e.g. MORTARS, CONCRETE OR LIKE BUILDING MATERIALS; ARTIFICIAL STONE; CERAMICS; REFRACTORIES; TREATMENT OF NATURAL STONE
    • C04B2235/00Aspects relating to ceramic starting mixtures or sintered ceramic products
    • C04B2235/70Aspects relating to sintered or melt-casted ceramic products
    • C04B2235/74Physical characteristics
    • C04B2235/78Grain sizes and shapes, product microstructures, e.g. acicular grains, equiaxed grains, platelet-structures
    • C04B2235/786Micrometer sized grains, i.e. from 1 to 100 micron
    • CCHEMISTRY; METALLURGY
    • C04CEMENTS; CONCRETE; ARTIFICIAL STONE; CERAMICS; REFRACTORIES
    • C04BLIME, MAGNESIA; SLAG; CEMENTS; COMPOSITIONS THEREOF, e.g. MORTARS, CONCRETE OR LIKE BUILDING MATERIALS; ARTIFICIAL STONE; CERAMICS; REFRACTORIES; TREATMENT OF NATURAL STONE
    • C04B2235/00Aspects relating to ceramic starting mixtures or sintered ceramic products
    • C04B2235/70Aspects relating to sintered or melt-casted ceramic products
    • C04B2235/74Physical characteristics
    • C04B2235/78Grain sizes and shapes, product microstructures, e.g. acicular grains, equiaxed grains, platelet-structures
    • C04B2235/788Aspect ratio of the grains
    • CCHEMISTRY; METALLURGY
    • C04CEMENTS; CONCRETE; ARTIFICIAL STONE; CERAMICS; REFRACTORIES
    • C04BLIME, MAGNESIA; SLAG; CEMENTS; COMPOSITIONS THEREOF, e.g. MORTARS, CONCRETE OR LIKE BUILDING MATERIALS; ARTIFICIAL STONE; CERAMICS; REFRACTORIES; TREATMENT OF NATURAL STONE
    • C04B2235/00Aspects relating to ceramic starting mixtures or sintered ceramic products
    • C04B2235/70Aspects relating to sintered or melt-casted ceramic products
    • C04B2235/80Phases present in the sintered or melt-cast ceramic products other than the main phase
    • HELECTRICITY
    • H10SEMICONDUCTOR DEVICES; ELECTRIC SOLID-STATE DEVICES NOT OTHERWISE PROVIDED FOR
    • H10DINORGANIC ELECTRIC SEMICONDUCTOR DEVICES
    • H10D30/00Field-effect transistors [FET]
    • H10D30/60Insulated-gate field-effect transistors [IGFET]
    • H10D30/67Thin-film transistors [TFT]
    • H10D30/674Thin-film transistors [TFT] characterised by the active materials
    • H10D30/6755Oxide semiconductors, e.g. zinc oxide, copper aluminium oxide or cadmium stannate
    • H10D30/6756Amorphous oxide semiconductors

Definitions

  • the present invention relates to an oxide sintered body, a manufacturing method thereof, a sputtering target, and a manufacturing method of a semiconductor device.
  • a thin film EL (electroluminescence) display device an organic EL display device, etc.
  • amorphous silicon (a-Si) film has been mainly used as a semiconductor film functioning as a channel layer of a TFT (thin film transistor) as a semiconductor device.
  • a-Si amorphous silicon
  • IGZO Indium (In), gallium (Ga), and zinc (Zn) as a material to replace a-Si, that is, an In—Ga—Zn-based composite oxide (also referred to as “IGZO”).
  • IGZO-based oxide semiconductor can be expected to have higher carrier mobility than a-Si.
  • Patent Document 1 discloses that an oxide semiconductor film containing IGZO as a main component is formed by a sputtering method using an oxide sintered body as a target.
  • Patent Document 2 discloses an oxide sintered body containing In and tungsten (W) as a material suitably used for forming an oxide semiconductor film by a sputtering method or the like. .
  • Patent Document 3 discloses an oxide sintered body containing In and Zn.
  • An oxide sintered body is an oxide sintered body containing indium, tungsten, and zinc, is a main component of the oxide sintered body, and includes a bixbite type crystal phase.
  • the particles comprising the first crystal phase and the second crystal phase having a higher zinc content than the first crystal phase, the particles constituting the second crystal phase have an average major axis diameter of 3 ⁇ m or more and 50 ⁇ m or less, and an average aspect ratio The ratio is 4 or more and 50 or less.
  • a sputter target according to another aspect of the present invention includes the oxide sintered body according to the above aspect.
  • a method for manufacturing a semiconductor device according to still another aspect of the present invention is a method for manufacturing a semiconductor device including an oxide semiconductor film, the step of preparing the sputter target of the above aspect, and a sputtering method using the sputter target. Forming an oxide semiconductor film.
  • the method for manufacturing an oxide sintered body according to still another aspect of the present invention is a method for manufacturing the oxide sintered body according to the above aspect, and prepares a primary mixture of indium oxide powder and tungsten oxide powder.
  • Forming a calcined powder by heat-treating the primary mixture preparing a secondary mixture of raw material powders containing the calcined powder, and molding the secondary mixture.
  • a step of forming an oxide sintered body by sintering the formed body, and the step of forming the calcined powder includes 700 ° C. or higher and 1400 ° C. in an oxygen-containing atmosphere.
  • the method for producing an oxide sintered body according to still another aspect of the present invention is a method for producing an oxide sintered body according to the above aspect, wherein a primary mixture of zinc oxide powder and tungsten oxide powder is prepared. Forming a calcined powder by heat-treating the primary mixture, preparing a secondary mixture of raw material powders containing the calcined powder, and molding the secondary mixture. A step of forming an oxide sintered body by sintering the compact, and the step of forming the calcined powder is performed at 550 ° C. or higher and 1200 ° C. in an oxygen-containing atmosphere. Forming a double oxide powder containing zinc and tungsten as the calcined powder by heat-treating the primary mixture at a temperature below.
  • FIG. 1A is a schematic plan view illustrating an example of a semiconductor device according to one embodiment of the present invention.
  • 1B is a schematic cross-sectional view taken along line IB-IB shown in FIG. 1A.
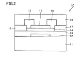
  • FIG. 2 is a schematic cross-sectional view illustrating another example of a semiconductor device according to one embodiment of the present invention.
  • FIG. 3 is a schematic cross-sectional view illustrating still another example of the semiconductor device according to one aspect of the present invention.
  • 4A is a schematic cross-sectional view showing an example of a method for manufacturing the semiconductor device shown in FIG. 1A and FIG. 1B.
  • 4B is a schematic cross-sectional view showing an example of a method for manufacturing the semiconductor device shown in FIG. 1A and FIG. 1B.
  • FIG. 1A is a schematic plan view illustrating an example of a semiconductor device according to one embodiment of the present invention.
  • 1B is a schematic cross-sectional view taken along line IB-IB shown in FIG. 1A.
  • FIG. 4C is a schematic cross-sectional view showing an example of a method for manufacturing the semiconductor device shown in FIGS. 1A and 1B.
  • FIG. 4D is a schematic cross-sectional view showing an example of a manufacturing method of the semiconductor device shown in FIGS. 1A and 1B.
  • FIG. 5A is a schematic cross-sectional view showing an example of a manufacturing method of the semiconductor device shown in FIG.
  • FIG. 5B is a schematic cross-sectional view showing an example of a manufacturing method of the semiconductor device shown in FIG.
  • FIG. 5C is a schematic cross-sectional view showing an example of a manufacturing method of the semiconductor device shown in FIG.
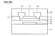
  • FIG. 5D is a schematic cross-sectional view showing an example of a method for manufacturing the semiconductor device shown in FIG.
  • the sputter target When an oxide sintered body is applied to a sputter target, the sputter target is generally processed into a desired shape by grinding, cutting, or the like. Since the oxide sintered body may be chipped or cracked during such processing, it is desirable that the oxide sintered body has high mechanical strength.
  • an oxide sintered body that can exhibit high mechanical strength and high thermal conductivity, a method for manufacturing the oxide sintered body, a sputter target including the oxide sintered body, and the sputter target are used.
  • An object is to provide a method for manufacturing a semiconductor device including an oxide semiconductor film to be formed.
  • An oxide sintered body is an oxide sintered body containing indium (In), tungsten (W), and zinc (Zn), and the oxide sintered body Particles that are the main component and include the first crystal phase including the bixbite type crystal phase and the second crystal phase having a higher zinc content than the first crystal phase, and constituting the second crystal phase have an average length
  • the shaft diameter is 3 ⁇ m or more and 50 ⁇ m or less, and the average aspect ratio is 4 or more and 50 or less.
  • the second crystal phase is included in a part of the oxide sintered body.
  • the oxide sintered body of the present embodiment can exhibit high mechanical strength and high thermal conductivity.
  • the oxide sintered body of the present embodiment can exhibit a high apparent density (which means an apparent density after sintering and is also referred to as a sintered density) even at a relatively low sintering temperature.
  • the oxide sintered body of this embodiment can be suitably used as a sputtering target for forming an oxide semiconductor film (for example, an oxide semiconductor film functioning as a channel layer) included in a semiconductor device. According to the oxide sintered body, a semiconductor device having high field effect mobility and high reliability can be obtained.
  • the oxide sintered body of the present embodiment has a first diffraction peak at a position larger than 34.74 deg of 2 ⁇ in X-ray diffraction and smaller than 34.97 deg, and larger than 31.77 deg of 2 ⁇ and 32.00 deg.
  • the second diffraction peak can be provided at a smaller position, and in this case, the ratio Ia / Ib between the peak intensity Ia of the first diffraction peak and the peak intensity Ib of the second diffraction peak is 0.05 or more and 3 or less. Is preferred.
  • the Ia / Ib within this range is advantageous for realizing an oxide sintered body having a high apparent density and a high thermal conductivity even at a relatively low sintering temperature. It is also advantageous in increasing field effect mobility and reliability.
  • the oxide sintered body of the present embodiment has an apparent density greater than 6.4 g / cm 3 and 7.5 g / cm 3 or less, and is based on the sum of indium, tungsten, and zinc in the oxide sintered body.
  • the content of tungsten (hereinafter also referred to as “W content” of the oxide sintered body) is larger than 0.5 atomic% and not larger than 5.0 atomic%, and indium, tungsten and
  • the zinc content relative to the total zinc (hereinafter also referred to as “Zn content” of the oxide sintered body) is 1.2 atomic% or more and less than 50 atomic%, and zinc relative to tungsten in the oxide sintered body
  • the atomic ratio (hereinafter also referred to as “Zn / W ratio” of the oxide sintered body) is preferably larger than 1.0 and smaller than 100.
  • the apparent density within the above range is advantageous when the oxide sintered body of the present embodiment is used as a sputtering target.
  • the W content, Zn content, and Zn / W ratio being in the above ranges are advantageous for realizing an oxide sintered body that has a high apparent density and a high thermal conductivity even at a relatively low sintering temperature. It is also advantageous for enhancing the field effect mobility and reliability of the semiconductor device.
  • a sputter target according to another embodiment of the present invention includes the oxide sintered body of the above embodiment. Since the sputter target of this embodiment includes the oxide sintered body of the above-described embodiment, it is preferably used for forming an oxide semiconductor film of a semiconductor device with high field effect mobility and high reliability by a sputtering method.
  • a semiconductor device manufacturing method is a method for manufacturing a semiconductor device including an oxide semiconductor film, the step of preparing the sputter target of the above embodiment, and the sputter target. And forming the oxide semiconductor film by sputtering using a sputtering method. Since the semiconductor device obtained by the manufacturing method of this embodiment includes an oxide semiconductor film formed by sputtering using the sputtering target of the above embodiment, high field-effect mobility and reliability can be exhibited.
  • the semiconductor device described here is not particularly limited, but a TFT (thin film transistor) including an oxide semiconductor film formed by a sputtering method using the sputtering target of the above embodiment as a channel layer is a preferable example.
  • the content of tungsten with respect to the total of indium, tungsten, and zinc in the obtained oxide semiconductor film (hereinafter, also referred to as “W content” of the oxide semiconductor film).
  • W content the content of tungsten with respect to the total of indium, tungsten, and zinc in the obtained oxide semiconductor film.
  • Zn content ratio the zinc content relative to the total of indium, tungsten and zinc in the oxide semiconductor film
  • Zn content ratio Is 1 atomic percent or more and less than 50 atomic percent
  • the atomic ratio of zinc to tungsten in the oxide semiconductor film (hereinafter also referred to as “Zn / W ratio” of the oxide semiconductor film) is from 1.0. It is preferably larger and smaller than 100. Since the semiconductor device obtained by the manufacturing method of this embodiment includes an oxide semiconductor film formed using the sputtering target of the above embodiment, high field-effect mobility and reliability can be exhibited.
  • the obtained oxide semiconductor film can be composed of at least one of a nanocrystalline oxide and an amorphous oxide. This is advantageous in increasing the field effect mobility and reliability in a semiconductor device including an oxide semiconductor film as a channel layer, for example.
  • a method for manufacturing an oxide sintered body according to still another embodiment of the present invention is a method for manufacturing an oxide sintered body according to the above-described embodiment, and includes an indium oxide powder and a tungsten oxide powder.
  • a step of preparing a primary mixture, a step of forming a calcined powder by heat-treating the primary mixture, a step of preparing a secondary mixture of raw material powders including the calcined powder, and forming the secondary mixture The step of forming a sintered body and the step of forming an oxide sintered body by sintering the molded body, and the step of forming the calcined powder is performed at 700 ° C. or higher and lower than 1400 ° C. in an oxygen-containing atmosphere.
  • the mechanical strength and thermal conductivity are high, or in addition to these, oxide sintered bodies having a high apparent density even at a relatively low sintering temperature are compared. Can be easily obtained.
  • the double oxide may include an In 6 WO 12 type crystal phase. This is advantageous in obtaining an oxide sintered body having high apparent density and mechanical strength and high thermal conductivity.
  • a method for manufacturing an oxide sintered body according to still another embodiment of the present invention is a method for manufacturing an oxide sintered body according to the above-described embodiment, and includes a zinc oxide powder and a tungsten oxide powder.
  • a step of preparing a primary mixture, a step of forming a calcined powder by heat-treating the primary mixture, a step of preparing a secondary mixture of raw material powders including the calcined powder, and forming the secondary mixture The step of forming a calcined powder including the step of forming a molded body by sintering and the step of forming an oxide sintered body by sintering the molded body is performed at 550 ° C. or more and less than 1200 ° C.
  • an oxide sintered body of the present embodiment Forming a double oxide powder containing zinc and tungsten as the calcined powder by heat-treating the primary mixture at a temperature of According to the method for manufacturing an oxide sintered body of the present embodiment, the mechanical strength and thermal conductivity are high, or in addition to these, oxide sintered bodies having a high apparent density even at a relatively low sintering temperature are compared. Can be easily obtained.
  • the double oxide may contain a ZnWO 4 type crystal phase. This is advantageous in obtaining an oxide sintered body having high apparent density and mechanical strength and high thermal conductivity.
  • the tungsten oxide powder is selected from the group consisting of a WO 3 crystal phase, a WO 2 crystal phase, and a WO 2.72 crystal phase. It may contain at least one selected crystal phase. This is advantageous in obtaining an oxide sintered body having high apparent density and mechanical strength and high thermal conductivity.
  • the tungsten oxide powder may have a median particle diameter d50 of 0.1 ⁇ m or more and 4 ⁇ m or less. This is advantageous in obtaining an oxide sintered body having high apparent density and mechanical strength and high thermal conductivity.
  • the oxide sintered body of the present embodiment is an oxide sintered body containing indium (In), tungsten (W), and zinc (Zn).
  • the oxide sintered body of the present embodiment includes a first crystal phase that is a main component of the oxide sintered body and includes a bixbite type crystal phase, and a second zinc content higher than that of the first crystal phase.
  • the particles comprising the crystal phase and constituting the second crystal phase have an average major axis diameter of 3 ⁇ m or more and 50 ⁇ m or less, and an average aspect ratio of 4 or more and 50 or less.
  • the second crystal phase is included in a part of the oxide sintered body.
  • the oxide sintered body of the present embodiment can exhibit high mechanical strength and high thermal conductivity.
  • the oxide sintered body of the present embodiment can be suitably used as a sputtering target for forming an oxide semiconductor film (for example, an oxide semiconductor film functioning as a channel layer) of a semiconductor device. According to the sintered body, it is possible to obtain a semiconductor device with high field effect mobility and high reliability.
  • the first crystal phase is a main component of the oxide sintered body and is an indium high-content crystal phase described later including at least a bixbite type crystal phase.
  • the “bixbite type crystal phase” means a bixbite crystal phase, and a phase in which at least one of the metal elements other than In is included in at least a part of the bixbite crystal phase, A generic term for those having the same crystal structure.
  • the bixbite crystal phase is one of the crystal phases of indium oxide (In 2 O 3 ), refers to the crystal structure defined in JCPDS card 6-0416, and is a rare earth oxide C-type phase (or C-rare). Also called soil structure phase.
  • bixbite type crystal phase can be identified by X-ray diffraction. That is, the existence of a bixbite type crystal phase is confirmed by X-ray diffraction, and the spacing between each plane can be measured.
  • the measurement conditions for X-ray diffraction the conditions shown in the following “(3) X-ray diffraction characteristics of oxide sintered body” are adopted.
  • the first crystal phase including the bixbite type crystal phase is the main component of the oxide sintered body” means that in the oxide sintered body, the bixbite type crystal phase, the indium tungstate compound crystal phase, etc. This means that the ratio of the indium-rich crystal phase containing In in terms of content (the indium-rich crystal phase occupancy) is 50% or more.
  • the “indium-rich crystal phase occupancy” is measured as follows. First, a sample is taken from a part of the oxide sintered body, and the surface of the sample is polished and smoothed. Next, using SEM-EDX (scanning secondary electron microscope with an energy dispersive fluorescence X-ray analyzer), the surface of the sample is observed with SEM (scanning secondary electron microscope), and each crystal particle is observed. The metal elemental composition ratio is analyzed by EDX (energy dispersive fluorescence X-ray analyzer). Then, the crystal particles are grouped based on the tendency of the composition ratio of the metal elements of the crystal particles.
  • SEM-EDX scanning secondary electron microscope with an energy dispersive fluorescence X-ray analyzer
  • the Zn content rate [Zn content rate (atomic%) with respect to the sum of In, W, and Zn] is higher than the group B described later, and the Zn content rate is very low.
  • Group B indium-rich crystal phase
  • the crystal grains of group B are determined to be the first crystal phase (such as In 2 O 3 phase).
  • the first crystal phase may include an indium tungstate compound crystal phase in addition to the bixbyite crystal phase.
  • the “indium-rich crystal phase occupancy ratio” in the oxide sintered body is defined as the ratio (percentage) of the area of the indium-rich crystal phase (group B) to the measurement surface of the oxide sintered body. Is done.
  • the oxide sintered body according to this embodiment including the first crystal phase (indium-rich crystal phase) as a main component has an indium-rich crystal phase occupancy of 50% or more according to this definition.
  • W and / or Zn may be dissolved in at least a part thereof. This is advantageous in realizing an oxide sintered body having high mechanical strength and high thermal conductivity, and the oxide semiconductor film formed using the oxide sintered body is channeled. This is also advantageous in increasing the field effect mobility and reliability of the semiconductor device included as a layer.
  • W and / or Zn is solid-dissolved in at least a part of the first crystal phase means that W and / or Zn is solid in a substitutional form in at least a part of the crystal lattice of the first crystal phase. It means a dissolved form, an interstitial solid solution form between crystal lattices, or a solid solution form in both substitutional and interstitial forms.
  • the oxide sintered body according to the present embodiment when W and / or Zn is dissolved in at least a part of the bixbite type crystal phase included in the first crystal phase, it is defined in JCPDS card 6-0416. It becomes wider or narrower than the surface spacing. In X-ray diffraction, the peak position shifts to the high angle side or shifts to the low angle side. This peak shift is confirmed, and SEM-EDX (scanning secondary electron microscope with an energy dispersive fluorescent X-ray analyzer) and TEM-EDX (transmission with an energy dispersive fluorescent X-ray analyzer) are used.
  • SEM-EDX scanning secondary electron microscope with an energy dispersive fluorescent X-ray analyzer
  • TEM-EDX transmission with an energy dispersive fluorescent X-ray analyzer
  • the bixbite type crystal phase contained in the first crystal phase contains W and / or Zn. It can be determined that is dissolved.
  • the presence elements are identified using ICP (inductively coupled plasma) mass spectrometry, SEM-EDX, and other element identification methods, and the presence of W and / or Zn together with In is confirmed. It can also be determined that W and / or Zn is solid-solved in the bixbite type crystal phase contained in the first crystal phase when the oxide of W and / or Zn is not confirmed by diffraction.
  • ICP inductively coupled plasma
  • the first crystal phase may further include an indium tungstate compound crystal phase. Further including an indium tungstate compound crystal phase is advantageous in realizing an oxide sintered body having high mechanical strength and high thermal conductivity, and is formed using the oxide sintered body. This is also advantageous in improving the field effect mobility and reliability of a semiconductor device including the oxide semiconductor film to be used as a channel layer.
  • the indium tungstate compound crystal phase is a phase that can be included in a part of the oxide sintered body.
  • indium tungstate compound crystal phase is a crystal phase mainly composed of In, W and O.
  • In 6 WO 12 crystal phase, InW 3 O 9 phase and the like can be mentioned.
  • the In 6 WO 12 crystal phase is a crystal phase of an indium tungstate compound having a trigonal crystal structure and having a crystal structure defined in JCPDS card 01-074-1410.
  • oxygen may be deficient or metal may be dissolved, and the lattice constant may be changed.
  • the InW 3 O 9 phase has a hexagonal crystal structure and is an indium tungstate compound crystal phase having a crystal structure defined by JCPDS Card 33-627. As long as the crystal system is shown, oxygen may be deficient or metal may be dissolved, and the lattice constant may be changed.
  • the presence of the indium tungstate compound crystal phase is confirmed by obtaining a peak attributed to the indium tungstate compound crystal phase in X-ray diffraction.
  • the oxide sintered body of the present embodiment has a higher Zn content (Zn content (atomic%) relative to the sum of In, W, and Zn) than the first crystal phase. Further comprising a phase.
  • the second crystal phase is a phase included in a part of the oxide sintered body.
  • the second crystal phase preferably has a Zn content of 50 atomic% or more. From the viewpoint of realizing an oxide sintered body having high mechanical strength and high thermal conductivity, the Zn content of the second crystal phase is more preferably 60 atomic% or more, and further preferably 70 atomic%. That's it.
  • the Zn content of the second crystal phase may be 100 atomic%.
  • the presence of the second crystal phase can be confirmed by surface analysis using SEM-EDX performed when obtaining the indium-rich crystal phase occupancy ratio.
  • the crystal phase constituting the crystal particles is the second crystal phase.
  • the second crystal phase can be, for example, a hexagonal wurtzite crystal phase, a zinc tungstate compound crystal phase, a hexagonal layered crystal phase, and combinations thereof.
  • the term “hexagonal wurtzite crystal phase” refers to a hexagonal wurtz crystal phase and a phase in which at least part of the hexagonal wurtz crystal phase contains at least one metal element other than Zn, A generic term for those having the same crystal structure as the Wurtz crystal phase.
  • the hexagonal wurtz crystal phase is one of the crystal phases of zinc oxide (ZnO), and space group: P63mc, space group no. : A crystal structure represented by 186 and defined in JCPDS card 01-079-0207. The presence of the hexagonal wurtzite crystal phase can be confirmed by obtaining a peak attributed to the hexagonal wurtzite crystal phase in X-ray diffraction.
  • the hexagonal wurtzite crystal phase may contain ZnO as a main component, and W and / or In may be dissolved in substitutional or interstitial forms at least in part.
  • W and / or In may be dissolved in substitutional or interstitial forms at least in part.
  • the “zinc tungstate compound crystal phase” is a crystal phase mainly composed of Zn, W and O.
  • a ZnWO 4 type crystal phase can be mentioned.
  • the "ZnWO 4 type crystal phase”, ZnWO 4 crystalline phase, and at least a portion of ZnWO 4 crystalline phase a phase that contains at least one element other than Zn and W, the same crystal structure as ZnWO 4 crystalline phase This is a general term for those having The ZnWO 4 crystal phase is a zinc tungstate compound crystal phase having a crystal structure represented by the space group P12 / c1 (13) and having a crystal structure defined by JCPDS card 01-088-0251. As long as the crystal system is shown, oxygen may be deficient or metal may be dissolved, and the lattice constant may be changed.
  • the presence of the zinc tungstate compound crystal phase can be confirmed by obtaining a peak attributed to the zinc tungstate compound crystal phase in X-ray diffraction. Further, the abundance ratio can be confirmed by surface analysis using SEM-EDX, which is performed when obtaining the indium-rich crystal phase occupation ratio. Specifically, in the above-mentioned group A grouped by this surface analysis, crystal grains containing Zn and W, more typically Zn content [Zn content relative to the sum of In, W and Zn ( Atomic%)] and W content [W content (atomic%) with respect to the sum of In, W, and Zn] are mixed at a ratio close to that of the zinc tungstate compound crystal phase in the aforementioned X-ray diffraction. The zinc tungstate compound crystal phase can be confirmed and the abundance ratio can be confirmed.
  • Examples of the hexagonal layered crystal phase include In 2 O 3 (ZnO) 5 .
  • the presence of a hexagonal layered crystal phase such as In 2 O 3 (ZnO) 5 can be confirmed by obtaining a peak attributed to the hexagonal layered crystal phase in X-ray diffraction.
  • the hexagonal layered crystal may contain W and / or In as a solid solution in at least a part thereof in a substitutional or interstitial form.
  • X-ray diffraction, SEM-, and the like as in the method for confirming that “W and / or Zn is dissolved in at least a part of the first crystal phase” described above.
  • a technique using EDX, TEM-EDX can be applied.
  • the presence of the second crystal phase can be confirmed by surface analysis using SEM-EDX performed when obtaining the indium-rich crystal phase occupancy, and is grouped by this surface analysis.
  • the crystal phase constituting the group A crystal grains is the second crystal phase. That is, it can be determined that the second crystal phase is included when there is a region where the Zn content is higher than that of the first crystal phase.
  • the second crystal phase may be a crystal phase other than the hexagonal wurtzite crystal phase, the zinc tungstate compound crystal phase, and the hexagonal layered crystal phase mentioned above.
  • the crystal grains constituting the second crystal phase preferably have an average major axis diameter of 3 to 50 ⁇ m and an average aspect ratio of 4 to 50. This is advantageous in realizing an oxide sintered body having high mechanical strength and high thermal conductivity, and the oxide semiconductor film formed using the oxide sintered body is channeled. This is also advantageous in increasing the field effect mobility and reliability of the semiconductor device included as a layer.
  • the average major axis diameter and average aspect ratio are obtained as follows.
  • group A which is the second crystal phase
  • group B which is the second crystal phase
  • the major axis length and minor axis length of the crystal grains constituting the second crystal phase observed in dark gray in the backscattered electron image taken at 500 times are measured, and the ratio of the major axis length to the minor axis length (long The aspect ratio is calculated (axis length / short axis length).
  • the minor axis length is measured at a position that is 1/2 the major axis length.
  • the second crystal phase to be measured does not have to be a single crystal, and may be a particle in which polycrystals are gathered together.
  • One region of the independent second crystal phase surrounded by the first crystal phase is a single region. Measure as one particle.
  • 100 short axis lengths and 100 long axis lengths of the second crystal phase in the 170 ⁇ m ⁇ 250 ⁇ m visual field of the backscattered electron image taken at 500 times are measured at random, and the long axis length is measured in order from the longest.
  • the average value of 20 from the 3rd position to the 22nd position arranged in the above is defined as the average major axis diameter.
  • An average major axis diameter of 3 ⁇ m or more and 50 ⁇ m or less is advantageous in increasing the mechanical strength and thermal conductivity of the oxide sintered body.
  • the average major axis diameter is preferably 10 ⁇ m or more, more preferably 15 ⁇ m or more.
  • the average major axis diameter is preferably 40 ⁇ m or less, more preferably 30 ⁇ m or less.
  • An average aspect ratio of 4 or more and 50 or less is advantageous for increasing the mechanical strength and also advantageous for increasing the thermal conductivity.
  • the average aspect ratio is less than 4, sufficiently high mechanical strength and thermal conductivity cannot be obtained.
  • the average aspect ratio is larger than 50, a sufficiently high apparent density cannot be obtained, so that the mechanical strength is lowered.
  • the average aspect ratio is preferably 6 or more, more preferably 8 or more.
  • the average aspect ratio is preferably 40 or less, more preferably 30 or less.
  • the oxide sintered body of the present embodiment has a first diffraction peak at a position larger than 34.74 deg of 2 ⁇ in X-ray diffraction and smaller than 34.97 deg. 2 ⁇ has a second diffraction peak at a position larger than 31.77 deg and smaller than 32.00 deg, and the ratio Ia / Ib between the peak intensity Ia of the first diffraction peak and the peak intensity Ib of the second diffraction peak is 0.05 or more. It is preferable that it is 3 or less.
  • This range of Ia / Ib is advantageous in realizing an oxide sintered body having a high apparent density and a high thermal conductivity even at a relatively low sintering temperature. This is also advantageous in increasing the field-effect mobility and reliability of a semiconductor device including an oxide semiconductor film formed using a combined body as a channel layer.
  • the first diffraction peak and the second diffraction peak may be obtained from the same crystal phase. If the first diffraction peak and the second diffraction peak are not obtained from the same crystal phase, the crystal phase having the second diffraction peak may be In 2 O 3 (ZnO) 5. is not.
  • Ia / Ib When Ia / Ib is less than 0.05, the thermal conductivity of the obtained oxide sintered body tends not to be sufficiently high. From this viewpoint, Ia / Ib is more preferably 0.1 or more, and further preferably 0.2 or more. It is not easy to prepare an oxide sintered body having Ia / Ib greater than 3. From the viewpoint of obtaining high thermal conductivity, Ib / Ia is more preferably 2 or less.
  • the X-ray diffraction measurement is performed under the following conditions or equivalent conditions.
  • Measurement conditions for X-ray diffraction ⁇ -2 ⁇ method, X-ray source: Cu K ⁇ ray, X-ray tube voltage: 45 kV, X-ray tube current: 40 mA, Step width: 0.03 deg. Step time: 1 second / step, Measurement range 2 ⁇ : 10 deg to 90 deg.
  • Ia / Ib shows a value specific to the material when the sample is non-oriented, but in the oxide sintered body of the present embodiment, Ia / Ib may show a value different from the value specific to the material. .
  • the second crystal phase is considered to have orientation.
  • the thermal conductivity and mechanical strength of the oxide sintered body may vary depending on the crystal orientation, but in the oxide sintered body of this embodiment, Ia / Ib is high when it is 0.05 or more and 3 or less. This is advantageous in realizing thermal conductivity and high mechanical strength.
  • the oxide sintered body of the present embodiment has an apparent density greater than 6.4 g / cm 3 and 7.5 g / It is preferable that it is cm 3 or less.
  • the oxide sintered body of the present embodiment preferably has a relative density (relative density / theoretical density) of 94% or more, which is the ratio of the apparent density to the theoretical density.
  • the apparent density within the above range is advantageous when the oxide sintered body of the present embodiment is used as a sputtering target.
  • the apparent density of the oxide sintered body is preferably as high as possible.
  • the low apparent density of the oxide sintered body means that there are many voids in the oxide sintered body.
  • the sputter target is used while its surface is etched with argon ions during use. Therefore, if there are vacancies in the oxide sintered body, they are exposed during film formation and the internal gas is released, so that the gas released from the target is mixed into the deposited oxide semiconductor thin film. As a result, the film characteristics deteriorate.
  • the oxide sintered body of the present embodiment has a W content greater than 0.5 atomic% and 5.0 atomic% or less, a Zn content of 1.2 atomic% or more and less than 50 atomic%, and Zn /
  • the W ratio is preferably larger than 1.0 and smaller than 100.
  • the W content, Zn content, and Zn / W ratio being in the above ranges are advantageous for realizing an oxide sintered body that has a high apparent density and a high thermal conductivity even at a relatively low sintering temperature.
  • the W content of the oxide sintered body is more preferably 0.6 atomic% or more and 3 atomic% or less, and further preferably 2 atomic% or less.
  • the W content of the oxide sintered body is 0.5 atomic% or less, in a semiconductor device including an oxide semiconductor film formed using the oxide sintered body as a channel layer, the reliability becomes low. End up.
  • the W content of the oxide sintered body exceeds 5 atomic%, in a semiconductor device including an oxide semiconductor film formed using a sputtering target including the oxide sintered body as a channel layer, field effect mobility Will be lower.
  • the range of the W content of the oxide sintered body is determined by the characteristics of the semiconductor device including the oxide semiconductor film formed using the oxide sintered body of the present embodiment as a channel layer.
  • the W content of the oxide semiconductor film usually indicates a value corresponding to the W content of the oxide sintered body.
  • the W content of the oxide semiconductor film does not necessarily match the W content of the oxide sintered body.
  • An oxide sintered body obtained by mixing indium oxide and tungsten oxide generally has a small apparent density.
  • the apparent density can be increased by containing Zn and increasing the contact points between W and Zn
  • the desired W content determined in consideration of the characteristics of the semiconductor device is greater than 0.5 atomic%. Since the amount is as small as 0 atomic% or less, it is preferable to increase the Zn content in order to realize an oxide sintered body having a higher apparent density.
  • the Zn content is less than 1.2 atomic%, it tends to be difficult to obtain a sufficiently high apparent density.
  • the Zn content is 50 atomic% or more, the electric resistance of the oxide sintered body increases, and it tends to be difficult to perform sputtering by applying a DC voltage.
  • the crystal grains constituting the second crystal phase are connected to each other, and it is difficult to confirm by measurement whether the average major axis diameter and / or the average aspect ratio are in the predetermined range.
  • the Zn / W ratio is 1.0 or less, it tends to be difficult to obtain a sufficiently high apparent density.
  • the Zn / W ratio is 100 or more, the electric resistance of the oxide sintered body is high, and it tends to be difficult to perform sputtering by applying a DC voltage.
  • the contents of In, Zn, and W in the oxide sintered body can be measured by ICP mass spectrometry.
  • the oxide sintered body of the present embodiment may further contain zirconium (Zr).
  • the content is, for example, 1 ⁇ 10 17 atms / cm 3 or more and 1 ⁇ 10 20 atms / cm 3 or less.
  • Zr is an element that can be mixed in the manufacturing process of the oxide sintered body, but does not hinder achieving a high apparent density and a high mechanical strength. The presence of Zr and its content can be confirmed with a secondary ion mass spectrometer.
  • the oxide sintered body of the present embodiment can be suitably used as a sputter target.
  • the sputter target is a raw material for the sputtering method.
  • a sputtering target and a substrate are placed facing each other in a film forming chamber, a voltage is applied to the sputtering target, and the surface of the target is sputtered with rare gas ions, thereby forming atoms constituting the target from the target.
  • This is a method of forming a film composed of atoms constituting the target by releasing and depositing on the substrate.
  • the sputter target is heated because a current flows by the applied voltage. For this reason, the oxide sintered body is generally attached to a copper backing plate with indium metal and water-cooled from the copper side.
  • the oxide sintered body of the present embodiment is an oxide sintered body having high thermal conductivity and high mechanical strength that meets such requirements, in particular by having a predetermined average major axis diameter and average aspect ratio. .
  • One method for producing an oxide sintered body according to this embodiment is a method for producing an oxide sintered body according to Embodiment 1, in which a primary mixture of zinc oxide powder and tungsten oxide powder is used.
  • a step of preparing, a step of forming a calcined powder by heat-treating the primary mixture, a step of preparing a secondary mixture of raw material powders including the calcined powder, and a molded body by molding the secondary mixture A step of forming, and a step of forming an oxide sintered body by sintering the formed body.
  • the primary mixture is heat-treated at a temperature of 550 ° C. or higher and lower than 1200 ° C. in an oxygen-containing atmosphere, thereby forming a double oxide powder containing Zn and W as the calcined powder. Including that.
  • the primary mixture of the zinc oxide powder and the tungsten oxide powder is heat-treated at a temperature of 550 ° C. or more and less than 1200 ° C. in an oxygen-containing atmosphere.
  • a temperature of 550 ° C. or more and less than 1200 ° C. in an oxygen-containing atmosphere is formed as the calcined powder.
  • an oxide sintered body that has high mechanical strength and high thermal conductivity and can be suitably used as a sputtering target is obtained. be able to.
  • an oxide sintered body having a high apparent density can be obtained even at a relatively low sintering temperature.
  • the double oxide may be deficient in oxygen or substituted with metal.
  • the temperature of the heat treatment is less than 550 ° C., a double oxide powder containing Zn and W cannot be obtained, and if it is 1200 ° C. or higher, the double oxide powder containing Zn and W is decomposed or scattered. The particle size of the double oxide powder tends to be too large for use.
  • an oxide semiconductor film formed using a sputter target containing an oxide sintered body obtained is formed into a channel layer.
  • the semiconductor device including the field effect mobility and reliability can be increased more effectively.
  • the double oxide containing Zn and W preferably contains a ZnWO 4 type crystal phase.
  • the ZnWO 4 type crystal phase is a zinc tungstate compound crystal phase having a crystal structure represented by the space group P12 / c1 (13) and having a crystal structure defined by JCPDS card 01-088-0251. . As long as the crystal system is shown, oxygen may be deficient or metal may be dissolved, and the lattice constant may be changed.
  • the ZnWO 4 type crystal phase is identified by X-ray diffraction measurement.
  • another one of the manufacturing methods of the oxide sintered compact which concerns on this embodiment is a manufacturing method of the oxide sintered compact which concerns on Embodiment 1, Comprising: Indium oxide powder and tungsten oxide powder
  • a step of preparing a primary mixture, a step of forming a calcined powder by heat-treating the primary mixture, a step of preparing a secondary mixture of raw material powders including the calcined powder, and forming the secondary mixture The step of forming a molded body by the above and the step of forming an oxide sintered body by sintering the molded body are included.
  • the primary mixture is heat-treated at a temperature of 700 ° C. or higher and lower than 1400 ° C. in an oxygen-containing atmosphere, thereby forming a double oxide powder containing In and W as the calcined powder. Including that.
  • the primary mixture of the indium oxide powder and the tungsten oxide powder is heat-treated at a temperature of 700 ° C. or higher and lower than 1400 ° C. in an oxygen-containing atmosphere.
  • a double oxide powder containing In and W as the calcined powder provides an oxide sintered body that has high mechanical strength and high thermal conductivity and can be suitably used as a sputtering target. be able to.
  • an oxide sintered body having a high apparent density can be obtained even at a relatively low sintering temperature.
  • the double oxide may be deficient in oxygen or substituted with metal.
  • the heat treatment temperature is less than 700 ° C., a double oxide powder containing In and W cannot be obtained. If the heat treatment temperature is 1400 ° C. or higher, the double oxide powder containing In and W is decomposed or scattered. The particle size of the double oxide powder tends to be too large for use.
  • an oxide semiconductor film formed using a sputter target containing an oxide sintered body obtained is formed into a channel layer.
  • the semiconductor device including the field effect mobility and reliability can be increased more effectively.
  • the double oxide containing In and W preferably contains an In 6 WO 12 type crystal phase.
  • the In 6 WO 12 crystal phase is a crystal phase of an indium tungstate compound having a trigonal crystal structure and having a crystal structure defined in JCPDS card 01-074-1410. As long as the crystal system is shown, oxygen may be deficient or metal may be dissolved, and the lattice constant may be changed.
  • the indium tungstate compound crystal phase disclosed in Japanese Patent Application Laid-Open No. 2004-091265 is an InW 3 O 9 crystal phase, has a hexagonal crystal structure, and is defined in JCPDS Card 33-627. The crystal structure is different from the In 6 WO 12 crystal phase.
  • In 6 WO 12 type crystal phase is identified by X-ray diffraction measurement.
  • the oxide sintered body containing In, W and Zn In order to increase the apparent density of the oxide sintered body containing In, W and Zn, it is effective to have a double oxide containing Zn and W having a low melting point present during sintering.
  • a method of using a composite oxide powder containing Zn and W synthesized in advance in a manufacturing process and a method using a composite oxide powder containing indium and tungsten synthesized beforehand may be used in combination.
  • a method of using a composite oxide powder containing Zn and W synthesized in advance in a manufacturing process and a method using a composite oxide powder containing indium and tungsten synthesized beforehand may be used in combination.
  • the tungsten oxide powder used for manufacturing the oxide sintered body includes at least one crystal phase selected from the group consisting of a WO 3 crystal phase, a WO 2 crystal phase, and a WO 2.72 crystal phase.
  • the apparent density and mechanical strength of the oxide sintered body can be increased more effectively, and it is advantageous for increasing the field effect mobility and reliability.
  • the tungsten oxide powder preferably has a median particle diameter d50 of 0.1 ⁇ m to 4 ⁇ m, more preferably 0.2 ⁇ m to 2 ⁇ m, and further preferably 0.3 ⁇ m to 1.5 ⁇ m. preferable. Thereby, the apparent density and mechanical strength of the oxide sintered body can be increased more effectively.
  • the median particle size d50 is determined by BET specific surface area measurement. When the median particle size d50 is smaller than 0.1 ⁇ m, it is difficult to handle the powder, and it tends to be difficult to uniformly mix the zinc oxide powder and the tungsten oxide powder or the indium oxide powder and the tungsten oxide powder. .
  • the mixed oxide powder containing Zn and W obtained by heat treatment at a temperature of 550 ° C. or more and less than 1200 ° C. in an oxygen-containing atmosphere after mixing with the zinc oxide powder The particle size also increases, and it tends to be difficult to increase the apparent density and mechanical strength of the oxide sintered body.
  • the particle size of the double oxide powder containing In and W obtained by heat treatment at a temperature of 700 ° C. or higher and lower than 1400 ° C. in an oxygen-containing atmosphere after being mixed with the indium oxide powder is also increased. Therefore, it tends to be difficult to increase the apparent density and mechanical strength of the oxide sintered body.
  • the manufacturing method of the oxide sintered body according to the present embodiment is not particularly limited, but includes, for example, the following steps from the viewpoint of efficiently forming the oxide sintered body of Embodiment 1.
  • Indium oxide powder for example, In 2 O 3 powder
  • tungsten oxide powder for example, WO 3 powder, WO 2.72 powder, WO 2 powder
  • a metal element oxide powder constituting the oxide sintered body such as zinc oxide powder (for example, ZnO powder)
  • the tungsten oxide powder it is possible to use not only WO 3 powder but also powder having a chemical composition deficient in oxygen as compared with WO 3 powder such as WO 2.72 powder and WO 2 powder as a raw material. It is preferable from the viewpoint of improving mobility and reliability.
  • the purity of the raw material powder is preferably a high purity of 99.9% by mass or more from the viewpoint of preventing unintentional mixing of metal elements and Si into the oxide sintered body and obtaining stable physical properties.
  • the median particle diameter d50 of the tungsten oxide powder is preferably 0.1 ⁇ m or more and 4 ⁇ m or less from the viewpoint of increasing the apparent density and mechanical strength of the oxide sintered body.
  • Step of preparing primary mixture (2-1) Step of preparing primary mixture of zinc oxide powder and tungsten oxide powder Among the above raw material powders, zinc oxide powder and tungsten oxide powder Mix (or pulverize and mix). At this time, when it is desired to obtain a ZnWO 4 type crystal phase as the crystal phase of the oxide sintered body, the tungsten oxide powder and the zinc oxide powder are mixed at a molar ratio of 1: 1 to Zn 2 W 3 O 8. In order to obtain a type crystal phase, the tungsten oxide powder and the zinc oxide powder are mixed at a molar ratio of 3: 2.
  • the oxide sintered body is made of ZnWO. It preferably contains a type 4 phase.
  • any of dry and wet methods may be used, and specifically, pulverized and mixed using a ball mill, a planetary ball mill, a bead mill or the like. Is done. In this way, a primary mixture of raw material powders is obtained.
  • a drying method such as natural drying or a spray dryer can be used to dry the mixture obtained using the wet pulverization and mixing method.
  • Step of preparing a primary mixture of indium oxide powder and tungsten oxide powder Among the raw material powders, indium oxide powder and tungsten oxide powder are mixed (or ground and mixed). At this time, when it is desired to obtain an In 6 WO 12 type crystal phase as the crystal phase of the oxide sintered body, the tungsten oxide powder and the indium oxide powder are mixed at a molar ratio of 1: 3.
  • the method of mixing the tungsten oxide powder and the indium oxide powder and any of dry and wet methods may be used. Specifically, pulverized and mixed using a ball mill, a planetary ball mill, a bead mill or the like. Is done. In this way, a primary mixture of raw material powders is obtained.
  • a drying method such as natural drying or a spray dryer can be used to dry the mixture obtained using the wet pulverization and mixing method.
  • Step of forming calcined powder (3-1) Step of forming calcined powder of zinc tungstate oxide
  • the obtained primary mixture is heat-treated (calcined) to obtain calcined powder (Zn and W A double oxide powder).
  • the calcining temperature of the primary mixture is preferably less than 1200 ° C. so that the particle size of the calcined product becomes too large and the apparent density of the sintered body does not decrease.
  • Zn and W are used as calcined products.
  • the temperature is preferably 550 ° C. or higher.
  • the calcining atmosphere may be an atmosphere containing oxygen, but may be an air atmosphere having a pressure higher than atmospheric pressure or air, or an oxygen-nitrogen mixed atmosphere containing 25% by volume or more of oxygen having a pressure higher than atmospheric pressure or air. preferable. Since the productivity is high, an air atmosphere at atmospheric pressure or in the vicinity thereof is more preferable.
  • Step of forming a calcined powder of indium tungstate oxide The obtained primary mixture is heat-treated (calcined) to form a calcined powder (a double oxide powder containing In and W). To do.
  • the calcining temperature of the primary mixture is preferably less than 1400 ° C. so that the particle size of the calcined product becomes too large and the apparent density or mechanical strength of the sintered body does not decrease.
  • the temperature is preferably 700 ° C. or higher. More preferably, it is 800 degreeC or more and less than 1300 degreeC.
  • the calcining atmosphere may be an atmosphere containing oxygen, but may be an air atmosphere having a pressure higher than atmospheric pressure or air, or an oxygen-nitrogen mixed atmosphere containing 25% by volume or more of oxygen having a pressure higher than atmospheric pressure or air. preferable. Since the productivity is high, an air atmosphere at atmospheric pressure or in the vicinity thereof is more preferable.
  • Step of preparing a secondary mixture of raw material powder including calcined powder Next, the obtained calcined powder and the remaining powder of the raw material powder [indium oxide powder (for example, In 2 O 3 powder) ) Or zinc oxide powder (for example, ZnO powder)] is mixed (or ground and mixed) in the same manner as the preparation of the primary mixture. In this way, a secondary mixture of raw material powders is obtained.
  • the tungsten oxide is preferably present as a double oxide by the calcination step.
  • the obtained molded body is sintered to form an oxide sintered body.
  • the hot press sintering method it is preferable not to use the hot press sintering method in terms of productivity.
  • the sintering temperature of the molded body but in order to increase the apparent density of the oxide sintered body to be formed above 6.4 g / cm 3 and to increase the mechanical strength, the temperature is 900 ° C. or higher and 1200 ° C. It is preferable that the temperature is lower than ° C.
  • the sintering atmosphere but from the viewpoint of preventing the generation of cracks by preventing the grain size of the constituent crystals of the oxide sintered body from increasing, an air atmosphere at or near atmospheric pressure is preferable. .
  • the sputter target according to the present embodiment includes the oxide sintered body according to the first embodiment. Therefore, the sputter target according to this embodiment can be suitably used for forming an oxide semiconductor film of a semiconductor device having high field effect mobility and high reliability by a sputtering method.
  • the sputter target according to this embodiment is preferably used for forming an oxide semiconductor film of a semiconductor device with high field effect mobility and high reliability by a sputtering method. It is preferable that a bonded body is included, and it is more preferable that the oxide sintered body of Embodiment 1 is included.
  • the semiconductor device 10 according to the present embodiment is formed using the oxide sintered body according to the first embodiment, or formed by sputtering using the sputter target according to the third embodiment.
  • An oxide semiconductor film 14 is included. Since the oxide semiconductor film 14 is included, the semiconductor device according to this embodiment can have characteristics of high field-effect mobility and high reliability.
  • the semiconductor device 10 according to the present embodiment is not particularly limited, but is preferably a TFT (thin film transistor) because it has high field effect mobility and high reliability, for example.
  • the oxide semiconductor film 14 included in the TFT is preferably a channel layer because it has high field-effect mobility and high reliability.
  • the W content of the oxide semiconductor film 14 is preferably greater than 0.5 atomic% and equal to or less than 5.0 atomic%, and the Zn content of the oxide semiconductor film 14 is The Zn / W ratio of the oxide semiconductor film 14 is preferably greater than 1.0 and less than 100. Thereby, the field effect mobility and reliability of the semiconductor device 10 can be improved.
  • the W content of the oxide semiconductor film 14 is more preferably 0.6 atomic percent or more and 3 atomic percent or less, and further preferably 2 atomic percent or less.
  • the W content of the oxide semiconductor film 14 is 0.5 atomic% or less, the reliability of the semiconductor device including the oxide semiconductor film 14 as a channel layer is lowered.
  • the W content of the oxide semiconductor film 14 exceeds 5 atomic%, field effect mobility is lowered in a semiconductor device including the oxide semiconductor film as a channel layer.
  • the oxide semiconductor film 14 has a Zn content of 1 atomic% or more and less than 50 atomic% and the oxide semiconductor film 14 has a Zn / W ratio greater than 1.0 and less than 100, the oxide semiconductor film 14 is In a semiconductor device including a channel layer, field effect mobility can be increased and reliability can be increased.
  • the Zn content of the oxide semiconductor film 14 is more preferably greater than 3 atomic% and less than or equal to 40 atomic%, and even more preferably greater than or equal to 5 atomic% and greater than 20 atomic%. small.
  • the Zn content of the oxide semiconductor film 14 is smaller than 1 atomic%, the reliability of the semiconductor device including the oxide semiconductor film 14 as a channel layer is lowered.
  • the Zn content of the oxide semiconductor film 14 is 50 atomic% or more, field effect mobility is lowered in a semiconductor device including the oxide semiconductor film 14 as a channel layer.
  • the Zn / W ratio in the oxide semiconductor film 14 is 1.0 or less, the reliability of the semiconductor device including the oxide semiconductor film 14 as a channel layer is lowered.
  • the Zn / W ratio is more preferably 3.0 or more, and further preferably 5.0 or more.
  • the Zn / W ratio in the oxide semiconductor film 14 is 100 or more, field effect mobility is lowered in a semiconductor device including the oxide semiconductor film 14 as a channel layer.
  • the Zn / W ratio is more preferably less than 20.
  • the chemical composition of the oxide semiconductor film 14, that is, the content of various elements is measured by RBS (Rutherford backscattering analysis). Based on this measurement result, W content rate, Zn content rate, and Zn / W ratio are calculated.
  • RBS Rutherford backscattering analysis
  • W content rate, Zn content rate, and Zn / W ratio are calculated.
  • TEM-EDX a transmission electron microscope with an energy dispersive fluorescent X-ray analyzer.
  • RBS measurement is desirable because of the accuracy of chemical composition measurement.
  • TEM-EDX first, a calibration curve sample is made of In, W, Zn, and O, has a composition close to the oxide semiconductor film to be measured, and can be analyzed by RBS At least three or more oxide semiconductor films are prepared.
  • the contents of In, W and Zn are measured by RBS, and the contents of In, W and Zn are measured by TEM-EDX. From these measured values, a calibration curve showing the relationship between the measured values of In, W and Zn contents by TEM-EDX and the measured values of In, W and Zn contents by RBS is created. Then, for the oxide semiconductor film to be measured, the contents of In, W and Zn are measured by TEM-EDX, and then the measured values are measured for the contents of In, W and Zn by RBS based on the calibration curve. Convert to value. This converted value is the content of In, W, and Zn in the oxide semiconductor film to be measured.
  • the oxide semiconductor 14 may further contain zirconium (Zr).
  • the content is, for example, 1 ⁇ 10 17 atms / cm 3 or more and 1 ⁇ 10 20 atms / cm 3 or less.
  • Zr is an element that can be mixed in the manufacturing process of the oxide sintered body, and can also be mixed in the oxide semiconductor film 14 formed using this oxide sintered body as a raw material. It does not hinder high field effect mobility and high reliability. The presence and content of zirconium can be confirmed with a secondary ion mass spectrometer.
  • an oxide semiconductor changes the reliability of a semiconductor device by changing a sputtering power during the manufacture of the semiconductor device.
  • the reliability of the semiconductor device is improved.
  • the reason why the reliability can be increased is not clear, but it is conceivable that the density of the obtained oxide semiconductor film is improved and the density of trapped states of carriers that affect the reliability of the semiconductor device is decreased.
  • the oxide semiconductor film 14 is composed of at least one of a nanocrystalline oxide and an amorphous oxide, and has a high field effect mobility in a semiconductor device (for example, TFT) including this as a channel layer, and This is preferable because the reliability can be increased.
  • a semiconductor device for example, TFT
  • the “nanocrystalline oxide” means that only a broad peak appearing on a low angle side called a halo is observed without observing a peak due to a crystal even by X-ray diffraction measurement according to the following conditions.
  • region is implemented according to the following conditions using a transmission electron microscope, the ring-shaped pattern is observed.
  • the ring-shaped pattern includes a case where spots are gathered to form a ring-shaped pattern.
  • amorphous oxide means that only a broad peak appearing on the low angle side called a halo is observed without a peak due to a crystal being observed even by X-ray diffraction measurement under the following conditions.
  • Measuring method Micro electron diffraction method, Acceleration voltage: 200 kV, Beam diameter: Same or equivalent to the thickness of the oxide semiconductor film to be measured.
  • an oxide semiconductor film as disclosed in, for example, Japanese Patent No. 5172918 includes c-axis-oriented crystals along a direction perpendicular to the surface of the film. When the nanocrystals in the region are oriented in a certain direction, a spot-like pattern is observed.
  • the nanocrystal has a crystal with respect to the surface of the film when at least a plane (film cross section) perpendicular to the film plane is observed. It is non-oriented and has random orientation. That is, the crystal axis is not oriented with respect to the film thickness direction.
  • the oxide semiconductor film 14 is composed of nanocrystalline oxide or amorphous oxide, high field effect mobility can be achieved in a semiconductor device including the oxide semiconductor film 14 as a channel layer.
  • the oxide semiconductor film 14 is preferably made of an amorphous oxide.
  • the film thickness of the oxide semiconductor film 14 is, for example, not less than 2 nm and not more than 60 nm.
  • the oxide semiconductor film 14 preferably has an electrical resistivity of 10 ⁇ 1 ⁇ cm or more.
  • Many transparent conductive films using indium oxide have been studied so far, but the electrical resistivity is required to be smaller than 10 ⁇ 1 ⁇ cm in applications of these transparent conductive films.
  • the oxide semiconductor film included in the semiconductor device of this embodiment preferably has an electric resistivity of 10 ⁇ 1 ⁇ cm or more, and thus can be suitably used as a channel layer of the semiconductor device. When the electrical resistivity is less than 10 ⁇ 1 ⁇ cm, it is difficult to use as a channel layer of a semiconductor device.
  • the oxide semiconductor film 14 can be obtained by a manufacturing method including a step of forming a film by a sputtering method.
  • the meaning of the sputtering method is as described above.
  • a method for forming the oxide semiconductor film a pulse laser deposition (PLD) method, a heating deposition method, and the like have been proposed in addition to the sputtering method.
  • PLD pulse laser deposition
  • the sputtering method is preferable from the viewpoint of productivity.
  • a magnetron sputtering method As the sputtering method, a magnetron sputtering method, a counter target type magnetron sputtering method, or the like can be used.
  • Ar gas, Kr gas, and Xe gas can be used as the atmosphere gas at the time of sputtering, and oxygen gas can be mixed and used with these gases.
  • the oxide semiconductor film 14 can also be obtained by heat treatment after film formation by sputtering, or by heat treatment while film formation by sputtering. Accordingly, an oxide semiconductor film composed of nanocrystalline oxide or amorphous oxide can be easily obtained. In addition, an oxide semiconductor film obtained by this method is advantageous in increasing field effect mobility and reliability in a semiconductor device (for example, TFT) including the oxide semiconductor film as a channel layer.
  • a semiconductor device for example, TFT
  • the heat treatment that is performed while performing film formation by sputtering can be performed by heating the substrate during the film formation.
  • the substrate temperature is preferably 100 ° C. or higher and 250 ° C. or lower.
  • the heat treatment time corresponds to the film formation time, and the film formation time depends on the thickness of the oxide semiconductor film 14 to be formed, but can be, for example, about 10 seconds to 10 minutes.
  • the heat treatment performed after the film formation by the sputtering method can be performed by heating the substrate.
  • heat treatment is preferably performed after film formation by sputtering.
  • heat treatment may be performed immediately after the oxide semiconductor film 14 is formed, or heat treatment may be performed after the source electrode, the drain electrode, the etch stopper layer (ES layer), the passivation layer, and the like are formed. .
  • the substrate temperature is preferably 100 ° C. or higher and 500 ° C. or lower.
  • the atmosphere of the heat treatment may be various atmospheres such as air, nitrogen gas, nitrogen gas-oxygen gas, Ar gas, Ar-oxygen gas, water vapor-containing air, water vapor-containing nitrogen.
  • the atmospheric pressure can be atmospheric pressure, reduced pressure conditions (for example, less than 0.1 Pa), and pressurized conditions (for example, 0.1 Pa to 9 MPa), but is preferably atmospheric pressure.
  • the heat treatment time can be, for example, about 3 minutes to 2 hours, and preferably about 10 minutes to 90 minutes.
  • 1A, 1B, 2 and 3 are schematic views showing some examples of a semiconductor device (TFT) according to this embodiment.
  • 1A and 1B includes a substrate 11, a gate electrode 12 disposed on the substrate 11, a gate insulating film 13 disposed as an insulating layer on the gate electrode 12, and a gate insulating film 13 It includes an oxide semiconductor film 14 disposed as a channel layer thereon, and a source electrode 15 and a drain electrode 16 disposed on the oxide semiconductor film 14 so as not to contact each other.
  • the semiconductor device 20 shown in FIG. 2 is disposed on the gate insulating film 13 and the oxide semiconductor film 14, and is disposed on the etch stopper layer 17, the etch stopper layer 17, the source electrode 15 and the drain electrode 16 having contact holes.
  • the semiconductor device 10 has the same configuration as that of the semiconductor device 10 shown in FIGS. 1A and 1B except that the passivation film 18 is further included.
  • the passivation film 18 may be omitted as in the semiconductor device 10 shown in FIGS. 1A and 1B.
  • the semiconductor device 30 shown in FIG. 3 is the same as the semiconductor device 10 shown in FIGS. 1A and 1B, except that it further includes a passivation film 18 disposed on the gate insulating film 13, the source electrode 15, and the drain electrode 16. It has the composition of.
  • a semiconductor device includes the oxide semiconductor film 14 and is a layer disposed in contact with at least a part of the oxide semiconductor film 14 and is an amorphous layer (hereinafter, referred to as “amorphous layer”). This layer is also referred to as “amorphous adjacent layer”). According to the semiconductor device including the amorphous adjacent layer, even when the temperature of the heat treatment described above is high, the oxide semiconductor film 14 can maintain a state in which the oxide semiconductor film 14 is formed of an amorphous oxide. High reliability can be realized.
  • Examples of the amorphous adjacent layer include a gate insulating film 13, a passivation layer 18, and an etch stopper layer 17.
  • the amorphous adjacent layer may be a layer formed in contact with the oxide semiconductor film 14 as a base (lower layer) of the oxide semiconductor film 14 or may be an upper layer formed in contact with the oxide semiconductor film 14. There may be.
  • the semiconductor device according to the present embodiment can include two or more adjacent layers. In this case, these adjacent layers can be a lower layer and an upper layer of the oxide semiconductor film 14.
  • the gate insulating film 13 may be an amorphous adjacent layer.
  • the gate insulating film 13 and / or the etch stopper layer 17 may be an amorphous adjacent layer.
  • the gate insulating film 13 and / or the passivation film 18 may be an amorphous adjacent layer.
  • the amorphous adjacent layer is preferably an oxide layer containing at least one of silicon and aluminum.
  • the fact that the amorphous adjacent layer is an oxide layer containing at least one of silicon and aluminum is advantageous in increasing the field effect mobility and reliability of the semiconductor device. This is advantageous in providing a semiconductor device that can maintain a high field-effect mobility even when it is high.
  • the amorphous adjacent layer being an oxide layer containing at least one of silicon and aluminum can be advantageous in reducing the OFF current.
  • the oxide containing at least one of silicon and aluminum is not particularly limited, and examples thereof include silicon oxide (SiO x ) and aluminum oxide (Al m O n ).
  • a method for manufacturing a semiconductor device includes a step of preparing the sputter target of the above embodiment and a step of forming the oxide semiconductor film by a sputtering method using the sputter target.
  • FIGS. 4A to 4D are illustrated from the viewpoint of efficiently manufacturing a high-performance semiconductor device 10. Referring to FIG. 4A, a step of forming gate electrode 12 on substrate 11, a step of forming gate insulating film 13 as an insulating layer on gate electrode 12 and substrate 11 (FIG. 4B), and gate insulating film 13.
  • a step of forming the oxide semiconductor film 14 as a channel layer thereon (FIG. 4C), and a step of forming the source electrode 15 and the drain electrode 16 on the oxide semiconductor film 14 so as not to contact each other (FIG. 4D). It is preferable to include.
  • gate electrode 12 is formed on substrate 11.
  • the substrate 11 is not particularly limited, but is preferably a quartz glass substrate, an alkali-free glass substrate, an alkali glass substrate, or the like from the viewpoint of increasing transparency, price stability, and surface smoothness.
  • the gate electrode 12 is not particularly limited, but is preferably a Mo electrode, a Ti electrode, a W electrode, an Al electrode, a Cu electrode, or the like because it has high oxidation resistance and low electrical resistance.
  • the method for forming the gate electrode 12 is not particularly limited, but is preferably a vacuum deposition method, a sputtering method, or the like because it can be uniformly formed on the main surface of the substrate 11 with a large area. As shown in FIG. 4A, when the gate electrode 12 is partially formed on the surface of the substrate 11, an etching method using a photoresist can be used.
  • gate insulating film 13 is formed as an insulating layer on gate electrode 12 and substrate 11.
  • the method for forming the gate insulating film 13 is not particularly limited, but is preferably a plasma CVD (chemical vapor deposition) method or the like from the viewpoint of being able to be uniformly formed in a large area and ensuring insulation.
  • the material of the gate insulating film 13 is not particularly limited, but is preferably silicon oxide (SiO x ), silicon nitride (SiN y ) or the like from the viewpoint of insulation.
  • the gate insulating film 13 may be an oxide containing at least one of silicon and aluminum such as silicon oxide (SiO x ) and aluminum oxide (Al m O n ). preferable.
  • an oxide semiconductor film 14 is formed as a channel layer on the gate insulating film 13.
  • the oxide semiconductor film 14 is preferably formed including a step of forming a film by sputtering.
  • heat treatment is performed after film formation by sputtering, or while film formation is performed by sputtering. It is preferably formed by heat treatment.
  • the raw material target (sputter target) of the sputtering method the oxide sintered body of the first embodiment is used.
  • heat treatment may be performed immediately after the oxide semiconductor film 14 is formed, or heat treatment may be performed after the source electrode 15, the drain electrode 16, the etch stopper layer 17, the passivation layer 18, and the like are formed. .
  • this heat treatment may be before or after the formation of the source electrode 15 and the drain electrode 16, but before the formation of the passivation layer 18. Is preferred.
  • source electrode 15 and drain electrode 16 are formed on oxide semiconductor film 14 so as not to contact each other.
  • the source electrode 15 and the drain electrode 16 are not particularly limited, but have a high oxidation resistance, a low electric resistance, and a low contact electric resistance with the oxide semiconductor film 14, so that the Mo electrode, the Ti electrode, and the W electrode Al electrode, Cu electrode and the like are preferable.
  • a method for forming the source electrode 15 and the drain electrode 16 is not particularly limited, but it can be uniformly formed in a large area on the main surface of the substrate 11 on which the oxide semiconductor film 14 is formed. It is preferable that it is a law etc.
  • a method for forming the source electrode 15 and the drain electrode 16 so as not to contact each other is not particularly limited, but etching using a photoresist is possible because a pattern of the source electrode 15 and the drain electrode 16 having a large area can be formed uniformly. Formation by a method is preferred.
  • This manufacturing method further includes a step of forming an etch stopper layer 17 having a contact hole 17a and a step of forming a passivation film 18.
  • 1A and 1B can be used.
  • a gate electrode 12 on a substrate 11 can be used.
  • Forming a gate insulating film 13 as an insulating layer on the gate electrode 12 and the substrate 11 (FIG. 4B), and forming an oxide semiconductor film 14 as a channel layer on the gate insulating film 13. Forming (FIG.
  • etch stopper layer 17 on the oxide semiconductor film 14 and the gate insulating film 13 (FIG. 5A), A step of forming a contact hole 17a in the etch stopper layer 17 (FIG. 5B), a step of forming the source electrode 15 and the drain electrode 16 on the oxide semiconductor film 14 and the etch stopper layer 17 so as not to contact each other (FIG. 5C), It is preferable to include a step (FIG. 5D) of forming a passivation film 18 on the etch stopper layer 17, the source electrode 15 and the drain electrode 16.
  • the material of the etch stopper layer 17 is not particularly limited, but is preferably silicon oxide (SiO x ), silicon nitride (SiN y ), aluminum oxide (Al m O n ) or the like from the viewpoint of insulation. Further, when the etch stopper layer 17 is the above-described amorphous adjacent layer, it may be an oxide containing at least one of silicon and aluminum such as silicon oxide (SiO x ) and aluminum oxide (Al m O n ). preferable.
  • the etch stopper layer 17 may be a combination of films made of different materials.
  • the method for forming the etch stopper layer 17 is not particularly limited, but from the viewpoint of being able to be uniformly formed in a large area and ensuring insulation, it is possible to use a plasma CVD (chemical vapor deposition) method, a sputtering method, a vacuum evaporation method, or the like. Preferably there is.
  • the contact hole 17 a is formed in the etch stopper layer 17 after the etch stopper layer 17 is formed on the oxide semiconductor film 14.
  • Examples of the method for forming the contact hole 17a include dry etching or wet etching. By etching the etch stopper layer 17 by this method to form the contact hole 17a, the surface of the oxide semiconductor film 14 is exposed in the etched portion.
  • the source electrode 15 and the drain are formed on the oxide semiconductor film 14 and the etch stopper layer 17 in the same manner as the manufacturing method of the semiconductor device 10 shown in FIGS. 1A and 1B.
  • a passivation film 18 is formed on the etch stopper layer 17, the source electrode 15 and the drain electrode 16 (FIG. 5D).
  • the material of the passivation film 18 is not particularly limited, but is preferably silicon oxide (SiO x ), silicon nitride (SiN y ), aluminum oxide (Al m O n ) or the like from the viewpoint of insulation. Further, when the passivation film 18 is the above-described amorphous adjacent layer, it is preferably an oxide containing at least one of silicon and aluminum such as silicon oxide (SiO x ) and aluminum oxide (Al m O n ). .
  • the passivation film 18 may be a combination of films made of different materials.
  • the formation method of the passivation film 18 is not particularly limited, but is a plasma CVD (chemical vapor deposition) method, a sputtering method, a vacuum evaporation method, etc. from the viewpoint that it can be uniformly formed in a large area and to ensure insulation. It is preferable.
  • a plasma CVD chemical vapor deposition
  • a sputtering method a vacuum evaporation method, etc. from the viewpoint that it can be uniformly formed in a large area and to ensure insulation. It is preferable.
  • the back channel etch (BCE) structure is adopted without forming the etch stopper layer 17, and the gate insulating film 13, the oxide semiconductor film 14, the source electrode 15 and the drain are formed.
  • a passivation film 18 may be formed directly on the electrode 16. With respect to the passivation film 18 in this case, the above description of the passivation film 18 included in the semiconductor device 20 shown in FIG. 2 is cited.
  • the heat treatment can be performed by heating the substrate.
  • the substrate temperature is preferably 100 ° C. or higher and 250 ° C. or lower.
  • the atmosphere of the heat treatment may be various atmospheres such as air, nitrogen gas, nitrogen gas-oxygen gas, Ar gas, Ar-oxygen gas, water vapor-containing air, water vapor-containing nitrogen.
  • An inert atmosphere such as nitrogen or Ar gas is preferable.
  • the atmospheric pressure can be atmospheric pressure, reduced pressure conditions (for example, less than 0.1 Pa), and pressurized conditions (for example, 0.1 Pa to 9 MPa), but is preferably atmospheric pressure.
  • the heat treatment time can be, for example, about 3 minutes to 2 hours, and preferably about 10 minutes to 90 minutes.
  • Example 1 to Example 20 (1) Preparation of oxide sintered body (1-1) Preparation of powder raw material The composition and median particle size d50 (shown as “W particle size” in Table 1) shown in Table 1 and a purity of 99 .99 mass% tungsten oxide powder (indicated as “W” in Table 1) and ZnO powder having a median particle diameter d50 of 1.0 ⁇ m and a purity of 99.99 mass% (referred to as “Z” in Table 1). And an In 2 O 3 powder (shown as “I” in Table 1) having a median particle diameter d50 of 1.0 ⁇ m and a purity of 99.99% by mass were prepared.
  • W particle size shown in Table 1
  • ZnO powder ZnO powder having a median particle diameter d50 of 1.0 ⁇ m and a purity of 99.99 mass%
  • the oxide sintered bodies of the examples all had a bixbite type crystal phase, a first diffraction peak, and a second diffraction peak.
  • Table 2 shows the angle of the first diffraction peak and the angle of the second diffraction peak.
  • Ia and Ib were measured according to the above-mentioned formula, and Ia / Ib was calculated. The results are shown in Table 2.
  • the Zn content rate [Zn content rate (atomic%) with respect to the sum of In, W, and Zn] is higher than the group B described later, and the Zn content rate is very low.
  • Group B indium-rich crystal phase of crystal grains not containing Zn and having a high In content (In content (atomic%) with respect to the sum of In, W and Zn) as compared with Group A; Divided into. The crystal grains of group B were judged to be the first crystal phase.
  • the “indium-rich crystal phase occupancy” in the oxide sintered body is defined as the ratio (percentage) of the area of the indium-rich crystal phase (group B) to the measurement surface of the oxide sintered body. .
  • the indium-rich crystal phase occupation ratio was 50% or more, and the first crystal phase was the main component.
  • crystal phases present in the oxide sintered body are summarized. Regarding crystal phases, the abbreviations in the table mean the following crystal phases. In the column of “Crystal Phase” in Table 2, those that can be identified by the above X-ray diffraction measurement are shown, and the oxide sintered body is described in the “Crystal Phase” column. It does not mean that it is composed only of what is present.
  • I Bixbite type crystal phase (first crystal phase), Z: hexagonal wurtzite crystal phase (second crystal phase), ZW: zinc tungstate compound crystal phase (second crystal phase), IZ: In 2 O 3 (ZnO) 5 (second crystal phase).
  • the second crystal phase is not dispersed in the indium-rich crystal phase but is in contact with each other, and the particle shape of the second crystal phase can be specified. As a result, the average major axis diameter and average aspect ratio could not be measured.
  • Oxide sintered bodies were produced in the same manner as in Comparative Example 1 and Comparative Example 2 except that the sintering temperature was 1160 ° C. The apparent density of these oxide sintered bodies was 6.3 g / cm. It was 3 .
  • TFT semiconductor device
  • oxide semiconductor film 2-1
  • Measurement of maximum sputtering power limit value (cracking power)
  • Film deposition of sputtering target (not shown) on the fabricated sputtering target Installed indoors.
  • the sputter target is water cooled via a copper backing plate.
  • the target was sputtered as follows with the vacuum in the film formation chamber being about 6 ⁇ 10 ⁇ 5 Pa.
  • a mixed gas of Ar (argon) gas and O 2 (oxygen) gas was introduced into the deposition chamber up to a pressure of 0.5 Pa.
  • the O 2 gas content in the mixed gas was 20% by volume.
  • Sputtering discharge was caused by applying DC power of 300 W to the target and held for 60 minutes. After 60 minutes, after cooling for 10 minutes, the film forming chamber was opened to the atmosphere, and it was confirmed whether or not cracks occurred in the oxide sintered body of the sputter target. It was increased from 300 W by 50 W, and sputtering was performed for 60 minutes for each stage, and it was confirmed whether or not cracks occurred in the oxide sintered body of the sputter target.
  • the sputter target of Comparative Example 2 was severely cracked and could not be formed by sputtering using DC power.
  • TFT Semiconductor Device Comprising Oxide Semiconductor Film
  • a TFT having a configuration similar to that of the semiconductor device 30 shown in FIG. 3 was produced by the following procedure. 4A, first, a synthetic quartz glass substrate having a size of 50 mm ⁇ 50 mm ⁇ thickness 0.6 mm was prepared as a substrate 11, and a Mo electrode having a thickness of 100 nm was formed as a gate electrode 12 on the substrate 11 by sputtering. Next, as shown in FIG. 4A, the gate electrode 12 was formed into a predetermined shape by etching using a photoresist.
  • an oxide semiconductor film 14 having a thickness of 35 nm was formed on the gate insulating film 13 by a DC (direct current) magnetron sputtering method.
  • a plane having a target diameter of 3 inches (76.2 mm) was a sputter surface.
  • the oxide sintered body obtained in the above (1) was used.
  • the target was disposed at a distance of 90 mm so as to face the gate insulating film 13.
  • the target was sputtered as follows with the vacuum in the film formation chamber being about 6 ⁇ 10 ⁇ 5 Pa.
  • a mixed gas of Ar (argon) gas and O 2 (oxygen) gas was introduced into the film formation chamber up to a pressure of 0.5 Pa in a state where a shutter was put between the gate insulating film 13 and the target.
  • the O 2 gas content in the mixed gas was 20% by volume.
  • sputtering power was generated by applying DC power 50 W lower than the cracking power obtained in (2-1) above to the target.
  • the target surface was cleaned (pre-sputtering) for 5 minutes.
  • the DC power was set to 500 W to cause sputtering discharge, and pre-sputtering was performed for 5 minutes. Table 3 shows the DC power during pre-sputtering.
  • the same value of DC power was applied to the same target, and the oxide semiconductor film 14 was formed on the gate insulating film 13 by removing the shutter while maintaining the atmosphere in the film formation chamber.
  • the substrate holder was water-cooled or heated to adjust the temperature of the substrate 11 during and after film formation.
  • the substrate temperature is set by heating the substrate holder during film formation. By adjusting the temperature to 120 ° C. or the like, heat treatment was performed simultaneously with film formation. In this case, the heat treatment time corresponds to the film formation time.
  • the substrate is heated after film formation (after formation of a passivation layer, as will be described later), and heat treatment is performed at 250 ° C. for 10 minutes or 350 ° C. for 10 minutes.
  • the semiconductor device characteristics to be measured were measured.
  • the substrate temperature is set to 20 by cooling the substrate holder with water during film formation. The substrate was heated after film formation (after formation of a passivation layer, as will be described later), and heat treatment was performed at 250 ° C. for 10 minutes or 350 ° C. for 10 minutes, and semiconductor device characteristics described later were measured.
  • the oxide semiconductor film 14 was formed by the DC (direct current) magnetron sputtering method using the target processed from the oxide sintered body obtained in the above (1).
  • the oxide semiconductor film 14 functions as a channel layer in the TFT.
  • the thickness of the oxide semiconductor film 14 formed in each example and comparative example was set to 35 nm.
  • a source electrode forming portion 14s, a drain electrode forming portion 14d, and a channel portion 14c were formed.
  • the main surface size of the source electrode forming portion 14s and the drain electrode forming portion 14d is 50 ⁇ m ⁇ 50 ⁇ m and the channel length C L (refer to FIGS. 1A and 1B, the channel length C L is the source electrode 15 is the distance of the channel portion 14c between the drain electrode 16 and the drain electrode 16.) is 30 ⁇ m and the channel width C W (refer to FIGS. 1A and 1B, the channel width C W is the width of the channel portion 14c. .) Was 40 ⁇ m.
  • the channel portion 14c has 25 ⁇ 25 ⁇ 25 mm in the main surface of 75 mm ⁇ 75 mm and 25 ⁇ 25 in the main surface of the 75 mm ⁇ 75 mm so that the TFTs are arranged in the length of 25 ⁇ 25 in the main surface of 75 mm ⁇ 75 mm. Arranged.
  • the substrate 11 was immersed in the etching aqueous solution at 40 ° C.
  • the source electrode 15 and the drain electrode 16 were formed on the oxide semiconductor film 14 separately from each other.
  • a resist (not shown) is applied on the oxide semiconductor film 14 so that only the main surfaces of the source electrode forming portion 14s and the drain electrode forming portion 14d of the oxide semiconductor film 14 are exposed. , Exposed and developed. Next, a Mo electrode having a thickness of 100 nm, which is the source electrode 15 and the drain electrode 16, respectively, was formed on the main surfaces of the source electrode forming portion 14s and the drain electrode forming portion 14d of the oxide semiconductor film 14 by sputtering. Thereafter, the resist on the oxide semiconductor film 14 was peeled off.
  • Each of the Mo electrode as the source electrode 15 and the Mo electrode as the drain electrode 16 has one channel portion 14c so that the TFTs are arranged 25 ⁇ 25 ⁇ 3 mm apart at an interval of 3 mm in the main surface of the substrate of 75 mm ⁇ 75 mm. One for each.
  • a passivation film 18 was formed on the gate insulating film 13, the oxide semiconductor film 14, the source electrode 15 and the drain electrode 16.
  • the passivation film 18 is an amorphous oxide layer formed by forming a 200 nm thick SiO x film by a plasma CVD method and then forming a 200 nm thick SiN y film thereon by a plasma CVD method, or an amorphous oxide layer.
  • An Al m O n film having a thickness of 120 nm was formed by a sputtering method, and then a SiN y film having a thickness of 200 nm was formed thereon by a plasma CVD method.
  • SiO x When the amorphous oxide layer is an SiO x film, “SiO x ” is described in the “PV layer” column in Table 3 below, and when the amorphous oxide layer is an Al m O n film, the “PV layer” "" Describes "Al m O n ".
  • the passivation film 18 on the source electrode 15 and the drain electrode 16 was etched by reactive ion etching to form a contact hole, thereby exposing a part of the surface of the source electrode 15 and the drain electrode 16.
  • heat treatment was performed in an atmospheric pressure nitrogen atmosphere. This heat treatment was performed for all the examples and comparative examples. Specifically, the heat treatment was performed at 250 ° C. for 10 minutes in a nitrogen atmosphere or at 350 ° C. for 10 minutes in a nitrogen atmosphere. Through the above steps, a TFT including the oxide semiconductor film 14 as a channel layer was obtained.
  • the characteristics of the TFT which is the semiconductor device 10 were evaluated as follows. First, a measuring needle was brought into contact with the gate electrode 12, the source electrode 15, and the drain electrode 16. A source-drain voltage V ds of 0.2 V is applied between the source electrode 15 and the drain electrode 16, and a source-gate voltage V gs applied between the source electrode 15 and the gate electrode 12 is changed from ⁇ 10 V. The source-drain current I ds at that time was measured while changing to 15V.
  • V gs ⁇ (I ds ) 1 The threshold voltage V th is obtained after performing a heat treatment at 250 ° C.
  • V th (250 ° C.)
  • V Th 350 ° C.
  • TFT was measured.
  • V th is desirably 0 V or more. Further, when a TFT is used in a display device, it is desirable that V th is closer to 1.0 V because of the same driving voltage as a-Si.
  • the field effect mobility ⁇ fe after the heat treatment at 250 ° C. for 10 minutes in the atmospheric pressure nitrogen atmosphere is shown in the column of “mobility (250 ° C.)” in Table 3. Further, the field effect mobility ⁇ fe after the heat treatment at 350 ° C. for 10 minutes in the atmospheric pressure nitrogen atmosphere is shown in the column of “mobility (350 ° C.)” in Table 3. As shown in Table 3, the larger the Zn / W ratio, the smaller the difference between mobility (250 ° C.) and mobility (350 ° C.).
  • the source-gate voltage V gs applied between the source electrode 15 and the gate electrode 12 was fixed at +35 V, and this was continuously applied for 1 hour.
  • 1s from application start, 10s, 100s, 300s determine the threshold voltage V th to the above-described method after 3600s, it was determined the difference [Delta] V th between the maximum threshold voltage V th and the minimum threshold voltage V th. It is determined that the smaller ⁇ V th is, the higher the reliability is.
  • ⁇ V th after the heat treatment at 250 ° C. for 10 minutes in the atmospheric pressure nitrogen atmosphere is shown in the column of “ ⁇ V th (250 ° C.)” in Table 3.
  • ⁇ V th after the heat treatment at 350 ° C. for 10 minutes in the atmospheric pressure nitrogen atmosphere is shown in the column of “ ⁇ V th (350 ° C.)” in Table 3.
  • Examples 2 and 3, 4 and 5, 13 and 14, and 15 and 16 use the same sputtering target, respectively, but differ only in DC power, but the higher the DC power, the higher the reliability.
  • TFT Semiconductor device
  • 11 substrate 12 gate electrode, 13 gate insulating film, 14 oxide semiconductor film, 14c channel part, 14d drain electrode forming part, 14s source electrode forming part, 15 source electrode 16 drain electrode, 17 etch stopper layer, 17a contact hole, 18 passivation film.

Landscapes

  • Engineering & Computer Science (AREA)
  • Chemical & Material Sciences (AREA)
  • Manufacturing & Machinery (AREA)
  • Ceramic Engineering (AREA)
  • Materials Engineering (AREA)
  • Organic Chemistry (AREA)
  • Physics & Mathematics (AREA)
  • Structural Engineering (AREA)
  • General Physics & Mathematics (AREA)
  • Condensed Matter Physics & Semiconductors (AREA)
  • Computer Hardware Design (AREA)
  • Microelectronics & Electronic Packaging (AREA)
  • Power Engineering (AREA)
  • Metallurgy (AREA)
  • Mechanical Engineering (AREA)
  • Chemical Kinetics & Catalysis (AREA)
  • Inorganic Chemistry (AREA)
  • Plasma & Fusion (AREA)
  • Analytical Chemistry (AREA)
  • Crystallography & Structural Chemistry (AREA)
  • Thermal Sciences (AREA)
  • Thin Film Transistor (AREA)
  • Physical Vapour Deposition (AREA)
  • Compositions Of Oxide Ceramics (AREA)
  • Physical Deposition Of Substances That Are Components Of Semiconductor Devices (AREA)
PCT/JP2016/063646 2015-09-16 2016-05-06 酸化物焼結体およびその製造方法、スパッタターゲット、ならびに半導体デバイスの製造方法 Ceased WO2017047152A1 (ja)

Priority Applications (5)

Application Number Priority Date Filing Date Title
EP16846025.1A EP3345881A1 (en) 2015-09-16 2016-05-06 Oxide sintered body, method for producing same, sputtering target and method for manufacturing semiconductor device
CN201680003741.2A CN107001146B (zh) 2015-09-16 2016-05-06 氧化物烧结材料、氧化物烧结材料的制造方法、溅射靶和半导体装置的制造方法
KR1020177013037A KR101919268B1 (ko) 2015-09-16 2016-05-06 산화물 소결체 및 그 제조 방법, 스퍼터 타겟, 그리고 반도체 디바이스의 제조 방법
US15/520,933 US10655213B2 (en) 2015-09-16 2016-05-06 Oxide sintered material, method of producing oxide sintered material, sputtering target, and method of producing semiconductor device
KR1020187032478A KR101996778B1 (ko) 2015-09-16 2016-05-06 산화물 소결체 및 그 제조 방법, 스퍼터 타겟, 그리고 반도체 디바이스의 제조 방법

Applications Claiming Priority (2)

Application Number Priority Date Filing Date Title
JP2015-182931 2015-09-16
JP2015182931A JP6308191B2 (ja) 2015-09-16 2015-09-16 酸化物焼結体およびその製造方法、スパッタターゲット、ならびに半導体デバイスの製造方法

Publications (1)

Publication Number Publication Date
WO2017047152A1 true WO2017047152A1 (ja) 2017-03-23

Family

ID=58288632

Family Applications (1)

Application Number Title Priority Date Filing Date
PCT/JP2016/063646 Ceased WO2017047152A1 (ja) 2015-09-16 2016-05-06 酸化物焼結体およびその製造方法、スパッタターゲット、ならびに半導体デバイスの製造方法

Country Status (7)

Country Link
US (1) US10655213B2 (enExample)
EP (1) EP3345881A1 (enExample)
JP (1) JP6308191B2 (enExample)
KR (2) KR101996778B1 (enExample)
CN (1) CN107001146B (enExample)
TW (1) TWI704123B (enExample)
WO (1) WO2017047152A1 (enExample)

Families Citing this family (6)

* Cited by examiner, † Cited by third party
Publication number Priority date Publication date Assignee Title
JP7024774B2 (ja) 2017-02-20 2022-02-24 住友電気工業株式会社 酸化物焼結体およびその製造方法、スパッタターゲット、ならびに半導体デバイスの製造方法
KR102401708B1 (ko) * 2017-02-20 2022-05-26 스미토모덴키고교가부시키가이샤 산화물 소결체 및 그의 제조 방법, 스퍼터 타겟, 그리고 반도체 디바이스의 제조 방법
MX2020004605A (es) * 2017-10-31 2020-10-19 Corning Inc Cuerpo en forma de panal y filtro de partículas que comprende un cuerpo en forma de panal.
JP2020143359A (ja) * 2019-03-08 2020-09-10 Jx金属株式会社 スパッタリングターゲット部材の製造方法及びスパッタリングターゲット部材
JP2020153014A (ja) * 2019-03-15 2020-09-24 三菱マテリアル株式会社 酸化タングステンスパッタリングターゲット
KR102253914B1 (ko) * 2019-10-14 2021-05-20 가천대학교 산학협력단 금속산화물 타겟의 제조 방법, 및 이를 이용하여 제조된 다중 유전 박막

Citations (4)

* Cited by examiner, † Cited by third party
Publication number Priority date Publication date Assignee Title
JP2005314131A (ja) * 2004-04-27 2005-11-10 Sumitomo Metal Mining Co Ltd 酸化物焼結体、スパッタリングターゲット、透明導電性薄膜およびその製造方法
WO2014058019A1 (ja) * 2012-10-11 2014-04-17 住友金属鉱山株式会社 酸化物半導体薄膜および薄膜トランジスタ
JP2014214359A (ja) * 2013-04-26 2014-11-17 出光興産株式会社 スパッタリングターゲット、酸化物半導体薄膜及び当該酸化物半導体薄膜を備える薄膜トランジスタ
JP2015107907A (ja) * 2013-10-23 2015-06-11 住友電気工業株式会社 酸化物焼結体および半導体デバイス

Family Cites Families (12)

* Cited by examiner, † Cited by third party
Publication number Priority date Publication date Assignee Title
JP3746094B2 (ja) 1995-06-28 2006-02-15 出光興産株式会社 ターゲットおよびその製造方法
JP2006160535A (ja) * 2004-12-02 2006-06-22 Sumitomo Metal Mining Co Ltd 酸化物焼結体、スパッタリングターゲットおよび透明導電性薄膜
US8524123B2 (en) * 2005-09-01 2013-09-03 Idemitsu Kosan Co., Ltd. Sputtering target, transparent conductive film and transparent electrode
WO2007141994A1 (ja) * 2006-06-08 2007-12-13 Sumitomo Metal Mining Co., Ltd. 酸化物焼結体、ターゲット、およびそれを用いて得られる透明導電膜、並びに透明導電性基材
KR101420992B1 (ko) * 2006-12-13 2014-07-17 이데미쓰 고산 가부시키가이샤 스퍼터링 타겟
JP5143410B2 (ja) * 2006-12-13 2013-02-13 出光興産株式会社 スパッタリングターゲットの製造方法
JP4662075B2 (ja) 2007-02-02 2011-03-30 株式会社ブリヂストン 薄膜トランジスタ及びその製造方法
KR101312259B1 (ko) 2007-02-09 2013-09-25 삼성전자주식회사 박막 트랜지스터 및 그 제조방법
JP5591523B2 (ja) * 2009-11-19 2014-09-17 出光興産株式会社 長期成膜時の安定性に優れたIn−Ga−Zn−O系酸化物焼結体スパッタリングターゲット
JP5817327B2 (ja) * 2010-09-29 2015-11-18 東ソー株式会社 酸化物焼結体、その製造方法、それを用いて得られる酸化物透明導電膜及び太陽電池
WO2015118724A1 (ja) * 2014-02-07 2015-08-13 リンテック株式会社 透明導電性積層体、透明導電性積層体の製造方法、および透明導電性積層体を用いてなる電子デバイス
US10087517B2 (en) * 2014-10-22 2018-10-02 Sumitomo Electric Industries, Ltd. Oxide sintered body and semiconductor device

Patent Citations (4)

* Cited by examiner, † Cited by third party
Publication number Priority date Publication date Assignee Title
JP2005314131A (ja) * 2004-04-27 2005-11-10 Sumitomo Metal Mining Co Ltd 酸化物焼結体、スパッタリングターゲット、透明導電性薄膜およびその製造方法
WO2014058019A1 (ja) * 2012-10-11 2014-04-17 住友金属鉱山株式会社 酸化物半導体薄膜および薄膜トランジスタ
JP2014214359A (ja) * 2013-04-26 2014-11-17 出光興産株式会社 スパッタリングターゲット、酸化物半導体薄膜及び当該酸化物半導体薄膜を備える薄膜トランジスタ
JP2015107907A (ja) * 2013-10-23 2015-06-11 住友電気工業株式会社 酸化物焼結体および半導体デバイス

Also Published As

Publication number Publication date
KR20170072259A (ko) 2017-06-26
KR101919268B1 (ko) 2018-11-15
CN107001146A (zh) 2017-08-01
US20180023188A1 (en) 2018-01-25
JP2017057109A (ja) 2017-03-23
EP3345881A1 (en) 2018-07-11
CN107001146B (zh) 2020-03-03
US10655213B2 (en) 2020-05-19
JP6308191B2 (ja) 2018-04-11
KR20180123597A (ko) 2018-11-16
KR101996778B1 (ko) 2019-07-04
TWI704123B (zh) 2020-09-11
TW201711982A (zh) 2017-04-01

Similar Documents

Publication Publication Date Title
JP6493502B2 (ja) 酸化物焼結体の製造方法
JP6308191B2 (ja) 酸化物焼結体およびその製造方法、スパッタターゲット、ならびに半導体デバイスの製造方法
KR102401708B1 (ko) 산화물 소결체 및 그의 제조 방법, 스퍼터 타겟, 그리고 반도체 디바이스의 제조 방법
JP6350466B2 (ja) 酸化物焼結体およびその製造方法、スパッタターゲット、ならびに半導体デバイスの製造方法
WO2018083837A1 (ja) 酸化物焼結体およびその製造方法、スパッタターゲット、ならびに半導体デバイスの製造方法
JP7024774B2 (ja) 酸化物焼結体およびその製造方法、スパッタターゲット、ならびに半導体デバイスの製造方法
JP6493601B2 (ja) 酸化物焼結体およびその製造方法、スパッタターゲット、ならびに半導体デバイスの製造方法
JP6458883B2 (ja) 酸化物焼結体およびその製造方法、スパッタターゲット、ならびに半導体デバイスの製造方法

Legal Events

Date Code Title Description
REEP Request for entry into the european phase

Ref document number: 2016846025

Country of ref document: EP

WWE Wipo information: entry into national phase

Ref document number: 15520933

Country of ref document: US

121 Ep: the epo has been informed by wipo that ep was designated in this application

Ref document number: 16846025

Country of ref document: EP

Kind code of ref document: A1

ENP Entry into the national phase

Ref document number: 20177013037

Country of ref document: KR

Kind code of ref document: A

NENP Non-entry into the national phase

Ref country code: DE