WO2017034346A1 - 발광소자 및 이를 포함하는 발광소자 패키지 - Google Patents

발광소자 및 이를 포함하는 발광소자 패키지 Download PDF

Info

Publication number
WO2017034346A1
WO2017034346A1 PCT/KR2016/009444 KR2016009444W WO2017034346A1 WO 2017034346 A1 WO2017034346 A1 WO 2017034346A1 KR 2016009444 W KR2016009444 W KR 2016009444W WO 2017034346 A1 WO2017034346 A1 WO 2017034346A1
Authority
WO
WIPO (PCT)
Prior art keywords
semiconductor layer
conductive semiconductor
light
layer
light emitting
Prior art date
Legal status (The legal status is an assumption and is not a legal conclusion. Google has not performed a legal analysis and makes no representation as to the accuracy of the status listed.)
Ceased
Application number
PCT/KR2016/009444
Other languages
English (en)
French (fr)
Korean (ko)
Inventor
박수익
김민성
성연준
이용경
최광용
Current Assignee (The listed assignees may be inaccurate. Google has not performed a legal analysis and makes no representation or warranty as to the accuracy of the list.)
LG Innotek Co Ltd
Original Assignee
LG Innotek Co Ltd
Priority date (The priority date is an assumption and is not a legal conclusion. Google has not performed a legal analysis and makes no representation as to the accuracy of the date listed.)
Filing date
Publication date
Application filed by LG Innotek Co Ltd filed Critical LG Innotek Co Ltd
Priority to JP2018504821A priority Critical patent/JP6878406B2/ja
Priority to CN201680049969.5A priority patent/CN107949920B/zh
Priority to US15/749,069 priority patent/US10263154B2/en
Priority to EP16839634.9A priority patent/EP3343644B1/en
Publication of WO2017034346A1 publication Critical patent/WO2017034346A1/ko
Anticipated expiration legal-status Critical
Ceased legal-status Critical Current

Links

Images

Classifications

    • HELECTRICITY
    • H10SEMICONDUCTOR DEVICES; ELECTRIC SOLID-STATE DEVICES NOT OTHERWISE PROVIDED FOR
    • H10HINORGANIC LIGHT-EMITTING SEMICONDUCTOR DEVICES HAVING POTENTIAL BARRIERS
    • H10H20/00Individual inorganic light-emitting semiconductor devices having potential barriers, e.g. light-emitting diodes [LED]
    • H10H20/80Constructional details
    • H10H20/83Electrodes
    • H10H20/831Electrodes characterised by their shape
    • H10H20/8312Electrodes characterised by their shape extending at least partially through the bodies
    • HELECTRICITY
    • H10SEMICONDUCTOR DEVICES; ELECTRIC SOLID-STATE DEVICES NOT OTHERWISE PROVIDED FOR
    • H10HINORGANIC LIGHT-EMITTING SEMICONDUCTOR DEVICES HAVING POTENTIAL BARRIERS
    • H10H20/00Individual inorganic light-emitting semiconductor devices having potential barriers, e.g. light-emitting diodes [LED]
    • H10H20/80Constructional details
    • H10H20/81Bodies
    • H10H20/811Bodies having quantum effect structures or superlattices, e.g. tunnel junctions
    • H10H20/812Bodies having quantum effect structures or superlattices, e.g. tunnel junctions within the light-emitting regions, e.g. having quantum confinement structures
    • HELECTRICITY
    • H10SEMICONDUCTOR DEVICES; ELECTRIC SOLID-STATE DEVICES NOT OTHERWISE PROVIDED FOR
    • H10HINORGANIC LIGHT-EMITTING SEMICONDUCTOR DEVICES HAVING POTENTIAL BARRIERS
    • H10H20/00Individual inorganic light-emitting semiconductor devices having potential barriers, e.g. light-emitting diodes [LED]
    • H10H20/80Constructional details
    • H10H20/81Bodies
    • H10H20/815Bodies having stress relaxation structures, e.g. buffer layers
    • HELECTRICITY
    • H10SEMICONDUCTOR DEVICES; ELECTRIC SOLID-STATE DEVICES NOT OTHERWISE PROVIDED FOR
    • H10HINORGANIC LIGHT-EMITTING SEMICONDUCTOR DEVICES HAVING POTENTIAL BARRIERS
    • H10H20/00Individual inorganic light-emitting semiconductor devices having potential barriers, e.g. light-emitting diodes [LED]
    • H10H20/80Constructional details
    • H10H20/81Bodies
    • H10H20/819Bodies characterised by their shape, e.g. curved or truncated substrates
    • HELECTRICITY
    • H10SEMICONDUCTOR DEVICES; ELECTRIC SOLID-STATE DEVICES NOT OTHERWISE PROVIDED FOR
    • H10HINORGANIC LIGHT-EMITTING SEMICONDUCTOR DEVICES HAVING POTENTIAL BARRIERS
    • H10H20/00Individual inorganic light-emitting semiconductor devices having potential barriers, e.g. light-emitting diodes [LED]
    • H10H20/80Constructional details
    • H10H20/81Bodies
    • H10H20/819Bodies characterised by their shape, e.g. curved or truncated substrates
    • H10H20/82Roughened surfaces, e.g. at the interface between epitaxial layers
    • HELECTRICITY
    • H10SEMICONDUCTOR DEVICES; ELECTRIC SOLID-STATE DEVICES NOT OTHERWISE PROVIDED FOR
    • H10HINORGANIC LIGHT-EMITTING SEMICONDUCTOR DEVICES HAVING POTENTIAL BARRIERS
    • H10H20/00Individual inorganic light-emitting semiconductor devices having potential barriers, e.g. light-emitting diodes [LED]
    • H10H20/80Constructional details
    • H10H20/81Bodies
    • H10H20/822Materials of the light-emitting regions
    • HELECTRICITY
    • H10SEMICONDUCTOR DEVICES; ELECTRIC SOLID-STATE DEVICES NOT OTHERWISE PROVIDED FOR
    • H10HINORGANIC LIGHT-EMITTING SEMICONDUCTOR DEVICES HAVING POTENTIAL BARRIERS
    • H10H20/00Individual inorganic light-emitting semiconductor devices having potential barriers, e.g. light-emitting diodes [LED]
    • H10H20/80Constructional details
    • H10H20/81Bodies
    • H10H20/822Materials of the light-emitting regions
    • H10H20/824Materials of the light-emitting regions comprising only Group III-V materials, e.g. GaP
    • HELECTRICITY
    • H10SEMICONDUCTOR DEVICES; ELECTRIC SOLID-STATE DEVICES NOT OTHERWISE PROVIDED FOR
    • H10HINORGANIC LIGHT-EMITTING SEMICONDUCTOR DEVICES HAVING POTENTIAL BARRIERS
    • H10H20/00Individual inorganic light-emitting semiconductor devices having potential barriers, e.g. light-emitting diodes [LED]
    • H10H20/80Constructional details
    • H10H20/81Bodies
    • H10H20/822Materials of the light-emitting regions
    • H10H20/824Materials of the light-emitting regions comprising only Group III-V materials, e.g. GaP
    • H10H20/825Materials of the light-emitting regions comprising only Group III-V materials, e.g. GaP containing nitrogen, e.g. GaN
    • HELECTRICITY
    • H10SEMICONDUCTOR DEVICES; ELECTRIC SOLID-STATE DEVICES NOT OTHERWISE PROVIDED FOR
    • H10HINORGANIC LIGHT-EMITTING SEMICONDUCTOR DEVICES HAVING POTENTIAL BARRIERS
    • H10H20/00Individual inorganic light-emitting semiconductor devices having potential barriers, e.g. light-emitting diodes [LED]
    • H10H20/80Constructional details
    • H10H20/83Electrodes
    • HELECTRICITY
    • H10SEMICONDUCTOR DEVICES; ELECTRIC SOLID-STATE DEVICES NOT OTHERWISE PROVIDED FOR
    • H10HINORGANIC LIGHT-EMITTING SEMICONDUCTOR DEVICES HAVING POTENTIAL BARRIERS
    • H10H20/00Individual inorganic light-emitting semiconductor devices having potential barriers, e.g. light-emitting diodes [LED]
    • H10H20/80Constructional details
    • H10H20/84Coatings, e.g. passivation layers or antireflective coatings
    • HELECTRICITY
    • H10SEMICONDUCTOR DEVICES; ELECTRIC SOLID-STATE DEVICES NOT OTHERWISE PROVIDED FOR
    • H10HINORGANIC LIGHT-EMITTING SEMICONDUCTOR DEVICES HAVING POTENTIAL BARRIERS
    • H10H20/00Individual inorganic light-emitting semiconductor devices having potential barriers, e.g. light-emitting diodes [LED]
    • H10H20/80Constructional details
    • H10H20/85Packages
    • H10H20/8506Containers
    • HELECTRICITY
    • H10SEMICONDUCTOR DEVICES; ELECTRIC SOLID-STATE DEVICES NOT OTHERWISE PROVIDED FOR
    • H10HINORGANIC LIGHT-EMITTING SEMICONDUCTOR DEVICES HAVING POTENTIAL BARRIERS
    • H10H20/00Individual inorganic light-emitting semiconductor devices having potential barriers, e.g. light-emitting diodes [LED]
    • H10H20/80Constructional details
    • H10H20/85Packages
    • H10H20/857Interconnections, e.g. lead-frames, bond wires or solder balls
    • HELECTRICITY
    • H10SEMICONDUCTOR DEVICES; ELECTRIC SOLID-STATE DEVICES NOT OTHERWISE PROVIDED FOR
    • H10HINORGANIC LIGHT-EMITTING SEMICONDUCTOR DEVICES HAVING POTENTIAL BARRIERS
    • H10H20/00Individual inorganic light-emitting semiconductor devices having potential barriers, e.g. light-emitting diodes [LED]
    • H10H20/80Constructional details
    • H10H20/83Electrodes
    • H10H20/832Electrodes characterised by their material
    • H10H20/833Transparent materials
    • HELECTRICITY
    • H10SEMICONDUCTOR DEVICES; ELECTRIC SOLID-STATE DEVICES NOT OTHERWISE PROVIDED FOR
    • H10HINORGANIC LIGHT-EMITTING SEMICONDUCTOR DEVICES HAVING POTENTIAL BARRIERS
    • H10H20/00Individual inorganic light-emitting semiconductor devices having potential barriers, e.g. light-emitting diodes [LED]
    • H10H20/80Constructional details
    • H10H20/83Electrodes
    • H10H20/832Electrodes characterised by their material
    • H10H20/835Reflective materials

Definitions

  • the embodiment relates to a light emitting device.
  • Group 3-5 compound semiconductors such as GaN and AlGaN are widely used in optoelectronics and electronic devices due to many advantages such as wide and easy to adjust band gap energy.
  • light emitting devices such as light emitting diodes or laser diodes using semiconductors of Group 3-5 or Group 2-6 compound semiconductor materials are developed using thin film growth technology and device materials, such as red, green, blue and ultraviolet light.
  • Various colors can be realized, and efficient white light can be realized by using fluorescent materials or combining colors.Low power consumption, semi-permanent life, fast response speed, safety and environment compared to conventional light sources such as fluorescent and incandescent lamps can be realized. Has the advantage of affinity.
  • a white light emitting device that can replace a fluorescent light bulb or an incandescent bulb that replaces a Cold Cathode Fluorescence Lamp (CCFL) constituting a backlight of a transmission module of an optical communication means and a liquid crystal display (LCD) display device.
  • CCFL Cold Cathode Fluorescence Lamp
  • LCD liquid crystal display
  • the light emitting device includes a light emitting structure including a first conductive semiconductor layer, an active layer, and a second conductive semiconductor layer, and a first electrode and a second electrode on the first conductive semiconductor layer and the second conductive semiconductor layer, respectively. Is placed.
  • the light emitting device emits light having energy determined by an energy band inherent in a material in which electrons injected through the first conductive semiconductor layer and holes injected through the second conductive semiconductor layer meet each other to form an active layer.
  • the light emitted from the active layer may vary depending on the composition of the material forming the active layer, and may be blue light, ultraviolet (UV), deep ultraviolet (Deep UV), or the like.
  • FIG. 1 is a view showing a conventional light emitting device.
  • FIG. 1 illustrates a light emitting structure 120 including a first conductive semiconductor layer 122, an active layer 124, and a second conductive semiconductor layer 126 on a second electrode 136.
  • the first electrode 132 is disposed on the first conductive semiconductor layer 122.
  • the light emitting device of the embodiment provides a light emitting device having a higher light extraction efficiency.
  • the light emitting device includes a first conductive semiconductor layer, a second conductive semiconductor layer, an active layer disposed between the first conductive semiconductor layer and the second conductive semiconductor layer in order to solve the above problem.
  • a light emitting structure including a plurality of first recesses penetrating through the second conductivity type semiconductor layer and the active layer to a part of the first conductivity type semiconductor layer; First electrodes electrically connected to the first conductivity-type semiconductor layers in the plurality of first recesses; A conductive support substrate electrically connected to the first electrode; A second electrode electrically connected to the second conductive semiconductor layer; And an insulating layer disposed between the conductive support substrate and the second conductive semiconductor layer, and a portion of the insulating layer penetrating through the first conductive semiconductor layer, the second conductive semiconductor layer, and the active layer.
  • a solution to the problem is to provide a light emitting element in which a second recess is disposed.
  • the second recess may include a lower surface of the light extracting portion forming the lower surface of the second recess, a side surface of the first light extracting portion forming one side of the second recess, and another portion of the second recess. It is a solution to the problem to provide a light emitting device including a side surface portion of the second light extracting portion forming a side surface.
  • the lower surface of the light extraction unit is to provide a light emitting device that is the insulating layer to solve the problem.
  • the width of the lower surface of the light extraction unit is to provide a light emitting device arranged to have a first width for extracting light generated in the active layer as a means of solving the problem.
  • the first width is to provide a light emitting device of 3um or more as a solution to the problem.
  • the first light extraction portion side portion is to provide a light emitting device disposed so as to have a first angle to prevent the light generated from the insulating layer and the active layer is reabsorbed to the second light extraction portion side portion. It is a solution.
  • the third width of the surface of the first recess is to provide a light emitting device having a smaller than the second width of the region in which the first recess is in contact with the first electrode as a solution to the problem.
  • the light emitting structure is to provide a light emitting device that emits light in the UV-B or UV-C wavelength range as a means of solving the problem.
  • Another object of the present invention is to provide a light emitting device having a composition ratio of aluminum (Al) of 40% or more in the first conductive semiconductor layer or the second conductive semiconductor layer.
  • the semiconductor device may further include a first conductive semiconductor layer, a second conductive semiconductor layer, and an active layer disposed between the first conductive semiconductor layer and the second conductive semiconductor layer.
  • a light emitting structure including a plurality of first recesses penetrating through the active layer to a part of the first conductive semiconductor layer; First electrodes electrically connected to the first conductivity-type semiconductor layers in the plurality of first recesses; A conductive support substrate electrically connected to the first electrode; A second electrode electrically connected to the second conductive semiconductor layer; And an insulating layer disposed between the conductive support substrate and the second conductive semiconductor layer and penetrating through the first conductive semiconductor layer, the second conductive semiconductor layer, and the active layer to a partial region of the insulating layer.
  • a second recess is disposed, the second recess includes: a light extracting unit bottom surface forming a bottom surface of the second recess; a first light extracting unit side surface forming a side surface of the second recess; And a second light extracting part side part forming another side of the second recess, wherein the light extracting part lower surface has a first width for extracting light generated from the active layer, and the first width is It is a solution of the problem to provide a light emitting element having a thickness of 3 ⁇ m or more and the third width of the surface of the first recess is smaller than the second width of the region where the first recess is in contact with the first electrode.
  • the light emitting device may include a conductive substrate having a cavity formed therein and a light emitting device having at least a portion inserted into the cavity of the conductive substrate, wherein the light emitting device includes a first conductive semiconductor layer, a second conductive semiconductor layer, and the first conductive type.
  • a plurality of first layers including an active layer disposed between the semiconductor layer and the second conductive semiconductor layer and penetrating through the second conductive semiconductor layer and the active layer to a partial region of the first conductive semiconductor layer
  • a light emitting structure comprising a recess; First electrodes electrically connected to the first conductivity-type semiconductor layers in the plurality of first recesses; A conductive support substrate electrically connected to the first electrode; A second electrode electrically connected to the second conductive semiconductor layer; And an insulating layer disposed between the conductive support substrate and the second conductive semiconductor layer and penetrating through the first conductive semiconductor layer, the second conductive semiconductor layer, and the active layer to a partial region of the insulating layer. It is a solution to the problem to provide a light emitting device package in which the second recess is disposed.
  • the second recess may include a light extracting unit lower surface forming a lower surface of the light extracting unit, a first light extracting unit side surface forming one side of the light extracting unit, and a second side forming the other side of the light extracting unit. It is a solution to the problem to provide a light emitting device package including a light extraction side surface.
  • the lower surface of the light extraction unit is to provide a light emitting device package that is the insulating layer as a means of solving the problem.
  • the width of the lower surface of the light extraction unit is to provide a light emitting device package disposed to have a first width for extracting the light generated in the active layer as a solution to the problem.
  • the first width is to provide a light emitting device package of 3um or more as a solution to the problem.
  • the first light extraction unit side portion is to provide a light emitting device package is disposed so as to have a first angle to prevent the light generated from the insulating layer and the active layer is reabsorbed to the second light extraction portion side portion.
  • the first angle is to provide a light emitting device package of 80 degrees or less as a solution to the problem.
  • Another object of the present invention is to provide a light emitting device package having a composition ratio of aluminum (Al) of 40% or more in the first conductive semiconductor layer or the second conductive semiconductor layer.
  • the light emitting devices according to the present exemplary embodiments include a light exit structure disposed in the first conductivity type semiconductor layer, thereby providing a light emitting device having a higher light extraction efficiency by increasing the extraction efficiency of light generated in the active layer. Shall be.
  • FIG. 1 is a view showing a conventional light emitting device
  • FIG. 2 is a view showing an embodiment of a light emitting device
  • FIG. 3 is a view showing another embodiment of a light emitting device
  • FIG. 4 is a view showing in detail the light emitting structure of FIG.
  • 5A to 5D illustrate various embodiments of the light emitting structure of FIG. 4.
  • FIGS. 6A and 6B are top views of the light emitting devices of FIGS. 2 and 3;
  • FIG. 7 is a view showing an embodiment of a light emitting device package.
  • the above (on) or below (on) or under) when described as being formed on the "on or under” of each element, the above (on) or below (on) or under) includes two elements in which the two elements are in direct contact with each other, or one or more other elements are formed indirectly between the two elements.
  • the above (on) or below when expressed as “on” or “under”, it may include the meaning of the downward direction as well as the upward direction based on one element.
  • the light emitting device may be a vertical light emitting device, and a first electrode for supplying current to the first conductive semiconductor layer may be disposed under the light emitting structure to reduce a reflection amount of light emitted to the top of the light emitting structure.
  • the first electrode may be electrically connected to the first conductive semiconductor layer through the second conductive semiconductor layer and the active layer.
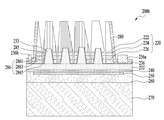
  • FIG. 2 is a view showing a first embodiment of a light emitting device.
  • the second conductive layer 236 is disposed under the light emitting structure 220, and the insulating layer 285 and the first conductive layer are disposed below the second conductive layer 236.
  • 232 is disposed, and the through electrode 233 extending from the first conductive layer 232 may be in electrical contact with the second conductivity-type semiconductor layer 222 in the light emitting structure 220.
  • the second electrodes 236a and 236b may be disposed to correspond to the edges of the light emitting structure 220.
  • the light emitting structure 220 includes a first conductive semiconductor layer 222, an active layer 224, and a second conductive semiconductor layer 226.
  • the first conductive semiconductor layer 222 may be formed of a compound semiconductor such as a III-V group or a II-VI group, and may be doped with the first conductive dopant.
  • the first conductive semiconductor layer 222 is a semiconductor material having Al x In y Ga (1-xy) N (0 ⁇ x ⁇ 1, 0 ⁇ y ⁇ 1, 0 ⁇ x + y ⁇ 1), and AlGaN.
  • GaN, InAlGaN, AlGaAs, GaP, GaAs, GaAsP, AlGaInP may be formed of any one or more.
  • the first conductivity type dopant may include an n type dopant such as Si, Ge, Sn, Se, Te, or the like.
  • the first conductivity type semiconductor layer 222 may be formed as a single layer or a multilayer, but is not limited thereto.
  • the active layer 224 is disposed between the first conductivity type semiconductor layer 222 and the second conductivity type semiconductor layer 226, and has a single well structure, a multi well structure, a single quantum well structure, and a multi quantum well.
  • a multi-quantum well (MQW) structure, a quantum dot structure or a quantum line structure may be included.
  • the active layer 224 may be formed of a well layer and a barrier layer, for example, AlGaN / AlGaN, InGaN / GaN, InGaN / InGaN, AlGaN / GaN, InAlGaN / GaN, GaAs (InGaAs) using a compound semiconductor material of a group III-V element.
  • a barrier layer for example, AlGaN / AlGaN, InGaN / GaN, InGaN / InGaN, AlGaN / GaN, InAlGaN / GaN, GaAs (InGaAs) using a compound semiconductor material of a group III-V element.
  • / AlGaAs, GaP (InGaP) / AlGaP may be formed of any one or more pair structure, but is not limited thereto.
  • the well layer may be formed of a material having an energy band gap smaller than the energy band gap of the barrier layer.
  • the second conductivity type semiconductor layer 226 may be formed of a semiconductor compound.
  • the second conductive semiconductor layer 226 may be formed of a compound semiconductor such as a III-V group or a II-VI group, and may be doped with a second conductive dopant.
  • the second conductivity-type semiconductor layer 226 is, for example, a semiconductor material having a compositional formula of In x Al y Ga 1- xy N (0 ⁇ x ⁇ 1, 0 ⁇ y ⁇ 1, 0 ⁇ x + y ⁇ 1), AlGaN It may be formed of any one or more of, GaNAlInN, AlGaAs, GaP, GaAs, GaAsP, AlGaInP.
  • the second conductive dopant may be a p-type dopant such as Mg, Zn, Ca, Sr, or Ba.
  • the second conductivity-type semiconductor layer 226 may be formed as a single layer or a multilayer, but is not limited thereto.
  • the light emitting structure 220 is grown based on AlGaN and, for example, the composition ratio of aluminum (Al) in AlGaN. May be greater than or equal to 40%, and light emission in a TM mode in which light emission in a vertical direction parallel to a growth direction of the light emitting structure 220 is superior to light emitting devices emitting light in a blue wavelength region may be increased. In this case, due to the light extraction structure described above, reabsorption of light in the light emitting structure 220 may be reduced.
  • an electron blocking layer may be disposed between the active layer 224 and the second conductive semiconductor layer 226.
  • the electron blocking layer may have a superlattice structure, for example, AlGaN doped with a second conductivity type dopant may be disposed, and GaN having a different composition ratio of aluminum may be formed as a layer. It may be arranged alternately with each other.
  • the surface of the first conductive semiconductor layer 222 may be uneven to improve light extraction efficiency.
  • the second conductive layer 236 may be disposed under the second conductive semiconductor layer 226.
  • the second conductive layer 236 may be disposed in surface contact with the second conductive semiconductor layer 226, but may not be the area where the through electrode 233 is formed.
  • an edge of the second conductive layer 236 may be disposed outside the edge of the second conductive semiconductor layer 226 to secure an area where the second electrodes 236a and 236b are to be disposed. to be.
  • the second conductive layer 236 may be made of a conductive material, and in detail, may be made of a metal, and more specifically, silver (Ag), aluminum (Al), titanium (Ti), chromium (Cr), and nickel ( Ni), copper (Cu), and gold (Au) may be formed to have a single layer or a multilayer structure.
  • the passivation layer 280 may be formed around the light emitting structure 220.
  • the passivation layer 280 may be made of an insulating material, and the insulating material may be made of an oxide or nitride which is non-conductive.
  • the passivation layer 280 may be formed of a silicon oxide (SiO 2 ) layer, an oxynitride layer, or an aluminum oxide layer.
  • the passivation layer 280 may also be disposed on the circumference of the light emitting structure 220 and on the edge of the second conductive layer 236 disposed outside the edge of the second conductive semiconductor layer 226 described above. have.
  • the passivation layer 280 disposed on the edge of the second conductive layer 236 may be open in a region where the second electrodes 236a and 236b are formed.
  • the first conductive layer 232 may be disposed below the second conductive layer 236 with the insulating layer 285 interposed therebetween, and the first conductive layer 232 may be made of a conductive material. It may be made of a metal, more specifically, including at least one of silver (Ag), aluminum (Al), titanium (Ti), chromium (Cr), nickel (Ni), copper (Cu), gold (Au) It may be formed in a single layer or a multilayer structure.
  • the plurality of through electrodes 233 extend from the first conductive layer 232 to the top, and the through electrodes 233 are the insulating layer 285, the second conductive layer 236, and the second conductive semiconductor layer ( Penetrates through the 226 and the active layer 224 and extends to a part of the first conductive semiconductor layer 222 so that the top surface of the through electrode 233 is in surface contact with the first conductive semiconductor layer 222. .
  • each through electrode 233 may be circular or polygonal.
  • the insulating layer 285 described above is disposed to extend around the through electrode 233, and the through electrode 233 is formed with the second conductive layer 236, the second conductive semiconductor layer 226, and the active layer 224. It can be electrically insulated.
  • an ohmic layer 240 is disposed below the first conductive layer 232, and the ohmic layer is disposed between the first conductive layer 232 and the first conductive semiconductor layer 222 or the second conductive layer ( 236 and the second conductivity-type semiconductor layer 226 may be disposed.
  • the ohmic layer 240 may be about 200 angstroms thick.
  • the ohmic layer 240 may be formed of indium tin oxide (ITO), indium zinc oxide (IZO), indium zinc tin oxide (IZTO), indium aluminum zinc oxide (IAZO), indium gallium zinc oxide (IGZO), and indium gallium tin oxide (IGTO).
  • ITO indium tin oxide
  • IZO indium zinc oxide
  • IZTO indium zinc tin oxide
  • IAZO indium aluminum zinc oxide
  • IGZO indium gallium zinc oxide
  • IGTO indium gallium tin oxide
  • a reflective layer 250 may be disposed below the ohmic layer, which may serve as a reflective electrode.
  • the reflective layer 250 may include tungsten (W), titanium (Ti), molybdenum (Mo), aluminum (Al), silver (Ag), nickel (Ni), platinum (Pt), rhodium (Rh), or Al or Ag. It may be made of a metal layer containing an alloy containing Pt or Rh. Aluminum, silver, and the like may effectively reflect light propagated in the lower direction of FIG. 2 from the active layer 224, thereby greatly improving the light extraction efficiency of the semiconductor device.
  • the width of the reflective layer 250 may be smaller than the width of the ohmic layer 240, and the channel layer 260 may be disposed under the reflective layer 250.
  • the width of the channel layer 260 is greater than the width of the reflective layer 250 and may surround the reflective layer 250.
  • the channel layer 260 may be made of a conductive material, for example, gold (Au) or tin (Sn).
  • the conductive support substrate 270 may be formed of a conductive material such as a metal or a semiconductor material.
  • a metal having excellent electrical conductivity or thermal conductivity may be used, and since it is necessary to sufficiently dissipate heat generated during operation of the semiconductor device, it may be formed of a material having high thermal conductivity (eg, a metal).
  • a metal may be made of a material selected from the group consisting of molybdenum (Mo), silicon (Si), tungsten (W), copper (Cu), and aluminum (Al) or alloys thereof, and also gold (Au). ), Copper alloy (Cu Alloy), nickel (Ni), copper-tungsten (Cu-W), carrier wafers (e.g. GaN, Si, Ge, GaAs, ZnO, SiGe, SiC, SiGe, Ga 2 O 3, etc.) And the like may optionally be included.
  • the support substrate 270 may be 50 to 200 in order to have a mechanical strength sufficient to be separated into separate chips through a scribing process and a breaking process without causing warping of the entire nitride semiconductor. It can be made with a thickness of micrometers.
  • the bonding layer combines the channel layer 260 and the conductive support substrate 270, including gold (Au), tin (Sn), indium (In), aluminum (Al), silicon (Si), and silver. It may be formed of a material selected from the group consisting of (Ag), nickel (Ni) and copper (Cu) or alloys thereof.
  • a current is uniformly supplied to the entire area of the first conductivity-type semiconductor layer 222 through the through electrode 233 from the first conductive layer 232, and the second conductive layer ( The current may be evenly supplied to the entire region of the second conductive semiconductor layer 226 which is in surface contact with the 236.
  • the second electrodes 236a and 236b may be disposed on the upper portion of the second conductive layer 236 around the light emitting structure 220, so that a current may be uniformly supplied to the entire area of the second conductive layer 236. .
  • the frequency of bonding of the electrons injected through the first conductivity type semiconductor layer 222 and the holes injected through the second conductivity type semiconductor layer 226 in the active layer 224 increases, resulting from the active layer 224.
  • the amount of light emitted may increase.
  • FIG 3 is a view showing another embodiment of a light emitting device.
  • the light emitting device 200b is similar to the embodiment of FIG. 2, but the first recess penetrates through the second conductive semiconductor layer 226 and the active layer 224 to form the first conductive semiconductor layer 222. And a second recess penetrates the first conductive semiconductor layer 222, the second conductive semiconductor layer 226, and the active layer 224 to a partial region of the insulating layer 285. There is a difference.
  • the first recess is formed in the insulating layer 285, the second conductive layer 236, the second conductive semiconductor layer 226, the active layer 224, and the first conductive semiconductor layer 222 in the lower direction of the light emitting structure.
  • the through electrode 233 and the first conductive layer 232 may be formed of the same material, and the through electrode 233 and the first conductive layer 232 may form a first electrode. Can be achieved.
  • the first conductive layer 232 may serve as a first electrode, and the conductive support substrate 270 may be electrically connected to the first electrode 233.
  • the second recess may be a structure in which the insulating layer 285 is exposed through the first conductive semiconductor layer 222, the active layer 224, and the second conductive semiconductor layer 226 in the upper direction of the light emitting structure. And act as a light extracting unit 286.
  • the light extracting portion 286 is formed by forming a concave and a convex on the surface of the first conductivity-type semiconductor layer 222, and the convex portions are disposed to correspond to the through electrode 233 described above. They may be formed to be equivalent to the area between the through electrodes 233.
  • Recesses may be formed on one surface of the insulating layer 285.
  • the light extracting unit 286 includes a light extracting unit lower surface portion 2865 forming a lower surface of the light extracting unit 286, and a first light extracting unit provided to form one side of the light extracting unit 286.
  • the second light extractor side surface portion 2863 may be provided to form the side portion 2861 and the other side of the light extractor 286, and the light extractor lower surface 2865 is formed of an insulating layer 285. Can be.
  • the insulating layer 285 disposed in the region between the through electrodes 233 of the light emitting device 200a of FIG. 2 may be disposed in surface contact with the second conductive layer 236.
  • the insulating layer 285 disposed in the region between the through electrodes 233 of the light emitting device 200b of FIG. 3 may be disposed to be open without contacting the second conductive layer 236. have.
  • the first light extractor side portion 2861 and the second light extractor side portion 2863 may include a first conductive semiconductor layer 222, an active layer 224, and a second conductive semiconductor layer 226. Since both the first light extractor side portion 2861 and the second light extractor side portion 2863 are mesa-etched to open the active layer 224, the light generated from the active layer 224 may be more efficiently applied to the light emitting device 200b. It can be extracted toward the outside has the effect of increasing the light extraction efficiency of the light emitting device (200b).
  • one surface of the active layer 224 is mesa-etched so that the light generated in the active layer 224 is extracted toward the outside of the light emitting device 200 without being absorbed and / or reflected by the first conductivity-type semiconductor layer 222. Therefore, the light extraction efficiency of the light emitting device 200 is increased.
  • the light extracting unit 286 is illustrated as being all provided between the through electrodes 233.
  • the light extracting unit 286 is illustrated in one embodiment, and the light generated from the active layer 224 is external to the light emitting device 200. 3 and 4 may not be limited, and the shape and number of light extracting units 286 may be provided differently according to a user's needs, and thus the present invention is not limited to the scope of the present invention. .
  • FIG. 4 is a view showing in detail the light emitting structure of FIG.
  • the light extraction unit 286 may be provided so as not to include the inflection point on the side.
  • Unevenness may be formed in the region C where the through electrode 233 contacts the first conductivity-type semiconductor layer 222.
  • Convex portions are formed on the surface of the first conductivity-type semiconductor layer 222 in correspondence with the through-electrode 233, and recesses are formed on the surface of the first conductivity-type semiconductor layer 222 in correspondence with the regions between the through-electrodes 233. Can be formed. In this case, irregularities may be formed on the surfaces B and A of the recessed portions and the convex portions, respectively.
  • the pattern consisting of recesses and convex portions on the surface of the first conductive semiconductor layer 222 has regularity, but irregularities formed on the surfaces of each recess and convex portion may be irregular roughness.
  • the width of the convex portion may be larger than the width of the through electrode 233. More specifically, the third width W 21 of the surface of the through electrode 233 may be smaller than the second width W 22 of the region where the through electrode 233 is in contact with the first conductive layer 232. The width W 11 of the surface of the convex portion may be greater than the width W 12 of the lower surface of the light extracting portion at a height corresponding to the surface of the adjacent recessed portion.
  • the width W 11 of the surface of the convex portion may be wider than the third width W 21 of the surface of the through electrode 233, and the first electrode 233 may contact the first conductive layer 232.
  • the width W 12 of the bottom surface of the light extraction portion at a height corresponding to the surface of the adjacent recessed portion may be narrower than the two widths W 22 .
  • the width of the light extracting lower surface 2865 may be disposed to have a first width W 12 for extracting light generated from the active layer 224.
  • the first width W 12 of the light extracting lower surface 2865 may be provided to be 3 ⁇ m or more.
  • the center distance W 3 between the through electrodes 223 may be provided to be 50um to 200um.
  • center distance W 3 between the through electrodes 223 is provided to be 200 ⁇ m or more, a problem occurs in that light extraction efficiency is reduced due to a decrease in current spread characteristics of the first conductive semiconductor layer 222. do.
  • the first angle formed by the insulating layer 285, the first light extractor side portion 2861, and the second light extractor side portion 2863 may be 80 ° or less.
  • the angle formed between the insulating layer 285, the first light extractor side portion 2861, and the second light extractor side portion 2863 is 80 ° or more, the light extracted through the first light extractor side portion 2861 is provided. This is because the light extraction efficiency is reduced by being reabsorbed to the second light extracting side surface portion 2853 again.
  • an angle formed between the insulating layer 285, the first light extracting part side portion 2861, and the second light extracting part side portion 2863 is 80 ° or less, thereby increasing light extraction efficiency of the light emitting device 200c. It works.
  • 5A to 5D illustrate various embodiments of the light emitting structure of FIG. 4.
  • the first and second light extracting side surfaces 2861 and 2863 may be provided in various shapes.
  • first and second light extracting side surfaces 2861 and 2863 of the embodiment may be provided to include roughness on a surface thereof.
  • the top surface of the second conductive semiconductor layer 222 is provided with roughness but also the first and second light extracting side surfaces 2861 and 2863 are provided with roughness to see light emitted from the active layer 224. It is effective to extract efficiently.
  • the side surfaces 2861 and 2863 of the first and second light extracting units of the embodiment may be provided in a stepped form, or may be provided in a concave or convex form.
  • the light is extracted more efficiently, thereby improving the light extraction efficiency of the light emitting device.
  • first and second light extracting side surfaces 2861 and 2863 may be provided differently according to the needs of the user, and the scope of the present invention is not limited.
  • FIGS. 6A and 6B are top views of the light emitting device of FIGS. 2 and 3.
  • through electrodes 233 are disposed under the first conductivity type semiconductor layer 222, and an insulating layer 285 is disposed around each through electrode 233.
  • the through electrode 233 and the insulating layer 285 may be disposed below the first conductivity type semiconductor layer 222 and may not be visible from the top view, but are shown for convenience of understanding.
  • Second electrodes 236a and 236b are disposed outside the passivation layer 280.
  • the second electrode 236b disposed in the 'D' region is larger than the second electrode 236a disposed in the region having a different width, and may be a region to which the wire is to be bonded.
  • recesses may be disposed in region 'B' of the surface of the second conductivity-type semiconductor layer 222, and the recesses may be disposed between the through electrodes 233.
  • the through-electrode 233 connected to the first conductive semiconductor layer 222 from the first conductive layer 232 is evenly disposed in the entire region, and thus the first conductive Current is uniformly supplied to the entire region of the type semiconductor layer 222, and thus, light emission efficiency may be improved by smoothly combining electrons and holes in the entire region of the light emitting structure 220.
  • FIG. 7 is a view showing an embodiment of a light emitting device package.
  • the light emitting device package 300 includes a package body 310, a first electrode part 321, a second electrode part 322, and a light emitting device 200.
  • the package body 310 may be made of an insulating material having a cavity, and may include, for example, a polypthalamide (PPA) resin or a silicon-based material.
  • PPA polypthalamide
  • the first electrode part 321 and the second electrode part 322 may be disposed on the package body 310, respectively, and part of the first electrode part 321 and the second electrode part 322 may be disposed on the bottom surface of the cavity.
  • the light emitting device 200 may be the above-described light emitting device, and may be disposed on the first electrode part 321 and electrically connected to the second electrode part 322 through a wire 330.
  • the molding part 350 is disposed around the light emitting device 200 and the wire 330, and the molding part 350 may be filled with air or made of another protective material.
  • the molding part 350 may include a phosphor (not shown).
  • the phosphor may be used as a yag-based phosphor, a nitride-based phosphor, a silicate, or a mixture thereof, but is not limited thereto.
  • the cover 370 is disposed on the package 300, and the cover 370 may be made of a light transmissive material such as glass.
  • the light emitting device may be flip bonded and used as a package.
  • a plurality of light emitting device packages according to the embodiment may be arranged on a substrate, and a light guide plate, a prism sheet, a diffusion sheet, or the like, which is an optical member, may be disposed on an optical path of the light emitting device package.
  • the light emitting device package, the substrate, and the optical member may function as a backlight unit.
  • the display device may include a display device, an indicator device, and a lighting device including a light emitting device package according to an exemplary embodiment.
  • the display device may include a bottom cover, a reflector disposed on the bottom cover, a light emitting module for emitting light, a light guide plate disposed in front of the reflector, and guiding light emitted from the light emitting module to the front, and in front of the light guide plate.
  • An optical sheet including prism sheets disposed, a display panel disposed in front of the optical sheet, an image signal output circuit connected to the display panel and supplying an image signal to the display panel, and a color filter disposed in front of the display panel. It may include.
  • the bottom cover, the reflector, the light emitting module, the light guide plate, and the optical sheet may form a backlight unit.
  • the lighting apparatus includes a light source module including a substrate and a light emitting device package according to an embodiment, a heat sink for dissipating heat from the light source module, and a power supply unit for processing or converting an electrical signal provided from the outside and providing the light source module to the light source module.
  • a light source module including a substrate and a light emitting device package according to an embodiment, a heat sink for dissipating heat from the light source module, and a power supply unit for processing or converting an electrical signal provided from the outside and providing the light source module to the light source module.
  • the lighting device may include a lamp, a head lamp, or a street lamp.
  • the head lamp includes a light emitting module including light emitting device packages disposed on a substrate, a reflector for reflecting light emitted from the light emitting module in a predetermined direction, for example, a lens for refracting the light reflected by the reflector forward. And a shade for blocking or reflecting a part of the light reflected by the reflector toward the lens to achieve a light distribution pattern desired by the designer.
  • a light emitting device having a higher light extraction efficiency may be mounted on a light emitting device package by increasing light extraction efficiency according to an embodiment, and may be implemented as a display device, an indicator device, and a lighting device including the light emitting device package.

Landscapes

  • Led Devices (AREA)
  • Led Device Packages (AREA)
PCT/KR2016/009444 2015-08-27 2016-08-25 발광소자 및 이를 포함하는 발광소자 패키지 Ceased WO2017034346A1 (ko)

Priority Applications (4)

Application Number Priority Date Filing Date Title
JP2018504821A JP6878406B2 (ja) 2015-08-27 2016-08-25 発光素子及びこれを含む発光素子パッケージ
CN201680049969.5A CN107949920B (zh) 2015-08-27 2016-08-25 发光器件和包含该发光器件的发光器件封装
US15/749,069 US10263154B2 (en) 2015-08-27 2016-08-25 Light-emitting device and light-emitting device package comprising same
EP16839634.9A EP3343644B1 (en) 2015-08-27 2016-08-25 Light-emitting device and light-emitting device package comprising same

Applications Claiming Priority (2)

Application Number Priority Date Filing Date Title
KR1020150120843A KR102378952B1 (ko) 2015-08-27 2015-08-27 발광소자 및 이를 포함하는 발광소자 패키지
KR10-2015-0120843 2015-08-27

Publications (1)

Publication Number Publication Date
WO2017034346A1 true WO2017034346A1 (ko) 2017-03-02

Family

ID=58100651

Family Applications (1)

Application Number Title Priority Date Filing Date
PCT/KR2016/009444 Ceased WO2017034346A1 (ko) 2015-08-27 2016-08-25 발광소자 및 이를 포함하는 발광소자 패키지

Country Status (6)

Country Link
US (1) US10263154B2 (enExample)
EP (1) EP3343644B1 (enExample)
JP (1) JP6878406B2 (enExample)
KR (1) KR102378952B1 (enExample)
CN (1) CN107949920B (enExample)
WO (1) WO2017034346A1 (enExample)

Families Citing this family (4)

* Cited by examiner, † Cited by third party
Publication number Priority date Publication date Assignee Title
KR102486032B1 (ko) * 2015-11-04 2023-01-11 쑤저우 레킨 세미컨덕터 컴퍼니 리미티드 발광 소자 및 이를 구비한 조명 장치
JP7096489B2 (ja) * 2018-09-20 2022-07-06 日亜化学工業株式会社 半導体素子の製造方法
CN113421953B (zh) * 2021-06-24 2022-12-13 马鞍山杰生半导体有限公司 深紫外发光二极管及其制作方法
JP7440782B2 (ja) * 2022-01-25 2024-02-29 日亜化学工業株式会社 発光素子の製造方法

Citations (5)

* Cited by examiner, † Cited by third party
Publication number Priority date Publication date Assignee Title
US20110260205A1 (en) * 2008-11-28 2011-10-27 Osram Opto Semiconductors Gmbh Radiation-emitting semiconductor chip
JP2012060115A (ja) * 2010-09-06 2012-03-22 Shogen Koden Kofun Yugenkoshi 発光装置及びその製造方法
KR20120040855A (ko) * 2010-10-20 2012-04-30 엘지이노텍 주식회사 발광 소자
JP2013528953A (ja) * 2010-06-17 2013-07-11 オスラム オプト セミコンダクターズ ゲゼルシャフト ミット ベシュレンクテル ハフツング オプトエレクトロニクス半導体チップの製造方法、および、オプトエレクトロニクス半導体チップ
KR20150060405A (ko) * 2013-11-26 2015-06-03 서울바이오시스 주식회사 복수의 발광셀들을 가지는 발광 다이오드 및 그것을 제조하는 방법

Family Cites Families (22)

* Cited by examiner, † Cited by third party
Publication number Priority date Publication date Assignee Title
US20060192225A1 (en) * 2005-02-28 2006-08-31 Chua Janet B Y Light emitting device having a layer of photonic crystals with embedded photoluminescent material and method for fabricating the device
US20060204865A1 (en) * 2005-03-08 2006-09-14 Luminus Devices, Inc. Patterned light-emitting devices
JP2007019099A (ja) * 2005-07-05 2007-01-25 Sumitomo Electric Ind Ltd 発光装置およびその製造方法
JP4947954B2 (ja) * 2005-10-31 2012-06-06 スタンレー電気株式会社 発光素子
JP5082504B2 (ja) * 2006-03-31 2012-11-28 日亜化学工業株式会社 発光素子及び発光素子の製造方法
WO2009106063A1 (de) * 2008-02-29 2009-09-03 Osram Opto Semiconductors Gmbh Monolithischer, optoelektronischer halbleiterkörper und verfahren zur herstellung eines solchen
US8008683B2 (en) * 2008-10-22 2011-08-30 Samsung Led Co., Ltd. Semiconductor light emitting device
JP5056799B2 (ja) * 2009-06-24 2012-10-24 豊田合成株式会社 Iii族窒化物半導体発光素子およびその製造方法
DE102009034359A1 (de) * 2009-07-17 2011-02-17 Forschungsverbund Berlin E.V. P-Kontakt und Leuchtdiode für den ultravioletten Spektralbereich
JP5409210B2 (ja) * 2009-09-01 2014-02-05 学校法人金沢工業大学 半導体発光素子
KR101761385B1 (ko) * 2010-07-12 2017-08-04 엘지이노텍 주식회사 발광 소자
KR101873585B1 (ko) * 2011-08-10 2018-07-02 엘지이노텍 주식회사 발광 소자 패키지 및 이를 구비한 조명 시스템
JP6052962B2 (ja) * 2012-08-03 2016-12-27 スタンレー電気株式会社 半導体発光装置
KR101957816B1 (ko) * 2012-08-24 2019-03-13 엘지이노텍 주식회사 발광 소자
DE102012108879B4 (de) * 2012-09-20 2024-03-28 OSRAM Opto Semiconductors Gesellschaft mit beschränkter Haftung Optoelektronischer Halbleiterchip mit mehreren nebeneinander angeordneten aktiven Bereichen
US9196807B2 (en) * 2012-10-24 2015-11-24 Nichia Corporation Light emitting element
JP6011244B2 (ja) * 2012-10-24 2016-10-19 日亜化学工業株式会社 半導体発光素子
JP5924231B2 (ja) * 2012-10-24 2016-05-25 日亜化学工業株式会社 半導体発光素子
JP6210415B2 (ja) * 2013-07-05 2017-10-11 パナソニックIpマネジメント株式会社 紫外線発光素子の製造方法
TWI616004B (zh) * 2013-11-27 2018-02-21 晶元光電股份有限公司 半導體發光元件
KR102252477B1 (ko) 2014-08-05 2021-05-17 엘지이노텍 주식회사 발광소자 및 이를 포함하는 발광소자 패키지
KR102486032B1 (ko) * 2015-11-04 2023-01-11 쑤저우 레킨 세미컨덕터 컴퍼니 리미티드 발광 소자 및 이를 구비한 조명 장치

Patent Citations (5)

* Cited by examiner, † Cited by third party
Publication number Priority date Publication date Assignee Title
US20110260205A1 (en) * 2008-11-28 2011-10-27 Osram Opto Semiconductors Gmbh Radiation-emitting semiconductor chip
JP2013528953A (ja) * 2010-06-17 2013-07-11 オスラム オプト セミコンダクターズ ゲゼルシャフト ミット ベシュレンクテル ハフツング オプトエレクトロニクス半導体チップの製造方法、および、オプトエレクトロニクス半導体チップ
JP2012060115A (ja) * 2010-09-06 2012-03-22 Shogen Koden Kofun Yugenkoshi 発光装置及びその製造方法
KR20120040855A (ko) * 2010-10-20 2012-04-30 엘지이노텍 주식회사 발광 소자
KR20150060405A (ko) * 2013-11-26 2015-06-03 서울바이오시스 주식회사 복수의 발광셀들을 가지는 발광 다이오드 및 그것을 제조하는 방법

Non-Patent Citations (1)

* Cited by examiner, † Cited by third party
Title
See also references of EP3343644A4 *

Also Published As

Publication number Publication date
US10263154B2 (en) 2019-04-16
EP3343644B1 (en) 2021-05-05
CN107949920A (zh) 2018-04-20
KR20170025035A (ko) 2017-03-08
EP3343644A4 (en) 2019-04-10
EP3343644A1 (en) 2018-07-04
JP2018525821A (ja) 2018-09-06
US20180226542A1 (en) 2018-08-09
KR102378952B1 (ko) 2022-03-25
CN107949920B (zh) 2020-11-10
JP6878406B2 (ja) 2021-05-26

Similar Documents

Publication Publication Date Title
US8643042B2 (en) Light emitting device
WO2015190722A1 (ko) 발광 소자 및 조명 장치
WO2016153218A1 (ko) 발광 소자, 이를 포함하는 발광 소자 패키지 및 이 패키지를 포함하는 조명 장치
WO2016153213A1 (ko) 발광 소자 패키지 및 조명 장치
WO2015194804A1 (ko) 발광 소자 및 이를 포함하는 발광소자 패키지
WO2016111454A1 (ko) 발광 소자 패키지 및 이를 포함하는 발광 장치
WO2014157905A1 (ko) 발광소자 패키지
WO2017014512A1 (ko) 발광 소자
WO2016153214A1 (ko) 발광 소자 및 발광 소자 패키지
WO2017057978A1 (ko) 발광소자
WO2013183888A1 (ko) 발광소자
WO2015147518A1 (ko) 렌즈, 이를 포함하는 발광소자 모듈
WO2017052344A1 (ko) 발광소자, 발광소자 패키지 및 발광장치
WO2016104958A1 (ko) 적색 발광소자 및 조명장치
WO2017014580A1 (ko) 발광 소자 패키지
WO2016093626A1 (ko) 형광체 조성물, 이를 포함하는 발광 소자 패키지 및 조명장치
WO2017034346A1 (ko) 발광소자 및 이를 포함하는 발광소자 패키지
WO2015199388A1 (ko) 발광소자
WO2017003095A1 (ko) 발광소자 패키지 이를 포함하는 발광소자 모듈
WO2017026858A1 (ko) 발광소자 패키지
WO2017119730A1 (ko) 발광 소자
KR20160118487A (ko) 발광소자
WO2017119754A1 (ko) 발광 소자
WO2016200012A1 (ko) 광 출사 유닛 및 이를 포함하는 광원 유닛
WO2016052898A1 (ko) 발광 소자 패키지 및 이 패키지를 포함하는 발광 장치

Legal Events

Date Code Title Description
121 Ep: the epo has been informed by wipo that ep was designated in this application

Ref document number: 16839634

Country of ref document: EP

Kind code of ref document: A1

ENP Entry into the national phase

Ref document number: 2018504821

Country of ref document: JP

Kind code of ref document: A

WWE Wipo information: entry into national phase

Ref document number: 15749069

Country of ref document: US

NENP Non-entry into the national phase

Ref country code: DE