WO2016199899A1 - 羽根駆動装置及び撮像装置 - Google Patents

羽根駆動装置及び撮像装置 Download PDF

Info

Publication number
WO2016199899A1
WO2016199899A1 PCT/JP2016/067393 JP2016067393W WO2016199899A1 WO 2016199899 A1 WO2016199899 A1 WO 2016199899A1 JP 2016067393 W JP2016067393 W JP 2016067393W WO 2016199899 A1 WO2016199899 A1 WO 2016199899A1
Authority
WO
WIPO (PCT)
Prior art keywords
blade
rotating member
opening
drive
rotating
Prior art date
Legal status (The legal status is an assumption and is not a legal conclusion. Google has not performed a legal analysis and makes no representation as to the accuracy of the status listed.)
Ceased
Application number
PCT/JP2016/067393
Other languages
English (en)
French (fr)
Japanese (ja)
Inventor
隆仁 吉澤
祐輔 乾
康貴 森越
慎也 中脇
悟 矢嶋
善之 小山
Current Assignee (The listed assignees may be inaccurate. Google has not performed a legal analysis and makes no representation or warranty as to the accuracy of the list.)
Canon Electronics Inc
Original Assignee
Canon Electronics Inc
Priority date (The priority date is an assumption and is not a legal conclusion. Google has not performed a legal analysis and makes no representation as to the accuracy of the date listed.)
Filing date
Publication date
Application filed by Canon Electronics Inc filed Critical Canon Electronics Inc
Priority to DE112016002635.8T priority Critical patent/DE112016002635T5/de
Publication of WO2016199899A1 publication Critical patent/WO2016199899A1/ja
Priority to US15/819,135 priority patent/US10209605B2/en
Anticipated expiration legal-status Critical
Priority to US16/241,096 priority patent/US10649309B2/en
Ceased legal-status Critical Current

Links

Images

Classifications

    • GPHYSICS
    • G03PHOTOGRAPHY; CINEMATOGRAPHY; ANALOGOUS TECHNIQUES USING WAVES OTHER THAN OPTICAL WAVES; ELECTROGRAPHY; HOLOGRAPHY
    • G03BAPPARATUS OR ARRANGEMENTS FOR TAKING PHOTOGRAPHS OR FOR PROJECTING OR VIEWING THEM; APPARATUS OR ARRANGEMENTS EMPLOYING ANALOGOUS TECHNIQUES USING WAVES OTHER THAN OPTICAL WAVES; ACCESSORIES THEREFOR
    • G03B9/00Exposure-making shutters; Diaphragms
    • G03B9/02Diaphragms
    • G03B9/06Two or more co-operating pivoted blades, e.g. iris type
    • GPHYSICS
    • G03PHOTOGRAPHY; CINEMATOGRAPHY; ANALOGOUS TECHNIQUES USING WAVES OTHER THAN OPTICAL WAVES; ELECTROGRAPHY; HOLOGRAPHY
    • G03BAPPARATUS OR ARRANGEMENTS FOR TAKING PHOTOGRAPHS OR FOR PROJECTING OR VIEWING THEM; APPARATUS OR ARRANGEMENTS EMPLOYING ANALOGOUS TECHNIQUES USING WAVES OTHER THAN OPTICAL WAVES; ACCESSORIES THEREFOR
    • G03B9/00Exposure-making shutters; Diaphragms
    • G03B9/08Shutters
    • G03B9/10Blade or disc rotating or pivoting about axis normal to its plane
    • G03B9/18More than two members
    • G03B9/22More than two members each moving in one direction to open and then in opposite direction to close, e.g. iris type
    • GPHYSICS
    • G03PHOTOGRAPHY; CINEMATOGRAPHY; ANALOGOUS TECHNIQUES USING WAVES OTHER THAN OPTICAL WAVES; ELECTROGRAPHY; HOLOGRAPHY
    • G03BAPPARATUS OR ARRANGEMENTS FOR TAKING PHOTOGRAPHS OR FOR PROJECTING OR VIEWING THEM; APPARATUS OR ARRANGEMENTS EMPLOYING ANALOGOUS TECHNIQUES USING WAVES OTHER THAN OPTICAL WAVES; ACCESSORIES THEREFOR
    • G03B11/00Filters or other obturators specially adapted for photographic purposes
    • GPHYSICS
    • G03PHOTOGRAPHY; CINEMATOGRAPHY; ANALOGOUS TECHNIQUES USING WAVES OTHER THAN OPTICAL WAVES; ELECTROGRAPHY; HOLOGRAPHY
    • G03BAPPARATUS OR ARRANGEMENTS FOR TAKING PHOTOGRAPHS OR FOR PROJECTING OR VIEWING THEM; APPARATUS OR ARRANGEMENTS EMPLOYING ANALOGOUS TECHNIQUES USING WAVES OTHER THAN OPTICAL WAVES; ACCESSORIES THEREFOR
    • G03B2205/00Adjustment of optical system relative to image or object surface other than for focusing
    • G03B2205/0053Driving means for the movement of one or more optical element

Definitions

  • the present invention relates to a blade driving device such as a diaphragm device and an imaging device such as a camera equipped with the blade driving device.
  • a blade driving device for driving a blade a ground plate having an opening for an optical path, a blade that is supported by the ground plate and operates to open and close the opening, and rotates with respect to the ground plate
  • a device provided with a rotating member is known (see JP 2012-73383 A).
  • Such a blade driving device as disclosed in Japanese Patent Application Laid-Open No. 2012-73383 has a configuration in which the blade is operated so as to open and close the opening for the optical path by interlocking the blade with the rotating member that rotates.
  • the present invention provides a blade driving device and an imaging device that are advantageous for thinning.
  • An opening forming member that forms an opening through which light passes;
  • a rotating member that rotates around the opening on one surface of the opening forming member;
  • a plurality of blades that transmit and receive the power of the rotating member to enter and exit the opening,
  • a blade driving device is provided in which the rotating member is formed of a sheet-like member.
  • An opening forming member that forms an opening through which light passes;
  • a rotating member that rotates around the opening on one surface of the opening forming member;
  • a plurality of blades that transmit and receive the power of the rotating member to enter and exit the opening,
  • a blade driving device is provided in which the rotating member is formed of a sheet-like member obtained by punching a sheet material.
  • An opening forming member that forms an opening through which light passes;
  • a rotating member that rotates around the opening on one surface of the opening forming member;
  • a plurality of blades engaging with the rotating member and entering and exiting the opening,
  • a plurality of engaging portions for engaging the plurality of blades and the opening forming member;
  • the plurality of engaging portions are in sliding contact with the rotating member in the process of rotating on one surface of the opening forming member,
  • a blade driving device is provided in which a rotation position of the rotation member with respect to the opening forming member is defined by the plurality of engaging portions.
  • An opening forming member that forms an opening through which light passes;
  • a rotating member that rotates around the opening on one surface of the opening forming member;
  • a plurality of blades engaging with the rotating member and entering and exiting the opening,
  • a plurality of engaging portions for engaging the plurality of blades and the opening forming member;
  • the rotating member is formed of a thin sheet-like member substantially equal to the thickness of the blade or thicker than the blade, and in the process of rotating around the opening, along the opening periphery of the opening.
  • a blade driving device is provided in which a rotation position of the rotation member with respect to the opening forming member is defined by the plurality of engaging portions.
  • an imaging apparatus including the blade driving device is provided.
  • wing drive device which concerns on embodiment.
  • the exploded front view of the blade drive device of an embodiment (arrangement of a rotation member).
  • the exploded front view of the blade drive device of an embodiment (arrangement of a diaphragm blade).
  • the exploded front view of the blade drive device of an embodiment (rotation of a diaphragm blade). Sectional drawing of embodiment. Sectional drawing of a prior art.
  • wing drive device which concerns on embodiment.
  • the exploded front view of the blade drive device of an embodiment (arrangement of a rotation member).
  • the exploded front view of the blade drive device of an embodiment (arrangement of a diaphragm blade).
  • the exploded front view of the blade drive device of an embodiment rotation of a diaphragm blade).
  • Sectional drawing of embodiment The disassembled perspective view of the blade
  • the exploded front view of the blade drive device of an embodiment (arrangement of a rotation member).
  • the exploded front view of the blade drive device of an embodiment (arrangement of a diaphragm blade).
  • the exploded front view of the blade drive device of an embodiment rotation of a diaphragm blade).
  • wing drive device which concerns on embodiment.
  • the exploded front view of the blade drive device of an embodiment (arrangement of a rotation member).
  • the exploded front view of the blade drive device of an embodiment (arrangement of a diaphragm blade).
  • the exploded front view of the blade drive device of an embodiment (rotation of a diaphragm blade).
  • wing drive device which concerns on embodiment.
  • the exploded front view of the blade drive device of an embodiment (arrangement of a rotation member).
  • Aperture blades of the embodiment The exploded front view of the blade drive device of an embodiment (arrangement of a diaphragm blade).
  • the exploded front view of the blade drive device of an embodiment rotation of a diaphragm blade).
  • Sectional drawing of embodiment The disassembled perspective view of the blade
  • the exploded front view of the blade drive device of an embodiment (arrangement of a rotation member).
  • Aperture blades of the embodiment The exploded front view of the blade drive device of an embodiment (arrangement of a diaphragm blade).
  • the exploded front view of the blade drive device of an embodiment rotation of a diaphragm blade).
  • Sectional drawing of embodiment. The disassembled perspective view of the blade
  • Sectional drawing of embodiment. The disassembled perspective view of the aperture_diaphragm
  • restriction apparatus which concerns on embodiment.
  • FIG. 2 is a perspective view of the diaphragm device according to the embodiment (diaphragm blades, rotating member). Sectional drawing of the aperture_diaphragm
  • restriction apparatus which concerns on embodiment.
  • restriction apparatus which concerns on embodiment.
  • wing drive device of embodiment The perspective view and side view of a drive ring used for the blade
  • restriction apparatus which concerns on embodiment.
  • restriction apparatus which concerns on embodiment.
  • the disassembled perspective view of the light quantity adjustment apparatus which concerns on embodiment.
  • the engagement part cutting figure which concerns on embodiment.
  • wing open state of the light quantity adjustment apparatus which concerns on embodiment.
  • middle aperture state of the light quantity adjustment apparatus which concerns on embodiment.
  • restriction apparatus which concerns on embodiment.
  • the perspective view of the aperture blade used for the blade drive device of an embodiment The perspective view of the opening formation member used for the blade drive device of an embodiment. Sectional drawing of the blade
  • wing drive device which concerns on embodiment.
  • wing drive device which concerns on embodiment.
  • wing drive device which concerns on embodiment.
  • wing drive device which concerns on embodiment.
  • wing drive device which concerns on embodiment.
  • wing drive device which concerns on embodiment.
  • FIG. 1 the disassembled perspective view of the blade
  • 100 indicates the optical axis center of the blade driving device.
  • Reference numeral 101 denotes a drive unit serving as a drive source for driving the blade drive device.
  • Reference numeral 102 denotes a base member which is an opening forming member having an opening 102g formed at the center.
  • the base member 102 is formed by resin molding, and includes a plurality of engagement pins 102a and a plurality of rails 102b.
  • the drive unit 101 is attached to the end of the base member 102. Examples of the drive unit 101 include a stepping motor and a galvanometer.
  • a pinion 104 is attached to the rotation shaft 101 a of the drive unit 101.
  • Reference numeral 103 denotes a rotating member.
  • a circular sheet-like member formed by resin molding is formed with a circular opening serving as a path through which light passes at the center.
  • the rotating member 103 includes a sheet-like base portion 103a, an inner engagement hole 103b penetrating the base portion 103a in the thickness direction, a plurality of drive pins 103c erected on the upper surface of the base portion 103a, and the base portion 103a.
  • a driven portion 103d provided at the outer peripheral end to which the pinion 104 is connected and a light shielding portion 103f provided so as to partially protrude at the outer peripheral end of the base 103a.
  • the rotating member 103 is made by, for example, pressing a resin film (PET sheet material or the like).
  • the rotating member 103 can be made thin and light.
  • the portion that guides the operation of the rotating member 103 does not require strength compared to the case where the rotating member is formed by resin molding.
  • the rotating member 103 can be guided by a thin guide pin that guides the diaphragm blades.
  • the shape accuracy can be formed with higher accuracy than the shape accuracy of resin molding, so that the drawing accuracy can be high.
  • the rotating member 103 may not be formed by a thin sheet-like member, but may be formed by resin molding.
  • the rotating member 103 has a gear portion which is a driven portion 103d.
  • the driven portion 103d is engaged with the pinion 104.
  • the rotational force generated in the drive unit 101 is transmitted from the pinion 104 to the driven unit 103d, whereby the rotating member 103 rotates.
  • the rotational force of the drive unit 101 is transmitted from the pinion 104 to the rotating member 103, but a drive lever may be used instead of the pinion.
  • the driven portion of the rotating member 103 may be a cam groove or a driven pin.
  • Reference numeral 103f denotes a light shielding portion.
  • the light shielding part 103f enters and exits the slit of the photo interrupter 107, thereby serving as a sensor. Used to detect the initial position of the light quantity control device.
  • a diaphragm blade is a diaphragm blade.
  • a plurality (seven) of diaphragm blades 105 are annularly arranged so as to surround an opening through which light passes.
  • Each aperture blade 105 is formed with an engagement hole 105c and a cam groove 105d, which are driven parts.
  • Such a diaphragm blade 105 may be formed by, for example, pressing a PET sheet material or the like, or may be formed by resin molding or the like. Further, in the present embodiment, it is configured by seven diaphragm blades, but the number of the diaphragm blades may be any number as long as it is two or more.
  • the diaphragm blade 105 is described as an example, but other blade blades such as other shutter blades or blades having an optical filter may be used.
  • the maximum opening of the portion through which light passes may be defined by the opening 106g of the base member 102 or the cover member, or may be defined by the ends of the plurality of aperture blades 105.
  • the cover member 106 is a cover member.
  • the cover member 106 accommodates the plurality of diaphragm blades 105 and the rotation member 103 for driving these blades with the base member 102, and forms a blade chamber in which the blades travel with the rotation member. To do. That is, the plurality of diaphragm blades 105 travel (drive) in the blade chamber (space) formed by the base member 102 and the cover member 106 as the rotating member 103 rotates.
  • the cover member 106 is formed with an opening 106 g that communicates with the opening of the base member 102, and is an opening forming member, like the base member 102.
  • the cover member 106 is formed by resin molding or the like, or is created by pressing a PET sheet material or the like.
  • the engagement hole 105 c of the diaphragm blade 105 engages with the drive pin 103 c of the rotating member 103.
  • the pinion 104 rotates, a force is applied to the driven portion 103d of the rotating member 103, and the rotating member 103 rotates.
  • a driving force is applied to the engagement hole 105c of the aperture blade 105 from the drive pin 103c of the rotating member 103, and the aperture blade 105 is driven.
  • the cam groove 105 d of the diaphragm blade 105 is engaged with the engaging portion 102 a of the base member 102. Therefore, the diaphragm blade 105 enters and exits the opening of the base member 102 through the cam groove 105d.
  • the aperture shape of the plurality of aperture blades 105 is adjusted in the opening 102g of the base member 102, and the amount of light passing through can be adjusted.
  • FIG. 2 is a front view of the state where the rotating member 103, the aperture blade 105, and the cover member 106 are removed.
  • FIG. 3 is a front view of the rotating member 103 incorporated in FIG.
  • the rotation member 103 is in sliding contact with the inner engagement holes 103b in a rotatable state with the plurality of engagement pins 102a of the base member 102. Further, the position of the rotation member 103 is defined by the inner engagement hole 103 b slidingly contacting the plurality of engagement pins 102 a of the base member 102.
  • the inner engagement hole 103b of the rotation member 103 is engaged with a circumscribed circle (102c) including the seven engagement pins 102a of the base member.
  • a circumscribed circle 102c
  • Any number is acceptable.
  • FIG. 4 is a front view incorporating the aperture blade 105.
  • the diaphragm blades 105 and the engagement pins 102a are annularly arranged around an opening 102g provided through the base member 102. That is, the rotation position of the rotation member 103 on the base member 102 is defined with the optical axis center 100 as a position reference by rotating the rotation member 103 in sliding contact with the outside of each engagement pin 102a.
  • the aperture blade 105 enters and exits the opening 102g at a predetermined position, and the opening area can be changed as shown in FIG.
  • the rotation position of the rotation member 103 may be defined with respect to the opening 102g of the base member 102 that opens based on the optical axis center 100, or is defined based on a position reference set elsewhere. May be. Further, the rotating member 103 is slidably contacted with the plurality of engaging pins 102a along the rotating direction. However, the rotating member 103 has fewer sliding portions than the conventional structure, and is advantageous in high-speed operation or durability, suppression of wear powder, and the like. It is.
  • FIG. 6 is a cross-sectional view of the light amount adjusting device of the first embodiment.
  • the inner engagement hole 103b of the rotation member 103 is in contact with a circumscribed circle 102c (see FIGS. 6 and 4) formed by a plurality of engagement pins 102a. Therefore, when the rotation member 103 rotates, it is guided while slidingly contacting each of the plurality of engagement pins 102a. Accordingly, the rotation member 103 and the diaphragm blade 105 are restricted from moving in the radial direction by the same engagement pin 102a. That is, the diaphragm blade 105 and the rotation member 103 are restricted from moving in the radial direction by the same portion (a plurality of engagement pins 102a).
  • the device can be simplified and downsized (particularly thinned).
  • the rotating member 103 and the diaphragm blade 105 do not need to separate the drive space, and thus the apparatus can be made thinner.
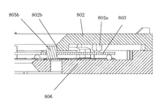
  • the drive space will be described in comparison with a conventional structure.
  • FIG. 7 is a cross-sectional view of a light quantity adjusting device having a conventional structure.
  • the restricting portion in the radial direction is different between the rotating member 903 and the diaphragm blade 905.
  • the rotational direction of the rotating member 903 is restricted by a radial restricting portion 902 g that is a recess provided in the base member 902.
  • the radial direction of the diaphragm blade 905 is restricted by the engagement pin 902 a of the base member 902.
  • the equipment was complex and large because separate radial restriction sites were required.
  • the radial restricting portions of the rotating member 903 and the diaphragm blade 905 are different, they are divided into respective drive spaces.
  • k is the boundary of the driving space.
  • the rotation member 903 exceeds k, the rotation member 903 is removed from the radial restriction portion 902g of the base member 902, and correct radial restriction cannot be performed. Therefore, it is necessary to ensure a sufficient engagement amount h (depth of the recess) so that the rotating member 903 does not exceed k. Therefore, the conventional blade driving device has a space for the radial restriction portion 902g, a space for the engagement amount h of the rotation member 903, etc. in order to limit the restriction in the radial direction between the rotation member 903 and the diaphragm blade 905. It took a lot of space.
  • the drive space between the rotating member 103 and the diaphragm blade 105 is not substantially separated, and the radial restriction portion as in the conventional structure or the engagement amount h is reduced. Since no space or the like is required, it is effective for reducing the size and thickness of the apparatus.
  • the circumscribed circle 102c formed by the plurality of engaging pins 102a of the present embodiment can be made smaller in diameter than the circumscribed circle 902c formed by the radial restricting portion 902g having a conventional structure.
  • the diameter of the engaging pin 102a of this embodiment can be made smaller than the radial restricting portion 902a having a conventional structure.
  • the rotating member (drive ring) 103 of this embodiment will be described in more detail.
  • the rotating member 103 in the present embodiment is formed of an extremely thin thin sheet-like member (ultra-thin sheet-like member) having a structure that engages with a diaphragm blade 105 described later.
  • this “thin sheet-like member” for example, a sheet thinner than the holding substrate (base member 102, case member 106) holding the rotating member 103, a sheet having a thickness less than half of the holding substrate, or a blade
  • the thickness of the aperture device in the optical axis direction can be reduced by using a sheet that is slightly thicker than the thickness of the blade, or a sheet having a thickness substantially equal to or less than the thickness of the blade. It is effective in planning.
  • the “thin sheet-like member” of the present embodiment has a thickness (thinness) that can be bent and deformed relatively easily by applying a slight physical stress from the outside.
  • a very thin (ultra-thin) sheet-like member is preferable from the viewpoint of reduction in thickness or weight.
  • the “thin sheet-like member” preferably has a spring characteristic that has a repulsive force against deformation such as a leaf spring alone. As a result, the shape stability can be sufficiently ensured before or during the rotation drive, and a stable flat rotation posture can be ensured. Therefore, the rotation member 103 in this embodiment is preferably formed from a thin sheet-like member having spring characteristics.
  • the “thin sheet-like member” of the present embodiment may be provided with a slidability improving layer by sliding coating or the like as a surface layer on at least one surface of a resin or metal sheet base material,
  • An antistatic layer for antistatic may be provided, an antireflective layer for antireflection may be provided, or a sheet-like member in which these various surface layers are provided on both sides of a sheet substrate. It is good to use. Thereby, when a slidability improvement layer is provided, the slidability etc. between a blade
  • the surface layer such as the slidability improving layer can be provided on the outer peripheral end surface (inner diameter end surface or outer diameter end surface, or both) of the sheet base material to increase the rigidity of the sheet base material. Slidability can be sufficiently enhanced.
  • a surface layer includes, for example, a thin film formed by painting a material with good slidability and various film forming techniques.
  • the sheet base material is preferably provided on both surfaces of the sheet base material as the blade-side surface and the slidability improving layer.
  • the surface layer preferably has substantially the same thickness on both sides.
  • the thermal contraction rate of the “thin sheet-like member” differs from the thermal shrinkage rate of the surface treatment layer, the “thin sheet-like member” receives the same stress (tensile stress, compressive stress) from the front and back. Even if changes, the “ultra-thin sheet-like member” can effectively prevent warping and deformation.
  • the rotating member 103 in the present embodiment is completely different from the conventional drive ring (resin-molded relatively thick drive ring).
  • the conventional drive ring is a thin type of about 0.5 mm
  • the thickness of the drive ring 103 of this embodiment is about Is, for example, preferably about 0.3 mm or less, more preferably about 0.2 mm or less, and more preferably about 0.1 mm or less.
  • a conventional drive ring may be used.
  • the ultrathin thin sheet-like member may have a single-layer structure or a multilayer structure.
  • the rotating member 103 may be transparent so as not to have a light shielding property.
  • a structure for preventing reflection or the like is provided at a position where the light transmitted through the rotating member 103 is reflected. It preferably has a painted surface.
  • a resin sheet such as a resin film may be used as a base material, or a metal sheet such as a metal foil or a thin metal plate may be used as a base material.
  • a resin sheet it is very effective in reducing the weight.
  • a metal sheet when a metal sheet is used, posture stability during rotation can be improved.
  • the rotating member 103 is preferably flat throughout because of rotational driving, but it is necessary to provide an engaging portion with the blade. For this reason, it is preferable to implement
  • the rotating member 103 may be slightly thicker than the blades. In this case, it is only necessary to select a material that is the same as the blade and that is different only in thickness.
  • the rotation member 103 as described above is a rotation necessary for aperture adjustment (aperture operation) so that aperture adjustment of the light passage path using the plurality of aperture blades 105 can be performed at a predetermined position.
  • Unnecessary slide movement other than driving that is, movement in the surface direction (radial direction) on the base member 102 is restricted.
  • this radial regulation for example, when a recess is provided in the base member 102 and the rotation member 103 is rotatably embedded in the recess and the end of the rotation member 103 is received by the wall of the recess, the base member The structure of 102 becomes complicated, which is disadvantageous for further thinning.
  • the rotating member 103 is formed of a thin sheet-like member, and the end of the rotating member 103 is received using a plurality of blade engaging pins 102 a included in the base member 102. Radial regulation was performed. Thus, if the thickness of the rotating member 103 is reduced by a thin sheet-like member, it is advantageous not only for the above-described thinning of the base member 102 but also for the thinning of the device accordingly.
  • the plurality of engaging pins 102a are in sliding contact with the rotating member 103 in the process of rotating on one surface of the base member 102.
  • the inner engaging hole 103b of the rotating member 103 is in sliding contact with the base member 102.
  • the rotation position of the rotation member 103 with respect to the member 102 is substantially defined.
  • the rotation position of the rotation member 103 is a position where the rotation member 103 rotates in an annular shape along the opening 102 g of the base member 102. That is, the rotation position of the rotation member 103 with respect to the opening 102 of the base member is defined by sliding contact with the plurality of engagement pins 102a.
  • the structure of the base member 102 can be simplified by using the plurality of engagement pins 102a with which the diaphragm blades 105 are engaged as a reference for the rotation position of the rotation member 103. Thinning can be achieved.
  • the rotation position of the rotation member 103 may be set to a position that rotates about the optical axis center 100. Alternatively, it may be set at a position that rotates in an annular shape along the opening 106 g of the cover member 106.
  • the rotation member 103 is configured so that the engagement pins 102a can be radially regulated over a long period of time. It is preferable that the material or structure of the thin sheet member to be adjusted is appropriately adjusted. For example, if a plurality of high-strength engaging pins 102 a made of a material different from the base member 102 are separately attached to the base member 102, the rotating member The choice of the material or structure of the thin sheet
  • this embodiment is also effective for stable operation.
  • the conventional structure requires a space of the engagement amount h. Due to this space, the diaphragm blades 105 and the rotating member 103 are moved in the vertical direction during operation, resulting in variations in operation.
  • the space of the engagement amount h can be eliminated, the movement of the diaphragm blade 105 and the rotating member 103 in the vertical direction is substantially suppressed. Therefore, stable operation can be realized.
  • the rotating member 103 and the diaphragm blade 105 when the rotating member 103 and the diaphragm blade 105 are driven at a high speed, the rotating member 103 and the diaphragm blade 105 may be bent.
  • the rotation member 103 and the diaphragm blade 105 are substantially restricted from moving in the optical axis direction by the base member 102 and the cover 106. Therefore, bending (deformation) due to high-speed operation can be suppressed. Therefore, stable operation can be realized at high speed operation.
  • the radial restricting portion of the rotating member is often subjected to sliding coating for smooth operation and improved durability.
  • sliding coating can be minimized and cost can be reduced.
  • a resin having excellent lubricity is used for the engaging portion, it becomes easy to eliminate sliding coating. Since the paint can be abolished, it is effective for the environment.
  • FIG. 8 the disassembled perspective view of the blade drive device which is Embodiment 2 of this invention is shown.
  • Reference numeral 200 denotes the center of the optical axis of the blade driving device.
  • the inner engagement hole 103b of the rotation member 103 is engaged with a circumscribed circle formed by the plurality of engagement pins 102a of the base member 102, and the rotation member 103 is radially restricted.
  • the outer engagement portion 203b of the rotation member 203 is engaged with an inscribed circle formed by the plurality of engagement pins 202a of the base member 202, and the rotation member 203 is radially restricted. I tried to do it.
  • Other configurations are basically the same as those of the first embodiment.
  • the numbers shown in the figure are shown in the 100s in the first embodiment, but are shown in the 200s in the present embodiment.
  • the rotating member 203 is a rotating member.
  • the rotating member 203 has a base portion 203a, an engaging portion 203b, an engaging portion 203i, an opening portion 203g, a driving pin 203c, a driven portion 203d, and a light shielding portion 203f.
  • FIG. 9 is a front view of the state where the rotating member 203, the diaphragm blade 205, and the cover member 206 are removed.
  • FIG. 10 is a front view of the rotating member 203 incorporated in FIG.
  • the rotating member 203 is in sliding contact with the plurality of engaging pins 202a of the base member 202 so that the engaging portion 203b can rotate.
  • the rotation position of the rotation member 203 with respect to the base member 202 is defined by the engagement portion 203b being in sliding contact with the plurality of engagement pins 202a of the base member 202.
  • the inner engagement hole 203b of the rotation member 203 is engaged with an inscribed circle (202c) including seven engagement pins 202a of the base member, but there are a plurality of engagement pins 202a. Any number is acceptable.
  • FIG. 11 is a front view incorporating the aperture blade 205.
  • the diaphragm blades 205 and the engagement pins 202a are annularly arranged around an opening provided through the base member 202.
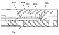
  • FIG. 12 is a cross-sectional view of the light amount adjusting device of the second embodiment.
  • the engaging portion 203b of the rotating member 203 is engaged with an inscribed circle 202c formed by a plurality of engaging pins 202a.
  • the rotating member 203 and the diaphragm blade 205 are restricted by the same engagement pin 202a in the radial direction. That is, the radial direction can be regulated by the same part. Therefore, the apparatus can be simplified and downsized. Further, since the rotating member 203 and the diaphragm blade 205 do not need to separate the driving space, the apparatus can be thinned.
  • the details of the drive space are the same as those described in FIG. 7 as the prior art of the first embodiment. As for the effects of the present invention, the same effects as those of the first embodiment can be obtained.
  • the engaging portion 203b of the rotating member 203 is inscribed in the plurality of engaging pins 202a.
  • the same effect can be obtained even if the engaging pin 203a of the base member is circumscribed in the engaging portion 203i. It is done.
  • the engaging portions 203b and 203i may be mixed and combined so as to be in contact with the plurality of engaging pins 202a.
  • the opening diameter of the blade driving device may be determined by any of the opening 202g of the base member, the opening 206g of the cover member, the opening 203g of the rotating member, and the shape of the aperture opening formed by a plurality of aperture blades.
  • the rotating member 203 is made of a resin film, the rotating member 203 can be made thin. Therefore, if the opening diameter of the blade driving device is formed by the opening 203a of the rotating member, it is effective for reducing the thickness of the device.
  • FIG. 14 the disassembled perspective view of the blade
  • Reference numeral 300 denotes the optical axis center of the blade driving device.
  • the components are basically the same as in the first embodiment. In the present embodiment, the numbers shown in FIG.
  • the rotating member 303 is a rotating member.
  • the rotating member 303 has a base part 303a, an engaging part 303b, an opening part 303g, a driving pin 303c, a driven part 303d, and a light shielding part 303f.
  • the rotating member 303 is created by resin molding.
  • the engagement hole 305 c of the diaphragm blade 305 engages with the engagement pin 302 a of the base member 302. Further, the cam groove 305 d of the diaphragm blade 305 engages with the drive pin 303 c of the rotating member 303.
  • the pinion 304 rotates, a force is applied to the driven portion 303d of the rotating member 303, and the rotating member 303 rotates.
  • a driving force is applied from the driving pin 303c of the rotating member 303 to the cam groove 305d of the diaphragm blade 305, and the diaphragm blade 305 rotates about the engagement pin 302a.
  • the cam groove 305 d the diaphragm blade 305 enters and exits the inside and outside of the opening of the base member 202.
  • the aperture shape can be adjusted by the plurality of aperture blades 305.
  • FIG. 15 is a front view of the state in which the rotating member 303, the aperture blade 305, and the cover member 306 are removed.
  • FIG. 16 is a front view of the rotating member 303 incorporated in FIG.
  • the rotating member 303 is in sliding contact with the engaging portion 303b in a rotatable state with the plurality of engaging pins 302a of the base member 302. Further, the position of the rotating member 303 is defined by the engaging portion 303b being in sliding contact with the plurality of engaging pins 302a of the base member 302.
  • the engaging portion 303 b of the rotating member 303 engages with a plurality of engaging pins 302 a of the base member 302.
  • the engaging portion 303b of the rotating member 303 is engaged with a circumscribed circle (302c) including seven engaging pins 302a of the base member. Individuals may be used.
  • FIG. 17 is a front view in which the diaphragm blades 305 are incorporated.
  • the diaphragm blades 305 and the engagement pins 302a are annularly arranged around an opening 302g provided through the base member 302.
  • FIG. 19 is a cross-sectional view of the light amount adjusting device of the third embodiment.
  • the engaging portion 303b of the rotating member 303 is engaged with a circumscribed circle 302c formed by a plurality of engaging pins 302a.
  • the rotating member 303 and the aperture blade 305 are regulated by the same engagement pin 302a in the radial direction. That is, the radial direction can be regulated by the same part. Therefore, the apparatus can be simplified and downsized. Further, since the rotation member 303 and the diaphragm blade 305 do not need to separate the driving space, the apparatus can be made thin.
  • the details of the drive space are the same as those described in FIG. 7 as the prior art of the first embodiment. As for the effects of the present invention, the same effects as those of the first embodiment can be obtained.
  • the engaging portion 303b of the rotating member 303 is inscribed in the plurality of engaging pins 302a.
  • the same effect can be obtained even if the engaging pin 202a of the base member is inscribed in the engaging portion 303i. It is done.
  • the engaging portions 303b and 303i may be mixed and combined so as to contact the plurality of engaging pins 302a.
  • the opening diameter of the blade driving device may be determined by any of the opening 302g of the base member 302, the opening 306g of the cover member, the opening 303g of the rotating member, and the shape of the aperture opening formed by a plurality of aperture blades.
  • the rotating member 303 is made of a resin film, the rotating member 303 can be made thin. Therefore, if the opening diameter of the blade driving device is formed by the opening 303a of the rotating member, it is effective for reducing the thickness of the device.
  • FIG. 20 the disassembled perspective view of the blade
  • Reference numeral 400 denotes the optical axis center of the blade driving device.
  • the components are basically the same as in the first embodiment. In the present embodiment, each configuration will be described with a 400 series number.
  • the rotating member 403 is a rotating member.
  • the rotating member 403 includes a base portion 403a, an engaging portion 403b, a driving pin 403c, and a driven portion 403d.
  • the engagement hole 405c of the diaphragm blade 405 engages with the engagement pin 402a of the base member 402. Further, the cam groove 405 d of the aperture blade 405 engages with the drive pin 403 c of the rotating member 403.
  • the pinion 404 rotates, a force is applied to the driven portion 403d of the rotating member 403, and the rotating member 403 rotates.
  • a driving force is applied from the drive pin 403c of the rotation member 403 to the cam groove 405d of the aperture blade 405, and the aperture blade 405 rotates about the engagement pin 402a.
  • the cam groove 405d the diaphragm blade 405 enters and exits the inside and outside of the opening of the base member 402.
  • the plurality of aperture blades 405 can adjust the aperture shape.
  • FIG. 21 is a front view of the state where the rotating member 403, the aperture blade 405, and the cover member 406 are removed.
  • FIG. 22 is a front view in which the rotating member 403 is incorporated in FIG.
  • the rotating member 403 is in sliding contact with the plurality of engaging pins 402a of the base member 402 so that the engaging portion 403b can rotate.
  • the position of the rotating member 403 is defined by the engaging portion 403 b slidingly contacting the plurality of engaging pins 402 a of the base member 402.
  • the engaging portion 403 b of the rotating member 403 engages with a plurality of engaging pins 402 a of the base member 402.
  • the engaging portion 403b of the rotating member 403 is engaged with an inscribed circle (402c) composed of seven engaging pins 402a of the base member.
  • an inscribed circle (402c) composed of seven engaging pins 402a of the base member.
  • FIG. 23 is a front view in which the aperture blade 405 is incorporated.
  • the diaphragm blades 405 and the engagement pins 402a are annularly arranged around an opening provided through the base member 402. By rotating the rotating member 403, the diaphragm blade 405 enters and exits the opening, and the opening area changes as shown in FIG.
  • FIG. 25 is a cross-sectional view of the light amount adjusting device of the fourth embodiment.
  • the engaging portion 403b of the rotating member 403 is engaged with an inscribed circle 402c formed by a plurality of engaging pins 402a.
  • the rotating member 403 and the aperture blade 405 are regulated by the same engagement pin 402a in the radial direction. That is, the radial direction can be regulated by the same part. Therefore, the apparatus can be simplified and downsized.
  • the rotation member 403 and the aperture blade 405 do not need to separate the drive space, so that the apparatus can be made thin.
  • the details of the drive space are the same as those described in FIG. 7 as the prior art of the first embodiment. As for the effects of the present invention, the same effects as those of the first embodiment can be obtained.
  • FIG. 26 the disassembled perspective view of the blade
  • Reference numeral 500 denotes the optical axis center of the blade driving device.
  • the components are basically the same as in the first embodiment. In the present embodiment, each configuration will be described with a 500 series.
  • the rotating member 503 is a rotating member.
  • the rotating member 503 includes a base portion 503a, an engaging portion 503b, a cam groove 503c, and a driven portion 503d.
  • the 505 is a diaphragm blade.
  • the diaphragm blade 505 is formed with an engagement pin 505c and a drive pin 505d as a driven portion.
  • the aperture blade 505 is formed by, for example, bonding, welding, insert molding, or outsert molding of an engagement pin and a drive pin on a press-processed PET sheet material or the like. Moreover, you may create by resin molding etc.
  • the fifth embodiment is configured with seven diaphragm blades, the number of the diaphragm blades may be any number as long as it is two or more.
  • the engagement pin 505c of the diaphragm blade 505 engages with the engagement hole 502a of the base member 502. Further, the drive pin 505 d of the diaphragm blade 505 engages with the cam groove 503 c of the rotating member 503.
  • the pinion 504 rotates, a force is applied to the driven portion 503d of the rotating member 503, and the rotating member 503 rotates.
  • a driving force is applied from the cam groove 503c of the rotation member 503 to the drive pin 505d of the aperture blade 505, and the aperture blade 505 rotates about the engagement pin 505c.
  • the cam groove 503c the diaphragm blade 505 enters and exits the inside and outside of the opening of the base member 502.
  • the plurality of aperture blades 505 can adjust the aperture shape.
  • FIG. 27 is a front view of a state in which the rotating member 503, the aperture blade 505, and the cover member 506 are removed.
  • FIG. 28 is a front view in which the rotating member 503 is incorporated in FIG. When projected, the engaging portion 503b of the rotating member 503 contacts the plurality of engaging holes 502a of the base member 502.
  • FIG. 29 shows the aperture blade 505. It has an engaging pin 505c and a driving pin 505d.
  • FIG. 30 is a front view in which the aperture blade 505 is incorporated. There are a plurality of diaphragm blades 505, and the same number of engagement holes 502a are present in the base member 502 for the diaphragm blades. The aperture blades 505 and the engagement holes 502 a of the base member 502 are annularly arranged around the opening provided through the base member 502. At this time, the radial engagement portion 503b of the rotating member 503 is in sliding contact with the engagement pins 505c of the plurality of aperture blades 505 in a rotatable state.
  • the rotation member 503 is slidably brought into contact with the engagement pins 505c of the plurality of diaphragm blades 505, thereby defining the position.
  • the rotation member 503 is rotatably supported by the engagement pins 505c of the plurality of diaphragm blades 505.
  • the engaging portion 503b of the rotating member 503 is engaged with an inscribed circle (505e) including seven engaging pins 505c of the diaphragm blade 505, but there are a plurality of engaging pins 505a. Any number is acceptable.
  • the aperture blade 505 enters and exits the opening, and the opening area changes as shown in FIG.
  • FIG. 32 is a cross-sectional view of the light amount adjusting device of the fifth embodiment.
  • the engaging portion 503b of the rotating member 503 is engaged with an inscribed circle 505e formed by a plurality of engaging pins 505c.
  • the rotating member 503 and the aperture blade 505 are regulated by the same engagement pin 505c in the radial direction. That is, the radial direction can be regulated by the same part. Therefore, the apparatus can be simplified and downsized. Further, since the rotation member 503 and the aperture blade 505 do not need to separate the drive space, the apparatus can be made thin.
  • the details of the drive space are the same as those described in FIG. 7 as the prior art of the first embodiment. As for the effects of the present invention, the same effects as those of the first embodiment can be obtained.
  • the engaging portion 503b of the rotating member 503 inscribed in the engaging pin 505c has been described.
  • the same effect can be obtained by using the engaging portion of the rotating member in contact with the engaging pin 505c. can get.
  • the opening diameter of the blade driving device is determined by any of the opening 502g of the base member 502, the opening 506g of the cover member 503, the opening 503g of the rotating member 503, and the shape of the aperture opening formed by a plurality of aperture blades. Good.
  • the rotation member 503 is made of a resin film, the rotation member 503 can be made thin. Therefore, if the opening diameter of the blade driving device is formed by a rotating member, it is effective for reducing the thickness of the device.
  • FIG. 33 the disassembled perspective view of the blade
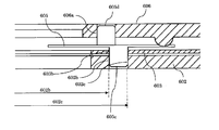
  • Reference numeral 600 denotes the optical axis center of the blade driving device.
  • the components are basically the same as in the first embodiment. In the present embodiment, each configuration will be described with 600 numbers.
  • the rotating member 603 is a rotating member.
  • the rotating member 603 has an engaging portion 603b and a driven portion 603d.
  • the 605 is a diaphragm blade. On the diaphragm blade 605, an engagement pin 605c and a drive pin 605d as a driven portion are formed.
  • the aperture blade 605 is formed by, for example, bonding, welding, insert molding, or outsert molding of an engagement pin and a drive pin on a press-processed PET sheet material or the like. Moreover, you may create by resin molding etc. Although this embodiment is configured with seven diaphragm blades, the number of diaphragm blades may be any number as long as it is two or more.
  • the engaging pin 605c of the diaphragm blade 605 engages with the engaging hole 603a of the rotating member. Further, the engaging pin 605c of the diaphragm blade 605 engages with the engaging portion 602b or 602c of the base member 602, or both the engaging portions 602b and 602c. Further, the drive pin 605 d of the diaphragm blade 605 engages with the cam groove 606 a of the cover member 606.
  • the pinion 604 rotates, a force is applied to the driven portion 603d of the rotating member 603, and the rotating member 603 rotates. When the rotating member 603 rotates, a driving force is applied to the engaging pin 605c of the aperture blade 605 from the engaging hole 603a of the rotating member 603.
  • the rotating member 603 and the plurality of aperture blades 605 are driven to rotate around the opening of the base member.
  • the aperture blade 605 enters and exits the opening of the base member 602 through the cam groove 606a.
  • the plurality of aperture blades 605 can adjust the aperture shape.
  • FIG. 34 is a front view of a state in which the rotating member 603, the aperture blade 605, and the cover member 606 are removed.
  • FIG. 35 is a front view of the rotating member 603 incorporated in FIG. When projected, the engaging portion 603b of the rotating member 603 contacts at least one of the plurality of engaging portions 602b of the base member 602 or the plurality of engaging portions 602c.
  • FIG. 36 shows the diaphragm blade 605. It has an engaging pin 605c and a driving pin 605d.
  • FIG. 37 is a front view in which one aperture blade 605 is incorporated.
  • FIG. 38 is a front view in which seven aperture blades 605 are incorporated.
  • FIG. 39 is a front view of the cover 606 incorporated in FIG.
  • the base member 602 has the same number of engaging portions 602b or engaging portions 602c with respect to the aperture blades.
  • the aperture blades 605 and the engagement holes 602b or the engagement portions 602c of the base member 602 are annularly arranged around an opening provided through the base member 602.
  • the engaging pin 605c of the diaphragm blade 605 is in sliding contact with the engaging hole 603b of the rotating member 603 in a rotatable state.
  • the engaging pin 605c of the diaphragm blade 605 engages with the engaging portion 602b of the base member 602, the engaging portion 602c, or both the engaging portions 602b and 602c.
  • the engaging portion 602b may be completely eliminated, and the engaging portion 602c may be connected in a circle to be engaged with the engaging pin 605c.
  • the rotation member 603 is in sliding contact with the radial engagement portion 603b in a rotatable state with the engagement pins 605c of the plurality of aperture blades 605.
  • the position of the rotating member 603 is defined by sliding contact with the engaging pins 605c of the plurality of aperture blades 605.
  • the rotation member 603 is rotatably supported by the engagement pins 605c of the plurality of diaphragm blades 605.
  • the engagement hole 603b of the rotating member 603 is engaged by the seven engagement pins 605c of the aperture blade 605, but any number of engagement pins 605c may be used. Further, the number of the engaging portions 602b and 602c of the base member 602 is not limited as long as it is plural.
  • FIG. 41 is a cross-sectional view of the light amount adjusting device of the present embodiment.
  • the engagement pin 605 c of the diaphragm blade 605 engages with the engagement hole 603 b of the rotating member 603. Further, the engagement pin 605 c of the diaphragm blade 605 engages with at least one of the engagement portions 602 b and 602 c of the base member 602.
  • the rotating member 603 and the aperture blade 605 are regulated by the same engagement pin 605c in the radial direction. That is, the radial direction can be regulated by the same part. Therefore, the apparatus can be simplified and downsized. Further, since the rotation member 603 and the aperture blade 605 do not need to separate the drive space, the apparatus can be made thin.
  • the details of the drive space are the same as those described in FIG. 7 as the prior art of the first embodiment. As for the effects of the present invention, the same effects as those of the first embodiment can be obtained.
  • the engagement pins 605c of the diaphragm blade 605 engage with the plurality of engagement portions 602b and the plurality of engagement portions 602c of the base member 602.
  • the engagement pin 605c of the diaphragm blade 605 may be engaged with only the plurality of engagement portions 602b.
  • the engagement pin 605c of the diaphragm blade 605 may be engaged with only the plurality of engagement portions 602c.
  • the engagement pin 605c of the diaphragm blade 605 may be engaged with the opening 602g of the base member 602.
  • the opening diameter of the blade driving device is determined by any of the opening 602g of the base member 602, the opening 606g of the cover member 606, the opening 603g of the rotating member 603, and the shape of the aperture opening formed by a plurality of aperture blades. Good.
  • the rotating member 603 is made of a resin film, the rotating member 603 can be made thin. Therefore, if the opening diameter of the blade driving device is formed by a rotating member, it is effective for reducing the thickness of the device.
  • FIG. 42 the disassembled perspective view of the blade
  • Reference numeral 700 denotes the optical axis center of the blade driving device.
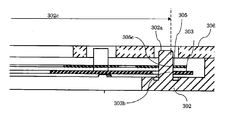
  • the seventh embodiment is an example in which the positional relationship between the diaphragm blades and the rotating member is changed with respect to the first embodiment.
  • a diaphragm blade 705 is positioned between a base member 702 that is an opening forming member and a rotating member 703.
  • FIG. 43 is a front view of the seventh embodiment.
  • the cover member may be received as in the first embodiment, the cover member may be eliminated by providing the hook member 702d of the base member 702 and holding the rotating member 703 without the cover member. Is also possible. Therefore, in Embodiment 7, the cover member can be eliminated and the thickness can be further reduced. It is also effective for cost reduction.
  • Embodiments 2 to 6 it is possible to obtain the same effect by exchanging the positional relationship between the diaphragm blades and the rotating member.
  • FIG. 45 is an exploded perspective view of a diaphragm device as a light quantity adjusting device according to the eighth embodiment of the present invention
  • FIG. 46 is a plan view of this diaphragm device (viewed from the cover member 802 side).
  • Fig. 48 shows a bottom view of the diaphragm device (viewed from the base member 806 side), and Fig. 48 shows a partial cross-sectional view of the diaphragm device.
  • the component parts are basically the same as those in the first embodiment, and in this embodiment, description will be given with each component numbered in the 800 series.
  • the diaphragm device of this embodiment is provided with a plurality of cam grooves 806 a corresponding to the diaphragm blades 805 on the base member 806, and each diaphragm blade 805 has a cam.
  • An engagement pin 805a that engages with the groove 806a and a drive pin 805b that engages with an engagement portion 803b provided on the rotation member 803 are provided.
  • the drive pin 805b penetrates the rotation member 803, and the rotation member 803 is sandwiched between the cover member 802 and the aperture blade 805, the drive pin 805b is in sliding contact with the inner diameter portion 802b of the cover member 802, and the protrusion 802a provided on the cover member 802 shown in FIG. And the position of the rotating member and the diaphragm blade are defined.
  • the motor is fixed to the cover member, and the rotating member 803 receives the driving force of the motor and rotates around the opening so that the aperture blade 805 moves in and out of the opening. Adjust the aperture.
  • the position of the rotating member can also be defined between the driving pin 805b of the rotating diaphragm blade 805 and the inner diameter portion 802b of the fixed cover member 802.
  • the drive pin 805a of the diaphragm blade 805 needs to be long in order to prevent the rotation member 803 from being removed, but the drive pin 805b of the diaphragm blade 805 is brought into sliding contact with the inner diameter portion 802b of the cover member 802. Since the rotating member 803 is unlikely to be detached from the driving pin 805b of the diaphragm blade, stable driving is possible, and the length of the driving pin 805b can be minimized, which is effective in reducing the thickness of the unit.
  • the blade driving pin 805b and the inner diameter portion 802b of the base member 802 are fitted, so that it is not necessary to increase the blade traveling space formed by the rotating member and the cover member. It is possible to suppress the characteristic change due to the difference.
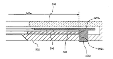
  • FIG. 49 is an exploded perspective view of a diaphragm device as a light amount adjusting device according to the ninth embodiment of the present invention
  • FIG. 50 is a plan view of this diaphragm device (viewed from the cover member 902 side).
  • Fig. 52 shows a perspective view of the diaphragm device (a view of the diaphragm blades 905 and the rotating member 903 in a plan view), and
  • Fig. 52 shows a partial sectional view of the diaphragm device.
  • the component parts are basically the same as those in the first embodiment, and in this embodiment, description will be given with each component numbered 900.
  • a plurality of cam grooves 906a corresponding to the diaphragm blades 905 are provided on the base member 906, and each diaphragm blade 905 is engaged with each cam groove 906a.
  • An engaging pin 905 a and a driving pin 905 b that engages with an engaging portion 903 b provided on the rotating member 903 are provided.
  • the driving pin 905 b penetrates the rotating member 903, and the rotating member 903 is connected to the cover member 902. 52, the outer periphery 903a of the rotating member and the protrusion 902a of the cover member 902 are in sliding contact with each other, and the flat portion 902b of the cover member 902 shown in FIG.
  • the positions of the rotating member and the aperture blade are defined.
  • the motor is fixed to the cover member, and the rotating member 903 receives the driving force by the motor, and the aperture blade 905 moves in and out of the opening by rotating around the opening. Adjust the aperture.
  • the position of the drive pin 905b which defines the position by slidingly contacting the outer periphery 903a of the rotating member and the protrusion 902a of the cover member, can be easily corrected, which is effective in improving the aperture characteristics.
  • a plurality of cam grooves 906a corresponding to the blades 905 are provided on the base member 906, and each blade 905 is associated with each cam groove 906a.
  • the drive pin 905a to be engaged and the drive pin 905b to be engaged with the bearing portion 903b provided on the rotating member 903 are provided, and the outer periphery 903a of the rotating member and the protrusion 902a of the cover member 902 are radially fitted. .
  • base member 906 may be the member fitted to the outer periphery 903a of the rotating member.
  • the blade drive device of the present embodiment includes an opening forming member that forms an opening through which light passes, a rotating member that rotates around the opening on one surface of the opening forming member, and the rotating member A plurality of blades that engage and exit the opening, and have a plurality of engagement portions that engage the plurality of blades and the opening forming member.
  • the rotating member is in sliding contact with the one surface of the opening forming member, and the rotating position of the rotating member relative to the opening forming member is defined by the plurality of engaging portions.
  • the plurality of engaging portions are erected on one surface of the opening forming member as a rotating shaft of the blade, circumscribe or penetrate the rotating member, and engage the hole of the blade. It is an engagement pin engaged with.
  • the engaging pin erected on the opening forming member is used as the engaging portion of the blade, and the rotating position of the rotating member is defined using the engaging pin. This is effective for making the device thinner.
  • the plurality of engaging portions are erected at the end portions of the respective blades as rotation shafts of the blades, and are engaged with or penetrated through the rotating member and are provided in the opening forming member. It is an engagement pin engaged with.
  • the engagement pin standing on the blade is used as the engagement portion of the blade, and the rotation position of the rotation member is defined using the engagement pin, whereby the device in the light passing direction is provided. This is effective in reducing the thickness.
  • the said rotation member was made to rotate the circumference
  • the rotation member can be slid along the plurality of annularly arranged engaging portions, and the rotation position of the rotation member can be defined along the opening periphery of the opening.
  • the plurality of blades travel in a blade chamber formed between the rotating member and the opening forming member.
  • a blade chamber can be formed between the rotating member and the opening forming member, and a plurality of blades can be run in the blade chamber as the rotating member rotates.
  • the said rotation member is arrange
  • the rotating member is formed of a thin sheet-like member having a thickness substantially equal to the thickness of the blade or thicker than the blade.
  • the load received by the plurality of engaging portions can be reduced by forming the rotating member from a thin sheet-like member.
  • the opening forming member and the plurality of engaging portions are formed of the same resin material, and the rotating member is formed of a thin sheet-like member made of resin.
  • the opening forming member and the plurality of engaging portions can be integrally molded from the same resin material.
  • the blade drive device of the present embodiment includes an opening forming member that forms an opening through which light passes, a rotating member that rotates around the opening on one surface of the opening forming member, and the rotating member A plurality of blades that engage with the opening portion, and have a plurality of engaging portions that engage the plurality of blades and the opening forming member, and the rotating member includes the blades.
  • the plurality of thin sheet-like members that are substantially the same as or thicker than the blades and arranged in a ring shape along the periphery of the opening of the opening in the process of rotating around the opening.
  • the rotating position of the rotating member with respect to the opening forming member in sliding contact with the engaging portion is defined by the plurality of engaging portions.
  • the rotating member is formed of a thin sheet-like member, and the rotating member is slidably contacted with the plurality of engaging portions to define the rotating position, so that it is excellent in durability and thin. It is possible to realize a blade driving device that is advantageous for the production.
  • the present embodiment is not limited to the blade driving device described above, but can be applied to a blade driving system in an imaging device such as a camera, and is also widely applied to imaging devices.
  • FIG. 53 shows an exploded perspective view of a diaphragm device as a light amount adjusting device according to the first embodiment of the present invention.
  • FIG. 54 is a perspective view of a diaphragm device as the light amount adjusting device according to the first embodiment of the present invention.
  • the fixing ring 102 is created by resin molding or by cutting a metal material.
  • the fixing ring 102 includes a fixing pin 102b, a receiving surface 102c, and an outer peripheral wall 102a.
  • the driving unit 101 is attached to the fixing ring 102.
  • the drive unit 101 uses, for example, a stepping motor, a galvano motor, or the like.
  • a pinion 105 is attached to the rotation shaft of the drive unit 101.
  • FIG. 55 is a perspective view in which the drive unit 101 and the pinion 105 are attached to the fixing ring 102.
  • a holding sheet member 103 is attached to the fixing ring 102.
  • FIG. 56 shows a perspective view and a side view of the holding sheet member 103.
  • the holding sheet member 103 has a base 103c, an opening 103a, a guide pin 103d, and a positioning hole 103b.
  • the holding sheet member 103 is formed by, for example, pressing a resin film (PET sheet material or the like). When press working can be performed, the shape accuracy can be formed with higher accuracy than the shape accuracy of resin molding, so that the drawing accuracy can be high.
  • the holding sheet member 103 is positioned by engaging the fixing pin 102b of the fixing ring 102 and the positioning hole 103b of the holding sheet member 103. Further, the holding sheet 103 is brought into contact with the receiving surface 102c of the fixing ring 102 so that the position of the holding sheet 103 in the optical axis direction is fixed.
  • the fixing ring 102 holds the holding sheet 103 so as to surround the outer periphery of the holding sheet 103. Therefore, even if the thickness of the holding sheet 103 is extremely thin, the holding sheet 103 can maintain the shape.
  • As the thickness of the resin film a material having a thickness of 0.01 mm to 0.30 mm can be used. Therefore, the diaphragm 103 can be made thin by making the base 103c as thin as possible.
  • FIG. 57 is a perspective view and a side view of the drive ring 104.
  • the drive ring 104 includes a base portion 104b, an inner engagement portion 104a, a drive pin 104c, a driven portion 104d, and a light shielding portion 104e.
  • the drive ring 104 is made by resin molding. Further, for example, it is created by pressing a resin film (PET sheet material or the like). When press working can be performed, the shape accuracy can be formed with higher accuracy than the shape accuracy of resin molding, so that the drawing accuracy can be high.
  • the thickness of the resin film a material having a thickness of 0.01 mm to 0.30 mm can be used.
  • the inertia when rotating can be reduced, and the diaphragm device can be operated at high speed.
  • the driving ring 104 is supported by the holding sheet member 103 and the cover member 107, or the fixing ring 102 and the blade member so as to be optimally movable in both the thrust direction and the radial direction. Minimize the deformation of.
  • the base 104b of the drive ring 104 may be made of a material that has been surface-treated on one or both sides.
  • the surface treatment include sliding coating, antistatic treatment, and antireflection treatment.
  • sliding coating friction with the holding sheet member 104, which is a part that slides with the drive ring, the diaphragm blade 106 and the cover member 107, which will be described later, can be reduced, and power-saving operation is possible.
  • antireflection treatment it is possible to suppress the reflection of light entering the light amount adjusting device and prevent the occurrence of ghost, flare, etc. when the light amount adjusting device is incorporated in the lens barrel. it can.
  • the inner engagement portion 104 a of the drive ring 104 engages with the plurality of guide pins 103 d of the holding sheet member 103.
  • the drive ring 104 and the holding sheet member 103 are engaged with each other so that the drive ring 104 is outside and the holding sheet member 103 is inside.
  • the inner engagement portion 104a of the drive ring 104 is supported by the plurality of guide pins 103d of the holding sheet member 103, so that the drive ring 104 can suppress deformation in the circumferential direction. Therefore, even if the base portion 104b of the drive ring 104 is thin, it can operate without being deformed.
  • the frictional resistance can be reduced, Smooth operation and low power operation can be realized.
  • the drive ring 104 has a gear portion which is a driven portion 104d.
  • the driven portion 104e meshes with the pinion 105.
  • the rotational force generated in the drive unit 101 is transmitted from the pinion 105 to the driven unit 104d, and the drive ring 104 rotates.
  • the gear 104d is thin and the meshing area of the gear is small, so that the meshing sound between the gears is small. Further, since the mass difference between the pinion 105 and the drive ring 104 is large, even if the pinion 105 has a backlash in the gear portion 104d, the gear meshing sound, the reversing sound, etc. are reduced.
  • Numeral 104e is a light shielding part. By entering and exiting the slit of the photo interrupter 108, it functions as a sensor. Used to detect the initial position of the light quantity control device.
  • FIG. 58 shows a perspective view of seven diaphragm blades.
  • FIG. 59 shows a perspective view and a side view of the cover member 107.
  • the cover member 107 is made by, for example, pressing a resin film (PET sheet material or the like). When press working can be performed, the shape accuracy can be formed with higher accuracy than the shape accuracy of resin molding, so that the drawing accuracy can be high.
  • the cover member 107 is attached to the fixing ring 102, and the drive ring 104 and the diaphragm blade 106 are driven in the space formed by the holding sheet member 103 and the cover member 107.
  • the engagement hole 106 c of the diaphragm blade 106 engages with the drive pin 104 c of the drive ring 104.
  • the pinion 105 rotates, a force is applied to the driven part 104d of the drive ring 104, and the drive ring 104d rotates.
  • the drive ring 104d rotates, a driving force is applied from the drive pin 104c of the drive ring 104d to the engagement hole 106c of the diaphragm blade 106, and the diaphragm blade 106 is driven.
  • the cam groove 106 d of the diaphragm blade 106 is engaged with the guide pin 103 d of the holding sheet member 103.
  • FIG. 60 shows a state in which the aperture blades are opened and a state in which the aperture blades are stopped.
  • the base 104b of the drive ring 104 has a uniform thickness and is free of unnecessary irregularities and holes, so that it is possible to prevent malfunctions such as the diaphragm blade 106 being caught by the drive ring 104 during the opening / closing operation.
  • FIG. 61 is a cross-sectional view of the light amount adjusting device of the first embodiment.
  • the drive ring 104 is rotatably supported in a space formed by the holding sheet member 103 and the cover member 107.
  • the outer periphery of the drive range of the drive ring 104 and the diaphragm blade 106 is surrounded by the outer peripheral wall 102 a of the fixed ring 102. Since the device is surrounded by the outer peripheral wall 102a, the strength required for the device can be maintained. In addition, it is possible to prevent foreign matter from entering the inside of the apparatus.
  • the thickness of the peripheral portion of the light passage opening can be significantly reduced as compared with the conventional diaphragm device.
  • the thickness of the peripheral portion of the light passage opening is the total thickness of the holding sheet member 103, the drive ring 104, the diaphragm blade 106, and the cover member 107, and the space necessary for driving the drive ring 104 and the diaphragm blade 106. .
  • all of the holding sheet member 103, the drive ring 104, the aperture blade 106, and the cover member 107 are formed of a thin sheet-like member. Therefore, it is possible to reduce the thickness to half or less as compared with the conventional diaphragm device.
  • the first embodiment can reduce the weight as compared with the diaphragm device of the prior art. Since the thickness of each component is less than half, the weight can be reduced to less than half compared to the conventional technology. Since the material weight used for the diaphragm device is reduced, the material cost can be reduced.
  • the first embodiment is improved in impact resistance as compared with the prior art.
  • the weight of the drive ring 104 is less than half the weight of the prior art drive ring.
  • the holding sheet member 103 and the cover member 107 also have an impact resistance that is twice or more that of the prior art diaphragm device. Furthermore, since the thin sheet-like member used in the holding sheet member 103, the drive ring 104, and the cover member 107 in the first embodiment is an elastic member, it also has a meaning that absorbs impact force as compared with the prior art. Are better.
  • the aperture device of Embodiment 1 can be mounted on a wearable camera (camera to be found on the body), an action camera, etc. that require strict impact resistance, which was rarely mounted on the aperture device until now. become.
  • the holding sheet member 103, the drive ring 104, and the cover member 107 of this embodiment will be described in more detail.
  • the holding sheet member 103 and the drive ring 104 in the present embodiment are formed of an ultra-thin sheet-like member having a structure that engages with the aperture blade 105.
  • Examples of the “ultra-thin sheet-like member” include a sheet thinner than the thickness of the fixing ring 102 that holds the holding sheet member 103 in the optical axis direction, or the thickness of the blade when compared with the thickness of the blade. Use of a slightly thick sheet or a sheet having a thickness substantially equal to or less than the thickness of the blades is effective in reducing the thickness of the aperture device in the optical axis direction.
  • the “ultra-thin sheet-like member” of the present embodiment has a thickness (thinness) that can be bent and deformed relatively easily, for example, by applying a slight physical stress from the outside. And it is preferable that it is a very thin sheet-like member from a viewpoint of thickness reduction or weight reduction.
  • the “ultra-thin sheet-like member” preferably has a spring characteristic that has a repulsive force against deformation such as a leaf spring alone.
  • the drive ring 104 in this embodiment is preferably formed from an ultra-thin sheet-like member having spring characteristics.
  • the “ultra-thin sheet-like member” of the present embodiment may be provided with a slidability improving layer by sliding coating or the like as a surface layer on at least one surface of a resin or metal sheet base material, for example.
  • a slidability improving layer for antistatic may be provided, an antireflective layer for antireflection may be provided, or a sheet-like shape in which these various surface layers are provided on both sides of the sheet substrate. It is preferable to use a member. Thereby, when a slidability improvement layer is provided, the slidability etc. between a blade
  • the surface layer such as the slidability improving layer can be provided on the outer peripheral end surface (inner diameter end surface or outer diameter end surface, or both) of the sheet base material to increase the rigidity of the sheet base material. Slidability can be sufficiently enhanced.
  • a surface layer includes, for example, a thin film formed by painting a material with good slidability and various film forming techniques.
  • the surface layer preferably has substantially the same thickness on both sides.
  • the “ultra-thin sheet-like member” applies the same stress (tensile stress, compression stress) from the front and back. Therefore, even if the environment changes, the “ultra-thin sheet-like member” can effectively prevent warping and deformation.
  • the drive ring 104 in the present embodiment is completely different from a conventional drive ring (resin-molded relatively thick drive ring).
  • the conventional drive ring is a thin type of about 0.5 mm
  • the thickness of the drive ring 103 of this embodiment is about Is, for example, preferably about 0.3 mm or less, more preferably about 0.2 mm or less, and more preferably about 0.1 mm or less.
  • the ultra-thin sheet-like member When such an ultra-thin sheet-like member is used for the drive ring 104, it contributes not only to the thinning of the drive ring 104 but also to the weight reduction of the drive ring 104, and further high speed rotation can be realized.
  • the ultra-thin sheet-like member may have a single-layer structure or a multilayer structure.
  • a resin sheet such as a resin film may be used as a base material, or a metal sheet such as a metal foil or a thin metal plate may be used as a base material.
  • a resin sheet it is very effective in reducing the weight.
  • a metal sheet when a metal sheet is used, posture stability during rotation can be improved.
  • the drive ring 104 is preferably flat throughout because of rotational driving, but it is necessary to provide an engaging portion with the blade. For this reason, it is preferable to implement
  • the drive ring 104 may be formed using the same material as that for forming the blades. In this case, the blade and the drive ring 104 have the same thickness.
  • the combination of the fixing ring 102 and the holding sheet member 103 in this embodiment is completely different from the conventional holding substrate (resin-molded relatively thick ring).
  • the conventional holding substrate is a thin type of about 0.5 mm
  • the thickness of the holding sheet member 103 of this embodiment is For example, the thickness is preferably about 0.3 mm or less, more preferably about 0.2 mm or less, and more preferably about 0.1 mm or less.
  • the holding sheet member 103 is fixed by the fixing ring 102.
  • the fixing ring 102 is an annular member having an opening, and the holding sheet member 103 is fixed in the opening. Since the outer periphery of the holding sheet member 103 is fixed by the fixing ring 102, the shape can be maintained even if the thickness is small.
  • the ultra-thin sheet-like member for the holding sheet member 103 contributes not only to reducing the thickness of the holding substrate but also to reducing the weight of the holding sheet member 103.
  • the ultra-thin sheet-like member may have a single-layer structure or a multilayer structure.
  • a resin sheet such as a resin film may be used as a base material, or a metal sheet such as a metal foil or a thin metal plate may be used as a base material.
  • a resin sheet it is very effective in reducing the weight.
  • a metal sheet In the case of using a metal sheet, it is very effective to use an ultralight metal such as geralumin to reduce the weight.
  • an ultralight metal such as geralumin
  • these may be applied as they are to the holding sheet member 103 to form a one-layer structure.
  • the sliding property, operating load, friction, and quietness with the blades and other members may be used.
  • the holding sheet member 103 is preferably flat throughout because the drive ring 104 is rotationally driven, but it is necessary to provide an engaging portion with the blade. For this reason, it is preferable to implement
  • the holding sheet member 103 may be formed using the same material as that for forming the blades. In this case, the blade and the drive ring 104 have the same thickness.
  • the cover member 107 in the present embodiment may be an ultra-thin sheet member. Compared with the relatively thick cover member formed by resin molding only in terms of thickness dimensions, the thin type member formed by resin molding was about 0.5 mm, whereas the cover member 107 of this embodiment was For example, the thickness is preferably about 0.3 mm or less, more preferably about 0.2 mm or less, and more preferably about 0.1 mm or less.
  • the cover member 107 is fixed to the fixing ring 102.
  • the fixing ring 102 is an annular member having an opening, and fixes the cover member 107 so as to cover the opening. Since the outer periphery of the cover member 107 is fixed to the fixing ring 102, the shape can be maintained even if the thickness is small.
  • the cover member 107 is fixed to the fixing ring 102 by being bonded, fixed with a double-sided tape, screwed, or welded.
  • the ultra-thin sheet-like member When such an ultra-thin sheet-like member is used for the cover member 107, it contributes not only to reducing the thickness of the cover member but also to reducing the weight of the cover member 107.
  • the ultra-thin sheet-like member may have a single-layer structure or a multilayer structure.
  • the support on the holding sheet member 103 side of the drive ring 104 will be described.
  • the plurality of aperture blades 106 are uniformly arranged in the circumferential direction. Therefore, the drive ring 104 is not partially supported by the plurality of diaphragm blades 106 but is supported evenly as a whole. Therefore, a large force is not applied to the drive ring 104 in part, and the force is dispersed as a whole. Therefore, even if the drive ring 104 is thin, stable driving can be realized without deformation. .
  • an emboss shape may be formed on the sliding surfaces of the drive ring 104 and the holding sheet member 103.
  • the emboss shape may be formed on either the drive ring 104 or the holding sheet member 103.
  • the support on the diaphragm blade side of the drive ring 104 will be described.
  • the plurality of aperture blades 106 are uniformly arranged in the circumferential direction. Therefore, the drive ring 104 is not partially supported by the plurality of diaphragm blades 106 but is supported evenly as a whole. Therefore, a large force is not applied to the drive ring 104 in part, and the force is dispersed as a whole. Therefore, even if the drive ring 104 is thin, stable driving can be realized without deformation. .
  • an emboss shape may be formed on the sliding surface of the drive ring 104 and the diaphragm blade 106.
  • the embossed shape may be formed on the drive ring 104 or the diaphragm blade 106.
  • FIG. 62 is a cross-sectional view and a perspective view of the periphery of the drive pin 104c of the drive ring 104.
  • FIG. FIG. 63 is a cross-sectional view and a perspective view of the base 104b.
  • FIG. 64 is a perspective view of the drive pin 104c and the sliding portion 104g.
  • the drive pin 104c and the sliding portion 104g are formed on the base 104b by outsert molding, or are formed by adhesion, heat caulking, or the like.
  • the drive pin 104c may be resin or metal.
  • the drive pin 104c and the sliding part 104g are in a positional relationship with respect to the base 104b. Further, the drive pin 104c and the sliding portion 104g are connected through a hole 104i previously formed in the base portion 104b.
  • the hole 104i may be a round hole, but it is also possible to prevent the drive pin 104c from rotating by making it a polygon, ellipse, semicircle or the like.
  • the drive ring 104 applies a load to the drive pin 104c engaged with the aperture blade 106.
  • the aperture blades are knitted, so that a large load is applied to the movable pin 104c that is a support portion of the aperture blade 106. Therefore, the drive ring 104 tends to deform in the direction of the holding sheet member 103.
  • the drive ring 104 there is a sliding portion 104g on the opposite surface across the base portion 104b of the movable pin 104. Therefore, the load due to the knitting of the diaphragm blades is directly transmitted from the movable pin 104c to the sliding portion 104g. Therefore, the base 102b is hardly affected by the load caused by the knitting of the aperture blade 106. Therefore, a thin and weak material can be used for the base portion 102b.
  • the driving ring 104 and the holding sheet member 103 slide with the holding sheet member 103 at the sliding portion 104g of the driving ring 104.
  • FIG. 64 is a second example of a cross-sectional view and a perspective view of the periphery of the drive pin 104c of the drive ring 104.
  • the sliding portion 104g slides with the holding sheet member 103 the sliding portion 104g and the drive pin 104c are integrated, so if the central axes of the sliding portion 104g and the drive pin 104c coincide, Easy to tilt.
  • By shifting the central axis of the sliding portion 104g and the drive pin 104c it is possible to suppress the drive pin 104c from blurring and to perform more accurate control.
  • FIG. 67 is a third example of a cross-sectional view and a perspective view of the periphery of the drive pin 104c of the drive ring 104.
  • FIG. FIG. 68 is a cross-sectional view and a perspective view of the base 104b.
  • FIG. 68 is a perspective view of the drive pin 104c and the fixing portion 104j.
  • the drive pin 104c and the fixing portion 104j are formed on the base portion 104b by outsert molding.
  • the driving pin 104c and the fixing portion 104j are in a positional relationship with respect to the base portion 104b.
  • the drive pin 104c and the fixing portion 104j are connected through a hole 104i1 previously formed in the base portion 104b.
  • a recess 104i2 is formed in addition to the hole 104i1.
  • This shape is formed by making a hole 104i1 in a resin film (PET sheet material or the like) and then forming a recess in the resin film.
  • a resin film PET sheet material or the like
  • a resin escape area can be created and a concave shape can be made in the resin film.
  • the shape of the hole 104i1 or the recess 104i2 may be a round hole, but the rotation of the drive pin 104c can be prevented by making the shape of a polygon, an ellipse, a semicircle, or the like.
  • 104j is a shape formed when the base 104b is pressed during the outsert molding.
  • the fixing portion 104j of the drive pin 104c can be formed in the recess 104i2. Therefore, the drive ring 104 can embed the drive pin 104c on the opposite surface across the drive pin 104c and the base 104b without a convex shape. In addition, with this method, the drive pin 104c can be formed with a small diameter regardless of the thickness of the base 104b.
  • the drive pin 104c is attached to the drive ring 104
  • it may be attached by a method other than the above method.
  • the method for attaching the guide pin 103 d to the holding sheet member 103 may be the same as that for the drive ring 104.
  • the configuration of the first embodiment is a versatile configuration.
  • the lens barrel member to which the diaphragm unit is attached when changed, it can be attached to another lens barrel member simply by changing or replacing the shape of the fixing ring 102.
  • Reference numeral 102d provided on the fixing ring 102 is a shape attached to the lens barrel member.
  • the aperture unit of the first embodiment can be attached to another lens barrel member simply by changing the shape of the fixing ring 102. That is, the holding sheet member 103, the drive ring 104, the pinion gear 105, the aperture blade 106, and the cover member 107 can be used as they are.
  • the driving pin of the driving ring engages with the driving hole of the diaphragm blade on the outer peripheral side of the guide pin of the holding sheet member and rotates, and the guide pin of the holding sheet member rotates on the inner side of the driving pin of the driving ring.
  • the configuration of adjusting the aperture opening shape by engaging the cam groove of the aperture ring has been described.
  • the drive pin of the drive ring engages with the cam groove of the aperture blade and rotates inside the guide pin of the holding sheet member, and the holding sheet
  • the present invention can also be applied to a configuration in which the guide pin of the member is engaged with the engagement hole of the aperture blade outside the drive pin of the drive ring, and the aperture opening shape is adjusted.
  • FIG. 69 shows an exploded perspective view of a diaphragm device as a light amount adjusting device according to the second embodiment of the present invention.
  • the basic configuration is the same as that of the first embodiment, and the reference numerals are in the 200s.
  • the driving unit 201, the fixing ring 202, the holding sheet member 203, the driving ring 204, the pinion gear 205, the diaphragm blade 206, and the cover member 207 are configured.
  • the drive ring 204 has an engagement hole 204c
  • the diaphragm blade 206 has a drive pin 206c and a cam pin 206d
  • the cover member 207 has a cam groove 207d.
  • the drive unit 201 rotates, the pinion gear 205 rotates, the pinion gear 205 is applied with a force to the driven unit 204d of the drive ring 204, and the drive ring 204 rotates around the light passage opening. Since the drive pin 206c of the diaphragm blade 206 is engaged with the engagement hole 204c of the drive ring 204, the plurality of diaphragm blades 206 also move around the light passage opening at the same time as the drive ring 204 rotates around the light passage opening. Rotate. Since the cam pin 206d of the diaphragm blade 206 is engaged with the cam groove 207d of the cover member 207, the diaphragm blade 206 enters and exits the light passage opening according to the shape of the cam groove 207d.
  • FIG. 70 shows a sectional view of the second embodiment.
  • the holding sheet member 203, the drive ring 204, and the cover member 207 are formed from an ultra-thin sheet-like member as in the first embodiment.
  • the aperture device can be made thinner and lighter. Since the same effect as Embodiment 1 can be acquired, it is excellent also in impact resistance and silence.
  • the drive ring 204 of the second embodiment only needs to be provided with an engagement hole 204d with which the drive pin of the diaphragm blade 206 is engaged, the structure of the drive ring can be simplified.
  • the diaphragm blade 206 may be formed by forming a blade portion with an ultra-thin sheet-like member and outsert-molding the drive pin 206c and the cam pin 206d with a resin material.
  • a blade portion wing part, the drive pin 206c, and the cam pin 206d
  • the diaphragm blade 206 may be integrally formed with the blade portion, the drive pin 206c, and the cam pin 206d by resin molding.
  • FIG. 71 shows an exploded perspective view of a diaphragm device as a light amount adjusting device according to a thirty-second embodiment of the present invention.
  • the basic configuration is the same as that of the first embodiment, and the reference numbers 300 are used.
  • the driving unit 301, the fixing ring 302, the holding sheet member 303, the driving ring 304, the pinion gear 305, the diaphragm blade 306, and the cover member 307 are configured.
  • the holding sheet member 303 has a rotation center hole 303c
  • the drive ring 304 has a cam groove 304c
  • the aperture blade 306 has a guide pin 306c and a cam pin 306d.
  • FIG. 72 shows a sectional view of the third embodiment.
  • the holding sheet member 303, the drive ring 304, and the cover member 307 are formed from an ultra-thin sheet-like member as in the first embodiment.
  • the diaphragm device can be made thinner and lighter. Since the same effect as Embodiment 1 can be acquired, it is excellent also in impact resistance and silence.
  • the drive ring 3204 of the third embodiment only needs to be provided with a cam groove 304c with which the cam pin of the aperture blade 306 is engaged, the structure of the drive ring can be simplified. Further, providing the cam groove 304c can further reduce the weight of the drive ring, which is effective for high-speed operation.
  • the diaphragm blade 306 may be formed by forming a blade portion with an ultra-thin sheet-like member and outsert-molding the guide pin 306c and the cam pin 306d with a resin material.
  • a blade portion wing part, the guide pin 306c, and the cam pin 306d
  • the diaphragm blade 306 may be integrally formed with a blade portion, a guide pin 306c, and a cam pin 306d by resin molding.
  • FIG. 109 is an exploded perspective view of a blade driving device that is Embodiment 4 of the present invention, and FIGS. 110 and 111 are explanatory diagrams of its operation.
  • Reference numeral 400 indicates the center of the optical axis of the blade driving device.
  • Embodiment 4 is an embodiment having a shutter function.
  • the basic configuration is the same as that of the first embodiment, and corresponding configurations are given the same end numbers with reference numerals in the 400s.
  • Embodiment 4 differs from Embodiment 1 in the way in which the aperture blade 406 is assembled.
  • the diaphragm blades 406 are laminated in an annular shape.
  • the tip of the blade to be assembled last is placed under the first blade and is not knitted.
  • the aperture can be completely covered by the plurality of diaphragm blades 406 (FIG. 111).
  • this blade drive device can also be used as a shutter unit. Since the drive ring 404 that drives the aperture blade 406 is a sheet-like member, it is thin and can be used as a high-speed shutter unit.
  • the holding sheet member 103 is omitted, and the guide pin 103d is provided on the fixing ring 402, which contributes to the reduction in the number of parts and the reduction in thickness.
  • a blade that enters and exits the light passage path, a drive ring that drives the blade, a holding sheet member that rotatably holds the drive ring, a fixing member that fixes the holding sheet member, And a fixing ring that covers the outside of the driving range, wherein the driving ring and the holding sheet member are formed of an ultra-thin sheet-like member.
  • the drive ring and the holding sheet member are formed of an ultra-thin sheet, it is effective for thinning in the light passing direction.
  • the drive ring and the holding sheet member are formed from the ultra-thin sheet-like member having spring characteristics.
  • the driving ring and the holding sheet member are formed from the ultra-thin sheet-like member having a surface layer that is a slidability improving layer on at least one surface of the sheet base material. It is characterized by.
  • the slidability between the drive ring and other members can be improved.
  • the drive ring and the holding sheet member are formed from the ultrathin sheet-like member having a surface layer that is an antistatic layer on at least one surface of a sheet base material.
  • the surface layer is provided on both surfaces of the sheet base material, and each is provided with substantially the same thickness.
  • the flatness of the drive ring and the holding sheet member can be sufficiently secured.
  • the drive ring and the holding sheet member are formed from the ultra-thin sheet-like member having a thickness substantially equal to or less than the thickness of the blade.
  • the drive ring and the holding sheet member are formed by a very thin sheet-like member equal to or less than the blade, it is effective for further thinning.
  • the drive ring is held in a rotating posture by a plurality of support portions provided on the holding sheet member.
  • the holding sheet member includes a first holding sheet member disposed on one side of the drive ring and a second holding sheet disposed on the other side of the drive ring. And a drive space of the drive ring defined between the first holding sheet member and the second holding sheet member is regulated by the fixing ring.
  • the rotation of the drive ring is further stabilized.
  • an engagement protrusion that engages with a through hole provided in the drive ring is provided on the surface on the drive ring side of the blade, and the blade out of the blade
  • the surface on the first substrate side is provided with a cam groove engaging projection for engaging with a cam groove provided on the first substrate.
  • the structure of the drive ring can be simplified.
  • a cam groove engaging protrusion that engages with a cam groove provided in the driving ring, and the second substrate
  • the rotation center shaft inserted into the provided insertion portion is provided so as to protrude.
  • a plurality of engagement protrusions that engage with the engagement holes or the engagement cam grooves of the blades are formed on separate surfaces on the blade-side surface of the drive ring. It is provided.
  • the drive ring is provided with a plurality of engaging protrusions from different members as a portion where the drive ring and the blade engage with each other, so that the functionality (slidability, antistatic property, Lightness, springiness, etc.) and functionality (rigidity, etc.) at the engaging portion can be optimized.
  • the blade is constituted by a plurality of blade groups arranged in a ring around the opening provided through the holding member.
  • a drive transmission member that transmits a driving force of the drive ring is connected to an outer peripheral portion of the drive ring.
  • reliable drive transmission can be realized with a relatively simple configuration with respect to a drive ring made of an ultra-thin sheet-like member.
  • the drive transmission member is a pinion gear mounted on the rotation shaft of the drive motor, and the thickness of the drive ring is thinner than the height dimension of the pinion gear. It is characterized by.
  • the present embodiment is not limited to the blade driving device described above, but can be applied to a blade driving system in an imaging device such as a camera, and is also widely applied to imaging devices.
  • ⁇ Embodiment C> 73 and 74 show exploded perspective views of the light amount adjusting device in the present embodiment.
  • the 102 is a base member having an opening 102a formed in the center.
  • the base member 102 is provided with an engagement hole 102d, and the drive unit 101 is attached thereto.
  • Reference numeral 102b denotes a rail, and reference numeral 102e denotes a holding shape.
  • the drive unit 101 is an actuator such as a stepping motor or a galvanometer.
  • the drive unit 101 is provided with a rotation shaft 101a. When the pinion 104 is inserted by light press-fitting and the drive unit 101 is energized, the rotation shaft 101a and the pinion 104 rotate integrally.
  • the base member 102 is provided with a plurality of engagement protrusions 102 c arranged on the circumference around the opening 102 a and is fitted into the engagement holes 103 b of the drive ring 103.
  • the drive ring 103 has a gear portion 103 d and meshes with the teeth of the pinion 104.
  • the driving force of the driving unit 101 is transmitted to the gear unit 103d of the driving ring 103 through the pinion 104, and the driving ring 103 rotates around the center of the opening 102a.
  • Reference numeral 103f denotes a light shielding portion.
  • the drive ring 103 is provided with engagement hole portions 103b at positions at equal angular intervals on the circumference, and is engaged with the engagement pins 105c of the blades 105 so as to be rotatable.
  • FIG. 75 a state in which the blade 105 and the drive ring 103 are engaged is shown in a cutaway view.
  • the drive ring 103 is made of a thin blade member, and the blade 105 is made of a resin part.
  • the drive ring 103 is set in the mold of an injection molding machine, and injection molding is performed with the mold of the blade 105 by insert molding.
  • the resin passes through the engagement hole 103b of the drive ring 103 and fills and fills both sides of the drive ring 103 to form the engagement pin 105c and the tip protrusion shape 105d.
  • the blade 105 and the drive ring 103 are integrated, so that the blade 105 does not come off the drive ring 103.
  • the diameter of the engaging portion 105c is reduced due to molding contraction of the resin, so that an appropriate fitting backlash is provided between the drive ring 103 and the blades 105.
  • the flat portion 105e of the blade 105 and the clearance 105f of the tip protrusion shape 105d are expanded by molding shrinkage, and the drive ring 103 and the blade 105 are loose.
  • the drive ring 103 may be made of resin or metal.
  • a reference numeral 106 in FIGS. 73 and 74 denotes a cover member that covers the drive ring 103 and the blade 105, and an opening 106a is provided at the center.
  • the cover member 106 is provided with cam grooves 106b at equal positions on the circumference, and the engagement pins 105d of the blades 105 engage with the cam grooves 106b.
  • the driving force generated from the motor 101 is transmitted to the pinion 104 and the driving ring 103, and the plurality of blades 105 rotate around the opening 103 a of the driving ring 103. At this time, each of the blades 105 that are also engaged with the cam groove portion 106b of the cover 106 rotates around the engaging pin 105c and rotates along the shape of the cam groove portion 106b.
  • FIG. 76 shows a state in which the blade 105 is integrated with the drive ring 103 after being insert-molded.
  • the aforementioned engagement hole 103b and the engagement portion 105b are engaged.
  • the plurality of molded blades 105 are formed substantially uniformly in the circumferential direction.
  • FIG. 77 shows an assembled state in which the blade 105 is rotated to an appropriate position in order to incorporate the cover 106. At this time, the blades adjacent to the blade 105 are stacked on the engaging portion 105d side in the counterclockwise direction. During stacking, the blades 105 are fixed by the tip protrusion shape 105d and cannot be removed.
  • FIG. 78 shows a state in which the blade 105 and the drive ring 103 integrated as described above are incorporated in the base member 102 and the cover 106.
  • FIG. 79 to 81 show the open state of the blade 105.
  • FIG. 79 shows the opened state of the blade 5
  • FIG. 80 shows the intermediate stop state
  • FIG. 81 shows the small stop state.
  • a plurality of cam groove portions 106b are provided at substantially equal intervals and in the same shape, the opening shape surrounded by the ridge lines 105a of the plurality of rotating blades 105 is a substantially regular polygon.
  • the cam groove 106 is formed so that the opening area created by the ridge line 105 a of the blade 105 changes substantially evenly with respect to the rotation angle of the motor 101.
  • FIG. 73 shows a photo interrupter.
  • the photo interrupter 107 is held by the holding shape 102e of the base member 102 and the holding shape 106c of the cover 106.
  • the drive ring 103 rotated through the pinion 104 by the drive of the motor 101 rotates integrally with the light shielding portion 103f, and is inserted into the light passage portion of the photo interrupter 107 to be shielded from light.
  • an electric circuit not shown
  • the light amount adjusting device of the present embodiment is configured by a holding substrate having a light passage path, a drive ring rotatably engaged with the holding board, and a blade that enters and exits the light passage path and engages the holding substrate.
  • the blade is provided with an engaging portion that rotatably engages with the drive ring, and a tip protrusion that is opposed to the flat portion of the blade and is larger than the engaging portion at the tip of the engaging portion
  • a shape is provided
  • the drive ring is arranged so that the blade flat portion and the tip protrusion shape are sandwiched, and the blade and the drive ring are integrated.
  • the drive ring is formed of a blade material.
  • the tip protrusion shape is provided so as to sandwich the blade and the drive ring using the engaging portion provided on the blade, the blade does not come off from the drive ring.
  • the amount of engagement can be minimized and the device can be made thinner as compared with the means for increasing the amount of engagement between the blade engaging portion and the drive ring without the shape of the tip protrusion. Since it is not necessary to provide a separate member for preventing the removal or an engaging part for rotating the blade, the number of parts can be reduced. Since the engaging part is integrated with the blade, the number of steps for engaging the engaging portion of the blade with the engaging portion of the drive ring can be reduced. Since the engaging parts are integrated with the blades, it is possible to minimize the play caused by the engagement between the engaging portion and the drive ring, or between the engaging portion and the holding substrate, and the light amount adjustment device improves the adjustment accuracy of the light amount. Can be made.
  • FIG. 82 is an exploded perspective view of a diaphragm device as a light amount adjusting device which is an example of the blade driving device according to the first embodiment of the present invention.
  • reference numeral 102 denotes a holding substrate 102 having an opening formed in the center.
  • FIG. 83 is a perspective view of the holding substrate 102.
  • the holding substrate 102 includes a rail 102c that supports a partition member 105 described later, and a rail 102b that supports a drive ring 103 described later.
  • the holding substrate 102 is created by resin molding.
  • the drive unit 101 is attached to the holding substrate 102.
  • the drive unit 101 uses, for example, a stepping motor, a galvano motor, or the like.
  • a pinion 104 is attached to the rotation shaft 101 a of the drive unit 101.
  • FIG. 84 is a perspective view of the drive ring 103.
  • the drive ring 103 has a through hole that constitutes at least a part of the light passage path, and is formed from an annular member (endless ring-shaped member) surrounding the light passage path (light passage path). Rotate around the path.
  • a diaphragm blade 106 which will be described later, engages with the drive ring 103. That is, since the drive ring 103 is configured to be interlocked so that the diaphragm blade 106 enters and exits the light passage path as the drive ring 103 rotates, a member for driving the diaphragm blade 106 ( Power transmission member).
  • the drive ring 103 includes a base portion 103a, an inner engagement portion 103b, a drive hole 103c, and a driven portion 103d.
  • the base portion 103a By making the base portion 103a have a substantially uniform thickness, it is difficult to be affected by air resistance during rotation of the drive ring, so that the operating load can be reduced, and high-speed response and quietness can be improved.
  • the drive ring 103 is created by resin molding. Further, for example, it is created by pressing a resin film (PET sheet material or the like). When press working can be performed, the shape accuracy can be formed with higher accuracy than the shape accuracy of resin molding, so that the drawing accuracy can be high.
  • the drive ring 103 is manufactured by pressing a sheet, the radially inner inner edge portion (the inner edge portion of the through hole) and the radially outer outer edge portion of the drive ring 103 extend over the outer periphery.
  • An R-shaped portion is provided. Since the R-shaped portion is tapered such that the thickness thereof becomes substantially thinner as the edge portion, the edge portion defines the shape of the opening of the drive ring 103.
  • the drive ring 103 is incorporated in the diaphragm device so that the R-shaped portion faces the blade side. Thereby, since the sliding part with an aperture blade, especially the sliding part in the inner peripheral part of the inner edge part side of the drive ring 103 substantially decreases, the mobility of the blade is improved.
  • Such an R-shaped portion may be provided only at the inner edge portion of the drive ring 103 or may be provided only at the outer edge portion.
  • the thickness of the resin film As the thickness of the resin film, a material having a thickness of 0.03 mm to 0.30 mm can be used.
  • the base 103a By making the base 103a as thin as possible, the inertia during rotation can be reduced, and the diaphragm device can be operated at high speed.
  • the drive ring 103 is optimally supported in both the thrust direction and the radial direction by the holding substrate 102 and the opening forming member 107, so that deformation of the drive ring 103 is minimized even if the base portion 103a is thinned.
  • the base 103a of the drive ring 103 may be made of a material that has been surface-treated on one or both sides.
  • the surface treatment include sliding coating, antistatic treatment, and antireflection treatment.
  • sliding coating friction between the driving ring 103 and the holding substrate 102 which is a sliding component, and a partition member 105 described later can be reduced, and operation with low power consumption becomes possible.
  • antireflection treatment it is possible to suppress the reflection of light entering the light amount adjusting device and prevent the occurrence of ghost, flare, etc. when the light amount adjusting device is incorporated in the lens barrel. it can.
  • the inner engagement portion 103 b of the drive ring 103 engages with the engagement portion 102 a of the holding substrate 102.
  • the engaging portion 102a of the holding substrate 102 may have a circular shape serving as a rotation center.
  • the engaging portion 102 a is composed of a plurality of convex portions and engages with the inner engaging portion 103 b of the drive ring 103.
  • the driving ring 103 and the holding substrate 102 are engaged with each other so that the driving ring 103 is outside and the holding substrate 102 is inside. With this relationship, since the inner engagement portion 103b of the drive ring 103 is supported by the engagement portion 102a of the holding substrate 102, the drive ring 103 can suppress deformation in the circumferential direction. Therefore, even if the base portion 103a of the drive ring 103 is thin, it can operate without being deformed.
  • the frictional resistance can be reduced and smooth. Operation and low power operation.
  • the drive ring 103 has a gear portion which is a driven portion 103d.
  • the driven portion 103 d is engaged with the pinion 104.
  • the rotational force generated in the drive unit 101 is transmitted from the pinion 104 to the driven unit 103d, and the drive ring 103 rotates.
  • the gear 103d is thin and the meshing area of the gear is small, so that the meshing sound between the gears is small.
  • the mass difference between the pinion 104 and the drive ring 103 is large, even if the pinion 104 has a backlash in the gear portion 103d, the gear meshing sound, the reversing sound, etc. are reduced.
  • FIG. 85 is a perspective view of the partition member 105.
  • FIG. The partition member 105 has an opening at the center.
  • the partition member 105 is supported in a radial direction by engaging an engagement portion 107c of an opening forming member 107 described later with an engagement hole 105a of the partition member 105, and a plurality of protrusions 107a of the opening forming member 107 described later and
  • the support substrate 102 is supported by being sandwiched in the thrust direction by rails 102c serving as a plurality of support portions. Since the partition member 105 can press the cam pins 106b of the blades 106, the cam pins 106b can be prevented from dropping from the cams 107b of the opening forming member 107.
  • the partition member 105 is created by resin molding. Further, for example, it is created by pressing a resin film (PET sheet material or the like).
  • 103e is a light shielding part. By entering and exiting the slit of the photo interrupter 107, it functions as a sensor. Used for initialization of the light quantity control device.
  • FIG. 86 is a perspective view of the aperture blade 106.
  • a drive pin 106a and a cam pin 106b are attached to the blade portion 106c.
  • the diaphragm blade 106 is formed integrally with the blade portion 106c, the drive pin 106a, and the cam pin 106b by resin molding.
  • the blade portion 106c may be formed by a light-shielded sheet member, and the drive pin 106a and the cam pin 106b may be formed by resin molding and integrated with the blade portion 106c by adhesion, welding, outsert molding, or the like.
  • the drive pin 106a and the cam pin 106b may be formed of a metal pin and integrated with the blade portion 106c by adhesion, welding, caulking, or the like.
  • FIG. 87 shows the opening forming member 107.
  • the opening forming member 107 includes a plurality of protrusions serving as support portions that support the partition member 105, and a plurality of cams (cam grooves) 107b.
  • the drive ring 103 drives in the space formed by the holding substrate 102 and the partition member 105, and the diaphragm blade 106 drives in the space formed by the partition member 105 and the opening forming member 107.
  • the drive pin 106 a that is the rotation center axis of the diaphragm blade 106 engages with the drive hole 103 c of the drive ring 103.
  • the pinion 104 rotates, a force is applied to the driven part 103d of the drive ring 103, and the drive ring 103 rotates.
  • a driving force is applied to the drive pin 106a of the diaphragm blade 106 from the engagement hole 103c of the drive ring 103, and the diaphragm blade 106 is driven.
  • a cam pin 106 b of the diaphragm blade 106 is engaged with a cam 107 b formed on the opening forming member 107.
  • the diaphragm blade 106a moves in and out of the opening of the holding substrate 102 by the cam 107b.
  • the aperture shape can be adjusted by the plurality of aperture blades 107a.
  • the base portion 103a of the drive ring 103 has a substantially uniform thickness and does not have useless irregularities or holes, so that it is possible to prevent malfunctions such as the diaphragm blade 106 being caught with the drive ring 103 during the opening / closing operation.
  • FIG. 88 is a cross-sectional view of the light amount adjusting device of the first embodiment.
  • FIG. 89 is an exploded view seen from the opening forming member 107 side.
  • the drive ring 103 is rotatably supported by a rail 102 b formed on the holding substrate 102. Since the driving ring 103 is supported by the rail 102b of the holding substrate, the driving ring 103 and the holding substrate 102 are not in close contact with each other, so that sticking of the driving ring due to charging or the like can be prevented.
  • the drive ring 103 is loaded on the engagement hole 103c engaged with the aperture blade 106.
  • the aperture blades are knitted, so that a large load is applied to the engagement hole 103c serving as a support portion of the aperture blade 106. Therefore, the drive ring 103 tends to deform in the direction of the holding substrate 102.
  • the rail 102 d formed on the holding substrate 102 supports the vicinity of the drive hole 103 c of the drive ring 103.
  • the rail 102d supports the inner side in the radial direction of the drive hole 103c.
  • the rail 102b supports the radially outer side of the drive hole 103c.
  • the holding substrate 102 is provided with rails 102b and 102d that abut on the periphery of a drive hole (engagement portion) 103c with which the diaphragm blade 106 engages in the drive ring 103.
  • the rails 102b and 102d are connected to each other on the circumference, but the same effect can be obtained by supporting the drive ring 103 with a plurality of hemispherical convex portions or the like.
  • the rail 102e is a rail that supports the periphery of the driven portion 103d of the drive ring 103.
  • the pinion 104 and the driven portion 103d of the drive ring 103 transmit force by gear engagement.
  • the driving ring 103 can be prevented from being deformed even if the base portion 103a is thin or a force is applied to the driven portion 103d.
  • the rail 102e is an arc rail, the same effect can be obtained by supporting the drive ring 103 with a plurality of hemispherical convex portions or the like.
  • the rails 102b, 102c, 102d, and 102e may be appropriately reduced. Further, when the strength of the drive ring 103 is extremely weak, a rail may be added.
  • the support of the diaphragm blade 106 for the drive ring 103 will be described.
  • the plurality of aperture blades 106 are uniformly arranged in the circumferential direction.
  • the size of the light passage opening can be varied by interlocking the plurality of diaphragm blades 106 by the rotation of the drive ring 103.
  • the partition member is supported by rails 107b1 formed on the opening forming member 107, and the drive ring 103 is supported on the holding substrate side of the partition member. Since the drive ring 103 is supported by the partition member 105 in the thrust direction within the movable range of the diaphragm blade 106, the outer shape of the drive ring 103 can be made smaller than the movable range of the diaphragm blade 106. Thus, the outer shape of the drive ring 103 can be made smaller than the movable range of the diaphragm blade 106, which is advantageous for high-speed driving.
  • the plurality of rails 107b1 have a circumferential shape, but the drive ring 103 may be supported by a plurality of hemispherical convex portions.
  • the drive ring 103 is supported in the thrust direction by rails 102 b formed on the holding substrate 102.
  • the drive ring 103 is appropriately supported within the movable range of the blades by the holding substrate 102, the opening forming member 107, the partition member 105, and the diaphragm blade 106, so that the drive ring 103 is deformed even if it is constituted by the thin base portion 103a. Therefore, it is possible to operate at high speed and silently.
  • FIG. 91 shows an exploded perspective view of a diaphragm device as a light amount adjusting device according to the second embodiment of the present invention.
  • FIG. 92 is a perspective view of the holding substrate. The numbers shown in the figure are shown in the 100s in the first embodiment, but are shown in the 200s in the present embodiment.
  • the aperture device of the present embodiment is provided with a plurality of cam grooves 207a corresponding to the aperture blades 206 on the opening forming member 207, and each aperture blade 206 has an engagement pin 206b that engages with the cam grooves 207a, A driving pin 206 a that engages with an engaging portion 203 a provided in the driving ring 203 is provided.
  • the driving pin 206 a passes through the driving ring 203, and the driving ring 203 is sandwiched between the opening forming member 207 and the aperture blade 206. In this state, the drive pin 206a is in sliding contact with the inner diameter portion 202a of the holding substrate 202, whereby the radial position of the drive ring 203 and the diaphragm blade 206 is defined.
  • the driving ring 203 receives a driving force from the driving unit fixed to the holding substrate 202 and rotates around the opening, whereby the diaphragm blade 206 enters and exits the opening to adjust the aperture diameter.
  • the drive pin 206a of the rotating diaphragm blade 206 and the inscribed circle 202a of the holding substrate 202 are radially fitted, but the drive pin 206a of the rotating diaphragm blade 206 and the inner diameter of the partition member 205 are fitted.
  • the position of the drive ring 203 can also be defined between the part 205a.
  • the drive pin 206a of the diaphragm blade 206 needs to be long in order to prevent the drive ring 203 from coming off.
  • the drive pin 206a of the diaphragm blade 206 is driven by sliding contact with the inner diameter portion 202a of the holding substrate 202. Since the ring 203 does not easily come off from the driving pin 206a of the diaphragm blade, stable driving is possible, and the length of the driving pin 206a can be minimized, which is effective in reducing the thickness of the unit.
  • the drive ring 203 is made by resin molding. Further, for example, it is created by pressing a resin film (PET sheet material or the like).
  • FIG. 93 is a cross-sectional view of the light amount adjusting device of the second embodiment. Since the ground planes of the drive ring 203 and the holding substrate 202 can be reduced, sticking of the drive ring 203 due to charging or the like can be prevented.
  • the driving pin 206a of the diaphragm blade 206 and the inner diameter portion 202a of the holding substrate 202 are fitted to increase the blade traveling space formed by the partition member 205 and the opening forming member 207. This eliminates the need to suppress characteristic changes due to posture differences.
  • FIG. 94 is an exploded perspective view of a diaphragm device as a light amount adjusting device according to the third embodiment of the present invention.
  • the structure in which the inner engagement hole 303b of the drive ring 303 is engaged with the circumscribed circle formed by the plurality of engagement portions 302a of the holding substrate 302, and the drive ring 303 is radially restricted is described.
  • the outer engagement portion 303b of the drive ring 303 is engaged with an inscribed circle formed by the plurality of engagement pins 305a of the partition member 305, and the drive ring 303 is radially regulated.
  • Other configurations are basically the same as those of the first embodiment.
  • the numbers shown in the figure are shown in the 100s in the first embodiment, but are shown in the 300s in the present embodiment.
  • FIG. 95 and 96 show the partition member 305.
  • FIG. The drive ring 303 slides in a rotatable state by engaging a plurality of engagement pins 305 a provided on the partition member 305 with the outer engagement portion 303 a of the drive ring 303.
  • the outer engagement portion 303a of the drive ring 303 is engaged with an inscribed circle (305a) including eight engagement pins of the partition member 305.
  • 305a inscribed circle including eight engagement pins of the partition member 305.
  • Any number is acceptable.
  • the drive ring 303 is made by resin molding. Further, for example, it is created by pressing a resin film (PET sheet material or the like).
  • FIG. 97 is a front view seen from the holding substrate side after the holding substrate 302 is removed.
  • the drive ring 303 is in sliding contact with the inscribed circle formed by the plurality of engaging pins 305 a of the partition member 305 so that the outer engaging portion 303 a can rotate. Note that the same effect can be obtained even when sliding in a rotatable state by a circumscribed circle formed by the inner engagement portion of the drive ring 303 and the plurality of pins 305a of the partition member 305.
  • the drive ring 303 can be simplified by radially regulating the drive ring 303 with the outer shape or the inner diameter.
  • FIG. 98 is an exploded perspective view of a diaphragm device as a light amount adjusting device according to the fourth embodiment of the present invention.
  • the numbers shown in the figure are shown in the 100s in the first embodiment, but are shown in the 400s in the present embodiment.
  • the diaphragm device of this embodiment is provided with a plurality of cam grooves 407a corresponding to the respective blades 406 on the opening forming member 407, and the blades 406 have drive pins 406a engaged with the cam grooves 407a, and A drive pin 406b that engages with an engagement hole 403b provided in the drive ring 403 is provided, and the outer wall 403a of the drive ring and the protrusion 402a of the holding substrate 402 are radially fitted.
  • the member that engages with the outer wall 402 a of the drive ring 403 may be the opening forming member 402.
  • the base 403c of the drive ring 403 is created by, for example, pressing a resin film (PET sheet material or the like).
  • a resin film PET sheet material or the like.
  • the outer wall 403a of the drive ring is formed on the base 403c by outsert molding.
  • the drive ring 403 can be formed by resin molding.
  • FIG. 100 is a cross-sectional view of the light amount adjusting device of the fourth embodiment.
  • the drive ring 403 is radially fitted by slidingly contacting an outer wall 403a provided on the drive ring with a protrusion 402a of the holding substrate 402 in a rotatable state.
  • FIG. 101 is an exploded perspective view of a diaphragm device as a light amount adjusting device according to the fifth embodiment of the present invention.
  • the numbers shown in the figure are shown in the 100s in the first embodiment, but in the 500s in the present embodiment.
  • the diaphragm device of the present embodiment is provided with protrusions 507a at a plurality of circumferential positions (six positions in this embodiment) on the diaphragm blade side with respect to the opening forming member 507, and the drive ring 503.
  • the outer engaging portion 503a and the projection 507a of the opening forming member are engaged with each other.
  • the drive ring 503 is sandwiched between the opening forming member 507 and the partition member 505, so that the drive ring is rotatably supported in the thrust direction.
  • the protrusion 507a of the opening forming member and the outer engagement portion 503a of the drive ring are engaged in a radial fit.
  • the structure is such that the outer engagement portion 503a of the drive ring and the projection 507a of the opening forming member are engaged with each other in a radial manner.
  • FIGS. The same effect can be obtained even when the fitting portion and the engagement pin of the opening forming member are engaged to make a radial fit.
  • FIG. 105 is an exploded perspective view of a diaphragm device as a light amount adjusting device according to the seventh embodiment of the present invention.
  • the numbers shown in the figure are shown in the 100s in the first embodiment, but are shown in the 600s in the present embodiment.
  • the diaphragm device of this embodiment is provided with a plurality of engagement pins 602a corresponding to the respective diaphragm blades on the holding substrate 602, and further a protrusion that engages with the outer engagement part 603a of the drive ring 603. 602b is provided.
  • the diaphragm blade 606 is provided with a cam groove 606a that engages with a drive pin 603b provided on the drive ring 603.
  • the outer engagement portion 603a of the drive ring is a protrusion of the holding substrate. It is a structure which carries out radial fitting by engaging with the inscribed circle of 602a.
  • FIG. 107 is an exploded perspective view of a diaphragm device as a light amount adjusting device according to the seventh embodiment of the present invention.
  • the numbers shown in the figure are shown in the 100s in the first embodiment, but are shown in the 700s in the present embodiment.
  • the diaphragm device of this embodiment is provided with a plurality of engagement pins 702a corresponding to the diaphragm blades on the holding substrate 702, and further engaged with the inner engagement portion 703a of the drive ring 703.
  • a mating pin 702b is provided.
  • the diaphragm blade 706 is provided with a cam groove 706a that engages with a drive pin 703b provided on the drive ring 703.
  • the inner engagement portion 703a of the drive ring engages with the holding substrate.
  • the pin 702a engages with a circumscribed circle so as to be radially fitted.
  • the blade driving device of the present embodiment is a blade driving device that adjusts the size of an opening through which light passes by a plurality of blade members, and includes a first opening forming member and a second opening forming member that form the opening.
  • the drive ring is sandwiched and rotated at a position overlapping in the optical axis direction within the movable range of the diaphragm blades.
  • the outer shape of the drive ring can be made smaller than the movable range of the blades, and high speed driving can be achieved. Effective.
  • the drive ring is formed of the ultra-thin sheet-like member having spring characteristics.
  • the drive ring is formed of the ultrathin sheet-like member having a surface layer that is a slidability improving layer on at least one surface of a sheet base material.
  • the slidability between the drive ring and other members can be improved.
  • the drive ring is formed of the ultra-thin sheet-like member having a surface layer that is an antistatic layer on at least one surface of a sheet base material.
  • the surface layer is provided on both surfaces of the sheet base material, and each is provided with substantially the same thickness.
  • the flatness of the drive ring can be sufficiently secured.
  • the drive ring is formed from the ultra-thin sheet-like member having a thickness equal to or less than half the thickness of the holding substrate.
  • the drive ring is formed by a sheet-like member that is extremely thinner than the holding substrate, it is effective for further thinning.
  • the drive ring is formed from the ultra-thin sheet-like member that is thinner than the holding substrate and thicker than the blade.
  • the drive ring is formed by the sheet-like member that is thinner than the holding substrate and thicker than the blade, it is effective for further thinning.
  • the drive ring is formed from the ultra-thin sheet-like member having a thickness substantially equal to or less than the thickness of the blade.
  • the drive ring is formed by an extremely thin sheet-like member equal to or less than the blade, it is effective for further thinning.
  • the drive ring is defined between a holding substrate arranged on one side of the drive ring and a partition member arranged on the other side of the drive ring.
  • the rotating posture is maintained in a state where it can be driven in the driving space.
  • the drive ring since the drive ring is substantially sandwiched and supported between the opposing holding substrate and the partition member, it is effective for stabilizing the rotational posture of the drive ring.
  • the blade is disposed between the partition member and the opening forming member, and the partition ring and the opening are driven by the drive ring being driven in the drive space. It travels only in the space between the forming members.
  • the fixed blade traveling space can be secured by the partition member, it is possible to regulate the play of the blade in the light passing direction.
  • the opening forming member is provided with a first contact portion that contacts a portion other than the traveling region where the blade travels on one side of the partition member.
  • the holding substrate is provided with a second abutting portion that abuts against the partition member, and further includes a third abutting portion that abuts around the engaging portion with which the blade of the drive ring engages. Is provided.
  • the partition member is held between the first contact portion and the second contact portion, and the drive ring is held in a rotating posture between the partition member and the third contact portion. It is characterized by that.
  • the rotational posture of the drive ring can be stably held by partial contact by the abutting portions provided on the partition member and the holding substrate without restricting the travel of the blades. .
  • the holding substrate is provided with an opening that forms part of the light passage path, and is provided on the drive ring at the periphery of the opening. And a restricting portion for restricting the movement of the drive ring in a direction perpendicular to the optical axis direction by contacting the inner peripheral surface of the through hole serving as the light passage path.
  • the position of the drive ring in the surface direction (direction perpendicular to the optical axis direction) with respect to the light passage path can be defined by the regulating portion of the holding substrate.
  • an engagement protrusion that engages with a through hole provided in the drive ring is provided on the surface on the drive ring side of the blade, and the blade out of the blade
  • the surface on the opening forming member side is provided with a cam groove engaging protrusion that engages with a cam groove provided on the opening forming member.
  • the structure of the drive ring can be simplified.
  • a cam groove engaging protrusion that engages with a cam groove provided in the driving ring, and the opening forming member
  • the rotation center shaft inserted into the provided insertion portion is provided so as to protrude.
  • the blade is constituted by a plurality of blade groups arranged in a ring around the opening provided through the holding member.
  • a drive transmission member that transmits a driving force of the drive ring is connected to an outer peripheral portion of the drive ring.
  • reliable drive transmission can be realized with a relatively simple configuration with respect to a drive ring made of an ultra-thin sheet-like member.
  • the drive transmission member is a pinion gear mounted on the rotation shaft of the drive motor, and the thickness of the drive ring is thinner than the height dimension of the pinion gear. It is characterized by.
  • the drive ring has a through hole that forms at least a part of the light passage path, and a peripheral edge portion of the through hole on the side where the blade is engaged is It is characterized by being an R-shaped part. According to this embodiment, since the sliding part with a blade
  • the present embodiment is not limited to the blade driving device described above, but can be applied to a blade driving system in an imaging device such as a camera, and is also widely applied to imaging devices.
  • FIG. 112 is an explanatory diagram of the imaging apparatus according to the embodiment of the present invention.
  • the image pickup apparatus shown in FIG. 1 is a digital camera, for example, and includes an optical system 1 and an image sensor 2.
  • the optical system 1 includes a lens and a light amount adjusting device 3.
  • the light amount adjusting device 3 is the light amount adjusting device described in the embodiments A to D, the blade driving device, or the aperture device.
  • the light that has passed through the optical system 1 is imaged by the image sensor 2 and an electronic image is obtained.
  • the light quantity adjusting device 1 includes a base plate 11, opening / closing parts 13 ⁇ / b> A and 13 ⁇ / b> B, a lid part 12, and a driving part 14.

Landscapes

  • Physics & Mathematics (AREA)
  • General Physics & Mathematics (AREA)
  • Diaphragms For Cameras (AREA)
  • Shutters For Cameras (AREA)
PCT/JP2016/067393 2015-06-12 2016-06-10 羽根駆動装置及び撮像装置 Ceased WO2016199899A1 (ja)

Priority Applications (3)

Application Number Priority Date Filing Date Title
DE112016002635.8T DE112016002635T5 (de) 2015-06-12 2016-06-10 Lamellenantriebsgerät und bilderfassungsgerät
US15/819,135 US10209605B2 (en) 2015-06-12 2017-11-21 Blade driving device and image capturing device
US16/241,096 US10649309B2 (en) 2015-06-12 2019-01-07 Blade driving device and image capturing device

Applications Claiming Priority (2)

Application Number Priority Date Filing Date Title
JP2015-118960 2015-06-12
JP2015118960 2015-06-12

Related Child Applications (1)

Application Number Title Priority Date Filing Date
US15/819,135 Continuation US10209605B2 (en) 2015-06-12 2017-11-21 Blade driving device and image capturing device

Publications (1)

Publication Number Publication Date
WO2016199899A1 true WO2016199899A1 (ja) 2016-12-15

Family

ID=57503260

Family Applications (1)

Application Number Title Priority Date Filing Date
PCT/JP2016/067393 Ceased WO2016199899A1 (ja) 2015-06-12 2016-06-10 羽根駆動装置及び撮像装置

Country Status (4)

Country Link
US (2) US10209605B2 (enExample)
JP (2) JP6783559B2 (enExample)
DE (1) DE112016002635T5 (enExample)
WO (1) WO2016199899A1 (enExample)

Cited By (2)

* Cited by examiner, † Cited by third party
Publication number Priority date Publication date Assignee Title
JP2020181090A (ja) * 2019-04-25 2020-11-05 キヤノン電子株式会社 羽根駆動装置
US20220120998A1 (en) * 2020-10-15 2022-04-21 Tdk Taiwan Corp. Optical system

Families Citing this family (15)

* Cited by examiner, † Cited by third party
Publication number Priority date Publication date Assignee Title
DE112016002635T5 (de) 2015-06-12 2018-03-01 Canon Denshi Kabushiki Kaisha Lamellenantriebsgerät und bilderfassungsgerät
DE202015009206U1 (de) * 2015-07-23 2016-11-21 Vantage Film Gmbh Ellipsenartige Blende für ein Kameraobjektiv bzw. für eine Foto- oder Filmkamera
USD881973S1 (en) * 2015-07-24 2020-04-21 Canon Denshi Kabushiki Kaisha Interchangeable lens for camera
JP6982986B2 (ja) * 2017-06-02 2021-12-17 キヤノン電子株式会社 羽根駆動装置及び撮像装置
JP7329749B2 (ja) * 2017-12-13 2023-08-21 パナソニックIpマネジメント株式会社 遮光ユニットおよびこれを備えたレンズ鏡筒、可動羽根の製造方法
JP6999477B2 (ja) * 2018-03-30 2022-01-18 キヤノン電子株式会社 光量調節装置
JP7702667B2 (ja) * 2019-07-10 2025-07-04 パナソニックIpマネジメント株式会社 ターボファン
CN112849276B (zh) * 2019-11-28 2022-04-19 长城汽车股份有限公司 盖体结构
CN111352286B (zh) * 2020-02-14 2021-05-04 梁燕玲 转接装置
CN115877633A (zh) * 2021-09-27 2023-03-31 宁波舜宇光电信息有限公司 一种可变光圈组件、摄像模组及电子设备
TWI814457B (zh) * 2022-05-26 2023-09-01 大立光電股份有限公司 通光孔模組、相機模組與電子裝置
US20240094604A1 (en) * 2022-09-16 2024-03-21 Panasonic Intellectual Property Management Co., Ltd. Light shielding unit and lens barrel equipped with the same
EP4425040A4 (en) * 2022-09-30 2025-04-30 Guangzhou Haoyang Electronic Co., Ltd. Small-sized aperture module and stage lamp having same
JP2024152343A (ja) * 2023-04-14 2024-10-25 キヤノン株式会社 レンズ鏡筒ユニット
CN119291975B (zh) * 2024-11-11 2025-12-02 佛山柏瑞光电技术有限公司 一种光圈模组、镜头装置及摄影设备

Citations (4)

* Cited by examiner, † Cited by third party
Publication number Priority date Publication date Assignee Title
JP2000301607A (ja) * 1999-04-21 2000-10-31 Nidec Copal Corp 遮光羽根及びその製造方法
JP2005037828A (ja) * 2003-07-18 2005-02-10 Nidec Copal Corp カメラ用絞り装置
JP2005338710A (ja) * 2004-05-31 2005-12-08 Nisca Corp 光量調整装置及びこれを用いたプロジェクタ装置
JP2008164726A (ja) * 2006-12-27 2008-07-17 Seiko Precision Inc カメラ用羽根駆動装置

Family Cites Families (13)

* Cited by examiner, † Cited by third party
Publication number Priority date Publication date Assignee Title
US5365298A (en) * 1993-04-05 1994-11-15 Eastman Kodak Company Camera shutter with oscillation damping
JP3391912B2 (ja) * 1994-11-11 2003-03-31 キヤノン株式会社 シャッター装置
JP3733177B2 (ja) * 1996-07-02 2006-01-11 キヤノン株式会社 回転駆動装置及び該回転駆動装置を備えた光学機器
US7210795B2 (en) 2004-05-31 2007-05-01 Nisca Corporation Light quantity adjusting device and projector apparatus using the same
JP2006053409A (ja) * 2004-08-13 2006-02-23 Nisca Corp 光量調整装置及びこれを用いた撮像装置
US8503104B2 (en) * 2010-09-10 2013-08-06 Canon Kabushiki Kaisha Motor having small size and high output, and light amount adjustment device equipped with the motor
JP5604246B2 (ja) 2010-09-28 2014-10-08 日本電産コパル株式会社 カメラ用羽根駆動装置
JP5847438B2 (ja) 2011-05-27 2016-01-20 キヤノン株式会社 光量調節装置
JP2013097103A (ja) 2011-10-31 2013-05-20 Nidec Copal Corp カメラ用羽根駆動装置
JP6172955B2 (ja) * 2013-01-30 2017-08-02 キヤノン株式会社 光量調整装置、レンズ鏡筒および撮像装置
JP6494016B2 (ja) * 2014-11-18 2019-04-03 セイコープレシジョン株式会社 絞り装置および光学機器
JP6494015B2 (ja) * 2014-11-18 2019-04-03 セイコープレシジョン株式会社 絞り装置および光学機器
DE112016002635T5 (de) * 2015-06-12 2018-03-01 Canon Denshi Kabushiki Kaisha Lamellenantriebsgerät und bilderfassungsgerät

Patent Citations (4)

* Cited by examiner, † Cited by third party
Publication number Priority date Publication date Assignee Title
JP2000301607A (ja) * 1999-04-21 2000-10-31 Nidec Copal Corp 遮光羽根及びその製造方法
JP2005037828A (ja) * 2003-07-18 2005-02-10 Nidec Copal Corp カメラ用絞り装置
JP2005338710A (ja) * 2004-05-31 2005-12-08 Nisca Corp 光量調整装置及びこれを用いたプロジェクタ装置
JP2008164726A (ja) * 2006-12-27 2008-07-17 Seiko Precision Inc カメラ用羽根駆動装置

Cited By (3)

* Cited by examiner, † Cited by third party
Publication number Priority date Publication date Assignee Title
JP2020181090A (ja) * 2019-04-25 2020-11-05 キヤノン電子株式会社 羽根駆動装置
JP7390801B2 (ja) 2019-04-25 2023-12-04 キヤノン電子株式会社 羽根駆動装置
US20220120998A1 (en) * 2020-10-15 2022-04-21 Tdk Taiwan Corp. Optical system

Also Published As

Publication number Publication date
US10209605B2 (en) 2019-02-19
JP2017003993A (ja) 2017-01-05
DE112016002635T5 (de) 2018-03-01
US20180074387A1 (en) 2018-03-15
US20190137845A1 (en) 2019-05-09
JP7005723B2 (ja) 2022-01-24
US10649309B2 (en) 2020-05-12
JP6783559B2 (ja) 2020-11-11
JP2021012391A (ja) 2021-02-04

Similar Documents

Publication Publication Date Title
JP7005723B2 (ja) 羽根駆動装置及び撮像装置
US7832950B2 (en) Iris diaphragm mechanism
JP5330107B2 (ja) 絞り装置
US8934162B2 (en) Diaphragm device
JP6722039B2 (ja) 羽根駆動装置及び撮像装置
TW201303481A (zh) 光圈裝置
JP5473366B2 (ja) 光量調節装置及び撮像装置
JP2016122057A (ja) 羽根駆動装置及び撮像装置
JP6345026B2 (ja) 絞り装置及びそれを有するレンズ装置及び撮像装置
WO2010041501A1 (ja) 駆動機構、羽根駆動装置及び光学機器
JP6982986B2 (ja) 羽根駆動装置及び撮像装置
JP7390801B2 (ja) 羽根駆動装置
JP6580819B2 (ja) 羽根駆動装置及び撮像装置
US8491206B2 (en) Light amount adjustment device capable of adjusting amount of light at high speed and with accuracy
JP2019012187A (ja) 光量調整装置
JP2013156530A (ja) レンズバリア装置、このレンズバリア装置を備えるレンズ鏡筒、および撮像装置
JP5921081B2 (ja) 光量調整装置及びこれを備えた撮像装置
JP2021056397A (ja) 羽根駆動装置
JP5764302B2 (ja) 光制御装置及び光学機器
JP2020197689A (ja) 羽根駆動装置
JP2019179168A (ja) 光量調節装置
JP2007163827A (ja) 光路開閉装置及び撮像装置
JP2018163246A (ja) 羽根駆動装置及び撮像装置
JP2013020165A (ja) 光量調整装置及びこれを備えた光学機器
JP2014228559A (ja) 光量調節装置および撮像装置

Legal Events

Date Code Title Description
121 Ep: the epo has been informed by wipo that ep was designated in this application

Ref document number: 16807604

Country of ref document: EP

Kind code of ref document: A1

WWE Wipo information: entry into national phase

Ref document number: 112016002635

Country of ref document: DE

122 Ep: pct application non-entry in european phase

Ref document number: 16807604

Country of ref document: EP

Kind code of ref document: A1