WO2016167351A1 - 熱転写シート、熱転写受像シート、印画物の形成方法、及び印画物 - Google Patents

熱転写シート、熱転写受像シート、印画物の形成方法、及び印画物 Download PDF

Info

Publication number
WO2016167351A1
WO2016167351A1 PCT/JP2016/062125 JP2016062125W WO2016167351A1 WO 2016167351 A1 WO2016167351 A1 WO 2016167351A1 JP 2016062125 W JP2016062125 W JP 2016062125W WO 2016167351 A1 WO2016167351 A1 WO 2016167351A1
Authority
WO
WIPO (PCT)
Prior art keywords
layer
thermal transfer
dye
receiving
sheet
Prior art date
Legal status (The legal status is an assumption and is not a legal conclusion. Google has not performed a legal analysis and makes no representation as to the accuracy of the status listed.)
Ceased
Application number
PCT/JP2016/062125
Other languages
English (en)
French (fr)
Japanese (ja)
Inventor
泰史 米山
山下 裕之
Current Assignee (The listed assignees may be inaccurate. Google has not performed a legal analysis and makes no representation or warranty as to the accuracy of the list.)
Dai Nippon Printing Co Ltd
Original Assignee
Dai Nippon Printing Co Ltd
Priority date (The priority date is an assumption and is not a legal conclusion. Google has not performed a legal analysis and makes no representation as to the accuracy of the date listed.)
Filing date
Publication date
Application filed by Dai Nippon Printing Co Ltd filed Critical Dai Nippon Printing Co Ltd
Priority to US15/566,292 priority Critical patent/US10286709B2/en
Priority to EP16780142.2A priority patent/EP3284608B1/en
Publication of WO2016167351A1 publication Critical patent/WO2016167351A1/ja
Anticipated expiration legal-status Critical
Ceased legal-status Critical Current

Links

Images

Classifications

    • BPERFORMING OPERATIONS; TRANSPORTING
    • B41PRINTING; LINING MACHINES; TYPEWRITERS; STAMPS
    • B41MPRINTING, DUPLICATING, MARKING, OR COPYING PROCESSES; COLOUR PRINTING
    • B41M5/00Duplicating or marking methods; Sheet materials for use therein
    • B41M5/26Thermography ; Marking by high energetic means, e.g. laser otherwise than by burning, and characterised by the material used
    • B41M5/40Thermography ; Marking by high energetic means, e.g. laser otherwise than by burning, and characterised by the material used characterised by the base backcoat, intermediate, or covering layers, e.g. for thermal transfer dye-donor or dye-receiver sheets; Heat, radiation filtering or absorbing means or layers; combined with other image registration layers or compositions; Special originals for reproduction by thermography
    • B41M5/42Intermediate, backcoat, or covering layers
    • BPERFORMING OPERATIONS; TRANSPORTING
    • B41PRINTING; LINING MACHINES; TYPEWRITERS; STAMPS
    • B41MPRINTING, DUPLICATING, MARKING, OR COPYING PROCESSES; COLOUR PRINTING
    • B41M5/00Duplicating or marking methods; Sheet materials for use therein
    • B41M5/26Thermography ; Marking by high energetic means, e.g. laser otherwise than by burning, and characterised by the material used
    • B41M5/382Contact thermal transfer or sublimation processes
    • B41M5/38207Contact thermal transfer or sublimation processes characterised by aspects not provided for in groups B41M5/385 - B41M5/395
    • B41M5/38214Structural details, e.g. multilayer systems
    • BPERFORMING OPERATIONS; TRANSPORTING
    • B41PRINTING; LINING MACHINES; TYPEWRITERS; STAMPS
    • B41MPRINTING, DUPLICATING, MARKING, OR COPYING PROCESSES; COLOUR PRINTING
    • B41M5/00Duplicating or marking methods; Sheet materials for use therein
    • B41M5/26Thermography ; Marking by high energetic means, e.g. laser otherwise than by burning, and characterised by the material used
    • B41M5/40Thermography ; Marking by high energetic means, e.g. laser otherwise than by burning, and characterised by the material used characterised by the base backcoat, intermediate, or covering layers, e.g. for thermal transfer dye-donor or dye-receiver sheets; Heat, radiation filtering or absorbing means or layers; combined with other image registration layers or compositions; Special originals for reproduction by thermography
    • B41M5/42Intermediate, backcoat, or covering layers
    • B41M5/426Intermediate, backcoat, or covering layers characterised by inorganic compounds, e.g. metals, metal salts, metal complexes
    • BPERFORMING OPERATIONS; TRANSPORTING
    • B41PRINTING; LINING MACHINES; TYPEWRITERS; STAMPS
    • B41MPRINTING, DUPLICATING, MARKING, OR COPYING PROCESSES; COLOUR PRINTING
    • B41M5/00Duplicating or marking methods; Sheet materials for use therein
    • B41M5/50Recording sheets characterised by the coating used to improve ink, dye or pigment receptivity, e.g. for ink-jet or thermal dye transfer recording
    • B41M5/52Macromolecular coatings
    • BPERFORMING OPERATIONS; TRANSPORTING
    • B41PRINTING; LINING MACHINES; TYPEWRITERS; STAMPS
    • B41MPRINTING, DUPLICATING, MARKING, OR COPYING PROCESSES; COLOUR PRINTING
    • B41M2205/00Printing methods or features related to printing methods; Location or type of the layers
    • B41M2205/02Dye diffusion thermal transfer printing (D2T2)
    • BPERFORMING OPERATIONS; TRANSPORTING
    • B41PRINTING; LINING MACHINES; TYPEWRITERS; STAMPS
    • B41MPRINTING, DUPLICATING, MARKING, OR COPYING PROCESSES; COLOUR PRINTING
    • B41M2205/00Printing methods or features related to printing methods; Location or type of the layers
    • B41M2205/30Thermal donors, e.g. thermal ribbons
    • BPERFORMING OPERATIONS; TRANSPORTING
    • B41PRINTING; LINING MACHINES; TYPEWRITERS; STAMPS
    • B41MPRINTING, DUPLICATING, MARKING, OR COPYING PROCESSES; COLOUR PRINTING
    • B41M2205/00Printing methods or features related to printing methods; Location or type of the layers
    • B41M2205/32Thermal receivers
    • BPERFORMING OPERATIONS; TRANSPORTING
    • B41PRINTING; LINING MACHINES; TYPEWRITERS; STAMPS
    • B41MPRINTING, DUPLICATING, MARKING, OR COPYING PROCESSES; COLOUR PRINTING
    • B41M2205/00Printing methods or features related to printing methods; Location or type of the layers
    • B41M2205/38Intermediate layers; Layers between substrate and imaging layer
    • BPERFORMING OPERATIONS; TRANSPORTING
    • B41PRINTING; LINING MACHINES; TYPEWRITERS; STAMPS
    • B41MPRINTING, DUPLICATING, MARKING, OR COPYING PROCESSES; COLOUR PRINTING
    • B41M5/00Duplicating or marking methods; Sheet materials for use therein
    • B41M5/26Thermography ; Marking by high energetic means, e.g. laser otherwise than by burning, and characterised by the material used
    • B41M5/40Thermography ; Marking by high energetic means, e.g. laser otherwise than by burning, and characterised by the material used characterised by the base backcoat, intermediate, or covering layers, e.g. for thermal transfer dye-donor or dye-receiver sheets; Heat, radiation filtering or absorbing means or layers; combined with other image registration layers or compositions; Special originals for reproduction by thermography
    • B41M5/42Intermediate, backcoat, or covering layers
    • B41M5/44Intermediate, backcoat, or covering layers characterised by the macromolecular compounds
    • BPERFORMING OPERATIONS; TRANSPORTING
    • B41PRINTING; LINING MACHINES; TYPEWRITERS; STAMPS
    • B41MPRINTING, DUPLICATING, MARKING, OR COPYING PROCESSES; COLOUR PRINTING
    • B41M5/00Duplicating or marking methods; Sheet materials for use therein
    • B41M5/50Recording sheets characterised by the coating used to improve ink, dye or pigment receptivity, e.g. for ink-jet or thermal dye transfer recording
    • B41M5/52Macromolecular coatings
    • B41M5/5254Macromolecular coatings characterised by the use of polymers obtained by reactions only involving carbon-to-carbon unsaturated bonds, e.g. vinyl polymers
    • BPERFORMING OPERATIONS; TRANSPORTING
    • B41PRINTING; LINING MACHINES; TYPEWRITERS; STAMPS
    • B41MPRINTING, DUPLICATING, MARKING, OR COPYING PROCESSES; COLOUR PRINTING
    • B41M5/00Duplicating or marking methods; Sheet materials for use therein
    • B41M5/50Recording sheets characterised by the coating used to improve ink, dye or pigment receptivity, e.g. for ink-jet or thermal dye transfer recording
    • B41M5/52Macromolecular coatings
    • B41M5/5263Macromolecular coatings characterised by the use of polymers obtained otherwise than by reactions only involving carbon-to-carbon unsaturated bonds
    • B41M5/5272Polyesters; Polycarbonates
    • BPERFORMING OPERATIONS; TRANSPORTING
    • B41PRINTING; LINING MACHINES; TYPEWRITERS; STAMPS
    • B41MPRINTING, DUPLICATING, MARKING, OR COPYING PROCESSES; COLOUR PRINTING
    • B41M5/00Duplicating or marking methods; Sheet materials for use therein
    • B41M5/50Recording sheets characterised by the coating used to improve ink, dye or pigment receptivity, e.g. for ink-jet or thermal dye transfer recording
    • B41M5/52Macromolecular coatings
    • B41M5/529Macromolecular coatings characterised by the use of fluorine- or silicon-containing organic compounds
    • BPERFORMING OPERATIONS; TRANSPORTING
    • B41PRINTING; LINING MACHINES; TYPEWRITERS; STAMPS
    • B41MPRINTING, DUPLICATING, MARKING, OR COPYING PROCESSES; COLOUR PRINTING
    • B41M7/00After-treatment of prints, e.g. heating, irradiating, setting of the ink, protection of the printed stock
    • B41M7/0027After-treatment of prints, e.g. heating, irradiating, setting of the ink, protection of the printed stock using protective coatings or layers by lamination or by fusion of the coatings or layers

Definitions

  • the present invention relates to a thermal transfer sheet, a thermal transfer image receiving sheet, a method for forming a printed matter, and a printed matter.
  • an intermediate transfer medium in which a transfer layer including a receiving layer is detachably provided on a base material is used (for example, patent document). 1).
  • a thermal transfer image is formed on a receiving layer of the intermediate transfer medium using a thermal transfer sheet having a color material layer, and then the transfer layer including the receiving layer is placed on an arbitrary transfer target.
  • a printed matter in which a thermal transfer image is formed on an arbitrary transfer target can be obtained.
  • some of the objects to be transferred have in advance a hologram image or a heat transfer image (hereinafter collectively referred to as a pattern of the object to be transferred).
  • a pattern of the object to be transferred In the case where the transfer layer of the intermediate transfer medium is transferred onto the transfer target, the pattern of the transfer target and the pattern formed on the receiving layer constituting the transfer layer transferred onto the transfer target As a result, an overlapped image is formed.
  • a thermal transfer sheet capable of forming a thermal transfer image on a concealed pattern while concealing a part of the pattern of the transfer target (for example, Patent Document 2).
  • the thermal transfer sheet proposed in Patent Document 2 is provided with a transfer layer in which a transparent receiving layer and a white hiding layer are laminated in this order on a substrate.
  • a thermal transfer image receiving sheet capable of forming a thermal transfer image on the concealed portion while concealing the pattern of the transfer target.
  • a thermal transfer image on the transparent receiving layer of the obtained thermal transfer image-receiving sheet a printed matter in which the thermal transfer image is formed on the concealed portion while concealing the pattern of an arbitrary transfer target is obtained.
  • the thermal transfer sheet as proposed in Patent Document 2 is finally used in terms of the density of the thermal transfer image formed on the receiving layer of the transfer layer and the transferability when transferring the transfer layer.
  • the design property of the printed matter to be formed cannot be sufficiently increased, and there remains room for improvement in this respect.
  • the present invention has been made in view of such a situation, and can provide a thermal transfer sheet capable of obtaining a thermal transfer image-receiving sheet capable of forming a printed matter with high designability, and can form a printed matter with high designability. It is a main subject to provide a thermal transfer image-receiving sheet and a method for forming a printed material, and to provide a printed material with high design properties.
  • the present invention for solving the above-mentioned problems is a thermal transfer sheet in which a transfer layer is provided on a substrate, and the transfer layer includes a receiving layer, an intermediate layer, and a concealing layer in this order from the substrate side.
  • the laminated structure is formed by lamination, and the intermediate layer contains inorganic particles.
  • the transfer layer and the dye layer laminate are provided in the surface order on the same surface of the substrate,
  • the dye layer laminate has a laminated structure in which a dye primer layer and a dye layer are laminated in this order from the substrate side, and the dye primer layer may contain inorganic particles.
  • the inorganic particles may be inorganic particles derived from colloidal inorganic particles.
  • the present invention for solving the above problems is a thermal transfer image receiving sheet, wherein a pattern layer, a concealing layer, an intermediate layer, and a first receiving layer are provided in this order on a substrate, and the surface of the pattern layer Is exposed, and the intermediate layer contains inorganic particles.
  • the inorganic particles may be inorganic particles derived from colloidal inorganic particles.
  • the picture layer may be a picture layer in which a hologram layer and a second receiving layer are laminated on a base material.
  • the present invention for solving the above-mentioned problems is a printed matter, which is a printed matter in which a thermal transfer image is formed on the first receiving layer of the thermal transfer image-receiving sheet.
  • the present invention for solving the above-mentioned problems is a method for forming a printed material, in which a transfer layer provided with a pattern layer, and a receiving layer on the same surface of the substrate from the substrate side
  • the intermediate layer containing inorganic particles and the concealing layer are laminated in this order, and the dye primer layer and dye layer containing inorganic particles are laminated in this order from the base material side.
  • thermo transfer sheet of the present invention it is possible to obtain a thermal transfer image receiving sheet capable of forming a printed matter with high design properties.
  • a thermal transfer image receiving sheet and the method for forming a printed material of the present invention a printed material with high design properties can be formed.
  • the design property of the printed matter can be enhanced.
  • thermo transfer sheet of one Embodiment It is a schematic sectional drawing which shows an example of the thermal transfer sheet of one Embodiment. It is a schematic sectional drawing which shows an example of the thermal transfer sheet of one Embodiment. It is a schematic sectional drawing which shows an example of the thermal transfer sheet of one Embodiment. It is a schematic sectional drawing which shows an example of the thermal transfer image receiving sheet of one Embodiment. (A)-(c) is a schematic sectional drawing which shows an example of the thermal transfer image receiving sheet of one Embodiment. It is a schematic sectional drawing which shows an example of the printed matter formed by the (a) and (b) formation method of the printed matter of one Embodiment, and the printed matter of one Embodiment.
  • a thermal transfer sheet 100 according to an embodiment of the present invention (hereinafter, referred to as a thermal transfer sheet according to an embodiment) is provided with a transfer layer 10 on a substrate 1. From the 1 side, the receiving layer 2, the intermediate
  • the thermal transfer sheet 100 of one embodiment is a thermal transfer sheet used to obtain a thermal transfer image receiving sheet 200 as shown in FIG.
  • the transfer layer 10 of the thermal transfer sheet 100 is transferred onto an arbitrary transfer target (hereinafter referred to as a transfer target) such that a part of the surface of the transfer target is exposed.
  • a thermal transfer image receiving sheet in which the transfer layer 10 is provided on the transfer target is obtained.
  • a thermal transfer image receiving sheet 200 in which a concealing layer 4, an intermediate layer 3, and a receiving layer 2 are laminated in this order on a transferred body so as to expose a part of the surface of the transferred body. obtain.
  • each configuration of the thermal transfer sheet 100 will be specifically described.
  • the base material 1 is an essential configuration in the thermal transfer sheet 100 of one embodiment, and a transfer layer 10 provided on one surface of the base material 1 and a back layer arbitrarily provided on the other surface of the base material 1 are provided. Provided to hold.
  • the material of the substrate 1 is not particularly limited, but it is desirable that the transfer layer 10 has mechanical characteristics that can withstand heat applied when transferring the transfer layer 10 onto a transfer target and that does not hinder handling.
  • Such a substrate 1 examples include polyesters such as polyethylene terephthalate, polycarbonate, polyimide, polyetherimide, cellulose derivatives, polyethylene, polypropylene, polystyrene, acrylic, polyvinyl chloride, polyvinylidene chloride, nylon, polyether ether ketone, and the like.
  • polyesters such as polyethylene terephthalate, polycarbonate, polyimide, polyetherimide, cellulose derivatives, polyethylene, polypropylene, polystyrene, acrylic, polyvinyl chloride, polyvinylidene chloride, nylon, polyether ether ketone, and the like.
  • plastic films or sheets can be mentioned.
  • the thickness of the base material 1 can be appropriately set according to the material so that the strength and heat resistance are appropriate, and the range of 2.5 ⁇ m to 100 ⁇ m is common.
  • a transfer layer 10 is provided on the substrate 1.
  • the transfer layer 10 has a laminated structure in which the receiving layer 2, the intermediate layer 3, and the concealing layer 4 are laminated in this order from the base material 1 side.
  • the transfer layer 10 is provided so as to be peelable from the substrate 1 and is a layer that moves onto the transfer target during thermal transfer.
  • the concealment layer 4 constituting the transfer layer 10 is a layer having a function of concealing a part of the surface of the transfer target body onto which the transfer layer 10 has been transferred.
  • the hiding layer 4 as an example is composed of a binder resin and a colorant.
  • the binder resin include polyester resin, urethane resin, epoxy resin, melamine resin, alkyd resin, phenol resin, acrylic resin, vinyl chloride-vinyl acetate copolymer resin, and the like.
  • the colorant include known colorants such as titanium oxide, zinc oxide, carbon black, iron oxide, iron yellow, ultramarine blue, metallic pigment, and pearl pigment.
  • the concealing layer 4 may contain one kind of these binder resins or may contain two or more kinds. The same applies to the colorant.
  • the method for forming the masking layer 4 is not particularly limited, and a coating solution for the masking layer is prepared by dispersing or dissolving the binder resin, colorant, and additives added as necessary in an appropriate solvent. It can be formed on the intermediate layer 3 by coating and drying by a conventionally known forming means such as a gravure coating method, a roll coating method, a screen printing method, a reverse roll coating method using a gravure plate, etc. it can.
  • the thickness of the masking layer 4 is not particularly limited, but may be appropriately set in consideration of the masking property of the masking layer 4. Note that when the thickness of the masking layer 4 is less than 0.1 ⁇ m, the masking property tends to decrease. In consideration of this point, the thickness of the masking layer 4 is preferably 0.1 ⁇ m or more. Although there is no limitation in particular about the preferable upper limit of the thickness of a concealing layer, it is about 5 micrometers.
  • the receiving layer 2 constituting the transfer layer 10 is a layer located closest to the substrate 1 among the layers constituting the transfer layer 10.
  • the binder resin contained in the receiving layer 2 is not particularly limited.
  • a polyolefin resin such as polypropylene, a halogenated resin such as polyvinyl chloride or polyvinylidene chloride, polyvinyl acetate, a vinyl chloride-vinyl acetate copolymer, Vinyl resins such as ethylene-vinyl acetate copolymer or polyacrylate, polyester resins such as polyethylene terephthalate or polybutylene terephthalate, polystyrene resins, polyamide resins, olefins such as ethylene or propylene and other vinyl polymers
  • copolymer resins cellulose resins such as ionomers and cellulose diastases
  • solvent resins such as polycarbonates and acrylic resins.
  • a water-based resin such as a water-soluble resin, a water-soluble polymer, or a water-based resin can also be used as the binder resin.
  • the receiving layer 2 containing a water-based resin an image having a higher printing density can be formed as compared with a solvent-based receiving layer, and light resistance and glossiness after image formation are improved. Can do.
  • water-soluble resin and water-soluble polymer examples include polyvinyl pyrrolidone resin, polyvinyl alcohol resin, and gelatin.
  • water-based resin include emulsions such as a vinyl chloride resin, an acrylic resin, and a urethane resin, or a resin in which a part of a solvent such as a dispersion is composed of water.
  • the aqueous resin can be formed, for example, by dispersing and preparing a solution containing a solvent-based resin by a method such as a homogenizer.
  • the receiving layer 2 may contain one kind of binder resin or may contain two or more kinds of binder resins.
  • the receiving layer 2 preferably contains a release agent.
  • the releasability of the transfer layer 10 from the substrate 1 (sometimes referred to as releasability) can be improved.
  • the thermal transfer image receiving sheet formed by transferring the transfer layer 10 is formed and the thermal transfer image is formed by transferring the dye of the dye layer onto the receiving layer located on the outermost surface of the thermal transfer image receiving sheet, the receiving layer 2 And the release property of the dye layer can be improved.
  • the binder resin of the receiving layer a binder resin excellent in releasability from the substrate 1, for example, the binder resin exemplified above and a binder resin of an arbitrary release layer described later are used in combination. The release property of the transfer layer 10 can be satisfied without containing an agent.
  • release agent examples include solid waxes such as polyethylene wax, amide wax, and Teflon (registered trademark) powder, fluorine or phosphate surfactant, silicone oil, reactive silicone oil, and curable silicone oil. And various modified silicone oils, and various silicone resins.
  • the various binder resins described above are preferably contained in an amount of 50% by mass or more based on the total solid content of the receiving layer 2.
  • high gloss can be imparted to the formed image.
  • the receiving layer 2 is prepared by dispersing or dissolving the binder resin exemplified above and an additive added as necessary in a suitable solvent, and preparing a coating solution for the receiving layer. Alternatively, it can be formed by coating and drying on the substrate 1 by means such as a reverse coating method using a gravure plate. There is no limitation in particular about the thickness of the receiving layer 2, Usually, it is the range of 0.3 micrometer or more and 10 micrometers or less.
  • a release layer (not shown) may be provided between the base material 1 and the transfer layer 10 while the receiving layer 2 is made to contain a release agent, or while the receiving layer 2 contains a release agent. It is also possible to improve the releasability of the transfer layer 10 from the substrate 1.
  • the release layer is an arbitrary configuration in the thermal transfer sheet 100 according to an embodiment, and is a layer that does not constitute the transfer layer 10. That is, when the transfer layer 10 is transferred to the transfer target side, the layer does not move to the transfer target side.
  • binder resin constituting the arbitrary release layer examples include waxes, silicone wax, silicone resin, silicone-modified resin, fluorine resin, fluorine-modified resin, polyvinyl alcohol resin, polyimide resin, polyamide resin, polyamideimide resin, and acrylic resin. Resin, heat-crosslinkable epoxy-amino resin, heat-crosslinkable alkyd-amino resin, and the like. Moreover, 1 type may be used independently as binder resin which comprises a mold release layer, and 2 or more types may be used together.
  • An intermediate layer 3 is provided between the receiving layer 2 and the shielding layer 4 described above.
  • the intermediate layer 3 is a layer constituting the transfer layer 10 together with the receiving layer 2 and the concealing layer 4, and is an essential configuration in the thermal transfer sheet 100 of one embodiment.
  • the thermal transfer sheet 100 is characterized in that the intermediate layer 3 contains inorganic particles.
  • the thermal transfer sheet 100 of the embodiment including the intermediate layer 3 containing inorganic particles the foil breakability when the transfer layer 10 is transferred onto the transfer target can be improved. Specifically, it is possible to suppress the occurrence of a transfer defect such as tailing or character collapse when the transfer layer 10 is transferred.
  • a transfer layer is transferred onto a transfer target to form a thermal transfer image receiving sheet 200, and a print when a thermal transfer image is formed on the receiving layer 2 of the thermal transfer image receiving sheet 200. The density can be made good.
  • the tailing referred to in the specification of the present application is such that when the transfer layer is transferred onto the transfer target, the boundary between the transfer region and the non-transfer region of the transfer layer starts from the boundary and protrudes from the boundary to the non-transfer region side. This means the phenomenon that the transfer layer is transferred to the surface.
  • the character collapse referred to in the present specification is a phenomenon in which a transfer target region surrounded or sandwiched between transfer regions is transferred by a phenomenon similar to tailing, and the original character cannot be reproduced. means.
  • the shear property of the intermediate layer 3 can be increased by adding inorganic particles to the intermediate layer 3. It is speculated that this improvement in shearability contributes to the improvement in the foil breakability of the transfer layer 10 including the intermediate layer 3.
  • the heat applied to the thermal transfer sheet 100 can be sufficiently transferred to the transfer layer 10, which is also the transfer layer. It is surmised that it contributes to the improvement of the 10 piece cutting ability.
  • the mechanism for improving the print density when the transfer layer 10 is transferred onto the transfer material and the thermal transfer image is formed on the receiving layer 2 of the transfer layer 10 by incorporating inorganic particles is not necessarily present.
  • the intermediate layer 3 containing inorganic particles the diffusion efficiency when forming a thermal transfer image by diffusing and transferring the dye of the dye layer on the receiving layer 2 can be improved.
  • the thermal energy when forming the thermal transfer image can be transferred to the receiving layer 2 without waste, and thereby, the thermal transfer image formed on the receiving layer 2 of the transfer layer 10 transferred onto the transfer target is transferred. It is presumed that the print density is improved.
  • the intermediate layer 3 containing inorganic particles it is possible to suppress the dye that has been diffused and transferred to the receiving layer 2 from flowing into the intermediate layer 3, and also by this, on the receiving layer 2. It is presumed that the print density of the thermal transfer image formed on the surface is improved.
  • the foil tearing property at the time of transferring the transfer layer 10 on a to-be-transferred body is made favorable. It is possible to improve the print density when the transfer layer 10 is transferred onto the transfer material and a thermal transfer image is formed on the receiving layer 2 of the transfer layer 10. It is clear from the results.
  • the inorganic particles are not particularly limited, and examples thereof include fine particles of alumina, silica, zirconia, tin oxide, magnesium carbonate, magnesium hydroxide, and titanium oxide.
  • the transfer layer 10 is transferred onto the transfer target as compared with the intermediate layer 3 containing other inorganic particles. This is a preferred inorganic particle in that the printing density when a thermal transfer image is formed on the receiving layer 2 of the transfer layer 10 can be further increased.
  • the intermediate layer 3 only needs to satisfy the condition that it contains inorganic particles, and the method of forming the intermediate layer 3 is not limited, but the intermediate layer 3 is an intermediate layer containing colloidal inorganic particles.
  • the intermediate layer 3 is preferably formed using a layer coating solution. That is, the intermediate layer 3 preferably contains inorganic particles derived from colloidal inorganic particles. By using colloidal inorganic particles, the intermediate layer 3 can be formed with good film-forming properties, and the adhesion between the receiving layer 2 and the concealing layer 4 can be improved.
  • the transfer layer 10 can be cut off or the transfer layer 10 can be transferred to the thermal transfer image on the receiving layer 2 of the transfer layer 10. It is possible to further improve the print density when forming the image.
  • colloidal inorganic particles for forming the intermediate layer 3 examples include silica sol, colloidal silica, alumina sol, colloidal alumina (alumina hydrate sol), zirconia sol, tin oxide sol, titania sol, and the like.
  • the intermediate layer 3 is made of alumina sol or colloidal alumina. It is preferable to contain derived alumina particles, silica sol, and colloidal silica-derived silica particles.
  • the colloidal inorganic particles may be processed in an acidic type in order to facilitate dispersion in a sol form in a solvent or dispersion medium, or may be those in which fine particle charge is converted to a cation, A surface-treated one may be used.
  • the shape of the inorganic particles is not particularly limited, and may be any shape such as a spherical shape, a needle shape, a plate shape, a feather shape, or an amorphous shape.
  • the particle diameter of the inorganic particles is not particularly limited, but when the intermediate layer 3 mainly contains inorganic particles having a primary particle size exceeding 10 ⁇ m, the transparency of the intermediate layer 3 tends to decrease. is there. Considering this point, it is preferable that the intermediate layer 3 mainly contains inorganic particles having a primary particle size of 10 ⁇ m or less. “Mainly” means 50% by mass or more based on the total mass of the inorganic particles contained in the intermediate layer 3. Although there is no limitation in particular about a lower limit, it is about 0.01 micrometer in the magnitude
  • the method for forming the intermediate layer 3 using colloidal inorganic particles is not particularly limited, but a coating liquid for an intermediate layer made of colloidal inorganic particles, for example, alumina sol, is used in a gravure coating method, a roll coating method, a screen printing method, It can be formed by applying and drying on the receiving layer 2 by a conventionally known forming means such as a reverse roll coating method using a gravure plate.
  • the aqueous intermediate layer coating liquid can be prepared by dispersing colloidal inorganic particles in an aqueous medium. Examples of the aqueous medium include water, a water-soluble alcohol such as isopropyl alcohol, a mixed solution of water and a water-soluble alcohol, and the like. It is preferable that the coating liquid for intermediate
  • the intermediate layer 3 is described by taking an example in which the intermediate layer 3 is composed only of inorganic particles.
  • the intermediate layer 3 may contain a binder resin together with the inorganic particles.
  • the binder resin is preferably a binder resin that can improve the adhesion between the receiving layer 2 and the masking layer 4.
  • binder resins include urethane resins, polyester resins, acrylic resins, vinyl resins such as vinyl chloride-vinyl acetate copolymer resins, polyvinyl pyrrolidone resins, polyamide epoxy resins, and polyvinyl alcohol resins. Etc.
  • the urethane resin referred to in the present specification means a resin having a polyol (polyhydric alcohol) as a main ingredient and an isocyanate as a crosslinking agent (curing agent).
  • the polyol include those having two or more hydroxyl groups in the molecule, such as polyethylene glycol, polypropylene glycol, acrylic polyol, polyester polyol, polyether polyol, alkyd-modified acrylic polyol, and the like.
  • the urethane resin may be a water-based urethane resin that can be a stable dispersion in an aqueous medium such as water, a water-soluble alcohol such as isopropyl alcohol, a mixed liquid of water and a water-soluble alcohol, and is dissolved in an organic solvent.
  • a dispersible solvent-based urethane resin may be used.
  • the polyvinyl pyrrolidone resin referred to in the present specification means a homopolymer of a vinyl pyrrolidone monomer or a copolymer of a vinyl pyrrolidone monomer and another monomer.
  • the polyvinylpyrrolidone-based resin may be a homopolymer of a vinylpyrrolidone monomer such as vinylpyrrolidone such as N-vinyl-2-pyrrolidone or N-vinyl-4-pyrrolidone, that is, polyvinylpyrrolidone.
  • Copolymers with other monomers may also be used.
  • a vinyl monomer is suitable as the other monomer.
  • vinyl monomers examples include cyclohexyl vinyl ether, ethyl vinyl ether, hydroxyethyl vinyl ether, hydroxybutyl vinyl ether, vinyl ethers such as hydroxycyclohexyl vinyl ether, fatty acid vinyl esters such as vinyl acetate and vinyl lactate, methyl (meth) acrylate, and ethyl (meth) acrylate. And (meth) acrylic acid esters such as hydroxyethyl (meth) acrylate and hydroxypropyl (meth) acrylate, and allyl ethers such as hydroxybutyl allyl ether and ethylene glycol monoallyl ether.
  • copolymer of vinyl pyrrolidone and vinyl monomer a commercially available product can be used.
  • a commercial product of a copolymer of vinyl pyrrolidone and vinyl acetate rubiscol VA28 manufactured by BASF, rubiscol, and the like. VA73 etc. can be mentioned.
  • polyvinyl pyrrolidone resins include N-vinyl-3-methylpyrrolidone, N-vinyl-5-methylpyrrolidone, N-vinyl-3,3,5-trimethylpyrrolidone, N-vinyl-3-benzyl.
  • a polymer containing a derivative having a substituent on the pyrrolidone ring such as pyrrolidone can also be used.
  • the content of the inorganic particles and the binder resin when the intermediate layer 3 contains the inorganic particles and the binder resin is 5
  • the content is preferably at least mass%, particularly preferably at least 20 mass%.
  • the method for forming the intermediate layer 3 containing the inorganic particles and the binder resin is not particularly limited, and the binder resin, the inorganic particles, and the additives added as necessary are dispersed or dissolved in an appropriate solvent.
  • the intermediate layer coating solution is prepared, and this is formed on the receiving layer 2 by a conventionally known forming means such as a gravure coating method, a roll coating method, a screen printing method, a reverse roll coating method using a gravure plate, and the like. It can be formed by coating and drying.
  • colloidal inorganic particles can also be used as the inorganic particles contained in the intermediate layer coating solution.
  • the thickness of the intermediate layer 3 is not particularly limited, but when the thickness of the intermediate layer 3 is less than 0.01 ⁇ m, the transfer layer 10 is transferred onto the transfer target, and the transfer layer 10 on the receiving layer 2 is transferred. The print density when forming a thermal transfer image tends to decrease. On the other hand, if the thickness of the intermediate layer 3 exceeds 5 ⁇ m, the foil breakability of the transfer layer 10 tends to deteriorate. Considering this point, the thickness of the intermediate layer 3 is preferably 0.01 ⁇ m or more and 5 ⁇ m or less, and more preferably 0.02 ⁇ m or more and 3 ⁇ m or less.
  • a back layer (not shown) can be provided on the surface of the substrate 1 opposite to the surface on which the transfer layer 10 is provided.
  • a back surface layer is arbitrary structures in the thermal transfer sheet 100 of one Embodiment.
  • cellulose resins such as ethyl cellulose, methyl cellulose, cellulose acetate, cellulose acetate butyrate, nitrocellulose, cellulose acetate butyrate, cellulose acetate propionate, polyvinyl alcohol, polyvinyl acetate, polyvinyl butyral , Vinyl resins such as polyvinyl acetal and polyvinyl pyrrolidone, acrylic resins such as polymethyl methacrylate, polyethyl acrylate, polyacrylamide, acrylonitrile-styrene copolymer, polyamide resin, polyamideimide resin, coumarone indene resin, polyester And natural or synthetic resins such as silicone resins, polyurethane resins, silicone-modified or fluorine-modified urethane, and the like.
  • cellulose resins such as ethyl cellulose, methyl cellulose, cellulose acetate, cellulose acetate butyrate, nitrocellulose, cellulose acetate butyrate, cellulose
  • the back layer may contain a solid or liquid lubricant.
  • the lubricant include various waxes such as polyethylene wax and paraffin wax, higher aliphatic alcohols, organopolysiloxanes, anionic surfactants, cationic surfactants, amphoteric surfactants, nonionic surfactants, fluorine And surfactants, organic carboxylic acids and derivatives thereof, metal soaps, fluorine resins, silicone resins, fine particles of inorganic compounds such as talc and silica.
  • the mass of the lubricant with respect to the total mass of the back layer is in the range of 5 to 50% by mass, preferably in the range of 10 to 30% by mass.
  • the method for forming the back layer there is no particular limitation on the method for forming the back layer, and a resin, a lubricant added as necessary, and the like are dissolved or dispersed in an appropriate solvent to prepare a back layer coating solution. It can form by apply
  • the thickness of the back layer is preferably in the range of 0.3 ⁇ m to 10 ⁇ m.
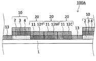
  • the thermal transfer sheet 100 ⁇ / b> A is provided with a transfer layer 10 and a dye layer stack 20 in the surface order on the same surface of the substrate 1.
  • the dye layer laminate 20 has a laminated structure in which the dye primer layer 11 and the dye layer 12 are laminated in this order from the base material 1 side. That is, the thermal transfer sheet 100A according to another embodiment is the same as the thermal transfer sheet 100 according to the embodiment described above, on the same surface as the surface on which the transfer layer 10 of the substrate 1 is provided. 20 is provided.
  • the thermal transfer sheet 100A of another embodiment shown in FIG. 2 as shown in FIG.
  • the transfer layer 10, the dye layer laminate 20, and the optional protective layer 13 are repeatedly arranged in the surface order on the same surface of the substrate 1. It can also be provided.
  • an optional color panel (not shown) composed of an arbitrary color material layer (not shown) containing a pigment, or a hologram layer, instead of or in addition to the optional protective layer 13 (not shown). ) Etc. can also be provided in the surface sequential order. The order in which these arbitrary layers are repeatedly provided in the surface order is not limited to the illustrated form.
  • both the formation of a thermal transfer image receiving sheet 200 as shown in FIG. 4 and the formation of a thermal transfer image on the receiving layer 2 of the formed thermal transfer image receiving sheet are performed. be able to.
  • the thermal transfer sheet 100A of another embodiment by using the thermal transfer sheet 100A of another embodiment and transferring the transfer layer 10 onto the transfer target, the concealing layer 4, the intermediate layer 3 containing inorganic particles on the transfer target, A thermal transfer image receiving sheet in which the receiving layer 2 is laminated in this order can be obtained.
  • a thermal transfer image can be formed by transferring the dye contained in the dye layer 12 constituting the dye layer laminate 20 onto the receiving layer 2 of the thermal transfer image receiving sheet 200 obtained by transferring the transfer layer 10 onto the transfer target.
  • the thermal transfer sheet 100A of the other embodiment described above is further characterized in that the dye primer layer 11 constituting the dye layer laminate 20 contains inorganic particles.
  • the thermal transfer sheet 100A of another embodiment having this feature in addition to the effect described in the thermal transfer sheet 100 of the above-described embodiment, that is, the improvement of the foil breakability when the transfer layer 10 is transferred, The transfer density can be further improved by transferring the transfer layer 10 onto the body and transferring the dye of the dye layer laminate 20 onto the receiving layer 2 of the transfer layer 10 to form a thermal transfer image.
  • each configuration of the thermal transfer sheet 100A of another embodiment will be described focusing on differences from the thermal transfer sheet 100 of one embodiment.
  • the thermal transfer sheet 100 of the said one embodiment can be used as it is about structures other than the dye layer laminated body 20.
  • the transfer layer 10 and the dye layer laminate 20 described above are provided in the surface order on the same surface of the substrate 1.
  • the dye layer laminate 20 has a laminated structure in which the dye primer layer 11 and the dye layer 12 are laminated in this order from the base material 1 side.
  • the dye layer 12 constituting the dye layer laminate 20 contains a sublimable dye and a binder resin.
  • the dye layer 12 may be formed with only one color layer selected as appropriate when the desired image is monochromatic, or as shown in FIG. 3 when the desired image is a full color image.
  • a plurality of dye layers containing sublimable dyes having different hues, such as yellow dye 12Y, magenta dye 12M, and cyan dye 12C, may be repeatedly formed on the same surface of the same base material in the surface order.
  • the transfer layer 10 the yellow dye 12Y, the magenta dye 12M, the cyan dye 12C, and the protective layer 13 are repeatedly formed in this order on the same surface of the base material 1, but are repeatedly formed. It does not have to be. Also, this order is not necessary.
  • the sublimable dye is not particularly limited, but a dye having a sufficient color density and not discolored by light, heat, temperature or the like is preferable.
  • Examples of such sublimable dyes include diarylmethane dyes, triarylmethane dyes, thiazole dyes, merocyanine dyes, pyrazolone dyes, methine dyes, pyrazolomethine dyes, indoaniline dyes, acetophenone azomethine, and pyrazolo dyes.
  • Azomethine dyes such as azomethine, imidazolazomethine, imidazoazomethine and pyridone azomethine, xanthene dyes, oxazine dyes, cyanostyrene dyes such as dicyanostyrene and tricyanostyrene, thiazine dyes, azine dyes, acridine dyes, Benzeneazo dyes, pyridone azo, thiophenazo, isothiazole azo, pyrrole azo, pyrazole azo, imidazole azo, thiadiazole azo, triazole azo, disazo azo dyes, spiropyran Fee, India Linos Piropi run dyes, fluoran dye, rhodamine lactam-based dyes, naphthoquinone dyes, anthraquinone dyes, quinophthalone dyes, and the like.
  • red dyes such as MSRedG (manufactured by Mitsui Toatsu Chemical Co., Ltd.), Macrolex Red Violet R (manufactured by Bayer), CeresRed 7B (manufactured by Bayer), Samalon Red F3BS (manufactured by Mitsubishi Chemical), and holon brilliant yellow Yellow dyes such as 6GL (manufactured by Clariant), PTY-52 (manufactured by Mitsubishi Kasei), Macrolex Yellow 6G (manufactured by Bayer), Kayaset Blue 714 (manufactured by Nippon Kayaku Co., Ltd.), Waxoline Blue AP-FW ( ICI), Holon Brilliant Blue SR (Sand), MS Blue 100 (Mitsui Toatsu Chemical), C.I. I. And blue dyes such as Solvent Blue 63.
  • MSRedG manufactured by Mitsui Toatsu Chemical Co., Ltd.
  • Macrolex Red Violet R manufactured by Bayer
  • CeresRed 7B manufactured
  • the content of the sublimable dye is preferably in the range of 50% by mass to 350% by mass, and more preferably in the range of 80% by mass to 300% by mass, based on the total solid content of the binder resin described later. preferable.
  • the content of the sublimable dye is less than the above range, the printing density tends to decrease, and when it exceeds the above range, the storage stability and the like tend to decrease.
  • Binder resin The binder resin contained in the dye layer and supporting the sublimable dye is not particularly limited, and those having a certain degree of heat resistance and having a moderate affinity with the sublimable dye can be used.
  • binder resins include cellulose resins such as ethyl cellulose, methyl cellulose, cellulose acetate, cellulose acetate butyrate, nitrocellulose, cellulose acetate butyrate, and cellulose acetate propionate; polyvinyl alcohol, polyvinyl acetate, polyvinyl butyral, Examples thereof include vinyl resins such as polyvinyl acetoacetal and polyvinyl pyrrolidone; acrylic resins such as poly (meth) acrylate and poly (meth) acrylamide; polyurethane resins; polyamide resins; polyester resins;
  • the binder resin is preferably contained in an amount of 20% by mass or more based on the total solid content of the dye layer 12.
  • the binder resin is preferably contained in an amount of 20% by mass or more based on the total solid content of the dye layer 12.
  • the dye layer 12 may contain additives such as inorganic particles and organic fine particles.
  • inorganic particles include talc, carbon black, aluminum, molybdenum disulfide, and examples of organic fine particles include polyethylene wax and silicone resin fine particles.
  • the dye layer 12 may contain a release agent.
  • the mold release agent include modified or unmodified silicone oil (including those referred to as silicone resins), phosphate esters, and fatty acid esters.
  • the method for forming the dye layer 12 is not particularly limited, and a binder resin, a sublimation dye, an additive added as necessary, and a release agent are dissolved or dispersed in an appropriate solvent, and the dye layer coating is performed.
  • a working solution is prepared, and this dye layer coating solution is formed by coating and drying on the dye primer layer 11 to be described later by a conventionally known coating means such as a gravure coater, a roll coater, or a wire bar. Can do.
  • the thickness of the dye layer is generally in the range of 0.2 ⁇ m to 2 ⁇ m.
  • the dye primer layer 11 constituting the dye layer laminate 20 contains inorganic particles.
  • the dye layer laminate 20 is configured on the receiving layer 20 of the transfer layer 10 transferred onto the transfer target. It is possible to further improve the print density when a thermal transfer image is formed by diffusing and transferring the dye in the dye layer.
  • the transfer layer 10 is transferred onto the transfer target, and the transferred transfer layer 10 and the thermal transfer sheet 100A of the other embodiment are transferred.
  • the dye layer laminate 20 is overlaid, and heat is applied from the back side of the thermal transfer sheet 100A of another embodiment by a heating means such as a thermal head. That is, the thermal transfer image is formed so that the receiving layer 2 is sandwiched between the intermediate layer 3 and the dye primer layer 11.
  • the thermal transfer sheet 100A of another embodiment includes not only the intermediate layer 3 constituting the transfer layer 10 but also the dye primer layer 11 constituting the dye layer laminate 20, the inorganic particles are contained.
  • the dye primer layer 11 containing inorganic particles can effectively diffuse the dye to the receiving layer 2 side.
  • the intermediate layer 3 functions, The diffusion efficiency of the dye in the receiving layer 2 can be improved. That is, the print density of the thermal transfer image formed on the receiving layer 2 can be made extremely high due to the synergistic effect of both the intermediate layer 3 and the dye primer layer 11.
  • the configuration of the intermediate layer 3 described in the thermal transfer sheet 100 of the above embodiment can be applied as it is, and detailed description thereof is omitted here.
  • the dye primer layer 11 in a preferable form contains one or both of urethane resin and polyvinylpyrrolidone resin together with inorganic particles. According to the dye primer layer 11 of a preferred form, the print density of the thermal transfer image formed on the receiving layer can be further improved.
  • the content of the resin component with respect to the total mass of the inorganic particles and the resin component is in the range of 10% by mass to 95% by mass. Is preferable, and the range of 10% by mass to 80% by mass is more preferable.
  • thermal transfer image-receiving sheet a thermal transfer image receiving sheet according to an embodiment of the present invention (hereinafter referred to as a thermal transfer image receiving sheet according to an embodiment) will be described.
  • a thermal transfer image receiving sheet 200 of one embodiment a pattern layer 40, a hiding layer 4, an intermediate layer 3, and a first receiving layer 2 are provided in this order on a substrate 31. A part of the surface of the substrate is exposed.
  • the thermal transfer image receiving sheet 200 according to one embodiment is characterized in that the intermediate layer 3 contains inorganic particles.
  • FIG. 4 is a schematic cross-sectional view of a thermal transfer image receiving sheet according to an embodiment.
  • thermal transfer image receiving sheet 200 of one embodiment of the above characteristics it is possible to improve the print density when forming the thermal transfer image on the first receiving layer 2.
  • the above-described effect in the thermal transfer image receiving sheet 200 according to the embodiment is due to the function of the intermediate layer 3 constituting the transfer layer 10 and is the same as the reason described in the thermal transfer sheet 100 according to the embodiment.
  • the thermal transfer image receiving sheet 200 of one embodiment takes a form in which a part of the surface of the pattern layer 40 is exposed. This is because the surface of the pattern layer 40 is hidden when the surface of the pattern layer 40 is not exposed. By being hidden by the layer 4.
  • a thermal transfer image receiving sheet in which a hiding layer is provided on the pattern layer 40 without exposing the surface of the pattern layer 40 According to this thermal transfer image receiving sheet 200, for example, a transparent substrate is used as the substrate 31, and a thermal transfer image is formed on the receiving layer 2 of the thermal transfer image receiving sheet 200. Only a thermal transfer image can be visually recognized from the side, and a printed product 300 can be obtained from which only the pattern layer 40 can be visually recognized from the other surface side of the substrate 31. Therefore, in the method for forming a printed material described later, the thermal transfer image receiving sheet 200 in which the hiding layer 4 is provided on the pattern layer 40 can be used without exposing the surface of the pattern layer 40.
  • Base material for thermal transfer image-receiving sheet There is no particular limitation on the base material 31 (hereinafter referred to as the base material 31) of the thermal transfer image-receiving sheet 200, and a conventionally known material can be appropriately selected and used as the base material of the thermal transfer image-receiving sheet.
  • Base materials 31 generally used in the field of thermal transfer image-receiving sheets include high-quality paper, art paper, lightweight coated paper, fine coated paper, coated paper, cast coated paper, synthetic resin or emulsion impregnated paper, synthetic rubber latex impregnated Examples of the paper base material include paper and synthetic resin-containing paper.
  • the substrate 1 described in the thermal transfer sheet 100 of the above-described embodiment can be used as it is.
  • a pattern layer 40 is provided on the substrate 31.
  • the pattern layer 40 may be a layer in which some pattern is formed or a colored layer, and the pattern of the pattern layer 40 is not limited in any way.
  • a conventionally known hologram layer 32 may be used as the pattern layer 40, and the second receiving layer 33 on which a thermal transfer image is formed as shown in FIG.
  • the pattern layer 40 may be used, and as illustrated in FIG. 5C, the pattern layer 40 may be a laminate of the hologram layer 32 and the second receiving layer 33 from the base material 31 side. Further, the pattern layer 40 may be formed directly on the base material 31 without providing the second receiving layer 33 instead of the form shown in FIG.
  • the second receiving layer 33 in FIG. 5C is a receiving layer before the thermal transfer image is formed, but may be a receiving layer on which the thermal transfer image is formed in advance.
  • the second receiving layer 33 is not limited in any way, and a conventionally known layer can be appropriately selected and used as the receiving layer of the thermal transfer image receiving sheet.
  • the receiving layer 2 described for the thermal transfer sheet 100 of the above-described embodiment can be used as it is.
  • the hologram layer 32 for example, a layer provided with a concavo-convex pattern (interference fringes) or a sheet on which a commercially available hologram is formed may be used. Colored ones can also be used.
  • 5A to 5C are schematic sectional views of the thermal transfer image receiving sheet of one embodiment.
  • the concealing layer 4 and the intermediate layer 3 described in the thermal transfer sheet of the above embodiment can be applied as they are.
  • the first receiving layer 2 the receiving layer 2 described in the thermal transfer sheet of the above-described embodiment can be applied as it is.
  • thermo transfer image receiving sheet 200 of one embodiment for example, using the thermal transfer sheet 100 of one embodiment described above, on the base material 31 provided with the pattern layer 40 on the surface, A method of transferring the transfer layer 10 of the thermal transfer sheet 100 so as to expose a part of the surface of the pattern layer 40 and forming a thermal transfer image on the transferred transfer layer 10 can be exemplified.
  • a printed material includes a transfer object provided with a pattern layer, a receiving layer, an intermediate layer containing inorganic particles, and a concealment from the substrate side on the same surface of the substrate.
  • a transfer layer in which the layers are laminated in this order, a dye primer layer containing inorganic particles, and a dye layer laminate in which the dye layers are laminated in this order are provided in the surface order from the base material side.
  • the process of preparing the thermal transfer sheet and the transfer layer of the thermal transfer sheet prepared in the preparation process are transferred onto the pattern layer of the transfer target prepared in the preparation process so that a part of the surface of the pattern layer is exposed. And a step of forming a thermal transfer image on the transfer layer transferred onto the pattern layer using the dye layer included in the laminate of the thermal transfer sheet prepared in the preparation step.
  • thermo transfer sheet In this process, the receiving layer, the intermediate layer containing inorganic particles, and the concealing layer are laminated in this order from the substrate side on the same surface of the substrate to which the pattern layer is provided and the substrate. Preparing a thermal transfer sheet in which a transfer layer, a dye primer layer containing inorganic particles, and a dye layer laminate in which the dye layers are laminated in this order are provided in the order of the substrate from the substrate side. is there.
  • Examples of the transfer target provided with a pattern layer include a transfer target provided with a pattern layer on a substrate.
  • the substrate 31 and the pattern layer 40 described in the thermal transfer image-receiving sheet 200 of the above-described embodiment may be appropriately selected to form a transfer body provided with a pattern layer on the substrate.
  • the pattern layer 40 also includes a pattern layer 40 that becomes a pattern by finally forming a thermal transfer image.
  • the pattern layer 40 may be a receiving layer before the thermal transfer image is formed.
  • plain paper, high-quality paper, tracing paper, plastic film, vinyl chloride, vinyl chloride-vinyl acetate copolymer, plastic card mainly composed of polycarbonate, and other materials are used as transferred materials.
  • a pattern layer can also be provided on the object to be transferred.
  • the thermal transfer sheet 100A of the other embodiment can be used as it is, and detailed description thereof is omitted here.
  • the transfer layer of the thermal transfer sheet prepared in the same preparation step is transferred onto the pattern layer of the transfer target prepared in the preparation step so that a part of the surface of the pattern layer is exposed. It is a process to do.
  • a thermal transfer image receiving sheet is obtained in which the transfer layer is transferred onto the transfer target provided with the pattern layer. That is, the thermal transfer image receiving sheet of the one embodiment is obtained.
  • the transfer layer can be transferred using a hot stamp method, a heat roll method, or the like. Also, the transfer layer can be transferred by other methods.
  • the foil layer has good foil cut-off and on the transfer target provided with the pattern layer.
  • the transfer layer can be transferred to the surface.
  • This step is a step of forming a thermal transfer image on the receiving layer of the thermal transfer image receiving sheet obtained in the above transfer step using the dye layer constituting the dye layer laminate of the thermal transfer sheet prepared in the above preparing step. It is. By passing through this process, a concealing layer, an intermediate layer, and a receiving layer are provided in this order so that a part of the pattern layer is exposed on the transfer object having the pattern layer, and thermal transfer is performed on the receiving layer. A print with an image formed thereon is obtained.
  • the thermal transfer image can be formed using a heating device such as a thermal head, for example. In addition, a thermal transfer image can be formed using other methods.
  • FIG. 6 is a schematic cross-sectional view showing an example of a printed material 300 formed by the method for forming a printed material according to an embodiment.
  • the pattern layer 40 of the transfer target prepared in the preparation step is the second receiving layer 33 on which the thermal transfer image is formed in advance, the pattern layer 40 provided on the intermediate layer 3 in the step of forming the thermal transfer image.
  • a thermal transfer image is formed on the receiving layer 2, and as shown in FIG. 6A, a part 300 of the pattern layer 40 is concealed by the concealing layer 4, and a printed product 300 is obtained in which the thermal transfer image is formed on the concealing layer. .
  • the pattern layer 40 of the transfer target prepared in the preparation step is the second receiving layer 33 before the thermal transfer image is formed, the surface is exposed in the step of forming the thermal transfer image.
  • a thermal transfer image is formed on the second receiving layer 33 of the transfer target, and a thermal transfer image is formed on the receiving layer 2 provided on the intermediate layer 3, so that a print 300 having the form shown in FIG. Get.
  • the pattern layer 40 is not limited to the illustrated form, and various forms of the pattern layer 40 described in the thermal transfer image receiving sheet 200 of one embodiment can be appropriately selected and used.
  • inorganic particles are contained in both the intermediate layer constituting the transfer layer of the thermal transfer sheet prepared in the preparing step and the dye primer layer constituting the dye layer stack. Therefore, a high-density thermal transfer image can be formed on the receiving layer.
  • a printed product 300 according to an embodiment of the present invention (hereinafter referred to as a printed product according to an embodiment) will be described.
  • a printed product 300 according to an embodiment has a thermal transfer image formed on the first receiving layer 2 of the thermal transfer image receiving sheet 200 according to the embodiment described above. It is characterized by being.
  • an intermediate layer containing inorganic particles is provided between the hiding layer and the receiving layer, so that the print density of the thermal transfer image formed on the receiving layer is high. As a result, the design of the printed material can be improved.
  • part and % are based on mass. Moreover, about the component which has solid content ratio, the value of the mass converted into solid content is shown.
  • Example 1 A polyethylene terephthalate film having a thickness of 5 ⁇ m was used as a base material, and a back layer coating solution having the following composition was applied thereon so as to be 1.0 g / m 2 upon drying to form a back layer.
  • a first receiving layer coating solution 1 having the following composition is applied to the surface of the substrate opposite to the side on which the back layer is provided so as to be 1.0 g / m 2 when dried. Formed.
  • a first intermediate layer was formed by applying a first intermediate layer coating solution 1 having the following composition on the first receiving layer so as to be 0.15 g / m 2 upon drying.
  • a concealing layer coating solution having the following composition is applied onto the first intermediate layer so as to be 2.0 g / m 2 when dried, and a concealing layer is formed on one surface of the substrate.
  • a transfer layer in which a layer, a first intermediate layer, and a concealing layer were laminated in this order was provided, and a thermal transfer sheet of Example 1 in which a back layer was provided on the other surface of the substrate was obtained.
  • Example 2 A thermal transfer sheet of Example 2 was obtained in the same manner as in Example 1 except that the first intermediate layer coating solution 1 was changed to the first intermediate layer coating solution 2 having the following composition.
  • Example 3 A thermal transfer sheet of Example 3 was obtained in the same manner as in Example 1 except that the first intermediate layer coating solution 1 was changed to the first intermediate layer coating solution 3 having the following composition.
  • Example 4 A thermal transfer sheet of Example 4 was obtained in the same manner as in Example 1 except that the first intermediate layer coating solution 1 was changed to the first intermediate layer coating solution 4 having the following composition.
  • Example 5 A thermal transfer sheet of Example 5 was obtained in the same manner as in Example 1 except that the first intermediate layer coating solution 1 was changed to the first intermediate layer coating solution 5 having the following composition.
  • Example 6 A thermal transfer sheet of Example 6 was obtained in the same manner as in Example 1 except that the first intermediate layer coating solution 1 was changed to the first intermediate layer coating solution 6 having the following composition.
  • Dye primer layer coating liquids 1 to 3 having the following composition on one surface of the substrate in the surface order (Example 7 is the dye primer layer coating liquid 1, Example 8 is the dye primer layer) Coating liquid 2, Example 9 uses dye primer layer coating liquid 3, and this coating liquid is applied to a dry amount of 0.15 g / m 2 to form a dye primer layer.
  • a yellow, magenta, and cyan dye layer coating solution having the following composition was applied in a surface sequence so that the dry layer was 0.7 g / m 2, and the yellow dye layer, magenta dye layer, cyan Except that the dye layer was formed, the transfer layer obtained in the same manner as in Example 4 and the dye layer of each color were laminated on the one side of the base material in the same manner as in Example 4.
  • the dye layer laminate is provided in the surface order, and the back layer is provided on the other surface of the substrate. It was to obtain a thermal transfer sheet of Example 7-9.
  • Comparative Example 1 A thermal transfer sheet of Comparative Example 1 was obtained in the same manner as Example 1 except that the first intermediate layer was not formed.
  • Comparative Example 2 A thermal transfer sheet of Comparative Example 2 was obtained in the same manner as in Example 1 except that the first intermediate layer coating solution 1 was changed to the first intermediate layer coating solution A having the following composition.
  • Comparative Example 3 A thermal transfer sheet of Comparative Example 3 was obtained in the same manner as in Example 1 except that the first intermediate layer coating solution 1 was changed to the first intermediate layer coating solution B having the following composition.
  • Comparative Example 4 A thermal transfer sheet of Comparative Example 4 was obtained in the same manner as in Example 1 except that the first intermediate layer coating solution 1 was changed to the first intermediate layer coating solution C having the following composition.
  • ⁇ Creation of transferred object> A polyethylene terephthalate film having a thickness of 25 ⁇ m was used as a substrate, and a coating liquid for hologram layer having the following composition was applied thereon by a gravure coating method so that the coating amount at the time of drying was 2 g / m 2. Then, the coated layer was embossed using a metal plate with hologram interference fringes formed in a concavo-convex shape to give hologram concavo-convexities to form a hologram layer.
  • a reflective layer is formed by vapor-depositing aluminum to a thickness of 30 nm on the surface of the hologram layer where the irregularities are provided, and a hologram sheet is obtained in which the base material, the hologram layer, and the reflective layer are laminated in this order. It was.
  • RC paper STF-150, manufactured by Mitsubishi Paper Industries Co., Ltd., 190 ⁇ m
  • an adhesive layer coating solution having the following composition was applied onto the support by a gravure coating method during drying.
  • the adhesive layer is formed so that the amount is 3.0 g / m 2, and the hologram sheet obtained above is laminated with the adhesive layer so that the reflection layer of the hologram sheet and the support are opposed to each other.
  • a support / adhesive layer / reflection layer / hologram layer / base material) was obtained.
  • a coating solution for the second intermediate layer having the following composition is dried by gravure coating.
  • a second intermediate layer is formed by coating so that the coating amount is 1.2 g / m 2.
  • a second receiving layer coating solution having the following composition is formed by a gravure coating method.
  • ⁇ Second intermediate layer coating solution> Water-dispersed polyester resin (solid content 25%, Tg 20 ° C) 10 parts (Vylonal MD-1480 Toyobo Co., Ltd.) -Conductive synthetic layered silicate (average primary particle size 25 nm) 10 parts (Laponite JS Wilber Ellis) ⁇ Water 80 parts
  • Printing Thermal head KEE-57-12GAN2-STA (manufactured by Kyocera Corporation) Heating element average resistance: 3303 ( ⁇ ) Main scanning direction printing density: 300 dpi Sub-scanning direction printing density: 300 dpi Printing voltage: 18 (V) 1 line cycle: 1.5 (msec.) Printing start temperature: 35 (°C) Pulse duty ratio: 85%
  • ⁇ Print density evaluation> The transfer body prepared above and the thermal transfer sheets of Examples 1 to 9 and Comparative Examples 1 to 4 were used in combination with the above-mentioned printer under the conditions of 180/255 gradation images.
  • the transfer layer was transferred so that a part of the surface of the second receiving layer was exposed on the second receiving layer, and thermal transfer image receiving sheets of Examples 1 to 9 and Comparative Examples 1 to 4 were obtained.
  • the thermal transfer sheet (i) prepared by the following method is combined, and the above-described printer is used to form an image on the first receiving layer of the thermal transfer image-receiving sheet under the condition of 255/255 gradation image. Prints of Examples 1 to 9 and Comparative Examples 1 to 4 were obtained.
  • the thermal transfer sheets of Examples 7 to 9 obtained above were used instead of the thermal transfer sheet (i) prepared by the following method. Specifically, the thermal transfer image receiving sheet of Example 7, the thermal transfer sheet of Example 7, the thermal transfer image receiving sheet of Example 8, the thermal transfer sheet of Example 8, the thermal transfer image receiving sheet of Example 9, and the thermal transfer sheet of Example 9 Were combined to obtain prints of Examples 7 to 9. As shown in Table 1 below, the thermal transfer image-receiving sheets of Examples 1 to 6 were further combined with the thermal transfer sheet (ii) prepared by the following method to form prints of Examples 1 to 6.
  • the density of the images formed on the prints of the respective examples and comparative examples thus obtained was measured with a spectrophotometer (X-Rite, i1), and the density was determined based on the following evaluation criteria. Evaluation was performed. The evaluation results are shown in Table 1. The standard for density evaluation was based on the density of the printed material of Comparative Example 1.
  • thermo transfer sheet (i) A polyethylene terephthalate film having a thickness of 5 ⁇ m was used as a substrate, and a coating solution for the back layer having the above composition was applied thereon so as to be 1.0 g / m 2 upon drying, thereby forming a back layer.
  • the dye primer layer coating solution 4 having the following composition was applied to the other surface of the substrate so as to be 0.15 g / m 2 when dried to form a dye primer layer.
  • the yellow, magenta, and cyan dye layer coating liquids having the above-described composition are applied in a surface order so as to be 0.7 g / m 2 when dried.
  • a cyan dye layer was formed to obtain a thermal transfer sheet (i).
  • thermo transfer sheet (ii) A thermal transfer sheet (ii) was obtained in the same manner as the thermal transfer sheet (i) except that the dye primer layer coating solution 4 was changed to the dye primer layer coating solution 5 having the following composition.
  • ⁇ Evaluation criteria >> A: 110% or more with respect to the reference concentration. ⁇ : 105% or more and less than 110% with respect to the reference concentration. ⁇ : 100% or more and less than 105% with respect to the reference concentration. X: Less than 100% with respect to the reference concentration.
  • SYMBOLS 100, 100A Thermal transfer sheet 1 ... Base material 2 ... Receiving layer, 1st receiving layer 3 ... Intermediate layer 4 ... Concealing layer 10 ... Transfer layer 11 . Dye primer layer DESCRIPTION OF SYMBOLS 12 ... Dye layer 12Y ... Yellow dye layer 12M ... Magenta dye layer 12C ... Cyan dye layer 13 ... Protective layer 20 ... Dye layer laminated body 200 ... Thermal transfer image receiving sheet 31 ..Base material 32 of thermal transfer image receiving sheet ... Hologram layer 33 ... Second receiving layer 40 ... Picture layer

Landscapes

  • Physics & Mathematics (AREA)
  • Optics & Photonics (AREA)
  • Chemical & Material Sciences (AREA)
  • Inorganic Chemistry (AREA)
  • Thermal Transfer Or Thermal Recording In General (AREA)
  • Laminated Bodies (AREA)
  • Impression-Transfer Materials And Handling Thereof (AREA)
PCT/JP2016/062125 2015-04-15 2016-04-15 熱転写シート、熱転写受像シート、印画物の形成方法、及び印画物 Ceased WO2016167351A1 (ja)

Priority Applications (2)

Application Number Priority Date Filing Date Title
US15/566,292 US10286709B2 (en) 2015-04-15 2016-04-15 Thermal transfer sheet, thermal transfer image-receiving sheet, method for forming printed product, and printed product
EP16780142.2A EP3284608B1 (en) 2015-04-15 2016-04-15 Thermal transfer sheet, thermal transfer image-receiving sheet, method for forming printed product, and printed product

Applications Claiming Priority (2)

Application Number Priority Date Filing Date Title
JP2015-083546 2015-04-15
JP2015083546 2015-04-15

Publications (1)

Publication Number Publication Date
WO2016167351A1 true WO2016167351A1 (ja) 2016-10-20

Family

ID=57127253

Family Applications (1)

Application Number Title Priority Date Filing Date
PCT/JP2016/062125 Ceased WO2016167351A1 (ja) 2015-04-15 2016-04-15 熱転写シート、熱転写受像シート、印画物の形成方法、及び印画物

Country Status (5)

Country Link
US (1) US10286709B2 (enExample)
EP (1) EP3284608B1 (enExample)
JP (1) JP6075491B2 (enExample)
TW (1) TWI667150B (enExample)
WO (1) WO2016167351A1 (enExample)

Families Citing this family (6)

* Cited by examiner, † Cited by third party
Publication number Priority date Publication date Assignee Title
US10500883B2 (en) * 2016-02-25 2019-12-10 Dai Nippon Printing Co., Ltd. Combination of intermediate transfer sheet and thermal transfer medium, and print forming method
CN108602371B (zh) * 2016-03-18 2020-03-24 大日本印刷株式会社 中间转印介质、中间转印介质与热转印片的组合、以及印刷物的形成方法
KR101835774B1 (ko) * 2017-01-20 2018-03-26 김석호 렌즈 염색 방법
JP7143615B2 (ja) * 2018-03-30 2022-09-29 大日本印刷株式会社 熱転写シートの融着方法
DE102019127734A1 (de) * 2019-10-15 2021-04-15 Leonhard Kurz Stiftung & Co. Kg Transferfolie, Bauteil sowie Verfahren zu deren Herstellung
WO2026043941A1 (en) * 2024-08-21 2026-02-26 Kodak Alaris Llc Thermal donor laminates with alternate polymers and release agents

Citations (8)

* Cited by examiner, † Cited by third party
Publication number Priority date Publication date Assignee Title
JPH05278356A (ja) * 1992-03-31 1993-10-26 Nitto Denko Corp 受像層転写シート
JPH05294081A (ja) * 1992-04-16 1993-11-09 Dainippon Printing Co Ltd 受容層転写シート及びその製造方法
JPH068677A (ja) * 1986-03-20 1994-01-18 Dainippon Printing Co Ltd 受容層一時的キャリヤー
JPH07205560A (ja) * 1994-01-17 1995-08-08 Dainippon Printing Co Ltd 受容層転写シート
JPH08156432A (ja) * 1994-12-01 1996-06-18 Mitsubishi Chem Corp 熱転写記録用シート
JP2002362068A (ja) * 2001-06-11 2002-12-18 Dainippon Printing Co Ltd 印画物形成方法及び印画物
WO2006049221A1 (ja) * 2004-11-02 2006-05-11 Dai Nippon Printing Co., Ltd. 熱転写シート
JP2008155612A (ja) * 2006-09-29 2008-07-10 Dainippon Printing Co Ltd 熱転写シート

Family Cites Families (7)

* Cited by examiner, † Cited by third party
Publication number Priority date Publication date Assignee Title
EP0535718B1 (en) 1986-04-11 1995-08-23 Dai Nippon Insatsu Kabushiki Kaisha Apparatus for forming images on an objective body
JP2655538B2 (ja) 1986-04-11 1997-09-24 大日本印刷株式会社 物品の装飾方法
JP3170899B2 (ja) 1992-10-13 2001-05-28 三菱化学株式会社 熱転写記録用シート
JP2001105747A (ja) * 1999-10-14 2001-04-17 Dainippon Printing Co Ltd 熱転写染料受像シート及び受容層転写シート
JP2002187369A (ja) 2000-12-22 2002-07-02 Dainippon Printing Co Ltd 熱転写受像シート
EP1752307B1 (en) 2004-04-06 2014-04-30 Dai Nippon Printing Co., Ltd. Coloring material receptor sheet with relief layer, and image forming method using it
KR101050862B1 (ko) 2005-12-09 2011-07-20 다이니폰 인사츠 가부시키가이샤 열전사 시트

Patent Citations (8)

* Cited by examiner, † Cited by third party
Publication number Priority date Publication date Assignee Title
JPH068677A (ja) * 1986-03-20 1994-01-18 Dainippon Printing Co Ltd 受容層一時的キャリヤー
JPH05278356A (ja) * 1992-03-31 1993-10-26 Nitto Denko Corp 受像層転写シート
JPH05294081A (ja) * 1992-04-16 1993-11-09 Dainippon Printing Co Ltd 受容層転写シート及びその製造方法
JPH07205560A (ja) * 1994-01-17 1995-08-08 Dainippon Printing Co Ltd 受容層転写シート
JPH08156432A (ja) * 1994-12-01 1996-06-18 Mitsubishi Chem Corp 熱転写記録用シート
JP2002362068A (ja) * 2001-06-11 2002-12-18 Dainippon Printing Co Ltd 印画物形成方法及び印画物
WO2006049221A1 (ja) * 2004-11-02 2006-05-11 Dai Nippon Printing Co., Ltd. 熱転写シート
JP2008155612A (ja) * 2006-09-29 2008-07-10 Dainippon Printing Co Ltd 熱転写シート

Also Published As

Publication number Publication date
EP3284608A4 (en) 2019-01-16
JP2016203628A (ja) 2016-12-08
US10286709B2 (en) 2019-05-14
EP3284608B1 (en) 2020-07-15
TWI667150B (zh) 2019-08-01
TW201702089A (zh) 2017-01-16
EP3284608A1 (en) 2018-02-21
JP6075491B2 (ja) 2017-02-08
US20180079245A1 (en) 2018-03-22

Similar Documents

Publication Publication Date Title
JP6075491B2 (ja) 熱転写シート、熱転写受像シート、印画物の形成方法、及び印画物
WO2017159805A1 (ja) 印画物の形成方法、熱転写シート、及び熱転写シートと中間転写媒体との組合せ
JP6536121B2 (ja) 熱転写受像シート用支持体および熱転写受像シートならびにそれらの製造方法
JP6384519B2 (ja) 熱転写シート
JP6930346B2 (ja) 熱転写シート及びこれを用いた印画物の製造方法
JP6315162B2 (ja) 昇華型熱転写シートと中間転写媒体の組合せ、及び印画物の製造方法
JP6720662B2 (ja) 熱転写受像シート、及び印画物
JP2013049189A (ja) 受容層熱転写シート、及びそれを用いた印画物の製造方法
US20210001639A1 (en) Thermal transfer sheet, combination of intermediate transfer medium and thermal transfer sheet, method for producing printed material, and decorative material
WO2016043236A1 (ja) 転写シート
JP6657697B2 (ja) 熱転写シート
JP2018171840A (ja) 熱転写受像シート、熱転写シート、受容層用塗工液、熱転写受像シートの形成方法、及び印画物の形成方法
JP6745052B2 (ja) 積層体およびその製造方法
JP7255727B2 (ja) 熱転写受像シートの製造に用いる熱転写シート
JP2019177665A (ja) 熱転写受像シート、熱転写受像シートの製造に用いる熱転写シート
JP7068608B2 (ja) 熱転写受像シート、熱転写受像シートの製造に用いる熱転写シート
JP6940814B2 (ja) 熱転写シート、印画物の製造方法、及び熱転写シートと保護フィルムとの組合せ
JP2018058225A (ja) 熱転写受像シート、熱転写シート、受容層用塗工液、熱転写受像シートの形成方法、及び印画物の形成方法
JP5885906B2 (ja) 熱転写シート

Legal Events

Date Code Title Description
121 Ep: the epo has been informed by wipo that ep was designated in this application

Ref document number: 16780142

Country of ref document: EP

Kind code of ref document: A1

WWE Wipo information: entry into national phase

Ref document number: 15566292

Country of ref document: US

NENP Non-entry into the national phase

Ref country code: DE

WWE Wipo information: entry into national phase

Ref document number: 2016780142

Country of ref document: EP