WO2016152998A1 - 画像形成装置、及び画像形成方法 - Google Patents

画像形成装置、及び画像形成方法 Download PDF

Info

Publication number
WO2016152998A1
WO2016152998A1 PCT/JP2016/059460 JP2016059460W WO2016152998A1 WO 2016152998 A1 WO2016152998 A1 WO 2016152998A1 JP 2016059460 W JP2016059460 W JP 2016059460W WO 2016152998 A1 WO2016152998 A1 WO 2016152998A1
Authority
WO
WIPO (PCT)
Prior art keywords
medium
unit
drive
conveyance
transport
Prior art date
Legal status (The legal status is an assumption and is not a legal conclusion. Google has not performed a legal analysis and makes no representation as to the accuracy of the status listed.)
Ceased
Application number
PCT/JP2016/059460
Other languages
English (en)
French (fr)
Japanese (ja)
Inventor
博文 齊田
Current Assignee (The listed assignees may be inaccurate. Google has not performed a legal analysis and makes no representation or warranty as to the accuracy of the list.)
Fujifilm Corp
Original Assignee
Fujifilm Corp
Priority date (The priority date is an assumption and is not a legal conclusion. Google has not performed a legal analysis and makes no representation as to the accuracy of the date listed.)
Filing date
Publication date
Application filed by Fujifilm Corp filed Critical Fujifilm Corp
Publication of WO2016152998A1 publication Critical patent/WO2016152998A1/ja
Priority to US15/712,540 priority Critical patent/US10207525B2/en
Anticipated expiration legal-status Critical
Ceased legal-status Critical Current

Links

Images

Classifications

    • BPERFORMING OPERATIONS; TRANSPORTING
    • B41PRINTING; LINING MACHINES; TYPEWRITERS; STAMPS
    • B41JTYPEWRITERS; SELECTIVE PRINTING MECHANISMS, i.e. MECHANISMS PRINTING OTHERWISE THAN FROM A FORME; CORRECTION OF TYPOGRAPHICAL ERRORS
    • B41J11/00Devices or arrangements  of selective printing mechanisms, e.g. ink-jet printers or thermal printers, for supporting or handling copy material in sheet or web form
    • B41J11/36Blanking or long feeds; Feeding to a particular line, e.g. by rotation of platen or feed roller
    • B41J11/42Controlling printing material conveyance for accurate alignment of the printing material with the printhead; Print registering
    • BPERFORMING OPERATIONS; TRANSPORTING
    • B41PRINTING; LINING MACHINES; TYPEWRITERS; STAMPS
    • B41JTYPEWRITERS; SELECTIVE PRINTING MECHANISMS, i.e. MECHANISMS PRINTING OTHERWISE THAN FROM A FORME; CORRECTION OF TYPOGRAPHICAL ERRORS
    • B41J13/00Devices or arrangements of selective printing mechanisms, e.g. ink-jet printers or thermal printers, specially adapted for supporting or handling copy material in short lengths, e.g. sheets
    • B41J13/02Rollers
    • B41J13/076Construction of rollers; Bearings therefor
    • BPERFORMING OPERATIONS; TRANSPORTING
    • B41PRINTING; LINING MACHINES; TYPEWRITERS; STAMPS
    • B41JTYPEWRITERS; SELECTIVE PRINTING MECHANISMS, i.e. MECHANISMS PRINTING OTHERWISE THAN FROM A FORME; CORRECTION OF TYPOGRAPHICAL ERRORS
    • B41J13/00Devices or arrangements of selective printing mechanisms, e.g. ink-jet printers or thermal printers, specially adapted for supporting or handling copy material in short lengths, e.g. sheets
    • B41J13/0009Devices or arrangements of selective printing mechanisms, e.g. ink-jet printers or thermal printers, specially adapted for supporting or handling copy material in short lengths, e.g. sheets control of the transport of the copy material
    • B41J13/0027Devices or arrangements of selective printing mechanisms, e.g. ink-jet printers or thermal printers, specially adapted for supporting or handling copy material in short lengths, e.g. sheets control of the transport of the copy material in the printing section of automatic paper handling systems
    • BPERFORMING OPERATIONS; TRANSPORTING
    • B41PRINTING; LINING MACHINES; TYPEWRITERS; STAMPS
    • B41JTYPEWRITERS; SELECTIVE PRINTING MECHANISMS, i.e. MECHANISMS PRINTING OTHERWISE THAN FROM A FORME; CORRECTION OF TYPOGRAPHICAL ERRORS
    • B41J13/00Devices or arrangements of selective printing mechanisms, e.g. ink-jet printers or thermal printers, specially adapted for supporting or handling copy material in short lengths, e.g. sheets
    • B41J13/02Rollers
    • B41J13/03Rollers driven, e.g. feed rollers separate from platen
    • BPERFORMING OPERATIONS; TRANSPORTING
    • B41PRINTING; LINING MACHINES; TYPEWRITERS; STAMPS
    • B41JTYPEWRITERS; SELECTIVE PRINTING MECHANISMS, i.e. MECHANISMS PRINTING OTHERWISE THAN FROM A FORME; CORRECTION OF TYPOGRAPHICAL ERRORS
    • B41J13/00Devices or arrangements of selective printing mechanisms, e.g. ink-jet printers or thermal printers, specially adapted for supporting or handling copy material in short lengths, e.g. sheets
    • B41J13/10Sheet holders, retainers, movable guides, or stationary guides
    • BPERFORMING OPERATIONS; TRANSPORTING
    • B41PRINTING; LINING MACHINES; TYPEWRITERS; STAMPS
    • B41JTYPEWRITERS; SELECTIVE PRINTING MECHANISMS, i.e. MECHANISMS PRINTING OTHERWISE THAN FROM A FORME; CORRECTION OF TYPOGRAPHICAL ERRORS
    • B41J29/00Details of, or accessories for, typewriters or selective printing mechanisms not otherwise provided for
    • B41J29/38Drives, motors, controls or automatic cut-off devices for the entire printing mechanism
    • BPERFORMING OPERATIONS; TRANSPORTING
    • B65CONVEYING; PACKING; STORING; HANDLING THIN OR FILAMENTARY MATERIAL
    • B65HHANDLING THIN OR FILAMENTARY MATERIAL, e.g. SHEETS, WEBS, CABLES
    • B65H11/00Feed tables
    • B65H11/002Feed tables incorporating transport belts
    • BPERFORMING OPERATIONS; TRANSPORTING
    • B65CONVEYING; PACKING; STORING; HANDLING THIN OR FILAMENTARY MATERIAL
    • B65HHANDLING THIN OR FILAMENTARY MATERIAL, e.g. SHEETS, WEBS, CABLES
    • B65H20/00Advancing webs
    • B65H20/02Advancing webs by friction roller
    • BPERFORMING OPERATIONS; TRANSPORTING
    • B65CONVEYING; PACKING; STORING; HANDLING THIN OR FILAMENTARY MATERIAL
    • B65HHANDLING THIN OR FILAMENTARY MATERIAL, e.g. SHEETS, WEBS, CABLES
    • B65H5/00Feeding articles separated from piles; Feeding articles to machines
    • B65H5/06Feeding articles separated from piles; Feeding articles to machines by rollers or balls, e.g. between rollers
    • B65H5/062Feeding articles separated from piles; Feeding articles to machines by rollers or balls, e.g. between rollers between rollers or balls
    • BPERFORMING OPERATIONS; TRANSPORTING
    • B65CONVEYING; PACKING; STORING; HANDLING THIN OR FILAMENTARY MATERIAL
    • B65HHANDLING THIN OR FILAMENTARY MATERIAL, e.g. SHEETS, WEBS, CABLES
    • B65H5/00Feeding articles separated from piles; Feeding articles to machines
    • B65H5/36Article guides or smoothers, e.g. movable in operation
    • BPERFORMING OPERATIONS; TRANSPORTING
    • B41PRINTING; LINING MACHINES; TYPEWRITERS; STAMPS
    • B41JTYPEWRITERS; SELECTIVE PRINTING MECHANISMS, i.e. MECHANISMS PRINTING OTHERWISE THAN FROM A FORME; CORRECTION OF TYPOGRAPHICAL ERRORS
    • B41J2/00Typewriters or selective printing mechanisms characterised by the printing or marking process for which they are designed
    • B41J2/005Typewriters or selective printing mechanisms characterised by the printing or marking process for which they are designed characterised by bringing liquid or particles selectively into contact with a printing material
    • B41J2/01Ink jet
    • B41J2/015Ink jet characterised by the jet generation process
    • B41J2/04Ink jet characterised by the jet generation process generating single droplets or particles on demand
    • BPERFORMING OPERATIONS; TRANSPORTING
    • B65CONVEYING; PACKING; STORING; HANDLING THIN OR FILAMENTARY MATERIAL
    • B65HHANDLING THIN OR FILAMENTARY MATERIAL, e.g. SHEETS, WEBS, CABLES
    • B65H2402/00Constructional details of the handling apparatus
    • B65H2402/30Supports; Subassemblies; Mountings thereof
    • BPERFORMING OPERATIONS; TRANSPORTING
    • B65CONVEYING; PACKING; STORING; HANDLING THIN OR FILAMENTARY MATERIAL
    • B65HHANDLING THIN OR FILAMENTARY MATERIAL, e.g. SHEETS, WEBS, CABLES
    • B65H2403/00Power transmission; Driving means
    • B65H2403/20Belt drives
    • BPERFORMING OPERATIONS; TRANSPORTING
    • B65CONVEYING; PACKING; STORING; HANDLING THIN OR FILAMENTARY MATERIAL
    • B65HHANDLING THIN OR FILAMENTARY MATERIAL, e.g. SHEETS, WEBS, CABLES
    • B65H2403/00Power transmission; Driving means
    • B65H2403/50Driving mechanisms
    • B65H2403/55Tandem; twin or multiple mechanisms, i.e. performing the same operation
    • BPERFORMING OPERATIONS; TRANSPORTING
    • B65CONVEYING; PACKING; STORING; HANDLING THIN OR FILAMENTARY MATERIAL
    • B65HHANDLING THIN OR FILAMENTARY MATERIAL, e.g. SHEETS, WEBS, CABLES
    • B65H2403/00Power transmission; Driving means
    • B65H2403/80Transmissions, i.e. for changing speed
    • B65H2403/82Variable speed drive units
    • B65H2403/821Variable speed drive units friction
    • BPERFORMING OPERATIONS; TRANSPORTING
    • B65CONVEYING; PACKING; STORING; HANDLING THIN OR FILAMENTARY MATERIAL
    • B65HHANDLING THIN OR FILAMENTARY MATERIAL, e.g. SHEETS, WEBS, CABLES
    • B65H2404/00Parts for transporting or guiding the handled material
    • B65H2404/10Rollers
    • B65H2404/14Roller pairs

Definitions

  • the present invention relates to an image forming apparatus and an image forming method, and more particularly to a medium conveying technique in an image forming apparatus capable of both image formation on a roll-shaped medium and image formation on a plate-shaped medium.
  • a so-called wide format printer apparatus is known as an image forming apparatus that forms an image on a roll-shaped medium in which a long medium is wound into a roll.
  • a medium drawn from a roll is sandwiched between a grid roller and a pinch roller, and the grid roller is rotated to convey the medium.
  • the image forming apparatus realizes high image quality by conveying a medium with high accuracy.
  • an image forming apparatus applicable to a plate-shaped medium is called a hybrid type.
  • Patent Document 1 describes an image forming apparatus that transports a transport plate carrying a thick plate-like medium such as wood by a grid roller.
  • the image forming apparatus described in Patent Document 1 forms an image on a thick plate-like medium such as wood by connecting conveyance tables before and after the machine body.
  • medium and “image forming apparatus” in this specification correspond to “recording medium” and “printer” in Patent Document 1, respectively.
  • the hybrid type image forming apparatus has a plate-like medium such as an aluminum plate, a glass plate, or a wood plate having a thickness of about several millimeters to tens of millimeters and a weight of about several kilograms to tens of kilograms.
  • a plate-like medium such as an aluminum plate, a glass plate, or a wood plate having a thickness of about several millimeters to tens of millimeters and a weight of about several kilograms to tens of kilograms.
  • it can be applied to media conveyance using a roller pair composed of a grid roller and a pinch roller applied to a conventionally known hybrid type image forming apparatus.
  • the weight or thickness of the medium is limited.
  • the image forming apparatus described in Patent Document 1 is configured to convey a medium using a grid roller, and has a medium weight limit or a medium thickness limit.
  • a medium exceeding the weight limit or a medium exceeding the thickness limit is used, it is difficult to obtain a desired image quality due to the occurrence of the above-described shift in the transport position of the medium.
  • the present invention has been made in view of such circumstances, and in image formation in which a medium is conveyed with a medium sandwiched between a pair of rollers, image formation that can cope with a medium exceeding the conveyance limit of the roller pair.
  • An object is to provide an apparatus and an image forming method.
  • the image forming apparatus includes a first conveying unit that conveys the medium by sandwiching the medium between the first roller and the second roller and driving at least one of the first roller and the second roller. And image forming means for forming an image on the conveyed medium, and first driving means for driving at least one of the first roller and the second roller, and at least one of the first roller and the second roller A first driving means having a first driving means connected to at least one of the first roller and the second roller via the first connecting means; A first drive control means for controlling the drive of one drive means, a drive signal output means for outputting a drive signal applied to the drive control of the first drive means, an upstream side of the image forming means in the medium transport direction, and Downstream A second conveying means arranged at least in one of the two, a second conveying means for assisting the conveyance of the medium by the first conveying means, a second driving means for driving the second conveying means, and a second driving means Second drive control means for controlling the drive of the motor, and drive signal transmission means
  • the medium transport by the first transport unit can be assisted using the second transport unit. Since the second drive means for driving the second transport means is driven and controlled using a drive signal applied to the drive control of the first drive means for driving the first transport means, the first transport means and the second transport means The medium transport can be realized in synchronization with each other.
  • a medium fixing plate to which the medium is fixed is provided, and the second conveying unit is provided on the upstream side and the downstream side of the image forming unit in the medium conveying direction.
  • the fixed plate can be configured to have a length that extends over the second conveying unit provided on the upstream side and the downstream side of the image forming unit in the medium conveying direction.
  • the position detection means is attached to the medium fixing plate and the position of the medium fixing plate is detected by the position detection means.
  • a mode in which the detection result is applied to the drive control of the second drive unit is preferable.
  • the medium supporting means having a first support surface for supporting the medium in the image forming area of the image forming means and the medium of the second conveying means are supported.
  • Parallelism detection means for detecting parallelism of the second support surface, which is a surface
  • parallelism detection means comprising a light beam irradiation means for irradiating a reference light beam in a plane parallel to the first support surface
  • parallelism The parallelism adjusting means for adjusting the parallelism of the second support surface based on the detection result of the degree detecting means can be provided.
  • the parallelism between the first support surface on which the medium is supported and the second support surface in the image forming area by the image forming unit can be maintained in a certain range, and the twist of the medium being transported can be maintained. Transport errors such as are prevented.
  • the fourth aspect may be configured such that in the image forming apparatus according to the third aspect, the parallelism detecting means detects the warp of the medium supported by the second support surface.
  • the fourth aspect it is possible to grasp the warp of the medium.
  • the collision between the medium and the image forming unit is prevented by adjusting the distance between the first support surface and the image forming unit in accordance with the degree of warping of the medium.
  • the image forming unit includes a head that forms an image on a medium, and a scanning unit that scans the head in a direction orthogonal to the medium conveyance direction.
  • the light beam irradiating means may be arranged on the scanning means.
  • the fifth aspect it is possible to detect the degree of parallelism and the warp of the medium in the entire scanning range of the head by arranging the light irradiation unit in the scanning unit.
  • a sixth aspect is the image forming apparatus according to any one of the first aspect to the fifth aspect, wherein the drive signal output means is an encoder attached to the first drive source, and the drive signal transmission means is output from the encoder. The pulse signal thus transmitted can be transmitted to the second drive control means.
  • the drive control of the second drive means synchronized with the drive of the first drive means becomes possible.
  • the drive signal transmission means includes a first drive signal transmission wiring for transmitting the drive signal output from the encoder, and a drive signal output provided in the first drive control means.
  • a drive signal output terminal connected to the first drive signal transmission wiring; a second drive signal transmission wiring connected to the drive signal output terminal; and a drive signal input terminal provided in the second drive control means.
  • a drive signal input terminal connected to the second drive signal transmission wiring.
  • the drive signal is transmitted from the first drive means to the second drive control means via the first drive control means.
  • the drive signal transmission means includes a first drive signal transmission wiring for transmitting the drive signal output from the encoder, and a drive signal input terminal provided in the second drive control means. And a drive signal input terminal connected to the first drive signal transmission wiring.
  • the drive signal is transmitted directly from the first drive means to the second drive control means.
  • the second driving unit is connected to the second conveying unit via the second coupling unit and the second coupling unit.
  • a second drive source coupled to the second transport means, and a second drive source that is driven and controlled by the second drive control means based on the drive signal.
  • the second connecting means may include a speed reducer.
  • the second connecting means includes a continuously variable variable speed reducer configured such that the reduction ratio can be adjusted steplessly, and the second drive control means is continuously variable. It can be set as the structure which adjusts the reduction ratio of a reduction gear.
  • the reduction ratio of the second drive means can be varied steplessly.
  • the second drive control unit controls driving of the second drive source in accordance with a reduction ratio to be set for the second drive source based on the drive signal. It can be configured.
  • the reduction ratio of the second drive means can be varied steplessly by drive control.
  • a twelfth aspect is the image forming apparatus according to any one of the first to eleventh aspects, wherein the first conveying means, the first driving means, the first drive control means, the image forming means, and the driving signal output means are the main body.
  • the second transport means, the second drive means, and the second drive control means are configured as optional devices, and when the optional device is used, the drive signal is transmitted to the second drive signal using the drive signal transmitting means. It can be configured to be transmitted to the control means.
  • the medium below the transport limit of the first transport unit when a medium below the transport limit of the first transport unit is applied, the medium below the transport limit of the first transport unit is used without attaching the optional device or removing the optional device. Image formation is possible.
  • the image forming apparatus includes a medium conveyance control parameter setting unit that sets a medium conveyance control parameter applied to the second drive control unit. be able to.
  • the medium conveyance control parameter setting unit is a correction coefficient for the conveyance acceleration of the second conveyance unit with respect to the medium conveyance acceleration of the first conveyance unit, and is a value exceeding zero. It can be set as the structure which sets the conveyance acceleration correction coefficient by which the value of less than 1 is set.
  • slippage between the second transport unit and the medium is prevented, and a transport position shift of the medium when the medium is sent from the second transport unit to the first transport unit is prevented.
  • the medium conveyance control parameter setting unit precedes the medium conveyance start timing of the second conveyance unit with respect to the medium conveyance start timing of the first conveyance unit. It can be set as the structure which sets the conveyance start preceding period showing a period.
  • the conveyance start position of the medium when the medium is sent from the second conveyance unit to the first conveyance unit is preceded by the drive start of the second conveyance unit with respect to the drive start of the first conveyance unit. Is prevented.
  • the medium conveyance control parameter setting unit is a second conveyance unit that starts correcting the medium conveyance speed of the second conveyance unit. It can be set as the structure which sets the correction start conveyance speed which is a conveyance speed.
  • the conveyance position deviation of the medium when the medium is sent from the second conveyance means to the first conveyance means is prevented.
  • the medium conveyance control parameter setting unit corrects a value obtained by multiplying a maximum value of the medium conveyance speed by the first conveyance unit by a coefficient greater than 0 and less than 1. It can be set as this.
  • the medium conveying speed of the second conveying means can be made slower than the medium conveying speed of the first conveying means.
  • the medium conveyance control parameter setting unit is a coefficient that is greater than 0 and less than 1 at the maximum value of the medium conveyance speed by the first conveyance unit. Can be set as the conveyance speed coefficient.
  • the medium transport position when the medium is sent from the second transport unit to the first transport unit by making the medium transport speed of the second transport unit slower than the medium transport speed of the first transport unit. Misalignment is prevented.
  • a nineteenth aspect is a reference potential connection for electrically connecting the reference potential of the first drive control means and the reference potential of the second drive control means in the image forming apparatus according to any one of the first aspect to the eighteenth aspect. It can be set as the structure provided with wiring.
  • abnormalities due to static electricity generated by friction between the medium and the second transport means when the medium is transported using the second transport means are prevented.
  • a medium is sandwiched between a first roller and a second roller, and at least one of the first roller and the second roller is driven to convey the medium.
  • the second driving unit is driven and controlled using a signal.
  • matters similar to the matters specified in the second aspect to the nineteenth aspect can be appropriately combined.
  • the means serving as the process or function specified in the image forming apparatus can be grasped as an element of the corresponding process or operation process.
  • the medium transport by the first transport unit can be assisted using the second transport unit. Since the second drive means for driving the second transport means is driven and controlled using a drive signal applied to the drive control of the first drive means for driving the first transport means, the first transport means and the second transport means The medium transport can be realized in synchronization with each other.
  • FIG. 1 is an overall configuration diagram of an ink jet recording apparatus according to a first embodiment of the present invention.
  • FIG. 2 is an explanatory diagram schematically showing a medium conveyance configuration in the ink jet recording apparatus shown in FIG.
  • FIG. 3 is an explanatory view schematically showing another medium conveyance configuration in the ink jet recording apparatus shown in FIG.
  • FIG. 4 is a block diagram of a control system of the ink jet recording apparatus shown in FIG.
  • FIG. 5 is an explanatory diagram of a modification of the drive signal transmission of the first motor.
  • FIG. 6 is a plan perspective view showing a schematic configuration of the image forming unit.
  • FIG. 7A is a plan view of the nozzle surface showing the nozzle arrangement of the inkjet head.
  • FIG. 7B is a plan view of the nozzle surface showing another nozzle arrangement of the inkjet head.
  • FIG. 8 is a cross-sectional view showing the three-dimensional structure of the inkjet head.
  • FIG. 9 is a block diagram showing the configuration of the ink supply system.
  • FIG. 10 is a flowchart showing a control flow of the image forming method according to the second embodiment of the present invention.
  • FIG. 11 is an explanatory diagram illustrating the relationship between the transport control of the first transport unit and the transport control of the second transport unit in order to eliminate transport unevenness between the first transport unit and the second transport unit.
  • FIG. 12 shows the relationship between the transport control of the first transport unit and the transport control of the second transport unit in order to eliminate transport unevenness between the first transport unit and the second transport unit when a rigid medium is used. It is explanatory drawing.
  • FIG. 13 is an explanatory diagram of the effect of the conveyance control.
  • FIG. 14A is a top view of the belt-type reduction ratio variable mechanism.
  • FIG. 14B is a side view of the belt-type reduction ratio variable mechanism.
  • FIG. 15A is a top view of the belt-type reduction ratio variable mechanism.
  • FIG. 15B is a side view of the belt-type reduction ratio variable mechanism.
  • FIG. 16A is a top view of the belt-type reduction ratio variable mechanism.
  • FIG. 16B is a side view of the belt-type reduction ratio variable mechanism.
  • FIG. 17 is an explanatory diagram of an electronic reduction ratio variable mechanism.
  • FIG. 18 is a schematic diagram of parallelism detection.
  • FIG. 19 is a side view of the parallelism detection configuration
  • FIG. 1 is an overall configuration diagram of an ink jet recording apparatus according to a first embodiment of the present invention.
  • An ink jet recording apparatus 10 shown in FIG. 1 is an embodiment of an image forming apparatus.
  • the ink jet recording apparatus 10 is a wide format printer that forms a color image on a medium 12 using an ink having a performance of being cured by irradiation with an actinic ray such as ultraviolet rays.
  • image formation using an ink that is cured by irradiating ultraviolet rays is exemplified, but the ink applied to the present invention is not limited to ink that is cured by irradiating ultraviolet rays.
  • an ink that is cured by heating and / or natural drying may be used.
  • Wide format printers are devices that are suitable for image formation over a wide area, such as large posters and commercial wall advertisements.
  • a format corresponding to A3 Nobi or higher is called a wide format.
  • A3 is a paper base paper size based on ISO 216: 2007 (ISO is an abbreviation of International Organization for Standardization)
  • A3 Nobi paper is a certain size on paper larger than A3, that is, A3 paper A margin is provided.
  • the ink jet recording apparatus 10 includes a main body 20 and support legs 22 that support the main body 20.
  • the main body unit 20 scans as the image forming unit 25 a drop-on-demand type inkjet head 24 that ejects ink toward the medium 12, a platen 26 that includes a first support surface 26 ⁇ / b> A that supports the medium 12, and the inkjet head.
  • a guide mechanism 28 that is movably supported in the direction Y, and a carriage 30 that is mounted with the inkjet head 24 and moves along the guide mechanism 28 are provided.
  • the inkjet head 24, the guide mechanism 28, and the carriage 30 are components that constitute an image forming unit 25 that is an aspect of the image forming unit.
  • An ink jet head is an embodiment of a head that forms an image on a medium.
  • the configuration including the guide mechanism 28 and the carriage 30 is an aspect of the scanning unit.
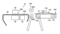
  • the ink jet recording apparatus 10 includes a main body 20 and a first transport unit (not shown in FIG. 1). A first transport unit (not shown in FIG. 1) is shown in FIG.
  • the ink jet recording apparatus 10 includes a second transport unit 170 that assists the medium transport of the first transport unit (not shown in FIG. 1).
  • the first transport unit 150 corresponds to a first transport unit.
  • the second transport unit 170 corresponds to a second transport unit.
  • FIG. 1 illustrates an aspect in which the second transport unit 170 is provided on the upstream side of the image forming unit 25 in the medium transport direction
  • the medium 12 is fixed on a medium fixing plate (not shown in FIG. 1), and the medium fixing plate is moved. Thus, the medium 12 is conveyed.
  • the medium fixing plate is shown in FIG. Details of the first transport unit, the second transport unit, and the medium fixing plate will be described later.
  • a symbol Y is attached in the scanning direction.
  • a reference numeral X is attached to the conveyance direction of the medium 12 orthogonal to the scanning direction Y.
  • the scanning direction is treated as synonymous with the main scanning direction.
  • the conveyance direction of the medium 12 is treated as synonymous with the sub-scanning direction.
  • the conveyance direction of the medium 12 may be described as the medium conveyance direction.
  • the guide mechanism 28 is arranged above the platen 26 so as to extend along the scanning direction Y orthogonal to the medium transport direction X.
  • the guide mechanism 28 is disposed in a plane parallel to the first support surface 26 ⁇ / b> A of the platen 26.
  • orthogonal or vertical are substantially the same as the case of crossing at 90 degrees out of the case of crossing at an angle of more than 90 degrees or of less than 90 degrees. Orthogonal or vertical.
  • parallel in this specification includes substantial parallelism that has the same effect as parallelism although two directions intersect.
  • the same term in this specification includes substantially the same that can obtain the same effect as the same although there is a difference in the target configuration.
  • the carriage 30 is supported so as to be able to reciprocate in the scanning direction Y along the guide mechanism 28.
  • An ink jet head 24 is mounted on the carriage 30.
  • the carriage 30 is also equipped with temporary curing light sources 32A and 32B for irradiating the ink attached to the medium 12 with ultraviolet rays and main curing light sources 34A and 34B.
  • the temporary curing light sources 32A and 32B may be called pinning light sources. Exposure by the temporary curing light sources 32A and 32B may be referred to as temporary curing processing or pinning.
  • the main curing light sources 34A and 34B may be called curing light sources. Exposure by the main curing light sources 34A and 34B may be referred to as main curing processing or curing.
  • the temporary curing light sources 32A and 32B are light sources that irradiate ultraviolet rays that temporarily cure the ink so that the ink droplets adjacent to each other do not coalesce after the ink ejected from the inkjet head 24 has landed on the medium 12. .
  • the ultraviolet rays irradiated from the temporary curing light sources 32A and 32B temporarily cure the ink to the extent that avoids landing interference. Further, the ultraviolet rays irradiated from the temporary curing light sources 32A and 32B temporarily cure the ink to such an extent that the ink spreads sufficiently and developed as dots.
  • the main curing light sources 34 ⁇ / b> A and 34 ⁇ / b> B are light sources that perform additional exposure on the ink that has been subjected to the temporary curing process and irradiate ultraviolet rays that finally cure the ink completely.
  • the inkjet head 24, the temporary curing light source 32 ⁇ / b> A, the temporary curing light source 32 ⁇ / b> B, the main curing light source 34 ⁇ / b> A, and the main curing light source 34 ⁇ / b> B disposed on the carriage 30 move together with the carriage 30 along the guide mechanism 28.
  • an attachment portion 38 for an ink cartridge 36 is provided on the left front surface of the main body portion 20 as viewed from the front.
  • the ink cartridge 36 is a replaceable ink tank that stores ink.
  • a maintenance unit for the inkjet head 24 is provided on the right side of the main unit 20 as viewed from the front.
  • the maintenance unit (not shown) is provided with a cap for keeping the ink jet head 24 in a non-image forming period and a wiping member for cleaning the nozzle surface of the ink jet head 24.
  • the cap for capping the nozzle surface of the inkjet head 24 is provided with an ink receiver for receiving ink ejected from the nozzle for maintenance.
  • the nozzle surface is shown in FIG. 8 with reference numeral 70B.
  • the nozzle surface of the inkjet head 24 may be called an ejection surface or an ink ejection surface.
  • Examples of the wiping member include a blade and a web.
  • FIG. 2 is an explanatory diagram schematically showing a medium conveyance configuration in the ink jet recording apparatus shown in FIG.
  • the inkjet recording apparatus 10 includes a first transport unit 150 and a second transport unit 170 as means for transporting the medium 12.
  • the first conveyance unit 150 sandwiches the medium 12 between a pair of rollers composed of a pinch roller 40A and a grid roller 40B, and drives the grid roller 40B to sandwich the medium 12 between the pinch roller 40A and the grid roller 40B.
  • the medium 12 is conveyed along the medium conveyance direction X.
  • the grid roller 40B and the pinch roller 40A are one mode of the first roller or the second roller.
  • the mode of driving the grid roller 40B is illustrated, but the pinch roller 40A may be driven, or both the grid roller 40B and the pinch roller 40A may be driven.
  • the grid roller 40B has a structure in which a grid having a convex shape is provided on the surface to be brought into contact with the medium 12 or the medium fixing plate 11, and prevents the slip between the medium 12 and the grid roller 40B by the action of the grid. ing. Illustration of the grid is omitted.
  • the first transport unit 150 includes a pinch roller moving mechanism that moves the pinch roller 40A up and down to vary the distance between the pinch roller 40A and the grid roller 40B.
  • the distance between the pinch roller 40A and the grid roller 40B is adjusted according to the thickness of the medium 12 by the pinch roller moving mechanism. Illustration of the pinch roller moving mechanism is omitted.
  • the first drive unit 151 that drives the first transport unit 150 includes a first belt 152, a first gear 154, a second belt 156, a first motor 158, a first drive power transmission wiring 160, and a first motor driver 162. I have.
  • the grid roller 40 ⁇ / b> B of the first transport unit 150 is connected to the first gear 154 via the first belt 152.
  • the first gear 154 is connected to the rotation shaft 159 of the first motor 158 via the second belt 156.
  • the first drive unit 151 corresponds to first drive means.
  • the first belt 152, the first gear 154, and the second belt 156 are one mode of the first connecting means.
  • the first motor 158 is an aspect of the first drive source.
  • the first motor driver 162 is an embodiment of the first drive control means.
  • the reduction ratio of the first gear 154 is determined according to the driving force required for the first transport unit 150, the generated torque of the first motor 158, and the transport speed of the medium 12.
  • the rotational speed and rotational resolution of the first motor 158 are determined according to the transport speed of the medium 12 and the reduction ratio of the first gear 154.
  • the first motor 158 is electrically connected to the driving power output terminal 164 of the first motor driver 162 through the first driving power transmission wiring 160.
  • the driving power output terminal 164 outputs driving power supplied to the first motor 158.
  • An encoder (not shown in FIG. 2) is attached to the first motor 158.
  • the drive signal output from the encoder is transmitted to the drive signal output terminal 166 of the first motor driver 162 via the first drive signal transmission wiring 161.
  • Illustration of the mounting structure between the first motor 158 and the encoder is omitted.
  • the encoder not shown in FIG. 2 corresponds to the first encoder 115 of FIG.
  • Such an encoder is an aspect of the drive signal output means.
  • the first motor driver 162 includes a drive signal output terminal 166 that is electrically connected to the first drive signal transmission wiring 161.
  • the drive signal output terminal 166 is an input terminal for a drive signal sent from the first motor 158 and an output terminal for a drive signal sent to the second motor driver 190.
  • the second transport unit 170 is a transport table that transports the medium 12.
  • the second transport unit 170 includes a conveyor 172 as a means for supporting and transporting the medium 12 or the medium fixing plate 11.
  • the conveyor 172 has a structure in which an endless third belt 178 is wound around a driving roller 174 and a driven roller 176.
  • the medium 12 supported by the third belt 178 is conveyed along the medium conveyance direction X by rotating the driving roller 174 counterclockwise in FIG.
  • the second transport unit 170 corresponds to a second transport unit.
  • the second transport unit 170 has a function of assisting the medium transport by the first transport unit 150.
  • the second transport unit 170, the second drive unit 171 and the second motor driver 190 have a structure that is mechanically separable from the main body unit 20 in which the first transport unit 150 and the like are housed, and are electrically It can be configured as an optional device 21 that can be separated.
  • a dashed line shown in FIG. 2 is a boundary between the main body 20 and the optional device 21.
  • an aluminum plate, a glass plate, or a wood plate having a thickness of about several millimeters to tens of millimeters and a weight of about several kilograms to tens of kilograms And a plate-like medium.
  • examples of the medium 12 exceeding the transport limit of the first transport unit 150 include the medium 12 having a weight exceeding the weight limit or the medium 12 having a thickness exceeding the thickness limit.
  • a medium having a weight exceeding the weight limit of the first transport unit 150 may cause slippage between the medium and the grid roller 40B, and the transport distance of the medium may not correspond to the rotation amount of the grid roller 40B. It is.
  • a medium having a thickness exceeding the thickness limit of the first conveying unit 150 cannot sandwich the medium between the grid roller 40B and the pinch roller 40A, and the medium and the grid roller when the medium is conveyed by the grid roller 40B. This is a medium that may slip with respect to 40B and the conveyance distance of the medium may not correspond to the rotation amount of the grid roller 40B.
  • the second drive unit 171 drives the conveyor 172 shown in FIG.
  • the driving roller 174 of the conveyor 172 is connected to the second gear 182 via the fourth belt 180.
  • the second gear 182 is connected to the rotation shaft 191 of the second motor 186 via the fifth belt 184.
  • the second drive unit 171 corresponds to a second drive unit.
  • the second motor 186 is an aspect of the second drive source.
  • the fourth belt 180, the second gear 182 and the fifth belt 184 are one mode of the second connecting means.
  • the reduction ratio of the second gear 182 is determined according to the driving force required for the second transport unit 170, the torque generated by the second motor 186, and the transport speed of the medium 12.
  • the rotational speed and rotational resolution of the second motor 186 are determined according to the transport speed of the medium 12 by the second transport unit 170 and the reduction ratio of the second gear 182.
  • the second motor 186 is electrically connected to the second drive power output terminal 192 of the second motor driver 190 via the second drive power transmission wiring 188.
  • the second motor driver 190 supplies driving power to the second motor 186 via the second driving power transmission wiring 188.
  • the second motor driver 190 includes a drive signal input terminal 194 for inputting a drive signal output from the drive signal output terminal 166 of the first motor driver 162.
  • the drive signal input terminal 194 of the second motor driver 190 is electrically connected to the drive signal output terminal 166 of the first motor driver 162 via the second drive signal transmission wiring 196.
  • the drive signal is sent to the second motor driver 190 via the first motor driver 162.
  • the second motor driver 190 controls the driving of the second motor 186 based on the driving signal sent from the first motor driver 162.
  • a mode in which the second motor 186 is driven and controlled in synchronization with the driving of the first motor 158 is shown.
  • the drive signal include a two-phase pulse signal that is output from an encoder attached to the rotary shaft 159 of the first motor 158 and synchronized with the rotation of the rotary shaft 159 of the first motor 158.
  • the drive signal is a signal applied to control when driving the grid roller 40B, and is a signal representing the operation of the grid roller 40B or the operation of the first motor 158 that is a drive source of the grid roller 40B.
  • the phase of the A phase signal and the phase of the B phase signal are shifted by 90 degrees.
  • the drive start timing of the first motor 158, the rotation direction of the first motor 158, the drive stop timing of the first motor 158, the rotation speed of the first motor 158, and Parameters such as the rotation speed and the rotation amount of the first motor 158 such as the rotation amount of the first motor 158 can be grasped.
  • the second motor driver 190 controls the driving of the second motor 186 based on the parameter of the first motor 158 acquired from the analysis result of the driving signal.
  • the first motor 158 and the optical encoder are integrated, and a drive signal is sent from the first motor 158 to the first motor driver 162.
  • the first motor driver 162 performs feedback control on the first motor 158 based on the drive signal.
  • the second motor driver 190 acquires the drive signal via the drive signal output terminal 166 and the drive signal input terminal 194 of the first motor driver 162.
  • the drive of the second motor 186 is controlled using the acquired drive signal and information on the reduction ratio of the first gear 154.
  • the second motor driver 190 uses the pulse width modulation applied to the feedback drive control for the first motor 158 for the drive control of the second motor 186, thereby synchronizing the second motor 158 with the drive of the first motor 158.
  • the driving of 186 is controlled.
  • the first drive signal transmission wiring 161, the drive signal output terminal 166 of the first motor driver 162, the drive signal input terminal 194 of the second motor driver 190, and the second drive signal transmission wiring 196 shown in FIG. Constitutes one aspect.
  • the second motor driver 190 receives a drive signal applied to drive control of the first motor 158 that rotates the grid roller 40B, drives the second motor 186,
  • the conveyor 172 which comprises the 2nd conveyance part 170 is driven.
  • the second motor driver 190 is an embodiment of the second drive control means.
  • the medium 12 supported on the conveyor 172 is transported based on a drive signal applied to drive control of the first motor 158 that is a drive source of the first transport unit 150.
  • a medium exceeding the transport limit of the first transport unit 150 can be transported.
  • the platen 26 is arranged on the downstream side of the first transport unit 150 in the medium transport direction X.
  • the platen 26 supports the medium 12 transported by the first transport unit 150 by the first support surface 26A.
  • the platen 26 is an embodiment of the medium support means.
  • a temperature adjustment unit 50 for adjusting the temperature of the medium 12 during image formation is provided on the opposite side of the first support surface 26A of the platen 26 at a position facing the ink jet head 24. ing.
  • the medium 12 during image formation is adjusted to have a predetermined temperature range, the physical property value such as the viscosity or surface tension of the ink that has landed on the medium 12 becomes a desired value, and the desired dot diameter is set. Can be obtained.
  • the pre-temperature control unit 52 may be provided on the upstream side of the temperature control unit 50, or the after-temperature control unit 54 may be provided on the downstream side of the temperature control unit 50.
  • symbol of 26 A of 1st support surfaces is abbreviate
  • the second transport unit 170 is disposed upstream of the first transport unit 150 in the medium transport direction X as a means for assisting the transport of the medium 12 by the first transport unit 150 is illustrated.
  • the second transport unit 170 may be disposed downstream of the first transport unit 150 in the medium transport direction X.
  • FIG. 2 illustrates the second transport unit 170 provided downstream of the first transport unit 150 in the medium transport direction X and downstream of the ink jet head 24 in the medium transport direction X using a dashed line.
  • the second transport unit 170 is provided on both the upstream side and the downstream side of the first transport unit 150 in the medium transport direction X. That is, the second transport unit 170 is disposed at least one of the upstream side in the medium transport direction X by the first transport unit 150 and the downstream side in the medium transport direction X by the first transport unit 150.
  • the second transport unit 170 is provided with a second drive unit 171 and a second motor driver 190 associated therewith.
  • the medium 12 is transported using the medium fixing plate 11.
  • the medium fixing plate 11 extends from the second transport unit 170 disposed on the upstream side of the first transport unit 150 in the medium transport direction X to the downstream side of the first transport unit 150 illustrated by using a dashed line in FIG. It has a length over the second transport unit 170 to be arranged. Details of conveyance of the medium 12 using the medium fixing plate 11 will be described later.
  • the medium fixing plate 11 includes a driving roller 174 of the second transport unit 170 disposed on the upstream side of the first transport unit 150 and a first transport of the second transport unit 170 disposed on the downstream side of the first transport unit 150. It has a length in the medium conveyance direction X that contacts the roller on the part 150 side.
  • the medium fixing plate 11 can be omitted.
  • the mode in which the medium 12 is sandwiched between the pinch roller 40A and the grid roller 40B includes the mode in which the medium 12 is directly sandwiched between the pinch roller 40A and the grid roller 40B, and the pinch roller 40A and the grid roller 40B.
  • a mode in which the medium 12 is sandwiched indirectly with the medium fixing plate 11 that fixes the medium 12 in between may be employed.
  • an aspect of supporting the medium 12 by the first support surface 26A of the platen 26, or an aspect of supporting the medium 12 by the second support surface 172A of the second transport unit 170 an aspect of directly supporting the medium 12 or the medium 12 It is possible to adopt a mode in which the medium 12 is indirectly supported by supporting the medium fixing plate 11 for fixing the medium.
  • FIG. 3 is an explanatory view schematically showing another medium conveyance configuration in the ink jet recording apparatus shown in FIG. 3, the same components as those in FIG. 2 are denoted by the same reference numerals, and description thereof will be omitted as appropriate.
  • illustration of a part of the configuration of the first transport unit 150 is omitted.
  • the ink jet recording apparatus 10A shown in FIG. 3 is obtained by removing the optional device 21 from the ink jet recording apparatus 10 shown in FIG. 2, and is applied to image formation using a roll-shaped medium.
  • the roll-shaped medium shown in FIG. 3 is a long medium, which is a lightweight and thin medium wound in a roll shape.
  • the lightweight medium here is a medium having a weight equal to or less than the weight limit of the first transport unit 150.
  • the thin medium is a medium that is equal to or less than the thickness limit of the first conveyance unit 150, and no slip occurs between the grid roller 40B and the medium when conveyed between the pinch roller 40A and the grid roller 40B. It is a medium.
  • the optional device 21 shown in FIG. 2 is removed or the second transport unit 170 shown in FIG. 2 is not used. As a result, the medium 12 can be transported.
  • the optional device 21 shown in FIG. 2 is removed, the supply-side roll 42 is stored in a supply-side roll storage unit (not shown in FIG. 3), and the take-up roll storage unit (not shown in FIG. 3) is wound up. A state in which the side roll 44 is stored is shown.
  • the medium 12 drawn from the supply-side roll 42 is intermittently conveyed along the medium conveyance direction X by the first conveyance unit 150.
  • the medium 12 that has reached the image forming area immediately below the inkjet head 24 is image-formed by the inkjet head 24.
  • the medium 12 on which the image has been formed passes through the guide 46 and is taken up by the take-up roll 44.
  • a roll-shaped medium is illustrated as the medium below the transport limit of the first transport unit 150, but a single-wafer medium can be applied as the medium below the transport limit of the first transport unit 150.
  • FIG. 4 is a block diagram showing the main configuration of the control system of the inkjet recording apparatus 10. 4, the same components as those illustrated in FIGS. 1 to 3 are denoted by the same reference numerals, and description thereof will be omitted as appropriate.
  • the ink jet recording apparatus 10 includes a control device 102 that functions as a means for comprehensively controlling each part of the apparatus.
  • the controller 102 can be a computer or the like equipped with a central processing unit.
  • the control device 102 functions as an arithmetic device that performs various calculations.
  • the control device 102 includes a conveyance control unit 104, a carriage drive control unit 106, a light source control unit 108, an image processing unit 110, and an ejection control unit 112.
  • Each part which comprises the control apparatus 102 is implement
  • the conveyance control unit 104 sends a command signal to the first motor driver 162 based on the input image data and image forming parameters such as an image forming mode.
  • the first motor driver 162 controls the driving of the first motor 158 based on the command signal sent from the transport control unit 104.
  • the second motor driver 190 is a drive signal output from the first encoder 115 attached to the first motor 158, and a drive signal for controlling the drive of the first motor 158 sent via the first motor driver 162. Based on the above, the operation of the second motor 186 is controlled.
  • the carriage drive control unit 106 shown in FIG. 4 controls driving of the main scanning drive unit 116 that scans the carriage 30 shown in FIG.
  • the main scanning drive unit 116 includes a drive motor connected to a moving mechanism of the carriage 30 and a control circuit thereof.
  • the light source control unit 108 controls on / off of the temporary curing light sources 32A and 32B, the amount of irradiation light, and the like via the temporary curing light source driving circuit 118.
  • the light source control unit 108 controls on / off of the main curing light sources 34A and 34B, the amount of irradiation light, and the like via the main curing light source driving circuit 119.
  • the wavelength band of ultraviolet rays applied to the temporary curing light sources 32A and 32B is determined according to the characteristics of the ink used. Further, the amount of ultraviolet light applied to the temporary curing light sources 32A and 32B is adjusted according to the characteristics of the ink used and the content of the image to be formed.
  • the wavelength band of ultraviolet light applied to the main curing light sources 34A and 34B is determined according to the characteristics of the ink used.
  • the control device 102 is connected to an input device 120, a medium information setting unit 121, and a display device 122.
  • the input device 120 is means for inputting a manual external operation signal to the control device 102.
  • various forms such as a keyboard, a mouse, a touch panel, and operation buttons can be adopted.
  • the medium information setting unit 121 sets information on the medium 12 to be used.
  • the information on the medium 12 includes at least information capable of grasping the weight of the medium 12.
  • Information on the medium 12 set by the medium information setting unit 121 is stored in the information storage unit 124.
  • Information on the medium 12 stored in the information storage unit 124 is applied to medium conveyance control by the conveyance control unit 104.
  • a mode for acquiring the information on the medium 12 a mode in which the information is directly input using an input unit such as the input device 120 or a medium 12 for each type of the medium 12 stored in advance by acquiring information on the type of the medium 12 is obtained. It is possible to apply a mode of reading from the information.
  • an aspect in which the type of the medium 12 is directly input using an input unit such as the input device 120, or an aspect in which the type of the medium 12 is detected using a detection unit such as the sensor 132 can be applied. .
  • the display device 122 may be a liquid crystal display device or the like.
  • the operator can set the image forming mode, set the image forming conditions, input the attached information, or edit the attached information.
  • Various information such as input contents and search results can be obtained. Can be confirmed through the display on the display device 122.
  • the inkjet recording apparatus 10 is provided with an information storage unit 124 for storing various information and an image input interface 126 for taking in image data for image formation.
  • an image input interface a serial interface or a parallel interface may be applied.
  • a buffer memory (not shown) for speeding up communication may be mounted.
  • Image data input via the image input interface 126 is converted into dot data by the image processing unit 110.
  • the dot data is generally generated by performing color conversion processing and halftone processing on multi-tone image data.
  • the color conversion process is, for example, a process of converting image data in which gradation is expressed by 8 bits for each RGB color into color data for each ink color used in the inkjet recording apparatus 10.
  • RGB terms R represents red, G represents green, and B represents blue.
  • the halftone process is a process for converting the color data of each color generated by the color conversion process into dot data of each color by an error diffusion method or a threshold matrix process.
  • Various known means such as an error diffusion method, a dither method, a threshold matrix method, or a density pattern method can be applied as the halftone processing means.
  • the halftone process generally converts M-value gradation image data that is an integer of 3 or more into N-value gradation image data that is an integer less than the M value.
  • the image data is converted into binary dot image data representing dot on / off, but multi-value quantization corresponding to the type of dot size can be performed in the halftone process.
  • the dot data obtained through processing such as color conversion processing and halftone processing is used as ejection control data for controlling the drive or non-drive of each nozzle. Further, when the dot data is multivalued, it is used as ejection control data for controlling the dot size.
  • the ejection control unit 112 generates an ejection control signal for the head driving circuit 128 based on the dot data generated by the image processing unit 110.
  • the head drive circuit 128 generates a drive voltage for the inkjet head 24 based on the ejection control signal sent from the ejection control unit 112, and supplies the drive voltage to the inkjet head 24.
  • the information storage unit 124 stores a program executed by the central processing unit of the control device 102, various data necessary for control, and the like.
  • the information storage unit 124 controls resolution control information according to the image forming mode, feed amount information necessary for controlling the medium conveyance such as the number of passes, and the temporary curing light sources 32A and 32B and the main curing light sources 34A and 34B. Information is stored.
  • the first encoder 115 outputs a two-phase pulse signal as a drive signal.
  • the drive signal output from the first encoder 115 is sent to the second motor driver 190 via the first motor driver 162.
  • a rotary encoder that can be attached to the rotor of the first motor 158 can be applied.
  • the first motor 158 is a linear motor or a linear actuator in which a linear motion mechanism is integrated with a rotary motor, a linear encoder can be applied.
  • the second encoder 130 is attached to a drive motor (not shown) of the main scanning drive unit 116, and outputs a pulse signal corresponding to the rotation amount of the drive motor and the rotation speed of the drive motor.
  • the pulse signal output from the second encoder 130 is sent to the control device 102. Based on the pulse signal output from the second encoder 130, the position of the carriage 30 and the position of the medium 12 shown in FIG.
  • the sensor 132 shown in FIG. 4 includes sensors provided in each part of the apparatus.
  • the parallelism detection sensor which detects the parallelism of the surface which supports the medium 12 of the conveyor 172 shown in FIG. Details of the parallelism detection will be described later.
  • the inkjet recording apparatus 10 includes a pump control unit that controls a pump disposed in the ink flow path and the like, and a valve control unit that controls a valve disposed in the ink flow path and the like.
  • the pump control unit controls the operation of the pump based on a command sent from the control device 102.
  • the pump is illustrated with reference numerals 90 and 97 in FIG.
  • the valve control unit controls the operation of the valve based on a command sent from the control device 102.
  • the valve is shown in FIG.
  • the configuration of the control system is not limited to the configuration shown in FIG.
  • the configuration of the control system can be changed, added, or deleted as appropriate to the configuration shown in FIG.
  • FIG. 5 is an explanatory diagram of a modification of the drive signal transmission of the first motor.
  • the drive signal output from the encoder attached to the first motor 158 is sent from the first motor 158 to the second motor driver 190 via the first drive signal transmission wiring 161A. Is done.
  • the first drive signal transmission wiring 161 ⁇ / b> A that is electrically connected to the encoder attached to the rotating shaft 159 of the first motor 158 does not go through the first motor driver 162, but the drive signal input terminal 194 of the second motor driver 190. And is electrically connected.
  • the ink jet recording apparatus 10B According to the ink jet recording apparatus 10B according to the modified example configured as described above, it is possible to obtain the same functions and effects as those of the ink jet recording apparatus 10 and the image forming method according to the first embodiment.
  • the drive signal is transmitted directly from the first motor 158 to the second motor driver 190 without going through the first motor driver 162, it is expected that the noise resistance performance of the drive signal wiring will be improved.
  • the two-phase pulse signal output from the encoder attached to the first motor 158 is exemplified as the drive signal.
  • the drive signal realizes synchronous driving of the first motor 158 and the second motor 186. Any signal that can be acquired from the first motor 158 or the first motor driver 162 may be used.
  • the second transport unit 170 is disposed on the upstream side in the medium transport direction of the first transport unit 150 illustrated in FIG. 2, and the second transport unit 170 is also disposed on the downstream side of the first transport unit 150 in the medium transport direction.
  • a transport unit 170 is disposed.
  • the medium fixing plate 11 has a length that extends in both the upstream side second transport unit 170 and the downstream side second transport unit 170 in the medium transport direction X.
  • a metal plate can be applied to the medium fixing plate 11.
  • Examples of means for fixing the medium 12 applicable to the medium fixing plate 11 include fixing by suction and fixing by static electricity.
  • the conveyance amount of the medium fixing plate 11 can be accurately grasped, and the output signal is sent from the wire encoder to the first motor driver 162. Accordingly, the first motor driver 162 can perform feedback control of the first motor 158 based on the output signal of the wire encoder.
  • the second motor driver 190 can perform feedback control of the second motor 186 based on the output signal of the wire encoder.
  • the wire encoder is an aspect of the drive signal output means.
  • a linear sensor LMO-AV002-0412-2C00-ARW manufactured by FRABA can be applied as a wire encoder.
  • a transport mechanism using a ball screw, a transport mechanism using a linear motor, and the like can be given.
  • FIG. 6 is a plan perspective view showing a schematic configuration of the image forming unit.
  • the image forming unit 25 shown in FIG. 6 relates to the ink jet recording apparatus 10 shown in FIG. 2, the ink jet recording apparatus 10A shown in FIG. 3, the ink jet recording apparatus 10B shown in FIG.
  • the present invention is applicable to any ink jet recording apparatus to which the image forming method is applied.
  • the image forming unit 25 is mounted on the carriage 30 and scans along the scanning direction Y.
  • the inkjet head 24 includes a white ink head 24W including a nozzle row 61W that discharges white ink.
  • the inkjet head 24 includes a magenta ink head 24M including a nozzle row 61M that discharges magenta ink.
  • the inkjet head 24 includes a light magenta ink head 24Lm including a nozzle row 61Lm that discharges light magenta ink.
  • the inkjet head 24 includes a cyan ink head 24C including a nozzle row 61C that discharges cyan ink.
  • the inkjet head 24 includes a light cyan ink head 24Lc including a nozzle row 61Lc that discharges light cyan ink.
  • the inkjet head 24 includes a yellow ink head 24Y having a nozzle row 61Y that discharges yellow ink.
  • the inkjet head 24 includes a black ink head 24K including a nozzle row 61K that discharges black ink.
  • the inkjet head 24 includes a clear ink head 24CL including a nozzle row 61CL that discharges clear ink.
  • W is used to represent white
  • M is used to represent magenta
  • Lm is used to represent light magenta
  • C is used to represent cyan
  • Lc is used to represent light cyan
  • Y is used. Yellow may be used, K may be used for black, and CL may be used for clear.
  • the nozzle rows are indicated by dotted lines, and individual nozzles are not shown.
  • the reference numeral 61 is used to represent the nozzle rows, and the alphabets representing the colors may be omitted.
  • the ink color types and color combinations are not limited to the present embodiment.
  • the light cyan nozzle row 61Lc, the light magenta nozzle row 61Lm are omitted, the clear ink nozzle row 61CL, the white ink nozzle row 61W are omitted, the metal ink nozzle row is added, the white ink
  • a mode in which a nozzle row of metal ink is provided, a mode in which a nozzle row for discharging special color ink is added, and the like are possible.
  • the arrangement order of the nozzle rows 61 for each color is not particularly limited. However, a configuration in which an ink having a low curing sensitivity to ultraviolet light among a plurality of ink types is disposed on the side close to the temporary curing light source 32A or the temporary curing light source 32B is preferable.
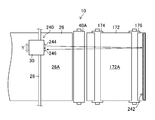
  • each nozzle row 61 a plurality of nozzles are arranged in a row along the medium transport direction X at regular intervals.
  • the nozzle arrangement of the inkjet head 24 an example in which the nozzle arrangement interval in the medium conveyance direction X is 254 micrometers and the number of nozzles constituting one nozzle array 61 is 256 nozzles can be given.
  • the total length Lw of the one nozzle row in the medium transport direction X is about 64.8 millimeters.
  • the inkjet head 24 shown in FIG. 6 can perform ejection at an ejection frequency of 15 kilohertz.
  • a three-stage discharge volume can be used depending on the driving voltage. Examples of three-stage discharge volumes include 10 picoliters, 20 picoliters, and 30 picoliters. The change in the discharge volume can be handled by changing the drive voltage waveform.
  • a multi-pass method is applied to image formation using the inkjet head 24 shown in FIG. Also, exposure control of the temporary curing light sources 32A and 32B and the temporary curing light sources 32A and 32B is performed corresponding to the multi-pass image formation.
  • FIG. 7A is a plan view of the nozzle surface showing the nozzle arrangement of the inkjet head.
  • FIG. 7B is a plan view of the nozzle surface showing another nozzle arrangement of the inkjet head.
  • the nozzle arrangement shown in FIG. 7A and the nozzle arrangement shown in FIG. 7B are the ink jet recording apparatus 10 shown in FIG. 2, the ink jet recording apparatus 10A shown in FIG. 3, the ink jet recording apparatus 10B shown in FIG.
  • the present invention is applicable to any ink jet recording apparatus to which the image forming method according to the second embodiment is applied.
  • FIG. 7A shows the nozzle row 61 for one color as a form constituting one inkjet head 24.
  • the nozzle row 61 for one color has a plurality of nozzles 70 arranged in a row along a direction parallel to the medium transport direction X.
  • Each nozzle 70 communicates with a pressure chamber 72 that stores ink to be ejected.
  • the pressure chamber 72 is indicated by a broken line.
  • the inkjet head 24A shown in FIG. 7B has a structure in which a plurality of nozzles 70 are arranged in a zigzag manner in two rows.
  • FIG. 8 is a cross-sectional view showing the three-dimensional structure of the inkjet head.
  • the three-dimensional structure of the ink jet head shown in FIG. 8 is the same as that of the ink jet recording apparatus 10 shown in FIG. 2, the ink jet recording apparatus 10A shown in FIG. 3, the ink jet recording apparatus 10B shown in FIG.
  • the present invention is applicable to any ink jet recording apparatus to which such an image forming method is applied.
  • FIG. 8 shows the structure for one nozzle.
  • the structure for one nozzle may be read as the structure for one discharge element.
  • the inkjet head 24 employs a piezo jet method in which ink is ejected by deformation of the piezoelectric element 80.
  • the inkjet head 24 As a discharge method of the inkjet head 24, it is also possible to apply a thermal method in which a heater for heating the ink in the pressure chamber 72 is provided and ink is discharged from the nozzles 70 using the ink film boiling phenomenon.
  • the pressure chamber 72 communicates with the nozzle 70 via the nozzle channel 71.
  • the pressure chamber 72 communicates with the common flow path 76 via the supply port 74.
  • the common flow path 76 communicates with the pressure chambers 72 shown in FIG. 8 corresponding to the nozzles 70 constituting the nozzle row 61 shown in FIG. 7A, and supplies ink to each pressure chamber 72. .
  • the diaphragm 78 constituting the ceiling surface of the pressure chamber 72 is provided with a piezoelectric element 80 at a position corresponding to the pressure chamber 72 on the outer surface of the pressure chamber 72.
  • the piezoelectric element 80 has a structure in which a piezoelectric body 86 is sandwiched between the upper electrode 82 and the lower electrode 84, and strain is deformed when a driving voltage is supplied between the upper electrode 82 and the lower electrode 84. And the diaphragm 78 is deformed.
  • the diaphragm 78 When a driving voltage is supplied to the piezoelectric element 80 according to the image data, the diaphragm 78 is deformed to contract the volume of the pressure chamber 72, and a volume of ink corresponding to the decrease in the volume of the pressure chamber 72 is ejected from the nozzle 70. Is done.
  • the strain deformation of the piezoelectric element 80 is restored, so that the pressure chamber 72 is restored to the original shape, and the pressure chamber is connected from the common flow path 76 via the supply port 74. 72 is filled with ink.
  • the nozzle surface 70B of the nozzle plate 70A is lyophilic.
  • the lyophilic treatment include a method of forming one or more non-liquid-repellent layers on at least a part of the nozzle surface 70B of the nozzle plate 70A.
  • the structure of the ink jet head described with reference to FIGS. 6 to 8 is an example, and can be changed, added, or deleted as appropriate.
  • FIG. 9 is a block diagram showing the configuration of the ink supply system.
  • the configuration of the ink supply system shown in FIG. 9 is the same as that of the ink jet recording apparatus 10 shown in FIG. 2, the ink jet recording apparatus 10A shown in FIG. 3, the ink jet recording apparatus 10B shown in FIG.
  • the present invention is applicable to any ink jet recording apparatus to which such an image forming method is applied.
  • the ink stored in the ink cartridge 36 is sucked by the supply pump 90 and sent to the inkjet head 24 through the sub tank 92.
  • the sub tank 92 is provided with a pressure adjusting unit 94 for adjusting the pressure of the ink inside.
  • the pressure adjusting unit 94 includes a pressure increasing / decreasing pump 97 that communicates with the sub tank 92 via the valve 96, and a pressure gauge 98 provided between the valve 96 and the pressure increasing / decreasing pump 97.
  • the pressure increasing / decreasing pump 97 operates in the direction of sucking ink in the sub tank 92, and the internal pressure of the sub tank 92 and the internal pressure of the inkjet head 24 are maintained at a negative pressure.
  • the pressure increasing / decreasing pump 97 operates to pressurize the ink in the sub tank 92, and the inside of the sub tank 92 and the inside of the ink jet head 24 are forcibly pressurized. Ink is discharged through the nozzles.
  • the ink forcibly discharged from the inkjet head 24 is accommodated in an ink receiver of a cap (not shown).
  • the ink jet recording apparatus 10 shown in the present embodiment is adjusted so that the ink temperature is maintained within a certain range in the ink supply system shown in FIG.
  • a temperature sensor and a heater are provided in the ink flow path for supplying ink from the sub tank 92 to the inkjet head 24, and the detection result of the temperature sensor is used.
  • a mode in which the heater is operated based on the above is mentioned.
  • the structure of the ink supply system shown in FIG. 9 is an example, and can be changed, added, or deleted as appropriate.
  • the inkjet recording apparatus 10 shown in the present embodiment employs multi-pass image formation control, and can change the image formation resolution by changing the number of scanning passes. For example, three types of image forming modes, a high production mode, a standard mode, and a high image quality mode, are prepared, and the image forming resolution is different in each mode. An image forming mode can be selected according to the purpose and application of image formation.
  • image formation is executed with a resolution of 600 dots per inch in the main scanning direction and a resolution of 400 dots per inch in the sub-scanning direction.
  • a resolution of 600 dots per inch is realized by two passes that are two scans in the main scanning direction.
  • dots are formed with a resolution of 300 dots per inch.
  • dots are formed so that the middle of the dots formed by the first scan is interpolated at 300 dots per inch, and a resolution of 600 dots per inch is obtained in the main scanning direction. It is done.
  • the nozzle pitch is 100 dots per inch, and dots are formed with a resolution of 100 dots per inch in the sub-scanning direction by one pass that is a single scan. Therefore, a resolution of 400 dots per inch is realized by performing interpolation printing that fills the gap between the nozzle pitches by four passes that are four scans.
  • the main scanning speed of the carriage 30 in the high production mode is 1270 millimeters per second.
  • image formation is executed with a resolution of 600 dots per inch in the main scanning direction and a resolution of 800 dots per inch in the sub scanning direction.
  • the resolution in the main scanning direction is two passes in the main scanning direction and eight passes in the sub scanning direction. Is 600 dots per inch, and the resolution in the sub-scanning direction is 800 dots per inch.
  • image formation is performed with a resolution of 1200 in the main scanning direction and a resolution of 1200 dots per inch in the sub scanning direction, and the main scanning direction has four passes in the main scanning direction and twelve passes in the sub scanning direction.
  • the resolution is 1200
  • the resolution in the sub-scanning direction is 1200 dots per inch.
  • image forming modes exemplified here are merely examples, and image forming modes other than those described above may be provided.
  • ⁇ About swath width by single ring scanning> image forming conditions for shingling are determined for each resolution setting. Specifically, since the shingling image formation is performed by dividing the total length Lw of the nozzle row in the sub-scanning direction by the number of passes, the total length Lw of the nozzle row in the sub-scanning direction, the number of passes in the main scanning direction, The swath width varies depending on the number of passes in the scanning direction.
  • the swath width assumed by image formation is a value obtained by dividing the total length Lw in the sub-scanning direction of the nozzle row to be used by the product of the number of main scanning direction passes and the number of sub-scanning direction passes.
  • the number of nozzles is 256
  • the distance between nozzles is 100 dots per inch
  • the number of passes in the main scanning direction is 2
  • the total length Lw of the nozzle row in the sub-scanning direction is 64.8 millimeters
  • the swath width is a value obtained by dividing the total length Lw of 64.8 millimeters of the nozzle row in the sub-scanning direction by the total number of passes of 8.1. Mm.
  • the conveyance distance in one intermittent conveyance is a swath width.
  • image formation is performed over the entire length Lw of the nozzle row in the sub-scanning direction.
  • the intermittent conveyance of the medium in the sub-scanning direction exemplified here is an example, and conveyance control other than the above may be applied.
  • the first transport unit 150 is used by using the second transport unit 170 when a medium exceeding the transport limit of the first transport unit 150 is used. It is possible to assist in the medium conveyance. Since the second transport unit 170 transports the medium based on a drive signal applied to drive control of the first motor 158 that is a drive source of the first transport unit 150, there is a medium exceeding the transport limit of the first transport unit 150. Even when the medium is used, it is possible to realize the medium conveyance synchronized with the image formation as in the case where the medium below the conveyance limit of the first conveyance unit 150 is used.
  • the optional device 21 including the second transport unit 170, the second drive unit 171 and the second motor driver 190, a medium exceeding the transport limit of the first transport unit 150 is used. In this case, it is easy to perform switching such that the optional device 21 is attached and image formation is performed, and when the medium below the transport limit of the first transport unit 150 is used, the option device 21 is removed and image formation is performed.
  • the medium conveyance is performed using the second conveyance unit 170 that assists the medium conveyance of the first conveyance unit 150, and the medium conveyance control of the second conveyance unit 170 is performed.
  • the conveyance acceleration correction coefficient, the conveyance start preceding period, the correction start conveyance speed, and the conveyance speed correction coefficient are set as the medium conveyance control parameters.
  • the medium transport control parameter setting unit is an aspect of the medium transport control parameter setting unit.
  • the conveyance acceleration correction coefficient is a correction coefficient of the conveyance acceleration of the second conveyance unit 170 with respect to the medium conveyance acceleration of the first conveyance unit 150, and is a value exceeding 0 and a value less than 1. That is, the conveyance acceleration of the second conveyance unit 170 is set to be equal to or less than the conveyance acceleration of the first conveyance unit 150.
  • the conveyance start precedence period is set to a period in which the drive start of the second conveyance unit 170 precedes the drive start timing of the first conveyance unit 150.
  • a value of 0 or more is set for the conveyance start preceding period.
  • the drive start of the second transport unit 170 is preceded by the drive start of the first transport unit 150, thereby preventing the transport position deviation of the medium 12 when the medium is sent from the second transport unit 170 to the first transport unit 150. Is done.
  • the correction start conveyance speed is the medium conveyance speed of the second conveyance unit 170 at which correction of the medium conveyance speed of the second conveyance unit 170 is started, and is a value exceeding 0 and less than 1 for the image forming medium conveyance speed. Calculated by multiplication. For example, if the coefficient for multiplying the image forming medium conveyance speed is 0.9, the second conveyance unit 170 starts from the timing when the medium conveyance speed of the second conveyance unit 170 reaches 90% of the maximum value of the image formation conveyance speed. Correction of the medium conveyance speed is performed.
  • the image formation conveyance speed is the maximum value of the medium conveyance speed when the medium 12 is intermittently conveyed by the first conveyance unit 150 during the period in which image formation is performed.
  • the transport speed coefficient represents the ratio of the transport speed of the second transport unit 170 to the image forming transport speed, and is set to a value exceeding 0 and less than 1 multiplied by the image forming transport speed. That is, the transport speed of the second transport unit 170 is set to be equal to or lower than the transport speed of the first transport unit 150.
  • FIG. 10 is a flowchart showing a control flow of the image forming method according to the second embodiment of the present invention.
  • the control flow of the image forming method according to the second embodiment will be described below while explaining the correspondence relationship with the control system shown in FIG.
  • medium information is set in the medium information setting step S10.
  • information on the medium 12 is set using the medium information setting unit 121 shown in FIG.
  • the medium weight determination step S12 it is determined whether the weight of the medium is equal to or less than the weight limit of the first transport unit 150.
  • Information on the weight of the medium is obtained from the medium information set in the medium information setting step S10.
  • the weight of the medium can be read from a table representing the relationship between the type of medium and the weight of the medium, by grasping the type of medium from the acquired medium information.
  • a table representing the relationship between the medium type and the medium weight is created in advance and stored in the information storage unit 124 of FIG. Yes.
  • a weight detection unit that detects the weight of the medium may be provided in the front stage of the second transport unit 170 shown in FIG. 2, and a detection result by the weight detection unit may be used.
  • the process proceeds to the preceding transport necessity determination step S18.
  • the preceding transport necessity determination step S18 it is determined whether or not the preceding transport is necessary based on the weight of the medium 12.
  • the process proceeds to the conveyance acceleration setting step S22. If the preceding conveyance is necessary, which is YES in the preceding conveyance necessity determination step S18, the process proceeds to the conveyance start preceding period setting step S20.
  • the process proceeds to the warning process S14 in FIG. 10.
  • the warning step S14 a warning that the weight of the medium exceeds the weight limit of the first transport unit 150 shown in FIG. 2 is issued.
  • the process proceeds to the medium non-conveyance end step S16.
  • the end process is executed without transporting the medium 12.
  • the process proceeds to the conveyance acceleration setting step S22.
  • a value obtained by multiplying the conveyance acceleration correction coefficient set in advance by the conveyance acceleration of the first conveyance unit 150 shown in FIG. 2 is set as the conveyance acceleration of the second conveyance unit 170.
  • the conveyance acceleration correction coefficient may be a fixed value or may be changed according to the weight of the medium 12 determined in the medium weight determination step S12 of FIG. Further, the transport acceleration correction coefficient may be changed depending on whether the medium exceeds the weight limit of the first transport unit 150 shown in FIG.
  • the correction start of FIG. In the transport speed determination step S24, it is determined whether or not the transport speed of the second transport unit 170 shown in FIG. 2 has reached the correction start transport speed.
  • the correction start conveyance speed may be a fixed value or may be changed according to the weight of the medium 12 determined in the medium weight determination step S12. Further, the correction start conveyance speed may be changed depending on whether the medium exceeds the weight limit of the first conveyance unit 150 shown in FIG.
  • the second transport unit 170 is determined in the correction start transport speed determination step S24. It is repeatedly determined whether or not the transport speed has reached the correction start transport speed.
  • the process proceeds to the transport speed setting step S26 in FIG. .
  • a value obtained by multiplying the image forming conveyance speed by the conveyance speed correction coefficient is set as the conveyance speed of the second conveyance unit 170 illustrated in FIG.
  • the conveyance speed correction coefficient may be changed depending on whether the medium exceeds the weight limit of the first conveyance unit 150 illustrated in FIG.
  • medium transport control parameters of the second transport unit 170 are not limited to the four types described above, and can be added or deleted as appropriate.
  • FIG. 11 to FIG. 13 are explanatory diagrams of medium conveyance control according to the second embodiment.
  • FIG. 11 is a diagram illustrating the relationship between the elapsed time from the drive start timing of the first transport unit and the second transport unit and the transport speed when the transport acceleration coefficient, the correction start transport speed, and the transport speed correction coefficient are set.
  • FIG. 11 is a diagram illustrating the relationship between the elapsed time from the drive start timing of the first transport unit and the second transport unit and the transport speed when the transport acceleration coefficient, the correction start transport speed, and the transport speed correction coefficient are set.
  • Reference numeral 202 in FIG. 11 represents the relationship between the elapsed period from the drive start timing of the second transport unit 170 shown in FIG. 2 and the medium transport speed.
  • the transport acceleration of the second transport unit 170 illustrated in FIG. 2 is set to 0.8 times the transport acceleration of the first transport unit 150.
  • the correction start conveyance speed is set to 0.9 times the image formation conveyance speed, and the conveyance speed of the second conveyance unit 170 is set to 0.9 times the image formation conveyance speed.
  • FIG. 12 is an explanatory diagram showing the relationship between the elapsed time from the drive start timing of the first transport unit and the second transport unit and the transport speed when the transport start preceding period is set.
  • FIG. 12 shows the relationship between the conveyance speed and the elapsed time from the drive start timing of the first conveyance unit and the second conveyance unit when the conveyance start preceding period is 0.02 seconds. Show.
  • Reference numeral 202 in FIG. 12 represents the relationship between the elapsed period from the drive start timing of the first transport unit 150 shown in FIG. 2 and the medium transport speed, which is the same as FIG.
  • FIG. 13 is an explanatory diagram showing the relationship between the elapsed time from the drive start timing of the first transport unit and the second transport unit and the transport speed in the vicinity of the medium transport stop timing.
  • Reference numeral 200B in FIG. 13 represents the relationship between the elapsed time from the drive start timing of the second transport unit 170 shown in FIG. 2 and the medium transport speed.
  • Reference numeral 202B in FIG. 13 represents the relationship between the elapsed period from the drive start timing of the first transport unit 150 shown in FIG. 2 and the medium transport speed.
  • the drive stop timings of the first transport unit 150 and the second transport unit 170 are matched.
  • a transport acceleration correction coefficient, a transport start preceding period, a correction start transport speed, and a transport speed correction coefficient are set as medium transport control parameters of the second transport unit 170.
  • the medium conveyance start timing of the second conveyance unit 170 is slightly advanced with respect to the medium conveyance start timing of the first conveyance unit 150, and the medium conveyance stop of the first conveyance unit 150 and the second conveyance unit 170
  • the medium conveyance stop of the first conveyance unit 150 and the second conveyance unit 170 By making the medium conveyance stop coincide with each other, uneven conveyance of the medium 12 intermittently conveyed by both the first conveyance unit 150 and the second conveyance unit 170 is prevented, and occurrence of stop position deviation at each stop position is prevented. Is done.
  • a mode in which one type of conveyance acceleration correction coefficient, a conveyance start preceding period, a correction start conveyance speed, and a conveyance speed correction coefficient are set as medium conveyance control parameters is exemplified.
  • a plurality of types of conveyance according to the weight of the medium are exemplified.
  • An acceleration correction coefficient, a conveyance start preceding period, a correction start conveyance speed, and a conveyance speed correction coefficient may be determined, and may be switched as appropriate according to the weight of the medium.
  • the transport acceleration correction coefficient, the transport start preceding period, the correction start transport speed, and the transport speed correction coefficient are set as the medium transport control parameters.
  • the drive control of the second motor 186 that is the drive source of the second transport unit 170 is corrected.
  • the second motor 186 that is a drive source of the second transport unit 170 illustrated in FIG. 2 is controlled by using a drive signal that is applied to the drive control of the first motor 158 that is the drive source of the first transport unit 150. Is done.
  • the second transport unit 170 may reduce the transport speed as compared with the synchronous transport by the drive signal applied to the drive control of the first motor 158. Further, it is preferable that the reduction ratio of the second gear 182 connected to the second transport unit 170 can be adjusted steplessly.
  • a continuously variable variable speed reducer configured to be able to change gears in a stepless manner will be described.
  • FIG. 14A is a top view of the belt-type continuously variable variable speed reducer.
  • FIG. 14B is a side view of the belt type continuously variable variable speed reducer. 14A and 14B show a state where the reduction ratio is at the lower limit of the variable range.
  • the belt-type continuously variable speed reducer 220 includes a belt 222, a first variable diameter pulley 224, and a second variable diameter pulley 226.
  • the first variable diameter pulley 224 and the second variable diameter pulley 226 have a truncated cone shape.
  • the first variable diameter pulley 224 and the second variable diameter pulley 226 are connected with their upper surfaces facing each other.
  • An endless belt 222 is wound around a connecting portion between the first variable diameter pulley 224 and the second variable diameter pulley 226.
  • the member illustrated with reference numeral 228 in FIG. 14B is a pulley connected to the rotating shaft 191 of the second motor 186 shown in FIG.
  • FIG. 15A is a top view of the belt-type continuously variable variable speed reducer.
  • FIG. 15B is a side view of the belt type continuously variable variable speed reducer.
  • 15A and 15B show a state in which the reduction ratio is in the middle of the variable range.
  • the reduction ratio can be relatively increased by reducing the distance between the first variable diameter pulley 224 and the second variable diameter pulley 226.
  • FIG. 16A is a top view of the belt-type continuously variable variable speed reducer.
  • FIG. 16B is a side view of the belt-type continuously variable variable speed reducer. 16A and 16B show a state in which the reduction ratio is at the upper limit of the variable range.
  • variable diameter pulleys 224 and 226 shown in FIGS. 14A to 16B By applying the variable diameter pulleys 224 and 226 shown in FIGS. 14A to 16B to the second gear 182 of FIG. 2, the reduction ratio of the second transport unit 170 with respect to the first transport unit 150 can be varied steplessly. it can.
  • FIG. 17 is an explanatory diagram of an electronic continuously variable reduction mechanism.
  • FIG. 17 is a schematic view of the second gear 182, the fifth belt 184, and the rotation shaft 191 of the second motor 186 viewed from the side, and the rotation shafts of the second gear 182, the fifth belt 184, and the second motor 186.
  • a schematic view of 191 viewed from above is also shown.
  • the electronic continuously variable reduction mechanism shown in FIG. 17 changes the drive of the second motor 186 by applying signal processing to the two-phase pulse signal output from the encoder attached to the first motor 158 as a drive signal. is there.
  • the second motor driver 190 includes a drive signal acquisition unit 190A, a pulse count processing unit 190B, a multiplication processing unit 190C, and a control unit 190D.
  • the drive control of the second motor 186 is changed in accordance with the reduction ratio to be set for the second motor 186.
  • the reduction ratio of the second transport unit 170 to the first transport unit 150 can be adjusted without changing the configuration of the second drive unit 171.
  • FIG. 18 is a schematic diagram of parallelism detection.
  • 18 is a top view of the inkjet recording apparatus 10 shown in FIG.
  • FIG. 19 is a side view of the parallelism detection configuration shown in FIG.
  • the same components as those described above are denoted by the same reference numerals, and description thereof will be omitted as appropriate.
  • the carriage 30 is provided with an optical sensor 240, and a reflection surface 242 of light irradiated from the optical sensor 240 is disposed at the end of the second transport unit 170 on the driven roller 176 side.
  • the optical sensor 240 is reflected in the plane parallel to the first support surface 26 ⁇ / b> A of the platen 26 by the light irradiation unit 244 that irradiates a laser beam as a reference light toward the reflection surface 242 and the reflection surface 242.
  • a light receiving unit 246 for receiving laser light is provided. 18 and 19, the irradiation light and the reflected light are illustrated using arrow lines.
  • the optical sensor 240 and the reflecting surface 242 are constituent elements of one aspect of the parallelism detecting means.
  • the light beam irradiation unit 244 corresponds to a light beam irradiation unit.
  • the second supporting surface 172A of the conveyor 172 is parallel. The degree can be confirmed.
  • a laser sensor E3NC-LH03 manufactured by OMRON Corporation can be applied as the optical sensor 240.
  • the light irradiation unit 244 By arranging the light irradiation unit 244 on the carriage 30, it is possible to detect parallelism for the entire scanning range of the inkjet head 24.
  • the parallelism of the second support surface 172A of the conveyor 172 is adjusted.
  • the amount of deviation from the center value of the parallelism of the second support surface 172A of the conveyor 172 may be calculated and the amount of deviation may be automatically corrected, or the amount of deviation may be displayed and manually adjusted.
  • the configuration for automatically adjusting the parallelism is an aspect of the parallelism adjusting means.
  • the configuration for displaying the shift amount, the operation member that is manually operated, and the parallelism adjustment function are one aspect of the parallelism adjustment means.
  • the height of the optical sensor 240 is the irradiation position of the optical sensor 240 and the distance between the light receiving position and the first support surface 26 ⁇ / b> A of the platen 26.
  • the laser beam is irradiated while the carriage 30 is scanned in the scanning direction Y, and the reflected light from the reflecting surface 242 is received.
  • both the irradiation light and the reflected light are blocked by the floating part of the medium 12, so that the medium is analyzed by analyzing the output signal from the optical sensor 240. It is possible to determine whether there are twelve warps or the like.
  • the distance between the inkjet head 24 and the first support surface 26A of the platen 26 according to the degree of warpage of the medium 12, collision between the inkjet head 24 and the medium 12 is prevented. Further, by arranging the light irradiation unit 244 on the carriage 30, it is possible to detect the warp of the medium 12 in the entire scanning range of the inkjet head 24.
  • a plurality of detection elements are arranged on the reflection surface 242, and based on an output signal obtained from the detection elements, the parallelism of the first support surface 26A of the platen 26, the parallelism of the second support surface 172A of the conveyor 172, the medium 12 It may be configured to determine the presence or absence of warpage or the like, and the position of the medium 12 such as warpage.
  • an optical system such as a lens may be disposed on the entire irradiation surface of the light irradiation unit 244 to adjust the luminous flux, the light diameter, and the like of the irradiation light.
  • the static potential generated by the contact or peeling between the medium and the second transport unit 170 accompanying the transport of the medium becomes the reference potential of the first transport unit 150, the first drive unit 151, and the first motor driver 162. Can escape.
  • the medium is called by various terms such as a recording medium, a recording medium, a printing medium, a printing medium, an image forming medium, an image forming medium, an image receiving medium, a discharge medium, a paper, a recording paper, a printing paper, and a substrate. Is included.

Landscapes

  • Engineering & Computer Science (AREA)
  • Mechanical Engineering (AREA)
  • Ink Jet (AREA)
  • Handling Of Sheets (AREA)
  • Handling Of Cut Paper (AREA)
  • Delivering By Means Of Belts And Rollers (AREA)
PCT/JP2016/059460 2015-03-25 2016-03-24 画像形成装置、及び画像形成方法 Ceased WO2016152998A1 (ja)

Priority Applications (1)

Application Number Priority Date Filing Date Title
US15/712,540 US10207525B2 (en) 2015-03-25 2017-09-22 Image forming apparatus and image forming method

Applications Claiming Priority (2)

Application Number Priority Date Filing Date Title
JP2015-063137 2015-03-25
JP2015063137A JP6214101B2 (ja) 2015-03-25 2015-03-25 画像形成装置、及び画像形成方法

Related Child Applications (1)

Application Number Title Priority Date Filing Date
US15/712,540 Continuation US10207525B2 (en) 2015-03-25 2017-09-22 Image forming apparatus and image forming method

Publications (1)

Publication Number Publication Date
WO2016152998A1 true WO2016152998A1 (ja) 2016-09-29

Family

ID=56977586

Family Applications (1)

Application Number Title Priority Date Filing Date
PCT/JP2016/059460 Ceased WO2016152998A1 (ja) 2015-03-25 2016-03-24 画像形成装置、及び画像形成方法

Country Status (3)

Country Link
US (1) US10207525B2 (enExample)
JP (1) JP6214101B2 (enExample)
WO (1) WO2016152998A1 (enExample)

Cited By (1)

* Cited by examiner, † Cited by third party
Publication number Priority date Publication date Assignee Title
CN108698246A (zh) * 2016-01-23 2018-10-23 卓缤科技贸易公司 刀片分割机校准

Families Citing this family (4)

* Cited by examiner, † Cited by third party
Publication number Priority date Publication date Assignee Title
JP7087507B2 (ja) * 2018-03-19 2022-06-21 株式会社リコー 被搬送物用張力制御装置、被搬送物搬送装置、液体吐出装置、及び画像形成装置
CN110315861B (zh) * 2018-03-28 2022-05-13 精工爱普生株式会社 扫描装置
JP7590845B2 (ja) * 2020-09-30 2024-11-27 キヤノン株式会社 記録装置
JP2023032628A (ja) * 2021-08-27 2023-03-09 国立大学法人 東京大学 セラミックスの製造方法及びセラミックス

Citations (5)

* Cited by examiner, † Cited by third party
Publication number Priority date Publication date Assignee Title
JP2009012909A (ja) * 2007-07-03 2009-01-22 Olympus Corp 画像記録装置
JP2010052282A (ja) * 2008-08-28 2010-03-11 Seiko Epson Corp 印刷装置及び印刷装置における印刷媒体搬送制御方法
JP2011051671A (ja) * 2009-08-31 2011-03-17 Canon Inc インクジェット記録装置
JP2013208744A (ja) * 2012-03-30 2013-10-10 Canon Inc 印刷装置
JP2014197319A (ja) * 2013-03-29 2014-10-16 ブラザー工業株式会社 搬送システム、画像形成システム及び制御デバイス

Family Cites Families (9)

* Cited by examiner, † Cited by third party
Publication number Priority date Publication date Assignee Title
US5162857A (en) * 1987-07-14 1992-11-10 Canon Kabushiki Kaisha Sheet conveyer having a sheet aligner
JPH02301489A (ja) * 1989-04-28 1990-12-13 Ncr Corp 冊子類の頁捲装置
DE69331898T2 (de) * 1992-12-28 2002-10-02 Canon K.K., Tokio/Tokyo Bogenförderapparat
US7099039B2 (en) * 2002-08-22 2006-08-29 Pitney Bowes Inc. Parallel processing high speed printing system for an inserting system
JP2005067104A (ja) 2003-08-27 2005-03-17 Mutoh Ind Ltd プリンタ
JP4525656B2 (ja) * 2006-09-29 2010-08-18 セイコーエプソン株式会社 印刷装置
TWI329570B (en) * 2007-10-08 2010-09-01 Hiti Digital Inc Print media moving apparatus
JP5488790B2 (ja) * 2009-05-20 2014-05-14 セイコーエプソン株式会社 記録装置
JP5445220B2 (ja) * 2010-02-26 2014-03-19 株式会社リコー ロール紙搬送装置およびインクジェットプリンタ

Patent Citations (5)

* Cited by examiner, † Cited by third party
Publication number Priority date Publication date Assignee Title
JP2009012909A (ja) * 2007-07-03 2009-01-22 Olympus Corp 画像記録装置
JP2010052282A (ja) * 2008-08-28 2010-03-11 Seiko Epson Corp 印刷装置及び印刷装置における印刷媒体搬送制御方法
JP2011051671A (ja) * 2009-08-31 2011-03-17 Canon Inc インクジェット記録装置
JP2013208744A (ja) * 2012-03-30 2013-10-10 Canon Inc 印刷装置
JP2014197319A (ja) * 2013-03-29 2014-10-16 ブラザー工業株式会社 搬送システム、画像形成システム及び制御デバイス

Cited By (2)

* Cited by examiner, † Cited by third party
Publication number Priority date Publication date Assignee Title
CN108698246A (zh) * 2016-01-23 2018-10-23 卓缤科技贸易公司 刀片分割机校准
CN108698246B (zh) * 2016-01-23 2021-02-12 卓缤科技贸易公司 刀片分割机校准

Also Published As

Publication number Publication date
US10207525B2 (en) 2019-02-19
US20180009244A1 (en) 2018-01-11
JP2016182689A (ja) 2016-10-20
JP6214101B2 (ja) 2017-10-18

Similar Documents

Publication Publication Date Title
JP6214101B2 (ja) 画像形成装置、及び画像形成方法
JP4770734B2 (ja) インクジェット記録装置
JP5276642B2 (ja) インクジェット記録装置及び画像形成方法
JP4311491B2 (ja) インクジェット記録装置及びインクジェット記録方法
US20120188564A1 (en) Recording method and recording apparatus
US8911052B2 (en) Inkjet recording machine
JP2009178986A (ja) インクジェット記録装置およびヘッド紙間距離検出方法
US7753516B2 (en) Inkjet recording apparatus
JPH11334047A (ja) ライン型インクジェットプリンタ
JP2008284763A (ja) 印刷装置及び印刷方法
JP2004237597A (ja) インクジェット記録装置
JP6542734B2 (ja) 印刷装置及び印刷方法
JP4962004B2 (ja) インクジェット記録装置
JP2018114659A (ja) 液体吐出装置、及び調整パターンの形成方法
JP2010125674A (ja) インクジェット画像記録装置
US10675896B2 (en) Image recording apparatus
JP5832360B2 (ja) インクジェット記録装置
JP4678468B2 (ja) インクジェット式プリンタ用の画像データ処理方法
JP5257032B2 (ja) 印刷装置
JP2005153147A (ja) 記録媒体搬送機構及びインクジェット記録装置
JP2015157459A (ja) プリント装置
JP2014046467A (ja) インクジェット印刷装置
JP2019030967A (ja) 印刷装置、及び印刷方法
JP6546856B2 (ja) インクジェットプリンター
JP2005254574A (ja) 印刷方法、印刷装置及びプログラム

Legal Events

Date Code Title Description
121 Ep: the epo has been informed by wipo that ep was designated in this application

Ref document number: 16768901

Country of ref document: EP

Kind code of ref document: A1

NENP Non-entry into the national phase

Ref country code: DE

122 Ep: pct application non-entry in european phase

Ref document number: 16768901

Country of ref document: EP

Kind code of ref document: A1