JP2014197319A - 搬送システム、画像形成システム及び制御デバイス - Google Patents

搬送システム、画像形成システム及び制御デバイス Download PDF

Info

Publication number
JP2014197319A
JP2014197319A JP2013072750A JP2013072750A JP2014197319A JP 2014197319 A JP2014197319 A JP 2014197319A JP 2013072750 A JP2013072750 A JP 2013072750A JP 2013072750 A JP2013072750 A JP 2013072750A JP 2014197319 A JP2014197319 A JP 2014197319A
Authority
JP
Japan
Prior art keywords
roller
sheet
operation amount
tension
target
Prior art date
Legal status (The legal status is an assumption and is not a legal conclusion. Google has not performed a legal analysis and makes no representation as to the accuracy of the status listed.)
Granted
Application number
JP2013072750A
Other languages
English (en)
Other versions
JP5803969B2 (ja
Inventor
健一 家▲崎▼
Kenichi Yasaki
健一 家▲崎▼
Current Assignee (The listed assignees may be inaccurate. Google has not performed a legal analysis and makes no representation or warranty as to the accuracy of the list.)
Brother Industries Ltd
Original Assignee
Brother Industries Ltd
Priority date (The priority date is an assumption and is not a legal conclusion. Google has not performed a legal analysis and makes no representation as to the accuracy of the date listed.)
Filing date
Publication date
Application filed by Brother Industries Ltd filed Critical Brother Industries Ltd
Priority to JP2013072750A priority Critical patent/JP5803969B2/ja
Priority to US14/069,683 priority patent/US9382084B2/en
Priority to EP13191289.1A priority patent/EP2783875B1/en
Priority to US14/230,298 priority patent/US20140295189A1/en
Publication of JP2014197319A publication Critical patent/JP2014197319A/ja
Application granted granted Critical
Publication of JP5803969B2 publication Critical patent/JP5803969B2/ja
Active legal-status Critical Current
Anticipated expiration legal-status Critical

Links

Images

Classifications

    • BPERFORMING OPERATIONS; TRANSPORTING
    • B65CONVEYING; PACKING; STORING; HANDLING THIN OR FILAMENTARY MATERIAL
    • B65HHANDLING THIN OR FILAMENTARY MATERIAL, e.g. SHEETS, WEBS, CABLES
    • B65H7/00Controlling article feeding, separating, pile-advancing, or associated apparatus, to take account of incorrect feeding, absence of articles, or presence of faulty articles
    • B65H7/02Controlling article feeding, separating, pile-advancing, or associated apparatus, to take account of incorrect feeding, absence of articles, or presence of faulty articles by feelers or detectors
    • B65H7/06Controlling article feeding, separating, pile-advancing, or associated apparatus, to take account of incorrect feeding, absence of articles, or presence of faulty articles by feelers or detectors responsive to presence of faulty articles or incorrect separation or feed
    • BPERFORMING OPERATIONS; TRANSPORTING
    • B32LAYERED PRODUCTS
    • B32BLAYERED PRODUCTS, i.e. PRODUCTS BUILT-UP OF STRATA OF FLAT OR NON-FLAT, e.g. CELLULAR OR HONEYCOMB, FORM
    • B32B27/00Layered products comprising a layer of synthetic resin
    • B32B27/06Layered products comprising a layer of synthetic resin as the main or only constituent of a layer, which is next to another layer of the same or of a different material
    • B32B27/08Layered products comprising a layer of synthetic resin as the main or only constituent of a layer, which is next to another layer of the same or of a different material of synthetic resin
    • BPERFORMING OPERATIONS; TRANSPORTING
    • B32LAYERED PRODUCTS
    • B32BLAYERED PRODUCTS, i.e. PRODUCTS BUILT-UP OF STRATA OF FLAT OR NON-FLAT, e.g. CELLULAR OR HONEYCOMB, FORM
    • B32B27/00Layered products comprising a layer of synthetic resin
    • B32B27/32Layered products comprising a layer of synthetic resin comprising polyolefins
    • B32B27/322Layered products comprising a layer of synthetic resin comprising polyolefins comprising halogenated polyolefins, e.g. PTFE
    • BPERFORMING OPERATIONS; TRANSPORTING
    • B32LAYERED PRODUCTS
    • B32BLAYERED PRODUCTS, i.e. PRODUCTS BUILT-UP OF STRATA OF FLAT OR NON-FLAT, e.g. CELLULAR OR HONEYCOMB, FORM
    • B32B27/00Layered products comprising a layer of synthetic resin
    • B32B27/34Layered products comprising a layer of synthetic resin comprising polyamides
    • BPERFORMING OPERATIONS; TRANSPORTING
    • B41PRINTING; LINING MACHINES; TYPEWRITERS; STAMPS
    • B41JTYPEWRITERS; SELECTIVE PRINTING MECHANISMS, i.e. MECHANISMS PRINTING OTHERWISE THAN FROM A FORME; CORRECTION OF TYPOGRAPHICAL ERRORS
    • B41J13/00Devices or arrangements of selective printing mechanisms, e.g. ink-jet printers or thermal printers, specially adapted for supporting or handling copy material in short lengths, e.g. sheets
    • B41J13/0009Devices or arrangements of selective printing mechanisms, e.g. ink-jet printers or thermal printers, specially adapted for supporting or handling copy material in short lengths, e.g. sheets control of the transport of the copy material
    • B41J13/0027Devices or arrangements of selective printing mechanisms, e.g. ink-jet printers or thermal printers, specially adapted for supporting or handling copy material in short lengths, e.g. sheets control of the transport of the copy material in the printing section of automatic paper handling systems
    • BPERFORMING OPERATIONS; TRANSPORTING
    • B65CONVEYING; PACKING; STORING; HANDLING THIN OR FILAMENTARY MATERIAL
    • B65HHANDLING THIN OR FILAMENTARY MATERIAL, e.g. SHEETS, WEBS, CABLES
    • B65H5/00Feeding articles separated from piles; Feeding articles to machines
    • B65H5/06Feeding articles separated from piles; Feeding articles to machines by rollers or balls, e.g. between rollers
    • BPERFORMING OPERATIONS; TRANSPORTING
    • B65CONVEYING; PACKING; STORING; HANDLING THIN OR FILAMENTARY MATERIAL
    • B65HHANDLING THIN OR FILAMENTARY MATERIAL, e.g. SHEETS, WEBS, CABLES
    • B65H5/00Feeding articles separated from piles; Feeding articles to machines
    • B65H5/06Feeding articles separated from piles; Feeding articles to machines by rollers or balls, e.g. between rollers
    • B65H5/062Feeding articles separated from piles; Feeding articles to machines by rollers or balls, e.g. between rollers between rollers or balls
    • BPERFORMING OPERATIONS; TRANSPORTING
    • B65CONVEYING; PACKING; STORING; HANDLING THIN OR FILAMENTARY MATERIAL
    • B65HHANDLING THIN OR FILAMENTARY MATERIAL, e.g. SHEETS, WEBS, CABLES
    • B65H7/00Controlling article feeding, separating, pile-advancing, or associated apparatus, to take account of incorrect feeding, absence of articles, or presence of faulty articles
    • B65H7/20Controlling associated apparatus
    • HELECTRICITY
    • H05ELECTRIC TECHNIQUES NOT OTHERWISE PROVIDED FOR
    • H05KPRINTED CIRCUITS; CASINGS OR CONSTRUCTIONAL DETAILS OF ELECTRIC APPARATUS; MANUFACTURE OF ASSEMBLAGES OF ELECTRICAL COMPONENTS
    • H05K1/00Printed circuits
    • H05K1/02Details
    • H05K1/03Use of materials for the substrate
    • H05K1/0313Organic insulating material
    • H05K1/0353Organic insulating material consisting of two or more materials, e.g. two or more polymers, polymer + filler, + reinforcement
    • H05K1/036Multilayers with layers of different types
    • BPERFORMING OPERATIONS; TRANSPORTING
    • B32LAYERED PRODUCTS
    • B32BLAYERED PRODUCTS, i.e. PRODUCTS BUILT-UP OF STRATA OF FLAT OR NON-FLAT, e.g. CELLULAR OR HONEYCOMB, FORM
    • B32B2457/00Electrical equipment
    • B32B2457/08PCBs, i.e. printed circuit boards
    • BPERFORMING OPERATIONS; TRANSPORTING
    • B65CONVEYING; PACKING; STORING; HANDLING THIN OR FILAMENTARY MATERIAL
    • B65HHANDLING THIN OR FILAMENTARY MATERIAL, e.g. SHEETS, WEBS, CABLES
    • B65H2220/00Function indicators
    • B65H2220/09Function indicators indicating that several of an entity are present
    • BPERFORMING OPERATIONS; TRANSPORTING
    • B65CONVEYING; PACKING; STORING; HANDLING THIN OR FILAMENTARY MATERIAL
    • B65HHANDLING THIN OR FILAMENTARY MATERIAL, e.g. SHEETS, WEBS, CABLES
    • B65H2301/00Handling processes for sheets or webs
    • B65H2301/40Type of handling process
    • B65H2301/44Moving, forwarding, guiding material
    • B65H2301/447Moving, forwarding, guiding material transferring material between transport devices
    • B65H2301/4474Pair of cooperating moving elements as rollers, belts forming nip into which material is transported
    • BPERFORMING OPERATIONS; TRANSPORTING
    • B65CONVEYING; PACKING; STORING; HANDLING THIN OR FILAMENTARY MATERIAL
    • B65HHANDLING THIN OR FILAMENTARY MATERIAL, e.g. SHEETS, WEBS, CABLES
    • B65H2404/00Parts for transporting or guiding the handled material
    • B65H2404/10Rollers
    • B65H2404/14Roller pairs
    • B65H2404/143Roller pairs driving roller and idler roller arrangement
    • BPERFORMING OPERATIONS; TRANSPORTING
    • B65CONVEYING; PACKING; STORING; HANDLING THIN OR FILAMENTARY MATERIAL
    • B65HHANDLING THIN OR FILAMENTARY MATERIAL, e.g. SHEETS, WEBS, CABLES
    • B65H2515/00Physical entities not provided for in groups B65H2511/00 or B65H2513/00
    • B65H2515/30Forces; Stresses
    • B65H2515/31Tensile forces
    • BPERFORMING OPERATIONS; TRANSPORTING
    • B65CONVEYING; PACKING; STORING; HANDLING THIN OR FILAMENTARY MATERIAL
    • B65HHANDLING THIN OR FILAMENTARY MATERIAL, e.g. SHEETS, WEBS, CABLES
    • B65H2515/00Physical entities not provided for in groups B65H2511/00 or B65H2513/00
    • B65H2515/30Forces; Stresses
    • B65H2515/32Torque e.g. braking torque
    • BPERFORMING OPERATIONS; TRANSPORTING
    • B65CONVEYING; PACKING; STORING; HANDLING THIN OR FILAMENTARY MATERIAL
    • B65HHANDLING THIN OR FILAMENTARY MATERIAL, e.g. SHEETS, WEBS, CABLES
    • B65H2553/00Sensing or detecting means
    • B65H2553/51Encoders, e.g. linear
    • YGENERAL TAGGING OF NEW TECHNOLOGICAL DEVELOPMENTS; GENERAL TAGGING OF CROSS-SECTIONAL TECHNOLOGIES SPANNING OVER SEVERAL SECTIONS OF THE IPC; TECHNICAL SUBJECTS COVERED BY FORMER USPC CROSS-REFERENCE ART COLLECTIONS [XRACs] AND DIGESTS
    • Y10TECHNICAL SUBJECTS COVERED BY FORMER USPC
    • Y10TTECHNICAL SUBJECTS COVERED BY FORMER US CLASSIFICATION
    • Y10T428/00Stock material or miscellaneous articles
    • Y10T428/31504Composite [nonstructural laminate]
    • Y10T428/3154Of fluorinated addition polymer from unsaturated monomers
    • YGENERAL TAGGING OF NEW TECHNOLOGICAL DEVELOPMENTS; GENERAL TAGGING OF CROSS-SECTIONAL TECHNOLOGIES SPANNING OVER SEVERAL SECTIONS OF THE IPC; TECHNICAL SUBJECTS COVERED BY FORMER USPC CROSS-REFERENCE ART COLLECTIONS [XRACs] AND DIGESTS
    • Y10TECHNICAL SUBJECTS COVERED BY FORMER USPC
    • Y10TTECHNICAL SUBJECTS COVERED BY FORMER US CLASSIFICATION
    • Y10T428/00Stock material or miscellaneous articles
    • Y10T428/31504Composite [nonstructural laminate]
    • Y10T428/3154Of fluorinated addition polymer from unsaturated monomers
    • Y10T428/31544Addition polymer is perhalogenated

Landscapes

  • Engineering & Computer Science (AREA)
  • Mechanical Engineering (AREA)
  • Microelectronics & Electronic Packaging (AREA)
  • Delivering By Means Of Belts And Rollers (AREA)
  • Control Of Position Or Direction (AREA)
  • Ink Jet (AREA)
  • Laminated Bodies (AREA)

Abstract

【課題】複数ローラで用紙を搬送するシステムにおいて、用紙の速度及び張力を高精度に制御可能な技術を提供する。【解決手段】用紙の搬送経路に沿って配置された第一及び第二ローラの回転により用紙の搬送動作を実現するシステムにおいて、第一ローラを回転駆動する第一モータに対する操作量Us及び第二ローラを回転駆動する第二モータに対する操作量Udを次のように算出する。即ち、用紙の速度Vaを、第一及び第二ローラの回転速度V1,V2から求め、これと目標速度Vrとの偏差Evに基づいた操作量Uvを算出する。一方、用紙Qの張力Raを、第一及び第二ローラに作用する反力R1,R2から求め、これと目標張力Rrとの偏差Erに基づいた操作量Urを算出する。そして、操作量Usを、操作量Uvと操作量Urとの和(Uv+Ur)として算出し、操作量Udを操作量Uvと操作量Urとの差(Uv−Ur)として算出する。【選択図】図4

Description

本発明は、シートを搬送する搬送システム、画像形成システム、及び、制御デバイスに関する。
従来、シートを搬送する搬送システムとしては、シートの搬送経路に沿って複数のローラを備えたシステムが知られている。この搬送システムによれば、複数のローラの回転によりシートを搬送経路の下流に搬送する。シートの搬送制御は、複数のローラを回転駆動する共通のモータ又はローラ毎のモータを制御することによって実現される。この種の搬送システムは、例えば、インクジェットプリンタ等の画像形成システムに搭載される。
この他、搬送システムとしては、ロール状に巻かれたシートを搬送経路の下流に送り出すシステムが知られている。例えば、上記ロール状に巻かれたシートを送出する送り出しローラと、それより下流に設置された搬送ローラと、を備えたシステムが知られている(特許文献1参照)。
この搬送システムによれば、送り出しローラ及び搬送ローラの制御により、シートの速度を制御する。また、張力を考慮した補正を行いながら送り出しローラを制御することにより、シートの張力を制御する。
特開2006−008322号公報
しかしながら、従来技術によれば、シートの速度を調整するための駆動制御については、複数のローラに対して行うものの、シートの張力を調整するための駆動制御については、複数のローラの内、送り出しローラに対してのみ行う。このため、高精度に張力の制御を行うことが難しいといった問題があった。
特に、定型用紙等の短いシートを搬送するシステムでは、シートに過度の負荷がかかると、シートに滑りが生じる。従って、シートの状態量(位置、速度、又は加速度等)を制御しながら、従来のようにシートの張力を一つのローラのみで制御しようとしても、適切な制御を行うことが難しい。
本発明は、こうした問題に鑑みなされたものであり、複数のローラでシートを搬送するシステムにおいて、シートの状態量及び張力を高精度に制御可能な技術を提供することを目的とする。
本発明の搬送システムは、シートの搬送経路に沿って互いに離れて配置された第一ローラ及び第二ローラを備える。第一ローラ及び第二ローラは、回転によりシートを搬送する。この搬送システムは、第一駆動デバイス及び第二駆動デバイスと、第一計測デバイス及び第二計測デバイスと、制御デバイスと、を更に備える。
第一駆動デバイスは、第一ローラを回転駆動し、第二駆動デバイスは、第二ローラを回
転駆動する。第一計測デバイスは、第一ローラの回転運動に関する状態量Z1を計測し、第二計測デバイスは、第二ローラの回転運動に関する状態量Z2を計測する。
制御デバイスは、第一駆動デバイス及び第二駆動デバイスを制御することによって、第一ローラ及び第二ローラの回転によるシートの搬送動作を制御する。この制御デバイスは、第一推定ユニット及び第二推定ユニットと、第一演算ユニット及び第二演算ユニットと、第一駆動制御ユニット及び第二駆動制御ユニットと、を備える。
第一推定ユニットは、第一駆動デバイスによる回転駆動時に第一ローラに作用する反力R1を推定する。第二推定ユニットは、第二駆動デバイスによる回転駆動時に第二ローラに作用する反力R2を推定する。
第一演算ユニットは、シートの状態量(Z1+Z2)/2と、その目標値である目標状態量との偏差に応じた操作量U1を算出する。シートの状態量(Z1+Z2)/2は、第一計測デバイスより計測された状態量Z1と第二計測デバイスにより計測された状態量Z2との和(Z1+Z2)に対応する。
一方、第二演算ユニットは、シートの張力(R1−R2)/2と、その目標値である目標張力との偏差に応じた操作量U2を算出する。シートの張力(R1−R2)/2は、第一推定ユニットにより推定された反力R1と第二推定ユニットにより推定された反力R2との差(R1−R2)に対応する。
第一駆動制御ユニットは、操作量U1と操作量U2との和(U1+U2)に応じた制御信号を第一駆動デバイスに入力することにより、第一駆動デバイスを制御する。一方、第二駆動制御ユニットは、操作量U1と操作量U2との差(U1−U2)に応じた制御信号を第二駆動デバイスに入力することにより、第二駆動デバイスを制御する。
本発明の搬送システムによれば、上述したように、シートの状態量を制御するための操作量U1と、シートの張力を制御するための操作量U2と、を算出し、第一駆動デバイス及び第二駆動デバイスに対する操作量を夫々、これらの操作量U1,U2の和(U1+U2)及び差(U1−U2)に設定する。
仮にシートを静止させた状態で、シートに張力を生じさせるためには、第一ローラ及び第二ローラの夫々から同じ大きさで互いに逆方向の力を作用させればよい。第一駆動デバイスに対する操作量に+U2成分が含まれ、第二駆動デバイスに対する操作量に−U2成分が含まれるのは、このような理由からである。
即ち、本発明によれば、第一駆動デバイスに対する操作量(U1+U2)及び第二駆動デバイスに対する操作量(U1−U2)に含まれるU1成分により、シートの状態量が適切に制御される。また、第一駆動デバイスに対する操作量に含まれる+U2成分、及び、第二駆動デバイスに対する操作量に含まれる−U2成分により、シートの張力が適切に制御される。
従って、本発明によれば、操作量U1,U2の和及び差を用いた第一駆動デバイス及び第二駆動デバイスの制御により、シートの状態量及び張力を高精度に制御して、二つのローラでシートを搬送することができる。結果として、本発明によれば、高性能な搬送システムを構成することができる。
ところで、目標張力の適値は、シートの位置に応じて異なる場合がある。従って、制御デバイスには、目標張力を、搬送経路におけるシートの位置に応じた値に設定する設定ユ
ニットを設けることができる。
また、定型用紙等の短いシートが用いられる場合、シートは、その位置に応じて、第一ローラ及び第二ローラの両者により搬送されたり、第一ローラ及び第二ローラのいずれか一方のみにより搬送されたりする。そして、第一ローラ及び第二ローラのいずれか一方のみによりシートが搬送される場合には、基本的に、第一ローラ及び第二ローラからシートに張力を生じさせることはできない。
従って、設定ユニットは、第一ローラ及び第二ローラの両者がシートを搬送するときには、目標張力をゼロではない特定値に設定し、第一ローラ及び第二ローラのいずれか一方のみがシートを搬送するときには、目標張力をゼロに設定する構成にすることができる。
但し、目標張力の設定変更に対する制御の追従が緩やかである場合には、第一ローラ及び第二ローラの両者がシートを搬送する状態から、第一ローラ及び第二ローラのいずれか一方のみがシートを搬送する状態に変化する時点で、目標張力をゼロに変更しても、その追従性を原因として、状態量についての制御誤差が大きくなる可能性がある。
従って、設定ユニットは、第一ローラ及び第二ローラの両者がシートを搬送する状態から、第一ローラ及び第二ローラのいずれか一方のみがシートを搬送する状態に変化する前に、目標張力を上記特定値からゼロに変更する構成にすることができる。目標張力をゼロに変更する適当なタイミングは、制御の追従性による。
この他、上記特定値は、シートの種類に応じた値に定めることができる。また、設定ユニットは、上記特定値が大きい程、早い段階で目標張力を上記特定値からゼロに変更する構成にすることができる。制御の追従性が同じであるなら、上記特定値が大きい程、早く目標張力をゼロに変更しないと状態量の制御誤差が大きくなる可能性があるためである。
また、上述の搬送システムは、シートの状態量としてシートの速度を制御する構成にすることができる。この場合、第一計測デバイス及び第二計測デバイスは、状態量Z1及び状態量Z2として、第一ローラの回転速度及び第二ローラの回転速度を計測する構成にすることができる。そして、第一演算ユニットは、シートの状態量(Z1+Z2)/2としてのシートの速度と、目標状態量としてのシートの目標速度との偏差に応じた操作量U1を算出する構成にすることができる。
また、上述した搬送システムの構成は、画像形成システムに組み込むことができる。具体的に、画像形成システムは、上記搬送システムを備えると共に、シートの搬送経路の上方に、インク液滴を吐出することによりシートに画像を形成する画像形成デバイスを備えた構成にすることができる。第一ローラ及び第二ローラは、例えば、画像形成デバイスが上方に設けられた搬送経路内の区間を挟んで配置される。
画像形成デバイスの吐出部からインク液滴を吐出してシートに画像を形成する際に、シートの張力を制御できない場合には、シートの撓みの変化によって、インク液滴の着弾点にずれが生じ、シートに形成される画像の品質が劣化する可能性がある。これに対し、本発明の画像形成システムによれば、適当な張力を有した状態でシートを搬送することができるので、撓みを原因とする画質の劣化を抑えることができる。
また、本発明は、シートの搬送経路に沿って互いに離れて配置された第一ローラ及び第二ローラの回転によりシートの搬送動作を実現する搬送機構において、第一ローラを回転駆動する第一駆動デバイス及び第二ローラを回転駆動する第二駆動デバイスを、制御することにより、シートの搬送動作を制御する制御デバイスとして構成され得る。
この制御デバイスは、例えば、コンピュータにより構成され得る。この場合、制御デバイスが備える上述した各ユニットとしての機能は、コンピュータがプログラムを実行することにより実現される。
このプログラムは、フレキシブルディスク等の磁気ディスクや、DVD等の光ディスク、フラッシュメモリ等の半導体製メモリに代表されるコンピュータ読取可能な記録媒体に記録して提供することができる。この他、制御デバイスは、専用の回路としても構成され得る。
画像形成システムにおける用紙搬送経路周辺の構成を表す図である。 画像形成システムの全体構成を表すブロック図である。 用紙の撓みによるインクジェットヘッド下面と用紙表面との距離変化を示す図である。 搬送制御デバイスの詳細構成を表すブロック図である。 第一反力推定部の構成を表すブロック図である。 目標速度及び目標張力の変化を、観測される速度及び反力の変化と共に示すグラフである(第一例)。 目標張力設定部が実行する処理のフローチャートである。 目標張力を定義するテーブルの構成を表す図である。 目標速度及び目標張力の変化を、観測される速度及び張力の変化と共に示したグラフである(第二例)。
以下に本発明の実施例について、図面と共に説明する。
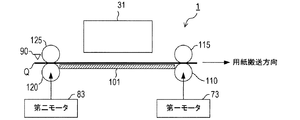
本実施例の画像形成システム1は、インクジェットプリンタとして構成される。この画像形成システム1は、図1に示すように、用紙Qの搬送経路を構成するプラテン101の上方に、インクジェットヘッド31を備える。インクジェットヘッド31は、下面にインク液滴を吐出するノズル群(図示せず)を備え、プラテン101上を通過する用紙Qに向けてインク液滴を吐出する。この吐出動作によって、用紙Qに画像を形成する。
このインクジェットヘッド31は、ライン方向(図1法線方向)に長尺な形状を有し、プラテン101上を通過する用紙Qのライン方向の全域に対して同時に画像を形成可能な構成にされる。
現在広く普及しているインクジェットプリンタは、用紙Qを停止した状態で、インクジェットヘッドをライン方向に定速搬送しながら、インクジェットヘッドにインク液滴を吐出させることによって、ライン方向に画像を形成する。その後、所定量だけ用紙Qを下流に送り出す。このような動作を繰り返し実行することにより、用紙Qに画像を形成する。
これに対し、本実施例の画像形成システム1では、用紙Qを間欠搬送せずに、用紙Qを搬送方向に定速搬送した状態で、長尺なインクジェットヘッド31からインク液滴を吐出する。これによって、用紙Qに画像を形成する。本実施例の画像形成システム1は、このように、用紙Qを定速搬送しつつインク液滴を吐出して用紙Qに画像を形成する点で、上述した良く知られるインクジェットプリンタとは異なる。
この画像形成システム1において、用紙Qは、第一ローラ110及び第二ローラ120の回転によって、プラテン101に沿う搬送経路の上流から下流に搬送される。第一ローラ110は、プラテン101の下流に設けられ、第一従動ローラ115に対向配置される
。第二ローラ120は、プラテン101の上流に設けられ、第二従動ローラ125に対向配置される。
この第一ローラ110は、対向する第一従動ローラ115との間に用紙Qを挟持した状態で回転することにより、用紙Qを下流に搬送する。第一ローラ110は、直流モータで構成される第一モータ73によって回転駆動される。一方、第二ローラ120は、対向する第二従動ローラ125との間に用紙Qを挟持した状態で回転することにより、用紙Qを下流に搬送する。第二ローラ120は、第一モータ73と同じ直流モータで構成される第二モータ83によって回転駆動される。
即ち、この画像形成システム1では、プラテン101を挟んで搬送経路に沿って互いに離れて配置された第一ローラ110及び第二ローラ120によって、用紙Qを搬送方向に離れた二地点で担持する。この状態で、第一モータ73及び第二モータ83を回転駆動することにより、用紙Qを下流に搬送する。
但し、この画像形成システム1は、用紙Qを第二ローラ120に供給する前の段階から、第一モータ73及び第二モータ83を回転駆動し、第一ローラ110及び第二ローラ120を一定速度で回転させる。そして、第一ローラ110及び第二ローラ120が一定速度で回転している状態で、用紙Qを、第二ローラ120の上流から第二ローラ120に供給する。即ち、第一モータ73及び第二モータ83は、画像形成が命令された時点から回転し、用紙Qが存在しない状態から、第一ローラ110及び第二ローラ120を、一定速度で回転させる。
続いて、画像形成システム1の詳細構成を説明する。図2に示すように、画像形成システム1は、メインコントローラ10と、通信インタフェース20と、記録部30と、給紙部40と、用紙搬送部50とを備える。上述した第一ローラ110及び第一従動ローラ115、第二ローラ120及び第二従動ローラ125、並びに、プラテン101を備える用紙Qの搬送機構100は、用紙搬送部50に設けられる。
メインコントローラ10は、図示しないマイクロコンピュータ等から構成され、画像形成システム1を統括制御する。通信インタフェース20は、メインコントローラ10と外部機器(パーソナルコンピュータ等)との間の通信を実現する。
このメインコントローラ10は、通信インタフェース20を介して外部機器から印刷対象の画像データを受信し、この印刷対象の画像データに基づく画像が用紙Qに形成されるように、記録部30、給紙部40及び用紙搬送部50を制御する。
記録部30は、上述したインクジェットヘッド31と、その駆動回路(図示せず)とを主に備える。この記録部30は、メインコントローラ10からの指示に従って、インクジェットヘッド31を駆動し、用紙Qに印刷対象の画像データに基づく画像を形成する。
一方、給紙部40は、上流から第二ローラ120に用紙Qを供給するものである。給紙部40は、図示しないモータや給紙ローラ及び給紙トレイ等を備えた構成にされる。給紙部40は、メインコントローラ10からの指示に従って、第二ローラ120に用紙Qを供給する。
この他、用紙搬送部50は、搬送機構100の他に、搬送制御デバイス60と、第一駆動回路71と、第一モータ73と、第一エンコーダ75と、第一信号処理回路77と、第二駆動回路81と、第二モータ83と、第二エンコーダ85と、第二信号処理回路87と、レジストセンサ90とを備える。
第一駆動回路71は、第一モータ73を駆動する回路であり、搬送制御デバイス60から入力される制御信号としてのPWM信号に従って、PWM信号のデューティー比に対応する駆動電流で第一モータ73を駆動する。第一モータ73は、この第一駆動回路71によって駆動されて、第一ローラ110を回転駆動する。
一方、第一エンコーダ75は、第一ローラ110が所定角度回転する度にパルス信号を出力するロータリエンコーダである。第一エンコーダ75は、直接又は間接的に第一ローラ110の回転運動を観測可能な位置に設けられる。例えば、第一エンコーダ75は、第一ローラ110の回転軸又は第一モータ73の回転軸に設置される。第一エンコーダ75は、周知のロータリエンコーダと同様、上記パルス信号として、位相が異なるA相信号及びB相信号を出力する。以下、これらの信号をまとめてエンコーダ信号と表現する。
第一エンコーダ75から出力されるエンコーダ信号は、第一信号処理回路77に入力される。第一信号処理回路77は、このエンコーダ信号に基づいて、第一ローラ110の回転量X1及び回転速度V1を計測し、計測した回転量X1及び回転速度V1の情報を搬送制御デバイス60に入力する。
この他、第二駆動回路81は、第二モータ83を駆動する回路であり、搬送制御デバイス60から入力されるPWM信号に従って、PWM信号のデューティー比に対応する駆動電流で第二モータ83を駆動する。第二モータ83は、この第二駆動回路81によって駆動されて、第二ローラ120を回転駆動する。
一方、第二エンコーダ85は、第二ローラ120が所定角度回転する度にパルス信号を出力するロータリエンコーダである。第二エンコーダ85は、第一エンコーダ75と同様、直接又は間接的に第二ローラ120の回転運動を観測可能な位置に設けられる。また、上記パルス信号として、位相が異なるA相信号及びB相信号を出力する。
第二エンコーダ85から出力されるエンコーダ信号(A相信号及びB相信号)は、第二信号処理回路87に入力される。第二信号処理回路87は、このエンコーダ信号に基づいて、第二ローラ120の回転量X2及び回転速度V2を計測し、計測した回転量X2及び回転速度V2の情報を搬送制御デバイス60に入力する。
この他、レジストセンサ90は、用紙Qが通過したことを検知するセンサである。図1に示すように、レジストセンサ90は、第二ローラ120の上流側で、第二ローラ120近傍に設けられて、用紙Qがこの地点を通過したことを表す信号を、搬送制御デバイス60に入力する。
また、搬送制御デバイス60は、第一モータ73及び第二モータ83を制御するものである。搬送制御デバイス60は、第一モータ73に対する操作量(後述する第一操作量Us)及び第二モータ83に対する操作量(第二操作量Ud)を算出し、これらの操作量に対応するPWM信号を、対応する第一駆動回路71及び第二駆動回路81に入力する。搬送制御デバイス60は、このような第一モータ73及び第二モータ83に対する制御によって、第一ローラ110及び第二ローラ120の回転による用紙Qの搬送動作を制御する。
具体的に、搬送制御デバイス60は、用紙Qがプラテン101上で定速搬送されるように、第一モータ73及び第二モータ83を制御する。また、用紙Qが第一ローラ110及び第二ローラ120の両者からの力を受けて搬送されるときには、用紙Qが適当な張力を有した状態で搬送されるように、第一モータ73及び第二モータ83を制御する。
このような張力を考慮したモータ制御を行う理由は次の通りである。本実施例によれば、第一ローラ110及び第二ローラ120を、個別のモータ73,83を用いて回転駆動する。このため、張力を考慮しないモータ制御を行った場合には、制御誤差に起因して、第一ローラ110と第二ローラ120との間に回転運動のずれが生じた際、図3に示すようにプラテン101上で用紙Qが撓むことがある。更に言えば、撓みが一定でないために、インクジェットヘッド31の下面と用紙表面との間の距離Dに変化が生じることがある。
本実施例では、用紙Qを搬送した状態で、インクジェットヘッド31からインク液滴を吐出する。このため、距離Dが変化すると、インクジェットヘッド31から吐出されるインク液滴の用紙Qにおける着弾点が想定地点からずれてしまう。このような着弾点のずれは、用紙Qに形成される画像の品質に悪影響を与える。
このような理由により、本実施例の搬送制御デバイス60は、用紙Qの速度と共に張力を制御するように、第一モータ73及び第二モータ83を制御する。
続いて、搬送制御デバイス60の詳細構成を説明する。図4に示すように、搬送制御デバイス60は、目標速度設定部211と、速度算出部212と、速度偏差算出部213と、速度制御器215と、第一操作量算出部217と、第一PWM信号生成部218と、第一反力推定部219と、目標張力設定部221と、張力算出部222と、張力偏差算出部223と、張力制御器225と、第二操作量算出部227と、第二PWM信号生成部228と、第二反力推定部229とを備える。
目標速度設定部211は、用紙Qの目標速度Vrを設定するものである。具体的に、目標速度設定部211は、用紙Qの搬送過程において、用紙Qが定速搬送されるように、各時刻の目標速度Vrとして、固定値を設定する。
一方、速度算出部212は、第一信号処理回路77により計測された回転速度V1及び第二信号処理回路87により計測された回転速度V2の平均値である第一ローラ110及び第二ローラ120の平均速度(V1+V2)/2を、用紙Qの速度Vaとして算出するものである。
速度偏差算出部213は、目標速度設定部211によって設定された目標速度Vrと速度算出部212によって算出された速度Vaとの偏差Ev(=Vr−Va)を算出する。
速度制御器215は、この偏差Evに応じた操作量Uvを、制御対象の伝達モデルに基づく所定の伝達関数Gに従って算出する。操作量Uvは、用紙Qの速度Vaを目標速度Vrに制御するための操作量である。
ここで言う制御対象とは、第1の制御対象と第2の制御対象との和であり、伝達関数Gは、第1の制御対象と第2の制御対象との和に対応する伝達モデルに基づくものである。第1の制御対象は、第一駆動回路71、第一モータ73、第一ローラ110、第一エンコーダ75及び第一信号処理回路77である。第2の制御対象は、第二駆動回路81、第二モータ83、第二ローラ120、第二エンコーダ85及び第二信号処理回路87である。
速度制御器215は、上記伝達関数Gに従って、用紙Qの速度Vaが目標速度Vrに追従するような操作量Uvを算出する。具体的には、操作量Uvとして、目標速度Vrを実現するために第一モータ73及び第二モータ83に印加すべき駆動電流を算出する。
一方、目標張力設定部221は、用紙Qの目標張力Rrを設定する。詳細については後述するが、目標張力設定部221は、第一ローラ110及び第二ローラ120の両者によ
って用紙Qが搬送されるときには、用紙Qが適当な張力を有した状態で搬送されるように、ゼロではない目標張力Rrを設定する。
張力算出部222は、第一反力推定部219により推定された反力R1と、第二反力推定部229により推定された反力R2との差(R1−R2)に対応する値(R1−R2)/2を、用紙Qの張力Raとして算出する。
第一反力推定部219は、第一モータ73による回転駆動時に第一ローラ110に作用する反力R1を推定し、第二反力推定部229は、第二モータ83による回転駆動時に第二ローラ120に作用する反力R2を推定するものである。但し、反力R1,R2は、力の作用方向に応じて正負の値を採る。例えば、用紙Qの搬送方向とは反対向きに作用する反力については正値を採り、用紙Qの搬送方向と同一方向に作用する反力については負値を採るものとする。
張力偏差算出部223は、目標張力設定部221によって設定された目標張力Rrと張力算出部222によって算出された張力Raとの偏差Er(=Rr−Ra)を算出する。
張力制御器225は、この偏差Erに応じた操作量Urを、制御対象の伝達モデルに基づく所定の伝達関数Hに従って算出する。操作量Urは、用紙Qの張力Raを目標張力Rrに制御するための操作量である。
ここで言う制御対象とは、第1の制御対象と第2の制御対象との差であり、伝達関数Hは、第1の制御対象と第2の制御対象との差に対応する伝達モデルに基づくものである。
張力制御器225は、上記伝達関数Hに従って、用紙Qの張力Raが目標張力Rrに追従するような操作量Urを算出する。具体的には、操作量Urとして、目標張力Rrを実現するために第一モータ73及び第二モータ83に印加すべき駆動電流を算出する。
この他、第一操作量算出部217は、速度制御器215により算出された操作量Uvと、張力制御器225により算出された操作量Urとの和(Uv+Ur)を、第一操作量Usとして算出する。第一操作量Us(=Uv+Ur)は、第一モータ73に対する操作量、換言すれば第一駆動回路71に対する電流指令値に対応する。
一方、第二操作量算出部227は、速度制御器215により算出された操作量Uvと、張力制御器225により算出された操作量Urとの差(Uv−Ur)を、第二操作量Udとして算出する。第二操作量Ud(=Uv−Ur)は、第二モータ83に対する操作量、換言すれば第二駆動回路81に対する電流指令値に対応する。
ここで、搬送制御デバイス60が、第一操作量Usとして、操作量Uvと操作量Urとの和を算出し、第二操作量Udとして、操作量Uvと操作量Urとの差を算出する理由について説明する。
用紙Qに張力を生じさせるためには、第一モータ73には、速度制御に必要な力よりも張力分大きい力が第一モータ73から第一ローラ110に作用するように駆動電流を調整する必要がある。一方、第二ローラ120には、張力により搬送方向に引っ張られる反力である負の反力が加わるために、第二モータ83には、本来速度制御に必要な力よりも張力分小さい力が第二モータ83から第二ローラ120に作用するように、駆動電流を調整する必要がある。このような理由により、搬送制御デバイス60では、第一操作量Usとして、操作量Uvと操作量Urの和を算出し、第二操作量Udとして、操作量Uvと操作量Urの差を算出する。
第一PWM信号生成部218は、このように算出された第一操作量Usに対応する駆動
電流で第一モータ73を駆動するデューティー比のPMW信号を生成し、これを第一駆動回路71に入力する。第一駆動回路71は、このPWM信号に従って、第一操作量Usに対応する駆動電流で第一モータ73を駆動する。
一方、第二PWM信号生成部228は、第二操作量Udに対応する駆動電流で第二モータ83を駆動するデューティー比のPMW信号を生成し、これを第二駆動回路81に入力する。第二駆動回路81は、このPWM信号に従って、第二操作量Udに対応する駆動電流で第二モータ83を駆動する。
この他、第一反力推定部219は、第一操作量算出部217によって算出された第一操作量Usと第一信号処理回路77にて計測された回転速度V1とに基づいて、第一モータ73に作用する反力R1を推定する。一方、第二反力推定部229は、第二操作量算出部227によって算出された第二操作量Udと、第二信号処理回路87にて計測された回転速度V2とに基づいて、第二モータ83に作用する反力R2を推定する。
ここで、第一反力推定部219及び第二反力推定部229の詳細構成について説明する。但し、第一反力推定部219及び第二反力推定部229は、同一の原理で反力R1,R2を推定する。このため、以下では、第一反力推定部219の詳細構成を代表して説明する。第二反力推定部229は、操作量Us及び回転速度V1に代えて、操作量Ud及び回転速度V2を用いて、第一反力推定部219と同様の原理で、反力R2を推定するものと理解されたい。
第一反力推定部219は、図5に示すように、外乱オブザーバ310と、推定部320とを備える。外乱オブザーバ310は、周知のように制御対象に作用する外乱を推定するものである。この外乱オブザーバ310は、逆モデル演算部311と、減算器313と、ローパスフィルタ315とを備える。
逆モデル演算部311は、上記第1の制御対象の伝達モデルに対応する逆モデルの伝達関数P-1を用いて、第一信号処理回路77により計測された回転速度V1を、対応する操作量U*に変換するものである。減算器313は、第一モータ73に入力された操作量Usと、逆モデル演算部311にて算出された回転速度V1に対応する操作量U*との偏差(Us−U*)を算出する。
ローパスフィルタ315は、この偏差(Us−U*)から高周波成分を除去する。外乱オブザーバ310は、このローパスフィルタ315による高周波成分除去後の偏差(Us−U*)を、外乱推定値τとして出力する。
偏差(Us−U*)は、操作量Usが電流指令値である関係上、単位をアンペアとするものであるが、直流モータが駆動源である場合、アンペアとトルク(反力)との間には比例関係が成立する。このため、偏差(Us−U*)は、外乱として制御対象に作用する力を間接的に表す。
推定部320は、この外乱推定値τに基づき、用紙Qの張力を原因とする反力R1を推定する。外乱推定値τには、張力を原因とする反力成分の他に、回転に伴う粘性摩擦成分及び動摩擦成分が含まれる。このため、推定部320は、外乱推定値τから粘性摩擦成分及び動摩擦成分を除去することによって、反力R1を推定する。
具体的に、推定部320は、外乱推定値τから粘性摩擦成分を除去するための構成として、粘性摩擦推定部321と、減算器323とを備える。粘性摩擦推定部321は、第一信号処理回路77により計測された回転速度V1に、所定係数Dを乗算した値(D×V1
)を、粘性摩擦力推定値に設定する。減算器323は、外乱推定値τを、この粘性摩擦力推定値(D×V1)で減算することにより、粘性摩擦成分除去後の外乱推定値τ1=(τ―D×V1)を算出する。
この他、推定部320は、外乱推定値τから動摩擦成分を除去するための構成として、動摩擦推定部325と、減算器327とを備える。動摩擦推定部325は、第一信号処理回路77により計測された回転速度V1がゼロであるときには、動摩擦力推定値としてゼロを設定し、第一信号処理回路77により計測された回転速度V1がゼロではないときには、動摩擦力推定値として、ゼロではない所定値μNを設定する。減算器327は、外乱推定値τ1を動摩擦推定部325により設定された動摩擦力推定値(ゼロ又はμN)で減算する。推定部320は、この減算器327により算出された値を、第一ローラ110に作用する反力R1として推定する。尚、第二反力推定部229においては、上記第1の制御対象の伝達モデルに対応する逆モデルの伝達関数P-1を用いて第二信号処理回路87により計測された回転速度V2を、対応する操作量U*に変換する。一方、粘性摩擦力の推定及び動摩擦力の推定には、第2の制御対象に対応する所定係数及び所定値を用いる。
続いて、目標張力設定部221による目標張力Rrの設定動作について説明する。図6に示すように、目標張力設定部221は、各時刻の目標張力Rrとして、用紙搬送の進行に応じた値を設定する。即ち、第一ローラ110及び第二ローラ120の両者によって用紙Qが搬送されるときには、基本的に、目標張力Rrとしてゼロではない特定値Rsを設定し、第一ローラ110及び第二ローラ120のいずれか一方のみによって用紙Qが搬送されるときには、目標張力Rrとしてゼロを設定するように、各時刻の目標張力Rrを設定する。
図6下段のグラフは、時間対張力のグラフにおいて、目標張力Rrの時間変化を実線により表したものである。下段のグラフでは、更に、第一ローラ110に作用する反力R1を一点鎖線により表し、第二ローラ120に作用する反力R2を二点鎖線により表す。また、図6上段のグラフは、時間対速度のグラフである。このグラフでは、下段のグラフに示す目標張力Rrが設定された場合の第一ローラ110の回転速度V1を一点鎖線で表し、第二ローラ120の回転速度V2を二点鎖線で表す。更に、当該上段のグラフでは、目標速度設定部211によって設定される目標速度Vrを実線で表す。
上述したように、用紙Qの張力を制御するのは、第一ローラ110及び第二ローラ120の回転運動の誤差によって、用紙Qに撓みが生じるのを抑えるためである。このため、基本的には、第一ローラ110及び第二ローラ120の両者によって用紙Qが搬送されているときには、用紙Qが適当な張力を有した状態で搬送されるように、目標張力Rrをゼロではない値に設定する必要がある。
但し、制御の追従性に起因して、目標張力Rrをゼロに変更しても直ちに用紙Qに撓みが生じてしまうわけではない。また、用紙Qが第一ローラ110及び第二ローラ120の両者によって搬送される状態から、第一ローラ110のみによって搬送される状態に移行する時点で、目標張力Rrをゼロに変更すると、その時点では、実際には張力が生じないのにも拘わらず、用紙Qに張力を生じさせようとする操作量Us,Udが算出される。
従って、このような目標張力Rrの変更では、図9に示すように、用紙Qが第一ローラ110のみによって搬送される状態に移行した直後において、速度の制御誤差が大きくなる。図9では、用紙Qが第一ローラ110及び第二ローラ120の両者によって搬送される状態から、第一ローラ110のみによって搬送される状態に移行する時点で、目標張力Rrをゼロに変更した場合の回転速度V1,V2を上段グラフに示す。また、この場合の反力R1,R2(推定値)を下段グラフに示す。図9のグラフ内に描写された実線、一点
鎖線及び二点鎖線が意味するものは、図6と同じである。
このため、本実施例では、用紙Qが第一ローラ110及び第二ローラ120の両者によって搬送される区間内において、目標張力Rrをゼロに設定する区間(以下、張力ゼロ区間と表現する。)が定められている。即ち、本実施例では、図6に示すように、用紙Qが第一ローラ110及び第二ローラ120の両者によって搬送される状態から第一ローラ110のみによって搬送される状態に移行する時点よりも前の時点で目標張力Rrをゼロに変更する。
具体的に、目標張力設定部221は、メインコントローラ10から用紙Qの搬送指示を受けると、図7に示す処理を実行する。この処理において、目標張力設定部221は、用紙Qが第一ローラ110及び第二ローラ120の両者によって搬送される位置にあるか否かを判断する(S110)。
この判断は、レジストセンサ90により用紙Qの先端が検知された時点で第二信号処理回路87により計測された第二ローラ120の回転量X2と現時点での回転量X2との差から、用紙Qの先端が第二ローラ120に進入してからの用紙Qの搬送量Lを目標張力設定部221が特定することにより、実現することができる。
用紙Qが第一ローラ110及び第二ローラ120の両者によって搬送される位置にはないと目標張力設定部221が判断すると(S110でNo)、目標張力設定部221は、目標張力Rrをゼロに設定する(S140)。その後、S150に移行する。
一方、目標張力設定部221は、用紙Qが第一ローラ110及び第二ローラ120の両者によって搬送される位置にあると判断すると(S110でYes)、用紙Qが予め定められた張力ゼロ区間にあるか否かを判断する(S120)。
張力ゼロ区間は、搬送対象の用紙Qの種類毎に定められる。目標張力設定部221は、用紙Qの種類毎に、目標張力Rs及び張力ゼロ区間を定義する図8に示すテーブルを記憶する。目標張力設定部221は、このテーブルの内容に従って、現在搬送されている用紙Qの種類に対応する張力ゼロ区間を特定し、用紙Qが張力ゼロ区間に位置するか否かを判断する。
テーブルが記憶する目標張力Rsは、用紙Qが第一ローラ110及び第二ローラ120の両者によって搬送される区間(張力ゼロ区間を除く)における目標張力Rrの最適値として設計者により定められるものである。最適値としては、用紙Qとローラ110,120との間に滑りが生じない張力の最大値を一例に挙げることができる。このテーブルでは、例えば、用紙Qの厚み又は材質によって分類される用紙Qの種類毎の目標張力Rs及び張力ゼロ区間が定義される。
テーブルには、張力ゼロ区間を定義する情報として、目標張力を値Rsからゼロに変更した時点から、第一反力推定部219及び第二反力推定部229によって推定される反力R1,R2がゼロに収束するのに要する時間Tcが記憶される。張力ゼロ区間の長さAは、この時間Tcと、用紙Qの目標速度Vrとの積(Vr×Tc)に対応する。即ち、張力ゼロ区間は、用紙Qが第一ローラ110及び第二ローラ120の両者によって搬送される区間の終点から上流に距離Aだけ遡った地点までの区間に定義される。
従って、張力ゼロ区間は、対応する目標張力Rsが高い程、長い区間となるように定められる。このような張力ゼロ区間の設定により、目標張力設定部221は、目標張力Rsが大きい程、早い段階で目標張力Rrを値Rsからゼロに変更するように動作する。
S120において、目標張力設定部221は、例えば、次のようにして上記判断を行う。即ち、目標張力設定部221は、用紙Qのサイズに基づいて、用紙Qが第一ローラ110及び第二ローラ120の両者によって搬送される区間の終点に到達する時点での用紙Qの搬送量Leを特定する。そして、目標張力設定部221は、現在の用紙Qの搬送量Lが、搬送量Leから距離Aだけ少ない閾値(Le−A)以上である場合、用紙Qが張力ゼロ区間に位置すると判断する。一方、目標張力設定部221は、現在の用紙Qの搬送量Lが、閾値(Le−A)より小さい場合には、用紙Qが張力ゼロ区間に位置しないと判断する。
そして、用紙Qが張力ゼロ区間に位置しないと目標張力設定部221が判断すると(S120でNo)、目標張力設定部221は、上記テーブルの内容に従って、目標張力Rrを、現在搬送している用紙Qの種類に対応する非ゼロの値Rsに設定する(S130)、その後、S150に移行する。
一方、用紙Qが張力ゼロ区間に位置すると目標張力設定部221が判断すると(S120でYes)、目標張力設定部221は、目標張力Rrをゼロに設定し、S150に移行する。
S150に移行すると、目標張力設定部221は、用紙Qを搬送終了位置まで搬送したか否かを判断する。そして、否定判断すると(S150でNo)、S110に移行する。
目標張力設定部221は、このようして上述した処理を、用紙Qが搬送終了位置に到達するまで繰り返し実行し、用紙Qを搬送終了位置まで搬送すると(S150でYes)、図7に示す処理を終了する。これにより用紙Qの搬送を終了する。
以上、本実施例の画像形成システム1について説明したが、本実施例によれば、第一モータ73に対する操作量Us(=Uv+Ur)及び第二モータ83に対する操作量Ud(=Uv−Ur)に含まれるUv成分により、用紙Qの速度が適切に制御される。また、第一モータ73に対する操作量Usに含まれる+Ur成分、及び、第二モータ83に対する操作量Udに含まれる−Ur成分により、用紙Qの張力が適切に制御される。
即ち、本実施例によれば、操作量Uv,Urの和及び差を用いた第一モータ73及び第二モータ83の制御により、用紙Qの速度及び張力を高精度に制御して、二つのローラ110,120で用紙Qを搬送することができる。結果として、本実施例によれば、用紙Qの撓みの変化によって、用紙Qに形成される画像の品質が悪化するのを抑えることができ、高品質な画像を用紙Qに形成可能な画像形成システム1を構築することができる。
特に、本実施例によれば、制御の追従性(推定される反力R1,R2の遅延)を原因として、用紙Qが第一ローラ110及び第二ローラ120の両者により搬送される状態から、第一ローラ110のみにより搬送される状態に移行する際に、回転速度V1,V2が目標速度Vrから乖離する現象を抑えるために、その移行前の段階で、目標張力Rrを非ゼロの値Rsからゼロに変更するようにした。従って、本実施例によれば、用紙Qの搬送過程の全般において、適切な速度制御を行うことができ、用紙Qには良好な画像を形成することができる。
また、本実施例では、目標張力Rrの値Rs及び張力ゼロ区間を用紙Qの種類に応じて変更する。従って、用紙Qの厚みや表面の滑りやすさ等を考慮して、適切な目標張力及び張力ゼロ区間を設定することができる。従って、本実施例によれば、ローラ110,120と用紙Qとの間に滑りが生じるのを抑えつつ、用紙Qを、適当な張力を有した状態で良好に搬送することができる。
[他の実施形態]
以上に、本発明の実施例について説明したが、本発明は、上記実施例に限定されるものではなく、種々の態様を採ることができる。例えば、上記実施例では、第一ローラ110及び第二ローラ120の回転運動に関する状態量として、第一ローラ110及び第二ローラ120の回転速度V1,V2を計測した。そして、この計測値に基づき、用紙Qの速度制御を行った。
しかしながら、画像形成システム1は、回転速度V1,V2に代えて、第一ローラ110及び第二ローラ120の回転量X1,X2に基づき、用紙Qの位置制御を行う構成にされてもよい。この他、加速度の計測値に基づき、用紙Qの加速度制御を行うシステム構成を採用することも可能である。また、用紙搬送に関する技術は、画像形成システムに限らず、種々のシート搬送システムに適用することができる。
この他、上記実施例では、図6下段の実線に沿って、目標張力Rrを設定する画像形成システム1について説明したが、制御の追従性が良好である場合や、速度の制御誤差を許容できるのであれば、図9下段の実線に沿って、目標張力Rrを設定することも可能である。
また、搬送制御デバイス60は、ASICのような専用回路として構成されてもよいし、マイクロコンピュータにより構成されてもよい。この場合、搬送制御デバイス60は、図2で示すようにCPU61と、ROM63とを備え、ROM63に記録されたプログラムに従う処理をCPU61にて実行することにより、上述した搬送制御デバイス60が備える各要素の機能を実現する構成にすることができる。
[対応関係]
最後に、用語間の対応関係について説明する。画像形成システム1における第一駆動回路71及び第一モータ73は、第一駆動デバイスの一例に対応し、第二駆動回路81及び第二モータ83は、第二駆動デバイスの一例に対応する。また、第一エンコーダ75及び第一信号処理回路77は、第一計測デバイスの一例に対応し、第二エンコーダ85及び第二信号処理回路87は、第二計測デバイスの一例に対応する。
この他、搬送制御デバイス60は、制御デバイスの一例に対応する。具体的に、第一反力推定部219及び第二反力推定部229は、夫々、第一推定ユニット及び第二推定ユニットの一例に対応し、速度制御器215及び張力制御器225は、第一演算ユニット及び第二演算ユニットの一例に対応する。
また、第一操作量算出部217及び第一PWM信号生成部218は、第一駆動制御ユニットの一例に対応し、第二操作量算出部227及び第二PWM信号生成部228は、第二駆動制御ユニットの一例に対応する。この他、目標張力設定部221は、設定ユニットの一例に対応し、インクジェットヘッド31は、画像形成デバイスの一例に対応する。
1…画像形成システム、10…メインコントローラ、20…通信インタフェース、30…記録部、31…インクジェットヘッド、40…給紙部、50…用紙搬送部、60…搬送制御デバイス、61…CPU、63…ROM、71…第一駆動回路、73…第一モータ、75…第一エンコーダ、77…第一信号処理回路、81…第二駆動回路、83…第二モータ、85…第二エンコーダ、87…第二信号処理回路、90…レジストセンサ、100…搬送機構、101…プラテン、110…第一ローラ、115…第一従動ローラ、120…第二ローラ、125…第二従動ローラ、211…目標速度設定部、212…速度算出部、2
13…速度偏差算出部、215…速度制御器、217…第一操作量算出部、218…第一PWM信号生成部、219…第一反力推定部、221…目標張力設定部、222…張力算出部、223…張力偏差算出部、225…張力制御器、227…第二操作量算出部、228…第二PWM信号生成部、229…第二反力推定部、310…外乱オブザーバ、311…逆モデル演算部、313…減算器、315…ローパスフィルタ、320…推定部、321…粘性摩擦推定部、323…減算器、325…動摩擦推定部、327…減算器、Q…用紙。

Claims (10)

  1. シートの搬送経路に沿って互いに離れて配置された、前記シートを搬送する第一ローラ及び第二ローラと、
    前記第一ローラを回転駆動する第一駆動デバイスと、
    前記第二ローラを回転駆動する第二駆動デバイスと、
    前記第一ローラの回転運動に関する状態量Z1を計測する第一計測デバイスと、
    前記第二ローラの回転運動に関する状態量Z2を計測する第二計測デバイスと、
    前記第一駆動デバイス及び前記第二駆動デバイスを制御することによって、前記第一ローラ及び前記第二ローラの回転による前記シートの搬送動作を制御する制御デバイスと、
    を備え、
    前記制御デバイスは、
    前記第一駆動デバイスによる回転駆動時に前記第一ローラに作用する反力R1を推定する第一推定ユニットと、
    前記第二駆動デバイスによる回転駆動時に前記第二ローラに作用する反力R2を推定する第二推定ユニットと、
    前記第一計測デバイスより計測された前記状態量Z1と前記第二計測デバイスにより計測された前記状態量Z2との和(Z1+Z2)に対応する前記シートの状態量(Z1+Z2)/2と、目標状態量との偏差に応じた操作量U1を算出する第一演算ユニットと、
    前記第一推定ユニットにより推定された反力R1と前記第二推定ユニットにより推定された反力R2との差(R1−R2)に対応する前記シートの張力(R1−R2)/2と、目標張力との偏差に応じた操作量U2を算出する第二演算ユニットと、
    前記操作量U1と前記操作量U2との和(U1+U2)に応じた制御信号を前記第一駆動デバイスに入力する第一駆動制御ユニットと、
    前記操作量U1と前記操作量U2との差(U1−U2)に応じた制御信号を前記第二駆動デバイスに入力する第二駆動制御ユニットと、
    を備えることを特徴とする搬送システム。
  2. 前記制御デバイスは、
    前記目標張力を、前記搬送経路における前記シートの位置に応じた値に設定する設定ユニット
    を備えること
    を特徴とする請求項1記載の搬送システム。
  3. 前記設定ユニットは、前記第一ローラ及び前記第二ローラの両者が前記シートを搬送するときには、前記目標張力をゼロではない特定値に設定し、前記第一ローラ及び前記第二ローラのいずれか一方のみが前記シートを搬送するときには、前記目標張力をゼロに設定すること
    を特徴とする請求項2記載の搬送システム。
  4. 前記設定ユニットは、前記第一ローラ及び前記第二ローラの両者が前記シートを搬送する状態から、前記第一ローラ及び前記第二ローラのいずれか一方のみが前記シートを搬送する状態に変化する前に、前記目標張力を前記特定値からゼロに変更すること
    を特徴とする請求項3記載の搬送システム。
  5. 前記特定値は、前記シートの種類に応じた値であること
    を特徴とする請求項3又は請求項4記載の搬送システム。
  6. 前記特定値は、前記シートの種類に応じた値であり、
    前記設定ユニットは、前記特定値が大きい程、早い段階で前記目標張力を前記特定値か
    らゼロに変更すること
    を特徴とする請求項4記載の搬送システム。
  7. 前記第一計測デバイスは、前記状態量Z1として前記第一ローラの回転速度を計測し、
    前記第二計測デバイスは、前記状態量Z2として前記第二ローラの回転速度を計測し、
    前記第一演算ユニットは、前記シートの状態量(Z1+Z2)/2としての前記シートの速度と、前記目標状態量としての前記シートの目標速度との偏差に応じた前記操作量U1を算出すること
    を特徴とする請求項1〜請求項6のいずれか一項記載の搬送システム。
  8. 前記搬送経路の上方には、インク液滴を吐出することにより前記シートに画像を形成する画像形成デバイスが設けられており、
    前記第一ローラ及び前記第二ローラは、前記画像形成デバイスが設けられた前記搬送経路内の区間を挟んで配置されていること
    を特徴とする請求項1〜請求項7のいずれか一項記載の搬送システム。
  9. 画像形成システムであって、
    シートの搬送経路の上方に設けられて、インク液滴を吐出することにより前記シートに画像を形成する画像形成デバイスと、
    前記画像形成デバイスが上方に設けられた前記搬送経路内の区間を挟んで前記搬送経路に配置された、前記シートを搬送する第一ローラ及び第二ローラと、
    前記第一ローラを回転駆動する第一駆動デバイスと、
    前記第二ローラを回転駆動する第二駆動デバイスと、
    前記第一ローラの回転速度Z1を計測する第一計測デバイスと、
    前記第二ローラの回転速度Z2を計測する第二計測デバイスと、
    前記第一駆動デバイス及び前記第二駆動デバイスを制御することによって、前記第一ローラ及び前記第二ローラの回転による前記シートの搬送動作を制御する制御デバイスと、
    を備え、
    前記制御デバイスは、
    前記第一駆動デバイスによる回転駆動時に前記第一ローラに作用する反力R1を推定する第一推定ユニットと、
    前記第二駆動デバイスによる回転駆動時に前記第二ローラに作用する反力R2を推定する第二推定ユニットと、
    前記第一計測デバイスより計測された前記回転速度Z1と前記第二計測デバイスにより計測された前記回転速度Z2との和(Z1+Z2)に対応する前記シートの速度(Z1+Z2)/2と、目標速度との偏差に応じた操作量U1を算出する第一演算ユニットと、
    前記第一推定ユニットにより推定された反力R1と前記第二推定ユニットにより推定された反力R2との差(R1−R2)に対応する前記シートの張力(R1−R2)/2と、目標張力との偏差に応じた操作量U2を算出する第二演算ユニットと、
    前記操作量U1と前記操作量U2との和(U1+U2)に応じた制御信号を前記第一駆動デバイスに入力する第一駆動制御ユニットと、
    前記操作量U1と前記操作量U2との差(U1−U2)に応じた制御信号を前記第二駆動デバイスに入力する第二駆動制御ユニットと、
    を備えることを特徴とする画像形成システム。
  10. シートの搬送経路に沿って互いに離れて配置された第一ローラ及び第二ローラの回転により前記シートの搬送動作を実現する搬送機構において、前記第一ローラを回転駆動する第一駆動デバイス及び前記第二ローラを回転駆動する第二駆動デバイスを、制御することにより、前記シートの搬送動作を制御する制御デバイスであって、
    前記第一駆動デバイスによる回転駆動時に前記第一ローラに作用する反力R1を推定す
    る第一推定ユニットと、
    前記第二駆動デバイスによる回転駆動時に前記第二ローラに作用する反力R2を推定する第二推定ユニットと、
    計測デバイスにより計測された前記第一ローラの回転運動に関する状態量Z1及び前記第二ローラの回転運動に関する状態量Z2を用いて、前記状態量Z1及び前記状態量Z2の和(Z1+Z2)に対応する前記シートの状態量(Z1+Z2)/2と、目標状態量との偏差に応じた操作量U1を算出する第一演算ユニットと、
    前記第一推定ユニットにより推定された反力R1と前記第二推定ユニットにより推定された反力R2との差(R1−R2)に対応する前記シートの張力(R1−R2)/2と、目標張力との偏差に応じた操作量U2を算出する第二演算ユニットと、
    前記操作量U1と前記操作量U2との和(U1+U2)に応じた制御信号を前記第一駆動デバイスに入力する第一駆動制御ユニットと、
    前記操作量U1と前記操作量U2との差(U1−U2)に応じた制御信号を前記第二駆動デバイスに入力する第二駆動制御ユニットと、
    を備えることを特徴とする制御デバイス。
JP2013072750A 2013-03-29 2013-03-29 搬送システム、画像形成システム及び制御デバイス Active JP5803969B2 (ja)

Priority Applications (4)

Application Number Priority Date Filing Date Title
JP2013072750A JP5803969B2 (ja) 2013-03-29 2013-03-29 搬送システム、画像形成システム及び制御デバイス
US14/069,683 US9382084B2 (en) 2013-03-29 2013-11-01 Transporting system, image forming system, and controller
EP13191289.1A EP2783875B1 (en) 2013-03-29 2013-11-01 Transporting system, image forming system, and controller
US14/230,298 US20140295189A1 (en) 2013-03-29 2014-03-31 Coverlay for high-frequency circuit substrate

Applications Claiming Priority (1)

Application Number Priority Date Filing Date Title
JP2013072750A JP5803969B2 (ja) 2013-03-29 2013-03-29 搬送システム、画像形成システム及び制御デバイス

Publications (2)

Publication Number Publication Date
JP2014197319A true JP2014197319A (ja) 2014-10-16
JP5803969B2 JP5803969B2 (ja) 2015-11-04

Family

ID=49515261

Family Applications (1)

Application Number Title Priority Date Filing Date
JP2013072750A Active JP5803969B2 (ja) 2013-03-29 2013-03-29 搬送システム、画像形成システム及び制御デバイス

Country Status (3)

Country Link
US (2) US9382084B2 (ja)
EP (1) EP2783875B1 (ja)
JP (1) JP5803969B2 (ja)

Cited By (6)

* Cited by examiner, † Cited by third party
Publication number Priority date Publication date Assignee Title
US9039004B2 (en) 2013-08-30 2015-05-26 Brother Kogyo Kabushiki Kaisha Transport system, image forming system, and control device
US9382084B2 (en) 2013-03-29 2016-07-05 Brother Kogyo Kabushiki Kaisha Transporting system, image forming system, and controller
WO2016152998A1 (ja) * 2015-03-25 2016-09-29 富士フイルム株式会社 画像形成装置、及び画像形成方法
JP2017068850A (ja) * 2015-09-30 2017-04-06 ブラザー工業株式会社 搬送システム、シート処理システム、及び制御デバイス
JP2018172202A (ja) * 2017-03-31 2018-11-08 ブラザー工業株式会社 搬送システム
JP2020087342A (ja) * 2018-11-30 2020-06-04 ブラザー工業株式会社 更新方法、コンピュータプログラム、及び制御システム

Families Citing this family (4)

* Cited by examiner, † Cited by third party
Publication number Priority date Publication date Assignee Title
JP6065801B2 (ja) * 2013-09-30 2017-01-25 ブラザー工業株式会社 シート搬送装置及び画像形成システム
JP2015082064A (ja) * 2013-10-24 2015-04-27 キヤノン株式会社 シート搬送装置及び画像形成装置
JP6390138B2 (ja) * 2014-03-31 2018-09-19 ブラザー工業株式会社 制御装置
JP6639775B2 (ja) * 2014-10-21 2020-02-05 住友電工プリントサーキット株式会社 樹脂フィルム、プリント配線板用カバーレイ、プリント配線板用基板及びプリント配線板

Family Cites Families (16)

* Cited by examiner, † Cited by third party
Publication number Priority date Publication date Assignee Title
DE3506526A1 (de) * 1985-02-25 1986-08-28 Akzo Gmbh, 5600 Wuppertal Gedrucktes schaltelement mit polyimid enthaltender deckschicht
US4634631A (en) * 1985-07-15 1987-01-06 Rogers Corporation Flexible circuit laminate and method of making the same
EP0397090B1 (en) * 1989-05-08 1996-04-10 Canon Kabushiki Kaisha Recording apparatus
JP3131103B2 (ja) 1994-11-07 2001-01-31 キヤノン株式会社 シート搬送装置
JP3607528B2 (ja) 1999-04-28 2005-01-05 シャープ株式会社 画像形成装置
JP4091020B2 (ja) 2004-06-25 2008-05-28 日本リライアンス株式会社 ロール制御装置
JP4539872B2 (ja) * 2005-08-02 2010-09-08 セイコーエプソン株式会社 被記録材搬送量制御方法、被記録材搬送装置、および記録装置
JP5002489B2 (ja) * 2008-02-27 2012-08-15 株式会社リコー 画像形成装置
US8503853B2 (en) * 2009-03-31 2013-08-06 Toray Industries, Inc. Plastic optical fiber and plastic optical fiber code
JP5621383B2 (ja) * 2009-09-11 2014-11-12 株式会社リコー 搬送装置、画像形成装置、被搬送媒体搬送方法、プログラム
US8616671B2 (en) 2011-04-27 2013-12-31 Eastman Kodak Company Printing multi-channel image on web receiver
JP2013072749A (ja) 2011-09-28 2013-04-22 Hitachi Consumer Electronics Co Ltd 太陽電池パネルを用いた環境情報収集装置
JP5869817B2 (ja) 2011-09-28 2016-02-24 株式会社日立ハイテクノロジーズ 欠陥検査方法および欠陥検査装置
JP5838990B2 (ja) * 2013-03-29 2016-01-06 ブラザー工業株式会社 搬送システム、画像形成システム及び制御デバイス
JP5803969B2 (ja) 2013-03-29 2015-11-04 ブラザー工業株式会社 搬送システム、画像形成システム及び制御デバイス
JP6136774B2 (ja) * 2013-08-30 2017-05-31 ブラザー工業株式会社 搬送システム、画像形成システム及び制御デバイス

Cited By (12)

* Cited by examiner, † Cited by third party
Publication number Priority date Publication date Assignee Title
US9382084B2 (en) 2013-03-29 2016-07-05 Brother Kogyo Kabushiki Kaisha Transporting system, image forming system, and controller
US9039004B2 (en) 2013-08-30 2015-05-26 Brother Kogyo Kabushiki Kaisha Transport system, image forming system, and control device
WO2016152998A1 (ja) * 2015-03-25 2016-09-29 富士フイルム株式会社 画像形成装置、及び画像形成方法
JP2016182689A (ja) * 2015-03-25 2016-10-20 富士フイルム株式会社 画像形成装置、及び画像形成方法
US10207525B2 (en) 2015-03-25 2019-02-19 Fujifilm Corporation Image forming apparatus and image forming method
JP2017068850A (ja) * 2015-09-30 2017-04-06 ブラザー工業株式会社 搬送システム、シート処理システム、及び制御デバイス
US9925807B2 (en) 2015-09-30 2018-03-27 Brother Kogyo Kabushiki Kaisha Conveyance system, sheet processing system, and controller
JP2018172202A (ja) * 2017-03-31 2018-11-08 ブラザー工業株式会社 搬送システム
US10155403B2 (en) 2017-03-31 2018-12-18 Brother Kogyo Kabushiki Kaisha Conveyance system
JP2020087342A (ja) * 2018-11-30 2020-06-04 ブラザー工業株式会社 更新方法、コンピュータプログラム、及び制御システム
US11586162B2 (en) 2018-11-30 2023-02-21 Brother Kogyo Kabushiki Kaisha Method of updating value of parameter in estimator, storage medium storing computer program, and control system
JP7305950B2 (ja) 2018-11-30 2023-07-11 ブラザー工業株式会社 更新方法、コンピュータプログラム、及び制御システム

Also Published As

Publication number Publication date
US9382084B2 (en) 2016-07-05
US20140291926A1 (en) 2014-10-02
JP5803969B2 (ja) 2015-11-04
US20140295189A1 (en) 2014-10-02
EP2783875A1 (en) 2014-10-01
EP2783875B1 (en) 2020-01-08

Similar Documents

Publication Publication Date Title
JP5803969B2 (ja) 搬送システム、画像形成システム及び制御デバイス
JP5838990B2 (ja) 搬送システム、画像形成システム及び制御デバイス
CN102457219B (zh) 电机控制装置
JP5488516B2 (ja) モータ制御装置及び画像形成装置
US9056503B2 (en) Recording apparatus
JP6136774B2 (ja) 搬送システム、画像形成システム及び制御デバイス
JP5891929B2 (ja) 搬送装置
EP3212425A1 (en) Printer and method
JP2013066300A (ja) モータ制御装置及び画像形成装置
JP6065801B2 (ja) シート搬送装置及び画像形成システム
JP6702124B2 (ja) 搬送システム、シート処理システム、及び制御デバイス
JP6045263B2 (ja) 記録装置及び制御方法
JP5834730B2 (ja) モータ制御装置及び画像形成システム
JP6922346B2 (ja) 搬送システム
JP2013193307A (ja) 印刷装置、ロール体の径の測定方法及び印刷方法
JP6213108B2 (ja) シート搬送装置及び画像形成システム
JP5963492B2 (ja) 搬送装置及び記録装置
JP2007216476A (ja) 記録装置及び搬送制御方法
JP2011093318A (ja) 搬送装置及び該装置を備えた記録装置

Legal Events

Date Code Title Description
A621 Written request for application examination

Free format text: JAPANESE INTERMEDIATE CODE: A621

Effective date: 20150316

A977 Report on retrieval

Free format text: JAPANESE INTERMEDIATE CODE: A971007

Effective date: 20150708

TRDD Decision of grant or rejection written
A01 Written decision to grant a patent or to grant a registration (utility model)

Free format text: JAPANESE INTERMEDIATE CODE: A01

Effective date: 20150804

A61 First payment of annual fees (during grant procedure)

Free format text: JAPANESE INTERMEDIATE CODE: A61

Effective date: 20150817

R150 Certificate of patent or registration of utility model

Ref document number: 5803969

Country of ref document: JP

Free format text: JAPANESE INTERMEDIATE CODE: R150