WO2016017054A1 - 撮像装置 - Google Patents

撮像装置 Download PDF

Info

Publication number
WO2016017054A1
WO2016017054A1 PCT/JP2015/002583 JP2015002583W WO2016017054A1 WO 2016017054 A1 WO2016017054 A1 WO 2016017054A1 JP 2015002583 W JP2015002583 W JP 2015002583W WO 2016017054 A1 WO2016017054 A1 WO 2016017054A1
Authority
WO
WIPO (PCT)
Prior art keywords
lens barrel
imaging
imaging apparatus
movable
unit
Prior art date
Legal status (The legal status is an assumption and is not a legal conclusion. Google has not performed a legal analysis and makes no representation as to the accuracy of the status listed.)
Ceased
Application number
PCT/JP2015/002583
Other languages
English (en)
French (fr)
Japanese (ja)
Inventor
泰明 礒永
Current Assignee (The listed assignees may be inaccurate. Google has not performed a legal analysis and makes no representation or warranty as to the accuracy of the list.)
Sony Corp
Original Assignee
Sony Corp
Priority date (The priority date is an assumption and is not a legal conclusion. Google has not performed a legal analysis and makes no representation as to the accuracy of the date listed.)
Filing date
Publication date
Application filed by Sony Corp filed Critical Sony Corp
Priority to US15/325,689 priority Critical patent/US10230886B2/en
Priority to CN201580039961.6A priority patent/CN106537245A/zh
Publication of WO2016017054A1 publication Critical patent/WO2016017054A1/ja
Anticipated expiration legal-status Critical
Priority to US16/268,010 priority patent/US10477092B2/en
Ceased legal-status Critical Current

Links

Images

Classifications

    • GPHYSICS
    • G03PHOTOGRAPHY; CINEMATOGRAPHY; ANALOGOUS TECHNIQUES USING WAVES OTHER THAN OPTICAL WAVES; ELECTROGRAPHY; HOLOGRAPHY
    • G03BAPPARATUS OR ARRANGEMENTS FOR TAKING PHOTOGRAPHS OR FOR PROJECTING OR VIEWING THEM; APPARATUS OR ARRANGEMENTS EMPLOYING ANALOGOUS TECHNIQUES USING WAVES OTHER THAN OPTICAL WAVES; ACCESSORIES THEREFOR
    • G03B17/00Details of cameras or camera bodies; Accessories therefor
    • G03B17/02Bodies
    • GPHYSICS
    • G02OPTICS
    • G02BOPTICAL ELEMENTS, SYSTEMS OR APPARATUS
    • G02B17/00Systems with reflecting surfaces, with or without refracting elements
    • G02B17/08Catadioptric systems
    • G02B17/0856Catadioptric systems comprising a refractive element with a reflective surface, the reflection taking place inside the element, e.g. Mangin mirrors
    • G02B17/086Catadioptric systems comprising a refractive element with a reflective surface, the reflection taking place inside the element, e.g. Mangin mirrors wherein the system is made of a single block of optical material, e.g. solid catadioptric systems
    • GPHYSICS
    • G03PHOTOGRAPHY; CINEMATOGRAPHY; ANALOGOUS TECHNIQUES USING WAVES OTHER THAN OPTICAL WAVES; ELECTROGRAPHY; HOLOGRAPHY
    • G03BAPPARATUS OR ARRANGEMENTS FOR TAKING PHOTOGRAPHS OR FOR PROJECTING OR VIEWING THEM; APPARATUS OR ARRANGEMENTS EMPLOYING ANALOGOUS TECHNIQUES USING WAVES OTHER THAN OPTICAL WAVES; ACCESSORIES THEREFOR
    • G03B15/00Special procedures for taking photographs; Apparatus therefor
    • G03B15/02Illuminating scene
    • GPHYSICS
    • G03PHOTOGRAPHY; CINEMATOGRAPHY; ANALOGOUS TECHNIQUES USING WAVES OTHER THAN OPTICAL WAVES; ELECTROGRAPHY; HOLOGRAPHY
    • G03BAPPARATUS OR ARRANGEMENTS FOR TAKING PHOTOGRAPHS OR FOR PROJECTING OR VIEWING THEM; APPARATUS OR ARRANGEMENTS EMPLOYING ANALOGOUS TECHNIQUES USING WAVES OTHER THAN OPTICAL WAVES; ACCESSORIES THEREFOR
    • G03B17/00Details of cameras or camera bodies; Accessories therefor
    • G03B17/02Bodies
    • G03B17/04Bodies collapsible, foldable or extensible, e.g. book type
    • GPHYSICS
    • G03PHOTOGRAPHY; CINEMATOGRAPHY; ANALOGOUS TECHNIQUES USING WAVES OTHER THAN OPTICAL WAVES; ELECTROGRAPHY; HOLOGRAPHY
    • G03BAPPARATUS OR ARRANGEMENTS FOR TAKING PHOTOGRAPHS OR FOR PROJECTING OR VIEWING THEM; APPARATUS OR ARRANGEMENTS EMPLOYING ANALOGOUS TECHNIQUES USING WAVES OTHER THAN OPTICAL WAVES; ACCESSORIES THEREFOR
    • G03B17/00Details of cameras or camera bodies; Accessories therefor
    • G03B17/02Bodies
    • G03B17/12Bodies with means for supporting objectives, supplementary lenses, filters, masks, or turrets
    • GPHYSICS
    • G03PHOTOGRAPHY; CINEMATOGRAPHY; ANALOGOUS TECHNIQUES USING WAVES OTHER THAN OPTICAL WAVES; ELECTROGRAPHY; HOLOGRAPHY
    • G03BAPPARATUS OR ARRANGEMENTS FOR TAKING PHOTOGRAPHS OR FOR PROJECTING OR VIEWING THEM; APPARATUS OR ARRANGEMENTS EMPLOYING ANALOGOUS TECHNIQUES USING WAVES OTHER THAN OPTICAL WAVES; ACCESSORIES THEREFOR
    • G03B17/00Details of cameras or camera bodies; Accessories therefor
    • G03B17/56Accessories
    • G03B17/561Support related camera accessories
    • GPHYSICS
    • G03PHOTOGRAPHY; CINEMATOGRAPHY; ANALOGOUS TECHNIQUES USING WAVES OTHER THAN OPTICAL WAVES; ELECTROGRAPHY; HOLOGRAPHY
    • G03BAPPARATUS OR ARRANGEMENTS FOR TAKING PHOTOGRAPHS OR FOR PROJECTING OR VIEWING THEM; APPARATUS OR ARRANGEMENTS EMPLOYING ANALOGOUS TECHNIQUES USING WAVES OTHER THAN OPTICAL WAVES; ACCESSORIES THEREFOR
    • G03B17/00Details of cameras or camera bodies; Accessories therefor
    • G03B17/56Accessories
    • G03B17/563Camera grips, handles
    • GPHYSICS
    • G03PHOTOGRAPHY; CINEMATOGRAPHY; ANALOGOUS TECHNIQUES USING WAVES OTHER THAN OPTICAL WAVES; ELECTROGRAPHY; HOLOGRAPHY
    • G03BAPPARATUS OR ARRANGEMENTS FOR TAKING PHOTOGRAPHS OR FOR PROJECTING OR VIEWING THEM; APPARATUS OR ARRANGEMENTS EMPLOYING ANALOGOUS TECHNIQUES USING WAVES OTHER THAN OPTICAL WAVES; ACCESSORIES THEREFOR
    • G03B17/00Details of cameras or camera bodies; Accessories therefor
    • G03B17/56Accessories
    • G03B17/566Accessory clips, holders, shoes to attach accessories to camera
    • HELECTRICITY
    • H04ELECTRIC COMMUNICATION TECHNIQUE
    • H04NPICTORIAL COMMUNICATION, e.g. TELEVISION
    • H04N23/00Cameras or camera modules comprising electronic image sensors; Control thereof
    • HELECTRICITY
    • H04ELECTRIC COMMUNICATION TECHNIQUE
    • H04NPICTORIAL COMMUNICATION, e.g. TELEVISION
    • H04N23/00Cameras or camera modules comprising electronic image sensors; Control thereof
    • H04N23/50Constructional details
    • H04N23/51Housings
    • HELECTRICITY
    • H04ELECTRIC COMMUNICATION TECHNIQUE
    • H04NPICTORIAL COMMUNICATION, e.g. TELEVISION
    • H04N23/00Cameras or camera modules comprising electronic image sensors; Control thereof
    • H04N23/50Constructional details
    • H04N23/55Optical parts specially adapted for electronic image sensors; Mounting thereof
    • HELECTRICITY
    • H04ELECTRIC COMMUNICATION TECHNIQUE
    • H04NPICTORIAL COMMUNICATION, e.g. TELEVISION
    • H04N23/00Cameras or camera modules comprising electronic image sensors; Control thereof
    • H04N23/56Cameras or camera modules comprising electronic image sensors; Control thereof provided with illuminating means
    • HELECTRICITY
    • H04ELECTRIC COMMUNICATION TECHNIQUE
    • H04NPICTORIAL COMMUNICATION, e.g. TELEVISION
    • H04N23/00Cameras or camera modules comprising electronic image sensors; Control thereof
    • H04N23/60Control of cameras or camera modules
    • H04N23/66Remote control of cameras or camera parts, e.g. by remote control devices
    • H04N23/663Remote control of cameras or camera parts, e.g. by remote control devices for controlling interchangeable camera parts based on electronic image sensor signals
    • GPHYSICS
    • G03PHOTOGRAPHY; CINEMATOGRAPHY; ANALOGOUS TECHNIQUES USING WAVES OTHER THAN OPTICAL WAVES; ELECTROGRAPHY; HOLOGRAPHY
    • G03BAPPARATUS OR ARRANGEMENTS FOR TAKING PHOTOGRAPHS OR FOR PROJECTING OR VIEWING THEM; APPARATUS OR ARRANGEMENTS EMPLOYING ANALOGOUS TECHNIQUES USING WAVES OTHER THAN OPTICAL WAVES; ACCESSORIES THEREFOR
    • G03B15/00Special procedures for taking photographs; Apparatus therefor
    • G03B15/02Illuminating scene
    • G03B15/03Combinations of cameras with lighting apparatus; Flash units
    • G03B15/05Combinations of cameras with electronic flash apparatus; Electronic flash units
    • HELECTRICITY
    • H04ELECTRIC COMMUNICATION TECHNIQUE
    • H04NPICTORIAL COMMUNICATION, e.g. TELEVISION
    • H04N23/00Cameras or camera modules comprising electronic image sensors; Control thereof
    • H04N23/60Control of cameras or camera modules
    • H04N23/63Control of cameras or camera modules by using electronic viewfinders

Definitions

  • This technology relates to an imaging device.
  • Patent Document 1 discloses a foldable mobile phone and a touch panel mobile terminal having a camera for self-portrait.
  • an object of the present technology is to provide an imaging device suitable for self-portrait.
  • An imaging device includes a main body and a movable unit.
  • the main body has a lens barrel.
  • the movable unit is configured such that a relative position with respect to the lens barrel is variable along an axial direction perpendicular to the optical axis of the lens barrel, and the movable portion is attached to the lens barrel.
  • an urging mechanism for energizing is included in an imaging device.
  • an attached body capable of displaying a subject image can be sandwiched between the lens barrel portion and the movable portion. Moreover, since the movable unit has an urging mechanism, the attached body can be stably held. Thereby, since the user can capture an image to be captured while confirming with the above-described attached body displayed in the capturing direction, the user's desired image can be obtained in self-portrait.
  • examples of the attached body include electronic devices such as a display device and a mobile terminal that can receive a subject image from an imaging device.
  • electronic devices such as a display device and a mobile terminal that can receive a subject image from an imaging device.
  • an article having a mirror surface that can present its own image to the user may be used.
  • the main body may further include a housing part.
  • the housing portion has a longitudinal direction in an axial direction orthogonal to the optical axis, and is configured to be able to store the movable portion.
  • the lens barrel may be provided at one end of the casing in the longitudinal direction, and the movable part may be provided at the other end of the casing in the longitudinal direction.
  • the movable part may be composed of a shaft member.
  • the axial member has a longitudinal direction in an axial direction orthogonal to the optical axis, and is configured to be movable along the second axial direction.
  • the biasing mechanism may include an elastic member fixed between the shaft-shaped member and the housing.
  • the movable portion further includes an engaging portion, and a first position where the engaging portion engages with the other end portion, and the engaging portion is orthogonal to the optical axis from the other end portion. You may be comprised so that a movement between the 2nd positions spaced apart to the axial direction is possible. According to this configuration, since the engaging portion engages with the other end portion at the first position, inadvertent movement of the movable portion can be prevented. Further, for example, when the mounted body is gripped by the movable part and the biasing mechanism, the second position is determined in accordance with the size of the mounted body. It can be gripped regardless.
  • the engaging portion is capable of gripping the attached body in cooperation with the lens barrel portion at the first position where the engaging portion engages with the other end portion at the first position.
  • the possible second posture may be configured to be switchable. Thereby, since the second posture is a posture facing the axial direction perpendicular to the optical axis, the attached body can be gripped more effectively.
  • the lens barrel portion may include a lens, and a mirror surface portion may be provided on the outer periphery of the lens.
  • the mirror surface portion may be an annular convex mirror portion that is convex in the imaging direction.
  • the lens barrel may further include a light emitting unit that emits light in the imaging direction.
  • a photographing operation unit may be arranged on a surface different from the imaging direction in the main body.
  • a tripod hole may be disposed at the end of the main body opposite to the end connected to the lens barrel.
  • You may further have a communication part which can communicate imaging data with respect to an external display apparatus.
  • the movable part may further include a holding part capable of holding the external display device in cooperation with the lens barrel part.
  • An imaging device includes an imaging unit and an attachment unit.
  • the imaging unit has a lens barrel.
  • the attachment unit includes a holding unit that is movable along an axial direction orthogonal to the optical axis of the lens barrel, and that can hold an attachment body in cooperation with the lens barrel, and the imaging unit. Connected to.
  • an image desired by the user can be obtained in self-portrait.
  • the effects described here are not necessarily limited, and may be any of the effects described in the present technology.
  • FIG. 1 is a front view
  • FIG. 2 is a plan view
  • FIG. 3 is a right side view
  • FIG. 4 is a left side view
  • FIG. 6 is a rear view
  • FIG. 7 is a front perspective view
  • 8 and 9 are a front view and a perspective view, respectively, illustrating an operation example of the imaging apparatus
  • FIGS. 10 to 12 are a front view, a side view, and a perspective view, respectively, showing an example of use of the imaging apparatus. It is.
  • the X-axis direction, the Y-axis direction, and the Z-axis direction in the figure respectively indicate three axis directions that are orthogonal to each other.
  • the X-axis direction corresponds to the left-right direction
  • the Y-axis direction corresponds to the front-rear direction
  • the Z-axis direction corresponds to the height direction.
  • the imaging device 1 of the present embodiment is configured not only to be used alone, but also to be used in combination with a portable terminal 50 as an attached body or an external display device as shown in FIGS.
  • the imaging device 1 of the present embodiment is configured not only to be used alone, but also to be used in combination with a portable terminal 50 as an attached body or an external display device as shown in FIGS.
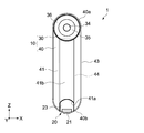
  • the imaging apparatus 1 includes a main body 10 and a movable unit 20.
  • a main body 10 and a movable unit 20 are configured to be described.
  • the main body 10 constitutes an imaging unit having a lens barrel part 30 and a housing part 40.
  • the housing unit 40 has a longitudinal direction in the Z-axis direction.
  • the lens barrel 30 is provided at one end 40a (first end) in the longitudinal direction of the casing 40, and the movable unit 20 is provided at the other end 40b (second end). .
  • the casing 40 includes a front part 41 (first surface) on the imaging direction (+ Y direction) side, a back part 42 (second face) on the opposite side, and the front part 41 and the back part 42. And a side surface portion 43 provided therebetween.
  • the external shapes of the front portion 41 and the back portion 42 are each formed in an oval shape having a long axis in the Z-axis direction, but are not limited thereto.
  • the front portion 41 is formed as a flat surface, and has a concave groove 41b (FIGS. 1 and 7) formed at a central portion with a predetermined width in the Z-axis direction.
  • the back surface portion 42 is formed of a partially cylindrical curved surface having an axial center in the Z-axis direction.
  • the lens barrel portion 30 is coupled to the end portion 40a side of the front portion 41.
  • an engaged portion 41 a that can be engaged with the movable unit 20 is formed on the end portion 40 b side of the front portion 41.
  • the engaged portion 41a is typically constituted by a recess formed by cutting out a part of the end portion 40b of the front portion 41.
  • a photographing operation portion such as a zoom switch 42a and a shutter button 42b, and a battery display portion 42c are arranged.
  • the shutter button 42b is formed of a button that starts auto-focusing when pressed halfway and starts shooting when pressed fully, for example.
  • the battery remaining amount is displayed on the battery display unit 42c.
  • a framing image display screen may be provided.
  • the zoom switch 42 a, the shutter button 42 b, and the display unit 42 c are not limited to the example arranged on the rear unit 42, and may be arranged on the front unit 41 or the side unit 43.
  • an opening 43 a is formed on the side portion 43 on the end 40 b side.
  • a storage portion 44 (FIG. 1) capable of storing a part of the movable unit 20 (movable portion 21) is formed from the opening 43 a to the inside of the housing portion 40.
  • the storage portion 44 is typically configured as a space portion that is formed from the opening 43a toward the end portion 40a along the Z-axis direction and has a longitudinal direction in the Z-axis direction.
  • the storage portion 44 may be extended up to just below the lens barrel portion 30.
  • a tripod mounting hole 43 b is provided at an end 40 b in the opposite direction to the end 40 a connected to the lens barrel 30, as shown in FIG. 5. Thereby, it becomes possible to image
  • the tripod mounting hole 43b can be omitted.
  • the housing unit 40 includes a control unit, a communication unit, a battery, an external storage medium, and the like, not shown.
  • the control unit functions as a control processing unit that controls each unit included in the imaging apparatus 1, and controls each unit based on an instruction input signal or the like according to a user input operation using each button or switch.
  • the communication unit has a function of performing wireless communication with an external electronic device such as NFC (Near Field Communication), WIFI (Wireless Fidelity), and wireless LAN (Local Area Network).
  • an external electronic device such as NFC (Near Field Communication), WIFI (Wireless Fidelity), and wireless LAN (Local Area Network).
  • imaging data such as an image or video captured by the imaging device 1 can be displayed and stored on the portable terminal 50 (external display device).
  • various operations such as an imaging operation and a zoom operation of the imaging device 1 can be performed by an operation on the portable terminal 50. Therefore, it is desirable to use a material that does not interfere with wireless communication with an external electronic device, such as a synthetic resin, for example, as a member constituting the outer surface of the housing unit 40.
  • the battery is typically a secondary battery that can be repeatedly charged, such as a lithium ion battery.
  • a card-shaped storage medium having a semiconductor memory capable of storing image data acquired by an image sensor incorporated in the lens barrel 30 is used.
  • the housing unit 40 may be provided with an acoustic element such as a speaker or a microphone.
  • the lens barrel portion 30 is formed in a cylindrical shape having a distal end portion 31, a proximal end portion 32, and an outer peripheral portion 33 formed between the distal end portion 31 and the proximal end portion 32.
  • the shape of the lens barrel 30 is not particularly limited, and may be formed in, for example, a rectangular parallelepiped shape or other shapes.
  • the lens barrel 30 is coupled to the front end 41 on the end 40 a side of the housing 40 at the base end 32.
  • the photographing lens 34 includes a zoom lens that can move in the optical axis direction (Y-axis direction). Further, the lens barrel 30 has an image sensor inside, and the subject image formed by the photographing lens 34 is photoelectrically converted by the image sensor to generate an image signal.
  • the imaging element is not limited to the interior of the lens barrel unit 30 and may be disposed inside the housing unit 40.
  • the lens barrel portion 30 may be configured to be rotatable around the optical axis with respect to the housing portion 40. According to this configuration, together with the lens barrel 30, the image sensor inside the lens barrel 30 can be rotated in the same manner. Thereby, it is possible to obtain a desired imaging posture without rotating the housing unit 40.
  • the lens barrel 30 may be configured to be tiltable with respect to the casing 40 in a predetermined angle range in a predetermined direction. Thereby, it is possible to obtain a desired imaging direction without tilting the housing unit 40.
  • the lens barrel 30 has a mirror surface provided on the outer periphery of the taking lens 34.
  • an annular convex mirror portion 35 is disposed as the mirror surface portion at the distal end portion 31 of the lens barrel portion 30 along the periphery of the photographing lens 34.
  • the convex mirror part 35 is made of a highly light reflective material, typically a metal member such as aluminum or silver, or a metal foil.
  • the convex mirror part 35 has a shape that is convex in the imaging direction (+ Y direction) from the outer edge part toward the center.
  • the user when the user (operator) takes an image of himself / herself, the user can visually recognize his / her appearance (typically the user's face) displayed on the convex mirror unit 35 and is positioned relative to the taking lens 34.
  • the shooting operation can be performed while checking
  • the convex mirror part 35 is arranged so as to surround the photographing lens 34, it is possible to take an image with the user's eyes and face facing the optical axis direction. Moreover, the convex mirror unit 35 can project a whole body image of the user by being convex in the imaging direction.
  • the shape of the convex mirror part 35 is not particularly limited, and for example, it may be a plane mirror part orthogonal to the imaging direction. Moreover, the convex mirror part 35 can also be abbreviate
  • a light emitting part 36 capable of irradiating light in the imaging direction.
  • the light emitting unit 36 is configured by, for example, a light emitting diode.
  • the color of light emitted from the light emitting unit 36 is not particularly limited, and is typically white.
  • the light emitting unit 36 may be used as a strobe or may be used for the purpose of obtaining a good skin color by brightening the user's face in the case of self-portrait.
  • the light emission part 36 can also be abbreviate
  • the outer peripheral portion 33 of the lens barrel 30 is provided with an engaging portion 33a (first engaging portion).
  • the engaging portion 33a is configured to be able to hold the portable terminal 50 in cooperation with the movable unit 20 described later.
  • the engaging portion 33 a is formed in the outer peripheral portion 33 of the lens barrel portion 30 and in a region facing the end portion 40 b side of the housing portion 40.
  • the engaging portion 33a is typically formed by a flat surface or a curved recess formed to be able to hold the mobile terminal 50.
  • the configuration of the engaging portion 33a is not limited to the above example, and is not particularly limited as long as it is possible to prevent the mobile terminal 50 being held from falling off.
  • the engaging portion 33a may be a protruding portion that protrudes from the outer peripheral portion 33 toward the movable unit 20 side.
  • a member made of a material having a large frictional resistance with the mobile terminal 50 may be disposed as the engaging portion 33a, and the mobile terminal 50 may be held with a frictional force.
  • the engaging portion 33 a is not necessarily formed in a special form on the outer peripheral portion 33 of the lens barrel portion 30, and may be configured by a part of the cylindrical surface of the outer peripheral portion 33.
  • the portable terminal 50 has a display screen 51 and is configured to be capable of displaying image data output from the imaging device on the display screen 51 by performing wireless communication with the communication unit of the imaging device 1. Consists of.
  • the mobile terminal 50 typically includes a mobile phone such as a smartphone.
  • the movable unit 20 includes a movable part 21 and an urging member 24.
  • the movable portion 21 is stored in the housing position (first position) as shown in FIG. 7, and from the end 40b of the housing portion 40 as shown in FIGS. It is connected to the housing part 40 so as to be able to move linearly between the drawer positions (second positions) separated from each other.
  • the movable portion 21 is configured as an attach portion that can hold the portable terminal 50 in cooperation with the lens barrel portion 30.
  • the movable portion 21 has a shaft-like member 22 and an engaging member (second engaging portion or holding portion).
  • the movable portion 21 is provided in the main body 10 so as to be extendable from the end portion 40b of the housing portion 40.
  • the shaft-shaped member 22 has a base end portion 22a that is an end portion on the housing portion 40 side, and a tip end portion 22b opposite to the base end portion 22a.
  • the shaft-like member 22 is composed of a plate-like member having the X-axis direction as the width direction, the Y-axis direction as the thickness direction, and the Z-axis direction as the longitudinal direction. It may be configured in the shape of
  • the engaging member 23 is constituted by a plate-like member connected to the tip end portion 22b of the shaft-like member 22 via a hinge. As shown in FIGS. 7 and 8, the engaging member 23 is stored in a retracted posture (first posture) that overlaps the shaft-like member 22, and a deployed posture that is substantially perpendicular to the shaft-like member 22 as shown in FIG. It is configured to be able to rotate approximately 90 ° between (second posture).
  • the engaging member 23 engages with the engaged portion 41a formed on the end portion 40b of the housing portion 40 in the storage position in the storage posture. At this time, as shown in FIG. 1, the entire engaging member 23 is formed in a size and shape that fit within the region of the engaged portion 41 a, so that the movable portion 21 from the end portion 40 b of the housing portion 40. Is prevented from protruding.
  • the engaging member 23 faces the lens barrel 30 in the Z-axis direction in the deployed position, and grips the portable terminal 50 in cooperation with the engaging portion 33a of the lens barrel 30 at the withdrawal position. Can be configured.
  • the shape and thickness of the engaging member 23 are not particularly limited as long as the portable terminal 50 can be gripped in cooperation with the engaging portion 33a. Further, the engagement member 23 may have a shape or a structure for stably holding the mobile terminal 50. For example, as shown in FIGS. 9 and 11, a protruding portion 23 a for improving the holding stability of the mobile terminal 50 protrudes toward the main body 10 in the deployed posture at the distal end portion of the engaging member 23. Is provided. In this case, as shown in FIG. 9, the shaft-like member 22 is provided with an accommodation groove 22 c that can accommodate the protruding portion 23 a in the above-described accommodation posture.
  • the extraction length (movement distance) of the movable portion 21 from the storage position to the extraction position is not particularly limited as long as it is a length that can hold the portable terminal 50 having a predetermined size.
  • a stopper 22 s (FIG. 8) that prevents the movable portion 21 from being detached from the opening 43 a communicating with the storage portion 44 is provided.
  • the maximum extraction length of the movable portion 21 up to the extraction position corresponds to the length from the storage position until the extraction operation of the movable portion 21 is regulated by the stopper 22s.
  • the urging member 24 is composed of a plurality of elastic members arranged between the support portion 40 s inside the housing portion 40 and the stopper 22 s of the movable portion 21.
  • the urging member 24 urges the movable portion 21 toward the storage position.
  • the urging member 24, the support part 40 s and the stopper part 22 s constitute an “urging mechanism” in the movable unit 20.
  • the urging member 24 is a clamp corresponding to the elastic force of the urging member 24 with respect to the portable terminal 50 disposed between the lens barrel 30 (engagement portion 33a) and the movable portion (engagement member 23). Giving power. Thereby, the portable terminal 50 can be stably held. Further, the urging member 24 prevents the movable part 21 from inadvertently protruding from the housing part 40 when the movable part 21 is in the storage position. Thereby, it becomes possible to carry the imaging apparatus 1 while protecting the movable part 21 from damage or the like.
  • the urging member 24 is not limited to the example constituted by the tension spring as shown in FIG. 11, but may be constituted by a compression spring.
  • the urging member 24 is not particularly limited as long as the movable portion 21 can be urged as described above, and may be configured by another elastic member such as a leaf spring or a rubber member.
  • the imaging apparatus 1 is used as a still image shooting camera, a moving image shooting video camera, or the like.
  • the imaging device 1 may be used alone or in cooperation with a mobile terminal such as a smartphone.
  • the imaging apparatus 1 is carried and used in a state where the movable portion 21 is accommodated in the housing portion 40.
  • the engaging member 23 of the movable portion 21 is in the storage posture to be engaged with the engaged portion 41 a of the housing portion 40.
  • casing part 40 can be handled, without making the movable part 21 protrude from the edge part 40b of the housing
  • the imaging device 1 may be used with the longitudinal direction of the casing 40 oriented in the vertical direction, or may be used with the longitudinal direction oriented in the horizontal direction.
  • the imaging device 1 may be used for shooting a subject other than the user (photographer) or may be used for shooting the user himself / herself.
  • the user can photograph while confirming his / her appearance shown on the convex mirror part 35 provided in the lens barrel part 30. It can be easily acquired. Further, when a part of a finger (typically a thumb) holding the image pickup device 1 of the user is positioned in the concave groove 41b of the front surface portion 41 of the housing unit 40, the concave groove moves the finger in the X-axis direction. Therefore, a stable still image without camera shake can be obtained.
  • the imaging device 1 can be used in combination with a mobile terminal such as a smartphone.
  • the portable terminal 50 is attached to the imaging device 1 via the movable unit 20 that functions as an attachment unit.
  • the movable portion 21 in the storage position is pulled out in the Z-axis direction, and the engagement member 23 is rotated from the storage position to the deployed position.
  • the movable part 21 is preferably pulled out at a distance larger than the width or length of the portable terminal 50.
  • the mobile terminal 50 is brought into contact with the front surface portion 41 of the housing unit 40 so that the display screen 51 faces the imaging direction (+ Y direction).
  • the portion is brought into contact with an engaging portion 33 a formed on the outer peripheral surface 33 of the lens barrel portion 30.
  • the movable part 21 is moved to the housing
  • the portable terminal 50 is attached to the imaging device 1. Since the movable unit 20 includes an urging member 24 that urges the movable portion 21 toward the housing portion 40, the movable unit 20 is interposed between the engaging portion 33 a of the lens barrel portion 30 and the engaging member 23 of the movable portion 21.
  • the portable terminal 50 can be stably held with a predetermined clamping force.
  • the end face of the mobile terminal 50 supported by the engaging portion 33a and the engaging member 23 is not limited to both end portions on the short side shown in FIGS. 10 to 12, but may be both end portions on the long side.
  • the mobile terminal 50 attached to the imaging unit (main body 10) via the attachment unit (movable unit 21) is disposed in proximity to the housing unit 40, the short-range wireless communication is performed between the imaging device 1 and the mobile terminal 50.
  • Communication NFC
  • the subject image acquired by the imaging device 1 is transmitted to the portable terminal 50 or displayed on the display screen 51 of the portable terminal 50, or is transmitted to another electronic device via the Internet using the communication function of the portable terminal 50.
  • Usage forms such as transmission (tethering) can be realized.
  • the display screen 51 of the mobile terminal 50 is held so as to face the image capturing direction, the subject image can be captured while confirming the subject image on the display screen 51 when the user himself / herself is shooting. This makes it possible to obtain a user's desired image in self-portrait.
  • the portable terminal 50 is described as an example of the attached body, but instead of this, a reflector such as a hand mirror that can reflect the user's own appearance may be used. . Thereby, a user's desired image can be obtained in selfie.
  • the movable portion 21 may have a plurality of configurations.
  • the movable portion 61 including a plurality of shaft-like members 62 each having an engaging member 63 that can hold the two corner portions at the lower end of the portable terminal 50 is configured. Good. In this case, the effect of further improving the holding stability of the portable terminal 50 can be expected.
  • the movable part 21 is extended from the housing
  • the housing part 40 is configured integrally with the lens barrel part 30, but the relative position between the lens barrel part and the housing part may be configured to be variable. That is, the casing may be configured as a part of the movable unit, and may be configured to hold an attached body such as a portable terminal between the lens barrel and the casing.
  • this technique can also take the following structures.
  • An imaging device comprising: a movable unit including: (2) The imaging apparatus according to (1) above, The imaging apparatus further includes a casing that has a longitudinal direction in an axial direction orthogonal to the optical axis and can store the movable part.
  • the imaging apparatus according to (2) above The lens barrel is provided at one end of the casing in the longitudinal direction, The said movable part is provided so that it can extend
  • the imaging apparatus according to (2) or (3) above, The movable portion has a longitudinal direction in an axial direction orthogonal to the optical axis, and is configured by an axial member that is movable along the second axial direction.
  • the urging mechanism includes an elastic member fixed between the shaft-shaped member and the housing.
  • the movable portion further includes an engaging portion, and a first position where the engaging portion engages with the other end portion, and the engaging portion is orthogonal to the optical axis from the other end portion.
  • An imaging apparatus configured to be movable between a second position spaced apart in the axial direction.
  • the engaging portion is configured to hold the attached body in cooperation with the lens barrel portion at the first position and the first posture engaging with the other end portion at the first position.
  • An imaging device configured to be switchable between a possible second posture.
  • the lens barrel includes a lens, and includes a mirror surface on an outer periphery of the lens.
  • An imaging apparatus further comprising a communication unit capable of communicating imaging data with an external display device.
  • the imaging apparatus according to (12) above, The movable unit further includes a holding unit capable of holding the external display device in cooperation with the lens barrel unit.
  • an imaging unit having a lens barrel;
  • An attachment connected to the imaging unit having a holding portion that is movable along an axial direction orthogonal to the optical axis of the lens barrel, and that can hold an attachment body in cooperation with the lens barrel.
  • An imaging device comprising:

Landscapes

  • Physics & Mathematics (AREA)
  • General Physics & Mathematics (AREA)
  • Engineering & Computer Science (AREA)
  • Multimedia (AREA)
  • Signal Processing (AREA)
  • Optics & Photonics (AREA)
  • Studio Devices (AREA)
  • Camera Bodies And Camera Details Or Accessories (AREA)
  • Structure And Mechanism Of Cameras (AREA)
  • Accessories Of Cameras (AREA)
  • Telephone Set Structure (AREA)
PCT/JP2015/002583 2014-07-30 2015-05-22 撮像装置 Ceased WO2016017054A1 (ja)

Priority Applications (3)

Application Number Priority Date Filing Date Title
US15/325,689 US10230886B2 (en) 2014-07-30 2015-05-22 Image pickup apparatus to capture a self image
CN201580039961.6A CN106537245A (zh) 2014-07-30 2015-05-22 图像捕获设备
US16/268,010 US10477092B2 (en) 2014-07-30 2019-02-05 Image pickup apparatus

Applications Claiming Priority (2)

Application Number Priority Date Filing Date Title
JP2014-154436 2014-07-30
JP2014154436A JP2016031482A (ja) 2014-07-30 2014-07-30 撮像装置

Related Child Applications (2)

Application Number Title Priority Date Filing Date
US15/325,689 A-371-Of-International US10230886B2 (en) 2014-07-30 2015-05-22 Image pickup apparatus to capture a self image
US16/268,010 Continuation US10477092B2 (en) 2014-07-30 2019-02-05 Image pickup apparatus

Publications (1)

Publication Number Publication Date
WO2016017054A1 true WO2016017054A1 (ja) 2016-02-04

Family

ID=55216986

Family Applications (1)

Application Number Title Priority Date Filing Date
PCT/JP2015/002583 Ceased WO2016017054A1 (ja) 2014-07-30 2015-05-22 撮像装置

Country Status (4)

Country Link
US (2) US10230886B2 (enExample)
JP (1) JP2016031482A (enExample)
CN (1) CN106537245A (enExample)
WO (1) WO2016017054A1 (enExample)

Families Citing this family (9)

* Cited by examiner, † Cited by third party
Publication number Priority date Publication date Assignee Title
CN208063255U (zh) * 2018-02-09 2018-11-06 广东欧珀移动通信有限公司 移动终端
CN110278294B (zh) * 2019-04-16 2020-04-17 重庆盛泰光电有限公司 一种手机自拍补光灯
JP7453340B2 (ja) * 2019-09-10 2024-03-19 インテル コーポレイション 移動可能なアクセサリハウジングを備えたラップトップコンピュータ
CN217770696U (zh) 2019-09-18 2022-11-08 高途乐公司 图像捕获设备和门组件
WO2021055251A1 (en) 2019-09-18 2021-03-25 Gopro, Inc. Door assemblies for image capture devices
WO2022000417A1 (en) * 2020-07-02 2022-01-06 Gopro, Inc. Removable battery door assemblies for image capture devices
USD1050227S1 (en) 2020-08-14 2024-11-05 Gopro, Inc. Camera door
USD1066462S1 (en) 2021-02-12 2025-03-11 Gopro, Inc. Camera door
USD1061682S1 (en) 2022-08-04 2025-02-11 Gopro, Inc. Camera door

Citations (11)

* Cited by examiner, † Cited by third party
Publication number Priority date Publication date Assignee Title
JPS58193530A (ja) * 1982-05-07 1983-11-11 Minolta Camera Co Ltd セルフタイマ−撮影用の撮影範囲目視鏡装置
JPH04161940A (ja) * 1990-10-24 1992-06-05 Fuji Photo Film Co Ltd カメラ
JPH10200834A (ja) * 1997-01-10 1998-07-31 Konica Corp レンズ付きフィルムユニット
JP2001159805A (ja) * 1999-12-03 2001-06-12 Konica Corp レンズ付きフィルムユニット
JP2002262308A (ja) * 2001-03-02 2002-09-13 Asahi Optical Co Ltd 3次元画像入力装置
JP2006084807A (ja) * 2004-09-16 2006-03-30 Casio Comput Co Ltd 撮像装置
JP2006148345A (ja) * 2004-11-17 2006-06-08 Fuji Photo Film Co Ltd デジタルカメラ
JP2007312297A (ja) * 2006-05-22 2007-11-29 Fujifilm Corp カメラ
JP2008118482A (ja) * 2006-11-06 2008-05-22 Horiba Ltd ドライビングレコーダ用カメラユニット
JP2013037085A (ja) * 2011-08-04 2013-02-21 Tamron Co Ltd ズームレンズ
JP5541429B1 (ja) * 2013-08-19 2014-07-09 ソニー株式会社 撮像装置

Family Cites Families (21)

* Cited by examiner, † Cited by third party
Publication number Priority date Publication date Assignee Title
JPH01298770A (ja) 1988-05-26 1989-12-01 Mitsubishi Electric Corp 半導体装置およびその製造方法
US5343376A (en) * 1993-03-11 1994-08-30 Huang Chao C Structure of laser pointer
JPH11298770A (ja) * 1998-04-10 1999-10-29 Minolta Co Ltd カメラ及び2次電池を搭載したカメラ
JP2007306433A (ja) * 2006-05-12 2007-11-22 Fujifilm Corp レンズ交換式カメラ
JP2008139727A (ja) * 2006-12-05 2008-06-19 Funai Electric Co Ltd プロジェクタのレンズ鏡筒固定装置
US7658557B2 (en) * 2007-02-20 2010-02-09 Dexin Corporation Camera device
CN101398527B (zh) * 2007-09-27 2011-09-21 联想(北京)有限公司 一种在拍照终端上实现放大镜功能的方法及其拍照终端
NO331163B1 (no) * 2008-12-01 2011-10-24 Cisco Systems Int Sarl Baerbart videokonferansekamera
EP2486449A1 (en) * 2009-10-07 2012-08-15 Nigel J. Greaves Gimbaled handle stabilizing controller assembly
WO2013131013A1 (en) * 2012-03-02 2013-09-06 Designport, Inc. Optical scope couplers
JP5563108B2 (ja) 2012-03-27 2014-07-30 富士フイルム株式会社 撮影装置、撮影方法およびプログラム
CN104919912B (zh) * 2013-01-15 2017-06-30 松下知识产权经营株式会社 保持装置
US9826144B2 (en) * 2013-04-18 2017-11-21 Looq System Inc Peripheral equipment for controlling camera arranged in a terminal, system and method thereof
TW201442514A (zh) * 2013-04-18 2014-11-01 Looq System Inc 控制終端攝像頭的外部設備及其系統和方法
GB201312542D0 (en) * 2013-07-12 2013-08-28 Pano Pro Ltd Adapter apparatus for an imaging device
US9253383B2 (en) * 2013-08-08 2016-02-02 Fl Archery Holdings Llc Phone adapter for optical devices
JP5541431B1 (ja) 2013-08-19 2014-07-09 ソニー株式会社 撮像装置
JP6427906B2 (ja) 2013-08-19 2018-11-28 ソニー株式会社 撮像装置
JP5541430B1 (ja) 2013-08-19 2014-07-09 ソニー株式会社 撮像ユニット、装着装置
JP5527492B1 (ja) 2013-08-19 2014-06-18 ソニー株式会社 撮像装置、制御方法、およびプログラム
US10933209B2 (en) * 2013-11-01 2021-03-02 Georama, Inc. System to process data related to user interactions with and user feedback of a product while user finds, perceives, or uses the product

Patent Citations (11)

* Cited by examiner, † Cited by third party
Publication number Priority date Publication date Assignee Title
JPS58193530A (ja) * 1982-05-07 1983-11-11 Minolta Camera Co Ltd セルフタイマ−撮影用の撮影範囲目視鏡装置
JPH04161940A (ja) * 1990-10-24 1992-06-05 Fuji Photo Film Co Ltd カメラ
JPH10200834A (ja) * 1997-01-10 1998-07-31 Konica Corp レンズ付きフィルムユニット
JP2001159805A (ja) * 1999-12-03 2001-06-12 Konica Corp レンズ付きフィルムユニット
JP2002262308A (ja) * 2001-03-02 2002-09-13 Asahi Optical Co Ltd 3次元画像入力装置
JP2006084807A (ja) * 2004-09-16 2006-03-30 Casio Comput Co Ltd 撮像装置
JP2006148345A (ja) * 2004-11-17 2006-06-08 Fuji Photo Film Co Ltd デジタルカメラ
JP2007312297A (ja) * 2006-05-22 2007-11-29 Fujifilm Corp カメラ
JP2008118482A (ja) * 2006-11-06 2008-05-22 Horiba Ltd ドライビングレコーダ用カメラユニット
JP2013037085A (ja) * 2011-08-04 2013-02-21 Tamron Co Ltd ズームレンズ
JP5541429B1 (ja) * 2013-08-19 2014-07-09 ソニー株式会社 撮像装置

Also Published As

Publication number Publication date
CN106537245A (zh) 2017-03-22
JP2016031482A (ja) 2016-03-07
US20190174051A1 (en) 2019-06-06
US10230886B2 (en) 2019-03-12
US10477092B2 (en) 2019-11-12
US20170171455A1 (en) 2017-06-15

Similar Documents

Publication Publication Date Title
WO2016017054A1 (ja) 撮像装置
US20160044227A1 (en) Image capturing device support with remote controller
US9055220B1 (en) Enabling the integration of a three hundred and sixty degree panoramic camera within a mobile device case
US9706918B2 (en) Modular lens adapters for mobile anterior and posterior segment ophthalmoscopy
JP6427944B2 (ja) 撮像装置
US20130044257A1 (en) Mobile device with side-mounted camera module
KR200475741Y1 (ko) 셀카 스틱
US9778547B1 (en) Mobile phone stabilizer
EP3160114B1 (en) Mobile terminal and camera assembly thereof
KR101840741B1 (ko) 휴대폰 연동형 셀프촬영장치
JP2009086513A (ja) デジタルカメラ機又はデジタルカメラ機能付き携帯電話機用の付属機器連結機構
JP6697389B2 (ja) 可変焦点距離を有するハンドヘルド拡大機カメラ
JP2015215423A (ja) 撮像装置
JP6852760B2 (ja) 撮像装置
KR20150124557A (ko) 휴대용 전자기기를 위한 카메라용 액세서리
KR101855790B1 (ko) 전방위 카메라용 제어 워치
JPWO2017014227A1 (ja) 携帯通信端末用ケース
KR200362415Y1 (ko) 카메라폰 거치대
CN105431774B (zh) 用于捕捉图像的移动装置的保持器
KR101979787B1 (ko) 투영기능을 갖는 이동통신장치
JP2015069189A (ja) 補助レンズユニット
JP3097550U (ja) カメラ付き携帯端末用のコンバージョンレンズ装置
US20150168808A1 (en) Detachable viewfinder
KR101718113B1 (ko) 셀프 촬영이 가능한 휴대단말기 케이스
JP2003330084A (ja) カメラ

Legal Events

Date Code Title Description
121 Ep: the epo has been informed by wipo that ep was designated in this application

Ref document number: 15828206

Country of ref document: EP

Kind code of ref document: A1

WWE Wipo information: entry into national phase

Ref document number: 15325689

Country of ref document: US

NENP Non-entry into the national phase

Ref country code: DE

122 Ep: pct application non-entry in european phase

Ref document number: 15828206

Country of ref document: EP

Kind code of ref document: A1