WO2015182606A1 - 気体溶解装置及び気体溶解方法 - Google Patents

気体溶解装置及び気体溶解方法 Download PDF

Info

Publication number
WO2015182606A1
WO2015182606A1 PCT/JP2015/065103 JP2015065103W WO2015182606A1 WO 2015182606 A1 WO2015182606 A1 WO 2015182606A1 JP 2015065103 W JP2015065103 W JP 2015065103W WO 2015182606 A1 WO2015182606 A1 WO 2015182606A1
Authority
WO
WIPO (PCT)
Prior art keywords
water
hydrogen
gas
gas dissolving
pressurized
Prior art date
Legal status (The legal status is an assumption and is not a legal conclusion. Google has not performed a legal analysis and makes no representation as to the accuracy of the status listed.)
Ceased
Application number
PCT/JP2015/065103
Other languages
English (en)
French (fr)
Japanese (ja)
Inventor
祐太 水谷
文士 張
Current Assignee (The listed assignees may be inaccurate. Google has not performed a legal analysis and makes no representation or warranty as to the accuracy of the list.)
Hikarimirai Co Ltd
Original Assignee
Hikarimirai Co Ltd
Priority date (The priority date is an assumption and is not a legal conclusion. Google has not performed a legal analysis and makes no representation as to the accuracy of the date listed.)
Filing date
Publication date
Family has litigation
First worldwide family litigation filed litigation Critical https://patents.darts-ip.com/?family=54698931&utm_source=google_patent&utm_medium=platform_link&utm_campaign=public_patent_search&patent=WO2015182606(A1) "Global patent litigation dataset” by Darts-ip is licensed under a Creative Commons Attribution 4.0 International License.
Application filed by Hikarimirai Co Ltd filed Critical Hikarimirai Co Ltd
Priority to JP2015529952A priority Critical patent/JP5865560B1/ja
Priority to KR1020167014626A priority patent/KR20160078495A/ko
Priority to KR1020177028955A priority patent/KR20170116255A/ko
Priority to US15/028,525 priority patent/US10369532B2/en
Priority to CN201580003363.3A priority patent/CN106457167B/zh
Publication of WO2015182606A1 publication Critical patent/WO2015182606A1/ja
Anticipated expiration legal-status Critical
Ceased legal-status Critical Current

Links

Images

Classifications

    • BPERFORMING OPERATIONS; TRANSPORTING
    • B01PHYSICAL OR CHEMICAL PROCESSES OR APPARATUS IN GENERAL
    • B01FMIXING, e.g. DISSOLVING, EMULSIFYING OR DISPERSING
    • B01F23/00Mixing according to the phases to be mixed, e.g. dispersing or emulsifying
    • B01F23/20Mixing gases with liquids
    • B01F23/23Mixing gases with liquids by introducing gases into liquid media, e.g. for producing aerated liquids
    • B01F23/232Mixing gases with liquids by introducing gases into liquid media, e.g. for producing aerated liquids using flow-mixing means for introducing the gases, e.g. baffles
    • B01F23/2323Mixing gases with liquids by introducing gases into liquid media, e.g. for producing aerated liquids using flow-mixing means for introducing the gases, e.g. baffles by circulating the flow in guiding constructions or conduits
    • CCHEMISTRY; METALLURGY
    • C02TREATMENT OF WATER, WASTE WATER, SEWAGE, OR SLUDGE
    • C02FTREATMENT OF WATER, WASTE WATER, SEWAGE, OR SLUDGE
    • C02F1/00Treatment of water, waste water, or sewage
    • C02F1/46Treatment of water, waste water, or sewage by electrochemical methods
    • C02F1/461Treatment of water, waste water, or sewage by electrochemical methods by electrolysis
    • C02F1/46104Devices therefor; Their operating or servicing
    • C02F1/4618Devices therefor; Their operating or servicing for producing "ionised" acidic or basic water
    • BPERFORMING OPERATIONS; TRANSPORTING
    • B01PHYSICAL OR CHEMICAL PROCESSES OR APPARATUS IN GENERAL
    • B01FMIXING, e.g. DISSOLVING, EMULSIFYING OR DISPERSING
    • B01F21/00Dissolving
    • BPERFORMING OPERATIONS; TRANSPORTING
    • B01PHYSICAL OR CHEMICAL PROCESSES OR APPARATUS IN GENERAL
    • B01FMIXING, e.g. DISSOLVING, EMULSIFYING OR DISPERSING
    • B01F21/00Dissolving
    • B01F21/02Methods
    • BPERFORMING OPERATIONS; TRANSPORTING
    • B01PHYSICAL OR CHEMICAL PROCESSES OR APPARATUS IN GENERAL
    • B01FMIXING, e.g. DISSOLVING, EMULSIFYING OR DISPERSING
    • B01F23/00Mixing according to the phases to be mixed, e.g. dispersing or emulsifying
    • B01F23/20Mixing gases with liquids
    • B01F23/23Mixing gases with liquids by introducing gases into liquid media, e.g. for producing aerated liquids
    • B01F23/231Mixing gases with liquids by introducing gases into liquid media, e.g. for producing aerated liquids by bubbling
    • BPERFORMING OPERATIONS; TRANSPORTING
    • B01PHYSICAL OR CHEMICAL PROCESSES OR APPARATUS IN GENERAL
    • B01FMIXING, e.g. DISSOLVING, EMULSIFYING OR DISPERSING
    • B01F23/00Mixing according to the phases to be mixed, e.g. dispersing or emulsifying
    • B01F23/20Mixing gases with liquids
    • B01F23/23Mixing gases with liquids by introducing gases into liquid media, e.g. for producing aerated liquids
    • B01F23/236Mixing gases with liquids by introducing gases into liquid media, e.g. for producing aerated liquids specially adapted for aerating or carbonating beverages
    • BPERFORMING OPERATIONS; TRANSPORTING
    • B01PHYSICAL OR CHEMICAL PROCESSES OR APPARATUS IN GENERAL
    • B01FMIXING, e.g. DISSOLVING, EMULSIFYING OR DISPERSING
    • B01F23/00Mixing according to the phases to be mixed, e.g. dispersing or emulsifying
    • B01F23/20Mixing gases with liquids
    • B01F23/23Mixing gases with liquids by introducing gases into liquid media, e.g. for producing aerated liquids
    • B01F23/236Mixing gases with liquids by introducing gases into liquid media, e.g. for producing aerated liquids specially adapted for aerating or carbonating beverages
    • B01F23/2362Mixing gases with liquids by introducing gases into liquid media, e.g. for producing aerated liquids specially adapted for aerating or carbonating beverages for aerating or carbonating within receptacles or tanks, e.g. distribution machines
    • BPERFORMING OPERATIONS; TRANSPORTING
    • B01PHYSICAL OR CHEMICAL PROCESSES OR APPARATUS IN GENERAL
    • B01FMIXING, e.g. DISSOLVING, EMULSIFYING OR DISPERSING
    • B01F23/00Mixing according to the phases to be mixed, e.g. dispersing or emulsifying
    • B01F23/20Mixing gases with liquids
    • B01F23/23Mixing gases with liquids by introducing gases into liquid media, e.g. for producing aerated liquids
    • B01F23/236Mixing gases with liquids by introducing gases into liquid media, e.g. for producing aerated liquids specially adapted for aerating or carbonating beverages
    • B01F23/2363Mixing systems, i.e. flow charts or diagrams; Arrangements, e.g. comprising controlling means
    • BPERFORMING OPERATIONS; TRANSPORTING
    • B01PHYSICAL OR CHEMICAL PROCESSES OR APPARATUS IN GENERAL
    • B01FMIXING, e.g. DISSOLVING, EMULSIFYING OR DISPERSING
    • B01F23/00Mixing according to the phases to be mixed, e.g. dispersing or emulsifying
    • B01F23/80After-treatment of the mixture
    • B01F23/808Filtering the mixture
    • BPERFORMING OPERATIONS; TRANSPORTING
    • B01PHYSICAL OR CHEMICAL PROCESSES OR APPARATUS IN GENERAL
    • B01FMIXING, e.g. DISSOLVING, EMULSIFYING OR DISPERSING
    • B01F25/00Flow mixers; Mixers for falling materials, e.g. solid particles
    • BPERFORMING OPERATIONS; TRANSPORTING
    • B01PHYSICAL OR CHEMICAL PROCESSES OR APPARATUS IN GENERAL
    • B01FMIXING, e.g. DISSOLVING, EMULSIFYING OR DISPERSING
    • B01F25/00Flow mixers; Mixers for falling materials, e.g. solid particles
    • B01F25/50Circulation mixers, e.g. wherein at least part of the mixture is discharged from and reintroduced into a receptacle
    • B01F25/53Circulation mixers, e.g. wherein at least part of the mixture is discharged from and reintroduced into a receptacle in which the mixture is discharged from and reintroduced into a receptacle through a recirculation tube, into which an additional component is introduced
    • BPERFORMING OPERATIONS; TRANSPORTING
    • B01PHYSICAL OR CHEMICAL PROCESSES OR APPARATUS IN GENERAL
    • B01FMIXING, e.g. DISSOLVING, EMULSIFYING OR DISPERSING
    • B01F35/00Accessories for mixers; Auxiliary operations or auxiliary devices; Parts or details of general application
    • B01F35/71Feed mechanisms
    • B01F35/717Feed mechanisms characterised by the means for feeding the components to the mixer
    • CCHEMISTRY; METALLURGY
    • C02TREATMENT OF WATER, WASTE WATER, SEWAGE, OR SLUDGE
    • C02FTREATMENT OF WATER, WASTE WATER, SEWAGE, OR SLUDGE
    • C02F1/00Treatment of water, waste water, or sewage
    • C02F1/46Treatment of water, waste water, or sewage by electrochemical methods
    • C02F1/461Treatment of water, waste water, or sewage by electrochemical methods by electrolysis
    • C02F1/46104Devices therefor; Their operating or servicing
    • CCHEMISTRY; METALLURGY
    • C02TREATMENT OF WATER, WASTE WATER, SEWAGE, OR SLUDGE
    • C02FTREATMENT OF WATER, WASTE WATER, SEWAGE, OR SLUDGE
    • C02F1/00Treatment of water, waste water, or sewage
    • C02F1/68Treatment of water, waste water, or sewage by addition of specified substances, e.g. trace elements, for ameliorating potable water
    • C02F1/685Devices for dosing the additives
    • CCHEMISTRY; METALLURGY
    • C02TREATMENT OF WATER, WASTE WATER, SEWAGE, OR SLUDGE
    • C02FTREATMENT OF WATER, WASTE WATER, SEWAGE, OR SLUDGE
    • C02F9/00Multistage treatment of water, waste water or sewage
    • AHUMAN NECESSITIES
    • A23FOODS OR FOODSTUFFS; TREATMENT THEREOF, NOT COVERED BY OTHER CLASSES
    • A23LFOODS, FOODSTUFFS OR NON-ALCOHOLIC BEVERAGES, NOT OTHERWISE PROVIDED FOR; PREPARATION OR TREATMENT THEREOF
    • A23L2/00Non-alcoholic beverages; Dry compositions or concentrates therefor; Preparation or treatment thereof
    • A23L2/52Adding ingredients
    • A23L2/54Mixing with gases
    • AHUMAN NECESSITIES
    • A23FOODS OR FOODSTUFFS; TREATMENT THEREOF, NOT COVERED BY OTHER CLASSES
    • A23VINDEXING SCHEME RELATING TO FOODS, FOODSTUFFS OR NON-ALCOHOLIC BEVERAGES AND LACTIC OR PROPIONIC ACID BACTERIA USED IN FOODSTUFFS OR FOOD PREPARATION
    • A23V2002/00Food compositions, function of food ingredients or processes for food or foodstuffs
    • BPERFORMING OPERATIONS; TRANSPORTING
    • B01PHYSICAL OR CHEMICAL PROCESSES OR APPARATUS IN GENERAL
    • B01FMIXING, e.g. DISSOLVING, EMULSIFYING OR DISPERSING
    • B01F2101/00Mixing characterised by the nature of the mixed materials or by the application field
    • B01F2101/06Mixing of food ingredients
    • B01F2101/14Mixing of ingredients for non-alcoholic beverages; Dissolving sugar in water
    • BPERFORMING OPERATIONS; TRANSPORTING
    • B01PHYSICAL OR CHEMICAL PROCESSES OR APPARATUS IN GENERAL
    • B01FMIXING, e.g. DISSOLVING, EMULSIFYING OR DISPERSING
    • B01F23/00Mixing according to the phases to be mixed, e.g. dispersing or emulsifying
    • B01F23/20Mixing gases with liquids
    • B01F23/23Mixing gases with liquids by introducing gases into liquid media, e.g. for producing aerated liquids
    • B01F23/237Mixing gases with liquids by introducing gases into liquid media, e.g. for producing aerated liquids characterised by the physical or chemical properties of gases or vapours introduced in the liquid media
    • B01F23/2376Mixing gases with liquids by introducing gases into liquid media, e.g. for producing aerated liquids characterised by the physical or chemical properties of gases or vapours introduced in the liquid media characterised by the gas being introduced
    • B01F23/23764Hydrogen
    • CCHEMISTRY; METALLURGY
    • C02TREATMENT OF WATER, WASTE WATER, SEWAGE, OR SLUDGE
    • C02FTREATMENT OF WATER, WASTE WATER, SEWAGE, OR SLUDGE
    • C02F1/00Treatment of water, waste water, or sewage
    • C02F1/001Processes for the treatment of water whereby the filtration technique is of importance
    • C02F1/003Processes for the treatment of water whereby the filtration technique is of importance using household-type filters for producing potable water, e.g. pitchers, bottles, faucet mounted devices
    • CCHEMISTRY; METALLURGY
    • C02TREATMENT OF WATER, WASTE WATER, SEWAGE, OR SLUDGE
    • C02FTREATMENT OF WATER, WASTE WATER, SEWAGE, OR SLUDGE
    • C02F1/00Treatment of water, waste water, or sewage
    • C02F1/28Treatment of water, waste water, or sewage by sorption
    • C02F1/283Treatment of water, waste water, or sewage by sorption using coal, charred products, or inorganic mixtures containing them
    • CCHEMISTRY; METALLURGY
    • C02TREATMENT OF WATER, WASTE WATER, SEWAGE, OR SLUDGE
    • C02FTREATMENT OF WATER, WASTE WATER, SEWAGE, OR SLUDGE
    • C02F1/00Treatment of water, waste water, or sewage
    • C02F1/42Treatment of water, waste water, or sewage by ion-exchange
    • CCHEMISTRY; METALLURGY
    • C02TREATMENT OF WATER, WASTE WATER, SEWAGE, OR SLUDGE
    • C02FTREATMENT OF WATER, WASTE WATER, SEWAGE, OR SLUDGE
    • C02F1/00Treatment of water, waste water, or sewage
    • C02F1/44Treatment of water, waste water, or sewage by dialysis, osmosis or reverse osmosis
    • C02F1/444Treatment of water, waste water, or sewage by dialysis, osmosis or reverse osmosis by ultrafiltration or microfiltration
    • CCHEMISTRY; METALLURGY
    • C02TREATMENT OF WATER, WASTE WATER, SEWAGE, OR SLUDGE
    • C02FTREATMENT OF WATER, WASTE WATER, SEWAGE, OR SLUDGE
    • C02F1/00Treatment of water, waste water, or sewage
    • C02F1/68Treatment of water, waste water, or sewage by addition of specified substances, e.g. trace elements, for ameliorating potable water
    • CCHEMISTRY; METALLURGY
    • C02TREATMENT OF WATER, WASTE WATER, SEWAGE, OR SLUDGE
    • C02FTREATMENT OF WATER, WASTE WATER, SEWAGE, OR SLUDGE
    • C02F1/00Treatment of water, waste water, or sewage
    • C02F1/46Treatment of water, waste water, or sewage by electrochemical methods
    • C02F1/461Treatment of water, waste water, or sewage by electrochemical methods by electrolysis
    • C02F1/46104Devices therefor; Their operating or servicing
    • C02F1/4618Devices therefor; Their operating or servicing for producing "ionised" acidic or basic water
    • C02F2001/4619Devices therefor; Their operating or servicing for producing "ionised" acidic or basic water only cathodic or alkaline water, e.g. for reducing
    • CCHEMISTRY; METALLURGY
    • C02TREATMENT OF WATER, WASTE WATER, SEWAGE, OR SLUDGE
    • C02FTREATMENT OF WATER, WASTE WATER, SEWAGE, OR SLUDGE
    • C02F2209/00Controlling or monitoring parameters in water treatment
    • C02F2209/03Pressure
    • CCHEMISTRY; METALLURGY
    • C02TREATMENT OF WATER, WASTE WATER, SEWAGE, OR SLUDGE
    • C02FTREATMENT OF WATER, WASTE WATER, SEWAGE, OR SLUDGE
    • C02F2301/00General aspects of water treatment
    • C02F2301/02Fluid flow conditions
    • C02F2301/022Laminar
    • CCHEMISTRY; METALLURGY
    • C02TREATMENT OF WATER, WASTE WATER, SEWAGE, OR SLUDGE
    • C02FTREATMENT OF WATER, WASTE WATER, SEWAGE, OR SLUDGE
    • C02F2307/00Location of water treatment or water treatment device
    • C02F2307/10Location of water treatment or water treatment device as part of a potable water dispenser, e.g. for use in homes or offices
    • YGENERAL TAGGING OF NEW TECHNOLOGICAL DEVELOPMENTS; GENERAL TAGGING OF CROSS-SECTIONAL TECHNOLOGIES SPANNING OVER SEVERAL SECTIONS OF THE IPC; TECHNICAL SUBJECTS COVERED BY FORMER USPC CROSS-REFERENCE ART COLLECTIONS [XRACs] AND DIGESTS
    • Y02TECHNOLOGIES OR APPLICATIONS FOR MITIGATION OR ADAPTATION AGAINST CLIMATE CHANGE
    • Y02EREDUCTION OF GREENHOUSE GAS [GHG] EMISSIONS, RELATED TO ENERGY GENERATION, TRANSMISSION OR DISTRIBUTION
    • Y02E60/00Enabling technologies; Technologies with a potential or indirect contribution to GHG emissions mitigation
    • Y02E60/30Hydrogen technology
    • Y02E60/32Hydrogen storage

Definitions

  • the present invention relates to a gas dissolving apparatus and a gas dissolving method, and more particularly, to a gas dissolving apparatus and a gas dissolving method capable of dissolving a gas into a liquid in a supersaturated state and stably maintaining and providing the supersaturated state.
  • soft drinks such as water and tea filled with hydrogen gas are sold. This is intended to reduce active oxygen present in the human body by ingesting hydrogen gas filled in a liquid.
  • Active oxygen plays an important role in creating ATP (adenosine triphosphate) in the citric acid cycle, and is also essential for life support and also plays a role in eliminating foreign substances that have entered the body. Is known.
  • active oxygen that has not been used in in vivo reactions or the like is usually decomposed by enzymes present in cells. However, not all active oxygen is decomposed by the enzyme, and surplus active oxygen is present without being decomposed. As a result, cells are damaged by surplus active oxygen, causing diseases such as cancer and lifestyle-related diseases, and aging, and eliminating surplus active oxygen is required for health maintenance.
  • hydrogen has been used as a substance for eliminating such surplus active oxygen. This is because hydrogen has a very low molecular weight and is easily absorbed into the body, and further changes to water when it reacts with active oxygen, and has high safety reasons. Also, among the many active oxygens, only hydroxy radicals are selected and reduced, and the active oxygen useful for the body is not affected.
  • Patent Document 1 drinking water and hydrogen gas or a mixed gas containing hydrogen gas are brought into contact with each other in a pressurized state in an airtight container (A) to dissolve hydrogen in the drinking water, thereby generating hydrogen water.
  • the discharge is stopped, and then new drinking water is sealed in the sealed container (A ) Is increased to increase the internal pressure of the container (A), and hydrogen water is dissolved again in the drinking water filled in the container (A).
  • Patent Document 2 discloses hydrogen water used for beverages, in which dissolved hydrogen gas is dissolved in a saturated state, and the dissolved hydrogen gas is released by releasing the pressure through a small hole in the orifice. It is generated as fine bubbles, and the fine bubbles are refined by being passed through a net member to make fine bubbles having a particle size of about 1 ⁇ m to 50 ⁇ m. Hydrogen gas having a particle size of about 1 ⁇ m to 50 ⁇ m Hydrogen water characterized by containing microbubbles is disclosed. Furthermore, Patent Document 3 discloses a dew condensation device that generates condensed water condensed by condensing moisture in the air, and hydrogen water in which active hydrogen is dissolved by causing a hydrogen generation reaction to the dew water. A hydrohydration apparatus to be generated, a filter unit that removes impurities from the hydrogen water to form hydrogen water, and a drinking water server that stores the hydrogen water and supplies it as drinking water An apparatus for producing hydrogen water is disclosed.
  • Patent Document 4 discloses (a) a tubular body, (b) a raw material water supply system that is formed at one end of the tubular body and supplies raw water at a high pressure, and (c) a watertight coupling to the tubular body. And a hydrogen supply system for supplying hydrogen substantially at right angles to the raw water supplied from the raw water supply system, and (d) formed in the longitudinal direction of the pipe body downstream of the hydrogen supply system in the pipe body, A diffusion chamber for diffusing the mixed water of the raw water supplied from the raw water supply system to the pipe and the hydrogen supplied from the hydrogen supply system to the pipe, and (e) a predetermined pore diameter filled in the diffusion chamber A porous element for allowing the supplied hydrogen to pass as fine bubbles, and (f) a discharge port formed at the other end of the tube body for discharging the produced hydrogenated water.
  • Patent Document 5 discloses a water supply unit, a hydrogen supply unit, a gas-liquid mixing pump that receives water and hydrogen supplied from each of the supply units and discharges hydrogen-mixed water, and a gas-liquid mixing pump. Characterized in that it comprises a stirrer in which hydrogen-mixed water is stirred, and a destabilization tank in which the hydrogen-mixed water from the stirrer forms a predetermined stagnant flow and releases hydrogen other than dissolved hydrogen.
  • An apparatus for continuously producing hydrogen water is disclosed.
  • Patent Document 6 discloses a container for dissolving hydrogen in stored water, a hydrogen generation part for generating hydrogen by hydrolysis of magnesium hydride, and hydrogen generated in the hydrogen generation part in the container.
  • a hydrogen water production apparatus including a hydrogen supply pipe to be supplied and a hydrogen water supply pipe for supplying hydrogen water obtained by dissolving hydrogen pressurized in water stored in the container to the outside.
  • Patent Document 7 a pressurized gas dissolving mechanism that dissolves a gas in a liquid by bringing the pressurized liquid and the pressurized gas into contact with each other, and a liquid channel that is installed after the pressurized gas dissolving mechanism.
  • a gas dissolving device comprising a pressure-lowering mechanism, wherein the pressure-lowering mechanism is configured to lower the pressure of a liquid by flowing pressurized liquid inside a plurality of capillaries.
  • JP 2013-126650 A Japanese Patent No. 5342156 JP 2013-94757 A JP 2007-237161 A JP 2008-6365 A JP 2013-22567 A JP-A-8-89771
  • Patent Documents 1 to 6 above can obtain hydrogen water, they do not dissolve gas in a supersaturated state in a liquid and can maintain this supersaturated state stably. The concentration was low and sufficient hydrogen water effect was not obtained. Furthermore, since the apparatus is large, there is a problem that a sufficient space or the like is required and it cannot be easily attached to a water server or the like.
  • Patent Document 7 has a problem that since the step-down mechanism has a plurality of capillaries, it is necessary to take a large space for the step-down mechanism and cannot be easily attached to a water server or the like. . Furthermore, since it has a plurality of capillaries, the manufacture and repair at the time of failure become complicated, and there is a problem in terms of practical use when it is mounted on a water server or the like.
  • the object of the present invention is to solve the above-mentioned problems of the prior art, dissolve the gas in a supersaturated state in the liquid, maintain the supersaturated state stably, and provide it, and further to a water server or the like.
  • An object of the present invention is to provide a gas dissolution apparatus that can be attached to a gas.
  • the present inventors have found that the object can be achieved by providing a pressure-lowering transfer means and further adjusting the pressure applied to the liquid, thereby completing the present invention. It came to do.
  • the gas dissolving device of the present invention is a gas dissolving device that dissolves hydrogen in water to generate hydrogen water and discharges it from the outlet.
  • hydrogen can be provided to the outside without desorbing hydrogen from the generated hydrogen water.
  • the pressure-lowering transfer means may include a pressure adjusting portion provided with a taper that makes the tube diameter larger or smaller in the vicinity of the outlet of the tubular path.
  • the dissolving tank may be connected to a pressurized gas dissolving means for simultaneously supplying water and hydrogen bubbles by a diaphragm pump.
  • a laminar flow is formed in the hydrogen water in the tubular passage.
  • the values of X, Y, and L may be selected so as to be performed.
  • the hydrogen water pressurized and stored in the dissolution tank may be sent again to the pressurized gas dissolving means, and pressurized water may be supplied simultaneously with the hydrogen bubble.
  • the hydrogen water pressurized and stored in the dissolution tank may be guided into the water tank, and the water in the water tank may be sent to the pressurized gas dissolving means and pressurized water may be supplied simultaneously with the hydrogen bubble. .
  • the gas dissolution method of the present invention is a gas dissolution method in which hydrogen is dissolved in water to generate hydrogen water and discharged from the outlet, and the dissolution tank that guides and stores the generated hydrogen water under pressure,
  • a gas dissolving apparatus including at least a dissolution tank and a tubular path connecting the outlet, pressure fluctuations in the tubular path due to a discharge operation of hydrogen water from the outlet are prevented, and a laminar flow is generated in the tubular path. It is formed.
  • the gas dissolving device further includes a pressure type gas dissolving means connected to the dissolution tank and simultaneously pressurizing and feeding water and hydrogen bubbles by a diaphragm pump,
  • the hydrogen water pressurized and stored in the dissolution tank may be sent again to the pressurized gas dissolving means, and pressurized water may be supplied simultaneously with the hydrogen bubble.
  • the hydrogen water pressurized and stored in the dissolution tank may be guided into the water tank, and the water in the water tank may be sent to the pressurized gas dissolving means and pressurized water may be supplied simultaneously with the hydrogen bubble. .
  • the dissolution tank may be pressurized and stored with hydrogen water containing hydrogen bubbles having an average diameter of at least 200 nm or less.
  • FIG. 1 is a cross-sectional view showing an example of the gas dissolving apparatus of the present invention.
  • 1 is a gas dissolving device
  • 2 is a gas generating means
  • 3 is a pressurized gas dissolving means
  • 4 is a dissolution tank
  • 5 is a pressure-lowering transfer means.
  • the gas dissolving apparatus 1 includes a gas generating means 2 that generates gas, a pressurized gas dissolving means 3 that pressurizes the gas and dissolves it in a liquid, and a dissolution tank 4 that dissolves and stores the liquid dissolving the gas.
  • a step-down transfer means 5 that lowers the pressure when the liquid flows through the narrow tube 5a.
  • the pressure-lowering transfer means 5 prevents the pressure fluctuation in the tubular path 5a due to the discharge operation of the hydrogen water from the outlet 10 in the tubular path 5a connecting the dissolution tank 4 and the outlet 10 and the laminar flow therein.
  • the tubular path 5a of the pressure-lowering transfer means 5 is preferably relatively long and has a small diameter, although it depends on the pressure of the liquid flowing inside, and the pipe diameter is narrowed or expanded near the outlet of the tubular path 5a. It may also include a pressure adjusting portion provided with a taper.
  • the inner diameter of the thin tube 5a is X mm and the pressure applied by the pressurized gas dissolving means 3 is YMPa
  • a laminar flow is formed in the thin tube 5a.
  • the value of X / Y is 1.00 to 12.00, and the value of X / Y is preferably 3.30 to 10.0. More preferably, it is 0.000 to 6.67.
  • the liquid in which the gas is dissolved in supersaturation flows in the thin tube 5a in a laminar flow state under such conditions and is transferred by pressure reduction, so that the gas is dissolved in the liquid in the supersaturated state and the supersaturated state is maintained stably. Can be transported.
  • “supersaturation” means that the solubility of a gas in a liquid varies depending on the temperature, but the amount of gas dissolved in a liquid at a certain temperature A (° C.) is larger than the solubility at that temperature A (° C.). Indicates the state.
  • the gas generation means 2 has a hydrogen generation means 21, and further has an ion exchange means 22.
  • the hydrogen generating means 21 generates hydrogen by electrolysis, and may be a known device known as a solid polymer membrane (PEM) system, for example.
  • the ion exchange means 22 performs ion exchange using an ion exchange resin or the like, and the gas generation means 2 preferably includes the ion exchange means 22, but it is not essential.
  • FIG. 1 water is used as the liquid this time.
  • water is sucked from the liquid suction port 7 (S 1), sucked by the pump 3 a via the suction port 8 of the pressurized gas dissolving means 3, and hydrogen from the hydrogen generation means 21 described later is taken.
  • S2 ′ liquid suction port 7
  • S2 ′′ pressure dissolution
  • S3 ion-exchanged by the ion exchange means 22
  • hydrogen is generated by electrolysis (S 4) using ion-exchanged water, and is sent to the suction port 8 of the pressurized gas dissolving means 3 through the hydrogen supply pipe 24. Further, oxygen generated by electrolysis is discharged out of the gas dissolving apparatus 1 through the oxygen discharge port 25.
  • the hydrogen generated by the electrolysis is sent to the suction port 8 of the pressurized gas dissolving means 3 and is pressurized and dissolved in the water sucked from the liquid suction port 7 by being pressurized by the pump 3a.
  • the water in which hydrogen is dissolved under pressure is discharged from the discharge port 9 of the pressurized gas dissolving means 3 and dissolved in a supersaturated state in the dissolution tank 4 (S5).
  • the liquid dissolved in the dissolution tank 4 is depressurized by flowing while maintaining a laminar flow state in the narrow tube 5a as the depressurization transfer means 5 (S6), and discharged from the hydrogen water discharge port 10 to the outside (S7). .
  • the inner diameter X of the thin tube 5a which is the pressure-lowering transfer means 5 is preferably 1.0 mm or greater and 5.0 mm or less, and is greater than 1.0 mm and 3.0 mm or less. Is more preferable, and is preferably 2.0 mm or more and 3.0 mm or less. With this range, there is no need to install 10 or more capillaries to lower the pressure as in the technique described in JP-A-8-87771, and the pressure can be lowered by having one thin tube 5a. At the same time, a laminar flow can be formed in the tube.
  • the inner diameter X of the thin tube includes not only the inner diameter in the case of a single tube but also the inner diameter X of the thin tube in the double tube, for example, and the shape is not limited.
  • the pressure Y of the pressurized gas dissolving means 3 at 20 ° C. is preferably 0.10 to 1.0 MPa, more preferably 0.15 to 0.65 MPa, More preferably, it is 20 to 0.55 MPa, and most preferably 0.23 to 0.50 MPa.
  • the pressurized gas dissolving means 3 is preferably installed with the discharge port 9 facing upward. Thereby, the pumping efficiency can be increased and the gas dissolution efficiency can be increased.
  • the gas dissolving device 1 of the present invention circulates the liquid obtained by pressurizing by the pressurized gas dissolving means 3 and dissolves the gas without discharging and sends the liquid to the pressurized gas dissolving means 3, and after the circulation, It is preferable to send to the transfer means 5.
  • concentration of gas can be raised more.
  • the number of circulations is not particularly limited, but it is preferable to reach the maximum dissolved concentration within 1 to 10 times, and it is more preferable to reach the maximum dissolved concentration within 1 to 5 times.
  • the gas dissolving apparatus 1 of the present invention preferably has a control mechanism 6 for controlling the gas generating means 2 and the pressurized gas dissolving means 3.
  • the control mechanism 6 is connected to a power source by a power plug 61.
  • the control mechanism 6 is connected to the gas generating means 2 and the pressurized gas dissolving means 3 through a wiring 62 connected to the gas generating means 2 and a wiring 63 connected to the pressurized gas dissolving means 3. Yes.
  • the gas generating means 2 and the pressurized gas dissolving means 3 can be controlled using electric power.
  • the gas dissolving apparatus 1 of the present invention is operated by the control mechanism 6 so that the operating time of the gas generating means 2 and the pressurized gas dissolving means 3 is 5 to 60 minutes, and is stopped 1 to 5 times the operating time. It is preferable to control the gas generating means 2 and the pressurized gas dissolving means 3 over time, and the operation time of the gas generating means 2 and the pressurized gas dissolving means 3 is 10 to 30 minutes, It is more preferable to control the gas generating means 2 and the pressurized gas dissolving means 3 with a stop time four times longer, the operation time of the gas generating means 2 and the pressurized gas dissolving means 3 is 10 to 20 minutes, and this Most preferably, the gas generating means 2 and the pressurized gas dissolving means 3 are controlled with a stop time three times the operating time. By such control, hydrogen can be efficiently dissolved in a liquid in a saturated state.
  • the control can be performed by providing the control mechanism with a timer function.
  • the gas dissolving device 1 of the present invention is capable of dissolving the gas in the liquid by simultaneously pressurizing the gas and the liquid as the pressurized gas dissolving means 3, and is not particularly limited, but may include a diaphragm pump 3a. preferable. By using the diaphragm pump 3a, the pressurized gas dissolving means 3 can be provided in a smaller space.
  • the gas dissolving apparatus 1 of the present invention has one or two or more dissolved tanks 4, particularly two or more so that the dissolved tank 4 has a capacity of 1/3 of the flow rate. It is preferable. By setting it to 2 or more, the gas can be dissolved at a high concentration more efficiently in a short time.
  • FIG. 1 it has the dissolved tank 41 which contains the micro filter which consists of a porous body etc. in the inside, and the dissolved tank 42 which contains an activated carbon filter inside, and can maintain a supersaturated state more stably by this.
  • the dissolution tank 4 is not particularly limited in shape as long as it can be dissolved under pressure in a dissolved state, and the microfilter and activated carbon (carbon) filter may be other filters. Furthermore, it is preferable that the dissolution tank 4 takes in the liquid which melt
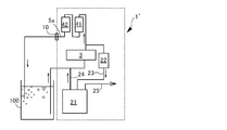
  • FIG. 3 is a diagram showing an example of use of the gas dissolving apparatus of the present invention.
  • 100 is a water server.
  • the gas dissolving device 1 ′ By attaching the gas dissolving device 1 ′ to the water server 100, hydrogen gas can be generated using the water in the water server 100, and supersaturated hydrogen water can be supplied using the hydrogen gas.
  • supersaturated hydrogen water can be preserve
  • water from the water server 100 and hydrogen from the gas generating means 2 are simultaneously led to the diaphragm pump 3a of the pressurized gas dissolving means 3, and the hydrogen water is bubbled while being pressurized. obtain.
  • Such hydrogen water passes through the micro-tube (dissolved tank) 41 and the activated carbon filter (dissolved tank) 42 made of a porous material and the like through the narrow tube 5a of the pressure-lowering transfer means 5 while maintaining the pressurized state in the diaphragm pump 3a.
  • a part of the hydrogen water exiting the diaphragm pump 3a is sent to the hydrogen generation means 21 through the ion exchange means 22 and is electrolyzed to generate hydrogen.
  • Such hydrogen is sent to the diaphragm pump 3 a of the gas dissolving device 3.
  • hydrogen is used as the gas, but other gases can be dissolved in a supersaturated state.
  • gases can be dissolved with supersaturation.
  • one or more gases selected from the group consisting of hydrogen, carbon dioxide, nitrogen and oxygen can be dissolved in the liquid with supersaturation.
  • Hydrogen is the most preferable gas. Hydrogen has a small molecular weight, and it is considered that hydrogen enters between the contents in the liquid, for example, between water and water molecules, and is more likely to maintain a supersaturated state. Further, the concentration of hydrogen in the liquid is preferably greater than 2.0 ppm at 7 ° C., and more preferably 2.0 to 8.0 ppm. A supersaturated state can be maintained by being larger than 2.0 ppm.
  • hydrogen can be dissolved at a liquid temperature of 30 to 95 ° C., and the concentration in the liquid is preferably greater than 2 ppm at 42 ° C., and preferably 3 to 4 ppm.
  • concentration when the temperature of hot water is 80 degreeC is 1.0 ppm or more.
  • hydrogen when used as the gas, it is preferably hydrogen generated by electrolysis as shown in the hydrogen generation means 21 in FIGS.
  • the hydrogen generation means 21 in FIGS For example, even if it is not a solid polymer membrane (PEM) system, an aqueous solution containing 25% KOH can be placed in an alkaline electrolytic cell, and this can be electrolyzed to generate hydrogen, which can be used as a gas. .
  • the conventional filling with a hydrogen cylinder requires about 15 MPa, whereas it can be used at a pressure of about 1 MPa or less and can be used more safely.
  • the cost can be remarkably reduced as compared with the case of supplying from a cylinder.
  • the liquid is not particularly limited, and examples thereof include water, tea and coffee beverages, and water is particularly preferable. Water can dissolve various gases and minimize the influence of other components.
  • the thin tube that is the pressure-lowering transfer means 5 can use a member that can be used when flowing a normal liquid or gas within a range that does not impede the effects of the present invention, for example, a polypropylene thin tube Can be used.
  • a structure in which no gas leaks, such as vapor deposition of aluminum on the outside of the thin tube is preferable.
  • Example 1 The gas dissolving apparatus 1 shown in FIG. 1 was connected to a commercially available water server 100 as shown in FIG. 3 and circulated four times to generate hydrogen water.
  • the thin tube 5a of the pressure-lowering transfer means 5 was made of polypropylene having an inner diameter of 2 mm and a length of 1.6 m.
  • the pressure was 0.41 MPa, 21cm 3 / min of hydrogen generation amount, the flow rate of water in 730 cm 3 / min.
  • the hydrogen concentration in the water after 30 minutes of operation was 6.5 ppm hydrogen water at 7 ° C., and the supersaturated state was maintained.
  • Example 2 The gas dissolving apparatus 1 shown in FIG. 1 was connected to water and circulated four times to generate hydrogen water.
  • the thin tube 5a of the pressure-lowering transfer means 5 was made of polypropylene having an inner diameter of 2 mm and a length of 1.6 m.
  • the pressure was 0.25 MPa, 21cm 3 / min of hydrogen generation amount, the flow rate of water in 730 cm 3 / min.
  • the hydrogen concentration in the water after 30 minutes of operation was 2.6 ppm of hydrogen water at 11 ° C., maintaining a supersaturated state.
  • Example 3 The gas dissolving apparatus 1 shown in FIG. 1 was connected to a commercially available water server 100 as shown in FIG. 3 and circulated four times to generate hydrogen water.
  • the thin tube 5a of the pressure-lowering transfer means 5 was made of polypropylene having an inner diameter of 2 mm and a length of 1.6 m.
  • the pressure was 0.30 MPa, 21cm 3 / min of hydrogen generation amount, the flow rate of water in 730 cm 3 / min.
  • the hydrogen concentration in the water after 30 minutes of operation was 5.9 ppm of hydrogen water at 7 ° C., and the supersaturated state was maintained.
  • Example 4 The gas dissolving apparatus 1 shown in FIG. 1 was connected to a commercially available water server 100 as shown in FIG. 3 and circulated four times to generate hydrogen water.
  • the thin tube 5a of the pressure-lowering transfer means 5 was made of polypropylene having an inner diameter of 2 mm and a length of 1.5 m. 0.35MPa pressure, the amount of hydrogen generation was carried out 25 cm 3 / min, the flow rate of water in 590 cm 3 / min.
  • the hydrogen concentration in the water after 30 minutes of operation was 3.0 ppm hydrogen water at 7 ° C., and the supersaturated state was maintained.
  • Example 5 The gas dissolving apparatus 1 shown in FIG. 1 was connected to a commercially available water server 100 as shown in FIG. 3 and circulated four times to generate hydrogen water.
  • the thin tube 5a of the pressure-lowering transfer means 5 was made of polypropylene having an inner diameter of 2 mm and a length of 1.6 m. 0.38MPa pressure, the amount of hydrogen generation was carried out 25 cm 3 / min, the flow rate of water in 560 cm 3 / min.
  • the hydrogen concentration in the water after 30 minutes of operation was 3.8 ppm of hydrogen water at 7 ° C., and the supersaturated state was maintained.
  • Example 6 The gas dissolving apparatus 1 shown in FIG. 1 was connected to a commercially available water server 100 as shown in FIG. 3 and circulated four times to generate hydrogen water.
  • the thin tube 5a of the pressure-lowering transfer means 5 was made of polypropylene having an inner diameter of 2 mm and a length of 1.8 m. 0.40MPa pressure, the amount of hydrogen generation was carried out 25 cm 3 / min, the flow rate of water in 540 cm 3 / min.
  • the hydrogen concentration in the water after 30 minutes of operation was 4.2 ppm hydrogen water at 7 ° C., and the supersaturated state was maintained.
  • Example 7 The gas dissolving apparatus 1 shown in FIG. 1 was connected to a commercially available water server 100 as shown in FIG. 3 and circulated four times to generate hydrogen water.
  • the thin tube 5a of the pressure-lowering transfer means 5 was made of polypropylene having an inner diameter of 2 mm and a length of 1.8 m.
  • the pressure was 0.45 MPa, 20 cm 3 / min of hydrogen generation amount, the flow rate of water in 560 cm 3 / min.
  • the hydrogen concentration in the water after 30 minutes of operation was 4.5 ppm hydrogen water at 7 ° C., and the supersaturated state was maintained.
  • Example 8 The gas dissolving apparatus 1 shown in FIG. 1 was connected to a commercially available water server 100 as shown in FIG. 3 and circulated four times to generate hydrogen water.
  • the thin tube 5a of the pressure-lowering transfer means 5 was made of polypropylene having an inner diameter of 2 mm and a length of 1.8 m.
  • the pressure was 0.50 MPa, the amount of hydrogen generated was 15 cm 3 / min, and the flow rate of water was 570 cm 3 / min.
  • the hydrogen concentration in the water after 30 minutes of operation was 4.2 ppm hydrogen water at 7 ° C., and the supersaturated state was maintained.
  • Example 9 The gas dissolving apparatus 1 shown in FIG. 1 was connected to a commercially available water server 100 as shown in FIG. 3 and circulated four times to generate hydrogen water.
  • the thin tube 5a of the pressure-lowering transfer means 5 was made of polypropylene having an inner diameter of 2 mm and a length of 2.0 m.
  • the pressure was 0.60 MPa, the amount of hydrogen generated was 15 cm 3 / min, and the flow rate of water was 460 cm 3 / min.
  • the hydrogen concentration in the water after 30 minutes of operation was 3.4 ppm hydrogen water at 7 ° C., and the supersaturated state was maintained.
  • Example 10 The gas dissolving apparatus 1 shown in FIG. 1 was connected to a commercially available water server 100 as shown in FIG. 3 and circulated four times to generate hydrogen water.
  • the thin tube 5a of the pressure-lowering transfer means 5 was made of polypropylene having an inner diameter of 2 mm and a length of 1.4 m.
  • the pressure was 0.20 MPa, 30 cm 3 / min of hydrogen generation amount, the flow rate of water in 550 cm 3 / min.
  • the hydrogen concentration in the water after 30 minutes of operation became 2.7 ppm of hydrogen water at 7 ° C., and the supersaturated state was maintained.
  • Example 11 The gas dissolving apparatus 1 shown in FIG. 1 was connected to a commercially available water server 100 as shown in FIG. 3 and circulated four times to generate hydrogen water.
  • the thin tube 5a of the pressure-lowering transfer means 5 was made of polypropylene having an inner diameter of 2 mm and a length of 3 m.
  • the pressure was 0.50 MPa, 20 cm 3 / min of hydrogen generation amount, the flow rate of water in 550 cm 3 / min.
  • the hydrogen concentration in the water after 30 minutes of operation was 2.4 ppm of hydrogen water at 7 ° C., and the supersaturated state was maintained.
  • Example 12 The gas dissolving apparatus 1 shown in FIG. 1 was connected to a commercially available water server 100 as shown in FIG. 3 and circulated four times to generate hydrogen water.
  • the thin tube 5a of the pressure-lowering transfer means 5 was made of polypropylene having an inner diameter of 3 mm and a length of 4 m.
  • the pressure was 0.35 MPa, 20 cm 3 / min of hydrogen generation amount, the flow rate of water in 650 cm 3 / min.
  • the hydrogen concentration in the water after 30 minutes of operation was 3.5 ppm hydrogen water at 7 ° C., and the supersaturated state was maintained.
  • the gas dissolving apparatus 1 shown in FIG. 1 was connected to a commercially available water server 100 as shown in FIG. 3 and circulated four times to generate hydrogen water.
  • the thin tube 5a of the pressure-lowering transfer means 5 was made of polypropylene having an inner diameter of 3 mm and a length of 2.5 m.
  • the pressure was 0.25 MPa, the amount of hydrogen generated was 20 cm 3 / min, and the flow rate of water was 700 cm 3 / min.
  • the hydrogen concentration in the water after 30 minutes of operation was 3.0 ppm hydrogen water at 7 ° C., and the supersaturated state was maintained.
  • the gas dissolving apparatus 1 shown in FIG. 1 was connected to a commercially available water server 100 as shown in FIG. 2 and circulated four times to generate hydrogen water.
  • the thin tube 5a of the pressure-lowering transfer means 5 was made of polypropylene having an inner diameter of 2 mm and a length of 0.4 m.
  • the pressure was 0.05 MPa, 21cm 3 / min of hydrogen generation amount, the flow rate of water in 960 cm 3 / min.
  • the hydrogen concentration in the water after 30 minutes of operation became 1.6 ppm of hydrogen water at 7 ° C., and the supersaturated state could not be maintained.
  • the gas dissolving apparatus 1 shown in FIG. 1 was connected to a commercially available water server as shown in FIG. 2 and circulated four times to generate hydrogen water.
  • the thin tube 5a of the pressure-lowering transfer means 5 was made of polypropylene having an inner diameter of 3 mm and a length of 0.8 m.
  • the pressure was 0.08 MPa
  • the hydrogen generation amount was 21 cm 3 / min
  • the water flow rate was 900 cm 3 / min.
  • the hydrogen concentration in the water after 30 minutes of operation became 1.8 ppm of hydrogen water at 7 ° C., and the supersaturated state could not be maintained.
  • It can be installed not only in water and water servers, but also in beverages such as tea and juice, or in bathtubs. It can be used for various liquids that are required to dissolve a gas in a liquid in a supersaturated state and to maintain the supersaturated state stably.

Landscapes

  • Chemical & Material Sciences (AREA)
  • Chemical Kinetics & Catalysis (AREA)
  • Life Sciences & Earth Sciences (AREA)
  • Engineering & Computer Science (AREA)
  • Hydrology & Water Resources (AREA)
  • Environmental & Geological Engineering (AREA)
  • Water Supply & Treatment (AREA)
  • Organic Chemistry (AREA)
  • Electrochemistry (AREA)
  • General Chemical & Material Sciences (AREA)
  • Health & Medical Sciences (AREA)
  • Medicinal Chemistry (AREA)
  • Hydrogen, Water And Hydrids (AREA)
  • Non-Alcoholic Beverages (AREA)
  • Accessories For Mixers (AREA)
  • Coloring Foods And Improving Nutritive Qualities (AREA)
  • Electrolytic Production Of Non-Metals, Compounds, Apparatuses Therefor (AREA)
  • Nutrition Science (AREA)
  • Food Science & Technology (AREA)
  • Polymers & Plastics (AREA)
  • Pharmaceuticals Containing Other Organic And Inorganic Compounds (AREA)
PCT/JP2015/065103 2014-05-27 2015-05-26 気体溶解装置及び気体溶解方法 Ceased WO2015182606A1 (ja)

Priority Applications (5)

Application Number Priority Date Filing Date Title
JP2015529952A JP5865560B1 (ja) 2014-05-27 2015-05-26 気体溶解装置及び気体溶解方法
KR1020167014626A KR20160078495A (ko) 2014-05-27 2015-05-26 기체용해장치 및 기체용해방법
KR1020177028955A KR20170116255A (ko) 2014-05-27 2015-05-26 기체용해장치 및 기체용해방법
US15/028,525 US10369532B2 (en) 2014-05-27 2015-05-26 Gas-dissolving device and gas-dissolving method
CN201580003363.3A CN106457167B (zh) 2014-05-27 2015-05-26 气体溶解装置及气体溶解方法

Applications Claiming Priority (2)

Application Number Priority Date Filing Date Title
JP2014-108780 2014-05-27
JP2014108780 2014-05-27

Publications (1)

Publication Number Publication Date
WO2015182606A1 true WO2015182606A1 (ja) 2015-12-03

Family

ID=54698931

Family Applications (1)

Application Number Title Priority Date Filing Date
PCT/JP2015/065103 Ceased WO2015182606A1 (ja) 2014-05-27 2015-05-26 気体溶解装置及び気体溶解方法

Country Status (5)

Country Link
US (1) US10369532B2 (enExample)
JP (4) JP5865560B1 (enExample)
KR (2) KR20160078495A (enExample)
CN (1) CN106457167B (enExample)
WO (1) WO2015182606A1 (enExample)

Cited By (5)

* Cited by examiner, † Cited by third party
Publication number Priority date Publication date Assignee Title
JP2017121630A (ja) * 2014-05-27 2017-07-13 株式会社光未来 気体溶解装置及び気体溶解方法
EP3225593A1 (en) * 2016-04-01 2017-10-04 Ching-Tsang Wu Hydrogen water machine
JP2018034147A (ja) * 2016-08-29 2018-03-08 株式会社光未来 送水ポンプレス水素水製造装置及び水素水製造方法
JP2018075528A (ja) * 2016-11-09 2018-05-17 株式会社オーゾラ 微細水素水バブル生成器
WO2018127986A1 (ja) * 2017-01-09 2018-07-12 トラストネットワーク株式会社 リアルタイム大容量水素水生成器

Families Citing this family (14)

* Cited by examiner, † Cited by third party
Publication number Priority date Publication date Assignee Title
KR101562802B1 (ko) * 2014-11-10 2015-10-26 (주)휴앤스 수소수 제조 시스템
JP6024060B1 (ja) * 2016-07-14 2016-11-09 株式会社昭和冷凍プラント 窒素水の製造システム及び製造方法
PL3484486T3 (pl) * 2016-07-15 2023-12-11 H2 Water Technologies Ltd Kompozycja do produkcji wody bogatej w wodór
JP7153093B2 (ja) * 2019-01-31 2022-10-13 フレンド株式会社 水素混合ガス生成装置および水素混合ガスの生成方法
AU2019100136B4 (en) * 2019-02-04 2019-07-25 Ambrosios Kambouris Hydrogen-based compositions
WO2021075043A1 (ja) * 2019-10-18 2021-04-22 国立大学法人 東京大学 ウルトラファインバブル含有溶液、これを含む飲料、及び医薬
CN113522069B (zh) * 2020-04-17 2024-11-19 大连盛大光明节能设备有限公司 富氢水机控制系统及控制方法
CN111472015B (zh) * 2020-04-24 2025-03-07 深圳市珐彩科技有限公司 一种防溢水便携式氢气生成装置
CN112239261B (zh) * 2020-08-19 2025-02-07 青岛海德沃特国际贸易有限公司 一种富氢水制备装置及方法
JP7580107B2 (ja) * 2020-09-25 2024-11-11 株式会社光未来 水素水製造装置及び水素水製造方法
KR102564803B1 (ko) 2021-05-20 2023-08-07 홍승훈 가스 용해 시스템
TWI843021B (zh) * 2021-10-18 2024-05-21 國立雲林科技大學 一種液態加工液以及使用該加工液之放電加工裝置或水刀雷射加工裝置
CN114057273B (zh) * 2021-11-22 2022-08-19 三峡大学 一种高溶解气水制备装置、高溶解气水制备方法及应用
CA3259815A1 (en) * 2022-06-30 2024-01-04 Ricky D. Kirk IMPROVED HYDROGENATION OF DRINKING WATER

Citations (10)

* Cited by examiner, † Cited by third party
Publication number Priority date Publication date Assignee Title
JPH03146123A (ja) * 1989-10-31 1991-06-21 Nikoku Kikai Kogyo Kk オゾン水製造装置
JPH0889771A (ja) * 1994-09-19 1996-04-09 Dainippon Ink & Chem Inc 気体溶解装置および気体溶解方法
JP2000334283A (ja) * 1999-05-26 2000-12-05 Ishikawajima Harima Heavy Ind Co Ltd オゾン溶解方法と装置
JP2008188574A (ja) * 2006-08-23 2008-08-21 Matsushita Electric Works Ltd 気体溶解装置
JP2009112979A (ja) * 2007-11-08 2009-05-28 Nomura Micro Sci Co Ltd オゾン水の製造装置及び製造方法
JP2010115594A (ja) * 2008-11-13 2010-05-27 Nsi:Kk 微細気泡発生方法、微細気泡発生装置、還元水
JP3161567U (ja) * 2010-04-27 2010-08-05 株式会社バイオリサーチ 飲料用水素含有水の製造装置
JP2011020005A (ja) * 2009-07-13 2011-02-03 Dainichi Kogyo:Kk ナノバブル発生装置
JP2013107060A (ja) * 2011-11-24 2013-06-06 Junji Yugawa ナノバブル発生装置
JP3190824U (ja) * 2014-03-12 2014-05-29 株式会社光未来 気体溶解装置

Family Cites Families (17)

* Cited by examiner, † Cited by third party
Publication number Priority date Publication date Assignee Title
JPS6050542B2 (ja) 1976-09-29 1985-11-08 日本国有鉄道 円周自動溶接・ガウジング装置
US4931000A (en) * 1989-03-02 1990-06-05 Gilian Instrument Corp. Double acting diaphragm air pump
JP4252841B2 (ja) * 2002-07-08 2009-04-08 三菱レイヨン株式会社 炭酸水製造装置及びそれを用いた炭酸水製造方法
JP2004350538A (ja) * 2003-05-27 2004-12-16 Matsushita Electric Works Ltd 家庭用水素溶解装置
US20060088739A1 (en) * 2004-10-26 2006-04-27 Energy Conversion Devices, Inc. Power generation and supply system
JP3984279B2 (ja) 2006-02-09 2007-10-03 広島化成株式会社 加水素水の製造方法及び製造装置
JP5216996B2 (ja) * 2006-02-15 2013-06-19 国立大学法人 岡山大学 脱気・溶解装置
JP2008006365A (ja) 2006-06-28 2008-01-17 Kawakuriin:Kk 水素水の連続製造方法及びその製造装置並びに水素水を使用した入浴装置及び浴室装置
JP5342156B2 (ja) * 2008-03-06 2013-11-13 松栄物流株式会社 水素水及び水素水生成装置
JP2010207691A (ja) 2009-03-09 2010-09-24 Arega Corporation Co Ltd 電解式浄水装置
JP2011194390A (ja) * 2010-03-17 2011-10-06 Kikuchi Eco Earth:Kk 気液混合装置、気液混合システムおよび気液混合システムを用いた気体成分含有水の製造方法
JP5986718B2 (ja) 2011-07-25 2016-09-06 バイオコーク技研株式会社 水素水製造装置及び水素水製造方法
JP5882025B2 (ja) 2011-11-04 2016-03-09 恭胤 高藤 水素水製造装置及び水素水製造方法
JP5416246B2 (ja) 2011-11-15 2014-02-12 株式会社ヒロマイト 水素水の生水方法
JP6030429B2 (ja) * 2012-01-05 2016-11-24 Idec株式会社 香り付与液生成装置および香り付与液生成方法
KR101448577B1 (ko) * 2012-11-12 2014-10-13 주식회사 파이노 수소수 제조장치
CN106457167B (zh) * 2014-05-27 2020-06-26 株式会社光未来 气体溶解装置及气体溶解方法

Patent Citations (10)

* Cited by examiner, † Cited by third party
Publication number Priority date Publication date Assignee Title
JPH03146123A (ja) * 1989-10-31 1991-06-21 Nikoku Kikai Kogyo Kk オゾン水製造装置
JPH0889771A (ja) * 1994-09-19 1996-04-09 Dainippon Ink & Chem Inc 気体溶解装置および気体溶解方法
JP2000334283A (ja) * 1999-05-26 2000-12-05 Ishikawajima Harima Heavy Ind Co Ltd オゾン溶解方法と装置
JP2008188574A (ja) * 2006-08-23 2008-08-21 Matsushita Electric Works Ltd 気体溶解装置
JP2009112979A (ja) * 2007-11-08 2009-05-28 Nomura Micro Sci Co Ltd オゾン水の製造装置及び製造方法
JP2010115594A (ja) * 2008-11-13 2010-05-27 Nsi:Kk 微細気泡発生方法、微細気泡発生装置、還元水
JP2011020005A (ja) * 2009-07-13 2011-02-03 Dainichi Kogyo:Kk ナノバブル発生装置
JP3161567U (ja) * 2010-04-27 2010-08-05 株式会社バイオリサーチ 飲料用水素含有水の製造装置
JP2013107060A (ja) * 2011-11-24 2013-06-06 Junji Yugawa ナノバブル発生装置
JP3190824U (ja) * 2014-03-12 2014-05-29 株式会社光未来 気体溶解装置

Cited By (5)

* Cited by examiner, † Cited by third party
Publication number Priority date Publication date Assignee Title
JP2017121630A (ja) * 2014-05-27 2017-07-13 株式会社光未来 気体溶解装置及び気体溶解方法
EP3225593A1 (en) * 2016-04-01 2017-10-04 Ching-Tsang Wu Hydrogen water machine
JP2018034147A (ja) * 2016-08-29 2018-03-08 株式会社光未来 送水ポンプレス水素水製造装置及び水素水製造方法
JP2018075528A (ja) * 2016-11-09 2018-05-17 株式会社オーゾラ 微細水素水バブル生成器
WO2018127986A1 (ja) * 2017-01-09 2018-07-12 トラストネットワーク株式会社 リアルタイム大容量水素水生成器

Also Published As

Publication number Publication date
JP6116658B2 (ja) 2017-04-19
JP5865560B1 (ja) 2016-02-17
CN106457167A (zh) 2017-02-22
KR20160078495A (ko) 2016-07-04
US10369532B2 (en) 2019-08-06
US20170065940A1 (en) 2017-03-09
KR20170116255A (ko) 2017-10-18
CN106457167B (zh) 2020-06-26
JPWO2015182606A1 (ja) 2017-04-20
JP2016101585A (ja) 2016-06-02
JP2020116575A (ja) 2020-08-06
JP2017121630A (ja) 2017-07-13

Similar Documents

Publication Publication Date Title
JP6116658B2 (ja) 気体溶解装置及び気体溶解方法
EP2338841A1 (en) Apparatus for producing hydrogen-dissolved drinking water and process for producing the dissolved drinking water
KR101846037B1 (ko) 고농도 오존수의 제조 방법 및 고농도 오존수의 제조 장치
JP3190824U (ja) 気体溶解装置
JP3190824U7 (enExample)
KR20160062674A (ko) 수소수 생성모듈을 구비한 수소수정수기
KR20170046720A (ko) 공명 발포와 진공 캐비테이션 현상에 의한 산화성 라디칼 또는 환원성 라디칼을 가지는 울트라 파인 버블의 제조 방법 및 울트라 파인 버블수 제조 장치
CN212451005U (zh) 一种富氢水生产及灌装系统
JP2009248079A (ja) 高純度のブラウンガスを利用した微細気泡含有高濃度酸素水素水製造装置及び製造方法
JP6366360B2 (ja) 水素分子を含有する電解還元水の製造方法およびその製造装置
JP2021531951A (ja) 超音波−電極−ナノ多孔膜カップリングによる水素製造滅菌システム
JP2017131822A (ja) 水素水生成装置及び水素水生成方法
JP7054554B2 (ja) アルカリ金属塩化物溶液から電解生成物を得るためのデバイス
KR101832369B1 (ko) 수소수 제조장치
JP2016002533A (ja) 原水に含まれる溶存酸素を原料としてオゾン水を製造するオゾン水の製造装置及びオゾン水の製造方法
KR101504259B1 (ko) 수소수의 제조장치
JP2016101565A (ja) 水素水の製造方法および水素水製造装置
JP5975397B2 (ja) オゾン水生成装置
TWI837309B (zh) 加氫裝置以及加氫方法
KR20090095735A (ko) 고농도 산소수 제조장치
JP2019195805A (ja) 水素溶解水製造装置および製造方法ならびに水素供給装置
GB2473440A (en) Apparatus and process for ozone generation and ozonation of oils
KR101703140B1 (ko) 수소수기
CN212451004U (zh) 一种富氢水生产及灌装系统
JP2015040343A (ja) オゾン含有液生成装置およびオゾン含有液生成方法

Legal Events

Date Code Title Description
ENP Entry into the national phase

Ref document number: 2015529952

Country of ref document: JP

Kind code of ref document: A

121 Ep: the epo has been informed by wipo that ep was designated in this application

Ref document number: 15799993

Country of ref document: EP

Kind code of ref document: A1

WWE Wipo information: entry into national phase

Ref document number: 15028525

Country of ref document: US

ENP Entry into the national phase

Ref document number: 20167014626

Country of ref document: KR

Kind code of ref document: A

NENP Non-entry into the national phase

Ref country code: DE

122 Ep: pct application non-entry in european phase

Ref document number: 15799993

Country of ref document: EP

Kind code of ref document: A1