WO2015125460A1 - Acoustic wave elements and ladder filters using same - Google Patents

Acoustic wave elements and ladder filters using same Download PDF

Info

Publication number
WO2015125460A1
WO2015125460A1 PCT/JP2015/000718 JP2015000718W WO2015125460A1 WO 2015125460 A1 WO2015125460 A1 WO 2015125460A1 JP 2015000718 W JP2015000718 W JP 2015000718W WO 2015125460 A1 WO2015125460 A1 WO 2015125460A1
Authority
WO
WIPO (PCT)
Prior art keywords
connection wiring
electrode
acoustic wave
wave element
piezoelectric body
Prior art date
Legal status (The legal status is an assumption and is not a legal conclusion. Google has not performed a legal analysis and makes no representation as to the accuracy of the status listed.)
Ceased
Application number
PCT/JP2015/000718
Other languages
English (en)
French (fr)
Inventor
Yosuke Hamaoka
Mitsunori Miyanari
Hiroyuki Nakamura
Hidekazu Nakanishi
Current Assignee (The listed assignees may be inaccurate. Google has not performed a legal analysis and makes no representation or warranty as to the accuracy of the list.)
Skyworks Filter Solutions Japan Co Ltd
Original Assignee
Skyworks Panasonic Filter Solutions Japan Co Ltd
Priority date (The priority date is an assumption and is not a legal conclusion. Google has not performed a legal analysis and makes no representation as to the accuracy of the date listed.)
Filing date
Publication date
Application filed by Skyworks Panasonic Filter Solutions Japan Co Ltd filed Critical Skyworks Panasonic Filter Solutions Japan Co Ltd
Priority to CN201580008819.5A priority Critical patent/CN106031031B/zh
Priority to KR1020167025532A priority patent/KR20160124175A/ko
Priority to JP2016569125A priority patent/JP6342017B2/ja
Priority to US14/624,993 priority patent/US9614495B2/en
Publication of WO2015125460A1 publication Critical patent/WO2015125460A1/en
Anticipated expiration legal-status Critical
Priority to US15/438,402 priority patent/US10389326B2/en
Ceased legal-status Critical Current

Links

Images

Classifications

    • HELECTRICITY
    • H03ELECTRONIC CIRCUITRY
    • H03HIMPEDANCE NETWORKS, e.g. RESONANT CIRCUITS; RESONATORS
    • H03H3/00Apparatus or processes specially adapted for the manufacture of impedance networks, resonating circuits, resonators
    • H03H3/007Apparatus or processes specially adapted for the manufacture of impedance networks, resonating circuits, resonators for the manufacture of electromechanical resonators or networks
    • H03H3/02Apparatus or processes specially adapted for the manufacture of impedance networks, resonating circuits, resonators for the manufacture of electromechanical resonators or networks for the manufacture of piezoelectric or electrostrictive resonators or networks
    • HELECTRICITY
    • H03ELECTRONIC CIRCUITRY
    • H03HIMPEDANCE NETWORKS, e.g. RESONANT CIRCUITS; RESONATORS
    • H03H9/00Networks comprising electromechanical or electro-acoustic elements; Electromechanical resonators
    • H03H9/02Details
    • H03H9/02535Details of surface acoustic wave devices
    • H03H9/02818Means for compensation or elimination of undesirable effects
    • H03H9/02944Means for compensation or elimination of undesirable effects of ohmic loss
    • HELECTRICITY
    • H03ELECTRONIC CIRCUITRY
    • H03HIMPEDANCE NETWORKS, e.g. RESONANT CIRCUITS; RESONATORS
    • H03H9/00Networks comprising electromechanical or electro-acoustic elements; Electromechanical resonators
    • H03H9/02Details
    • H03H9/02535Details of surface acoustic wave devices
    • H03H9/02992Details of bus bars, contact pads or other electrical connections for finger electrodes
    • HELECTRICITY
    • H03ELECTRONIC CIRCUITRY
    • H03HIMPEDANCE NETWORKS, e.g. RESONANT CIRCUITS; RESONATORS
    • H03H9/00Networks comprising electromechanical or electro-acoustic elements; Electromechanical resonators
    • H03H9/15Constructional features of resonators consisting of piezoelectric or electrostrictive material
    • H03H9/17Constructional features of resonators consisting of piezoelectric or electrostrictive material having a single resonator
    • HELECTRICITY
    • H03ELECTRONIC CIRCUITRY
    • H03HIMPEDANCE NETWORKS, e.g. RESONANT CIRCUITS; RESONATORS
    • H03H9/00Networks comprising electromechanical or electro-acoustic elements; Electromechanical resonators
    • H03H9/46Filters
    • H03H9/54Filters comprising resonators of piezoelectric or electrostrictive material
    • HELECTRICITY
    • H03ELECTRONIC CIRCUITRY
    • H03HIMPEDANCE NETWORKS, e.g. RESONANT CIRCUITS; RESONATORS
    • H03H9/00Networks comprising electromechanical or electro-acoustic elements; Electromechanical resonators
    • H03H9/46Filters
    • H03H9/54Filters comprising resonators of piezoelectric or electrostrictive material
    • H03H9/58Multiple crystal filters
    • H03H9/60Electric coupling means therefor
    • H03H9/605Electric coupling means therefor consisting of a ladder configuration
    • HELECTRICITY
    • H03ELECTRONIC CIRCUITRY
    • H03HIMPEDANCE NETWORKS, e.g. RESONANT CIRCUITS; RESONATORS
    • H03H9/00Networks comprising electromechanical or electro-acoustic elements; Electromechanical resonators
    • H03H9/46Filters
    • H03H9/64Filters using surface acoustic waves
    • H03H9/6423Means for obtaining a particular transfer characteristic
    • H03H9/6433Coupled resonator filters
    • H03H9/644Coupled resonator filters having two acoustic tracks
    • H03H9/6456Coupled resonator filters having two acoustic tracks being electrically coupled
    • H03H9/6459Coupled resonator filters having two acoustic tracks being electrically coupled via one connecting electrode
    • H03H9/6463Coupled resonator filters having two acoustic tracks being electrically coupled via one connecting electrode the tracks being electrically cascaded
    • HELECTRICITY
    • H03ELECTRONIC CIRCUITRY
    • H03HIMPEDANCE NETWORKS, e.g. RESONANT CIRCUITS; RESONATORS
    • H03H9/00Networks comprising electromechanical or electro-acoustic elements; Electromechanical resonators
    • H03H9/46Filters
    • H03H9/64Filters using surface acoustic waves
    • H03H9/6423Means for obtaining a particular transfer characteristic
    • H03H9/6433Coupled resonator filters
    • H03H9/6483Ladder SAW filters
    • HELECTRICITY
    • H10SEMICONDUCTOR DEVICES; ELECTRIC SOLID-STATE DEVICES NOT OTHERWISE PROVIDED FOR
    • H10NELECTRIC SOLID-STATE DEVICES NOT OTHERWISE PROVIDED FOR
    • H10N30/00Piezoelectric or electrostrictive devices
    • H10N30/40Piezoelectric or electrostrictive devices with electrical input and electrical output, e.g. functioning as transformers
    • HELECTRICITY
    • H10SEMICONDUCTOR DEVICES; ELECTRIC SOLID-STATE DEVICES NOT OTHERWISE PROVIDED FOR
    • H10NELECTRIC SOLID-STATE DEVICES NOT OTHERWISE PROVIDED FOR
    • H10N30/00Piezoelectric or electrostrictive devices
    • H10N30/80Constructional details
    • H10N30/87Electrodes or interconnections, e.g. leads or terminals
    • H10N30/872Interconnections, e.g. connection electrodes of multilayer piezoelectric or electrostrictive devices

Definitions

  • This invention relates to an acoustic wave element and a ladder filter using the same.
  • FIGS. 1 and 2 illustrate an example of a conventional acoustic wave element 6000, which may be used in an electronic device such as a wireless communication apparatus.
  • FIG. 1 shows a plan view of the conventional acoustic wave element 6000
  • FIG. 2 shows a corresponding cross-sectional view taken along line B-BB of FIG. 1.
  • the conventional acoustic wave element 6000 includes a first interdigital transducer (IDT) electrode 1000 and a second IDT electrode 2000 both provided on the upper surface of a piezoelectric body 5000.
  • IDT interdigital transducer
  • the conventional acoustic wave element 6000 further includes a connection wiring 3000 connecting the first IDT electrode 1000 to the second IDT electrode 2000, and a reinforcement electrode 4000 provided on the connection wiring 3000.
  • the reinforcement electrode 4000 is provided for reducing the electric resistance of the connection wiring 3000 connecting the first IDT electrode 1000 to the second IDT electrode 2000.
  • the connection wiring 3000 includes a lower connection wiring 3002 and an upper connection wiring 3001.
  • the upper connection wiring 3001 is provided on the upper surface of the lower connection wiring 3002.
  • Japanese Patent Application Publication No. 2011-71912 describes an example of such a conventional acoustic wave element.
  • aspects and embodiments are directed to an acoustic wave element and a ladder filter using the same.
  • an acoustic wave element according to the present invention may be configured to greatly reduce the electric loss in the connection wiring electrically connected between the IDT electrodes, as discussed in more detail below.
  • an acoustic wave element comprises a piezoelectric body having an upper surface, an interdigital transducer (IDT) electrode provided above the piezoelectric body, a connection wiring connected to the IDT electrode provided above the piezoelectric body, the connection wiring having a lower connection wiring and an upper connection wiring provided above the lower connection wiring, and a reinforcement electrode provided above the connection wiring, the reinforcement electrode being in contact with and electrically connected to the lower connection wiring.
  • IDT interdigital transducer
  • the connection wiring includes a hole electrode extending in a direction perpendicular to the upper surface of the piezoelectric body, the reinforcement electrode being electrically connected to the lower connection wiring via the hole electrode.
  • the hole electrode extends through the upper connection wiring and the lower connection wiring, a first diameter of the hole electrode in the upper connection wiring being larger than a second diameter of the hole electrode in the lower connection wiring.
  • the material of the lower connection wiring may be different from the material of the upper connection wiring.
  • an oxygen affinity of the material of the lower connection wiring may be less than an oxygen affinity of the material of the upper connection wiring.
  • the reinforcement electrode may be in contact with and electrically connected to an upper surface of the lower connection wiring.
  • the upper connection wiring is divided by the reinforcement electrode in a cross section taken in a direction perpendicular to the upper surface of the piezoelectric body to provide first and second upper connection wirings, the first and second upper connection wirings being electrically connected to each other via the reinforcement electrode.
  • the acoustic wave element may further comprise a third connection electrode disposed on the piezoelectric body between the first and second upper connection wirings, the third connection wiring being covered with an insulation layer, and the reinforcement electrode extending over the insulation layer.
  • the lower connection wiring is divided by the reinforcement electrode in a cross section taken in the direction perpendicular to the upper surface of the piezoelectric body to provide first and second lower connection wirings, the first and second lower connection wirings being electrically connected to each other via the reinforcement electrode.
  • the acoustic wave element may further comprise a third connection wiring disposed on the piezoelectric body between the first and second lower connection wirings, the third connection wiring being covered with an insulation layer, and the reinforcement electrode extending over the insulation layer.
  • the IDT electrode includes a lower IDT electrode and an upper IDT electrode provided above the lower IDT electrode, a material of the lower IDT electrode being identical to a material of the lower connection wiring, and a material of the upper IDT electrode being identical to a material of the upper connection wiring.
  • an acoustic wave element comprises a piezoelectric body having an upper surface, a first interdigital transducer (IDT) electrode disposed on the piezoelectric body, a second IDT electrode disposed on the piezoelectric body, a connection wiring disposed on the upper surface of the piezoelectric body and electrically connected to the first IDT electrode and the second IDT electrode, the connection wiring including a lower connection wiring and a upper connection wiring disposed above the lower connection wiring, and a reinforcement electrode disposed above the connection wiring, the reinforcement electrode being in contact with and electrically connected to the lower connection wiring.
  • IDT interdigital transducer
  • the lower connection wiring is formed of a first material and the upper connection wiring is formed of a second material, an oxygen affinity of the first material being less than an oxygen affinity of the second material.
  • the reinforcement electrode is further in contact with and electrically connected to the upper connection wiring.
  • the connection wiring may further include a hole electrode extending through the upper connection wiring and the lower connection wiring in a direction perpendicular to the upper surface of the piezoelectric body.
  • the hole electrode has a first diameter in the upper connection wiring and a second diameter in the lower connection wiring, the first diameter being larger than the second diameter.
  • the reinforcement electrode is electrically connected to the lower connection wiring via the hole electrode.
  • connection wiring including both the upper and lower connection wirings, is divided by the reinforcement electrode in a cross section taken in a direction perpendicular to the upper surface of the piezoelectric body to provide first and second connection wirings, the first and second connection wirings being electrically connected to each other via the reinforcement electrode.
  • the acoustic wave element may further comprise a third connection wiring disposed on the piezoelectric body between the first and second connection wirings, the third connection wiring being covered with an insulation layer, and the reinforcement electrode extending over the insulation layer.
  • Another embodiment is directed to a ladder filter including the acoustic wave element of any of the examples discussed above.
  • an acoustic wave element comprises a piezoelectric body having an upper surface, a first interdigital transducer (IDT) electrode disposed on the piezoelectric body, a second IDT electrode disposed on the piezoelectric body, a connection wiring disposed on the upper surface of the piezoelectric body and electrically connected to the first IDT electrode and the second IDT electrode, and means for reducing electric loss in the connection wiring.
  • IDT interdigital transducer
  • FIG. 1 is a plan view schematically showing an example of a conventional acoustic wave element
  • FIG. 2 is a cross-sectional view of the conventional acoustic wave element of FIG. 1 taken along line B-BB in FIG. 1
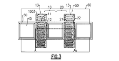
  • FIG. 3 is a plan view schematically showing one example of an acoustic wave element according to aspects of the present invention
  • FIGS. 4A-D are cross-sectional views of examples of the acoustic wave element of FIG. 3 taken along line A-AA in FIG. 3
  • FIGS. 4A-D are cross-sectional views of examples of the acoustic wave element of FIG. 3 taken along line A-AA in FIG. 3
  • FIGS. 4A-D are cross-sectional views of examples of the acoustic wave element of FIG. 3 taken along line A-AA in FIG. 3
  • FIGS. 4A-D are cross-sectional views of examples of the acoustic wave element of FIG. 3 taken along line A-AA in FIG. 3;
  • FIGS. 4A-D are cross-sectional views of examples of the acoustic wave element of FIG. 3 taken along line A-AA in FIG. 3;
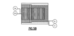
  • FIG. 5A is a cross-sectional view of one example of a conventional acoustic wave element showing measurement conditions of a contact resistance value of the connection wiring;
  • FIG. 5B is a corresponding plan view of the example conventional acoustic wave element of FIG. 5A;
  • FIG. 6A is a cross-sectional view of one example of an acoustic wave element showing measurement conditions of a contact resistance value of the connection wiring according to aspects of the present invention;
  • FIG. 6B is a corresponding plan view of the example acoustic wave element of FIG. 6A;
  • FIG. 7A is a cross-sectional view of another example of an acoustic wave element showing measurement conditions of a contact resistance value of the connection wiring according to aspects of the present invention;
  • FIG. 7B is a corresponding plan view of the example acoustic wave element of FIG. 7A;
  • FIG. 8 is a characteristic diagram showing measurement results of the contact resistance value of the connection wiring corresponding to the examples of FIGS. 5A-7B;
  • FIG. 9A is a cross-sectional view of an example of a conventional acoustic wave element showing measurement conditions of a resistance value per unit length of the connection wiring;
  • FIG. 9A is a cross-sectional view of an example of a conventional acoustic wave element showing measurement conditions of a resistance value per unit length of the connection wiring;
  • FIG. 9B is a corresponding plan view of the example conventional acoustic wave element of FIG. 9A;
  • FIG. 10A is a cross-sectional view of one example of an acoustic wave element showing measurement conditions of a resistance value per unit length of the connection wiring, according to aspects of the present invention;
  • FIG. 10B is a corresponding plan view of the example acoustic wave element of FIG. 10A;
  • FIG. 11A is a cross-sectional view of another example of an acoustic wave element showing measurement conditions of a resistance value per unit length of the connection wiring, according to aspects of the present invention;
  • FIG. 11B is a corresponding plan view of the example acoustic wave element of FIG. 11A;
  • FIG. 12 is a characteristic diagram showing measurement results of the resistance value of the connection wiring corresponding to the examples of FIGS. 9A-11B;
  • FIG. 13 is a circuit diagram of one example of a ladder filter according to aspects of the present invention; and
  • FIG. 14 is a characteristic diagram showing passing characteristics of the ladder filter according to aspects of the present invention.
  • FIG. 3 is a plan view schematically illustrating an embodiment of the acoustic wave element 60.
  • FIGS. 4A-D are cross-sectional views of various examples of the acoustic wave element 60 taken along line A-AA in FIG. 3.
  • the acoustic wave element 60 includes a piezoelectric body 50 made of a single crystal piezoelectric material. A first IDT electrode 10 and a second IDT electrode 20 are provided on the upper surface of the piezoelectric body 50.
  • the acoustic wave element 60 further includes two reflectors 13 disposed adjacent the IDT electrodes 10, 20 in the propagation direction of an acoustic wave generated by the first IDT electrode 10 and the second IDT electrode 20.
  • the acoustic wave element 60 further includes a connection wiring 30 electrically connecting the first IDT electrode 10 and the second IDT electrode 20, and a reinforcement electrode 40 provided on the upper surface of the connection wiring 30 for reducing the electric loss of the connection wiring 30.
  • the first IDT electrode 10 has comb-shaped electrodes each including a line-shaped first bus bar 12 and a plurality of first electrode fingers 11 perpendicularly extending with respect to the line direction of the line-shaped first bus bar 12.
  • the first IDT electrode 10 is made of the opposing comb-shaped electrodes.
  • the second IDT electrode 20 includes comb-shaped electrodes each having a second bus bar 22 and a plurality of second electrode fingers 21.
  • the first IDT electrode 10, the second IDT electrode 20, the reflectors 13, the connection wiring 30, and the reinforcement electrode 40 may be formed by patterning a metallic thin film.
  • the acoustic wave element 60 may be improved in its temperature characteristic by providing a dielectric layer that covers the upper surfaces of the piezoelectric body 50, the first IDT electrode 10, the second IDT electrode 20, the reflectors 13, the connection wiring 30, and the reinforcement electrode 40.
  • connection wiring 30 includes an upper connection wiring 31 and a lower connection wiring 32.
  • the lower connection wiring 32 and the reinforcement electrode 40 are in contact with and electrically connected to each other so that the electric loss can be greatly reduced in the connection wiring 30.
  • the electric loss may occur when an oxide film formed on the surface of the upper connection wiring 31 and the lower connection wiring 32 during the thin film processing blocks the electrical connection between the connection wiring 30 and the reinforcement electrode 40.
  • the electrical resistance reduction effect of the connection wiring 30, which is effected by providing the reinforcement electrode 40 as described above may be lost or degraded by the presence of the oxide film.
  • certain aspects and embodiments address the oxide film formed on the surface of the connection wiring 30 and reduce the electric loss in the connection wiring 30 by reducing the contact resistance between the connection wiring 30 and the reinforcement electrode 40.
  • the material forming the upper connection wiring 31 and the lower connection wiring 32 may preferably be a material that is not likely to form an oxide film on the surface.
  • the susceptibility to oxidation is represented by an oxygen affinity.
  • the main cause of the electric loss reduction effect in the connection wiring 30 in one embodiment is the configuration in which the lower connection wiring 32 and the reinforcement electrode 40 are in contact with and electrically connected to each other, it may be preferable to allow the oxygen affinity of the material forming the lower connection wiring 32 to be less than the oxygen affinity of the material forming the upper connection wiring 31.
  • the oxygen affinity of the material generally correlates with a standard free-energy, and the less the standard free-energy (Delta G/kJmol -1 ), the less the oxygen affinity. Representative materials are exemplified by: listed in ascending order of the standard free-energy.
  • connection wiring 31 and the lower connection wiring 32 are described in at least one embodiment, the structure is not limited to two layers and may be configured as three or more layers.
  • connection wiring 30 and the reinforcement electrode 40 are described in detail below with reference to FIGS. 4A-D.
  • connection wiring 32 and the reinforcement electrode 40 are in contact with and electrically connected to each other in the connection wiring 30.
  • the lower connection wiring 32, the upper connection wiring 31, and the reinforcement electrode 40 are sequentially provided on the upper surface of the piezoelectric body 50.
  • the connection wiring 30 can be integrally and simultaneously formed with the first IDT electrode 10 and the second IDT electrode 20 using thin film processing.
  • the upper connection wiring 31 is divided by the reinforcement electrode 40, and the upper surface of the lower connection wiring 32 and the reinforcement electrode 40 are in contact with and electrically connected to each other.
  • the upper surface and the side surfaces of the upper connection wiring 31 are in contact with and electrically connected to the reinforcement electrode 40.
  • the lower connection wiring 32 is also divided by the reinforcement electrode 40, and the piezoelectric body 50 also has a surface in contact with the reinforcement electrode 40.
  • the reinforcement electrode 40 may be characterized by the configuration of being in contact with and electrically connected to the side surfaces of the lower connection wiring 32.
  • a hole electrode 70 is provided extending in the direction perpendicular to the upper surface of the piezoelectric body 50 through the upper connection wiring 31 and the lower connection wiring 32, such that the lower connection wiring 32 and the reinforcement electrode 40 are in contact with and electrically connected to each other.
  • the cross-sectional area of the hole electrode 70 provided in the lower connection wiring 32 it may be preferable to allow the cross-sectional area of the hole electrode 70 provided in the lower connection wiring 32 to be less than the cross-sectional area of the hole electrode 70 provided in the upper connection wiring 31, such that not only the side surfaces of the lower connection wiring 32 but also the upper surface thereof can be in contact with and electrically connected to the reinforcement electrode 40.
  • the contact area is greater to further reduce the contact resistance.
  • the shape of the hole electrode 70 is not limited to the example shown in FIG. 4C, and may have any cross-sectional shape, including, for example, circular, rectangular, and the like.
  • the cross section may be differently configured in the depth direction of the hole electrode 70.
  • the hole electrode 70 may be provided only in the upper connection wiring 31 for the upper surface of the lower connection wiring 32 to be in contact with and electrically connected to the hole electrode 70.
  • connection wiring 120 is illustrated another configuration of the connection wiring according to certain examples.
  • one connection wiring 30 divided by the reinforcement electrode 40 is designated as a first connection wiring 100 and the other connection wiring 30 is designated as a second connection wiring 110
  • a third connection wiring 120 is provided on the upper surface of the piezoelectric body 50 between the first connection wiring 100 and the second connection wiring 110.
  • the third connection wiring 120 is covered with an insulation layer 80.
  • the reinforcement electrode 40 may cross with an overpass of the third connection wiring 120 via the insulation layer 80, and the first connection wiring 100 and the second connection wiring 110 are in contact with and electrically connected to each other.
  • the third connection wiring 120 may be an electrode that has a potential different from that of the first connection wiring 100 or the second connection wiring 110.
  • the third connection wiring 120 may be integrally and simultaneously formed with the first connection wiring 100 and the second connection wiring 110. It may be preferable to adopt the same configuration (e.g., a vertically two-layer structure) and the same material for simplifying the manufacturing process.
  • connection wiring 30 and the reinforcement electrode 40 will be described below, comparing embodiments of acoustic wave element 60 with a conventional acoustic wave element, and with reference to FIGS. 5A-7B, which illustrate examples of measuring the contact resistances in the connection wiring 30 and the reinforcement electrode 40.
  • FIG. 5A is a cross-sectional view and FIG. 5B is a plan view corresponding to the configuration of the conventional acoustic wave element of FIG. 2.
  • FIGS. 5A and 5B illustrate a comparative example in which the reinforcement electrode 40 is only in contact with and electrically connected to the upper connection wiring 31.
  • FIGS. 6A and 6B illustrate a cross-sectional view and corresponding plan view, respectively, of one example of an embodiment of the acoustic wave element 60 in which the upper connection wiring 31 and the lower connection wiring 32 are in contact with and electrically connected to each other.
  • FIGS. 7A and 7B illustrate a cross-sectional view and corresponding plan view, respectively, of another example of an embodiment of the acoustic wave element 60 in which only the lower connection wiring 32 is in contact with and electrically connected to the reinforcement electrode 40.
  • the reinforcement electrode 40 is made of Aluminum (Al)
  • the upper connection wiring 31 is made of an Aluminum alloy
  • the lower connection wiring 32 is made of Molybdenum (Mo)
  • the total contact area between the reinforcement electrode 40 and the connection wiring 30 is 400 um 2 .
  • FIG. 8 shows the measurement results of the contact resistance per unit area between the connection wiring 30 and the reinforcement electrode 40.
  • Five measurement points are plotted per each of FIGS. 5A-7B in FIG. 8.
  • the contact resistances per unit area of the embodiments of FIGS. 6A-B and 7A-B are lower than the contact resistances per unit area of the comparative example of FIGS. 5A-B. This is because the oxide film formed on the upper surface of the upper connection wiring 31 during the thin film processing increases the contact resistances per unit area between the reinforcement electrode 40 and the connection wiring 30.
  • the contact resistances per unit area of the embodiment of FIGS. 7A-B are lower than the contact resistances per unit area of the embodiments of FIGS. 5A-B and 6A-B.
  • connection wiring 30 configuring the connection wiring 30 according to certain embodiments such that at least the lower connection wiring 32 is in contact with and electrically connected to the reinforcement electrode 40 reduces the contact resistance between the connection wiring 30 and the reinforcement electrode 40. As a result, the electric loss in the connection wiring 30 can be reduced.
  • connection wiring 30 Examples of the resistance values per unit length of the connection wiring 30 will be described below, comparing another embodiment of the acoustic wave element 60 with a conventional acoustic wave element, and with reference to FIGS. 9A-11B, which illustrate examples of measuring the resistance values per unit length of the connection wiring 30.
  • the connection wiring configuration and the structure material of each configuration are similar to the configuration described above and illustrated in FIG. 4.
  • the lower connection wiring 32 is provided on the upper surface of piezoelectric body 50, and the reinforcement electrode 40 is subsequently provided on the upper surface of lower connection wiring 32.
  • FIGS. 9A and 9B illustrate a cross-sectional view and corresponding plan view, respectively, of a comparative example in which there is no contact between the reinforcement electrode 40 and the lower connection wiring 32.
  • the cross-sectional view of FIG. 10A and the corresponding plan view of FIG. 10B show an example embodiment in which the hole electrode 70 has a diameter of 8 um and extends through the upper connection wiring 31 and the lower connection wiring 32.
  • the hole electrode 70 is filled with the reinforcement electrode 40, with the reinforcement electrode 40 and the side surfaces of the lower connection wiring 32 being electrically connected to each other via the hole electrode 70.
  • FIG. 12 shows measurement results of the resistance values per unit length of the connection wiring 30.
  • the resistance values per unit length in the connection wiring 30 of the example embodiment illustrated in FIGS. 10A-B are lower than the resistance values per unit length in the connection wiring 30 of the comparative example illustrated in FIGS. 9A-B.
  • the lower connection wiring 32 and the reinforcement electrode 40 may be in contact with and electrically connected to each other even by a small area, and the result is that the electric loss may be reduced in the connection wiring 30.
  • FIGS. 11A and 11B illustrate cross-section and plan views, respectively, of another configuration in which the hole electrode 70 is filled with the reinforcement electrode 40 and is provided only in the upper connection wiring 31 for the reinforcement electrode 40 to be in contact with and electrically connected to the upper surface of the lower connection wiring 32.
  • This configuration may also reduce the resistance value per unit length of the connection wiring 30 with respect to the comparative example of FIGS. 9A-B, and may also achieve the reduction effect of the electric loss in the connection wiring 30.
  • the diameter of the hole electrode 70 is not limited to the example of 8 um discussed above, and that the effect of the reducing electric loss may be achieved by the lower connection wiring 32 and the reinforcement electrode 40 being in contact with and electrically connected to each other.
  • FIG. 13 is a circuit diagram of one example of a ladder filter 400 using an embodiment of the acoustic wave element 60.
  • the ladder filter 400 according to one embodiment includes a first serial resonator 301, a second serial resonator 302, a third serial resonator 303, and a fourth serial resonator 304 serially connected between an input terminal 201 and an output terminal 202.
  • a first parallel resonator 305 and a second parallel resonator 306 are connected at one end between the first serial resonator 301 and the second serial resonator 302 and connected at the other end to the ground.
  • a third parallel resonator 307 and a fourth parallel resonator 308 are connected at one end between the third serial resonator 303 and the fourth serial resonator 304 and connected at the other end to the ground.
  • Each of the resonators 301, 302, 303, 304, 305, 306, 307, and 308 may include the acoustic wave element 60.
  • both ends of each of the IDT electrodes of the resonators of the ladder filter 400 are provided at a single portion with the hole electrode 70, as shown in FIG. 10B, whereas the comparative example is manufactured having no hole electrode 70.
  • the passing characteristics for each ladder filter are compared in FIG. 14.
  • FIG. 14 shows measurement results of the passing characteristics in the ladder filter 400.
  • the ladder filter of the example embodiment may enhance the attenuation amount in the passband and may reduce the minimum insertion loss in the passband with respect to that of the comparative example.
  • Embodiments of the acoustic wave element discussed herein are useful in configurations of a ladder filter and/or in various electronic devices, such as a cell phone.

Landscapes

  • Physics & Mathematics (AREA)
  • Acoustics & Sound (AREA)
  • Engineering & Computer Science (AREA)
  • Chemical & Material Sciences (AREA)
  • Crystallography & Structural Chemistry (AREA)
  • Power Engineering (AREA)
  • Manufacturing & Machinery (AREA)
  • Surface Acoustic Wave Elements And Circuit Networks Thereof (AREA)
PCT/JP2015/000718 2014-02-18 2015-02-17 Acoustic wave elements and ladder filters using same Ceased WO2015125460A1 (en)

Priority Applications (5)

Application Number Priority Date Filing Date Title
CN201580008819.5A CN106031031B (zh) 2014-02-18 2015-02-17 声波元件和使用声波元件的梯型滤波器
KR1020167025532A KR20160124175A (ko) 2014-02-18 2015-02-17 탄성파 소자 및 이것을 이용한 래더 필터
JP2016569125A JP6342017B2 (ja) 2014-02-18 2015-02-17 弾性波素子とこれを用いたラダーフィルタ
US14/624,993 US9614495B2 (en) 2014-02-18 2015-02-18 Elastic wave element with a reinforcement electrode and ladder filter using same
US15/438,402 US10389326B2 (en) 2014-02-18 2017-02-21 Methods of reducing electric loss in elastic wave elements

Applications Claiming Priority (2)

Application Number Priority Date Filing Date Title
JP2014-028059 2014-02-18
JP2014028059 2014-02-18

Related Child Applications (1)

Application Number Title Priority Date Filing Date
US14/624,993 Continuation US9614495B2 (en) 2014-02-18 2015-02-18 Elastic wave element with a reinforcement electrode and ladder filter using same

Publications (1)

Publication Number Publication Date
WO2015125460A1 true WO2015125460A1 (en) 2015-08-27

Family

ID=52706226

Family Applications (1)

Application Number Title Priority Date Filing Date
PCT/JP2015/000718 Ceased WO2015125460A1 (en) 2014-02-18 2015-02-17 Acoustic wave elements and ladder filters using same

Country Status (5)

Country Link
US (2) US9614495B2 (enExample)
JP (2) JP6342017B2 (enExample)
KR (1) KR20160124175A (enExample)
CN (1) CN106031031B (enExample)
WO (1) WO2015125460A1 (enExample)

Families Citing this family (3)

* Cited by examiner, † Cited by third party
Publication number Priority date Publication date Assignee Title
CN107852148B (zh) * 2015-08-31 2021-05-25 京瓷株式会社 声表面波元件
US11463037B2 (en) * 2020-09-10 2022-10-04 Delta Electronics, Inc. Motor control system and method of controlling the same
US20230179171A1 (en) 2021-12-06 2023-06-08 Skyworks Solutions, Inc. Multi-band surface acoustic wave filters

Citations (7)

* Cited by examiner, † Cited by third party
Publication number Priority date Publication date Assignee Title
EP0702379A1 (en) * 1994-09-16 1996-03-20 Kabushiki Kaisha Toshiba Electronic and/or magnetic devices
US20020121841A1 (en) * 2000-12-26 2002-09-05 Murata Manufacturing Co., Ltd. Surface acoustic wave apparatus and manufacturing method therefor
EP1274167A2 (en) * 2001-07-06 2003-01-08 Murata Manufacturing Co., Ltd. Surface acoustic wave element and manufacturing method of the same
EP2175556A1 (en) * 2007-07-30 2010-04-14 Murata Manufacturing Co. Ltd. Elastic wave device and method for manufacturing the same
US20100148890A1 (en) * 2007-10-30 2010-06-17 Fujitsu Limited Acoustic wave element, duplexer, communication module, and communication apparatus
JP2011071912A (ja) 2009-09-28 2011-04-07 Taiyo Yuden Co Ltd 弾性波フィルタ
US20130234558A1 (en) * 2010-11-10 2013-09-12 Murata Manufacturing Co., Ltd. Acoustic wave device and method for manufacturing the same

Family Cites Families (17)

* Cited by examiner, † Cited by third party
Publication number Priority date Publication date Assignee Title
US5003579A (en) * 1986-08-22 1991-03-26 Farallon Computing, Incorporated System for connecting computers via telephone lines
US5338575A (en) * 1990-01-10 1994-08-16 Kohiensaure-werke Rud. Buse GmbH & Co. Process for the quasi-continuous decaffeination of raw coffee
JPH1022767A (ja) * 1996-07-09 1998-01-23 Oki Electric Ind Co Ltd 表面弾性波フィルタ及びその製造方法
US7612470B2 (en) * 1999-01-12 2009-11-03 Microsemi Corp.—Analog Mixed Signal Group Ltd. System for providing power over Ethernet through a patch panel
US7376734B2 (en) * 2002-02-14 2008-05-20 Panduit Corp. VOIP telephone location system
JP2004129238A (ja) * 2002-09-10 2004-04-22 Matsushita Electric Ind Co Ltd 帯域阻止型フィルタ、フィルタ装置、アンテナ共用器、通信機器
JP3764450B2 (ja) * 2003-07-28 2006-04-05 Tdk株式会社 表面弾性波素子、表面弾性波装置、表面弾性波デュプレクサ、及び表面弾性波素子の製造方法
JP2006074223A (ja) * 2004-08-31 2006-03-16 Murata Mfg Co Ltd 電子部品およびその製造方法
JP5023749B2 (ja) * 2007-03-16 2012-09-12 パナソニック株式会社 弾性表面波フィルタ
US8401387B2 (en) * 2007-08-30 2013-03-19 Calix, Inc. Optical network interface devices and methods
JP2011030208A (ja) * 2009-07-03 2011-02-10 Panasonic Corp 弾性波フィルタ及びこれを用いたデュプレクサ
US8334737B2 (en) * 2009-07-15 2012-12-18 Panasonic Corporation Acoustic wave device and electronic apparatus using the same
JP5338575B2 (ja) * 2009-09-03 2013-11-13 パナソニック株式会社 弾性波素子とこれを用いた電子機器
US9099981B2 (en) * 2010-01-20 2015-08-04 Skyworks Panasonic Filter Solutions Japan Co., Ltd. Acoustic wave device having an inorganic insulator and an organic insulator
US8935543B2 (en) * 2010-04-02 2015-01-13 Andrew Llc Method and apparatus for distributing power over communication cabling
JP5402841B2 (ja) * 2010-06-14 2014-01-29 株式会社村田製作所 弾性表面波デバイス
DE112011103586B4 (de) * 2010-10-26 2017-05-18 Murata Manufacturing Co., Ltd. Demultiplexer für elastische Wellen

Patent Citations (7)

* Cited by examiner, † Cited by third party
Publication number Priority date Publication date Assignee Title
EP0702379A1 (en) * 1994-09-16 1996-03-20 Kabushiki Kaisha Toshiba Electronic and/or magnetic devices
US20020121841A1 (en) * 2000-12-26 2002-09-05 Murata Manufacturing Co., Ltd. Surface acoustic wave apparatus and manufacturing method therefor
EP1274167A2 (en) * 2001-07-06 2003-01-08 Murata Manufacturing Co., Ltd. Surface acoustic wave element and manufacturing method of the same
EP2175556A1 (en) * 2007-07-30 2010-04-14 Murata Manufacturing Co. Ltd. Elastic wave device and method for manufacturing the same
US20100148890A1 (en) * 2007-10-30 2010-06-17 Fujitsu Limited Acoustic wave element, duplexer, communication module, and communication apparatus
JP2011071912A (ja) 2009-09-28 2011-04-07 Taiyo Yuden Co Ltd 弾性波フィルタ
US20130234558A1 (en) * 2010-11-10 2013-09-12 Murata Manufacturing Co., Ltd. Acoustic wave device and method for manufacturing the same

Also Published As

Publication number Publication date
JP6342017B2 (ja) 2018-06-13
JP6513262B2 (ja) 2019-05-15
JP2017506866A (ja) 2017-03-09
US20150236238A1 (en) 2015-08-20
US10389326B2 (en) 2019-08-20
US9614495B2 (en) 2017-04-04
CN106031031A (zh) 2016-10-12
US20170170797A1 (en) 2017-06-15
KR20160124175A (ko) 2016-10-26
CN106031031B (zh) 2019-03-08
JP2018170765A (ja) 2018-11-01

Similar Documents

Publication Publication Date Title
JP4798319B1 (ja) 弾性波装置
JP6380558B2 (ja) 弾性波装置
US9966929B2 (en) Duplexer including a low-pass filter capacitor
US10389326B2 (en) Methods of reducing electric loss in elastic wave elements
JP6465047B2 (ja) 弾性波共振子、帯域通過型フィルタ及びデュプレクサ
KR20200033960A (ko) 탄성파 필터 장치
CN109845105A (zh) 弹性波滤波器装置
US11309866B2 (en) Acoustic wave device and method for manufacturing acoustic wave device
CN105284049B (zh) 滤波器装置以及双工器
CN110771040B (zh) 弹性波滤波器装置、复合滤波器装置以及多工器
CN100511999C (zh) 表面声波滤波器
KR101931679B1 (ko) 래더형 필터 및 듀플렉서
CN114424457A (zh) 弹性波装置
JP6981772B2 (ja) 弾性波デバイス
HK1229962A1 (en) Acoustic wave elements and ladder filters using same
JP2013243570A5 (enExample)
HK1229962B (zh) 声波元件和使用声波元件的梯型滤波器
JP5852132B2 (ja) 電子音響共振器
JP6784073B2 (ja) 弾性表面波フィルタ
JP6642385B2 (ja) 弾性表面波フィルタ
JP6620036B2 (ja) 弾性波フィルタ、分波器および通信装置
WO2010038381A1 (ja) 弾性波フィルタ装置
JP2012074169A (ja) 複合電子部品

Legal Events

Date Code Title Description
121 Ep: the epo has been informed by wipo that ep was designated in this application

Ref document number: 15711587

Country of ref document: EP

Kind code of ref document: A1

ENP Entry into the national phase

Ref document number: 2016569125

Country of ref document: JP

Kind code of ref document: A

NENP Non-entry into the national phase

Ref country code: DE

ENP Entry into the national phase

Ref document number: 20167025532

Country of ref document: KR

Kind code of ref document: A

122 Ep: pct application non-entry in european phase

Ref document number: 15711587

Country of ref document: EP

Kind code of ref document: A1