WO2015045205A1 - 磁気抵抗効果素子の製造方法および製造システム - Google Patents

磁気抵抗効果素子の製造方法および製造システム Download PDF

Info

Publication number
WO2015045205A1
WO2015045205A1 PCT/JP2014/002210 JP2014002210W WO2015045205A1 WO 2015045205 A1 WO2015045205 A1 WO 2015045205A1 JP 2014002210 W JP2014002210 W JP 2014002210W WO 2015045205 A1 WO2015045205 A1 WO 2015045205A1
Authority
WO
WIPO (PCT)
Prior art keywords
layer
gas
etching
manufacturing
ion beam
Prior art date
Legal status (The legal status is an assumption and is not a legal conclusion. Google has not performed a legal analysis and makes no representation as to the accuracy of the status listed.)
Ceased
Application number
PCT/JP2014/002210
Other languages
English (en)
French (fr)
Japanese (ja)
Inventor
真里恵 林
清尚 坂本
池田 真義
Current Assignee (The listed assignees may be inaccurate. Google has not performed a legal analysis and makes no representation or warranty as to the accuracy of the list.)
Canon Anelva Corp
Original Assignee
Canon Anelva Corp
Priority date (The priority date is an assumption and is not a legal conclusion. Google has not performed a legal analysis and makes no representation as to the accuracy of the date listed.)
Filing date
Publication date
Application filed by Canon Anelva Corp filed Critical Canon Anelva Corp
Priority to KR1020167008946A priority Critical patent/KR101862632B1/ko
Priority to JP2015531192A priority patent/JP5824189B2/ja
Publication of WO2015045205A1 publication Critical patent/WO2015045205A1/ja
Priority to US15/075,409 priority patent/US20160204342A1/en
Anticipated expiration legal-status Critical
Priority to US15/595,103 priority patent/US10157961B2/en
Ceased legal-status Critical Current

Links

Images

Classifications

    • HELECTRICITY
    • H10SEMICONDUCTOR DEVICES; ELECTRIC SOLID-STATE DEVICES NOT OTHERWISE PROVIDED FOR
    • H10NELECTRIC SOLID-STATE DEVICES NOT OTHERWISE PROVIDED FOR
    • H10N50/00Galvanomagnetic devices
    • H10N50/01Manufacture or treatment
    • GPHYSICS
    • G11INFORMATION STORAGE
    • G11CSTATIC STORES
    • G11C11/00Digital stores characterised by the use of particular electric or magnetic storage elements; Storage elements therefor
    • G11C11/02Digital stores characterised by the use of particular electric or magnetic storage elements; Storage elements therefor using magnetic elements
    • G11C11/16Digital stores characterised by the use of particular electric or magnetic storage elements; Storage elements therefor using magnetic elements using elements in which the storage effect is based on magnetic spin effect
    • G11C11/161Digital stores characterised by the use of particular electric or magnetic storage elements; Storage elements therefor using magnetic elements using elements in which the storage effect is based on magnetic spin effect details concerning the memory cell structure, e.g. the layers of the ferromagnetic memory cell
    • GPHYSICS
    • G11INFORMATION STORAGE
    • G11CSTATIC STORES
    • G11C11/00Digital stores characterised by the use of particular electric or magnetic storage elements; Storage elements therefor
    • G11C11/02Digital stores characterised by the use of particular electric or magnetic storage elements; Storage elements therefor using magnetic elements
    • G11C11/16Digital stores characterised by the use of particular electric or magnetic storage elements; Storage elements therefor using magnetic elements using elements in which the storage effect is based on magnetic spin effect
    • G11C11/165Auxiliary circuits
    • G11C11/1673Reading or sensing circuits or methods
    • GPHYSICS
    • G11INFORMATION STORAGE
    • G11CSTATIC STORES
    • G11C11/00Digital stores characterised by the use of particular electric or magnetic storage elements; Storage elements therefor
    • G11C11/02Digital stores characterised by the use of particular electric or magnetic storage elements; Storage elements therefor using magnetic elements
    • G11C11/16Digital stores characterised by the use of particular electric or magnetic storage elements; Storage elements therefor using magnetic elements using elements in which the storage effect is based on magnetic spin effect
    • G11C11/165Auxiliary circuits
    • G11C11/1675Writing or programming circuits or methods
    • HELECTRICITY
    • H10SEMICONDUCTOR DEVICES; ELECTRIC SOLID-STATE DEVICES NOT OTHERWISE PROVIDED FOR
    • H10BELECTRONIC MEMORY DEVICES
    • H10B61/00Magnetic memory devices, e.g. magnetoresistive RAM [MRAM] devices
    • H10B61/20Magnetic memory devices, e.g. magnetoresistive RAM [MRAM] devices comprising components having three or more electrodes, e.g. transistors
    • H10B61/22Magnetic memory devices, e.g. magnetoresistive RAM [MRAM] devices comprising components having three or more electrodes, e.g. transistors of the field-effect transistor [FET] type
    • HELECTRICITY
    • H10SEMICONDUCTOR DEVICES; ELECTRIC SOLID-STATE DEVICES NOT OTHERWISE PROVIDED FOR
    • H10NELECTRIC SOLID-STATE DEVICES NOT OTHERWISE PROVIDED FOR
    • H10N50/00Galvanomagnetic devices
    • H10N50/10Magnetoresistive devices
    • HELECTRICITY
    • H10SEMICONDUCTOR DEVICES; ELECTRIC SOLID-STATE DEVICES NOT OTHERWISE PROVIDED FOR
    • H10NELECTRIC SOLID-STATE DEVICES NOT OTHERWISE PROVIDED FOR
    • H10N50/00Galvanomagnetic devices
    • H10N50/80Constructional details
    • HELECTRICITY
    • H10SEMICONDUCTOR DEVICES; ELECTRIC SOLID-STATE DEVICES NOT OTHERWISE PROVIDED FOR
    • H10NELECTRIC SOLID-STATE DEVICES NOT OTHERWISE PROVIDED FOR
    • H10N50/00Galvanomagnetic devices
    • H10N50/80Constructional details
    • H10N50/85Materials of the active region

Definitions

  • the present invention relates to a magnetoresistive effect element manufacturing method and manufacturing system.
  • MRAM Magnetic Random Access Memory
  • TMR tunneling magnetoresistive effect
  • the TMR element is installed, for example, at the intersection of a word line and a bit line used for signal reading and writing.
  • the TMR element is used as a memory cell serving as an electrode by processing the lowermost base layer and the uppermost cap layer into a lower electrode and an upper electrode, respectively, and connecting them to wiring.
  • a current flows vertically in the TMR element from the lower electrode to the upper electrode, and by freely changing the magnetization direction of the magnetization free layer that is a ferromagnetic layer, the electric resistance value of the current flowing in the insulating layer is changed.
  • the height changes.
  • the low resistance state and the high resistance state of the TMR element correspond to “0” and “1”, respectively, and information is read and written by exchanging information with the metal wiring.
  • Patent Document 1 discloses an invention in which damage to a multilayer magnetic film that occurs when a multilayer magnetic film is processed by reactive ion beam etching is an issue. ing.
  • Patent Document 1 removes a damaged layer formed on a multilayer magnetic film by processing by reactive ion etching by ion beam irradiation.
  • Patent Document 1 describes that a protective film (such as aluminum nitride) is formed on the surface of a clean magnetic film obtained by removing a damaged layer.
  • Patent Document 1 improves the yield by improving the magnetic characteristics by removing the damaged layer, and the contribution in this technical field is very large.
  • the present invention realizes further miniaturization of a magnetoresistive effect element, that is, further increase in the degree of integration, and a magnetoresistive effect element manufacturing method and manufacturing system capable of manufacturing a magnetoresistive effect element having high magnetic characteristics.
  • the purpose is to provide.
  • a manufacturing method of a magnetoresistive effect element provided by an aspect of the present invention is a manufacturing method of a magnetoresistive effect element configured by disposing a tunnel barrier layer between two magnetic layers, on a substrate, A step of preparing a laminate including one layer of the two magnetic layers, a layer constituting the tunnel barrier layer, and the other of the two magnetic layers; and a plurality of the laminates by etching.
  • a magnetoresistive element manufacturing system provided according to another aspect of the present invention is a magnetoresistive element manufacturing system configured by disposing a tunnel barrier layer between two magnetic layers. A chamber, and on the substrate, one layer of the two magnetic layers, a layer constituting the tunnel barrier layer, and the other layer of the two magnetic layers are provided on the substrate.
  • An etching apparatus that separates the stacked body into a plurality of layers by etching, and forms a plurality of stacked bodies separated on the substrate; and a process chamber capable of depressurization connected to the etching chamber through a substrate transfer chamber,
  • An ion beam irradiation apparatus that irradiates an ion beam in the processing chamber on a side of the plurality of separated laminates, and the ion beam irradiation apparatus includes the ion beam irradiation apparatus; It is characterized in that it has a gas introduction system for introducing an oxidizing gas or a nitriding gas into the process chamber after irradiation of the beam.
  • the present invention it is possible to realize further miniaturization of the magnetoresistive effect element, that is, further increase in the degree of integration, and manufacture a magnetoresistive effect element having high magnetic characteristics.
  • FIG. (1) for demonstrating the effect of the manufacturing method of the magnetoresistive effect element by one Embodiment of this invention.
  • FIG. (2) for demonstrating the effect of the manufacturing method of the magnetoresistive effect element by one Embodiment of this invention.
  • FIG. (3) for demonstrating the effect of the manufacturing method of the magnetoresistive effect element by one Embodiment of this invention.
  • FIG. 1 shows each process performed in the magnetoresistive effect element manufacturing method according to the present embodiment.
  • the magnetoresistive effect element manufacturing method according to the present embodiment includes step S121, step S122, step S123, and step S124, which are sequentially performed.
  • Step S121 is a step of preparing a stacked body including two magnetic layers sandwiching a layer functioning as a tunnel barrier layer on a substrate.
  • an electrode layer or the like is usually formed on the substrate, and then a magnetic layer that functions as a magnetization free layer and a magnetization fixed layer, and an insulating layer that functions as a tunnel barrier layer are stacked.
  • the substrate on which the laminate is formed is a substrate made of, for example, silicon or glass used as a substrate for TMR element formation.
  • This step S121 can be performed using a known method. For example, various film forming methods such as sputtering and chemical vapor deposition (CVD) can be used to form the magnetization free layer, the insulating layer, and the magnetization fixed layer.
  • CVD chemical vapor deposition
  • Step S122 is a step of separating the stacked body obtained in step S121 into a plurality of layers by etching, and forming a plurality of separated bodies on the substrate.
  • step S122 a hard mask layer is generally formed on the laminate, a photoresist is applied, and a photoresist patterning is performed in addition to a dry etching process, whereby a plurality of individual laminates (films) are separated.
  • a photoresist patterning is performed in addition to a dry etching process, whereby a plurality of individual laminates (films) are separated.
  • This is a step of processing into a laminate.
  • Each of the plurality of separated laminates functions as a TMR element.
  • Step S122 for example, reactive ion etching or ion beam irradiation used in step S123 described below can be employed.
  • Step S122 can be performed in an etching chamber of an etching apparatus that performs such dry etching.
  • step S123 trimming is performed by irradiating mainly the side portions (side wall portions) of the plurality of separated stacked bodies on the substrate obtained in step S122 in a decompressable chamber. .
  • This trimming process is to remove a damage layer, a deposit (attachment), and the like on the side portion (side wall portion) of the laminated body, which are generated by the dry etching in step S122.
  • the damage layer or the like removed by the trimming process includes a damage layer due to oxidation and deposits such as water, organic matter, and inorganic matter that are deposited unintentionally on the side portion (side wall portion) of the laminate.
  • a deposit is, for example, an etching residue or a reaction product of an etching residue and a gas such as an etching gas.
  • an ion beam etching apparatus that takes out ions generated by generating plasma as a beam and irradiates the workpiece with the beam can be employed.
  • An inert gas such as argon (Ar) gas, krypton (Kr) gas, xenon (Xe) gas, or the like can be used to generate plasma for extracting ions as a beam.
  • Ar argon
  • Kr krypton
  • Xe xenon
  • Step S124 is a step in which oxygen (O 2 ) gas is introduced into the depressurizable chamber subjected to the ion beam irradiation in step S123 to form an oxide layer on the surfaces of the plurality of stacked bodies.
  • the depressurizable chamber into which oxygen gas is introduced preferably has a base pressure of 1.3 ⁇ 10 ⁇ 3 Pa or less.
  • the oxygen gas may be introduced alone or mixed with another gas such as argon gas or nitrogen (N 2 ) gas. Further, the oxygen gas may be introduced into the chamber together with the inert gas used for the plasma generation in step S123.
  • the thickness of the oxide layer formed on the surface of the stacked body can be easily controlled. Furthermore, when the inert gas used for plasma generation in step S123 is introduced together with oxygen gas, it is not necessary to provide a new gas introduction system.
  • step S124 is the most characteristic step of this embodiment.
  • oxidation treatment with oxygen gas is performed in the same chamber as the chamber in which ion beam irradiation was performed in step S123.
  • adsorbable molecules H 2 , H 2 O, C, etc.
  • oxygen gas is introduced into the chamber subjected to the ion beam irradiation after the ion beam irradiation without opening a gate valve or the like serving as a substrate carry-in / out port into the chamber after the ion beam irradiation. be able to. Thereby, the contamination of the surface of a laminated body can be suppressed reliably.
  • a protective layer (protective film) on the formed oxide layer.
  • a sufficient protective function is achieved by further forming a protective layer on the oxide layer formed on the surface where adhesion of the adsorptive molecules is suppressed.
  • a nitride film is suitable, and more specifically, a silicon nitride film (SiN film) can be mentioned.
  • specific examples of the protective layer include an aluminum nitride film (AlN film) and a silicon oxynitride film (SiON film).
  • the method for forming the protective layer is not particularly limited, and a CVD method, a sputtering method, or the like can be used.
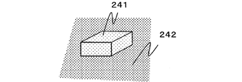
  • FIGS. 2A and 2B schematically show outlines of a TMR element manufactured by the magnetoresistive element manufacturing method according to the present embodiment before and after processing.
  • a TMR element is manufactured by processing a magnetoresistive film formed on a substrate by an etching process such as ion beam etching (IBE), reactive ion etching (RIE), or reactive ion beam etching. It is done in a process that includes
  • the outline before processing of the TMR element is shown in FIG. 2A, and the outline after processing is shown in FIG. 2B.
  • reference numeral 241 denotes a photoresist or hard mask
  • 242 denotes an upper electrode.
  • a magnetization free layer, a tunnel barrier layer, a magnetization fixed layer, an antiferromagnetic layer, and a lower electrode described below are sequentially stacked on the substrate from the upper electrode 242 side to the substrate side below the upper electrode 242. Has been.
  • the upper electrode 242 and lower layers are processed using a photoresist or hard mask 241 processed into a desired pattern.
  • 201 represents a substrate
  • 240 represents a TMR element.
  • an oxide layer oxide film
  • the oxide layer is omitted here for easy understanding of the laminated structure.
  • FIG. 2B shows a bottom pin structure in which the magnetization fixed layer is located below.
  • the TMR element 240 includes an upper electrode 242, a magnetization free layer 243, a tunnel barrier layer 244, a magnetization fixed layer 245, an antiferromagnetic layer 246, and a lower electrode 247 that serve as a basic structure.
  • As a material constituting the antiferromagnetic layer 246, PtMn, IrMn, or the like is used.
  • the tunnel barrier layer 244 is sandwiched between the magnetization fixed layer 245 and the magnetization free layer 243 which are two ferromagnetic layers. Therefore, the magnetization fixed layer 245 can be regarded as one magnetic layer, and the magnetization free layer 243 can be regarded as the other magnetic layer.
  • the TMR element is described using a so-called bottom pin structure in which the magnetization fixed layer is located below the tunnel barrier layer, but the structure of the TMR element is not particularly limited.
  • the present invention can also be suitably used in a so-called top pin structure in which the magnetization fixed layer is located above the tunnel barrier layer.
  • FIG. 3 schematically shows an example of a manufacturing system suitable for carrying out the magnetoresistive element manufacturing method according to the present embodiment.
  • the manufacturing system includes an etching chamber 303, a processing chamber 304, and a protective layer forming chamber 305 as chambers for performing the above-described steps.
  • the manufacturing system further includes a vacuum transfer chamber 302 that is a substrate transfer chamber and a wafer loader 301.
  • an etching chamber 303 is a chamber for performing the etching which is step S122 shown in FIG.
  • the etching chamber 303 is generally a chamber capable of reactive ion etching.
  • the processing chamber 304 is a chamber for performing ion beam irradiation, which is step S123 shown in FIG. 1, and oxide layer formation, which is step S124.
  • the processing chamber 304 is provided with means capable of introducing oxygen gas into the processing chamber 304 and means capable of ion beam etching in the processing chamber 304.
  • the protective layer forming chamber 305 is a chamber that performs a process of forming a protective layer (protective film) as necessary on the oxide layer formed in the processing chamber 304.
  • an etching chamber 303, a processing chamber 304, and a protective layer forming chamber 305 are provided so as to be able to communicate with the vacuum transfer chamber 302 via shielding means (not shown) such as a gate valve. .
  • the vacuum transfer chamber 302, the etching chamber 303, the treatment chamber 304 for performing ion beam irradiation and oxidation treatment, and the protective layer forming chamber 305 can each be a depressurizable chamber.
  • the vacuum transfer chamber 302 is further provided with a wafer loader 301 through which the unprocessed elements can be loaded into the vacuum transfer chamber 302 and the processed elements can be unloaded.
  • the element before processing is a stacked body including two magnetic layers sandwiching a layer functioning as a tunnel barrier layer on a substrate.
  • the element before processing is prepared by a film forming apparatus such as a sputtering apparatus that performs step S121 shown in FIG.
  • the film forming apparatus for preparing the element before processing may be independent from the manufacturing system shown in FIG. 3, or may be incorporated in the manufacturing system shown in FIG. In the latter case, a film forming chamber for forming a film in the film forming apparatus that performs step S121 is provided so as to be able to communicate with the vacuum transfer chamber 302 through a shielding means such as a gate valve.
  • a substrate transfer means (not shown) is installed in the vacuum transfer chamber 302 so that the loaded elements before processing can be sequentially transferred to the respective chambers as indicated by arrows 321, 322, 323, and 324. Yes.
  • the elements before processing indicated by arrows 321, 322, 323, and 324 in FIG. 3 are consistently in a vacuum state (under reduced pressure) through the vacuum transfer chamber 302 without breaking the vacuum. State).
  • FIG. 4 is a schematic diagram of a reactive ion etching apparatus that can be employed as a processing apparatus applicable to the etching of this embodiment.
  • the etching apparatus shown in FIG. 4 includes a vacuum vessel 400 and a dielectric wall vessel 406 that is airtightly connected to the vacuum vessel 400 so that the internal space communicates.
  • the vacuum container 400 corresponds to the etching chamber 303 shown in FIG.
  • the inside of the vacuum vessel 400 is exhausted by the exhaust system 430. Further, the substrate 201 is carried into the vacuum vessel 400 from a gate valve (not shown). The substrate 201 carried into the vacuum container 400 is held by the substrate holder 440. As described above, the substrate 201 is formed by a laminated body having a layer functioning as a tunnel barrier layer and two magnetic layers sandwiching this layer.
  • the substrate holder 440 can be maintained at a predetermined temperature by the temperature control mechanism 450.
  • the substrate holder 440 is connected to a bias power source 460 for applying a bias voltage to the substrate 201.
  • a gas introduction system 401 for introducing an etching gas into the vacuum container 400 is connected to the vacuum container 400.
  • the etching gas is not particularly limited, and various etching gases can be used.
  • an etching gas an alcohol gas having at least one hydroxyl group such as methanol (CH 3 OH) gas can be used.
  • a large number of side wall magnets 420 are arranged side by side on the outside of the side wall of the vacuum vessel 400, whereby a cusp magnetic field is formed along the inner surface of the side wall of the vacuum vessel 400.
  • the cusp magnetic field prevents the plasma from diffusing to the inner surface of the side wall of the vacuum vessel 400.
  • a plasma source for forming plasma P inside the dielectric wall container 406 includes an antenna 402 that generates an induction magnetic field in the dielectric wall container 406, a high-frequency power source 403 that is connected to the antenna 402 via a matching unit (not shown), and an electromagnet 405.
  • the antenna 402 is disposed around the dielectric wall container 406.
  • the electromagnet 405 is disposed around the dielectric wall container 406 and the antenna 402.
  • the etching process is performed as follows.
  • the gas introduction system 410 is operated, and an etching gas having a predetermined flow rate is introduced into the vacuum vessel 400 from a cylinder storing the etching gas via a pipe, a valve, and a flow rate regulator.
  • the introduced etching gas diffuses into the dielectric wall container 406 via the vacuum container 400.
  • plasma P is formed by operating the plasma source.
  • the electromagnet 405 When the plasma source is operated, the electromagnet 405 generates a predetermined magnetic field in the dielectric wall container 406.
  • the high frequency power supply 403 generates high frequency power (source power) supplied to the antenna 402. Current flows through the antenna 402 by the high frequency generated by the high frequency power source 403 for plasma, and plasma P is formed inside the dielectric wall container 406.
  • the formed plasma P diffuses from the dielectric wall container 406 into the vacuum container 400 and reaches the vicinity of the surface of the substrate 201, whereby the surface of the substrate 201 is etched.
  • a photoresist or hard mask patterned in a memory pattern is formed on the laminated film constituting the magnetoresistive film disposed on the substrate 201.
  • the laminated film is etched by plasma P using this photoresist or hard mask as a mask.
  • a plurality of individually separated laminated bodies are formed on the substrate 201.
  • the bias power source 460 is operated to apply a self-bias voltage that is a negative DC component voltage to the substrate 201 to control the ion incident energy from the plasma to the surface of the substrate 201. Good.
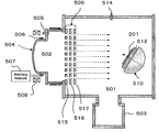
  • FIG. 5 is a schematic view showing a processing apparatus capable of performing ion beam irradiation processing and oxide layer formation by oxidation processing.
  • the processing apparatus shown in FIG. 5 is an ion beam etching apparatus (ion beam irradiation apparatus), and includes a processing chamber 501 and a plasma generation chamber 502.
  • An exhaust pump 503 is connected to the processing chamber 501.
  • the processing chamber 501 as described later, it is possible to perform not only an etching process by ion beam etching but also an oxidation process by introducing oxygen gas.
  • the processing chamber 501 corresponds to the processing chamber 304 shown in FIG.
  • a bell jar 504 In the plasma generation chamber 502, a bell jar 504, a first gas introduction unit 505, an RF antenna 506, a matching unit 507, and an electromagnetic coil 508 are installed.
  • An extraction electrode (grid) 509 is provided at the boundary between the plasma generation chamber 502 and the processing chamber 501.
  • the extraction electrode 509 includes three electrodes 515, 516, and 517.
  • the three electrodes 515, 516, and 517 are plate-like electrodes each having an opening formed in a grid shape, and are arranged in parallel to each other.
  • a substrate holder 510 having an ESC electrode 512 is provided on the plasma generation chamber 502 side.
  • the substrate 201 to be processed is placed on the ESC electrode 512 and held on the ESC electrode 512 by electrostatic adsorption.
  • etching gas can be generated in the plasma generation chamber 502 by introducing an etching gas from the first gas introduction unit 505 and applying a high frequency to the RF antenna 506.
  • the etching gas introduced from the first gas introduction unit 505 is not particularly limited, but an inert gas such as an argon gas can be used as the etching gas.
  • a DC voltage is applied to the extraction electrode 509, ions in the plasma generation chamber 502 are extracted as a beam, and the substrate 201 is irradiated with the extracted ion beam, whereby the substrate 201 is processed.
  • the extracted ion beam is electrically neutralized by a neutralizer (not shown), and the substrate 201 is irradiated to prevent charge-up.
  • the substrate holder 510 can be arbitrarily tilted with respect to the ion beam.
  • the substrate 201 can be rotated (rotated) in the in-plane direction.
  • Such a substrate holder 510 can irradiate an ion beam at a predetermined incident angle to the side walls of a plurality of stacked bodies formed on the substrate 201 as will be described later, and can uniformly ionize the entire surface of the substrate 201.
  • a beam can be irradiated.
  • a second gas introduction unit 514 is provided in the processing chamber 501, and oxygen gas for oxidation treatment can be introduced into the processing chamber 501 as a process gas from the second gas introduction unit 514.
  • oxygen gas can also be introduced into the processing chamber 501 from the first gas introduction unit 505 through the plasma generation chamber 502 in the same manner as the second gas introduction unit 514.
  • the oxygen gas introduced from the second gas introduction unit 514 or the first gas introduction unit 505 may be oxygen gas alone, or may be mixed with other gas such as argon gas or nitrogen gas. Good.
  • the side wall portions of the plural laminated bodies are formed. Damage layer and the like are generated.
  • trimming processing of a damaged layer or the like generated on the side wall portions of a plurality of stacked bodies can be performed. In this trimming process, damage layers due to oxidation and deposits such as water, organic substances, and inorganic substances deposited on the side walls of the laminate are removed.
  • oxygen gas is introduced into the process chamber 501 from the second gas introduction unit 514 or the first gas introduction unit 505, and the laminate having a clean side wall after the trimming process is applied. Perform oxidation treatment. Note that oxygen gas may be introduced into the processing chamber 501 from both of the second gas introduction unit 514 and the first gas introduction unit 505. In this manner, the surface layer portions of the plurality of stacked bodies are oxidized by an oxidation treatment using oxygen gas, and an oxide layer is formed on the surfaces of the plurality of stacked bodies.
  • an oxidation treatment with oxygen gas is performed following the irradiation with the ion beam.
  • the oxidation treatment is performed in the same chamber as that irradiated with the ion beam without carrying the substrate out of the chamber.
  • FIG. 6A to FIG. 6C are diagrams for explaining the effects in the present embodiment.
  • FIG. 6A shows a spectrum obtained by analyzing an oxide film (oxide layer) by X-ray reflectivity measurement when a cobalt iron layer which is a magnetic layer used in the MRAM formed according to the present embodiment is oxidized.
  • the horizontal axis represents the X-ray reflection angle, and the vertical axis represents the intensity of the reflected X-ray.
  • the oxide film was formed by introducing oxygen gas at a flow rate of 50 SCCM into the processing chamber 304 capable of performing ion beam irradiation and oxidation treatment shown in FIG. 3 and performing oxidation treatment for 1 minute.
  • the partial pressure of oxygen in the chamber 304 was 1.3 ⁇ 10 ⁇ 2 Pa.
  • FIG. 6C shows the result of the same measurement as described above after the sample having the oxide film formed in this manner was introduced into another chamber and allowed to stand for 5 minutes.
  • the film thickness obtained from FIG. 6C is 1.79 nm, which is a slight increase from the film thickness obtained from FIG. 6A, but more importantly, the two waveforms are very similar. . From this, it is understood that the previously formed oxide film is maintained even when left in another chamber for 5 minutes.
  • FIG. 6B shows an analysis result when the sample is left in the other chamber for 5 minutes without being subjected to the oxidation treatment according to the present embodiment and then returned to the original IBE chamber and subjected to the oxidation treatment again.
  • the spectrum shown in FIG. 6B clearly shows a different waveform from the spectra shown in FIGS. 6A and 6C.
  • the film thickness obtained from FIG. 6B was as thin as 1.38 nm.
  • the oxide layer can be favorably formed on the surface of the laminate. Therefore, according to the present embodiment, an excellent effect is achieved in that contamination of the laminate due to adsorption of adsorbing molecules and the like can be suppressed by the oxide layer that is favorably formed on the surface of the laminate.
  • the introduction of oxygen gas is preferably performed after the plasma generation for irradiating the ion beam is completed.
  • the partial pressure of the oxygen gas when forming the oxide layer is preferably in the range of 1.0 ⁇ 10 ⁇ 1 Pa to 2.0 ⁇ 10 ⁇ 3 Pa.
  • the treatment time for performing the oxidation treatment under such partial pressure of oxygen gas is preferably within a range of 10 seconds to 5 minutes.
  • the thickness of the oxide layer is preferably in the range of 1.5 nm to 3.0 nm.
  • the thickness of the oxide layer is preferably in the range of 1.5 nm to 3.0 nm.
  • nitrogen gas is preferably used in addition to oxygen gas. Since nitrogen reacts more slowly than oxygen, it is effective when the TMR element is miniaturized and the reaction film formed on the surface of the TMR element is desired to be thinner.
  • a magnetic multilayer film including a lower electrode layer 101, an antiferromagnetic layer 102, a magnetization fixed layer 103, a tunnel barrier layer 104, a magnetization free layer 105, and an upper electrode layer 106 is formed on the substrate 100.
  • the magnetization fixed layer 101 and the magnetization free layer 103 do not have to be a single layer as shown in the figure, and may be formed of several multilayer films. It is also possible to make the positional relationship between the magnetization fixed layer 103 and the magnetization free layer 105 upside down. That is, the antiferromagnetic layer 102 is positioned above the tunnel barrier layer 104, the ferromagnetic layer positioned above the tunnel barrier layer 104 is the magnetization fixed layer 105, and the ferromagnetic layer positioned below the tunnel barrier layer 104 is used. The layer may be the magnetization free layer 103.
  • the photoresist may be formed by using a multilayer resist method as well as a single layer, or may be a laminated structure in which an antireflection film is formed in the lower layer.
  • the upper electrode layer 106 is processed using the RIE method or the like.
  • the photomask is removed by, for example, oxygen gas ashing to form a metal mask layer 106a (FIG. 7B).
  • RIE reactive etching with chlorine gas as a main component is performed.
  • the gas used for the RIE method is not particularly limited, and an inert gas such as Ar may be used.
  • the magnetic multilayer film is processed by, for example, the RIE method using the metal mask layer 106a as a mask, and the lower electrode layer 101, the antiferromagnetic layer 102, the magnetization fixed layer 103, the tunnel barrier layer 104, and the magnetization free layer 105 are processed.
  • the magnetic multilayer film made of is separated into a plurality (FIG. 7C).
  • a magnetic multilayer film including a plurality of separated lower electrode layers 101a, antiferromagnetic layers 102a, magnetization fixed layers 103a, tunnel barrier layers 104a, and magnetization free layers 105a is formed on the substrate 100.
  • etching by the RIE method can be performed using, for example, a gas containing CH 3 OH as a main component in the etching chamber (RIE room) 303 using the manufacturing system shown in FIG.
  • the gas used in the RIE method is not particularly limited as long as the object is achieved, and may be a hydrocarbon gas such as CH 4 or C 2 H 4 or an inert gas such as Ar.
  • Stop on Dielectric that processes only the upper electrode layer 106 and the magnetization free layer 105 can be employed.
  • the lower electrode layer 101 to the magnetization free layer 105 are all processed by RIE, but they may be processed by ion beam etching (IBE) instead of RIE.
  • IBE ion beam etching
  • Predetermined etching deposits (adhered matter) 108 that is generated unintentionally on the cross section (side wall portion) of the processed magnetic multilayer film (FIG. 7C).
  • Ar ions are formed on the side wall of the magnetic multilayer film on the separated substrate in the processing chamber (ion beam etching chamber) 304 of the manufacturing system shown in FIG.
  • the beam is irradiated at a predetermined angle (FIG. 7D).
  • FIG. 8 is a graph showing the relationship between the incidence angle of Ar particles and the etching rate with respect to Ti as an example of the material to be etched.
  • the horizontal axis indicates the incident angle of Ar particles with respect to the surface to be processed of the substrate, and the vertical axis indicates the etching rate expressed in arbitrary units.
  • the incident angle of Ar particles is set to 0 degrees when Ar particles are incident from a direction perpendicular to the surface of the substrate to be processed.
  • the solid line represents the relationship between the incidence angle of Ar particles with respect to the plane parallel to the surface to be processed and the etching rate
  • the broken line represents the incidence angle of Ar particles with respect to the plane perpendicular to the surface to be processed and the etching rate. Showing the relationship.
  • FIG. 8 shows that when Ar particles are incident from the direction perpendicular to the surface to be processed, the etching rate for the surface parallel to the surface to be processed is large and the etching rate for the surface perpendicular to the surface to be processed is small. It can be seen that as the incident angle of the Ar particles is inclined, the difference in etching rate between the two surfaces becomes smaller and will eventually be reversed.
  • the side wall of the TMR element after the actual separation is not perpendicular to the surface to be processed of the substrate but has a slight inclination.
  • the sidewall of a TMR element manufactured through a desirable etching process has an inclination of about 10 degrees with respect to the vertical direction of the surface to be processed.
  • FIG. 9 shows the relationship between the incident angle of Ar particles and the etching rate when this inclination is taken into consideration.
  • the solid line shows the relationship between the incident angle of Ar particles and the etching rate with respect to a substance having a surface parallel to the surface to be processed of the substrate, as in FIG.
  • the broken line indicates the relationship between the incident angle of Ar particles and the etching rate with respect to a surface having an inclination of 10 degrees with respect to the direction perpendicular to the surface to be processed of the substrate.
  • the incident angle of Ar particles can be defined by the relationship between the extraction electrode 509 and the substrate mounting surface of the ESC electrode 512. That is, when the extraction electrode 509 and the substrate mounting surface of the ESC electrode 512 are parallel, many Ar particles are processed from a direction perpendicular to the processing surface of the substrate mounted on the ESC electrode 512. Since it is incident on the surface, the Ar incident angle can be defined as 0 degree.
  • the gas is switched quickly and oxygen gas is introduced into the processing chamber 304.
  • oxygen gas is introduced into the processing chamber 304.
  • the layer thickness of the oxide layer 109 can be about 2 nm, for example.
  • Oxidation tends to proceed.
  • the substrate on which the oxide layer 109 is formed on the surface of the magnetic material is unloaded from the processing chamber 304 and loaded into the protective layer forming chamber 305 by the substrate transfer means provided in the vacuum transfer chamber 302. Then, in the protective layer forming chamber 305, the protective layer 110 made of a silicon nitride film is formed on the substrate on which the oxide layer 109 is formed by, for example, a CVD method.
  • the protective layer 110 is not limited to a silicon nitride film, and may be an aluminum nitride film, a silicon oxynitride film, or the like.
  • an interlayer insulating film 111 made of a silicon oxide film is formed on the substrate on which the protective layer 110 is formed by, for example, a CVD method (FIG. 7F). Note that the interlayer insulating film 111 is not limited to a silicon oxide film, and various insulating films can be used.
  • FIG. 10 shows a sequence given to the IBE apparatus in this embodiment.
  • a sample (FIG. 7C) obtained by etching a substrate (wafer) on which a multilayer film is formed is loaded into a processing chamber where Ar ion beam irradiation and oxidation processing are performed and set.
  • the acceleration energy of Ar ions can be set to 200 eV, for example, but the deposit removal effect is similarly seen between 20 eV and 500 eV.
  • the supply of Ar gas and plasma generation are stopped, and the processing chamber is quickly filled with oxygen gas.
  • This oxygen gas introduction is performed within, for example, 30 seconds from the stop of Ar gas supply and the end of plasma generation. As described above, by introducing the oxygen gas in a short time after the supply of Ar gas is stopped, the oxide layer can be reliably formed.
  • the oxidation treatment time for performing the oxidation treatment with oxygen gas can be determined by the required thickness of the oxide layer as shown in FIG.
  • FIG. 11 is a graph showing the relationship between the oxidation treatment time and the layer thickness of the oxide layer.
  • the horizontal axis represents the oxidation treatment time, and the vertical axis represents the layer thickness of the oxide layer.
  • the thickness of the oxide layer is measured by the X-ray reflectivity method.
  • oxygen gas can be introduced together with an inert gas such as Ar or Xe for the purpose of changing the partial pressure of oxygen.
  • an inert gas such as Ar or Xe
  • the sample stage may be heated or cooled, plasma may be generated, or the like.
  • oxygen gas is introduced into a chamber that is irradiated with an ion beam on the side portions of a plurality of stacked bodies to form an oxide layer on the surfaces of the plurality of stacked bodies.
  • the gas to be used is not limited to oxygen gas.
  • the gas to be introduced may be any gas containing oxygen.
  • An oxidizing gas such as H 2 O) gas can be used.
  • these mixed gas may be sufficient.
  • An inert gas such as argon gas may be introduced together with the oxidizing gas.
  • These oxidizing gases can also be set to a partial pressure range similar to that of the oxygen gas.
  • a nitriding process may be performed by introducing a nitriding gas in place of the oxidizing gas into the processing chamber after the ion beam irradiation to form nitride layers on the surfaces of the plurality of stacked bodies.
  • a nitriding gas nitrogen gas, ammonia (NH 3 ) gas, or the like can be used.
  • these mixed gas may be sufficient.
  • an inert gas such as argon gas may be introduced together with the nitriding gas.
  • the partial pressure of the nitriding gas is 1.0 ⁇ 10 ⁇ 1 Pa to 2 for the same reason as described for oxygen gas. It is preferable to be within a range of 0.0 ⁇ 10 ⁇ 3 Pa.
  • the layer thickness of the nitride layer is preferably in the range of 1.5 nm to 3.0 nm for the same reason as described for the oxide layer.

Landscapes

  • Engineering & Computer Science (AREA)
  • Computer Hardware Design (AREA)
  • Manufacturing & Machinery (AREA)
  • Hall/Mr Elements (AREA)
  • Mram Or Spin Memory Techniques (AREA)
  • Drying Of Semiconductors (AREA)
  • Plasma Technology (AREA)
PCT/JP2014/002210 2013-09-25 2014-04-18 磁気抵抗効果素子の製造方法および製造システム Ceased WO2015045205A1 (ja)

Priority Applications (4)

Application Number Priority Date Filing Date Title
KR1020167008946A KR101862632B1 (ko) 2013-09-25 2014-04-18 자기 저항 효과 소자의 제조 방법 및 제조 시스템
JP2015531192A JP5824189B2 (ja) 2013-09-25 2014-04-18 磁気抵抗効果素子の製造システム
US15/075,409 US20160204342A1 (en) 2013-09-25 2016-03-21 Method of manufacturing magnetoresistive element and manufacturing system for the same
US15/595,103 US10157961B2 (en) 2013-09-25 2017-05-15 Method of manufacturing magnetoresistive element

Applications Claiming Priority (2)

Application Number Priority Date Filing Date Title
JP2013197982 2013-09-25
JP2013-197982 2013-09-25

Related Child Applications (1)

Application Number Title Priority Date Filing Date
US15/075,409 Continuation US20160204342A1 (en) 2013-09-25 2016-03-21 Method of manufacturing magnetoresistive element and manufacturing system for the same

Publications (1)

Publication Number Publication Date
WO2015045205A1 true WO2015045205A1 (ja) 2015-04-02

Family

ID=52742389

Family Applications (1)

Application Number Title Priority Date Filing Date
PCT/JP2014/002210 Ceased WO2015045205A1 (ja) 2013-09-25 2014-04-18 磁気抵抗効果素子の製造方法および製造システム

Country Status (5)

Country Link
US (2) US20160204342A1 (enExample)
JP (2) JP5824189B2 (enExample)
KR (1) KR101862632B1 (enExample)
TW (1) TWI557959B (enExample)
WO (1) WO2015045205A1 (enExample)

Cited By (2)

* Cited by examiner, † Cited by third party
Publication number Priority date Publication date Assignee Title
US10157961B2 (en) 2013-09-25 2018-12-18 Canon Anelva Corporation Method of manufacturing magnetoresistive element
CN111226324A (zh) * 2017-10-16 2020-06-02 Tdk株式会社 隧道磁阻效应元件、磁存储器、内置型存储器及制作隧道磁阻效应元件的方法

Families Citing this family (10)

* Cited by examiner, † Cited by third party
Publication number Priority date Publication date Assignee Title
US9779955B2 (en) 2016-02-25 2017-10-03 Lam Research Corporation Ion beam etching utilizing cryogenic wafer temperatures
JP2018147916A (ja) * 2017-03-01 2018-09-20 ソニーセミコンダクタソリューションズ株式会社 磁気記憶素子、磁気記憶装置、電子機器、および磁気記憶素子の製造方法
US10522749B2 (en) 2017-05-15 2019-12-31 Taiwan Semiconductor Manufacturing Company, Ltd. Combined physical and chemical etch to reduce magnetic tunnel junction (MTJ) sidewall damage
US10043851B1 (en) * 2017-08-03 2018-08-07 Headway Technologies, Inc. Etch selectivity by introducing oxidants to noble gas during physical magnetic tunnel junction (MTJ) etching
WO2019046064A1 (en) 2017-08-29 2019-03-07 Everspin Technologies, Inc. MAGNETORESISTIVE CELL ETCHING METHOD
US11195703B2 (en) 2018-12-07 2021-12-07 Applied Materials, Inc. Apparatus and techniques for angled etching using multielectrode extraction source
US11715621B2 (en) * 2018-12-17 2023-08-01 Applied Materials, Inc. Scanned angled etching apparatus and techniques providing separate co-linear radicals and ions
KR102811847B1 (ko) * 2019-02-01 2025-05-22 램 리써치 코포레이션 가스 처리 및 펄싱을 사용한 이온 빔 에칭
CN113519071B (zh) 2019-02-28 2025-04-22 朗姆研究公司 利用侧壁清洁的离子束蚀刻
US20210234091A1 (en) * 2020-01-24 2021-07-29 Applied Materials, Inc. Magnetic memory and method of fabrication

Citations (3)

* Cited by examiner, † Cited by third party
Publication number Priority date Publication date Assignee Title
JPH04254328A (ja) * 1991-02-06 1992-09-09 Fujitsu Ltd 半導体装置の製造方法
JP2009302550A (ja) * 2006-09-13 2009-12-24 Canon Anelva Corp 磁気抵抗効果素子の製造装置
JP2010186869A (ja) * 2009-02-12 2010-08-26 Toshiba Corp 磁気抵抗効果素子及びその製造方法

Family Cites Families (19)

* Cited by examiner, † Cited by third party
Publication number Priority date Publication date Assignee Title
JP3603062B2 (ja) * 2000-09-06 2004-12-15 松下電器産業株式会社 磁気抵抗効果素子とその製造方法、およびこれを用いた磁気デバイス
JP3558996B2 (ja) * 2001-03-30 2004-08-25 株式会社東芝 磁気抵抗効果素子、磁気ヘッド、磁気再生装置及び磁気記憶装置
JP3939519B2 (ja) * 2001-09-14 2007-07-04 アルプス電気株式会社 磁気検出素子及びその製造方法
US7659209B2 (en) 2001-11-14 2010-02-09 Canon Anelva Corporation Barrier metal film production method
US20030091739A1 (en) 2001-11-14 2003-05-15 Hitoshi Sakamoto Barrier metal film production apparatus, barrier metal film production method, metal film production method, and metal film production apparatus
FR2884916B1 (fr) * 2005-04-25 2007-06-22 Commissariat Energie Atomique Detecteur optique ultrasensible a grande resolution temporelle, utilisant un plasmon de surface
JPWO2007032379A1 (ja) * 2005-09-13 2009-03-19 キヤノンアネルバ株式会社 磁気抵抗効果素子の製造方法及び製造装置
JP2008052840A (ja) * 2006-08-25 2008-03-06 Hitachi Global Storage Technologies Netherlands Bv 磁気ヘッドスライダの製造方法
US8472149B2 (en) * 2007-10-01 2013-06-25 Tdk Corporation CPP type magneto-resistive effect device and magnetic disk system
US7863582B2 (en) * 2008-01-25 2011-01-04 Valery Godyak Ion-beam source
US8871645B2 (en) 2008-09-11 2014-10-28 Applied Materials, Inc. Semiconductor devices suitable for narrow pitch applications and methods of fabrication thereof
US20110065276A1 (en) 2009-09-11 2011-03-17 Applied Materials, Inc. Apparatus and Methods for Cyclical Oxidation and Etching
US20110061812A1 (en) 2009-09-11 2011-03-17 Applied Materials, Inc. Apparatus and Methods for Cyclical Oxidation and Etching
US20110061810A1 (en) 2009-09-11 2011-03-17 Applied Materials, Inc. Apparatus and Methods for Cyclical Oxidation and Etching
JP5601181B2 (ja) * 2010-12-02 2014-10-08 富士通セミコンダクター株式会社 磁気抵抗効果素子及びその製造方法
KR101574155B1 (ko) 2011-06-24 2015-12-03 캐논 아네르바 가부시키가이샤 자기 저항 효과 소자의 제조 방법
KR101566863B1 (ko) 2011-08-25 2015-11-06 캐논 아네르바 가부시키가이샤 자기저항 소자의 제조 방법 및 자기저항 필름의 가공 방법
JP2013247198A (ja) * 2012-05-24 2013-12-09 Toshiba Corp 磁気抵抗素子及びその製造方法
KR101862632B1 (ko) 2013-09-25 2018-05-31 캐논 아네르바 가부시키가이샤 자기 저항 효과 소자의 제조 방법 및 제조 시스템

Patent Citations (3)

* Cited by examiner, † Cited by third party
Publication number Priority date Publication date Assignee Title
JPH04254328A (ja) * 1991-02-06 1992-09-09 Fujitsu Ltd 半導体装置の製造方法
JP2009302550A (ja) * 2006-09-13 2009-12-24 Canon Anelva Corp 磁気抵抗効果素子の製造装置
JP2010186869A (ja) * 2009-02-12 2010-08-26 Toshiba Corp 磁気抵抗効果素子及びその製造方法

Cited By (3)

* Cited by examiner, † Cited by third party
Publication number Priority date Publication date Assignee Title
US10157961B2 (en) 2013-09-25 2018-12-18 Canon Anelva Corporation Method of manufacturing magnetoresistive element
CN111226324A (zh) * 2017-10-16 2020-06-02 Tdk株式会社 隧道磁阻效应元件、磁存储器、内置型存储器及制作隧道磁阻效应元件的方法
CN111226324B (zh) * 2017-10-16 2023-08-29 Tdk株式会社 隧道磁阻效应元件、磁存储器、内置型存储器及制作隧道磁阻效应元件的方法

Also Published As

Publication number Publication date
JPWO2015045205A1 (ja) 2017-03-09
US20170250221A1 (en) 2017-08-31
US20160204342A1 (en) 2016-07-14
US10157961B2 (en) 2018-12-18
KR20160055187A (ko) 2016-05-17
KR101862632B1 (ko) 2018-05-31
TW201526321A (zh) 2015-07-01
TWI557959B (zh) 2016-11-11
JP6078610B2 (ja) 2017-02-08
JP2016012738A (ja) 2016-01-21
JP5824189B2 (ja) 2015-11-25

Similar Documents

Publication Publication Date Title
JP6078610B2 (ja) 磁気抵抗効果素子の製造方法
US9601688B2 (en) Method of manufacturing magnetoresistive element and method of processing magnetoresistive film
TWI602241B (zh) Etching processing method and substrate processing apparatus
CN103403215B (zh) 制造设备
US8970213B2 (en) Method for manufacturing magnetoresistance effect element
JP2009302550A (ja) 磁気抵抗効果素子の製造装置
US20110308544A1 (en) Cleaning method of processing chamber of magnetic film, manufacturing method of magnetic device, and substrate treatment apparatus
JP2022522419A (ja) 側壁洗浄によるイオンビームエッチング
TW201214814A (en) Manufacturing method of magneto-resistance effect element
KR20150126358A (ko) 평탄화 방법, 기판 처리 시스템, mram 제조 방법 및 mram 소자
CN104798218B (zh) 磁阻效应元件的制造方法
JP5824192B1 (ja) 磁気抵抗効果素子の製造方法および製造システム
KR101602869B1 (ko) 자기 저항 효과 소자의 제조 방법 및 제조 시스템
WO2009107485A1 (ja) 磁気抵抗効果素子の製造方法及び製造装置
CN108231575B (zh) 蚀刻方法
CN108231821A (zh) 一种氧气气体团簇离子束制备磁性隧道结阵列的方法

Legal Events

Date Code Title Description
121 Ep: the epo has been informed by wipo that ep was designated in this application

Ref document number: 14847115

Country of ref document: EP

Kind code of ref document: A1

ENP Entry into the national phase

Ref document number: 2015531192

Country of ref document: JP

Kind code of ref document: A

NENP Non-entry into the national phase

Ref country code: DE

ENP Entry into the national phase

Ref document number: 20167008946

Country of ref document: KR

Kind code of ref document: A

122 Ep: pct application non-entry in european phase

Ref document number: 14847115

Country of ref document: EP

Kind code of ref document: A1