WO2015015807A1 - ヘッドアップディスプレイ装置 - Google Patents

ヘッドアップディスプレイ装置 Download PDF

Info

Publication number
WO2015015807A1
WO2015015807A1 PCT/JP2014/004020 JP2014004020W WO2015015807A1 WO 2015015807 A1 WO2015015807 A1 WO 2015015807A1 JP 2014004020 W JP2014004020 W JP 2014004020W WO 2015015807 A1 WO2015015807 A1 WO 2015015807A1
Authority
WO
WIPO (PCT)
Prior art keywords
light source
temperature
display
light
display unit
Prior art date
Legal status (The legal status is an assumption and is not a legal conclusion. Google has not performed a legal analysis and makes no representation as to the accuracy of the status listed.)
Ceased
Application number
PCT/JP2014/004020
Other languages
English (en)
French (fr)
Japanese (ja)
Inventor
やよい 米本
Current Assignee (The listed assignees may be inaccurate. Google has not performed a legal analysis and makes no representation or warranty as to the accuracy of the list.)
Denso Corp
Original Assignee
Denso Corp
Priority date (The priority date is an assumption and is not a legal conclusion. Google has not performed a legal analysis and makes no representation as to the accuracy of the date listed.)
Filing date
Publication date
Application filed by Denso Corp filed Critical Denso Corp
Priority to DE112014003540.8T priority Critical patent/DE112014003540B4/de
Priority to US14/908,369 priority patent/US10088679B2/en
Publication of WO2015015807A1 publication Critical patent/WO2015015807A1/ja
Anticipated expiration legal-status Critical
Ceased legal-status Critical Current

Links

Images

Classifications

    • BPERFORMING OPERATIONS; TRANSPORTING
    • B60VEHICLES IN GENERAL
    • B60KARRANGEMENT OR MOUNTING OF PROPULSION UNITS OR OF TRANSMISSIONS IN VEHICLES; ARRANGEMENT OR MOUNTING OF PLURAL DIVERSE PRIME-MOVERS IN VEHICLES; AUXILIARY DRIVES FOR VEHICLES; INSTRUMENTATION OR DASHBOARDS FOR VEHICLES; ARRANGEMENTS IN CONNECTION WITH COOLING, AIR INTAKE, GAS EXHAUST OR FUEL SUPPLY OF PROPULSION UNITS IN VEHICLES
    • B60K35/00Instruments specially adapted for vehicles; Arrangement of instruments in or on vehicles
    • B60K35/20Output arrangements, i.e. from vehicle to user, associated with vehicle functions or specially adapted therefor
    • B60K35/21Output arrangements, i.e. from vehicle to user, associated with vehicle functions or specially adapted therefor using visual output, e.g. blinking lights or matrix displays
    • B60K35/23Head-up displays [HUD]
    • B60K35/234Head-up displays [HUD] controlling the brightness, colour or contrast of virtual images depending on the driving conditions or on the condition of the vehicle or the driver
    • GPHYSICS
    • G02OPTICS
    • G02BOPTICAL ELEMENTS, SYSTEMS OR APPARATUS
    • G02B27/00Optical systems or apparatus not provided for by any of the groups G02B1/00 - G02B26/00, G02B30/00
    • G02B27/01Head-up displays
    • GPHYSICS
    • G02OPTICS
    • G02BOPTICAL ELEMENTS, SYSTEMS OR APPARATUS
    • G02B27/00Optical systems or apparatus not provided for by any of the groups G02B1/00 - G02B26/00, G02B30/00
    • G02B27/01Head-up displays
    • G02B27/0101Head-up displays characterised by optical features
    • GPHYSICS
    • G02OPTICS
    • G02BOPTICAL ELEMENTS, SYSTEMS OR APPARATUS
    • G02B27/00Optical systems or apparatus not provided for by any of the groups G02B1/00 - G02B26/00, G02B30/00
    • G02B27/01Head-up displays
    • G02B27/0149Head-up displays characterised by mechanical features
    • GPHYSICS
    • G02OPTICS
    • G02FOPTICAL DEVICES OR ARRANGEMENTS FOR THE CONTROL OF LIGHT BY MODIFICATION OF THE OPTICAL PROPERTIES OF THE MEDIA OF THE ELEMENTS INVOLVED THEREIN; NON-LINEAR OPTICS; FREQUENCY-CHANGING OF LIGHT; OPTICAL LOGIC ELEMENTS; OPTICAL ANALOGUE/DIGITAL CONVERTERS
    • G02F1/00Devices or arrangements for the control of the intensity, colour, phase, polarisation or direction of light arriving from an independent light source, e.g. switching, gating or modulating; Non-linear optics
    • G02F1/01Devices or arrangements for the control of the intensity, colour, phase, polarisation or direction of light arriving from an independent light source, e.g. switching, gating or modulating; Non-linear optics for the control of the intensity, phase, polarisation or colour 
    • G02F1/13Devices or arrangements for the control of the intensity, colour, phase, polarisation or direction of light arriving from an independent light source, e.g. switching, gating or modulating; Non-linear optics for the control of the intensity, phase, polarisation or colour  based on liquid crystals, e.g. single liquid crystal display cells
    • G02F1/133Constructional arrangements; Operation of liquid crystal cells; Circuit arrangements
    • G02F1/13306Circuit arrangements or driving methods for the control of single liquid crystal cells
    • GPHYSICS
    • G02OPTICS
    • G02FOPTICAL DEVICES OR ARRANGEMENTS FOR THE CONTROL OF LIGHT BY MODIFICATION OF THE OPTICAL PROPERTIES OF THE MEDIA OF THE ELEMENTS INVOLVED THEREIN; NON-LINEAR OPTICS; FREQUENCY-CHANGING OF LIGHT; OPTICAL LOGIC ELEMENTS; OPTICAL ANALOGUE/DIGITAL CONVERTERS
    • G02F1/00Devices or arrangements for the control of the intensity, colour, phase, polarisation or direction of light arriving from an independent light source, e.g. switching, gating or modulating; Non-linear optics
    • G02F1/01Devices or arrangements for the control of the intensity, colour, phase, polarisation or direction of light arriving from an independent light source, e.g. switching, gating or modulating; Non-linear optics for the control of the intensity, phase, polarisation or colour 
    • G02F1/13Devices or arrangements for the control of the intensity, colour, phase, polarisation or direction of light arriving from an independent light source, e.g. switching, gating or modulating; Non-linear optics for the control of the intensity, phase, polarisation or colour  based on liquid crystals, e.g. single liquid crystal display cells
    • G02F1/133Constructional arrangements; Operation of liquid crystal cells; Circuit arrangements
    • G02F1/1333Constructional arrangements; Manufacturing methods
    • G02F1/133382Heating or cooling of liquid crystal cells other than for activation, e.g. circuits or arrangements for temperature control, stabilisation or uniform distribution over the cell
    • GPHYSICS
    • G09EDUCATION; CRYPTOGRAPHY; DISPLAY; ADVERTISING; SEALS
    • G09GARRANGEMENTS OR CIRCUITS FOR CONTROL OF INDICATING DEVICES USING STATIC MEANS TO PRESENT VARIABLE INFORMATION
    • G09G3/00Control arrangements or circuits, of interest only in connection with visual indicators other than cathode-ray tubes
    • G09G3/20Control arrangements or circuits, of interest only in connection with visual indicators other than cathode-ray tubes for presentation of an assembly of a number of characters, e.g. a page, by composing the assembly by combination of individual elements arranged in a matrix no fixed position being assigned to or needed to be assigned to the individual characters or partial characters
    • G09G3/34Control arrangements or circuits, of interest only in connection with visual indicators other than cathode-ray tubes for presentation of an assembly of a number of characters, e.g. a page, by composing the assembly by combination of individual elements arranged in a matrix no fixed position being assigned to or needed to be assigned to the individual characters or partial characters by control of light from an independent source
    • G09G3/3406Control of illumination source
    • HELECTRICITY
    • H05ELECTRIC TECHNIQUES NOT OTHERWISE PROVIDED FOR
    • H05BELECTRIC HEATING; ELECTRIC LIGHT SOURCES NOT OTHERWISE PROVIDED FOR; CIRCUIT ARRANGEMENTS FOR ELECTRIC LIGHT SOURCES, IN GENERAL
    • H05B47/00Circuit arrangements for operating light sources in general, i.e. where the type of light source is not relevant
    • H05B47/10Controlling the light source
    • H05B47/105Controlling the light source in response to determined parameters
    • HELECTRICITY
    • H05ELECTRIC TECHNIQUES NOT OTHERWISE PROVIDED FOR
    • H05BELECTRIC HEATING; ELECTRIC LIGHT SOURCES NOT OTHERWISE PROVIDED FOR; CIRCUIT ARRANGEMENTS FOR ELECTRIC LIGHT SOURCES, IN GENERAL
    • H05B47/00Circuit arrangements for operating light sources in general, i.e. where the type of light source is not relevant
    • H05B47/10Controlling the light source
    • H05B47/105Controlling the light source in response to determined parameters
    • H05B47/11Controlling the light source in response to determined parameters by determining the brightness or colour temperature of ambient light
    • BPERFORMING OPERATIONS; TRANSPORTING
    • B60VEHICLES IN GENERAL
    • B60RVEHICLES, VEHICLE FITTINGS, OR VEHICLE PARTS, NOT OTHERWISE PROVIDED FOR
    • B60R2300/00Details of viewing arrangements using cameras and displays, specially adapted for use in a vehicle
    • B60R2300/20Details of viewing arrangements using cameras and displays, specially adapted for use in a vehicle characterised by the type of display used
    • B60R2300/205Details of viewing arrangements using cameras and displays, specially adapted for use in a vehicle characterised by the type of display used using a head-up display
    • GPHYSICS
    • G02OPTICS
    • G02BOPTICAL ELEMENTS, SYSTEMS OR APPARATUS
    • G02B27/00Optical systems or apparatus not provided for by any of the groups G02B1/00 - G02B26/00, G02B30/00
    • G02B27/01Head-up displays
    • G02B27/0101Head-up displays characterised by optical features
    • G02B2027/0112Head-up displays characterised by optical features comprising device for genereting colour display
    • GPHYSICS
    • G02OPTICS
    • G02BOPTICAL ELEMENTS, SYSTEMS OR APPARATUS
    • G02B27/00Optical systems or apparatus not provided for by any of the groups G02B1/00 - G02B26/00, G02B30/00
    • G02B27/01Head-up displays
    • G02B27/0101Head-up displays characterised by optical features
    • G02B2027/0118Head-up displays characterised by optical features comprising devices for improving the contrast of the display / brillance control visibility
    • GPHYSICS
    • G09EDUCATION; CRYPTOGRAPHY; DISPLAY; ADVERTISING; SEALS
    • G09GARRANGEMENTS OR CIRCUITS FOR CONTROL OF INDICATING DEVICES USING STATIC MEANS TO PRESENT VARIABLE INFORMATION
    • G09G2320/00Control of display operating conditions
    • G09G2320/02Improving the quality of display appearance
    • G09G2320/0252Improving the response speed
    • GPHYSICS
    • G09EDUCATION; CRYPTOGRAPHY; DISPLAY; ADVERTISING; SEALS
    • G09GARRANGEMENTS OR CIRCUITS FOR CONTROL OF INDICATING DEVICES USING STATIC MEANS TO PRESENT VARIABLE INFORMATION
    • G09G2320/00Control of display operating conditions
    • G09G2320/04Maintaining the quality of display appearance
    • G09G2320/041Temperature compensation
    • GPHYSICS
    • G09EDUCATION; CRYPTOGRAPHY; DISPLAY; ADVERTISING; SEALS
    • G09GARRANGEMENTS OR CIRCUITS FOR CONTROL OF INDICATING DEVICES USING STATIC MEANS TO PRESENT VARIABLE INFORMATION
    • G09G2320/00Control of display operating conditions
    • G09G2320/06Adjustment of display parameters
    • G09G2320/0626Adjustment of display parameters for control of overall brightness
    • GPHYSICS
    • G09EDUCATION; CRYPTOGRAPHY; DISPLAY; ADVERTISING; SEALS
    • G09GARRANGEMENTS OR CIRCUITS FOR CONTROL OF INDICATING DEVICES USING STATIC MEANS TO PRESENT VARIABLE INFORMATION
    • G09G2360/00Aspects of the architecture of display systems
    • G09G2360/14Detecting light within display terminals, e.g. using a single or a plurality of photosensors
    • G09G2360/144Detecting light within display terminals, e.g. using a single or a plurality of photosensors the light being ambient light
    • GPHYSICS
    • G09EDUCATION; CRYPTOGRAPHY; DISPLAY; ADVERTISING; SEALS
    • G09GARRANGEMENTS OR CIRCUITS FOR CONTROL OF INDICATING DEVICES USING STATIC MEANS TO PRESENT VARIABLE INFORMATION
    • G09G3/00Control arrangements or circuits, of interest only in connection with visual indicators other than cathode-ray tubes
    • G09G3/20Control arrangements or circuits, of interest only in connection with visual indicators other than cathode-ray tubes for presentation of an assembly of a number of characters, e.g. a page, by composing the assembly by combination of individual elements arranged in a matrix no fixed position being assigned to or needed to be assigned to the individual characters or partial characters
    • G09G3/34Control arrangements or circuits, of interest only in connection with visual indicators other than cathode-ray tubes for presentation of an assembly of a number of characters, e.g. a page, by composing the assembly by combination of individual elements arranged in a matrix no fixed position being assigned to or needed to be assigned to the individual characters or partial characters by control of light from an independent source
    • G09G3/36Control arrangements or circuits, of interest only in connection with visual indicators other than cathode-ray tubes for presentation of an assembly of a number of characters, e.g. a page, by composing the assembly by combination of individual elements arranged in a matrix no fixed position being assigned to or needed to be assigned to the individual characters or partial characters by control of light from an independent source using liquid crystals
    • YGENERAL TAGGING OF NEW TECHNOLOGICAL DEVELOPMENTS; GENERAL TAGGING OF CROSS-SECTIONAL TECHNOLOGIES SPANNING OVER SEVERAL SECTIONS OF THE IPC; TECHNICAL SUBJECTS COVERED BY FORMER USPC CROSS-REFERENCE ART COLLECTIONS [XRACs] AND DIGESTS
    • Y02TECHNOLOGIES OR APPLICATIONS FOR MITIGATION OR ADAPTATION AGAINST CLIMATE CHANGE
    • Y02BCLIMATE CHANGE MITIGATION TECHNOLOGIES RELATED TO BUILDINGS, e.g. HOUSING, HOUSE APPLIANCES OR RELATED END-USER APPLICATIONS
    • Y02B20/00Energy efficient lighting technologies, e.g. halogen lamps or gas discharge lamps
    • Y02B20/40Control techniques providing energy savings, e.g. smart controller or presence detection

Definitions

  • the present disclosure relates to a head-up display device.
  • a head-up display (HUD) device is known as a display device that displays an image of a meter or the like on a vehicle instrument panel on a windshield (Patent Document 1).
  • the head-up display device projects display information such as a meter onto a windshield and reflects it, and causes the driver to visually recognize the reflected image.
  • the display information projected on the windshield forms an image on the front side outside the vehicle of the windshield, and the driver can visually recognize the display information in a form superimposed on the front field of view.
  • a device for forming display information to be visually recognized by the driver in such a head-up display is generally a liquid crystal display device. Examples of the liquid crystal display device include a vertical light distribution type TFT (Thin Film Transistor) liquid crystal display device and a simple matrix type liquid crystal display device. *
  • an ITO (Indium Tin Oxide) heater or thermistor is provided in the display, and the heater is heated to a temperature at which a display response speed can be secured above a certain level.
  • the ITO heater is a semi-transparent film formed on the glass of the liquid crystal panel, it causes a reduction in the amount of light transmitted from the light source that illuminates the liquid crystal panel, and there is a problem that the display luminance is lowered. .
  • providing an ITO heater, a thermistor, and a control circuit therefor not only complicates the apparatus and the circuit but also increases the cost. In particular, when an ITO heater is provided, another control circuit is required to prevent runaway due to a failure, so that the circuit configuration becomes more complicated and further cost increase cannot be avoided.
  • a head-up display device is a vehicle head that causes display information formed by a display unit to be projected and reflected on an external projection member by light of a light source, and allows a user at a predetermined position to visually recognize the reflected image.
  • An up-display device comprising a display unit, a storage unit for storing a light source, a temperature detection unit, and a light source control means.
  • the display unit and the light source are arranged so as to face each other through a heat transfer space inside the housing unit.
  • the temperature detection unit is provided in the periphery of the display unit and the light source, and detects the temperature of the periphery.
  • the light source control means controls to increase the brightness by increasing the drive current that causes the light source to emit light, and occurs as the drive current increases
  • the heat to be transmitted is transmitted to the display unit through at least the heat transfer space to raise the temperature of the display unit.
  • the deterioration in display response performance at low temperatures is suppressed while suppressing an increase in cost. it can.
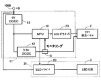
  • FIG. 1 is a schematic diagram illustrating a configuration of a head-up display device according to an embodiment of the present disclosure.
  • FIG. 2 is a block diagram of the head-up display device of FIG.
  • FIG. 3 is a diagram showing a power supply circuit of the head-up display device of FIG. 4 is an exploded perspective view of a display output unit of the head-up display device of FIG.
  • FIG. 5 is a partially enlarged cross-sectional view of a display output unit of the head-up display device of FIG.
  • FIG. 6 is a schematic diagram illustrating a configuration of a display unit of the head-up display device of FIG. FIG.
  • FIG. 7 is an exploded perspective view of the main body of the head-up display device of FIG.
  • FIG. 8 is a diagram illustrating a correspondence relationship between the drive current of the light source and the detected temperature of the temperature detection unit in the head-up display device of FIG.
  • FIG. 9 is a diagram illustrating a correspondence relationship between the display responsiveness of the display unit and the temperature of the display unit (or the detected temperature of the temperature detection unit) in the head-up display device of FIG.
  • FIG. 10 is a flowchart showing a flow of light source drive control performed when the engine of the vehicle is started in the head-up display device of FIG.
  • FIG. 11 is a flowchart showing a flow of light source drive control that is performed in the normal time after the engine of the vehicle is started in the head-up display device of FIG.
  • the head-up display device 1 projects display information emitted from the display output unit 200 to the projection member 100W and reflects the projected display information toward a user 100D at a predetermined position. By doing so, the user 100D is configured to visually recognize the reflected image.
  • the head-up display device 1 of the present embodiment is a vehicle head-up display device, and a user 100D at a predetermined position for visually recognizing display information is a driver seated in a driver's seat.
  • the projection member 100W is a member that transmits light, and here is a windshield (front glass) 100W that is inclined with respect to the horizontal direction of the vehicle 100. *
  • the display output unit 200 includes a display unit 2 that forms display information, and a light source 3 that illuminates the display unit 2 and emits display information to the outside. 20.
  • the display output unit 200 of the present embodiment is provided inside an instrument panel 100 ⁇ / b> I that extends from the lower side of the windshield 100 ⁇ / b> W to the inside of the vehicle 100.
  • the display unit 2 in the present embodiment is a transmissive display panel that is illuminated by light from the light source 3 on the back side, and the light of the light source 3 that has passed through the display panel 2 is directed toward the upper windshield 100W. Incident.
  • the light incident on the windshield 100W is reflected toward the user 100D seated in the driver's seat, and the user 100D visually recognizes the reflected image.
  • the display information projected and reflected on the windshield 100W is captured by the driver 100D as a virtual image 2V positioned at the tip (back) of the windshield 100W. That is, the driver 100D sees the display information at the tip (back) of the windshield 100W by forming the display information formed by the display panel 2 on the front side outside the windshield 100W.
  • the display unit 2 of this embodiment is a TFT liquid crystal panel.
  • the TFT liquid crystal panel 2 is well known, and as shown in FIG. 6, the liquid crystal layer 2A is sealed between the glass substrates 2B and 2F, and further, they are sandwiched between the polarizing plates 2G and 2E from the outside. Formed in shape.
  • the liquid crystal panel 2 has a plurality of liquid crystal cells arranged in a matrix. Each liquid crystal cell can be individually applied with a voltage by a switch element and a pixel electrode forming a TFT (Thin Transistor) provided therein.
  • TFT Thin Transistor
  • the liquid crystal panel 2 changes the alignment direction of the liquid crystal molecules in the pixel region of each liquid crystal cell by applying a voltage to each of the liquid crystal cells, thereby enabling gradation display in each pixel region.
  • the liquid crystal panel 2 can also change the alignment direction of the liquid crystal molecules of all the liquid crystal cells so that the light from the light source 3 is not transmitted.
  • the liquid crystal panel 2 has a problem that the display responsiveness falls below a certain level in a low temperature state below a predetermined temperature.
  • the head-up display device 1 of the present disclosure in order to eliminate the low temperature state, no heaters are arranged, and heat generated by light emission of the light source 3 is transmitted to the display unit via the gas in the space 22H.
  • the display unit 2 is configured to be warmed.
  • the head-up display device 1 faces both the display unit 2 and the light source 3 and transmits the heat on the light source 3 side to the display unit 2 (heat transfer space).
  • the housing part 22 forming 22H, the temperature detection part 5 for detecting the ambient temperature Ts of the display part 2 and the light source 3 as shown in FIGS. 2 and 3, and a reference low temperature whose ambient temperature Ts is predetermined.
  • a control unit (first light source control means) 10 that performs light source control for increasing the luminance by increasing the drive current for causing the light source 3 to emit light when Ta falls below Ta.
  • the temperature of the display unit 2 can be increased by intentionally increasing the drive current energized to cause the light source 3 to emit light. That is, when the drive current of the light source 3 increases, the heat generation of the light source 3 and its drive circuit 3D also increases, so the temperature (air temperature) of the internal space 22H in contact with these light source 3 and drive circuit 3D also rises, while the internal space Since 22H also contacts the display unit 2, when the temperature (air temperature) of the internal space 22H increases, the temperature of the display unit 2 also increases due to the heat (temperature increase).
  • the control unit 10 also performs light source control to reduce the luminance by reducing the drive current that causes the light source 3 to emit light even when the detection temperature Ts of the temperature detection unit 5 exceeds a predetermined reference high temperature Tb ( Second light source control means), the temperature of the display unit 2 is lowered by the decrease of the drive current.
  • the drive current of the light source 3 decreases, the heat generation of the light source 3 and its drive circuit 3D also decreases, so the temperature (air temperature) of the internal space (heat transfer space) 22H in contact with the light source 3 and the drive circuit 3D also decreases.
  • the internal space 22H is also in contact with the display unit 2, when the temperature (air temperature) of the internal space 22H decreases, the temperature of the display unit 2 also decreases due to the heat (temperature decrease).
  • control unit 10 is an MPU (Micro-Processing Unit) connected to the display panel 2 and the light source 3 via each drive circuit (driver) 2D, 3D.
  • the control unit 10 of the present embodiment includes an IG switch (ignition switch) 4, a temperature detection unit 5 that detects the ambient temperature of the display unit 2, and a light amount detection unit (illuminance sensor) 7 that detects a light amount (illuminance) outside the vehicle. And a storage unit 9 for storing various reference values Ta, Tb and the like. *
  • the temperature detection unit 5 is provided around the display unit 2 and detects the temperature of the peripheral unit 21, and can be a known thermistor or the like. That is, the temperature detection unit 5 of the present embodiment does not directly detect the temperature of the display unit 2 but detects the temperature at another position that changes due to the temperature change of the display unit 2. *
  • the control part 10 acquires the detection information of the temperature detection part 5, and detects the ambient temperature Ts of the display part 2 (S1: temperature detection means). When the detected temperature Ts falls below a predetermined reference low temperature Ta (S2: Yes), control is performed such that the light from the light source 3 is invisible to the user (S3: visual state control). means).
  • the control unit 10 outputs an alignment change command to the drive circuit 2D so that all the liquid crystal cells of the liquid crystal panel forming the display unit 2 have a liquid crystal alignment in which light from the light source 3 is not transmitted.
  • control unit 10 outputs a change command for increasing the drive current of the light source 3 to a maximum current value that is maximum within a predetermined use range used during energization (S4).
  • S4 a predetermined use range used during energization
  • the control unit 10 performs control such that the light from the light source 3 is visible to the user (S5: Visual state control means).
  • the control unit 10 cancels the alignment change command output to the drive circuit 2D so that all the liquid crystal cells of the liquid crystal panel forming the display unit 2 have a liquid crystal alignment in which light from the light source 3 is not transmitted.
  • An arbitrary liquid crystal alignment change is permitted (S5: visual state control means).
  • the control unit 10 starts normal light source drive control as shown in FIG. 11 (S6) and ends the control of FIG. *
  • the control unit 10 causes the light source 3 to emit light with the maximum luminance within the usable range of the drive current, thereby causing the light source 3 and its drive circuit 3D to generate heat, and the temperature of the liquid crystal panel 2 with the heat. Can be raised.
  • the drive circuit 2D of the liquid crystal panel 2 receives display data from the external display control unit 2000 (see FIG.
  • control is performed in the form of energization control to the liquid crystal cell, as long as it is determined that the temperature of the liquid crystal panel 2 is in a temperature range in which the display responsiveness is not guaranteed in the process of FIG.
  • the energization control to each liquid crystal cell based on the received data is forcibly prohibited, and the energization control is performed with priority given to the liquid crystal alignment in which all the liquid crystal cells do not transmit light.
  • the control unit 10 starts energization control to each liquid crystal cell based on the received data, and according to the situation.
  • the displayed information is projected onto the windshield 100W so that the driver can visually recognize it. *
  • control unit 10 that has started the light source drive control in FIG. 11 first detects the amount of light outside the vehicle 100 from the light amount detection unit 7 (S11), and based on the detected amount of light outside the vehicle, The drive current of the light source 3 is calculated (S12). *
  • the control unit 10 of the present embodiment keeps the drive current of the light source 3 at a predetermined value determined by the display content, and exceeds the predetermined light amount. If not, the driving current of the light source 3 is reduced from the predetermined value by a predetermined level (for example, 50% or less of the predetermined value (specifically 40% or the like)).
  • the controller 10 may increase the luminance as the detected light amount of the light amount detector 7 increases, and decrease the luminance as the detected light amount of the light amount detector 7 decreases.
  • control unit 10 detects the ambient temperature Ts of the display unit 2 from the temperature detection unit 5 (S13), and when the detected ambient temperature Ts exceeds a predetermined reference high temperature Tb (S14: Yes), the already calculated driving current value of the light source 3 is corrected and set so as to decrease (S16), and the light source 3 is caused to emit light with the corrected driving current value (S17).
  • the control unit 10 determines the drive current value of the light source 3 that has already been calculated. The value is corrected and set to increase (S18), and the light source is caused to emit light with the corrected drive current value (S19). *
  • the control unit 10 when the detected ambient temperature Ts is equal to or lower than the reference high temperature Tb and equal to or higher than the reference low temperature Ta (S14: No and S15: No), the control unit 10 already calculates the drive current value.
  • the light source 3 is caused to emit light (calculated value in S12) (S20).
  • the process of FIG. 11 is repeatedly executed at a predetermined cycle. *
  • the corrected drive current value is calculated with a constant increase or decrease with respect to the drive current value calculated before the correction (the calculated value in S12).
  • the control unit 10 can be configured to make a correction to increase or decrease the drive current value (S12) uniformly (for example, 20%). Note that other methods may be employed for calculating the corrected drive current value.
  • the reference low temperature Ta and the reference high temperature Tb are values determined based on the guaranteed operating temperature that ensures the operation of the display unit 2 including the display response. Specifically, each of the reference low temperature Ta and the reference high temperature Tb receives a temperature range in which the operation of the display unit 2 is ensured, and is a lower limit of the operating temperature range of the display unit 2 that is narrower than the temperature range. It is a value determined based on the value a and the upper limit value b.
  • the reference high temperature Ta of the present embodiment is the temperature detected by the temperature detection unit 5 when the temperature of the display unit 2 is the lower limit value a of the guaranteed operating temperature range, and the reference high temperature Tb is the operation of the temperature of the display unit 2 It is determined as the detected temperature of the temperature detector 5 when the temperature range is the upper limit b.
  • the temperature detection unit 5 of the present embodiment detects the temperature affected by both the temperature of the light source 3 and its drive circuit 3D and the temperature of the display unit 2, and therefore the detected temperature is This is a value reflecting the current temperature of the display unit 2 or a temperature slightly ahead. That the detected temperature of the temperature detecting unit 5 is lower than the reference high temperature Ta indicates that the temperature of the display unit 2 may be lower than the guaranteed operating temperature range after this, while the detected temperature of the temperature detecting unit 5 is Exceeding the reference high temperature Tb indicates that the temperature of the display unit 2 may possibly exceed the operation guarantee temperature range thereafter. According to the light source drive control of FIG.
  • the temperature detection unit 5 is disposed at a position where a proportional relationship is established in actual measurement between the drive current of the light source 3 and the detected temperature of the temperature detection unit 5. Thereby, a correlation is provided between the driving current of the light source 3 and the temperature of the display unit 2.
  • the fact that the drive current of the light source 3 and the detected temperature of the temperature detection unit 5 have a proportional relationship in actual measurement means that the temperature in the atmosphere outside the head-up display device 1 (here, the temperature outside the vehicle or the temperature at a predetermined position in the vehicle) is constant.
  • the drive current of the light source 3 is energized at a constant value, and the constant value of the energized drive current and the saturation value of the detected temperature of the temperature detection unit 5 detected at the time of energization are constant.
  • the saturation value follows a proportional relationship as shown in FIG.
  • the temperature of the display unit 2 also affects the temperature detected by the temperature detection unit 5, and the fact that the saturation value of the detection temperature of the temperature detection unit 5 has been determined means that the temperature of the display unit 2 at that time is saturated.
  • the value is also determined. Thereby, the correlation between the drive current of the light source 3 and the temperature of the display unit 2 is obtained. Actually, there is an error of the level shown in FIG. 8, but even if there is an error of this level, it is assumed that the proportional relationship is established. *
  • the relationship that follows proportionally as described above continues.
  • the temperature outside the head-up display device 1 is in a temperature range close to the actual use environment, but a predetermined temperature in the vicinity of the other use environment. The same relationship exists in the range.
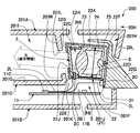
  • the display output unit 200 includes a case (apparatus housing) 201 that houses the main body 20 together with the main body 20.
  • the case 201 includes a first side case portion (upper case) 201A that forms the first side (here, the upper side of the vehicle 100) and a second side opposite to the first side (here, the lower side of the vehicle 100). ) Forming a second side case portion (lower case) 201B.
  • first side case portion upper case
  • second side opposite to the first side here, the lower side of the vehicle 100.
  • the optical member 202B of the present embodiment is a plane mirror, and the optical member 202A is a magnifying mirror that magnifies and reflects incident light.
  • the display information emitted from the display output unit 200 is magnified by the magnifying glass 202A and projected onto the windshield 100W.
  • the magnifying glass 202A can change the reflection direction by the drive unit (motor) 202M.
  • the projection position on the windshield 100W can be changed by changing the reflection direction.
  • the optical members 202A and 202B are not necessarily limited to the configuration of the present embodiment, and it is possible to appropriately change the shape, replace the members, change the arrangement, and the like. *
  • the case 201 of the present embodiment includes a main body housing portion 201 ⁇ / b> H that houses the main body portion 20, and an optical system housing portion 201 ⁇ / b> I that houses optical members 202 ⁇ / b> A and 202 ⁇ / b> B (see FIG. 4). And a main control board housing portion 201J for housing a main control board 11 on which a main control portion 10 described later is formed.
  • the accommodating portions 201 ⁇ / b> H, 201 ⁇ / b> I, and 201 ⁇ / b> J are partitioned by an inner case portion (inner case) 201 ⁇ / b> C disposed in the case 201.
  • the inner case part (inner case) 201C is arranged as a partition wall part 201G that partitions the optical system accommodation part 201I and the main control board accommodation part 201J.
  • the wall 201G is interrupted on one end side (the right side in FIG. 5).
  • the main control board housing portion 201J and the optical system housing portion 201I communicate with each other through the disconnected opening 201K.
  • the inner case portion (inner case) 201C includes a fixing portion 201D (see FIG. 4) that fixes the main body portion 20 at a point where the wall portion 201G is interrupted.
  • the main body portion 20 is fixed to the fixing portion 201D and disposed on the optical system housing portion 201I side of the opening 201K.
  • the main body housing portion 201H forms a space on the optical system housing portion 201I side of the opening 201K in which the main body portion 20 is housed.
  • the optical system housing part 201I is formed as a space adjacent to the main body housing part 201H, and is adjacent to the main control board housing part 201J with the wall part 201G interposed therebetween.
  • the main body housing portion 201H and the optical system housing portion 201I are configured such that the wall portion 201W extending so as to approach each other on both the first side case portion 201A and the inner case portion 201C has an opening 201L therebetween.
  • the main body accommodating portion 201H and the optical system accommodating portion 201I are partitioned.
  • the main control board housing portion 201J includes a space on the main control board housing portion 201J side of the fixed portion 201D and is adjacent to both the main body housing portion 201H and the optical system housing portion 201I.
  • the case 201 of the present embodiment is formed such that when mounted on the vehicle 100, the main body housing portion 201H and the optical system housing portion 201I are adjacent to each other in the horizontal direction on the upper side, and the main control board housing portion 201J 201H is formed adjacent to the lower side of the optical system accommodating portion 201I.
  • the first side case portion 201A is the vehicle 100 in the case 201.
  • the second case part 201B is located on the lower side of the vehicle 100 in the case 201, and the inner case part 201C is located between the first and second case parts 201A and 201B.
  • the main body housing portion 201H and the optical system housing portion 201I are formed on the first side case portion 201A side with respect to the inner case portion 201C, and the main control board housing portion 201J is formed on the second side case portion 201B side.
  • a vent hole 2H1 that communicates with the outside (device outer space) 20H is provided on the upper side of the vehicle 100 of the case 201. Further, a vent hole 2H2 that communicates with the outside (outside apparatus space) 20H is also provided on the lower side of the vehicle 100 of the case 201. Thereby, the heat in the case 201 can be efficiently discharged.
  • the vent hole 2H1 of the present embodiment is formed as a through hole penetrating upward of the vehicle 100 in the first side case portion 201A, and the vent hole 2H2 is formed below the vehicle 100 in the second side case portion 201B. It is formed as a through-hole penetrating toward.
  • the main body unit 20 arranges the display unit 2 and the light source 3 with a space (heat transfer space) 22H interposed therebetween, and the display unit 2 and the light source 3 form a main body. It is housed in the case 22.
  • the main body case 22 of the present embodiment includes a cylindrical portion 22A that surrounds the axis line from the light source 3 toward the display portion 2, and the display portion 2 side of the cylindrical portion 22A.
  • a lid portion (case lid) 22B that is assembled and fixed to the opening, and a heat radiating portion 22F that is assembled and fixed to the opening on the light source 3 side of the cylindrical portion 22A.
  • an internal space 22 ⁇ / b> H partitioned from the outside of the main body 20 is formed in the main body 20.
  • well-known lens members 23 and 25 and well-known light are used as optical members for condensing the light of the light source 3 into the internal space 22H so as to enter the back surface 2B of the display unit 2 widely and uniformly.
  • a diffusion sheet 24 is disposed.
  • two lens members 23 and 25 and one light diffusion sheet 24 are used.
  • the lens member 23 is a diffusing lens
  • the lens member 25 is a condenser lens.
  • the circuit board 31 on which the light source 3 is mounted is disposed on the inner main surface 22FA (see FIG. 7) facing the internal space 22H.
  • the heat radiation part 22F and the circuit board 31 are fixed by the screw member 22N (see FIG. 7).
  • the circuit board 31 here is an aluminum board with high heat dissipation.
  • fins 22G are formed on the outer side opposite to the main surface 22FA side of the heat radiation part 22F for heat radiation, and the fins 22G are arranged so as to penetrate the case 201 of the display output part 200 from the inner side toward the outer side.
  • the lid 22B has a light emission hole 22J at the center thereof, and emits the light of the light source 3 that has passed through the display panel 2 from the light emission hole 22J to the outside.
  • the cylindrical portion 22A is provided with an assembly portion 22C extending toward the peripheral edge portion 22E of the light emission hole 22J at the center of the lid portion 22B.
  • the display portion 2 includes the assembly portion 22C and the lid portion 22B. It is assembled
  • the main body case 22 is a light source housing portion that houses the light source 3 in the internal space 22H.
  • the light source 3 and the mounting surface 31A of the circuit board 31 on which the light source 3 is mounted are exposed in the internal space 22H. It is arranged with. Light from the light source 3 is emitted from the inside of the main body case 22 to the outside through the optical members 23 to 25 and the display unit 2 covering the light emission holes 22J. *
  • the main control board 11 here has a power supply circuit connected to the in-vehicle battery 100 ⁇ / b> B, and an MPU (Micro-Processing Unit) that is a control unit 10 that controls the power supply system of the head-up display device 1. ) Is implemented.
  • a voltage of about 12V (battery voltage + B) of the in-vehicle battery 100B is input to the control unit 10 of FIG. 2 as a power supply voltage of 5V via the DC / DC converter 12, while 3V via the DC / DC converter 13. .3V is input to the display unit 2 as a power supply voltage.
  • the 3.3V power supply line input to the display unit 2 is provided with a thermistor forming the temperature detection unit 5 for reducing the inrush current, and the control unit 10 monitors a resistance value change associated with the temperature change.
  • the drive circuit 3D of the light source 3 is provided on another circuit board 31, but the power supply voltage (battery voltage) of the in-vehicle battery 100B input to the drive circuit 3D is also on the main control board 11. Is input via the power supply circuit. *
  • the drive circuit 2D of the display unit 2 is also provided on the main control board 11.
  • the drive circuit 2D may be provided as a separate substrate from the main control substrate 11.
  • the main control board 11 of the present embodiment connects the connector parts 11C, 2C, 31C to the display part 2 and the circuit board 31 via wiring members such as lead wires 2L, 3L. *
  • the temperature detection unit 5 is disposed outside the main body unit 20.
  • the temperature detection unit 5 according to the present embodiment is provided in an adjacent space 201J (21H) adjacent to an internal space 22H of a main body case (light source storage unit) 22 that stores the light source 3 via a cylindrical portion 22A (wall portion 22D). Is provided.
  • the inside of the main control board housing portion 201J corresponds to the adjacent space 201J.
  • the temperature detection unit 5 of the present embodiment is mounted on a main control board 11 that is different from the circuit board 31 on which the light source 3 is mounted and the drive circuit 3D of the light source 3 is formed.
  • the internal space 22H of the main body case 22 has a vent hole 20L that communicates with the main body housing portion 201H that is the outside thereof, and as a result, also communicates with the main control board housing portion 201J.
  • the heat generated in 31 is transmitted to the temperature detection unit 5 through the internal space 22H of the main body unit 20, the internal space of the main body housing unit 201H, and the internal space of the main control board housing unit 201J.
  • the heat generated in the light source 3 and its mounting substrate 31 is not directly transmitted to the temperature detection unit 5 and detected, but is transmitted and detected through a space (gas). Since it is transmitted through the partitioned space and detected, even if the temperature change of the light source 3 and its mounting board 31 occurs severely, the change is not detected directly, but is detected in an appropriately averaged form. Is done. *
  • the temperature detection unit 5 of the present embodiment is disposed at a position immediately below a position (here, an intermediate position) between the display unit 2 and the light source 3 that are disposed to face each other in the horizontal direction of the vehicle 100. Thereby, it is possible to detect a temperature in which both the temperature of the display unit 2 and the temperatures of the light source 3 and the circuit board 31 are reflected in a balanced manner.
  • the temperature detection unit 5 of the present embodiment is disposed on the main surface 11B of the main control board 11 on the main body 20 side at a position directly below the main body 20.
  • the temperature detection unit 5 of the present embodiment is on the ventilation hole 2H2 provided in the bottom wall part 201F of the second side case part 201B forming the main control board housing part 201J or on the peripheral part of the ventilation hole 2H2. Has been placed. *
  • a general head-up display device projects light from a light source onto a projection member located at a distant position so that the reflected image can be seen, so that the light source emits light with higher brightness than other display devices. It is necessary to let For this reason, more heat is generated during light emission than other display devices. In the present disclosure, this heat is effectively used as heat for heating the display unit, and the display response performance is obtained by warming the display unit in a low temperature state where the display response performance is not secured by the heat generated during light source emission. Therefore, it is not necessary to provide a dedicated heater for heating the display unit, its control circuit, or the like as in the conventional case.
  • the temperature detection unit does not directly detect the temperature of the display unit, but detects the ambient temperature of both the display unit and the light source.
  • the temperature detection unit detects a temperature in which the influences of both the display unit and the light source are taken into account. From this ambient temperature, it is possible not only to estimate the current temperature of the display unit, but also to estimate future temperature changes of the display unit from changes in this ambient temperature. It is possible to perform light emission control of the light source 3 so that the temperature of the light source is continuously equal to or higher than the reference low temperature.
  • the head-up display device reduces the luminance by reducing the drive current that causes the light source to emit light when the temperature detected by the temperature detection unit exceeds a predetermined reference high temperature.
  • the temperature of the heat transfer space can be lowered by reducing the heat generation due to the reduction of the drive current, and the temperature drop can be transmitted to the display unit to lower the temperature of the display unit. According to this configuration, even when the display unit is excessively heated, the display unit can be cooled and used by reducing the light emission level of the light source.
  • the display unit 2 in the above embodiment is a TFT liquid crystal panel, but another one may be adopted as long as it has a problem in display response as in the above embodiment. *
  • the light from the light source 3 is projected onto the projection member 100W in order to control the light from the light source 3 to be invisible to the user (S3: visual state control means).
  • the liquid crystal panel 2 that is a light transmittance variable portion that can change the light transmittance is used, but other methods may be used.
  • a light transmission variable unit viewing state switching unit
  • the control unit 10 controls this. May be.
  • the path changing unit may be the driving unit (motor) 202M, and the driving unit 202M is driven and controlled by the display control unit 2000 according to a command from the control unit 10.
  • the light source drive control of both FIGS. 10 and 11 is performed, but only one of them may be performed.
  • only the processing (S14, S16, S17) on the side of reducing the drive current of the light source 3 by correction may be performed, and conversely, the drive current of the light source 3 can be corrected.
  • Only the processing on the increasing side (S15, S18, S19) may be performed.
  • the temperature detection unit 5 is provided at a position having a proportional relationship as a predetermined correspondence between its own detection temperature Ts and the drive current of the light source 3.
  • the detected temperature Ts may be a position corresponding to another correspondence relationship in which the detected temperature Ts increases as the driving current of the light source 3 increases.
  • this correspondence is determined based on actual measurement, and is determined by the saturation value of the temperature of the temperature detection unit 5 as in the above embodiment.
  • each means is expressed as, for example, S1.
  • each means can be divided into a plurality of sub means, while a plurality of means can be combined into one means.
  • each means configured in this way can be referred to as a module, means.

Landscapes

  • Physics & Mathematics (AREA)
  • General Physics & Mathematics (AREA)
  • Optics & Photonics (AREA)
  • Nonlinear Science (AREA)
  • Engineering & Computer Science (AREA)
  • Chemical & Material Sciences (AREA)
  • Mathematical Physics (AREA)
  • Crystallography & Structural Chemistry (AREA)
  • Mechanical Engineering (AREA)
  • Theoretical Computer Science (AREA)
  • Combustion & Propulsion (AREA)
  • Transportation (AREA)
  • Computer Hardware Design (AREA)
  • Instrument Panels (AREA)
  • Liquid Crystal (AREA)
  • Liquid Crystal Display Device Control (AREA)
  • Control Of Indicators Other Than Cathode Ray Tubes (AREA)
  • Multimedia (AREA)
PCT/JP2014/004020 2013-08-01 2014-07-31 ヘッドアップディスプレイ装置 Ceased WO2015015807A1 (ja)

Priority Applications (2)

Application Number Priority Date Filing Date Title
DE112014003540.8T DE112014003540B4 (de) 2013-08-01 2014-07-31 Head-Up-Display-Vorrichtung
US14/908,369 US10088679B2 (en) 2013-08-01 2014-07-31 Head-up display device

Applications Claiming Priority (2)

Application Number Priority Date Filing Date Title
JP2013160547A JP6108228B2 (ja) 2013-08-01 2013-08-01 ヘッドアップディスプレイ装置
JP2013-160547 2013-08-01

Publications (1)

Publication Number Publication Date
WO2015015807A1 true WO2015015807A1 (ja) 2015-02-05

Family

ID=52431363

Family Applications (1)

Application Number Title Priority Date Filing Date
PCT/JP2014/004020 Ceased WO2015015807A1 (ja) 2013-08-01 2014-07-31 ヘッドアップディスプレイ装置

Country Status (4)

Country Link
US (1) US10088679B2 (enExample)
JP (1) JP6108228B2 (enExample)
DE (1) DE112014003540B4 (enExample)
WO (1) WO2015015807A1 (enExample)

Cited By (3)

* Cited by examiner, † Cited by third party
Publication number Priority date Publication date Assignee Title
JP2017043342A (ja) * 2015-08-24 2017-03-02 株式会社デンソー 電源制御装置およびヘッドアップディスプレイ装置
FR3050039A1 (fr) * 2016-04-12 2017-10-13 Valeo Comfort & Driving Assistance Afficheur tete haute
CN115151854A (zh) * 2020-02-28 2022-10-04 麦克赛尔株式会社 平视显示器装置

Families Citing this family (27)

* Cited by examiner, † Cited by third party
Publication number Priority date Publication date Assignee Title
JP2015127756A (ja) * 2013-12-27 2015-07-09 本田技研工業株式会社 液晶表示装置
KR102362728B1 (ko) * 2015-02-26 2022-02-15 엘지이노텍 주식회사 헤드 업 디스플레이 장치
KR102424949B1 (ko) * 2015-04-24 2022-07-25 엘지이노텍 주식회사 헤드 업 디스플레이 장치
KR102362729B1 (ko) * 2015-04-24 2022-02-15 엘지이노텍 주식회사 헤드업 디스플레이 장치
JP6658174B2 (ja) * 2016-03-22 2020-03-04 凸版印刷株式会社 ヘッドアップディスプレイ装置
JP6801206B2 (ja) * 2016-03-22 2020-12-16 日本精機株式会社 表示装置
KR102723518B1 (ko) * 2016-09-29 2024-10-30 엘지이노텍 주식회사 헤드업 디스플레이 장치
JP6900165B2 (ja) * 2016-10-04 2021-07-07 矢崎総業株式会社 車両用表示装置
KR102727063B1 (ko) * 2016-10-05 2024-11-07 엘지이노텍 주식회사 헤드업 디스플레이 장치
KR102727064B1 (ko) * 2016-10-05 2024-11-07 엘지이노텍 주식회사 헤드업 디스플레이 장치
JP6854448B2 (ja) * 2017-03-31 2021-04-07 パナソニックIpマネジメント株式会社 表示装置、及びそれを備える移動体
JP6767690B2 (ja) * 2017-03-31 2020-10-14 パナソニックIpマネジメント株式会社 電子ミラー装置
JP6955019B2 (ja) * 2017-09-28 2021-10-27 マクセル株式会社 ヘッドアップディスプレイ装置
WO2019138797A1 (ja) * 2018-01-11 2019-07-18 日本精機株式会社 表示装置
WO2020022243A1 (ja) * 2018-07-27 2020-01-30 日本精機株式会社 表示装置
JP7193270B2 (ja) * 2018-08-22 2022-12-20 スタンレー電気株式会社 車両用灯具の制御装置、車両用灯具の制御方法、車両用灯具システム
JP2020067637A (ja) * 2018-10-26 2020-04-30 サカエ理研工業株式会社 車両用表示装置
JP2020112758A (ja) * 2019-01-17 2020-07-27 株式会社リコー 投射装置および移動体
FR3093195B1 (fr) * 2019-02-21 2021-01-29 Valeo Comfort & Driving Assistance dispositif d’affichage avec protection contre une surchauffe de l'écran, et afficheur tête haute comprenant un tel dispositif
JP7032003B2 (ja) * 2020-03-10 2022-03-08 矢崎総業株式会社 車両用表示装置
JP7434112B2 (ja) * 2020-08-26 2024-02-20 株式会社小糸製作所 画像投影装置
KR102747671B1 (ko) * 2020-11-12 2025-01-02 삼성디스플레이 주식회사 표시 장치 및 이의 구동 방법
US11523091B2 (en) * 2021-04-15 2022-12-06 GM Global Technology Operations LLC Head up display image blur compensation
DE102021115594A1 (de) 2021-06-16 2022-12-22 Bayerische Motoren Werke Aktiengesellschaft Anzeigesystem für ein Fahrzeug
JP2023029079A (ja) * 2021-08-20 2023-03-03 株式会社ジャパンディスプレイ 表示システム
FR3128797A1 (fr) * 2021-10-28 2023-05-05 Valeo Comfort And Driving Assistance Dispositif de génération d’images
JP2025162005A (ja) * 2024-04-15 2025-10-27 矢崎総業株式会社 車両用表示装置

Citations (5)

* Cited by examiner, † Cited by third party
Publication number Priority date Publication date Assignee Title
JP2001281012A (ja) * 2000-03-31 2001-10-10 Nippon Seiki Co Ltd 表示装置
JP2009229782A (ja) * 2008-03-24 2009-10-08 Fujinon Corp ヘッドアップディスプレイ装置
JP2010237238A (ja) * 2009-03-30 2010-10-21 Nippon Seiki Co Ltd 表示装置
JP2011090076A (ja) * 2009-10-21 2011-05-06 Panasonic Corp 画像表示装置
JP2012078619A (ja) * 2010-10-04 2012-04-19 Panasonic Corp 透過型表示装置

Family Cites Families (12)

* Cited by examiner, † Cited by third party
Publication number Priority date Publication date Assignee Title
US4886328A (en) 1985-09-11 1989-12-12 Yazaki Corporation Display apparatus for vehicle with means to prevent solar heating thereof
JPH0213A (ja) 1987-10-13 1990-01-05 Hitachi Chem Co Ltd 液晶表示素子の透明電極保護被膜形成用組成物
JPH0228442A (ja) 1988-07-15 1990-01-30 Konica Corp 原稿等の紙搬送装置
US5164849A (en) 1990-10-05 1992-11-17 Allied-Signal Inc. Liquid crystal display with a fast warm up
JPH0632158A (ja) 1992-07-17 1994-02-08 Meidensha Corp 直流電気鉄道用電圧抑制装置
JPH09304751A (ja) 1996-05-15 1997-11-28 Calsonic Corp 車載用液晶表示システム
JP2007086387A (ja) 2005-09-22 2007-04-05 Nippon Seiki Co Ltd 車両用表示装置
JP2007093939A (ja) * 2005-09-28 2007-04-12 Toshiba Matsushita Display Technology Co Ltd 液晶表示装置、電子装置、電子装置の製造方法、プログラム、および記録媒体
JP2009109711A (ja) 2007-10-30 2009-05-21 Nippon Seiki Co Ltd 表示装置
JP5633724B2 (ja) * 2009-12-25 2014-12-03 日本精機株式会社 照明装置
JP5861874B2 (ja) 2012-02-02 2016-02-16 清水建設株式会社 コンクリート品質管理試験方法
JP6135048B2 (ja) * 2012-04-24 2017-05-31 日本精機株式会社 ヘッドアップディスプレイ装置

Patent Citations (5)

* Cited by examiner, † Cited by third party
Publication number Priority date Publication date Assignee Title
JP2001281012A (ja) * 2000-03-31 2001-10-10 Nippon Seiki Co Ltd 表示装置
JP2009229782A (ja) * 2008-03-24 2009-10-08 Fujinon Corp ヘッドアップディスプレイ装置
JP2010237238A (ja) * 2009-03-30 2010-10-21 Nippon Seiki Co Ltd 表示装置
JP2011090076A (ja) * 2009-10-21 2011-05-06 Panasonic Corp 画像表示装置
JP2012078619A (ja) * 2010-10-04 2012-04-19 Panasonic Corp 透過型表示装置

Cited By (5)

* Cited by examiner, † Cited by third party
Publication number Priority date Publication date Assignee Title
JP2017043342A (ja) * 2015-08-24 2017-03-02 株式会社デンソー 電源制御装置およびヘッドアップディスプレイ装置
FR3050039A1 (fr) * 2016-04-12 2017-10-13 Valeo Comfort & Driving Assistance Afficheur tete haute
WO2017178565A1 (fr) * 2016-04-12 2017-10-19 Valeo Comfort And Driving Assistance Afficheur tête haute
CN115151854A (zh) * 2020-02-28 2022-10-04 麦克赛尔株式会社 平视显示器装置
CN115151854B (zh) * 2020-02-28 2024-04-26 麦克赛尔株式会社 平视显示器装置

Also Published As

Publication number Publication date
DE112014003540B4 (de) 2021-12-02
JP2015031793A (ja) 2015-02-16
US20160161742A1 (en) 2016-06-09
DE112014003540T5 (de) 2016-05-04
US10088679B2 (en) 2018-10-02
JP6108228B2 (ja) 2017-04-05

Similar Documents

Publication Publication Date Title
JP6108228B2 (ja) ヘッドアップディスプレイ装置
EP2843652B1 (en) Heads-up display device
CN110471182B (zh) 车辆用显示装置
US9715299B2 (en) Liquid crystal display device
JP6299523B2 (ja) 液晶表示装置及びヘッドアップディスプレイ装置
JP4623161B2 (ja) 液晶表示装置
US20150138047A1 (en) Head-up display system
US10068538B2 (en) Display device specifying temperature distribution of display surface
CN115826283B (zh) 显示屏、抬头显示器及车辆
JP2020134588A (ja) 虚像表示装置
CN107848461B (zh) 电子镜装置
JP2007086387A (ja) 車両用表示装置
US20200387025A1 (en) Image generating device comprising a thermal contact zone, and associated head-up display
JP5029530B2 (ja) 液晶表示装置
CN107077055A (zh) 投射型显示装置以及散热方法
JP2008256821A (ja) 表示デバイス、光学モジュールおよび投射型表示装置
EP3689661B1 (en) Head-up display
JP2021076652A (ja) 表示装置
WO2020105427A1 (ja) 車両用表示装置
US20220366818A1 (en) Head-up display with display apparatus
US20240280810A1 (en) Display device and head-up display
US20250199316A1 (en) Head-up display device and temperature control method thereof
CN219266673U (zh) 光机、显示设备及交通工具
CN119380672B (zh) 消除显示屏拖影的方法、装置以及可读存储介质
JP2004205771A (ja) 液晶表示装置

Legal Events

Date Code Title Description
121 Ep: the epo has been informed by wipo that ep was designated in this application

Ref document number: 14832843

Country of ref document: EP

Kind code of ref document: A1

WWE Wipo information: entry into national phase

Ref document number: 14908369

Country of ref document: US

WWE Wipo information: entry into national phase

Ref document number: 112014003540

Country of ref document: DE

122 Ep: pct application non-entry in european phase

Ref document number: 14832843

Country of ref document: EP

Kind code of ref document: A1