WO2015001663A1 - 送風機及び室外機 - Google Patents

送風機及び室外機 Download PDF

Info

Publication number
WO2015001663A1
WO2015001663A1 PCT/JP2013/068512 JP2013068512W WO2015001663A1 WO 2015001663 A1 WO2015001663 A1 WO 2015001663A1 JP 2013068512 W JP2013068512 W JP 2013068512W WO 2015001663 A1 WO2015001663 A1 WO 2015001663A1
Authority
WO
WIPO (PCT)
Prior art keywords
rotation axis
fan
boss portion
boss
root
Prior art date
Legal status (The legal status is an assumption and is not a legal conclusion. Google has not performed a legal analysis and makes no representation as to the accuracy of the status listed.)
Ceased
Application number
PCT/JP2013/068512
Other languages
English (en)
French (fr)
Inventor
敬英 田所
加藤 康明
惇司 河野
Current Assignee (The listed assignees may be inaccurate. Google has not performed a legal analysis and makes no representation or warranty as to the accuracy of the list.)
Mitsubishi Electric Corp
Original Assignee
Mitsubishi Electric Corp
Priority date (The priority date is an assumption and is not a legal conclusion. Google has not performed a legal analysis and makes no representation as to the accuracy of the date listed.)
Filing date
Publication date
Application filed by Mitsubishi Electric Corp filed Critical Mitsubishi Electric Corp
Priority to CN201380078029.5A priority Critical patent/CN105358838B/zh
Priority to EP13888679.1A priority patent/EP3018362B1/en
Priority to PCT/JP2013/068512 priority patent/WO2015001663A1/ja
Priority to US14/899,384 priority patent/US9874227B2/en
Priority to JP2015524989A priority patent/JP6109313B2/ja
Priority to CN201420369222.6U priority patent/CN203940543U/zh
Publication of WO2015001663A1 publication Critical patent/WO2015001663A1/ja
Anticipated expiration legal-status Critical
Ceased legal-status Critical Current

Links

Images

Classifications

    • FMECHANICAL ENGINEERING; LIGHTING; HEATING; WEAPONS; BLASTING
    • F04POSITIVE - DISPLACEMENT MACHINES FOR LIQUIDS; PUMPS FOR LIQUIDS OR ELASTIC FLUIDS
    • F04DNON-POSITIVE-DISPLACEMENT PUMPS
    • F04D29/00Details, component parts, or accessories
    • F04D29/40Casings; Connections of working fluid
    • F04D29/52Casings; Connections of working fluid for axial pumps
    • F04D29/522Casings; Connections of working fluid for axial pumps especially adapted for elastic fluid pumps
    • FMECHANICAL ENGINEERING; LIGHTING; HEATING; WEAPONS; BLASTING
    • F04POSITIVE - DISPLACEMENT MACHINES FOR LIQUIDS; PUMPS FOR LIQUIDS OR ELASTIC FLUIDS
    • F04DNON-POSITIVE-DISPLACEMENT PUMPS
    • F04D19/00Axial-flow pumps
    • F04D19/002Axial flow fans
    • FMECHANICAL ENGINEERING; LIGHTING; HEATING; WEAPONS; BLASTING
    • F04POSITIVE - DISPLACEMENT MACHINES FOR LIQUIDS; PUMPS FOR LIQUIDS OR ELASTIC FLUIDS
    • F04DNON-POSITIVE-DISPLACEMENT PUMPS
    • F04D25/00Pumping installations or systems
    • F04D25/02Units comprising pumps and their driving means
    • F04D25/08Units comprising pumps and their driving means the working fluid being air, e.g. for ventilation
    • FMECHANICAL ENGINEERING; LIGHTING; HEATING; WEAPONS; BLASTING
    • F04POSITIVE - DISPLACEMENT MACHINES FOR LIQUIDS; PUMPS FOR LIQUIDS OR ELASTIC FLUIDS
    • F04DNON-POSITIVE-DISPLACEMENT PUMPS
    • F04D29/00Details, component parts, or accessories
    • F04D29/26Rotors specially for elastic fluids
    • F04D29/32Rotors specially for elastic fluids for axial flow pumps
    • F04D29/325Rotors specially for elastic fluids for axial flow pumps for axial flow fans
    • FMECHANICAL ENGINEERING; LIGHTING; HEATING; WEAPONS; BLASTING
    • F04POSITIVE - DISPLACEMENT MACHINES FOR LIQUIDS; PUMPS FOR LIQUIDS OR ELASTIC FLUIDS
    • F04DNON-POSITIVE-DISPLACEMENT PUMPS
    • F04D29/00Details, component parts, or accessories
    • F04D29/40Casings; Connections of working fluid
    • F04D29/52Casings; Connections of working fluid for axial pumps
    • F04D29/54Fluid-guiding means, e.g. diffusers
    • F04D29/541Specially adapted for elastic fluid pumps
    • F04D29/545Ducts
    • F04D29/547Ducts having a special shape in order to influence fluid flow
    • FMECHANICAL ENGINEERING; LIGHTING; HEATING; WEAPONS; BLASTING
    • F04POSITIVE - DISPLACEMENT MACHINES FOR LIQUIDS; PUMPS FOR LIQUIDS OR ELASTIC FLUIDS
    • F04DNON-POSITIVE-DISPLACEMENT PUMPS
    • F04D29/00Details, component parts, or accessories
    • F04D29/70Suction grids; Strainers; Dust separation; Cleaning
    • F04D29/701Suction grids; Strainers; Dust separation; Cleaning especially adapted for elastic fluid pumps
    • F04D29/703Suction grids; Strainers; Dust separation; Cleaning especially adapted for elastic fluid pumps specially for fans, e.g. fan guards
    • FMECHANICAL ENGINEERING; LIGHTING; HEATING; WEAPONS; BLASTING
    • F05INDEXING SCHEMES RELATING TO ENGINES OR PUMPS IN VARIOUS SUBCLASSES OF CLASSES F01-F04
    • F05DINDEXING SCHEME FOR ASPECTS RELATING TO NON-POSITIVE-DISPLACEMENT MACHINES OR ENGINES, GAS-TURBINES OR JET-PROPULSION PLANTS
    • F05D2250/00Geometry
    • F05D2250/70Shape
    • F05D2250/73Shape asymmetric

Definitions

  • the present invention relates to a blower and an outdoor unit.
  • the axial fan has a boss portion at the center of rotation and a plurality of blades formed so as to extend radially outward from the outer peripheral surface of the boss portion.
  • the blown-out flow that has passed through each blade and the stagnant flow in the region immediately downstream of the boss part are mixed to form a turbulent flow that includes backflow and vortices.
  • Such turbulent flows cause energy loss and increased noise.
  • Patent Document 1 As a blower equipped with a conventional axial fan, in Patent Document 1, a cone-shaped guide whose diameter increases toward the downstream is provided on the downstream side of the axial fan so that the blow-off flow is separated. Suppressing structures are disclosed.
  • Patent Document 2 discloses a configuration in which a guide having an enlarged diameter is attached to the downstream side of the impeller and a groove is provided on the slope of the guide.
  • the present invention has been made in view of the above, and an object of the present invention is to provide a blower and an outdoor unit that can reduce the turbulence of the flow on the downstream side of the boss part over the entire rotational circumferential direction of the fan. To do.
  • the present invention includes a casing having a suction portion and a blowout portion, a fan rotatably provided in the casing, and a fan guard provided in the blowout portion of the casing.
  • the fan has a boss portion and a plurality of wings provided on the outer peripheral surface of the boss portion, and the fan guard has a cylindrical shape protruding toward the fan side.
  • a guide portion having an outer shape is provided, and the center of the tip shape by the outer shape line of the tip portion of the guide portion coincides with the rotation axis of the boss portion, and the root by the outer shape line of the root portion of the guide portion. The center of the shape is shifted with respect to the rotation axis of the boss portion.
  • the one side in the radial direction across the rotation axis of the boss portion has a larger ventilation resistance than the other side, and the one on the one side where the ventilation resistance is relatively large.
  • the distance between the outer shape line of the root portion of the guide portion and the rotation axis of the boss portion is the distance between the outer shape line of the root portion of the guide portion and the rotation axis of the boss portion on the other side where the ventilation resistance is relatively small. Bigger than.
  • the fan guard has a plurality of rib portions arranged in a lattice pattern, and the air flow resistance is greater than the interval between the plurality of rib portions on the one side where the air flow resistance is relatively large.
  • the plurality of rib portions on the one side are relatively larger than the interval between the plurality of rib portions on the other side, which is relatively small, or the air resistance is relatively large.
  • the plurality of rib portions on the other small side are configured to be greatly inclined with respect to the rotation axis of the boss portion.
  • the guide part is a cylindrical body that extends along the rotation axis of the boss part from the root part to the tip part, and through which an airflow can pass.
  • the present invention that achieves the same object also provides an outdoor unit in which the heat exchanger is further arranged in the casing in the above-described blower.
  • a blower chamber in which the fan is disposed is provided on one of the left and right sides, and a machine chamber is provided on the other side of the left and right.
  • the distance between the rotation axis of the guide chamber and the inner wall surface of the blower chamber is the smallest, the distance between the outline line of the root portion of the guide portion and the rotation axis of the boss portion is maximized.
  • the center of the root shape by the outline line of the root portion of the guide portion is shifted in two directions of the first direction and the second direction with respect to the rotation axis of the boss portion,
  • One direction is directed radially outward from the rotation axis of the boss portion at a circumferential position where the distance between the rotation axis of the boss portion and the inner wall surface of the blower chamber is the smallest when viewed from the virtual entrance surface of the fan.
  • the second direction is a direction orthogonal to the first direction, and the distance between the rotation axis of the boss portion and the inner wall surface of the blower chamber is the smallest relative to the circumferential position. You may make it the direction which becomes the rotation direction front side of a fan.
  • the casing has a bell mouth portion at an upper portion and a body portion at a lower portion, the fan is disposed in the bell mouth portion, and the fan is disposed at an upper portion of the bell mouth portion.
  • a guard is provided, the heat exchanger is disposed on one side surface facing the body part, and an electrical component box is disposed on the other side surface facing each other, and the rotation axis of the boss part At the circumferential position where the horizontal distance between the electrical component box and the electrical component box is the smallest, the distance between the outer shape line of the base portion of the guide portion and the rotation axis of the boss portion is maximized.
  • the center of the root shape by the outline line of the root portion of the guide portion is shifted in two directions of the first direction and the second direction with respect to the rotation axis of the boss portion,
  • One direction is a direction from the rotation axis of the boss portion toward the radially outer side from the rotation axis of the boss portion at a circumferential position where the horizontal distance between the rotation axis of the boss portion and the electrical component box is the smallest.
  • the second direction is a direction orthogonal to the first direction, and the rotation of the fan is based on a circumferential position where the horizontal distance between the rotation axis of the boss part and the electrical component box is the smallest.
  • the direction may be the front side.
  • FIG. 2 It is a top view which shows typically the structure of the outdoor unit which concerns on Embodiment 1 of this invention. It is a figure which shows the state which looked at the fan guard from the fan side along the rotating shaft line of a fan regarding this Embodiment 1.
  • FIG. It is a figure which shows the difference in the way of the air flow in a fan seen from the relationship between a static pressure difference and an air volume. It is a figure of the same aspect as FIG. 2 regarding Embodiment 2 of this invention. It is a figure of the same aspect as FIG. 2 regarding Embodiment 3 of this invention. It is a figure of the same aspect as FIG. 1 regarding Embodiment 4 of this invention. It is a figure of the same aspect as FIG. 2 regarding Embodiment 5 of this invention.
  • FIG. 8 is a plan view of a plurality of rib portions of the fan guard taken along line VIII-VIII in FIG. 7. It is a figure explaining the shift
  • FIG. 1 is a plan view schematically showing the configuration of the outdoor unit according to Embodiment 1 of the present invention.
  • the outdoor unit 1 is an example of a so-called packaged air conditioner outdoor unit, and includes a casing 7 having a suction portion 3 and a blowing portion 5, a fan 9 such as an axial-flow propeller fan that is rotatably provided in the casing 7, and a casing 7. And at least a fan guard 11 provided in the blowing portion 5.
  • a blower chamber 13 in which a fan 9 is disposed is provided on one of the left and right sides (in the drawing, the right side in FIG. 1), and a machine chamber 15 is provided on the left and right other side (the left side in FIG. 1). Yes.
  • the blower chamber 13 and the machine chamber 15 are partitioned by a partition wall 17.
  • the suction portion 3 is formed on the back surface 7 a and the side surface 7 b of the casing 7 in the air blowing chamber 13, and the blowout portion 5 is formed on the front surface 7 c of the casing 7 in the air blowing chamber 13.
  • a heat exchanger 19 In the blower chamber 13, a heat exchanger 19, a fan 9, and a bell mouth 21 are accommodated.
  • the heat exchanger 19 extends in an L shape in plan view along the suction part 3 on the back surface 7 a and the side surface 7 b of the casing 7.
  • the fan 9 is rotatably provided downstream of the heat exchanger 19 and rotates by a driving force of a fan motor as is well known.
  • the bell mouth 21 is provided outside the fan 9 in the radial direction so as to surround the fan 9.
  • the fan 9 has a boss portion 23 and a plurality of wings 25.
  • the boss portion 23 is a cylindrical portion located in the rotation center portion (the vicinity thereof including the rotation axis RA).
  • Each of the plurality of blades 25 is formed so as to extend radially outward from the outer peripheral surface of the boss portion 23.
  • the machine room 15 is configured in a known manner.
  • the machine room 15 stores equipment related to control of refrigerant flow in the refrigeration circuit including the heat exchanger 19 and control of driving of the fan 9. ing.
  • the fan guard 11 is provided with a guide portion 31 having a cylindrical outer shape that protrudes toward the fan 9 side. Based on FIG.1 and FIG.2, the detail of the fan guard 11 and the guide part 31 is demonstrated.
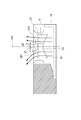
  • FIG. 2 is a diagram showing a state in which the fan guard is viewed from the fan side along the rotation axis RA of the fan (boss portion) in the first embodiment.
  • the fan guard 11 has a plurality of rib portions arranged in a lattice pattern.
  • a plurality of main rib portions 33 extending in the up-down direction and a plurality of sub-rib portions 35 extending in the left-right direction intersect substantially at right angles.
  • the plurality of main rib portions 33 are mainly intended to prevent a situation in which a hand or a foreign object comes into contact with the fan 9, and the plurality of sub rib portions 35 suppress distortion or deformation of the main rib portion 33. Is intended.
  • the guide portion 31 extends along the rotation axis RA of the fan, and as an example, in the first embodiment, is a solid portion having a truncated cone shape.
  • the center (centroid) CT of the tip shape 43 by the outer shape line 41 of the protruding tip portion (end portion close to the boss portion 23) of the guide portion 31 coincides with the rotation axis RA of the boss portion 23.
  • the tip shape 43 by the outer shape line 41 of the tip portion of the guide portion 31 is a circle, and the shape, area, and center of the circle of the tip shape 43 are the projected end face of the boss portion 23. It matches the shape, area and center of the circle.
  • the center (centroid) BT of the root shape 53 by the outer shape line 51 of the base portion of the protrusion of the guide portion 31 (the base virtual surface of the protrusion connected to the fan guard 11) is described later with respect to the rotation axis RA of the boss portion 23.
  • the direction is shifted.
  • the distance between the outer contour line 51 of the projecting root portion of the guide portion 31 (the projecting root virtual surface connected to the fan guard 11) and the rotation axis RA of the boss portion 23 the left side of FIG. The distance on the one side where the resistance is relatively large is larger than the distance on the right side (one side where the ventilation resistance described later is relatively small).
  • the relationship between the root shape 53 and the tip shape 43 is such that the entire outer shape line 51 of the root portion of the guide portion 31 is the same as that of the tip portion of the guide portion 31 as viewed in the direction of the rotation axis RA as shown in FIG.
  • the outer shape line 41 is located on the outer side in the radial direction, or a part of the outer shape line 51 overlaps with the outer shape line 41 and the remaining portion of the outer shape line 51 is located on the outer side in the radial direction with respect to the outer shape line 41 (FIG. 2). Shows the former embodiment).
  • the peripheral side surface 61 of the guide part 31 extending between the outer shape line 41 at the distal end portion of the guide portion 31 and the outer shape line 51 at the protruding base portion of the guide portion 31 is close to the distal end portion of the guide portion 31. It is inclined so as to approach the rotation axis RA (in other words, tapering from the root shape 53 toward the tip shape 43), and the inclination of the peripheral side surface 61 is not constant over the circumferential direction, but depends on the circumferential position. Is different.
  • the distance between the outer contour line 51 of the base portion of the guide portion 31 and the rotation axis RA of the boss portion 23 is larger on the left side of the drawing in FIG. 2 than on the right side of the drawing. I will explain that.
  • the distance between the outer contour line 51 of the base portion of the guide portion 31 and the rotation axis RA of the boss portion 23 is the left side of the page of FIG. Is larger than the distance on the right side of the page. More specifically, at the circumferential position where the distance between the rotation axis RA of the boss portion 23 and the partition wall 17 which is the inner wall surface of the blower chamber 13 is the smallest in the virtual fan entrance surface EP1, the root portion of the guide portion 31 is provided.
  • the distance between the outer shape line 51 and the rotation axis RA of the boss portion 23 is preferably the maximum value.
  • FIG. 3 is a diagram illustrating the difference in the air flow in the fan, as seen from the relationship between the static pressure difference and the air volume.
  • the flow having a relatively small ventilation resistance is a flow having a large air volume and a small static pressure difference, and the flow flows relatively straight as illustrated as EX2 in FIG.
  • the flow having a relatively large ventilation resistance is a flow having a small air volume and a large static pressure difference. As illustrated as EX1 in FIG. 3, the flow flows relatively radially outward at the fan outlet.
  • a turbulent flow 63 including a backflow and a vortex is generated immediately downstream of the boss portion 23.
  • the turbulence is disturbed in a relatively wide range.
  • Stream 63 is generated.
  • the flow on the opposite side (right side of the drawing) from the rotation axis RA to the machine room 15 is a flow of EX2 having a relatively small ventilation resistance, that is, a flow that travels relatively straight at the outlet of the fan 9. It becomes.
  • the guide part 31 has a distance g1 between the root outline 51 and the rotational axis RA on one side where the ventilation resistance is relatively large. It is made larger than the distance g2 between the outer shape line 51 at the base portion of the guide portion and the rotation axis RA.
  • the peripheral side surface 61 of the guide part 31 follows the mainstream which blown off from the fan over the whole rotation peripheral direction of a fan, and obstruct
  • the disturbance of the flow on the downstream side of the boss portion can be reduced.
  • the fan is blown out from the fan by shifting the center of the root shape of the outer shape line of the root portion of the guide portion with respect to the rotation axis of the boss portion. Even when the flow is not uniform in the circumferential direction, it is possible to reduce the turbulence of the flow on the downstream side of the boss portion over the entire rotation circumferential direction of the fan.
  • the ventilation resistance differs between the machine room side and the opposite side of the machine room across the rotation axis of the boss portion, but in the first embodiment, the machine has a relatively large ventilation resistance.
  • the distance between the outline line of the base part of the guide part on the chamber side and the rotation axis line of the boss part is such that the outline line of the root part of the guide part and the rotation axis line of the boss part on the opposite side of the machine room where the ventilation resistance is relatively small.
  • FIG. 4 is a diagram of the same mode as FIG.
  • the second embodiment is the same as the first embodiment described above except for the parts described below.
  • the guide portion is not limited to the outer shape line of the tip portion and the root portion being circular, and as an example of the second embodiment, the outer shape line of the tip portion and the root portion is a polygon.
  • the center (centroid) CT of the tip shape 143 by the outer shape line 141 of the guide portion 131 coincides with the rotation axis RA of the boss portion 23.
  • the center (centroid) BT of the root shape 153 by the outer shape line 151 of the guide portion 131 is deviated from the rotation axis RA of the boss portion 23.
  • the distance between the outer shape line 151 of the protruding base portion of the guide portion 131 and the rotation axis RA of the boss portion 23 is the left side of the paper in FIG. 4 (machine room side, that is, one side where the ventilation resistance is relatively large). This distance is larger than the distance on the right side of the drawing (the opposite side to the machine room, that is, one side where the airflow resistance is relatively small).
  • the turbulence of the flow on the downstream side of the boss portion can be reduced over the entire rotation circumferential direction of the fan.
  • FIG. 5 is a diagram of the same mode as FIG.
  • the third embodiment is the same as the first or second embodiment described above except for the parts described below.
  • the guide part may have a perfect circle or a regular polygon in both of the outer shape lines of the tip part and the root part.
  • FIG. 5 shows an example in which both are perfect circles.
  • the guide portion 231 of the third embodiment is a truncated cone, and as shown in FIG. 5, the outer shape line 241 at the tip is a perfect circle having a center (centroid) CT,
  • the outline line 251 is a perfect circle having a center (centroid) BT.
  • the center (centroid) CT of the tip shape 243 by the outer shape line 241 of the guide portion 231 coincides with the rotation axis RA of the boss portion 23.
  • the center (centroid) BT of the root shape 253 by the outer shape line 251 of the guide portion 231 is shifted with respect to the rotation axis RA of the boss portion 23.
  • the distance between the outline line 251 at the base of the protrusion of the guide portion 231 and the rotational axis RA of the boss portion 23 is the left side of the paper in FIG. 5 (the machine room side, that is, one side where the ventilation resistance is relatively large). This distance is larger than the distance on the right side of the drawing (the opposite side to the machine room, that is, one side where the airflow resistance is relatively small).
  • FIG. 6 is a diagram of the same mode as FIG. 1 regarding the fourth embodiment.
  • the fourth embodiment is the same as any one of the first to third embodiments described above or a combination thereof, except for the parts described below.
  • the guide portion is not limited to having a surface in which the tip portion and the root portion are closed. That is, this Embodiment 4 shows the example in which the front-end
  • the guide portion 331 is a cylindrical body that extends along the rotational axis RA of the boss portion 23 from the root portion to the tip portion, and through which airflow can pass.
  • An upstream edge portion of the peripheral side surface 361 of the guide portion 331 serves as the outer shape line of the tip portion, and a downstream edge portion of the peripheral side surface 361 serves as the outer shape line of the root portion.
  • the outer shape line of the tip portion and the outer shape line of the base portion itself form a circle or a polygon, and the inside of each of the outer shape line of the tip portion and the outer shape line of the root portion is open.
  • the outer shape line of the tip portion and the outer shape line of the root portion are the same as in any of the first to third embodiments described above, and the center of the tip shape by the outer shape line of the tip portion (see FIG.
  • the center (CT) coincides with the rotational axis RA of the boss portion 23, and the center (centroid) BT of the root shape by the outline line of the root portion is deviated from the rotational axis RA of the boss portion 23.
  • the distance between the outline line of the root portion and the rotation axis RA of the boss portion is the distance on the left side of the paper surface in FIG. 6 (the machine room side, that is, one side where the ventilation resistance is relatively large). It is larger than the distance on the right side (the side opposite to the machine room, that is, one side where the ventilation resistance is relatively small).
  • the turbulence of the flow on the downstream side of the boss portion can be reduced over the entire rotation circumferential direction of the fan.
  • the guide portion is a hollow cylindrical body having an opening at the root portion and the tip portion, a reverse flow is generated for a flow having a relatively large ventilation resistance and extending radially outward. Instead of suppressing the generation of the air itself, it is possible to prevent the back flow inside the guide portion from interfering with the main flow outside the guide portion, and the guide portion for a near straight flow with relatively low ventilation resistance. The flow to the inner side is also allowed, and the peripheral side surface of the guide portion can be prevented from obstructing the flow.
  • FIG. 7 is a diagram of the same mode as FIG.
  • FIG. 8 is a plan view of a plurality of rib portions of the fan guard taken along line VIII-VIII in FIG.
  • the fifth embodiment is the same as any one of the first to fourth embodiments described above or a combination thereof except for the parts described below. As an example of these, FIG. The case where it applies to the fan guard of Embodiment 1 is shown.
  • the fan guard 411 has a plurality of main rib portions 433 and a plurality of sub rib portions 435 arranged in a lattice pattern.
  • the plurality of main rib portions 433 extending in the up-down direction and the plurality of sub rib portions 435 extending in the left-right direction intersect with each other at substantially right angles.
  • the plurality of main rib portions 433 are mainly intended to prevent a situation in which a hand or a foreign object comes into contact with the fan 9, and the plurality of sub rib portions 435 suppress distortion or deformation of the main rib portion 433. Is intended.
  • the left-right direction interval LD1 of the main rib portion 433 on the left and right side, that is, the machine room side, where the ventilation resistance is relatively large is the other side, that is, the machine room, where the ventilation resistance is relatively small. It is larger than the left-right direction interval LD2 of the main rib portion 433 on the opposite side.
  • the main rib portion 433 on the left and right sides, that is, the machine room side, where the draft resistance is relatively large is larger than the main rib portion 433 on the other side, ie, the opposite side of the machine room, where the wind resistance is relatively small. It is greatly inclined with respect to the rotational axis RA of the fan (the downstream side is inclined in a direction away from the rotational axis RA of the fan).
  • the turbulence of the flow on the downstream side of the boss portion can be reduced over the entire rotation circumferential direction of the fan. Furthermore, in this Embodiment 5, since the space
  • the relationship between the left and right intervals of the main rib portion and the relationship between the left and right directions (tilts) are not limited to the fact that both are necessarily performed, but only the relationship between the left and right intervals of the main rib portion. Can be carried out as shown in FIG. 8, or only the relationship between the left and right orientations (inclinations) of the main rib portion can be carried out as shown in FIG.
  • FIG. 9 is a diagram for explaining a shift mode of the root shape of the guide portion with respect to the rotation axis of the fan in the sixth embodiment.
  • the sixth embodiment is the same as any one of the first to fifth embodiments described above or a combination thereof, except for the parts described below.
  • the center BT of the root shape 553 of the guide portion 531 is shifted in two directions in consideration of not only the bias resistance but also the rotation direction of the fan.
  • the center CT of the tip shape 543 by the outline line 541 of the guide portion 531 coincides with the rotation axis RA of the boss portion 23.
  • the center BT of the root shape 553 by the outer shape line 551 of the guide portion 531 is shifted in two directions, the first direction and the second direction, with respect to the rotation axis RA of the boss portion 23.
  • the first direction is radially outward from the rotational axis RA of the boss portion 23 at a circumferential position where the distance between the rotational axis RA of the boss portion 23 and the inner wall surface of the blower chamber 13 is the smallest when viewed from the virtual fan entrance surface EP1.
  • the second direction is a direction orthogonal to the first direction X and is based on a circumferential position where the distance between the rotation axis RA of the boss portion 23 and the inner wall surface of the blower chamber 13 is the smallest.
  • the direction Y is the front side of the rotation direction RD of the fan 9.
  • the outer shape line 551 at the base portion of the guide portion 531 is a perfect circle with the center BT shifted in two directions in this way, and the outer shape line 541 at the tip portion is a true circle with a center CT coinciding with the rotation axis RA of the fan. It is a circle.
  • the sixth embodiment as in the first embodiment, it is possible to reduce the turbulence of the flow on the downstream side of the boss portion over the entire rotation circumferential direction of the fan. Furthermore, in the sixth embodiment, there is an advantage that the action of the guide portion can be exhibited in consideration of the influence of the rotation of the fan that is received by the flow spreading outward in the radial direction.
  • FIG. 10 is a perspective view showing an appearance of an outdoor unit of an air conditioner according to Embodiment 7 of the present invention.
  • FIG. 11 is a diagram showing an internal configuration of the outdoor unit of the air conditioner as viewed along line XX in FIG.
  • the outdoor unit 601 is an example of a so-called multi-air conditioner outdoor unit for buildings.
  • the seventh embodiment is the same as any one of the first to sixth embodiments described above or a combination thereof, except for the parts described below.
  • the casing 607 of the outdoor unit 601 has a bell mouth portion 663 at the top and a body portion 665 at the bottom.
  • a fan 9 is disposed in the bell mouth portion 663, and a fan guard 611 is provided on the top of the bell mouth portion 663. Note that the rib configuration of the fan guard 611 is the same as that of any of the above-described embodiments.
  • the body portion 665 is formed in a rectangular shape in plan view, and has four side surfaces including a panel on one surface and a mesh plate on three surfaces.
  • a heat exchanger 619 configured in a generally U shape in plan view is disposed along the side surfaces of the three mesh plates.
  • An electric component box 667 is provided in the body portion 665 so as to face the heat exchanger 619.
  • the electrical component box 667 is disposed along a panel that is a side surface different from the side surface along which the heat exchanger 619 is aligned.
  • the electrical component box 667 contains a board that drives a compressor and a fan motor.
  • the outdoor unit 601 air is sucked into the body portion 665 from each of the three side surfaces (suction portions) of the body portion 665 as indicated by arrows 669, and heat is exchanged on each of the three heat exchange function surfaces. From the fan guard 611 (blowing part) provided on the upper surface of the bell mouth part 663, the ink is discharged as indicated by an arrow 671 (top flow type).
  • the fan guard 611 is provided with a guide portion 631 having a cylindrical outer shape protruding toward the fan 9 side.
  • the guide part 631 is formed in the same manner as any of the guide parts in the above-described embodiments. Also in the guide part 631, the center (centroid) of the tip shape by the outer shape line of the tip part coincides with the rotation axis RA of the boss part 23.
  • the center (centroid) of the root shape by the outline line of the root portion of the guide portion 631 is shifted with respect to the rotation axis RA of the boss portion 23. Further, as for the distance between the outline line at the base portion of the guide portion 631 and the rotation axis RA of the boss portion 23, the distance g1 on the left side in FIG. 2 is larger than the distance g2 on the right side in FIG.
  • the space on the electric component box 667 side with respect to the rotation axis is the space on the heat exchanger 619 side with respect to the rotation axis (the space on the opposite side to the electric component box side). ) Is often narrower. That is, as shown in FIG. 11, the horizontal distance L1 between the rotation axis RA and the electrical component box 667 is smaller than the horizontal distance L2 between the rotation axis RA and the heat exchanger 619. For this reason, in FIG.
  • the distance between the outer contour line of the base portion of the guide portion 631 and the rotation axis RA of the boss portion 23 is greater on the left side in FIG. 11 than on the right side in FIG. It is also bigger. More specifically, at the circumferential position where the horizontal distance L1 between the rotation axis RA of the boss portion 23 and the electric component box 667 is the smallest, the distance between the outline line of the root portion of the guide portion 631 and the rotation axis RA of the boss portion 23. Is preferably the maximum value.
  • the seventh embodiment in the building multi-air conditioner outdoor unit, as in the first embodiment, it is possible to reduce the turbulence of the flow on the downstream side of the boss portion over the entire rotation circumferential direction of the fan. .
  • Embodiment 8 FIG. Next, an eighth embodiment of the present invention will be described. While the sixth embodiment is a packaged air conditioner outdoor unit in which the center of the root shape of the guide portion is shifted in two directions, the eighth embodiment is the same as the implementation of the multi air conditioner outdoor unit for buildings described above. In the same manner as the sixth aspect, the center of the root shape of the guide portion is shifted in two directions in consideration of not only the bias resistance but also the rotation direction of the fan.
  • the details are the same as in the description of the sixth embodiment and FIG. 9 (an aspect in which FIG. 9 is interpreted as a plan view), but also in the eighth embodiment, the root of the guide portion based on the outer shape line.
  • the center of the shape is shifted in two directions, the first direction and the second direction, with respect to the rotation axis of the boss portion.
  • the first direction is a direction from the rotation axis of the boss portion toward the radially outer side at the circumferential position where the horizontal distance between the rotation axis of the boss portion and the electric component box is the smallest.
  • the second direction is a direction orthogonal to the first direction, and is a direction that is on the front side in the rotational direction of the fan with reference to the circumferential position where the horizontal distance between the rotation axis of the boss portion and the electrical component box is the smallest. is there.
  • the eighth embodiment in the building multi-air conditioner outdoor unit, as in the sixth embodiment, it is possible to reduce the disturbance of the flow on the downstream side of the boss portion over the entire rotation circumferential direction of the fan. In addition, there is an advantage that the effect of the guide portion can be exhibited in consideration of the influence of the rotation of the fan that is received by the flow spreading radially outward.
  • the plurality of embodiments described above are examples in which the blower of the present invention is implemented as an outdoor unit of an air conditioner, and the present invention is not limited to the outdoor unit. . Therefore, the mode shown in FIG. 1 can be widely applied to a configuration in which one side of the rotation axis RA of the fan is larger in ventilation resistance than the other side, based on layout conditions other than the machine room.
  • the embodiment shown in (1) can be widely applied to a configuration in which ventilation resistance is larger on one side of the rotation axis RA of the fan than on the other side due to layout conditions other than the electrical component box and the heat exchanger.
  • 1,601 outdoor unit 3 suction section, 5 blowing section, 7,607 casing, 9 fan, 11,411,611 fan guard, 13 blower chamber, 19,619 heat exchanger, 21 bell mouth, 23 boss section, 25 Wings, 31, 131, 231, 331, 531 Guide part, 33, 433 Main rib part, 35, 435 Sub rib part, 41, 141, 241 Tip line, 43, 143, 243 Tip shape, 51, 151 , 251 root outline line, 53,153,253 root shape, 61,361 peripheral side, 663 bell mouth part, 665 body part, 667 electrical component box.

Landscapes

  • Engineering & Computer Science (AREA)
  • Mechanical Engineering (AREA)
  • General Engineering & Computer Science (AREA)
  • Physics & Mathematics (AREA)
  • Fluid Mechanics (AREA)
  • Structures Of Non-Positive Displacement Pumps (AREA)
  • Other Air-Conditioning Systems (AREA)

Abstract

 送風機は、吸込み部3及び吹出し部5を有するケーシング7と、ファン9と、ファンガード11とを備え、ファンは、ボス部23と、複数の翼25とを有し、ファンガードには、ファン側に向けて突出する筒状外形を有するガイド部31が設けられ、ガイド部の先端部の外形ライン41による先端形状43の中心は、ボス部の回転軸線RAと一致し、ガイド部の根元部の外形ライン51による根元形状53の中心は、ボス部の回転軸線に対してずれている。

Description

送風機及び室外機
 本発明は、送風機及び室外機に関するものである。
 軸流ファンは、回転中心部分にあるボス部と、そのボス部の外周面から径方向外側に延びるように形成された複数の翼とを有している。軸流ファンにおけるボス部の下流側では、各翼を通過した吹出し流と、ボス部のすぐ下流の領域の淀んだ流れとが混合して、逆流や渦が含まれる乱れた流れになっており、そうした乱れた流れはエネルギー損失や騒音増加の原因になる。
 ここで、従来の軸流ファンを備えた送風装置として、特許文献1には、軸流ファンの下流側に、下流に向かって径が拡大するコーン状のガイドを設けて、吹出し流のはく離を抑制する構造が開示されている。
 また、特許文献2には、羽根車の下流側に径が拡大するガイドを取付け、ガイドの斜面に溝を付けた構成が開示されている。
実開昭57-75199号公報 特開2001-140797号公報
 前述したように、軸流ファンにおけるボス部の下流側では、エネルギー損失や騒音増加の原因になる乱れた流れが生じており、こうした流れに対処し、エネルギー損失や騒音増加を抑制することが望まれる。しかしながら、本発明者等の検討としたところ、こうした乱れた流れは、ファンが一回転する間の周方向位置の状態の差異に依存して、複雑な様子を示す。また、前述した特許文献1及び2に開示されたガイドは何れも、単純に整流や剥離防止のためのものであり、ファンが一回転する間の周方向位置の状態の差異に対処できる構成ではない。
 本発明は、上記に鑑みてなされたものであり、ファンの回転周方向の全体にわたってボス部の下流側での流れの乱れを低減することができる、送風機及び室外機を提供することを目的とする。
 上述した目的を達成するため、本発明は、吸込み部及び吹出し部を有するケーシングと、前記ケーシング内に回転可能に設けられたファンと、前記ケーシングの前記吹出し部に設けられたファンガードとを備えた送風機であって、前記ファンは、ボス部と、該ボス部の外周面に設けられた複数の翼とを有しており、前記ファンガードには、該ファン側に向けて突出する筒状外形を有するガイド部が設けられており、前記ガイド部の先端部の外形ラインによる先端形状の中心は、前記ボス部の回転軸線と一致しており、前記ガイド部の根元部の外形ラインによる根元形状の中心は、前記ボス部の回転軸線に対してずれている。
 好適には、前記ファンの入口側においては、前記ボス部の回転軸線を挟んで径方向の一方側が他方側よりも通風抵抗が大きくなっており、前記通風抵抗が相対的に大きい一方側における前記ガイド部の根元部の外形ラインと前記ボス部の回転軸線との距離は、前記通風抵抗が相対的に小さい他方側における前記ガイド部の根元部の外形ラインと前記ボス部の回転軸線との距離よりも大きい。
 好適には、前記ファンガードは、格子状に並ぶ複数のリブ部を有しており、前記通風抵抗が相対的に大きい前記一方側における前記複数のリブ部の間隔の方が、前記通風抵抗が相対的に小さい前記他方側における前記複数のリブ部の間隔よりも大きいか、あるいは、前記通風抵抗が相対的に大きい前記一方側における前記複数のリブ部の方が、前記通風抵抗が相対的に小さい前記他方側における前記複数のリブ部よりも、前記ボス部の回転軸線に対して大きく傾斜している、ように構成されている。
 好適には、前記ガイド部は、前記根元部から前記先端部まで前記ボス部の回転軸線に沿って延び、内部を気流が通過可能な筒状体である。
 同目的を達成する本発明は、上述した送風機において、前記ケーシング内に熱交換器がさらに配置された、室外機も提供する。
 好適には、前記ケーシング内には、左右一方に、前記ファンが配置された送風室が設けられ、左右他方に、機械室が設けられており、前記ファンの入口仮想面でみて、前記ボス部の回転軸線と前記送風室の内壁面との距離が最も小さい周方向位置において、前記ガイド部の根元部の外形ラインと前記ボス部の回転軸線との距離が、最大となる。
 また、その場合、前記ガイド部の根元部の外形ラインによる根元形状の中心は、前記ボス部の回転軸線に対して、第1方向と第2方向との二つの方向にずれており、前記第1方向は、前記ファンの入口仮想面でみて、前記ボス部の回転軸線と前記送風室の内壁面との距離が最も小さい周方向位置において、前記ボス部の回転軸線から径方向外側へと向かう方向であり、前記第2方向は、前記第1方向と直交する方向であって、前記ボス部の回転軸線と前記送風室の内壁面との距離が最も小さい周方向位置を基準にみて、前記ファンの回転方向前方側となる方向であるようにしてもよい。
 あるいは、好適には、前記ケーシングは、ベルマウス部を上部に有すると共に、ボディ部を下部に有し、前記ベルマウス部内には、前記ファンが配置され、該ベルマウス部の上部には前記ファンガードが設けられており、前記ボディ部内には、対向する一方の側面に、前記熱交換器が配置され、対向する他方の側面に、電気部品ボックスが配置されており、前記ボス部の回転軸線と前記電気部品ボックスとの水平距離が最も小さい周方向位置において、前記ガイド部の根元部の外形ラインと前記ボス部の回転軸線との距離が、最大となる。
 また、その場合、前記ガイド部の根元部の外形ラインによる根元形状の中心は、前記ボス部の回転軸線に対して、第1方向と第2方向との二つの方向にずれており、前記第1方向は、前記ボス部の回転軸線から、前記ボス部の回転軸線と前記電気部品ボックスとの水平距離が最も小さい周方向位置において、前記ボス部の回転軸線から径方向外側へと向かう方向であり、前記第2方向は、前記第1方向と直交する方向であって、前記ボス部の回転軸線と前記電気部品ボックスとの水平距離が最も小さい周方向位置を基準にみて、前記ファンの回転方向前方側となる方向であるようにしてもよい。
 本発明によれば、ファンの回転周方向の全体にわたってボス部の下流側での流れの乱れを低減することができる。
本発明の実施の形態1に係る室外機の構成を模式的に示す平面図である。 本実施の形態1に関し、ファンガードを、ファンの回転軸線に沿ってファン側から見た状態を示す図である。 静圧差と風量との関係でみた、ファンにおける空気の流れ方の違いを示す図である。 本発明の実施の形態2に関する、図2と同態様の図である。 本発明の実施の形態3に関する、図2と同態様の図である。 本発明の実施の形態4に関する、図1と同態様の図である。 本発明の実施の形態5に関する、図2と同態様の図である。 ファンガードの複数のリブ部を、図7のVIII-VIII線に沿って平面的にみた図である。 本発明の実施の形態6に関し、ガイド部の根元形状の、ファンの回転軸線に対するずれ態様を説明する図である。 本発明の実施の形態7に係る空気調和機の室外機の外観を示す斜視図である。 図10のX-X線に沿って見た場合の空気調和機の室外機の内部構成を示す図である。
 以下、本発明の実施の形態について添付図面に基づいて説明する。なお、図中、同一符号は同一又は対応部分を示すものとする。
 実施の形態1.
 図1は、本発明の実施の形態1に係る室外機の構成を模式的に示す平面図である。室外機1は、いわゆるパッケージエアコン室外機の一例であり、吸込み部3及び吹出し部5を有するケーシング7と、ケーシング7内に回転可能に設けられた軸流プロペラファン等のファン9と、ケーシング7の吹出し部5に設けられたファンガード11とを少なくとも備えている。
 ケーシング7内には、左右一方(図示では図1の紙面右側)に、ファン9が配置された送風室13が設けられ、左右他方(図1の紙面左側)に、機械室15が設けられている。送風室13と機械室15との間は、仕切壁17によって仕切られている。
 吸込み部3は、送風室13におけるケーシング7の背面7a及び側面7bに形成されており、吹出し部5は、送風室13におけるケーシング7の正面7cに形成されている。
 送風室13内には、熱交換器19、ファン9及びベルマウス21が収容されている。熱交換器19は、ケーシング7の背面7a及び側面7bの吸込み部3に沿って、平面視、L字状に延びている。ファン9は、熱交換器19の下流に回転可能に設けられており、周知のようにファンモータの駆動力によって回転する。さらに、ベルマウス21は、ファン9を囲むように、ファン9の径方向外側に設けられている。
 ファン9は、ボス部23と、複数の翼25とを有している。ボス部23は、回転中心部分(回転軸線RAを含むその近傍)に位置した円柱状の部分である。複数の翼25はそれぞれ、ボス部23の外周面から径方向外側に延びるように形成されている。
 このような構成により、ファン9が回転すると、吸込み部3より吸込まれた空気が、熱交換器19を通り抜け、ファン9により吹出し部5に向けて搬送され、吹出し部5のファンガード11を通り抜けて、ケーシング7の外に吹き出される。
 なお、機械室15は、周知の態様に構成されており、例を挙げると、熱交換器19を含む冷凍回路の冷媒流通に関する制御や、ファン9の駆動に関する制御等に関連した機器が収納されている。
 ファンガード11には、ファン9側に向けて突出する筒状外形を有するガイド部31が設けられている。図1及び図2に基づいて、ファンガード11及びガイド部31の詳細について説明する。図2は、本実施の形態1に関し、ファンガードを、ファン(ボス部)の回転軸線RAに沿ってファン側から見た状態を示す図である。
 ファンガード11は、格子状に並ぶ複数のリブ部を有している。本実施の形態1では、複数のリブ部として、上下方向に延びる複数の主リブ部33と、左右方向に延びる複数の副リブ部35とが、ほぼ直角に交差している。複数の主リブ部33は、主に、ファン9に手や異物が接触する事態を防止することを意図しており、複数の副リブ部35は、主リブ部33の歪みや変形を抑制することを意図している。
 ガイド部31は、ファンの回転軸線RAに沿って延びており、一例として、本実施の形態1では、截頭円錐体状の中実の部分である。ガイド部31の突出の先端部(ボス部23に近い端部)の外形ライン41による先端形状43の中心(図心)CTは、ボス部23の回転軸線RAと、一致している。特に、本実施の形態1では、ガイド部31の先端部の外形ライン41による先端形状43は、円であり、先端形状43の円の形状、面積及び中心は、ボス部23の投影された端面形状の円の形状、面積及び中心と一致している。
 一方、ガイド部31の突出の根元部(ファンガード11につながる突出の根元仮想面)の外形ライン51による根元形状53の中心(図心)BTは、ボス部23の回転軸線RAに対して後述する向きにずれている。また、ガイド部31の突出の根元部(ファンガード11につながる突出の根元仮想面)の外形ライン51と、ボス部23の回転軸線RAとの距離については、図2の紙面左側(後述する通風抵抗が相対的に大きい一方側)の距離の方が、紙面右側(後述する通風抵抗が相対的に小さい一方側)の距離よりも大きくなっている。
 さらに、根元形状53と先端形状43との関係は、図2のように回転軸線RA方向に投影的にみて、ガイド部31の根元部の外形ライン51の全体が、ガイド部31の先端部の外形ライン41よりも径方向外側に位置するか、あるいは、外形ライン51の一部は外形ライン41と重なり且つ外形ライン51の残りの部分は外形ライン41よりも径方向外側に位置する(図2は前者の態様を図示)。
 このため、ガイド部31の先端部の外形ライン41と、ガイド部31の突出の根元部の外形ライン51との間で延びる、ガイド部31の周側面61は、ガイド部31の先端部に近いほど回転軸線RAに近づく向きに傾斜しており(換言すると根元形状53から先端形状43に向けて先細っており)、その周側面61の傾きは、周方向にわたって一定ではなく、周方向位置によって異なっている。
 続いて、上記のようにガイド部31の根元部の外形ライン51と、ボス部23の回転軸線RAとの距離が、図2の紙面左側の方が、紙面右側の距離よりも大きくなっていることにつき説明する。
 一般に、パッケージエアコン室外機においては、ケーシング内に送風室と機械室とが設けられるため、送風室において回転軸線よりも機械室側のスペースは、回転軸線よりも機械室との反対側のスペースよりも狭くなることが多い。すなわち、図1に示すように、回転軸線RAと仕切壁17との距離L1<回転軸線RAとケーシング7における機械室15の反対側の側面7bとの距離L2となる。このため、図1において、ファン9の上流端において回転軸線RAと直交する入口仮想面EP1を考えた場合、この仮想面上において、回転軸線RAよりも機械室15側(紙面左側)の吸込み流路は、回転軸線RAよりも機械室15との反対側(紙面右側)の吸込み流路よりも小さく、つまり、回転軸線RAを挟んで径方向の一方側(水平方向となる径方向の紙面左側)が他方側(水平方向となる径方向の紙面右側)よりも通風抵抗が大きくなっている。これに起因して、本実施の形態1では、図2に示したように、ガイド部31の根元部の外形ライン51と、ボス部23の回転軸線RAとの距離は、図2の紙面左側の方が、紙面右側の距離よりも大きくなるようにしている。より詳細には、ファンの入口仮想面EP1でみて、ボス部23の回転軸線RAと送風室13の内壁面である仕切壁17との距離が最も小さい周方向位置において、ガイド部31の根元部の外形ライン51とボス部23の回転軸線RAとの距離が、最大値であるのが好適である。
 さらに、根元部の外形ライン51と回転軸線RAとの距離を上記のようにしたことにつき説明する。図3は、静圧差と風量との関係でみた、ファンにおける空気の流れ方の違いを示す図である。相対的に通風抵抗が小さい流れは、風量が大きく静圧差が小さい流れであり、図3におけるEX2として図示されるように、流れは相対的に真直ぐに流れる。一方、相対的に通風抵抗が大きい流れは、風量が小さく静圧差が大きい流れであり、図3におけるEX1として図示されるように、流れはファン出口において相対的に径方向外側に広がって流れる。EX1の流れでも、EX2の流れでも、ボス部23のすぐ下流側には、逆流や渦が含まれる乱れた流れ63が生じ、特に通風抵抗が大きいEX1の流れでは、相対的に広い範囲で乱れた流れ63が生じる。これらの流れの状態を、上述したパッケージエアコン室外機に当てはめると、回転軸線RAよりも機械室15側(紙面左側)の流れは、相対的に通風抵抗が大きいEX1の流れであり、すなわち、ファン9の出口において相対的に径方向外側に広がった流れとなる。また、回転軸線RAよりも機械室15との反対側(紙面右側)の流れは、相対的に通風抵抗が小さいEX2の流れであり、すなわち、ファン9の出口において相対的に真直ぐに進行する流れとなる。これらの流れにそれぞれ合わせるように、ガイド部31は、通風抵抗が相対的に大きい一方側における根元部の外形ライン51と回転軸線RAとの距離g1は、通風抵抗が相対的に小さい他方側におけるガイド部の根元部の外形ライン51と回転軸線RAとの距離g2よりも大きくされている。
 これにより、ファンの回転周方向の全体にわたって、ガイド部31の周側面61が、ファンから吹出した主流に沿うこととなり、且つ、ガイド部31が吹出した主流の径方向内側の空間を閉塞することとなり、ボス部の下流側での流れの乱れを低減することができる。
 以上のように構成された本実施の形態1に係る室外機によれば、ガイド部の根元部の外形ラインによる根元形状の中心を、ボス部の回転軸線に対してずらすことで、ファンから吹出した流れが周方向に一様ではない場合においても、ファンの回転周方向の全体にわたってボス部の下流側での流れの乱れを低減することができる。また、特に、パッケージエアコン室外機では、ボス部の回転軸線を挟んで機械室側と機械室の反対側とで通風抵抗が異なるが、本実施の形態1では、通風抵抗が相対的に大きい機械室側におけるガイド部の根元部の外形ラインとボス部の回転軸線との距離は、通風抵抗が相対的に小さい機械室の反対側におけるガイド部の根元部の外形ラインとボス部の回転軸線との距離よりも大きくすることで、ファンの回転周方向の全体にわたってボス部の下流側での流れの乱れを低減することができる。特に、通風抵抗が相対的に大きい機械室側では、径方向外側に広がる流れに対して、ガイド部により乱れた流れの発生を低減することができ、通風抵抗が相対的に小さい機械室の反対側では、真直ぐに近い流れに対して、ガイド部の周側面が流れを阻害することが回避されている。
 実施の形態2.
 次に、本発明の実施の形態2について説明する。図4は、本実施の形態2に関する、図2と同態様の図である。なお、本実施の形態2は、以下に説明する部分を除いては、上述した実施の形態1と同様であるものとする。
 本発明において、ガイド部は、先端部及び根元部の外形ラインが円形であることには限定されず、本実施の形態2は、他の一例として、先端部及び根元部の外形ラインが多角形である態様を示す。すなわち、本実施の形態2のガイド部131は、截頭角錐体であり、図4に示されるように、先端部の外形ライン141及び根元部の外形ライン151の双方が、多角形(図示例では八角形)をなしている。
 本実施の形態2においても、実施の形態1と同様、ガイド部131の外形ライン141による先端形状143の中心(図心)CTは、ボス部23の回転軸線RAと、一致している。また、ガイド部131の外形ライン151による根元形状153の中心(図心)BTは、ボス部23の回転軸線RAに対してずれている。それにより、ガイド部131の突出の根元部の外形ライン151と、ボス部23の回転軸線RAとの距離は、図4の紙面左側(機械室側、つまり通風抵抗が相対的に大きい一方側)の距離の方が、紙面右側(機械室と反対側、つまり通風抵抗が相対的に小さい一方側)の距離よりも大きくなっている。
 かかる本実施の形態2によっても、実施の形態1と同様、ファンの回転周方向の全体にわたってボス部の下流側での流れの乱れを低減することができる。
 実施の形態3.
 次に、本発明の実施の形態3について説明する。図5は、本実施の形態3に関する、図2と同態様の図である。なお、本実施の形態3は、以下に説明する部分を除いては、上述した実施の形態1又は2と同様であるものとする。
 本発明において、ガイド部は、先端部及び根元部の外形ラインが、双方とも、真円または正多角形であってもよい。なお、図5は、双方とも真円である場合を例に示す。本実施の形態3のガイド部231は、截頭円錐体であり、図5に示されるように、先端部の外形ライン241は、中心(図心)CTを有する真円であり、根元部の外形ライン251は、中心(図心)BTを有する真円である。
 本実施の形態3においても、実施の形態1と同様、ガイド部231の外形ライン241による先端形状243の中心(図心)CTは、ボス部23の回転軸線RAと、一致している。また、ガイド部231の外形ライン251による根元形状253の中心(図心)BTは、ボス部23の回転軸線RAに対してずれている。それにより、ガイド部231の突出の根元部の外形ライン251と、ボス部23の回転軸線RAとの距離は、図5の紙面左側(機械室側、つまり通風抵抗が相対的に大きい一方側)の距離の方が、紙面右側(機械室と反対側、つまり通風抵抗が相対的に小さい一方側)の距離よりも大きくなっている。
 かかる本実施の形態3によっても、実施の形態1と同様、ファンの回転周方向の全体にわたってボス部の下流側での流れの乱れを低減することができる。
 実施の形態4.
 次に、本発明の実施の形態4について説明する。図6は、本実施の形態4に関する、図1と同態様の図である。なお、本実施の形態4は、以下に説明する部分を除いては、上述した実施の形態1~3の何れか又はそれらの組み合わせと同様であるものとする。
 本発明において、ガイド部は、先端部及び根元部が閉塞された面を有することには限定されない。すなわち、本実施の形態4は、本発明において、ガイド部の先端部及び根元部が開放された例を示す。なお、ガイド部の先端部及び根元部の外形ラインは、円でも多角形でもよい。
 ガイド部331は、根元部から先端部までボス部23の回転軸線RAに沿って延び、内部を気流が通過可能な筒状体である。ガイド部331の周側面361の上流縁部が、先端部の外形ラインを担っており、周側面361の下流縁部が、根元部の外形ラインを担っている。そして、先端部の外形ライン自体及び根元部の外形ライン自体が円または多角形を成しており、先端部の外形ライン及び根元部の外形ラインのそれぞれ内側が開口している。
 本実施の形態4においても、先端部の外形ライン自体及び根元部の外形ライン自体は、上述した実施の形態1~3の何れかと同様であり、先端部の外形ラインによる先端形状の中心(図心)CTは、ボス部23の回転軸線RAと、一致し、根元部の外形ラインによる根元形状の中心(図心)BTは、ボス部23の回転軸線RAに対してずれている。また、それにより、根元部の外形ラインとボス部の回転軸線RAとの距離は、図6の紙面左側(機械室側、つまり通風抵抗が相対的に大きい一方側)の距離の方が、紙面右側(機械室と反対側、つまり通風抵抗が相対的に小さい一方側)の距離よりも大きくなっている。
 かかる本実施の形態4によっても、実施の形態1と同様、ファンの回転周方向の全体にわたってボス部の下流側での流れの乱れを低減することができる。さらに、本実施の形態4では、ガイド部が根元部及び先端部が開口した中空の筒状体であることから、通風抵抗が相対的に大きい、径方向外側に広がる流れに対しては、逆流の発生自体を抑制する代わりにガイド部内部側の逆流がガイド部外側の主流に干渉するのを防止することができ、通風抵抗が相対的に小さい、真直ぐに近い流れに対しては、ガイド部内部側への流れも許容し、よりガイド部の周側面が流れを阻害しないようにすることができる。
 実施の形態5.
 次に、本発明の実施の形態5について説明する。図7は、本実施の形態5に関する、図2と同態様の図である。図8は、ファンガードの複数のリブ部を、図7のVIII-VIII線に沿って平面的にみた図である。なお、本実施の形態5は、以下に説明する部分を除いては、上述した実施の形態1~4の何れか又はそれらの組み合わせと同様であるものとし、それらの一例として、図7は、実施の形態1のファンガードに適用した場合を示している。
 ファンガード411は、格子状に並ぶ複数の主リブ部433と複数の副リブ部435とを有している。上下方向に延びる複数の主リブ部433と、左右方向に延びる複数の副リブ部435とは、ほぼ直角に交差している。複数の主リブ部433は、主に、ファン9に手や異物が接触する事態を防止することを意図しており、複数の副リブ部435は、主リブ部433の歪みや変形を抑制することを意図している。
 本実施の形態5では、通風抵抗が相対的に大きい左右の一方側すなわち機械室側における主リブ部433の左右方向間隔LD1の方が、通風抵抗が相対的に小さい左右の他方側すなわち機械室の反対側における主リブ部433の左右方向間隔LD2よりも大きい。加えて、通風抵抗が相対的に大きい左右の一方側すなわち機械室側における主リブ部433は、風抵抗が相対的に小さい左右の他方側すなわち機械室の反対側における主リブ部433よりも、ファンの回転軸線RAに対して大きく傾いている(下流側がファンの回転軸線RAから離れる向きに傾いている)。
 かかる本実施の形態4によっても、実施の形態1と同様、ファンの回転周方向の全体にわたってボス部の下流側での流れの乱れを低減することができる。さらに、本実施の形態5では、主リブ部の間隔と向きとを上記のようにしたため、通風抵抗が相対的に大きい、径方向外側に広がる流れに対して、ファンガード通過に伴う通風抵抗を相対的に低減することができ、ガイド部を挟んだ左右両側でバランスよく流れの乱れを低減することができる。
 なお、上述した主リブ部の左右の間隔の関係と、左右の向き(傾斜)の関係とは、双方が必ず実施されていることには限定されず、主リブ部の左右の間隔の関係だけを、図8のように実施したり、主リブ部の左右の向き(傾斜)の関係だけを、図8のように実施したりすることもできる。
 実施の形態6.
 次に、本発明の実施の形態6について説明する。図9は、本実施の形態6に関し、ガイド部の根元形状の、ファンの回転軸線に対するずれ態様を説明する図である。なお、本実施の形態6は、以下に説明する部分を除いては、上述した実施の形態1~5の何れか又はそれらの組み合わせと同様であるものとする。
 本実施の形態6は、通風抵抗の偏りだけでなく、ファンの回転方向をも加味して、ガイド部531の根元形状553の中心BTを、二方向にずらすものである。まず、前提として、ガイド部531の外形ライン541による先端形状543の中心CTは、ボス部23の回転軸線RAと、一致している。一方、ガイド部531の外形ライン551による根元形状553の中心BTは、ボス部23の回転軸線RAに対して、第1方向と第2方向との二つの方向にずれている。第1方向は、ファンの入口仮想面EP1でみてボス部23の回転軸線RAと送風室13の内壁面との距離が最も小さい周方向位置において、ボス部23の回転軸線RAから径方向外側へと向かう方向Xであり、第2方向は、第1方向Xと直交する方向であって、ボス部23の回転軸線RAと送風室13の内壁面との距離が最も小さい周方向位置を基準にみて、ファン9の回転方向RDの前方側となる方向Yである。そして、ガイド部531の根元部の外形ライン551は、このように二方向にずれた中心BTによる真円であり、先端部の外形ライン541は、ファンの回転軸線RAと一致する中心CTによる真円である。
 かかる本実施の形態6によっても、実施の形態1と同様、ファンの回転周方向の全体にわたってボス部の下流側での流れの乱れを低減することができる。さらに、本実施の形態6では、径方向外側に広がる流れが受ける、ファンの回転の影響をも加味して、ガイド部の作用を発揮させることができる利点がある。
 実施の形態7.
 次に、本発明の実施の形態7について説明する。図10は、本発明の実施の形態7に係る空気調和機の室外機の外観を示す斜視図である。図11は、図10のX-X線に沿って見た場合の空気調和機の室外機の内部構成を示す図である。室外機601は、いわゆるビル用マルチエアコン室外機の一例である。なお、本実施の形態7は、以下に説明する部分を除いては、上述した実施の形態1~6の何れか又はそれらの組み合わせと同様であるものとする。
 図10に示されるように、室外機601のケーシング607は、ベルマウス部663を上部に有すると共に、ボディ部665を下部に有する。ベルマウス部663内には、ファン9が配置され、ベルマウス部663の上部にはファンガード611が設けられている。なお、ファンガード611のリブ構成については、上述した実施の形態の何れかと同様であるものとする。
 ボディ部665は、平面視、矩形に形成されており、一面のパネル及び三面のメッシュプレートからなる四つの側面を有している。ボディ部665内には、平面視、概ねU字状に構成された熱交換器619が、三面のメッシュプレートの側面に沿うように配置されている。また、ボディ部665内には、熱交換器619と対向するように電気部品ボックス667が設けられている。電気部品ボックス667は、熱交換器619が沿う側面とは異なる側面であるパネルに沿うように配置されている。なお、電気部品ボックス667は、圧縮機やファンモータを駆動する基板を内蔵する。
 これにより、室外機601では、ボディ部665の三つの側面(吸込み部)それぞれから、矢印669に示されるように空気がボディ部665内に吸込まれ、三つの熱交換機能面それぞれで熱交換され、ベルマウス部663の上面に設けられたファンガード611(吹出し部)から、矢印671に示されるように吐出される(トップフロータイプ)。
 ファンガード611には、ファン9側に向けて突出する筒状外形を有するガイド部631が設けられている。ガイド部631は、上述した実施の形態の何れかのガイド部と同様に形成されている。ガイド部631においても、先端部の外形ラインによる先端形状の中心(図心)は、ボス部23の回転軸線RAと、一致している。
 一方、ガイド部631の根元部の外形ラインによる根元形状の中心(図心)は、ボス部23の回転軸線RAに対してずれている。また、ガイド部631の根元部の外形ラインと、ボス部23の回転軸線RAとの距離は、図2の紙面左側の方の距離g1が、紙面右側の距離g2よりも大きくなっている。
 一般に、ビル用マルチエアコン室外機では、ボディ部665内において、回転軸線よりも電気部品ボックス667側のスペースは、回転軸線よりも熱交換器619側のスペース(電気部品ボックス側と反対側のスペース)よりも狭くなることが多い。すなわち、図11に示すように、回転軸線RAと電気部品ボックス667との水平距離L1<回転軸線RAと熱交換器619との水平距離L2となる。このため、図11において、ファン9の上流端において回転軸線RAと直交し且つ電気部品ボックス667や熱交換器619を横断する高さの入口仮想面EP2を考えた場合、この仮想面上において、回転軸線RAよりも電気部品ボックス667側(紙面左側)の吸込み流路は、回転軸線RAよりも熱交換器619側の吸込み流路よりも小さく、つまり、回転軸線RAを挟んで径方向の一方側(平面的にみて紙面左側)が他方側(平面的にみて紙面右側)よりも通風抵抗が大きくなっている。これに起因して、本実施の形態7では、ガイド部631の根元部の外形ラインと、ボス部23の回転軸線RAとの距離を、図11の紙面左側の方が、紙面右側の距離よりも大きくしている。より詳細には、ボス部23の回転軸線RAと電気部品ボックス667との水平距離L1が最も小さい周方向位置において、ガイド部631の根元部の外形ラインとボス部23の回転軸線RAとの距離が、最大値であるのが好適である。
 かかる本実施の形態7によれば、ビル用マルチエアコン室外機においても、実施の形態1と同様、ファンの回転周方向の全体にわたってボス部の下流側での流れの乱れを低減することができる。
 実施の形態8.
 次に、本発明の実施の形態8について説明する。上記実施の形態6は、パッケージエアコン室外機において、ガイド部の根元形状の中心を、二方向にずらしたものであったが、本実施の形態8は、ビル用マルチエアコン室外機において、上記実施の形態6同様、通風抵抗の偏りだけでなく、ファンの回転方向をも加味して、ガイド部の根元形状の中心を、二方向にずらすものである。
 すなわち、詳細は、実施の形態6の説明及び図9と同様(図9を平面図としてみて解釈する態様)であるが、本実施の形態8においても、ガイド部の根元部の外形ラインによる根元形状の中心を、ボス部の回転軸線に対して、第1方向と第2方向との二つの方向にずらす。第1方向は、ボス部の回転軸線から、ボス部の回転軸線と電気部品ボックスとの水平距離が最も小さい周方向位置において、ボス部の回転軸線から径方向外側へと向かう方向である。第2方向は、第1方向と直交する方向であって、ボス部の回転軸線と電気部品ボックスとの水平距離が最も小さい周方向位置を基準にみて、ファンの回転方向前方側となる方向である。
 かかる本実施の形態8によれば、ビル用マルチエアコン室外機においても、実施の形態6と同様、ファンの回転周方向の全体にわたってボス部の下流側での流れの乱れを低減することができると共に、径方向外側に広がる流れが受ける、ファンの回転の影響をも加味して、ガイド部の作用を発揮させることができる利点がある。
 以上、好ましい実施の形態を参照して本発明の内容を具体的に説明したが、本発明の基本的技術思想及び教示に基づいて、当業者であれば、種々の改変態様を採り得ることは自明である。
 また、以上に示した複数の実施の形態は、何れも本発明の送風機を、空気調和機の室外機として実施した場合の例であり、本発明は、室外機だけに限定されるものではない。よって、図1に示した態様は、機械室以外のレイアウト上の条件より、ファンの回転軸線RAの一方側が他方側よりも通風抵抗が大きくなっている構成に広く適用することができ、図11に示した態様は、電気部品ボックスや熱交換器以外のレイアウト上の条件より、ファンの回転軸線RAの一方側が他方側よりも通風抵抗が大きくなっている構成に広く適用することができる。
 1,601 室外機、3 吸込み部、5 吹出し部、7,607 ケーシング、9 ファン、11,411,611 ファンガード、13 送風室、19,619 熱交換器、21 ベルマウス、23 ボス部、25 翼、31,131,231,331,531 ガイド部、33,433 主リブ部、35,435 副リブ部、41,141,241 先端部の外形ライン、43,143,243 先端形状、51,151,251 根元部の外形ライン、53,153,253 根元形状、61,361 周側面、663 ベルマウス部、665 ボディ部、667 電気部品ボックス。

Claims (9)

  1.  吸込み部及び吹出し部を有するケーシングと、
     前記ケーシング内に回転可能に設けられたファンと、
     前記ケーシングの前記吹出し部に設けられたファンガードとを備えた送風機であって、
     前記ファンは、ボス部と、該ボス部の外周面に設けられた複数の翼とを有しており、
     前記ファンガードには、該ファン側に向けて突出する筒状外形を有するガイド部が設けられており、
     前記ガイド部の先端部の外形ラインによる先端形状の中心は、前記ボス部の回転軸線と一致しており、
     前記ガイド部の根元部の外形ラインによる根元形状の中心は、前記ボス部の回転軸線に対してずれている、
    送風機。
  2.  前記ファンの入口側においては、前記ボス部の回転軸線を挟んで径方向の一方側が他方側よりも通風抵抗が大きくなっており、
     前記通風抵抗が相対的に大きい一方側における前記ガイド部の根元部の外形ラインと前記ボス部の回転軸線との距離は、前記通風抵抗が相対的に小さい他方側における前記ガイド部の根元部の外形ラインと前記ボス部の回転軸線との距離よりも大きい、
    請求項1の送風機。
  3.  前記ファンガードは、格子状に並ぶ複数のリブ部を有しており、
     前記通風抵抗が相対的に大きい前記一方側における前記複数のリブ部の間隔の方が、前記通風抵抗が相対的に小さい前記他方側における前記複数のリブ部の間隔よりも大きいか、あるいは、前記通風抵抗が相対的に大きい前記一方側における前記複数のリブ部の方が、前記通風抵抗が相対的に小さい前記他方側における前記複数のリブ部よりも、前記ボス部の回転軸線に対して大きく傾斜している、ように構成されている、
    請求項2の送風機。
  4.  前記ガイド部は、前記根元部から前記先端部まで前記ボス部の回転軸線に沿って延び、内部を気流が通過可能な筒状体である、
    請求項1~3の何れか一項の送風機。
  5.  前記1~4の何れ一項の送風機において、前記ケーシング内に熱交換器がさらに配置された、
    室外機。
  6.  前記ケーシング内には、左右一方に、前記ファンが配置された送風室が設けられ、左右他方に、機械室が設けられており、
     前記ファンの入口仮想面でみて、前記ボス部の回転軸線と前記送風室の内壁面との距離が最も小さい周方向位置において、前記ガイド部の根元部の外形ラインと前記ボス部の回転軸線との距離が、最大となる、
    請求項5の室外機。
  7.  前記ガイド部の根元部の外形ラインによる根元形状の中心は、前記ボス部の回転軸線に対して、第1方向と第2方向との二つの方向にずれており、
     前記第1方向は、前記ファンの入口仮想面でみて、前記ボス部の回転軸線と前記送風室の内壁面との距離が最も小さい周方向位置において、前記ボス部の回転軸線から径方向外側へと向かう方向であり、
     前記第2方向は、前記第1方向と直交する方向であって、前記ボス部の回転軸線と前記送風室の内壁面との距離が最も小さい周方向位置を基準にみて、前記ファンの回転方向前方側となる方向である、
    請求項6の室外機。
  8.  前記ケーシングは、ベルマウス部を上部に有すると共に、ボディ部を下部に有し、
     前記ベルマウス部内には、前記ファンが配置され、該ベルマウス部の上部には前記ファンガードが設けられており、
     前記ボディ部内には、対向する一方の側面に、前記熱交換器が配置され、対向する他方の側面に、電気部品ボックスが配置されており、
     前記ボス部の回転軸線と前記電気部品ボックスとの水平距離が最も小さい周方向位置において、前記ガイド部の根元部の外形ラインと前記ボス部の回転軸線との距離が、最大となる、
    請求項5の室外機。
  9.  前記ガイド部の根元部の外形ラインによる根元形状の中心は、前記ボス部の回転軸線に対して、第1方向と第2方向との二つの方向にずれており、
     前記第1方向は、前記ボス部の回転軸線から、前記ボス部の回転軸線と前記電気部品ボックスとの水平距離が最も小さい周方向位置において、前記ボス部の回転軸線から径方向外側へと向かう方向であり、
     前記第2方向は、前記第1方向と直交する方向であって、前記ボス部の回転軸線と前記電気部品ボックスとの水平距離が最も小さい周方向位置を基準にみて、前記ファンの回転方向前方側となる方向である、
    請求項8の室外機。
PCT/JP2013/068512 2013-07-05 2013-07-05 送風機及び室外機 Ceased WO2015001663A1 (ja)

Priority Applications (6)

Application Number Priority Date Filing Date Title
CN201380078029.5A CN105358838B (zh) 2013-07-05 2013-07-05 送风机及室外机
EP13888679.1A EP3018362B1 (en) 2013-07-05 2013-07-05 Air blower and outdoor unit
PCT/JP2013/068512 WO2015001663A1 (ja) 2013-07-05 2013-07-05 送風機及び室外機
US14/899,384 US9874227B2 (en) 2013-07-05 2013-07-05 Air blower and outdoor unit
JP2015524989A JP6109313B2 (ja) 2013-07-05 2013-07-05 送風機及び室外機
CN201420369222.6U CN203940543U (zh) 2013-07-05 2014-07-04 风机及室外机

Applications Claiming Priority (1)

Application Number Priority Date Filing Date Title
PCT/JP2013/068512 WO2015001663A1 (ja) 2013-07-05 2013-07-05 送風機及び室外機

Publications (1)

Publication Number Publication Date
WO2015001663A1 true WO2015001663A1 (ja) 2015-01-08

Family

ID=51859853

Family Applications (1)

Application Number Title Priority Date Filing Date
PCT/JP2013/068512 Ceased WO2015001663A1 (ja) 2013-07-05 2013-07-05 送風機及び室外機

Country Status (5)

Country Link
US (1) US9874227B2 (ja)
EP (1) EP3018362B1 (ja)
JP (1) JP6109313B2 (ja)
CN (2) CN105358838B (ja)
WO (1) WO2015001663A1 (ja)

Families Citing this family (10)

* Cited by examiner, † Cited by third party
Publication number Priority date Publication date Assignee Title
JP6425580B2 (ja) * 2015-02-24 2018-11-21 シャープ株式会社 空気清浄機
JP6381782B2 (ja) * 2015-03-27 2018-08-29 三菱電機株式会社 空気調和機の室内機
JP6657141B2 (ja) * 2017-05-29 2020-03-04 エスペック株式会社 環境試験装置及び熱処理装置
CN107036184A (zh) * 2017-05-31 2017-08-11 海信科龙电器股份有限公司 一种空调室外机
CN107956751B (zh) * 2017-11-28 2023-10-31 江苏徐工国重实验室科技有限公司 消声装置及扫路车
JP6880321B2 (ja) * 2018-06-04 2021-06-02 三菱電機株式会社 送風機及び冷凍サイクル装置
KR102559756B1 (ko) * 2018-09-14 2023-07-27 삼성전자주식회사 공기조화기의 실외기
WO2020157824A1 (ja) * 2019-01-29 2020-08-06 三菱電機株式会社 空気調和機の室外機
CN114165471A (zh) * 2021-12-15 2022-03-11 上海交通大学 密布型轻量化造风装置及其实现方法
JP2024115849A (ja) * 2023-02-15 2024-08-27 株式会社東芝 軸流ファン

Citations (5)

* Cited by examiner, † Cited by third party
Publication number Priority date Publication date Assignee Title
JPS5775199U (ja) 1980-10-25 1982-05-10
JPS57137970U (ja) * 1981-02-18 1982-08-28
JPS58131382U (ja) * 1982-03-01 1983-09-05 株式会社東芝 空気調和機のフアンガ−ド
JP2001140797A (ja) 1999-11-12 2001-05-22 Matsushita Refrig Co Ltd 送風機
JP2003307199A (ja) * 2002-04-12 2003-10-31 Mitsubishi Electric Corp 送風機

Family Cites Families (12)

* Cited by examiner, † Cited by third party
Publication number Priority date Publication date Assignee Title
US2538739A (en) * 1946-03-27 1951-01-16 Joy Mfg Co Housing for fan and motor
US2544490A (en) * 1949-07-07 1951-03-06 Jeffrey Mfg Co Adjustable cowling for fans or the like
GB1115791A (en) * 1964-06-22 1968-05-29 Colt Ventilation & Heating Ltd Improvements in or relating to ventilators
US4318693A (en) * 1980-11-20 1982-03-09 Robinson Industries, Inc. Axial fan turning diffuser
SG71162A1 (en) * 1997-11-28 2000-03-21 Carrier Corp Discharge vanes for axial fans
JP2001140798A (ja) 1999-11-12 2001-05-22 Matsushita Refrig Co Ltd 送風機
JP2002081695A (ja) * 2000-08-31 2002-03-22 Matsushita Electric Ind Co Ltd 空気調和機
US8282348B2 (en) * 2007-03-05 2012-10-09 Xcelaero Corporation Fan with strut-mounted electrical components
JP2009204290A (ja) * 2008-02-29 2009-09-10 Daikin Ind Ltd 冷凍装置の熱源ユニット
ES2720776T3 (es) * 2008-03-11 2019-07-24 Mitsubishi Electric Corp Acondicionador de aire
JP4823294B2 (ja) * 2008-11-04 2011-11-24 三菱電機株式会社 送風機及びこの送風機を用いたヒートポンプ装置
CN202914401U (zh) * 2012-05-29 2013-05-01 广西柳工机械股份有限公司 高效的通风装置

Patent Citations (5)

* Cited by examiner, † Cited by third party
Publication number Priority date Publication date Assignee Title
JPS5775199U (ja) 1980-10-25 1982-05-10
JPS57137970U (ja) * 1981-02-18 1982-08-28
JPS58131382U (ja) * 1982-03-01 1983-09-05 株式会社東芝 空気調和機のフアンガ−ド
JP2001140797A (ja) 1999-11-12 2001-05-22 Matsushita Refrig Co Ltd 送風機
JP2003307199A (ja) * 2002-04-12 2003-10-31 Mitsubishi Electric Corp 送風機

Also Published As

Publication number Publication date
EP3018362B1 (en) 2021-03-03
EP3018362A4 (en) 2017-03-22
EP3018362A1 (en) 2016-05-11
JPWO2015001663A1 (ja) 2017-02-23
US20160146217A1 (en) 2016-05-26
CN105358838A (zh) 2016-02-24
US9874227B2 (en) 2018-01-23
CN203940543U (zh) 2014-11-12
JP6109313B2 (ja) 2017-04-05
CN105358838B (zh) 2017-03-29

Similar Documents

Publication Publication Date Title
JP6109313B2 (ja) 送風機及び室外機
JP5178816B2 (ja) 空気調和機
KR101210696B1 (ko) 원심팬
JP3698150B2 (ja) 遠心送風機
JP5213953B2 (ja) 送風機およびこの送風機を用いたヒートポンプ装置
EP3034885B1 (en) Centrifugal fan and air conditioner provided with the same
JP6029738B2 (ja) 車両用空気調和装置の室外冷却ユニット
WO2017026150A1 (ja) 送風機およびこの送風機を搭載した空気調和装置
JP6203294B2 (ja) 遠心ファン及び空気調和装置
JP6078945B2 (ja) 遠心送風機
JP2008002379A (ja) 遠心ファン
JP2014173580A (ja) 送風装置
JP6695509B1 (ja) 遠心ファン及び空気調和機
JP2010236372A (ja) 軸流送風機、空気調和機及び換気扇
JP5533969B2 (ja) 空気調和機
JP5682751B2 (ja) 多翼送風機
JP5984162B2 (ja) プロペラファン、送風装置、および室外機
JP2016003641A (ja) 遠心ファン
JP2015105575A (ja) 送風機
WO2013021618A1 (ja) 遠心送風機
WO2018131077A1 (ja) 空気調和機の室外機
JP2010236371A (ja) 軸流送風機、空気調和機及び換気扇
JP2006125229A (ja) シロッコファン
WO2010035526A1 (ja) 遠心送風機
JP2017145738A (ja) 送風装置

Legal Events

Date Code Title Description
WWE Wipo information: entry into national phase

Ref document number: 201380078029.5

Country of ref document: CN

121 Ep: the epo has been informed by wipo that ep was designated in this application

Ref document number: 13888679

Country of ref document: EP

Kind code of ref document: A1

ENP Entry into the national phase

Ref document number: 2015524989

Country of ref document: JP

Kind code of ref document: A

WWE Wipo information: entry into national phase

Ref document number: 14899384

Country of ref document: US

WWE Wipo information: entry into national phase

Ref document number: 2013888679

Country of ref document: EP

NENP Non-entry into the national phase

Ref country code: DE