WO2014080882A1 - 電力変換を伴う交流発電システム - Google Patents

電力変換を伴う交流発電システム Download PDF

Info

Publication number
WO2014080882A1
WO2014080882A1 PCT/JP2013/081109 JP2013081109W WO2014080882A1 WO 2014080882 A1 WO2014080882 A1 WO 2014080882A1 JP 2013081109 W JP2013081109 W JP 2013081109W WO 2014080882 A1 WO2014080882 A1 WO 2014080882A1
Authority
WO
WIPO (PCT)
Prior art keywords
phase
power generation
generation system
rotor
detected
Prior art date
Legal status (The legal status is an assumption and is not a legal conclusion. Google has not performed a legal analysis and makes no representation as to the accuracy of the status listed.)
Ceased
Application number
PCT/JP2013/081109
Other languages
English (en)
French (fr)
Japanese (ja)
Inventor
康宏 不破
金千代 寺田
内藤 修
永田 孝一
大野 正明
Current Assignee (The listed assignees may be inaccurate. Google has not performed a legal analysis and makes no representation or warranty as to the accuracy of the list.)
Denso Corp
DensoTrim Corp
Original Assignee
Denso Corp
DensoTrim Corp
Priority date (The priority date is an assumption and is not a legal conclusion. Google has not performed a legal analysis and makes no representation as to the accuracy of the date listed.)
Filing date
Publication date
Application filed by Denso Corp, DensoTrim Corp filed Critical Denso Corp
Priority to EP13857496.7A priority Critical patent/EP2928067B1/en
Priority to US14/646,941 priority patent/US9685893B2/en
Publication of WO2014080882A1 publication Critical patent/WO2014080882A1/ja
Anticipated expiration legal-status Critical
Ceased legal-status Critical Current

Links

Images

Classifications

    • HELECTRICITY
    • H02GENERATION; CONVERSION OR DISTRIBUTION OF ELECTRIC POWER
    • H02PCONTROL OR REGULATION OF ELECTRIC MOTORS, ELECTRIC GENERATORS OR DYNAMO-ELECTRIC CONVERTERS; CONTROLLING TRANSFORMERS, REACTORS OR CHOKE COILS
    • H02P6/00Arrangements for controlling synchronous motors or other dynamo-electric motors using electronic commutation dependent on the rotor position; Electronic commutators therefor
    • H02P6/14Electronic commutators
    • H02P6/16Circuit arrangements for detecting position
    • HELECTRICITY
    • H02GENERATION; CONVERSION OR DISTRIBUTION OF ELECTRIC POWER
    • H02PCONTROL OR REGULATION OF ELECTRIC MOTORS, ELECTRIC GENERATORS OR DYNAMO-ELECTRIC CONVERTERS; CONTROLLING TRANSFORMERS, REACTORS OR CHOKE COILS
    • H02P6/00Arrangements for controlling synchronous motors or other dynamo-electric motors using electronic commutation dependent on the rotor position; Electronic commutators therefor
    • H02P6/14Electronic commutators
    • H02P6/16Circuit arrangements for detecting position
    • H02P6/18Circuit arrangements for detecting position without separate position detecting elements
    • H02P6/182Circuit arrangements for detecting position without separate position detecting elements using back-emf in windings
    • HELECTRICITY
    • H02GENERATION; CONVERSION OR DISTRIBUTION OF ELECTRIC POWER
    • H02PCONTROL OR REGULATION OF ELECTRIC MOTORS, ELECTRIC GENERATORS OR DYNAMO-ELECTRIC CONVERTERS; CONTROLLING TRANSFORMERS, REACTORS OR CHOKE COILS
    • H02P9/00Arrangements for controlling electric generators for the purpose of obtaining a desired output
    • H02P9/48Arrangements for obtaining a constant output value at varying speed of the generator, e.g. on vehicle

Definitions

  • the present invention relates to an AC power generation system, and more particularly, to an AC power generation system that involves power conversion using an electrically on / off switching element.
  • AC power generation systems there are various types of AC power generation systems. Among them, there is an AC power generation system that performs so-called “phase control”. This AC power generation system is known from, for example, Japanese Patent Application Laid-Open No. 8-214470.
  • This type of AC power generation system includes a power converter having a plurality of switching elements corresponding to the number of phases of the AC generator, and rotational phase detection means for detecting the rotational phase of the rotor.
  • the AC power generation system obtains a desired output by controlling the drive timing of the switching element, that is, the phase according to the detected rotation phase.
  • a magnetic sensor for detecting a rotor phase (magnetic pole reversal position) composed of a Hall element or the like is provided for at least the number of phases.
  • the apparatus cost is increased.
  • the reason for mounting small mounting space, high temperature, etc. In other words, it may be difficult to provide as many magnetic sensors for detecting the rotor phase (magnetic pole reversal position) as the number of phases.
  • the present invention has been made in view of the circumstances exemplified above, and provides an AC power generation system capable of good phase control without providing magnetic sensors for rotational phase detection for the number of phases. It is intended to do.
  • the AC power generation system of the present invention includes an AC generator, a power converter, a detection unit, and a phase control unit.
  • the AC generator includes a rotor and a stator.
  • the rotor has a plurality of magnetized portions.
  • the plurality of magnetized portions are ideally arranged at equal intervals along the circumferential direction so that the directions of the magnetic poles are alternately different.
  • the stator has a plurality of windings constituting a plurality of phases.
  • the plurality of windings are arranged in phase sequence (and ideally at equal intervals) along the circumferential direction.
  • the rotor is provided with a plurality of detected parts.
  • the detected portions are arranged along the circumferential direction corresponding to the reversal state of the magnetic poles so as to include at least the reversal positions of the magnetic poles in the plurality of magnetized portions.
  • the detected portion is concentric with the reversal position so that the position in the circumferential direction coincides with the reversal position (also referred to as a commutation position) of the magnetic pole, and A straight line drawn from the rotation center axis of the rotor toward the inversion position passes through the detected portion.
  • the said to-be-detected part can be provided also between two said inversion positions adjacent.
  • the power converter is connected to the plurality of windings in the AC generator so as to exchange power with the AC generator.
  • This power converter is configured to be capable of bidirectional power conversion between AC and DC by including a plurality of switching elements (specifically, the number corresponding to the number of phases of the AC generator). ing.
  • the detection unit is disposed opposite to the rotor so as to generate an output signal corresponding to a passing state of the detected unit.
  • the phase control unit is configured to output a control signal for performing phase control of the switching element according to a rotation phase of the rotor to the power converter based on the output signal of the detection unit.
  • phase control can be performed without providing magnetic sensors for detecting the rotor phase (magnetic pole reversal position) for the number of phases (typically, no magnetic sensors are provided at all). It becomes possible.
  • the output signal can also be used for other purposes (for example, operation control such as ignition control and fuel injection control of an internal combustion engine mounted on a vehicle). That is, according to the present invention, typically, an engine rotation speed sensor (crankshaft rotation angle sensor) used for operation control of an internal combustion engine and a rotation phase detection sensor of the rotor are combined by one detection unit. Can be realized.
  • FIG. 1 is a diagram showing a schematic circuit configuration of an AC power generation system according to an embodiment of the present invention.
  • FIG. 2 is a schematic configuration diagram of a motorcycle that is a vehicle on which the AC power generation system shown in FIG. 1 is mounted.
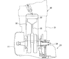
  • FIG. 3 is a schematic diagram showing an internal configuration of the engine shown in FIG. 2.
  • FIG. 4 is a cross-sectional view showing the internal configuration of the AC generator shown in FIG. 3.
  • FIG. 5 is a schematic diagram showing an internal configuration of the AC generator shown in FIG. 3.
  • FIG. 6 is a graph for explaining an outline of correction processing for rotational phase detection executed by the controller shown in FIG. 1.
  • FIG. 7 is a schematic diagram showing a modification of the internal configuration of the AC generator shown in FIG. 3.
  • FIG. 8 is a schematic diagram showing another modification of the internal configuration of the AC generator shown in FIG. 3.
  • FIG. 9 is a schematic diagram showing another modification of the internal configuration of the AC generator shown in FIG. 3.
  • FIG. 10 is a flowchart for explaining an outline of correction processing for rotational phase detection executed by the controller shown in FIG. 1.
  • FIG. 11 is a flowchart for explaining an outline of correction processing for rotational phase detection executed by the controller shown in FIG. 1.
  • FIG. 12 is a diagram showing a schematic circuit configuration of a modification of the AC power generation system shown in FIG. 1.
  • FIG. 13 is a diagram showing a schematic circuit configuration of another modification of the AC power generation system shown in FIG. 1.
  • FIG. 14 is a flowchart for explaining an outline of correction processing for rotational phase detection executed by the controller shown in FIG. 1.
  • an AC power generation system (or AC power generation apparatus) according to an embodiment of the present invention will be described with reference to FIGS.
  • the number of magnetic poles (2n) is 12 and the number of poles (3m) is 18, but various modifications are possible. These modifications will be described together after the AC power generation system according to the present embodiment is described.
  • the AC power generation system (or AC power generation device) 10 of this embodiment includes a three-phase AC generator 11. That is, the AC generator 11 has a U-phase coil 11U, a V-phase coil 11V, and a W-phase coil 11W. The details of the internal configuration of the AC generator 11 will be described later.
  • the AC power generation system 10 also includes a battery 12, a controller 13, a driver 14, and a power converter 15.
  • the power converter 15 includes switching elements 15U, 15V, 15W, 15X, 15Y, and 15Z. These switching elements are composed of semiconductor switching elements that can be electrically turned on / off.
  • the battery 12 is connected to such a load so as to supply electric power to a load provided in the motorcycle 20 (see FIG. 2) on which the AC power generation system 10 is mounted. Further, the battery 12 is connected to the AC generator 11 via the power converter 15.
  • the controller 13 is a so-called microcomputer having a CPU, a ROM, a RAM, and the like, and controls the overall operation of the AC power generation system 10 by executing a routine (program) stored in advance in the ROM. Yes.
  • the driver 14 is connected to a control terminal (gate or base) in each switching element 15U or the like, and outputs a drive signal to each switching element 15U or the like at an appropriate timing under the control of the controller 13.
  • So-called “phase control” is performed in the power converter 15. That is, phase control can be performed by controlling the timing of the on / off operation of the switching element.
  • the power converter 15 is configured to be capable of bidirectional power conversion between alternating current and direct current, and a U-phase coil in the alternating current generator 11 so as to exchange power with the alternating current generator 11.
  • Switching elements 15U, 15V, 15W, 15X, 15Y, and 15Z in power converter 15 are provided corresponding to U-phase coil 11U, V-phase coil 11V, and W-phase coil 11W in AC generator 11.
  • the switching element 15U and the switching element 15X are connected in series between the positive electrode terminal and the negative electrode terminal of the battery 12 (a combination of the switching element 15V and the switching element 15Y, and the switching element 15W and the switching element). The same applies to the set of elements 15Z.
  • a connection point between the switching element 15U and the switching element 15X is connected to one end of the U-phase coil 11U.
  • the connection point between the switching element 15V and the switching element 15Y is connected to one end of the V-phase coil 11V.
  • the connection point between the switching element 15W and the switching element 15Z is connected to one end of the W-phase coil 11W.
  • the switching element 15U (the same applies to other switching elements 15V and the like) includes a transistor element capable of passing forward current from the positive terminal side to the negative terminal side in the battery 12 by energizing the control terminal, and a negative terminal And a diode element capable of passing a current in the reverse direction from the side toward the positive electrode terminal.
  • the switching element 15U (the same applies to other switching elements 15V and the like) is composed of an N-channel type MOSFET, and a parasitic diode is provided in the direction in which current flows from the source to the drain. Is formed.
  • the ECU 16 includes the controller 13, the driver 14, and the power converter 15 described above.
  • the ECU 16 is connected to the rotation angle sensor 17.
  • the rotation angle sensor 17 generates a signal corresponding to the rotation state of the AC generator 11 (details of the rotation angle sensor 17 will be described later).
  • the ECU 16 causes the driver 14 to output a control signal for performing “phase control” of the power converter 15 based on the output of the rotation angle sensor 17. That is, the ECU 16 performs “phase control” on the AC power generation system 10 in accordance with the operating state of the motorcycle 20 (see FIG. 2). Since parts other than the rotation angle sensor 17 and “phase control” in the configuration shown in FIG. 1 are already known, further detailed description thereof will be omitted (for example, Japanese Patent Laid-Open No. Hei 8). No. -214470, JP-A-10-262343, JP-A-11-46456, JP-A-2004-173482, etc.).
  • a motorcycle 20 corresponding to the vehicle of the present invention is provided with a front wheel 21 and a rear wheel 22 which is a drive wheel.
  • the motorcycle 20 is equipped with a power transmission mechanism 23 and a vehicle control unit 24.
  • the vehicle control unit 24 is an electronic control unit for controlling the entire operation of the motorcycle 20 and is provided under the seat 25.
  • the vehicle control unit 24 is equipped with the ECU 16 shown in FIG.
  • one cylinder 32 is formed in the engine block 31 constituting the casing of the engine 30. That is, the engine 30 mounted on the motorcycle 20 of the present embodiment is configured as a so-called “single cylinder engine” having one cylinder 32.
  • a piston 33 is accommodated in the cylinder 32 so as to be capable of reciprocating along the central axis of the cylinder 32.
  • the piston 33 is connected to the crankshaft 34 via a connecting rod 35.
  • FIGS. 4 and 5 corresponds to an enlarged cross-sectional view of the AC generator 11 in FIG.
  • the housing 110 constituting the casing of the AC generator 11 is formed in a substantially cup shape in a side sectional view, and the engine block 31 communicates with the interior of the engine block 31. 31 is fixed.
  • a stator 111 is fixed inside the housing 110.
  • the stator 111 is provided with a large number (18 in this embodiment) of cores 112 at equal intervals along the circumferential direction so as to protrude radially outward from the rotation center axis of the AC generator 11. It has been.
  • Winding 113 constituting the U-phase coil 11U, the V-phase coil 11V, and the W-phase coil 11W is wound around each core.
  • each of six U-phase coils 11U, V-phase coils 11V, and W-phase coils 11W in phase sequence along the circumferential direction (U-phase coil 11U, V-phase coil 11V, W-phase coil 11W, U-phase The coils 11U, the V-phase coil 11V, the W-phase coil 11W,... are arranged at equal intervals in the order of UVW.
  • the rotor 114 is directly connected to the crankshaft 34 while being accommodated in a space surrounded by the engine block 31 and the housing 110.
  • the rotor 114 includes a substantially cup-shaped yoke 115 in a side sectional view.
  • the yoke 115 is fixed to one end of the crankshaft 34.
  • a large number of detected portions 116 are provided on the outer peripheral surface 115 a of the substantially cylindrical portion of the yoke 115.
  • the detected part 116 is a protrusion provided on the outer peripheral surface 115a and is formed so as to protrude outward from the outer peripheral surface 115a.
  • these detected portions 116 are provided corresponding to the arrangement of a large number of magnetized portions 117 (fixed state of magnetic poles) fixedly provided on the substantially cylindrical portion of the yoke 115. Yes.
  • a large number (12 in this embodiment) of magnetized portions 117 are arranged at equal intervals along the circumferential direction so that the directions of the magnetic poles are alternately different.
  • the detected unit 116 has two adjacent magnetized parts 117 adjacent to each other with a specific position (the uppermost part in FIG. 5) where the magnetic poles are reversed by the adjacent two magnetized parts 117 being adjacent to each other.
  • a total of 22 magnetic pole reversal positions hereinafter referred to as “commutation positions” including the above-mentioned specific positions
  • a central position in the circumferential direction of the magnetized portion 117 are continuously spaced at equal intervals. It is provided so as to be arranged (every predetermined interval).
  • a first identification unit 118a is formed by the 22 detected portions 116 that are continuous. Furthermore, “missing tooth portions” (two detected portions 116 corresponding to two detected portions 116) where the detected portions 116 are not provided between both ends of the first identification portion 118 a (both ends in the arrangement direction of the 22 detected portions 116).
  • the second identification portion 118b is formed by the portion where is omitted. That is, the second identification portion 118b is formed by the outer peripheral surface 115a of the yoke 115 exposed with a width wider than the width between the adjacent detected portions 116 in the first identification portion 118a.
  • the detected portion 116 corresponding to the commutation position is concentric with the commutation position, and the commutation from the rotation center axis (that is, the rotation center axis of the rotor 114).
  • a straight line drawn toward the position passes through the detected part 116 (however, from the viewpoint of electrical and control, the above-mentioned straight line does not necessarily pass through the center of the detected part 116 in the circumferential direction. .) Is provided.
  • the rotation angle sensor 17 is mounted on the housing 110.
  • the rotation angle sensor 17 is disposed to face the detected part 116 so as to generate an output signal corresponding to the passing state of the detected part 116.
  • the rotation angle sensor 17 is configured to generate a pulsed signal (hereinafter referred to as “passing pulse”) each time the detected portion 116 passes.
  • the rotation angle sensor 17 has a second discriminating portion corresponding to a portion in which 22 passing pulses correspond to the passage of the first discriminating portion 118a during one revolution of the rotor 114 (that is, one revolution of the crankshaft 34). And an output signal having a corresponding non-existing portion of the passing pulse while passing through the portion 118b.
  • the controller 13 and the driver 14 in the ECU 16 are based on the output of the rotation angle sensor 17 such as the switching element 15 ⁇ / b> U corresponding to the rotation phase of the rotor 114.
  • a control signal for performing phase control is output to the power converter 15. That is, the ECU 16 detects the rotation phase of the rotor 114 based on the output of the rotation angle sensor 17, and performs phase control based on the detected rotation phase. Further, the ECU 16 corrects the rotation phase of the rotor 114 detected based on the output of the rotation angle sensor 17 (correction of the detected value of the rotation phase) based on the actual output in the AC generator 11. ing. Details of such correction will be described later.
  • the rotation angle sensor 17 generates an output signal corresponding to the passing state of the detected part 116.
  • the 22 detected units 116 correspond to the reversal state of the magnetic poles in the 12 magnetized units 117 (that is, the “commutation position” described above), They are arranged at equal intervals along the circumferential direction.
  • the detected unit 116 is not provided in the second identification unit 118b.
  • the rotational phase of the rotor 114 can be accurately detected based on the output signal generated by the rotation angle sensor 17. Therefore, according to the present embodiment, it is possible to perform good phase control without providing magnetic sensors for detecting the commutation position for the number of phases (typically without providing the magnetic sensors at all). become.
  • the rotor 114 may be directly connected to the crankshaft 34 while being accommodated in a space surrounded by the engine block 31 and the housing 110 (particularly, a motorcycle).
  • high-temperature lubricating oil in the engine block 31 may fly to the rotor 114 side, or the rotor 114 may be immersed in the lubricating oil. Therefore, in this case, it is difficult to provide a plurality of magnetic sensors (that is, the number of phases) for detecting the commutation position.
  • the output signal of the rotation angle sensor 17 as described above can be used for other purposes (for example, detection of engine rotation speed NE which is a signal for operation control such as ignition control and fuel injection control in the engine 30). is there. Therefore, according to the configuration of the present embodiment, the detection of the rotation phase of the rotor 114 and the detection of the engine rotation speed (engine speed) NE for operation control of the engine 30 can be performed by one detection means. it can.
  • the commutation position and the position of the detected portion 116 in the circumferential direction substantially coincide with each other as a mechanical positional relationship (a straight line drawn from the rotation center axis toward the commutation position corresponds to the commutation position.
  • Each magnetized portion 117 and the detected portion 116 are formed so as to pass through the vicinity of the center of the detected portion 116 positioned outside the flow position.
  • phase correction For example, various errors during machining for forming the detected portion 116 (position and shape errors in one detected portion 116, pitch errors in a plurality of detected portions 116, etc.) Can occur. Furthermore, errors in phase control can occur due to the occurrence of “delay” in detection and control. Therefore, in the present embodiment, the ECU 16 corrects the rotational phase detection of the rotor 114 (based on the output of the rotation angle sensor 17) based on the actual output of the AC generator 11. Such correction is hereinafter simply referred to as “phase correction”.
  • the control angle in phase control (no phase control is performed) in a certain operating state (cooling water temperature, outside air temperature, etc.)
  • Power generation output characteristics output voltage characteristics with respect to engine rotation speed
  • the degree of advance or retard of the energization timing to the switching element 15U with respect to the output voltage waveform during normal power generation is “0 ° CA”
  • the power generation output characteristic is shifted upward in the figure (see the one-dot chain line).
  • the power generation output characteristic is shifted downward in the figure (see the broken line).
  • the number of magnetic poles which is the number of magnetized portions 117 in the rotor 114, is 12 poles
  • the number of poles (core number) in the stator 111 is 18, and the first identification unit 118a is arranged in the circumferential direction of the rotor 114.
  • the 22 protrusions are arranged at equal intervals along the second identification portion 118b, the present invention is not limited to this. That is, the numbers of the windings 113, the magnetizing units 117, and the detected units 116 can be changed as appropriate.
  • the number of magnetic poles in the rotor 114 is 2n (n is an integer greater than or equal to 1), and the number of poles in the stator 111 is 3m (m is an integer greater than or equal to 1 and is the same as n.
  • the alternator 11 can be configured to be Moreover, the detected part 116 should just be provided so that the commutation position which is an inversion position of a magnetic pole may be included at least.
  • the omitted number of the detected parts 116 in the second identification unit 118b can also be changed as appropriate within a range in which good rotational phase detection is possible.
  • the single-cylinder engine 30 since the fluctuation of the reciprocating speed of the piston 33 is large, it is considered effective to provide a large number of detected parts 116. Note that the same control is possible for the engine 30 having a plurality of cylinders.
  • the position of the detected part 116 coincides with the commutation position (the pitch position between the magnetic poles), which makes it easy to manage the assembly position of the magnet and easily increase the accuracy. , It does not necessarily have to match.
  • the detected part 116 The number is preferably 22 (24-2).
  • a passing pulse occurs every 30 ° CA.
  • three commutations occur in the U phase, the V phase, and the W phase between adjacent passing pulses. Therefore, by dividing the wavelength of the passing pulse in the output signal of the rotation angle sensor 17 into three, the desired commutation position can be estimated with a low control load.
  • the number of detected portions 116 may be further reduced from the configuration illustrated in FIG. Thereby, the manufacturing cost and the processing load can be further reduced.
  • the arrangement pitch of the detected parts 116 is completely synchronized not only with the arrangement of the magnetizing parts 117 but also with the arrangement pitch of the windings 113. That is, the on / off switching timings of the six switching elements 15U to 15Z to be generated every 10 ° CA and the above-described passing pulse can be completely synchronized. Therefore, according to such a configuration, it is possible to perform phase control with higher accuracy.
  • the number of detected parts 116 is 18 (20-2). It is preferable that
  • the number Nk of detected parts 116 can be expressed as follows using the number of magnetic poles Nj. Then, the number Nk of the detected parts 116 can be appropriately selected according to the specifications of the AC power generation system 10 or a higher system (such as the motorcycle 20) on which the AC power generation system 10 is mounted.
  • Nk Nj- ⁇
  • Nk ⁇ ⁇ Nj- ⁇
  • Nk (Nj / ⁇ ) ⁇ ( ⁇ is an integer of 1 or more, preferably 1 to 3, more preferably 2.
  • ⁇ and ⁇ are integers of 2 or more.)
  • the setting conditions (number and position) of the detected portions 116 can be set as appropriate so that the robustness of the phase control is improved with respect to the rotation fluctuation in the expansion stroke.
  • the detected part 116 is not limited to a protrusion.
  • the detected portion 116 may be a concave portion, or a portion (black marking or the like) where the reflectance of electromagnetic waves (typically visible light or infrared light) is different from that of the outer peripheral surface 115a of the yoke 115.
  • the second identification unit 118b may be a part where the presence density of the detected units 116 is higher than that of the first identification unit 118a. That is, when the detected part 116 is arranged over the entire circumference of the outer peripheral surface 115a, the second identification part 118b may be a part having an additional protrusion for detecting the reference position.
  • the second identification unit 118b may be a protrusion having a larger width in the circumferential direction than that included in the first identification unit 118a.
  • phase correction when an output voltage is used as in the specific example in the above-described embodiment, it is not necessary to add a detection element for correction. In addition, since the voltage is monitored, precise correction control considering the influence of disturbance can be performed. On the other hand, the phase correction can be performed on the same principle as the specific example in the above-described embodiment by using the output current. In this case, it is possible to perform phase correction while monitoring the current that is the final output performance of the AC generator 11. However, in this case, it is necessary to separately provide a current detection element (such as a shunt resistor or a sense MOS).
  • a current detection element such as a shunt resistor or a sense MOS
  • phase correction when the operating state is stable. Therefore, such correction is executed when the value of the operation state parameter (for example, engine speed NE, engine cooling water temperature T, engine load factor KL, etc.) or its change is equal to or less than (or less than) a predetermined value. Also good.
  • the value of the operation state parameter for example, engine speed NE, engine cooling water temperature T, engine load factor KL, etc.
  • step S1020 YES
  • the process proceeds to step S1030, and it is determined whether or not the deviation between output voltage V and target value VR is equal to or greater than a predetermined value.
  • the “target value VR” is a reference value in an “ideal” state with no manufacturing error or control error as described above, and is previously stored in the ROM or the backup RAM. .
  • step S1010 NO
  • the description will be continued assuming that all the determinations in steps S1010 to S1030 are “YES”.
  • step S1040 it is determined whether the output voltage V is higher than the target value VR on the assumption that the deviation between the output voltage V and the target value VR is equal to or greater than a predetermined value.
  • step S1040 YES
  • step S1050 the process proceeds to step S1050, and the control angle is advanced by a predetermined minute amount.
  • step S1040 NO
  • step S1055 the control angle is delayed by a predetermined minute amount.
  • step S1060 it is determined whether or not the deviation between output voltage V and target value VR is less than a predetermined value. While the deviation between the output voltage V and the target value VR is not less than the predetermined value, the determination in step S1060 is “NO”, and the process returns to step S1040.
  • step S1060 YES
  • the process proceeds to step S1070, and the operating state (engine speed NE, engine cooling water temperature T) and Corresponding to the target phase (target control angle), the correction value is stored in a map (lookup table) on the backup RAM, and then this routine is temporarily terminated.
  • phase correction (that is, the correction of the rotational phase of the rotor) is a method of changing the actual output in the AC generator 11 when the control angle in the phase control is changed when the operating state is stable. Can be done on the basis. That is, for example, the correction value obtained as described above can be updated as appropriate by appropriately changing (scanning) the control angle in the phase control when the operating state is stable. This improves the reliability of phase correction (especially in a high rotation region where processing delay occurs).
  • the phase correction can be easily realized by normal feedback correction for the target value without using a map. Specifically, for example, detecting the peak characteristic of the power generation output (current and / or voltage) when the control angle is changed by a predetermined amount as described above (specifically, searching for the maximum value). Thus, phase correction can be performed. Such a method can be suitably performed in a low rotation region where the power generation capacity is low. Note that the correction method may be changed according to the operation region. Specifically, the peak search type feedback correction without the map as described above is performed in the low rotation region, while the update type correction (learning correction) using the map as described above is performed in the middle / high rotation region. It is possible to achieve both processing load and correction accuracy.
  • the phase correction can also be performed by additionally providing a hall sensor 180 for one phase as an additional detection unit that magnetically detects the commutation position. That is, the influence of “deviation” between the detected portion 116 and the commutation position is the same among the plurality of phases. For this reason, it is possible to perform favorable phase correction by detecting a phase shift in any one phase. In this case, the number of elements of the hall sensor 180 provided is one. Therefore, according to such a configuration, it is possible to improve the accuracy of phase correction without causing any particular mounting problem. As described above, it is preferable to provide only one Hall sensor 180 in order to compensate for the deviation between the phase detected by the rotation angle sensor 17 and the actual phase.
  • Hall sensors 180U, 180V, and 180W corresponding to the number of phases, which have been conventionally used for phase control, and the rotation angle sensor 17 may be used in combination.
  • the rotation angle By using the sensor 17, “fail safe” in phase control is realized.
  • phase correction in the operation state where the rotation speed (rotation speed) of the rotor 114 is low, the power converter 15 turns off the operation of the transistor elements in all the switching elements 15U to 15Z. Wave rectification may be performed, and the output voltage waveform of each phase at this time may be monitored, and may be performed based on the zero cross point of the waveform and the output signal of the rotation angle sensor 17.
  • FIG. 14 is a flowchart showing a specific example of such phase correction.
  • step S1410 it is determined whether or not the current rotation speed of the rotor 114 (that is, the engine rotation speed NE) is within a predetermined low rotation region.
  • the processing after step S1420 is skipped, and the current correction processing is temporarily ended.
  • the process proceeds to step S1420 and subsequent steps, and correction processing is performed.
  • the reason why the current correction process is performed in the low rotation region is as follows.
  • the magnetic pole inversion position may be accurately detected without being affected by the load current.
  • step S1420 the operation of the transistor elements of all the switching elements 15U to 15Z in the power converter 15 is turned off (this is expressed as “all inverters OFF” in the figure). Thereby, the power converter 15 operates as a full-wave rectifier circuit including a bridge circuit of six diodes. Subsequently, the process proceeds to step S1430.
  • step S1430 the zero-cross point of the waveform is detected by monitoring the output waveform of the phase voltage generated in at least one of the U-phase coil 11U, the V-phase coil 11V, and the W-phase coil 11W. . Thereafter, the process proceeds to step S1440.
  • step S1440 the correlation between the occurrence timing of the zero cross point detected in step S1430 and the output of the rotation angle sensor 17 (passage pulse generation timing) is in the “ideal” state as described above. Contrast with those (theoretical values or proof values by the master product: prestored in ROM or backup RAM). Thereby, the correction between the rotation phase detection value based on the output of the rotation angle sensor 17 and the actual rotation phase when the control angle is “0 ° CA” is performed.

Landscapes

  • Engineering & Computer Science (AREA)
  • Power Engineering (AREA)
  • Control Of Eletrric Generators (AREA)
PCT/JP2013/081109 2012-11-22 2013-11-19 電力変換を伴う交流発電システム Ceased WO2014080882A1 (ja)

Priority Applications (2)

Application Number Priority Date Filing Date Title
EP13857496.7A EP2928067B1 (en) 2012-11-22 2013-11-19 System for ac power generation in association with power conversion
US14/646,941 US9685893B2 (en) 2012-11-22 2013-11-19 Alternating current generation system accompanying power conversion

Applications Claiming Priority (2)

Application Number Priority Date Filing Date Title
JP2012-256886 2012-11-22
JP2012256886A JP6050100B2 (ja) 2012-11-22 2012-11-22 交流発電システム

Publications (1)

Publication Number Publication Date
WO2014080882A1 true WO2014080882A1 (ja) 2014-05-30

Family

ID=50776064

Family Applications (1)

Application Number Title Priority Date Filing Date
PCT/JP2013/081109 Ceased WO2014080882A1 (ja) 2012-11-22 2013-11-19 電力変換を伴う交流発電システム

Country Status (4)

Country Link
US (1) US9685893B2 (enExample)
EP (1) EP2928067B1 (enExample)
JP (1) JP6050100B2 (enExample)
WO (1) WO2014080882A1 (enExample)

Cited By (1)

* Cited by examiner, † Cited by third party
Publication number Priority date Publication date Assignee Title
TWI554018B (zh) * 2015-07-29 2016-10-11 Locomotive intelligent rectifier regulator

Families Citing this family (5)

* Cited by examiner, † Cited by third party
Publication number Priority date Publication date Assignee Title
JP6301240B2 (ja) * 2014-02-07 2018-03-28 本田技研工業株式会社 車両用バッテリ充電装置
US9966873B2 (en) * 2014-08-12 2018-05-08 Yiqiang Jake Zhang Active switching rectifier employing MOSFET and current-based control using a hall-effect switch
US11239761B2 (en) * 2018-01-24 2022-02-01 Infineon Technologies Ag Coreless current sensor for high current power module
US11081948B2 (en) * 2018-06-28 2021-08-03 Ford Global Technologies, Llc System and method for in-vehicle resolver alignment
JP2022002423A (ja) * 2018-09-26 2022-01-06 日本電産株式会社 モータ装置

Citations (7)

* Cited by examiner, † Cited by third party
Publication number Priority date Publication date Assignee Title
JPH06456A (ja) 1992-06-18 1994-01-11 Nippon Steel Corp 洗浄装置用ワーク搬送装置
JPH08214470A (ja) 1994-07-19 1996-08-20 Nippondenso Co Ltd 交流発電装置
JPH10262343A (ja) 1997-03-17 1998-09-29 Denso Corp 車両用発電装置
JP2004140927A (ja) * 2002-10-17 2004-05-13 Kokusan Denki Co Ltd 内燃機関駆動発電装置
JP2004173482A (ja) 2002-11-05 2004-06-17 Kokusan Denki Co Ltd 磁石発電機を備えた発電装置
JP2009232650A (ja) 2008-03-25 2009-10-08 Mitsuba Corp 回転電機
JP2012039697A (ja) * 2010-08-04 2012-02-23 Shindengen Electric Mfg Co Ltd 位相制御装置、バッテリ充電装置、および位相制御方法

Family Cites Families (8)

* Cited by examiner, † Cited by third party
Publication number Priority date Publication date Assignee Title
US5663631A (en) 1994-07-19 1997-09-02 Nippondenso Co., Ltd. Generator with circuitry for controlling power generation based on rotational speed
JP3710602B2 (ja) 1997-07-25 2005-10-26 国産電機株式会社 発電装置
JPH11355989A (ja) 1998-06-09 1999-12-24 Denso Corp フライホイール磁石回転子、およびその製造方法
JP2001339889A (ja) * 2000-05-26 2001-12-07 Alps Electric Co Ltd スピンドルモータのロータおよびインデックス信号出力装置とそれらを備えたfdd装置
JP4078890B2 (ja) * 2002-06-17 2008-04-23 国産電機株式会社 内燃機関用スタータジェネレータの制御装置
JP2005171769A (ja) * 2003-12-08 2005-06-30 Kokusan Denki Co Ltd エンジンの回転情報検出装置
JP2006136122A (ja) * 2004-11-05 2006-05-25 Kokusan Denki Co Ltd 発電装置の出力制御装置
JP5319412B2 (ja) * 2009-06-17 2013-10-16 本田技研工業株式会社 自動二輪車のエンジンの逆転防止装置

Patent Citations (7)

* Cited by examiner, † Cited by third party
Publication number Priority date Publication date Assignee Title
JPH06456A (ja) 1992-06-18 1994-01-11 Nippon Steel Corp 洗浄装置用ワーク搬送装置
JPH08214470A (ja) 1994-07-19 1996-08-20 Nippondenso Co Ltd 交流発電装置
JPH10262343A (ja) 1997-03-17 1998-09-29 Denso Corp 車両用発電装置
JP2004140927A (ja) * 2002-10-17 2004-05-13 Kokusan Denki Co Ltd 内燃機関駆動発電装置
JP2004173482A (ja) 2002-11-05 2004-06-17 Kokusan Denki Co Ltd 磁石発電機を備えた発電装置
JP2009232650A (ja) 2008-03-25 2009-10-08 Mitsuba Corp 回転電機
JP2012039697A (ja) * 2010-08-04 2012-02-23 Shindengen Electric Mfg Co Ltd 位相制御装置、バッテリ充電装置、および位相制御方法

Non-Patent Citations (1)

* Cited by examiner, † Cited by third party
Title
See also references of EP2928067A4 *

Cited By (1)

* Cited by examiner, † Cited by third party
Publication number Priority date Publication date Assignee Title
TWI554018B (zh) * 2015-07-29 2016-10-11 Locomotive intelligent rectifier regulator

Also Published As

Publication number Publication date
EP2928067A4 (en) 2016-07-27
US9685893B2 (en) 2017-06-20
JP2014107881A (ja) 2014-06-09
US20150303843A1 (en) 2015-10-22
EP2928067B1 (en) 2021-08-25
JP6050100B2 (ja) 2016-12-21
EP2928067A1 (en) 2015-10-07

Similar Documents

Publication Publication Date Title
JP6050100B2 (ja) 交流発電システム
US6713888B2 (en) Vehicle motor-generator apparatus utilizing synchronous machine having field winding
US9739250B2 (en) Internal combustion engine ignition device
CN105247778B (zh) 在车辆中使用的四冲程发动机单元和车辆
JP2004173482A (ja) 磁石発電機を備えた発電装置
JP5035895B2 (ja) 発電制御装置
WO2015093574A1 (ja) エンジンユニット、及び車両
EP2824826B1 (en) Power generation device, mobile object and power generation control method
JP3945696B2 (ja) 回転検出装置
JP6079650B2 (ja) 回転電機
US9777605B2 (en) Motor control apparatus
JP5008749B2 (ja) 電源装置
JPWO2013171843A1 (ja) 界磁巻線式回転電機および界磁巻線式回転電機の界磁電流制御方法
JP6933859B2 (ja) 一体形スタータ‐ダイナモの制御方法およびシステム
JP6447403B2 (ja) モータ制御装置
US10804828B2 (en) Generator controller
JPWO2019150440A1 (ja) 駆動制御システム、モータ、および、駆動制御システムの制御方法
JP4079421B2 (ja) 回転検出装置
JP6740978B2 (ja) 回転電機
JP2001069797A (ja) 始動発電機の電流調整装置
JP6740976B2 (ja) 回転電機
US10344634B2 (en) Motor drive device for controlling valve timing of internal combustion engine
JP6594781B2 (ja) 点火装置およびその制御方法、並びに内燃機関駆動システム
WO2018097014A1 (ja) 回転センサの異常検出装置
TW201814148A (zh) 車輛

Legal Events

Date Code Title Description
121 Ep: the epo has been informed by wipo that ep was designated in this application

Ref document number: 13857496

Country of ref document: EP

Kind code of ref document: A1

NENP Non-entry into the national phase

Ref country code: DE

WWE Wipo information: entry into national phase

Ref document number: 14646941

Country of ref document: US

WWE Wipo information: entry into national phase

Ref document number: 2013857496

Country of ref document: EP