WO2014050357A1 - 吸収性物品 - Google Patents

吸収性物品 Download PDF

Info

Publication number
WO2014050357A1
WO2014050357A1 PCT/JP2013/072093 JP2013072093W WO2014050357A1 WO 2014050357 A1 WO2014050357 A1 WO 2014050357A1 JP 2013072093 W JP2013072093 W JP 2013072093W WO 2014050357 A1 WO2014050357 A1 WO 2014050357A1
Authority
WO
WIPO (PCT)
Prior art keywords
heat
acid
layer
blood
chain hydrocarbon
Prior art date
Legal status (The legal status is an assumption and is not a legal conclusion. Google has not performed a legal analysis and makes no representation as to the accuracy of the status listed.)
Ceased
Application number
PCT/JP2013/072093
Other languages
English (en)
French (fr)
Japanese (ja)
Inventor
和田 一郎
中下 将志
匡志 宇田
Current Assignee (The listed assignees may be inaccurate. Google has not performed a legal analysis and makes no representation or warranty as to the accuracy of the list.)
Unicharm Corp
Original Assignee
Unicharm Corp
Priority date (The priority date is an assumption and is not a legal conclusion. Google has not performed a legal analysis and makes no representation as to the accuracy of the date listed.)
Filing date
Publication date
Application filed by Unicharm Corp filed Critical Unicharm Corp
Priority to EP13840769.7A priority Critical patent/EP2901975B1/en
Priority to US14/429,966 priority patent/US9730842B2/en
Priority to CN201380042837.6A priority patent/CN104540486B/zh
Publication of WO2014050357A1 publication Critical patent/WO2014050357A1/ja
Anticipated expiration legal-status Critical
Ceased legal-status Critical Current

Links

Images

Classifications

    • AHUMAN NECESSITIES
    • A61MEDICAL OR VETERINARY SCIENCE; HYGIENE
    • A61FFILTERS IMPLANTABLE INTO BLOOD VESSELS; PROSTHESES; DEVICES PROVIDING PATENCY TO, OR PREVENTING COLLAPSING OF, TUBULAR STRUCTURES OF THE BODY, e.g. STENTS; ORTHOPAEDIC, NURSING OR CONTRACEPTIVE DEVICES; FOMENTATION; TREATMENT OR PROTECTION OF EYES OR EARS; BANDAGES, DRESSINGS OR ABSORBENT PADS; FIRST-AID KITS
    • A61F13/00Bandages or dressings; Absorbent pads
    • A61F13/15Absorbent pads, e.g. sanitary towels, swabs or tampons for external or internal application to the body; Supporting or fastening means therefor; Tampon applicators
    • A61F13/51Absorbent pads, e.g. sanitary towels, swabs or tampons for external or internal application to the body; Supporting or fastening means therefor; Tampon applicators characterised by the outer layers of the pads
    • A61F13/511Topsheet, i.e. the permeable cover or layer facing the skin
    • A61F13/51113Topsheet, i.e. the permeable cover or layer facing the skin comprising an additive, e.g. lotion or odour control
    • AHUMAN NECESSITIES
    • A61MEDICAL OR VETERINARY SCIENCE; HYGIENE
    • A61FFILTERS IMPLANTABLE INTO BLOOD VESSELS; PROSTHESES; DEVICES PROVIDING PATENCY TO, OR PREVENTING COLLAPSING OF, TUBULAR STRUCTURES OF THE BODY, e.g. STENTS; ORTHOPAEDIC, NURSING OR CONTRACEPTIVE DEVICES; FOMENTATION; TREATMENT OR PROTECTION OF EYES OR EARS; BANDAGES, DRESSINGS OR ABSORBENT PADS; FIRST-AID KITS
    • A61F13/00Bandages or dressings; Absorbent pads
    • A61F13/15Absorbent pads, e.g. sanitary towels, swabs or tampons for external or internal application to the body; Supporting or fastening means therefor; Tampon applicators
    • A61F13/15577Apparatus or processes for manufacturing
    • A61F13/15804Plant, e.g. involving several steps
    • AHUMAN NECESSITIES
    • A61MEDICAL OR VETERINARY SCIENCE; HYGIENE
    • A61FFILTERS IMPLANTABLE INTO BLOOD VESSELS; PROSTHESES; DEVICES PROVIDING PATENCY TO, OR PREVENTING COLLAPSING OF, TUBULAR STRUCTURES OF THE BODY, e.g. STENTS; ORTHOPAEDIC, NURSING OR CONTRACEPTIVE DEVICES; FOMENTATION; TREATMENT OR PROTECTION OF EYES OR EARS; BANDAGES, DRESSINGS OR ABSORBENT PADS; FIRST-AID KITS
    • A61F13/00Bandages or dressings; Absorbent pads
    • A61F13/15Absorbent pads, e.g. sanitary towels, swabs or tampons for external or internal application to the body; Supporting or fastening means therefor; Tampon applicators
    • A61F13/45Absorbent pads, e.g. sanitary towels, swabs or tampons for external or internal application to the body; Supporting or fastening means therefor; Tampon applicators characterised by the shape
    • A61F13/47Sanitary towels, incontinence pads or napkins
    • A61F13/472Sanitary towels, incontinence pads or napkins specially adapted for female use
    • A61F13/47263Sanitary towels, incontinence pads or napkins specially adapted for female use with activating means, e.g. elastic, heat or chemical activatable means
    • AHUMAN NECESSITIES
    • A61MEDICAL OR VETERINARY SCIENCE; HYGIENE
    • A61FFILTERS IMPLANTABLE INTO BLOOD VESSELS; PROSTHESES; DEVICES PROVIDING PATENCY TO, OR PREVENTING COLLAPSING OF, TUBULAR STRUCTURES OF THE BODY, e.g. STENTS; ORTHOPAEDIC, NURSING OR CONTRACEPTIVE DEVICES; FOMENTATION; TREATMENT OR PROTECTION OF EYES OR EARS; BANDAGES, DRESSINGS OR ABSORBENT PADS; FIRST-AID KITS
    • A61F13/00Bandages or dressings; Absorbent pads
    • A61F13/15Absorbent pads, e.g. sanitary towels, swabs or tampons for external or internal application to the body; Supporting or fastening means therefor; Tampon applicators
    • A61F13/51Absorbent pads, e.g. sanitary towels, swabs or tampons for external or internal application to the body; Supporting or fastening means therefor; Tampon applicators characterised by the outer layers of the pads
    • A61F13/511Topsheet, i.e. the permeable cover or layer facing the skin
    • A61F13/51104Topsheet, i.e. the permeable cover or layer facing the skin the top sheet having a three-dimensional cross-section, e.g. corrugations, embossments, recesses or projections
    • AHUMAN NECESSITIES
    • A61MEDICAL OR VETERINARY SCIENCE; HYGIENE
    • A61FFILTERS IMPLANTABLE INTO BLOOD VESSELS; PROSTHESES; DEVICES PROVIDING PATENCY TO, OR PREVENTING COLLAPSING OF, TUBULAR STRUCTURES OF THE BODY, e.g. STENTS; ORTHOPAEDIC, NURSING OR CONTRACEPTIVE DEVICES; FOMENTATION; TREATMENT OR PROTECTION OF EYES OR EARS; BANDAGES, DRESSINGS OR ABSORBENT PADS; FIRST-AID KITS
    • A61F13/00Bandages or dressings; Absorbent pads
    • A61F13/15Absorbent pads, e.g. sanitary towels, swabs or tampons for external or internal application to the body; Supporting or fastening means therefor; Tampon applicators
    • A61F13/51Absorbent pads, e.g. sanitary towels, swabs or tampons for external or internal application to the body; Supporting or fastening means therefor; Tampon applicators characterised by the outer layers of the pads
    • A61F13/511Topsheet, i.e. the permeable cover or layer facing the skin
    • A61F13/5116Topsheet, i.e. the permeable cover or layer facing the skin being formed of multiple layers
    • AHUMAN NECESSITIES
    • A61MEDICAL OR VETERINARY SCIENCE; HYGIENE
    • A61FFILTERS IMPLANTABLE INTO BLOOD VESSELS; PROSTHESES; DEVICES PROVIDING PATENCY TO, OR PREVENTING COLLAPSING OF, TUBULAR STRUCTURES OF THE BODY, e.g. STENTS; ORTHOPAEDIC, NURSING OR CONTRACEPTIVE DEVICES; FOMENTATION; TREATMENT OR PROTECTION OF EYES OR EARS; BANDAGES, DRESSINGS OR ABSORBENT PADS; FIRST-AID KITS
    • A61F13/00Bandages or dressings; Absorbent pads
    • A61F13/15Absorbent pads, e.g. sanitary towels, swabs or tampons for external or internal application to the body; Supporting or fastening means therefor; Tampon applicators
    • A61F13/51Absorbent pads, e.g. sanitary towels, swabs or tampons for external or internal application to the body; Supporting or fastening means therefor; Tampon applicators characterised by the outer layers of the pads
    • A61F13/511Topsheet, i.e. the permeable cover or layer facing the skin
    • A61F13/512Topsheet, i.e. the permeable cover or layer facing the skin characterised by its apertures, e.g. perforations
    • AHUMAN NECESSITIES
    • A61MEDICAL OR VETERINARY SCIENCE; HYGIENE
    • A61FFILTERS IMPLANTABLE INTO BLOOD VESSELS; PROSTHESES; DEVICES PROVIDING PATENCY TO, OR PREVENTING COLLAPSING OF, TUBULAR STRUCTURES OF THE BODY, e.g. STENTS; ORTHOPAEDIC, NURSING OR CONTRACEPTIVE DEVICES; FOMENTATION; TREATMENT OR PROTECTION OF EYES OR EARS; BANDAGES, DRESSINGS OR ABSORBENT PADS; FIRST-AID KITS
    • A61F13/00Bandages or dressings; Absorbent pads
    • A61F13/15Absorbent pads, e.g. sanitary towels, swabs or tampons for external or internal application to the body; Supporting or fastening means therefor; Tampon applicators
    • A61F13/84Accessories, not otherwise provided for, for absorbent pads
    • A61F13/8405Additives, e.g. for odour, disinfectant or pH control
    • AHUMAN NECESSITIES
    • A61MEDICAL OR VETERINARY SCIENCE; HYGIENE
    • A61LMETHODS OR APPARATUS FOR STERILISING MATERIALS OR OBJECTS IN GENERAL; DISINFECTION, STERILISATION OR DEODORISATION OF AIR; CHEMICAL ASPECTS OF BANDAGES, DRESSINGS, ABSORBENT PADS OR SURGICAL ARTICLES; MATERIALS FOR BANDAGES, DRESSINGS, ABSORBENT PADS OR SURGICAL ARTICLES
    • A61L15/00Chemical aspects of, or use of materials for, bandages, dressings or absorbent pads
    • A61L15/16Bandages, dressings or absorbent pads for physiological fluids such as urine or blood, e.g. sanitary towels, tampons
    • A61L15/20Bandages, dressings or absorbent pads for physiological fluids such as urine or blood, e.g. sanitary towels, tampons containing organic materials
    • AHUMAN NECESSITIES
    • A61MEDICAL OR VETERINARY SCIENCE; HYGIENE
    • A61LMETHODS OR APPARATUS FOR STERILISING MATERIALS OR OBJECTS IN GENERAL; DISINFECTION, STERILISATION OR DEODORISATION OF AIR; CHEMICAL ASPECTS OF BANDAGES, DRESSINGS, ABSORBENT PADS OR SURGICAL ARTICLES; MATERIALS FOR BANDAGES, DRESSINGS, ABSORBENT PADS OR SURGICAL ARTICLES
    • A61L15/00Chemical aspects of, or use of materials for, bandages, dressings or absorbent pads
    • A61L15/16Bandages, dressings or absorbent pads for physiological fluids such as urine or blood, e.g. sanitary towels, tampons
    • A61L15/42Use of materials characterised by their function or physical properties
    • A61L15/50Lubricants; Anti-adhesive agents
    • AHUMAN NECESSITIES
    • A61MEDICAL OR VETERINARY SCIENCE; HYGIENE
    • A61FFILTERS IMPLANTABLE INTO BLOOD VESSELS; PROSTHESES; DEVICES PROVIDING PATENCY TO, OR PREVENTING COLLAPSING OF, TUBULAR STRUCTURES OF THE BODY, e.g. STENTS; ORTHOPAEDIC, NURSING OR CONTRACEPTIVE DEVICES; FOMENTATION; TREATMENT OR PROTECTION OF EYES OR EARS; BANDAGES, DRESSINGS OR ABSORBENT PADS; FIRST-AID KITS
    • A61F13/00Bandages or dressings; Absorbent pads
    • A61F13/15Absorbent pads, e.g. sanitary towels, swabs or tampons for external or internal application to the body; Supporting or fastening means therefor; Tampon applicators
    • A61F13/15203Properties of the article, e.g. stiffness or absorbency
    • A61F2013/15284Properties of the article, e.g. stiffness or absorbency characterized by quantifiable properties
    • A61F2013/15422Density
    • A61F2013/15439Density with a density gradient in the vertical plane
    • AHUMAN NECESSITIES
    • A61MEDICAL OR VETERINARY SCIENCE; HYGIENE
    • A61FFILTERS IMPLANTABLE INTO BLOOD VESSELS; PROSTHESES; DEVICES PROVIDING PATENCY TO, OR PREVENTING COLLAPSING OF, TUBULAR STRUCTURES OF THE BODY, e.g. STENTS; ORTHOPAEDIC, NURSING OR CONTRACEPTIVE DEVICES; FOMENTATION; TREATMENT OR PROTECTION OF EYES OR EARS; BANDAGES, DRESSINGS OR ABSORBENT PADS; FIRST-AID KITS
    • A61F13/00Bandages or dressings; Absorbent pads
    • A61F13/15Absorbent pads, e.g. sanitary towels, swabs or tampons for external or internal application to the body; Supporting or fastening means therefor; Tampon applicators
    • A61F13/51Absorbent pads, e.g. sanitary towels, swabs or tampons for external or internal application to the body; Supporting or fastening means therefor; Tampon applicators characterised by the outer layers of the pads
    • A61F2013/51002Absorbent pads, e.g. sanitary towels, swabs or tampons for external or internal application to the body; Supporting or fastening means therefor; Tampon applicators characterised by the outer layers of the pads with special fibres
    • A61F2013/51014Absorbent pads, e.g. sanitary towels, swabs or tampons for external or internal application to the body; Supporting or fastening means therefor; Tampon applicators characterised by the outer layers of the pads with special fibres characterized by the connection between the fibres
    • A61F2013/51016Absorbent pads, e.g. sanitary towels, swabs or tampons for external or internal application to the body; Supporting or fastening means therefor; Tampon applicators characterised by the outer layers of the pads with special fibres characterized by the connection between the fibres followed by a distension heat treatment
    • AHUMAN NECESSITIES
    • A61MEDICAL OR VETERINARY SCIENCE; HYGIENE
    • A61FFILTERS IMPLANTABLE INTO BLOOD VESSELS; PROSTHESES; DEVICES PROVIDING PATENCY TO, OR PREVENTING COLLAPSING OF, TUBULAR STRUCTURES OF THE BODY, e.g. STENTS; ORTHOPAEDIC, NURSING OR CONTRACEPTIVE DEVICES; FOMENTATION; TREATMENT OR PROTECTION OF EYES OR EARS; BANDAGES, DRESSINGS OR ABSORBENT PADS; FIRST-AID KITS
    • A61F13/00Bandages or dressings; Absorbent pads
    • A61F13/15Absorbent pads, e.g. sanitary towels, swabs or tampons for external or internal application to the body; Supporting or fastening means therefor; Tampon applicators
    • A61F13/51Absorbent pads, e.g. sanitary towels, swabs or tampons for external or internal application to the body; Supporting or fastening means therefor; Tampon applicators characterised by the outer layers of the pads
    • A61F2013/51059Absorbent pads, e.g. sanitary towels, swabs or tampons for external or internal application to the body; Supporting or fastening means therefor; Tampon applicators characterised by the outer layers of the pads being sprayed with chemicals
    • A61F2013/51066Absorbent pads, e.g. sanitary towels, swabs or tampons for external or internal application to the body; Supporting or fastening means therefor; Tampon applicators characterised by the outer layers of the pads being sprayed with chemicals for rendering the surface hydrophilic
    • AHUMAN NECESSITIES
    • A61MEDICAL OR VETERINARY SCIENCE; HYGIENE
    • A61FFILTERS IMPLANTABLE INTO BLOOD VESSELS; PROSTHESES; DEVICES PROVIDING PATENCY TO, OR PREVENTING COLLAPSING OF, TUBULAR STRUCTURES OF THE BODY, e.g. STENTS; ORTHOPAEDIC, NURSING OR CONTRACEPTIVE DEVICES; FOMENTATION; TREATMENT OR PROTECTION OF EYES OR EARS; BANDAGES, DRESSINGS OR ABSORBENT PADS; FIRST-AID KITS
    • A61F13/00Bandages or dressings; Absorbent pads
    • A61F13/15Absorbent pads, e.g. sanitary towels, swabs or tampons for external or internal application to the body; Supporting or fastening means therefor; Tampon applicators
    • A61F13/51Absorbent pads, e.g. sanitary towels, swabs or tampons for external or internal application to the body; Supporting or fastening means therefor; Tampon applicators characterised by the outer layers of the pads
    • A61F2013/51059Absorbent pads, e.g. sanitary towels, swabs or tampons for external or internal application to the body; Supporting or fastening means therefor; Tampon applicators characterised by the outer layers of the pads being sprayed with chemicals
    • A61F2013/51073Absorbent pads, e.g. sanitary towels, swabs or tampons for external or internal application to the body; Supporting or fastening means therefor; Tampon applicators characterised by the outer layers of the pads being sprayed with chemicals with lubricants
    • AHUMAN NECESSITIES
    • A61MEDICAL OR VETERINARY SCIENCE; HYGIENE
    • A61FFILTERS IMPLANTABLE INTO BLOOD VESSELS; PROSTHESES; DEVICES PROVIDING PATENCY TO, OR PREVENTING COLLAPSING OF, TUBULAR STRUCTURES OF THE BODY, e.g. STENTS; ORTHOPAEDIC, NURSING OR CONTRACEPTIVE DEVICES; FOMENTATION; TREATMENT OR PROTECTION OF EYES OR EARS; BANDAGES, DRESSINGS OR ABSORBENT PADS; FIRST-AID KITS
    • A61F13/00Bandages or dressings; Absorbent pads
    • A61F13/15Absorbent pads, e.g. sanitary towels, swabs or tampons for external or internal application to the body; Supporting or fastening means therefor; Tampon applicators
    • A61F13/84Accessories, not otherwise provided for, for absorbent pads
    • A61F13/8405Additives, e.g. for odour, disinfectant or pH control
    • A61F2013/8455Additives, e.g. for odour, disinfectant or pH control being lubricants
    • AHUMAN NECESSITIES
    • A61MEDICAL OR VETERINARY SCIENCE; HYGIENE
    • A61LMETHODS OR APPARATUS FOR STERILISING MATERIALS OR OBJECTS IN GENERAL; DISINFECTION, STERILISATION OR DEODORISATION OF AIR; CHEMICAL ASPECTS OF BANDAGES, DRESSINGS, ABSORBENT PADS OR SURGICAL ARTICLES; MATERIALS FOR BANDAGES, DRESSINGS, ABSORBENT PADS OR SURGICAL ARTICLES
    • A61L2400/00Materials characterised by their function or physical properties
    • A61L2400/10Materials for lubricating medical devices

Definitions

  • the present invention relates to an absorbent article.
  • liquid excreta such as menstrual blood permeates the liquid permeable layer such as the top sheet and is absorbed and retained by the absorbent body. Therefore, it tends to remain in the liquid permeable layer.
  • menstrual blood remains in the liquid-permeable layer of the absorbent article, it gives the wearer a feeling of stickiness, visual discomfort, etc .. It is required to reduce menstrual blood remaining in the sex layer.
  • Patent Documents 1 and 2 an absorbent article in which a lotion composition is coated on a top sheet is known.
  • a lotion composition containing a polypropylene glycol material contains an inner surface of the top sheet (clothing side surface), an inner surface of the back sheet (body side surface), an inner surface of the top sheet, and an inner surface of the back sheet.
  • Patent Document 2 a lotion composition containing a polypropylene glycol material is applied to the outer surface (the body-side surface) of the top sheet.
  • top sheets having a concavo-convex structure on the surface are known (Patent Documents 3 to 5).
  • the non-skin-shrinkable fiber layer is provided on the skin contact surface side, and the heat-shrinkable fiber layer partially joined to the non-heat-shrinkable fiber layer by the joint is provided on the non-skin-contact surface.
  • the concavo-convex structure is formed on the surface of the top sheet by heat-treating the laminated sheet on the side and raising the non-heat-shrinkable fiber layer to the skin contact surface side by heat shrinkage of the heat-shrinkable fiber layer .
  • Patent Documents 1 to 5 have not been designed to improve menstrual blood transfer from a liquid permeable layer such as a top sheet to an absorber and reduce menstrual blood remaining in the liquid permeable layer. Accordingly, an object of the present invention is to provide an absorbent article having improved menstrual blood transfer from a liquid permeable layer to an absorber and capable of reducing menstrual blood remaining in the liquid permeable layer. To do.
  • the present invention provides an absorption device comprising a liquid-permeable layer, a liquid-impermeable layer, and an absorber provided between the liquid-permeable layer and the liquid-impermeable layer.
  • the liquid permeable layer includes a first layer having a skin contact surface and a non-skin contact surface, and a second layer provided on the non-skin contact surface side of the first layer.
  • the second layer is a heat-shrinkable fiber layer
  • the first layer is a non-heat-shrinkable fiber layer partially bonded to the heat-shrinkable fiber layer by a bonding portion.
  • the absorbent article of the present invention when menstrual blood excreted from the wearer reaches the excretory opening contact region, it slides down together with the blood slipperiness-imparting agent present in the convex portion, passes through the liquid permeable layer, and the absorbent body. Migrate to Therefore, the absorbent article of the present invention has improved menstrual blood transfer from the liquid permeable layer to the absorber, and can reduce menstrual blood remaining in the liquid permeable layer. For this reason, the sticky feeling of the skin contact surface of a liquid-permeable layer is prevented, and a smooth feeling is maintained. The effect of such a blood slipperiness-imparting agent is exerted irrespective of changes in menstrual blood discharge (that is, whether menstrual blood discharged at a time is large or small). .
  • an absorbent article that has improved menstrual blood transfer from a liquid permeable layer to an absorber and can reduce menstrual blood remaining in the liquid permeable layer.
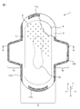
  • FIG. 1 is a partially broken plan view of a sanitary napkin according to an embodiment of the absorbent article of the present invention.
  • 2 is a cross-sectional view taken along line AA in FIG.
  • FIG. 3 is a partial perspective view of a top sheet provided in the sanitary napkin shown in FIG. 1.
  • FIG. 4 is a partially enlarged cross-sectional view illustrating a process in which a top sheet is manufactured by a heat shrink process.
  • FIG. 5 is a diagram for explaining a method for producing a sanitary napkin.
  • FIG. 6 is an electron micrograph of the skin contact surface of the top sheet in a sanitary napkin where the top sheet contains tri-C2L oil fatty acid glycerides.
  • FIG. 1 is a partially broken plan view of a sanitary napkin according to an embodiment of the absorbent article of the present invention.
  • 2 is a cross-sectional view taken along line AA in FIG.
  • FIG. 3 is a partial perspective view of a top sheet provided in the
  • FIG. 7 is a photomicrograph of menstrual blood with or without a blood slipping agent.
  • FIG. 8 is a diagram for explaining a method of measuring the surface tension.
  • FIG. 9 is a partially enlarged plan view of the embossing roll used in Test Example 8.
  • the absorbent article which concerns on aspect 1 is an absorbent article provided with the liquid permeable layer, the liquid impermeable layer, and the absorber provided between the said liquid permeable layer and the said liquid impermeable layer.
  • the liquid permeable layer includes a first layer having a skin contact surface and a non-skin contact surface, and a second layer provided on the non-skin contact surface side of the first layer, The second layer is a heat-shrinkable fiber layer, and the first layer is a non-heat-shrinkable fiber layer partially bonded to the heat-shrinkable fiber layer by a bonding portion.
  • the term “heat-shrinkable fiber” means that the actual fiber length is not shortened by the heat treatment in addition to the fiber whose actual fiber length is shortened by the heat treatment, but the apparent fiber length. Is used to encompass fibers that become shorter (eg, latently crimpable fibers whose apparent fiber length becomes shorter due to crimp development), and the term “non-heat-shrinkable fiber” is substantially heat-shrinkable In addition to the fiber having no heat shrinkage, the fiber has heat shrinkage, but the heat shrinkage start temperature is higher than the heat shrinkage start temperature of the heat shrinkable fiber contained in the heat shrinkable fiber layer (that is, heat shrinkability It is used to include fibers that do not substantially heat shrink at a temperature lower than the heat shrinkage start temperature of the heat shrinkable fibers contained in the fiber layer.
  • the density of the second layer is greater than the density of the first layer. According to the aspect 2, the menstrual blood transfer property from the first layer to the second layer is improved.
  • the density of a 2nd layer is 0.1 g / cm ⁇ 3 > or less. According to the aspect 3, the effect of the blood slipperiness imparting agent is effectively exhibited without being inhibited by the second layer.
  • the density of the first layer is 0.05 g / cm 3 or less. According to the aspect 4, the effect of the blood slipperiness imparting agent is effectively exhibited without being inhibited by the first layer.
  • the joining portion is a pressing portion that integrates the non-heat-shrinkable fiber layer and the heat-shrinkable fiber layer in the thickness direction.
  • the IOB of the blood slipperiness imparting agent is an IOB of 0.00 to 0.60.
  • the blood slipperiness imparting agent includes the following (i) to (iii): (I) hydrocarbons, (Ii) from (ii-1) a hydrocarbon moiety and (ii-2) a carbonyl group (—CO—) and an oxy group (—O—) inserted between the CC single bonds of the hydrocarbon moiety.
  • the blood slipperiness imparting agent comprises the following (i ′) to (iii ′): (I ′) hydrocarbon, (Ii ′) (ii′-1) a hydrocarbon moiety and (ii′-2) a carbonyl bond (—CO—) or an ester bond (—COO— inserted between the C—C single bonds of the hydrocarbon moiety.
  • the blood slipperiness-imparting agent includes the following (A) to (F): (A) (A1) a compound having a chain hydrocarbon moiety and 2 to 4 hydroxyl groups replacing hydrogen atoms in the chain hydrocarbon moiety, (A2) a chain hydrocarbon moiety, and a chain carbon An ester with a compound having one carboxyl group replacing a hydrogen atom of the hydrogen moiety, (B) (B1) a compound having a chain hydrocarbon moiety and 2 to 4 hydroxyl groups replacing hydrogen atoms in the chain hydrocarbon moiety, (B2) a chain hydrocarbon moiety, and a chain hydrocarbon An ether with a compound having one hydroxyl group replacing a hydrogen atom of the hydrogen moiety, (C) (C1) a carboxylic acid, a hydroxy acid, an alkoxy acid or an oxo acid containing a chain hydrocarbon moiety and 2 to 4 carboxyl
  • the blood slipperiness-imparting agent is (a 1 ) an ester of a chain hydrocarbon tetraol and at least one fatty acid, (a 2 ) An ester of a chain hydrocarbon triol and at least one fatty acid, (a 3 ) an ester of a chain hydrocarbon diol and at least one fatty acid, (b 1 ) a chain hydrocarbon tetraol and at least one aliphatic 1 An ether of a monohydric alcohol, (b 2 ) an ether of a chain hydrocarbon triol and at least one aliphatic monohydric alcohol, (b 3 ) an ether of a chain hydrocarbon diol and at least one aliphatic monohydric alcohol, (c 1) chain hydrocarbon tetracarboxylic acids having 4 carboxyl groups, hydroxy acid, alkoxy acid or oxo acid, at least one aliphatic
  • the blood slipperiness imparting agent has a vapor pressure of 0.00 to 0.01 Pa at 1 atm and 40 ° C.
  • the kind and application of the absorbent article of the present invention are not particularly limited.
  • the absorbent article include sanitary products and sanitary products such as sanitary napkins and panty liners, and these may be used for humans and non-human animals such as pets.
  • the liquid to be absorbed by the absorbent article is not particularly limited, but is mainly liquid excrement such as menstrual blood.
  • an embodiment of the absorbent article of the present invention will be described based on the drawings, taking a sanitary napkin as an example.
  • a sanitary napkin 1 according to an embodiment of the absorbent article of the present invention includes a liquid-permeable top sheet 2, a liquid-impermeable back sheet 3, and a top sheet 2. And an absorbent body 4 provided between the back sheets 3.
  • the X-axis direction corresponds to the width direction of the sanitary napkin 1
  • the Y-axis direction corresponds to the longitudinal direction of the sanitary napkin 1
  • the plane direction extending in the X-axis Y-axis direction corresponds to the plane direction of the sanitary napkin 1.
  • the sanitary napkin 1 is worn for the purpose of absorbing liquid excretion such as menstrual blood.
  • the top sheet 2 is worn on the skin side of the wearer, and the back sheet 3 is worn on the clothes (underwear) side of the wearer.
  • Liquid excreta such as menstrual blood passes through the top sheet 2 to reach the absorber 4 and is absorbed and held by the absorber 4. Leakage of liquid excretion absorbed and held by the absorber 4 is prevented by the back sheet 3.
  • the top sheet 2 and the back sheet 3 are joined at their longitudinal ends by seal portions 11 a and 11 b to form a main body portion 6, and end portions in the width direction are sealed portions 12 a. , 12b and substantially rectangular wings 7a, 7b extending in the width direction from the main body 6 are formed.
  • the shape of the main body portion 6 can be adjusted as appropriate within a range suitable for the wearer's body, underwear, etc. Examples of the shape of the main body portion 6 include a substantially rectangular shape, a substantially oval shape, and a generally saddle shape. .
  • the total length in the longitudinal direction of the main body 6 is usually 100 to 500 mm, preferably 150 to 350 mm.
  • the total length in the width direction of the main body 6 is usually 30 to 200 mm, preferably 40 to 180 mm.
  • Examples of the bonding mode by the seal portions 11a, 11b, 12a, and 12b include embossing, ultrasonic waves, hot-melt adhesives, and the like. In order to increase the bonding strength, two or more bonding modes may be combined (for example, embossing is performed after bonding with a hot-melt adhesive).
  • embossing for example, a method of embossing by passing the top sheet 2 and the back sheet 3 together between an embossing roll having a patterned convex portion and a flat roll (a method called a so-called round seal), etc. Is mentioned.
  • the emboss pattern include a lattice pattern, a staggered pattern, and a wavy pattern.
  • the hot melt adhesive for example, styrene-ethylene-butadiene-styrene (SEBS), styrene-butadiene-styrene (SBS), styrene-isoprene-styrene (SIS), or the like, or linear Pressure-sensitive adhesives or heat-sensitive adhesives mainly composed of olefins such as low density polyethylene; water-soluble polymers (for example, polyvinyl alcohol, carboxymethyl cellulose, gelatin, etc.) or water-swellable polymers (for example, polyvinyl acetate, poly And water sensitive adhesives such as sodium acrylate).
  • the method for applying the adhesive include spiral coating, coater coating, curtain coater coating, and summit gun coating.
  • adhesive portions 13 a and 13 b are provided on the clothing side of the backsheet 3 that forms the wing portions 7 a and 7 b, and on the clothing side of the backsheet 3 that forms the main body portion 6, An adhesive portion 13c is provided.
  • the sanitary napkin 1 is obtained by attaching the adhesive part 13c to the crotch part of the underwear, bending the wing parts 7a and 7b to the outer surface side of the underwear, and attaching the adhesive parts 13a and 13b to the crotch part of the underwear. Stablely fixed to underwear.
  • Examples of the adhesive contained in the adhesive portions 13a, 13b, and 13c include styrene-ethylene-butylene-styrene block copolymers, styrene-butylene polymers, styrene-butylene-styrene block copolymers, and styrene-isobutylene- Styrene polymers such as styrene copolymers; tackifiers such as C5 petroleum resins, C9 petroleum resins, dicyclopentadiene petroleum resins, rosin petroleum resins, polyterpene resins, terpene phenol resins; trifresyl phosphate, phthalic acid Examples include monomer plasticizers such as dibutyl and dioctyl phthalate; polymer plasticizers such as vinyl polymer and polyester.
  • the top sheet 2 is a sheet through which liquid excreta such as menstrual blood can permeate, and is an example of a liquid permeable layer. As shown in FIGS. 2 and 3, a large number of convex portions 8 and concave portions 9 are formed on the skin contact surface (the upper surface in FIGS. 2 and 3) of the top sheet 2. As shown in FIG. 3, the topsheet 2 has a first layer 21 and a second layer 22, but in FIG. 2, the topsheet 2 is shown in a simplified manner, and the first layer 21 and the second layer 22 are shown. The two layers 22 are omitted.
  • the convex portion 8 is formed on substantially the entire absorbent body arrangement region including the excretory opening contact region 20 in the skin contact surface of the top sheet 2. What is necessary is just to be formed in the excretion opening
  • the absorber arrangement region is a region where the absorber 4 overlaps the top sheet 2 when the absorber 4 is projected onto the top sheet 2.
  • the excretion opening contact area 20 is an area where the wearer's excretion opening (for example, small labia, large labia, etc.) abuts when the sanitary napkin 1 is worn.
  • the excretory opening contact region 20 is a region surrounded by a dotted line in FIG. 1, and is set at substantially the center of the absorber arrangement region. The position, area, and the like of the excretion opening contact region 20 can be adjusted as appropriate.
  • the excretory opening contact area 20 may be set as an area substantially the same as the area where the excretion opening actually contacts, or may be set as a larger area, but liquid excrement such as menstrual blood From the viewpoint of preventing leakage to the outside, it is preferably set as a region larger than the region where the excretion port actually contacts.
  • the excretion opening contact region 20 has a length of usually 50 to 200 mm, preferably 70 to 150 mm, and a width of usually 10 to 80 mm, preferably 20 to 50 mm.
  • the excretory opening contact area 20 is set as a virtual area, but may be set as a visually recognizable area. Visual recognition is possible, for example, by coloring the excretory opening contact area 20, forming a recess (for example, a recess formed by heat embossing) at the periphery of the excretion opening contact area 20, or the like.
  • substantially the entire excretory opening contact region 20 has a kinematic viscosity at 40 ° C. of 0.01 to 80 mm 2 / s, a water retention of 0.01 to 4.0% by mass, and a weight average molecular weight.
  • the blood slipperiness imparting agent which is less than 1,000 is applied. Refer to the separate item for details of the blood slipperiness-imparting agent.
  • the blood slipperiness imparting agent is applied to substantially the entire excretory opening contact area 20, but the blood slipperiness imparting agent is applied to at least the convex portion 8 in the excretion opening contact area 20. It only has to be done. As long as the blood slipperiness imparting agent is applied to at least the convex portion 8 in the excretory opening contact region 20, it is applied to a portion other than the convex portion 8 (for example, the concave portion 9). Alternatively, it may be applied to a region other than the excretion opening contact area 20 (for example, a peripheral area of the excretion opening contact area 20) on the skin contact surface. For example, the blood slipperiness-imparting agent can be applied to substantially the entire skin contact surface or substantially the entire absorber arrangement region.
  • the blood slipperiness imparting agent When the blood slipperiness imparting agent is applied to at least the convex portion 8 in the excretory opening contact region 20, the following effects are exhibited.
  • menstrual blood excreted from the wearer reaches the excretory opening contact region 20, it slides down into the concave portion 9 together with the blood slipperiness imparting agent present in the convex portion 8, passes through the top sheet 2, and shifts to the absorber 4. . Therefore, the sanitary napkin 1 has improved menstrual blood transfer from the top sheet 2 to the absorbent body 4, and can reduce menstrual blood remaining on the top sheet 2. For this reason, the sticky feeling of the skin contact surface of the top sheet 2 is prevented, and a smooth feeling is maintained. The effect of such a blood slipperiness-imparting agent is exerted irrespective of changes in menstrual blood discharge (that is, whether menstrual blood discharged at a time is large or small). .
  • lubricity imparting agent exhibits effectively. Is done.
  • the effect of the blood slipperiness imparting agent can be enhanced by applying the blood slipperiness imparting agent to the concave portion 9 in addition to the convex portion 8.
  • lubricity imparting agent acts also as a lubrication agent and reduces the friction between fibers, the suppleness of the whole top sheet 2 can be improved.
  • the sanitary napkin 1 is different from known absorbent articles including skin care compositions, lotion compositions, etc., and does not require components such as emollients and immobilizing agents. It can be applied to the sheet 2.
  • the basis weight of the blood slipperiness imparting agent is usually about 1 to 30 g / m 2 , preferably about 2 to 20 g / m 2 , more preferably about 3 to 10 g / m 2 .
  • the basis weight of the blood slipperiness-imparting agent is less than about 1 g / m 2 , menstrual blood tends to remain in the top sheet 2, while when the basis weight of the blood slipperiness-imparting agent exceeds about 30 g / m 2 , The sticky feeling during wearing tends to increase.
  • the basis weight of the blood slipperiness-imparting agent can be measured, for example, as follows. (1) The range to be measured of the top sheet is cut out with a sharp blade, for example, a cutter blade, so as not to change its thickness as much as possible, and a sample is obtained. (2) The area of the sample: SA (m 2 ) and the mass: SM 0 (g) are measured. (3) The sample is stirred for at least 3 minutes in a solvent capable of dissolving the blood lubricity-imparting agent, such as ethanol, acetone, etc., and the blood lubricity-imparting agent is dissolved in the solvent.
  • a solvent capable of dissolving the blood lubricity-imparting agent such as ethanol, acetone, etc.
  • the sample is filtered on the filter paper whose mass has been measured, and the sample is thoroughly washed with a solvent on the filter paper.
  • the sample on the filter paper is dried in an oven at 60 ° C.
  • the mass of the filter paper and the sample is measured, and the mass of the filter paper is subtracted therefrom to calculate the mass of the sample after drying: SM 1 (g).
  • BBS (g / m 2 ) [SM 0 (g) ⁇ SM 1 (g)] / SA (m 2 ) Calculated by In order to reduce the error, a plurality of samples are collected from a plurality of absorbent articles so that the total area of the samples exceeds 100 cm 2 , the experiment is repeated a plurality of times, and an average value thereof is adopted.
  • the blood slipperiness-imparting agent is preferably applied so as not to block the gaps between the fibers of the topsheet 2.
  • the blood slipperiness imparting agent adheres to the surface of the fiber of the top sheet 2 in the form of droplets or particles, or covers the surface of the fiber.
  • the blood slipperiness-imparting agent is preferably coated so that its surface area becomes large. Thereby, the contact area of a blood slipperiness
  • the surface area can be increased by reducing the particle size.
  • Examples of the coating method of the blood slipperiness-imparting agent include a method using a coating apparatus (non-contact type coater such as spiral coater, curtain coater, spray coater, dip coater, contact type coater, etc.).
  • a preferred coating apparatus is a non-contact type coater.
  • the blood slipperiness imparting agent can be applied as a coating liquid containing a volatile solvent, for example, an alcohol solvent, an ester solvent, an aromatic solvent, or the like, if desired.
  • a volatile solvent for example, an alcohol solvent, an ester solvent, an aromatic solvent, or the like.
  • the blood slipperiness-imparting agent is, for example, a control seam HMA (Hot Melt Adhesive) as it is in the case of a liquid at room temperature or heated to lower the viscosity and heated to be liquefied in the case of a solid at room temperature. ) Can be applied by gun. By increasing the air pressure of the control seam HMA gun, it is possible to apply a particulate blood slipping agent. In addition, the application quantity of a blood slipperiness
  • a control seam HMA Hot Melt Adhesive
  • the blood slipperiness-imparting agent may be applied when the top sheet 2 is produced, or may be applied on the production line of the sanitary napkin 1. From the viewpoint of suppressing capital investment, it is preferable to apply a blood slipperiness-imparting agent in the production line of the sanitary napkin 1, and further suppress the blood slipperiness-imparting agent from dropping and contaminating the line. Therefore, it is preferable to apply the blood slipperiness imparting agent immediately downstream of the production line, specifically, immediately before the product is enclosed in the individual package.
  • the top sheet 2 includes a first layer 21 having a skin contact surface and a non-skin contact surface, and a second layer provided on the non-skin contact surface side of the first layer 21.
  • Layer 22 As shown in FIGS. 3 and 4, the top sheet 2 includes a first layer 21 having a skin contact surface and a non-skin contact surface, and a second layer provided on the non-skin contact surface side of the first layer 21. Layer 22.
  • One surface (upper surface in FIGS. 3 and 4) of the first layer 21 is a skin contact surface, and the other surface (lower surface in FIGS. 3 and 4) is a non-skin contact surface.
  • the second layer 22 is laminated on the non-skin contact surface of the first layer 21, and the top sheet 2 has a two-layer structure.
  • the top sheet 2 may have one or two or more third layers in addition to the first layer 21 and the second layer 22.
  • the position where the third layer is provided is not particularly limited.
  • one or more third layers can be provided between the first layer 21 and the second layer 22.
  • the third layer can be a non-heat-shrinkable fiber layer or a heat-shrinkable fiber layer.
  • the third layer is other than the fiber layer. It may be a layer (for example, an adhesive layer).
  • the top sheet 2 partially includes a non-heat-shrinkable fiber layer 21 ′, a heat-shrinkable fiber layer 22 ′, a non-heat-shrinkable fiber layer 21 ′, and a heat-shrinkable fiber layer 22 ′.
  • the laminated sheet 2 ′ having a pressing part 5 ′ bonded to the heat treatment is manufactured by heat treatment, and the non-heat-shrinkable fiber layer 21 ′ and the heat-shrinkable fiber layer 22 ′ after the heat treatment are respectively first. It corresponds to the layer 21 and the second layer 22.
  • the laminated sheet 2 ′ is formed by laminating a non-heat-shrinkable fiber layer 21 ′ and a heat-shrinkable fiber layer 22 ′ manufactured by a predetermined method as an upper layer and a lower layer, respectively, and then an embossing device 220. It can be manufactured by passing between the upper roll 221 and the lower roll 222.
  • the non-heat-shrinkable fiber layer 21 ' is a layer containing one type or two or more types of non-heat-shrinkable fibers.
  • the non-heat-shrinkable fiber may be a fiber that does not substantially have heat-shrinkability, or has heat-shrinkability, but the heat-shrinkage start temperature is the heat contained in the heat-shrinkable fiber layer 22 ′.
  • a fiber higher than the heat shrinkage start temperature of the shrinkable fiber that is, a fiber that does not substantially heat shrink at a temperature equal to or lower than the heat shrinkage start temperature of the heat shrinkable fiber contained in the heat shrinkable fiber layer 22 ′
  • Non-heat-shrinkable fibers include, for example, regenerated fibers such as rayon; semi-synthetic fibers such as acetate; natural fibers such as cotton and wool; polyolefins (such as polyethylene and polypropylene), polyesters (such as polyethylene terephthalate), Examples thereof include thermoplastic resin fibers such as polyamide.
  • the non-heat-shrinkable fiber may be a core-sheath type composite fiber, a side-by-side type composite fiber, or the like made of a combination of two or more types of thermoplastic resins.
  • the texture can be softened.
  • the fineness of the non-heat-shrinkable fiber can be adjusted to, for example, 0.5 to 20 dtex (particularly 1.0 to 10 dtex).
  • the non-heat-shrinkable fiber layer 21 ′ may contain other fibers in addition to the non-heat-shrinkable fibers. Examples of other fibers include heat-fusible fibers. In some cases, the non-heat-shrinkable fibers contained in the non-heat-shrinkable fiber layer 21 'also have heat-fusibility.
  • the non-heat-shrinkable fiber layer 21 ′ is a little unless it inhibits the deformation of the non-heat-shrinkable fiber layer 21 ′ accompanying the heat shrinkage of the heat-shrinkable fiber layer 22 ′ (particularly, the bulge toward the skin contact surface side).
  • An amount of heat-shrinkable fibers may be contained, but preferably no heat-shrinkable fibers are contained.
  • the content of the non-heat-shrinkable fibers should be adjusted as appropriate in consideration of the formability, bulkiness, compression deformation, etc. of the protrusions 8. However, it is usually 50% by weight or more, preferably 70 to 90% by weight of the non-heat-shrinkable fiber layer 21 ′.
  • the non-heat-shrinkable fiber layer 21 ′ may contain an inorganic filler such as titanium oxide, barium sulfate, or calcium carbonate from the viewpoint of improving the concealment property of the top sheet 2.
  • an inorganic filler such as titanium oxide, barium sulfate, or calcium carbonate from the viewpoint of improving the concealment property of the top sheet 2.
  • the thickness, basis weight, and the like of the non-heat-shrinkable fiber layer 21 ′ can be appropriately adjusted in consideration of the formability, bulkiness, compressibility, and the like of the convex portion 8, but the thickness is usually 0.1 to
  • the basis weight is usually 3 to 60 g / m 2 , preferably 5 to 30 g / m 2 .
  • the heat-shrinkable fiber layer 22 ' is a layer containing one kind or two or more kinds of heat-shrinkable fibers.
  • the heat-shrinkable fiber may be a fiber whose actual fiber length is shortened by heat treatment, or a fiber whose actual fiber length is not shortened by heat treatment, but whose apparent fiber length is shortened (for example, zigzag-like) , Latent crimpable fibers that develop an ⁇ -like or spiral-like crimp and shorten the apparent fiber length).
  • Preferred heat shrinkable fibers are latent crimpable fibers.
  • the second layer 22 contains the crimpable fibers after the expression of crimps. (Extensibility in the direction) is improved.
  • latent crimpable fibers are known (for example, JP-A-9-296325, JP-A-2-191720, JP-A-2007-177335) and can be appropriately selected and used.
  • the latent crimpable fiber include an eccentric core-sheath type composite fiber or a side-by-side type composite fiber containing two or more types of thermoplastic resins having different shrinkage rates.
  • two types of thermoplastic resins having different shrinkage rates include a combination of an ethylene-propylene random copolymer (EP) and polypropylene (PP), a copolymer polyester mainly composed of polyethylene terephthalate, and polyethylene terephthalate (PET). And the like.
  • the resin having a relatively high shrinkage rate includes, for example, a copolymer containing ethylene as a main component or low-density polyethylene.
  • the copolymer mainly composed of ethylene include ethylene-propylene copolymer, ethylene-butene1-propylene terpolymer, ethylene-vinyl acetate copolymer, ethylene-methyl acrylate copolymer, ethylene -Ethyl acrylate copolymer and the like.
  • the low density polyethylene include low density polyethylene by a high pressure polymerization method, linear low density polyethylene and the like.
  • examples of resins having a relatively low shrinkage rate include polyolefin resins such as polypropylene and polyethylene, and polyesters such as polyethylene terephthalate and polybutylene terephthalate. Based resins and the like.
  • the fineness of the latent crimpable fiber can be adjusted to, for example, 0.5 to 20 dtex (particularly 1 to 10 dtex).
  • the heat-shrinkable fiber layer 22 ′ may contain other fibers in addition to the heat-shrinkable fibers. Examples of other fibers include heat-fusible fibers and non-heat-shrinkable fibers. In some cases, the heat-shrinkable fibers contained in the heat-shrinkable fiber layer 22 'also have heat-fusibility. When the heat-shrinkable fiber layer 22 ′ contains other fibers, the content of the heat-shrinkable fibers can be appropriately adjusted in consideration of the formability, bulkiness, compressibility, and the like of the protrusions 8. However, it is usually 50% by weight or more, preferably 70 to 90% by weight of the heat-shrinkable fiber layer 22 ′.
  • the heat-shrinkable fiber layer 22 ′ may contain an inorganic filler such as titanium oxide, barium sulfate, or calcium carbonate from the viewpoint of enhancing the hiding property of the top sheet 2.
  • the thickness, basis weight, and the like of the heat-shrinkable fiber layer 22 ′ can be appropriately adjusted in consideration of the formability, bulkiness, compression deformation, etc. of the protrusions 8, but the thickness is usually 0.1 to 10 mm.
  • the basis weight is usually 8 to 100 g / m 2 , preferably 10 to 50 g / m 2 .
  • heat-fusible fiber that can be contained in the non-heat-shrinkable fiber layer 21 ′ and / or the heat-shrinkable fiber layer 22 ′ include a heat-melting fiber composed of a thermoplastic resin such as polyolefin, polyester, or polyamide. Adhesive fibers may be mentioned.
  • polystyrene resin examples include, for example, linear low density polyethylene (LLDPE), low density polyethylene (LDPE), medium density polyethylene (MDPE), high density polyethylene (HDPE), polypropylene, polybutylene, and copolymers based on these (for example, Ethylene-vinyl acetate copolymer (EVA), ethylene-ethyl acrylate copolymer (EEA), ethylene-acrylic acid copolymer (EAA), ethylene-propylene random copolymer (EP)), and the like.
  • EVA Ethylene-vinyl acetate copolymer
  • EAA ethylene-ethyl acrylate copolymer
  • EAA ethylene-acrylic acid copolymer
  • EP ethylene-propylene random copolymer
  • Polyethylene, particularly HDPE is preferred because it has a relatively low softening point of around 100 ° C. and is excellent in heat workability, and has low rigidity and a supple feel.
  • polyesters examples include linear or branched carbon atoms of up to 20 including polyethylene terephthalate (PET), polytrimethyl terephthalate (PTT), polybutylene terephthalate (PBT), polylactic acid, and polyglycolic acid. And polyesters such as polyhydroxyalkanoic acid, copolymers based on these, and copolymerized polyesters obtained by copolymerizing alkylene terephthalate as a main component with a small amount of other components. Since it has elastic resilience, it is possible to construct fibers and nonwoven fabrics having high cushioning properties, and PET is preferred from the economical point of being obtained industrially at a low cost.
  • polyamides examples include 6-nylon and 6,6-nylon.
  • the heat-fusible fiber may be composed of one type of thermoplastic resin, or a composite fiber containing two or more types of thermoplastic resin (for example, core-sheath type composite fiber, side-by-side type composite fiber) ).
  • the heat-fusible fiber may be a short fiber staple fiber or a long fiber filament.
  • the thickness of the heat-fusible fiber can be adjusted to 1 to 7 dtex, for example.
  • a web formed by a card method As a form of the fiber assembly constituting the non-heat-shrinkable fiber layer 21 ′ and the heat-shrinkable fiber layer 22 ′, a web formed by a card method; a heat fusion method, a hydroentanglement method, a needle punch method, a solvent adhesion Nonwoven fabric formed by a method, a spunbond method or a meltblown method; Note that the web formed by the card method is a fiber assembly before being made into a nonwoven fabric. Such a web is not subjected to post-processing applied to the card web in the nonwoven fabric manufacturing process (for example, heat-sealing treatment in the air-through method, calendar method, etc.), and the fibers are in a state of being entangled very loosely. .
  • the non-heat-shrinkable fiber layer 21 ' is preferably a web formed by a card method. Thereby, the formability of the convex part 8, bulkiness, compression deformability, etc. improve.
  • the non-heat-shrinkable fiber layer 21 ′ is a web formed by a card method, the constituent fibers of the non-heat-shrinkable fiber layer 21 ′ are bonded to each other at the time of forming or after forming the compressed portion 5 ′ (for example, , Heat fusion, adhesion with a solvent, etc.) or mechanical entanglement.
  • the pressing part 5 ′ is a recess formed by heat embossing.
  • the heat embossing process can be performed by an embossing apparatus 220 shown in FIG.
  • the embossing apparatus 220 includes an upper roll 221 provided with a large number of convex portions (not shown) on the outer peripheral surface, and a lower roll 222 having a smooth outer peripheral surface.
  • a large number of convex portions of the upper roll 221 are formed so as to correspond to the shape, arrangement pattern, and the like of the compressed portion 5 ′, and by these convex portions, a large number of the non-heat-shrinkable fiber layers 21 ′ are separated from each other.
  • the part is compressed and heated in the thickness direction of the non-heat-shrinkable fiber layer 21 ′.
  • the pressing part 5 ' which integrates the non-heat-shrinkable fiber layer 21' and the heat-shrinkable fiber layer 22 'in the thickness direction is formed as a recess.
  • the compressed portion 5 ′ thus formed is consolidated, and has a smaller thickness and a higher density than other portions of the laminated sheet 2 ′.
  • non-heat-shrinkable fiber layer 21 ′ and / or the heat-shrinkable fiber layer 22 ′ contains a heat-fusible fiber
  • non-heat-shrinkage is caused by melting and solidifying the heat-fusible fiber generated when the compressed portion 5 ′ is formed.
  • the heat-shrinkable fiber layer 21 ′ and the heat-shrinkable fiber layer 22 ′ can be heat-sealed.
  • the heat-fusible fiber is a composite fiber
  • the non-heat-shrinkable fiber layer 21 ′ and the heat-shrinkable fiber layer 22 are obtained by melting and solidifying a resin having a low melting point (for example, the resin of the sheath component of the core-sheath type composite fiber). 'Can be heat-sealed.
  • the upper roll 221 and / or the lower roll 222 are heated, and heating during compression is possible.
  • the heating temperature is usually 60 to 180 ° C., preferably 80 to 160 ° C.
  • the pressure is usually 10 to 3000 N / mm, preferably 0.005 to 2 N / mm.
  • the time is usually 0.0001 to 5 seconds, preferably 0.005 to 2 seconds.
  • the heating temperature in the embossing treatment may be equal to or higher than the heat shrinkage start temperature of the heat-shrinkable fiber contained in the heat-shrinkable fiber layer 22 ′, or may be lower than that.
  • the heating temperature in the embossing treatment is equal to or higher than the heat shrinkage start temperature of the heat-shrinkable fiber contained in the heat-shrinkable fiber layer 22 ′, the non-heat-shrinkable fiber layer 21 ′ and / or the heat-shrinkable fiber layer 22 ′.
  • a heat-fusible fiber having a melting point equal to or higher than the heat shrinkage start temperature of the heat-shrinkable fiber is contained, and the squeezed part 5 ′ is formed as a heat-fused part that integrates both layers in the thickness direction. it can. Since this heat-sealed portion is not melted by the heat treatment, it is possible to maintain the bonding between both layers during the heat treatment.
  • the melting point of the heat-fusible fiber means the melting point of a resin having a low melting point.
  • the heat shrinkage can be suppressed by, for example, heating the laminated sheet 2 ′ with a tension applied.
  • the tension can be applied by, for example, a number of upward pins attached to the chain of the pin tenter. It can be realized by piercing and gripping from the lower side to the upper side of the laminated sheet 2 ′ (that is, from the heat-shrinkable fiber layer 22 ′ side to the non-heat-shrinkable fiber layer 21 ′ side). Details of such heat shrinkage regulation methods are described in, for example, Japanese Patent Application Laid-Open Nos. 2003-247155 and 2007-177340.
  • the melting point of the heat-shrinkable fiber layer 21 ′ and / or the heat-shrinkable fiber layer 22 ′ has a melting point of the heat-shrinkable fiber.
  • a heat-fusible fiber having a temperature lower than the start temperature is contained, and the squeezed part 5 ′ can be formed as a heat-fused part that integrates both layers in the thickness direction. In this case, it is not necessary to suppress heat shrinkage of the heat-shrinkable fiber, but the heat-sealed portion may be melted by the heat treatment.
  • the compressed parts 5 ' are each substantially circular and are arranged in a staggered pattern as a whole.
  • the pressing part 5 ′ may have a shape other than a circular shape, for example, an elliptical shape, a triangular shape, a rectangular shape, a polygonal shape, or the like.
  • the arrangement pattern of the pressing parts 5 ′ can be changed as appropriate, and may be formed continuously in a linear shape such as a straight line or a curved line.
  • the number, position, and the like of the pressing parts 5 ′ can be appropriately adjusted in consideration of the formability and bulkiness of the convex parts 8.
  • one region surrounded by a plurality of compressed parts 5 ′ is skin contacted starting from these compressed parts 5 ′.
  • the number of pressing parts 5 ′ surrounding one area where one convex part 8 is formed is usually 3 or more, preferably 4 or more.
  • the upper limit is usually 12, preferably 8.
  • the region where one convex portion 8 is formed may be surrounded by a compressed portion 5 ′ formed continuously in a linear shape such as a straight line or a curved line.
  • a compressed portion 5 ′ formed continuously in a linear shape such as a straight line or a curved line.
  • the squeezed portion 5 ' preferably surrounds 10 to 100%, more preferably 20 to 100%, of the entire periphery of the region where the single convex portion 8 is formed.
  • the pressing part 5 ′ in this embodiment is an example of a joining part that joins the non-heat-shrinkable fiber layer 21 ′ and the heat-shrinkable fiber layer 22 ′.
  • the joining portion that joins the non-heat-shrinkable fiber layer 21 ′ and the heat-shrinkable fiber layer 22 ′ may be formed by a joining method other than heat embossing, for example, a joining method such as ultrasonic embossing or adhesion using an adhesive. Good.
  • the thermal contraction processing of the laminated sheet 2 ′ can be performed by the thermal contraction processing unit 170 illustrated in FIG. 5.
  • a mesh conveyor belt, a pin tenter, a clip tenter, or the like can be used for conveying the laminated sheet 2 ′ to the heat shrinkage processing unit 170.
  • hot air heated to a temperature equal to or higher than the heat shrink start temperature of the heat shrinkable fiber contained in the heat shrinkable fiber layer 22 ′ is laminated sheet 2 ′. (For example, an air-through method), and the heat-shrinkable fiber layer 22 ′ is heat-shrinked.
  • the heat shrinkage rate of the heat-shrinkable fiber layer 22 ′ can be appropriately adjusted in consideration of the formability, bulkiness, compression deformation, etc. of the protrusions 8, but is usually 20 to 90%, preferably 40 to 40%. 80%.
  • the heat shrink rate of the heat-shrinkable fiber layer 22 ′ is determined by controlling the amount and type of heat-shrinkable fibers contained in the heat-shrinkable fiber layer 22 ′, the conveying speed of the laminated sheet 2 ′, the temperature and speed of the hot air, and the tenter. By adjusting the width or the like, it can be adjusted appropriately.
  • the pressing force to the mesh conveyor belt can be made zero or negative by blowing hot air from the back side of the mesh conveyor belt.
  • a pin tenter or a clip tenter is used for conveying the laminated sheet 2 ', the laminated sheet 2' can be brought into a free state.
  • Hot air blowing is an example of heat shrink treatment.
  • the heat shrink treatment is not particularly limited as long as it can be heated to the heat shrink start temperature of the heat shrinkable fiber contained in the heat shrinkable fiber layer 22 '.
  • the heat shrink treatment can be performed using a heat medium such as microwave, steam, infrared rays, etc. in addition to hot air.
  • the heating temperature, heating time, etc. in the heat shrink treatment can be appropriately adjusted based on the heat shrink start temperature of the heat shrinkable fiber.
  • the heating temperature can be set to 125 ° C. to 150 ° C., for example, and the heating time can be set to 1 to 20 seconds, for example. Details of such heat treatment are described in, for example, Japanese Patent Application Laid-Open Nos. 2003-247155 and 2007-177340.
  • the non-heat shrinkable fiber layer 21 ′ is deformed by heat shrinkage of the heat shrinkable fiber layer 22 ′. That is, in accordance with the thermal contraction of the heat-shrinkable fiber layer 22 ′, one of the non-heat-shrinkable fiber layers 21 ′ surrounded by a plurality of compressed parts 5 ′ (four compressed parts 5 ′ in this embodiment). The region rises toward the skin contact surface side starting from these compressed portions 5 ′, and one convex portion 8 is formed.
  • the non-heat-shrinkable fiber layer 21 ′ includes a large number of regions surrounded by a plurality of compressed portions 5 ′ (four compressed portions 5 ′ in the present embodiment), the deformation of the non-heat-shrinkable fiber layer 21 ′. Thus, a large number of convex portions 8 are formed. Thus, in the skin contact surface, at least the excretory opening contact region 20 is formed with a large number of convex portions 8 that are raised by the deformation of the non-heat-shrinkable fiber layer 21 ′ and protrude toward the skin contact surface.
  • the non-heat-shrinkable fiber layer 21 ′ is a web formed by the card method
  • the inside of the convex portion 8 formed by the heat-shrink process is filled with fibers constituting the web, and the fibers constituting the web are Oriented along the convex part.
  • the non-heat-shrinkable fiber layer 21 ′ is in the form of a nonwoven fabric or a knitted fabric
  • the inside of the convex portion 8 formed by the heat-shrink process is hollow.
  • the non-heat-shrinkable fiber layer 21 ′ and the heat-shrinkable fiber layer 22 ′ after the heat shrink treatment correspond to the first layer 21 and the second layer 22, respectively.
  • the first layer 21 is a layer in which the non-heat-shrinkable fiber layer 21 ′ partially joined to the heat-shrinkable fiber layer 22 ′ by the pressing part 5 ′ is deformed by the heat-shrink of the heat-shrinkable fiber layer 22 ′. Yes, it contains non-heat-shrinkable fibers that are not substantially heat-shrinked by heat treatment.
  • the second layer 22 is a layer in which the heat-shrinkable fiber layer 22 ′ is heat-shrinked, and heat-shrinkable fibers, for example, fibers whose actual fiber length has been shortened by heat treatment (for example, the crystalline state of the resin)
  • heat-shrinkable fibers for example, fibers whose actual fiber length has been shortened by heat treatment (for example, the crystalline state of the resin)
  • the thickness and basis weight of the first layer 21 vary depending on the thickness and basis weight of the non-heat-shrinkable fiber layer 21 ′, the heat shrinkage rate of the heat-shrinkable fiber layer 22 ′, and the like. It is 2 to 10 mm, preferably 0.4 to 2.5 mm, and the basis weight is usually 5 to 100 g / m 2 , preferably 10 to 50 g / m 2 .
  • the thickness and basis weight of the second layer 22 vary depending on the thickness, basis weight, heat shrinkage rate, etc. of the heat-shrinkable fiber layer 22 ′, but the thickness is usually 0.2 to 5 mm, preferably 0.5.
  • the basis weight is usually 5 to 100 g / m 2 , preferably 10 to 50 g / m 2 .
  • the density of the second layer 22 is preferably larger than the density of the first layer 21. Thereby, the menstrual transfer property from the first layer 21 to the second layer 22 can be improved.
  • the density of the second layer 22 is preferably 0.1 g / cm 3 or less, more preferably 0.08 g / cm 3 or less. . In this case, the effect of the blood slipperiness imparting agent is effectively exhibited without being inhibited by the second layer 22.
  • the lower limit of the density of the second layer 22 is preferably 0.04 g / cm 3 , more preferably 0.06 g / cm 3 .
  • the lower limit of the density of the first layer 21 is preferably 0.005 g / cm 3, more preferably 0.01 g / cm 3.
  • the densities of the first layer 21 and the second layer 22 are calculated by dividing the basis weight by the thickness.
  • the following method can be used for measuring the basis weight.
  • (2) The marked range is cut out with a sharp blade, for example, a replacement blade of a cutter, and the total mass: TM (g) is measured.
  • the following method can be used. Five different locations (measurement surface ⁇ 44 mm) are pressurized with a measurement pressure of 3 g / cm 2 (constant pressure) for 10 seconds, and then measured using a thickness meter (Daiei Scientific Instruments Co., Ltd., FS-60DS).
  • the third density is increased so that the density increases from the first layer 21 toward the second layer 22. It is preferable to adjust the density of the layer. Thereby, the menstrual transfer property from the first layer 21 to the second layer 22 can be improved.
  • the first layer 21 and the second layer 22 are partly joined by the pressing part 5 corresponding to the pressing part 5 ′ after the heat shrink treatment, and the pressing part 5 becomes the recess 9. ing.
  • the shape and arrangement pattern of the squeezing part 5 ′ are not significantly changed by the heat shrinking process, and the squeezing part 5 is substantially circular when the top sheet 2 is viewed in plan from the first layer 21 side, and as a whole Arranged in a staggered pattern.
  • a slight change may occur in the shape, structure, and the like of the squeezed portion 5 ′ due to the heat shrink process. For example, shrinkage, melt solidification, and the like may occur in the fibers constituting the compressed portion 5 '.
  • the ratio of the area of the pressing part 5 to the area of the first layer 21 (area ratio) is usually 2.5 to 50%, preferably 4 to 20%.
  • the top sheet 2 may be provided with a plurality of apertures. This improves liquid permeability and reduces leakage and stuffiness.
  • An opening part can be provided so that the top sheet 2 may be penetrated, for example.
  • the diameter of the opening can be adjusted to 0.2 to 10 mm, for example.
  • the interval between the apertures can be adjusted to 0.5 to 20 mm, for example.
  • the top sheet 2 may be hydrophilized.
  • the hydrophilic treatment include coating of the surface of the top sheet 2 with a hydrophilic agent, addition of a hydrophilic agent to the constituent components of the first layer 21 and / or the second layer 22, corona treatment, plasma treatment, and the like.
  • the lipophilic region derived from the blood slipping agent and the hydrophilic region derived from the hydrophilic agent coexist sparsely in the top sheet 2, and menstrual blood is in the top sheet 2. It slips down from the convex part 8 of this, and it becomes easy to transfer to an absorber.
  • the back sheet 3 is a sheet that cannot transmit liquid excretion such as menstrual blood, and is an example of a liquid impermeable layer.
  • the back sheet 3 can prevent leakage of liquid excrement absorbed by the absorber 4.
  • One surface of the back sheet is a surface that contacts the wearer's clothes (underwear).
  • the backsheet 3 preferably has moisture permeability in addition to liquid impermeability in order to reduce stuffiness when worn.
  • backsheet 3 examples include waterproof nonwoven fabric, synthetic resin (eg, polyethylene, polypropylene, polyethylene terephthalate, etc.) film, and composite sheet of nonwoven fabric and synthetic resin film (eg, nonwoven fabric such as spunbond and spunlace). And a composite film in which a breathable synthetic resin film is bonded), an SMS nonwoven fabric in which a melt-blown nonwoven fabric having high water resistance is sandwiched between strong spunbond nonwoven fabrics, and the like.
  • synthetic resin eg, polyethylene, polypropylene, polyethylene terephthalate, etc.
  • composite sheet of nonwoven fabric and synthetic resin film eg, nonwoven fabric such as spunbond and spunlace
  • SMS nonwoven fabric in which a melt-blown nonwoven fabric having high water resistance is sandwiched between strong spunbond nonwoven fabrics, and the like.
  • the absorber 4 contains an absorbent material that absorbs liquid excreta such as menstrual blood.
  • the absorbent material contained in the absorber 4 is not particularly limited as long as it can absorb and retain liquid excretion such as menstrual blood.
  • Examples of the absorbent material include a water-absorbing fiber and a highly water-absorbing material (for example, a highly water-absorbing resin and a highly water-absorbing fiber).
  • the absorber 4 includes additives such as an antioxidant, a light stabilizer, an ultraviolet absorber, a neutralizer, a nucleating agent, an epoxy stabilizer, a lubricant, an antibacterial agent, a flame retardant, an antistatic agent, a pigment, and a plasticizer. You may contain as needed.
  • water-absorbing fibers include wood pulp obtained from softwood or hardwood (for example, mechanical pulp such as groundwood pulp, refiner ground pulp, thermomechanical pulp, chemithermomechanical pulp; kraft pulp, sulfide pulp, alkaline pulp, etc. Chemical pulp; semi-chemical pulp, etc.]; mercerized pulp or crosslinked pulp obtained by chemically treating wood pulp; non-wood pulp such as bagasse, kenaf, bamboo, hemp, cotton (eg cotton linter); rayon, fibril Examples include regenerated cellulose such as rayon; semi-synthetic cellulose such as acetate and triacetate, but pulverized pulp is preferred because it is low in cost and easy to mold.
  • wood pulp obtained from softwood or hardwood for example, mechanical pulp such as groundwood pulp, refiner ground pulp, thermomechanical pulp, chemithermomechanical pulp; kraft pulp, sulfide pulp, alkaline pulp, etc. Chemical pulp; semi-chemical pulp, etc.]; mercerized pulp or crosslinked pulp obtained by chemically treating wood pulp;
  • the superabsorbent material examples include starch, cellulose, and synthetic polymer superabsorbent materials.
  • starch-based or cellulose-based superabsorbent material examples include starch-acrylic acid (salt) graft copolymers, saponified starch-acrylonitrile copolymers, and crosslinked products of sodium carboxymethyl cellulose.
  • Synthetic polymers examples include polyacrylates, polysulfonates, maleic anhydrides, polyacrylamides, polyvinyl alcohols, polyethylene oxides, polyaspartates, polyglutamates , Polyalginate-based, starch-based, and cellulose-based superabsorbent resins (Superabsorbent Polymer: SAP), and the like. Resins are preferred.
  • shape of the superabsorbent material include particulates, fibers, and scales. In the case of particulates, the particle size is preferably 50 to 1000 ⁇ m, more preferably 100 to 600 ⁇ m. .
  • the absorbent body 4 contains a highly water-absorbing material (for example, highly water-absorbing resin, highly water-absorbing fiber, etc.), the content of the highly water-absorbing material is usually 5 to 80% by mass, preferably 10%. It is ⁇ 60 mass%, more preferably 20 to 40 mass%.
  • a highly water-absorbing material for example, highly water-absorbing resin, highly water-absorbing fiber, etc.
  • the absorber 4 may contain silver, copper, zinc, silica, activated carbon, aluminosilicate compound, zeolite or the like. Thereby, functions, such as a deodorizing property, antibacterial property, and an endothermic effect, can be provided to an absorber.
  • the thickness, basis weight, etc. of the absorbent body 4 can be appropriately adjusted according to the characteristics (for example, absorbency, strength, lightness, etc.) that the sanitary napkin 1 should have.
  • the thickness of the absorber 4 is usually 0.1 to 15 mm, preferably 1 to 10 mm, more preferably 2 to 5 mm, and the basis weight is usually 20 to 1000 g / m 2 , preferably 50 to 800 g / m 2 , 100 to 500 g / m 2 is preferable.
  • the thickness, basis weight, etc. of the absorber 4 may be constant throughout the absorber 4 or may be partially different.
  • the absorbent body 4 may have a core containing an absorbent material and a core wrap that covers the core.
  • the core wrap is not particularly limited as long as it has liquid permeability and absorber retention.
  • Examples of the core wrap include a nonwoven fabric, a woven fabric, a synthetic resin film in which liquid permeation holes are formed, and a net-like sheet having a mesh.
  • a wet method using pulverized pulp as a main material A tissue molded with is preferred.
  • the sanitary napkin 1 may include a second sheet disposed between the top sheet 2 and the absorbent body 4 in addition to the top sheet 2 as a liquid permeable layer.
  • the blood slipperiness imparting agent may be applied to the second sheet.
  • the second sheet is not particularly limited as long as liquid excretion such as menstrual blood can permeate, and the thickness, basis weight, density and the like of the second sheet are appropriately adjusted within a range where liquid excretion such as menstrual blood can permeate. be able to.
  • Examples of the second sheet include a nonwoven fabric, a woven fabric, a synthetic resin film in which liquid permeation holes are formed, and a net-like sheet having a mesh.
  • Examples of the nonwoven fabric include air-through nonwoven fabric, spunbond nonwoven fabric, point bond nonwoven fabric, spunlace nonwoven fabric, needle punched nonwoven fabric, melt blown nonwoven fabric, and combinations thereof (for example, SMS).
  • natural fibers wool, cotton, etc.
  • regenerated fibers rayon, acetate, etc.
  • inorganic fibers glass fibers, carbon fibers, etc.
  • synthetic resin fibers polyethylene, polypropylene, polybutylene, ethylene-vinyl acetate copolymer, Polyolefins such as ethylene-ethyl acrylate copolymer, ethylene-acrylic acid copolymer, ionomer resin; polyesters such as polyethylene terephthalate, polybutylene terephthalate, polytrimethylene terephthalate, polylactic acid; De), and the like.
  • Nonwoven fabrics include core / sheath fibers, side-by-side fibers, island / sea fibers, etc .; hollow fibers; flat fibers, Y-shaped fibers, C-shaped fibers, etc .; latent crimps or manifestations Crimped three-dimensional crimped fibers; split fibers that are split by a physical load such as water flow, heat, and embossing may be mixed.
  • the manufacturing method according to the present embodiment includes a step of forming an absorber (step 1), a step of laminating a top sheet on the absorber (step 2), a step of laminating a back sheet (step 3), and a sanitary
  • the manufacturing apparatus 100 shown in FIG. 5 is used, including a step of cutting out the napkin (step 4) and a step of applying a blood slipperiness imparting agent to the sanitary napkin (step 5).
  • Step 1 On the peripheral surface of the suction drum 120 rotating in the conveying direction MD, recesses 124 are formed at a required pitch in the circumferential direction as a mold for filling the absorbent material 122.
  • the suction unit 126 acts on the recess 124, and the absorbent material 122 supplied from the material supply unit 121 is vacuum sucked into the recess 124.
  • the material supply unit 121 is formed so as to cover the suction drum 120, and the material supply unit 121 supplies the absorber material 122 to the recess 124 by air conveyance, and the absorber 4 is formed in the recess 124.
  • the absorber 4 formed in the recess 124 is transferred onto the carrier sheet 110 that proceeds in the transport direction MD.
  • the top sheet 2 is laminated on the absorber 4 to form a laminate 262. Then, a pressing groove is formed in the laminated body 262 as necessary.
  • the pressing groove is formed by the embossing device 130.
  • the embossing device 130 includes an upper roll 131 having convex portions (not shown) provided on the outer peripheral surface, and a lower roll 132 having a smooth outer peripheral surface.
  • the convex part of the upper stage roll 131 is formed so as to correspond to the shape of the pressing groove, the arrangement pattern, and the like.
  • the laminated body 262 passes between the upper roll 131 and the lower roll 132 of the embossing apparatus 130, the laminated body 262 is compressed in the thickness direction, and compressed grooves are formed in the laminated body 262.
  • the compressed groove is formed, for example, in the periphery of the excretory opening contact area 20, the peripheral area of the peripheral area of the excretion opening contact area 20, or the like in the top sheet 2.
  • the top sheet 2 is integrated with the absorbent body 4 by forming the compressed grooves.
  • the pressing groove forming step by the embossing device 130 is omitted when it is not necessary.
  • Step 3 The backsheet 3 supplied from the backsheet roll 140 is laminated on the lower surface (opposite side of the topsheet) of the laminated body 134 via an adhesive layer to form a sanitary napkin continuous body 144.
  • the laminated body 134 and the laminated body 262 are the same.
  • Step 4 Using the cutter 150, the sanitary napkin continuous body 144 is cut, and the sanitary napkin is cut out.
  • a blood slipperiness imparting agent 161 is applied to the top sheet 2 of the sanitary napkin using the spray 160 to form a blood slipperiness imparting agent layer on the surface of the top sheet 2.
  • the blood slipperiness-imparting agent layer is formed at least in the excretion opening contact region 20 in the skin contact surface of the top sheet 2.
  • the blood slipperiness-imparting agent is applied after cutting out the sanitary napkin, but it may be applied at any stage before cutting out, or it may be applied in the top sheet manufacturing process. Good. In order to prevent the blood slipperiness-imparting agent applied during production from flowing down, it is preferable to apply the blood slipperiness-imparting agent immediately downstream of the manufacturing process, for example, immediately before packaging a sanitary napkin.
  • the manufacturing method of the sanitary napkin 1 can include, in addition to steps 1 to 5, a step of forming the seal portion seal portions 7a, 7b, 8a, 8b, a step of forming the adhesive portions 9a, 9b, 9c, and the like.
  • the blood slipperiness imparting agent has a kinematic viscosity at 40 ° C. of about 0.01 to about 80 mm 2 / s, a water retention of about 0.05 to about 4.0% by mass, and a weight average molecular weight of about 1 Less than 1,000.
  • the kinematic viscosity at 40 ° C. of the blood slipperiness-imparting agent can be appropriately adjusted in the range of about 0 to about 80 mm 2 / s, preferably about 1 to about 70 mm 2 / s, more preferably about 3 to about 60 mm 2 / s, even more preferably from about 5 to about 50 mm 2 / s, and even more preferably from about 7 to about 45 mm 2 / s.
  • the kinematic viscosity at 40 ° C. may be simply referred to as “kinematic viscosity”.
  • the kinematic viscosity is as follows: a) as the molecular weight of the blood slipping agent increases, b) polar groups such as carbonyl bond (—CO—), ether bond (—O—), carboxyl group (—COOH), hydroxyl group ( There is a tendency that the higher the ratio of —OH) and the like, and c) the higher the IOB, the higher the ratio.
  • the melting point of the blood slipperiness imparting agent is preferably 45 ° C. or less. This is because when the blood slipperiness-imparting agent contains crystals at 40 ° C., the kinematic viscosity tends to increase.
  • kinematic viscosity in the blood slipperiness-imparting agent will be described later.
  • the kinematic viscosity exceeds about 80 mm 2 / s, the blood slipperiness-imparting agent is too viscous to reach the skin contact surface of the top sheet. At the same time, it tends to be difficult to slide from the convex portion to the concave portion and then to move into the absorber.
  • the kinematic viscosity can be measured at a test temperature of 40 ° C. using a Cannon Fenceke reverse flow viscometer according to “5. Kinematic viscosity test method” of JIS K 2283: 2000.
  • the water retention rate of the blood slipperiness-imparting agent can be appropriately adjusted within the range of about 0.01 to about 4.0% by mass, preferably about 0.02 to about 3.5% by mass, more preferably About 0.03 to about 3.0% by weight, even more preferably about 0.04 to about 2.5% by weight, even more preferably about 0.05 to about 2.0% by weight.
  • the “water retention” means the ratio (mass) of water that a substance can hold, and can be measured as follows. (1) Place a 20 mL test tube, a rubber stopper, a substance to be measured, and deionized water in a constant temperature room at 40 ° C. overnight. (2) In a constant temperature room, 5.0 g of a substance to be measured and 5.0 g of deionized water are put into a test tube. (3) Put a rubber stopper on the mouth of the test tube in a thermostatic chamber, rotate the test tube once, and let it stand for 5 minutes.
  • the affinity between the blood slipperiness-imparting agent and menstrual blood decreases and reaches the skin contact surface of the top sheet.
  • the affinity with menstrual blood becomes very high like a surfactant, and the absorbed blood remains on the skin contact surface of the top sheet, and the skin contact of the top sheet The surface tends to be red and easily colored.
  • the water retention rate is as follows: a) the smaller the molecular weight of the blood slipperiness agent, and b) polar groups such as carbonyl bond (—CO—), ether bond (—O—), carboxyl group (—COOH), hydroxyl
  • polar groups such as carbonyl bond (—CO—), ether bond (—O—), carboxyl group (—COOH), hydroxyl
  • the ratio of the group (—OH) or the like is higher, the value tends to increase. This is because the blood slipperiness imparting agent is more hydrophilic.
  • the water retention rate tends to increase as the IOB increases, that is, as the inorganic value increases and as the organic value decreases. This is because the blood slipperiness-imparting agent is more hydrophilic.
  • menstrual blood excreted from the wearer When menstrual blood excreted from the wearer reaches the excretory opening contact region, it contacts the blood slipperiness imparting agent present in the convex part, slides into the concave part together with this, passes through the top sheet, and moves to the absorber. .
  • a blood slipperiness-imparting agent having a kinematic viscosity of about 0.01 to about 80 mm 2 / s at 40 ° C. has a very low viscosity around the body temperature of the wearer and has a certain affinity with menstrual blood Therefore, it is considered that menstrual blood can slide from the convex part to the concave part together with menstrual blood, and can pass through the top sheet and quickly migrate to the absorbent body using the momentum at the time of the sliding.
  • the blood slipperiness-imparting agent present on the convex part has a water retention of about 0.01 to about 4.0% by mass, and therefore has an affinity for mainly hydrophilic components (such as plasma) in menstrual blood. Therefore, it is considered that menstrual blood hardly remains on the top sheet.
  • menstrual blood If there is a large amount of menstrual blood discharged from the wearer, even if the kinetic energy of menstrual blood itself is large and the kinematic viscosity value of the blood slipperiness-imparting agent is relatively high, it is difficult to slip with menstrual blood. Even if the water retention value is relatively high and the affinity with the hydrophilic component of menstrual blood is high, the weight molecular weight value is relatively high and difficult to slide with menstrual blood, and the top sheet Even when there is no uneven structure on the skin contact surface, it is considered that menstrual blood easily migrates to the absorber.
  • the blood slipperiness-imparting agent slides down from the convex part to the concave part together with menstrual blood, and draws menstrual blood into the top sheet, and then draws it into the absorber, thereby rapidly transferring menstrual blood to the absorber.
  • the blood lubricity-imparting agent has a weight average molecular weight of less than about 1,000, and preferably has a weight average molecular weight of less than about 900. This is because if the weight average molecular weight is about 1,000 or more, the blood slipperiness-imparting agent itself has tackiness and tends to give the wearer discomfort. In addition, since the viscosity of the blood slipperiness-imparting agent tends to increase as the weight average molecular weight increases, it becomes difficult to lower the viscosity of the blood slipperiness-imparting agent to a viscosity suitable for coating by heating, As a result, the blood slipping agent may have to be diluted with a solvent.
  • the blood slipperiness-imparting agent preferably has a weight average molecular weight of about 100 or more, and more preferably has a weight average molecular weight of about 200 or more. This is because when the weight average molecular weight is small, the vapor pressure of the blood slipperiness imparting agent becomes high and vaporizes during storage, causing problems such as a decrease in the amount and odor when worn.
  • weight average molecular weight refers to a polydispersed compound (for example, a compound produced by sequential polymerization, a plurality of fatty acids, and an ester produced from a plurality of aliphatic monohydric alcohols).
  • a weight average molecular weight means the value of polystyrene conversion calculated
  • GPC measurement conditions include the following. Model: Hitachi High-Technologies Corporation High-Performance Liquid Chromatogram Lachrom Elite Column: SHODEX KF-801, KF-803 and KF-804 manufactured by Showa Denko K.K. Eluent: THF Flow rate: 1.0 mL / min Driving amount: 100 ⁇ L Detection: RI (differential refractometer)
  • the weight average molecular weight described in the Example of this specification is measured on the said conditions.
  • the blood slipperiness agent can have an IOB of about 0.00 to about 0.60.
  • IOB Inorganic Organic Balance
  • IOB is an index indicating a balance between hydrophilicity and lipophilicity.
  • Oda et al. IOB value calculated by inorganic value / organic value.
  • the IOB is preferably about 0.00 to about 0.60, more preferably about 0.00 to about 0.50, and about 0.00 to about 0.40. And more preferably from about 0.00 to about 0.30. This is because when the IOB is in the above range, the water holding power and kinematic viscosity easily satisfy the above requirements.
  • the blood slipperiness-imparting agent preferably has a melting point of 45 ° C. or lower, more preferably 40 ° C. or lower. This is because when the blood slipperiness-imparting agent has a melting point of 45 ° C. or less, the blood slipperiness-imparting agent tends to have a kinematic viscosity in the above range.
  • melting point means a peak top temperature of an endothermic peak when changing from a solid state to a liquid state when measured with a differential scanning calorimeter at a heating rate of 10 ° C./min.
  • the melting point can be measured using, for example, a DSC-60 type DSC measuring apparatus manufactured by Shimadzu Corporation.
  • the blood lubricity-imparting agent may be liquid at room temperature (about 25 ° C.) or solid as long as it has a melting point of about 45 ° C. or lower, ie, a melting point of about 25 ° C. or higher, or It may be less than about 25 ° C. and may have a melting point of, for example, about ⁇ 5 ° C., about ⁇ 20 ° C.
  • the blood slipping agent does not have a lower limit for its melting point, but preferably has a low vapor pressure.
  • the vapor pressure of the blood slipperiness imparting agent is preferably about 0 to about 200 Pa at 25 ° C. (1 atm), more preferably about 0 to about 100 Pa, and further preferably about 0 to about 10 Pa. Preferably, it is about 0 to about 1 Pa, and even more preferably about 0.0 to about 0.1 Pa.
  • the vapor pressure is preferably about 0 to about 700 Pa at 40 ° C. (1 atm), and is about 0 to about 100 Pa. Is more preferably about 0 to about 10 Pa, still more preferably about 0 to about 1 Pa, and still more preferably about 0.0 to about 0.1 Pa. This is because if the vapor pressure of the blood slipperiness imparting agent is high, it may vaporize during storage, and problems such as reduction in the amount and odor during wearing may occur.
  • the melting point of the blood slipperiness-imparting agent can be selected according to the climate, the length of wearing time, and the like. For example, in an area where the average temperature is about 10 ° C. or less, by adopting a blood slipperiness imparting agent having a melting point of about 10 ° C. or less, menstrual blood is excreted and then cooled by the ambient temperature. However, it is considered that the blood slipperiness-imparting agent is easy to function.
  • the melting point of the blood slipperiness imparting agent is preferably higher in the range of about 45 ° C. or less. This is because the blood slipperiness-imparting agent is not easily biased even when worn for a long time, and is not easily affected by sweat, friction at the time of wearing.
  • the skin contact surface of the top sheet is coated with a surfactant for the purpose of changing the surface tension of menstrual blood and the like and quickly absorbing menstrual blood.
  • the top sheet coated with a surfactant has a high affinity with hydrophilic components (such as plasma) in menstrual blood, and tends to attract them and rather cause menstrual blood to remain on the top sheet.
  • the blood slipperiness imparting agent has a low affinity for menstrual blood, and can pass the menstrual blood to the absorbent body quickly without remaining on the top sheet.
  • the blood slipperiness imparting agent is preferably the following (i) to (iii): (I) hydrocarbons, (Ii) consisting of a (ii-1) hydrocarbon moiety and (ii-2) a carbonyl group (—CO—) and an oxy group (—O—) inserted between the CC single bonds of the hydrocarbon moiety.
  • One or more of the same or different groups selected from the group consisting of a carbonyl group (—CO—) and an oxy group (—O—), and (iii-3) a hydrogen atom of the hydrocarbon moiety A compound having one or a plurality of identical or different groups selected from the group consisting of a carboxyl group (—COOH) and a hydroxyl group (—OH) to be substituted; As well as any combination thereof.
  • hydrocarbon means a compound composed of carbon and hydrogen, and a chain hydrocarbon, for example, a paraffinic hydrocarbon (also referred to as an alkane, which does not include a double bond and a triple bond).
  • a paraffinic hydrocarbon also referred to as an alkane, which does not include a double bond and a triple bond.
  • Olefinic hydrocarbons including one double bond, also referred to as alkene
  • acetylenic hydrocarbons including one triple bond, also referred to as alkyne
  • hydrocarbons containing two or more bonds selected from the above and cyclic hydrocarbons such as aromatic hydrocarbons and alicyclic hydrocarbons.
  • the hydrocarbon is preferably a chain hydrocarbon and an alicyclic hydrocarbon, more preferably a chain hydrocarbon, paraffinic hydrocarbon, olefinic hydrocarbon, and two or more double bonds. More preferably, it is a hydrocarbon that does not contain a triple bond, and more preferably it is a paraffinic hydrocarbon.
  • the chain hydrocarbon includes a straight chain hydrocarbon and a branched chain hydrocarbon.
  • each oxy group (—O—) is not adjacent. Therefore, the compounds (ii) and (iii) do not include compounds having a continuous oxy group (so-called peroxides).
  • At least one hydrogen atom in the hydrocarbon moiety is more hydroxyl group (—OH) than in the compound in which at least one hydrogen atom in the hydrocarbon moiety is substituted with a carboxyl group (—COOH).
  • a carboxyl group —COOH
  • IOB is preferred. This is because the carboxyl group binds to a metal or the like in menstrual blood, increases the water retention rate of the blood slipperiness imparting agent, and may exceed a predetermined range. This is the same from the viewpoint of IOB. As shown in Table 1, the carboxyl group binds to menstrual metals and the like, and the inorganic value increases significantly from 150 to 400 or more. Sometimes the value of IOB can be greater than about 0.60.
  • the blood slipperiness imparting agent is more preferably the following (i ′) to (iii ′): (I ′) hydrocarbon, (Ii ′) (ii′-1) a hydrocarbon moiety and (ii′-2) a carbonyl bond (—CO—) or an ester bond (—COO— inserted between the C—C single bonds of the hydrocarbon moiety.
  • the blood slipperiness imparting agent is more preferably about 1.8 or less carbonyl bonds (—CO—) and 2 or less ester bonds (—COO—) per 10 carbon atoms in the hydrocarbon moiety. About 1.5 or less bonds (—OCOO—), about 6 or less ether bonds (—O—), about 0.8 or less carboxyl groups (—COOH), and / or hydroxyl groups (—OH) About 1.2 or less.
  • the blood slipperiness imparting agent is more preferably the following (A) to (F), (A) (A1) a compound having a chain hydrocarbon moiety and 2 to 4 hydroxyl groups replacing hydrogen atoms in the chain hydrocarbon moiety, (A2) a chain hydrocarbon moiety, and a chain carbon An ester with a compound having one carboxyl group replacing a hydrogen atom of the hydrogen moiety, (B) (B1) a compound having a chain hydrocarbon moiety and 2 to 4 hydroxyl groups replacing hydrogen atoms in the chain hydrocarbon moiety, (B2) a chain hydrocarbon moiety, and a chain hydrocarbon An ether with a compound having one hydroxyl group replacing a hydrogen atom of the hydrogen moiety, (C) (C1) a carboxylic acid, a hydroxy acid, an alkoxy acid or an oxo acid containing a chain hydrocarbon moiety and 2 to 4 carboxyl groups that replace the hydrogen atom of the chain hydrocarbon moiety, and (C2 ) An ester of a
  • (A) (A1) a compound having a chain hydrocarbon moiety and 2 to 4 hydroxyl groups substituting for hydrogen atoms in the chain hydrocarbon moiety, (A2) a chain hydrocarbon moiety, Esters with compounds having one carboxyl group replacing a hydrogen atom in the hydrocarbon moiety]
  • (A) (A1) a compound having a chain hydrocarbon moiety and 2 to 4 hydroxyl groups replacing hydrogen atoms in the chain hydrocarbon moiety;
  • Esters (hereinafter sometimes referred to as “compound (A)”) with a compound having one carboxyl group that substitutes a hydrogen atom of the hydrogen moiety have the above kinematic viscosity, water retention and weight average molecular weight. As long as it has, all the hydroxyl groups do not need to be esterified.
  • (A1) As a compound having a chain hydrocarbon moiety and 2 to 4 hydroxyl groups replacing hydrogen atoms in the chain hydrocarbon moiety (hereinafter sometimes referred to as “compound (A1)”), for example, chain hydrocarbon tetraols such as alkane tetraols such as pentaerythritol, chain hydrocarbon triols such as alkane triols such as glycerin, and chain hydrocarbon diols such as alkane diols such as glycol Is mentioned.
  • chain hydrocarbon tetraols such as alkane tetraols such as pentaerythritol
  • chain hydrocarbon triols such as alkane triols such as glycerin
  • chain hydrocarbon diols such as alkane diols such as glycol Is mentioned.
  • Examples of the compound having a chain hydrocarbon moiety and one carboxyl group that replaces a hydrogen atom in the chain hydrocarbon moiety include, for example, one hydrogen atom on a hydrocarbon having one carboxyl group ( -COOH) substituted compounds, for example fatty acids.
  • Examples of the compound (A) include (a 1 ) an ester of a chain hydrocarbon tetraol and at least one fatty acid, (a 2 ) an ester of a chain hydrocarbon triol and at least one fatty acid, and (a 3 ) Esters of chain hydrocarbon diols with at least one fatty acid.
  • ester of (a 1 ) chain hydrocarbon tetraol and at least one fatty acid examples include the following formula (1): Tetraesters of pentaerythritol and fatty acids of the following formula (2): Triesters of pentaerythritol and fatty acids of the following formula (3): Diester of pentaerythritol and fatty acid of the following formula (4): And monoesters of pentaerythritol and fatty acids. (Wherein R 1 to R 4 are each a chain hydrocarbon)
  • esters of pentaerythritol and fatty acids As fatty acids (R 1 COOH, R 2 COOH, R 3 COOH, and R 4 COOH) constituting esters of pentaerythritol and fatty acids, esters of pentaerythritol and fatty acids have kinematic viscosity, water retention and weight average.
  • a saturated fatty acid for example, a C 2 to C 30 saturated fatty acid, for example, acetic acid (C 2 ) (C 2 represents the number of carbon atoms, R 1 C, R 2 C, R 3 C or R 4 C, the same applies hereinafter), propanoic acid (C 3 ), butanoic acid (C 4 ) and isomers thereof such as 2-methylpropanoic acid ( C 4 ), pentanoic acid (C 5 ) and isomers thereof such as 2-methylbutanoic acid (C 5 ), 2,2-dimethylpropanoic acid (C 5 ), hexanoic acid (C 6 ), heptanoic acid (C 7 ), octanoic acid (C 8) Beauty isomers thereof, e.g., 2-ethylhexanoic acid (C 8), nonanoic acid (C 9), decanoic acid
  • the fatty acid can also be an unsaturated fatty acid.
  • unsaturated fatty acids include C 3 to C 20 unsaturated fatty acids such as monounsaturated fatty acids such as crotonic acid (C 4 ), myristoleic acid (C 14 ), palmitoleic acid (C 16 ), and olein.
  • diunsaturated fatty acids such as linoleic acid (C 18
  • Tetraunsaturated fatty acids such as stear Don acid (C 20), arachidonic acid (C 20), eicosatetraenoic acid (C 20), etc., penta unsaturated fatty acids, for example, bosseopentaenoic acid (C 18), such as eicosapentaenoic acid (C 20), as well as their Of the partial hydrogen adduct.
  • the ester of pentaerythritol and a fatty acid is preferably an ester of pentaerythritol and a fatty acid derived from a saturated fatty acid, that is, an ester of pentaerythritol and a saturated fatty acid, considering the possibility of modification by oxidation or the like.
  • the ester of pentaerythritol and fatty acid is preferably a diester, triester or tetraester, more preferably a triester or tetraester, and more preferably a tetraester from the viewpoint of reducing the water retention value. More preferably, it is an ester.
  • the total number of carbon atoms of the fatty acid constituting the tetraester of pentaerythritol and fatty acid that is, the above formula In (1), the total number of carbon atoms of the R 1 C, R 2 C, R 3 C, and R 4 C moieties is preferably about 15 (when the total number of carbon atoms is 15, the IOB is 0.1. 60).
  • Examples of tetraesters of pentaerythritol and fatty acids include pentaerythritol, hexanoic acid (C 6 ), heptanoic acid (C 7 ), octanoic acid (C 8 ), such as 2-ethylhexanoic acid (C 8 ), nonane
  • Examples include tetraesters with acid (C 9 ), decanoic acid (C 10 ) and / or dodecanoic acid (C 12 ).
  • the triester of pentaerythritol and fatty acid is the total number of carbon atoms of the fatty acid constituting the triester of pentaerythritol and fatty acid, that is, the above formula In (2), the total number of carbon atoms in the R 1 C, R 2 C and R 3 C moieties is preferably about 19 or more (when the total number of carbon atoms is 19, IOB is 0.58). ).
  • the total number of carbon atoms of the fatty acid constituting the diester of pentaerythritol and fatty acid that is, the above formula (3 )
  • the total number of carbon atoms in the R 1 C and R 2 C moieties is preferably about 22 or more (when the total number of carbon atoms is 22, IOB is 0.59).
  • the carbon number of the fatty acid constituting the monoester of pentaerythritol and fatty acid that is, the above formula (4 )
  • the number of carbon atoms in the R 1 C moiety is preferably about 25 or more (when the number of carbon atoms is 25, IOB is 0.60).
  • the influence of double bond, triple bond, iso branch, and tert branch is not considered (the same applies hereinafter).
  • esters of pentaerythritol and fatty acids examples include Unistar H-408BRS, H-2408BRS-22 (mixed product), etc. (above, manufactured by NOF Corporation).
  • ester of (a 2 ) chain hydrocarbon triol and at least one fatty acid examples include the following formula (5): Triester of glycerin and fatty acid of the following formula (6): Diesters of glycerin and fatty acids and the following formula (7): (Wherein R 5 to R 7 are each a chain hydrocarbon) And monoesters of glycerin and fatty acids.
  • esters of glycerin and fatty acids satisfy the requirements of kinematic viscosity, water retention and weight average molecular weight. If there is, there is no particular limitation, for example, fatty acids listed in “esters of (a 1 ) chain hydrocarbon tetraol and at least one fatty acid”, that is, saturated fatty acids and unsaturated fatty acids, oxidation, etc. In view of the possibility of modification by the above, it is preferably an ester of glycerin and a fatty acid derived from a saturated fatty acid, that is, an ester of glycerin and a saturated fatty acid.
  • ester of glycerin and fatty acid is preferably a diester or triester, more preferably a triester, from the viewpoint of reducing the water retention value.
  • Triesters of glycerin and fatty acids are also called triglycerides, for example, triesters of glycerin and octanoic acid (C 8 ), triesters of glycerin and decanoic acid (C 10 ), glycerin and dodecanoic acid (C 12 ). And triesters of glycerin with 2 or 3 fatty acids, and mixtures thereof.
  • Examples of triesters of glycerin and two or more fatty acids include triesters of glycerin and octanoic acid (C 8 ) and decanoic acid (C 10 ), glycerin, octanoic acid (C 8 ), and decanoic acid.
  • the triester of glycerin and a fatty acid is the total number of carbon atoms of the fatty acid constituting the triester of glycerin and a fatty acid, that is, in formula (5), R 5 C , R 6 C and R 7 C moieties preferably have a total carbon number of about 40 or less.
  • the triester of glycerin and fatty acid is the total number of carbon atoms of the fatty acid constituting the triester of glycerin and fatty acid, that is, the formula (5)
  • the total number of carbon atoms of the R 5 C, R 6 C and R 7 C moieties is preferably about 12 or more (when the total number of carbon atoms is 12, IOB is 0.60).
  • a triester of glycerin and a fatty acid is a so-called fat and is a component that can constitute a human body, and thus is preferable from the viewpoint of safety.
  • triesters of glycerin and fatty acid include tricoconut oil fatty acid glyceride, NA36, panacet 800, panacet 800B and panacet 810S, and tri-C2L oil fatty acid glyceride and tri-CL oil fatty acid glyceride (manufactured by NOF Corporation). Etc.
  • Diesters of glycerin and fatty acids are also referred to as diglycerides.
  • diesters of glycerin and decanoic acid C 10
  • diesters of glycerin and dodecanoic acid C 12
  • diesters of glycerin and hexadecanoic acid C 16
  • diesters of glycerin and two fatty acids and mixtures thereof.
  • the total number of carbon atoms of the fatty acid constituting the diester of glycerin and fatty acid that is, in the formula (6), the total number of carbon atoms in the R 5 C and R 6 C moieties is preferably about 16 or more (when the total number of carbon atoms is 16, IOB is 0.58).
  • Monoesters of glycerin and fatty acids are also referred to as monoglycerides, and examples include glycerin octadecanoic acid (C 18 ) monoester, glycerin docosanoic acid (C 22 ) monoester, and the like.
  • the number of carbon atoms of the fatty acid constituting the monoester of glycerin and fatty acid that is, in the formula (7), the number of carbon atoms in the R 5 C moiety is preferably about 19 or more (when the number of carbon atoms is 19, IOB is 0.59).
  • esters of chain hydrocarbon diols with at least one fatty acid include C 2 to C 6 chain hydrocarbon diols such as C 2 to C 6 glycols such as ethylene glycol, propylene glycol, and butylene glycol. , Monoester or diester of pentylene glycol or hexylene glycol and a fatty acid.
  • R 8 COOC k H 2k OCOR 9 (Wherein k is an integer from 2 to 6 and R 8 and R 9 are each a chain hydrocarbon)
  • R 8 COOC k H 2k OH (9) (Wherein k is an integer from 2 to 6 and R 8 is a chain hydrocarbon)
  • monoesters of C 2 -C 6 glycols and fatty acids for example, the following formula (8): R 8 COOC k H 2k OCOR 9 (8) (Wherein k is an integer from 2 to 6 and R 8 and R 9 are each a chain hydrocarbon)
  • R 8 COOC k H 2k OH (Wherein k is an integer from 2 to 6 and R 8 is a chain hydrocarbon)
  • monoesters of C 2 -C 6 glycols and fatty acids for example, the following formula (8): R 8 COOC k H 2k OCOR 9 (8) (Wherein k is an integer from 2 to 6 and R 8 and R 9 are each a chain hydrocarbon)
  • the fatty acid to be esterified is C 2 -C 6 glycol and
  • the ester with a fatty acid is not particularly limited as long as it satisfies the requirements of kinematic viscosity, water retention and weight average molecular weight.
  • “(a 1 ) a chain hydrocarbon tetraol and at least one fatty acid
  • the carbon number of the R 8 C and R 9 C moieties Is preferably about 6 or more (when the total number of carbon atoms is 6, IOB is 0.60).
  • the carbon number of the R 8 C moiety is about It is preferably 12 or more (when the carbon number is 12, IOB is 0.57).
  • esters of C 2 ⁇ C 6 glycols and fatty acid in view of the potential for degradation by oxidation and the like, derived from saturated fatty acids, esters of C 2 ⁇ C 6 glycols and fatty acid, Nachi Suwa, C 2 ⁇ An ester of C 6 glycol and a saturated fatty acid is preferred.
  • an ester of C 2 -C 6 glycol and a fatty acid from the viewpoint of reducing the water retention value, an ester of glycol and a fatty acid derived from a glycol having a large number of carbon atoms, such as butylene glycol and pentylene.
  • An ester of glycol and fatty acid derived from glycol or hexylene glycol is preferable.
  • the ester of C 2 -C 6 glycol and a fatty acid is preferably a diester from the viewpoint of reducing the water retention value.
  • Examples of commercially available esters of C 2 -C 6 glycol and fatty acid include Compol BL and Compol BS (manufactured by NOF Corporation).
  • compound (B1) As a compound having a chain hydrocarbon moiety and 2 to 4 hydroxyl groups replacing hydrogen atoms in the chain hydrocarbon moiety (hereinafter sometimes referred to as “compound (B1)”), What is enumerated as a compound (A1) in "Compound (A)", for example, a pentaerythritol, glycerol, and glycol are mentioned.
  • Examples of the compound (B2) having a chain hydrocarbon moiety and one hydroxyl group substituting a hydrogen atom of the chain hydrocarbon moiety include: A compound in which one hydrogen atom of a hydrocarbon is substituted with one hydroxyl group (—OH), for example, an aliphatic monohydric alcohol, for example, a saturated aliphatic monohydric alcohol and an unsaturated aliphatic monohydric alcohol Can be mentioned.
  • —OH hydroxyl group
  • saturated aliphatic monohydric alcohol examples include C 1 to C 20 saturated aliphatic monohydric alcohols such as methyl alcohol (C 1 ) (C 1 represents the number of carbon atoms, the same shall apply hereinafter), ethyl alcohol (C 2 ), propyl alcohol (C 3 ) and isomers thereof such as isopropyl alcohol (C 3 ), butyl alcohol (C 4 ) and isomers thereof such as sec-butyl alcohol (C 4 ) and tert-butyl alcohol ( C 4 ), pentyl alcohol (C 5 ), hexyl alcohol (C 6 ), heptyl alcohol (C 7 ), octyl alcohol (C 8 ) and isomers thereof such as 2-ethylhexyl alcohol (C 8 ), nonyl alcohol ( C 9), decyl alcohol (C 10), dodecyl alcohol (C 12), tetradecyl alcohol (C 14), hexyl Decyl alcohol (C 16),
  • Examples of the unsaturated aliphatic monohydric alcohol include those obtained by substituting one of the C—C single bonds of the saturated aliphatic monohydric alcohol with a C ⁇ C double bond, such as oleyl alcohol. It is commercially available from Rika Co., Ltd. under the names of the Jamaica Coal series and the Angelo All series.
  • Examples of the compound (B) include (b 1 ) ethers of chain hydrocarbon tetraol and at least one aliphatic monohydric alcohol, such as monoether, diether, triether and tetraether, preferably diether, triether.
  • Ethers and tetraethers more preferably triethers and tetraethers, and even more preferably tetraethers, ethers of (b 2 ) chain hydrocarbon triols and at least one aliphatic monohydric alcohol, such as monoethers, diethers and Triethers, preferably diethers and triethers, and more preferably triethers, and (b 3 ) ethers of chain hydrocarbon diols with at least one aliphatic monohydric alcohol, such as monoethers and diethers, and preferably Diether It is below.
  • ethers of chain hydrocarbon tetraols and at least one aliphatic monohydric alcohol include, for example, the following formulas (10) to (13): (In the formula, R 10 to R 13 are each a chain hydrocarbon.) And tetraethers, triethers, diethers and monoethers of pentaerythritol and aliphatic monohydric alcohols.
  • ethers of chain hydrocarbon triols and at least one aliphatic monohydric alcohol include, for example, the following formulas (14) to (16): (Wherein R 14 to R 16 are each a chain hydrocarbon.) And triether, diether and monoether of glycerin and aliphatic monohydric alcohol.
  • R 17 OC n H 2n OR 18 (Wherein n is an integer from 2 to 6 and R 17 and R 18 are each a chain hydrocarbon)
  • R 17 OC n H 2n OH (18)
  • n is an integer from 2 to 6 and R 17 is a chain hydrocarbon
  • monoethers of C 2 -C 6 glycols and aliphatic monohydric alcohols
  • the tetraether of pentaerythritol and aliphatic monohydric alcohol is aliphatic 1 constituting the tetraether of pentaerythritol and aliphatic monohydric alcohol.
  • the total number of carbon atoms of the hydric alcohol that is, in the above formula (10), the total number of carbon atoms of the R 10 , R 11 , R 12 and R 13 moieties is preferably about 4 or more (the total number of carbon atoms is In the case of 4, the IOB is 0.44).
  • the triether of pentaerythritol and aliphatic monohydric alcohol is aliphatic 1 constituting the triether of pentaerythritol and aliphatic monohydric alcohol.
  • the total number of carbon atoms of the monohydric alcohol that is, in the above formula (11), the total number of carbon atoms of the R 10 , R 11 and R 12 portions is preferably about 9 or more (when the total number of carbon atoms is 9 IOB becomes 0.57).
  • the diether of pentaerythritol and an aliphatic monohydric alcohol is an aliphatic monohydric alcohol constituting a diether of pentaerythritol and an aliphatic monohydric alcohol. That is, in the above formula (12), the total number of carbon atoms in the R 10 and R 11 moieties is preferably about 15 or more (when the total number of carbon atoms is 15, the IOB is 0). .60).
  • the monoether of pentaerythritol and aliphatic monohydric alcohol is aliphatic 1 constituting the monoether of pentaerythritol and aliphatic monohydric alcohol.
  • the number of carbon atoms of the polyhydric alcohol, i.e., in formula (13), the number of carbon atoms of R 10 moiety is preferably about 22 or more (when the number of carbon atoms is 22, IOB is 0.59).
  • the triether of glycerin and aliphatic monohydric alcohol is aliphatic 1 constituting the triether of glycerin and aliphatic monohydric alcohol.
  • the total number of carbon atoms of the R 14 , R 15 and R 16 moieties is preferably about 3 or more (when the total number of carbon atoms is 3). , IOB becomes 0.50).
  • diether of glycerol and aliphatic monohydric alcohol is carbon of aliphatic monohydric alcohol constituting diether of glycerin and aliphatic monohydric alcohol.
  • the total number of carbon atoms in the R 14 and R 15 moieties is preferably about 9 or more (when the total number of carbon atoms is 9, the IOB is 0.58). Clearly).
  • the monoether of glycerin and an aliphatic monohydric alcohol is an aliphatic monohydric alcohol constituting a monoether of glycerin and an aliphatic monohydric alcohol.
  • the carbon number of the R 14 moiety is preferably about 16 or more (when the carbon number is 16, IOB is 0.58).
  • R 17 and R 18 moieties
  • the total number of carbons is preferably about 2 or more (when the total number of carbons is 2, IOB is 0.33).
  • the R 17 moieties The number of carbon atoms is preferably about 8 or more (when the number of carbon atoms is 8, IOB is 0.60).
  • Compound (B) can be produced by dehydrating condensation of compound (B1) and compound (B2) in the presence of an acid catalyst.
  • (C1) Carboxylic acid, hydroxy acid, alkoxy acid or oxo acid (hereinafter referred to as “compound (C1) containing a chain hydrocarbon moiety and 2 to 4 carboxyl groups that replace the hydrogen atom of the chain hydrocarbon moiety”
  • a chain hydrocarbon carboxylic acid having 2 to 4 carboxyl groups such as a chain hydrocarbon dicarboxylic acid such as an alkanedicarboxylic acid such as ethanedioic acid, Propanedioic acid, butanedioic acid, pentanedioic acid, hexanedioic acid, heptanedioic acid, octanedioic acid, nonanedioic acid and decanedioic acid, chain hydrocarbon tricarboxylic acid such as alkanetricarboxylic acid such as propanetriacid , Butanetriacid, pentanetriacid, hexane
  • the compound (C1) includes a chain hydrocarbon hydroxy acid having 2 to 4 carboxyl groups, for example, a chain chain having 2 to 4 carboxyl groups such as malic acid, tartaric acid, citric acid, isocitric acid and the like. Hydrocarbon alkoxy acids such as O-acetylcitric acid and chain hydrocarbon oxoacids having 2 to 4 carboxyl groups are included.
  • C2 Examples of the compound having a chain hydrocarbon moiety and one hydroxyl group substituting a hydrogen atom of the chain hydrocarbon moiety include those listed in the section of “Compound (B)”, for example, fat Group monohydric alcohols.
  • compound (D) includes (d 1 ) aliphatic 1 And ethers of monohydric alcohols and aliphatic monohydric alcohols, (d 2 ) dialkyl ketones, (d 3 ) esters of fatty acids and aliphatic monohydric alcohols, and (d 4 ) dialkyl carbonates.
  • the ether As the aliphatic monohydric alcohol constituting the ether (corresponding to R 19 OH and R 20 OH in the formula (19)), the ether satisfies the above-mentioned requirements for kinematic viscosity, water retention and weight average molecular weight. If it is, it will not restrict
  • dialkylketone As the dialkyl ketone, the following formula (20): R 21 COR 22 (20) (Wherein R 21 and R 22 are each an alkyl group) The compound which has is mentioned.
  • the dialkyl ketone can be obtained by a known method, for example, by oxidizing a secondary alcohol with chromic acid or the like.
  • ester of a fatty acid and an aliphatic monohydric alcohol examples include the following formula (21): R 23 COOR 24 (21) (Wherein R 23 and R 24 are each a chain hydrocarbon) The compound which has is mentioned.
  • Examples of the fatty acid constituting the ester include, for example, the fatty acids listed in “(a 1 ) ester of chain hydrocarbon tetraol and fatty acid”, that is, Saturated fatty acids or unsaturated fatty acids are exemplified, and saturated fatty acids are preferred in consideration of the possibility of modification by oxidation or the like.
  • Examples of the aliphatic monohydric alcohol constituting the ester include the aliphatic monohydric alcohols listed in the section “Compound (B)”.
  • esters of fatty acids and aliphatic monohydric alcohols include, for example, dodecanoic acid (C 12 ), dodecyl alcohol (C 12 ) ester, tetradecanoic acid (C 14 ), dodecyl alcohol (C 12 ) and Examples of commercially available esters of fatty acids and aliphatic monohydric alcohols include Electol WE20 and Electol WE40 (manufactured by NOF Corporation).
  • the dialkyl carbonate is commercially available, and can be synthesized by a reaction of phosgene with an alcohol, a reaction of a formic chloride ester with an alcohol or an alcoholate, and a reaction of silver carbonate with an alkyl iodide.
  • (d 1 ) an ether of an aliphatic monohydric alcohol and an aliphatic monohydric alcohol, (d 2 ) a dialkyl ketone, (d 3 ) a fatty acid and an aliphatic monohydric alcohol And (d 4 ) dialkyl carbonates preferably have a weight average molecular weight of about 100 or more, and more preferably about 200 or more.
  • dialkyl ketone when the total number of carbon atoms is about 8, for example, for 5-nonanone, the melting point is about ⁇ 50 ° C., and the vapor pressure is about 230 Pa at 20 ° C.
  • (E) Polyoxy C 3 -C 6 alkylene glycol, or alkyl ester or alkyl ether thereof includes (e 1 ) polyoxy C 3 -C 6 alkylene glycol, (e 2 ) Esters of polyoxy C 3 -C 6 alkylene glycol and at least one fatty acid, (e 3 ) Ethers of polyoxy C 3 -C 6 alkylene glycol and at least one aliphatic monohydric alcohol. This will be described below.
  • the polyoxy C 3 -C 6 alkylene glycol has the following formula (23): HO- (C m H 2m O) n -H (23) (Where m is an integer from 3 to 6) Is represented by
  • Examples of commercially available poly C 3 -C 6 alkylene glycols include Uniol (trademark) PB-500 and PB-700 (manufactured by NOF Corporation).
  • ester of polyoxy C 3 -C 6 alkylene glycol and at least one fatty acid examples include the OH terminal of the polyoxy C 3 -C 6 alkylene glycol described in the section “(e 1 ) Polyoxy C 3 -C 6 alkylene glycol”.
  • One or both are esterified with fatty acids, ie monoesters and diesters.
  • fatty acid to be esterified in the ester of polyoxy C 3 -C 6 alkylene glycol and at least one fatty acid are listed in “Ester of (a 1 ) chain hydrocarbon tetraol and at least one fatty acid”.
  • Fatty acid that is, saturated fatty acid or unsaturated fatty acid, and saturated fatty acid is preferable in consideration of possibility of modification by oxidation or the like.
  • Examples of the aliphatic monohydric alcohol to be etherified in the ether of polyoxy C 3 -C 6 alkylene glycol and at least one aliphatic monohydric alcohol include, for example, the aliphatic enumerated in the section of “Compound (B)”. A monohydric alcohol is mentioned.
  • chain hydrocarbon examples include (f 1 ) chain alkanes such as straight chain alkanes and branched chain alkanes.
  • the linear alkane has a carbon number of about 22 or less when the melting point is about 45 ° C. or less, and about 13 or less when the vapor pressure is about 0.01 Pa or less at 1 atm and 25 ° C. That's it.
  • Branched-chain alkanes tend to have lower melting points at the same carbon number than straight-chain alkanes. Therefore, the branched chain alkane can include those having 22 or more carbon atoms even when the melting point is about 45 ° C. or lower.
  • the blood slipperiness-imparting agent may be applied alone to at least the convex portion 8 in the excretory opening contact region 20, or the blood slipperiness-imparting agent and at least one other component are contained.
  • a blood slipping agent-containing composition may be applied.
  • the blood slipping agent-containing composition will be described.
  • lubricity imparting agent about application of a blood slipperiness
  • the composition for containing a blood slipperiness agent contains the above-described blood slipperiness imparting agent and at least one other component.
  • the other components are not particularly limited as long as they do not inhibit the effect of the blood slipperiness-imparting agent, and those conventionally used in absorbent articles, particularly top sheets, can be used in the industry. .
  • Examples of other components include silicone oil, silicone, silicone resin, and the like.
  • antioxidants such as BHT (2,6-di-t-butyl-p-cresol), BHA (butylated hydroxyanisole), propyl gallate and the like.
  • vitamins such as natural vitamins and synthetic vitamins.
  • vitamins include water-soluble vitamins such as vitamin B groups, such as vitamin B 1 , vitamin B 2 , vitamin B 3 , vitamin B 5 , vitamin B 6 , vitamin B 7 , vitamin B 9 , vitamin B 12, etc.
  • vitamin C examples include water-soluble vitamins such as vitamin B groups, such as vitamin B 1 , vitamin B 2 , vitamin B 3 , vitamin B 5 , vitamin B 6 , vitamin B 7 , vitamin B 9 , vitamin B 12, etc.
  • vitamin C such as water-soluble vitamins such as vitamin B groups, such as vitamin B 1 , vitamin B 2 , vitamin B 3 , vitamin B 5 , vitamin B 6 , vitamin B 7 , vitamin B 9 , vitamin B 12, etc.
  • vitamins examples include fat-soluble vitamins such as vitamin A group, vitamin D group, vitamin E group, and vitamin K group. Vitamins also include their derivatives.
  • Examples of other components include amino acids such as alanine, arginine, lysine, histidine, proline, hydroxyproline, and peptides.
  • zeolites such as natural zeolites such as zeolitic, chabazite, pyroxenite, natrolite, zeolitic and somosonite, and synthetic zeolite.
  • Examples of other components include cholesterol, hyaluronic acid, lecithin, ceramide and the like.
  • Other components include, for example, drugs such as skin astringents, anti-acne agents, anti-wrinkle agents, anti-cellulite agents, whitening agents, antibacterial agents, anti-fungal agents and the like.
  • Examples of the skin astringent include oil-soluble skin astringents such as zinc oxide, aluminum sulfate, and tannic acid, such as oil-soluble polyphenols.
  • oil-soluble polyphenols include natural oil-soluble polyphenols, such as buckwheat extract, hypericum extract, nettle extract, chamomile extract, burdock extract, salvia extract, linden extract, scallop extract, birch extract, cedar extract, sage extract, salvia extract, Examples include teuchigurumi extract, hibiscus extract, loquat leaf extract, bodaiju extract, hop extract, marronnier extract, and yokuinin extract.
  • anti-acne agent examples include salicylic acid, benzoyl peroxide, resorcinol, sulfur, erythromycin, and zinc.
  • anti-wrinkle agent examples include lactic acid, salicylic acid, salicylic acid derivatives, glycolic acid, phytic acid, lipoic acid, and lysophosphatide acid.
  • anti-cellulite agent examples include xanthine compounds such as aminophylline, caffeine, theophylline, theobromine and the like.
  • whitening agents include niacinamide, kojic acid, arbutin, glucosamine and derivatives, phytosterol derivatives, ascorbic acid and derivatives thereof, and mulberry extract and placenta extract.
  • Examples of other components include anti-inflammatory components, pH adjusters, antibacterial agents, moisturizers, fragrances, pigments, dyes, pigments, plant extracts and the like.
  • Anti-inflammatory components include, for example, naturally-occurring anti-inflammatory agents such as buttons, ogon, hypericum, chamomile, licorice, momonoha, mugwort, perilla extract, synthetic anti-inflammatory agents such as allantoin, dipotassium glycyrrhizinate, etc. .
  • Examples of the pH adjuster include those for keeping the skin weakly acidic, such as malic acid, succinic acid, citric acid, tartaric acid, and lactic acid.
  • Examples of the pigment include titanium oxide.
  • the blood slipping agent-containing composition preferably contains about 50 to about 99% by weight and about 1 to about 50% by weight, more preferably about 60%, of the blood slipping agent and at least one other component, respectively. To about 99% and about 1 to about 40%, more preferably about 70 to about 99% and about 1 to about 30%, even more preferably about 80 to about 99% and about 1 to about 20%. % By weight, even more preferably from about 90 to 99% by weight and from about 1 to about 10% by weight, even more preferably from about 95 to 99% by weight and from about 1 to about 5% by weight. This is from the viewpoint of the effect of the blood slipperiness-imparting agent and other components.
  • the blood slipping agent-containing composition preferably contains a surfactant in an amount equal to or less than the amount derived from the hydrophilic treatment of the top sheet or the second sheet. More specifically, the composition containing a blood slipperiness agent preferably contains a surfactant, preferably about 0.0 to about 1.0 g / m 2 , more preferably about 0.0 to about 0.8 g / m 2. 2 , more preferably from about 0.1 to about 0.5 g / m 2 , and even more preferably from about 0.1 to about 0.3 g / m 2 in the basis weight range.
  • a surfactant preferably about 0.0 to about 1.0 g / m 2 , more preferably about 0.0 to about 0.8 g / m 2. 2 , more preferably from about 0.1 to about 0.5 g / m 2 , and even more preferably from about 0.1 to about 0.3 g / m 2 in the basis weight range.
  • the blood slipping agent-containing composition preferably contains water in an amount of about 0.0 to about 1.0 g / m 2 , more preferably about 0.0 to about 0.8 g / m 2 , and even more preferably about 0.0. It is included in the basis weight range of 1 to about 0.5 g / m 2 , even more preferably about 0.1 to about 0.3 g / m 2 . Since water reduces the absorption performance of an absorbent article, it is preferable that water is small.
  • the blood slipping agent-containing composition like the blood slipping agent, preferably has a kinematic viscosity at 40 ° C. of about 0 to about 80 mm 2 / s, and about 1 to about 70 mm 2. More preferably, it has a kinematic viscosity of about 3 to about 60 mm 2 / s, even more preferably about 5 to about 50 mm 2 / s, and even more preferably about Even more preferably, it has a kinematic viscosity of from 7 to about 45 mm 2 / s.
  • the kinematic viscosity of the composition containing a blood slipperiness agent exceeds about 80 mm 2 / s, the viscosity is high, and the blood slipperiness imparting composition is an absorbent article together with menstrual blood that has reached the skin contact surface of the top sheet. This is because it tends to be difficult to slide down inside.
  • the other component preferably has a weight average molecular weight of less than about 1,000. More preferably having a weight average molecular weight of less than about 900. This is because when the weight average molecular weight is about 1,000 or more, the blood slipperiness-imparting agent-containing composition itself is tacky and tends to give the wearer discomfort. Moreover, since the viscosity of the composition containing a blood slipperiness-imparting agent tends to increase as the weight average molecular weight increases, the viscosity of the blood slipperiness-enhancing agent composition is lowered to a viscosity suitable for application by heating. As a result, the blood slipping agent may have to be diluted with a solvent.
  • the composition containing a blood slipperiness imparting agent has a water content of about 0.01 to about 4.0% by mass and a water content of about 0.02 to about 3.5% by mass as the composition. Preferably about 0.03 to about 3.0% by weight, more preferably about 0.04 to about 2.5% by weight, and more preferably about 0.03 to about 3.0% by weight. More preferably, it has a water retention of 0.05 to about 2.0% by weight.
  • the affinity between the blood slipperiness-imparting agent composition and menstrual blood is reduced, and menstrual blood that has reached the skin contact surface of the top sheet is less likely to slide into the absorbent article.
  • lubricity imparting agent containing composition contains a solid substance, it is preferable to remove them by filtration in the measurement of kinematic viscosity and a water retention.
  • Tri-C2L oil fatty acid glyceride manufactured by NOF Corporation C 8 fatty acid: C 10 fatty acid: C 12 fatty acid containing approximately 37: 7: 56 weight ratio, glycerol and fatty acid triester, Weight average molecular weight: about 570
  • fatty acids manufactured by NOF Corporation C 8 fatty to C 10 are contained in approximately 85:15 weight ratio of triesters of glycerol with fatty acids, the weight average molecular weight: about 480 ⁇ Panasate 800, manufactured by NOF Corporation All fatty acids are octanoic acid (C 8 ), triester of glycerin and fatty acid, weight average molecular weight: about 470
  • Panaceate 800B manufactured by NOF Corporation All fatty acids are 2-ethylhexanoic acid (C 8 ), triester of glycerin and fatty acid, weight average molecular weight: about 470 ⁇ NA36, manufactured by NOF Corporation C 16 fatty acid: fatty acid C 18: (including both saturated and unsaturated fatty acids) fatty acids to C 20 is approximately 5: contained in a weight ratio of 3: 92 Triester of glycerin and fatty acid, weight average molecular weight: about 880
  • C 8 fatty C 10: fatty acid
  • C 12 fatty acid
  • C 14 (including both saturated and unsaturated fatty acids)
  • C 16 is approximately 4 : Triester of glycerin and fatty acid, contained in a weight ratio of 8: 60: 25: 3, weight average molecular weight: 670 -Caprylic acid diglyceride, manufactured by NOF Corporation
  • Fatty acid is octanoic acid, diester of glycerin and fatty acid, weight average molecular weight: 340
  • [Other materials] -NA50 manufactured by NOF Corporation Hydrogen added to NA36 to reduce the ratio of double bonds derived from the unsaturated fatty acid as a raw material Triester of glycerin and fatty acid, weight average molecular weight: about 880
  • PEG 1500 manufactured by NOF Corporation, polyethylene glycol, weight average molecular weight: about 1,500 to about 1,600 -Wilbright cp9, manufactured by NOF Co., Ltd.
  • Nonionic S-6 polyoxyethylene monostearate manufactured by NOF Corporation, about 7 repeating units, weight average molecular weight: about 880 ⁇ Unilube 5TP-300KB Polyoxyethylene polyoxypropylene pentaerythritol ether produced by adding 5 mol of ethylene oxide and 65 mol of propylene oxide to 1 mol of pentaerythritol, weight average molecular weight: 4,130
  • Top sheet formed from air-through nonwoven fabric (composite fiber made of polyester and polyethylene terephthalate, basis weight: 35 g / m 2 ) treated with a hydrophilic agent, and air-through nonwoven fabric (composite fiber made of polyester and polyethylene terephthalate, basis weight: 30 g) / M 2 ), a pulp (basis weight: 150 to 450 g / m 2 , more in the center), an acrylic superabsorbent polymer (basis weight: 15 g / m 2 ), and a tissue as a core wrap.
  • An absorbent body, a side sheet treated with a water repellent, and a back sheet made of a polyethylene film were prepared.
  • the top sheet is a top sheet having a ridge groove structure manufactured according to the method described in Japanese Patent Application Laid-Open No. 2008-2034.
  • the ridge portion has a thickness of about 1.5 mm and the groove portion has a thickness of about 0.00 mm.
  • the pitch of the ridge groove structure was about 4 mm, and an opening portion having an opening ratio of about 15% was formed in the groove portion.
  • Unistar H-408BRS (manufactured by NOF Corporation, tetraester of pentaerythritol and fatty acid) is selected as a blood slipperiness-imparting agent, and the skin contact surface ( ⁇ ⁇ ⁇ ) of the top sheet from a control seam HMA gun at room temperature.
  • the groove surface was coated with a basis weight of 5.0 g / m 2 .
  • H-408BRS was in the form of fine particles and adhered to the fiber surface.
  • the back sheet, the absorbent body, the second sheet, and the top sheet were sequentially laminated with the groove surface facing up, whereby a sanitary napkin no. 1-1 was formed.
  • the blood slipperiness-imparting agent was changed from Unistar H-408BRS to that shown in Table 2, and sanitary napkin no. 1-2 to No. 1-49 was produced.
  • the blood slipperiness-imparting agent is a liquid at room temperature
  • the blood slipperiness-imparting agent is a solid at room temperature
  • it is heated to the melting point + 20 ° C., and then a control seam HMA gun is used.
  • the blood slipperiness imparting agent was atomized and applied to the skin contact surface of the top sheet so that the basis weight was approximately 5 g / m 2 .
  • lubricity imparting agent was applied to the substantially whole surface of the skin contact surface of a top sheet, and to both a collar part and a groove part.
  • Mass of top sheet After measuring W 2 (g) (mass of top sheet before test), an acrylic plate having a hole in the center of the absorbent article in the longitudinal direction and width direction and on the top sheet ( Place 200mm x 100mm, 125g, 40mm x 10mm hole in the center, and from the hole, 37 ⁇ 1 ° C equine EDTA blood (ethylenediaminetetraacetic acid (hereinafter referred to as equine blood to prevent coagulation) 4.0 g) was added dropwise with a pipette.
  • W 2 (g) mass of top sheet before test
  • tackiness of the skin contact surface of the top sheet was measured at 35 ° C. according to the following criteria. ⁇ : No tackiness ⁇ : Some tackiness is present ⁇ : There is tackiness
  • Table 2 below shows the surface residual ratio A, tackiness, and characteristics of each blood slipperiness imparting agent of each absorbent article. Moreover, in FIG. 6, the electron micrograph of the skin contact surface of a top sheet in the sanitary napkin in which a top sheet contains tri C2L oil fatty-acid glyceride is shown.
  • Sanitary napkin No. which does not have a blood slipperiness imparting agent.
  • the surface residual rate A was 7.5% by mass, but the kinematic viscosity and water retention rate were within the predetermined ranges. 1-1-No. In 1-21, the surface residual ratio A was 2.5 mass% or less.
  • sanitary napkins no. 1-1-No. 1-21 suggests that when a large amount of menstrual blood reaches the top sheet at a time, menstrual blood can be rapidly transferred from the top sheet to the absorber.
  • a top sheet having a grooving structure manufactured according to the method described in Japanese Patent Application Laid-Open No. 2008-2034 was used, but the blood slipperiness imparting agent has a grooving structure manufactured by another method.
  • the blood slide action is similarly exhibited, and menstrual blood can be quickly transferred from the top sheet to the absorber. It is considered possible (see Test Example 8).
  • the top sheet is a top sheet having a ridge groove structure manufactured according to the method described in Japanese Patent Application Laid-Open No. 2008-2034.
  • the ridge portion has a thickness of about 1.5 mm and the groove portion has a thickness of about 0.00 mm.
  • the pitch of the ridge groove structure was about 4 mm, and an opening portion having an opening ratio of about 15% was formed in the groove portion.
  • Unistar H-408BRS (manufactured by NOF Corporation, tetraester of pentaerythritol and fatty acid) is selected as a blood slipperiness-imparting agent, and the skin contact surface ( ⁇ ⁇ ⁇ ) of the top sheet from a control seam HMA gun at room temperature.
  • the groove surface was coated with a basis weight of 5.0 g / m 2 .
  • H-408BRS was in the form of fine particles and adhered to the fiber surface.
  • the back sheet, the absorbent body, the second sheet, and the top sheet were sequentially laminated with the groove surface facing up, whereby a sanitary napkin no. 2-1 (i) was formed.
  • a top sheet made of a flat, air-through nonwoven fabric composite fiber made of polyester and polyethylene terephthalate, basis weight: 35 g / m 2
  • flat hydrophilic agent
  • the blood slipperiness-imparting agent was changed from Unistar H-408BRS to that shown in Table 3, and sanitary napkin no. 2-2 (i) -No. 2-11 (i) and No. 2-11. 2-2 (ii) -No. 2-11 (ii) was prepared.
  • the blood slipperiness-imparting agent is a liquid at room temperature
  • the blood slipperiness-imparting agent is a solid at room temperature
  • it is heated to the melting point + 20 ° C., and then a control seam HMA gun is used.
  • the blood slipperiness imparting agent was atomized and applied to the skin contact surface of the top sheet so that the basis weight was approximately 5 g / m 2 .
  • lubricity imparting agent was apply
  • Weight of top sheet W 4 (g) (mass of top sheet before test) was measured, and then the horse EDTA blood at 37 ⁇ 1 ° C. was placed on the center top sheet in the longitudinal direction and width direction of the absorbent article. About 0.25 g (2 drops) was dropped from the pipette. In the top sheet having the groin, equine EDTA blood was dropped on the top of the buttock.
  • a top sheet having a grooving structure manufactured according to the method described in Japanese Patent Application Laid-Open No. 2008-2034 was used, but the blood slipperiness imparting agent has a grooving structure manufactured by another method.
  • the blood slide action is similarly exhibited, and menstrual blood can be quickly transferred from the top sheet to the absorber. It is considered possible (see Test Example 8).
  • the viscosity of equine defibrinated blood containing 2% by mass of panacet 810s was 5.9 mPa ⁇ s, while the viscosity of equine defibrinated blood not containing a blood slipperiness agent was 50.4 mPa ⁇ s. Therefore, it can be seen that equine defibrinated blood containing 2% by mass of panacet 810s decreases the viscosity by about 90% compared to the case where no blood slipperiness-imparting agent is contained.
  • blood contains components such as blood cells and has thixotropic properties, but the blood slipperiness imparting agent of the present disclosure has an action of lowering the viscosity of blood such as menstrual blood in a low viscosity region. It is thought to have. By reducing the viscosity of blood, it is considered that absorbed menstrual blood is easily transferred from the top sheet to the absorber.
  • red blood cells form aggregates such as remuneration, but in menstrual blood that includes panacet 810s, red blood cells are each stably dispersed. I understand that. Therefore, it is suggested that the blood slipperiness imparting agent also has a function of stabilizing red blood cells in blood.
  • the density ⁇ is defined in 5. of “Density Test Method and Density / Mass / Capacity Conversion Table” of JIS K 2249-1995. Based on the vibration density test method, the temperature was measured as shown in Table 4 below. For measurement, DA-505 of Kyoto Electronics Industry Co., Ltd. was used. The results are shown in Table 4 below.
  • the blood slipperiness-imparting agent also has an action of lowering the surface tension of blood.
  • the absorbed blood can be quickly transferred to the absorbent body without being held between the fibers of the top sheet.
  • sanitary napkins A to C Three types of commercially available sanitary napkins A to C were prepared.
  • Sanitary napkin A (“Sophie Skin Omoi” manufactured by Unicharm Co., Ltd.) is composed of a top sheet (PET / HDPE core-sheath type composite fiber) having a concavo-convex structure on the skin contact surface as a liquid permeable layer.
  • the uneven structure formed on the skin contact surface of the top sheet is a ridge groove structure formed according to the method described in Japanese Patent Application Laid-Open No. 2008-2034, and the thickness of the ridge portion is about 1.5 mm.
  • the pitch of the ridge groove structure was about 4 mm
  • the opening ratio of the opening portions formed in the groove portion was about 15%.
  • the sanitary napkin 1 As a sanitary napkin B, “Laurier F” manufactured by Kao Corporation was used.
  • the sanitary napkin 1 has a top sheet in which a concavo-convex structure is formed on the skin contact surface as a liquid permeable layer.
  • sanitary napkin C As a sanitary napkin C, “Laurier Speed Plus” manufactured by Kao Corporation was used.
  • the sanitary napkin C has a top sheet having a concavo-convex structure on the skin contact surface as a liquid-permeable layer.
  • a blood slipperiness-imparting agent (triglyceride) was applied to the skin contact surfaces of the sanitary napkins A to C to obtain samples A1 to C1.
  • sanitary napkins A to C not coated with a blood slipperiness agent were used as samples A2 to C2.
  • the acrylic plate was removed, and a filter paper (Advantech Toyo Co., Ltd., qualitative filter paper No. 2, 50 mm ⁇ 35 mm) was placed where the blood was dropped, and the pressure was 30 g / cm 2 from above. The weight was placed so that One minute later, the filter paper was taken out, and the rewet amount (weight of filter paper after test ⁇ weight of filter paper before test) was calculated.
  • a filter paper Advanced filter paper No. 2, 50 mm ⁇ 35 mm
  • Absorber transfer speed is the time from the introduction of blood into the liquid permeable layer until the redness of blood is no longer seen on the surface and inside of the liquid permeable layer.
  • the rewetting amount of sample A1 was 0.05 g and the absorber transfer speed was 8 seconds, and the rewetting amount of sample A2 was 1.06 g and the absorber transfer speed was 60 seconds or more.
  • the rewetting amount of sample B1 was 0.92 g and the absorber transfer speed was 27 seconds, the rewetting amount of sample B2 was 1.47 g, and the absorber transfer speed was 60 seconds or more.
  • the rewetting amount of sample C1 was 0.61 g and the absorber transfer speed was 28 seconds, the rewetting amount of sample C2 was 0.60 g, and the absorber transfer speed was 60 seconds or more.
  • sample A1 the rewet amount was significantly reduced and the absorber transfer rate was significantly increased compared to sample A2. Therefore, in sample 1A, it is considered that the effect of the blood slipperiness imparting agent is effectively exhibited.
  • sample B1 In contrast, in sample B1, the amount of rewet decreased and the absorber transfer rate increased compared to sample B2, but the increase in the absorber transfer rate was not as significant as in sample A1. Therefore, it is considered that the effect of the blood slipperiness imparting agent is not effectively exhibited in sample B1 compared to sample A1.
  • sample C1 the absorber transfer rate increased compared to sample C2, but the increase in the absorber transfer rate was not as significant as in sample A1. Moreover, the rewetting amount did not change in the sample C1 compared to the sample C2. Therefore, it is considered that the effect of the blood slipperiness imparting agent is not effectively exhibited in the sample C1 compared to the sample A1.
  • Sample A1 has a basis weight of 35 g / m 2 and a thickness of 0.8 mm in the upper layer (top sheet) of the liquid-permeable layer, and a basis weight of 38 g / m 2 and a thickness of the lower layer (second sheet) of 0.7 mm. Therefore, the density of the upper layer is 0.04 g / cm 3 and the density of the lower layer is 0.06 g / cm 3 .
  • sample B1 has a basis weight of 30 g / m 2 and a thickness of 0.9 mm among the liquid-permeable layers, and a basis weight of the lower layer is 38 g / m 2 and a thickness of 0.3 mm.
  • the upper layer has a density of 0.03 g / cm 3 and the lower layer has a density of 0.15 g / cm 3 .
  • Sample C1 has a basis weight of 24.5 g / m 2 and a thickness of 0.5 mm in the liquid permeable layer, and a basis weight of the lower layer is 30 g / m 2 and a thickness of 0.3 mm.
  • the upper layer of the density of 0.05 g / cm 3 the lower density is 0.12 g / cm 3.
  • the density of the upper layer was not significantly different between samples A1 to C1, but the density of the lower layer was significantly higher in samples B1 and C1 than in sample A1. From this, it is thought that the effect of a blood slipperiness
  • lubricity imparting agent is influenced by the density of an upper layer and a lower layer. Specifically, greater than the density of the underlying density upper layer is the lower layer of density 0.1 g / cm 3 or less, the upper layer of the density is 0.05 g / cm 3 or less, blood slipping agent It is considered that the operational effects of can be effectively exhibited.
  • the non-heat-shrinkable fiber layer is a web having a PET / PE core-sheath type composite fiber (3.3 dtex ⁇ 51 mm, containing 4% titanium oxide in the core) of 100% by weight, and the heat-shrinkable fiber layer (
  • the latent crimpable fiber layer has a coPP (PP copolymer) / PP side-by-side type composite fiber (2.2 dtex ⁇ 51 mm) content of 20% by weight, PET / PE core-sheath type composite fiber ( 2.2 dtex ⁇ 51 mm, containing 4% titanium oxide in the core). All the fibers are hydrophilized with a surfactant.
  • the laminated sheet was heat embossed from the non-heat-shrinkable fiber layer side to form a heat-embossed portion that integrates the non-heat-shrinkable fiber layer and the heat-shrinkable fiber layer.
  • an embossing roll having a large number of convex portions arranged in a staggered pattern was used.
  • the size and arrangement interval of the convex portions of the embossing roll are as shown in FIG. 9 (partially enlarged plan view of the embossing roll), and the height is 1 mm.
  • the processing temperature was 130 ° C.
  • the processing time was 1 second
  • the pressure was 15 kgf / mm 2 .
  • the laminated sheet was heat-treated using a floating dryer to cause heat elongation of the heat-extensible fibers, heat shrinkage of the heat-shrinkable fibers, and heat fusion between the fibers.
  • the treatment temperature in the heat treatment was 133 to 135 ° C.
  • the wind speed was 5 m / sec
  • the line speed was 5 m / min.
  • the area shrinkage rate of the laminated sheet after the heat treatment was 50% in the MD direction and 30% in the CD direction.
  • a top sheet having an uneven structure formed on the skin contact surface was prepared, and a sanitary napkin was prepared using this top sheet (absorber was pulp having a basis weight of 250 g / m 2 , top sheet and absorber) the interface between the bonding hot-melt adhesive having a basis weight of 5 g / m 2), was applied to the skin contact surface of the top sheet blood slipping agent (triglycerides) in basis weight 3 g / m 2.
  • the sample coated with the blood slipperiness imparting agent was designated as sample D1
  • the sample not coated with the blood slipperiness imparting agent was designated as sample D2.
  • the dropping speed was 90 mL / min. After each dripping, the time until horse blood staying in the hole in the acrylic plate disappears is measured, and this is taken as the permeation time (seconds), and the time until horse blood disappears from the surface and inside of the top sheet (blood The time until no red color was seen was measured, and this was taken as the absorber transfer speed (brush speed) (seconds).
  • Rewetting rate (%) 100 ⁇ (filter paper mass after test ⁇ initial filter paper mass) / 6
  • sample D2 the permeation rate (first time) was 2.35 seconds, the permeation rate (second time) was 2.48 seconds, and the absorber transfer rate (first time) was 12.75 seconds.
  • the speed (second time) was 60 seconds or more, and the rewetting rate was 4.3%.
  • the blood slipperiness imparting agent can be used even when using a top sheet in which a concavo-convex structure is formed on the skin contact surface by utilizing the heat expansion of the heat stretchable fiber and / or the heat shrinkage of the heat shrinkable fiber.
  • a top sheet in which a concavo-convex structure is formed on the skin contact surface by utilizing the heat expansion of the heat stretchable fiber and / or the heat shrinkage of the heat shrinkable fiber.
  • Menstrual blood can be rapidly transferred from the top sheet to the absorber.
  • the non-heat-shrinkable fiber layer is a web having a PET / PE core-sheath type composite fiber (3.3 dtex ⁇ 51 mm, containing 4% titanium oxide in the core) of 100% by weight, and the heat-shrinkable fiber layer (
  • the latent crimpable fiber layer has a coPP (PP copolymer) / PP side-by-side type composite fiber (2.2 dtex ⁇ 51 mm) content of 20% by weight, PET / PE core-sheath type composite fiber ( 2.2 dtex ⁇ 44 mm, containing 4% titanium oxide in the core). All the fibers are hydrophilized with a surfactant.
  • a sanitary napkin was prepared using this top sheet, and a blood slipperiness-imparting agent (triglyceride) was applied to the skin contact surface of the top sheet at a basis weight of 3 g / m 2 .
  • the sample coated with the blood slipperiness agent was designated as sample E1
  • the sample not coated with the blood slipperiness imparting agent was designated as sample E2.
  • Samples F1 and F2 The mass mixing ratio in the heat-shrinkable fiber layer (latently crimpable fiber layer) was determined using coPP (PP copolymer) / PP side-by-side type composite fiber: PET / PE core. Samples F1 and F2 were produced in the same manner as Samples E1 and E2, except that the sheath type composite fiber was changed to 5: 5. The basis weight before heat treatment was 17.5 g / m 2 and the basis weight after heat treatment was 165 g / m 2 .
  • the blood slipperiness-imparting agent exerts a blood slipping action even when using a topsheet in which a concavo-convex structure is formed on the skin contact surface by utilizing the heat shrinkage of heat-shrinkable fibers. It has become clear that blood can be rapidly transferred from the topsheet to the absorber.
  • the amount of latent crimpable fiber increases, the amount of residual blood increases. This is considered to be because when the crimp of the latent crimpable fiber becomes obvious by the heat treatment, the fiber becomes coiled and blood retention is increased.
  • the blood slipperiness-imparting agent exhibits a blood slipping action and can rapidly transfer menstrual blood from the top sheet to the absorbent body before the blood is held inside the coiled fiber. Conceivable.
  • the web was made into a nonwoven fabric by air-through treatment with a hot air dryer (line speed 5 m / min, wind speed 1.5 m / sec, temperature 135 ° C.).
  • a top sheet having an uneven structure formed on the skin contact surface was prepared, and a sanitary napkin was prepared using this top sheet (absorber was pulp having a basis weight of 250 g / m 2 , top sheet and absorber) the interface between the bonding hot-melt adhesive having a basis weight of 5 g / m 2), was applied to the skin contact surface of the top sheet blood slipping agent (triglycerides) in basis weight 3 g / m 2.
  • the sample coated with the blood slipperiness imparting agent was designated as sample G1, and the sample not coated with the blood slipperiness imparting agent was designated as sample G2.
  • a non-heat-extensible fiber layer was formed using a PET / PE core-sheath type composite fiber (3.3 dtex ⁇ 51 mm, containing 4% titanium oxide in the core).
  • the heat-extensible fiber layer is a web having a basis weight of 44 g / m 2 and a thickness of 1.2 mm. Using this web, samples H1 and H2 were prepared in the same manner as samples G1 and G2.
  • the permeation rate (first time) was 2 seconds
  • the permeation rate (second time) was 2.84 seconds
  • the absorber transfer rate (first time) was 60 seconds or more
  • the absorber transfer rate (second time) was 60 seconds.
  • the rewetting rate was 17.2%.
  • the penetration rate (first time) was 2 seconds
  • the penetration rate (second time) was 2.75 seconds
  • the absorber transfer rate (first time) was 12.11 seconds
  • the absorber transfer rate (second time) was 40.
  • the rewet rate was 11.7%.
  • the permeation rate (first time) was 2 seconds
  • the permeation rate (second time) was 3.19 seconds
  • the absorber transfer rate (first time) was 60 seconds or more
  • the absorber transfer rate (second time) was 60 seconds.
  • the rewetting rate was 20%.
  • the blood slipperiness-imparting agent exhibits a blood slipping action, It has become clear that blood can be rapidly transferred from the topsheet to the absorber.

Landscapes

  • Health & Medical Sciences (AREA)
  • Epidemiology (AREA)
  • Engineering & Computer Science (AREA)
  • Life Sciences & Earth Sciences (AREA)
  • General Health & Medical Sciences (AREA)
  • Veterinary Medicine (AREA)
  • Public Health (AREA)
  • Animal Behavior & Ethology (AREA)
  • Heart & Thoracic Surgery (AREA)
  • Vascular Medicine (AREA)
  • Biomedical Technology (AREA)
  • Hematology (AREA)
  • Chemical & Material Sciences (AREA)
  • Materials Engineering (AREA)
  • Botany (AREA)
  • Manufacturing & Machinery (AREA)
  • Absorbent Articles And Supports Therefor (AREA)
PCT/JP2013/072093 2012-09-28 2013-08-19 吸収性物品 Ceased WO2014050357A1 (ja)

Priority Applications (3)

Application Number Priority Date Filing Date Title
EP13840769.7A EP2901975B1 (en) 2012-09-28 2013-08-19 Absorbent article
US14/429,966 US9730842B2 (en) 2012-09-28 2013-08-19 Absorbent article
CN201380042837.6A CN104540486B (zh) 2012-09-28 2013-08-19 吸收性物品

Applications Claiming Priority (2)

Application Number Priority Date Filing Date Title
JP2012218863A JP6021565B2 (ja) 2012-09-28 2012-09-28 吸収性物品
JP2012-218863 2012-09-28

Publications (1)

Publication Number Publication Date
WO2014050357A1 true WO2014050357A1 (ja) 2014-04-03

Family

ID=50387768

Family Applications (1)

Application Number Title Priority Date Filing Date
PCT/JP2013/072093 Ceased WO2014050357A1 (ja) 2012-09-28 2013-08-19 吸収性物品

Country Status (5)

Country Link
US (1) US9730842B2 (enExample)
EP (1) EP2901975B1 (enExample)
JP (1) JP6021565B2 (enExample)
CN (1) CN104540486B (enExample)
WO (1) WO2014050357A1 (enExample)

Families Citing this family (9)

* Cited by examiner, † Cited by third party
Publication number Priority date Publication date Assignee Title
JP5745487B2 (ja) * 2012-09-28 2015-07-08 ユニ・チャーム株式会社 吸収性物品
JP6104551B2 (ja) * 2012-09-28 2017-03-29 ユニ・チャーム株式会社 吸収性物品
JP6062199B2 (ja) * 2012-09-28 2017-01-18 ユニ・チャーム株式会社 吸収性物品
JP6021566B2 (ja) * 2012-09-28 2016-11-09 ユニ・チャーム株式会社 吸収性物品
JP6397809B2 (ja) * 2015-11-13 2018-09-26 ユニ・チャーム株式会社 吸収性物品の製造方法
CN106344281A (zh) * 2016-11-16 2017-01-25 芜湖森爱驰生物科技有限公司 一种带有护脐贴的一体式纸尿裤
JP6920059B2 (ja) * 2016-12-27 2021-08-18 花王株式会社 吸収性物品
JP7390970B2 (ja) * 2020-05-14 2023-12-04 ユニ・チャーム株式会社 吸収性物品
JP2022147055A (ja) * 2021-03-23 2022-10-06 大王製紙株式会社 使い捨て着用物品及びその製造方法

Citations (11)

* Cited by examiner, † Cited by third party
Publication number Priority date Publication date Assignee Title
JPH02191720A (ja) 1989-01-11 1990-07-27 Daiwabo Co Ltd 潜在捲縮性複合繊維及びその製造方法
JPH09296325A (ja) 1996-04-26 1997-11-18 Toyobo Co Ltd 複合繊維及びその製造法
JP2002187228A (ja) 2000-10-12 2002-07-02 Kao Corp 立体シート材料
JP2003126147A (ja) * 2001-08-10 2003-05-07 Kao Corp 吸収性物品用の表面シート
JP2003247155A (ja) 2002-02-25 2003-09-05 Kao Corp 立体シート材料
JP2007177340A (ja) 2005-12-27 2007-07-12 Kao Corp 不織布の製造方法
JP2007177335A (ja) 2005-12-27 2007-07-12 Kao Corp 潜在捲縮性繊維
JP2008002034A (ja) 2006-06-23 2008-01-10 Uni Charm Corp 不織布、不織布製造方法及び不織布製造装置
JP2010518918A (ja) 2007-02-16 2010-06-03 ザ プロクター アンド ギャンブル カンパニー ポリプロピレングリコール材料を含むローションを備える吸収性物品
JP2011510801A (ja) 2008-02-15 2011-04-07 ザ プロクター アンド ギャンブル カンパニー ポリプロピレングリコール材料を含むローションを備える吸収性物品
JP2011131044A (ja) * 2009-11-24 2011-07-07 Kao Corp 吸収性物品

Family Cites Families (25)

* Cited by examiner, † Cited by third party
Publication number Priority date Publication date Assignee Title
JPH0360421A (ja) 1989-07-26 1991-03-15 Nippon Muki Kk 球状シリカガラスの製造方法
DK24893D0 (da) 1993-03-05 1993-03-05 Danaklon As Fibre og fremstilling heraf
US5643588A (en) 1994-11-28 1997-07-01 The Procter & Gamble Company Diaper having a lotioned topsheet
US6120488A (en) * 1994-11-28 2000-09-19 The Procter & Gamble Company Absorbent articles having cuffs and topsheet with skin care composition(s) disposed thereon
US5693037A (en) * 1995-04-21 1997-12-02 The Procter & Gamble Company Absorbent articles having improved surfactant-treated hydrophilic topsheets
US5609587A (en) * 1995-08-03 1997-03-11 The Procter & Gamble Company Diaper having a lotioned topsheet comprising a liquid polyol polyester emollient and an immobilizing agent
MY134575A (en) * 2000-09-28 2007-12-31 Uni Charm Corp Absorbent article and barrier agent for absorbent article
DE60225383T2 (de) * 2001-08-10 2008-06-12 Kao Corp. Obere Schicht für absorbierenden Artikel
US20030181882A1 (en) 2002-03-22 2003-09-25 Yasuo Toyoshima Absorbent article
JP4033774B2 (ja) 2002-03-22 2008-01-16 花王株式会社 吸収性物品
US8283515B2 (en) * 2002-05-03 2012-10-09 Sca Hygiene Products Ab Absorbent article containing a skin conditioning agent
US7060867B2 (en) * 2002-11-27 2006-06-13 Kimberly-Clark Worldwide, Inc. Absorbent article with a body facing liner having discretely placed lotion deposits
EP1444970B1 (en) * 2003-02-05 2011-08-17 Kao Corporation Absorbent article
HUE032039T2 (en) 2004-06-21 2017-10-30 Procter & Gamble Absorbent product with a semi-solid medium top layer
ATE519467T1 (de) * 2004-12-17 2011-08-15 Procter & Gamble Unregelmässiger auftrag einer lotion auf die obere lage eines absorbierenden artikels
JP4342434B2 (ja) 2004-12-27 2009-10-14 花王株式会社 繊維シート
JP4514630B2 (ja) * 2005-03-16 2010-07-28 花王株式会社 吸収性物品の表面シート
JP2006233405A (ja) 2005-08-16 2006-09-07 Asahi Kasei Chemicals Corp 繊維処理剤
JP5268416B2 (ja) 2008-05-01 2013-08-21 大王製紙株式会社 吸収性物品の製造方法
JP5277131B2 (ja) 2009-09-29 2013-08-28 松本油脂製薬株式会社 透水性付与剤、透水性繊維および不織布の製造方法
JP5717672B2 (ja) * 2012-02-29 2015-05-13 ユニ・チャーム株式会社 吸収性物品
JP6116178B2 (ja) * 2012-04-02 2017-04-19 ユニ・チャーム株式会社 吸収性物品
JP6104551B2 (ja) 2012-09-28 2017-03-29 ユニ・チャーム株式会社 吸収性物品
JP6112816B2 (ja) * 2012-09-28 2017-04-12 ユニ・チャーム株式会社 吸収性物品
JP6021566B2 (ja) * 2012-09-28 2016-11-09 ユニ・チャーム株式会社 吸収性物品

Patent Citations (11)

* Cited by examiner, † Cited by third party
Publication number Priority date Publication date Assignee Title
JPH02191720A (ja) 1989-01-11 1990-07-27 Daiwabo Co Ltd 潜在捲縮性複合繊維及びその製造方法
JPH09296325A (ja) 1996-04-26 1997-11-18 Toyobo Co Ltd 複合繊維及びその製造法
JP2002187228A (ja) 2000-10-12 2002-07-02 Kao Corp 立体シート材料
JP2003126147A (ja) * 2001-08-10 2003-05-07 Kao Corp 吸収性物品用の表面シート
JP2003247155A (ja) 2002-02-25 2003-09-05 Kao Corp 立体シート材料
JP2007177340A (ja) 2005-12-27 2007-07-12 Kao Corp 不織布の製造方法
JP2007177335A (ja) 2005-12-27 2007-07-12 Kao Corp 潜在捲縮性繊維
JP2008002034A (ja) 2006-06-23 2008-01-10 Uni Charm Corp 不織布、不織布製造方法及び不織布製造装置
JP2010518918A (ja) 2007-02-16 2010-06-03 ザ プロクター アンド ギャンブル カンパニー ポリプロピレングリコール材料を含むローションを備える吸収性物品
JP2011510801A (ja) 2008-02-15 2011-04-07 ザ プロクター アンド ギャンブル カンパニー ポリプロピレングリコール材料を含むローションを備える吸収性物品
JP2011131044A (ja) * 2009-11-24 2011-07-07 Kao Corp 吸収性物品

Non-Patent Citations (1)

* Cited by examiner, † Cited by third party
Title
FUJITA A.; KAGAKU NO RYOIKI: "Organic compound predictions and organic paradigms", JOURNAL OF JAPANESE CHEMISTRY, vol. 11, no. 10, 1957, pages 719 - 725

Also Published As

Publication number Publication date
JP6021565B2 (ja) 2016-11-09
US20150257947A1 (en) 2015-09-17
CN104540486B (zh) 2016-08-24
EP2901975A1 (en) 2015-08-05
CN104540486A (zh) 2015-04-22
EP2901975A4 (en) 2016-04-06
JP2014068942A (ja) 2014-04-21
US9730842B2 (en) 2017-08-15
EP2901975B1 (en) 2018-06-13

Similar Documents

Publication Publication Date Title
JP6062199B2 (ja) 吸収性物品
JP6112816B2 (ja) 吸収性物品
JP6184721B2 (ja) 吸収性物品
JP6021566B2 (ja) 吸収性物品
JP6004878B2 (ja) 吸収性物品
JP6021565B2 (ja) 吸収性物品
JP6021567B2 (ja) 吸収性物品
JP6195770B2 (ja) 吸収性物品
JP5745487B2 (ja) 吸収性物品
JP5685234B2 (ja) 吸収性物品
WO2013154072A1 (ja) 吸収性物品
JP6202967B2 (ja) 吸収性物品
JP5988810B2 (ja) 吸収性物品
JP6073101B2 (ja) 吸収性物品
JP5988811B2 (ja) 吸収性物品
JP5885633B2 (ja) 吸収性物品

Legal Events

Date Code Title Description
121 Ep: the epo has been informed by wipo that ep was designated in this application

Ref document number: 13840769

Country of ref document: EP

Kind code of ref document: A1

WWE Wipo information: entry into national phase

Ref document number: 2013840769

Country of ref document: EP

WWE Wipo information: entry into national phase

Ref document number: 14429966

Country of ref document: US

NENP Non-entry into the national phase

Ref country code: DE

WWE Wipo information: entry into national phase

Ref document number: IDP00201502415

Country of ref document: ID