WO2013172160A1 - 保護素子用ヒューズ素子およびそれを用いた回路保護素子 - Google Patents

保護素子用ヒューズ素子およびそれを用いた回路保護素子 Download PDF

Info

Publication number
WO2013172160A1
WO2013172160A1 PCT/JP2013/061985 JP2013061985W WO2013172160A1 WO 2013172160 A1 WO2013172160 A1 WO 2013172160A1 JP 2013061985 W JP2013061985 W JP 2013061985W WO 2013172160 A1 WO2013172160 A1 WO 2013172160A1
Authority
WO
WIPO (PCT)
Prior art keywords
alloy
fuse element
pattern electrode
fuse
protection element
Prior art date
Legal status (The legal status is an assumption and is not a legal conclusion. Google has not performed a legal analysis and makes no representation as to the accuracy of the status listed.)
Ceased
Application number
PCT/JP2013/061985
Other languages
English (en)
French (fr)
Japanese (ja)
Inventor
慎太郎 中島
亨 藤田
憲之 前田
Current Assignee (The listed assignees may be inaccurate. Google has not performed a legal analysis and makes no representation or warranty as to the accuracy of the list.)
NEC Schott Components Corp
Original Assignee
NEC Schott Components Corp
Priority date (The priority date is an assumption and is not a legal conclusion. Google has not performed a legal analysis and makes no representation as to the accuracy of the date listed.)
Filing date
Publication date
Application filed by NEC Schott Components Corp filed Critical NEC Schott Components Corp
Priority to KR1020147034531A priority Critical patent/KR101886478B1/ko
Priority to CN201380025520.1A priority patent/CN104303255B/zh
Priority to US14/400,419 priority patent/US20150130585A1/en
Publication of WO2013172160A1 publication Critical patent/WO2013172160A1/ja
Anticipated expiration legal-status Critical
Ceased legal-status Critical Current

Links

Images

Classifications

    • HELECTRICITY
    • H01ELECTRIC ELEMENTS
    • H01HELECTRIC SWITCHES; RELAYS; SELECTORS; EMERGENCY PROTECTIVE DEVICES
    • H01H37/00Thermally-actuated switches
    • H01H37/02Details
    • H01H37/32Thermally-sensitive members
    • HELECTRICITY
    • H01ELECTRIC ELEMENTS
    • H01HELECTRIC SWITCHES; RELAYS; SELECTORS; EMERGENCY PROTECTIVE DEVICES
    • H01H37/00Thermally-actuated switches
    • H01H37/74Switches in which only the opening movement or only the closing movement of a contact is effected by heating or cooling
    • H01H37/76Contact member actuated by melting of fusible material, actuated due to burning of combustible material or due to explosion of explosive material
    • H01H37/761Contact member actuated by melting of fusible material, actuated due to burning of combustible material or due to explosion of explosive material with a fusible element forming part of the switched circuit
    • HELECTRICITY
    • H01ELECTRIC ELEMENTS
    • H01HELECTRIC SWITCHES; RELAYS; SELECTORS; EMERGENCY PROTECTIVE DEVICES
    • H01H37/00Thermally-actuated switches
    • H01H37/02Details
    • H01H37/04Bases; Housings; Mountings
    • HELECTRICITY
    • H01ELECTRIC ELEMENTS
    • H01HELECTRIC SWITCHES; RELAYS; SELECTORS; EMERGENCY PROTECTIVE DEVICES
    • H01H37/00Thermally-actuated switches
    • H01H37/02Details
    • H01H37/64Contacts
    • HELECTRICITY
    • H01ELECTRIC ELEMENTS
    • H01HELECTRIC SWITCHES; RELAYS; SELECTORS; EMERGENCY PROTECTIVE DEVICES
    • H01H69/00Apparatus or processes for the manufacture of emergency protective devices
    • H01H69/02Manufacture of fuses
    • HELECTRICITY
    • H01ELECTRIC ELEMENTS
    • H01HELECTRIC SWITCHES; RELAYS; SELECTORS; EMERGENCY PROTECTIVE DEVICES
    • H01H69/00Apparatus or processes for the manufacture of emergency protective devices
    • H01H69/02Manufacture of fuses
    • H01H69/022Manufacture of fuses of printed circuit fuses
    • HELECTRICITY
    • H01ELECTRIC ELEMENTS
    • H01HELECTRIC SWITCHES; RELAYS; SELECTORS; EMERGENCY PROTECTIVE DEVICES
    • H01H85/00Protective devices in which the current flows through a part of fusible material and this current is interrupted by displacement of the fusible material when this current becomes excessive
    • H01H85/02Details
    • H01H85/0241Structural association of a fuse and another component or apparatus
    • HELECTRICITY
    • H01ELECTRIC ELEMENTS
    • H01HELECTRIC SWITCHES; RELAYS; SELECTORS; EMERGENCY PROTECTIVE DEVICES
    • H01H37/00Thermally-actuated switches
    • H01H37/02Details
    • H01H37/04Bases; Housings; Mountings
    • H01H2037/046Bases; Housings; Mountings being soldered on the printed circuit to be protected
    • HELECTRICITY
    • H01ELECTRIC ELEMENTS
    • H01HELECTRIC SWITCHES; RELAYS; SELECTORS; EMERGENCY PROTECTIVE DEVICES
    • H01H85/00Protective devices in which the current flows through a part of fusible material and this current is interrupted by displacement of the fusible material when this current becomes excessive
    • H01H85/02Details
    • H01H85/0241Structural association of a fuse and another component or apparatus
    • H01H2085/0275Structural association with a printed circuit board
    • HELECTRICITY
    • H01ELECTRIC ELEMENTS
    • H01HELECTRIC SWITCHES; RELAYS; SELECTORS; EMERGENCY PROTECTIVE DEVICES
    • H01H85/00Protective devices in which the current flows through a part of fusible material and this current is interrupted by displacement of the fusible material when this current becomes excessive
    • H01H85/48Protective devices wherein the fuse is carried or held directly by the base
    • YGENERAL TAGGING OF NEW TECHNOLOGICAL DEVELOPMENTS; GENERAL TAGGING OF CROSS-SECTIONAL TECHNOLOGIES SPANNING OVER SEVERAL SECTIONS OF THE IPC; TECHNICAL SUBJECTS COVERED BY FORMER USPC CROSS-REFERENCE ART COLLECTIONS [XRACs] AND DIGESTS
    • Y10TECHNICAL SUBJECTS COVERED BY FORMER USPC
    • Y10TTECHNICAL SUBJECTS COVERED BY FORMER US CLASSIFICATION
    • Y10T29/00Metal working
    • Y10T29/49Method of mechanical manufacture
    • Y10T29/49002Electrical device making
    • Y10T29/49107Fuse making

Definitions

  • a chip protection element of a surface mount component is suitably used for a protection circuit of a secondary battery pack.
  • These chip protection elements include non-restoring protection elements that detect excessive heat generation caused by the overcurrent of the protected equipment, or respond to abnormal overheating of the ambient temperature, and activate the fuse and shut off the electrical circuit under predetermined conditions. is there.
  • the protection circuit detects an abnormality generated in the device, the protection element causes the resistance element to generate heat by the signal current to melt the fuse element made of a fusible alloy material.
  • the fuse element has a base material and a coating material that covers at least a part of the surface of the base material,
  • the base material is made of a first fusible metal whose melting point is higher than the heating temperature
  • the covering material is made of a second fusible metal whose melting point is lower than the heating temperature
  • the circuit protection element wherein the heating temperature is 183 ° C. or more and less than 280 ° C.
  • the second fusible metal is Sn-Ag alloy, Sn-Bi alloy, Sn-Cu alloy, Sn-Zn alloy, Sn-Sb alloy, Sn-Ag-Bi alloy, Sn-Ag-Cu Alloy, Sn—Ag—In alloy, Sn—Zn—Al alloy, Sn—Zn—Bi alloy, or an alloy containing at least one metal element of Au, Ni, Ge, Ga in addition to these alloys [7 ]
  • the circuit protection element in any one of-[9].
  • the fuse element of the present invention is heated to a predetermined heating temperature (hereinafter also referred to as "heating peak temperature") and joined to the protective element.
  • the base material is made of a first fusible metal whose melting point is higher than the heating peak temperature
  • the covering material is made of a second fusible metal whose melting point is lower than the heating peak temperature.
  • the second element of the cover material is formed by heating the fuse element or the fuse element and the protection element while the cover material of the fuse element is in contact with the connection portion of the protection element.
  • the fusible metal melts and the fuse element and the protection element are joined.
  • the heating peak temperature is preferably 183 ° C. or more and less than 280 ° C., and more preferably 219 ° C. or more and less than 227 ° C.
  • the metal that can be used as the first fusible metal differs depending on the heating peak temperature, but a 20Sn-80Au alloy, a 55Sn-45Sb alloy, a Pb-Sn alloy containing 80 mass% or more of Pb, etc. are preferable.
  • the number added before each element symbol represents the blending ratio (% by weight) of the alloy.
  • the metal that can be used as the second fusible metal differs depending on the heating peak temperature, but Sn-Ag alloy, Sn-Bi alloy, Sn-Cu alloy, Sn-Zn alloy, Sn-Sb alloy, Sn-Ag- Bi alloy, Sn-Ag-Cu alloy, Sn-Ag-In alloy, Sn-Zn-Al alloy, Sn-Zn-Bi alloy, or alloys of these are further added with at least one metal element of Au, Ni, Ge, Ga Alloys and the like are preferable.
  • the method for providing the covering material on the surface of the base material is not particularly limited as long as the covering material is fixed to the surface of the base material.
  • the covering material can be fixed to the surface of the base material by a method such as cladding, plating, melt coating, pressure bonding, adhesion with a fusible resin such as rosin.
  • the base material may be either a single layer or multiple layers, but preferably comprises a single layer.
  • the covering material may be either a single layer or multiple layers, but preferably comprises a single layer.
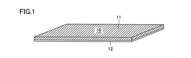
  • FIG. 1 is a perspective view schematically showing a fuse element for a protection element of the first embodiment.
  • the fuse element 10 is a plate-like body, and is composed of a plate-like base material 11 and a covering material 12 covering one surface of the base material 11.
  • the thickness of the fuse element 10 is preferably 64 ⁇ m to 300 ⁇ m, and more preferably 80 ⁇ m to 110 ⁇ m from the viewpoint of reducing the size and thickness of the circuit protection element to be mounted.
  • FIG. 2 is a perspective view schematically showing a fuse element for a protection element of the second embodiment.
  • the fuse element 15 is a plate-like body, and is composed of a plate-like base material 11 and a covering material 12 covering both surfaces of the base material 11.
  • the thickness of the fuse element 15 is preferably 64 ⁇ m to 300 ⁇ m, and more preferably 80 ⁇ m to 110 ⁇ m from the viewpoint of reducing the size and thickness of the circuit protection element to be mounted.
  • the thickness of the covering material 12 in the fuse element 15 is preferably 1% or more and 20% or less of the thickness of the fuse element 15, for 5% or more and 15% or less, for the same reason as the first embodiment. It is further preferred that
  • the fuse element 15 does not have the directionality of the front and back by providing the covering material 12 on the upper and lower surfaces of the base material 11, and erroneous mounting of the fuse element can be prevented in the process of assembling the circuit protection element.
  • FIG. 3 is a perspective view schematically showing a fuse element for a protection element according to a third embodiment.
  • the fuse element 16 is a rod-like body, and is composed of a rod-like base material 11 and a covering material 12 covering the outer peripheral surface of the base material 11.
  • the diameter of the fuse element 30 is preferably 64 to 300 ⁇ m, and more preferably 80 ⁇ m to 110 ⁇ m, from the viewpoint of reducing the size and thickness of the circuit protection element to be mounted.
  • the thickness of the covering material 12 in the fuse element 30 is preferably 1% or more and 20% or less of the diameter of the fuse element 30, and is 5% or more and 15% or less for the same reason as the first embodiment. Is preferred.
  • the rod-like fuse element 16 may be further rolled into a plate shape. Further, even when the diameter of the fuse element exceeds 300 ⁇ m, the rod-like fuse element 30 is formed so that the thickness of the covering material 12 is 1% or more and 20% or less with respect to the diameter of the fuse element. It can be rolled into a plate and used.
  • FIG. 4 is an exploded perspective view showing the configuration of the circuit protection element of the fourth embodiment.
  • the circuit protection element 20 shown in FIG. 4 includes an insulating substrate 23, a pattern electrode 24 provided on the surface of the insulating substrate 23, and a fuse element 10 joined to the pattern electrode 24 and electrically connected to the pattern electrode 24; And a cap-like lid 26 covering the element 10.
  • the fuse element 10 of the first embodiment shown in FIG. 1 is used as the fuse element 10 is shown, the present invention is not limited to this, and the second or the third shown in FIG.
  • the fuse elements 15 and 16 of the third embodiment can also be used.
  • the insulating substrate 23 is made of a heat-resistant insulating substrate, such as a glass epoxy substrate, a BT (Bismalemide Triazine) substrate, a Teflon (registered trademark) substrate, a ceramic substrate, a glass substrate, or the like.
  • the thickness of the insulating substrate 23 is, for example, 0.20 mm or more and 0.40 mm or less.
  • the pattern electrode 24 is formed on the surface of the insulating substrate 23 in an arbitrary pattern, and is connected to an external circuit through terminals 27 a and 27 b provided in half through holes formed on the side surfaces of the insulating substrate 23.
  • the pattern electrode 24 is for supplying a current to the fuse element 10, and is formed to be electrically open when the fuse element 10 is melted.
  • the pattern electrode 24 is, for example, a metal material such as tungsten, molybdenum, nickel, copper, silver, gold or aluminum, or an alloy thereof, or a composite material in which a plurality of materials among these materials are mixed, or a material thereof.
  • the cap-like lid body 26 is only required to cover the insulating substrate 23 and the fuse element 25 from above to maintain a desired space, and the shape and material are not limited. For example, dome-like resin film material, plastic material, ceramic material etc. Become.
  • the circuit protection element of the present invention is incorporated in an external circuit and used. When an abnormality occurs in the external circuit and the temperature of the external circuit rises, the fuse element is melted and the operation of the external circuit is urgently stopped due to the abnormal temperature.
  • the heating means applied in the bonding step (St20) is not particularly limited, and any means capable of heating the fuse element 10 placed on the insulating substrate 23 to be in contact with the pattern electrode 24 to the heating peak temperature Any method or apparatus may be used. For example, heating using a high temperature batch furnace, heating using a hot plate, heating using a reflow furnace, and the like can be suitably used.
  • the fuse element 10 can be fused due to the temperature rise of the heating resistor 38.
  • the conductive pattern 39 is also provided on the surface of the insulating substrate 33 so as to be in contact with the fuse element 10, so that the temperature of the heating resistor 38 can be conducted to the fuse element 10 with high efficiency.
  • a configuration is adopted in which the pattern electrodes 34 or the conductive patterns 39 formed on the front and back surfaces are electrically connected via the terminals 37a, 37b, 39a, 39b provided in the half through holes.
  • a conductor through hole penetrating the insulating substrate 33 or a surface wiring with a flat electrode pattern may be employed.
  • a conductive pattern 49 and a heating resistor 48 are provided so as to be electrically connected to the conductive pattern 49.
  • the fuse element 10 is bonded to the pattern electrode 44, it comes into contact with the resistance heating element 48.
  • 6 shows the case where the fuse element 10 of the first embodiment shown in FIG. 1 is used as the fuse element 10, the present invention is not limited to this.
  • the fuse elements 15 and 16 of the second or third embodiment shown can also be used.
  • the circuit protection element 40 of the sixth embodiment differs from the circuit protection element 30 of the fifth embodiment only in that the heating resistor 48 is provided on the surface of the insulating substrate.
  • Example 1 Fuse Element for Protection Element
  • the fuse element 10 for a protection element of Example 1 has the configuration shown in FIG. 1 and is a 90 ⁇ m-thick plate made of 87 Pb-13 Sn alloy (first fusible metal) having a melting point of 280 to 290 ° C. -Shaped base material 11 and a covering material 12 with a thickness of 10 ⁇ m made of Sn-3Ag-0.5Cu alloy (second fusible metal) having a melting point of 220 ° C. Be done.
  • the fuse element 15 for a protection element of Example 2 has the configuration shown in FIG. 2 and is a 90 ⁇ m-thick plate made of 87 Pb-13 Sn alloy (first fusible metal) having a melting point of 280 to 290 ° C. -Layer composite metal material in which the covering material 12 with a thickness of 5 ⁇ m made of Sn-0.7Cu alloy (second fusible metal) having a melting point of 227 ° C. is provided on the upper and lower surfaces of the base material 11 by electroplating. It consists of
  • Example 3 Fuse Element for Protective Element
  • the fuse element 16 for a protection element of Example 3 has the configuration shown in FIG. 3 and has a rod-like base with a diameter of 280 ⁇ m made of 87 Pb-13 Sn alloy (first fusible metal) having a melting point of 280-290 ° C. 10 m thick covering material 12 made of Sn-3.5Ag alloy (second fusible metal) having a melting point of 221 ° C. on the outer peripheral surface of the material 11, and it is made of a composite metal material Be done.
  • Examples 4-1, 4-2, and 4-3 Circuit Protection Elements
  • the circuit protection elements of Examples 4-1, 4-2, and 4-3 use the fuse elements for the protection elements of Examples 1 to 3, respectively, instead of the fuse element 10 of the circuit protection element 20 shown in FIG.
  • the circuit protection element was formed by bonding to the pattern electrode 24.
  • an insulating substrate of alumina ceramic was used as the insulating substrate 23, and an Ag alloy pattern electrode was used as the pattern electrode 24.
  • Example 4-1 a flux for melting is applied to the joined fuse element, and the fuse element on the insulating substrate 23 is covered with a cap-like lid 26 made of heat-resistant plastic, and the cap-like lid 26 and the insulating substrate 23 are epoxy resin
  • the circuit protection elements of Example 4-1, Example 4-2, and Example 4-3 were fixed.
  • Examples 5-1, 5-2 and 5-3 Circuit Protection Elements
  • the circuit protection elements of Examples 5-1, 5-2, and 5-3 use the fuse elements for the protection elements of Examples 1 to 3, respectively, instead of the fuse element 10 of the circuit protection element 30 shown in FIG.
  • the circuit protection element was formed by bonding to the pattern electrode 34.
  • an insulating substrate of alumina ceramic was used as the insulating substrate 33, and an Ag alloy pattern electrode was used as the pattern electrode 34.
  • a heating resistor 38 was provided on the back surface of the insulating substrate 33. The surface of the heat generating resistor 38 was over glazed with a glass material.
  • a flux for bonding is previously applied to the pattern electrode 34, and the fuse element is placed in contact with it, and the temperature profile is heated at a residual heat temperature of 100 to 180 ° C and a residence time of 60 seconds at 220 ° C or more for 60 seconds.
  • the fuse element was collectively joined to the pattern electrode 34 by melting the second fusible metal constituting the covering material 12 through a reflow furnace set at a temperature of 230 ° C. and a residence time of 5 seconds.
  • Example 5-1 Example 5-2, and Example 5-3 were fixed.
  • Examples 6-1, 6-2, 6-3 Circuit Protection Elements
  • the circuit protection elements of Examples 6-1, 6-2, and 6-3 use the fuse elements for the protection elements of Examples 1 to 3 in place of the fuse element 10 of the circuit protection element 40 shown in FIG.
  • the circuit protection element was formed by bonding to the pattern electrode 44.
  • an insulating substrate of alumina ceramic was used as the insulating substrate 43, and an Ag alloy pattern electrode was used as the pattern electrode 44.
  • a heating resistor 48 is provided in advance. The surface of the heat generating resistor 38 was over glazed with a glass material.
  • a bonding flux is applied in advance to the pattern electrode 44, and the fuse element is placed in contact here, and the temperature profile has a residual heat temperature of 100 to 180 ° C., residence time of 60 seconds, heating peak temperature of 220 ° C.
  • the fuse element is collectively joined to the pattern electrode 44 by melting the second fusible metal constituting the covering material 12 through a reflow furnace set at 230 ° C. and a residence time of 5 seconds. Thereafter, a flux for melting is applied to the joined fuse element, the fuse element on the insulating substrate 43 is covered with a cap-like lid 46 made of liquid crystal polymer, and the cap-like lid 46 and the insulating substrate 43 are epoxy resin
  • the circuit protection elements of Example 6-1, Example 6-2, and Example 6-3 were fixed.
  • Comparative Example 1 Circuit Protection Element
  • the circuit protection element of Comparative Example 1 is joined to the pattern electrode 34 by using a fuse element consisting of only 87Pb-13Sn alloy plate with a thickness of 100 ⁇ m instead of the fuse element 10 of the circuit protection element 30 shown in FIG. A circuit protection element was formed.
  • the bonding to the pattern electrode 34 was performed using a laser welder.
  • the circuit protection element of Example 5-1 shows a smaller value of the internal resistance value as compared with Comparative Example 1, and can reduce the power loss.
  • the circuit protection element of Example 5-1 has the operation time shortened and the operation performance improved as compared with Comparative Example 1. It is considered that this is because the thermal conductivity is improved by increasing the bonding area.

Landscapes

  • Engineering & Computer Science (AREA)
  • Manufacturing & Machinery (AREA)
  • Chemical & Material Sciences (AREA)
  • Combustion & Propulsion (AREA)
  • Power Engineering (AREA)
  • Physics & Mathematics (AREA)
  • Thermal Sciences (AREA)
  • Fuses (AREA)
PCT/JP2013/061985 2012-05-17 2013-04-24 保護素子用ヒューズ素子およびそれを用いた回路保護素子 Ceased WO2013172160A1 (ja)

Priority Applications (3)

Application Number Priority Date Filing Date Title
KR1020147034531A KR101886478B1 (ko) 2012-05-17 2013-04-24 보호 소자용 퓨즈 소자 및 그것을 이용한 회로 보호 소자
CN201380025520.1A CN104303255B (zh) 2012-05-17 2013-04-24 用于保护器件的熔断器元件及包括该元件的电路保护器件
US14/400,419 US20150130585A1 (en) 2012-05-17 2013-04-24 Fuse Element for Protection Device and Circuit Protection Device Including the Same

Applications Claiming Priority (2)

Application Number Priority Date Filing Date Title
JP2012-113369 2012-05-17
JP2012113369A JP5896412B2 (ja) 2012-05-17 2012-05-17 保護素子用ヒューズ素子およびそれを利用した回路保護素子

Publications (1)

Publication Number Publication Date
WO2013172160A1 true WO2013172160A1 (ja) 2013-11-21

Family

ID=49583574

Family Applications (1)

Application Number Title Priority Date Filing Date
PCT/JP2013/061985 Ceased WO2013172160A1 (ja) 2012-05-17 2013-04-24 保護素子用ヒューズ素子およびそれを用いた回路保護素子

Country Status (6)

Country Link
US (1) US20150130585A1 (enExample)
JP (1) JP5896412B2 (enExample)
KR (1) KR101886478B1 (enExample)
CN (1) CN104303255B (enExample)
TW (1) TWI557765B (enExample)
WO (1) WO2013172160A1 (enExample)

Cited By (3)

* Cited by examiner, † Cited by third party
Publication number Priority date Publication date Assignee Title
CN105900207A (zh) * 2014-01-20 2016-08-24 迪睿合株式会社 开关元件、开关电路及警报电路
JP2020057492A (ja) * 2018-10-01 2020-04-09 ショット日本株式会社 保護素子
CN114388317A (zh) * 2020-10-16 2022-04-22 功得电子工业股份有限公司 保护元件及其制作方法

Families Citing this family (16)

* Cited by examiner, † Cited by third party
Publication number Priority date Publication date Assignee Title
JP6214318B2 (ja) * 2013-10-09 2017-10-18 デクセリアルズ株式会社 電流ヒューズ
JP6203136B2 (ja) * 2014-06-27 2017-09-27 エヌイーシー ショット コンポーネンツ株式会社 保護素子およびその製造方法、ならびに保護素子用消散性フラックス
CN105576598B (zh) * 2015-02-17 2019-02-15 上海长园维安电子线路保护有限公司 一种薄型自控制型保护器及其制造方法
US10032583B2 (en) * 2016-02-17 2018-07-24 Dexerials Corporation Protective circuit substrate
JP6423384B2 (ja) * 2016-04-06 2018-11-14 ショット日本株式会社 保護素子
JP6160788B1 (ja) 2017-01-13 2017-07-12 千住金属工業株式会社 フラックス
JP6433527B2 (ja) * 2017-03-16 2018-12-05 ショット日本株式会社 消散性フラックスおよびそれを用いた保護素子の製造方法
US10446345B2 (en) * 2018-01-09 2019-10-15 Littelfuse, Inc. Reflowable thermal fuse
JP7231527B2 (ja) * 2018-12-28 2023-03-01 ショット日本株式会社 保護素子用ヒューズ素子およびそれを利用した保護素子
WO2020138325A1 (ja) * 2018-12-28 2020-07-02 ショット日本株式会社 ヒューズ素子および保護素子
CN113284777A (zh) * 2020-02-19 2021-08-20 功得电子工业股份有限公司 具有金属线型导电熔丝的芯片型保险丝及其制造方法
JP7349954B2 (ja) 2020-04-13 2023-09-25 ショット日本株式会社 保護素子
KR102227864B1 (ko) * 2020-11-27 2021-03-15 주식회사 인세코 이차전지용 보호소자 및 이를 포함하는 배터리 팩
CN113937606A (zh) * 2021-10-14 2022-01-14 浙江水晶光电科技股份有限公司 一种电路保护元件及其制备方法
JP2023127740A (ja) 2022-03-02 2023-09-14 デクセリアルズ株式会社 保護素子
CN116815007B (zh) * 2023-06-29 2025-08-19 云南贵金属实验室有限公司 一种高压熔断器用多条银铜侧向复合带材及其制备方法

Citations (2)

* Cited by examiner, † Cited by third party
Publication number Priority date Publication date Assignee Title
JPH02144821A (ja) * 1988-11-25 1990-06-04 Fujikura Ltd ヒューズ形成方法
JP2009170698A (ja) * 2008-01-17 2009-07-30 Toyota Motor Corp 表面実装部品のはんだ付け装置および方法

Family Cites Families (16)

* Cited by examiner, † Cited by third party
Publication number Priority date Publication date Assignee Title
US2144821A (en) * 1936-11-09 1939-01-24 Fmc Corp Shook selector for box-making machines
US2911504A (en) * 1958-05-15 1959-11-03 Sigmund Cohn Corp Fuse member and method of making the same
US4320374A (en) * 1979-03-21 1982-03-16 Kearney-National (Canada) Limited Electric fuses employing composite aluminum and cadmium fuse elements
DE69116976T2 (de) * 1990-10-18 1996-10-02 Sumitomo Electric Industries Schmelzleiter
JPH0547294A (ja) * 1990-10-18 1993-02-26 Sumitomo Electric Ind Ltd ヒユーズ用導体
CN100376704C (zh) * 2003-05-29 2008-03-26 松下电器产业株式会社 温度保险丝用元件、温度保险丝及使用了温度保险丝的电池
DE102008003659A1 (de) * 2007-03-26 2008-10-02 Robert Bosch Gmbh Schmelzsicherung zur Unterbrechung eines spannungs- und/oder stromführenden Leiters im thermischen Fehlerfall und Verfahren zur Herstellung der Schmelzsicherung
DE102007014334A1 (de) * 2007-03-26 2008-10-02 Robert Bosch Gmbh Schmelzlegierungselement, Thermosicherung mit einem Schmelzlegierungselement sowie Verfahren zum Herstellen einer Thermosicherung
JP2009032567A (ja) * 2007-07-27 2009-02-12 Metawater Co Ltd ヒューズ
JP4573865B2 (ja) 2007-12-11 2010-11-04 エヌイーシー ショット コンポーネンツ株式会社 温度ヒュ−ズを用いた保護装置
TW200929310A (en) * 2007-12-21 2009-07-01 Chun-Chang Yen Surface Mounted Technology type thin film fuse structure and the manufacturing method thereof
JP5117917B2 (ja) * 2008-04-21 2013-01-16 デクセリアルズ株式会社 保護素子及びその製造方法
CN101447370B (zh) * 2008-11-25 2010-08-25 南京萨特科技发展有限公司 一种高可靠性片式保险丝的制备方法
JP5305523B2 (ja) 2009-07-31 2013-10-02 エヌイーシー ショット コンポーネンツ株式会社 保護素子
US8976001B2 (en) * 2010-11-08 2015-03-10 Cyntec Co., Ltd. Protective device
US20120194958A1 (en) * 2011-02-02 2012-08-02 Matthiesen Martyn A Three-Function Reflowable Circuit Protection Device

Patent Citations (2)

* Cited by examiner, † Cited by third party
Publication number Priority date Publication date Assignee Title
JPH02144821A (ja) * 1988-11-25 1990-06-04 Fujikura Ltd ヒューズ形成方法
JP2009170698A (ja) * 2008-01-17 2009-07-30 Toyota Motor Corp 表面実装部品のはんだ付け装置および方法

Cited By (9)

* Cited by examiner, † Cited by third party
Publication number Priority date Publication date Assignee Title
CN105900207A (zh) * 2014-01-20 2016-08-24 迪睿合株式会社 开关元件、开关电路及警报电路
TWI655662B (zh) * 2014-01-20 2019-04-01 日商迪睿合股份有限公司 Switching element, switching circuit, and alarm circuit
CN105900207B (zh) * 2014-01-20 2019-09-06 迪睿合株式会社 开关元件、开关电路及警报电路
JP2020057492A (ja) * 2018-10-01 2020-04-09 ショット日本株式会社 保護素子
KR20210035313A (ko) 2018-10-01 2021-03-31 쇼트 니혼 가부시키가이샤 보호 소자
DE112019004929T5 (de) 2018-10-01 2021-08-12 Schott Japan Corporation Schutzelement
JP7154090B2 (ja) 2018-10-01 2022-10-17 ショット日本株式会社 保護素子
US11817694B2 (en) 2018-10-01 2023-11-14 Schott Japan Corporation Protection element and protection circuit for a battery
CN114388317A (zh) * 2020-10-16 2022-04-22 功得电子工业股份有限公司 保护元件及其制作方法

Also Published As

Publication number Publication date
JP2013239405A (ja) 2013-11-28
CN104303255A (zh) 2015-01-21
JP5896412B2 (ja) 2016-03-30
US20150130585A1 (en) 2015-05-14
CN104303255B (zh) 2016-10-26
TWI557765B (zh) 2016-11-11
TW201409517A (zh) 2014-03-01
KR101886478B1 (ko) 2018-08-07
KR20150009989A (ko) 2015-01-27

Similar Documents

Publication Publication Date Title
WO2013172160A1 (ja) 保護素子用ヒューズ素子およびそれを用いた回路保護素子
US8767368B2 (en) Protective element and method for producing the same
US11640892B2 (en) Fuse element and protective element
TW201438034A (zh) 過電流保護元件
JP2015079608A (ja) 保護素子用ヒューズエレメント材およびそれを利用した回路保護素子
KR20250130753A (ko) 퓨즈 합금 및 보호 소자
JP6423384B2 (ja) 保護素子
JP7433783B2 (ja) ヒューズエレメント、ヒューズ素子及び保護素子
JP7050019B2 (ja) 保護素子
CN110741457B (zh) 保护元件
JP6711704B2 (ja) バイパス電極付き保護素子
JP2000348583A (ja) 合金型温度ヒュ−ズ
JP2007243118A (ja) 半導体装置
WO2020138325A1 (ja) ヒューズ素子および保護素子
JP7040886B2 (ja) 保護素子
CN117637411A (zh) 熔丝组件及保护组件
CN109788643A (zh) 铝基可焊接的触头
KR20230034380A (ko) 퓨즈 엘리먼트, 퓨즈 소자 및 보호 소자
JP2020126821A (ja) 保護素子
KR20210105995A (ko) 회로 모듈
JP2000182493A (ja) 回路用保護素子
JP2004017063A (ja) 電気抵抗溶接方法

Legal Events

Date Code Title Description
121 Ep: the epo has been informed by wipo that ep was designated in this application

Ref document number: 13789981

Country of ref document: EP

Kind code of ref document: A1

WWE Wipo information: entry into national phase

Ref document number: 14400419

Country of ref document: US

NENP Non-entry into the national phase

Ref country code: DE

ENP Entry into the national phase

Ref document number: 20147034531

Country of ref document: KR

Kind code of ref document: A

122 Ep: pct application non-entry in european phase

Ref document number: 13789981

Country of ref document: EP

Kind code of ref document: A1