WO2013128933A1 - イオン化方法、質量分析方法、抽出方法及び精製方法 - Google Patents

イオン化方法、質量分析方法、抽出方法及び精製方法 Download PDF

Info

Publication number
WO2013128933A1
WO2013128933A1 PCT/JP2013/001237 JP2013001237W WO2013128933A1 WO 2013128933 A1 WO2013128933 A1 WO 2013128933A1 JP 2013001237 W JP2013001237 W JP 2013001237W WO 2013128933 A1 WO2013128933 A1 WO 2013128933A1
Authority
WO
WIPO (PCT)
Prior art keywords
liquid
probe
substrate
ionization method
substance
Prior art date
Legal status (The legal status is an assumption and is not a legal conclusion. Google has not performed a legal analysis and makes no representation as to the accuracy of the status listed.)
Ceased
Application number
PCT/JP2013/001237
Other languages
English (en)
French (fr)
Japanese (ja)
Inventor
大塚 洋一
隆一 荒川
Current Assignee (The listed assignees may be inaccurate. Google has not performed a legal analysis and makes no representation or warranty as to the accuracy of the list.)
Canon Inc
Kansai University
Original Assignee
Canon Inc
Kansai University
Priority date (The priority date is an assumption and is not a legal conclusion. Google has not performed a legal analysis and makes no representation as to the accuracy of the date listed.)
Filing date
Publication date
Application filed by Canon Inc, Kansai University filed Critical Canon Inc
Priority to EP13754786.5A priority Critical patent/EP2822023A4/en
Priority to CN201380022088.0A priority patent/CN104254902A/zh
Priority to US13/972,063 priority patent/US9190257B2/en
Publication of WO2013128933A1 publication Critical patent/WO2013128933A1/ja
Anticipated expiration legal-status Critical
Ceased legal-status Critical Current

Links

Images

Classifications

    • HELECTRICITY
    • H01ELECTRIC ELEMENTS
    • H01JELECTRIC DISCHARGE TUBES OR DISCHARGE LAMPS
    • H01J49/00Particle spectrometers or separator tubes
    • H01J49/02Details
    • H01J49/10Ion sources; Ion guns
    • H01J49/16Ion sources; Ion guns using surface ionisation, e.g. field-, thermionic- or photo-emission
    • H01J49/165Electrospray ionisation
    • HELECTRICITY
    • H01ELECTRIC ELEMENTS
    • H01JELECTRIC DISCHARGE TUBES OR DISCHARGE LAMPS
    • H01J49/00Particle spectrometers or separator tubes
    • H01J49/02Details
    • H01J49/04Arrangements for introducing or extracting samples to be analysed, e.g. vacuum locks; Arrangements for external adjustment of electron- or ion-optical components
    • H01J49/0431Arrangements for introducing or extracting samples to be analysed, e.g. vacuum locks; Arrangements for external adjustment of electron- or ion-optical components for liquid samples
    • H01J49/0454Arrangements for introducing or extracting samples to be analysed, e.g. vacuum locks; Arrangements for external adjustment of electron- or ion-optical components for liquid samples with means for vaporising using mechanical energy, e.g. by ultrasonic vibrations

Definitions

  • the present invention relates to a substance ionization method and a mass spectrometry method using the same.
  • the present invention also relates to a substance extraction method and a purification method.
  • Mass spectrometry which is one of component analysis methods, is a method of ionizing components in a sample and measuring and analyzing the mass-to-charge ratio (mass number / charge number).
  • a technique for imaging the distribution of components existing on the surface of a solid sample has been developed. By visualizing the distribution of specific components as a mass image, the state of the sample can be determined.
  • a method has been developed that shows data as a basis for pathological diagnosis based on a mass image of a pathological specimen having cancer tissue.
  • a mass image is usually obtained by ionizing a sample at a plurality of measurement points, obtaining a mass-to-charge ratio of the generated ions for each measurement point, and associating the position of the sample surface with ion information. Therefore, in order to improve the spatial resolution of the obtained analysis results, a technique for ionizing a minute region on the sample surface is required.
  • Non-Patent Document 1 A method has been proposed in which a solvent is applied to a minute region on the surface of a solid sample to dissolve components present in the minute region, and the dissolved component is ionized under an atmospheric pressure environment.
  • a first capillary for providing a solvent for dissolving the components in the solid sample to the surface of the sample, and a second capillary for moving the mixed solution in which the components are dissolved in the solvent to the ionization portion And are used.
  • Patent Document 1 a method has been proposed in which components contained therein are ionized under an atmospheric pressure environment by irradiating a surface acoustic wave to the mixed solution in which the sample is dissolved.
  • Patent Document 1 a mixed solution in which a sample is dissolved in a solvent is placed on a substrate, and a liquid is atomized by irradiating a surface acoustic wave thereon, and then the sample is ionized.
  • Patent Document 1 it is stated that ionization efficiency can be improved by applying a voltage to the mixed solution.
  • a technique for detecting biological components as multivalent ions is also required.
  • the detection of the component is facilitated even by a detector having a low detectable mass-to-charge ratio by reducing the mass-to-charge ratio by applying a large amount of charge.
  • Non-Patent Document 1 since the contact area between the liquid bridge and the solid sample is a region where mass spectrometry is performed, it is necessary to reduce the liquid bridge in order to reduce this area. .
  • this method it is difficult to make a liquid bridge having a size smaller than the closest distance between the tips of the two capillaries, and it is difficult to improve the spatial resolution by reducing the ionized region. There is.
  • a mechanism for accurately aligning the two capillaries is required, which increases the number of parts constituting the device and complicates the device itself. There is.
  • Patent Document 1 uses a mixed solution in which a component to be measured is dissolved in a solvent in advance, and it is difficult to ionize a part of a solid sample.
  • this method has a problem that the valence of multiply charged ions is smaller than that of the conventional electrospray method.
  • the ionization method of the present invention is a method for ionizing a substance contained in a liquid.
  • a liquid is supplied from a probe onto a substrate, and liquid crosslinking with the liquid containing the substance is performed between the probe and the substrate.
  • a minute amount of a substance contained in a liquid can be easily ionized under an atmospheric pressure environment.
  • the figure explaining 5th embodiment of this invention. The figure showing the result of having observed the vicinity of liquid bridge in the 1st example of the present invention.
  • the figure showing the result obtained by the 2nd Example of this invention. The figure showing the result obtained by the 2nd Example of this invention.
  • the figure showing the result of having observed the neighborhood of liquid bridge in the 6th example of the present invention The figure showing the result of having observed the neighborhood of liquid bridge in the 6th example of the present invention.
  • the figure showing the result of having observed the neighborhood of liquid bridge in the 6th example of the present invention The figure showing the result of having observed the neighborhood of liquid bridge in the 6th example of the present invention.
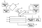
  • FIG. 1 is a substrate
  • 2 is a probe having a flow path through which a liquid passes
  • 3 is a liquid bridge formed between the substrate 1 and the probe 2
  • 4 is an ion for taking ions into the mass spectrometer.
  • 5 is a vibration providing means for vibrating the substrate 3
  • 6 is a sample stage for supporting the vibration providing means 5 and the probe 2.
  • 7 is a current / voltage amplifier
  • 8 is a signal generator
  • 9 is a liquid supply device for supplying a liquid to the probe 2
  • 10 is a voltage application device
  • 11 is a conductive channel
  • 12 is a sample stage controller
  • 13 is a mass.
  • 14 is a voltage application device
  • 15 is a Taylor cone
  • 16 is a charged fine droplet.
  • the liquid supplied from the liquid supply device 9 forms the liquid bridge 3 between the substrate 1 and the probe 2. Further, the liquid bridge 3 becomes a charged micro droplet 16 by the vibration of the substrate 1 by the vibration providing means 5 and the potential gradient by the voltage application device 10 and the voltage application device 14, so that the component to be measured is ionized. It becomes possible to take in the ion take-in part 4. That is, in this embodiment, the probe is a means for applying a liquid onto the substrate, is a means for acquiring a substance on the substrate, is a means for transferring the liquid to a suitable position for ionization, and is used for ionization. It is a means of forming Taylor corn.
  • the liquid supply device 9 is a solvent for dissolving the analyte contained in the sample fixed on the substrate 3 or a mixed solution of the analyte and the solvent dissolving the analyte (hereinafter referred to as these solvents). And the confusion solution are simply referred to as liquid).
  • the liquid supplied from the liquid supply device 9 is guided to the flow channel inside the probe 2 via the conductive flow channel 11, and at that time, from the voltage application device 10 via the conductive flow channel 11. A voltage is applied to the liquid. Either DC voltage, AC voltage, pulse voltage, or zero volts is applied to the liquid.
  • a probe means these generic names, when the whole or a part of the electroconductive flow path 11 is included in the flow path inside the probe 2, or connection piping.
  • the probe in the present embodiment is a general term for these. That is, it is sufficient that at least a part of the material forming the probe is conductive. Examples of the conductive material include metals and semiconductors, and any material may be used as long as it has a property of showing a reproducible and constant voltage value when a voltage is applied from a voltage application device. . That is, in this embodiment, the voltage is applied to the liquid by applying a voltage to the conductive portion of the probe.
  • Applying a voltage to the probe in this embodiment means that a potential different from the potential of an ion extraction electrode described later is applied to a conductive portion that forms at least a portion of the probe, and a conductive portion that forms at least a portion of the probe It means that an electric field is formed between ion extraction electrodes described later. As long as this electric field is achieved, the voltage applied here may be zero volts.
  • the material of the flow path 11 may be a conductive substance, and for example, stainless steel, gold, platinum, or the like can be used.
  • the electrical conductivity may be any of an insulator, a conductor, and a semiconductor.
  • the conductive flow path 11 may be a part of a flow path in which the liquid supplied from the liquid supply device 9 passes through the probe 2 and is led to the tip of the probe 2 on the side opposite to the liquid supply device 9.
  • the position is not particularly limited.
  • all or a part of the conductive flow path 11 may be included in the flow path inside the probe 2 or the connection pipe.
  • a conductive material such as a stainless steel wire, a tungsten wire, or a platinum wire is used.
  • a probe or the like in which an object is inserted into a silica capillary can be used.
  • the voltage applied to the conductive channel 11 propagates to the probe 2 and the voltage is applied to the liquid in the channel inside the probe 2. Details of such an embodiment are described in the second embodiment herein.
  • the probe 2 is an insulator, the voltage applied to the conductive channel 11 cannot propagate to the probe 2, but the voltage is applied to the liquid flowing in the channel 11, and the liquid is applied to the probe 2. Therefore, even when no voltage is propagated to the probe 2, the voltage is applied to the liquid to charge the liquid.
  • the liquid supplied from the liquid supply device 9 is provided from the tip of the probe 2 onto the substrate 1.
  • the sample may be immobilized on the substrate in advance, and a specific component as the analyte contained in the sample on the substrate 1 may be dissolved in the solvent provided from the probe 2,
  • a mixed solution in which is mixed with a solvent may be provided on the substrate 1.
  • a plurality of types of liquids may be used.
  • the present invention includes a step of ionizing a substance by applying vibration to the substrate 1 in a state where the probe 2 and the substrate 1 are connected via a liquid, and further forming an electric field between the probe 2 and the ion extraction electrode.
  • a state in which two objects are connected via a liquid is generally called liquid bridge.
  • the liquid bridge 3 refers to a state in which the liquid provided from the probe 2 is in physical contact with at least both the probe 2 and the substrate 1.
  • the liquid bridge of the present invention is not limited to the state in which only the substrate 1 and the probe 2 are in contact, and an object other than the substrate 1 and the probe 2 may be in contact with the liquid bridge.
  • the liquid provided from the probe 2 is provided on the substrate 1 continuously or intermittently.
  • the probe 2 is not necessarily in contact with the substrate 1 but may be in contact with the substrate 2 in order to stably form the liquid bridge 3.
  • FIG. 1 shows a state in which the substrate 1 is fixed to the vibration providing means 5, but if the substrate 1 can vibrate and can provide vibration to the liquid bridge 4 by vibration, The substrate 1 and the vibration providing means 5 may be separated.
  • the vibration of the substrate 1 may be either continuous vibration or intermittent vibration. It is desirable to adjust the timing at which the voltage is applied to the liquid and the timing at which the substrate 1 is vibrated so that the substrate 1 vibrates when the liquid to which the voltage is applied through the flow path 11 forms the liquid bridge 3.
  • the vibration providing device is electrically connected to the current / voltage amplifier 7 and the signal generator 8. By inputting a signal having an arbitrary waveform generated by the signal generator 8 to the current / voltage amplifier 7, A signal can be generated. At that time, by changing the voltage value output from the current / voltage amplifier 7, the amplitude of vibration can be set to an arbitrary value.
  • vibration may be always provided, or a vibration state and a non-vibration state may occur alternately.
  • the vibration state and the non-vibration state occur alternately, the length of each state can be arbitrarily changed.
  • the liquid is intermittently provided on the substrate 1 from the probe 2, it is desirable to change the length of the vibration state and the non-vibration state so that vibration is transmitted to the liquid in which the liquid bridge is formed.
  • the liquid forming the liquid bridge 3 is vibrated, and further, due to a potential gradient between the probe to which the voltage is applied and the ion extraction electrode to which the voltage is applied by the voltage application device 14, the ion intake section 4 of the probe 2. It moves to the side surface and forms the Taylor cone 15.
  • the potential gradient increases at the tip of the Taylor cone 15, and minute charged droplets 16 are generated from the mixed solution.
  • Rayleigh splitting occurs, ions of a specific component are generated from the charged droplets 16, and are guided to the ion take-in unit 4 according to the flow of the air current and the potential gradient.
  • the ion take-in unit 4 is heated to a specific temperature between room temperature and several hundred degrees, a voltage is applied, and it is further connected to an exhaust pump. At this time, the voltage applied from the voltage application device 10 to the probe and the voltage applied to the ion extraction electrode by the voltage application device 14 are adjusted so that an appropriate potential gradient is generated so that Rayleigh splitting occurs and ions are generated. There is a need.
  • the voltage from the voltage application device 14 any one of a DC voltage, an AC voltage, a pulse voltage, zero volts, or a combination thereof can be used.
  • the potential gradient for causing Rayleigh splitting is defined by the potential applied to the probe, the potential of the ion capturing unit 4, and the distance between the liquid and the ion capturing unit 4.
  • Rayleigh splitting refers to a phenomenon in which the charged droplet 6 reaches the Rayleigh limit and excessive charges in the charged droplet are released as secondary droplets. It is known that components contained in the charged droplet 6 are generated as gas phase ions during Rayleigh splitting. (J. Mass Spectrom. Soc. Jpn. Vol. 58, 139-154, 2010)
  • the distances between the ion take-in unit 4 and the probe 2 and between the ion take-in unit 4 and the substrate 1 can be arbitrarily changed, but it is preferable to satisfy the conditions for stably forming the Taylor cone. Further, it is desirable that the angle of the probe 2 with respect to the substrate 1 is 0 degree or more and 90 degrees or less, and the angle of the ion capturing part 4 with respect to the substrate 1 is 0 degree or more and 90 degrees or less.
  • the angle of the probe 2 with respect to the substrate 1 is a large angle formed by the intersection of the plane and the substrate 1 and the line segment of the probe 2 when the plane including the line segment of the probe 2 is orthogonal to the substrate 1.
  • the angle of the ion intake 4 with respect to the substrate 1 is the intersection of the plane and the substrate 1 when the plane including the line segment of the ion intake 4 is orthogonal to the substrate 1. It means the size of the angle formed by the line segment of the ion take-in part 4.
  • the line segment of the capillary is a line segment parallel to the long axis of the capillary
  • the line segment of the ion capturing unit 4 is a line segment parallel to the axis in the direction in which the ion capturing unit 4 captures ions.
  • the probe 2 and the ion take-in portion 4 do not necessarily have to be a straight line and may have a curved shape.
  • the line segment is the tip portion where the probe 2 is close to the substrate
  • the ion take-in A portion that can be approximated as a straight line at the tip portion where the portion 4 is close to the substrate is defined as a line segment.
  • the angle of the probe 2 is 20 to 40 degrees and the angle of the ion capturing part 4 is 30 to 50 degrees, but it is not limited to this size. If the conditions are such that the Taylor cone is stably formed at the tip of the capillary, ions are considered to be generated stably.
  • the ions are introduced into the mass analysis means connected to the ion take-in unit 4 through the differential exhaust system, and the mass-to-charge ratio of the ions is measured.
  • the mass spectrometer a quadrupole mass spectrometer, a time-of-flight mass spectrometer, a magnetic field deflection mass spectrometer, an ion trap mass spectrometer, an ion cyclotron mass spectrometer, or the like can be used.
  • a mass spectrum can also be obtained by measuring the correlation between the mass-to-charge ratio of ions (mass number / charge number, hereinafter referred to as m / z) and the amount of ions generated.
  • the size of the Taylor cone 15 varies depending on the flow rate of the liquid, the composition of the liquid, the shape of the probe 2, the vibration of the substrate 1, the magnitude of the potential gradient, and the like.
  • the Taylor cone 15 is very small, its form may not be confirmed by a microscope or the like, but it is sufficient that ions are stably generated.
  • the volume of the liquid constituting the liquid bridge 4 can be easily controlled by adjusting the formation time of the liquid bridge 3 by controlling the flow rate of the liquid and the vibration of the substrate 1. Therefore, when providing a mixed solution in which the analyte is mixed with the solvent in advance from the probe, the amount of the analyte to be ionized can be finely adjusted.
  • the formation time of the liquid bridge 3 when the sample is fixed on the substrate 1 and dissolved in the solvent provided from the probe, by adjusting the formation time of the liquid bridge 3, the area where the liquid bridge 3 is in contact is reduced, so that only the components in the micro area are obtained. Can be ionized, so that mass spectrometry imaging with high resolution of biological materials such as cells can be performed.
  • the position of the substrate stage 6 is changed by the sample stage control device 12 so that the coordinates of the ionized position in the sample can be controlled.
  • a two-dimensional distribution of the mass spectrum can be obtained.
  • Data obtained by this method is three-dimensional data composed of coordinates (X coordinate and Y coordinate) of ionized positions and a mass spectrum. After performing ionization and acquisition of mass spectra at different positions, selecting an ion amount with an arbitrary mass-to-charge ratio and displaying its distribution makes it possible to obtain a mass image for each component, and a specific surface of the sample. The distribution of components can also be captured.
  • the sample moving method may be set so that the liquid bridge 3 formed by the probe 2 scans in an arbitrary plane to be measured.
  • a voltage may be applied to the liquid bridge via a probe having a flow path through which the liquid passes.
  • the probe 21 is electrically connected to the voltage application device 10, and a voltage is applied to the liquid supplied from the liquid supply device 9 via the probe 21.
  • applying a voltage to the probe means that a potential different from the potential due to the ion extraction electrode is applied to a conductive portion that forms at least a part of the probe, and the generation of ions due to Rayleigh splitting occurs.
  • the material of the probe 21 may be a conductive substance, and for example, a metal such as stainless steel, gold, or platinum, or a dielectric material such as glass with a metal partially covered can be used.
  • the probe does not have to have a flow path through which the liquid passes, and the liquid from the liquid supply means 9 is provided on the probe surface, Ions may be generated on a part of the surface.
  • the liquid supply means 9 can provide a liquid to a part of the probe 31 by an ink jet method, an electrospray method, an air jet spray method, a dropping method or the like, thereby forming the liquid bridge 3 and the Taylor cone 15. it can.
  • a liquid voltage may be applied from the probe using the probe as an electrode, or a voltage may be applied to the liquid before providing the liquid to the probe as shown in FIG.
  • a probe capable of supplying a plurality of types of liquids may be used.
  • the probe 41 has a first flow path 42 for supplying a liquid and a second flow path 43 for supplying a liquid.
  • a liquid bridge 3 is formed between the first flow path 42 and the substrate 1.
  • the liquid exiting the second channel 43 does not form a liquid bridge. it can.
  • different potentials can be independently applied to the first liquid flowing in the flow path 42 and the second liquid flowing in the flow path 43 through different conductive flow paths.
  • the first flow path 42 for supplying the liquid and the second flow path 43 for supplying the liquid another type of liquid may be supplied or the same type of liquid may be supplied.
  • a solvent that dissolves the component on the sample surface is introduced into the first flow path 42, and a solvent that includes a molecular species that reacts with a specific component is introduced into the second flow path 43.
  • a specific component can be selectively ionized.
  • a liquid for forming a liquid bridge in contact with the sample surface is introduced into the first channel 42 and the second channel 43.
  • the side surface of the probe 41 is always washed with the liquid discharged from the second flow path 43, whereby contamination of the side surface of the probe tip portion can be prevented and a reduction in the spatial resolution of the mass image can be prevented.
  • the probe which includes three or more types of flow paths may be used.
  • the potential gradient necessary for ionization of the component is adjusted by the potential applied to the probe, the potential of the ion capturing unit 4, and the distance between the liquid and the ion capturing unit 4.
  • the invention is not limited to this.
  • a mechanism 51 for forming a potential gradient around the liquid may be provided.
  • a voltage gradient defined by a voltage applied to the liquid bridge 3, a voltage applied to the electrode 51, and a distance between the liquid bridge 3 and the electrode 51 is used for ionization of components contained in the liquid.
  • the electrode 51 may have a ring shape, a mesh shape, a dot shape, a rod shape, or the like.
  • the sample to be ionized is not particularly limited.
  • organic compounds composed of macromolecules such as lipids, sugars, and proteins are targeted for ionization
  • these substances can be easily soft ionized.
  • each ion has a specific mass-to-charge ratio
  • only specific ions can be separated by adjusting the strength of the external potential gradient. That is, a specific component in the mixture can be extracted and purified. For example, it is possible to separate only a protein having affinity for a specific part of a living body from among a plurality of components contained in a crushed extract of cultured cells, and apply the separated specific component to the surface of a certain substance Then, the function of the component can be added to the substance. Moreover, if the component which reacts specifically with a specific disease site
  • a method for separating only specific components there is a method in which a plurality of ion species are introduced into a vacuum chamber, and after separation by a potential gradient, only specific ion components are accumulated on a substrate in the vacuum chamber. It is done. By using this method, the substrate on which the components are accumulated can be taken out of the vacuum chamber, and the components can be separated from the substrate using an appropriate solvent. There is also a method in which an object such as an artificial organ is placed in a vacuum chamber and the separated ions are directly applied.
  • a Taylor cone is formed along the protrusion, and ions can be generated more stably.
  • the frequency of vibration is set to 100 Hz or more and 1 MHz or less, more charge can be imparted to the component and ionization can be performed. But it will be possible to detect the components.
  • the volume of liquid crosslinking can be changed to an arbitrary state, and the size of liquid crosslinking can be controlled.
  • Example 1 Observation with an ionizer using a high-speed camera The results of observation with a high-speed camera of a state where a liquid bridge is formed and a state where ions are generated using the method of the present invention are shown.
  • FIGS. 6A and 6B show the probe, the substrate, and the ion intake unit (MS Tube) described in the chart of FIG.
  • 6A and 6B are the results of observing the vicinity of liquid crosslinking at low magnification and high magnification, respectively.
  • a silica capillary having an outer diameter of 150 micrometers and an inner diameter of 50 micrometers is used as a probe that is a means for providing a mixed solution, and is connected to a metal needle of a syringe, and a voltage connected to the metal needle. A voltage is applied through the applying device.
  • the syringe is fixed to a syringe pump, and a constant flow rate of liquid can be delivered from the syringe to the probe tip.
  • the vibration providing means is a piezoelectric element (PZT) having a resonance frequency of 28 kHz
  • the substrate is a polytetrafluoroethylene film
  • TSQ7000 Thermo Fisher Scientific
  • FIG. 6A the distance between the tip of the probe and the MS tube was about 0.5 mm, and the distance between the MS tube and the substrate was about 0.5 mm.
  • the angle between the probe of FIG. 6A and the substrate was about 50 degrees, and the angle between the probe of FIG. 6B and the substrate was about 25 degrees.
  • the mixed solution flow rate was 0.2 microliters / minute.
  • the MS tube was connected to the TSQ7000, and a potential of 37.5 V was applied to the connection portion, and the temperature was set to 250 degrees.
  • FIG. 6B the liquid bridge formed between the lower part of the capillary and the substrate was clearly observed. It was also observed that the mixed solution formed a triangular shape at the top of the capillary tip, and a bright contrast region was present on the extension. This is the area where the Taylor cone and microdroplets are generated, respectively, and the mixed solution is electrostatically subjected to the force by the potential gradient between the potential provided to the mixed solution and the potential of the MS tube. It is considered to be a modified one. It is already known that the potential gradient is concentrated at the tip of the Taylor cone, and charged micro droplets are discharged (electrospray method). In this study, formation of a Taylor cone was observed when a voltage of 3 kV or higher was applied to the probe. In FIG. 6A, it was confirmed that similar Taylor cones and microdroplets were generated.
  • Example 2 Verification of stable ionization method of insulin mixed solution The result when ionizing a biological component using the method of the present invention is shown.
  • the flow rate of the mixed solution was set to 0.2 microliter / minute, and the measurement time was set to 5 minutes.
  • a voltage of 3 kV or higher was applied to the probe, human insulin ions were detected.
  • Other experimental conditions were the same as those presented in FIG. 6B of Example 1.
  • FIG. 7A shows a mass spectrum of ions when vibration is provided to the substrate, and FIG. 7B shows a case where vibration is not provided.
  • Each spectrum is integrated data for 5 minutes, the horizontal axis represents the mass-to-charge ratio (mass number / charge number), and the vertical axis represents the ion count number.
  • peaks were observed at 1937, 1453, and 1163 m / z. These correspond to trivalent, tetravalent and pentavalent polyvalent ions, respectively, and it is considered that 3, 4, and 5 hydrogen ions were added to human insulin.
  • the pentavalent ion intensity was highest, followed by a decrease in peak intensity in the order of tetravalent and trivalent peaks.
  • FIG. 7C shows the change over time in ion intensity when vibration is applied to the substrate
  • FIG. 7D shows the change over time in ion intensity when vibration is stopped.
  • the horizontal axis represents time
  • the vertical axis represents the mass-to-charge ratio
  • the amount of ions is shown in shades. That is, in FIG. 7C and FIG. 7D, it shows that the amount of ion is so large that it is displayed white.
  • the amount of ions increases at locations corresponding to mass-to-charge ratios of 1937, 1453, and 1163.
  • Example 3 Comparison with ESI
  • BSA bovine serum albumin mixed solution
  • the flow rate of each mixed solution was set to 0.2 microliter / minute, and measurement by this method and ESI method was performed.
  • the measurement time of each method was 3 minutes, and the integrated spectra were compared.
  • FIG. 8A and B show mass spectra of the human insulin mixed solution.
  • FIG. 8A shows the result of this method
  • FIG. 8B shows the result of the ESI method.
  • the peak intensity at 1163 m / z is the largest, and the most pentavalent multivalent ions are generated. Comparing the intensity of this peak, it was found that 48 times or more ions were detected by using the ionization method of the present invention compared to the ESI method. This is because the distance from the ion generation point to the ion intake port is short, and both the effect of leading more ions to the mass spectrometer and the effect of increasing the amount of ions desorbed from the liquid bridge by vibrations. I believe that.
  • FIGS. 8C, 8D, 8E, 8F, 8G, and 8H show mass spectra of the BSA mixed solution.
  • FIG. 8C shows the result of this method
  • FIG. 8D shows the result of the ESI method.
  • multivalent ions of BSA were detected.
  • the distribution of the peak intensity of multiply charged ions is different for each method.
  • the intensity of 40 valent ions is the highest in this method
  • the intensity of 48 valent ions is the highest in the ESI method. Comparing each ion intensity, it was found that the 40-valent ion intensity of the present method was about 1.6 times greater than the 48-valent ion of the ESI method.
  • FIGS. 8E, 8F, and 8G show mass spectra when a BSA mixed solution is used and voltages of 3 kV, 4 kV, and 5 kV are applied to the probe, respectively.
  • Other experimental conditions are the same as those presented in FIG. 6B of Example 1.
  • a plurality of peaks were detected in the region of 500 to 800 m / z, and the peak intensity increased as the applied voltage was increased.
  • FIG. 8H shows the result of smoothing processing (moving average of 10 adjacent points) on the spectrum data when 5 kV is applied. Compared with the spectrum of FIG. 8G, a peak was clearly recognized.
  • peaks are thought to correspond to multivalent ions of BSA.
  • a mechanism capable of imparting more charge than ESI is that cavitation is generated during liquid crosslinking by vibration, and more hydrogen ions are imparted by BSA. It is known that when cavitation occurs in a liquid, high-temperature and high-pressure bubbles are formed. Further, it is known that when a vibration is applied to a mixed solution in which a protein is dissolved, a higher-order structure of the protein is loosened. From this, it is considered that this method loosens the higher order structure of BSA existing in the liquid crosslinking and gives a lot of hydrogen ions to BSA.
  • the present method may be able to detect multivalent ions that are difficult to detect by conventional ESI, for example, ions having a valence of 100 or more.
  • Example 4 Verification of ionization method of solid insulin The result of examining the method of measuring the component distribution of the solid sample on the substrate is shown.
  • the sample was prepared by dropping a human insulin aqueous solution (1 ⁇ M) onto a polytetrafluoroethylene substrate and air-drying it. It was confirmed that white solid crystallites covered the substrate.
  • Other experimental conditions are the same as those presented in FIG. 6B of Example 1. While confirming with a microscope that the liquid bridge of the solvent is formed between the tip of the capillary and the substrate and that the Taylor cone is formed, the substrate is moved in a uniaxial direction to generate a mass of generated ions. The time change of the spectrum was measured.
  • the frequency of the vibrator fixed on the back surface of the substrate was about 28 kHz, and after the vibration was generated 14000 times, the operation of stopping the vibration in the same time was alternately performed. From observation of high-speed camera and measurement of mass spectrum, liquid bridge is stably formed when vibration is stopped, and ions are stably generated when vibration is generated. It was confirmed.
  • Fig. 9A shows the mass spectrum.
  • peaks were observed at 1937, 1453, and 1163 m / z. These correspond to trivalent, tetravalent and pentavalent polyvalent ions, respectively, and it is considered that 3, 4, and 5 hydrogen ions were added to human insulin. From this result, it is considered that the solid sample on the substrate was dissolved in the solvent introduced from the capillary and then ionized via the Taylor cone. The distribution of each ion intensity in the spectrum was different from the distribution of peak intensity in Example 3 and Example 4, and the peak intensity decreased in the order of tetravalent, trivalent and pentavalent.
  • FIG. 9B shows the time change of the intensity of each multivalent ion detected here.
  • the time change of pentavalent, tetravalent, and trivalent ionic strength is shown in order from the top.
  • ions were detected only in the period of 0.5 to 2.6 minutes, despite the presence of human insulin solid microcrystals on the entire surface of the substrate. This corresponds to a region where the vibration of the vibrator is generated, and is a result showing that the solid sample is stably ionized by providing vibration to the substrate.
  • the substrate was moved in the uniaxial direction while confirming with a microscope that the liquid bridge of the solvent was formed between the tip of the capillary and the substrate, and that the Taylor cone was formed. At this time, adjustment was made so as to pass through all four ultrathin films on the substrate.
  • Other experimental conditions are the same as those presented in FIG. 6B of Example 1.
  • FIG. 10A shows a diagram showing the moving direction of the sample and the substrate used in the experiment.
  • 101 is a substrate
  • 102 is an ultrathin film of BSA
  • 103 is a capillary
  • 104 is a liquid bridge
  • 105 is an arrow indicating the moving direction of the substrate
  • 106 is a cage for introducing ions into the mass spectrometer.
  • 10C shows the time change of ions obtained in the region from 1660 to 1680. It was found that 40-valent ions were generated every time the liquid bridge passed through the four BSA thin films. This shows that the distribution of the components of the solid sample can be visualized by using this method.
  • the above examples show the results when the vibration frequency is 28 kHz. However, the frequency is not limited to this, and the ion efficiency is better improved if the frequency is 100 Hz to 1 MHz.
  • Example 6 Control of size of liquid bridge by vibration amplitude The result of examining the correlation between the amplitude of vibration given to the liquid bridge on the substrate and the size of the liquid bridge is shown.
  • the solvent flow rate was 0.3 microliters / minute, and a voltage of 5 kV was applied to the probe.
  • the frequency of the vibrator fixed to the back surface of the substrate was about 28 kHz, and the voltages input to the vibrator were 0V, 20V, and 30V (effective values).
  • Other experimental conditions are the same as those presented in FIG.
  • FIGS. 11A, 11B, and 11C show observation results with a high-speed camera near the liquid bridge.
  • 11A, 11B, and 11C in which station bridges are formed between the tip portion of the probe and the substrate, the input voltages correspond to 0V, 20V, and 30V, respectively.
  • the scale bar is 100 micrometers. It can be seen that liquid crosslinks are formed at the arrows in each figure.
  • Example 1 shows a thin contrast spray in which a diamond knife is incorporated and a method of cutting the capillary with a scriber.
  • 11A, 11B, and 11C show the results when a capillary cut with a scraper is used.
  • FIG. 6 shows an example when a capillary cut with a capillary cutter is used. It was confirmed that liquid bridge and Taylor cone were formed.

Landscapes

  • Chemical & Material Sciences (AREA)
  • Analytical Chemistry (AREA)
  • Physics & Mathematics (AREA)
  • Engineering & Computer Science (AREA)
  • Plasma & Fusion (AREA)
  • Other Investigation Or Analysis Of Materials By Electrical Means (AREA)
  • Health & Medical Sciences (AREA)
  • General Health & Medical Sciences (AREA)
  • Toxicology (AREA)
  • Organic Chemistry (AREA)
  • Chemical Kinetics & Catalysis (AREA)
PCT/JP2013/001237 2012-03-01 2013-02-28 イオン化方法、質量分析方法、抽出方法及び精製方法 Ceased WO2013128933A1 (ja)

Priority Applications (3)

Application Number Priority Date Filing Date Title
EP13754786.5A EP2822023A4 (en) 2012-03-01 2013-02-28 IONIZATION PROCESS, MASS SPECTROMETRY PROCESS, EXTRACTION METHOD AND CLEANING METHOD
CN201380022088.0A CN104254902A (zh) 2012-03-01 2013-02-28 离子化方法、质谱分析方法、提取方法和提纯方法
US13/972,063 US9190257B2 (en) 2012-03-01 2013-08-21 Ionization method, mass spectrometry method, extraction method, and purification method

Applications Claiming Priority (2)

Application Number Priority Date Filing Date Title
JP2012-045922 2012-03-01
JP2012045922A JP5955033B2 (ja) 2012-03-01 2012-03-01 イオン化方法、質量分析方法、抽出方法及び精製方法

Related Child Applications (1)

Application Number Title Priority Date Filing Date
US13/972,063 Continuation US9190257B2 (en) 2012-03-01 2013-08-21 Ionization method, mass spectrometry method, extraction method, and purification method

Publications (1)

Publication Number Publication Date
WO2013128933A1 true WO2013128933A1 (ja) 2013-09-06

Family

ID=49082144

Family Applications (1)

Application Number Title Priority Date Filing Date
PCT/JP2013/001237 Ceased WO2013128933A1 (ja) 2012-03-01 2013-02-28 イオン化方法、質量分析方法、抽出方法及び精製方法

Country Status (5)

Country Link
US (1) US9190257B2 (enExample)
EP (1) EP2822023A4 (enExample)
JP (1) JP5955033B2 (enExample)
CN (1) CN104254902A (enExample)
WO (1) WO2013128933A1 (enExample)

Families Citing this family (7)

* Cited by examiner, † Cited by third party
Publication number Priority date Publication date Assignee Title
JP5955032B2 (ja) 2012-03-01 2016-07-20 キヤノン株式会社 イオン化方法、質量分析方法、抽出方法及び精製方法
US9230787B2 (en) 2013-08-02 2016-01-05 Canon Kabushiki Kaisha Ionization apparatus, mass spectrometer including ionization apparatus, and image forming system
JP6339883B2 (ja) 2013-08-02 2018-06-06 キヤノン株式会社 イオン化装置、それを有する質量分析装置及び画像作成システム
WO2015019157A1 (en) * 2013-08-07 2015-02-12 Dh Technologies Development Pte. Ltd. Enhanced spray formation for liquid samples
US9390901B2 (en) * 2014-10-31 2016-07-12 Ut-Battelle, Llc System and method for liquid extraction electrospray-assisted sample transfer to solution for chemical analysis
GB201522594D0 (en) 2015-12-22 2016-02-03 Micromass Ltd Secondary ultrasonic nebulisation
CN108663437B (zh) * 2018-06-19 2020-11-27 苏州芷宁信息科技有限公司 一种快速筛查标的物的方法

Citations (5)

* Cited by examiner, † Cited by third party
Publication number Priority date Publication date Assignee Title
JPH09306417A (ja) * 1996-05-21 1997-11-28 Hamamatsu Photonics Kk イオン化分析装置
JP2003130848A (ja) * 2002-07-29 2003-05-08 Hitachi Ltd 溶液の質量分析に関する方法と装置
JP2003519889A (ja) * 1999-12-30 2003-06-24 アドビオン バイオサイエンシーズ インコーポレーティッド 多重電気噴霧装置、システム、および方法
WO2003065405A1 (fr) * 2002-01-31 2003-08-07 Hitachi High-Technologies Corporation Spectrometre de masse a ionisation par electrospray et procede associe
WO2011060369A1 (en) 2009-11-13 2011-05-19 Goodlett David R Ions generated by surface acoustic wave device detected by mass spectrometry

Family Cites Families (17)

* Cited by examiner, † Cited by third party
Publication number Priority date Publication date Assignee Title
EP0588952B1 (en) * 1991-05-21 1999-09-01 Analytica Of Branford, Inc. Method and apparatus for improving electrospray ionization of solute species
US5945678A (en) 1996-05-21 1999-08-31 Hamamatsu Photonics K.K. Ionizing analysis apparatus
JPH10112279A (ja) 1996-10-07 1998-04-28 Hamamatsu Photonics Kk イオン化分析装置
US6566653B1 (en) * 2002-01-23 2003-05-20 International Business Machines Corporation Investigation device and method
US6803566B2 (en) * 2002-04-16 2004-10-12 Ut-Battelle, Llc Sampling probe for microarray read out using electrospray mass spectrometry
EP2017610B1 (en) * 2006-04-28 2014-10-01 University of Yamanashi Ionizing method and device by electrospray
CN101464427B (zh) * 2007-12-21 2012-07-25 清华大学 敞开式喷雾场解吸离子化方法及离子化装置
US20100224013A1 (en) * 2009-03-05 2010-09-09 Van Berkel Gary J Method and system for formation and withdrawal of a sample from a surface to be analyzed
US8097845B2 (en) * 2010-03-11 2012-01-17 Battelle Memorial Institute Focused analyte spray emission apparatus and process for mass spectrometric analysis
JP5955032B2 (ja) * 2012-03-01 2016-07-20 キヤノン株式会社 イオン化方法、質量分析方法、抽出方法及び精製方法
US9058966B2 (en) * 2012-09-07 2015-06-16 Canon Kabushiki Kaisha Ionization device, mass spectrometer including ionization device, image display system including mass spectrometer, and analysis method
US20140070089A1 (en) * 2012-09-07 2014-03-13 Canon Kabushiki Kaisha Ionization device, mass spectrometer including the ionization device, and image generation system including the ionization device
US9269557B2 (en) * 2012-09-07 2016-02-23 Canon Kabushiki Kaisha Ionization device, mass spectrometer including the ionization device, and image generation system including the ionization device
US8710436B2 (en) * 2012-09-07 2014-04-29 Canon Kabushiki Kaisha Ionization device, mass spectrometer including the ionization device, and image generation system including the ionization device
US20140072476A1 (en) * 2012-09-07 2014-03-13 Canon Kabushiki Kaisha Ionization device, mass spectrometer including the ionization device, and image generation system
JP2015032463A (ja) * 2013-08-02 2015-02-16 キヤノン株式会社 質量分析装置、質量分析方法および画像化システム
JP6339883B2 (ja) * 2013-08-02 2018-06-06 キヤノン株式会社 イオン化装置、それを有する質量分析装置及び画像作成システム

Patent Citations (5)

* Cited by examiner, † Cited by third party
Publication number Priority date Publication date Assignee Title
JPH09306417A (ja) * 1996-05-21 1997-11-28 Hamamatsu Photonics Kk イオン化分析装置
JP2003519889A (ja) * 1999-12-30 2003-06-24 アドビオン バイオサイエンシーズ インコーポレーティッド 多重電気噴霧装置、システム、および方法
WO2003065405A1 (fr) * 2002-01-31 2003-08-07 Hitachi High-Technologies Corporation Spectrometre de masse a ionisation par electrospray et procede associe
JP2003130848A (ja) * 2002-07-29 2003-05-08 Hitachi Ltd 溶液の質量分析に関する方法と装置
WO2011060369A1 (en) 2009-11-13 2011-05-19 Goodlett David R Ions generated by surface acoustic wave device detected by mass spectrometry

Non-Patent Citations (4)

* Cited by examiner, † Cited by third party
Title
J. MASS SPECTROM. SOC. JPN., vol. 58, 2010, pages 139 - 154
PATRICK J. ROACH ET AL.: "Nanospray desorption electrospray ionization: an ambient method for liquid extraction surface sampling in mass spectrometry", ANALYST, vol. 135, 2010, pages 2233 - 2236, XP008140056 *
PATRICK J. ROACH ET AL.: "Nanospray desorption electrospray ionization: an ambient method for liquid extraction surface sampling in mass spectrometry", ANALYST, vol. 135, 2010, pages 2233 - 2236, XP008140056, DOI: doi:10.1039/C0AN00312C
See also references of EP2822023A4 *

Also Published As

Publication number Publication date
EP2822023A4 (en) 2015-10-28
CN104254902A (zh) 2014-12-31
JP2013181841A (ja) 2013-09-12
JP5955033B2 (ja) 2016-07-20
US9190257B2 (en) 2015-11-17
EP2822023A1 (en) 2015-01-07
US20130334030A1 (en) 2013-12-19

Similar Documents

Publication Publication Date Title
JP5955032B2 (ja) イオン化方法、質量分析方法、抽出方法及び精製方法
JP5955033B2 (ja) イオン化方法、質量分析方法、抽出方法及び精製方法
US6690004B2 (en) Method and apparatus for electrospray-augmented high field asymmetric ion mobility spectrometry
JP4862167B2 (ja) エレクトロスプレーによるイオン化方法および装置
JP5034092B2 (ja) 探針を用いたイオン化方法および装置,ならびに分析方法および装置
US9058966B2 (en) Ionization device, mass spectrometer including ionization device, image display system including mass spectrometer, and analysis method
JP6339883B2 (ja) イオン化装置、それを有する質量分析装置及び画像作成システム
JP2014067708A (ja) イオン化装置、それを有する質量分析装置あるいはそれを有する画像生成システム
JP2014112107A (ja) 液体噴射による脱離イオン化のための方法及び装置
WO2016069460A1 (en) System and method for liquid extraction electrospray-assisted sample transfer to solution for chemical analysis
JP2015032463A (ja) 質量分析装置、質量分析方法および画像化システム
JP5277509B2 (ja) エレクトロスプレーによるイオン化方法および装置,ならびに分析方法および装置
US20140072476A1 (en) Ionization device, mass spectrometer including the ionization device, and image generation system
JP2014067709A (ja) イオン化装置、それを有する質量分析装置あるいはそれを有する画像作成システム
US11600481B2 (en) Devices and processes for mass spectrometry utilizing vibrating sharp-edge spray ionization
JP6598253B2 (ja) 1細胞あるいは超微小域分子の電場捕獲・遊離分離・分子検出法
CN112243496B (zh) 探针电喷雾离子化质谱分析装置
JP2015031585A (ja) 質量分析装置
JP2015052464A (ja) イオン化装置、イオン化方法、質量分析装置および画像化システム
JP2017033659A (ja) イオン化装置、それを有する質量分析装置及び画像作成システム

Legal Events

Date Code Title Description
121 Ep: the epo has been informed by wipo that ep was designated in this application

Ref document number: 13754786

Country of ref document: EP

Kind code of ref document: A1

NENP Non-entry into the national phase

Ref country code: DE

REEP Request for entry into the european phase

Ref document number: 2013754786

Country of ref document: EP

WWE Wipo information: entry into national phase

Ref document number: 2013754786

Country of ref document: EP