WO2013128652A1 - リチウム二次電池用液保持体およびリチウム二次電池 - Google Patents

リチウム二次電池用液保持体およびリチウム二次電池 Download PDF

Info

Publication number
WO2013128652A1
WO2013128652A1 PCT/JP2012/056998 JP2012056998W WO2013128652A1 WO 2013128652 A1 WO2013128652 A1 WO 2013128652A1 JP 2012056998 W JP2012056998 W JP 2012056998W WO 2013128652 A1 WO2013128652 A1 WO 2013128652A1
Authority
WO
WIPO (PCT)
Prior art keywords
porosity
negative electrode
lithium secondary
electrode plate
secondary battery
Prior art date
Legal status (The legal status is an assumption and is not a legal conclusion. Google has not performed a legal analysis and makes no representation as to the accuracy of the status listed.)
Ceased
Application number
PCT/JP2012/056998
Other languages
English (en)
French (fr)
Japanese (ja)
Inventor
澤井 岳彦
慎治 齊藤
和憲 浦尾
順一 丑本
昌彦 上田
典弘 和田
Current Assignee (The listed assignees may be inaccurate. Google has not performed a legal analysis and makes no representation or warranty as to the accuracy of the list.)
Nippon Kodoshi Corp
SEI Corp
Original Assignee
Nippon Kodoshi Corp
SEI Corp
Priority date (The priority date is an assumption and is not a legal conclusion. Google has not performed a legal analysis and makes no representation as to the accuracy of the date listed.)
Filing date
Publication date
Application filed by Nippon Kodoshi Corp, SEI Corp filed Critical Nippon Kodoshi Corp
Priority to EP12870046.5A priority Critical patent/EP2822086B1/en
Priority to KR1020147027018A priority patent/KR101930984B1/ko
Priority to RU2014138991/07A priority patent/RU2593596C2/ru
Priority to CN201280070804.8A priority patent/CN104137321B/zh
Priority to PL12870046T priority patent/PL2822086T3/pl
Priority to IN7087DEN2014 priority patent/IN2014DN07087A/en
Priority to CA2865586A priority patent/CA2865586C/en
Priority to US14/381,542 priority patent/US10230089B2/en
Publication of WO2013128652A1 publication Critical patent/WO2013128652A1/ja
Anticipated expiration legal-status Critical
Ceased legal-status Critical Current

Links

Images

Classifications

    • HELECTRICITY
    • H01ELECTRIC ELEMENTS
    • H01MPROCESSES OR MEANS, e.g. BATTERIES, FOR THE DIRECT CONVERSION OF CHEMICAL ENERGY INTO ELECTRICAL ENERGY
    • H01M10/00Secondary cells; Manufacture thereof
    • H01M10/05Accumulators with non-aqueous electrolyte
    • H01M10/058Construction or manufacture
    • H01M10/0585Construction or manufacture of accumulators having only flat construction elements, i.e. flat positive electrodes, flat negative electrodes and flat separators
    • HELECTRICITY
    • H01ELECTRIC ELEMENTS
    • H01MPROCESSES OR MEANS, e.g. BATTERIES, FOR THE DIRECT CONVERSION OF CHEMICAL ENERGY INTO ELECTRICAL ENERGY
    • H01M10/00Secondary cells; Manufacture thereof
    • H01M10/04Construction or manufacture in general
    • H01M10/0431Cells with wound or folded electrodes
    • HELECTRICITY
    • H01ELECTRIC ELEMENTS
    • H01MPROCESSES OR MEANS, e.g. BATTERIES, FOR THE DIRECT CONVERSION OF CHEMICAL ENERGY INTO ELECTRICAL ENERGY
    • H01M10/00Secondary cells; Manufacture thereof
    • H01M10/05Accumulators with non-aqueous electrolyte
    • H01M10/052Li-accumulators
    • HELECTRICITY
    • H01ELECTRIC ELEMENTS
    • H01MPROCESSES OR MEANS, e.g. BATTERIES, FOR THE DIRECT CONVERSION OF CHEMICAL ENERGY INTO ELECTRICAL ENERGY
    • H01M10/00Secondary cells; Manufacture thereof
    • H01M10/05Accumulators with non-aqueous electrolyte
    • H01M10/052Li-accumulators
    • H01M10/0525Rocking-chair batteries, i.e. batteries with lithium insertion or intercalation in both electrodes; Lithium-ion batteries
    • HELECTRICITY
    • H01ELECTRIC ELEMENTS
    • H01MPROCESSES OR MEANS, e.g. BATTERIES, FOR THE DIRECT CONVERSION OF CHEMICAL ENERGY INTO ELECTRICAL ENERGY
    • H01M10/00Secondary cells; Manufacture thereof
    • H01M10/05Accumulators with non-aqueous electrolyte
    • H01M10/056Accumulators with non-aqueous electrolyte characterised by the materials used as electrolytes, e.g. mixed inorganic/organic electrolytes
    • H01M10/0564Accumulators with non-aqueous electrolyte characterised by the materials used as electrolytes, e.g. mixed inorganic/organic electrolytes the electrolyte being constituted of organic materials only
    • H01M10/0566Liquid materials
    • HELECTRICITY
    • H01ELECTRIC ELEMENTS
    • H01MPROCESSES OR MEANS, e.g. BATTERIES, FOR THE DIRECT CONVERSION OF CHEMICAL ENERGY INTO ELECTRICAL ENERGY
    • H01M10/00Secondary cells; Manufacture thereof
    • H01M10/05Accumulators with non-aqueous electrolyte
    • H01M10/058Construction or manufacture
    • HELECTRICITY
    • H01ELECTRIC ELEMENTS
    • H01MPROCESSES OR MEANS, e.g. BATTERIES, FOR THE DIRECT CONVERSION OF CHEMICAL ENERGY INTO ELECTRICAL ENERGY
    • H01M10/00Secondary cells; Manufacture thereof
    • H01M10/05Accumulators with non-aqueous electrolyte
    • H01M10/058Construction or manufacture
    • H01M10/0587Construction or manufacture of accumulators having only wound construction elements, i.e. wound positive electrodes, wound negative electrodes and wound separators
    • HELECTRICITY
    • H01ELECTRIC ELEMENTS
    • H01MPROCESSES OR MEANS, e.g. BATTERIES, FOR THE DIRECT CONVERSION OF CHEMICAL ENERGY INTO ELECTRICAL ENERGY
    • H01M4/00Electrodes
    • H01M4/02Electrodes composed of, or comprising, active material
    • H01M4/13Electrodes for accumulators with non-aqueous electrolyte, e.g. for lithium-accumulators; Processes of manufacture thereof
    • H01M4/133Electrodes based on carbonaceous material, e.g. graphite-intercalation compounds or CFx
    • HELECTRICITY
    • H01ELECTRIC ELEMENTS
    • H01MPROCESSES OR MEANS, e.g. BATTERIES, FOR THE DIRECT CONVERSION OF CHEMICAL ENERGY INTO ELECTRICAL ENERGY
    • H01M4/00Electrodes
    • H01M4/02Electrodes composed of, or comprising, active material
    • H01M4/36Selection of substances as active materials, active masses, active liquids
    • H01M4/58Selection of substances as active materials, active masses, active liquids of inorganic compounds other than oxides or hydroxides, e.g. sulfides, selenides, tellurides, halogenides or LiCoFy; of polyanionic structures, e.g. phosphates, silicates or borates
    • H01M4/583Carbonaceous material, e.g. graphite-intercalation compounds or CFx
    • H01M4/587Carbonaceous material, e.g. graphite-intercalation compounds or CFx for inserting or intercalating light metals
    • HELECTRICITY
    • H01ELECTRIC ELEMENTS
    • H01MPROCESSES OR MEANS, e.g. BATTERIES, FOR THE DIRECT CONVERSION OF CHEMICAL ENERGY INTO ELECTRICAL ENERGY
    • H01M50/00Constructional details or processes of manufacture of the non-active parts of electrochemical cells other than fuel cells, e.g. hybrid cells
    • H01M50/40Separators; Membranes; Diaphragms; Spacing elements inside cells
    • H01M50/409Separators, membranes or diaphragms characterised by the material
    • H01M50/411Organic material
    • H01M50/414Synthetic resins, e.g. thermoplastics or thermosetting resins
    • HELECTRICITY
    • H01ELECTRIC ELEMENTS
    • H01MPROCESSES OR MEANS, e.g. BATTERIES, FOR THE DIRECT CONVERSION OF CHEMICAL ENERGY INTO ELECTRICAL ENERGY
    • H01M50/00Constructional details or processes of manufacture of the non-active parts of electrochemical cells other than fuel cells, e.g. hybrid cells
    • H01M50/40Separators; Membranes; Diaphragms; Spacing elements inside cells
    • H01M50/409Separators, membranes or diaphragms characterised by the material
    • H01M50/411Organic material
    • H01M50/429Natural polymers
    • HELECTRICITY
    • H01ELECTRIC ELEMENTS
    • H01MPROCESSES OR MEANS, e.g. BATTERIES, FOR THE DIRECT CONVERSION OF CHEMICAL ENERGY INTO ELECTRICAL ENERGY
    • H01M50/00Constructional details or processes of manufacture of the non-active parts of electrochemical cells other than fuel cells, e.g. hybrid cells
    • H01M50/40Separators; Membranes; Diaphragms; Spacing elements inside cells
    • H01M50/409Separators, membranes or diaphragms characterised by the material
    • H01M50/411Organic material
    • H01M50/429Natural polymers
    • H01M50/4295Natural cotton, cellulose or wood
    • HELECTRICITY
    • H01ELECTRIC ELEMENTS
    • H01MPROCESSES OR MEANS, e.g. BATTERIES, FOR THE DIRECT CONVERSION OF CHEMICAL ENERGY INTO ELECTRICAL ENERGY
    • H01M50/00Constructional details or processes of manufacture of the non-active parts of electrochemical cells other than fuel cells, e.g. hybrid cells
    • H01M50/40Separators; Membranes; Diaphragms; Spacing elements inside cells
    • H01M50/409Separators, membranes or diaphragms characterised by the material
    • H01M50/449Separators, membranes or diaphragms characterised by the material having a layered structure
    • HELECTRICITY
    • H01ELECTRIC ELEMENTS
    • H01MPROCESSES OR MEANS, e.g. BATTERIES, FOR THE DIRECT CONVERSION OF CHEMICAL ENERGY INTO ELECTRICAL ENERGY
    • H01M50/00Constructional details or processes of manufacture of the non-active parts of electrochemical cells other than fuel cells, e.g. hybrid cells
    • H01M50/40Separators; Membranes; Diaphragms; Spacing elements inside cells
    • H01M50/489Separators, membranes, diaphragms or spacing elements inside the cells, characterised by their physical properties, e.g. swelling degree, hydrophilicity or shut down properties
    • H01M50/491Porosity
    • HELECTRICITY
    • H01ELECTRIC ELEMENTS
    • H01MPROCESSES OR MEANS, e.g. BATTERIES, FOR THE DIRECT CONVERSION OF CHEMICAL ENERGY INTO ELECTRICAL ENERGY
    • H01M4/00Electrodes
    • H01M4/02Electrodes composed of, or comprising, active material
    • H01M2004/026Electrodes composed of, or comprising, active material characterised by the polarity
    • H01M2004/027Negative electrodes
    • HELECTRICITY
    • H01ELECTRIC ELEMENTS
    • H01MPROCESSES OR MEANS, e.g. BATTERIES, FOR THE DIRECT CONVERSION OF CHEMICAL ENERGY INTO ELECTRICAL ENERGY
    • H01M50/00Constructional details or processes of manufacture of the non-active parts of electrochemical cells other than fuel cells, e.g. hybrid cells
    • H01M50/40Separators; Membranes; Diaphragms; Spacing elements inside cells
    • H01M50/409Separators, membranes or diaphragms characterised by the material
    • H01M50/431Inorganic material
    • H01M50/434Ceramics
    • HELECTRICITY
    • H01ELECTRIC ELEMENTS
    • H01MPROCESSES OR MEANS, e.g. BATTERIES, FOR THE DIRECT CONVERSION OF CHEMICAL ENERGY INTO ELECTRICAL ENERGY
    • H01M50/00Constructional details or processes of manufacture of the non-active parts of electrochemical cells other than fuel cells, e.g. hybrid cells
    • H01M50/40Separators; Membranes; Diaphragms; Spacing elements inside cells
    • H01M50/409Separators, membranes or diaphragms characterised by the material
    • H01M50/431Inorganic material
    • H01M50/434Ceramics
    • H01M50/437Glass
    • HELECTRICITY
    • H01ELECTRIC ELEMENTS
    • H01MPROCESSES OR MEANS, e.g. BATTERIES, FOR THE DIRECT CONVERSION OF CHEMICAL ENERGY INTO ELECTRICAL ENERGY
    • H01M50/00Constructional details or processes of manufacture of the non-active parts of electrochemical cells other than fuel cells, e.g. hybrid cells
    • H01M50/40Separators; Membranes; Diaphragms; Spacing elements inside cells
    • H01M50/409Separators, membranes or diaphragms characterised by the material
    • H01M50/44Fibrous material
    • HELECTRICITY
    • H01ELECTRIC ELEMENTS
    • H01MPROCESSES OR MEANS, e.g. BATTERIES, FOR THE DIRECT CONVERSION OF CHEMICAL ENERGY INTO ELECTRICAL ENERGY
    • H01M50/00Constructional details or processes of manufacture of the non-active parts of electrochemical cells other than fuel cells, e.g. hybrid cells
    • H01M50/40Separators; Membranes; Diaphragms; Spacing elements inside cells
    • H01M50/489Separators, membranes, diaphragms or spacing elements inside the cells, characterised by their physical properties, e.g. swelling degree, hydrophilicity or shut down properties
    • YGENERAL TAGGING OF NEW TECHNOLOGICAL DEVELOPMENTS; GENERAL TAGGING OF CROSS-SECTIONAL TECHNOLOGIES SPANNING OVER SEVERAL SECTIONS OF THE IPC; TECHNICAL SUBJECTS COVERED BY FORMER USPC CROSS-REFERENCE ART COLLECTIONS [XRACs] AND DIGESTS
    • Y02TECHNOLOGIES OR APPLICATIONS FOR MITIGATION OR ADAPTATION AGAINST CLIMATE CHANGE
    • Y02EREDUCTION OF GREENHOUSE GAS [GHG] EMISSIONS, RELATED TO ENERGY GENERATION, TRANSMISSION OR DISTRIBUTION
    • Y02E60/00Enabling technologies; Technologies with a potential or indirect contribution to GHG emissions mitigation
    • Y02E60/10Energy storage using batteries
    • YGENERAL TAGGING OF NEW TECHNOLOGICAL DEVELOPMENTS; GENERAL TAGGING OF CROSS-SECTIONAL TECHNOLOGIES SPANNING OVER SEVERAL SECTIONS OF THE IPC; TECHNICAL SUBJECTS COVERED BY FORMER USPC CROSS-REFERENCE ART COLLECTIONS [XRACs] AND DIGESTS
    • Y02TECHNOLOGIES OR APPLICATIONS FOR MITIGATION OR ADAPTATION AGAINST CLIMATE CHANGE
    • Y02PCLIMATE CHANGE MITIGATION TECHNOLOGIES IN THE PRODUCTION OR PROCESSING OF GOODS
    • Y02P70/00Climate change mitigation technologies in the production process for final industrial or consumer products
    • Y02P70/50Manufacturing or production processes characterised by the final manufactured product

Definitions

  • the present invention relates to an electrolytic solution holder for a lithium secondary battery and a lithium secondary battery using the same.
  • Lithium secondary batteries formed using a material capable of occluding and releasing lithium ions can suppress the precipitation of dendrites and improve safety compared to lithium batteries using metallic lithium anodes.
  • this lithium secondary battery has been developed for industrial applications such as in-vehicle and stationary power supply applications, and it has become a major issue to achieve both output (large current charge / discharge) and long life through repetition. ing.
  • an alloy-based negative electrode having semiconductor characteristics has been proposed in which a binder is devised in order to suppress the alloy composition, the addition of a conductive material, and the volume expansion of the alloy.
  • a secondary battery electrode or the like having an electrode material having a conductive material formed of an active material powder and a carbon material and adhering to the surface of the active material powder, and a fibrous conductive material bonded to the conductive material It is known (see Patent Document 1).
  • a separator interposed between the positive electrode plate and the negative electrode plate a polyethylene film having a porosity of about 40% is mainly used.
  • a separator made of cellulose fiber excellent in heat resistance and nonaqueous electrolyte impregnation is known (see Patent Document 2). ).
  • Patent Document 2 makes it easier to hold an electrolytic solution than when a polyethylene film or the like is used by using cellulose fibers excellent in impregnation properties as a separator.
  • the porosity is a single layer structure, the porosity at the interface cannot be adjusted according to the properties of the positive and negative electrode plates, and the electrolyte can easily move to the battery can wall. In some cases, it may not be possible to sufficiently prevent liquid withering.
  • Patent Document 2 is based on the premise that the lithium ion insertion potential capable of preventing the precipitation of dendrite used 0.2V (vs.Li/Li +) or more lithium-titanium oxide or the like as a negative electrode active material It is difficult to apply to the case of using other negative electrode active materials such as carbon materials.
  • the present invention has been made in order to cope with such a problem, and it is possible to hold an electrolyte solution in the electrode or at the interface between the electrode and the separator, to prevent liquid drainage in the electrode, and to prevent the precipitation of dendrites.
  • An object is to provide a liquid holder for a lithium secondary battery that can suppress growth, and a lithium secondary battery that can achieve a cycle life that can be used as an industrial application using the same.
  • the liquid holding body for a lithium secondary battery of the present invention is obtained by infiltrating or immersing an organic electrolyte in an electrode group formed by winding or laminating a liquid holding body serving as a separator between a positive electrode plate and a negative electrode plate.
  • the porosity of the fiber layer on the interface side with the negative electrode plate is smaller than the porosity of the fiber layer on the interface side with the positive electrode plate, and the average porosity of these fiber layers as a whole is 50% or more. It is characterized by being.
  • the porosity of the fiber layer A constituting the interface with the negative electrode plate is 40% to 80%, and the porosity of the fiber layer B constituting the interface with the positive electrode plate is 60% to 90%. It is characterized by.
  • the liquid holding body is provided between (1) a two-layer structure of the fiber layer A and the fiber layer B, or (2) the fiber layer A and the fiber layer B, and between these layers. It has a three-layer structure with a layer of the synthetic resin film.
  • the above-mentioned fiber layer is formed using cellulose fibers as a main material.
  • the negative electrode active material used for the negative electrode plate is a carbon material.
  • the lithium secondary battery of the present invention includes an electrode group formed by winding or laminating a positive electrode plate and a negative electrode plate through a liquid holding body serving as a separator, and an organic electrolytic solution that is permeated or immersed in the electrode group A lithium secondary battery that repeatedly occludes and releases lithium ions, wherein the liquid holder is the liquid holder for a lithium secondary battery of the present invention.
  • the lithium secondary battery electrical fluid holding body of the present invention has a multilayer structure having at least two hydrophilic fiber layers having different porosity, and the average porosity of these fiber layers as a whole is 50% or more. Therefore, compared with the conventional film separator, the porosity as a liquid holding body is large, and the amount of electrolyte solution that can be held increases. Moreover, since the fiber layer has a multilayer structure with different porosity, the porosity of the fiber layer adjacent to each of the electrode plates can be appropriately set according to the properties of the active material surface in each electrode plate.
  • lithium ions can easily move during charge and discharge at the electrode interface, and the lithium ion mobility state at this interface can be maintained for a long time. . For this reason, it is possible to easily charge and discharge a large current, the amount of liquid retained at the electrode interface of the electrolytic solution hardly changes, and the amount of the electrolytic solution transferred from the liquid holder to the battery can wall is small. Liquid drainage can be prevented.
  • the liquid holding body has a high porosity as a whole, and a structure in which a fiber layer with a low porosity is directed to the negative electrode plate side, so that the negative electrode surface during large current charge / discharge, particularly during charging Can suppress precipitation and growth of dendrites by metallic lithium.
  • the electrode material resistance can be extremely low, large current charge / discharge (high output) is possible, and the cycle life characteristics are extremely improved.
  • the porosity of the liquid holding body as a separator is preferably preferably sufficiently high in accordance with the porosity of the active material surfaces of the positive electrode and the negative electrode. This is to facilitate the movement of lithium ions and improve the liquid retention at the electrode interface of the electrolytic solution.
  • dendrite precipitation due to metallic lithium occurs on the negative electrode surface, and the higher the porosity of the liquid holding body, the easier the dendrite precipitates and grows, thereby causing a short circuit.
  • the liquid holding body has a high porosity as a whole, and a multi-layer structure in which a fiber layer having a low porosity is directed to the negative electrode plate side.
  • the liquid holding body for lithium secondary battery of the present invention absorbs or immerses lithium ions by impregnating or immersing the organic electrolyte in an electrode group formed by winding or laminating a separator between a positive electrode plate and a negative electrode plate. This is used as a separator in repetitive secondary batteries.
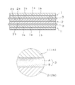
  • FIG. 1 is a cross-sectional view and a partially enlarged view showing an example of the lithium secondary battery of the present invention, and particularly shows a cross-sectional view of an electrode group formed by laminating a positive electrode plate, a negative electrode plate, and a liquid holder.
  • the lithium secondary battery of the present invention includes a negative electrode plate 1 having a negative electrode mixture layer 1b and a foil-like negative electrode current collector 1a, a positive electrode mixture layer 2b, and a foil-like positive electrode current collector 2a.
  • this electrode group includes those in which a negative electrode plate and a positive electrode plate are wound through a liquid holding body. The electrode group is immersed in an electrolytic solution inside a sealed battery case (not shown).
  • the liquid holding body is a multilayer structure having at least two fiber layers. Each fiber layer is laminated in parallel with the positive electrode plate and the negative electrode plate. As shown in FIG. 1, these layers (A, B) may be directly contacted and laminated, or may be laminated with another film layer or the like interposed therebetween as shown in FIG.
  • Each fiber layer is a layer made of a hydrophilic fibrous formed body, and has a structure having pore portions (interfiber spaces) that can hold the organic electrolyte.
  • the fibrous formed body is a non-woven fabric using a fiber material described later as a material, or paper made using the material. Moreover, the porosity is different between the fiber layers.
  • the porosity of the fiber layer adjacent to these is adjusted according to the properties (shape and porosity) of the active material surface in each electrode plate.
  • Each can be set as appropriate, and the lithium ion can be easily moved at the electrode interface during charging and discharging.
  • the organic electrolyte of the lithium secondary battery uses a polar organic solvent as the solvent, it has an affinity for a hydrophilic liquid holder. Therefore, this liquid holder is easy to impregnate and hold the organic electrolyte.
  • the film layer is added as necessary to prevent internal short circuit of the battery and heat generation when the porosity of the fiber layer is increased and to improve safety.
  • the synthetic resin film which consists of polyolefin resins, such as a polyethylene resin and a polypropylene resin, is mentioned, for example.
  • the total thickness of the liquid holder is about 20 to 100 ⁇ m.
  • the thickness of each fiber layer constituting the liquid holder can be appropriately determined within a range where the total thickness falls within the above range. Moreover, the thickness of each fiber layer may be the same or different.
  • the liquid holder has an average porosity of 50% or more in the entire fiber layer.
  • the porosity By setting the porosity to 50% or more, the liquid retention amount of the organic electrolyte held in the inter-fiber gap of the holding body is increased, and liquid drainage can be prevented.
  • the “average porosity of the entire fiber layer” is an average value calculated from the porosity of each fiber layer.
  • the first layer thickness a
  • the second layer thickness b
  • the porosity of each fiber layer itself can be calculated as follows.
  • the fiber layer is taken as a test piece with a constant volume (actual volume V, actual weight W) taken out.
  • V true density of the fibers forming this fiber layer
  • W / A the fiber occupation volume in the test piece
  • W / A the fiber occupation volume in the test piece
  • the liquid holder has a structure in which the porosity of the fiber layer on the interface side with the negative electrode plate is smaller than the porosity of the fiber layer on the interface side with the positive electrode plate. “The porosity of the fiber layer on the interface side with the negative electrode plate is smaller than the porosity of the fiber layer on the interface side with the positive electrode plate” is focused on any two layers constituting the liquid holding body. In this case, when the two layers are classified into the positive electrode interface side and the negative electrode interface side depending on the positional relationship with the electrode plate, the porosity of the fiber layer on the negative electrode interface side is the porosity of the fiber layer on the positive electrode interface side. Means less than.
  • the fiber layer closer to the negative electrode plate has a lower porosity
  • the fiber layer closer to the positive electrode plate has a higher porosity.
  • the porosity of each fiber layer may be in a range that can secure 50% or more as the average porosity of the entire fiber layer.
  • the porosity of the fiber layer A adjacent to the negative electrode plate and constituting the interface with the negative electrode plate is 40% to 80%, adjacent to the positive electrode plate, and the interface with the positive electrode plate.
  • the porosity of the fiber layer B that constitutes is 60% to 90%.
  • the porosity of the fiber layer A is less than 40%, the amount of the organic electrolyte solution to be retained is smaller than that in the case where the porosity is higher than that.
  • a higher porosity of the fiber layer B is preferable, but if it exceeds 90%, there is a possibility that the fiber layer B cannot be used due to a decrease in tensile strength.
  • the fiber layer A has a porosity of 50% to 60% and the fiber layer B has a porosity of 70% to 80%.
  • any of inorganic fibers and organic fibers may be used as the main material.
  • an oxygen and / or sulfur-containing functional group (a sulfonic acid group, a sulfonic acid group, a sulfofluoride group, a carboxyl group, a carbonyl group, etc.) is introduced into a fiber surface that does not have hydrophilicity. It may be subjected to a hydrophilic treatment such as graft polymerization of a functional monomer or attachment of a surfactant.
  • Examples of inorganic fibers that can be used in the present invention include glass fibers and ceramic fibers.
  • Examples of organic fibers that can be used in the present invention include natural fibers such as cellulose, regenerated fibers regenerated and purified from natural fibers, and synthetic resin fibers.
  • Synthetic resin fiber materials include polyester resins such as polyethylene terephthalate, polybutylene terephthalate, polyethylene naphthalate, polyolefin resins such as polyethylene, polypropylene, and copolymers thereof, polyamide resins, acrylic resins, vinyl resins, etc. Is mentioned. These fibers may be used alone or in combination of two or more.
  • a natural product-derived cellulose fiber particularly a regenerated cellulose fiber
  • the raw material of the cellulose fiber is not particularly limited, and examples thereof include softwood kraft pulp, hardwood kraft pulp, manila hemp pulp, sisal hemp pulp, bamboo pulp, esparto pulp, and cotton pulp.
  • the regenerated cellulose fiber include regenerated cellulose fiber (polynosic rayon) having a high degree of polymerization by low acid melt spinning, solvent-spun rayon using an amine-oxide organic solvent, and the like.
  • the cellulose fiber from which impurities are removed by washing, dehydration, dust removal or the like is used.
  • the fiber layer has a high density, excellent tensile strength, and excellent ion permeability.
  • the beating degree JIS P 8121
  • the beaten fiber and other fibers can be mixed and used.
  • the fiber layer can be manufactured by using the above-mentioned fibers as a raw material and making paper using, for example, a paper machine such as a long net type, a short net type, or a circular net type.
  • a paper machine such as a long net type, a short net type, or a circular net type.
  • a long net / circular net combination paper machine combining a long net type and a circular net type, a fiber layer having different porosity is laminated and laminated, thereby providing excellent adhesion between the fiber layers.
  • the structure of the liquid holder is capable of suppressing the precipitation and growth of dendrites, and is simple in structure and excellent in productivity. Therefore, the fiber layer A constituting the interface with the negative electrode plate, the positive electrode plate, It is preferable to have a two-layer structure (see FIG. 1) with the fiber layer B that constitutes the interface, or a three-layer structure in which a single synthetic resin film layer is provided between the fiber layers as necessary.
  • the negative electrode plate 1 includes a foil-like negative electrode current collector 1a and a negative electrode mixture layer 1b formed on both surfaces thereof.
  • the negative electrode mixture layer 1b is mainly made of a material capable of occluding and releasing lithium ions as an active material, and the material, a binder, a dispersion solvent, and the like are kneaded into a paste, and this is made into a foil.
  • the negative electrode current collector 1a is formed by coating on both surfaces.
  • a copper foil is used in view of electrochemical properties, processability to a foil shape, and cost.
  • Examples of materials capable of inserting and extracting lithium ions include carbon materials, lithium-aluminum alloys, silicon-based or tin-based lithium alloys, oxide mixtures thereof, and lithium titanate.
  • carbon materials lithium-aluminum alloys, silicon-based or tin-based lithium alloys, oxide mixtures thereof, and lithium titanate.
  • the liquid holding body of the present invention can be used when any negative electrode active material is used, but is particularly effective when a material having a lithium ion occlusion potential in a range where dendrite precipitation occurs due to metallic lithium. That is, it is preferably applied when an active material that stores lithium at a potential lower than 0.2 V (vs. Li / Li + ) is used.
  • Examples of such a negative electrode active material include carbon materials.
  • the positive electrode plate 2 is composed of a foil-like positive electrode current collector 2a and a positive electrode mixture layer 2b formed on both surfaces thereof.
  • the positive electrode mixture layer 2b includes a layered or spinel lithium-containing metal oxide or a solid solution thereof, a lithium-containing metal phosphate compound, a lithium-containing metal silicate, and a fluoride thereof, and a lithium-containing compound, which are active materials.
  • the main material, the material, a binder, a dispersion solvent, and the like are kneaded to form a paste, which is applied to both surfaces of the foil-shaped positive electrode current collector 2a.
  • As the foil-shaped positive electrode current collector 2a an aluminum foil is used in terms of performance.
  • Examples of the lithium-containing metal phosphate compound include LiFePO 4 , LiCoPO 4 , and LiMnPO 4.
  • Examples of the lithium-containing metal silicate include LiFeSiO 4.
  • Examples of the fluoride include Li 2 FePO 4 .F. Is mentioned.
  • Examples of the lithium-containing compound include LiTi 2 (PO 4 ) 3 and LiFeO 2 . Of these, LiCoO 2 , Li (Ni / Co / Mn) O 2 , LiMn 2 O 4 , and LiFePO 4 are preferably used in terms of electrochemical characteristics, safety, and cost.
  • the density of the positive electrode mixture layer excluding the positive electrode current collector is preferably 1.8 to 3.6 g / cc, and the density of the negative electrode mixture layer excluding the negative electrode current collector is preferably 1.2 to 1.7 g / cc. If it is out of the above range, the adhesion between the mixture layer, which is the active material, and the current collector is lowered particularly on the lower limit side, and the cycle performance may be lowered. On the upper limit side, the porosity of the electrode plate is not ensured, and the diffusibility of the electrolytic solution is suppressed. As a result, the large current charge / discharge performance may be deteriorated.
  • the negative electrode mixture layer has a higher porosity than the positive electrode mixture layer. Therefore, the liquid holding body originally has the porosity of the fiber layer on the negative electrode interface side. It is preferable to make it higher than the positive electrode interface side.
  • the porosity of the fiber layer on the negative electrode interface side is intentionally set small, while ensuring a high porosity (50% or more) as a whole. ing.
  • the liquid holding body of the present invention can be applied to any positive / negative electrode material other than those described above.
  • the present invention not only the improvement of the output characteristics and long life of the lithium secondary battery, but also the combination of positive and negative electrode materials that are highly effective as a high-capacity material as a small lightweight battery that will be required in the future for vehicles, Assuming a combination of That is, for the positive electrode mixture layer of the positive electrode plate, olivine-type LiPePO 4 in which a conductive carbon coat is applied to the powder surface with a long life, low cost, and high safety is used as the main material. Acetylene black, which is a conductive material, and carbon nanotubes are combined and used.
  • the negative electrode mixture layer of the opposing negative electrode plate is made of graphite powder (artificial graphite or easy graphite powder) coated with conductive carbon in consideration of high capacity, high regeneration and long life and conductive carbon. It is best to use a carbon material combined with acetylene black or carbon nanotubes. Also in this combination of positive and negative electrode materials, the liquid holder of the present invention is interposed as a separator, so that precipitation and growth of dendrites due to metallic lithium can be suppressed, and battery internal short circuit can be prevented.
  • the organic electrolytic solution in which the above-described electrode group is immersed it is preferable to use a nonaqueous electrolytic solution containing lithium salt or an ion conductive polymer.
  • non-aqueous solvent in the non-aqueous electrolyte containing a lithium salt examples include polar organic solvents. Specifically, ethylene carbonate (EC), propylene carbonate (PC), diethyl carbonate (DEC), and dimethyl carbonate (DMC). And methyl ethyl carbonate (MEC). These polar organic solvents have an affinity for hydrophilic liquid holders.
  • the foil-shaped negative electrode current collector 1a and the foil-shaped positive electrode current collector 2a are provided with a plurality of holes penetrating these current collectors, and the periphery of the holes is foil-shaped. It can also be set as the structure protruded to the at least one surface side of the electrical power collector.
  • Example 1 A positive electrode plate of a lithium secondary battery was produced by the following method.
  • the olivine type lithium iron phosphate coated on the surface with conductive carbon having a secondary particle size of 2 to 3 ⁇ m is used as the positive electrode active material, and 86 parts by weight of the active material and 8 parts by weight of conductive carbon and conductive as a conductive agent. And 6 parts by weight of polyvinylidene fluoride as a binder were added.
  • N-methylpyrrolidone was added as a dispersion solvent and kneaded to prepare a positive electrode mixture (positive electrode slurry).
  • An aluminum foil having a thickness of 20 ⁇ m and a width of 150 mm is prepared.
  • the positive electrode slurry was applied to both sides of the aluminum foil and dried.
  • the positive plate for lithium secondary batteries was obtained by pressing and cutting.
  • the total thickness of the positive electrode when pressed after applying and drying the positive electrode slurry on both sides of the aluminum foil was 160 ⁇ m.
  • the negative electrode plate of the lithium secondary battery was manufactured by the following method. 90 parts by weight of carbon material (soft carbon) coated with carbon on the surface and acetylene black and carbon nanotubes as a conductive agent were further combined with 95 parts by weight of this composite powder, and 5 parts by weight of polyfluorinated as a binder. Vinylidene was added, and N-methylpyrrolidone as a dispersion solvent was added thereto and kneaded to prepare a negative electrode mixture (negative electrode slurry). A copper foil having a thickness of 10 ⁇ m and a width of 150 mm is prepared. The negative electrode slurry was applied and dried, and then pressed and cut to obtain a negative electrode plate for a lithium secondary battery. The total thickness of the negative electrode when pressed after applying and drying the negative electrode slurry on both sides of the copper foil was 120 ⁇ m.
  • the separator and the liquid holding body interposed between the positive and negative electrode plates are made of cellulose fiber, the average porosity of the liquid holding body as a whole is 70%, the porosity is 80% on the positive electrode interface side, the negative electrode interface A fiber having a total thickness of 80 ⁇ m, in which two layers of fiber layers each having a porosity of 60% and 40 ⁇ m on each side were attached on-machine, was used.
  • As the cellulose fiber solvent-spun regenerated cellulose fiber was used, and the fiber was beaten to a predetermined beating degree, and a two-layer paper was made using a long net / round net combination paper machine. This is a double paper in which the porosity of the layer made with the long mesh is 60%, and the porosity of the layer made with the circular mesh is 80%.
  • Comparative Example 1 Using the positive electrode plate and negative electrode plate of Example 1, a similar battery was prototyped using a film separator made of polyethylene having a thickness of 80 ⁇ m and a porosity of 40% as a separator and a liquid holder.
  • Comparative Example 2 Using the positive electrode plate and negative electrode plate of Example 1, a similar battery was prototyped using a separator made of cellulose fiber with a thickness of 80 ⁇ m and a porosity of 45% as a separator and a liquid holder.
  • Comparative Example 3 Using the positive electrode plate and the negative electrode plate of Example 1, the separator and the liquid holding body are made of cellulose fiber, the average porosity of the liquid holding body as a whole is 40%, and the porosity is 50 on the positive electrode interface side. % And a fiber layer having a thickness of 40 ⁇ m and a fiber layer having a porosity of 30% and a thickness of 40 ⁇ m on the negative electrode interface side were used to produce a similar battery.
  • Example 2 Using the positive electrode plate and the negative electrode plate of Example 1, the separator and the liquid holding body are made of cellulose fiber, the average porosity of the liquid holding body as a whole is 70%, and the porosity on the positive electrode interface side is 80%. Two fiber layers with a porosity of 60% on the negative electrode interface side and two layers each of 30 ⁇ m are used, and in consideration of safety, a fiber film with a total thickness of 80 ⁇ m, which is laminated by adding one polyolefin film between the two layers, is used. A similar battery was prototyped.
  • Example 1 and 2 and Comparative Examples 1 to 3 Five types of batteries of Examples 1 and 2 and Comparative Examples 1 to 3 were prepared. First, the discharge capacity up to 2.0 V was measured at constant currents of 0.5 A and 15 A, and the capacity at 0.5 A was measured. The capacity ratio at 15 A was calculated. Next, each battery was adjusted to 50% charge, discharged at 0.1, 0.5, 1, 1.5, and 2.5 A for 10 seconds after the circuit was released, and the voltage after 10 seconds was Measured and obtained a value obtained by calculating the slope of the straight line by the least square method from the IV characteristic line in which the relationship between the current value and the voltage drop from the open circuit voltage at each discharge current is plotted. Comparison was made as a direct current resistance value at 50% charge.
  • each battery was held in a suspended state in a constant temperature bath at 25 ° C., and the smoke, ignition, and battery temperature increase when the battery was changed from full charge to 300% overcharge were examined.
  • the results are shown in Table 4.
  • the lithium secondary battery using the liquid holder for a lithium secondary battery of the present invention can be repeatedly charged and discharged with a large current, has a cycle performance of 10,000 to 20,000 cycles at a level of 10 to 20 years, and is mounted on a vehicle. And deployment to industrial batteries such as stationary.

Landscapes

  • Chemical & Material Sciences (AREA)
  • Chemical Kinetics & Catalysis (AREA)
  • Electrochemistry (AREA)
  • General Chemical & Material Sciences (AREA)
  • Engineering & Computer Science (AREA)
  • Manufacturing & Machinery (AREA)
  • Inorganic Chemistry (AREA)
  • Materials Engineering (AREA)
  • Physics & Mathematics (AREA)
  • Condensed Matter Physics & Semiconductors (AREA)
  • General Physics & Mathematics (AREA)
  • Life Sciences & Earth Sciences (AREA)
  • Wood Science & Technology (AREA)
  • Secondary Cells (AREA)
  • Battery Electrode And Active Subsutance (AREA)
  • Cell Separators (AREA)
PCT/JP2012/056998 2012-02-28 2012-03-19 リチウム二次電池用液保持体およびリチウム二次電池 Ceased WO2013128652A1 (ja)

Priority Applications (8)

Application Number Priority Date Filing Date Title
EP12870046.5A EP2822086B1 (en) 2012-02-28 2012-03-19 Liquid holding body for lithium secondary batteries, and lithium secondary battery
KR1020147027018A KR101930984B1 (ko) 2012-02-28 2012-03-19 리튬 2차 전지용 액 유지체 및 리튬 2차 전지
RU2014138991/07A RU2593596C2 (ru) 2012-02-28 2012-03-19 Удерживатель электролита для литиевой аккумуляторной батареи и литиевая аккумуляторная батарея
CN201280070804.8A CN104137321B (zh) 2012-02-28 2012-03-19 锂二次电池用液体保持体和锂二次电池
PL12870046T PL2822086T3 (pl) 2012-02-28 2012-03-19 Korpus utrzymujący ciecz do wtórnych baterii litowych oraz wtórna bateria litowa
IN7087DEN2014 IN2014DN07087A (enExample) 2012-02-28 2012-03-19
CA2865586A CA2865586C (en) 2012-02-28 2012-03-19 Electrolyte holder for lithium secondary battery and lithium secondary battery
US14/381,542 US10230089B2 (en) 2012-02-28 2012-03-19 Electrolyte holder for lithium secondary battery and lithium secondary battery

Applications Claiming Priority (2)

Application Number Priority Date Filing Date Title
JP2012041928A JP5754004B2 (ja) 2012-02-28 2012-02-28 リチウム二次電池用液保持体およびリチウム二次電池
JP2012-041928 2012-02-28

Publications (1)

Publication Number Publication Date
WO2013128652A1 true WO2013128652A1 (ja) 2013-09-06

Family

ID=49081894

Family Applications (1)

Application Number Title Priority Date Filing Date
PCT/JP2012/056998 Ceased WO2013128652A1 (ja) 2012-02-28 2012-03-19 リチウム二次電池用液保持体およびリチウム二次電池

Country Status (11)

Country Link
US (1) US10230089B2 (enExample)
EP (1) EP2822086B1 (enExample)
JP (1) JP5754004B2 (enExample)
KR (1) KR101930984B1 (enExample)
CN (1) CN104137321B (enExample)
CA (1) CA2865586C (enExample)
HU (1) HUE041720T2 (enExample)
IN (1) IN2014DN07087A (enExample)
PL (1) PL2822086T3 (enExample)
RU (1) RU2593596C2 (enExample)
WO (1) WO2013128652A1 (enExample)

Cited By (4)

* Cited by examiner, † Cited by third party
Publication number Priority date Publication date Assignee Title
KR20180020857A (ko) 2014-05-30 2018-02-28 에스 이 아이 가부시키가이샤 전극 재료 및 그의 제조 방법, 및 리튬 전지
US10283747B2 (en) * 2014-03-17 2019-05-07 Kabushiki Kaisha Toshiba Nonaqueous electrolyte secondary battery and battery pack
US10403893B2 (en) 2013-08-21 2019-09-03 Hydro-Quebec Positive electrode material for lithium secondary battery
US10727465B2 (en) 2013-11-15 2020-07-28 Semiconductor Energy Laboratory Co., Ltd. Nonaqueous secondary battery

Families Citing this family (11)

* Cited by examiner, † Cited by third party
Publication number Priority date Publication date Assignee Title
KR101628562B1 (ko) * 2014-12-08 2016-06-08 현대자동차주식회사 리튬공기전지용 양극
JP6213506B2 (ja) * 2015-03-18 2017-10-18 トヨタ自動車株式会社 非水電解質二次電池
KR101894134B1 (ko) * 2015-03-30 2018-09-04 주식회사 엘지화학 셀룰로오스계 다층 분리막
JP6649022B2 (ja) * 2015-09-28 2020-02-19 ニッポン高度紙工業株式会社 電気化学素子用セパレータ及び電気化学素子
US10367181B2 (en) 2015-10-30 2019-07-30 Panasonic Intellectual Property Management Co., Ltd. Lithium-ion battery
KR102553087B1 (ko) * 2015-12-21 2023-07-06 에스케이온 주식회사 리튬 이차 전지
JP7043162B2 (ja) * 2016-03-22 2022-03-29 住友金属鉱山株式会社 評価用リチウムイオン二次電池の製造方法、および評価用リチウムイオン二次電池
KR101984724B1 (ko) * 2016-09-09 2019-05-31 주식회사 엘지화학 리튬-황 전지
US10673093B1 (en) * 2018-12-06 2020-06-02 Chongqing Jinkang Energy Vehicle Co., Ltd. Electric vehicle lithium batteries having non-uniform anode layer
CN111933993B (zh) * 2020-08-21 2021-12-28 东莞市德瑞精密设备有限公司 一种软包动力电池拍打机构
CN113991108A (zh) * 2021-08-30 2022-01-28 宁波维科电池有限公司 一种高性能锂离子电芯

Citations (5)

* Cited by examiner, † Cited by third party
Publication number Priority date Publication date Assignee Title
JP2007018861A (ja) * 2005-07-07 2007-01-25 Nissan Motor Co Ltd 電池用セパレータおよびこれを用いた電池
JP2007125821A (ja) * 2005-11-04 2007-05-24 Toyobo Co Ltd 複合多孔質膜、複合多孔質膜の製造方法並びにそれを用いた電池セパレーター、電池及びコンデンサ
JP2008277128A (ja) 2007-04-27 2008-11-13 Toyota Motor Corp 二次電池用電極及びその製造方法並びに二次電池
JP2009081048A (ja) 2007-09-26 2009-04-16 Toshiba Corp 二次電池、電池パック及び車
JP2011233354A (ja) * 2010-04-27 2011-11-17 Nissan Motor Co Ltd セパレータ

Family Cites Families (7)

* Cited by examiner, † Cited by third party
Publication number Priority date Publication date Assignee Title
US2734095A (en) * 1956-02-07 Plate separator for storage batteries
US2942053A (en) * 1956-07-10 1960-06-21 Electric Storage Battery Co Electric battery
NL248424A (enExample) * 1959-02-18
US6562511B2 (en) * 1999-12-09 2003-05-13 Ntk Powerdex, Inc. Battery separator for Li-Ion and/or Li-Ion polymer battery
US7604895B2 (en) 2004-03-29 2009-10-20 Lg Chem, Ltd. Electrochemical cell with two types of separators
US20110223486A1 (en) * 2010-03-12 2011-09-15 Xiaomin Zhang Biaxially oriented porous membranes, composites, and methods of manufacture and use
JP2010199083A (ja) 2010-04-28 2010-09-09 Sharp Corp リチウム二次電池

Patent Citations (5)

* Cited by examiner, † Cited by third party
Publication number Priority date Publication date Assignee Title
JP2007018861A (ja) * 2005-07-07 2007-01-25 Nissan Motor Co Ltd 電池用セパレータおよびこれを用いた電池
JP2007125821A (ja) * 2005-11-04 2007-05-24 Toyobo Co Ltd 複合多孔質膜、複合多孔質膜の製造方法並びにそれを用いた電池セパレーター、電池及びコンデンサ
JP2008277128A (ja) 2007-04-27 2008-11-13 Toyota Motor Corp 二次電池用電極及びその製造方法並びに二次電池
JP2009081048A (ja) 2007-09-26 2009-04-16 Toshiba Corp 二次電池、電池パック及び車
JP2011233354A (ja) * 2010-04-27 2011-11-17 Nissan Motor Co Ltd セパレータ

Non-Patent Citations (1)

* Cited by examiner, † Cited by third party
Title
See also references of EP2822086A4

Cited By (6)

* Cited by examiner, † Cited by third party
Publication number Priority date Publication date Assignee Title
US10403893B2 (en) 2013-08-21 2019-09-03 Hydro-Quebec Positive electrode material for lithium secondary battery
US10727465B2 (en) 2013-11-15 2020-07-28 Semiconductor Energy Laboratory Co., Ltd. Nonaqueous secondary battery
US11769902B2 (en) 2013-11-15 2023-09-26 Semiconductor Energy Laboratory Co., Ltd. Nonaqueous secondary battery
US12191440B2 (en) 2013-11-15 2025-01-07 Semiconductor Energy Laboratory Co., Ltd. Nonaqueous secondary battery
US10283747B2 (en) * 2014-03-17 2019-05-07 Kabushiki Kaisha Toshiba Nonaqueous electrolyte secondary battery and battery pack
KR20180020857A (ko) 2014-05-30 2018-02-28 에스 이 아이 가부시키가이샤 전극 재료 및 그의 제조 방법, 및 리튬 전지

Also Published As

Publication number Publication date
EP2822086B1 (en) 2018-09-05
KR20140144193A (ko) 2014-12-18
EP2822086A4 (en) 2015-10-21
CA2865586C (en) 2019-09-17
KR101930984B1 (ko) 2018-12-19
IN2014DN07087A (enExample) 2015-04-10
HUE041720T2 (hu) 2019-05-28
EP2822086A1 (en) 2015-01-07
RU2593596C2 (ru) 2016-08-10
PL2822086T3 (pl) 2019-01-31
US20150010798A1 (en) 2015-01-08
CN104137321A (zh) 2014-11-05
US10230089B2 (en) 2019-03-12
RU2014138991A (ru) 2016-04-20
CA2865586A1 (en) 2013-09-06
CN104137321B (zh) 2017-03-01
JP2013178934A (ja) 2013-09-09
JP5754004B2 (ja) 2015-07-22

Similar Documents

Publication Publication Date Title
JP5754004B2 (ja) リチウム二次電池用液保持体およびリチウム二次電池
TWI539648B (zh) 鋰電極及包括彼之鋰二次電池
TWI536637B (zh) 鋰電極以及含彼之鋰二次電池組
KR102084245B1 (ko) 희생 염을 포함하는 양극이 제공된 리튬-이온 배터리의 셀의 형성 방법
JP6973244B2 (ja) 非水電解質二次電池、および、非水電解質二次電池の製造方法
JP2014503951A (ja) 電気化学的セル
KR102415164B1 (ko) 다공성 집전체, 이를 포함하는 전극 및 리튬 이차전지
CN112216812B (zh) 锂离子电池重复单元、锂离子电池及其使用方法、电池模组和汽车
JP6051038B2 (ja) リチウムイオン二次電池の正極集電体用箔とその製造方法、及び、リチウムイオン二次電池
WO2018131094A1 (ja) 電気化学デバイス
JP2013243097A (ja) 二次電池
US20250279540A1 (en) Separator for lithium secondary battery, lithium secondary battery including same, and method for preparing separator for lithium secondary battery
JP2013077734A (ja) 電極およびその製造方法
WO2020059802A1 (ja) 二次電池
JP2010282789A (ja) 非水電解液二次電池
JP2019096475A (ja) リチウム金属二次電池
CN112216878B (zh) 锂离子电池重复单元、锂离子电池及其使用方法、电池模组和汽车
JP6413347B2 (ja) 蓄電素子
JP6169624B2 (ja) 非水電解質二次電池用セパレータ及び非水電解質二次電池
WO2015049775A1 (ja) リチウムイオン二次電池正極、リチウムイオン二次電池正極を用いたリチウムイオン二次電池、および、それらの製造方法
JP2014017209A (ja) リチウムイオン二次電池の製造方法
JP2018078029A (ja) 負極及び非水電解質蓄電素子
KR102886432B1 (ko) 분리막 및 이를 포함하는 전기화학소자
JP4806053B2 (ja) 非水電解液二次電池
JP2018092764A (ja) 二次電池

Legal Events

Date Code Title Description
121 Ep: the epo has been informed by wipo that ep was designated in this application

Ref document number: 12870046

Country of ref document: EP

Kind code of ref document: A1

WWE Wipo information: entry into national phase

Ref document number: 2012870046

Country of ref document: EP

ENP Entry into the national phase

Ref document number: 2865586

Country of ref document: CA

WWE Wipo information: entry into national phase

Ref document number: 14381542

Country of ref document: US

NENP Non-entry into the national phase

Ref country code: DE

ENP Entry into the national phase

Ref document number: 20147027018

Country of ref document: KR

Kind code of ref document: A

WWE Wipo information: entry into national phase

Ref document number: 2014138991

Country of ref document: RU