WO2013108398A1 - 電子部品載置ステージ、位置決め装置、及び工程処理装置 - Google Patents

電子部品載置ステージ、位置決め装置、及び工程処理装置 Download PDF

Info

Publication number
WO2013108398A1
WO2013108398A1 PCT/JP2012/051236 JP2012051236W WO2013108398A1 WO 2013108398 A1 WO2013108398 A1 WO 2013108398A1 JP 2012051236 W JP2012051236 W JP 2012051236W WO 2013108398 A1 WO2013108398 A1 WO 2013108398A1
Authority
WO
WIPO (PCT)
Prior art keywords
electronic component
leaf spring
shaft
mounting table
spring
Prior art date
Legal status (The legal status is an assumption and is not a legal conclusion. Google has not performed a legal analysis and makes no representation as to the accuracy of the status listed.)
Ceased
Application number
PCT/JP2012/051236
Other languages
English (en)
French (fr)
Inventor
淳 大城戸
Current Assignee (The listed assignees may be inaccurate. Google has not performed a legal analysis and makes no representation or warranty as to the accuracy of the list.)
Ueno Seiki Co Ltd
Original Assignee
Ueno Seiki Co Ltd
Priority date (The priority date is an assumption and is not a legal conclusion. Google has not performed a legal analysis and makes no representation as to the accuracy of the date listed.)
Filing date
Publication date
Application filed by Ueno Seiki Co Ltd filed Critical Ueno Seiki Co Ltd
Priority to JP2013548646A priority Critical patent/JP5561750B2/ja
Priority to PCT/JP2012/051236 priority patent/WO2013108398A1/ja
Publication of WO2013108398A1 publication Critical patent/WO2013108398A1/ja
Anticipated expiration legal-status Critical
Ceased legal-status Critical Current

Links

Images

Classifications

    • H10P72/50
    • H10P72/78

Definitions

  • the present invention relates to an electronic component placement stage that is a stage for performing process processing on an electronic component, a positioning device including the electronic component placement stage, and a process processing device.
  • Electronic parts are parts used in electrical products and include semiconductor elements.
  • semiconductor elements include transistors and integrated circuits
  • electronic components include resistors and capacitors.
  • This electronic component is generally transported while being held by a holding means on the transport path.
  • Various process processing devices that perform process processing are lined up on the conveyance path, and the holding means descends to the stage included in each, and the electronic component is detached from the stage. When the process processing is completed, the electronic component is removed from the stage. Pick up and transport to next process.
  • Examples of the process include pre-processes such as dicing, mounting, bonding, and sealing, and post-process processes such as device electrical property measurement, classification, marking, appearance inspection, and packing. Further, the positioning process for each process is included in the process.
  • the stage on which the electronic component provided in each process processing apparatus has a mounting table.
  • the mounting table can be moved up and down, and an effort has been made to make the clearance zero while finely adjusting the positional relationship between the holding means and the mounting table in consideration of aging degradation or the like (for example, Patent Document 1). reference.).
  • the electronic component is pressed against the mounting table to realize a state where the electronic component and the mounting table are securely in contact with each other. That is, the holding means is lowered by a certain amount even after the electronic component has just touched the mounting table.
  • the method of pressing the electronic component against the mounting table can surely make the clearance zero, but this method cannot use a mounting table with high rigidity such as resin or metal. This is because the reaction force of pressing against the mounting table reaches the electronic component and may damage the electronic component. Therefore, at present, rubber mounting tables are frequently used. This is because, when the mounting table is made of rubber, the pressure when the electronic component comes into contact with the mounting table is absorbed by the elastic deformation of the mounting table, and the possibility of damage to the electronic component can be reduced.
  • the rubber mounting table is crushed and deformed due to the contact pressure when the electronic component is placed, the electronic component has a restoring force to correct the crushed deformation or the crushed deformation. May cause misalignment.
  • the positional shift caused by the rubber mounting table is not so large as the positional shift caused by detaching the electronic component in a state where the clearance between the electronic component and the mounting table is not zero.
  • An object of the present invention is to provide an electronic component placement stage that does not cause a positional shift when the electronic component is placed, a positioning device including the electronic component placement stage, and a process processing device.
  • the electronic component mounting stage according to the present invention is an electronic component mounting stage on which an electronic component is mounted, and the electronic component mounting table and the mounting table described above are attached to the electronic component mounting table. And a pressure absorbing part that can sink so as to absorb the contact pressure.
  • the pressure absorbing portion may be a leaf spring having a fixed edge
  • the mounting table may be attached to a central region of the front surface
  • the flat portion of the leaf spring may be bent by the contact pressure
  • a shaft attached to the back surface of the leaf spring and extending below the leaf spring; and a spring supporting the shaft; the spring in a state where the electronic component is not in contact with the mounting table. You may make it urge
  • a shaft attached to the back surface of the leaf spring and extending below the leaf spring, and a shaft support portion for preventing the shaft from falling by sandwiching a lower peripheral surface of the shaft. Good.
  • a regulating part that regulates the bending of the leaf spring to the thickness of one piece of the electronic component may be further provided.
  • the restricting portion is attached to the back surface of the leaf spring and extends below the leaf spring, a contact surface provided on the shaft and extending so as to intersect the shaft axis, and the contact surface. And a regulating surface positioned below at a distance corresponding to the thickness of one piece of the electronic component, and the contact surface and the regulating surface of the shaft that descends in accordance with the sinking of the leaf spring And the bending of the leaf spring may be restricted to the thickness of one piece of the electronic component.
  • the plate spring deflection detection unit may be further provided.
  • the deflection detecting unit is blocked by surface contact between a spring supporting the flat surface of the leaf spring and a surface of the leaf spring supported by the spring so that the initial tension of the leaf spring approaches zero.
  • a pipe communicating with the opening generating a pressure in the pipe, and detecting a pressure change in the pipe to detect the bending of the leaf spring.
  • It further comprises a suction part that sucks the electronic component onto the mounting table, and the suction part extends from the opening to the lower side of the plate spring through the plate spring from the opening provided on the upper surface of the mounting table. You may make it have a pipe which transmits a negative pressure to the said opening.
  • a plurality of slits may be formed in the leaf spring, and the slits may be arranged concentrically from the center of the leaf spring toward the outside.
  • a non-circular hole is formed on the flat surface of the leaf spring, and a non-circular foot having a size and a shape that matches the non-circular hole protrudes from the bottom surface of the mounting table.
  • the mounting table may be attached so as not to rotate with respect to the leaf spring.
  • the electronic component positioning device may include a moving mechanism for moving the electronic component mounting stage, and may change the position of the electronic component mounted on the mounting table.
  • the electronic component process processing apparatus may include the electronic component mounting stage, and may perform a process on the electronic component mounted on the mounting table.
  • the present invention it is possible to deliver the electronic component to the process processing apparatus while reliably reducing the clearance between the electronic component and the mounting table to zero. That is, considering the damage to the electronic component, the electronic component is dropped from the holding means even though there is a gap between the electronic component and the mounting table. There is no worry of it occurring. Further, in order to make the clearance zero, there is no fear that the electronic component is pressed against the mounting table and the electronic component is damaged.
  • FIG. 1 is a perspective view showing an appearance of the electronic component placement stage 1.
  • the electronic component placement stage 1 is mounted on a process processing apparatus as a process processing stage for the electronic component D.
  • the process processing apparatus of this embodiment is a positioning apparatus.
  • the positioning device corrects the posture of the electronic component D appropriately.
  • the electronic component mounting stage 1 has a mounting table 3 for electronic components D on a gantry 2 as shown in FIG.
  • the mounting table 3 of the present embodiment is made of rubber, but various types such as metal and resin can be applied.
  • the mounting table 3 has a shape in which a cone is superimposed on a thin cylindrical surface. A flat surface is formed at the tip of the cone, and the electronic component D lands on this flat surface.
  • the gantry 2 that accommodates the mounting table 2 is connected to one end of a rotating shaft and is further mounted on an XY moving mechanism (not shown).
  • the gantry 2 is moved in the ⁇ direction, the X axis direction, and the Y axis direction by the rotation axis and the XY movement mechanism in a state where the electronic component D is mounted on the mounting table 3, and the electronic component D is positioned by this movement. .
  • the gantry 2 has a shape in which a single upper lid 2c is placed on pillars 2b erected at four corners of a thick rectangular base 2a, and the space between the base 2a and the upper lid 2c is hollow. .
  • the front surface of the upper lid 2c is a stage surface 2d that performs a process on the electronic component D.
  • the gantry 2 is installed such that the holding means 100 (see FIG. 3 and the like) that conveys the electronic component D and the upper lid 2c face each other.
  • the upper lid 2c is provided with a through hole 2e for opening the front surface and the back surface.
  • the mounting table 3 protrudes from the inside of the gantry 2 through the through hole 2e to the stage surface 2d.
  • FIG. 2 is a perspective view in which the gantry 2 is removed and the leaf spring 4 accommodated in the gantry 2 is exposed.
  • a plate spring 4 supported inside the gantry 2 is attached to the mounting table 3.
  • the mounting table 3 is fixed to the leaf spring 4 via a raising table 5 loosely fitted in a through hole 2e formed in the upper lid 2c.
  • the leaf spring 4 is a thin rectangular plate, and the central area 4d is supported in a floating manner by sandwiching the four corners between the support 2b and the upper lid 2c.
  • the mounting table 3 is fixed to the floating central region.
  • the leaf spring 4 has flexibility and functions as a pressure absorbing portion that absorbs much of the pressure when the electronic component D lands on the mounting table 3 and is further pushed. That is, the central area to which the mounting table 3 is attached sinks downward to absorb the contact pressure when the electronic component D contacts the mounting table 3. Therefore, the leaf spring 4 is thinned, and a large number of slits 4e are formed in order to reduce the rigidity.
  • the slits 4e are arranged concentrically from the center of the leaf spring 4 toward the outside, and the sinking center of the leaf spring 4 is shifted from the spreading center of the leaf spring 4, or the center region of the leaf spring 4 is
  • the center region of the leaf spring 4 contributes to the accurate sinking without being inclined and sinking, and the positional deviation of the electronic component D is prevented.
  • the substantially concentric circle includes a plurality of polygons that have no common point and have the same center in addition to the concentric circle.
  • the raising table 5 is configured so that the flat surface of the mounting table 3 continues to protrude from the gantry 2 even if the plate spring 4 sinks due to bending. That is, the combined height of the mounting table 3 and the raising table 5 is adjusted to be slightly higher than the combined height of the thickness of the upper lid 2 c of the gantry 2 and the amount of sinking of the leaf spring 4.
  • the through-hole 2e and the raising base 5 have a sufficient clearance so as not to come into contact with each other, and can move relative to each other even if dust enters the gap.
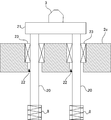
  • FIG. 3 is a cross-sectional view of the electronic component placement stage 1 and shows the inside of the gantry 2.
  • the shaft 6 is fixed to the back surface of the leaf spring 4 via a block 6 e and extends toward the base 2 a of the gantry 2.
  • the back surface is the surface opposite to the mounting table 3.
  • the thickness of the leaf spring 4 and the gap existing at the lower end portion of the shaft 6 are exaggerated for easy understanding.
  • the shaft 6 includes, for example, a resin cylindrical body and a pin body 6a inserted into an end surface of the cylindrical body on the base 2a side.
  • the pin body 6 a has a rod shape having a common axis with the shaft 6. In other words, the pin body 6 a protrudes from the end surface of the shaft 6.
  • the outer shape of the shaft 6 has a silhouette in which the diameter on the base 2a side of the gantry 2 is narrowed from the middle to the tip.
  • the starting point of this diaphragm is the step 6b.
  • the pin body 6a corresponds to a portion that is narrowed once
  • the end surface around the pin body 6a corresponds to the step portion 6b.
  • the length from the fixed end to the leaf spring 4 to the step portion 6 b is set to be shorter than the length of the column 2 b of the gantry 2 by the thickness of one electronic component D.
  • the tip of the pin body 6a on the protruding side is inserted into a recess 7 formed in the base 2a of the gantry 2.
  • the recess 7 is formed on an extension line of the shaft 6.
  • the clearance between the pin body 6a and the recess 7 is sufficiently narrower than the insertion depth of the pin body 6a.
  • the diameter of the recess 7 is set to be sufficiently smaller than the diameter of the step portion 6b of the shaft 6, and the periphery of the recess 7 exists immediately below the region of the step portion 6b.
  • the shaft 6 is lifted by a spring 8 disposed below.
  • the spring 8 has one end fixed to the shaft 6 and the other end fixed to the base 2 a of the gantry 2.
  • This spring 8 is a compression spring stored so as to extend.
  • the spring constant of the spring 8 is such that when the leaf spring 4 is not subjected to external force due to the placement of the electronic component D, the shaft 6 is lifted and the initial tension of the leaf spring 4 approaches zero or zero. It is set to keep flat.
  • a common pipe 6 c is formed on the shaft 6, the raising base 5, and the mounting base 3.
  • the pipe 6 c is formed along the axis of the shaft 6 from the suction hole 3 a provided on the flat surface of the mounting table 3.
  • a lead terminal 6 d that leads to the pipe 6 c is attached.
  • the lead terminal 6d is connected to a negative pressure generator (not shown) through a conducting tube.
  • the pipe 6c is closed by a pin body 6a from the middle.
  • the lead terminal 6d is attached above the insertion end of the pin body 6a.
  • an opening 2f is formed in the upper lid 2c of the gantry 2 on the surface facing the leaf spring 4.
  • the opening 2f is provided closer to the center of the upper lid 2c than the column 2b. In other words, the opening 2f faces a region where the spring body 4 is bent.
  • a pipe 2g is formed in the upper lid 2c, and one end of the pipe 2g is an opening 2f.
  • a lead terminal 2h leading to the pipe 2g is attached to the side surface of the upper lid 2c, and the lead terminal 2h is connected to a pressure generator (not shown) for generating pressure in the pipe 2g via a conducting tube. The other end of the pipe 2g is stopped inside the upper lid.
  • FIGS. 4 and 5 are cross-sectional views showing the displacement of the pressure absorbing portion.
  • FIG. 6 is an enlarged cross-sectional view of the vicinity of the opening 2f formed in the upper lid 2c.
  • FIG. 7 is an enlarged cross-sectional view of the lower end portion of the shaft 6.
  • the leaf spring 4 is kept flat. This is because the spring 8 lifts the shaft 6 to prevent the plate spring 4 from sinking due to the shaft 6 hanging down. In other words, the movement of the leaf spring 4 attempting to bend due to the weight of the shaft 6 is offset by the pushing back operation by the spring 8 via the shaft 6.
  • the leaf spring 4 has flexibility and low rigidity so as to absorb much of the contact pressure when the electronic component D lands on the mounting table 3, and has a small spring constant. Also, the central region 4d is easy to sink. Therefore, the spring 8 and the shaft 6 support the plate spring 4 from below so that the plate spring 4 does not exceed the elastic limit due to its own weight.
  • FIG. 4 shows the moment when the clearance between the electronic component D and the mounting table 3 becomes zero.
  • the lead terminal 6d and the pipe 6c serve as a suction portion that sucks the electronic component D placed on the placement table 3. That is, the negative pressure generated by the negative pressure generator is transmitted to the suction hole 3a formed on the flat surface of the mounting table 3 through the extraction terminal 6d and the pipe 6c, and the electronic component D is sucked to the mounting table 3.
  • the posture of the electronic component D with respect to the mounting table 3 is maintained, and the positional displacement of the electronic component D during the process is prevented.
  • the holding unit 100 it is ideal to stop the descent of the holding means 100 immediately after the clearance between the electronic component D and the mounting table 3 becomes zero.
  • the holding unit 100 due to the control accuracy of the holding unit 100, it is necessary to prevent a gap from being generated between the electronic component D and the mounting table 3 while the holding unit 100 is stopped. Therefore, the holding unit 100 is further lowered slightly. The slight descent is a degree that ensures the landing of the electronic component D on the mounting table 3.
  • FIG. 5 shows a state in which the holding means 100 is further lowered and a contact pressure is generated.
  • the leaf spring 4 bends to absorb this contact pressure, and the central region 4d sinks as the holding means 100 is lowered. Therefore, the reaction force of the contact pressure does not reach the electronic component D and the mounting table 3.
  • the lead terminal 6d, the pipe 2g, the opening 2f, the shaft 6, and the spring 8 serve as a detection unit that detects the bending of the leaf spring 4. This detection unit is used for detecting the landing of the electronic component D.
  • the spring 8 raises the shaft 6 so that the initial tension of the leaf spring 4 approaches zero so that the extension of the leaf spring 4 is kept flat in a state where the electronic component D is not placed. ing. Further, since the leaf spring 4 is sandwiched between the support column 2b of the gantry 2 and the bottom surface of the upper lid 2c, if the leaf spring 4 is kept flat, the upper lid 2c and the leaf spring 4 face each other in the opening area of the opening 2f. It will come into contact.
  • the opening 2f is blocked by the leaf spring 4 because the leaf spring 4 is not bent immediately before and immediately after the landing of the electronic component D.
  • the leaf spring 4 sinks and there is a gap between the leaf spring 4 and the opening 2f. C is generated. Accordingly, the pressure in the pipe 2g changes before and after the bending of the leaf spring 4, and by capturing this change, the bending of the leaf spring 4 is detected, and thus the landing of the electronic component D is detected.
  • a piezoelectric element or an optical sensor that detects the bending of the leaf spring 4, an optical sensor that detects the position of the electronic component D, or the like may be provided as the detection unit.
  • the spring 8 does not necessarily have a spring constant that makes the initial tension of the leaf spring 4 approach zero. In this case, it is sufficient for the spring 8 to support the plate spring 4 from below so that the plate spring 4 does not exceed the elastic limit due to its own weight, and a spring constant of that level may be set.
  • step portion 6b provided on the shaft 6 and the peripheral edge of the recess 7 formed in the base 2a are a subsidence restricting portion for restricting the bending of the leaf spring 4 to the thickness of one electronic component D. Become. This is because the length of the shaft 6 from the fixed end to the plate spring 4 to the step portion 6b is a length obtained by subtracting the thickness of one piece of the electronic component D from the length of the support 2b.
  • the step portion 6b and the periphery of the recess 7 are only the thickness D1 of one electronic component D. Separate.
  • the holding means 100 descends and the leaf spring 4 sinks due to the landing of the electronic component D
  • the stepped portion 6b is caught on the periphery of the recess 7 as shown in FIG. Therefore, the leaf spring 4 can sink only for the thickness of one electronic component D, and further sinking is restricted.
  • the holding unit 100 when the holding unit 100 holds two electronic components D in an overlapping manner, the holding unit 100 cannot reach the specified lowering amount by the sinking restricting portion, and the torque exceeding the specified level. Will receive. Therefore, the subsidence restricting portion can detect the overlapping of the electronic components D in combination with the mechanism for detecting the torque of the holding means 100.
  • the lower end peripheral surface of the shaft 6, that is, the peripheral surface of the pin body 6a in the present embodiment, and the recess 7 formed in the base 2a serve as a support portion that prevents the shaft 6 from falling. Since the pin body 6a is inserted into the recess 7 and the clearance between the pin body 6a and the recess 7 is narrow, the pin body 6a hits the inner peripheral wall of the recess 7 even if the shaft 6 tries to fall down so as to swing on the pin body 6a side. Because. For this reason, it is possible to prevent the fall of the shaft 6 from causing the leaf spring 4 to be wrinkled and the shape of the leaf spring 4 from being destroyed.
  • the electronic component mounting stage 1 on which the electronic component D is mounted and the mounting table 3 of the electronic component D are provided with the pressure absorbing portion.
  • the pressure absorbing part can sink so as to absorb the contact pressure of the electronic component D against the mounting table 3.
  • the pressure absorbing portion is a leaf spring 4 with a fixed edge
  • the mounting table 3 is attached to the center region 4d of the front surface
  • the flat portion of the leaf spring 4 is bent by the contact pressure. Yes.
  • the mounting table 3 is made of rubber, the contact pressure is absorbed by the leaf spring 4 side. Therefore, the possibility of the mounting table 3 being crushed by the contact pressure is low, and the electronic component D is misaligned due to the distortion of the rubber mounting table 3 or the restoring force for correcting the distortion. Can be avoided. Furthermore, since the deformation of the rubber mounting table 3 or the friction can be suppressed in addition to this, the life of the rubber mounting table 3 can be extended. In addition, since there is less concern about damage to the electronic component D, the mounting table 3 can be replaced with one having high rigidity such as resin or metal.
  • a shaft 6 extending downward is attached to the back surface of the leaf spring 4, and includes a spring 8 that supports the shaft 6.
  • the spring 8 is in a state where the electronic component D is not in contact with the mounting table 3. The sag of the leaf spring 4 was urged so as to push back.
  • the shaft 6 is attached to the back surface of the leaf spring 4 and extends below the leaf spring 4. And this shaft 6 is pinched
  • the pin body 6a is inserted into the other end surface of the shaft 6, and the pin body 6a is inserted into the recess 7 formed in the base 2a.
  • the recess 7 has a sufficiently narrow clearance with the pin body 6a as a shaft support portion.
  • the restricting portion can be configured by the shaft 6, a stepped portion 6 b provided on the shaft 6, and a peripheral edge of the concave portion 7 provided on the base 2 a.
  • the step portion 6 b is a contact surface provided on the shaft 6 and extending so as to intersect the axis of the shaft 6.
  • the peripheral edge of the recess 7 is a regulating surface located below the contact surface by a distance corresponding to the thickness of one electronic component D.
  • the erroneous delivery can be detected by the occurrence of abnormal torque of the holding means 100.
  • the measures for preventing the shaft 6 from falling are not taken or when the measures for preventing the shaft 6 from falling are taken by other methods, it is not necessary to reduce the diameter of the shaft 6 on the base 2a side.
  • the front end surface on the 2a side can be the contact surface.
  • the restriction portion may be configured by a notch provided on the peripheral surface of the shaft 6 and a rod-like member that has entered into the notch.
  • the notch is enlarged in the axial direction of the shaft 6 by the thickness of one electronic component D rather than the diameter of the rod-shaped member.
  • the rod-like member is fixed at a fixed position so as to contact the floor surface of the notch.
  • the ceiling surface of the notch serves as the abutment surface
  • the upper surface of the bar-like member serves as the regulation surface.
  • the deflection detection unit is a spring 8, an opening 2f provided in the upper lid 2c, and a pipe 2g drilled in the upper lid 2c.
  • the spring 8 supports the flat surface of the leaf spring 4 so that the initial tension of the leaf spring 4 approaches zero.
  • the opening 2 f is closed by surface contact with the surface of the leaf spring 4 supported by the spring 8.
  • the pipe 2g communicates with the opening 2f.
  • the amount by which the electronic device D is pushed by the holding means 100 can be adjusted according to the deflection detection unit, and the adjustment work is facilitated.
  • a pressure higher than the pressure of the environment where the electronic component D is installed or a negative pressure may be generated. That is, any method may be used as long as air leakage from the opening 2f and air suction can be detected.
  • FIG. 8 shows a leaf spring 4 when the electronic component mounting stage 1 is mounted on a positioning device.
  • process processing may be performed while maintaining the holding of the electronic component D by the holding unit 100.
  • the electronic component mounting stage 1 is mounted on the positioning device, it is necessary to prevent the mounting table 3 from sliding with respect to the leaf spring 4 due to the ⁇ rotation.
  • a square hole 4 c is formed in the plane of the leaf spring 4, and the size and shape of the square hole 4 c are formed on the bottom surface of the raising base 5 in the mounting table 3. It is only necessary to mount the mounting table 3 to the leaf spring 4 in a non-rotatable manner by projecting the combined rectangular feet and inserting the feet into the square holes 4c.
  • the square hole 4c and the rectangular foot are merely examples, and any hole and foot having a shape that restricts rotation may be used. That is, if it is a non-circular hole and a leg
  • the non-circular shape means a shape in which a plurality of types of distances from the center to the end are clearly present, and includes an ellipse or a polygon such as a hexagon whose minor axis and major axis are clearly different.
  • the leaf spring 4 is taken as an example of the pressure absorbing portion.
  • a ball spline may be provided as the pressure absorbing portion
  • a shaft and a linear bush may be provided as the pressure absorbing portion.
  • FIG. 9 shows an example in which a ball spline is provided as a pressure absorber.
  • the mounting table 3 is connected to the spline shaft 10 via a joint 11.
  • the spline shaft 10 extends below the mounting table 3 toward the base 2 a of the gantry 2.
  • the spline shaft 10 has a groove formed along the shaft on the surface.
  • a through hole 12 through which the spline shaft 10 passes is formed in the upper lid 2c, and a sleeve main body 13 is attached to the inside of the through hole 12.
  • a ball (not shown) is rotatably mounted inside the sleeve body 13, and the ball is fitted in the groove of the spline shaft 13.
  • the spline shaft 13 is supported by a spring 8 stored so as to extend.
  • FIG. 10 shows an example in which a shaft and a linear bush are provided as a pressure absorbing portion.
  • the mounting table 3 is connected to two shafts 20 via joints.
  • the shaft 20 has a cylindrical shape with a smooth surface.
  • two through holes 22 through which the two shafts 20 pass are formed in the upper lid, and linear bushes 23 are attached to the insides of the through holes 22, respectively.
  • a ball (not shown) is rotatably mounted inside the linear bush 23, and this ball contacts the surface of the shaft 20.
  • the two shafts 20 are respectively supported by springs 8 that are stored so as to extend.
  • the leaf spring 4 when the leaf spring 4 is employed as the pressure absorbing portion, the following merits occur. That is, it is easy to achieve downsizing of the electronic component placement stage 1. For example, when the leaf spring 4 is employed, the size of the electronic component placement stage 1 can be easily accommodated in a range of about L30 ⁇ W30 ⁇ H20 (mm).
  • This suction part is composed of an suction hole 3a which is an opening provided on the upper surface of the mounting table 3, and a pipe 6c which extends downward from the suction hole 3a through the leaf spring 4 and transmits negative pressure to the opening.
  • the pressure absorbing portion is the leaf spring 4
  • the pressure absorbing portion is the leaf spring 4
  • the cost increases accordingly.
  • the shaft 6 attached to the leaf spring 4 since the shaft 6 attached to the leaf spring 4 only supports the leaf spring 4, there is no difficulty in pipe processing.
  • Processes for electronic parts D include pre-process and post-process, each assembly process such as dicing, mounting, bonding, sealing, etc., device electrical property measurement, classification, marking, visual inspection, packaging, etc.
  • the process processing apparatus of this embodiment is a positioning apparatus.

Landscapes

  • Die Bonding (AREA)
  • Container, Conveyance, Adherence, Positioning, Of Wafer (AREA)
  • Wire Bonding (AREA)
  • Supply And Installment Of Electrical Components (AREA)

Abstract

電子部品と載置台との間のクリアランスを確実に零にしつつ、電子部品へダメージを与えてしまう心配がなく、そして、電子部品を載置したときに位置ズレが発生してしまう心配のない電子部品載置ステージを提供する。電子部品(D)が載置される電子部品載置ステージ(1)、電子部品(D)の載置台(3)に圧力吸収部を備えるようにした。圧力吸収部は、電子部品(D)の当該載置台(3)への当接圧力を吸収するように沈み込み可能となっている。例えば、この圧力吸収部は、縁が固定された板バネ(4)であり、載置台(3)がおもて面の中央領域(4d)に取り付けられ、板バネ(4)の平面部分が当接圧力によって撓むようになっている。

Description

電子部品載置ステージ、位置決め装置、及び工程処理装置
 本発明は、電子部品に対する工程処理を施すステージとなる電子部品載置ステージ、これを備えた位置決め装置、及び工程処理装置に関する。
 電子部品は、電気製品に使用される部品であり、半導体素子が含まれる。半導体素子としては、トランジスタや集積回路が挙げられ、電子部品としては、抵抗やコンデンサ等が挙げられる。この電子部品は、一般的に、搬送経路上を保持手段に保持されつつ搬送される。搬送経路上には、工程処理を施す各種の工程処理装置が並んでおり、保持手段は、それぞれが備えるステージに下降し、電子部品をステージに離脱させ、工程処理が終了するとステージから電子部品をピックアップして、次の工程処理へ搬送する。工程処理としては、ダイシング、マウンティング、ボンディング、及びシーリング等の前工程の処理、デバイスの電気特性測定、分類、マーキング、外観検査、梱包等の後工程の処理が挙げられる。また、これら各工程処理のための位置決め処理も工程処理に含まれる。
 各工程処理装置が備える電子部品を載置するステージは載置台を有する。工程処理を電子部品に対して施すためには、電子部品の精度の高い位置決めが必要であるので、電子部品と載置台とのクリアランスが零となるまで、保持手段を下降させることが理想である。
 そこで、従来は、載置台を昇降可能にし、保持手段と載置台との位置関係に関して経年劣化等を加味して微調整しながら、クリアランスが零となるように努めていた(例えば、特許文献1参照。)。保持手段と載置台との位置関係は、例えば、載置台の摩耗や保持手段の個体差によって変わるためである。
 しかしながら、電子部品と載置台とのクリアランスがちょうど零になるように、保持手段が下降するように調整することは、機械精度の都合上、大変な労力を要する。一方で、電子部品と載置台との間に隙間が生じたまま、保持手段から電子部品を離脱させると、載置台に着地するまでの空気の流れにより電子部品の位置ズレが生じてしまいかねない。位置ズレは、歩留まりの悪化につながるため、この位置ズレ発生を阻止することは優先課題となる。
 そこで、従来は、電子部品を載置台に押し付け、電子部品と載置台とが確実に当接している状態を実現していた。すなわち、電子部品が載置台にちょうど触れた後も、一定量だけ保持手段を下降させていた。
特開2011-014583号公報
 電子部品を載置台に押し付ける方法は、確実にクリアランスを零にすることができるが、この方法では、樹脂製や金属製のような剛性の高い載置台は使用できない。載置台に対する押し付けの反力が電子部品に及び、電子部品にダメージを与えるおそれがあるためである。そこで、現在は、ゴム製の載置台が多用されている。ゴム製の載置台であれば、電子部品が載置台に当接したときの圧力は、載置台の弾性変形によって吸収され、電子部品に対するダメージの可能性を低減させることができるからである。
 但し、ゴム製の載置台は、電子部品が載置される際の当接圧力を受けて潰れ変形するので、電子部品には、その潰れ変形や又は其の潰れ変形を修正しようとする復元力によって位置ズレが発生してしまう可能性がある。電子部品と載置台とのクリアランスが零でない状態で、電子部品を離脱させることにより生じる位置ズレよりは、ゴム製の載置台に起因する位置ズレはそう大きくはない。
 しかしながら、電子部品の微細化がより進展しつつある昨今、載置台が弾性変形することに起因する位置ズレも電子部品の歩留まりを悪化させることが予想され、その対策を講じる必要が見込まれる。
 本発明は、上記のような問題点を解決するために提案されたもので、電子部品と載置台との間のクリアランスを確実に零にしつつ、電子部品へダメージを与えてしまう心配がなく、そして、電子部品を載置したときに位置ズレが発生してしまう心配のない電子部品載置ステージ、これを備えた位置決め装置、及び工程処理装置を提供することを目的とする。
 本発明に係る電子部品載置ステージは、電子部品が載置される電子部品載置ステージであって、前記電子部品の載置台と、前記載置台が取り付けられ、前記電子部品の当該載置台への当接圧力を吸収するように沈み込み可能な圧力吸収部と、を備えること、を特徴とする。
 前記圧力吸収部は、縁が固定された板バネであり、前記載置台がおもて面の中央領域に取り付けられ、板バネの平面部分が前記当接圧力によって撓むようにしてもよい。
 前記板バネの裏面に取り付けられ、前記板バネの下方に延びるシャフトと、前記シャフトを支持するスプリングと、を更に備え、前記スプリングは、前記電子部品が前記載置台に当接していない状態での前記板バネの沈み込みを押し戻すように付勢するようにしてもよい。
 前記板バネの裏面に取り付けられ、前記板バネの下方に延びるシャフトと、前記シャフトの下端周面を挟持することで、前記シャフトの倒れを阻止するシャフト支持部と、を更に備えるようにしてもよい。
 前記板バネの撓みを前記電子部品の一枚の厚みに規制する規制部をさらに備えるようにしてもよい。前記規制部は、前記板バネの裏面に取り付けられ、前記板バネの下方に延びるシャフトと、前記シャフトに設けられ、当該シャフトの軸と交差するように拡がる当接面と、前記当接面よりも前記電子部品の一枚の厚みに相当する距離だけ離れた下方に位置する規制面と、を備え、前記板バネの沈み込みに合わせて降りてきた前記シャフトの前記当設面と前記規制面とが接触し、前記板バネの撓みを前記電子部品の一枚の厚みに規制するようにしてもよい。
 前記板バネの撓み検出部を更に備えるようにしてもよい。前記撓み検出部は、前記板バネの初期張力を零に近づけるように、前記板バネの平面を支持するスプリングと、前記スプリングによって支持された前記板バネの表面で面接触することで塞がれた開口と、前記開口に連通するパイプと、を備え、前記パイプ内に圧力を発生させ、前記パイプ内の圧力変化を検出することにより、前記板バネの撓みが検出されるようにしてもよい。
 前記電子部品を前記載置台へ吸い付ける吸着部を更に備え、前記吸着部は、前記載置台の上面に設けられた開口と、前記開口から前記板バネを通って当該板バネの下方へ延び、負圧を前記開口へ伝達するパイプを有するようにしてもよい。
 前記板バネには、複数のスリットが穿設され、前記スリットは、板バネの中心から外側に向かって同心円状に配列されているようにしてもよい。
 前記板バネの平面には、非円形穴が形成され、前記載置台の底面には、前記非円形穴と大きさ及び形状を合わせた非円形足が突出し、前記非円形足を前記非円形穴に挿入することで、前記載置台が前記板バネに対して回転不能に取り付けられるようにしてもよい。
 電子部品の位置決め装置は、この電子部品載置ステージを移動させる移動機構を備え、前記載置台に載置された前記電子部品の位置を変更するようにしてもよい。また、電子部品の工程処理装置は、この電子部品載置ステージを備え、前記載置台に載置された前記電子部品に対して工程処理を施すようにしてもよい。
 本発明によれば、電子部品と載置台との間のクリアランスを確実に零にしつつ、電子部品の工程処理装置への受け渡しが可能となる。すなわち、電子部品へのダメージを考慮するあまり、電子部品と載置台とに隙間が存在するにもかかわらず、保持手段から電子部品を落下させてしまい、電子部品を載置したときに位置ズレが発生してしまう心配はない。また、クリアランスを零にするために、電子部品を載置台に押し付け、電子部品へダメージを与えてしまう心配がなくなる。
本実施形態に係る電子部品載置ステージの外観を示す斜視図である。 電子部品の載置台及び衝撃吸収部の外観を示す斜視図である。 電子部品載置ステージの断面図である。 圧力吸収部の変位を示し、電子部品の着地の瞬間を示す断面図である。 圧力吸収部の変位を示し、電子部品を押し込んだ状態を示す各断面図である。 上蓋に穿設された開口の付近を拡大した断面図である。 シャフトの下端部の拡大断面図である。 電子部品載置ステージを位置決め装置に搭載する場合の板バネの平面図である。 ボールスプラインを圧力吸収部として備える例を示す断面図である。 シャフトとリニアブッシュを圧力吸収部として備える例を示す断面図である。
 以下、本発明に係る電子部品載置ステージ、位置決め装置、及び工程処理装置の実施形態について図面を参照しつつ詳細に説明する。
 (構成)
 図1は、電子部品載置ステージ1の外観を示す斜視図である。電子部品載置ステージ1は、電子部品Dに対して工程処理のステージとして、工程処理装置に搭載される。本実施形態の工程処理装置は位置決め装置である。位置決め装置は、電子部品Dの姿勢を適正に補正する。
 電子部品載置ステージ1は、図1に示すように、架台2に電子部品Dの載置台3を有する。本実施形態の載置台3は、ゴム製であるが、金属製や樹脂製等の各種が適用可能である。この載置台3は、薄い円柱表面に円錐が重ねられた形状を有している。円錐先端には平坦面が形成され、この平坦面に電子部品Dが着地する。
 載置台2を収容する架台2は、回転軸の一端と接続され、更に図示しないXY移動機構に搭載されている。架台2は、載置台3に電子部品Dを載置させた状態で回転軸及びXY移動機構によってθ方向、X軸方向、及びY軸方向に移動され、この移動により電子部品Dは位置決めされる。
 架台2は、厚みのある矩形のベース2aの4隅に立設された支柱2bに一枚の上蓋2cが載せられた形状を有し、ベース2aと上蓋2cとの間は中空となっている。上蓋2cのおもて面が電子部品Dに工程処理を施すステージ面2dとなっている。架台2は、電子部品Dを搬送してくる保持手段100(図3等参照)と上蓋2cとが向かい合うように設置される。上蓋2cにはおもて面と裏面とを開通させる貫通孔2eが設けられている。載置台3は、架台2の内部から貫通孔2eをくぐってステージ面2dへ突出している。
 図2は、架台2を取り払い、架台2の内部に収容された板バネ4を露出させた斜視図である。図1及び図2に示すように、載置台3には、架台2の内部に支持された板バネ4が取り付けられている。詳細には、載置台3は、上蓋2cに形成されている貫通孔2e内に遊嵌した嵩上げ台5を介して板バネ4に固定されている。
 板バネ4は、薄い矩形板であり、4隅が支柱2bと上蓋2cとの間に挟まれることにより、中央領域4dが浮動支持されている。載置台3は、この浮動支持された中央領域に固定されている。この板バネ4は、可撓性を有し、電子部品Dが載置台3に着地し、また更に押し込まれるときの圧力の多くを吸収する圧力吸収部として機能する。すなわち、載置台3が取り付けられた中央領域が下方へ沈み込むことで、載置台3に電子部品Dが当接したときの当接圧力を吸収する。そのため、板バネ4は薄くしてあり、また剛性を下げるために多数のスリット4eが穿設されている。
 このスリット4eは、板バネ4の中心から外側に向かって略同心円状に並べて配置されており、板バネ4の沈み込み中心が板バネ4の拡がり中心からずれたり、板バネ4の中心領域が傾いて沈み込んだりすることなく、板バネ4の中心領域が精度よく沈み込むことに寄与しており、電子部品Dの位置ズレを防止している。尚、略同心円には、同心円の他、共通点がなく中心を同じくする複数の多角形が含まれる。
 この嵩上げ台5は、板バネ4が撓みにより沈み込んでも、載置台3の平坦面が架台2から突出し続けるようにしている。すなわち、載置台3と嵩上げ台5とを合わせた高さは、架台2の上蓋2cが有する厚みと板バネ4の沈み込み量とを合わせた高さよりも若干程度高く調整されている。尚、貫通孔2eと嵩上げ台5とは、接触しないように十分なクリアランスを有しており、万一埃が隙間に入り込んでも相対移動可能となっている。
 図3は、電子部品載置ステージ1の断面図であり、架台2の内部を表している。図3に示すように、板バネ4の裏面には、ブロック6eを介してシャフト6が固定され、架台2のベース2aに向かって伸びている。裏面は、載置台3とは反対の面である。図3等において、板バネ4の厚みやシャフト6の下端部分に存在する隙間等は、理解しやすく誇張して示されている。
 シャフト6は、例えば樹脂製の円柱体と、該円柱体のベース2a側の端面に挿入されたピン体6aとを含み構成される。ピン体6aは、シャフト6と共通軸を有する棒形状を有する。言い換えると、シャフト6の端面からピン体6aが突出している。
 このシャフト6をピン体6aを含めて一体的に捉えると、その外形は、架台2のベース2a側の径が途中から先端まで一回り絞られたシルエットを有する。この絞りの起点は段部6bとなっている。すなわち、ピン体6aが一回り絞られた部分に相当し、ピン体6a周りの端面が段部6bに相当する。シャフト6に関し、板バネ4との固定端から段部6bまでの長さは、架台2の支柱2bの長さよりも電子部品Dの一枚の厚さだけ短く設定されている。
 ピン体6aの突出側の先端は、架台2のベース2aに穿設された凹部7に挿入されている。凹部7は、シャフト6の延長線上に穿設されている。ピン体6aと凹部7とのクリアランスは、ピン体6aの挿入深さに比して十分に狭くなっている。また、凹部7の径は、シャフト6の段部6bの径と比べて十分に小さくなるように設定されており、段部6bの領域の直下には、凹部7の周縁が存在することなる。
 このシャフト6は、下方に配置されたスプリング8によって持ち上げられている。スプリング8は、一端がシャフト6に固定され、他端が架台2のベース2aに固定されている。このスプリング8は、伸びるように蓄勢された圧縮バネである。スプリング8のバネ定数は、板バネ4が電子部品Dの載置による外力を受けていない状態において、シャフト6を持ち上げ、板バネ4の初期張力を零又は零に限りなく近づけ、板バネ4が平坦を保つように設定されている。
 更に、シャフト6、嵩上げ台5、及び載置台3には、共通のパイプ6cが形成されている。パイプ6cは、載置台3の平坦面に設けられた吸着孔3aからシャフト6の軸に沿って形成されている。シャフト6の途中には、このパイプ6cに通じる引出端子6dが取り付けられている。引出端子6dは、図示しない負圧発生装置に導通管を介して接続されている。尚、このパイプ6cは、途中からピン体6aによって塞がれている。引出端子6dは、ピン体6aの挿入端よりも上方に取り付けられている。
 また、架台2の上蓋2cには、板バネ4と向かい合う面に開口2fが形成されている。開口2fは、支柱2bよりも上蓋2cの中心寄りに設けられている。言い換えると、開口2fは、バネ体4の撓みが発生する領域を臨んでいる。更に、上蓋2cには、内部にパイプ2gが穿設されており、パイプ2gの一端が開口2fとなっている。上蓋2cの側面には、このパイプ2gに通じる引出端子2hが取り付けられており、引出端子2hは、パイプ2g内に圧力を発生させる図示しない圧力発生装置に導通管を介して接続されている。尚、パイプ2gの他端は上蓋の内部で止まっている。
 (作用)
 この電子部品載置ステージ1の作用を図4乃至7を参照しつつ説明する。図4及び5は、圧力吸収部の変位を示す断面図である。図6は、上蓋2cに穿設された開口2fの付近を拡大した断面図である。図7は、シャフト6の下端部の拡大断面図である。
 まず、電子部品Dの着地前においては、板バネ4は平坦を保っている。スプリング8がシャフト6を持ち上げることにより、シャフト6が垂れ下がることによる板バネ4の沈み込みを防止しているからである。換言すると、シャフト6の重量により板バネ4が撓もうとする動きは、シャフト6を介したスプリング8による押し戻し動作によって相殺されている。
 板バネ4は、電子部品Dが載置台3に着地した際の当接圧力の多くを吸収すべく、可撓性且つ低い剛性を有しており、バネ定数は小さく、板バネ4の自重によっても中央領域4dが沈み込み易くなっている。そのため、スプリング8及びシャフト6は、板バネ4が自重によって弾性限界を超えないように、板バネ4を下方から支持している。
 図4は、電子部品Dと載置台3とのクリアランスが零となった瞬間を示している。このとき、引出端子6d及びパイプ6cは、載置台3に載置された電子部品Dを吸着する吸着部となる。すなわち、負圧発生装置で発生させた負圧を引出端子6d及びパイプ6cを介して載置台3の平坦面に形成された吸着孔3aに伝達し、電子部品Dが載置台3に吸着されることで、載置台3に対する電子部品Dの姿勢は維持され、工程処理中の電子部品Dの位置ズレが防止される。
 ここで、電子部品Dと載置台3とのクリアランスが零となった直後に保持手段100の下降を停止させることが理想である。しかし、保持手段100の制御精度の都合上、保持手段100を停止させた状態で電子部品Dと載置台3との間に隙間が生じてしまうことを防ぐ必要がある。そのため、保持手段100は、更に若干程度下降する。若干程度の下降とは、電子部品Dの載置台3への着地が確実となる程度である。
 図5は、保持手段100が更に下降して当接圧力が発生した状態を示す。保持手段100が更に若干程度下降すると、板バネ4は、この当接圧力を吸収するように撓んで、保持手段100の下降に合わせて中央領域4dが沈み込む。従って、電子部品Dや載置台3には、当接圧力の反力が及ばない。
 このとき、引出端子6d、パイプ2g、開口2f、シャフト6、及びスプリング8は、板バネ4の撓みを検出する検出部となる。この検出部は、電子部品Dの着地検出に利用される。
 具体的には、スプリング8は、シャフト6を持ち上げることで、電子部品Dが載置されていない状態で、板バネ4の延びが平坦を保つように、板バネ4の初期張力を零に近づけている。また、板バネ4は、架台2の支柱2bと上蓋2cの底面とにより挟まれているから、板バネ4が平坦を保つと、上蓋2cと板バネ4とが開口2fの穿設領域において面接触することとなる。
 そのため、図6の(a)に示すように、電子部品Dの着地直前及び直後においては、板バネ4が撓んでいないために、開口2fは、板バネ4によって塞がれている。一方、図6の(b)に示すように、電子部品Dの着地を確実にすべく更に電子部品Dが押し込まれると、板バネ4は沈み込み、板バネ4と開口2fとの間に隙間Cが生じる。従って、パイプ2g内の圧力は板バネ4の撓み前後で変化し、この変化を捕捉することで、板バネ4の撓みは検出され、以て電子部品Dの着地は検出される。
 尚、この電子部品Dの着地を検出することができるものであれば、各種の検出機構を採用することができる。例えば、板バネ4の撓みを検出する圧電素子や光センサ、電子部品Dの位置を検出する光センサ等を検出部として設けるようにしてもよい。
 本実施形態の撓み検出方法を用いない場合には、スプリング8は、板バネ4の初期張力を零に近づけるバネ定数を必ずしも有する必要はない。この場合、スプリング8は、板バネ4が自重によって弾性限界を超えないように板バネ4を下方から支持すれば十分であり、その程度のバネ定数が設定されていればよい。
 また、シャフト6に設けられた段部6bとベース2aに穿設された凹部7の周縁とは、板バネ4の撓みを電子部品Dの一枚の厚さ分に規制する沈み込み規制部となる。シャフト6に関し、板バネ4との固定端から段部6bまでの長さは、支柱2bの長さから電子部品Dの一枚の厚さを差し引いた長さとなっているためである。
 すなわち、図7の(a)に示すように、電子部品Dが載置台3に載置されていない状態では、段部6bと凹部7の周縁とは、電子部品Dの一枚の厚みD1だけ離間する。一方、保持手段100が下降して、電子部品Dの着地によって板バネ4が沈み込むと、図7の(b)に示すように、段部6bが凹部7の周縁に引っ掛かる。そのため、板バネ4は、電子部品Dの一枚の厚さ分しか沈み込むことができず、それ以上の沈み込みは規制される。
 例えば、保持手段100が2枚の電子部品Dを重ねて保持してしまっている場合、保持手段100は、この沈み込み規制部によって規定の下降量に達することができずに、規定以上のトルクを受けることとなる。従って、沈み込み規制部は、保持手段100のトルクを検出する機構と相まって、電子部品Dの重なりを検出することができる。
 また、シャフト6の下端周面、即ち本実施形態におけるピン体6aの周面と、ベース2aに穿設された凹部7とは、シャフト6の倒れを阻止する支持部となる。ピン体6aは凹部7に挿入され、ピン体6aと凹部7とのクリアランスは狭いため、シャフト6がピン体6a側を振るように倒れ込もうとしても、ピン体6aが凹部7の内周壁に当たるからである。そのため、シャフト6の転倒が板バネ4にシワを生じさせ、また板バネ4の形を崩してしまうことは防止される。
 (効果)
 以上のように、電子部品Dが載置される電子部品載置ステージ1、電子部品Dの載置台3に圧力吸収部を備えるようにした。圧力吸収部は、電子部品Dの当該載置台3への当接圧力を吸収するように沈み込み可能となっている。例えば、この圧力吸収部は、縁が固定された板バネ4であり、載置台3がおもて面の中央領域4dに取り付けられ、板バネ4の平面部分が当接圧力によって撓むようになっている。
 これにより、電子部品Dと載置台3との間のクリアランスを確実に零にしつつ、電子部品Dの工程処理装置への受け渡しが可能となる。すなわち、電子部品Dへのダメージを考慮するあまり、電子部品Dと載置台3とに隙間が存在するにもかかわらず、保持手段100から電子部品Dを落下させてしまい、電子部品Dを載置したときに位置ズレが発生してしまう心配はない。また、クリアランスを零にするために、電子部品Dを載置台3に押し付け、電子部品Dへダメージを与えてしまう心配がなくなる。
 さらに、載置台3をゴム製とした場合であっても、当接圧力は板バネ4側で吸収される。そのため、当接圧力による載置台3の潰れの可能性は低くなり、ゴム製の載置台3の歪み又はその歪みを修正しようとする復元力によって電子部品Dの位置ズレが発生してしまう事態を回避できる。更には、ゴム製の載置台3の変形若しくはこれに加えて摩擦を抑えることができることから、ゴム製の載置台3の寿命を延ばすことができる。また、電子部品Dに対するダメージの心配が少なくなったことから、載置台3を樹脂や金属等の剛性が高いものに代替えすることも可能となる。
 また、板バネ4の裏面に下方へ延びるシャフト6が取り付けられているが、このシャフト6を支持するスプリング8を備え、このスプリング8は、電子部品Dが載置台3に当接していない状態での板バネ4の沈み込みを押し戻すように付勢するようにした。
 これにより、板バネ4のバネ定数を小さくすることができ、当接圧力の吸収能力が高まる。従って、電子部品Dへダメージを付与してしまうおそれをより確実に防止できる。尚、板バネ4の沈み込みを押し戻すことができれば、その他の各種の構成も適用可能である。例えば、シャフト6を設けず、板バネ4の中央領域をスプリング8で直接支持するようにしてもよい。また、本実施形態の歪み検出方法を採用しない場合には、板バネ4が弾性限界を超えなければ良く、初期張力を零に近づける必要はない。
 また、シャフト6は、板バネ4の裏面に取り付けられて板バネ4の下方に延びる。そして、このシャフト6は、シャフト6の傾きを阻止するシャフト支持部によって下端周面が挟持される。本実施形態では、ピン体6aをシャフト6の他端面に差し込んでおき、このピン体6aをベース2aに穿設した凹部7に挿入する。この凹部7は、シャフト支持部として、ピン体6aとのクリアランスを十分に狭くしてある。
 これにより、板バネ4に取り付けられているシャフト6の傾きを防止でき、シャフト6の傾きに伴う板バネ4のシワや歪みの発生を防止できる。従って、板バネ4の損傷は防がれ、板バネ4の稼働信頼性の向上や長寿命化を達成できる。尚、板バネ4の沈み込みを電子部品Dの一枚の厚みに規制する規制部を採用しない場合には、シャフト6にピン体6aを挿入する必要はない。すなわち、シャフト6のベース2a側の径を一回り小さくする必要はなく、またシャフト6の本体を直に凹部7に挿入し、倒れを阻止するようにしてもよい。
 また、板バネ4の撓みは規制部によって電子部品Dの一枚の厚みに規制されるようにした。規制部は、シャフト6と、シャフト6に設けられた段部6bと、ベース2aに設けられた凹部7の周縁とにより構成することができる。段部6bは、シャフト6に設けられ、当該シャフト6の軸と交差するように拡がる当接面である。また、凹部7の周縁は、当接面よりも電子部品Dの一枚の厚みに相当する距離だけ離れた下方に位置する規制面である。板バネ4の沈み込みに合わせて降りてきたシャフト6の当設面と規制面とが接触し、板バネ4の撓みが電子部品Dの一枚の厚みに規制される。
 これにより、電子部品Dを複数枚重ねて工程処理装置へ誤送したとしても、保持手段100の異常トルクの発生により、その誤送を検知できる。尚、シャフト6の転倒防止策を採らないか、他の方法でシャフト6の転倒防止策を講じる場合には、シャフト6のベース2a側の径を一回り小さくする必要はなく、シャフト6のベース2a側の先端面を当設面とすることができる。
 また、シャフト6の周面に設けた切り欠きと、この切り欠き内に突入した棒状部材とで、当該規制部を構成するようにしてもよい。切り欠きは、棒状部材の径よりも一枚の電子部品Dの厚み分だけシャフト6の軸方向に拡大させておく。電子部品Dが載置されていない状態において、棒状部材は、切り欠きの床面に当接するように定位置で固定しておく。この場合、切り欠きの天井面が当設面となり、棒状部材の上側表面が規制面となる。
 また、板バネ4の撓み検出部を更に備えるようにした。この撓み検出部は、本実施形態では、スプリング8と、上蓋2cに設けられた開口2fと、上蓋2cに穿設されたパイプ2gである。スプリング8は、板バネ4の初期張力を零に近づけるように、板バネ4の平面を支持する。開口2fは、スプリング8によって支持された板バネ4の表面で面接触することで塞がれる。パイプ2gは、開口2fに連通する。このパイプ2g内に圧力を発生させ、板バネ4が撓んだことで開口2fの塞がりが解除されると、その際にパイプ2g内の圧力が変化する。この圧力変化を検出することにより、板バネ4の撓みは検出されることとなる。
 これにより、電子部品Dが載置台3に載置されたことを容易に検出することができる。また、保持手段100による電子部品Dの押し込み量も撓み検出部に従って調整でき、調整作業が容易となる。尚、パイプ2g内には、電子部品Dが設置される環境の圧力以上を付与するものであっても、負圧を発生させるものであっても何れでもよい。すなわち、開口2fからの空気漏れや空気吸入を検出できれば、何れでもよい。
 尚、板バネ4の撓みを検出することができる方法であれば、他の手法も採用可能である。例えば、板バネ4への圧電素子の貼り付けや、板バネ4のへこみ部分を検出する音波センサや光センサの設置が可能である。
 (その他の実施形態)
 この電子部品載置ステージ1を位置決め装置に搭載する場合の板バネ4を図8に示す。電子部品Dを載置台3に載置した場合、保持手段100による電子部品Dの保持を維持しつつ、工程処理を施す場合がある。このケースにおいて、電子部品載置ステージ1を位置決め装置に搭載した場合には、θ回転によって載置台3が板バネ4に対して滑ってしまうことを防止する必要がある。
 そこで、図8に示すように、板バネ4の平面には、角穴4cを形成しておき、載置台3のうち、嵩上げ台5の底面の部分に、角穴4cと大きさ及び形状を合わせた矩形の足を突設しておき、足を角穴4cに挿入することで、載置台3を板バネ4に対して回転不能に取り付けるようにすればよい。
 角穴4cや矩形の足は、一例であり、回転を規制する形状の穴及び足ならば何れでもよい。すなわち、非円形の穴及び足であれば、回転を規制する手段と成り得る。非円形とは、中心から端までの距離が明らかに複数種類存在する形状を意味し、短径と長径とが明らかに異なる楕円や六角形等の多角形が含まれる。
 また、本実施形態では、圧力吸収部として板バネ4を例に挙げたが、その他、ボールスプラインを圧力吸収部として備え、またシャフトとリニアブッシュを圧力吸収部として備えるようにしてもよい。
 図9は、ボールスプラインを圧力吸収部として備える例を示している。この例において、載置台3は、継手11を介してスプライン軸10に接続されている。スプライン軸10は、載置台3の下方へ架台2のベース2aに向かって延びている。このスプライン軸10には、表面に軸に沿った溝が穿設されている。また、上蓋2cには、スプライン軸10が通る貫通孔12が穿設されており、貫通孔12の内側には、スリーブ本体13が取り付けられている。スリーブ本体13の内部には、図示しないボールが回転可能に取り付けられており、このボールは、スプライン軸13の溝に嵌っている。スプライン軸13は、伸びるように蓄勢されたスプリング8で支持されている。
 また、図10は、シャフトとリニアブッシュを圧力吸収部として備える例を示している。この例において、載置台3は、継手を介して2本のシャフト20に接続されている。シャフト20は、表面が滑らかな円筒形状を有している。また、上蓋には、2本のシャフト20が通る2本の貫通孔22が穿設されており、貫通孔22の内側には、それぞれリニアブッシュ23が取り付けられている。リニアブッシュ23の内部には、図示しないボールが回転可能に取り付けられており、このボールは、シャフト20の表面に当接する。2本のシャフト20は、伸びるように蓄勢されたスプリング8にそれぞれ支持されている。
 これらの例において、載置台3に電子部品Dが着地し、更に電子部品Dが押し込まれると、スプリング8の付勢力に反してスプライン軸10又はシャフト20が沈み込む。このスプリング軸10又はシャフト20の沈み込みにより、電子部品Dの当接圧力が吸収される。
 尚、圧力吸収部として板バネ4を採用する場合には以下のようなメリットが発生する。すなわち、電子部品載置ステージ1の小型化を達成し易くなる。例えば、板バネ4を採用する場合には、電子部品載置ステージ1の大きさを、L30×W30×H20(mm)程度の範囲に容易に収めることができる。
 また、ボールスプラインと比べ安価に製造が可能である。更に、リニアブッシュを採用する場合には、シャフト20の回転を防止すべく、複数本のシャフト20を備える必要がある。その点において、板バネ4を採用する場合には、可動機構の質量を低減できる。
 また、ボールスプラインやリニアブッシュを採用する場合には、スプライン軸10、シャフト20、スリーブ本体13、及びリニアブッシュ23の合間にゴミ等が入り込むおそれがあり、摺動不良を回避する策が必要となる。一方、板バネ4の場合には、摺動機構がないため、ゴミ等が入り込む余地がない。すなわち、上蓋2cに設けた貫通孔2eと嵩上げ台5とは、摺動関係にないため、これらの隙間は十分に拡げることができる。
 また、電子部品Dを載置台3へ吸い付ける吸着部を容易に設置可能となる。この吸着部は、載置台3の上面に設けられた開口である吸着孔3aと、吸着孔3aから板バネ4を通って下方へ延び、負圧を開口へ伝達するパイプ6cとで構成される。本態様は、圧力吸収部を板バネ4としたことから、コストの低減等により可能となったものである。すなわち、ボールスプラインのような既製品にパイプ加工処理を施すと、その分だけコストが嵩んでしまう。一方、板バネ4に取り付けるシャフト6は、板バネ4を支持しているだけなので、パイプ加工処理に困難性がない。
 以上、本発明に係る実施形態を説明したが、この実施形態は例として提示したものであって、発明の範囲を逸脱しない範囲で、その他の様々な形態で実施されることが可能であり、種々の省略や置き換え、変更を行うことができる。この実施形態やその変形は、発明の範囲や要旨に含まれると同様に、請求の範囲に記載された発明とその均等の範囲に含まれるものである。
 例えば、本実施形態は、電子部品載置ステージ1を位置決め装置に搭載する例を示したものであるが、その他の工程処理を行う各種の工程処理装置についても適用が可能である。電子部品Dに対する工程処理としては、前工程及び後工程の各処理を含み、ダイシング、マウンティング、ボンディング、シーリング等の各組立工程、デバイスの電気特性測定、分類、マーキング、外観検査、梱包等の各工程処理、及びそれら工程処理のための位置決め処理が挙げられる。本実施形態の工程処理装置は位置決め装置である。
1 電子部品載置ステージ
2 架台
2a ベース
2b 支柱
2c 上蓋
2d ステージ面
2e 貫通孔
2f 開口
2g パイプ
2h 引出端子
3 載置台
3a 吸着孔
4 板バネ
4a 隅
4b 中央領域
4c 角穴
4d 中央領域
4e スリット
5 嵩上げ台
6 シャフト
6a ピン体
6b 段部
6c パイプ
6d 引出端子
6e ブロック
7 凹部
8 スプリング
10 スプライン軸
11 継手
12 貫通孔
13 スリーブ本体
20 シャフト
21 継手
22 貫通孔
23 リニアブッシュ
100 保持手段
D 電子部品

Claims (13)

  1.  電子部品が載置される電子部品載置ステージであって、
     前記電子部品の載置台と、
     前記載置台が取り付けられ、前記電子部品の当該載置台への当接圧力を吸収するように沈み込み可能な圧力吸収部と、
     を備えること、
     を特徴とする電子部品載置ステージ。
  2.  前記圧力吸収部は、
     縁が固定された板バネであり、前記載置台がおもて面の中央領域に取り付けられ、
     板バネの平面部分が前記当接圧力によって撓むこと、
     を特徴とする請求項1記載の電子部品載置ステージ。
  3.  前記板バネの裏面に取り付けられ、前記板バネの下方に延びるシャフトと、
     前記シャフトを支持するスプリングと、
     を更に備え、
     前記スプリングは、
     前記電子部品が前記載置台に当接していない状態での前記板バネの沈み込みを押し戻すように付勢すること、
     を特徴とする請求項2記載の電子部品載置ステージ。
  4.  前記板バネの裏面に取り付けられ、前記板バネの下方に延びるシャフトと、
     前記シャフトの下端周面を挟持することで、前記シャフトの倒れを阻止するシャフト支持部と、
     を更に備えること、
     を特徴とする請求項2記載の電子部品載置ステージ。
  5.  前記板バネの撓みを前記電子部品の一枚の厚みに規制する規制部をさらに備えること、
     を特徴とする請求項2乃至4の何れかに記載の電子部品載置ステージ。
  6.  前記規制部は、
     前記板バネの裏面に取り付けられ、前記板バネの下方に延びるシャフトと、
     前記シャフトに設けられ、当該シャフトの軸と交差するように拡がる当接面と、
     前記当接面よりも前記電子部品の一枚の厚みに相当する距離だけ離れた下方に位置する規制面と、
     を備え、
     前記板バネの沈み込みに合わせて降りてきた前記シャフトの前記当設面と前記規制面とが接触し、前記板バネの撓みを前記電子部品の一枚の厚みに規制すること、
     を特徴とする請求項5記載の電子部品載置ステージ。
  7.  前記板バネの撓み検出部を更に備えること、
     を特徴とする請求項2乃至6の何れかに記載の電子部品載置ステージ。
  8.  前記撓み検出部は、
     前記板バネの初期張力を零に近づけるように、前記板バネの平面を支持するスプリングと、
     前記スプリングによって支持された前記板バネの表面で面接触することで塞がれた開口と、
     前記開口に連通するパイプと、
     を備え、前記パイプ内に圧力を発生させ、前記パイプ内の圧力変化を検出することにより、前記板バネの撓みが検出されること、
     を特徴とする請求項7記載の電子部品載置ステージ。
  9.  前記電子部品を前記載置台へ吸い付ける吸着部を更に備え、
     前記吸着部は、
     前記載置台の上面に設けられた開口と、
     前記開口から前記板バネを通って当該板バネの下方へ延び、負圧を前記開口へ伝達するパイプを有すること、
     を特徴とする請求項2乃至8の何れかに記載の電子部品載置ステージ。
  10.  前記板バネには、複数のスリットが穿設され、
     前記スリットは、板バネの中心から外側に向かって略同心円状に配列されていること、
     を特徴とする請求項2乃至10の何れかに記載の電子部品載置ステージ。
  11.  前記板バネの平面には、非円形穴が形成され、
     前記載置台の底面には、前記非円形穴と大きさ及び形状を合わせた非円形足が突出し、
     前記非円形足を前記非円形穴に挿入することで、前記載置台が前記板バネに対して回転不能に取り付けられること、
     を特徴とする請求項2乃至11の何れかに記載の電子部品載置ステージ。
  12.  請求項1乃至11の何れかに記載の電子部品載置ステージを移動させる移動機構を備え、
     前記載置台に載置された前記電子部品の位置を変更すること、
     を特徴とする電子部品の位置決め装置。
  13.  請求項1乃至11の何れかに記載の電子部品載置ステージを備え、
     前記載置台に載置された前記電子部品に対して工程処理を施すこと、
     を特徴とする電子部品の工程処理装置。
PCT/JP2012/051236 2012-01-20 2012-01-20 電子部品載置ステージ、位置決め装置、及び工程処理装置 Ceased WO2013108398A1 (ja)

Priority Applications (2)

Application Number Priority Date Filing Date Title
JP2013548646A JP5561750B2 (ja) 2012-01-20 2012-01-20 電子部品載置ステージ、位置決め装置、及び工程処理装置
PCT/JP2012/051236 WO2013108398A1 (ja) 2012-01-20 2012-01-20 電子部品載置ステージ、位置決め装置、及び工程処理装置

Applications Claiming Priority (1)

Application Number Priority Date Filing Date Title
PCT/JP2012/051236 WO2013108398A1 (ja) 2012-01-20 2012-01-20 電子部品載置ステージ、位置決め装置、及び工程処理装置

Publications (1)

Publication Number Publication Date
WO2013108398A1 true WO2013108398A1 (ja) 2013-07-25

Family

ID=48798844

Family Applications (1)

Application Number Title Priority Date Filing Date
PCT/JP2012/051236 Ceased WO2013108398A1 (ja) 2012-01-20 2012-01-20 電子部品載置ステージ、位置決め装置、及び工程処理装置

Country Status (2)

Country Link
JP (1) JP5561750B2 (ja)
WO (1) WO2013108398A1 (ja)

Cited By (5)

* Cited by examiner, † Cited by third party
Publication number Priority date Publication date Assignee Title
CN107378859A (zh) * 2017-07-13 2017-11-24 杭州盾牌链条有限公司 一种弯板销片装配装置
DE102017008869B3 (de) 2017-09-21 2018-10-25 Mühlbauer Gmbh & Co. Kg Bauteilzentrierung
DE102019125127A1 (de) * 2019-09-18 2021-03-18 Mühlbauer Gmbh & Co. Kg Bauteilhandhabung, Bauteilinspektion
WO2021052745A1 (de) 2019-09-18 2021-03-25 Muehlbauer GmbH & Co. KG Bauteilhandhabungsvorrichtung mit bauteilinspektionsvorrichtung
DE102021111953A1 (de) 2021-05-07 2022-11-10 Mühlbauer Gmbh & Co. Kg Optische Bauteilinspektion

Families Citing this family (1)

* Cited by examiner, † Cited by third party
Publication number Priority date Publication date Assignee Title
CN109454422A (zh) * 2016-12-26 2019-03-12 东莞市蓉工自动化科技有限公司 一种高精度插入的端子折弯插入机

Citations (5)

* Cited by examiner, † Cited by third party
Publication number Priority date Publication date Assignee Title
JPS61209829A (ja) * 1985-03-14 1986-09-18 Fujitsu Ltd 回転作業用装置
JPS61226285A (ja) * 1985-03-20 1986-10-08 富士通株式会社 支持装置
JPH03221310A (ja) * 1990-01-22 1991-09-30 Hitachi Electron Eng Co Ltd 電子部品のリード線切断装置
JP2000094243A (ja) * 1998-09-28 2000-04-04 Nissan Motor Co Ltd エンジン組立体の振れ止め装置
JP2003324633A (ja) * 2002-04-26 2003-11-14 Olympus Optical Co Ltd 撮像ユニット組立装置

Patent Citations (5)

* Cited by examiner, † Cited by third party
Publication number Priority date Publication date Assignee Title
JPS61209829A (ja) * 1985-03-14 1986-09-18 Fujitsu Ltd 回転作業用装置
JPS61226285A (ja) * 1985-03-20 1986-10-08 富士通株式会社 支持装置
JPH03221310A (ja) * 1990-01-22 1991-09-30 Hitachi Electron Eng Co Ltd 電子部品のリード線切断装置
JP2000094243A (ja) * 1998-09-28 2000-04-04 Nissan Motor Co Ltd エンジン組立体の振れ止め装置
JP2003324633A (ja) * 2002-04-26 2003-11-14 Olympus Optical Co Ltd 撮像ユニット組立装置

Cited By (11)

* Cited by examiner, † Cited by third party
Publication number Priority date Publication date Assignee Title
CN107378859A (zh) * 2017-07-13 2017-11-24 杭州盾牌链条有限公司 一种弯板销片装配装置
DE102017008869B3 (de) 2017-09-21 2018-10-25 Mühlbauer Gmbh & Co. Kg Bauteilzentrierung
WO2019057469A1 (de) 2017-09-21 2019-03-28 Muehlbauer GmbH & Co. KG Vorrichtung zur ausrichtung und optischen inspektion eines halbleiterbauteils
US11152243B2 (en) 2017-09-21 2021-10-19 Muehlbauer GmbH & Co. KG Device for aligning and optically inspecting a semiconductor component
DE102019125127A1 (de) * 2019-09-18 2021-03-18 Mühlbauer Gmbh & Co. Kg Bauteilhandhabung, Bauteilinspektion
WO2021052745A1 (de) 2019-09-18 2021-03-25 Muehlbauer GmbH & Co. KG Bauteilhandhabungsvorrichtung mit bauteilinspektionsvorrichtung
WO2021052756A1 (de) 2019-09-18 2021-03-25 Muehlbauer GmbH & Co. KG Bauteilhandhabung mit bauteilinspektion
US11856705B2 (en) 2019-09-18 2023-12-26 Muehlbauer GmbH & Co. KG Apparatus for handling components
DE102021111953A1 (de) 2021-05-07 2022-11-10 Mühlbauer Gmbh & Co. Kg Optische Bauteilinspektion
WO2022233521A1 (de) 2021-05-07 2022-11-10 Muehlbauer GmbH & Co. KG Optische bauteilinspektion
US12392729B2 (en) 2021-05-07 2025-08-19 Mb Automation Gmbh & Co. Kg Optical inspection of a component

Also Published As

Publication number Publication date
JPWO2013108398A1 (ja) 2015-05-11
JP5561750B2 (ja) 2014-07-30

Similar Documents

Publication Publication Date Title
JP5561750B2 (ja) 電子部品載置ステージ、位置決め装置、及び工程処理装置
JP2022172214A (ja) 接合方法及び接合装置
US10692833B2 (en) Apparatus for correcting a parallelism between a bonding head and a stage, and a chip bonder including the same
US8413322B2 (en) Component mounting apparatus, component mounting head, and component mounting method
KR102668030B1 (ko) 링 프레임의 유지 기구
CN107079619A (zh) 安装装置与测量方法
KR102104407B1 (ko) 표면 실장기의 부품 유지 헤드
JP5287741B2 (ja) 部品のマウンタ装置及び部品のマウント方法
JP4943297B2 (ja) 加圧搭載ヘッドの制御方法及び装置
JP5718601B2 (ja) ダイボンダ及び半導体製造方法
JP5043793B2 (ja) 自動装着装置
JP6148180B2 (ja) バックアップピンおよび基板処理装置
KR101520677B1 (ko) 이상 접촉 검출 방법, 전자 부품 유지 장치, 및 전자 부품 반송 장치
CN104185384B (zh) 安装部件的安装方法及安装装置
KR102138991B1 (ko) 코킹 지그, 및 그것을 사용하는 제조 방법
JP6440731B2 (ja) 電子的構成要素実装システム
JP5995047B2 (ja) 実装装置
JP6695040B2 (ja) 電子部品実装装置および部品吸着ノズル
KR102040944B1 (ko) 표면 실장기의 부품 유지 헤드, 이 부품 유지 헤드에서의 센서 위치 결정 방법, 센서 위치 결정 지그
JP4399863B2 (ja) 保持装置
JP6115617B2 (ja) 実装装置
JP2008135577A (ja) プリント基板保持装置
WO2007116527A1 (ja) Foupオープナのfoupドア位置決め装置
JP2010274359A (ja) 倣い機構
CN105472961B (zh) 表面贴装机的部件吸持头

Legal Events

Date Code Title Description
121 Ep: the epo has been informed by wipo that ep was designated in this application

Ref document number: 12865576

Country of ref document: EP

Kind code of ref document: A1

ENP Entry into the national phase

Ref document number: 2013548646

Country of ref document: JP

Kind code of ref document: A

NENP Non-entry into the national phase

Ref country code: DE

122 Ep: pct application non-entry in european phase

Ref document number: 12865576

Country of ref document: EP

Kind code of ref document: A1