WO2013018388A1 - コンテンツ情報提供装置 - Google Patents

コンテンツ情報提供装置 Download PDF

Info

Publication number
WO2013018388A1
WO2013018388A1 PCT/JP2012/054562 JP2012054562W WO2013018388A1 WO 2013018388 A1 WO2013018388 A1 WO 2013018388A1 JP 2012054562 W JP2012054562 W JP 2012054562W WO 2013018388 A1 WO2013018388 A1 WO 2013018388A1
Authority
WO
WIPO (PCT)
Prior art keywords
display
content information
time
information
counting
Prior art date
Legal status (The legal status is an assumption and is not a legal conclusion. Google has not performed a legal analysis and makes no representation as to the accuracy of the status listed.)
Ceased
Application number
PCT/JP2012/054562
Other languages
English (en)
French (fr)
Japanese (ja)
Inventor
成孝 岩崎
Current Assignee (The listed assignees may be inaccurate. Google has not performed a legal analysis and makes no representation or warranty as to the accuracy of the list.)
Rakuten Group Inc
Original Assignee
Rakuten Inc
Priority date (The priority date is an assumption and is not a legal conclusion. Google has not performed a legal analysis and makes no representation as to the accuracy of the date listed.)
Filing date
Publication date
Application filed by Rakuten Inc filed Critical Rakuten Inc
Priority to US14/235,263 priority Critical patent/US20140180828A1/en
Publication of WO2013018388A1 publication Critical patent/WO2013018388A1/ja
Anticipated expiration legal-status Critical
Ceased legal-status Critical Current

Links

Images

Classifications

    • GPHYSICS
    • G06COMPUTING OR CALCULATING; COUNTING
    • G06QINFORMATION AND COMMUNICATION TECHNOLOGY [ICT] SPECIALLY ADAPTED FOR ADMINISTRATIVE, COMMERCIAL, FINANCIAL, MANAGERIAL OR SUPERVISORY PURPOSES; SYSTEMS OR METHODS SPECIALLY ADAPTED FOR ADMINISTRATIVE, COMMERCIAL, FINANCIAL, MANAGERIAL OR SUPERVISORY PURPOSES, NOT OTHERWISE PROVIDED FOR
    • G06Q30/00Commerce
    • G06Q30/02Marketing; Price estimation or determination; Fundraising
    • G06Q30/0241Advertisements
    • G06Q30/0272Period of advertisement exposure
    • GPHYSICS
    • G06COMPUTING OR CALCULATING; COUNTING
    • G06QINFORMATION AND COMMUNICATION TECHNOLOGY [ICT] SPECIALLY ADAPTED FOR ADMINISTRATIVE, COMMERCIAL, FINANCIAL, MANAGERIAL OR SUPERVISORY PURPOSES; SYSTEMS OR METHODS SPECIALLY ADAPTED FOR ADMINISTRATIVE, COMMERCIAL, FINANCIAL, MANAGERIAL OR SUPERVISORY PURPOSES, NOT OTHERWISE PROVIDED FOR
    • G06Q30/00Commerce
    • G06Q30/02Marketing; Price estimation or determination; Fundraising
    • GPHYSICS
    • G06COMPUTING OR CALCULATING; COUNTING
    • G06QINFORMATION AND COMMUNICATION TECHNOLOGY [ICT] SPECIALLY ADAPTED FOR ADMINISTRATIVE, COMMERCIAL, FINANCIAL, MANAGERIAL OR SUPERVISORY PURPOSES; SYSTEMS OR METHODS SPECIALLY ADAPTED FOR ADMINISTRATIVE, COMMERCIAL, FINANCIAL, MANAGERIAL OR SUPERVISORY PURPOSES, NOT OTHERWISE PROVIDED FOR
    • G06Q30/00Commerce
    • G06Q30/06Buying, selling or leasing transactions

Definitions

  • the present invention relates to a technical field such as a system for providing a web page displaying content information to a terminal device via a network.
  • a system for providing a web page provided with a display area for posting content information for advertisement to a terminal device via a network is known.
  • an advertiser who wants to display content information for advertisement in the display area for example, pays an advertisement fee to a site operator, and only in the display area for a specified period according to the payment amount.
  • Content information for advertisement can be posted.
  • a publication period of advertisement information transmitted to a terminal is stored in an advertisement information distribution server.
  • the content information for advertisement is certainly posted during the designated period, the advertisement may not be seen by the user for the time desired by the advertiser.
  • the advertising content information that always follows the page operation is uncomfortable for the user and rather reduces the advertising effectiveness.
  • the present invention has been made in view of the above problems and the like, and the display time of the content information for the user is set to be longer than the time desired by the content information provider (for example, the advertiser). It is an object of the present invention to provide an information processing apparatus, an information processing method, an information processing program, and a recording medium on which the information processing program is recorded that can be controlled as close as possible to time.
  • the invention according to claim 1 is characterized in that the counting means for counting the display time in which the content information preset as the display time counting target is displayed in the display area of the display means, Display control means for continuously or intermittently displaying the content information in the display area until the display time counted by the counting means exceeds a preset time set for the content information. It is characterized by that.
  • the content information is transmitted from a server device in which a session is established with a terminal device including the display unit, and the information processing device
  • the apparatus further includes first integrating means for integrating the display time counted by the counting means across a plurality of the sessions, and the display control means is configured to integrate the display time accumulated by the first integrating means.
  • the content information is continuously or intermittently displayed in the display area until the set time is exceeded.
  • the display time in different sessions can be counted continuously.
  • the information processing device includes the display time counted by the counting unit from the terminal device including the display unit, and the terminal device.
  • Acquisition means for acquiring user identification information for identifying the user
  • second integration means for integrating the display time acquired by the acquisition means in association with the user identification information.
  • the display control means continuously or continuously displays the content information in the display area of the terminal device corresponding to the user identification information until the display time accumulated by the second accumulation means exceeds the set time. It is characterized by being displayed intermittently.
  • the present invention it is possible to control the time for viewing by many different users so as to be longer than the time desired by the content information provider or as close as possible to the time.
  • the user browses the content information during the set time compared with the display time accumulated by the second accumulation unit. It is characterized by being set more than the minimum necessary time.
  • the exposure time per user can be made longer than the display time in which the effect of browsing can be expected.
  • the information processing apparatus further includes a third integrating unit that integrates the display time counted by the counting unit with a plurality of users.
  • the display control means causes the content information to be displayed continuously or intermittently in the display area until the display time accumulated by the third accumulation means exceeds the set time. .
  • the present invention it is possible to determine whether or not a plurality of users have browsed the content information for more than the time desired by the provider.
  • a sixth aspect of the present invention is the information processing apparatus according to any one of the first to fifth aspects, wherein the content information is arranged on a web page displayed in the display area, and the display control means The display time counted by the counting means even when there is a user operation to move the content information out of the display area while the display of the web page is maintained. The content information is continuously or intermittently displayed in the display area until time is exceeded.
  • the content information is provided so as to be longer than or as close as possible to the time desired by the provider of the content information. Can be controlled.
  • the counting means is a time during which a user operation is not performed on the display area displaying the content information.
  • the display time is stopped when the value exceeds a preset count upper limit value.
  • the present invention after the web page is displayed, for example, when the user is left as it is, it is possible to prevent the display time from being wasted when the user is left as it is.
  • the count upper limit value is set based on an information amount of other content information displayed in the display area together with the content information. It is characterized by being.
  • the invention according to claim 9 is the information processing apparatus according to claim 5, wherein the third integration unit calculates each display time counted by the counting unit for each user of the terminal device including the display unit.
  • the counting means is displayed in the display area of the terminal device of the user exceeding the count upper limit value set in advance for each user accumulated by the third integrating means. The count of the display time of content information is stopped.
  • the present invention it is possible to prevent a part of users from consuming a large amount of time corresponding to the set time, and to allow more users to view the content information for a desired time, for example.
  • the counting means changes a display area in which the content information is displayed from an active state to an inactive state. In response, the display time counting is stopped.
  • the present invention it is possible to prevent the display time from being counted unnecessarily on the assumption that the web page in an inactive state is not viewed by the user.
  • the invention according to claim 11 is the information processing apparatus according to any one of claims 1 to 10, wherein the counting means is a scrolling speed of display content including the content information displayed in the display area. When the speed is equal to or lower than a predetermined speed, the display time is counted.
  • the present invention when the scroll speed is higher than the predetermined speed, it is possible to prevent the display time from being counted unnecessarily because it is regarded that the user has not browsed carefully.
  • the invention according to claim 12 is an information processing method executed by a computer, the step of counting the display time in which content information preset as a display time count target is displayed in the display area of the display means And displaying the content information continuously or intermittently in the display area until the counted display time exceeds a preset time set in advance for the content information.
  • an information processing program (computer-readable program) that counts a display time during which content information preset as a display time counting target is displayed in a display area of a display means. And a display for continuously or intermittently displaying the content information in the display area until the display time counted by the counting means exceeds a preset time set for the content information. It functions as a control means.
  • the invention of a recording medium for an information processing program includes a counting means for counting a display time in which content information preset as a display time counting target is displayed in a display area of the display means. And functioning as display control means for displaying the content information continuously or intermittently in the display area until the display time counted by the counting means exceeds a preset time set for the content information. It is a recording medium on which an information processing program to be recorded is recorded.
  • the present invention it is possible to control the display time of the content information for the user to be longer than the time desired by the content information provider or as close as possible to the time.
  • FIG. 6 is a flowchart illustrating an information providing process in a system control unit 4 of the information providing server SA in the first embodiment. It is a flowchart which shows the display process of the web page in the system control part 27 of the user terminal T1 in Example 1.
  • FIG. It is a figure which shows the example of a display of the web page displayed on the window screen.
  • 12 is a flowchart illustrating information providing processing in the system control unit 4 of the information providing server SA in the second embodiment.
  • 14 is a flowchart illustrating web page display processing in the system control unit 27 of the user terminal T1 according to the third embodiment.
  • 10 is a flowchart illustrating web page display processing according to the fourth embodiment.
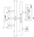
  • FIG. 1 is a diagram illustrating an example of a schematic configuration of the information providing system S according to the present embodiment.
  • the user terminal Tn and the information providing server SA are each connected to the network NW.
  • the network NW is constructed by, for example, the Internet, a dedicated communication line (for example, a CATV (Community Antenna Television) line), a mobile communication network (including a base station, etc.), a gateway, and the like.
  • the information providing server SA is a server (for example, a web server, a database server, etc.) installed to operate a shopping site, a travel reservation site, an accommodation reservation site, and the like.
  • FIG. 2 is a block diagram illustrating a schematic configuration example of the information providing server SA according to the present embodiment.
  • the information providing server SA includes a communication unit 1, a storage unit 2, an input / output interface unit 3, and a system control unit 4.
  • the system control unit 4 and the input / output interface unit 3 are connected via a system bus 5.
  • the communication unit 1 is connected to the network NW and controls the communication state with the user terminal Tn.
  • the storage unit 2 includes, for example, a hard disk drive and stores various programs such as an operating system and a server program (including all or part of the information processing program of the present invention).
  • the server program may be distributed from a predetermined server or the like via the network NW, or may be provided by being recorded on a recording medium such as a CD (Compact Disc) or a DVD (Digital Versatile Disc). You may make it.
  • the storage unit 2 stores a structured document (for example, an HTML (Hyper Text Markup Language) document, an XHTML document, etc.) file and an image file that constitute a web page for displaying various content information.
  • a structured document for example, an HTML (Hyper Text Markup Language) document, an XHTML document, etc.
  • an image file that constitute a web page for displaying various content information.
  • Each piece of content information arranged on the web page is composed of, for example, at least one of text, a still image, and a moving image.
  • Examples of content information include, for example, content information including product information provided as a commercial transaction by a product seller, content information for advertisement including advertisement information provided as an advertising target by an advertiser, and the like. It is done.
  • the content information for advertisement is arranged (published) on the web page by the advertiser paying an advertisement fee to the site operator, for example.
  • the advertiser is in an agreement with the publisher, as long as the display time of content information (in other words, the exposure time) is longer than the desired time or as close as possible to the desired time. Guaranteed.
  • the site operator can preset content information for which such display is guaranteed as a display time count target. Further, content information that the site operator wants to prioritize display can be set in advance as a display time count target.
  • the content information set as the display time count target is configured to count the display time displayed in the display area of the display unit (an example of display means) of the user terminal Tn, for example.
  • the content information set as the display time count target is hereinafter referred to as “time count target content information”. Note that the content information is described, for example, as an element grouped for each content information by a div tag ( ⁇ div>... ⁇ / Div>) in a structured document constituting a web page.
  • FIG. 3 is a diagram illustrating an example of contents (items) registered in various databases.
  • the user ID, login ID, password, nickname, name, address, telephone number, mail address, etc. of the registered user are associated with each user. Registered.
  • the user ID is user identification information for identifying the user.
  • the login ID and password are authentication information used for login processing (user authentication processing).
  • the content ID of the content information subject to time counting, the URL (Uniform Resource Locator) of the web page, the display integrated value, the display guarantee setting value, and the like are registered in association with each content information.
  • the content ID is content identification information for identifying content information.
  • the content ID is described, for example, as an id attribute in a div tag ( ⁇ div>... ⁇ / Div>) that defines content information in the structured document that configures the web page.
  • the URL of the web page is the URL of the web page where the content information subject to time counting is arranged.
  • the display integrated value is a value obtained by integrating the display time counted when the content information subject to time counting is displayed in the display area of the display unit.
  • the display integrated value is a value integrated by a plurality of users (hereinafter referred to as “total display”).
  • total display referred to as “integrated value”.
  • the total display integrated value is a value obtained by integrating the display times counted for each user of the user terminal Tn.
  • the display time counted for each user is differentiated and accumulated for each user (that is, the counted display time is accumulated in association with the user ID), and the user accumulated display value is associated with the user ID for each user.
  • the content information database 2b may be registered.
  • the display guarantee setting value is a set time that is set in advance (in association with) content information that is subject to time counting.
  • the display guarantee setting value is negotiated between the site operator and the advertiser, for example.
  • the content information subject to time counting can be specified (identified) by a web browser from a structured document constituting the web page.
  • the number system of content IDs of content information subject to time counting is set to be different from the number system of content IDs of content information not subject to time counting.
  • you may comprise so that the value which characterizes the said content information may be prescribed
  • the input / output interface unit 3 performs interface processing between the communication unit 1 and the storage unit 2 and the system control unit 4.
  • the system control unit 4 includes a CPU (Central Processing Unit) 4a, a ROM (Read Only Memory) 4b, a RAM (Random Access Memory) 4c, and the like. And the system control part 4 as a computer performs various processes according to the request from the user terminal Tn by running a server program. For example, in response to a page request from the user terminal Tn, the system control unit 4 transmits a structured document file of a web page to the user terminal Tn via the network NW, and displays the web page.
  • the system control unit 4 functions alone or together with the user terminal Tn system control unit 27 as a counting unit, a display control unit, an acquisition unit, a second integration unit, a third integration unit, and the like in the present invention. Execute.
  • FIG. 4 is a block diagram showing a schematic configuration example of the user terminal Tn according to the present embodiment.
  • the user terminal Tn includes an operation unit 21, a display unit 22, a communication unit 23, a drive unit 24, a storage unit 25, an input / output interface unit 26, a system control unit 27, It has.
  • the system control unit 27 and the input / output interface unit 26 are connected via a system bus 28.
  • Examples of the user terminal Tn include, for example, a personal computer (PC), a mobile phone, a personal digital assistant (PDA), a mobile terminal (Smartphone) that combines a mobile phone and a mobile information terminal, a mobile game machine, and the like Is applicable.
  • PC personal computer
  • PDA personal digital assistant
  • Smartphone Smartphone
  • Examples of the operation unit 21 include a keyboard, a mouse, a remote controller, and a touch panel interface.
  • an operation signal corresponding to the operation is output to the system control unit 27.
  • the display unit 22 includes a display for displaying various information.
  • the communication unit 23 is connected to the network NW and controls the communication state with the information providing server SA and the like.
  • the drive unit 24 reads data from a disc DK (recording medium) such as a CD (Compact Disc) or a DVD (Digital Versatile Disc), and records data on the disc DK.
  • the storage unit 25 includes, for example, a hard disk drive and stores an operating system (O / S), a web browser program, an application program (including all or part of the information processing program of the present invention), and the like.
  • the system control unit 27 includes a CPU 27a, a ROM 27b, a RAM 27c, and the like. And the system control part 27 as a computer starts a web browser by running a web browser program, and performs various processes according to operation of the operation part 21 by a user (henceforth "user operation"). It has become. For example, when the system control unit 27 makes a page request to the information providing server SA and receives a structured document file of a web page from the information providing server SA, the system control unit 27 displays the web page on the display unit 22 on the window screen. Display in the display area.
  • the system control unit 27 functions alone or together with the system control unit 4 of the information providing server SA as a counting unit, a display control unit, an acquisition unit, a first integration unit, and the like in the present invention, and executes processing to be described later. .
  • At least one of the system control unit 27 and the system control unit 4 functioning as the counting unit and the display control unit in the present invention counts the display time during which the content information subject to time counting is displayed in the display area. Control is performed so that the content information is continuously or intermittently displayed in the display area until the counted display time exceeds the display guarantee setting value set for the content information subject to time counting. It has become.
  • content information subject to time counting is temporarily displayed outside the display area by scrolling (ie, once disappeared from the display area) and then displayed again in the display area. Is applicable.
  • the window screen (web browser window screen) having a display area in which content information subject to time counting is displayed is closed by, for example, the end of the session, and then a new session is started.
  • displaying content information continuously or intermittently in the display area is hereinafter referred to as “continuous display”.
  • This continuous display is turned on or off by the information providing server SA in the structured document constituting the web page including the content information subject to time counting.
  • FIG. 5 is a flowchart illustrating information providing processing in the system control unit 4 of the information providing server SA according to the first embodiment.
  • FIG. 6 is a flowchart illustrating web page display processing in the system control unit 27 of the user terminal T1 according to the first embodiment.
  • the total display integrated value obtained by integrating the display time count values of the content information subject to time count by a plurality of users exceeds the display guarantee setting value set for the entire user. This is an operation for continuously displaying content information.
  • the process shown in FIG. 5A is a page request (HTTP request) transmitted by the web browser from the user terminal T1 with which a session has been established with the information providing server SA, and is a content to be counted in time.
  • HTTP request a page request
  • This is started when there is a request for a web page on which information is arranged, and the content ID of the content information to be counted is specified.
  • the content ID of each piece of content information is specified, and the processing shown in steps S1 to S5 in FIG. It will be done for each information. It is assumed that both the case where the user of the user terminal T1 is logged in and the case where the user is not logged in by the login process of the information providing server SA before receiving this page request.
  • the system control unit 4 obtains the total display integrated value associated with the identified content ID and the display guarantee setting value set for the entire user. It is acquired from the content information database 2b, and whether or not the acquired total display integrated value (that is, the total count value of the display time of the content information subject to time counting) exceeds the acquired display guarantee setting value. Determine (step S1). When the system control unit 4 determines that the total display integrated value exceeds the display guarantee set value (step S1: YES), the system control unit 4 proceeds to step S5. On the other hand, if the system control unit 4 determines that the total display integrated value does not exceed the display guarantee set value (step S1: NO), the system control unit 4 proceeds to step S2.
  • step S2 the system control unit 4 determines whether or not the user of the user terminal T1 is logging in. If the system control unit 4 determines that the user of the user terminal T1 is logged in (the user ID of the user is specified) (step S2: YES), the system control unit 4 proceeds to step S3. On the other hand, if the system control unit 4 determines that the user of the user terminal T1 is not logged in (step S2: NO), the system control unit 4 proceeds to step S4.
  • step S3 the system control unit 4 acquires the display integrated value of the user associated with the identified content ID and associated with the user ID of the user of the user terminal T1 from the content information database 2b. It is determined whether or not the acquired display integrated value of the user exceeds a count upper limit value set in advance (for example, default setting in the structured document constituting the requested web page).
  • the count upper limit value means the upper limit of the display integrated value per user that allows the total display integrated value to be integrated. For example, when the content information is to be browsed for a total of 100 hours (display guarantee setting value) for a plurality of people, 30 minutes per user is set as the upper limit value of the display time of the content information.
  • the count upper limit value is individually set for each content information subject to time counting, for example.
  • step S3: NO If the system control unit 4 determines that the user's integrated display value does not exceed the count upper limit value (step S3: NO), the system control unit 4 proceeds to step S4. On the other hand, if the system control unit 4 determines that the display integrated value of the user exceeds the count upper limit value (step S3: YES), the system control unit 4 proceeds to step S5.
  • step S4 the system control unit 4 performs control so that the continuous display setting defined in the structured document constituting the requested web page is turned on.
  • step S5 the system control unit 4 performs control so that the continuous display setting defined in the structured document constituting the requested web page is turned off. That is, when the total display integrated value exceeds the display guarantee set value, or when the display integrated value of the user of the user terminal T1 exceeds the count upper limit value, the content displayed in the display area of the user terminal T1 of the user The count of the information display time is stopped.
  • the continuous display setting is set to off (or on) as a default in the structured document constituting the requested web page, and the setting is turned off according to the determination result of step S1 or S3. Alternatively, the setting may be changed to ON. Further, when a plurality of pieces of content information subject to time counting are arranged on the web page, the continuous display setting corresponding to each piece of content information is turned on or off.
  • the system control unit 4 transmits the structured document file of the web page on which the count upper limit value is set and the continuous display setting are made as a response to the user terminal T1 that has transmitted the request (step S6), and performs the processing. finish.
  • the system control unit 27 determines whether or not the content information subject to time counting is displayed in the display area of the window screen (step S11). In this determination, for example, it is determined whether or not the id defined by the div tag that defines the content information displayed in the display area of the window screen has the number system of the content ID of the content information to be time counted. Is done. Alternatively, it is performed by determining whether or not a value that characterizes the time count is defined in the div tag that defines the content information. If the system control unit 27 determines that the time count target content information is not displayed in the display area of the window screen (step S11: NO), the system control unit 27 proceeds to step S12.
  • FIG. 7A is a diagram showing a display example of the web page displayed on the window screen.
  • content information of images a to c, content information of text x and text y, content information 61 of moving images, and the like are arranged on the web page.
  • the content information 51 of the image a is content information to be time counted.
  • the system control unit 27 displays the time count target content information in the display area of the window screen (for example, the time count target content information is included in the plurality of displayed content information items). ) (Step S11: YES), specify the content information (for example, specify the content information defined by the div tag (data surrounded by ⁇ div> and ⁇ / div>)), Proceed to step S16.
  • step S12 the system control unit 27 determines whether or not there is a user operation. Then, when there is a user operation (step S12: YES), the system control unit 27 executes a process according to the user operation (step S13). For example, when the user operation is a scroll operation for scrolling the display content including the content information displayed in the display area of the window screen, the display content is scrolled (in other words, the web page according to the scroll operation). Scroll processing is performed.
  • User operations other than the scroll operation include a sort operation and a page transition operation (screen transition operation).
  • the page transition operation is an operation for transitioning a page of display content including content information arranged on a web page displayed on the window screen to a page including other display content.
  • a specific example of the page transition operation is that the user clicks an image or a character string with a link displayed on the window screen with a mouse.
  • the sort operation is an operation for updating the arrangement of content information in a partial display area of a web page displayed on the window screen (for example, changing the arrangement order of a plurality of content information displayed in a list).
  • Ajax is used, and the entire web page is refreshed (the user terminal T1 is reloaded from the information providing server SA).
  • a specific example of the sorting operation is that the user clicks a button or the like displayed on a web page (for example, a portion with a link “price is cheap”) with a mouse.
  • the system control unit 27 determines whether or not to end the display processing of the web page as a result of the user operation (step S14). For example, when the user performs a page end operation (for example, when the “close” button of the web browser is clicked with the mouse), it is determined that the display process of the web page is to be ended. If it is determined that the web page display process is to be terminated (step S14: YES), the web page display process is terminated. On the other hand, when it is determined not to end the display process of the web page (step S14: NO), the process proceeds to step S15.
  • a page end operation for example, when the “close” button of the web browser is clicked with the mouse
  • step S15 the system control unit 27 determines whether or not the content information subject to time counting is displayed in the display area of the window screen. If the system control unit 27 determines that the time count target content information is not displayed in the display area of the window screen (step S15: NO), the system control unit 27 returns to step S12. On the other hand, if the system control unit 27 determines that the time count target content information is displayed in the display area of the window screen (step S15: YES), the system control unit 27 specifies the content information and proceeds to step S16. .
  • step S16 the system control unit 27 initializes (that is, sets to “0”) the count value of the content information subject to time counting (eg, stored in a predetermined storage area of the RAM 27c), and the content subject to time counting. Start counting information display time. As a result, the count value of the content information subject to time counting is incremented with the passage of time (the count value corresponds to the elapsed time).
  • the system control unit 27 transmits count information indicating the count value of the content information subject to time counting and the content ID of the content information to the information providing server SA (step S18), initializes the count value, and Restart counting information display time. Then, the system control unit 27 proceeds to step S19.
  • the count information indicating the count value counted after the previous transmission is transmitted to the information providing server SA at a constant cycle.
  • the user ID of the user may be added to the count information.
  • step S31 the system control unit 4 of the information providing server SA receives the count information and the content ID transmitted from the user terminal T1, it starts the process shown in FIG. 5B, and the user of the user terminal T1 is logged in. It is determined whether or not (step S31). If the system control unit 4 determines that the user of the user terminal T1 is logged in (step S31: YES), the system control unit 4 proceeds to step S32. On the other hand, if the system control unit 4 determines that the user of the user terminal T1 is not logged in (step S31: NO), the system control unit 4 proceeds to step S33.
  • step S ⁇ b> 32 the system control unit 4 indicates the received count information in the display integrated value of the user associated with the received content ID and associated with the user ID of the user of the user terminal T ⁇ b> 1.
  • the count value is integrated (updated and registered in the content information database 2b), and the process proceeds to step S33.
  • This process can also be called a process in which the system control unit 4 counts the display time of the content information associated with the content ID.
  • step S33 the system control unit 4 integrates (updates and registers in the content information database 2b) the count value indicated by the received count information to the total display integrated value associated with the received content ID. The process proceeds to step S34.
  • step S34 the system control unit 4 determines whether or not the total display integrated value obtained by integrating the count value in step S33 exceeds the display guarantee setting value associated with the received content ID. To do. When the system control unit 4 determines that the total display integrated value exceeds the display guarantee setting value (step S34: YES), the system control unit 4 proceeds to step S36. On the other hand, if the system control unit 4 determines that the total display integrated value does not exceed the display guarantee setting value (step S34: NO), the system control unit 4 proceeds to step S35.
  • step S35 the system control unit 4 determines whether the display integrated value of the user in which the count value is integrated in step S32 exceeds the count upper limit value per person of the content information corresponding to the received content ID. Determine whether or not. If the system control unit 4 determines that the display integrated value of the user does not exceed the count upper limit value (step S35: NO), the process ends. On the other hand, if the system control unit 4 determines that the display integrated value of the user exceeds the count upper limit value (step S35: YES), the system control unit 4 proceeds to step S36.
  • step S36 the system control unit 4 transmits the continuous display setting off command information and the received content ID to the user terminal T1 that transmitted the count information, and ends the process.
  • the continuous display setting off command information indicates a command to turn off the continuous display setting of the content information corresponding to the received content ID.
  • step S19 the system control unit 27 determines whether or not the continuous display setting off command information and the content ID are received from the information providing server SA. If the system control unit 27 determines that the continuous display setting off command information has been received from the information providing server SA (step S19: YES), the display of the content information corresponding to the received content ID is counted. Is stopped (step S20), and the continuous display setting of the content information is turned off (step S21). Thus, the normal display process is performed. On the other hand, if the system control unit 27 determines that the continuous display setting off command information has not been received from the information providing server SA (step S19: NO), the system control unit 27 proceeds to step S22.
  • step S22 the system control unit 27 determines whether there is a user operation. If there is no user operation (step S22: NO), the system control unit 27 returns to step S18 and repeats the above processing. On the other hand, when there is a user operation (step S22: YES), the system control unit 27 is in a state where the display of the web page is maintained (that is, the page is not ended or the page is not transitioned). B) It is determined whether or not the user information is intended to cause the content information subject to time counting to transition outside the display area (step S23). Examples of user operations that attempt to make this content information transition outside the display area include scroll operations and sort operations.
  • step S23: NO If the system control unit 27 determines that the user operation is not a user operation for shifting the content information to be counted outside the display area (step S23: NO), the system control unit 27 proceeds to step S24. On the other hand, if the system control unit 27 determines that the user operation is a user operation for shifting the content information to be counted outside the display area (step S23: YES), the system control unit 27 proceeds to step S28.
  • step S24 the system control unit 27 executes a process according to the user operation.
  • the system control unit 27 determines whether or not to end the display process of the web page as a result of the user operation (step S25). If the system control unit 27 determines to end the display process of the web page (step S25: YES), the system control unit 27 stops counting the display time of the content information (step S26), and the count value of the content information And the content ID of the content information are transmitted to the information providing server SA (step S27).
  • the information providing server SA executes the process shown in FIG.
  • the process returns to step S18.
  • step S28 the system control unit 27 executes continuous display processing of content information to be time counted.
  • the continuous display process is defined by, for example, a script (for example, by JavaScript (registered trademark)) described in a structured document constituting a web page.
  • a script for example, by JavaScript (registered trademark)
  • JavaScript registered trademark
  • the system control unit 27 displays the content information to be counted for the time counted outside the display region and the display region after the stop of scrolling (after the scroll operation). Display of content information subject to time counting by replacing other content information (for example, replacing both pieces of content information defined by the div tag (data enclosed by ⁇ div> and ⁇ / div>)) Continue after scrolling stops. In this case, during the scrolling of the web page (during the scroll operation by the user), the continuous display process of the content information subject to time counting is not performed.
  • FIG. 7B is a diagram showing a display example when the scroll of the web page scrolled from the display state shown in FIG. 7A is stopped.
  • the content information 51 subject to time counting is replaced with the content information of the image c and displayed.
  • the display area for example, the content with the lowest display priority (or display priority) among these candidates It is determined that information is to be replaced.
  • display priority is set for each piece of content information. This display priority indicates the priority in displaying the content information in the display area.
  • the display priority is represented by a numerical value, for example, and the display priority becomes higher as the numerical value is smaller (or larger).
  • the display priority order indicates a priority order for displaying the content information in the display area.
  • the display priority or the display priority order is registered in the content information database 2b in association with each content ID, for example, and is described in the structured document of the web page.
  • the content information to be time-counted may be continuously displayed while the web page is being scrolled (during the scroll operation by the user).
  • the system control unit 27 performs content counting for the time count and content information displayed in the display area during the scrolling during the scrolling of the web page (during the scrolling operation by the user).
  • the display of the content information subject to time counting is continued even while scrolling.
  • “every predetermined time” may be, for example, every time content information subject to time counting transitions outside the display area.
  • the system control unit 27 may be configured to insert the content information subject to time counting before or after other content information.
  • empty div tags for example, ⁇ div> to ⁇ div> are defined in advance between div tags (data surrounded by ⁇ div> and ⁇ / div>) that define content information in a structured document of a web page. / div> is empty).
  • the system control unit 27 duplicates the content information to be counted. For example, the content information (data surrounded by ⁇ div> and ⁇ / div>) defined by the div tag is copied from a structured document that forms a web page.
  • FIG. 7C is a diagram illustrating a display example of a web page being scrolled from the display state illustrated in FIG.
  • the content information 52 that is a copy of the content information 51 to be counted is re-displayed by being inserted after the content information of the image e.
  • the div tag (data enclosed by ⁇ div> and ⁇ / div>) that specifies the duplicated content information can be placed at any position in the DOM (Document Object Model) tree that can be extracted from the structured document of the web page.
  • a copy of the content information subject to time counting may be inserted by adding it as an element (for example, by adding the appendChild () method defined in the script).
  • the total display integrated value obtained by integrating the display time count values of the content information subject to time counting by a plurality of users is the display guarantee setting value (for the entire user). Since the content information is continuously or intermittently displayed in the display area of the window screen until it exceeds the set display guarantee setting value), the content information for the user without causing discomfort to the user
  • the display time can be controlled to be longer than the time desired by the content information provider or as close as possible to the time.
  • the advertiser can expect an advertising effect corresponding to the paid advertising fee more than ever.
  • the site operator can accurately grasp the time when the content information is displayed for the plurality of users as a whole.
  • FIG. 8 is a flowchart illustrating information providing processing in the system control unit 4 of the information providing server SA according to the second embodiment.
  • the process shown in FIG. 6 applied in the first embodiment is also applied.
  • the second embodiment is an operation of continuously displaying the content information until the display integrated value of the user obtained by distinguishing and integrating the display time count value of the content information to be time counted exceeds the display guarantee set value. .
  • the process shown in FIG. 8A is a web page in which content information subject to time counting is arranged from the user terminal T1 in which a session is established with the information providing server SA, as in the process shown in FIG. Triggered when there is a request.
  • the system control unit 4 determines whether or not the user of the user terminal T1 is logged in (step S41). Then, when the user of the user terminal T1 is logging in (step S41: YES), the system control unit 4 proceeds to step S42. On the other hand, if the system control unit 4 determines that the user of the user terminal T1 is not logged in (step S42: NO), the system control unit 4 proceeds to step S45.
  • step S42 the system control unit 4 associates the display guarantee setting value (display guarantee setting value set for each user) associated with the identified content ID with the identified content ID, And the display integrated value of the user matched with the user ID of the user of the user terminal T1 is acquired from the content information database 2b. Then, the system control unit 4 determines whether or not the acquired display integrated value of the user exceeds the acquired display guarantee setting value.
  • the display guarantee setting value is compared with the display integrated value of each user, but may be set to the same value for each user or may be set to a different value for each user.
  • the display guarantee setting value is set to be equal to or longer than the minimum time required for the user (per user) to browse the content information (hereinafter referred to as “display guarantee setting lower limit (minimum value)”). It is desirable.
  • the display guarantee setting lower limit value is set based on the display time of the converted user, for example.
  • the “display time of the converted user” is, for example, “the display time from when the content information is displayed in the display area until the user clicks the content information (for example, the average value of the display time by a plurality of users, the minimum Value or maximum value). More preferably, the “display time of the converted user” is, for example, “from the display of the content information to the user who has purchased the product etc.
  • the display time is a display guarantee setting lower limit value
  • the exposure time per user can be set to be longer than the display time in which an effect (for example, advertisement effect) can be expected.
  • the time from the display of the content information until the user clicks the content information in the user who has purchased the product etc. via the content information by displaying the content information is a display guarantee setting lower limit
  • step S42 determines that the display integrated value of the user does not exceed the display guarantee setting value
  • step S43 determines that the display integrated value of the user exceeds the display guarantee set value
  • step S44 proceeds to step S44. Note that the processing in steps S43 to S45 is the same as the processing in steps S4 to S6 shown in FIG.
  • the user terminal T1 that has received the structured document file of the web page transmitted from the information providing server SA performs the process shown in FIG. 6 when the user of the user terminal T1 is logged in. If the user of the user terminal T1 is not logged in, normal display processing is executed.
  • the system control unit 4 of the information providing server SA receives, for example, the count information and the content ID transmitted from the user terminal T1 by the process of step S18 shown in FIG. 6, the process shown in FIG. 8B is started. To do.
  • step 51 shown in FIG. 8B the system control unit 4 sets the above-described display integrated value of the user associated with the received content ID and associated with the user ID of the user of the user terminal T1. The count value indicated by the received count information is integrated.
  • the system control unit 4 determines whether or not the display integrated value of the user in which the count value is integrated in step S51 exceeds the display guarantee setting value associated with the received content ID. If the system control unit 4 determines that the display integrated value of the user exceeds the display guarantee setting value (step S52: YES), the continuous display setting off command information is transmitted to the user terminal T1 that has transmitted the count information. Then, the received content ID is transmitted (step S53), and the process ends. On the other hand, when the system control unit 4 determines that the display integrated value of the user does not exceed the display guarantee setting value (step S52: NO), the process ends.
  • FIG. 9 is a flowchart illustrating web page display processing in the system control unit 27 of the user terminal T1 according to the third embodiment.
  • the processing shown in FIG. 9 can be executed by installing the information processing program of the present invention on the user terminal T1 as, for example, plug-in software of a web browser (the user terminal T1 functions as the information processing apparatus of the present invention). ).
  • the processing illustrated in FIG. 9 may be configured to be defined by a script described in a structured document that configures a web page.
  • the third embodiment is an operation when the user terminal T1 determines whether or not the count value of the display time of the content information exceeds the display guarantee setting value.
  • the continuous display setting is turned on as a default, and the content to be time-counted arranged on the web page A display guarantee setting value is described in association with the content ID of the information.
  • the process shown in FIG. 9 is started when the user terminal T1 having a session established with the information providing server SA receives a structured document file or the like of a web page transmitted from the information providing server SA. A web page is displayed on the window screen. Note that the processing in steps S61 to S65 is the same as the processing in steps S11 to S15 shown in FIG.
  • step S16 the system control unit 27 uses the content ID or the like of the content information that is determined to be displayed in step S61 as a key, and the display integrated value of the user of the user terminal T1 is, for example, a web browser It is determined whether or not a predetermined storage area of the referenceable storage unit 25 is stored in association with the content ID or the like.
  • the display integrated value and content ID of the user are stored in a storage area secured at the time of installation.
  • the display integrated value and content ID of the user are issued (generated) by the information providing server SA at the end of the previous display process, for example, and stored in a predetermined area of the storage unit 25 of the user terminal T1. You may comprise so that it may be contained in information.
  • step S66 determines that the display integrated value of the user of the user terminal T1 is not stored (step S66: NO)
  • the system control unit 27 initializes the count value of the content information subject to time counting (step S67). ), And starts counting the display time of the content information to be counted (starting from 0) (step S69).
  • step S66 when it is determined that the display integrated value of the user of the user terminal T1 is stored (step S66: YES), the system control unit 27 sets the initial counter value to the display integrated value (step S68), The display of the display time of the content information to be counted is started (starts counting from the display integrated value (for example, 20 minutes)) (step S69). Thereby, the display time to be counted is integrated over a plurality of sessions. Therefore, it is possible to continuously count display times in different sessions, and as a result, it is possible to determine in step S70 using a fixed display guarantee setting value.
  • step S70 determines whether or not the display time count value of the content information to be time counted exceeds the display guarantee setting value. In the case of passing through step S68, it is determined whether or not the count value accumulated across the sessions exceeds the display guarantee setting value. If the system control unit 27 determines that the count value of the display time exceeds the display guarantee setting value (step S70: YES), the system control unit 27 proceeds to step S71. On the other hand, when the system control unit 27 determines that the display time count value does not exceed the display guarantee setting value (step S70: NO), the system control unit 27 proceeds to step S73.
  • steps S71 to S77 and S79 are the same as the processes in steps S20 to S26 and S28 shown in FIG.
  • step S78 the system control unit 27 stores the count value counted from the start of counting as the display integrated value of the user, together with the content ID of the content information subject to time counting, etc. (the URL of the web page may be added).
  • the data is stored in a predetermined storage area of the unit 25.
  • the system control unit 27 transmits the display integrated value of the user, the content ID, etc. to the information providing server SA, and issues cookie information including the display integrated value of the user, the content ID, etc. Information may be received from the information providing server SA and stored.
  • the user terminal T1 is configured to determine whether or not the count value of the display time of the content information exceeds the display guarantee setting value.
  • the processing load on the information providing server SA side can be further reduced.
  • FIG. 10 is a flowchart illustrating web page display processing according to the fourth embodiment.
  • the process shown in FIG. 10 may be configured to be performed by either the user terminal T1 or the information providing server SA.
  • the display priority (or display priority) and the display guarantee setting value are set for each piece of content information arranged on the web page.
  • the display priority of the content information A is “first” and the display priority of the content information B is “
  • the display priority of content information C is set as “second” and “third”.
  • the display priority relationship is “A> B> C”.
  • the display guarantee setting value of the content information A is “15 seconds”
  • the display guarantee setting value of the content information B is “10 seconds”
  • the display guarantee setting value of the content information C is “5 seconds”.
  • the content information having a higher display priority is set to have a larger (longer) display guarantee setting value.
  • the content guarantee having a higher display priority is set to increase the display guarantee setting value. It is not necessary to set.
  • the content ID of each time count target content information includes Display priorities are associated and registered. However, when only one piece of content information subject to time counting is arranged on the web page, there is no need to set the display priority of this content information.
  • the system control unit 27 of the user terminal T1 performs the process shown in FIG.
  • the structured document file of the web page transmitted from the information providing server SA to the user terminal T1 is displayed in association with the content ID of each piece of content information to be counted on the web page.
  • the guarantee setting value and the display priority are described.
  • the process shown in FIG. 10 is performed when the system control unit 27 determines that the time count target content information is displayed in the display area of the window screen on which the web page is displayed on the user terminal T1. Be started.
  • the system control unit 27 specifies the content information to be time counted displayed in the display area of the window screen (step S81).
  • the system control unit 27 obtains the display guarantee setting value (that is, the display guarantee setting value associated with the content ID) of the specified content information to be counted from the structured document of the web page (step) S82).
  • the system control unit 27 sets the display priority of each piece of content information (that is, the display priority associated with the content ID) to the web. Obtained from the page's structured document.
  • the system control unit 27 initializes the count value of the content information subject to time counting and starts counting the display time of the content information subject to time counting (step S83).
  • the display time of each piece of content information is counted.
  • step S84 determines whether or not a user operation that attempts to make content information subject to time counting transition outside the display area is detected. If the system control unit 27 has not detected an operation for shifting content information to be counted outside the display area (step S84: NO), the system control unit 27 proceeds to step S87. In the other processing shown in step S87, for example, processing according to other user operations is performed, but detailed description is omitted.
  • step S84 when the system control unit 27 detects a user operation for shifting the content information to be counted outside the display area (step S84: YES), the system control unit 27 proceeds to step S85.
  • step S85 the system control unit 27 determines whether the count value of the content information display time to be counted exceeds the display guarantee setting value of the content information.
  • the system control unit 27 determines that the display time count value for each piece of content information exceeds the display guarantee setting value for each piece of content information. It is determined whether or not.
  • the display guarantee setting is set for the content information B and C. Since it is determined that the value has been exceeded, it is excluded from the following continuous display processing.
  • step S86 the system control unit 27 executes the continuous display process for the content information whose display time count value does not exceed the display guarantee setting value according to the determination in step S85 (step S86).
  • this continuous display process as in the continuous display process of step S28 shown in FIG. 6, a process of continuously or intermittently displaying the content information in the display area is performed, but the count value of the display time is displayed.
  • the continuous display process is performed based on the display priority (may be display priority) of each piece of content information acquired in step S82.
  • the system control unit 27 replaces the content information A and the content information C displayed in the display area (that is, the display of the content information A is continued by replacing the content information C with the lowest display priority).
  • the system control unit 27 first redisplays the content information A whose display priority is “1st place” (for example, by insertion described later), and then the content information B whose display priority is “2nd place”. Is then displayed again, and the content information C with the display priority “3rd” is displayed again last.
  • the system control unit 4 of the information providing server SA performs the process shown in FIG. 10 will be described.
  • the web page provided to the user terminal T1 from the information providing server SA (the web page on which the time count target content information is arranged) is displayed on the window screen of the user terminal T1
  • the information is transmitted from the user terminal T1.
  • coordinate information for example, coordinate information of web pages corresponding to the positions of the four corners of the window screen
  • the transmission of the coordinate information is also performed while the web page is scrolled by the scroll operation.
  • the system control unit 4 of the information providing server SA can determine which range of the web page is currently displayed. Then, the process shown in FIG.
  • the system control unit 4 determines by the system control unit 4 when the content information subject to time counting is displayed in the display area of the window screen on which the web page is displayed on the user terminal T1 (the coordinate information is added to the coordinate information). Is started).
  • the system control unit 4 specifies the content information to be counted for time displayed in the display area of the window screen (step S81).
  • the system control unit 4 acquires the display guarantee setting value (that is, the display guarantee setting value associated with the content ID) of the specified content information to be counted from the content information database 2b (step S82).
  • the system control unit 4 sets the display priority of each piece of content information (that is, the display priority associated with the content ID) to the content information. Obtained from the database 2b.
  • the system control part 4 performs the process of step S84 and S85 similarly to the system control part 27.
  • FIG. In the continuous display process shown in step S86 the system control unit 4 continues the continuous or intermittent display of the content information whose display time count value does not exceed the display guarantee set value, based on the determination in step S85.
  • Execution command information to be transmitted The user terminal T1 that has received the execution command information performs the above-described continuous display process on the content information that does not exceed the display guarantee setting value.
  • the display order of information of each content is included in the execution command information. Thereby, in the user terminal T1, a continuous display process is performed based on the display priority order of each content information.
  • the time counting subject is based on the display priority (or display priority).
  • the content information can be continuously displayed effectively.
  • the display time of content information to be given priority to display on the web page for a user who has not logged in is set to be longer than the time desired by the content information provider or as close as possible to the time. Can be controlled.
  • the system control unit 27 performs a user operation on the display area of the window screen displaying the content information after the start of counting the display time of the content information to be time counted. It is determined whether or not the time that is not performed exceeds a preset count upper limit value, and when the count upper limit value is exceeded, the display of the display time of content information subject to time counting is stopped. May be. According to such a configuration, after the web page is displayed, for example, when the user is left as it is, the display time is counted wastefully during the time when the user is left (that is, the time when the user is not browsing). Can be prevented.
  • the count upper limit value may be set based on, for example, the information amount (volume) of other content information displayed in the display area together with the content information subject to time counting.
  • a count upper limit value corresponding to a moving image time length (total reproduction time), text information amount, and the like is set. Is set.
  • the time length “10 minutes” of the moving image is included because it is considered that the user browses everything from the start to the end of reproduction.
  • the text “1 minute” is included because the time required for the user to read the text is taken into consideration.
  • the actual playback time of the moving image may be considered instead of the time length of the moving image “10 minutes”.
  • the count upper limit value is set based on the information amount of the content information, the accuracy as the time estimated to be viewed by the user can be improved. If the user operation is performed again after the count is stopped in response to exceeding the count upper limit value, the count value counted up to the upper limit value is reset, and the display time count is restarted. Configured to be
  • the system control unit 27 is inactive from the active state of the web page in which the content information subject to time counting is arranged (that is, the display area of the content information subject to time counting) It may be configured to stop counting the display time of the content information subject to time counting in accordance with the change to the state. For example, in the example shown in FIG. 7A, the “information search” tab 71 is selected and the information search web page is displayed in an active state on the window screen, but the “shopping” tab 72 is selected by the user. As a result, when the information search web page is in an inactive state, the counting of the display time of the content information to be time counted arranged on the web page is stopped.
  • the system control unit 27 calculates the scrolling speed of the display content including the time count target content information displayed in the display area of the window screen.
  • the display time of the content information subject to time counting is counted (in other words, the display time is stopped when the scroll speed is higher than the predetermined speed). May be. According to such a configuration, when the scroll speed is higher than the predetermined speed, it is possible to prevent the display time from being counted unnecessarily because it is regarded that the user is not browsing carefully.
  • the scrolling speed can be calculated, for example, by dividing the amount of movement of an arbitrary pixel on the web page displaced by scrolling by the time required for the movement (the duration of scrolling).
  • the “movement amount” is, for example, that an arbitrary pixel displayed on the window screen is changed from the first coordinate (x1, y1) to the second coordinate (x2, y2) with the upper left corner of the window screen as the origin. This corresponds to the distance between the first coordinate and the second coordinate when moved.
  • the display unit included in the user terminal Tn is an example of the “display unit”.
  • an external display that is not included in the user terminal Tn may be used as the display unit.

Landscapes

  • Business, Economics & Management (AREA)
  • Accounting & Taxation (AREA)
  • Finance (AREA)
  • Strategic Management (AREA)
  • Engineering & Computer Science (AREA)
  • Development Economics (AREA)
  • General Physics & Mathematics (AREA)
  • Economics (AREA)
  • Marketing (AREA)
  • Physics & Mathematics (AREA)
  • General Business, Economics & Management (AREA)
  • Theoretical Computer Science (AREA)
  • Game Theory and Decision Science (AREA)
  • Entrepreneurship & Innovation (AREA)
  • Information Transfer Between Computers (AREA)
  • Management, Administration, Business Operations System, And Electronic Commerce (AREA)
PCT/JP2012/054562 2011-07-29 2012-02-24 コンテンツ情報提供装置 Ceased WO2013018388A1 (ja)

Priority Applications (1)

Application Number Priority Date Filing Date Title
US14/235,263 US20140180828A1 (en) 2011-07-29 2012-02-24 Information processing apparatus, information processing method, information processing program, and recording medium having stored therein information processing program

Applications Claiming Priority (2)

Application Number Priority Date Filing Date Title
JP2011-167363 2011-07-29
JP2011167363A JP5492153B2 (ja) 2011-07-29 2011-07-29 情報処理装置、情報処理方法、及び情報処理プログラム

Publications (1)

Publication Number Publication Date
WO2013018388A1 true WO2013018388A1 (ja) 2013-02-07

Family

ID=47628933

Family Applications (1)

Application Number Title Priority Date Filing Date
PCT/JP2012/054562 Ceased WO2013018388A1 (ja) 2011-07-29 2012-02-24 コンテンツ情報提供装置

Country Status (4)

Country Link
US (1) US20140180828A1 (enExample)
JP (1) JP5492153B2 (enExample)
TW (1) TWI492175B (enExample)
WO (1) WO2013018388A1 (enExample)

Cited By (2)

* Cited by examiner, † Cited by third party
Publication number Priority date Publication date Assignee Title
CN105930513A (zh) * 2016-05-16 2016-09-07 北京京东尚科信息技术有限公司 一种浏览器历史记录排序方法及装置
WO2019058943A1 (ja) * 2017-09-19 2019-03-28 Lupine Software合同会社 プログラム

Families Citing this family (12)

* Cited by examiner, † Cited by third party
Publication number Priority date Publication date Assignee Title
US10122804B1 (en) * 2013-11-06 2018-11-06 Stackup Llc Calculating and recording user interaction times with selected web sites or application programs
CN104900176B (zh) * 2014-03-07 2018-10-19 腾讯科技(北京)有限公司 多媒体数据的显示控制方法及装置
JP6399103B2 (ja) * 2014-11-14 2018-10-03 富士通株式会社 ページ自動編集方法、ページ自動編集プログラムおよびページ自動編集装置
JP5917753B1 (ja) 2015-07-27 2016-05-18 ヤフー株式会社 情報処理装置、情報処理方法、情報処理プログラムおよび配信装置
JP6018281B1 (ja) 2015-11-11 2016-11-02 Line株式会社 表示制御方法、端末、情報処理装置、及びプログラム
JP6469743B2 (ja) * 2016-03-24 2019-02-13 楽天株式会社 情報処理システム、情報処理方法、及び情報処理プログラム
WO2017163369A1 (ja) * 2016-03-24 2017-09-28 楽天株式会社 情報処理システム、情報処理方法、及び情報処理プログラム
JP6576290B2 (ja) * 2016-04-06 2019-09-18 ヤフー株式会社 情報処理装置、情報処理方法、情報処理プログラムおよび配信装置
JP6947865B2 (ja) * 2016-09-29 2021-10-13 Line株式会社 プログラム、情報処理方法、および端末
CN109117137B (zh) * 2018-08-07 2021-07-23 武汉斗鱼网络科技有限公司 广告动画执行方法、装置、终端及可读介质
JP7212131B2 (ja) * 2020-02-19 2023-01-24 Line株式会社 サーバ、情報処理方法、およびプログラム
JP6991386B2 (ja) * 2020-02-19 2022-01-12 Line株式会社 プログラム、情報処理方法、及び端末

Citations (4)

* Cited by examiner, † Cited by third party
Publication number Priority date Publication date Assignee Title
JP2001357291A (ja) * 2000-06-14 2001-12-26 Tempearl Ind Co Ltd 電子広告の表示方法
JP2002133312A (ja) * 2000-10-25 2002-05-10 Fuji Xerox Co Ltd 広告料金管理装置、広告料金管理システム、広告料金管理方法及びコンピュータ読み取り可能な記録媒体
JP2008009550A (ja) * 2006-06-27 2008-01-17 Hitachi Ltd 広告露出量制御システム、広告露出量制御方法、広告露出量制御プログラム、および広告露出量制御端末
JP2011113280A (ja) * 2009-11-26 2011-06-09 Rakuten Inc サーバ装置、ユーザ関心度算出方法、ユーザ関心度算出プログラム、及び情報提供システム

Family Cites Families (23)

* Cited by examiner, † Cited by third party
Publication number Priority date Publication date Assignee Title
US6152591A (en) * 1996-03-04 2000-11-28 Dresser Industries, Inc. Interactive graphics display system for a fuel dispenser
US7962604B1 (en) * 2000-10-17 2011-06-14 Aol Inc Displaying advertisements in a computer network environment
EP1415249A2 (en) * 2001-07-09 2004-05-06 Ad4ever Inc. Method and system for allowing cross-communication between first and second areas of a primary web page
JP3938307B2 (ja) * 2001-12-27 2007-06-27 インターナショナル・ビジネス・マシーンズ・コーポレーション 表示装置、表示方法、表示プログラム、および記録媒体
US20030128234A1 (en) * 2002-01-09 2003-07-10 International Business Machines Corporation Utilizing document white space to persistently display designated content
US20070088801A1 (en) * 2005-10-17 2007-04-19 Zohar Levkovitz Device, system and method of delivering targeted advertisements using wireless application protocol
US20060256133A1 (en) * 2005-11-05 2006-11-16 Outland Research Gaze-responsive video advertisment display
US20100153836A1 (en) * 2008-12-16 2010-06-17 Rich Media Club, Llc Content rendering control system and method
US7904062B2 (en) * 2007-03-08 2011-03-08 Yahoo! Inc. Scrolling mobile advertisements
US8601392B2 (en) * 2007-08-22 2013-12-03 9224-5489 Quebec Inc. Timeline for presenting information
US20090248508A1 (en) * 2008-03-31 2009-10-01 Go Surfboard Technologies, Inc. Computer system and method for billing for advertisement based upon time-in-view
WO2010044629A2 (en) * 2008-10-17 2010-04-22 Samsung Electronics Co., Ltd. Apparatus and method for managing advertisement application
WO2010102104A2 (en) * 2009-03-05 2010-09-10 nGage Behavior, LLC Content alternative monetization system
US20100269038A1 (en) * 2009-04-17 2010-10-21 Sony Ericsson Mobile Communications Ab Variable Rate Scrolling
US8571935B2 (en) * 2009-06-04 2013-10-29 Viacom International Inc. Dynamic integration and linear presentation of advertising content and media content
US20100332214A1 (en) * 2009-06-30 2010-12-30 Shpalter Shahar System and method for network transmision of subtitles
US20110029393A1 (en) * 2009-07-09 2011-02-03 Collective Media, Inc. Method and System for Tracking Interaction and View Information for Online Advertising
JP5280319B2 (ja) * 2009-08-27 2013-09-04 京セラ株式会社 電子機器
JP5444954B2 (ja) * 2009-08-28 2014-03-19 富士通株式会社 表示回数測定プログラム及び表示回数測定装置
US20110082755A1 (en) * 2009-10-06 2011-04-07 Oded Itzhak System and method for presenting and metering advertisements
TWI424352B (zh) * 2009-12-02 2014-01-21 Prime View Int Co Ltd 於一電子書中放入廣告與顯示廣告之方法與裝置
JP2011250835A (ja) * 2010-05-31 2011-12-15 Olympus Corp 内視鏡システム
US8548855B2 (en) * 2010-11-11 2013-10-01 Teaneck Enterprises, Llc User generated ADS based on check-ins

Patent Citations (4)

* Cited by examiner, † Cited by third party
Publication number Priority date Publication date Assignee Title
JP2001357291A (ja) * 2000-06-14 2001-12-26 Tempearl Ind Co Ltd 電子広告の表示方法
JP2002133312A (ja) * 2000-10-25 2002-05-10 Fuji Xerox Co Ltd 広告料金管理装置、広告料金管理システム、広告料金管理方法及びコンピュータ読み取り可能な記録媒体
JP2008009550A (ja) * 2006-06-27 2008-01-17 Hitachi Ltd 広告露出量制御システム、広告露出量制御方法、広告露出量制御プログラム、および広告露出量制御端末
JP2011113280A (ja) * 2009-11-26 2011-06-09 Rakuten Inc サーバ装置、ユーザ関心度算出方法、ユーザ関心度算出プログラム、及び情報提供システム

Non-Patent Citations (1)

* Cited by examiner, † Cited by third party
Title
HOMA AREKKUSU, PROFESSIONAL APPLICATION CENTER 2000, 21 August 2001 (2001-08-21), pages 181 - 182 *

Cited By (4)

* Cited by examiner, † Cited by third party
Publication number Priority date Publication date Assignee Title
CN105930513A (zh) * 2016-05-16 2016-09-07 北京京东尚科信息技术有限公司 一种浏览器历史记录排序方法及装置
WO2019058943A1 (ja) * 2017-09-19 2019-03-28 Lupine Software合同会社 プログラム
JPWO2019058943A1 (ja) * 2017-09-19 2020-08-27 Lupine Software合同会社 プログラム
JP7165411B2 (ja) 2017-09-19 2022-11-04 Lupine Software合同会社 プログラム

Also Published As

Publication number Publication date
TWI492175B (zh) 2015-07-11
JP2013030114A (ja) 2013-02-07
JP5492153B2 (ja) 2014-05-14
US20140180828A1 (en) 2014-06-26
TW201305946A (zh) 2013-02-01

Similar Documents

Publication Publication Date Title
JP5492153B2 (ja) 情報処理装置、情報処理方法、及び情報処理プログラム
US9251526B2 (en) Server apparatus, terminal apparatus, user's degree of interest calculation method, user's degree of interest calculation program, terminal program, recording medium having program recorded therein, and an information providing system
WO2011065285A1 (ja) サーバ装置、端末装置、Webページ上への情報挿入方法、情報挿入プログラム、及びプログラムが記録された記録媒体
CN102855270B (zh) 信息处理装置、关注内容判定方法、终端装置及信息提供系统
JP5941568B1 (ja) 情報表示プログラム、情報表示装置、情報表示方法、配信装置および配信方法
WO2012164966A1 (ja) 情報処理装置、情報処理方法、情報処理プログラム、及び情報処理プログラムが記録された記録媒体
JP5190437B2 (ja) 情報提供システム、Webページ上への情報追加方法、及び端末処理プログラム
US20160274780A1 (en) Information display apparatus, distribution apparatus, information display method, and non-transitory computer readable storage medium
JP6553783B1 (ja) 情報表示プログラム、情報表示装置、情報表示方法および配信装置
JP7044674B2 (ja) 情報表示プログラム、情報表示装置、情報表示方法および配信装置
JP6679640B2 (ja) 情報表示プログラム、情報表示装置、情報表示方法および配信装置
JP6469743B2 (ja) 情報処理システム、情報処理方法、及び情報処理プログラム
JP6211041B2 (ja) 情報表示プログラム、情報表示方法、情報表示装置および配信装置
JP6664590B2 (ja) 情報表示プログラム、情報表示方法、情報表示装置、及び配信装置
JP6604670B1 (ja) 情報表示プログラム、情報表示装置、情報表示方法および配信装置
JP6556308B1 (ja) 情報表示プログラム、情報表示装置、情報表示方法および配信装置
JP6866242B2 (ja) 表示制御プログラム、表示制御装置、表示制御方法及び配信装置
JP6400819B1 (ja) 情報表示プログラム、情報表示方法、情報表示装置、及び配信装置
JP2017129752A (ja) 情報表示プログラム、情報表示方法及び制御装置
JP6127228B1 (ja) 情報処理システム、情報処理方法、及び情報処理プログラム
JP6833766B2 (ja) 情報表示プログラム、情報表示方法、情報表示装置、及び配信装置
JP6444338B2 (ja) 情報表示プログラム、情報表示装置、情報表示方法、配信装置および配信方法
JP2019095908A (ja) 情報表示プログラム、情報表示方法、情報表示装置、及び配信装置
JP6415771B1 (ja) 情報表示プログラム、情報表示装置、情報表示方法および配信装置
JP2020042675A (ja) 情報表示プログラム、情報表示装置、情報表示方法および配信装置

Legal Events

Date Code Title Description
121 Ep: the epo has been informed by wipo that ep was designated in this application

Ref document number: 12819906

Country of ref document: EP

Kind code of ref document: A1

WWE Wipo information: entry into national phase

Ref document number: 14235263

Country of ref document: US

NENP Non-entry into the national phase

Ref country code: DE

122 Ep: pct application non-entry in european phase

Ref document number: 12819906

Country of ref document: EP

Kind code of ref document: A1