WO2012143983A1 - 撮像装置、撮像システム、及び撮像方法 - Google Patents
撮像装置、撮像システム、及び撮像方法 Download PDFInfo
- Publication number
- WO2012143983A1 WO2012143983A1 PCT/JP2011/006093 JP2011006093W WO2012143983A1 WO 2012143983 A1 WO2012143983 A1 WO 2012143983A1 JP 2011006093 W JP2011006093 W JP 2011006093W WO 2012143983 A1 WO2012143983 A1 WO 2012143983A1
- Authority
- WO
- WIPO (PCT)
- Prior art keywords
- region
- wavelength band
- light
- pixels
- imaging
- Prior art date
- Legal status (The legal status is an assumption and is not a legal conclusion. Google has not performed a legal analysis and makes no representation as to the accuracy of the status listed.)
- Ceased
Links
Images
Classifications
-
- H—ELECTRICITY
- H10—SEMICONDUCTOR DEVICES; ELECTRIC SOLID-STATE DEVICES NOT OTHERWISE PROVIDED FOR
- H10F—INORGANIC SEMICONDUCTOR DEVICES SENSITIVE TO INFRARED RADIATION, LIGHT, ELECTROMAGNETIC RADIATION OF SHORTER WAVELENGTH OR CORPUSCULAR RADIATION
- H10F39/00—Integrated devices, or assemblies of multiple devices, comprising at least one element covered by group H10F30/00, e.g. radiation detectors comprising photodiode arrays
- H10F39/80—Constructional details of image sensors
- H10F39/806—Optical elements or arrangements associated with the image sensors
-
- G—PHYSICS
- G03—PHOTOGRAPHY; CINEMATOGRAPHY; ANALOGOUS TECHNIQUES USING WAVES OTHER THAN OPTICAL WAVES; ELECTROGRAPHY; HOLOGRAPHY
- G03B—APPARATUS OR ARRANGEMENTS FOR TAKING PHOTOGRAPHS OR FOR PROJECTING OR VIEWING THEM; APPARATUS OR ARRANGEMENTS EMPLOYING ANALOGOUS TECHNIQUES USING WAVES OTHER THAN OPTICAL WAVES; ACCESSORIES THEREFOR
- G03B11/00—Filters or other obturators specially adapted for photographic purposes
-
- G—PHYSICS
- G02—OPTICS
- G02B—OPTICAL ELEMENTS, SYSTEMS OR APPARATUS
- G02B27/00—Optical systems or apparatus not provided for by any of the groups G02B1/00 - G02B26/00, G02B30/00
- G02B27/10—Beam splitting or combining systems
- G02B27/1006—Beam splitting or combining systems for splitting or combining different wavelengths
- G02B27/1013—Beam splitting or combining systems for splitting or combining different wavelengths for colour or multispectral image sensors, e.g. splitting an image into monochromatic image components on respective sensors
-
- G—PHYSICS
- G02—OPTICS
- G02B—OPTICAL ELEMENTS, SYSTEMS OR APPARATUS
- G02B27/00—Optical systems or apparatus not provided for by any of the groups G02B1/00 - G02B26/00, G02B30/00
- G02B27/10—Beam splitting or combining systems
- G02B27/12—Beam splitting or combining systems operating by refraction only
- G02B27/123—The splitting element being a lens or a system of lenses, including arrays and surfaces with refractive power
-
- G—PHYSICS
- G03—PHOTOGRAPHY; CINEMATOGRAPHY; ANALOGOUS TECHNIQUES USING WAVES OTHER THAN OPTICAL WAVES; ELECTROGRAPHY; HOLOGRAPHY
- G03B—APPARATUS OR ARRANGEMENTS FOR TAKING PHOTOGRAPHS OR FOR PROJECTING OR VIEWING THEM; APPARATUS OR ARRANGEMENTS EMPLOYING ANALOGOUS TECHNIQUES USING WAVES OTHER THAN OPTICAL WAVES; ACCESSORIES THEREFOR
- G03B33/00—Colour photography, other than mere exposure or projection of a colour film
-
- H—ELECTRICITY
- H04—ELECTRIC COMMUNICATION TECHNIQUE
- H04N—PICTORIAL COMMUNICATION, e.g. TELEVISION
- H04N23/00—Cameras or camera modules comprising electronic image sensors; Control thereof
- H04N23/70—Circuitry for compensating brightness variation in the scene
- H04N23/741—Circuitry for compensating brightness variation in the scene by increasing the dynamic range of the image compared to the dynamic range of the electronic image sensors
-
- H—ELECTRICITY
- H04—ELECTRIC COMMUNICATION TECHNIQUE
- H04N—PICTORIAL COMMUNICATION, e.g. TELEVISION
- H04N23/00—Cameras or camera modules comprising electronic image sensors; Control thereof
- H04N23/80—Camera processing pipelines; Components thereof
- H04N23/84—Camera processing pipelines; Components thereof for processing colour signals
- H04N23/843—Demosaicing, e.g. interpolating colour pixel values
-
- H—ELECTRICITY
- H04—ELECTRIC COMMUNICATION TECHNIQUE
- H04N—PICTORIAL COMMUNICATION, e.g. TELEVISION
- H04N25/00—Circuitry of solid-state image sensors [SSIS]; Control thereof
- H04N25/10—Circuitry of solid-state image sensors [SSIS]; Control thereof for transforming different wavelengths into image signals
- H04N25/11—Arrangement of colour filter arrays [CFA]; Filter mosaics
- H04N25/13—Arrangement of colour filter arrays [CFA]; Filter mosaics characterised by the spectral characteristics of the filter elements
- H04N25/134—Arrangement of colour filter arrays [CFA]; Filter mosaics characterised by the spectral characteristics of the filter elements based on three different wavelength filter elements
Definitions
- the present invention relates to an imaging apparatus such as a camera.
- a color filter using an organic material such as a pigment or a dye is formed on each pixel of a solid-state imaging device for color imaging. Since such a color filter transmits infrared light, in order to obtain a good color image in the imaging apparatus, a configuration in which the infrared cut filter is arranged in the optical path on the front side of the solid-state imaging device is generally used. Therefore, it is difficult for an imaging apparatus using a single imaging device to simultaneously acquire both visible light and infrared light image information.
- a color filter using an organic material has a wide wavelength band. For example, each wavelength band of blue, green, and red overlaps with a relatively wide wavelength band, so that color reproducibility is deteriorated.
- Patent Documents 1 and 2 techniques relating to a solid-state imaging device in which a color filter using a dielectric multilayer film is formed are disclosed.
- a color filter using an organic material has difficulty in forming a narrow band spectral characteristic, and it is difficult to capture an image that extracts color information in a narrow wavelength band.
- Patent Document 3 a technique for acquiring an image by sequentially lighting white light and predetermined narrow band light is disclosed.
- a white light source and a predetermined narrow band light source are sequentially turned on and imaged in a time division manner. For this reason, when a moving object is imaged, a color shift due to a time difference occurs.
- the spectral characteristics of a conventional color image sensor are generally standardized for each model from the viewpoint of productivity, so it is difficult for the imaging device manufacturer that purchases them to arbitrarily specify the spectral characteristics. It is.
- the present invention has been made to solve the above-described problems, and its main object is to provide an imaging apparatus capable of acquiring an arbitrary multispectral image by a single imaging operation using a single imaging optical system. It is to provide an imaging method.
- a multispectral image refers to an image having spectral information for each pixel.
- the imaging device of the present invention includes a lens optical system having a lens and a diaphragm, an imaging element having at least a plurality of first pixels and a plurality of second pixels into which light transmitted through the lens optical system is incident, An array-like optical element disposed between a lens optical system and the imaging element, the lens optical system further having a plurality of regions in a plane perpendicular to the optical axis, the plurality of regions, A first region that transmits light in a first wavelength band; and a second region that transmits light in a second wavelength band different from the first wavelength band; and Light transmitted through the first region is incident on the plurality of first pixels, and light transmitted through the second region is incident on the plurality of second pixels.
- the imaging system of the present invention generates first image information corresponding to a first wavelength band from pixel values obtained in the imaging device of the present invention and the plurality of first pixels in the imaging device, A signal processing device that generates second image information corresponding to the second wavelength band from pixel values obtained in the plurality of second pixels.
- the imaging method of the present invention includes at least a first region that transmits light in a first wavelength band and a second region that transmits light in a second wavelength band different from the first wavelength band.
- an imaging device Arranged between the lens optical system, an imaging device having at least a plurality of first pixels and a plurality of second pixels on which light transmitted through the lens optical system is incident, and between the lens optical system and the imaging device
- the arrayed optical element is used to cause the light transmitted through the first region to enter the plurality of first pixels and transmit through the second region.
- Light is incident on the plurality of second pixels, and is obtained in the first image corresponding to the first wavelength band and the plurality of second pixels from the pixel values obtained in the plurality of first pixels.
- Corresponding to the second wavelength band from the obtained pixel value To generate a second image information.
- an arbitrary multispectral image can be acquired by one imaging using a single imaging system. According to the present invention, it is not necessary to provide a dielectric multilayer film for each pixel. In addition, when a moving image is shot using the image pickup apparatus of the present invention, even if the subject position changes over time, there is no image shift between a plurality of images.
- Embodiment 1 of the imaging device A by this invention It is a schematic diagram which shows Embodiment 1 of the imaging device A by this invention. It is the front view which looked at the optical element L1 in Embodiment 1 of this invention from the to-be-photographed object side. It is a perspective view of the array-like optical element K in Embodiment 1 of this invention.
- (A) is an enlarged view showing the arrayed optical element K and the image sensor N shown in FIG. 1 in the first embodiment, and (b) is the position of the arrayed optical element K and the pixel of the image sensor N. It is a figure which shows a relationship.
- Embodiment 2 of the imaging device A by this invention It is a schematic diagram which shows Embodiment 2 of the imaging device A by this invention.
- FIG. 5A is an enlarged view showing the arrayed optical element K and the imaging element N shown in FIG. 5 in the second embodiment
- FIG. 5B is a position of the arrayed optical element K and the pixel of the imaging element N. It is a figure which shows a relationship.
- (A) is an enlarged view showing the arrayed optical element K and the image sensor N in Embodiment 3, and (b) is a diagram showing the positional relationship between the arrayed optical element K and the pixels of the image sensor N. It is.
- (A) is the front view which looked at the optical element L1 in Embodiment 4 of this invention from the to-be-photographed object side
- (b) is a figure which shows the positional relationship of the array-like optical element K and the pixel of the image pick-up element N. . It is a figure explaining the light ray figure for every object distance in Embodiment 1 of this invention, and the change of a point image and its gravity center.
- (A) And (b) is a schematic diagram which shows the optical system and imaging part in Embodiment 5 of this invention.
- (A) And (b) is a perspective view of the optical element L1 in Embodiment 5 of this invention.
- (A), (b), and (c) are the front views which looked at the aperture_diaphragm
- (A) And (b) is a schematic diagram which shows the optical system and imaging part in Embodiment 5 of this invention. It is a perspective view of the optical element L1 in Embodiment 5 of this invention.
- FIG. 1 are the perspective views of the optical element L1 in Embodiment 6 of this invention.
- (A), (b), and (c) are the front views which looked at the stop S in Embodiment 6 of this invention from the to-be-photographed object side.
- (A), (b) and (c) are the perspective views of the optical element L1 in Embodiment 7 of this invention.
- (A), (b), and (c) are the front views which looked at the aperture_diaphragm
- (A) And (b) is a figure which expands and shows the array-like optical element K and the image pick-up element N in Embodiment 8 of this invention.
- (A) And (b) is a figure which expands and shows the array-like optical element K and the image pick-up element N in the other form by this invention.
- (A1) and (b1) are perspective views of an arrayed optical element K according to another embodiment of the present invention,
- (a2) and (b2) are diagrams showing contour lines of each optical element, (a3) and (b3)
- FIG. 1 is a schematic diagram illustrating an imaging apparatus A according to the first embodiment.
- the image pickup apparatus A of the present embodiment includes a lens optical system L having V as an optical axis, an array-like optical element K arranged near the focal point of the lens optical system L, an image pickup element N, and a signal processing unit C. Prepare.
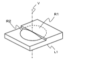
- the lens optical system L includes a diaphragm S on which light from a subject (not shown) enters, an optical element L1 on which light that has passed through the diaphragm S enters, and a lens L2 on which light that has passed through the optical element L1 enters. It is configured.
- the lens L2 may be composed of a single lens or a plurality of lenses. In FIG. 1, it is illustrated as a single sheet configuration.
- the optical element L1 is disposed in the vicinity of the stop.
- the optical element L1 has a first optical surface region D1 that transmits light in the first wavelength band and a second optical surface region D2 that transmits light in the second wavelength band.
- the first wavelength band and the second wavelength band are different from each other.
- the “wavelength band” in the “first wavelength band” and the “second wavelength band” is, for example, a continuous band that occupies 50% or more of the total amount of light transmitted through the region. A wavelength that is cut by 95% or more by passing is not included in the “wavelength band”.
- the two wavelength bands being different from each other means that at least one wavelength band includes a band that is not included in the other wavelength band. Therefore, some wavelength bands may overlap.
- the configurations in which the transmitted wavelength bands are different from each other include a configuration in which a filter using an organic material or a dielectric multilayer film is formed on the surface of the optical element L1 on the stop S side, a configuration in which an absorption filter is formed, and a staining system This is realized by a configuration in which the optical element L1 is dyed for each region by a filter.
- a color filter may be formed on one flat plate, or may be formed on a plurality of flat plates divided for each region.
- the light that has passed through the two optical surface regions D1 and D2 passes through the lens L2 and then enters the arrayed optical element K.
- the arrayed optical element K causes light that has passed through the optical surface region D1 to enter the pixel P1 in the image sensor N, and light that has passed through the optical surface region D2 to enter the pixel P2 in the image sensor N.
- the signal processing unit C generates image information corresponding to the first wavelength band from the pixel value obtained in the pixel P1, generates image information corresponding to the second wavelength band from the pixel value obtained in the pixel P2, Output.
- a light beam B1 is a light beam that passes through the optical surface region D1 on the optical element L1
- a light beam B2 is a light beam that passes through the optical surface region D2 on the optical element L1.
- the light beams B1 and B2 pass through the diaphragm S, the optical element L1, the lens L2, and the arrayed optical element K in this order, and reach the imaging surface Ni on the imaging element N.
- FIG. 2 is a front view of the optical element L1 as viewed from the subject side.
- the optical surface regions D1 and D2 in the optical element L1 are formed by dividing the optical surface into two parts vertically in a plane perpendicular to the optical axis V with the optical axis V as the boundary center.
- the broken line s indicates the position of the diaphragm S.
- FIG. 3 is a perspective view of the arrayed optical element K.
- FIG. 3 On the surface on the imaging element N side of the arrayed optical element K, a plurality of optical elements M1 elongated in the horizontal direction are arranged in the vertical direction.
- the cross section (longitudinal direction) of each optical element M1 has a curved shape protruding toward the image sensor N side.
- the arrayed optical element K has a lenticular lens configuration.
- the array-like optical element K is disposed in the vicinity of the focal point of the lens optical system L, and is disposed at a position away from the imaging surface Ni by a predetermined distance.
- FIG. 4A is an enlarged view of the arrayed optical element K and the image sensor N shown in FIG. 1, and FIG. 4B is a diagram illustrating the array of the optical element K and the pixels on the image sensor N. It is a figure which shows a positional relationship.
- the arrayed optical element K is arranged so that the surface on which the optical element M1 is formed faces the imaging surface Ni side.
- Pixels P are arranged in a matrix on the imaging surface Ni.
- the pixel P can be distinguished into a pixel P1 and a pixel P2.
- Each of the pixel P1 and the pixel P2 is arranged in a row in the horizontal direction (row direction). In the vertical direction (column direction), the pixels P1 and P2 are alternately arranged.
- the arrayed optical element K is arranged so that one of the optical elements M1 corresponds to two rows of pixels including one row of pixels P1 and one row of pixels P2 on the imaging surface Ni.
- a microlens Ms is provided so as to cover the surfaces of the pixels P1 and P2.
- the above configuration is realized by appropriately setting parameters such as the refractive index of the arrayed optical element K, the distance from the imaging surface Ni, and the radius of curvature of the surface of the optical element M1.
- the angle of the light beam at the focal point is determined by the position of the light beam passing through the stop and the angle with respect to the optical axis. Further, the array-like optical element has a function of distributing the emission direction according to the incident angle of the light beam. Therefore, by arranging the optical surface regions D1 and D2 in the vicinity of the stop, and arranging the arrayed optical element K in the vicinity of the focal point as described above, the light beams B1 and B2 that have passed through the optical surface regions are respectively pixelated. It can be separated into P1 and P2.
- the imaging optical system is an image side telecentric optical system
- the light rays passing through the stop are parallel, and therefore the angle of the light ray at the focal point is uniquely determined by the position of the light ray passing through the stop.
- the pixel P1 and the pixel P2 respectively generate image information corresponding to light in different wavelength bands. That is, the imaging apparatus A can acquire a plurality of pieces of image information formed by light having different wavelength bands with a single imaging optical system and with one imaging.
- the first optical surface region D1 is an optical filter having a characteristic of transmitting visible light as light in the first wavelength band and substantially blocking near-infrared light.
- the second optical surface region D2 is an optical filter having a characteristic of substantially blocking visible light and transmitting near-infrared light as light in the second wavelength band.
- the first optical surface region D1 is an optical filter having a characteristic of transmitting visible light as light in the first wavelength band and substantially blocking near ultraviolet light.
- the second optical surface region D2 is an optical filter having a characteristic of substantially blocking visible light and transmitting near-ultraviolet light as light in the second wavelength band.
- the first optical surface region D1 is an optical filter that transmits light of a predetermined wavelength bandwidth
- the second optical surface region D2 is a bandwidth narrower than the predetermined wavelength bandwidth. It is an optical filter which permeate
- the second wavelength band may or may not be included in the first wavelength band.
- one type of light source having spectral radiation characteristics including the first and second wavelength bands, or a plurality of types of spectral radiation characteristics corresponding to the first and second wavelength bands, respectively. It is preferable to provide a light source. In such applications, lesions can be easily distinguished by displaying images acquired in a wide band and images acquired in a narrow band in different colors.
- the pixel values in the y direction are missing every other pixel.
- the pixel value of the missing pixel may be generated by interpolating with the pixel value of the pixel adjacent in the y direction, or may be generated by adding the pixel values in the x direction by two pixels.
- the second embodiment is different from the first embodiment in that the area division of the optical element L1 is three.
- a detailed description of the same contents as in the first embodiment is omitted.
- FIG. 5 is a schematic diagram illustrating the imaging apparatus A according to the second embodiment.
- a light beam B1 is a light beam that passes through the optical surface region D1 on the optical element L1
- a light beam B2 is a light beam that passes through the optical surface region D2 on the optical element L1
- a light beam B3 is the optical element.
- the light beam passes through the optical surface region D3 on L1.
- the light beams B1, B2, and B3 pass through the stop S, the optical element L1, the lens L2, and the arrayed optical element K in this order, and reach the imaging surface Ni (shown in FIG. 7 and the like) on the imaging element N.
- FIG. 6 is a front view of the optical element L1 as seen from the subject side, and the optical surface regions D1, D2, and D3 are formed by being divided into three in the vertical direction within a plane perpendicular to the optical axis V. FIG. . Further, the wavelength bands of the light transmitted through each optical surface region are different from each other.
- FIG. 7A is an enlarged view of the arrayed optical element K and the image sensor N shown in FIG. 5, and FIG. 7B is a diagram illustrating the relationship between the arrayed optical element K and the pixels on the image sensor N. It is a figure which shows a positional relationship.
- the arrayed optical element K is arranged so that the surface on which the optical element M1 is formed faces the imaging surface Ni side.
- Pixels P are arranged in a matrix on the imaging surface Ni.
- the pixel P can be distinguished into a pixel P1, a pixel P2, and a pixel P3.
- Each of the pixel P1, the pixel P2, and the pixel P3 is arranged in a row in the horizontal direction (row direction). In the vertical direction (column direction), the pixels P1, P2, and P3 are repeatedly arranged.
- the array-like optical element K is arranged so that one of the optical elements M1 corresponds to three rows of pixels including one row of pixels P1, one row of pixels P2, and one row of pixels P3 on the imaging surface Ni. ing.
- a microlens Ms is provided so as to cover the surfaces of the pixels P1, P2, and P3.
- the above-described configuration is realized by appropriately setting parameters such as the refractive index of the arrayed optical element K, the distance from the imaging surface Ni, and the radius of curvature of the surface of the optical element M1.
- the pixel P1, the pixel P2, and the pixel P3 each generate image information corresponding to light in different wavelength bands. That is, the imaging apparatus A can acquire a plurality of pieces of image information formed by light having different wavelength bands with a single imaging optical system and with one imaging.
- the structure is such that images of two types of wavelength bands are acquired simultaneously, but in Embodiment 2, images of three types of wavelength bands can be acquired simultaneously.
- the first optical surface region D1 is a blue color filter that transmits light in a blue band and substantially blocks colors in a band other than blue.
- the second optical surface region D2 is a green color filter that transmits light in the green band and substantially blocks colors in bands other than green.
- the third optical surface region D3 is a red color filter that transmits light in the red band and substantially blocks colors in bands other than red.
- pixel values in the y direction are lost every two pixels.
- the pixel value of the missing pixel may be generated by interpolating with the pixel value of the pixel adjacent in the y direction, or may be generated by adding the pixel values in the x direction by three pixels.
- a configuration in which the aspect ratio of each pixel of the image sensor in the x direction and the y direction is 3: 1 may be employed. With such a configuration, the above-described interpolation processing and addition processing are not necessary.
- the third embodiment is different from the first embodiment in that the area division of the optical element L1 in FIG. 1 is changed to four and the array-like optical element is replaced with a microlens from the lenticular.
- a detailed description of the same contents as in the first embodiment is omitted.
- FIG. 8 is a front view of the optical element L1 as viewed from the subject side.
- the optical surface regions D1, D2, D3, and D4 are vertically and horizontally 4 in a plane perpendicular to the optical axis V with the optical axis V as a center. It is formed by being divided. Further, the wavelength bands of the light transmitted through each optical surface region are different from each other.
- FIG. 9 is a perspective view of the arrayed optical element K.
- FIG. 9 On the surface of the arrayed optical element K on the imaging element N side, optical elements M2 are arranged in a grid pattern. Each optical element M2 has a curved cross-section (vertical and horizontal cross-sections), and each optical element M2 protrudes toward the image sensor N.
- the optical element M2 is a microlens
- the arrayed optical element K is a microlens array.
- FIG. 10A is an enlarged view showing the arrayed optical element K and the image sensor N
- FIG. 10B shows the positional relationship between the arrayed optical element K and the pixels on the image sensor N.
- the arrayed optical element K is arranged so that the surface on which the optical element M2 is formed faces the imaging surface Ni side.
- Pixels P are arranged in a matrix on the imaging surface Ni.
- the pixel P can be distinguished into a pixel P1, a pixel P2, a pixel P3, and a pixel P4.
- the arrayed optical element K is disposed in the vicinity of the focal point of the lens optical system L, and is disposed at a position away from the imaging surface Ni by a predetermined distance.
- a microlens Ms is provided on the imaging surface Ni so as to cover the surfaces of the pixels P1, P2, P3, and P4.
- the arrayed optical element K is arranged so that the surface on which the optical element M2 is formed faces the imaging surface Ni side.
- the arrayed optical element K is arranged so that one of the optical elements M2 corresponds to four pixels of pixels P1 to P4 in 2 rows and 2 columns on the imaging surface Ni.
- the above-described configuration is realized by appropriately setting parameters such as the refractive index of the arrayed optical element K, the distance from the imaging surface Ni, and the radius of curvature of the surface of the optical element M1.
- the pixel P1, the pixel P2, the pixel P3, and the pixel P4 each generate image information corresponding to light in different wavelength bands. That is, the imaging apparatus A can acquire a plurality of pieces of image information formed by light of different wavelength bands with a single imaging optical system and with one imaging.
- the structure is such that images of two types and three types of wavelength bands are acquired simultaneously, but in Embodiment 3, images of four types of wavelength bands are acquired simultaneously. Can do.
- visible light including blue, green, and red is substantially blocked, and near-infrared light that transmits near-infrared light is transmitted.
- the configuration includes an infrared light filter.
- an imaging device for day and night and an imaging device for biometric authentication can be realized.
- visible light including the blue, green, and red is substantially blocked and near-ultraviolet light is transmitted.
- the configuration includes an ultraviolet light filter.
- the imaging device which visualizes the state of skin such as a stain caused by near ultraviolet rays can be realized.
- it is preferable to include a light source having spectral radiation characteristics including a near ultraviolet light band.
- the filter is configured to transmit only the wavelength band.
- the narrow band described above may or may not be included in any of the blue, green, and red color filters.
- the light source provided with the white light source and the light source which has the spectral radiation characteristic containing the said narrow band may be sufficient.
- the pixel values in the x direction and the y direction are missing every other pixel. Therefore, the pixel values of the missing pixels may be generated by interpolating with the pixel values of the pixels adjacent in the x direction and the y direction, respectively.
- two regions facing each other across the optical axis among the four divided regions may be the same green color filter.
- each of the first optical surface region D1 and the second optical surface region D2 is separated from the optical axis, and the arrayed optical element is changed from a lenticular to a microlens. This is different from the first embodiment in the point of replacement. Here, a detailed description of the same contents as in the first embodiment is omitted.
- FIG. 11A is a front view of the optical element L1 as viewed from the subject side.
- Each of the optical surface regions D1 and D2 has an axially symmetric direction about the optical axis V so that the center of gravity is the optical axis position.
- FIG. 11B is a diagram showing the positional relationship between the arrayed optical element K and the pixels on the image sensor N.
- the odd-numbered row odd-numbered column and the even-numbered row even-numbered column are added to the first wavelength band. Generate a corresponding image.
- the even-numbered odd-numbered column and the odd-numbered even-numbered column are added to generate an image corresponding to the second wavelength band.
- the first optical surface region D1 and the second optical surface region D2 are regions formed by dividing the optical element L1 into two vertically in a plane perpendicular to the optical axis. For this reason, the center of gravity of the spot on the image plane of the light passing through each optical surface region may change depending on the subject distance, and parallax may occur.
- FIG. 12 is a diagram for explaining a light ray diagram for each subject distance in the first embodiment and a change of a point image and its center of gravity.
- 12 (a1), (b1), and (c1) are ray diagrams for each subject distance.
- 12 (a1) shows the case where the object point O is the farthest distance from the optical system
- FIG. 12 (c1) shows the case where the object point O is the closest
- FIG. 12 (b1) It is a light ray figure in case the object point O exists in the distance between (c1).
- the same symbols are used for the same configurations as in FIG. FIGS.
- Each point image is a pixel value obtained by missing image information (a2, b2, c2) extracted for every odd column and pixel information (a3, b3, c3) extracted for every even column every other pixel in the Y direction.
- pixel information a3, b3, c3 extracted for every even column every other pixel in the Y direction.
- the optical surface regions D1 and D2 are arranged separately in the axially symmetric direction around the optical axis so that the center of gravity is the optical axis position.
- the center of gravity of the point image formed by the light passing through the optical surface regions D1 and D2 also exists at the optical axis position. For this reason, even if the subject distance changes, the distance d between the centers of gravity of the point images does not change.
- FIG. 13 is a diagram for explaining a point image and its center of gravity for each subject distance.
- (a1) and (a2), (b1) and (b2), and (c1) and (c2) are point images (shown as semicircles) imaged through a microlens and their centroids (black dots). These correspond to the subject distances of (a1), (b1), and (c1) in FIG.
- Each point image includes image information (a1, b1, c1) obtained by adding odd rows and odd columns and even rows and even columns, and image information (a2, b2, c2) obtained by adding even rows and odd columns and odd rows and even columns.
- image information (a1, b1, c1) obtained by adding odd rows and odd columns and even rows and even columns
- image information (a2, b2, c2) obtained by adding even rows and odd columns and odd rows and even columns.
- each of the optical surface regions D1 and D2 is arranged in the axially symmetric direction with the optical axis as the center so that the center of gravity is located at the optical axis position. It is possible to prevent parallax from occurring between the acquired images even if changes.
- the fifth embodiment is premised on the configuration having the two optical surface regions D1 and D2 as in the first embodiment, and the lens L2 is a lens having axial chromatic aberration.
- 2 having different optical powers in a plane perpendicular to the optical axis in the vicinity of the stop so that the in-focus positions of the light beams transmitted through the optical surface regions D1 and D2 are substantially equal.
- a detailed description of the same contents as in the first embodiment is omitted.
- one of the two regions having different optical powers transmits the light transmitted through the first optical surface region D1.
- the other region transmits light that passes through the second optical surface region D2.
- Two regions having different optical powers from the optical surface regions D1 and D2 may be formed in the same element, or may be formed in different elements.
- FIG. 14A is a diagram schematically showing a ray diagram when the lens L2 is a lens having axial chromatic aberration due to the wavelength dispersion characteristic of the refractive index as in the case of the single lens in the first embodiment.
- a filter that transmits light in the first wavelength band is formed in the first optical surface region D1, and relative to the second optical surface region D2 than in the first wavelength band.
- a filter that transmits light having a long second wavelength band is formed.
- the lens L2 is a lens having axial chromatic aberration due to the wavelength dispersion characteristic of the refractive index, such as a single lens, and therefore, the longer the wavelength, the more the lens L2 is focused. Therefore, as shown in FIG. 14A, when the light beam that has passed through the optical surface region D1 is set to be focused on the imaging surface Ni, the light beam that has passed through the optical surface region D2 is focused on the imaging surface Ni. It will be in a state that cannot be burned.
- FIG. 14B is a diagram schematically showing a light ray diagram of the imaging apparatus of the fifth embodiment.
- the light beam in the wavelength band in the second spectral transmittance characteristic is focused on the imaging surface on the second optical surface region D2 of the optical element L1.
- a lens surface with an appropriate optical power is formed.
- the light beam that has passed through the first optical surface region D1 and the light beam that has passed through the second optical surface region D2 are both focused on the imaging surface Ni.
- the first optical surface region D1 and the second optical surface region D2 have different optical powers, so that the first optical surface region D1 and the second optical surface region D2 have different optical powers.
- the focus position of the light transmitted through the first optical surface region D1 and the focus position of the light transmitted through the second optical surface region D2 are closer.
- the optical axis V ′ of the optical surface on the stop S side of the optical surface region D2 of the optical element L1 has an eccentricity unlike the optical axis V of the lens optical system, but its optical power is Since it is extremely small compared to the optical power of the lens L2, there is little deterioration in imaging performance.
- FIG. 15 (a) and 15 (b) are perspective views of the optical element L1 shown in FIG. 14 (b).
- a filter having the first spectral transmittance characteristic is formed on the first optical surface region D1 which is a plane
- the second spectral transmittance is formed on the second optical surface region D2 which is a lens surface.
- a filter having characteristics is formed.
- the lens surface is formed over the entire region obtained by dividing the optical element L1 into two parts. For this reason, a step is generated between the first optical surface region which is a flat surface and the second optical surface region D2 which is a lens surface.
- the diaphragm S has a light shielding region as shown in FIGS. 16 (a) and 16 (b).
- a lens surface is formed in a part of a region formed by dividing the optical element L1 into two to form an optical surface region D2.
- This configuration requires a configuration in which a light shielding region as shown in FIG. 16C is provided so as to correspond to the optical surface regions D1 and D2.
- FIG. 17 (a) and 17 (b) are diagrams showing another form of the fifth embodiment.
- the optical axis V ′ of the optical surface on the stop S side of the optical surface region D2 of the optical element L1 is different from the optical axis V of the lens optical system, but in FIG.
- the optical axis of the optical surface on the stop S side of the optical surface region D2 is the same as the optical axis of the lens L2.
- FIG. 18 is a perspective view of the optical element L1 shown in FIG. With such a configuration, the decentering of the optical axis of the lens surface of the optical surface region D2 of the optical element L1 is eliminated, so that deterioration in imaging performance due to decentering can be eliminated.
- FIG. 17B is an example in which the lens provided on the optical element L1 is configured separately from FIG. 17A.
- an optical element L1 in which filters having different spectral transmittance characteristics are formed is disposed on the subject side near the diaphragm, and an optical element L1 ′ is disposed on the object side near the diaphragm.
- Each of the optical elements L1 and L1 ′ has a first optical surface region D1 and a second optical surface region D2.
- the second optical surface region D2 in the optical element L1 ′ has a lens surface.
- the element forming the filter and the element forming the lens may be separate. Further, the positions of L1 and L1 ′ may be switched with respect to the stop.
- the lens L2 is a single lens that is not corrected for axial chromatic aberration, 2 having different optical powers in a plane perpendicular to the optical axis. By providing two regions, axial chromatic aberration can be reduced.
- the sixth embodiment is premised on a configuration having three optical surface regions D1, D2, and D3 as in the second embodiment, and the lens L2 is a lens having axial chromatic aberration.
- 3 having different optical powers in a plane perpendicular to the optical axis in the vicinity of the stop so that the in-focus positions of the light beams transmitted through the optical surface regions D1 and D2 are substantially equal.
- a detailed description of the same contents as in the fifth embodiment is omitted.
- the diaphragm S has the configuration shown in FIGS. 20 (a), (b), and (c), respectively.
- three lenses having different optical powers in a plane perpendicular to the optical axis are used even when a lens whose axial chromatic aberration is not corrected and corrected, such as a single lens, is used.
- a lens whose axial chromatic aberration is not corrected and corrected such as a single lens
- the present seventh embodiment is based on the premise that, as in the third embodiment, there are four optical surface regions D1, D2, D3, and D4, and the lens L2 is a lens having axial chromatic aberration. To do.
- a detailed description of the same contents as in the fifth embodiment is omitted.
- FIG 21 (a), (b) and (c) are perspective views of the optical element L1 when each optical surface area is divided into four in the seventh embodiment.
- the diaphragm S has a configuration shown in FIGS. 22 (a), (b), and (c), respectively.
- the seventh embodiment four lenses having different optical powers in a plane perpendicular to the optical axis are used even when a lens whose axial chromatic aberration is not corrected and corrected, such as a single lens, is used.
- a lens whose axial chromatic aberration is not corrected and corrected such as a single lens
- the eighth embodiment differs from the first to seventh embodiments in that a lenticular lens and a microlens array are formed on the imaging surface.
- a lenticular lens and a microlens array are formed on the imaging surface.
- FIG. 23 (a) and 23 (b) are diagrams showing the arrayed optical element K and the imaging element N in an enlarged manner.
- a lenticular lens (or microlens array) Md is formed on the imaging surface Ni of the imaging element N.
- Pixels P are arranged in a matrix on the imaging surface Ni, as in the first embodiment.
- One lenticular lens optical element or one microlens corresponds to the plurality of pixels P.
- the light beams that have passed through different regions on the optical element L1 can be guided to different pixels.
- FIG. 23B is a diagram showing a modification of the present embodiment. In the configuration shown in FIG.
- a microlens Ms is formed on the imaging surface Ni so as to cover the pixel P, and an arrayed optical element is stacked on the surface of the microlens Ms.
- the light collection efficiency can be increased as compared with the configuration in FIG.
- the array-like optical element is separated from the image sensor as in the first to seventh embodiments, it is difficult to align the array-like optical element and the image sensor.
- the array-like optical element is difficult to align.
- the lens L2 has a single configuration, it may be a lens having a plurality of groups or a plurality of configurations.
- the optical surface area is arranged on the object side surface of the optical element L1
- the optical surface area may be arranged on the image side surface of the optical element L1.
- the optical element L1 is disposed closer to the subject with respect to the position of the diaphragm because the arrangement is closer to the diaphragm.
- the optical element L1 is disposed on the image side with respect to the position of the stop, but may be disposed on the subject side with respect to the position of the stop. In this case, it is preferable that the optical surface area is disposed on the image side of the optical element L1 because it is closer to the stop.
- the lens surface provided in the optical element L1 or an element different from the optical element L1 is disposed on the object side surface of the element, but is disposed on the image side surface of the element. May be.
- Embodiments 1 to 8 only one color filter is disposed in each optical region in the direction of the optical axis, but a plurality of color filters may be stacked.
- a dielectric multilayer film filter and an absorption type filter having different spectral transmittance characteristics may be stacked, and a dielectric multilayer film may be formed on the absorption type filter.
- an image-side non-telecentric optical system may be applied, or an image-side telecentric optical system may be applied.
- Many lenses used in image pickup devices such as cameras have non-telecentric optical systems on the image side.
- the image-side non-telecentric optical system is applied to the lens optical system L according to the present invention, the principal ray is incident on the arrayed optical element K obliquely when the angle of view changes.
- FIG. 24A is an enlarged view showing the vicinity of the imaging unit outside the optical axis. In FIG. 24A, only the light beam that passes through one optical surface region of the light that passes through the arrayed optical element K is shown. As shown in FIG.
- the lens optical system L when the lens optical system L is an image-side non-telecentric optical system, light leaks to adjacent pixels and crosstalk tends to occur, but as shown in FIG.
- the offset amount ⁇ may be set according to the incident angle of the light beam on the imaging surface.
- an image side telecentric optical system may be applied to the lens optical system L of the embodiment of the present invention.
- the chief ray is incident on the arrayed optical element K at a value close to 0 degrees, so that crosstalk can be reduced over the entire imaging region. .
- the arrayed optical element K is a microlens array, but each optical element of the microlens has a rotationally symmetric shape with respect to the optical axis of each macrolens.
- a method of manufacturing the microlens there is a method of patterning a resist into a rectangle and forming a lens curved surface by heat treatment.
- a perspective view of such a microlens is as shown in FIG.
- the contour lines of the microlens in FIG. 25 (a1) are as shown in FIG. 25 (a2), so that the curvature radii in the vertical and horizontal directions are different from those in the oblique direction.
- FIG. 25 (a3) shows the result of ray tracing simulation when the microlens shown in FIGS. 25 (a1) and (a2) is applied to the arrayed optical element of the present invention.
- FIG. 25 (a3) only the light beam passing through one optical surface region of the light passing through the arrayed optical element K is shown. Light leaks and crosstalk occurs.
- a perspective view of a rotationally symmetric microlens is as shown in FIG.
- the contour lines of the microlens in FIG. 25 (b1) are as shown in FIG. 25 (b2), and the curvature radii in the vertical and horizontal directions and the oblique direction are equal.
- Such a rotationally symmetric microlens can be formed by thermal imprinting or UV imprinting.
- FIG. 25 (b3) shows a result of ray tracing simulation when the microlens shown in FIGS. 25 (b1) and (b2) is applied to the arrayed optical element of the present invention.
- FIG. 25 (b3) only the light beam passing through one optical surface region among the light passing through the arrayed optical element K is shown, but the crosstalk as shown in FIG. 25 (a3) does not occur. I understand that.
- crosstalk can be reduced, so that deterioration of color purity can be suppressed.
- the image sensor used in the first to eighth embodiments may be either a monochrome image sensor or a color image sensor.
- the width of the wavelength band of the light transmitted through at least one region of the optical element L1 is the width of the wavelength band of the color filter on the pixel to which the light beam passing through the region reaches.
- a narrower configuration may be used. Since the image pickup element uses a color image pickup element, it is not necessary to provide a color filter other than the at least one region of the optical element L1. With such a configuration, it is possible to acquire narrow-band image information, and it is possible to attenuate a wavelength band component caused by crosstalk due to the effect of the spectral transmittance characteristics of the color imaging element. Further, since it is not necessary to provide a color filter on the optical element L1 other than the at least one region, the cost can be reduced.
- Embodiments 1 to 8 are imaging devices including a signal processing unit C.
- the imaging device of the present invention may not include these signal processing units.
- the processing performed by the signal processing unit C may be performed using a PC or the like outside the imaging apparatus.
- the present invention can also be realized by a system including an imaging device including the lens optical system L, the arrayed optical element K, and the imaging device N, and an external signal processing device.
- the imaging device according to the present invention is useful as an imaging device such as a digital still camera or a digital video camera.
- the present invention can also be applied to medical cameras such as in-vehicle cameras, security cameras, endoscopes and capsule endoscopes, biometric authentication cameras, microscopes, and astronomical telescopes.
Landscapes
- Physics & Mathematics (AREA)
- General Physics & Mathematics (AREA)
- Optics & Photonics (AREA)
- Spectroscopy & Molecular Physics (AREA)
- Engineering & Computer Science (AREA)
- Multimedia (AREA)
- Signal Processing (AREA)
- Studio Devices (AREA)
- Color Television Image Signal Generators (AREA)
- Lenses (AREA)
- Transforming Light Signals Into Electric Signals (AREA)
Priority Applications (5)
| Application Number | Priority Date | Filing Date | Title |
|---|---|---|---|
| JP2012508278A JP5001471B1 (ja) | 2011-04-22 | 2011-10-31 | 撮像装置、撮像システム、及び撮像方法 |
| CN201180005162.9A CN102907102B (zh) | 2011-04-22 | 2011-10-31 | 摄像装置、摄像系统以及摄像方法 |
| EP11852202.8A EP2536153B1 (en) | 2011-04-22 | 2011-10-31 | Image capture device, image capture system, and image capture method |
| US13/519,627 US8717483B2 (en) | 2011-04-22 | 2011-10-31 | Imaging device, imaging system, and imaging method |
| US14/189,190 US8854525B2 (en) | 2011-04-22 | 2014-02-25 | Imaging device, imaging system, and imaging method |
Applications Claiming Priority (2)
| Application Number | Priority Date | Filing Date | Title |
|---|---|---|---|
| JP2011095742 | 2011-04-22 | ||
| JP2011-095742 | 2011-04-22 |
Related Child Applications (2)
| Application Number | Title | Priority Date | Filing Date |
|---|---|---|---|
| US13/519,627 A-371-Of-International US8717483B2 (en) | 2011-04-22 | 2011-10-31 | Imaging device, imaging system, and imaging method |
| US14/189,190 Continuation US8854525B2 (en) | 2011-04-22 | 2014-02-25 | Imaging device, imaging system, and imaging method |
Publications (1)
| Publication Number | Publication Date |
|---|---|
| WO2012143983A1 true WO2012143983A1 (ja) | 2012-10-26 |
Family
ID=47041137
Family Applications (1)
| Application Number | Title | Priority Date | Filing Date |
|---|---|---|---|
| PCT/JP2011/006093 Ceased WO2012143983A1 (ja) | 2011-04-22 | 2011-10-31 | 撮像装置、撮像システム、及び撮像方法 |
Country Status (5)
| Country | Link |
|---|---|
| US (1) | US8854525B2 (enExample) |
| EP (1) | EP2536153B1 (enExample) |
| JP (1) | JP2012235472A (enExample) |
| CN (1) | CN102907102B (enExample) |
| WO (1) | WO2012143983A1 (enExample) |
Cited By (13)
| Publication number | Priority date | Publication date | Assignee | Title |
|---|---|---|---|---|
| JP2015109523A (ja) * | 2013-12-03 | 2015-06-11 | 株式会社リコー | 撮像装置、調整装置および調整方法 |
| JP2015200640A (ja) * | 2014-03-31 | 2015-11-12 | パナソニックIpマネジメント株式会社 | 撮像装置、およびそれを用いた分析装置 |
| JP5884021B2 (ja) * | 2013-02-13 | 2016-03-15 | パナソニックIpマネジメント株式会社 | マルチスペクトル撮像装置およびマルチスペクトル撮像方法 |
| JP2016036127A (ja) * | 2014-07-31 | 2016-03-17 | パナソニックIpマネジメント株式会社 | 撮像装置および撮像システム |
| US9507123B2 (en) | 2013-07-12 | 2016-11-29 | Panasonic Intellectual Property Management Co., Ltd. | Imaging apparatus |
| US9661193B2 (en) | 2014-08-01 | 2017-05-23 | Panasonic Intellectual Property Management Co., Ltd. | Imaging apparatus and analyzing apparatus |
| WO2017217053A1 (ja) * | 2016-06-17 | 2017-12-21 | シャープ株式会社 | 画像撮像装置およびフィルタ |
| WO2018211588A1 (ja) * | 2017-05-16 | 2018-11-22 | オリンパス株式会社 | 撮像装置、撮像方法及びプログラム |
| US10310219B2 (en) | 2013-07-30 | 2019-06-04 | Panasonic Intellectual Property Management Co., Ltd. | Imaging apparatus, imaging system that includes imaging apparatus, electron mirror system that includes imaging apparatus, and ranging apparatus that includes imaging apparatus |
| WO2020071253A1 (ja) | 2018-10-03 | 2020-04-09 | 富士フイルム株式会社 | 撮像装置 |
| WO2020075523A1 (ja) | 2018-10-09 | 2020-04-16 | 富士フイルム株式会社 | 撮像装置 |
| US12092846B2 (en) | 2019-07-17 | 2024-09-17 | Fujifilm Corporation | Filter and imaging apparatus |
| WO2025258366A1 (ja) * | 2024-06-11 | 2025-12-18 | ソニーセミコンダクタソリューションズ株式会社 | 撮像素子 |
Families Citing this family (11)
| Publication number | Priority date | Publication date | Assignee | Title |
|---|---|---|---|---|
| CN104204941B (zh) * | 2012-03-21 | 2016-01-06 | 富士胶片株式会社 | 摄像装置 |
| JP6151632B2 (ja) * | 2013-12-20 | 2017-06-21 | 富士フイルム株式会社 | 撮像モジュール及び撮像装置 |
| US9484196B2 (en) | 2014-02-25 | 2016-11-01 | Micron Technology, Inc. | Semiconductor structures including liners comprising alucone and related methods |
| US11223014B2 (en) | 2014-02-25 | 2022-01-11 | Micron Technology, Inc. | Semiconductor structures including liners comprising alucone and related methods |
| US10249819B2 (en) | 2014-04-03 | 2019-04-02 | Micron Technology, Inc. | Methods of forming semiconductor structures including multi-portion liners |
| DE102014217750A1 (de) * | 2014-09-04 | 2016-03-10 | Conti Temic Microelectronic Gmbh | Kamerasystem und Verfahren zur Umfelderfassung eines Fahrzeugs |
| JP6529518B2 (ja) * | 2014-12-15 | 2019-06-12 | オリンパス株式会社 | 撮像装置およびカプセル型内視鏡 |
| US9904146B2 (en) * | 2015-10-29 | 2018-02-27 | GM Global Technology Operations LLC | Camera with positionable light shade |
| KR101965529B1 (ko) * | 2018-04-06 | 2019-04-03 | 한양대학교 산학협력단 | 양자점층을 포함하는 듀얼 이미지 센서 |
| CN112087559B (zh) * | 2019-06-13 | 2021-11-30 | 华为技术有限公司 | 图像传感器、图像拍摄装置和方法 |
| WO2021085368A1 (ja) * | 2019-10-30 | 2021-05-06 | 富士フイルム株式会社 | 撮像装置、撮像光学系及び撮像方法 |
Citations (6)
| Publication number | Priority date | Publication date | Assignee | Title |
|---|---|---|---|---|
| JP2002135796A (ja) * | 2000-10-25 | 2002-05-10 | Canon Inc | 撮像装置 |
| JP2003523646A (ja) * | 1999-02-25 | 2003-08-05 | ヴィジョンセンス リミテッド | 光学装置 |
| JP2006190958A (ja) | 2004-12-10 | 2006-07-20 | Sony Corp | 物理情報取得方法および物理情報取得装置、複数の単位構成要素が配列されてなる物理量分布検知の半導体装置の製造方法 |
| JP2007520166A (ja) * | 2004-01-26 | 2007-07-19 | ディジタル・オプティックス・コーポレイション | サブピクセル解像度を有する薄型カメラ |
| JP4253550B2 (ja) | 2003-09-01 | 2009-04-15 | オリンパス株式会社 | カプセル型内視鏡 |
| JP2010212306A (ja) | 2009-03-06 | 2010-09-24 | Panasonic Corp | 固体撮像装置 |
Family Cites Families (27)
| Publication number | Priority date | Publication date | Assignee | Title |
|---|---|---|---|---|
| US4230941A (en) | 1979-03-26 | 1980-10-28 | Honeywell Inc. | Corrector lens |
| US4318123A (en) * | 1980-06-05 | 1982-03-02 | Rca Corporation | Solid-state, color-encoding television camera |
| DE3048373A1 (de) | 1980-12-22 | 1982-07-29 | Agfa-Gevaert Ag, 5090 Leverkusen | Vorrichtung zur fotografischen aufnahme und wiedergabe von farbbildern nach dem linsenrasterprinzip |
| US5600486A (en) * | 1995-01-30 | 1997-02-04 | Lockheed Missiles And Space Company, Inc. | Color separation microlens |
| JPH11344662A (ja) | 1998-06-02 | 1999-12-14 | Ricoh Co Ltd | 自動合焦装置 |
| US7116352B2 (en) | 1999-02-25 | 2006-10-03 | Visionsense Ltd. | Capsule |
| JP2001174696A (ja) | 1999-12-15 | 2001-06-29 | Olympus Optical Co Ltd | カラー撮像装置 |
| EP1550166A1 (en) * | 2002-10-11 | 2005-07-06 | Smal Camera Technologies, INC. | Optical system comprising a solid-state image sensor with microlenses and a non-telecentric taking lens |
| US7153259B2 (en) | 2003-09-01 | 2006-12-26 | Olympus Corporation | Capsule type endoscope |
| US7405761B2 (en) | 2003-10-01 | 2008-07-29 | Tessera North America, Inc. | Thin camera having sub-pixel resolution |
| US7433042B1 (en) * | 2003-12-05 | 2008-10-07 | Surface Optics Corporation | Spatially corrected full-cubed hyperspectral imager |
| US7242478B1 (en) * | 2003-12-05 | 2007-07-10 | Surface Optics Corporation | Spatially corrected full-cubed hyperspectral imager |
| US7287854B2 (en) | 2004-09-27 | 2007-10-30 | Kowa Company Ltd. | Ophthalmic photography apparatus |
| CN100452414C (zh) * | 2004-12-10 | 2009-01-14 | 索尼株式会社 | 获取物理信息的方法、装置及装置的制造方法 |
| US7456384B2 (en) * | 2004-12-10 | 2008-11-25 | Sony Corporation | Method and apparatus for acquiring physical information, method for manufacturing semiconductor device including array of plurality of unit components for detecting physical quantity distribution, light-receiving device and manufacturing method therefor, and solid-state imaging device and manufacturing method therefor |
| EP1941314A4 (en) * | 2005-10-07 | 2010-04-14 | Univ Leland Stanford Junior | ARRANGEMENTS AND APPROACHES FOR MICROSCOPY |
| JP4967873B2 (ja) | 2007-07-13 | 2012-07-04 | ソニー株式会社 | 撮像装置 |
| FR2924235B1 (fr) * | 2007-11-27 | 2010-08-20 | Commissariat Energie Atomique | Dispositif d'imagerie visible a filtre colore |
| KR101483714B1 (ko) * | 2008-06-18 | 2015-01-16 | 삼성전자 주식회사 | 디지털 촬상 장치 및 방법 |
| WO2010122547A1 (en) * | 2009-04-20 | 2010-10-28 | Bio-Rad Laboratories Inc. | Non-scanning surface plasmon resonance ( spr) system |
| JP5515396B2 (ja) | 2009-05-08 | 2014-06-11 | ソニー株式会社 | 撮像装置 |
| JP5246424B2 (ja) | 2009-05-11 | 2013-07-24 | ソニー株式会社 | 撮像装置 |
| JP2013504940A (ja) * | 2009-09-10 | 2013-02-07 | コントラスト オプティカル デザイン アンド エンジニアリング,インク. | 全ビーム画像スプリッタシステム |
| US8143565B2 (en) | 2009-09-30 | 2012-03-27 | Ricoh Co., Ltd. | Adjustable multimode lightfield imaging system having an actuator for changing position of a non-homogeneous filter module relative to an image-forming optical module |
| WO2012066741A1 (ja) | 2010-11-16 | 2012-05-24 | 株式会社ニコン | マルチバンドカメラ及びマルチバンド画像撮像方法 |
| US9250131B2 (en) | 2011-01-17 | 2016-02-02 | Ricoh Co., Ltd. | Multi-imaging system with interleaved images |
| US8949078B2 (en) * | 2011-03-04 | 2015-02-03 | Ricoh Co., Ltd. | Filter modules for aperture-coded, multiplexed imaging systems |
-
2011
- 2011-10-31 WO PCT/JP2011/006093 patent/WO2012143983A1/ja not_active Ceased
- 2011-10-31 CN CN201180005162.9A patent/CN102907102B/zh active Active
- 2011-10-31 EP EP11852202.8A patent/EP2536153B1/en active Active
-
2012
- 2012-05-16 JP JP2012112504A patent/JP2012235472A/ja active Pending
-
2014
- 2014-02-25 US US14/189,190 patent/US8854525B2/en active Active
Patent Citations (6)
| Publication number | Priority date | Publication date | Assignee | Title |
|---|---|---|---|---|
| JP2003523646A (ja) * | 1999-02-25 | 2003-08-05 | ヴィジョンセンス リミテッド | 光学装置 |
| JP2002135796A (ja) * | 2000-10-25 | 2002-05-10 | Canon Inc | 撮像装置 |
| JP4253550B2 (ja) | 2003-09-01 | 2009-04-15 | オリンパス株式会社 | カプセル型内視鏡 |
| JP2007520166A (ja) * | 2004-01-26 | 2007-07-19 | ディジタル・オプティックス・コーポレイション | サブピクセル解像度を有する薄型カメラ |
| JP2006190958A (ja) | 2004-12-10 | 2006-07-20 | Sony Corp | 物理情報取得方法および物理情報取得装置、複数の単位構成要素が配列されてなる物理量分布検知の半導体装置の製造方法 |
| JP2010212306A (ja) | 2009-03-06 | 2010-09-24 | Panasonic Corp | 固体撮像装置 |
Non-Patent Citations (1)
| Title |
|---|
| See also references of EP2536153A4 |
Cited By (19)
| Publication number | Priority date | Publication date | Assignee | Title |
|---|---|---|---|---|
| US9843740B2 (en) | 2013-02-13 | 2017-12-12 | Panasonic Intellectual Property Management Co., Ltd. | Multispectral imaging device and multispectral imaging method |
| JP5884021B2 (ja) * | 2013-02-13 | 2016-03-15 | パナソニックIpマネジメント株式会社 | マルチスペクトル撮像装置およびマルチスペクトル撮像方法 |
| US9507123B2 (en) | 2013-07-12 | 2016-11-29 | Panasonic Intellectual Property Management Co., Ltd. | Imaging apparatus |
| US10606031B2 (en) | 2013-07-30 | 2020-03-31 | Panasonic Intellectual Property Management Co., Ltd. | Imaging apparatus, imaging system that includes imaging apparatus, electron mirror system that includes imaging apparatus, and ranging apparatus that includes imaging apparatus |
| US10310219B2 (en) | 2013-07-30 | 2019-06-04 | Panasonic Intellectual Property Management Co., Ltd. | Imaging apparatus, imaging system that includes imaging apparatus, electron mirror system that includes imaging apparatus, and ranging apparatus that includes imaging apparatus |
| JP2015109523A (ja) * | 2013-12-03 | 2015-06-11 | 株式会社リコー | 撮像装置、調整装置および調整方法 |
| JP2015200640A (ja) * | 2014-03-31 | 2015-11-12 | パナソニックIpマネジメント株式会社 | 撮像装置、およびそれを用いた分析装置 |
| JP2016036127A (ja) * | 2014-07-31 | 2016-03-17 | パナソニックIpマネジメント株式会社 | 撮像装置および撮像システム |
| US10051159B2 (en) | 2014-07-31 | 2018-08-14 | Panasonic Intellectual Property Management Co., Ltd. | Imaging apparatus and imaging system |
| US9661193B2 (en) | 2014-08-01 | 2017-05-23 | Panasonic Intellectual Property Management Co., Ltd. | Imaging apparatus and analyzing apparatus |
| JPWO2017217053A1 (ja) * | 2016-06-17 | 2019-01-31 | シャープ株式会社 | 画像撮像装置およびフィルタ |
| WO2017217053A1 (ja) * | 2016-06-17 | 2017-12-21 | シャープ株式会社 | 画像撮像装置およびフィルタ |
| WO2018211588A1 (ja) * | 2017-05-16 | 2018-11-22 | オリンパス株式会社 | 撮像装置、撮像方法及びプログラム |
| WO2020071253A1 (ja) | 2018-10-03 | 2020-04-09 | 富士フイルム株式会社 | 撮像装置 |
| US11457202B2 (en) | 2018-10-03 | 2022-09-27 | Fujifilm Corporation | Imaging device |
| WO2020075523A1 (ja) | 2018-10-09 | 2020-04-16 | 富士フイルム株式会社 | 撮像装置 |
| US11122242B2 (en) | 2018-10-09 | 2021-09-14 | Fujifilm Corporation | Imaging device |
| US12092846B2 (en) | 2019-07-17 | 2024-09-17 | Fujifilm Corporation | Filter and imaging apparatus |
| WO2025258366A1 (ja) * | 2024-06-11 | 2025-12-18 | ソニーセミコンダクタソリューションズ株式会社 | 撮像素子 |
Also Published As
| Publication number | Publication date |
|---|---|
| CN102907102A (zh) | 2013-01-30 |
| CN102907102B (zh) | 2015-04-01 |
| EP2536153B1 (en) | 2016-04-13 |
| JP2012235472A (ja) | 2012-11-29 |
| EP2536153A4 (en) | 2013-07-31 |
| US8854525B2 (en) | 2014-10-07 |
| EP2536153A1 (en) | 2012-12-19 |
| US20140168490A1 (en) | 2014-06-19 |
Similar Documents
| Publication | Publication Date | Title |
|---|---|---|
| JP5001471B1 (ja) | 撮像装置、撮像システム、及び撮像方法 | |
| CN102907102B (zh) | 摄像装置、摄像系统以及摄像方法 | |
| JP6004235B2 (ja) | 撮像装置および撮像システム | |
| US20110157451A1 (en) | Imaging device | |
| US20160299410A1 (en) | Imaging device | |
| JP5406383B2 (ja) | 撮像装置 | |
| US20190204610A1 (en) | Metasurface lens assembly for chromatic separation | |
| JP2011515045A (ja) | 多視点のイメージ取得を備えたセンサー | |
| KR102832511B1 (ko) | 분광소자 어레이, 촬상소자 및 촬상장치 | |
| US11930256B2 (en) | Imaging device, imaging optical system, and imaging method | |
| CN103477436B (zh) | 摄像装置 | |
| CN104106003A (zh) | 摄像装置 | |
| KR102797794B1 (ko) | 촬상소자 및 촬상장치 | |
| JP2005341301A (ja) | 複眼撮像装置 | |
| US11513324B2 (en) | Camera module | |
| WO2013038595A1 (ja) | 撮像装置 | |
| JP2015166723A (ja) | 撮像装置および撮像システム | |
| JP6563243B2 (ja) | 撮像装置及びカメラシステム | |
| JP2005338505A (ja) | 複眼撮像装置 | |
| Radl | Optimum pixel design for dispersive filtering |
Legal Events
| Date | Code | Title | Description |
|---|---|---|---|
| WWE | Wipo information: entry into national phase |
Ref document number: 201180005162.9 Country of ref document: CN |
|
| ENP | Entry into the national phase |
Ref document number: 2012508278 Country of ref document: JP Kind code of ref document: A |
|
| WWE | Wipo information: entry into national phase |
Ref document number: 13519627 Country of ref document: US |
|
| WWE | Wipo information: entry into national phase |
Ref document number: 2011852202 Country of ref document: EP |
|
| 121 | Ep: the epo has been informed by wipo that ep was designated in this application |
Ref document number: 11852202 Country of ref document: EP Kind code of ref document: A1 |
|
| NENP | Non-entry into the national phase |
Ref country code: DE |