WO2012132224A1 - 感圧スイッチ - Google Patents

感圧スイッチ Download PDF

Info

Publication number
WO2012132224A1
WO2012132224A1 PCT/JP2012/001337 JP2012001337W WO2012132224A1 WO 2012132224 A1 WO2012132224 A1 WO 2012132224A1 JP 2012001337 W JP2012001337 W JP 2012001337W WO 2012132224 A1 WO2012132224 A1 WO 2012132224A1
Authority
WO
WIPO (PCT)
Prior art keywords
electrodes
pressure
sensitive switch
electrode
pressing member
Prior art date
Legal status (The legal status is an assumption and is not a legal conclusion. Google has not performed a legal analysis and makes no representation as to the accuracy of the status listed.)
Ceased
Application number
PCT/JP2012/001337
Other languages
English (en)
French (fr)
Japanese (ja)
Inventor
竜 中江
山本 保
Current Assignee (The listed assignees may be inaccurate. Google has not performed a legal analysis and makes no representation or warranty as to the accuracy of the list.)
Panasonic Corp
Original Assignee
Panasonic Corp
Priority date (The priority date is an assumption and is not a legal conclusion. Google has not performed a legal analysis and makes no representation as to the accuracy of the date listed.)
Filing date
Publication date
Application filed by Panasonic Corp filed Critical Panasonic Corp
Publication of WO2012132224A1 publication Critical patent/WO2012132224A1/ja
Priority to US14/025,829 priority Critical patent/US20140015633A1/en
Anticipated expiration legal-status Critical
Ceased legal-status Critical Current

Links

Images

Classifications

    • HELECTRICITY
    • H03ELECTRONIC CIRCUITRY
    • H03KPULSE TECHNIQUE
    • H03K17/00Electronic switching or gating, i.e. not by contact-making and –breaking
    • H03K17/94Electronic switching or gating, i.e. not by contact-making and –breaking characterised by the way in which the control signals are generated
    • H03K17/96Touch switches
    • H03K17/9625Touch switches using a force resistance transducer
    • HELECTRICITY
    • H01ELECTRIC ELEMENTS
    • H01HELECTRIC SWITCHES; RELAYS; SELECTORS; EMERGENCY PROTECTIVE DEVICES
    • H01H13/00Switches having rectilinearly-movable operating part or parts adapted for pushing or pulling in one direction only, e.g. push-button switch
    • H01H13/70Switches having rectilinearly-movable operating part or parts adapted for pushing or pulling in one direction only, e.g. push-button switch having a plurality of operating members associated with different sets of contacts, e.g. keyboard
    • H01H13/78Switches having rectilinearly-movable operating part or parts adapted for pushing or pulling in one direction only, e.g. push-button switch having a plurality of operating members associated with different sets of contacts, e.g. keyboard characterised by the contacts or the contact sites
    • H01H13/785Switches having rectilinearly-movable operating part or parts adapted for pushing or pulling in one direction only, e.g. push-button switch having a plurality of operating members associated with different sets of contacts, e.g. keyboard characterised by the contacts or the contact sites characterised by the material of the contacts, e.g. conductive polymers
    • HELECTRICITY
    • H01ELECTRIC ELEMENTS
    • H01HELECTRIC SWITCHES; RELAYS; SELECTORS; EMERGENCY PROTECTIVE DEVICES
    • H01H2201/00Contacts
    • H01H2201/022Material
    • H01H2201/032Conductive polymer; Rubber
    • H01H2201/036Variable resistance
    • HELECTRICITY
    • H01ELECTRIC ELEMENTS
    • H01HELECTRIC SWITCHES; RELAYS; SELECTORS; EMERGENCY PROTECTIVE DEVICES
    • H01H2203/00Form of contacts
    • H01H2203/02Interspersed fingers

Definitions

  • the present invention relates to a pressure sensitive switch mainly used for operation of various electronic devices.
  • FIG. 7 is an exploded perspective view of a conventional pressure sensitive switch.
  • FIG. 8 is a cross-sectional view of a conventional pressure sensitive switch.
  • the pressure-sensitive switch 20 includes a pressure-sensitive conductive sheet 5, an electrode pair 15, and a pressing member 16.
  • the pressure-sensitive conductive sheet 5 includes a substrate 1, a low resistance layer 2, a high resistance layer 3, and a spacer 4.
  • the material of the flexible substrate 1 is polyethylene terephthalate or the like.
  • the low resistance layer 2 and the high resistance layer 3 are formed on the lower surface of the substrate 1 by screen printing or the like.
  • the annular spacer 4 is attached to the lower surface of the high resistance layer 3.
  • the low resistance layer 2 has a sheet resistance value of 50 ⁇ / ⁇ to 30 k ⁇ / ⁇ and is formed of phenol or the like in which carbon powder is dispersed.
  • the high resistance layer 3 has a sheet resistance value of 50 k ⁇ / ⁇ to 5 M ⁇ / ⁇ and is formed of phenol or the like in which carbon powder is dispersed. A large number of spherical particles 6 are mixed in the high resistance layer 3, and the particles 6 form irregularities on the lower surface of the high resistance layer 3.
  • the comb-like electrode pair 15 is disposed on the substrate 11 and includes electrodes 12A to 12D and electrodes 13A to 13C.
  • the pressure-sensitive conductive sheet 5 is disposed above the electrode pair 15, and the electrode pair 15 and the high resistance layer 3 face each other.
  • the pressing member 16 moves up and down by the operation of the operator.
  • the pressing member 16 is disposed on the upper surface of the pressure-sensitive conductive sheet 5.
  • the pressure-sensitive switch 20 is disposed on the front surface of a casing of various electronic devices such as a mobile phone and a car navigation system, and moves and displays a cursor (not shown) displayed on a liquid crystal display (not shown) of the electronic device. Used for.
  • the electrodes 12A to 12D and the electrodes 13A to 13C and the lower surface of the high resistance layer 3 come into contact with each other.
  • the contact area between the high resistance layer 3 and the electrodes 12A to 12D and the electrodes 13A to 13C increases as the pressing force of the operator increases.
  • the electrodes 12A to 12D and the electrodes 13A to 13C are electrically connected via the high resistance layer 3.
  • the resistance value between the electrodes 12A to 12D and the electrodes 13A to 13C changes. Due to the change in the resistance value, the output voltage of the electrode pair 15 to the control circuit (not shown) of the electronic device changes.
  • the control circuit changes, for example, the speed at which the cursor displayed on the liquid crystal display is moved and displayed in accordance with the change in voltage.
  • Patent Document 1 is known as prior art document information related to the invention of this application.
  • the present invention is a pressure-sensitive switch that can be easily operated by an operator when the input voltage to the control circuit changes gently with respect to the pressing force.
  • the pressure-sensitive switch includes a pressing member pressed by an operator, a base material disposed below the pressing member, a resistor printed on the bottom surface of the base material, and an electric circuit facing the base material in parallel.
  • the electrode that comes into contact with the resistor first by the pressing of the pressing member is electrically connected in parallel with the other electrode via the resistance element.
  • the change in the resistance value of the electrode pair can be made gentle with respect to the change in the pressing force of the pressing member, and the input voltage to the control circuit changes gradually with respect to the pressing force.
  • FIG. 1 is an exploded perspective view showing a pressure-sensitive switch according to an embodiment of the present invention.
  • FIG. 2 is a cross-sectional view of the pressure-sensitive switch according to the embodiment of the present invention.
  • FIG. 3A is a cross-sectional view showing a pressed state of the pressure-sensitive switch in the embodiment of the present invention.
  • FIG. 3B is a cross-sectional view showing a pressed state of the pressure-sensitive switch according to the embodiment of the present invention.
  • FIG. 4A is a circuit diagram of an electrode pair used in the pressure-sensitive switch according to the embodiment of the present invention.
  • FIG. 4B is a circuit diagram for explaining the operation of the electrode pair used in the pressure-sensitive switch according to the embodiment of the present invention.
  • FIG. 5A is a graph showing a change in resistance value with respect to the pressing force of the pressure-sensitive switch according to the embodiment of the present invention.
  • FIG. 5B is a graph showing a change in voltage with respect to the pressing force of the pressure-sensitive switch according to the embodiment of the present invention.
  • FIG. 6A is a top view of a substrate for explaining an electrode pattern used in the pressure-sensitive switch according to the embodiment of the present invention.
  • FIG. 6B is a top view of the substrate for explaining another pattern of electrodes used in the pressure-sensitive switch according to the embodiment of the present invention.
  • FIG. 6C is a top view of the substrate for explaining another pattern of the electrodes used in the pressure-sensitive switch according to the embodiment of the present invention.
  • FIG. 7 is an exploded perspective view of a conventional pressure sensitive switch.
  • FIG. 8 is a cross-sectional view of a conventional pressure sensitive switch.
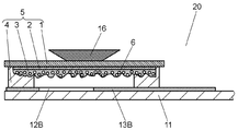
  • FIG. 1 is an exploded perspective view showing a pressure-sensitive switch 40 according to an embodiment of the present invention.
  • the pressure sensitive switch 40 includes a pressing member 36, a base member 21, a high resistance layer 24, a plurality of electrodes 32A to 32D and electrodes 33A to 33C, and a resistance connected to at least one electrode.
  • An element 34 is provided.
  • the base material 21 is disposed below the pressing member 36, and the high resistance layer 24 is a resistor and is printed on the lower surface of the base material 21.
  • the electrode 33B that first contacts the resistor by the pressing of the pressing member is electrically connected in parallel with the other electrodes 33A and 33C via the resistance element 34.
  • the resistance value of the electrode pair 35 including the electrodes 32A to 32D and the electrodes 33A to 33C can be moderately changed with respect to the pressing force of the pressing member 36.
  • the pressure-sensitive switch 40 that allows easy operation of the electronic device such as adjusting the moving speed of a cursor (not shown) displayed on the electronic device (not shown) to a desired speed.
  • the low resistance layer 2 and the high resistance layer 3 are very thin, and even if the pressing force on the upper surface of the pressing member 16 is small, The resistance value between the electrodes 12A to 12D and the electrodes 13A to 13C immediately decreases. Therefore, even if the operator tries to adjust the moving speed of the cursor or the like to a desired speed, it is difficult to press the pressing member 16 with an appropriate pressing force, which hinders easy operation.
  • the pressure sensitive switch having the configuration of the present embodiment changes the resistance value of the electrode pair 35 including the electrodes 32A to 32D and the electrodes 33A to 33C with respect to the change of the pressing force of the pressing member 36. It can be gradual.
  • FIG. 2 is a cross-sectional view of the pressure-sensitive switch 40 according to the embodiment of the present invention.
  • the pressure-sensitive switch 40 includes a pressure-sensitive conductive sheet 26, an electrode pair 35, and a pressing member 36.
  • the pressure-sensitive conductive sheet 26 includes a base material 21, a low resistance layer 22, a medium resistance layer 23, a high resistance layer 24, and a spacer 25.
  • the flexible base material 21 is made of polyethylene terephthalate or the like.
  • a low resistance layer 22, a medium resistance layer 23, and a high resistance layer 24 are formed on the lower surface of the substrate 21, and an annular spacer 25 is attached to the lower surface of the high resistance layer 24.
  • the sheet resistance value of the middle resistor layer 23 is between the sheet resistance value of the high resistor layer 24 and the sheet resistance value of the low resistor layer 22, and the sheet resistance value of the low resistor layer 22 is the lowest.
  • the sheet resistance value of the low resistance layer 22 is 50 ⁇ / ⁇ to 20 k ⁇ / ⁇
  • the sheet resistance value of the medium resistance layer 23 is 20 k ⁇ / ⁇ to 80 k ⁇ / ⁇
  • the sheet resistance value of the high resistance layer 24 is 80 k ⁇ / ⁇ .
  • ⁇ ⁇ 5M ⁇ / ⁇ is more suitable.
  • the thicknesses of the low resistance layer 22, the middle resistance layer 23, and the high resistance layer 24 are all about 1 to 50 ⁇ m and are formed by screen printing or the like.
  • a large number of spherical particles 27 are mixed in the high resistance layer 24, which is an example of a resistor, and irregularities are formed on the lower surface of the high resistance layer 24 by the particles 27.
  • the comb-like electrode pair 35 is configured on the upper surface of the substrate 31.
  • the electrode pair 35 includes electrodes 32A to 32D, electrodes 33A to 33C, and a resistance element 34.
  • the electrode pair 35 is electrically connected to the power source at the left terminal A11, and is connected to the ground potential via a pull-down resistor at the right terminal B11.
  • the electrodes 32A to 32D are connected to the terminal A11.
  • the electrodes 33A and 33C are connected to the terminal B11, and the electrode 33B is connected to the terminal B11 via the resistance element 34.
  • the pressure-sensitive conductive sheet 26 is disposed above the electrode pair 35, and the electrode pair 35 and the high resistance layer 24 face each other.
  • a pressing member 36 that moves up and down by an operator's operation is disposed on the upper surface of the pressure-sensitive conductive sheet 26.
  • the pressure-sensitive switch 40 configured in this manner is arranged on the front surface of the casing of various electronic devices such as a mobile phone and a car navigation system. For example, a cursor (not shown) displayed on a liquid crystal display (not shown) of the electronic device. Used to move and display.
  • the contact area between the high resistance layer 24 and the electrodes 32A to 32D and the electrodes 33A to 33C increases as the pressing force of the operator increases.
  • the electrodes 32A to 32D and the electrodes 33A to 33C are electrically connected through the high resistance layer 24.
  • a resistance value change between the electrodes 32A to 32D or the electrodes 33A to 33C causes an electrode pair to be connected to a control circuit (not shown) of the electronic device.
  • the voltage input from 35 changes.
  • the control circuit changes the speed of moving and displaying the cursor displayed on the liquid crystal display or the like in accordance with the change in voltage.
  • FIG. 3A is a cross-sectional view of the pressure-sensitive switch 40 taken along the electrode 33B.
  • 3B is a cross-sectional view of the 3B-3B cross section in FIG. 3A.
  • the electrode 33B and the high resistance layer 24 first come into contact with each other.
  • the high resistance layer 24 is also in contact with, for example, the electrodes 32B and 32C, and the electrode 33B is electrically connected to the electrodes 32B and 32C through the high resistance layer 24.
  • the electrodes 32A, 32D, 33A, and 33C are sequentially increased from the electrode closer to the electrode 33B that first contacts the high resistance layer 24. Contact with the resistor layer 24.
  • FIG. 4A is a circuit diagram of the electrode pair 35.
  • 4B is a circuit diagram in which the connection between the electrode 33A and the resistance element 34 and the connection between the electrode 33C and the resistance element 34 are disconnected. Note that FIG. 4B is shown as a hypothesis, and is a diagram for explaining a change in resistance value regarding each of the electrodes 33A to 33C.
  • terminal A11 is connected to a power source among both ends of electrode pair 35, and terminal B11 serving as an output terminal of electrode pair 35 is connected to the ground potential via a pull-down resistance element.
  • terminals B12 to B14 are output terminals related to the electrode 33A, the electrode 33B, the resistance element 34, and the electrode 33C, respectively.
  • the resistance value between the terminal A11 and the terminal B11 in FIG. 4A is the resistance value between the terminal A11 and the terminal B12 in FIG. 4B, the resistance value between the terminal A11 and the terminal B13, and the resistance value between the terminal A11 and the terminal B14.
  • the combined resistance value is the resistance value between the terminal A11 and the terminal B12 in FIG. 4B.
  • FIG. 5A shows a graph showing changes in these resistance values with respect to the pressing force of the operator.
  • FIG. 5B is a graph showing a change in the output voltage of the terminal B11 with respect to the pressing force of the operator.
  • the curve C11 is the resistance value between the terminal A11 and the terminal B11
  • the curve C12 is the resistance value between the terminal A11 and the terminal B13
  • the curve C13 is the resistance value between the terminal A11 and the terminal B12
  • the resistance value is shown. Note that the resistance value between the terminal A11 and the terminal B12 and the resistance value between the terminal A11 and the terminal B14 are substantially the same, and are represented by a curve C13.
  • the curve D11 indicates the output voltage of the terminal B11.
  • the curve D11 changes in inverse proportion to the change of the curve C11 in FIG. 5A.
  • the curve C12 has a large contact area between the electrode 33B and the high resistance layer 24 even if the pressing force is small because the electrode 33B first contacts the lower surface of the high resistance layer 24. Therefore, it changes even with a small pressing force and converges to a resistance value R11 which is a predetermined resistance value of the resistance element 34.
  • the resistance value R11 is preferably 10 k ⁇ or more and 10 M ⁇ or less.
  • the contact resistance values of the electrodes 33A and 33C gradually decrease after the pressing force increases as shown by the curve C13.
  • the resistance value between the terminal A11 and the terminal B11 indicated by the curve C11 is greatly influenced by the curve C12 in the region where the pressing force is small, whereas the influence of the curve C13 is large in the region where the pressing force is large. It changes gradually with respect to changes in
  • the curve D11 changes gently with respect to the change in the pressing force as a whole, just like the curve C11 changes gently with respect to the change in the pressing force as a whole.
  • the resistance element 34 is connected to the electrode 33B that first contacts the high resistance layer 24 as compared with the conventional pressure sensitive switch 20, and therefore, the pressure sensitive switch 40 is between the high resistance layer 24 and the electrode 33B.
  • the influence of the change in the contact resistance value on the change in the resistance of the electrode pair 35 can be mitigated.
  • the resistance value of the electrode pair 35 changes gently when the pressing force of the pressing member 36 changes.
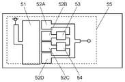
  • FIG. 6A is a top view of the substrate 31 showing an example of the wiring pattern of the electrode pair 35.
  • FIG. 6B is a top view of the substrate 31 showing an example of the wiring pattern of the electrode pair 45.
  • FIG. 6C is a top view of the substrate 31 showing an example of the wiring pattern of the electrode pair 55.
  • the line widths of the electrodes 32A to 32D and 33A to 33C are 0.1 mm, and the electrodes are arranged at intervals of 0.1 mm, such as between the electrodes 32A and 33A. .
  • the electrodes 32A to 32D are arranged in parallel at the portions in contact with the high resistance layer 24, respectively.
  • the electrodes 33A to 33C are also arranged in parallel at the portion in contact with the high resistance layer 24.
  • the electrode 33B that first contacts the high resistance layer 24 is electrically connected in parallel to the electrodes 33A and 33C via the resistance element.
  • the electrodes 33A to 33C are arranged in parallel at a portion in contact with the high-resistance body layer 24 serving as a resistor.
  • the electrodes 33A to 33C are sequentially arranged from the electrode closest to the electrode in contact with the high-resistance body layer 24 by pressing of the pressing member 36 in order. Contact the body layer 24.
  • FIG. 6B is different from FIG. 6A in that a resistance element 41 is connected to the electrode 33A and a resistance element 42 is connected to the electrode 33C. Even if the resistance elements 41 and 42 are connected to the electrodes 33A and 33C, the resistance values of the resistance elements 41 and 42 only need to be smaller than that of the resistance element 34.
  • the electrode 51 in FIG. 6C is not a comb-teeth shape but a square shape, and the electrodes 52A to 52D have a change in width. As shown in FIG. 6C, the shape of the electrode may not be the shape of a comb-like electrode. The plurality of electrodes 52A to 52D may be electrically connected in parallel.
  • Resistance elements 53 and 54 are electrically connected to the electrode 52B and the electrode 52C, respectively. Of the electrodes 52B and 52C, the resistance value of the resistance element connected to the electrode that first contacts the high resistance layer 24 is increased.
  • the low resistor layer 22 or the medium resistor layer 23 is not necessarily required, and the high resistor layer 24 may be provided.
  • the high resistance layer 24 does not necessarily require the mixing of the particles 27, and it is sufficient if the lower surface is provided with irregularities.
  • the pressure-sensitive switch according to the present invention has an advantageous effect that it can be easily operated by an operator, and is mainly useful for operating various electronic devices.

Landscapes

  • Push-Button Switches (AREA)
  • Input From Keyboards Or The Like (AREA)
  • Position Input By Displaying (AREA)
PCT/JP2012/001337 2011-03-25 2012-02-28 感圧スイッチ Ceased WO2012132224A1 (ja)

Priority Applications (1)

Application Number Priority Date Filing Date Title
US14/025,829 US20140015633A1 (en) 2011-03-25 2013-09-13 Pressure-sensitive switch

Applications Claiming Priority (2)

Application Number Priority Date Filing Date Title
JP2011-067240 2011-03-25
JP2011067240A JP5691020B2 (ja) 2011-03-25 2011-03-25 感圧スイッチ

Related Child Applications (1)

Application Number Title Priority Date Filing Date
US14/025,829 Continuation US20140015633A1 (en) 2011-03-25 2013-09-13 Pressure-sensitive switch

Publications (1)

Publication Number Publication Date
WO2012132224A1 true WO2012132224A1 (ja) 2012-10-04

Family

ID=46930020

Family Applications (1)

Application Number Title Priority Date Filing Date
PCT/JP2012/001337 Ceased WO2012132224A1 (ja) 2011-03-25 2012-02-28 感圧スイッチ

Country Status (3)

Country Link
US (1) US20140015633A1 (enExample)
JP (1) JP5691020B2 (enExample)
WO (1) WO2012132224A1 (enExample)

Families Citing this family (18)

* Cited by examiner, † Cited by third party
Publication number Priority date Publication date Assignee Title
US9460029B2 (en) 2012-03-02 2016-10-04 Microsoft Technology Licensing, Llc Pressure sensitive keys
US10466118B1 (en) 2015-08-28 2019-11-05 Multek Technologies, Ltd. Stretchable flexible durable pressure sensor
US10993635B1 (en) 2016-03-22 2021-05-04 Flextronics Ap, Llc Integrating biosensor to compression shirt textile and interconnect method
US11625898B2 (en) 2016-10-11 2023-04-11 Valve Corporation Holding and releasing virtual objects
US10898797B2 (en) 2016-10-11 2021-01-26 Valve Corporation Electronic controller with finger sensing and an adjustable hand retainer
US10691233B2 (en) 2016-10-11 2020-06-23 Valve Corporation Sensor fusion algorithms for a handheld controller that includes a force sensing resistor (FSR)
US11185763B2 (en) 2016-10-11 2021-11-30 Valve Corporation Holding and releasing virtual objects
US10391400B1 (en) 2016-10-11 2019-08-27 Valve Corporation Electronic controller with hand retainer and finger motion sensing
US10987573B2 (en) 2016-10-11 2021-04-27 Valve Corporation Virtual reality hand gesture generation
US10307669B2 (en) 2016-10-11 2019-06-04 Valve Corporation Electronic controller with finger sensing and an adjustable hand retainer
US10888773B2 (en) * 2016-10-11 2021-01-12 Valve Corporation Force sensing resistor (FSR) with polyimide substrate, systems, and methods thereof
JP7143336B2 (ja) 2017-06-16 2022-09-28 バルブ コーポレーション 指動作のセンシングを備えた電子コントローラ
US10444094B1 (en) * 2017-07-14 2019-10-15 Flex Ltd. Bladder system for force sensitive resistors (FSR) sensors
US10690559B1 (en) 2018-03-28 2020-06-23 Flex Ltd. Pressure sensor array and the method of making
EP3794617A4 (en) * 2018-05-18 2022-03-09 Valve Corporation FORCE SENSING RESISTANCE (FSR) WITH POLYIMIDE SUBSTRATE, RELATED SYSTEMS AND METHODS
US10650946B1 (en) 2018-08-08 2020-05-12 Flex Ltd. Trimming method of DCR sensing circuits
US11022580B1 (en) 2019-01-31 2021-06-01 Flex Ltd. Low impedance structure for PCB based electrodes
US11668686B1 (en) 2019-06-17 2023-06-06 Flex Ltd. Batteryless architecture for color detection in smart labels

Citations (4)

* Cited by examiner, † Cited by third party
Publication number Priority date Publication date Assignee Title
JPH0227627A (ja) * 1988-07-18 1990-01-30 Bridgestone Corp 押しボタンスイッチ
JP2003051227A (ja) * 2001-08-06 2003-02-21 Nabco Ltd 面状感応センサ
JP2009016330A (ja) * 2007-06-04 2009-01-22 Panasonic Corp 可動接点体及びこれを用いたスイッチ
JP2009218029A (ja) * 2008-03-10 2009-09-24 Panasonic Corp 感圧導電シート及びこれを用いたパネルスイッチ

Family Cites Families (8)

* Cited by examiner, † Cited by third party
Publication number Priority date Publication date Assignee Title
US3617666A (en) * 1970-04-30 1971-11-02 Data Appliance Corp Pressure-operated layered electrical switch and switch array
JPS5482699A (en) * 1977-12-15 1979-07-02 Shinetsu Polymer Co Pressure sensitive resistance element
JPH1078357A (ja) * 1996-09-04 1998-03-24 Alps Electric Co Ltd 感圧抵抗素子
LU90286B1 (fr) * 1998-09-11 2000-03-13 Iee Sarl Capteur de force
JP3980300B2 (ja) * 2000-09-07 2007-09-26 株式会社フジクラ 膜状感圧抵抗体および感圧センサ
US7528337B2 (en) * 2007-05-15 2009-05-05 Panasonic Corporation Pressure sensitive conductive sheet and panel switch using same
JP2011014521A (ja) * 2009-06-02 2011-01-20 Panasonic Corp 感圧スイッチおよびこれを用いた入力装置
US8368505B2 (en) * 2010-03-12 2013-02-05 Almax Manufacturing Corporation Switch using variable resistance layer to control state

Patent Citations (4)

* Cited by examiner, † Cited by third party
Publication number Priority date Publication date Assignee Title
JPH0227627A (ja) * 1988-07-18 1990-01-30 Bridgestone Corp 押しボタンスイッチ
JP2003051227A (ja) * 2001-08-06 2003-02-21 Nabco Ltd 面状感応センサ
JP2009016330A (ja) * 2007-06-04 2009-01-22 Panasonic Corp 可動接点体及びこれを用いたスイッチ
JP2009218029A (ja) * 2008-03-10 2009-09-24 Panasonic Corp 感圧導電シート及びこれを用いたパネルスイッチ

Also Published As

Publication number Publication date
US20140015633A1 (en) 2014-01-16
JP5691020B2 (ja) 2015-04-01
JP2012204127A (ja) 2012-10-22

Similar Documents

Publication Publication Date Title
JP5691020B2 (ja) 感圧スイッチ
US8368505B2 (en) Switch using variable resistance layer to control state
US7960667B2 (en) Movable contact element and switch using the same
US6690361B1 (en) Touch panel
CN101320644B (zh) 可动接点体和使用该可动接点体的开关
KR102581141B1 (ko) 터치 센서 및 이를 이용한 터치 감지 방법
EP3440508B1 (en) Electro-active lenses with raised resistive bridges
CN103995617A (zh) 内嵌式触控显示面板、其操作方法及显示装置
CN108089698B (zh) 触觉提示装置及电子设备
US20110025352A1 (en) Touch device and control method
JP5407152B2 (ja) 感圧導電シート及びこれを用いたパネルスイッチ
KR101878858B1 (ko) 입력 장치 및 그의 제조 방법
TWI476671B (zh) 觸控面板
JP2010186460A (ja) タッチパネル
JP2015232490A (ja) 感圧センサ及びこれを用いた入力デバイス
CN102479014A (zh) 柔性电路板及应用该柔性电路板的触摸设备
JP5279530B2 (ja) タッチパネル
JP2022176351A5 (enExample)
JP2003241898A (ja) タッチパネル
CN110580116B (zh) 显示装置
JP2016162003A (ja) 静電容量式センサ、タッチパネル及び電子機器
KR102099393B1 (ko) 반사형 표시 장치
JP2008070938A (ja) タッチパネル
CN204009802U (zh) 内嵌式触控显示面板及显示装置
JP2019086811A (ja) タッチパネル装置

Legal Events

Date Code Title Description
121 Ep: the epo has been informed by wipo that ep was designated in this application

Ref document number: 12763384

Country of ref document: EP

Kind code of ref document: A1

NENP Non-entry into the national phase

Ref country code: DE

122 Ep: pct application non-entry in european phase

Ref document number: 12763384

Country of ref document: EP

Kind code of ref document: A1