WO2012086358A1 - ビューワ装置、閲覧システム、ビューワプログラム及び記録媒体 - Google Patents

ビューワ装置、閲覧システム、ビューワプログラム及び記録媒体 Download PDF

Info

Publication number
WO2012086358A1
WO2012086358A1 PCT/JP2011/076990 JP2011076990W WO2012086358A1 WO 2012086358 A1 WO2012086358 A1 WO 2012086358A1 JP 2011076990 W JP2011076990 W JP 2011076990W WO 2012086358 A1 WO2012086358 A1 WO 2012086358A1
Authority
WO
WIPO (PCT)
Prior art keywords
balloon
information
sentence
image
display control
Prior art date
Legal status (The legal status is an assumption and is not a legal conclusion. Google has not performed a legal analysis and makes no representation as to the accuracy of the status listed.)
Ceased
Application number
PCT/JP2011/076990
Other languages
English (en)
French (fr)
Japanese (ja)
Inventor
椿 尚宜
Current Assignee (The listed assignees may be inaccurate. Google has not performed a legal analysis and makes no representation or warranty as to the accuracy of the list.)
Fujifilm Corp
Original Assignee
Fujifilm Corp
Priority date (The priority date is an assumption and is not a legal conclusion. Google has not performed a legal analysis and makes no representation as to the accuracy of the date listed.)
Filing date
Publication date
Application filed by Fujifilm Corp filed Critical Fujifilm Corp
Publication of WO2012086358A1 publication Critical patent/WO2012086358A1/ja
Anticipated expiration legal-status Critical
Ceased legal-status Critical Current

Links

Images

Classifications

    • GPHYSICS
    • G06COMPUTING OR CALCULATING; COUNTING
    • G06FELECTRIC DIGITAL DATA PROCESSING
    • G06F40/00Handling natural language data
    • G06F40/10Text processing
    • G06F40/103Formatting, i.e. changing of presentation of documents
    • G06F40/106Display of layout of documents; Previewing
    • GPHYSICS
    • G06COMPUTING OR CALCULATING; COUNTING
    • G06FELECTRIC DIGITAL DATA PROCESSING
    • G06F40/00Handling natural language data
    • G06F40/40Processing or translation of natural language
    • G06F40/53Processing of non-Latin text

Definitions

  • the present invention relates to a viewer apparatus, a browsing system, a viewer program, and a recording medium that can display a translated sentence obtained by translating an original sentence into a predetermined language in a balloon of an electronic comic image.
  • Patent Document 1 for vertical writing of a manuscript and horizontal writing of a translated sentence, layout information is rotated and converted into a horizontal writing layout.
  • Patent Document 2 if the name does not fit in the balloon frame, the character series is lowered or the character spacing is reduced.
  • the size of the text box is adjusted so that all the characters of the inserted name can be accommodated without any shortage.
  • a belt-like telop area is provided on the display screen, and the translated sentence for the speech in the speech balloon is displayed as subtitles in the telop area.
  • Patent Document 6 the omission of the pattern that occurs at the original position of the image is compensated from the constituent pattern of the surrounding image to close it.
  • Patent Document 4 An image processing technique that simply adjusts the size of the text box according to the magnification of the image (see Patent Document 4), or an image processing technique that displays the translated text as a subtitle in a band-like telop area (see Patent Document 5) ) Is known, but even if such a conventional technique is applied to a case where a translated sentence is put in a speech balloon, a problem peculiar to comics cannot be solved.
  • a translated sentence for example, English
  • a vertical line for example, Japanese
  • the translated sentence will be displayed regardless of the display magnification of the image. In many cases, the entire sentence does not enter the balloon.
  • a translated sentence is generally displayed around an image (that is, a position where the translated sentence can be sufficiently displayed). If a telop area is provided at the position of the speech balloon and the translated sentence protrudes from the speech balloon, there is a problem that the translated sentence overlaps the character's picture.
  • the present invention has been made in view of such circumstances, and when a user browses an electronic comic, while protecting the rights of the author, the user feels the same as when the translated sentence is displayed in the original text.
  • the purpose is to make it possible to observe properly.
  • the present invention includes display means, balloon area information indicating an existence area in the image of a balloon in which an image of each page or frame of a comic, and a speech of a comic character is entered.
  • Speech information including text information including translation information obtained by translating the speech of the original text in each speech balloon into a predetermined language, and text information associated with each speech balloon, and the image on the screen of the display means for scroll reproduction or frame
  • Information acquisition means for acquiring electronic comic information including display control information for display by reproduction, and displaying the image on the screen of the display means by scroll reproduction or frame reproduction based on the acquired display control information
  • the entire sentence of the translation corresponding to the balloon is preliminarily stored.
  • a discriminating means for discriminating whether or not a character is set with a set character size; and in place of the original text in the speech balloon in the image displayed on the screen based on the acquired speech balloon information and text information;
  • a translated text display control means for displaying a translated text, and when the discriminating means determines that the entire text of the translated text enters, the translated text is displayed in the balloon, and the discriminating means displays the translated text
  • a viewer device includes a translated sentence display control means for expanding the balloon and displaying the translated sentence in the expanded balloon.
  • the present invention it is determined whether or not the entire sentence of the dialogue translation sentence is included in the balloon in a preset character size, and if it is determined that the entire sentence translation sentence is included, When the entire sentence translation sentence is displayed and it is determined that the entire sentence translation sentence does not enter, the balloon is expanded and the dialogue translation is displayed in the expanded balloon.
  • the translated text in the speech balloon can be observed with the same feeling as in the original text display.
  • the electronic comic information includes character information including character area information indicating a character existing area in the image
  • the translated sentence display control means includes the character information Based on the area information, the balloon is expanded so as not to overlap with the character existing area.
  • the translated sentence display control unit detects that the original sentence in the balloon is vertically written and the predetermined language of the translated sentence is horizontally written based on the electronic comic information, or When it is detected that the original sentence in the balloon is horizontal writing and the predetermined language of the translated sentence is vertical writing, the balloon is expanded only in the direction of the predetermined language of the translated sentence in the horizontal direction and the vertical direction.
  • the balloon information includes position information of the balloon
  • the translated sentence display control unit is configured to prevent the position of the balloon from moving based on the position information of the balloon. Enlarge the speech balloon.
  • the balloon information includes a type of a stroke drawn line
  • the translated sentence display control means is a balloon having the same type of stroke based on the type of the stroke drawn line. Enlarge the speech balloon.
  • display means image for each page or frame of a comic, and balloon information including balloon area information indicating a presence area in the image of a balloon in which a speech of a comic character enters , Text information including a translated sentence obtained by translating the dialogue of the original sentence in each balloon into a predetermined language and associated with each balloon, and displaying the image on the screen of the display means by scroll reproduction or frame reproduction Information acquisition means for acquiring electronic comic information including display control information for causing image display, and image display control for displaying the image on the screen of the display means by scroll reproduction or frame reproduction based on the acquired display control information And the whole sentence of the translation corresponding to the balloon is preset in a balloon in the image displayed on the screen of the display means A means for determining whether or not the character size is entered, and the translated sentence instead of the original sentence in the balloon in the image displayed on the screen based on the acquired balloon information and text information.
  • a translated sentence display control means for displaying, when the judging means judges that the whole sentence of the translated sentence is entered, the whole sentence of the translated sentence is displayed in the balloon, and the whole sentence of the translated sentence is displayed by the judging means;
  • a translation display control means for enlarging the image so that the entire sentence of the translated sentence enters the balloon and displaying the translation in the balloon of the enlarged image.
  • the present invention it is determined whether or not the entire sentence of the dialogue translation sentence is included in the balloon in a preset character size, and if it is determined that the entire sentence translation sentence is included, If the full text of the dialogue translation is displayed and it is determined that the full text of the dialogue translation does not enter, the image is enlarged so that the full text of the dialogue translation falls within the speech balloon, and the Since the translated sentence in the speech is displayed in the balloon, the user can observe the translated sentence in the balloon with the same feeling as in the original sentence display.
  • the determination unit determines whether or not the entire sentence of the translated sentence corresponding to the balloon is placed in a preset character size in a balloon displayed according to the screen size of the display unit. Is determined.
  • the text information includes character attribute information indicating a character size and a character type
  • the translated sentence display control unit is configured to display characters based on the text information and the character attribute information. Is generated.
  • a character size changing means for changing the character size is provided.
  • the translated sentence display control unit adjusts the number of lines, the line interval, or the character interval of the translated sentence arranged in a balloon in an image displayed on the screen of the display unit.
  • the discriminating unit discriminates whether or not the entire sentence of the translated sentence when adjusted by the translated sentence display control unit enters the balloon.
  • the present invention also provides a browsing system including a user terminal including the function of the viewer device and a server that provides the electronic comic information in response to a request from the user terminal.
  • the present invention provides a viewer program for realizing the viewer device.
  • the present invention also provides a recording medium on which the viewer program is recorded.
  • scroll playback includes so-called scroll view playback.
  • content images for each page are scrolled and displayed automatically (or by operation) on the display screen.
  • Frame playback includes so-called frame view playback.
  • frame playback content images for each frame (including images clipped from the content image for each page in units of frames) are automatically switched (or manually) on the display screen.
  • the user when a user views an electronic comic, the user can appropriately observe the translated sentence in the same manner as when displaying the original sentence while protecting the rights of the author. Can do.
  • FIG. 1 Schematic configuration diagram of browsing system
  • the figure which shows an example of the information regarding the shape of a speech balloon (normal) The figure which shows an example of the information regarding the shape of a speech balloon (loud)
  • the figure which shows an example of the information regarding the shape of a speech balloon (imagination) The figure which shows an example of the information regarding the shape of a balloon (non-living)
  • the figure which shows an example of a format of electronic comic information Flow chart showing the distribution process of electronic comic information
  • a flowchart showing an outline of display processing in a scroll view Flowchart showing the outline of display processing in frame view
  • the flowchart which shows the detail of an example of a display process A figure showing an example of a display image with original text
  • the figure which shows the display image when it is a display image which displayed the translation in the expanded balloon, and expanded the balloon around The figure which shows the display image when it is a display image which displayed the translation in the expanded balloon, and the balloon is expanded so that the position of the balloon may not
  • FIG. 1 shows a configuration of an electronic book browsing system according to a preferred embodiment of the present invention.
  • This system includes a server 1 and an electronic book viewer 2.
  • the server 1 includes an operation device that can receive an instruction input from a specific administrator, an input / output device that can input (acquire) and output various information, a control device that performs various arithmetic processes and controls, and a storage device.
  • the electronic book viewer 2 includes a display device capable of displaying an image, a sound output device capable of outputting sound, an operation device capable of receiving user instruction input, an input / output device capable of inputting (acquiring) and outputting various information, It is a user terminal provided with the control device which performs various arithmetic processing and control.
  • the electronic book viewer 2 is configured by a mobile terminal such as a mobile phone, a mobile game machine, and a mobile computer device, for example. It should be noted that an unspecified number of electronic book viewers 2 accessing the server 1 may be used.
  • the server 1 includes an analysis unit 10, a database (DB) 11, an operation unit 16, and an input / output unit 17.
  • DB database
  • the server 1 includes an analysis unit 10, a database (DB) 11, an operation unit 16, and an input / output unit 17.
  • the DB 11 stores electronic comic information 12. Details of the electronic comic information will be described later.
  • the analysis unit 10 is composed of a control device such as a CPU.
  • the DB 11 is configured by a storage device such as a hard disk or a memory.
  • the operation unit 16 includes operation devices such as a keyboard, a mouse, and a touch pad.
  • the electronic comic information includes an analysis result output from the analysis unit 10, information input from the operation unit 16, or information input via the input / output unit 17.
  • the analysis unit 10 analyzes a digital content image (manga image) generated from the original content and generates incidental information of the content image.
  • the original content is a book including a manga image
  • the content image to be distributed is a page-unit (or frame-unit) image (regardless of live-action or drawing).
  • the content image includes a speech balloon as shown in FIGS. 2A to 2D and a dialogue within the speech balloon.
  • FIG. 3 shows electronic comic information composed of a header, a page-based (or frame-based) content image, and supplementary information of the content image.
  • the electronic comic information is composed of one file, but the content image and the incidental information may be stored separately in different files and may be composed of a plurality of files.
  • the header indicates file attributes (file name, etc.).
  • a content image is a manga image in page units (or frame units) and is associated with page numbers (or frame numbers).
  • the content image is created, for example, by converting the original content into electronic data using a scanner or the like.
  • Original content is organized in units of pages such as manga books, newspapers, weekly magazines, office documents (such as presentation documents), textbooks, and reference books.
  • the storage format of the content image is arbitrary, and is stored in a format such as a PDF file or a JPEG image file.
  • the content image includes a schematic image and a detailed image (high resolution data), and is prepared for each page, frame, or anchor point. Information indicating the enlargement permission area may be added.
  • the incidental information includes search information, balloon information, text information, character information, display control information, automatic reading attribute information, reproduction effect information, and other information.
  • Search information is tag information used for search.
  • information such as a page number (page identification information), a frame number (frame identification information), an episode number (episode identification information, for example, indicating what episode it is), title, author, publisher (copyright owner), etc. May be included.
  • Balloon information is information regarding balloons in content images in page units (or frame units). For example, balloon area information indicating the existence area in the content image of the speech balloon, the shape of the speech balloon, the position and orientation of the base point (balloon) of the speech balloon, the type of stroke line drawn (dotted line, solid line, etc.), the content image elements ( Relative position (for example, positional relationship and interval between the mouth of the speech balloon and the speaker's face indicated by the speech balloon mouth), the size of the speech balloon, the identification information of the speaker of the speech balloon, the speech balloon The frame to which the belongs.
  • balloon area information indicating the existence area in the content image of the speech balloon, the shape of the speech balloon, the position and orientation of the base point (balloon) of the speech balloon, the type of stroke line drawn (dotted line, solid line, etc.), the content image elements ( Relative position (for example, positional relationship and interval between the mouth of the speech balloon and the speaker's face indicated by the speech balloon mouth), the size of the speech balloon, the identification
  • the balloon area information is, for example, information indicating the position of the balloon drawing line (frame line) in the content image (for example, position information of a plurality of points corresponding to the balloon shape on the drawing line, or vector information of the entire drawing line).
  • the balloon area information may be bitmap information indicating the entire area (range) of the balloon.
  • the balloon area information may be represented by the representative position (for example, the center position) of the balloon and the size of the balloon. For example, if there are four types of balloons as shown in FIGS. 2A to 2D, the identification information A to D corresponding to each type is stored as the type of stroke drawn line.
  • the text information is information related to the text in the content image. For example, text (sentence), character attribute information, number of lines, line spacing, character spacing, display switching method, language used, vertical writing / horizontal writing, and reading direction corresponding to each frame and each balloon.
  • the character attribute information includes a character size (number of points, etc.) and a character type (font, emphasized character, etc.).
  • the text information includes the speech of the speaker in the speech balloon.
  • translated texts of various languages corresponding to the lines of the original text arranged in the balloon and the language used may be included in this text information.
  • the display switching method may include scroll control information (scroll method) such as scroll speed, scroll direction, scroll start, stop, pause, and repeat method.
  • Character information is information about the speaker of the speech in the speech balloon.
  • speaker area information such as face area information
  • speaker identification information such as a name
  • Speaker attributes such as a name
  • Speaker attributes gender, age, etc.
  • “Character” (speaker) in this specification means the source of speech balloons, not only human beings but also non-living animals such as animals, telephones, personal computers, electronic devices, robots, etc. Including.
  • Display control information is information related to display control of content images in page units or frame units. This information includes screen scrolling and / or screen switching.
  • the screen scroll information may include, as detailed information, scroll speed, scroll direction, scroll order, scroll start, end, pause, repeat method, and the like.
  • the screen switching information may include, as detailed information, switching units (such as frames), switching timing determination methods (manual, automatic, semi-automatic), display effects associated with switching (wipe, fade-in / fade-out, dissolve), and the like. .
  • Attribute information for automatic reading includes, for example, reading speed, volume, speaker emotion, and the like.
  • Display control information includes playback scenarios.
  • the playback scenario consists of the magnification rate of the detailed image, which is the unit of the partial display area of the content image, the display switching speed from the detailed image corresponding to the previous anchor point to the detailed image corresponding to the next anchor point, and the display switching.
  • Method saccharging, fade-out / fade-in, etc.
  • gaze stop time at each anchor point or frame that is, duration of display of detailed image corresponding to each anchor point, overview image in content and details Image positioning (page, section), transition order of anchor points, heading information, and the like are included.
  • the anchor point is a position (ice top) where the line of sight stops in a partial area (typically a frame or a part of a frame) for each page.
  • the playback scenario includes a stay time that matches the text amount of the detailed image corresponding to each anchor point. Since the amount of information in one screen increases as the amount of text in the detailed image around each anchor point increases, the stay time is set longer in the playback scenario.
  • the electronic book viewer 2 that has accessed the server 1 for the enlargement rate of the detailed image at each anchor point, or the residence time for each model that matches the screen size for each model is set in the playback scenario.
  • This speed may be determined from the past browsing speed corresponding to the user of the electronic book viewer 2 who has accessed the server 1 acquired as the playback state information, or a plurality of electronic books that have played back the same playback content You may determine by applying the speed of the past browsing acquired from the viewer 2 as reproduction
  • the display switching method may be determined according to an instruction from the user of the electronic book viewer 2 to the operation unit 27, may be a predetermined default switching method, or may be set based on content analysis information. . For example, if the movement destination in the line-of-sight direction of the character in the content of a certain frame a coincides with frame b that is the destination of the anchor point movement direction, the display switching method from frame a to frame b is set to scroll.
  • the display control information includes frame area information indicating the existence area of frames in the page image.
  • the information related to the reading voice includes, for example, the contents of the reading voice, the start timing / end timing, the reading speed, the reading voice volume, and the reading speaker attributes (gender, age, etc.).
  • the content of the read-out voice may be a recorded voice or an artificial voice. When the content of the reading voice is an artificial voice, it can be shared with the contents of the speech balloon and / or the accompanying voice.
  • onomatopoeia also includes information on accompanying audio.
  • the contents of onomatopoeia and sound effects text information of the original text and translated text
  • the onomatopoeia may be acquired from the content image by the analysis unit 10 or may be input from the input / output unit 17 or the like.
  • the character information not included in the balloon is the content of the onomatopoeia. Translations in various languages corresponding to onomatopoeia can also be included in this information.
  • Playback effect information is information related to playback effects.
  • the types of effects such as terminal vibration, screen shaking, screen flash, screen switching, and start timing.
  • Other information includes page information such as information about page turning (for example, left / right opening) and line feed direction (for vertical writing). Further, the other information includes a page margin area and advertisement data arranged in the area.
  • the other information includes change permission / inhibition information.
  • the change permission / inhibition information is setting information indicating whether or not the original content can be modified, such as layout change permission / inhibition. For example, it indicates whether or not translation display, balloon expansion, balloon shape change, image change, speech reading of dialogue and onomatopoeia, and horizontal reversal of the entire page. It is possible to set whether or not modification can be performed independently for each modification item. For example, it is possible to set to permit the display of the translated text but to prohibit the horizontal flipping of the entire page. Settings such as allowing scroll playback (scroll view) but prohibiting frame playback (frame view) are also possible.
  • the analysis unit 10 of the server 1 analyzes the content image stored in the DB 11.
  • the incidental information obtained as a result of the analysis becomes electronic comic information together with the content image.
  • the electronic comic information may be a page unit, a frame unit, or an episode unit.
  • a known image analysis technique and text analysis technique are used for the analysis of the content image by the analysis unit 10.
  • the position, size, and type of content elements such as a face, an animal, a building, an automobile, and other objects may be automatically detected based on the feature amounts related to the image information.
  • Automatic detection of content image elements may be performed based on machine learning. For example, based on the sample manga for learning, the detection accuracy of the outer edge of the frame or balloon, the threshold for determining the validity of a frame or balloon other than a rectangle, and the like are set empirically.
  • the speech (original text) in the balloon may be recognized by OCR (optical character reading), and the area surrounding it may be recognized as the balloon area.
  • OCR optical character reading
  • Each character of the read dialogue is sorted according to the direction of the character. For example, if the dialogue is written vertically, it is sorted from the beginning to the end of the column, and from the right column to the left column.
  • the frame number or dialogue number is determined according to a predetermined rule. For example, the representative point of each frame or balloon (such as the center or the center of gravity of the frame or balloon) is sequentially scanned in the horizontal direction from the top right to the bottom left of the frame or balloon included in the content analysis result information. Thus, the page number or dialogue number is determined.
  • the representative point of each frame is the position (anchor point) where the line of sight of the content element for each page stops, and the display unit of the content is switched by scrolling or switching based on the anchor point.
  • the page number or dialogue number may be determined according to a rule according to the author of the content.
  • the content analysis rule may be a rule according to the author and type of content learned by artificial intelligence, as well as a rule according to the author and type of content.
  • Rule learning is performed as follows, for example. First, correct rules are prepared in advance for each of a plurality of basic patterns. The analysis unit 10 extracts feature quantities (thickness and length of the frame boundary line) for each of the plurality of basic patterns. Then, the analysis unit 10 estimates the reading order of frames assumed by the content creator from the extracted feature values. The analysis unit 10 compares the reading order estimated for each basic pattern with the correct rule, and optimizes the parameter for estimating the reading order of the frames. The analysis unit 10 estimates the reading order of the comic frames according to the optimized parameters.
  • the analysis unit 10 analyzes the content image stored in the DB 11.
  • the information acquired as a result of the analysis is incidental information.
  • the electronic comic information includes information related to the page analysis result of the analysis unit 10.
  • a known image analysis technique and text analysis technique are used.
  • the position, size, and type of content elements such as a face, an animal, a building, an automobile, and other objects may be automatically detected based on the feature amounts related to the image information.
  • Automatic detection of content elements may be performed based on machine learning. For example, based on the sample manga for learning, the detection accuracy of the outer edge of the frame or balloon, the threshold for determining the validity of the frame or balloon other than the rectangular area, and the like are set empirically.
  • the text sentence (serif) inside the balloon may be recognized by OCR, and the area surrounding it may be recognized as a serif area.
  • Each character of the read line is sorted according to the direction of the character. For example, if the words are written vertically, they are sorted from the beginning to the end of the column, and from the right column to the left column.
  • the frame number or serif number is determined according to a predetermined rule. For example, if the content type is manga, the representative point of each frame or balloon (such as the center or center of gravity of the frame or balloon) from the top right to the bottom left of the frame or balloon included in the content analysis information
  • the page number or serif number is determined by sequentially scanning in the horizontal direction.
  • the representative point of each frame is the position (anchor point) where the line of sight of the content element for each page stops, and the display unit of the content is switched by scrolling or switching based on the anchor point.
  • the page number or the serif number can be determined according to a rule according to the author of the content.
  • the content analysis rule may be a rule according to the author and type of content learned by artificial intelligence, as well as a rule according to the author and type of content.
  • Rule learning is performed as follows, for example. First, correct rules are prepared in advance for each of a plurality of basic patterns. The analysis unit 10 extracts feature quantities (thickness and length of the frame boundary line) for each of the plurality of basic patterns. Then, the analysis unit 10 estimates the reading order of frames assumed by the content creator from the extracted feature values. The analysis unit 10 compares the reading order estimated for each basic pattern with the correct rule, and optimizes the parameter for estimating the reading order of the frames. The analysis unit 10 estimates the reading order of the comic frames according to the optimized parameters.
  • the original content is a manga and the original content image is an image corresponding to each page of the manga.
  • Manga is content that consists of both pictures (whether live-action or drawing) and lines.
  • the electronic book viewer 2 includes a database (DB) 21, a display unit 24, a display control unit 25, an audio playback unit 26, an operation unit 27, an input / output unit 29, and an execution control unit 30.
  • DB database
  • the electronic book viewer 2 includes a database (DB) 21, a display unit 24, a display control unit 25, an audio playback unit 26, an operation unit 27, an input / output unit 29, and an execution control unit 30.
  • the electronic comic information includes, as described above, content information for each page or frame of a comic, speech balloon information including speech balloon area information indicating a presence area in a content image of a speech balloon in which the dialogue of a comic character is entered,
  • speech balloon information including speech balloon area information indicating a presence area in a content image of a speech balloon in which the dialogue of a comic character is entered
  • text information associated with each speech balloon including text translated from a sentence in the speech balloon translated into a predetermined language, and a content image on the screen of the display unit 24 by scroll playback or frame playback.
  • Display control information Display control information.
  • the display unit 24 is a display unit configured with a display device capable of displaying an image.
  • the display unit 24 is configured by an LCD, for example.
  • the display control unit 25 displays the content image on the screen of the display unit 24 by scroll reproduction (or frame reproduction) based on the display control information in the supplementary information as image display control means.
  • the display control unit 25 serves as a translated text display control unit, instead of the dialogue of the original text in the balloon in the content image displayed on the screen of the display unit 24 based on the balloon information and text information in the supplementary information. , Display the translated text in the balloon. Specifically, the display control unit 25 generates display characters based on the text information and the character attribute information of the accompanying information. In this example, when a sentence of the original sentence is displayed in the balloon, the translated sentence is displayed instead of the line of the original sentence.
  • the voice reproduction unit 26 and the speaker 28 read out the text in the content image as automatic reading means based on the text information of the auxiliary information and the automatic reading attribute information.
  • the operation unit 27 receives user instruction input.
  • the operation unit 27 may be a touch sensor arranged on the screen of the display unit 24, a key input device, or a pointing device.
  • the input / output unit 29 inputs / outputs various information.
  • the input / output unit 29 of this example is configured by a communication device that communicates with the server 1.
  • the electronic comic information is received by transmitting an electronic comic information request to the server 1 and receiving the electronic comic information from the server 1. get.
  • the input / output unit 29 is not particularly limited to the communication unit as in this example, and may be a unit that performs writing / reading on a computer-readable recording medium.
  • the execution control unit 30 determines whether or not the entire sentence of the translation corresponding to the balloon is included in the balloon in the image displayed on the screen of the display unit 24 as a determination unit. Specifically, the execution control unit 30, based on the screen size information stored in advance in the DB 21 and the balloon information and text information of the accompanying information, in a balloon displayed according to the screen size of the display unit 24. Then, it is determined whether or not the entire sentence of the translated sentence enters with a preset character size.
  • the size of characters displayed on the display unit 24 can be changed by operating the operation unit 27.
  • the display control unit 25 displays the entire sentence of the translated sentence in the balloon, and the execution control unit 30 does not include the entire sentence of the translated sentence. If it is determined, the balloon is enlarged and the translated sentence is displayed in the enlarged balloon.
  • the display control unit 25 has a function of adjusting the number of lines, the line spacing, or the character spacing of the translation sentence arranged in the balloon in the image displayed on the screen of the display unit 24.
  • the execution control unit 30 determines whether or not the entire translated sentence when adjusted by the display control unit 25 enters the balloon.
  • the display control unit 25 expands the balloon so as not to overlap with the character presence area based on the character area information in the supplementary information.
  • the display control unit 25 enlarges the speech balloon so that the speech balloons have the same type of drawn lines based on the type of the drawn stroke drawn by the supplementary information.
  • the information in the DB 11 of the server 1 and the information in the DB 21 of the electronic book viewer 2 do not have to be completely the same.
  • the DB 11 is a library that stores various types of content images, for example, images of each volume of manga by different authors, in order to respond to requests from various users. It is sufficient that only the electronic comic information that the user of the electronic book viewer 2 wants to browse is stored in the DB 21.
  • FIG. 4 is a flowchart of distribution processing executed between the server 1 and the electronic book viewer 2.
  • the electronic book viewer 2 executes S1 and S4, and the server 1 executes S2 and S3.
  • Programs for causing the server 1 and the electronic book viewer 2 to execute this processing are stored in computer-readable storage media (RAM, ROM, CDROM, etc.) provided in the server 1 and the electronic book viewer 2, respectively.
  • the server 1 is waiting for a content request, and when receiving a content request from the electronic book viewer 2 via the input / output unit 17, the process proceeds to S3.
  • the server 1 transmits the electronic comic information 12 stored in the DB 11 as content to the electronic book viewer 2 via the input / output unit 17.
  • the transmission of the electronic comic information 12 may be performed in units of pages or frames.
  • the electronic book viewer 2 receives the electronic comic information 12 via the input / output unit 17 and stores it in the DB 21.
  • the acquisition mode of the electronic comic information is not particularly limited.
  • electronic comic information may be read from a recording medium such as a memory card.
  • the electronic book viewer 2 that has acquired the electronic comic information proceeds to display processing described later.
  • FIG. 5 shows a flowchart of scroll view display processing executed by the electronic book viewer 2.
  • FIG. 6 is a flowchart of the frame view display process executed by the electronic book viewer 2. The process in either FIG. 5 or 6 is executed according to the selection from the operation unit 27.
  • the display control unit 25 sets the first anchor point of the page of the specified content image as the current anchor point based on the electronic comic information 22 of the DB 21.
  • the display control unit 25 cuts out a display image from the content image of the entire page on the basis of the current anchor point, and sets this as the current image. Instead of cutting out the image, a detailed image can be read out from the electronic comic information 22 to be the current image.
  • the display control unit 25 displays a detailed image on the display unit 24.
  • the display control unit 25 determines whether the stay time corresponding to the current anchor point has elapsed based on the incidental information. In the case of Yes, it progresses to S14, and in No, it returns to S12.
  • the display control unit 25 determines whether or not the current anchor point is the last anchor point of the page. In the case of Yes, it progresses to S21 and the display of the said page is complete
  • the display control unit 25 newly sets the next anchor point next to the current anchor point as the current anchor point.
  • the display control unit 25 cuts out a display image from the image of the entire page on the basis of the current anchor point, and sets this as the next detailed image.
  • a detailed image of the electronic comic information 22 can be used instead of cutting out the image.
  • the display control unit 25 displays the content image while scrolling from the detailed image currently displayed to the next detailed image by a predetermined increment (for example, by one dot).
  • the content display control unit 25 determines whether the scroll display of the content image has reached the next detailed image. If Yes, the process returns to S12, and the next detailed image is displayed. If No, the process returns to S16 and continues scrolling.
  • the display control unit 25 sets the first frame as the current frame based on the frame order of the content image of the designated page.
  • the display control unit 25 cuts out the partial image corresponding to the current frame from the content image, and sets this as the current frame image.
  • a detailed image can be read out from the electronic comic information 22 and used instead of cutting out the image.
  • the display control unit 25 displays the current frame image on the display unit 24.
  • the display control unit 25 determines whether the stay time corresponding to the current frame has elapsed based on the supplementary information of the electronic comic information 22. In the case of Yes, it progresses to S35, and in No, it returns to S33.
  • the display control unit 25 determines whether or not the current frame is the last frame of the page. In the case of Yes, it progresses to S36 and the display of the said page is complete
  • the display control unit 25 newly sets the next frame next to the current frame as the current frame. Then, returning to S32, a partial image corresponding to the current frame is cut out or a detailed image is read out, and this is set as the current frame image. The subsequent processing is the same as described above.
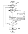
  • FIG. 7 is a flowchart showing an example of content image display processing (S12 in FIG. 5 and S33 in FIG. 6) executed by the electronic book viewer 2. This process is executed by the control device (execution control unit 30) of the electronic book viewer 2 according to the viewer program.
  • FIG. 8 is a content image distributed from the server 1 and shows a content image in which the speech of the original text is contained in the balloon.
  • step S40 the display control unit 25 starts an image display process based on the electronic comic information 22 of the DB 21.
  • the content image can be switched according to an image feed instruction input to the operation unit 27.
  • the unit for switching the content image is a page (or frame).
  • the order of switching follows the page number (or frame number). However, since the user may desire irregular browsing such as skipping a page (or frame), a content image switching operation ignoring this order may be allowed.
  • the operation unit 27 can accept an instruction to select whether to display the original text or the translated text.
  • the original text display is set as the default, and the translated text is displayed only when the selection of the translated text is instructed.
  • step S44 the display control unit 25 uses the balloon information in the content image displayed on the screen of the display unit 24 based on the balloon information and text information of the supplementary information and the screen size information stored in the DB 21. Then, it is determined whether or not the entire translated sentence corresponding to the balloon is entered with a preset character size. If Yes (when the entire sentence of the translated sentence is within the balloon area), the process proceeds to step S46, and if No (when the entire sentence of the translated sentence is not within the balloon area), the process proceeds to step S48.
  • the horizontal display size of the balloon is compared with the display size of one translated sentence for each horizontal line of the translated sentence, and one translated sentence line is compared. If the display size of is larger, the entire sentence of the translated sentence does not enter the balloon, so it is determined that the balloon needs to be enlarged. If the translated sentence of the dialogue is written vertically, the vertical display size of the balloon is compared with the display size of one translated sentence for each vertical line of the translated sentence, When the display size is larger, it is determined that the balloon needs to be enlarged because the entire sentence of the translated sentence does not enter the balloon.
  • the display control unit 25 synthesizes the entire sentence of the translated sentence in the balloon area of the content image without expanding the balloon in step S46. To do.
  • the display control unit 25 expands the balloon of the comic image at step 48, and at step S50, the display control unit 25 The translated text is synthesized in the expanded balloon area.
  • step S52 the display control unit 25 determines whether or not the translated text synthesis of all the balloons in the content image has been completed.
  • step S54 the display control unit 25 causes the display unit 24 to display the content image.
  • original text display translation text non-display
  • a content image shown in FIG. 8 is displayed on the screen of the display unit 24.
  • the translated text display if it is determined in step S44 that the entire translated text enters the balloon area, the translation is performed without expanding the balloon as shown in the left balloon in FIG. The entire sentence (“You're great. Ritsuko.) Is displayed at once in the balloon. Also, in the case of the translated sentence display, it is determined in step S44 that the entire sentence does not enter the balloon area. If so, as shown in the balloon on the right side in FIG. 9, the balloon is expanded to display the entire translated sentence (“An assistant has been ready for this situation.”).
  • the content image (page image for each page or frame image for each frame), balloon information including balloon area information indicating the balloon area in the content image, and the original text in each balloon Control for displaying text information including translated text obtained by translating the dialogue of the text into a predetermined language and associated with each balloon, and a content image on the screen of the display unit 24 by scroll playback or frame playback
  • text information including translated text obtained by translating the dialogue of the text into a predetermined language and associated with each balloon
  • a content image on the screen of the display unit 24 by scroll playback or frame playback In the display process of acquiring an electronic comic having information (S4) and displaying the content image by scroll playback or frame playback on the screen of the display unit 24 based on the acquired display control information, at least balloon information and text information In the balloon in the content image displayed on the screen of the display unit 24.
  • the balloon is enlarged, and the entire sentence of the translated sentence can be displayed in the enlarged balloon and viewed by the user.
  • FIG. 9 shows a case where the display control unit 25 expands the balloon around the reference point (for example, the center point) of the balloon. It is preferable that the balloon is enlarged so as not to overlap the character existing area. In this example, the balloon is expanded at equal intervals outside the stroke of the balloon.
  • FIG. 10 shows a case where the balloon is expanded by the display control unit 25 so that the position of the balloon does not move based on the position information (for example, the position of the balloon base point) in the incidental information.
  • FIG. 10 shows a case where the speech balloon is expanded in the horizontal direction when the translation is in horizontal writing, but the display control unit 25 extends the speech balloon in the vertical direction when the translation is in vertical writing. To enlarge.
  • a triangular outlet is shown, but the shape of the balloon is not particularly limited.
  • a blowout port composed of a plurality of small circles as shown in FIG. 2C. The balloon is expanded in the direction opposite to the side where the balloon is provided.
  • the balloon is expanded outside the frame of the frame as necessary.
  • the display control unit 25 detects the peripheral area of the current frame where the current anchor point is located in the image of the page based on the display control information (frame area information or the like) in the supplementary information, and balloons toward the peripheral area To enlarge.
  • the display control unit 25 expands the speech balloon based on the character area information in the supplementary information so that it does not overlap with the character's existence area and enters the frame of the frame.
  • the balloon may be enlarged so that it does not overlap only with a specific part (for example, a face part) of the character existing areas. Further, if the distance between the face part of the character and the balloon is larger than the threshold value, the balloon may be brought close to the face part within a range that does not overlap the face part of the character.
  • Priority can be given in advance to the direction in which the balloon is expanded, and it can be set in the accompanying information. Also, several types of balloon expansion patterns (enlargement direction, etc.) may be set in the incidental information, and the user may be selected by the operation unit 27.
  • the balloon when the balloon is enlarged within the frame of the frame as shown in FIG. 11, even if display control is performed so that the balloons of the characters do not overlap, the enlarged part of the balloon overlaps a part of the picture of the current image. .
  • the balloon may be positively expanded outside the frame of the frame as shown in FIG.
  • balloon expansion control information indicating whether or not to give priority to balloon expansion outside the frame frame is set in the balloon information in the electronic comic information, and the display control unit 25 expands the balloon balloon outside the frame frame based on the expansion control information.
  • the balloon expansion method (enlargement outside the frame frame / expansion into the frame) is switched based on the determination result. May be. Further, the balloon expansion method may be switched by an instruction input from the operation unit 27. In addition, in the case of scroll playback, the display control unit 25 gives priority to enlargement outside the frame so that the balloon does not cover the balloon enlargement portion, and in the case of frame playback, the display control unit 25 performs balloon expansion into the frame. Alternatively, it may be switched.
  • the text information in the supplementary information includes information indicating whether the original text in the balloon is horizontal writing or vertical writing, and information indicating whether a predetermined language of the translated sentence is horizontal writing or vertical writing.
  • the display control unit 25 detects from the text information (or balloon information) that the original sentence in the balloon is vertical writing and the predetermined language of the translated sentence is horizontal writing.
  • the balloon is expanded only in the horizontal direction so that the entire translated sentence can be entered.
  • the display controller 25 converts the balloon into the whole sentence of the translated sentence. Enlarge only in the vertical direction so that.
  • the display control unit 25 may center the display position of the translated sentence (or increase the character size) when the translated sentence becomes shorter than the original sentence.
  • the translation may be shortened when Spanish is translated into English.
  • the display control unit 25 changes the enlargement rate of the balloon according to the frame reduction rate. Further, in which direction and shape the balloon is to be expanded, priorities may be set in advance, or patterns may be prepared and specified by the operation unit 27. Furthermore, you may make it change the font (typeface) and point number of the character of a translation sentence according to the shape of a balloon.
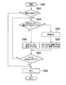
  • FIG. 13 shows a flowchart of an example of content image display processing (S12 in FIG. 5 and S33 in FIG. 6) executed in the electronic book viewer 2 in this case. This process is executed by the control device (execution control unit 30) of the electronic book viewer 2 according to the viewer program.
  • Steps S40 to S44 and Step S52 are the same as those in the case of FIG.
  • step S49 the display control unit 25 enlarges the comic image so that the entire sentence translated sentence enters the balloon. While enlarging the entire image, in step S51, the display control unit 25 synthesizes the translated text in the expanded content image balloon area.
  • step S54 the display control unit 25 causes the display unit 24 to display the content image.
  • original text display translation text non-display
  • the content image shown in the upper half of FIG. 12 is displayed on the screen of the display unit 24.
  • translated text display if it is determined in step S44 that the entire translated text does not fall within the balloon area, as shown in the lower half of FIG. The content image is displayed on the screen of the display unit 24, and the entire translated sentence (for example, “An" assistant has been ready for this situation. ”) Is displayed in each balloon of the frame.
  • the frame is enlarged, and the entire sentence of the translated sentence can be displayed in the balloon of the enlarged frame and viewed by the user.
  • the execution control unit 30 and the display control unit 25 in FIG. 1 perform various control processes (for example, search, translation display, automatic reading, playback effect, etc.) other than those described in this specification based on the supplementary information in FIG. Others) may be performed.
  • the viewer device may be implemented by any user terminal provided with display means capable of displaying an image.
  • the recording medium on which the viewer program for realizing the viewer device described in the present specification (the electronic book viewer 2 in the embodiment) is recorded may be any recording medium capable of recording the program.
  • Server 2 Electronic book viewer 24: Display unit 25: Display control unit 26: Audio playback unit 27: Operation unit 29: Input / output unit 30: Execution control unit

Landscapes

  • Engineering & Computer Science (AREA)
  • Theoretical Computer Science (AREA)
  • Audiology, Speech & Language Pathology (AREA)
  • Health & Medical Sciences (AREA)
  • Computational Linguistics (AREA)
  • General Health & Medical Sciences (AREA)
  • Physics & Mathematics (AREA)
  • General Engineering & Computer Science (AREA)
  • General Physics & Mathematics (AREA)
  • Artificial Intelligence (AREA)
  • Processing Or Creating Images (AREA)
  • User Interface Of Digital Computer (AREA)
  • Machine Translation (AREA)
  • Document Processing Apparatus (AREA)
PCT/JP2011/076990 2010-12-22 2011-11-24 ビューワ装置、閲覧システム、ビューワプログラム及び記録媒体 Ceased WO2012086358A1 (ja)

Applications Claiming Priority (2)

Application Number Priority Date Filing Date Title
JP2010-286393 2010-12-22
JP2010286393A JP5674451B2 (ja) 2010-12-22 2010-12-22 ビューワ装置、閲覧システム、ビューワプログラム及び記録媒体

Publications (1)

Publication Number Publication Date
WO2012086358A1 true WO2012086358A1 (ja) 2012-06-28

Family

ID=46313640

Family Applications (1)

Application Number Title Priority Date Filing Date
PCT/JP2011/076990 Ceased WO2012086358A1 (ja) 2010-12-22 2011-11-24 ビューワ装置、閲覧システム、ビューワプログラム及び記録媒体

Country Status (2)

Country Link
JP (1) JP5674451B2 (enExample)
WO (1) WO2012086358A1 (enExample)

Cited By (1)

* Cited by examiner, † Cited by third party
Publication number Priority date Publication date Assignee Title
CN111723586A (zh) * 2020-06-18 2020-09-29 京东方科技集团股份有限公司 一种文本识别方法、装置、存储介质以及电子设备

Families Citing this family (6)

* Cited by examiner, † Cited by third party
Publication number Priority date Publication date Assignee Title
JP5376685B2 (ja) * 2011-07-13 2013-12-25 Necビッグローブ株式会社 コンテンツデータ表示装置、コンテンツデータ表示方法及びプログラム
JP2018061071A (ja) * 2015-02-17 2018-04-12 ギズモモバイル株式会社 コンテンツ作成装置、コンテンツ再生装置、及びプログラム、並びにコンテンツ作成及び再生システム
JP5991704B1 (ja) * 2015-07-10 2016-09-14 楽天株式会社 電子書籍表示装置、電子書籍表示方法、及びプログラム
KR101576563B1 (ko) * 2015-07-14 2015-12-22 주식회사 위두커뮤니케이션즈 만화컨텐츠의 다국어 자동편집 방법
CN105718448B (zh) * 2016-01-13 2019-03-19 北京新美互通科技有限公司 一种对输入字符进行自动翻译的方法和装置
JP7200533B2 (ja) * 2018-08-09 2023-01-10 富士フイルムビジネスイノベーション株式会社 情報処理装置およびプログラム

Citations (2)

* Cited by examiner, † Cited by third party
Publication number Priority date Publication date Assignee Title
JPH05108716A (ja) * 1991-10-21 1993-04-30 Oki Electric Ind Co Ltd 機械翻訳装置
JP2007226255A (ja) * 2007-03-30 2007-09-06 Celsys:Kk マンガの表示方法およびマンガを表示する電子機器

Family Cites Families (5)

* Cited by examiner, † Cited by third party
Publication number Priority date Publication date Assignee Title
JP3512386B2 (ja) * 2000-01-20 2004-03-29 株式会社スクウェア・エニックス オンライン複合サービス提供処理方法およびオンライン複合サービス提供処理システム
JP2001338307A (ja) * 2000-05-29 2001-12-07 Sharp Corp 電子まんが作成装置および電子まんが表示装置
JP3486159B2 (ja) * 2000-08-01 2004-01-13 克 三宅 漫画編集支援装置、漫画編集支援システム、および漫画編集支援プログラムを記録した記録媒体
JP2003022269A (ja) * 2001-07-09 2003-01-24 Kyodo Printing Co Ltd 漫画翻訳装置及びそのシステム並びに漫画翻訳方法
JP2010176429A (ja) * 2009-01-29 2010-08-12 Dainippon Printing Co Ltd 電子コンテンツ配信システム

Patent Citations (2)

* Cited by examiner, † Cited by third party
Publication number Priority date Publication date Assignee Title
JPH05108716A (ja) * 1991-10-21 1993-04-30 Oki Electric Ind Co Ltd 機械翻訳装置
JP2007226255A (ja) * 2007-03-30 2007-09-06 Celsys:Kk マンガの表示方法およびマンガを表示する電子機器

Cited By (2)

* Cited by examiner, † Cited by third party
Publication number Priority date Publication date Assignee Title
CN111723586A (zh) * 2020-06-18 2020-09-29 京东方科技集团股份有限公司 一种文本识别方法、装置、存储介质以及电子设备
US12340604B2 (en) 2020-06-18 2025-06-24 Boe Technology Group Co., Ltd. Method and apparatus for recognizing text, storage medium, and electronic device

Also Published As

Publication number Publication date
JP5674451B2 (ja) 2015-02-25
JP2012133661A (ja) 2012-07-12

Similar Documents

Publication Publication Date Title
JP5674450B2 (ja) 電子コミックのビューワ装置、電子コミックの閲覧システム、ビューワプログラム、該ビューワプログラムが記録された記録媒体ならびに電子コミックの表示方法
US8719029B2 (en) File format, server, viewer device for digital comic, digital comic generation device
JP5634853B2 (ja) 電子コミックのビューワ装置、電子コミックの閲覧システム、ビューワプログラム、ならびに電子コミックの表示方法
US20220415196A1 (en) E-reader interface system with audio and highlighting synchronization for digital books
US7603620B2 (en) Creating visualizations of documents
JP5674451B2 (ja) ビューワ装置、閲覧システム、ビューワプログラム及び記録媒体
EP1980960A2 (en) Methods and apparatuses for converting electronic content descriptions
US7761789B2 (en) Methods for computing a navigation path
WO2012086359A1 (ja) ビューワ装置、閲覧システム、ビューワプログラム及び記録媒体
US10102182B2 (en) Indicators of text continuity
US20080235585A1 (en) Methods for authoring and interacting with multimedia representations of documents
US8952985B2 (en) Digital comic editor, method and non-transitory computer-readable medium
US20130104015A1 (en) Digital comic editor, method and non-transitory computer-readable medium
KR101968599B1 (ko) 입력 텍스트에 따른 스토리 동영상 생성방법 및 장치
US20180067902A1 (en) Textual Content Speed Player
CA2544391A1 (en) Information storage medium containing subtitles and processing apparatus therefor
JP5312420B2 (ja) コンテンツ解析装置、方法およびプログラム
JP6543290B2 (ja) 電子図書製作用プログラム
JP4828481B2 (ja) 表示制御装置、方法、プログラムおよび記録媒体
JP6731011B2 (ja) 電子図書の表示用データの作成装置
KR101843133B1 (ko) 판서 영상 생성 방법, 장치 및 컴퓨터 프로그램
WO2014042051A1 (ja) コンテンツ作成装置、方法およびプログラム
KR101843135B1 (ko) 영상 처리 방법, 장치 및 컴퓨터 프로그램
JP2002049925A (ja) 漫画編集支援装置、漫画編集支援システム、および漫画編集支援プログラムを記録した記録媒体
JP3751723B2 (ja) 印刷システム

Legal Events

Date Code Title Description
121 Ep: the epo has been informed by wipo that ep was designated in this application

Ref document number: 11851350

Country of ref document: EP

Kind code of ref document: A1

NENP Non-entry into the national phase

Ref country code: DE

122 Ep: pct application non-entry in european phase

Ref document number: 11851350

Country of ref document: EP

Kind code of ref document: A1