WO2012063720A1 - 鉄道車両の床構造 - Google Patents

鉄道車両の床構造 Download PDF

Info

Publication number
WO2012063720A1
WO2012063720A1 PCT/JP2011/075377 JP2011075377W WO2012063720A1 WO 2012063720 A1 WO2012063720 A1 WO 2012063720A1 JP 2011075377 W JP2011075377 W JP 2011075377W WO 2012063720 A1 WO2012063720 A1 WO 2012063720A1
Authority
WO
WIPO (PCT)
Prior art keywords
metal plate
floor
heat insulating
insulating material
structural
Prior art date
Legal status (The legal status is an assumption and is not a legal conclusion. Google has not performed a legal analysis and makes no representation as to the accuracy of the status listed.)
Ceased
Application number
PCT/JP2011/075377
Other languages
English (en)
French (fr)
Japanese (ja)
Inventor
真 田口
佐野 淳
山田 敏之
村岸 治
昌志 川村
裕次 亀井
秀一 水間
Current Assignee (The listed assignees may be inaccurate. Google has not performed a legal analysis and makes no representation or warranty as to the accuracy of the list.)
Kawasaki Heavy Industries Ltd
Kawasaki Motors Ltd
Original Assignee
Kawasaki Heavy Industries Ltd
Kawasaki Jukogyo KK
Priority date (The priority date is an assumption and is not a legal conclusion. Google has not performed a legal analysis and makes no representation as to the accuracy of the date listed.)
Filing date
Publication date
Application filed by Kawasaki Heavy Industries Ltd, Kawasaki Jukogyo KK filed Critical Kawasaki Heavy Industries Ltd
Priority to US13/882,924 priority Critical patent/US9180894B2/en
Priority to CN201180053577.3A priority patent/CN103201155B/zh
Priority to EP11839628.2A priority patent/EP2639132A4/en
Publication of WO2012063720A1 publication Critical patent/WO2012063720A1/ja
Anticipated expiration legal-status Critical
Ceased legal-status Critical Current

Links

Images

Classifications

    • BPERFORMING OPERATIONS; TRANSPORTING
    • B61RAILWAYS
    • B61DBODY DETAILS OR KINDS OF RAILWAY VEHICLES
    • B61D17/00Construction details of vehicle bodies
    • B61D17/04Construction details of vehicle bodies with bodies of metal; with composite, e.g. metal and wood body structures
    • B61D17/10Floors
    • BPERFORMING OPERATIONS; TRANSPORTING
    • B61RAILWAYS
    • B61DBODY DETAILS OR KINDS OF RAILWAY VEHICLES
    • B61D17/00Construction details of vehicle bodies
    • B61D17/04Construction details of vehicle bodies with bodies of metal; with composite, e.g. metal and wood body structures
    • B61D17/18Internal lining, e.g. insulating
    • BPERFORMING OPERATIONS; TRANSPORTING
    • B61RAILWAYS
    • B61FRAIL VEHICLE SUSPENSIONS, e.g. UNDERFRAMES, BOGIES OR ARRANGEMENTS OF WHEEL AXLES; RAIL VEHICLES FOR USE ON TRACKS OF DIFFERENT WIDTH; PREVENTING DERAILING OF RAIL VEHICLES; WHEEL GUARDS, OBSTRUCTION REMOVERS OR THE LIKE FOR RAIL VEHICLES
    • B61F1/00Underframes
    • B61F1/08Details

Definitions

  • the present invention relates to a floor structure of a railway vehicle.
  • the floor In railway vehicles, the floor generally requires heat resistance, that is, heat insulation and fire resistance.
  • heat insulation and fire resistance In order to meet such demands, conventionally, in a general floor structure of a railway vehicle, a heat insulating material is arranged on the lower surface of the structural floor.
  • a heat insulating material in order to improve heat insulation and fire resistance, as a heat insulating material, the highly heat-resistant nonflammable heat insulating material formed with glass wool, and the high heat insulating and moisture retaining heat insulating material formed with ceramic fiber, Is disclosed.
  • patent document 2 it has the upper layer containing a hydroxide, the middle layer which bears structural strength, and the lower layer which covers a lower surface, and the floor structure of a laminated structure which forms a heat insulating material between a middle layer and a lower layer. It is disclosed.
  • the floor structure in order to improve the heat resistance of the floor, it is possible to make the floor structure complicated and to increase the thickness of the heat insulating material.
  • the length of the floor structure in the vertical direction is limited for low-floor vehicles that have restrictions on the height of the roof and ceiling, and for vehicles that require large underfloor equipment to be installed under the floor. In some cases, it is difficult to satisfy the required heat resistance by the measures described above.
  • an object of the present invention is to provide a railcar floor structure that can reduce the thickness of the heat insulating material while having a predetermined heat resistance even if the floor structure thickness is severely restricted.
  • a floor structure of a railway vehicle is provided on a top surface of a base frame having a pair of side beams extending in the longitudinal direction of the vehicle and a lateral beam disposed between the side beams and extending in the vehicle width direction. And a first heat insulating material disposed below the structural floor through an air layer for the structural floor.
  • the structural floor is covered with the first heat insulating material through the air layer, the heat insulating effect by the air layer is added, and the heat insulating effect as a whole is improved, thereby the air layer and the first heat insulating material. And the vertical thickness can be shortened. As a result, the heat insulation structure below the structural floor can be reduced, and a large-scale underfloor device can be attached. Thus, it is easy to dispose various equipment under the floor.
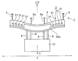
  • FIG. 1 is a schematic cross-sectional view of a railway vehicle provided with a floor structure according to the present invention. It is a schematic perspective view which shows a side beam and a horizontal beam.
  • FIG. 3 is a sectional view taken along line III-III in FIG. 1. It is an enlarged view of the structure floor part without a cross beam in FIG.
  • FIG. 4 is an enlarged view of a cross beam portion in FIG. 3 where an underfloor device cannot be suspended.
  • FIG. 4 is an enlarged view of a cross beam portion in FIG. 3 where an underfloor device is suspended.
  • It is a front view of the cross beam of the state covered with the 2nd heat insulating material.
  • FIG. 10 is a sectional view taken along line XX in FIG. 9.
  • FIG. 11 is a partially enlarged view of FIG. 10.
  • FIG. 10 is a sectional view taken along line XII-XII in FIG. 9. It is a partially expanded view of FIG.
  • It is a schematic perspective view of the floor structure which reduces the load burden of a horizontal beam.
  • it is a schematic front view of the cross beam which shows the state before under-floor fire.
  • the floor structure of FIG. 14 it is a schematic front view of the cross beam which shows the state after an underfloor fire. It is the graph which showed the temperature ratio of the structure floor temperature and the furnace temperature with respect to the thickness of a 1st heat insulating material.
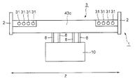
  • FIG. 1 is a schematic sectional view of a railway vehicle having a floor structure according to the present invention.
  • a frame 1 is provided at the lowermost part of the vehicle structure of the railway vehicle.
  • the underframe 1 has a pair of side beams 2 arranged in the rail direction, that is, the vehicle longitudinal direction (Y direction), and the pair of side beams 2 in the sleeper direction, that is, the vehicle width direction (Z direction).
  • FIG. 2 is a schematic perspective view showing the side beam 2 and the lateral beam 3.
  • the horizontal beams 3 are provided at a pitch of 600 mm to 1000 mm in the Y direction.
  • a plurality of pipe holes 31 through which electric wires, air pipes and the like (hereinafter simply referred to as “wire pipes and the like”) are inserted are arranged in the horizontal beam 3 in the Z direction.
  • a structural floor 4 as an airtight floor is provided on the underframe 1, and a plurality of floor receiving members 5 extending in the Y direction are erected on the structural floor 4 at intervals in the Z direction. .
  • the floor receiving member 5 is configured to support the passenger compartment floor 6 constituting the floor of the passenger cabin S above the structural floor 4 at a predetermined interval.
  • a seat 7 on which passengers sit is provided on the cabin floor 6.
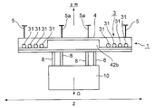
  • FIG. 3 is a cross-sectional view taken along the line III-III in FIG.
  • the cross section of the cross beam 3 has a substantially I shape.
  • a rectangular suspension groove 3a having a narrow lower end opening is formed integrally with the lower portion of the horizontal beam 3, and the heads of a plurality of suspension bolts 8 are inserted into the suspension groove 3a.
  • the underfloor device 10 is supported by the suspension bolt 8 and the nut 8a via the bracket 9.
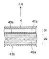
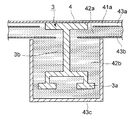
  • FIG. 4 is an enlarged view of the structure floor 4 portion without the cross beam 3 in FIG. 3.
  • a first heat insulating material 42a is provided below the structural floor 4 via a space (air layer 41a).
  • the upper surface of the first heat insulating material 42a is covered with a second metal plate 43a, and the lower surface of the first heat insulating material 42a is covered with a first metal plate 43b.
  • the first heat insulating material 42a is preferably made of glass fiber, ceramic fiber containing alumina fiber or the like.
  • the second metal plate 43a and the first metal plate 43b are preferably stainless steel.
  • the outer surfaces of the second metal plate 43a and the first metal plate 43b are preferably subjected to surface finishing such as polishing.
  • the vertical thickness D1 of the air layer 41a is smaller than the vertical thickness D2 of the first heat insulating material 42a. Specifically, the thickness D1 is about 1/3 of the thickness D2.
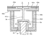
  • FIG. 5 is an enlarged view of the cross beam 3 portion in FIG. 3 where the underfloor device 10 is not suspended.
  • a part of the lower side and at least the side of the cross beam 3, that is, the web 3b and the suspension groove 3a of the cross beam 3 are covered with the second heat insulating material 42b, and the outer surface of the second heat insulating material 42b is a U-shaped cross section.
  • 3 metal plates 43c are covered.
  • the upper surface of the horizontal beam 3 is attached to the structural floor 4, and the upper side of the horizontal beam 3 is covered with the air layer 41a or the first heat insulating material 42a.
  • the third metal plate 43c is supported by the cross beam 3 via the second heat insulating material 42b, and the first metal plate 43b and the third metal plate 43c are not in contact with each other.
  • FIG. 6 is an enlarged view of the horizontal beam 3 portion in FIG. 3 where the underfloor device 10 is suspended.
  • the web 3b and the suspension groove 3a of the horizontal beam 3 are covered with a second heat insulating material 42b, and the outer surface of the second heat insulating material 42b is covered with a third metal plate 43c.
  • the third metal plate 43c is supported by the suspension bolt 8, and the first metal plate 43b and the third metal plate 43c are not in contact with each other.
  • a collar 32 is provided below the horizontal beam 3 and above the third metal plate 43 c, and the swing of the suspension bolt 8 is suppressed by the collar 32.
  • FIG. 7 is a view showing a heat-resistant structure (modification) different from FIG. 6 of the horizontal beam 3 portion where the underfloor device 10 is suspended.
  • the second heat insulating material 42b is formed in a U-shaped cross section, the outer side surface is covered with the third metal plate 43c, the inner side surface is covered with the fourth metal plate 43d, the inner fourth metal plate 43d and the cross beam 3
  • An air layer 41b is provided therebetween.
  • the third metal plate 43c and the fourth metal plate 43d covering the second heat insulating material 42b are supported by the suspension bolts 8, and the first metal plate 43b and the third metal plate 43c are not in contact with each other.
  • the first metal plate 43b and the fourth metal plate 43d are not in contact with each other.
  • FIG. 8 is a front view in the Y direction of the cross beam 3 in a state covered with the second heat insulating material 42b.
  • the actual wire piping or the like is inserted at, for example, both ends in the Z direction except for the substantially central portion in the Z direction. Therefore, the horizontal beam 3 is covered with the second heat insulating material 42b covered with the third metal plate 43c except for several piping hole 31 portions at both ends in the Z direction.
  • the second heat insulating material 42b is preferably the same as the first heat insulating material 42a.
  • the third metal plate 43c and the fourth metal plate 43d are preferably the same as the second metal plate 43a and the first metal plate 43b.
  • FIG. 9 is a view of the first metal plate 43b covering the lower surface of the first heat insulating material 42a as viewed from below.
  • 10 is a cross-sectional view taken along the line XX of FIG. 9
  • FIG. 11 is a partially enlarged view of FIG. 10
  • FIG. 12 is a cross-sectional view taken along the line XII-XII of FIG. is there.
  • the first metal plate 43b has two first metal plates 43b1 and 43b2 at the approximate center in the Y direction between the transverse beams 3 in the Y direction. It is constituted by combining.
  • a plate-shaped first plate member 432 is attached to the upper portion of the cross beam 3 by welding, and a first support having a Z shape as viewed in the Z direction is provided at the end of the first metal plate 43b1 and the first metal plate 43b2 on the side of the horizontal beam 3.
  • a member 433 is attached by welding.
  • the end of the first support member 433 is inserted into the gap between the cross beam 3 and the first plate member 432 and placed on the first plate member 432, whereby the first metal plate 43 b 1 and the first metal plate 43 b 1 Each end of one metal plate 43b2 is supported by the cross beam 3.
  • the first metal plate 43b1 and the first metal plate 43b2 are in direct contact with the flame, but the first plate member 432 is above the first metal plate 43b1 and the first metal plate 43b2 and the cross beam 3. Attached to.
  • the first metal plate 43 b 1 and the first metal plate 43 b 2 extend toward the cross beam 3 below the first plate member 432. With such a configuration, the first plate member 432 can be prevented from coming into direct contact with the flame.
  • a plurality of first plate members 432 are provided at intervals in the Z direction.
  • the contact area between the first plate member 432 and the cross beam 3 is reduced.
  • the first metal plate 43b1 The amount of heat transfer from 43b2 to the cross beam 3 is reduced. Therefore, the temperature rise of the cross beam 3 can be reduced.
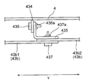
  • FIG. 11 shows details of the connecting portion between the first metal plate 43b1 and the first metal plate 43b2.
  • a second plate member 434 extending in a substantially vertical direction from the structural floor 4 is attached by welding to a substantially central portion in the Y direction between the cross beams 3 below the structural floor 4.
  • the second plate member 434 and the second support member 435 that is substantially L-shaped when viewed in the Z direction are fastened by a bolt 436 and a nut 436a.
  • the second support member 435, the first metal plate 43b1, and the first metal plate 43b2 are fastened by bolts 437 and nuts 437a.
  • a portion of the second support member 435 that is fastened together with the second plate member by the bolt 436 and the nut 436a is referred to as a first fastened portion
  • the first metal plate 43b1 and the first metal are fastened by the bolt 437 and the nut 437a.
  • the portion fastened together with the plate 43b2 is referred to as a second fastened portion.
  • the second plate member 434 is substantially L-shaped, but the shape is not limited thereto, and may be fastened to the second plate member 434 and the first metal plates 43b1 and 43b2.
  • each of the divided first metal plates 43b1 and 43b2 is inserted between the cross beam 3 and the first plate member 432, and the other end is bolt 436 via the second support member 435. And bolts 437 to the structural floor 4. Therefore, for example, even if the structural floor 4 is an aluminum alloy and the first metal plate 43b is stainless steel, that is, even if the structural floor 4 and the first metal plate 43b are made of different materials, the above mounting structure is adopted. Thus, the first metal plate 43b can be supported on the structural floor 4.
  • the first metal plate 43b is divided into two parts, a first metal plate 43b1 and a first metal plate 43b2. Further, the first metal plates 43b1, 43b2 are further divided.
  • a stiffener 438 having an L-shaped cross section is attached to the upper surfaces of the first metal plates 43b1 and 43b2 by welding as shown in FIG. The stiffener 438 extends in the Y direction, and a plurality of stiffeners 438 are provided at intervals in the Z direction.
  • a third support member 439 that supports the structural floor 4 is provided on the upper surface of the second metal plate 43 a that is below the structural floor 4 and covers the upper surface of the first heat insulating material 42 a.
  • a plurality of third support members 439 are provided at intervals in the Z direction and the Y direction.
  • the underfloor device 10 is usually suspended at the center in the Z direction of the cross beam 3.
  • the actual wire pipes or the like are inserted through, for example, both ends of the Z direction except the substantially central portion in the Z direction.
  • the several piping holes 31 at both ends cannot be covered with the second heat insulating material 42b because the wire piping or the like is inserted therethrough. Therefore, in the underfloor fire, the temperature of the pipe hole 31 portions at both ends of the cross beam 3 rises, and the cross beam 3 is easily deformed (flexed) downward. Therefore, in order to prevent the large deformation of the cross beam 3 that supports the underfloor device 10, it is necessary to reduce the load on the cross beam 3.
  • FIG. 14 is a schematic perspective view of the floor structure that reduces the load burden on the cross beam 3.
  • floor receiving members 5 extending in the Y direction are provided with an interval in the Z direction.
  • the floor receiving member 5a provided at the substantially central portion in the Z direction excluding both ends in the Z direction is welded and fixed to the structural floor 4 over the entire length in the Y direction of the floor receiving member 5a.
  • FIG. 15 and 16 are schematic front views of the cross beam 3 showing the state before and after the underfloor fire in the floor structure of FIG. 14, respectively.
  • the 3rd metal plate 43c which covers the 2nd heat insulating material 42b is deleted.
  • the underfloor device 10 is suspended by a suspension bolt 8 at the center in the Z direction of the cross beam 3.
  • the horizontal beam 3 is covered with the second heat insulating material 42 b except for the pipe hole 31 portions at both ends in the Z direction of the horizontal beam 3.
  • the upper part of the horizontal beam 3 is attached to the structural floor 4, and the floor receiving member 5 is attached to the upper part of the structural floor 4 so as to connect the horizontal beams 3.
  • the floor receiving member 5a at the substantially central portion in the Z direction on which the underfloor device 10 is suspended is fixed to the structural floor 4 over the entire length in the Y direction of the floor receiving member 5a.
  • the floor receiving member 5a may be fixed to the structural floor 4 by welding, or the floor receiving member 5a and the structural floor 4 may be integrally formed. Therefore, as shown in FIG. 14, the floor receiving member 5 a can bear a part of the load G of the underfloor device 10. That is, a part of the load G of the underfloor device 10 is transmitted through the floor receiving member 5a in the F1 direction and the F2 direction parallel to the Y direction.
  • the following effects can be exhibited. (1) Since the structure floor 4 is covered with the first heat insulating material 42a via the air layer 41a, the vertical thickness (D1 + D2) of the air layer 41a and the first heat insulating material 42a is combined while maintaining the heat insulating effect. ) Can be shortened. As a result, the heat insulating structure below the structural floor 4 can be reduced, and the large underfloor device 10 can be attached.
  • heat transfer forms are classified into heat conduction, heat transfer, and heat radiation (radiation), and heat conduction and radiation are main in a vehicle under-floor fire.
  • radiation heat conduction and radiation
  • the relationship between heat conduction and radiation differs depending on the temperature. At high temperatures (500 ° C. or higher), radiation is more dominant than heat conduction, and at low temperatures (500 ° C. or lower), heat conduction is more dominant than radiation. It becomes.
  • the air layer 41a and the first heat insulating material 42a the heat conductivity of the air layer 41a is lower than that of the first heat insulating material 42a.
  • the performance of blocking radiation is higher in the first heat insulating material 42a than in the air layer 41a.
  • the lower temperature is high and the upper temperature is low. Therefore, the first heat insulating material 42a having high performance for blocking radiation is disposed below, and the air layer 41a having low heat conductivity is disposed above.
  • the vertical thickness (hereinafter referred to as “thickness”) of the air layer 41a and the first heat insulating material 42a can be made the thinnest. If the temperature of the flame is about 1000 ° C., the temperature of the lower surface of the first heat insulating material 42a is about 800 ° C. Here, the temperature of the lower surface of the air layer 41a is set to about 500 ° C.
  • the thickness D1 of the layer 41a is preferably smaller than the thickness D2 of the first heat insulating material 42a. Furthermore, the thickness D1 of the air layer 41a is preferably about 1/3 of the thickness D2 of the first heat insulating material 42a.
  • the thickness D1 of the air layer 41a and the thickness D2 of the first heat insulating material 42a shows the structure floor 4 temperature and the furnace temperature (with respect to the thickness of the first heat insulating material 42a) when the sum of the thickness D1 of the air layer 41a and the thickness D2 of the first heat insulating material 42a is 20 mm. It is the graph which showed temperature ratio with (corresponding to the temperature of underfloor fire). From FIG. 17, for example, if the sum of the thickness D1 of the air layer 41a and the thickness D2 of the first heat insulating material 42a is about 20 mm, the thickness D1 of the air layer 41a is about 2.5 to 5 mm.
  • the thickness D2 of the heat insulating material 42a is preferably about 17.5 to 15 mm.
  • the first metal plate 43b is provided on the lower surface of the first heat insulating material 42a, the first heat insulating material 42a can be protected from a flame in an underfloor fire. Moreover, since the 1st heat insulating material 42a can be supported by the 1st metal plate 43b, it is not necessary to provide the special member for supporting the 1st heat insulating material 42a.
  • a part below and at least the side of the horizontal beam 3 is covered with the second heat insulating material 42b or the second heat insulating material 42b through the air layer 41b. Fire resistance and heat insulation can be improved.
  • the horizontal beam 3 is covered with the second heat insulating material 42b through the air layer 41b, so that the combined thickness of the air layer 41b and the second heat insulating material 42b is shortened as in the heat insulating structure of the structural floor 4 described above. be able to. As a result, the heat insulating structure around the horizontal beam 3 can be reduced.
  • the 2nd heat insulating material 42b Since the 2nd heat insulating material 42b is covered with the 3rd metal plate 43c, the 2nd heat insulating material 42b can be protected from the flame in an underfloor fire. Further, since the second heat insulating material can be supported by the third metal plate 43c and the fourth metal plate 43d, it is not necessary to provide a special member for supporting the second heat insulating material 42b.
  • the first metal plate 43b and the third metal plate 43c are not in contact with each other, and the first metal plate 43b and the fourth metal plate 43d are not in contact with each other.
  • Thermal distortion occurs between the metal plate 43c and between the first metal plate 43b and the fourth metal plate 43d, and between the first metal plate 43b and the third metal plate 43c, and between the first metal plate and the fourth metal plate 43d. It can prevent that a big deformation
  • the first metal plate 43b is divided into the two first metal plates 43b1 and the first metal plate 43b2, the amount of downward bending of the first metal plate 43b can be reduced.
  • the first metal plate 43b is inserted into the gap between the cross beam 3 and the first plate member 432, and is placed on and supported by the first plate member 432. 4 is fastened with bolts 436 and 437 through a second support member 435. Therefore, different materials can be used for the cross beam 3, the structural floor 4, and the first metal plate 43b.
  • the horizontal beam 3 and the structural floor 4 can be made of a light aluminum alloy, and the first metal plate 43b can be made of stainless steel having high fire resistance.
  • the third support member 439 Since the third support member 439 is provided on the upper surface of the second metal plate 43a, the third support member 439 supports the structural floor 4 and reduces the amount of bending downward of the structural floor 4. be able to.
  • the floor receiving member 5a Since the floor receiving member 5a is welded and fixed to the structural floor 4 over the entire length in the Y direction of the floor receiving member 5a, the floor receiving member 5a is a part of the load G of the underfloor device 10. Can be received. Therefore, even when the temperature at both ends of the horizontal beam 3 rises due to the underfloor fire and the horizontal beam 3 is easily deformed downward, a part of the load G of the underfloor equipment 10 is distributed to the floor receiving member 5a, Since the load which 3 receives becomes small, the deformation amount to the downward direction of the cross beam 3 can be reduced. Further, by reducing the amount of deformation of the horizontal beam 3 downward, it is possible to reduce the amount of deformation of the structural floor 4 and the cabin floor 6 downward.
  • the side beam 2 is preferably covered with a heat insulating material, and further preferably covered with a heat insulating material via an air layer.
  • the floor receiving member 5a at the substantially central portion in the Z direction in which the underfloor device 10 is suspended is welded and fixed to the structural floor 4 over the entire length in the Y direction of the floor receiving member 5a.
  • all the floor receiving members 5 may be fixed to the structural floor 4 by welding over the entire length of the floor receiving member 5 in the Y direction.
  • the floor receiving member 5a is welded and fixed to the structural floor 4.
  • the fixing method is not limited to welding, and the floor 4 is attached to the structural floor 4 so as to be able to bear a part of the load of the underfloor device 10. It only has to be attached.
  • the floor receiving member 5a may be integrally formed with the structural floor 4, or the floor receiving member 5a may be fastened to the structural floor 4 with bolts and nuts. Further, the floor receiving member 5a may be attached to the structural floor 4 via a connecting member that is a separate member from the floor receiving member 5a.
  • the pipe holes 31 are provided at both ends in the Z direction of the cross beam 3. However, the pipe holes 31 are located in the horizontal beam 3 and the floor receiving member 5a at the substantially central part in the Z direction where the underfloor device 10 is suspended. It suffices if it is provided in a range that does not correspond to a position immediately below.
  • the floor structure of a railway vehicle that can shorten the combined thickness of the air layer and the heat insulating material while maintaining the heat resistance effect can be provided, and thus has high industrial utility value.

Landscapes

  • Engineering & Computer Science (AREA)
  • Mechanical Engineering (AREA)
  • Life Sciences & Earth Sciences (AREA)
  • Wood Science & Technology (AREA)
  • Building Environments (AREA)
PCT/JP2011/075377 2010-11-08 2011-11-04 鉄道車両の床構造 Ceased WO2012063720A1 (ja)

Priority Applications (3)

Application Number Priority Date Filing Date Title
US13/882,924 US9180894B2 (en) 2010-11-08 2011-11-04 Floor structure of railcar
CN201180053577.3A CN103201155B (zh) 2010-11-08 2011-11-04 铁路车辆的地板结构
EP11839628.2A EP2639132A4 (en) 2010-11-08 2011-11-04 Floor structure of railroad vehicle

Applications Claiming Priority (2)

Application Number Priority Date Filing Date Title
JP2010249902A JP5697953B2 (ja) 2010-11-08 2010-11-08 鉄道車両の床構造
JP2010-249902 2010-11-08

Publications (1)

Publication Number Publication Date
WO2012063720A1 true WO2012063720A1 (ja) 2012-05-18

Family

ID=46050868

Family Applications (1)

Application Number Title Priority Date Filing Date
PCT/JP2011/075377 Ceased WO2012063720A1 (ja) 2010-11-08 2011-11-04 鉄道車両の床構造

Country Status (5)

Country Link
US (1) US9180894B2 (enExample)
EP (1) EP2639132A4 (enExample)
JP (1) JP5697953B2 (enExample)
CN (1) CN103201155B (enExample)
WO (1) WO2012063720A1 (enExample)

Cited By (1)

* Cited by examiner, † Cited by third party
Publication number Priority date Publication date Assignee Title
TWI554421B (zh) * 2015-02-27 2016-10-21 Kawasaki Heavy Ind Ltd Installation of metal parts, installation units, and railway vehicles

Families Citing this family (10)

* Cited by examiner, † Cited by third party
Publication number Priority date Publication date Assignee Title
US9067606B2 (en) * 2011-02-17 2015-06-30 East Japan Railway Company Railcar
DE102011011633A1 (de) * 2011-02-17 2012-08-23 Siemens Aktiengesellschaft Abstützvorrichtung für einen Schienenfahrzeug-Fußboden
CA2806886C (en) * 2013-02-20 2015-04-28 Bombardier Transportation Gmbh Heat resistant floor assembly for a rail vehicle
JP6133731B2 (ja) * 2013-09-03 2017-05-24 川崎重工業株式会社 取付金具及び鉄道車両
US10029709B2 (en) * 2013-11-12 2018-07-24 Kawasaki Jukogyo Kabushiki Kaisha Railcar
JP6522111B2 (ja) * 2015-03-20 2019-05-29 川崎重工業株式会社 鉄道車両
CN105599779A (zh) * 2016-02-05 2016-05-25 中车青岛四方机车车辆股份有限公司 一种轨道车辆侧墙结构
US20210300442A1 (en) * 2020-03-31 2021-09-30 National Steel Car Limited Railroad freight car structure
FR3123873B1 (fr) 2021-06-11 2025-07-18 Alstom Transp Tech Structure de châssis pour véhicule
CN113306582B (zh) * 2021-06-28 2023-03-17 中车青岛四方机车车辆股份有限公司 牵引梁型材结构、牵引梁、车体及轨道车辆

Citations (13)

* Cited by examiner, † Cited by third party
Publication number Priority date Publication date Assignee Title
JPS55132363A (en) * 1979-03-28 1980-10-15 Hitachi Ltd Structure of floor of railway rolling stock
JPS59153654A (ja) * 1983-02-23 1984-09-01 株式会社日立製作所 車両の床構造
JPS59164262A (ja) * 1983-03-04 1984-09-17 株式会社日立製作所 鉄道車両の床下断熱材押え
JPS60234065A (ja) * 1984-05-04 1985-11-20 株式会社日立製作所 鉄道車両の床構造
JPS61184167A (ja) 1985-02-12 1986-08-16 株式会社日立製作所 車両用床断熱構造
JPS6264667A (ja) * 1985-09-18 1987-03-23 株式会社日立製作所 鉄道車両用台枠構造
JPS62189251A (ja) 1986-02-13 1987-08-19 川崎重工業株式会社 床構造
JPS636970U (enExample) * 1986-06-27 1988-01-18
JPS6478970A (en) * 1987-09-18 1989-03-24 Railway Technical Res Inst Base frame for rolling stock
JPH0275373U (enExample) * 1988-11-30 1990-06-08
JPH0874346A (ja) * 1994-09-05 1996-03-19 Asahi Chem Ind Co Ltd 断熱性複合パネル
JP2000203423A (ja) * 1999-01-13 2000-07-25 Hitachi Ltd 高速鉄道車両用構体
JP2007191016A (ja) * 2006-01-18 2007-08-02 Hitachi Ltd 軌条車両の床構造

Family Cites Families (6)

* Cited by examiner, † Cited by third party
Publication number Priority date Publication date Assignee Title
US2294357A (en) * 1940-05-18 1942-08-25 Budd Edward G Mfg Co Vehicle body construction
DE1059947B (de) * 1954-10-26 1959-06-25 Mak Maschb Kiel Ag Mehrschichtiger schalldaempfender Fussboden fuer das Fuehrerstandhaus von Diesellokomotiven od. dgl.
DE2045277C3 (de) * 1970-09-12 1978-06-29 Linke-Hofmann-Busch Waggon-Fahrzeug-Maschinen Gmbh, 3320 Salzgitter Schallreduzierender Fußboden für Fahrzeuge, insbesondere Schienenfahrzeuge
DE19649041A1 (de) * 1996-11-27 1998-05-28 Duewag Ag Wagenkasten eines Schienenfahrzeuges
JP3725057B2 (ja) * 2001-09-25 2005-12-07 株式会社日立製作所 軌条車両
KR101600988B1 (ko) * 2011-03-23 2016-03-08 카와사키 주코교 카부시키 카이샤 내열 바닥을 구비한 철도 차량

Patent Citations (13)

* Cited by examiner, † Cited by third party
Publication number Priority date Publication date Assignee Title
JPS55132363A (en) * 1979-03-28 1980-10-15 Hitachi Ltd Structure of floor of railway rolling stock
JPS59153654A (ja) * 1983-02-23 1984-09-01 株式会社日立製作所 車両の床構造
JPS59164262A (ja) * 1983-03-04 1984-09-17 株式会社日立製作所 鉄道車両の床下断熱材押え
JPS60234065A (ja) * 1984-05-04 1985-11-20 株式会社日立製作所 鉄道車両の床構造
JPS61184167A (ja) 1985-02-12 1986-08-16 株式会社日立製作所 車両用床断熱構造
JPS6264667A (ja) * 1985-09-18 1987-03-23 株式会社日立製作所 鉄道車両用台枠構造
JPS62189251A (ja) 1986-02-13 1987-08-19 川崎重工業株式会社 床構造
JPS636970U (enExample) * 1986-06-27 1988-01-18
JPS6478970A (en) * 1987-09-18 1989-03-24 Railway Technical Res Inst Base frame for rolling stock
JPH0275373U (enExample) * 1988-11-30 1990-06-08
JPH0874346A (ja) * 1994-09-05 1996-03-19 Asahi Chem Ind Co Ltd 断熱性複合パネル
JP2000203423A (ja) * 1999-01-13 2000-07-25 Hitachi Ltd 高速鉄道車両用構体
JP2007191016A (ja) * 2006-01-18 2007-08-02 Hitachi Ltd 軌条車両の床構造

Non-Patent Citations (1)

* Cited by examiner, † Cited by third party
Title
See also references of EP2639132A4 *

Cited By (1)

* Cited by examiner, † Cited by third party
Publication number Priority date Publication date Assignee Title
TWI554421B (zh) * 2015-02-27 2016-10-21 Kawasaki Heavy Ind Ltd Installation of metal parts, installation units, and railway vehicles

Also Published As

Publication number Publication date
CN103201155A (zh) 2013-07-10
JP5697953B2 (ja) 2015-04-08
JP2012101596A (ja) 2012-05-31
US9180894B2 (en) 2015-11-10
EP2639132A1 (en) 2013-09-18
EP2639132A4 (en) 2017-10-25
US20130213259A1 (en) 2013-08-22
CN103201155B (zh) 2015-09-30

Similar Documents

Publication Publication Date Title
JP5697953B2 (ja) 鉄道車両の床構造
JP5583553B2 (ja) 鉄道車両の台枠構造
JP6522111B2 (ja) 鉄道車両
EP3069950B1 (en) Railway
JP2012101597A5 (enExample)
WO2013157464A1 (ja) 軌条車両構体
JP2009214875A (ja) 断熱パネルが設けられた鉄道車両のためのシャーシ
JP2012101596A5 (enExample)
WO2013145660A1 (ja) 鉄道車両の床構造及びそれを備えた鉄道車両
JP2010269757A (ja) 鉄道車両構体への内装品の取付け構造、及び内装品を車両構体に取り付けた鉄道車両
CN109109892B (zh) 轨道车辆的底架组件及轨道车辆
HK1186713A (en) Floor structure of railroad vehicle
JP7032184B2 (ja) 床板中配線構造及び鉄道車両
HK1186712A (en) Underframe structure of railroad vehicle
JP4640959B2 (ja) 軌条車両の床構造
JP2013071648A (ja) 鉄道車両構体
KR101234106B1 (ko) 철도차량용 언더 프레임
US11161528B2 (en) Railway vehicle coach
JP6921906B2 (ja) 軌条車両およびその製造方法
JPH057221B2 (enExample)

Legal Events

Date Code Title Description
121 Ep: the epo has been informed by wipo that ep was designated in this application

Ref document number: 11839628

Country of ref document: EP

Kind code of ref document: A1

WWE Wipo information: entry into national phase

Ref document number: 13882924

Country of ref document: US

NENP Non-entry into the national phase

Ref country code: DE

WWE Wipo information: entry into national phase

Ref document number: 2011839628

Country of ref document: EP