WO2012008149A1 - 電子デバイス用基板および該基板を備えた光電変換装置 - Google Patents

電子デバイス用基板および該基板を備えた光電変換装置 Download PDF

Info

Publication number
WO2012008149A1
WO2012008149A1 PCT/JP2011/003991 JP2011003991W WO2012008149A1 WO 2012008149 A1 WO2012008149 A1 WO 2012008149A1 JP 2011003991 W JP2011003991 W JP 2011003991W WO 2012008149 A1 WO2012008149 A1 WO 2012008149A1
Authority
WO
WIPO (PCT)
Prior art keywords
substrate
layer
electrode layer
photoelectric conversion
metal substrate
Prior art date
Legal status (The legal status is an assumption and is not a legal conclusion. Google has not performed a legal analysis and makes no representation as to the accuracy of the status listed.)
Ceased
Application number
PCT/JP2011/003991
Other languages
English (en)
French (fr)
Japanese (ja)
Inventor
向井 厚史
成彦 青野
Current Assignee (The listed assignees may be inaccurate. Google has not performed a legal analysis and makes no representation or warranty as to the accuracy of the list.)
Fujifilm Corp
Original Assignee
Fujifilm Corp
Priority date (The priority date is an assumption and is not a legal conclusion. Google has not performed a legal analysis and makes no representation as to the accuracy of the date listed.)
Filing date
Publication date
Application filed by Fujifilm Corp filed Critical Fujifilm Corp
Priority to CN2011800345637A priority Critical patent/CN103026495A/zh
Priority to KR1020137003687A priority patent/KR20130100984A/ko
Publication of WO2012008149A1 publication Critical patent/WO2012008149A1/ja
Priority to US13/737,783 priority patent/US20130118578A1/en
Anticipated expiration legal-status Critical
Ceased legal-status Critical Current

Links

Images

Classifications

    • HELECTRICITY
    • H05ELECTRIC TECHNIQUES NOT OTHERWISE PROVIDED FOR
    • H05KPRINTED CIRCUITS; CASINGS OR CONSTRUCTIONAL DETAILS OF ELECTRIC APPARATUS; MANUFACTURE OF ASSEMBLAGES OF ELECTRICAL COMPONENTS
    • H05K1/00Printed circuits
    • H05K1/02Details
    • H05K1/03Use of materials for the substrate
    • H05K1/05Insulated conductive substrates, e.g. insulated metal substrate
    • H05K1/053Insulated conductive substrates, e.g. insulated metal substrate the metal substrate being covered by an inorganic insulating layer
    • HELECTRICITY
    • H10SEMICONDUCTOR DEVICES; ELECTRIC SOLID-STATE DEVICES NOT OTHERWISE PROVIDED FOR
    • H10FINORGANIC SEMICONDUCTOR DEVICES SENSITIVE TO INFRARED RADIATION, LIGHT, ELECTROMAGNETIC RADIATION OF SHORTER WAVELENGTH OR CORPUSCULAR RADIATION
    • H10F10/00Individual photovoltaic cells, e.g. solar cells
    • HELECTRICITY
    • H10SEMICONDUCTOR DEVICES; ELECTRIC SOLID-STATE DEVICES NOT OTHERWISE PROVIDED FOR
    • H10FINORGANIC SEMICONDUCTOR DEVICES SENSITIVE TO INFRARED RADIATION, LIGHT, ELECTROMAGNETIC RADIATION OF SHORTER WAVELENGTH OR CORPUSCULAR RADIATION
    • H10F19/00Integrated devices, or assemblies of multiple devices, comprising at least one photovoltaic cell covered by group H10F10/00, e.g. photovoltaic modules
    • H10F19/30Integrated devices, or assemblies of multiple devices, comprising at least one photovoltaic cell covered by group H10F10/00, e.g. photovoltaic modules comprising thin-film photovoltaic cells
    • H10F19/31Integrated devices, or assemblies of multiple devices, comprising at least one photovoltaic cell covered by group H10F10/00, e.g. photovoltaic modules comprising thin-film photovoltaic cells having multiple laterally adjacent thin-film photovoltaic cells deposited on the same substrate
    • H10F19/33Patterning processes to connect the photovoltaic cells, e.g. laser cutting of conductive or active layers
    • HELECTRICITY
    • H10SEMICONDUCTOR DEVICES; ELECTRIC SOLID-STATE DEVICES NOT OTHERWISE PROVIDED FOR
    • H10FINORGANIC SEMICONDUCTOR DEVICES SENSITIVE TO INFRARED RADIATION, LIGHT, ELECTROMAGNETIC RADIATION OF SHORTER WAVELENGTH OR CORPUSCULAR RADIATION
    • H10F19/00Integrated devices, or assemblies of multiple devices, comprising at least one photovoltaic cell covered by group H10F10/00, e.g. photovoltaic modules
    • H10F19/30Integrated devices, or assemblies of multiple devices, comprising at least one photovoltaic cell covered by group H10F10/00, e.g. photovoltaic modules comprising thin-film photovoltaic cells
    • H10F19/31Integrated devices, or assemblies of multiple devices, comprising at least one photovoltaic cell covered by group H10F10/00, e.g. photovoltaic modules comprising thin-film photovoltaic cells having multiple laterally adjacent thin-film photovoltaic cells deposited on the same substrate
    • H10F19/35Structures for the connecting of adjacent photovoltaic cells, e.g. interconnections or insulating spacers
    • HELECTRICITY
    • H10SEMICONDUCTOR DEVICES; ELECTRIC SOLID-STATE DEVICES NOT OTHERWISE PROVIDED FOR
    • H10FINORGANIC SEMICONDUCTOR DEVICES SENSITIVE TO INFRARED RADIATION, LIGHT, ELECTROMAGNETIC RADIATION OF SHORTER WAVELENGTH OR CORPUSCULAR RADIATION
    • H10F77/00Constructional details of devices covered by this subclass
    • H10F77/10Semiconductor bodies
    • H10F77/16Material structures, e.g. crystalline structures, film structures or crystal plane orientations
    • H10F77/169Thin semiconductor films on metallic or insulating substrates
    • H10F77/1698Thin semiconductor films on metallic or insulating substrates the metallic or insulating substrates being flexible
    • H10F77/1699Thin semiconductor films on metallic or insulating substrates the metallic or insulating substrates being flexible the films including Group I-III-VI materials, e.g. CIS or CIGS on metal foils or polymer foils
    • HELECTRICITY
    • H10SEMICONDUCTOR DEVICES; ELECTRIC SOLID-STATE DEVICES NOT OTHERWISE PROVIDED FOR
    • H10FINORGANIC SEMICONDUCTOR DEVICES SENSITIVE TO INFRARED RADIATION, LIGHT, ELECTROMAGNETIC RADIATION OF SHORTER WAVELENGTH OR CORPUSCULAR RADIATION
    • H10F77/00Constructional details of devices covered by this subclass
    • H10F77/20Electrodes
    • H10F77/206Electrodes for devices having potential barriers
    • H10F77/211Electrodes for devices having potential barriers for photovoltaic cells
    • YGENERAL TAGGING OF NEW TECHNOLOGICAL DEVELOPMENTS; GENERAL TAGGING OF CROSS-SECTIONAL TECHNOLOGIES SPANNING OVER SEVERAL SECTIONS OF THE IPC; TECHNICAL SUBJECTS COVERED BY FORMER USPC CROSS-REFERENCE ART COLLECTIONS [XRACs] AND DIGESTS
    • Y02TECHNOLOGIES OR APPLICATIONS FOR MITIGATION OR ADAPTATION AGAINST CLIMATE CHANGE
    • Y02EREDUCTION OF GREENHOUSE GAS [GHG] EMISSIONS, RELATED TO ENERGY GENERATION, TRANSMISSION OR DISTRIBUTION
    • Y02E10/00Energy generation through renewable energy sources
    • Y02E10/50Photovoltaic [PV] energy
    • Y02E10/541CuInSe2 material PV cells
    • YGENERAL TAGGING OF NEW TECHNOLOGICAL DEVELOPMENTS; GENERAL TAGGING OF CROSS-SECTIONAL TECHNOLOGIES SPANNING OVER SEVERAL SECTIONS OF THE IPC; TECHNICAL SUBJECTS COVERED BY FORMER USPC CROSS-REFERENCE ART COLLECTIONS [XRACs] AND DIGESTS
    • Y02TECHNOLOGIES OR APPLICATIONS FOR MITIGATION OR ADAPTATION AGAINST CLIMATE CHANGE
    • Y02PCLIMATE CHANGE MITIGATION TECHNOLOGIES IN THE PRODUCTION OR PROCESSING OF GOODS
    • Y02P70/00Climate change mitigation technologies in the production process for final industrial or consumer products
    • Y02P70/50Manufacturing or production processes characterised by the final manufactured product

Definitions

  • the present invention relates to a substrate for an electronic device such as a solar cell and a TFT, and a photoelectric conversion device including the substrate.
  • Compound semiconductor solar cells include CIS (Cu-In-Se) or CIGS (Cu-In-Ga-Se), which is composed of a bulk system such as a GaAs system, and a group Ib element, group IIIb element, and group VIb element. And other thin film systems are known.
  • the CIS system or CIGS system has a high light absorptance and high photoelectric conversion efficiency has been reported, and has attracted attention as a next-generation solar cell that can reduce the module manufacturing cost.
  • substrate which comprises a solar cell module using the board
  • the applicant of the present invention is that the substrate with anodized one surface of the aluminum substrate is warped due to a difference in thermal expansion in the heating process when forming various films on the substrate, and the linear thermal expansion coefficient is close to that of the CIGS layer in order to prevent cracks.
  • Japanese Patent Application No. 2010-053202 proposes to use a substrate having an anodized film on the surface of aluminum as a clad material of a metal base material and an aluminum material.
  • the inventor has a step of forming an integrated photoelectric conversion device by a roll-to-roll method using a flexible long substrate comprising an anodized aluminum film on the aluminum clad material, and the photoelectric A back electrode formed on the anodized aluminum film when the substrate on which the element is formed is cut into one module after the photoelectric conversion element forming step including a patterning process for integration, after conducting intensive studies on conversion characteristics and the like. It has been found that there is a problem that the metal substrate under the anodized aluminum film is short-circuited or the breakdown voltage of the element is lowered.
  • the back electrode and the metal substrate are short-circuited, it cannot be used as a module, and a decrease in dielectric breakdown voltage is not preferable because it reduces the function of the photoelectric conversion element.
  • a decrease in dielectric breakdown voltage is not preferable because it reduces the function of the photoelectric conversion element.
  • the same problem arises also about other electronic devices preferably provided on an insulating substrate in order to make a flexible device.
  • the present invention has been made in view of the above problems, and provides a substrate for an electronic device that is less likely to cause dielectric breakdown during the process of forming the electronic device on the substrate and the electronic device cannot be driven. It is intended. Moreover, an object of this invention is to provide the photoelectric conversion apparatus provided with such a board
  • a cutting cutter or a dicing saw is used for the cutting process of the metal substrate with an insulating layer provided with an anodized film on aluminum of a clad material made of aluminum and another metal. It was found that the anodic oxide film was damaged and cracks spread under the electrode layer formed on the insulating layer. When cracks occur, the back electrode debris may come into contact between the back electrode and the metal layer of the substrate, and a short-circuit phenomenon may occur, and in the cracked part, air may flow between the back electrode and the metal layer of the substrate. It was found that a partial discharge voltage is lowered by this air layer. Furthermore, it has been found that the range of cracks that accompany cutting is within a limited range from the cut part. The present invention has been made based on these findings.
  • a first electronic device substrate of the present invention is a metal substrate with an insulating layer comprising an anodized alumina film on the surface of a metal substrate, the metal substrate with an insulating layer having a cut end face on at least one side; And an electrode layer provided only inside 200 ⁇ m or more from the cut end face on the metal substrate with an insulating layer.
  • the electrode layer is provided only on the inner side of 300 ⁇ m or more from the cut end surface.
  • the metal substrate is formed by integrating a metal base material having a smaller linear thermal expansion coefficient, higher rigidity and higher heat resistance than Al, and an Al material.
  • a steel material is particularly preferable.
  • the second substrate for electronic devices of the present invention is a metal substrate with an insulating layer comprising an anodized alumina film on the surface of the metal substrate, the metal substrate with an insulating layer having a cut end face on at least one side; An electrode layer formed uniformly on the anodized alumina film on the metal substrate with an insulating layer, The electrode layer is electrically separated into an end surface region and an inner region at a predetermined position inside the cut end surface of the metal substrate with an insulating layer by 200 ⁇ m or more.
  • the predetermined position is located 300 ⁇ m or more inside the cut end surface.
  • the metal substrate is formed by integrating a metal base material having a smaller linear thermal expansion coefficient, higher rigidity and higher heat resistance than Al, and an Al material.
  • a steel material is particularly preferable.
  • a first photoelectric conversion device of the present invention includes a first electronic device substrate of the present invention, Provided sequentially on the electrode layer of the substrate for electronic devices, a photoelectric conversion layer and a transparent electrode layer, A photoelectric conversion circuit is formed by the electrode layer, the photoelectric conversion layer, and the transparent electrode layer.
  • a second photoelectric conversion device of the present invention includes a second electronic device substrate of the present invention, Provided sequentially on the electrode layer of the substrate for electronic devices, a photoelectric conversion layer and a transparent electrode layer, The photoelectric conversion layer and the transparent electrode layer are separated into an end face region and an inner region at the predetermined position together with the electrode layer, and the electrode layer, the photoelectric conversion layer, and the inner layer formed in the inner region A photoelectric conversion circuit is formed by the transparent electrode layer.
  • the photoelectric conversion layer is made of a compound semiconductor and a buffer layer is provided between the photoelectric conversion layer and the transparent electrode layer.
  • the substrate for the first electronic device of the present invention is provided with the electrode layer only on the inner side of the cut end face on the metal substrate with an insulating layer provided with the anodic oxide film as the insulating layer on the surface, It is excellent in voltage resistance without being substantially affected by cracks generated near the cut end face during cutting. Even when an electronic device is formed on a substrate, the insulating property between the metal substrate and the electrode layer on the anodic oxide film is good, so there is little risk of becoming an electronic device that cannot be driven. If used, the manufacturing efficiency of the electronic device can be improved.
  • the electrode layer on the metal substrate with an insulating layer having an anodic oxide film as an insulating layer on the surface has an end face region at a predetermined position 200 ⁇ m or more inside the cut end face. Since it is electrically separated from the inner region, the electrode layer in the inner region of the substrate is excellent in withstand voltage without being substantially affected by cracks generated near the cut end face during cutting. Even when an electronic device is formed on the electrode layer in the substrate inner region of the substrate, the insulation between the metal substrate and the electrode layer in the substrate inner region is good, so there is a low risk of becoming an electronic device that cannot be driven. If the board
  • the 1st and 2nd photoelectric conversion apparatus of this invention is equipped with the board
  • substrate 1 for electronic devices The perspective view which shows the example of a design change of the board
  • substrate 3 for electronic devices Sectional drawing which shows a part of photoelectric conversion apparatus of 1st Embodiment.
  • the perspective view which shows the board
  • Sectional drawing which shows a part of photoelectric conversion apparatus of 2nd Embodiment.
  • Micrograph near the cutting edge Graph showing probability distribution of crack penetration depth
  • the substrate for electronic devices of the present invention comprises an electrode layer that can form an electronic device such as a photoelectric conversion circuit on a metal substrate with an insulating layer.
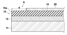
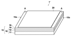
  • FIG. 1 is a perspective view schematically showing the electronic device substrate 1 of the first embodiment.
  • the substrate 1 for an electronic device includes a metal substrate 10, a metal substrate with an insulating layer 15 including an insulating layer 14 provided on the surface thereof, and an electrode layer 20 provided on the insulating layer 14. Prepare.
  • the metal substrate 10 is formed by bonding and integrating a base material 11 made of a metal different from an Al material and an Al material 12.
  • the metal substrate 10 only needs to have an Al layer on at least one surface, and is not limited to an integrated metal and Al material different from the Al material as in this embodiment. It may consist only of materials.
  • the metal substrate 10 is what integrated the base material 11 and the Al material 12 by pressure bonding.
  • the pressure bonding is performed without heating.
  • joining without heating means joining at room temperature without applying heat externally.
  • the base material 11 is preferably made of a metal having a smaller linear thermal expansion coefficient than Al, high rigidity, and high heat resistance.
  • the material of the base material 11 is desirably a metal having a smaller coefficient of linear thermal expansion, higher rigidity, and higher heat resistance than Al.
  • the material of the metal substrate 15 with an insulating layer and the electronic device provided thereon is desirable. It can be appropriately selected from the characteristics according to the stress calculation result.
  • a steel material or a Ti material is preferable. Examples of preferable steel materials include austenitic stainless steel (linear thermal expansion coefficient: 17 ⁇ 10 ⁇ 6 / ° C.), carbon steel (10.8 ⁇ 10 ⁇ 6 / ° C.), and ferritic stainless steel (10.5 ⁇ 10 6 ).
  • Ti for example, Ti (9.2 ⁇ 10 ⁇ 6 / ° C.) can be used. However, it is not limited to pure Ti, and Ti-6Al-4V, Ti-15V-3Cr—, which are alloys for extending, are used. 3Al-3Sn can also be preferably used because its linear thermal expansion coefficient is almost the same as that of Ti.
  • the thickness of the substrate 11 can be arbitrarily set depending on the handling properties (strength and flexibility) during the manufacturing process and during operation, but is preferably 10 ⁇ m to 1 mm.
  • the main component of the Al material 12 may be pure high-purity Al or Japanese Industrial Standard (JIS) 1000 series pure Al, Al-Mn alloy, Al-Mg alloy, Al-Mn-Mg alloy, Alloys of Al and other metal elements such as Al-Zr alloys, Al-Si alloys, and Al-Mg-Si alloys may be used ("Aluminum Handbook 4th Edition" (published by the Light Metal Association, 1990) reference). Moreover, various trace metal elements such as Fe, Si, Mn, Cu, Mg, Cr, Zn, Bi, Ni, and Ti may be contained in pure high purity Al in a solid solution state.
  • JIS Japanese Industrial Standard
  • the total amount of components other than Al or the total amount of impurities other than Al in the Al alloy is less than 10 wt%, that is, the Al purity is 90 wt% or more. It is preferable when ensuring insulation.
  • the Al purity is more preferably 99 wt% or higher.
  • the thickness of the Al material 12 can be selected as appropriate, but is preferably 0.1 to 500 ⁇ m in the form of the metal substrate 15 with an insulating layer.
  • the insulating layer 14 is made of an anodized film (anodized alumina film) formed by anodizing the surface of the Al material 12 of the metal substrate 10.
  • the anodic oxide film is particularly preferably so-called porous alumina having a porous structure.
  • Anodization can be performed by using the metal substrate 10 as an anode, immersing it in an electrolyte together with a cathode, and applying a voltage between the anode and the cathode.
  • the surface of the Al material 12 Prior to the anodizing treatment, the surface of the Al material 12 is subjected to a cleaning treatment, a polishing smoothing treatment, or the like as necessary. Carbon, Al, or the like is used as the cathode.
  • the electrolyte is not limited, and an acidic electrolytic solution containing one or more acids such as sulfuric acid, phosphoric acid, chromic acid, oxalic acid, sulfamic acid, benzenesulfonic acid, and amidosulfonic acid is preferably used.
  • the anodizing conditions are not particularly limited by the type of electrolyte used.
  • an electrolyte concentration of 1 to 80% by mass, a liquid temperature of 5 to 70 ° C., a current density of 0.005 to 0.60 A / cm 2 , a voltage of 1 to 200 V, and an electrolysis time of 3 to 500 minutes are appropriate. It is.
  • the electrolyte sulfuric acid, phosphoric acid, oxalic acid, or a mixture thereof is preferable.
  • the electrolyte concentration is preferably 4 to 30% by mass
  • the liquid temperature is 10 to 30 ° C.
  • the current density is 0.002 to 0.30 A / cm 2
  • the voltage is 20 to 100V.
  • the oxidation reaction proceeds in a substantially vertical direction from the surface of the Al material 12, and an anodic oxide film 14 is generated on the surface of the Al material 12.
  • the anodic oxide film 14 has a large number of fine columnar bodies having a regular hexagonal shape in plan view arranged without gaps, and has a rounded bottom surface at the center of each fine columnar body. It is a porous type in which fine holes are formed and a barrier layer (usually 0.02 to 0.1 ⁇ m in thickness) is formed at the bottom of the fine columnar body.
  • Such a porous anodic oxide film has a lower Young's modulus compared to a non-porous aluminum oxide single film, and has a high resistance to bending and a crack caused by a difference in thermal expansion at high temperatures.
  • a neutral electrolytic solution such as boric acid
  • a dense anodic oxide film non-porous aluminum oxide simple substance film
  • the anodic oxide film having a larger barrier layer thickness may be formed by a pore filling method in which re-electrolytic treatment is performed with the neutral electrolytic solution.
  • a coating with higher insulation can be obtained.
  • the anodic oxide film 14 is desirably formed so as to have a uniform thickness and a thickness of 5 ⁇ m or more and 50 ⁇ m or less. A more preferable film thickness is 9 ⁇ m or more and 20 ⁇ m or less.
  • the thickness of the anodic oxide film 14 can be controlled by current, voltage magnitude, and electrolysis time in constant current electrolysis or constant voltage electrolysis.
  • the electrode layer 20 is formed on the anodic oxide film 14 that is an insulating layer of the metal substrate 15 with an insulating layer, and is provided only in a region excluding end regions A on two opposite sides of the anodic oxide film 14. ing.
  • FIG. 2 is a cross-sectional view for explaining the relationship between the end region A of the substrate 15 and the formation position of the electrode layer 20.
  • the electrode layer 20 is not provided in the end region A that is within the predetermined distance d from the end surface 15a, and is formed only inward of the substrate from the distance d.
  • the distance from the end surface 15b of the formation position of the electrode layer 20 is also the same.
  • the distance d is 200 ⁇ m or more, and more preferably 300 ⁇ m or more.
  • the device substrate 1 of the present embodiment is formed by cutting a flexible long substrate perpendicularly to the unwinding direction. That is, the device substrate 1 of this embodiment is anodized on a long metal substrate by a roll-to-roll method, and electrode layers are also formed by sputtering or the like by a roll-to-roll method. After being performed, it is produced by cutting perpendicularly to the unwinding direction.
  • two opposing sides provided with the end region A are sides formed by cutting a long substrate perpendicularly to the long side. That is, the end surfaces 15a and 15b are cut surfaces.
  • the mask is removed to form the electrode layer 20 only in the region excluding the end region A.
  • the electrode layer 20 can be provided only in the region excluding the end region A.
  • the electrode layer is uniformly formed on the insulating layer 14, the electrode layer within the range of the distance d from the planned cutting position is removed, and then the cutting is performed at the planned cutting position.
  • the electrode layer may be provided only in the region excluding the end region A, or after being cut at a desired position, the electrode layer formed in the end region A within the distance d from the cut end surface It is good also as what provided the electrode layer 20 only in the area
  • the electronic device substrate of the present embodiment can improve the reliability of the electronic device provided on the substrate. .
  • the electrode layer 20 is described as a uniform layer, but may be formed in various patterns depending on the electronic device provided on the substrate. For example, when an integrated solar cell is provided as a device, a pattern-like electrode layer in which a scribe line for separating a plurality of strip electrodes is provided on a uniform electrode layer may be provided (see FIG. 8). ). Moreover, when using the board
  • the material of the electrode layer 20 is not particularly limited as long as it can be used as an electrode.
  • the film forming method is not particularly limited, and examples thereof include vapor phase film forming methods such as an electron beam evaporation method and a sputtering method.
  • Mo is suitable as the material of the electrode layer 20, and the thickness of the electrode layer 20 is preferably 100 nm or more, more preferably 0.45 to 1.0 ⁇ m.
  • an insulating layer 18 such as SLG (soda lime glass) may be provided between the insulating layer 14 and the electrode layer 20 to about 50 to 200 nm.
  • the insulating layer 18 may have a thickness that does not hinder the flexibility of the substrate.
  • a compound semiconductor type photoelectric conversion element is formed as an electronic device, particularly when a photoelectric conversion element having a CIGS type photoelectric conversion layer is formed, an insulation composed of SLG as an alkali element supply source to the CIGS type photoelectric conversion layer A substrate 1 ′ with a layer 18 is preferred.
  • the cracks generated in the anodic oxide film in the vicinity of the cut end face are large, so the problems such as a short circuit between the electrode layer 20 and the metal substrate 10 in the end region A are the same.
  • the electrode layer 20 only in the inner region of 200 ⁇ m or more, more preferably 300 ⁇ m or more from the cut end faces 15a and 15b, the reliability at the time of forming the electronic device can be improved.
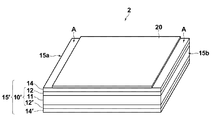
  • FIG. 4 is a perspective view schematically showing the electronic device substrate 2 of the second embodiment. Elements similar to those of the electronic device substrate 1 of the first embodiment are denoted by the same reference numerals, and detailed description thereof is omitted.
  • the electronic device substrate 2 of the present embodiment includes a metal substrate 15 ′ with an insulating layer composed of a metal substrate 10 ′ and insulating layers 14 and 14 ′ provided on the front and back surfaces of the metal substrate 10 ′. And an electrode layer 20 provided on the substrate.
  • the metal substrate 10 ′ has a three-layer structure having Al materials 12 and 12 ′ on both surfaces of the base material 11.
  • Al anodized films 14 and 14' are formed as electrical insulating layers on both surfaces, respectively. That is, the metal substrate 15 ′ with an insulating layer has a five-layer structure of anodic oxide film 14 / Al material 12 / base material 11 / Al material 12 ′ / anodic oxide film 14 ′.
  • the electrode layer 20 is formed only on one anodic oxide film 14.
  • the metal substrate 15 ′ with an insulating layer has a rectangular shape, and the electrode layer 20 is provided only in a portion excluding the end regions A on the two opposite sides.
  • the formation range of the electrode layer 20 is the same as that of the first embodiment (see FIG. 2), and the electronic device substrate 2 of this embodiment can obtain the same effects as those of the first embodiment.
  • FIG. 5 is a perspective view schematically showing the electronic device substrate 3 of the third embodiment.
  • the same reference numerals are given to the same elements as those of the electronic device substrate 1 of the first embodiment, and detailed description thereof is omitted.
  • the electronic device substrate 3 of this embodiment includes a metal substrate 15 with an insulating layer similar to the electronic device substrate 1 of the first embodiment shown in FIG.
  • the electronic device substrate 1 of the first embodiment is different in that the electrode layer 21 is also provided in the end region A.
  • the electrode layer 20 and the electrode layer 21 are electrically separated by a scribe line 22.
  • the electrode layer 20 and the electrode layer 21 are simultaneously formed as a continuous uniform layer on the metal substrate 15 with an insulating layer, and then can be separated by a scribe line 22 by performing a laser scribing process.
  • the scribe line 22 may be formed at a position of a distance d from the planned cutting position to be cut thereafter, and then cut at the planned cutting position, or after cutting, The scribe line 22 may be formed at a distance d from the end surface.
  • FIG. 6 is a cross-sectional view showing the relationship between the end region A of the substrate 15 and the position where the scribe line 22 is formed.
  • the scribe line 22 is formed so that the electrode layer 20 is formed inside the distance d from the cut end face 15a.
  • the distance d is 200 ⁇ m or more, and more preferably 300 ⁇ m or more.
  • the same effects as those of the first and second embodiments can be obtained for the electronic device substrate 3 of the present embodiment. .
  • An attached metal substrate 15 ′ may be provided.
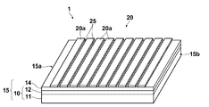
  • FIG. 7 is a cross-sectional view showing a part of the integrated solar cell 5 which is the photoelectric conversion device of the first embodiment.
  • the solar cell 5 of the present embodiment is a solar cell including a photoelectric conversion layer 30 made of a compound semiconductor, and is an integrated solar cell that has a high voltage output by electrically connecting a large number of photoelectric conversion element structures in series. It is.
  • a photoelectric conversion layer 30 made of a compound semiconductor, a buffer layer 40, and a surface electrode (transparent electrode) 50 are sequentially stacked on the electrode layer 20 of the electronic device substrate 1 shown in FIG. It will be.
  • a scribing process is performed on the electrode layer 20 of the substrate 1 for an electronic device, and as shown in FIG. 8, a scribe line 25 for separating the electrode layer 20 into a plurality of strip-shaped regions 20a is formed. Is used.
  • the electrode layer 20 (20a) functions as a back electrode of the photoelectric conversion element.
  • the photoelectric conversion layer 30 is formed on the electrode layer 20 (20 a) so as to embed the scribe line 25, and the buffer layer 40 is further formed on the photoelectric conversion layer 30.
  • a second scribe line 28 reaching the back electrode is formed at a position different from the scribe line 25 in parallel with the scribe line 25.
  • the transparent electrode layer 50 is formed so as to be embedded.
  • a third scribe line 29 that penetrates the transparent electrode layer 50, the buffer layer 40, and the photoelectric conversion layer 30 and reaches the electrode layer 20 is formed at a position parallel to and different from the scribe lines 25 and 28. Yes.
  • the surface electrode 50 of a certain element (cell) C is connected in series to the back electrode layer 20 of the adjacent element C by filling the second scribe line 28 with the transparent electrode layer 50. It is connected, and has a photoelectric conversion circuit in which many elements C are integrated.
  • the electrode layer 20, the photoelectric conversion layer 30, the buffer layer 40, and the electrode layer 50 are located in the end region A at a distance d from the cut end surface 15 a. It is not formed, and each layer is formed only inward from the distance d.
  • the distance d is 200 ⁇ m or more, and more preferably 300 ⁇ m or more.
  • the solar cell 5 is anodized on a long metal substrate, and after the electrode layer is formed, the solar cell 5 is further cut into a long substrate before being cut to form the electronic device substrate 1 described above.
  • Each layer is formed by a roll-to-roll method, and then cut and manufactured.
  • the photoelectric conversion layer 30 and the buffer layer 40 are laminated on the electrode layer 20, scribe line processing is performed to form the scribe line 28, and the transparent electrode layer 50 is further laminated to form the scribe line 29.
  • a scribe line process is performed, and then the substrate is cut perpendicularly to the unwinding direction of the long substrate.
  • each layer (electrode layer 20 to transparent electrode layer 50) in a state where a mask is formed in the end region A on the insulating layer 14, the mask is removed.
  • each layer can be provided only in the region excluding the end region A.
  • a stacking process, a scribing process, and the like of each layer are uniformly performed on the insulating layer 14, and a distance d from a planned cutting position to be cut later in the last scribing process.
  • each layer is formed only in the region excluding the end region A by removing the laminated portion of each layer formed in the end region A within the distance d from the cut end surface by laser scribing or the like. It is good also as a thing provided.
  • the photoelectric conversion circuit is provided only at the inner side of 200 ⁇ m or more from the cut end face, so that it is hardly affected by cracks generated in the anodic oxide film 14 due to cutting and is high between the electrode layer 20 and the metal substrate 10. Since insulation can be maintained, high reliability as a solar cell can be obtained.
  • the photoelectric conversion circuit only at the inner side of 300 ⁇ m or more from the cut end face, the influence of the cracks described above can be further reduced, and higher reliability can be obtained.
  • the photoelectric conversion device includes the electronic device substrate 1 according to the above-described first embodiment.
  • the SLG layer 18 described as the design change example according to the above-described first embodiment It is more preferable that the substrate 1 ′ provided with can diffuse alkali ions in the photoelectric conversion layer, and an effect of improving the photoelectric conversion rate can be obtained.
  • the photoelectric conversion layer 30 is a layer that generates charges by light absorption, and is made of a compound semiconductor.
  • the film is formed under the condition that the substrate temperature is 500 ° C. or higher.
  • the main component of the photoelectric conversion layer 30 is not particularly limited, and is preferably at least one compound semiconductor having a chalcopyrite structure.
  • the compound semiconductor is preferably at least one compound semiconductor composed of a group Ib element, a group IIIb element, and a group VIb element.
  • the Ib group element is composed of at least one selected from the group consisting of Cu and Ag, and the IIIb group element is composed of Al, Ga, and In. It is preferable that the group VIb element is at least one selected from the group consisting of S, Se, and Te.
  • the photoelectric conversion layer 30 includes CuInSe 2 (CIS) and / or Cu (In, Ga) Se 2 (CIGS) in which Ga is dissolved.
  • CIS and CIGS are semiconductors having a chalcopyrite crystal structure, have high light absorption, and high photoelectric conversion efficiency has been reported. Moreover, there is little degradation of efficiency by light irradiation etc. and it is excellent in durability.
  • any method for forming the CIGS layer such as a multi-source simultaneous vapor deposition method or a selenization method may be used.
  • the main component of the photoelectric conversion layer 30 may be CdTe, which is a II-VI group compound semiconductor.
  • the photoelectric conversion layer made of CdTe can be formed by proximity sublimation on a metal or graphite electrode as a lower electrode on an Al anodic oxide film.
  • the proximity sublimation method is a technique in which a CdTe raw material is brought to about 600 ° C. under a vacuum, and CdTe crystals are condensed on a substrate that is lower than the temperature.
  • the film thickness of the photoelectric conversion layer 30 is not particularly limited and is preferably 1.0 to 3.0 ⁇ m, particularly preferably 1.5 to 2.5 ⁇ m.
  • the buffer layer 40 is made of a layer mainly composed of CdS, ZnS, Zn (S, O), or Zn (S, O, OH). For example, it can be produced by a CBD method (chemical bath deposition method).
  • the thickness of the buffer layer 40 is not particularly limited, and is preferably 10 nm to 0.5 ⁇ m, and more preferably 15 to 200 nm.
  • the material of the transparent electrode layer 50 is not particularly limited, but n-ZnO such as ZnO: Al is preferable.
  • the film thickness of the transparent electrode layer 50 is not particularly limited, and is preferably 50 nm to 2 ⁇ m.
  • the solar cell 5 can be provided with arbitrary layers other than what was demonstrated above as needed.
  • a cover glass, a protective film, etc. can be attached as needed.
  • a surface protective film, a back sheet, and the like are laminated through an adhesive filling layer.
  • the adhesive filling layer is adhered to a portion where the anodic oxide film 14 is exposed at the end portion of the substrate of the solar cell 5 from the viewpoint of suppressing the surface leakage current.
  • EVA ethylene vinyl acetate
  • FIG. 9 is a cross-sectional view showing a part of an integrated solar cell 6 that is the photoelectric conversion device of the second embodiment.
  • the solar cell 6 of the present embodiment is a solar cell including the photoelectric conversion layer 30 made of a compound semiconductor, as with the above-described solar cell 5, and is high by electrically connecting a large number of photoelectric conversion element structures in series. It is an integrated solar cell with voltage output.
  • the solar cell 6 performs a scribing process on the electronic device substrate 3 as in the case of the solar cell 5 of the first embodiment to separate the electrode layer 20 into a plurality of regions in a strip shape.
  • a layer in which the line 25 is formed, and the electrode layer 21, the photoelectric conversion layer 30, the buffer layer 40, and the transparent electrode layer 50 are stacked in the end region A on the metal substrate 15 with an insulating layer. It differs from the solar cell 5 of 1st Embodiment by the point provided with the part.
  • the laminated portion provided in the end region A is electrically separated from the element C provided inward by the scribe line 22. Only the elements provided on the inner side of the substrate from the scribe line 22 function as the elements (photoelectric conversion circuit) of the solar cell, and the stacked portion provided in the end region A functions as the element of the solar cell 6. Not what you want.
  • the scribe line 22 is formed such that the photoelectric conversion circuit is disposed on the inner side from the distance d from the cut end surface 15 a.
  • the distance d is 200 ⁇ m or more, and more preferably 300 ⁇ m or more.
  • the Taiyo cell 6 is subjected to anodization treatment on a long metal substrate, and after the electrode layer is formed, the substrate is cut to form the above-mentioned electronic device substrate.
  • each layer is formed by a roll-to-roll method with a long substrate, and then cut and manufactured. More specifically, the photoelectric conversion layer 30 and the buffer layer 40 are laminated on the electrode layer 20, scribe line processing is performed to form the scribe line 28, and the transparent electrode layer 50 is further laminated to form the scribe line 29. A scribe line process is performed, and then the substrate is cut perpendicularly to the unwinding direction of the long substrate.
  • the stacking process and the scribing process of each layer are uniformly performed on the insulating layer 14, and the scribe line 22 is formed at a distance d from the planned cutting position to be cut later in the last scribing process. Then, the solar cell shown in FIG. 9 can be manufactured by cutting at the scheduled cutting position.
  • the scribe line 22 may be cut at a predetermined position before the scribe line 22 is formed, and then the scribe line 22 may be formed at a distance d from the cut end face by a further scribe process.
  • the photoelectric conversion circuit is provided only at the inner side of 200 ⁇ m or more from the cut end face, so that it is hardly affected by cracks generated in the anodic oxide film 14 due to cutting, and between the electrode layer 20 and the metal substrate 10. Since high insulation can be maintained, high reliability as a solar cell can be obtained.
  • the photoelectric conversion circuit only at the inner side of 300 ⁇ m or more from the cut end face, the influence of the cracks described above can be further reduced, and higher reliability can be obtained.
  • the metal substrate Prior to the anodizing treatment, the metal substrate was washed with acetone and ethanol. A 0.5 M aqueous oxalic acid solution was used as the electrolytic solution for the anodizing treatment. The temperature of the oxalic acid aqueous solution was adjusted to 16 ° C., the substrate was immersed in the aqueous solution, and an anodization was performed at an applied voltage of 40 V using an Al plate as a counter electrode (cathode). Anodization was performed so that the thickness of the anodized film (aluminum oxide) was 10 ⁇ m.
  • FIG. 10 is a photomicrograph near the cut end face. As shown in FIG. 10, it can be seen that a crack is generated from the end face of the substrate.
  • the length of crack penetration from the cut end face was measured. After placing the sample on the microstage and focusing on the substrate end face from above, the maximum crack penetration length in the microscope field was measured on the microstage.
  • FIG. 11 shows the length (crack intrusion length) at which cracks penetrate from the cut end face for a plurality of substrates (sample number 13), the cumulative probability (%) on the vertical axis, and the crack (crack) penetration length ( ⁇ m on the horizontal axis). ) Is a Weibull plot.
  • the measured values are distributed along the straight line shown in the figure, and follow the Weibull distribution.
  • the crack penetration length may vary depending on the thickness of the anodic oxide film, but almost the same results were obtained at least when the anodic oxide film was in the range of 5 ⁇ m to 18 ⁇ m.
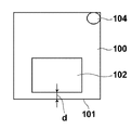
  • the distance d ⁇ m was masked from the cut end surface 101 of the substrate 100, and the Mo electrode 102 was formed only inside the distance d ⁇ m.
  • the electrode area was 1 cm 2 .
  • the electrode 102 was formed at a sufficient distance (5 mm or more) from the other end so as not to be affected by the other end of the substrate 100. Further, a part of the anodic oxide film on the substrate surface was removed to expose the metal layer portion (metal substrate) under the anodic oxide film, thereby forming the tester connection region 104.
  • a plurality of samples having different distances d were produced, and the insulation performance was verified.
  • tester connection region 104 which is the lower layer of the anodized layer
  • Mo electrode 102 was evaluated as defective (x).
  • the anodic oxide film has an electrode layer and an electronic device in a region separated by 200 ⁇ m or more from the cut end face. It is clear that there is a need to form etc.
  • the electrode inclusion layer is provided only in the substrate inner region separated from the cut end surface by 200 ⁇ m or more, or the substrate inclusion region and end region separated from the cut end surface by 200 ⁇ m or more
  • the electrode layer on the inner region of the substrate and the metal substrate under the insulating layer can have good insulation. It was revealed.

Landscapes

  • Chemical & Material Sciences (AREA)
  • Inorganic Chemistry (AREA)
  • Engineering & Computer Science (AREA)
  • Microelectronics & Electronic Packaging (AREA)
  • Photovoltaic Devices (AREA)
PCT/JP2011/003991 2010-07-14 2011-07-12 電子デバイス用基板および該基板を備えた光電変換装置 Ceased WO2012008149A1 (ja)

Priority Applications (3)

Application Number Priority Date Filing Date Title
CN2011800345637A CN103026495A (zh) 2010-07-14 2011-07-12 电子器件用基板及包含该基板的光电转换器件
KR1020137003687A KR20130100984A (ko) 2010-07-14 2011-07-12 전자 디바이스용 기판 및 그 기판을 구비한 광전 변환 장치
US13/737,783 US20130118578A1 (en) 2010-07-14 2013-01-09 Substrate for electronic device, and photoelectric conversion device including the same

Applications Claiming Priority (2)

Application Number Priority Date Filing Date Title
JP2010159517A JP2012023180A (ja) 2010-07-14 2010-07-14 電子デバイス用基板および該基板を備えた光電変換装置
JP2010-159517 2010-07-14

Related Child Applications (1)

Application Number Title Priority Date Filing Date
US13/737,783 Continuation US20130118578A1 (en) 2010-07-14 2013-01-09 Substrate for electronic device, and photoelectric conversion device including the same

Publications (1)

Publication Number Publication Date
WO2012008149A1 true WO2012008149A1 (ja) 2012-01-19

Family

ID=45469165

Family Applications (1)

Application Number Title Priority Date Filing Date
PCT/JP2011/003991 Ceased WO2012008149A1 (ja) 2010-07-14 2011-07-12 電子デバイス用基板および該基板を備えた光電変換装置

Country Status (5)

Country Link
US (1) US20130118578A1 (enExample)
JP (1) JP2012023180A (enExample)
KR (1) KR20130100984A (enExample)
CN (1) CN103026495A (enExample)
WO (1) WO2012008149A1 (enExample)

Families Citing this family (5)

* Cited by examiner, † Cited by third party
Publication number Priority date Publication date Assignee Title
JP2014229736A (ja) * 2013-05-22 2014-12-08 富士フイルム株式会社 太陽電池
CN103883907B (zh) * 2014-03-14 2016-06-29 苏州晶品光电科技有限公司 大功率led照明组件
JP2020141123A (ja) * 2019-02-27 2020-09-03 Toto株式会社 半導体製造装置用部材および半導体製造装置用部材を備えた半導体製造装置並びにディスプレイ製造装置
JP7564025B2 (ja) * 2021-03-12 2024-10-08 日本特殊陶業株式会社 配線基板
JP7564024B2 (ja) * 2021-03-12 2024-10-08 日本特殊陶業株式会社 配線基板

Citations (5)

* Cited by examiner, † Cited by third party
Publication number Priority date Publication date Assignee Title
JPS6249673A (ja) * 1985-08-29 1987-03-04 Matsushita Electric Ind Co Ltd 光起電力装置
JP2002353487A (ja) * 2001-05-25 2002-12-06 Canon Inc 太陽電池モジュール及び該モジュールの製造方法
JP2002353481A (ja) * 2001-05-30 2002-12-06 Canon Inc 光起電力素子及びその製造方法
JP2009267336A (ja) * 2007-09-28 2009-11-12 Fujifilm Corp 太陽電池用基板および太陽電池
JP2010118694A (ja) * 2010-02-22 2010-05-27 Sharp Corp 薄膜太陽電池および薄膜太陽電池の製造方法

Family Cites Families (13)

* Cited by examiner, † Cited by third party
Publication number Priority date Publication date Assignee Title
JPS56169794A (en) * 1980-05-31 1981-12-26 Anritsu Corp Production of name plate
DE3212181A1 (de) * 1982-04-01 1983-10-06 Nisshin Steel Co Ltd Stahltraeger fuer eine flachdruckplatte, sowie verfahren zur herstellung
JPS61133676A (ja) * 1984-12-03 1986-06-20 Showa Alum Corp a−Si太陽電池用基板
JPS6289369A (ja) * 1985-10-16 1987-04-23 Matsushita Electric Ind Co Ltd 光起電力装置
JPH0815223B2 (ja) * 1987-04-20 1996-02-14 三洋電機株式会社 光起電力装置の製造方法
US7053294B2 (en) * 2001-07-13 2006-05-30 Midwest Research Institute Thin-film solar cell fabricated on a flexible metallic substrate
JP2006049768A (ja) * 2004-08-09 2006-02-16 Showa Shell Sekiyu Kk Cis系化合物半導体薄膜太陽電池及び該太陽電池の光吸収層の製造方法
JP2006205557A (ja) * 2005-01-28 2006-08-10 Fuji Photo Film Co Ltd 平版印刷版用支持体
JP4485506B2 (ja) * 2006-10-27 2010-06-23 シャープ株式会社 薄膜太陽電池および薄膜太陽電池の製造方法
JP4949126B2 (ja) * 2007-05-25 2012-06-06 株式会社カネカ 透光性薄膜太陽電池の製造方法。
US20090077804A1 (en) * 2007-08-31 2009-03-26 Applied Materials, Inc. Production line module for forming multiple sized photovoltaic devices
JP2009206279A (ja) * 2008-02-27 2009-09-10 Sharp Corp 薄膜太陽電池およびその製造方法
US20100028533A1 (en) * 2008-03-04 2010-02-04 Brent Bollman Methods and Devices for Processing a Precursor Layer in a Group VIA Environment

Patent Citations (5)

* Cited by examiner, † Cited by third party
Publication number Priority date Publication date Assignee Title
JPS6249673A (ja) * 1985-08-29 1987-03-04 Matsushita Electric Ind Co Ltd 光起電力装置
JP2002353487A (ja) * 2001-05-25 2002-12-06 Canon Inc 太陽電池モジュール及び該モジュールの製造方法
JP2002353481A (ja) * 2001-05-30 2002-12-06 Canon Inc 光起電力素子及びその製造方法
JP2009267336A (ja) * 2007-09-28 2009-11-12 Fujifilm Corp 太陽電池用基板および太陽電池
JP2010118694A (ja) * 2010-02-22 2010-05-27 Sharp Corp 薄膜太陽電池および薄膜太陽電池の製造方法

Also Published As

Publication number Publication date
US20130118578A1 (en) 2013-05-16
JP2012023180A (ja) 2012-02-02
CN103026495A (zh) 2013-04-03
KR20130100984A (ko) 2013-09-12

Similar Documents

Publication Publication Date Title
JP4629151B2 (ja) 光電変換素子及び太陽電池、光電変換素子の製造方法
KR101378053B1 (ko) 절연성 금속 기판 및 반도체 장치
JP4980455B2 (ja) 絶縁層付金属基板の製造方法、半導体装置の製造方法、太陽電池の製造方法、電子回路の製造方法、および発光素子の製造方法
JP5480782B2 (ja) 太陽電池および太陽電池の製造方法
JP4629153B1 (ja) 太陽電池および太陽電池の製造方法
EP2768028A1 (en) Solar cell manufacturing method and solar cell module
JP2011176287A (ja) 光電変換素子、薄膜太陽電池および光電変換素子の製造方法
JP2011165790A (ja) 太陽電池およびその製造方法
WO2012008149A1 (ja) 電子デバイス用基板および該基板を備えた光電変換装置
JP2010212336A (ja) 光電変換素子とその製造方法、及び太陽電池
US20130233382A1 (en) Photoelectric conversion device
JP2011176285A (ja) 光電変換素子、薄膜太陽電池および光電変換素子の製造方法
CN102388460B (zh) 半导体装置和使用所述半导体装置的太阳能电池
JP2011176288A (ja) 光電変換素子、薄膜太陽電池および光電変換素子の製造方法
WO2013108623A1 (ja) 集積化太陽電池の製造方法
US20110186123A1 (en) Substrate with insulation layer and thin-film solar cell
JP2012028376A (ja) 電子デバイス用基板および該基板を備えた光電変換装置
JP4782855B2 (ja) 化合物系薄膜太陽電池、及びその製造方法
JP2013141702A (ja) スクライブ方法
JP2014007236A (ja) 集積化太陽電池およびその製造方法
JP2013247187A (ja) 絶縁層付き金属基板及びその製造方法。
JP2013044000A (ja) 絶縁層付金属基板およびその製造方法、半導体装置およびその製造方法、太陽電池およびその製造方法、電子回路およびその製造方法、ならびに発光素子およびその製造方法
JP2011176286A (ja) 光電変換素子、薄膜太陽電池および光電変換素子の製造方法

Legal Events

Date Code Title Description
WWE Wipo information: entry into national phase

Ref document number: 201180034563.7

Country of ref document: CN

121 Ep: the epo has been informed by wipo that ep was designated in this application

Ref document number: 11806483

Country of ref document: EP

Kind code of ref document: A1

NENP Non-entry into the national phase

Ref country code: DE

ENP Entry into the national phase

Ref document number: 20137003687

Country of ref document: KR

Kind code of ref document: A

122 Ep: pct application non-entry in european phase

Ref document number: 11806483

Country of ref document: EP

Kind code of ref document: A1