WO2012001876A1 - パターンマッチング方法,画像処理装置、及びコンピュータプログラム - Google Patents

パターンマッチング方法,画像処理装置、及びコンピュータプログラム Download PDF

Info

Publication number
WO2012001876A1
WO2012001876A1 PCT/JP2011/002991 JP2011002991W WO2012001876A1 WO 2012001876 A1 WO2012001876 A1 WO 2012001876A1 JP 2011002991 W JP2011002991 W JP 2011002991W WO 2012001876 A1 WO2012001876 A1 WO 2012001876A1
Authority
WO
WIPO (PCT)
Prior art keywords
matching position
matching
pattern
image
candidate
Prior art date
Legal status (The legal status is an assumption and is not a legal conclusion. Google has not performed a legal analysis and makes no representation as to the accuracy of the status listed.)
Ceased
Application number
PCT/JP2011/002991
Other languages
English (en)
French (fr)
Japanese (ja)
Inventor
郭介 牛場
康隆 豊田
安部 雄一
池田 光二
Current Assignee (The listed assignees may be inaccurate. Google has not performed a legal analysis and makes no representation or warranty as to the accuracy of the list.)
Hitachi High Tech Corp
Original Assignee
Hitachi High Technologies Corp
Hitachi High Tech Corp
Priority date (The priority date is an assumption and is not a legal conclusion. Google has not performed a legal analysis and makes no representation as to the accuracy of the date listed.)
Filing date
Publication date
Application filed by Hitachi High Technologies Corp, Hitachi High Tech Corp filed Critical Hitachi High Technologies Corp
Priority to US13/807,664 priority Critical patent/US9141879B2/en
Publication of WO2012001876A1 publication Critical patent/WO2012001876A1/ja
Anticipated expiration legal-status Critical
Ceased legal-status Critical Current

Links

Images

Classifications

    • GPHYSICS
    • G01MEASURING; TESTING
    • G01BMEASURING LENGTH, THICKNESS OR SIMILAR LINEAR DIMENSIONS; MEASURING ANGLES; MEASURING AREAS; MEASURING IRREGULARITIES OF SURFACES OR CONTOURS
    • G01B15/00Measuring arrangements characterised by the use of electromagnetic waves or particle radiation, e.g. by the use of microwaves, X-rays, gamma rays or electrons
    • GPHYSICS
    • G06COMPUTING OR CALCULATING; COUNTING
    • G06FELECTRIC DIGITAL DATA PROCESSING
    • G06F18/00Pattern recognition
    • G06F18/20Analysing
    • G06F18/22Matching criteria, e.g. proximity measures
    • GPHYSICS
    • G06COMPUTING OR CALCULATING; COUNTING
    • G06FELECTRIC DIGITAL DATA PROCESSING
    • G06F18/00Pattern recognition
    • G06F18/20Analysing
    • G06F18/23Clustering techniques
    • G06F18/232Non-hierarchical techniques
    • G06F18/2321Non-hierarchical techniques using statistics or function optimisation, e.g. modelling of probability density functions
    • G06F18/23213Non-hierarchical techniques using statistics or function optimisation, e.g. modelling of probability density functions with fixed number of clusters, e.g. K-means clustering
    • GPHYSICS
    • G06COMPUTING OR CALCULATING; COUNTING
    • G06TIMAGE DATA PROCESSING OR GENERATION, IN GENERAL
    • G06T7/00Image analysis
    • G06T7/0002Inspection of images, e.g. flaw detection
    • G06T7/0004Industrial image inspection
    • G06T7/001Industrial image inspection using an image reference approach
    • GPHYSICS
    • G06COMPUTING OR CALCULATING; COUNTING
    • G06TIMAGE DATA PROCESSING OR GENERATION, IN GENERAL
    • G06T7/00Image analysis
    • G06T7/30Determination of transform parameters for the alignment of images, i.e. image registration
    • G06T7/33Determination of transform parameters for the alignment of images, i.e. image registration using feature-based methods
    • G06T7/337Determination of transform parameters for the alignment of images, i.e. image registration using feature-based methods involving reference images or patches
    • GPHYSICS
    • G06COMPUTING OR CALCULATING; COUNTING
    • G06VIMAGE OR VIDEO RECOGNITION OR UNDERSTANDING
    • G06V10/00Arrangements for image or video recognition or understanding
    • G06V10/20Image preprocessing
    • G06V10/255Detecting or recognising potential candidate objects based on visual cues, e.g. shapes
    • GPHYSICS
    • G06COMPUTING OR CALCULATING; COUNTING
    • G06VIMAGE OR VIDEO RECOGNITION OR UNDERSTANDING
    • G06V10/00Arrangements for image or video recognition or understanding
    • G06V10/70Arrangements for image or video recognition or understanding using pattern recognition or machine learning
    • G06V10/762Arrangements for image or video recognition or understanding using pattern recognition or machine learning using clustering, e.g. of similar faces in social networks
    • G06V10/763Non-hierarchical techniques, e.g. based on statistics of modelling distributions
    • GPHYSICS
    • G06COMPUTING OR CALCULATING; COUNTING
    • G06VIMAGE OR VIDEO RECOGNITION OR UNDERSTANDING
    • G06V10/00Arrangements for image or video recognition or understanding
    • G06V10/88Image or video recognition using optical means, e.g. reference filters, holographic masks, frequency domain filters or spatial domain filters
    • HELECTRICITY
    • H01ELECTRIC ELEMENTS
    • H01JELECTRIC DISCHARGE TUBES OR DISCHARGE LAMPS
    • H01J37/00Discharge tubes with provision for introducing objects or material to be exposed to the discharge, e.g. for the purpose of examination or processing thereof
    • H01J37/26Electron or ion microscopes; Electron or ion diffraction tubes
    • H01J37/28Electron or ion microscopes; Electron or ion diffraction tubes with scanning beams
    • GPHYSICS
    • G06COMPUTING OR CALCULATING; COUNTING
    • G06TIMAGE DATA PROCESSING OR GENERATION, IN GENERAL
    • G06T2207/00Indexing scheme for image analysis or image enhancement
    • G06T2207/10Image acquisition modality
    • G06T2207/10056Microscopic image
    • G06T2207/10061Microscopic image from scanning electron microscope
    • GPHYSICS
    • G06COMPUTING OR CALCULATING; COUNTING
    • G06TIMAGE DATA PROCESSING OR GENERATION, IN GENERAL
    • G06T2207/00Indexing scheme for image analysis or image enhancement
    • G06T2207/20Special algorithmic details
    • G06T2207/20036Morphological image processing
    • GPHYSICS
    • G06COMPUTING OR CALCULATING; COUNTING
    • G06TIMAGE DATA PROCESSING OR GENERATION, IN GENERAL
    • G06T2207/00Indexing scheme for image analysis or image enhancement
    • G06T2207/30Subject of image; Context of image processing
    • G06T2207/30108Industrial image inspection
    • G06T2207/30148Semiconductor; IC; Wafer
    • HELECTRICITY
    • H01ELECTRIC ELEMENTS
    • H01JELECTRIC DISCHARGE TUBES OR DISCHARGE LAMPS
    • H01J2237/00Discharge tubes exposing object to beam, e.g. for analysis treatment, etching, imaging
    • H01J2237/22Treatment of data
    • H01J2237/221Image processing
    • HELECTRICITY
    • H01ELECTRIC ELEMENTS
    • H01JELECTRIC DISCHARGE TUBES OR DISCHARGE LAMPS
    • H01J2237/00Discharge tubes exposing object to beam, e.g. for analysis treatment, etching, imaging
    • H01J2237/26Electron or ion microscopes
    • H01J2237/28Scanning microscopes
    • H01J2237/2813Scanning microscopes characterised by the application
    • H01J2237/2817Pattern inspection

Definitions

  • the present invention relates to an image processing apparatus that processes an image signal obtained by a scanning electron microscope or the like, and more particularly, to a template matching method on an image, an image processing apparatus that realizes the same, and a computer program.
  • template matching Conventionally, a technique for searching for a specific shape (template) given in a target image has been widely used as template matching.
  • template matching is performed in order to obtain a measurement position.
  • Rough positioning of the measurement position is performed by moving the stage on which the wafer is placed.
  • Template matching is performed in order to correct this shift and perform measurement at an accurate position.
  • a pattern matching method or apparatus for performing pattern matching on an image using a template formed based on design data below in which a pattern outline is defined
  • the image feature amount is obtained, and the position where the feature amount satisfies a predetermined condition is determined as a matching position, a matching position candidate, or an incorrect matching position.
  • the predetermined condition is, for example, a parameter indicating the luminance variation in the area. For example, if there is an area where it can be determined that the variation is relatively small or absent relative to other portions, the matching position is specified based on the determination.
  • the flowchart explaining a pattern matching process The figure explaining the outline of the measurement or inspection system which performs pattern matching.
  • the flowchart explaining an example of the selection process (step 103) of a matching position The flowchart explaining an example of the selection process (step 103) of a matching position.
  • the reflection of the lower layer pattern can be suppressed, but since information other than the edge is excluded, matching is appropriate when the pattern deformation is large. There may be a case where is not performed.
  • the correlation value required for the matching calculation may be reduced.
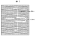
  • the lower layer pattern 301 has a shape close to the design data, but the upper layer pattern 302 is deformed.
  • a pattern matching method comprising: a step of specifying an image region; a step of calculating a statistic of information based on luminance of the image region; and a step of determining a matching position by comparing the statistic with a threshold value
  • a pattern matching method comprising: specifying at least one image region; calculating a profile based on luminance of the image region; and determining a matching position by comparing the shape of the profile with a predetermined profile.
  • a method of performing pattern matching between an image taken of an electronic device or the like and a reference pattern formed based on design data the image corresponding to the inside or the outside of the reference pattern is displayed. Identifying at least one or more image regions, calculating a statistic of information based on luminance of the image region, calculating the statistic for at least two candidate points, and A pattern matching method including a step of selecting matching candidates by performing comparison, an apparatus for realizing the pattern matching method, and a computer program will be described in detail.
  • a method of performing pattern matching between an image taken of an electronic device or the like and a reference pattern formed based on design data the image corresponding to the inside or the outside of the reference pattern is displayed. Identifying at least one or more image regions, calculating a statistic of information based on luminance of the image region, calculating the statistic for at least two candidate points, and determining the statistic
  • a pattern matching method including a step of clustering using threshold comparison and a step of selecting a matching correct candidate from the class obtained by the clustering, an apparatus for realizing the pattern matching method, and a computer program will be described in detail.
  • a method of performing pattern matching between an image taken of an electronic device or the like and a reference pattern formed based on design data the image corresponding to the inside or the outside of the reference pattern is displayed. Identifying at least one or more image regions, calculating a statistic of information based on luminance of the image region, calculating the statistic for at least two candidate points, and A pattern matching method including a step of clustering based on comparison and a step of selecting a matching correct candidate from the class obtained by the clustering, an apparatus for realizing the pattern matching method, and a computer program will be described in detail.
  • a method of performing pattern matching between an image taken of an electronic device or the like and a reference pattern formed based on design data the image corresponding to the inside or the outside of the reference pattern is displayed.
  • a pattern comprising: identifying at least one image area of the image area; calculating a statistic of information based on luminance of the image area; and determining a matching error by comparing the statistic with a threshold value
  • a method of performing pattern matching between an image taken of an electronic device or the like and a reference pattern formed based on design data the image corresponding to the inside or the outside of the reference pattern is displayed. Identifying at least one or more image regions, calculating a statistic of information based on luminance of the image region, calculating the statistic for at least two candidate points, and A pattern matching method including a step of determining a matching failure by performing comparison, an apparatus for realizing the pattern matching method, and a computer program will be described in detail.
  • a method of performing pattern matching between an image taken of an electronic device or the like and a reference pattern formed based on design data the image corresponding to the inside or the outside of the reference pattern is displayed. Identifying at least one image area, calculating a statistical amount of information based on luminance of the image area, calculating the statistical amount for at least two candidate points, and for the candidate points.
  • Pattern matching method, apparatus for realizing the same, and computer program It will be described in detail.
  • a method of performing pattern matching between an image taken of an electronic device or the like and a reference pattern formed based on design data the image corresponding to the inside or the outside of the reference pattern is displayed. Identifying at least one or more image regions, calculating a statistic of information based on luminance of the image region, calculating the statistic for at least two candidate points, and A pattern matching method comprising: a step of changing a clustering method; a step of performing clustering using a comparison between the statistic and a threshold value or a statistic; and a step of selecting a matching correct answer candidate from the class obtained by the clustering , Device for realizing this, and computer program in detail Explain.
  • a method of performing pattern matching between an image taken of an electronic device or the like and a reference pattern formed based on design data the image corresponding to the inside or the outside of the reference pattern is displayed. Identifying at least one or more image regions, calculating a statistic of information based on luminance of the image region, a comparison result between the statistic and a threshold value or two or more statistic, and an image
  • a pattern matching method including a step of specifying a matching position based on a correlation result, an apparatus for realizing the pattern matching method, and a computer program will be described in detail.
  • selecting a matching correct candidate from the class an example of selecting one matching candidate from the matching candidates in the class using the result of image correlation will be described.
  • the step of selecting a matching correct candidate from within the class will also be described with respect to an example in which one matching candidate is selected from the matching candidates in the class based on the statistics and the result of image correlation.
  • a method of performing pattern matching between an image taken of an electronic device or the like and a reference pattern formed based on design data the image corresponding to the inside or the outside of the reference pattern is displayed.
  • a pattern matching method including a step of specifying at least one image area and a step of determining a matching position using the image area, an apparatus for realizing the pattern matching method, and a computer program will be described in detail.
  • As the step of determining the matching position using the image region a step of performing an image correlation calculation, a step of calculating a statistical amount of information based on the luminance of the image region, or a profile based on the luminance of the image region An example having at least one of the calculating steps will also be described.
  • the step of determining a matching position using the image region includes at least one of a value based on an image correlation calculation, a comparison result of a statistic obtained from the image region, and a comparison result of a profile obtained from the image region.
  • An example of determining the matching position based on one will also be described.
  • a matching position by comparing the shape of the profile with a predetermined profile
  • a matching position is determined by comparing the profile given based on an arbitrary profile or design data with the profile. explain.
  • the success rate of matching can be improved for complex patterns and multilayer patterns. Moreover, the increase in calculation cost is slight and the time required for re-inspection is greatly reduced, leading to a reduction in the time required for the entire process. In addition, since the matching success rate is improved, the labor of the user is reduced and the operability is improved.
  • FIG. 1 is a flowchart illustrating a template creation process and a pattern matching process.
  • the pattern matching method described below includes a step of analyzing design data and generating a template (step 101), a step of analyzing internal / external information using design data (step 102), and matching based on an analysis result of internal / external information.
  • a step (step 103) of selecting a position is included.
  • the pattern matching method in this embodiment can be applied to a system for measuring and inspecting semiconductor devices. For example, in the measurement or inspection process of a semiconductor device, design data and the dimension of a pattern formed on the semiconductor device are measured, a defect is inspected, and the like.
  • a template that is applied to pattern matching for specifying a measurement / inspection position is created using design data including a part to be measured or inspected.
  • SEM scanning electron microscope
  • the present invention can also be applied to search for a desired pattern from an image obtained by another image forming apparatus (for example, a focused ion beam (FIB) apparatus which is a kind of charged particle beam apparatus).
  • FIB focused ion beam
  • the design data is a semiconductor circuit design drawing.
  • the design data is expressed in, for example, the GDS format or the OASIS format, and is stored in a predetermined format.
  • the design data can be of any type as long as the software that displays the design data can display the format and can handle the data as graphic data.
  • the image processing apparatus described in the present embodiment may be integrated with a control device of an SEM that is a kind of image forming apparatus, or includes a storage medium that stores image signals obtained by the SEM, and the image signal
  • a processor that executes a program for executing matching above, or a dedicated processor, may be a separate computer connected to the SEM via a network or the like.
  • FIG. 2 is a diagram for explaining an outline of a measurement or inspection system for performing pattern matching.
  • the electron optical system 202 is converged with an electron gun 203 that generates an electron beam (primary electron) 204, and a condenser lens (not shown) that converges the electron beam 204 extracted from the electron gun 203 by an extraction electrode 205.
  • the semiconductor wafer 201 is placed on the XY stage 217.
  • the deflector 206 and the objective lens 208 are arranged such that the electron beam irradiation position and the aperture stop so that the electron beam is focused and irradiated at an arbitrary position on the semiconductor wafer 201 placed on the XY stage 217. And control.
  • the XY stage 217 moves the semiconductor wafer 201 so that an image of an arbitrary position of the semiconductor wafer 201 can be taken.
  • stage shift changing the observation position by the XY stage 217
  • deflecting the electron beam by the deflector 206 changing the observation position by deflecting the electron beam by the deflector 206
  • beam shift changing the observation position by deflecting the electron beam by the deflector 206
  • secondary electrons and reflected electrons are emitted from the semiconductor wafer 201 irradiated with the electron beam, and the secondary electrons are detected by the secondary electron detector 209.
  • the reflected electrons are detected by the reflected electron detectors 210 and 211.
  • the backscattered electron detectors 210 and 211 are installed at different positions. Secondary electrons and reflected electrons detected by the secondary electron detector 209 and the reflected electron detectors 210 and 211 are converted into digital signals by the A / D converters 212, 213 and 214, and input to the processing control unit 215.
  • the image data is stored in the image memory 252, and the length of the circuit pattern is measured by performing image processing according to the purpose using the CPU 251 or image processing hardware.
  • the processing control unit 215 uses the stage controller 219 and the deflection control unit 220 to image the measurement points based on the imaging recipe created by the imaging recipe creation unit 225 described later and indicating the pattern length measurement procedure.
  • a control signal is sent, and further, processing and control such as performing various image processing on the observation image on the semiconductor wafer 201 are performed to perform positioning by pattern matching.
  • the processing control unit 215 observes a global alignment mark on the semiconductor wafer 201 with an optical microscope (not shown) or the like, thereby including XY including global alignment control for correcting the origin deviation of the semiconductor wafer 201 and the rotation of the wafer.
  • the processing control unit 215 has a function such as a GUI (Graphcal User ⁇ ⁇ Interface) that is connected to a display 216 provided with input means and displays an image, a measurement result, and the like to the user.
  • GUI Graphcal User ⁇ ⁇ Interface
  • the Example provided with the detector of two reflected electron images was shown, it is also possible to increase or decrease the number of the detectors of the said reflected electron image.
  • part or all of the control in the processing control unit 215 can be assigned to a CPU or an electronic computer equipped with a memory capable of storing images, and can be processed and controlled.
  • the processing control unit 215 further creates an imaging recipe that includes information on the circuit pattern coordinates, positioning design data template corresponding to the coordinates, and imaging conditions (including imaging magnification and image quality) for SEM observation. It is connected to the recipe creation unit 225 via a network or a bus.
  • the photography recipe creating unit 225 is connected to a design system 230 such as an EDA (Electrnic Design Automation) tool via a network or the like in order to acquire design data.
  • the photographing recipe creation unit 225 creates a photographing recipe using design data from information on photographing points on a wafer to be measured. For example, a photographing recipe disclosed in Japanese Patent Laid-Open No. 2006-3517146 is disclosed. The creation device corresponds to this.
  • the concept of creating a shooting recipe from design data has been proposed for a long time, and does not limit the method and apparatus for generating a shooting recipe from design data.
  • the creation of a photographing recipe is generally executed by software processing of an electronic computer equipped with a CPU, memory, etc., and hardware processing equipped with a CPU, ASIC, FPGA, memory, etc.
  • an exposure simulator may be connected to the imaging recipe creation unit 225 so that line segment information indicating the outline of the pattern is read by the imaging recipe creation unit 225.
  • the matching position is determined by selectively extracting information on the inside and / or outside of the pattern and evaluating the feature amount.
  • the line segment of the layout data of the pattern included in the GDS data indicates the ideal shape of the pattern, but the actually formed pattern does not necessarily match the layout data. Therefore, by defining the pattern line segment based on the simulation having a shape closer to the shape of the actual pattern as the boundary line inside and / or outside the pattern, the matching accuracy can be further improved. Simulation data is also formed based on the design data.
  • FIG. 5 is a diagram for explaining an example of setting the optical condition adjustment area, measurement, and inspection point on the layout data.
  • AP addressing point
  • SP stigma correction point
  • BP brightness and contrast adjustment point
  • the imaging location and imaging conditions (including imaging magnification and image quality) in the imaging sequence, and the length measurement conditions in the EP are created by the imaging recipe creation unit 225 as an imaging recipe based on the design data and information on the length measurement points. It is stored and managed in the storage device 223.
  • the semiconductor wafer 201 is mounted on the XY stage 217 (step 2001).
  • the processing control unit 215 calculates the origin deviation and rotation deviation of the sample, and the stage controller 219 is controlled based on these deviation amounts.
  • the coordinate deviation of the sample is corrected (step 2002).
  • the process control unit 215 moves the XY stage 217 to move the imaging position to the AP in accordance with the coordinates of the imaging point created by the imaging recipe creation unit 225 and the imaging conditions, so that it is lower than that at the time of EP imaging.
  • the imaging is performed under the imaging conditions (step 2003).
  • the processing control unit 215 controls the deflector 206 via the deflection control unit 220 by the amount obtained by subtracting the detected deviation vector from the relative vector between the coordinates of the design data template and the coordinates of the EP.
  • the beam is shifted (the irradiation position is changed by tilting the incident direction of the beam), and the imaging position is moved to acquire the EP image.
  • the positioning accuracy of the beam shift is higher than the positioning accuracy of the stage, the positioning can be performed with high accuracy. As described above, by providing the AP, high-precision positioning is possible regardless of the stage positioning accuracy and the like.
  • the imaging position is moved to the FP by beam shift, the FP is imaged to obtain an autofocus parameter, and the autofocus is performed based on the obtained parameter. Perform (step 2004).
  • the imaging position is moved to the SP by beam shift and imaging is performed to obtain astigmatism correction parameters, and automatic astigmatism is calculated based on the obtained parameters.
  • Correction auto stigma correction
  • the imaging position is moved to the BP by beam shift and imaging is performed to obtain parameters for brightness & contrast adjustment.
  • automatic brightness & contrast is obtained. Adjustment is performed (step 2006).
  • steps 2003, 2004, 2005, and 2006 described above may be partially or completely omitted depending on circumstances. It is also possible to change the order of steps 2003, 2004, 2005, and 2006, or to overlap the coordinates (for example, autofocus and autostigma are performed at the same location).
  • the imaging position is moved to the EP by beam shift, and imaging is performed.
  • the design data template in the EP registered in the storage device 223 and the SEM image of the observed EP are Matching is performed to calculate the shift amount of the length measurement point in the SEM image (step 2007).
  • the length measurement is performed on the length measurement points on the design data given by the imaging recipe.
  • FIG. 6 is an image diagram of design data.
  • the design data is generally designed by an EDA tool and has vector information, image information, text information, or combination information of these information.
  • the circuit diagram of the semiconductor device is written in the design data.
  • Information corresponding to one circuit on a semiconductor is collectively referred to as one line.
  • the design data has circuit information of at least one line.
  • Some circuit diagrams written in the design data have a multilayer structure, and each layer is referred to as a layer here.
  • the design data is given in a format that allows the layer to be identified, what hits the upper layer is called the upper layer 601, and what is written in the lower part of the upper layer is called the lower layer 602.
  • Each layer has circuit edge 603 information and inside / outside information indicating whether it is inside a closed figure (604, 605) or outside 606 of a closed figure.
  • a matching method for setting a matching area will be described based on information on an area divided by a closed figure or a line segment forming a pattern.
  • the internal / external information and the information related to the area may be the same.
  • the inside / outside information can be represented by the drawing direction of a closed figure if it is vector data, and the brightness of the cell if it is image data.
  • the specification of the design data varies depending on the design method, and does not necessarily match the layout characteristics illustrated in FIG.
  • design data there may be more than one layer in the design data.
  • the embodiment described below is effective regardless of the format of the design data.
  • mask data with OPC Optical Proximity Correction
  • process data required for the manufacturing process can be handled as design data.
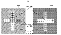
  • FIG. 7 schematically shows the characteristics of a circuit pattern image (hereinafter referred to as an SEM image) taken using an SEM. Comparing the right and left figures in FIG. 7, even if the SEM images have the same pattern, the luminance may change due to various factors such as changes in process conditions and changes in optical conditions of the electron microscope. For example, the contrast is reversed between the portion 701 and the portion 702 that are background portions with respect to the pattern, although they are in the same place.
  • the edge portion 703 of the SEM image generally has high brightness due to the influence of the edge effect.
  • This part is usually called a white band.
  • the length and width of white bunts formed on the basis of the above principles vary depending on design data and workmanship.
  • the area other than the white band, the area surrounded by the white band, or the area outside the area is affected by noise, but the luminance change in the area is small (flat). have. More specifically, the change in luminance within the pattern or within the external region is relatively small compared to a region including a plurality of different members or a region including an edge portion.
  • two or more layers may be displayed in the SEM image.
  • a pattern in the uppermost layer (a pattern not hidden in other patterns on the SEM image) is defined as an upper layer 704.
  • a pattern (a lower layer 705) that partially overlaps the pattern of the upper layer 704 and is arranged in a lower layer of the upper layer 704 does not display the superimposed portion on the SEM image.
  • a recent semiconductor device has a multi-layer structure, and a pattern may exist in a lower layer of a lower layer pattern (lower layer 705). Even when the lower layer patterns overlap with each other in this way, a part of the lower layer side pattern is not displayed in the SEM image.
  • the pattern feature area of the pattern internal area (hereinafter referred to as the pattern inside), the pattern external area (hereinafter referred to as the pattern external area), and the edge portion, which can be specified by associating the SEM image with the design data, is different.
  • a method of performing pattern matching based on the difference in feature amount between the two or more regions will be described.
  • a matching method for a pattern composed of two layers of an upper layer pattern and a lower layer pattern will be mainly described.
  • the matching method in this embodiment can be applied if a pattern of a single layer (one layer) or more exists. is there.
  • a design data template (hereinafter referred to as a template) is created by performing a process for giving a width to the edge portion 801 from the design data illustrated in FIG. 8, and is used as a template for matching with an SEM image having a white band. Conceivable. Since the white band has a certain width, it is possible to suppress the deviation of the feature amount between the SEM image and the design data by performing the above processing.
  • a region corresponding to the edge portion is excluded from the design data, and an internal region of the pattern is extracted.
  • the extracted area is set as an attention area 901.
  • a portion corresponding to the inside of the pattern in the design data is defined as an internal region
  • a portion corresponding to the outside is defined as an external region.
  • Extraction of the region of interest can be obtained from design data using manual or automatic analysis.
  • the region of interest is a line or surface written on the image, and its shape is variable depending on a parameter used as an index for pattern matching.
  • an enlarged pattern 1002 is formed, a reduction process is performed, a reduced pattern 1003 is formed, and a thinning process is performed.
  • a thin line 1004 form vector data 1005 by vectorization processing, and the like.
  • These areas can also be defined as attention areas.
  • an external attention area 1006 can be formed by performing the above processing on the external area. Thereafter, when acquiring the inside / outside information, if there is no premise, all the information is acquired from the attention area.
  • the attention area illustrated in FIGS. 9 and 10 includes a multilayer pattern, and the lower attention area is partially hidden in the upper layer.
  • the upper and lower attention areas can be obtained independently. In that case, it acquires with the shape except the edge part and internal area
  • FIG. 11 shows the inside and outside areas of the pattern of the SEM image.
  • the definitions of the upper layer internal area 1101, the lower layer internal area 1102, and the external area 1103 correspond to the upper layer internal 604, lower layer internal 605, and external 606 of the corresponding design data, respectively. These definitions vary depending on how design data is given.
  • the step of acquiring the information on the attention area is included in the design data analysis and template generation 101.
  • the execution order is not limited, and any steps may be performed before and after.
  • an index value of the region is selectively obtained, and a matching position is specified based on the index value.
  • the matching position is specified based on a determination as to whether an index value unique to a certain region of interest satisfies a predetermined condition. For example, at the time of matching, the template and the SEM image are overlapped to obtain at least one piece of information such as the brightness of each pixel in the region of interest and the surrounding inclination. Let the information obtained as an example be luminance.
  • index values For the acquired luminance information, one or more parameters (hereinafter referred to as index values) such as maximum value, minimum value, average value, standard deviation, variance, differential value around the pixel, number of luminance peaks, luminance waveform of the region of interest, etc. ). Based on the calculation result, matching is executed.
  • index values such as maximum value, minimum value, average value, standard deviation, variance, differential value around the pixel, number of luminance peaks, luminance waveform of the region of interest, etc.
  • the embodiment will be described using the maximum value, minimum value, average value, standard deviation, variance, etc. as statistics, the number of luminance peaks, luminance waveform, etc. as analysis results. Note that it is desirable to arbitrarily select the index value according to the feature of the attention area. Further, the parameters included in the statistics and profile are not limited to the above examples.
  • the step of acquiring at least one piece of information such as the luminance of each pixel in the region of interest and the surrounding inclination is included in the analysis 102 of inside / outside information using design data.
  • the execution order is not limited, and step 101 may be performed before.
  • a step of generating a template and a region of interest from design data (step 101), and a step of acquiring and analyzing the brightness of the SEM image superimposed on the region of interest at an arbitrary position (analysis of internal information) Step: Step 102) is executed, and then a matching position is selected based on the analysis result of the internal information (Step 103), from the template creation in this embodiment to the matching by the created template.
  • Step 103 the following processing is specifically performed.
  • FIG. 12 is a flowchart for explaining an example of the matching position selection step (step 103).
  • the matching position is specified by selecting the position where the analysis result (for example, the standard deviation of the luminance value of the attention area) is minimized.
  • the standard deviation of the luminance of the attention area is calculated.
  • the standard deviation is assumed to be an index value I.
  • the threshold value is set to zero because the change in luminance tends to be flat.
  • a matching position where the index value I is closest to the threshold value is acquired and set as a matching correct position.
  • the threshold value is an arbitrarily given value, and the index value I is not limited to the standard deviation.
  • a process may be included such as filtering the SEM image to sufficiently reduce the influence of noise.
  • accurate matching can be performed according to the feature quantity inside or outside the pattern.
  • the analysis in the searched area on the SEM image is performed on the attention area by using the template having the index value I information as described above, for example, both the pattern edge and the line segment of the lower pattern, and the inside of the pattern.
  • the edge portion and the like have higher brightness than the inside of the pattern, and therefore the brightness varies in the attention area.
  • the attention area and the pattern internal area coincide with each other, as described above, the change in luminance is small within the pattern, and thus the standard deviation is close to zero.
  • This example can increase the success rate of matching when pattern edges and the like are mixed in addition to the matching position and there is no shape-unique portion.
  • FIG. 13 is a flowchart for explaining another example of the matching position selection step (step 103).
  • the matching position is selected using both the matching score and the internal information analysis result.
  • a step (Step 1301) of generating an index value I using the score F at each matching position obtained by performing the image correlation calculation and a statistic in the internal analysis result of the region of interest and the index value A step (step 1302) of selecting a matching position where I is optimal.
  • the statistic is the standard deviation S. As described above, except for the edge portion of the SEM image, the luminance change is flat except for noise. If the matching based on the correlation value calculation is successful, the ideal value of S is zero.
  • the matching position where the index value I is maximized is set as the matching correct position.
  • Such a calculation method of the index value I is not limited to the above calculation formula.
  • FIG. 14 is a flowchart for explaining still another example of the matching position selection step (step 103).
  • a candidate point is selected by determination using a matching score, and an optimal matching position is selected for the candidate point using a statistic or the like.
  • a step (step 1401) of acquiring one or more candidate points satisfying an arbitrary threshold value in order from a matching position with a high score F, and acquisition A step (step 1402) of selecting an optimal matching position from the statistics obtained as the inside / outside information for one or more candidate points is included.
  • the threshold value may be 80% of the maximum score. That is, a part having a score equal to or higher than a predetermined value is defined as a candidate point.
  • a matching position M satisfying M ⁇ 0.8F is set as a candidate point for the matching position M.
  • the final matching position is narrowed down by determining a region of interest using the statistics for the candidate points extracted in this way.
  • the statistic is the standard deviation S of luminance. For these candidate points, the standard deviation of luminance is compared under the assumption that the luminance change in the region of interest is flat, and the candidate with the smallest standard deviation is set as the matching position.
  • the threshold value is arbitrarily determined, and the method for selecting candidate points is not limited to the condition that the score is 80% or more.
  • the standard deviation of luminance is one of general examples of statistics, and is not limited to this.
  • the clustering method is not limited to the above. For example, a known clustering method such as the k-means method or the shortest distance method may be used. In addition, a clustering method that relatively compares feature quantities of candidate points may be used.
  • the first matching method based on image correlation or the like and the second matching method based on the feature amount determination of the attention area described above are used in combination. Accurate matching can be performed. In particular, one matching method can narrow down the choices of the other matching candidate, which is effective in suppressing matching errors.
  • the flowchart of FIG. 15 includes a step of determining whether or not clustering of matching candidates is necessary (step 1501), a step of selecting a clustering method from the statistics when executing clustering (step 1502), and the use of statistics. Performing clustering (step 1503), selecting an optimal class from the clustering result (step 1504), selecting whether further clustering is to be performed within the optimal class (step 1505), and from within the class The step of selecting a matching position (step 1506) is included.
  • Step 1501 is a step of determining that there is no need for clustering if, for example, all candidate points are within ⁇ 10% of the average value of statistics. This is a step of determining whether the matching position should be obtained by clustering of candidate points when it is considered that clustering cannot be performed well due to the influence of noise or the like when the statistic variation is small.
  • the determination method in step 1501 may be arbitrarily set. Alternatively, it may be automatically set from a statistic or the like.
  • Step 1502 is a step of determining a statistic and a clustering method as an index. For example, if the index value is the standard deviation, select the clustering method using the average value of the standard deviation or the clustering method based on whether the standard deviation is closer to the maximum value or the minimum value. It is a technique. If it can be determined in step 1501 that the maximum value and the minimum value are sufficiently separated from each other, the clustering is selected depending on which of the standard deviation is closer to the maximum value or the minimum value. Further, this is a step of selecting a clustering method in accordance with the statistics to be used.
  • Step 1503 is a step of clustering candidate points into two depending on whether the standard deviation is closer to the maximum value or the minimum value, for example.
  • Step 1504 uses, for example, the feature that the standard deviation is small when the region of interest is in the upper layer, and based on the result obtained in Step 1504, the candidate point class close to the minimum value is the optimal candidate It is a step to make a class.
  • Step 1505 is a step for selecting whether to perform clustering again. For example, the standard deviation is examined in the candidate point class close to the minimum value, and if the difference between the maximum and minimum standard deviations in the class is larger than an arbitrary value, clustering is performed again. If the maximum and minimum difference is smaller than an arbitrary value, clustering is not performed again. This is a step of determining which of the two processes is executed.
  • Step 1506 is a step in which, for example, the candidate having the maximum score in the class is set as the matching position. Any clustering method, clustering execution determination method, and index value may be used.
  • FIG. 21 is a flowchart for explaining a process of selecting an optimum matching position using a statistic from candidate points without performing the clustering execution determination step (step 1501) in FIG.
  • step 2101 for determining whether to perform reclassification.
  • reclassification execution determination is performed. For example, since the step from step 1502 to step 2101 is performed n times, it is a step of determining the current number of times.
  • n has a value from 0 to the number of candidate points.
  • matching candidates before clustering are output to step 1506.
  • the number n of re-clustering may be specified by a human or may be automatically calculated from some feature of the candidate point group.
  • the reclassification execution determination in step 2101 may determine the validity of the clustering result. For example, a class before classification and a class group after classification are mutually or absolutely compared using a statistic criterion, an information criterion, a histogram, a threshold value, and the like. For example, a Bayes information criterion that is a known technique is used as a method for determining the validity of the clustering result. If the classification is valid, reclassify the optimal class. If the classification is not valid, the class before classification is output to step 1506. Any reclassification execution determination method other than the above may be used.
  • the pattern matching method described in detail above can be installed as a computer program for operating a dedicated image processing processor or a general-purpose arithmetic processor in the electron microscope or image processing apparatus having the image processing function shown in FIG.
  • a dedicated image processing processor or a general-purpose arithmetic processor in the electron microscope or image processing apparatus having the image processing function shown in FIG.
  • the template and the SEM image can be matched at high speed.
  • the matching success rate can be improved by combining with the image correlation calculation.
  • the information required for matching can be obtained from the design data and the SEM image, the burden on the user can be reduced.
  • FIG. 16 is a flowchart for explaining an example of the matching error determination method. After step 102 illustrated in FIG. 1 is executed, a step of comparing an analysis result with a threshold (step 1601), or two or more analysis results are displayed. A step of comparing (step 1602) and a step of determining a matching failure from the comparison result (step 1603) are executed.
  • Steps 1601, 1602, and 1603 will be described in detail. It is assumed that the analysis result obtained in step 102 is given as a statistic, and here is the standard deviation S. If matching is successful, the ideal value of S is zero. In step 1601, the standard deviation S is compared with an arbitrarily given threshold value. If the standard deviation S is larger than the threshold value, it is determined in step 1603 that the matching has failed. In step 1602, the magnitude of two or more standard deviations S1 and S2 is obtained. At this time, the larger one is determined as a matching failure in step 1603. Each of the above parameters can be set to an arbitrary value.
  • the matching error determination method as described above can be mounted on an electron microscope having an image processing function as illustrated in FIG. 2 or an image processing apparatus, and includes pattern inside / outside information (for example, upper layer internal 604, lower layer internal 605). By using the external 606), a matching failure can be determined. As a result, when performing pattern matching, it is not necessary to perform matching processing at an incorrect answer position, so that high-speed processing is possible. In addition, since the incorrect answer positions are removed in advance, the matching success rate can be increased. In addition, since the number of images to be determined when the user determines the matching success position can be reduced, the burden on the user can be reduced.
  • FIG. 17 is a flowchart for explaining an example of a matching method that selectively uses a region of interest. After executing step 101 illustrated in FIG. 1, an arbitrary image region corresponding to the region of interest corresponds to the region of interest. A step of matching using a region on the template (step 1701) and a step of selecting an optimum matching position from the matching result (step 1702) are executed.
  • FIG. 18 is a diagram illustrating a specific example of a matching method using a template that selectively uses a region of interest.
  • the SEM image and the design data have a multilayer structure, and the region of interest is outside the upper layer.
  • matching is performed using a lower layer template 1801 (hereinafter referred to as a difference template) that masks the region of interest (upper layer portion) of the template.
  • the left diagram in FIG. 18 is a diagram for explaining an example of the difference template, and the right diagram is a diagram for explaining an execution example of the matching using the difference template on the SEM image 1802.
  • the method of the embodiment described so far can be applied.
  • the above method can be used as a region of interest regardless of a single layer or a multilayer.
  • the pattern matching method as described above can be installed in an electron microscope having an image processing function as illustrated in FIG. 2 or an image processing apparatus, and the inside / outside information of the pattern (for example, upper layer interior 604, lower layer interior 605). , External 606) can be selectively used to perform template and SEM image matching at high speed. Furthermore, since the information required for matching can be obtained from the design data and the SEM image, the burden on the user can be reduced.
  • FIG. 19 is a flowchart for explaining an example of a matching method used for profile information of a region of interest.
  • a profile obtained from the region of interest at an arbitrary position using a profile as an index after executing step 101 illustrated in FIG. And a step of comparing an arbitrary profile (step 1901) and a step of selecting an optimal matching position based on the profile comparison result (step 1902).
  • the profile mentioned here is an ideal profile in a region of interest set by the user or a profile based on a template.
  • step 1901 for example, a differential filter is applied to the profile obtained from the region of interest to detect the number of peaks higher than the average value of luminance.
  • the number of detected peaks is compared with the number of peaks in the profile based on the template.
  • processing such as normalization correlation with the profile obtained from the template for the profile subjected to the differential filter.
  • Step 1902 selects an optimal matching position based on the comparison result.
  • Clustering based on coincidence / inconsistency of the number of peaks, clustering based on comparison between peaks, or the like may be performed by the above comparison. From the above comparison results, the candidate point whose peak shape is closest to the ideal value, or the candidate point with the highest image correlation score after clustering is selected as the best matching candidate.
  • parameters that are replaced as statistics of the execution example such as the number of peaks, can be adapted to the execution example.
  • the pattern matching method as described above can be installed in an electron microscope or an image processing apparatus having an image processing function as illustrated in FIG.
  • the template and the SEM image can be matched at high speed.
  • pattern matching can be performed for a region of interest in which other layers are reflected in the multilayer image, and the matching success rate can be improved.
  • the information necessary for the matching can be obtained from the design data and the SEM image, the burden on the user can be reduced.
  • the image processing apparatus for the above embodiment.
  • it can be executed by an image processing apparatus mounted on a CD-SEM (Critical Dimension-SEM) or a personal computer that executes a program for pattern matching.
  • these apparatuses may be provided with a function for the user to arbitrarily set execution non-execution for the processing of the above-described embodiment, or a user interface for setting to selectively execute some functions.
  • the pattern matching method described so far can be installed in an electron microscope having an image processing function as illustrated in FIG. 2 or an image processing apparatus, and the execution mode can be changed according to conditions desired by the user. Therefore, the processing time and success rate can be adjusted to the user's needs.
  • the SEM is used to obtain an image of the semiconductor device.
  • the above-described method may be applied to pattern matching using an image acquired using an imaging device other than the SEM. Is possible. For example, it is possible to obtain an equivalent action and effect even by using an apparatus that obtains an image of a semiconductor device using an optical photographing means, but scanning electrons that form an image with more noise than an optical microscope or the like. By applying to a charged particle beam apparatus such as a microscope, a higher effect is exhibited.

Landscapes

  • Engineering & Computer Science (AREA)
  • Physics & Mathematics (AREA)
  • Theoretical Computer Science (AREA)
  • General Physics & Mathematics (AREA)
  • Computer Vision & Pattern Recognition (AREA)
  • Data Mining & Analysis (AREA)
  • Multimedia (AREA)
  • Evolutionary Computation (AREA)
  • Artificial Intelligence (AREA)
  • Software Systems (AREA)
  • Probability & Statistics with Applications (AREA)
  • Evolutionary Biology (AREA)
  • Bioinformatics & Computational Biology (AREA)
  • Bioinformatics & Cheminformatics (AREA)
  • Life Sciences & Earth Sciences (AREA)
  • General Engineering & Computer Science (AREA)
  • Electromagnetism (AREA)
  • Quality & Reliability (AREA)
  • Analytical Chemistry (AREA)
  • Chemical & Material Sciences (AREA)
  • Computing Systems (AREA)
  • Health & Medical Sciences (AREA)
  • Medical Informatics (AREA)
  • Databases & Information Systems (AREA)
  • General Health & Medical Sciences (AREA)
  • Image Analysis (AREA)
  • Testing Or Measuring Of Semiconductors Or The Like (AREA)
  • Analysing Materials By The Use Of Radiation (AREA)
  • Length Measuring Devices By Optical Means (AREA)
  • Image Processing (AREA)
PCT/JP2011/002991 2010-07-01 2011-05-30 パターンマッチング方法,画像処理装置、及びコンピュータプログラム Ceased WO2012001876A1 (ja)

Priority Applications (1)

Application Number Priority Date Filing Date Title
US13/807,664 US9141879B2 (en) 2010-07-01 2011-05-30 Pattern matching method, image processing device, and computer program

Applications Claiming Priority (2)

Application Number Priority Date Filing Date Title
JP2010150711A JP5639797B2 (ja) 2010-07-01 2010-07-01 パターンマッチング方法,画像処理装置、及びコンピュータプログラム
JP2010-150711 2010-07-01

Publications (1)

Publication Number Publication Date
WO2012001876A1 true WO2012001876A1 (ja) 2012-01-05

Family

ID=45401624

Family Applications (1)

Application Number Title Priority Date Filing Date
PCT/JP2011/002991 Ceased WO2012001876A1 (ja) 2010-07-01 2011-05-30 パターンマッチング方法,画像処理装置、及びコンピュータプログラム

Country Status (3)

Country Link
US (1) US9141879B2 (enExample)
JP (1) JP5639797B2 (enExample)
WO (1) WO2012001876A1 (enExample)

Cited By (1)

* Cited by examiner, † Cited by third party
Publication number Priority date Publication date Assignee Title
CN113639630A (zh) * 2021-04-01 2021-11-12 浙江大学台州研究院 基于多模板匹配和自动对焦功能的尺寸测量仪系统

Families Citing this family (23)

* Cited by examiner, † Cited by third party
Publication number Priority date Publication date Assignee Title
JP5971746B2 (ja) * 2012-03-09 2016-08-17 株式会社日立ハイテクノロジーズ テンプレートマッチング位置合わせ方法および荷電粒子線装置
DK3084222T3 (en) * 2013-12-19 2019-04-08 Carrier Corp COMPRESSOR WITH VARIABLE VOLUME INDEX VALVE.
US9952039B2 (en) 2015-06-26 2018-04-24 Glasstech, Inc. System and method for measuring reflected optical distortion in contoured panels having specular surfaces
US9952037B2 (en) 2015-06-26 2018-04-24 Glasstech, Inc. System and method for developing three-dimensional surface information corresponding to a contoured sheet
US9933251B2 (en) * 2015-06-26 2018-04-03 Glasstech, Inc. Non-contact gaging system and method for contoured glass sheets
US9470641B1 (en) 2015-06-26 2016-10-18 Glasstech, Inc. System and method for measuring reflected optical distortion in contoured glass sheets
US9851200B2 (en) * 2015-06-26 2017-12-26 Glasstech, Inc. Non-contact gaging system and method for contoured panels having specular surfaces
US9841276B2 (en) 2015-06-26 2017-12-12 Glasstech, Inc. System and method for developing three-dimensional surface information corresponding to a contoured glass sheet
US9530199B1 (en) * 2015-07-13 2016-12-27 Applied Materials Israel Ltd Technique for measuring overlay between layers of a multilayer structure
JP6750937B2 (ja) * 2015-11-02 2020-09-02 株式会社ニューフレアテクノロジー パターン検査装置
JP2017134596A (ja) * 2016-01-27 2017-08-03 株式会社東芝 画像処理方法及びプロセスシミュレーション装置
JP6785092B2 (ja) * 2016-08-19 2020-11-18 株式会社Screenホールディングス 変位検出装置、変位検出方法および基板処理装置
US10190991B2 (en) 2016-11-03 2019-01-29 Applied Materials Israel Ltd. Method for adaptive sampling in examining an object and system thereof
JP2018151202A (ja) * 2017-03-10 2018-09-27 株式会社ニューフレアテクノロジー 電子ビーム検査装置および電子ビーム検査方法
JP2019184354A (ja) * 2018-04-06 2019-10-24 株式会社日立ハイテクノロジーズ 電子顕微鏡装置、電子顕微鏡装置を用いた検査システム及び電子顕微鏡装置を用いた検査方法
JP2019185972A (ja) 2018-04-06 2019-10-24 株式会社日立ハイテクノロジーズ 走査電子顕微鏡システム及びパターンの深さ計測方法
JP6989464B2 (ja) * 2018-08-30 2022-01-05 株式会社日立製作所 ソフトウェア生成方法およびソフトウェア生成システム
US10902620B1 (en) * 2019-04-18 2021-01-26 Applied Materials Israel Ltd. Registration between an image of an object and a description
JP7149906B2 (ja) 2019-08-07 2022-10-07 株式会社日立ハイテク 走査電子顕微鏡及びパタン計測方法
WO2021186637A1 (ja) * 2020-03-18 2021-09-23 株式会社日立ハイテク 荷電粒子線装置
JP7572285B2 (ja) * 2021-03-30 2024-10-23 東レエンジニアリング先端半導体Miテクノロジー株式会社 ワークピース上のパターンの画像を生成する方法
DE102023134499A1 (de) * 2023-09-18 2025-03-20 Raith Gmbh Untersuchungsverfahren für eine Halbleiterprobe mittels eines Sekundärionen-Massenspektrometers mit einem fokussierten Ionenstrahl und Analysevorrichtung dafür
US20250110943A1 (en) * 2023-10-02 2025-04-03 Ram Pavement Method and apparatus for integrated optimization-guided interpolation

Citations (4)

* Cited by examiner, † Cited by third party
Publication number Priority date Publication date Assignee Title
JPH05205058A (ja) * 1992-01-24 1993-08-13 Hitachi Ltd クラスタリング方法
JPH05324836A (ja) * 1992-05-19 1993-12-10 Fujitsu Ltd パターンマッチング方法
JP2003162718A (ja) * 2001-11-22 2003-06-06 Toshiba Corp 画像処理方法及びプログラム
JP2008151607A (ja) * 2006-12-15 2008-07-03 Juki Corp テンプレートマッチングを用いたマーク位置決め方法及び装置

Family Cites Families (9)

* Cited by examiner, † Cited by third party
Publication number Priority date Publication date Assignee Title
JP3699949B2 (ja) * 2002-09-26 2005-09-28 株式会社東芝 パターン計測方法、このパターン計測方法を用いる半導体装置の製造方法、プログラムおよびコンピュータ読み取り可能な記録媒体、並びにパターン計測装置
JP4154374B2 (ja) 2004-08-25 2008-09-24 株式会社日立ハイテクノロジーズ パターンマッチング装置及びそれを用いた走査型電子顕微鏡
JP2007140729A (ja) * 2005-11-16 2007-06-07 Ishikawajima Harima Heavy Ind Co Ltd 物品の位置及び姿勢を検出する方法および装置
JP4950550B2 (ja) * 2006-04-21 2012-06-13 株式会社東芝 パターン合わせずれ計測方法およびプログラム
JP5401005B2 (ja) 2006-06-16 2014-01-29 株式会社日立ハイテクノロジーズ テンプレートマッチング方法、および走査電子顕微鏡
JP4943304B2 (ja) * 2006-12-05 2012-05-30 株式会社 Ngr パターン検査装置および方法
JP4801697B2 (ja) 2008-06-09 2011-10-26 株式会社日立ハイテクノロジーズ 画像形成方法,画像形成装置、及びコンピュータプログラム
JP5063551B2 (ja) * 2008-10-03 2012-10-31 株式会社日立ハイテクノロジーズ パターンマッチング方法、及び画像処理装置
JP5639925B2 (ja) * 2011-02-25 2014-12-10 株式会社日立ハイテクノロジーズ パターンマッチング装置、及びコンピュータープログラム

Patent Citations (4)

* Cited by examiner, † Cited by third party
Publication number Priority date Publication date Assignee Title
JPH05205058A (ja) * 1992-01-24 1993-08-13 Hitachi Ltd クラスタリング方法
JPH05324836A (ja) * 1992-05-19 1993-12-10 Fujitsu Ltd パターンマッチング方法
JP2003162718A (ja) * 2001-11-22 2003-06-06 Toshiba Corp 画像処理方法及びプログラム
JP2008151607A (ja) * 2006-12-15 2008-07-03 Juki Corp テンプレートマッチングを用いたマーク位置決め方法及び装置

Cited By (1)

* Cited by examiner, † Cited by third party
Publication number Priority date Publication date Assignee Title
CN113639630A (zh) * 2021-04-01 2021-11-12 浙江大学台州研究院 基于多模板匹配和自动对焦功能的尺寸测量仪系统

Also Published As

Publication number Publication date
US20130216141A1 (en) 2013-08-22
US9141879B2 (en) 2015-09-22
JP5639797B2 (ja) 2014-12-10
JP2012014475A (ja) 2012-01-19

Similar Documents

Publication Publication Date Title
JP5639797B2 (ja) パターンマッチング方法,画像処理装置、及びコンピュータプログラム
JP5313939B2 (ja) パターン検査方法、パターン検査プログラム、電子デバイス検査システム
US11836906B2 (en) Image processing system and computer program for performing image processing
JP5276854B2 (ja) パターン生成装置およびパターン形状評価装置
KR101764658B1 (ko) 결함 해석 지원 장치, 결함 해석 지원 장치에 의해 실행되는 프로그램 및 결함 해석 시스템
US8994815B2 (en) Method of extracting contour lines of image data obtained by means of charged particle beam device, and contour line extraction device
JP5988615B2 (ja) 半導体評価装置、及びコンピュータープログラム
TW201842347A (zh) 圖案測定裝置,及半導體計測系統
US20150016709A1 (en) Pattern Sensing Device and Semiconductor Sensing System
WO2012056638A1 (ja) パターン測定方法,パターン測定装置及びそれを用いたプログラム
WO2013122022A1 (ja) 画像評価装置及びパターン形状評価装置
KR101889833B1 (ko) 패턴 측정 장치 및 컴퓨터 프로그램
JP5868462B2 (ja) パターン形状評価装置
JP5596812B2 (ja) パターン生成装置およびパターン形状評価装置
JP2012026988A (ja) 欠陥検出装置及びコンピュータプログラム

Legal Events

Date Code Title Description
121 Ep: the epo has been informed by wipo that ep was designated in this application

Ref document number: 11800352

Country of ref document: EP

Kind code of ref document: A1

NENP Non-entry into the national phase

Ref country code: DE

WWE Wipo information: entry into national phase

Ref document number: 13807664

Country of ref document: US

122 Ep: pct application non-entry in european phase

Ref document number: 11800352

Country of ref document: EP

Kind code of ref document: A1