WO2011155595A1 - 使い捨ての着用物品 - Google Patents
使い捨ての着用物品 Download PDFInfo
- Publication number
- WO2011155595A1 WO2011155595A1 PCT/JP2011/063333 JP2011063333W WO2011155595A1 WO 2011155595 A1 WO2011155595 A1 WO 2011155595A1 JP 2011063333 W JP2011063333 W JP 2011063333W WO 2011155595 A1 WO2011155595 A1 WO 2011155595A1
- Authority
- WO
- WIPO (PCT)
- Prior art keywords
- elastic
- sheet
- wearing article
- fiber
- elastic sheet
- Prior art date
- Legal status (The legal status is an assumption and is not a legal conclusion. Google has not performed a legal analysis and makes no representation as to the accuracy of the status listed.)
- Ceased
Links
Images
Classifications
-
- A—HUMAN NECESSITIES
- A61—MEDICAL OR VETERINARY SCIENCE; HYGIENE
- A61F—FILTERS IMPLANTABLE INTO BLOOD VESSELS; PROSTHESES; DEVICES PROVIDING PATENCY TO, OR PREVENTING COLLAPSING OF, TUBULAR STRUCTURES OF THE BODY, e.g. STENTS; ORTHOPAEDIC, NURSING OR CONTRACEPTIVE DEVICES; FOMENTATION; TREATMENT OR PROTECTION OF EYES OR EARS; BANDAGES, DRESSINGS OR ABSORBENT PADS; FIRST-AID KITS
- A61F13/00—Bandages or dressings; Absorbent pads
- A61F13/15—Absorbent pads, e.g. sanitary towels, swabs or tampons for external or internal application to the body; Supporting or fastening means therefor; Tampon applicators
- A61F13/45—Absorbent pads, e.g. sanitary towels, swabs or tampons for external or internal application to the body; Supporting or fastening means therefor; Tampon applicators characterised by the shape
- A61F13/49—Absorbent pads, e.g. sanitary towels, swabs or tampons for external or internal application to the body; Supporting or fastening means therefor; Tampon applicators characterised by the shape specially adapted to be worn around the waist, e.g. diapers, nappies
- A61F13/49007—Form-fitting, self-adjusting disposable diapers
- A61F13/49009—Form-fitting, self-adjusting disposable diapers with elastic means
- A61F13/49011—Form-fitting, self-adjusting disposable diapers with elastic means the elastic means is located at the waist region
-
- A—HUMAN NECESSITIES
- A61—MEDICAL OR VETERINARY SCIENCE; HYGIENE
- A61F—FILTERS IMPLANTABLE INTO BLOOD VESSELS; PROSTHESES; DEVICES PROVIDING PATENCY TO, OR PREVENTING COLLAPSING OF, TUBULAR STRUCTURES OF THE BODY, e.g. STENTS; ORTHOPAEDIC, NURSING OR CONTRACEPTIVE DEVICES; FOMENTATION; TREATMENT OR PROTECTION OF EYES OR EARS; BANDAGES, DRESSINGS OR ABSORBENT PADS; FIRST-AID KITS
- A61F13/00—Bandages or dressings; Absorbent pads
- A61F13/15—Absorbent pads, e.g. sanitary towels, swabs or tampons for external or internal application to the body; Supporting or fastening means therefor; Tampon applicators
- A61F13/45—Absorbent pads, e.g. sanitary towels, swabs or tampons for external or internal application to the body; Supporting or fastening means therefor; Tampon applicators characterised by the shape
- A61F13/49—Absorbent pads, e.g. sanitary towels, swabs or tampons for external or internal application to the body; Supporting or fastening means therefor; Tampon applicators characterised by the shape specially adapted to be worn around the waist, e.g. diapers, nappies
- A61F13/49007—Form-fitting, self-adjusting disposable diapers
- A61F13/49009—Form-fitting, self-adjusting disposable diapers with elastic means
- A61F13/49011—Form-fitting, self-adjusting disposable diapers with elastic means the elastic means is located at the waist region
- A61F13/49012—Form-fitting, self-adjusting disposable diapers with elastic means the elastic means is located at the waist region the elastic means being elastic panels
-
- A—HUMAN NECESSITIES
- A61—MEDICAL OR VETERINARY SCIENCE; HYGIENE
- A61F—FILTERS IMPLANTABLE INTO BLOOD VESSELS; PROSTHESES; DEVICES PROVIDING PATENCY TO, OR PREVENTING COLLAPSING OF, TUBULAR STRUCTURES OF THE BODY, e.g. STENTS; ORTHOPAEDIC, NURSING OR CONTRACEPTIVE DEVICES; FOMENTATION; TREATMENT OR PROTECTION OF EYES OR EARS; BANDAGES, DRESSINGS OR ABSORBENT PADS; FIRST-AID KITS
- A61F13/00—Bandages or dressings; Absorbent pads
- A61F13/15—Absorbent pads, e.g. sanitary towels, swabs or tampons for external or internal application to the body; Supporting or fastening means therefor; Tampon applicators
- A61F13/45—Absorbent pads, e.g. sanitary towels, swabs or tampons for external or internal application to the body; Supporting or fastening means therefor; Tampon applicators characterised by the shape
- A61F13/49—Absorbent pads, e.g. sanitary towels, swabs or tampons for external or internal application to the body; Supporting or fastening means therefor; Tampon applicators characterised by the shape specially adapted to be worn around the waist, e.g. diapers, nappies
- A61F13/49007—Form-fitting, self-adjusting disposable diapers
- A61F13/49009—Form-fitting, self-adjusting disposable diapers with elastic means
- A61F13/4902—Form-fitting, self-adjusting disposable diapers with elastic means characterised by the elastic material
-
- A—HUMAN NECESSITIES
- A61—MEDICAL OR VETERINARY SCIENCE; HYGIENE
- A61F—FILTERS IMPLANTABLE INTO BLOOD VESSELS; PROSTHESES; DEVICES PROVIDING PATENCY TO, OR PREVENTING COLLAPSING OF, TUBULAR STRUCTURES OF THE BODY, e.g. STENTS; ORTHOPAEDIC, NURSING OR CONTRACEPTIVE DEVICES; FOMENTATION; TREATMENT OR PROTECTION OF EYES OR EARS; BANDAGES, DRESSINGS OR ABSORBENT PADS; FIRST-AID KITS
- A61F13/00—Bandages or dressings; Absorbent pads
- A61F13/15—Absorbent pads, e.g. sanitary towels, swabs or tampons for external or internal application to the body; Supporting or fastening means therefor; Tampon applicators
- A61F13/45—Absorbent pads, e.g. sanitary towels, swabs or tampons for external or internal application to the body; Supporting or fastening means therefor; Tampon applicators characterised by the shape
- A61F13/49—Absorbent pads, e.g. sanitary towels, swabs or tampons for external or internal application to the body; Supporting or fastening means therefor; Tampon applicators characterised by the shape specially adapted to be worn around the waist, e.g. diapers, nappies
- A61F13/496—Absorbent pads, e.g. sanitary towels, swabs or tampons for external or internal application to the body; Supporting or fastening means therefor; Tampon applicators characterised by the shape specially adapted to be worn around the waist, e.g. diapers, nappies in the form of pants or briefs
Definitions
- This invention relates to a disposable wearing article taking a disposable diaper as an example.
- a disposable wearing article having a front / rear waist region and a crotch region which uses an elastic sheet such as a nonwoven fabric or a plastic film that elastically expands / contracts to at least one of the front / rear waist regions, is known or well known.
- an elastic sheet such as a nonwoven fabric or a plastic film that elastically expands / contracts to at least one of the front / rear waist regions.
- a worn article using a plurality of elastic materials such as thread rubber and band rubber instead of the elastic sheet is also well known.
- Such an elastic material is generally attached to the waistline region in a state of extending in the waistline direction, and the waistline region is formed by an inelastic sheet piece.
- disposable wearing articles described in JP-A-3-162854 include wearing articles such as open-type diapers, pants-type diapers, and training pants, And an elastic back sheet, and an elastic barrier sheet formed of a plastic film is interposed between the top sheet and the back sheet.
- a disposable diaper described in JP-A-4-166150 has a plurality of belt-shaped waistline elastic members between a top sheet and a back sheet in an area where an absorbent body is disposed.
- the waistline elastic member is attached to the diaper in a state of extending in the waistline direction, and forms a gather around the waist when contracted.
- a nonwoven fabric made of polypropylene fiber is used for the top sheet, and a polyethylene film is used for the back sheet.
- JP-A-4-289201 JP 1992-289201A, Patent Document 3
- a plurality of elastic ribbons are bonded to the top sheet and / or the back sheet. Due to the shrinkage of the elastic ribbon, a large number of wrinkles are generated in the brief.
- JP-A-3-162854 JP H03-162854A
- JP-A-4-166150 JP 1992-166150A
- JP-A-4-289201 JP 1992-289201A
- the wearing article In a wearing article in which an elastic sheet that elastically expands and contracts in the waistline direction is opposed to the wearer's skin, the wearing article has good fit because the elastic sheet adheres well to the skin. Become a thing. However, on the other hand, the skin to which the elastic sheet is in close contact is easy to sweat and stuffy.
- the elastic material contracts in the waist direction, so that the waist area extends vertically.
- a large number of gathers occur. Since the top sheet and the back sheet are usually joined via a joining means such as a hot melt adhesive, the top sheet and the back sheet are integrated to form a one-layer gather.
- a wearing article having such gathers may be difficult to bend or round due to gathering as a resistance when it is bent or rounded in a direction perpendicular to the direction in which the gathers extend. As a result of this, the worn article may feel soft and supple when it is held in the hand.
- the present invention is directed to a front waistline region, a back waistline region, and a crotch region, and each of these regions is opposed to the skin, and an outer surface that is the opposite surface.
- the elastic sheet is a mixture of elastic fiber having elastic extensibility and non-elastic fiber having non-elastic extensibility, and has a ridge and a ridge that are convex toward the skin.
- the part is formed by the elastic fiber and the non-elastic fiber.
- the protrusions and the recesses extend in parallel with each other in the vertical direction of the wearing article and are alternately arranged in the waist direction of the wearing article, and the elastic sheet is elastically expanded and contracted in the waist direction.
- the wearing article has a body fluid-absorbing panel extending in the crotch region toward the front / rear waist region, and in at least one of the front / rear waist regions, the elastic sheet The end of the panel is covered from the inside and extends in the waistline direction.
- the outer surface of the elastic sheet is joined from the inside of the wearing article to an outer sheet forming at least a part of the outer surface of the wearing article, and the outer sheet is inelastic.
- the elastic sheet is a spunbonded nonwoven fabric having a mass of 20 to 50 g / m 2
- the elastic fiber is a filament of polyurethane fiber having a fineness of 2 to 6 dtex.
- the non-elastic fiber is at least one filament of a polyolefin fiber, a polyester fiber and a polyamide fiber having a fineness of 2 to 6 dtex, and the weight mixing ratio of the elastic fiber and the non-elastic fiber is 40: It is in the range of 60-60: 40.
- the outer sheet is in a state where the inelastic fibers are crimped.
- the wearing article is of a pants type, and is formed such that side edges of the front and rear waistline regions overlap each other in a palm shape and are dispersed on the side edges.
- the plurality of spot-like joint portions are joined to each other, and the size of each of the joint portions falls within a size of 1 mm square.
- the elastic sheet is formed in a rectangular piece extending in the lateral direction of the article, and the size of the elastic sheet in the vertical direction of the article is that of each of the front and rear waist areas. Smaller than the elastic sheet, in which the elastic sheet is located in a substantially middle region of the front-rear waist region in the vertical direction.
- the disposable wearing article In the disposable wearing article according to the present invention, at least a part of the inner surface facing the wearer's skin is formed by an elastic sheet, and the elastic sheet has a convex strip portion convex toward the skin and a concave portion toward the skin. Concave ridges extending in the vertical direction of the wearing article are arranged alternately in the waistline direction.
- the elastic sheet when the wearing article is worn can form a breathable gap extending in the vertical direction between the concave strip portion and the skin when the convex strip portion contacts the skin. Due to the presence of the voids, sweating and skin stuffiness in the wearer are suppressed.
- the enlarged view of the part IV of FIG. The figure which shows typically the state to which the VV line
- FIG. 1 is a perspective view of a disposable pant-type diaper 1.
- the diaper 1 includes a front waistline region 6, a rear waistline region 7, and a crotch region 8 that extends between the front and rear waistline regions 6 and 7 and extends in the front-rear direction Z.
- the front and rear waist regions 6 and 7 are integrated at a joint portion 9 in which both side edge portions 6 a and 7 a overlap in a palm shape and are intermittently arranged in the vertical direction Y of the diaper 1.
- Such a diaper 1 has a waistline opening 11 and a pair of leg opening 12.
- a first elastic region 21 including a plurality of first gathers 21 a extending in the vertical direction Y is formed on the edge 6 b of the front waistline region 6 and the edge 7 b of the rear waistline region 7 that define the waistline opening 11.
- a second elastic region 22 including a second gather 22a extending at an inclination in the vertical direction Y is formed in at least a part of the edge 8a that defines the leg opening 12.
- a third elastic region 23 including a plurality of third gathers 23 a extending in the vertical direction Y is formed in the central region in the vertical direction Y in the front and rear waist regions 6 and 7.
- the horizontal direction, the vertical direction, and the front-rear direction of the diaper 1 are indicated by double-headed arrows X, Y, and Z.
- FIG. 2 shows that the first to third gathers 23a to 23c are substantially developed while the diaper 1 is developed in a planar shape after the joining of the front and rear waist regions 6 and 7 in the joint portion 9 of the diaper 1 is released.
- FIG. 3 is a partially broken plan view of the developed diaper 101 obtained by extending in the lateral direction X and the front-rear direction Z until it disappears, and FIG. 3 is an exploded perspective view of the developed diaper 101.
- the development diaper 101 is formed so as to be symmetric with respect to the first center line PP that bisects the dimension in the lateral direction X. 2 is folded along the second center line QQ that bisects the dimension in the front-rear direction Z, and the side edges 6a, 7a of the front-rear waist regions 6, 7 are joined together, the diaper 1 can be obtained.
- the development diaper 101 includes a front panel 31 that forms the front waistline region 6 and a part of the crotch region 8, and a rear panel that forms the rear waistline region 7 and a part of the crotch region 8.
- 32 and a central panel 33 that connects both the panels 31 and 32 in the crotch region 8, and the panels 31, 32, and 33 are integrated to form the unfolded diaper 101 and the chassis 35 in the diaper 1.
- a front elastic sheet piece 37 that can be elastically expanded and contracted in the horizontal direction X is intermittently applied in at least the horizontal direction X of the horizontal direction X and the front-back direction Z.
- the front elastic sheet piece 37 joined in an extended state via a hot melt adhesive (not shown) is partially overlapped with the intermediate sheet 36.
- the body fluid absorbent panel 60 and the rear elastic sheet piece 38 are bonded to the inner surface of the chassis 35 to which the front sheet piece 37 is bonded via a hot melt adhesive (not shown).
- the body fluid absorbent panel 60 is joined to the chassis 35 so as to extend to a part of the front waistline area 6 and a part of the back waistline area 7 with the crotch area 8 in the diaper 1 as the center.
- a part of the rear elastic sheet piece 38 is attached to the chassis 35 from above the unfolded diaper 101 in FIG. 3, that is, from the inside of the unfolded diaper 101. As shown in FIG. And overlap.
- the elastic sheet pieces 37 and 38 are formed into rectangular pieces extending in the lateral direction X, and the dimensions of the elastic sheet pieces 37 and 38 in the vertical direction Y are the front and rear waist regions 6 and 7.
- the elastic sheet pieces 37 and 38 are located approximately in the middle region of the front and rear waist regions 6 and 7 in the vertical direction Y.
- the front panel 31 of the chassis 35 includes a sheet member 31a that forms at least a part of the outer surface of the diaper 1, and the inner surface of the sheet member 31a is in the waistline direction.
- a plurality of thread-like first front elastic bodies 41a extending in the lateral direction X and a plurality of thread-like second front elastic bodies 42a extending in the lateral direction X are hot-melt adhesives (FIG. (Not shown).
- a wide, ie, strip-shaped front leg elastic body 43 is hot. It is attached in an extended state via a melt adhesive (not shown).
- the front leg elastic body 43 and the second front elastic body 42 overlap, the front leg elastic body 43 is joined to the seat member 31a in an extended state, and the second front elastic body 42 extends to the front leg elastic body 43. Joined in state.
- a hot melt adhesive (not shown) is also provided on the inner surface of the sheet member 31a so that the front waterproof sheet 46 formed of a liquid-impervious plastic film overlaps the second front elastic body 42 and the front leg elastic body 43. ).
- an end edge portion 47 extending in the lateral direction X is folded back inside the diaper 1 to cover the first front elastic body 41 a and the front end portion 61 of the body fluid absorbent panel 60, and face the end edge portion 47. It joins with respect to each site
- the rear panel 32 in the chassis 35 includes a sheet member 32a that forms at least a part of the outer surface of the diaper 1.
- a plurality of thread-like first rear elastic bodies extending in the lateral direction X on the inner surface of the sheet member 32a. 51a and a plurality of thread-like second rear elastic bodies 52a extending in the lateral direction X are attached via a hot melt adhesive (not shown).
- a single wide rear leg elastic body 53 is provided via hot melt bonding (not shown). It is attached in the extended state.
- the rear leg elastic body 53 and the second rear elastic body 52a overlap, the rear leg elastic body 53 is joined to the seat member 32a in an extended state, and the second rear elastic body 52a extends to the rear leg elastic body 53. Joined in state.
- a hot melt adhesive (not shown) is also provided on the inner surface of the sheet member 32a so that the rear waterproof sheet 56 formed of a liquid-impervious plastic film overlaps the second rear elastic body 52a and the rear leg elastic body 53. ).
- an end edge portion 57 extending in the lateral direction X is folded back to the inside of the diaper 1 to cover the first rear elastic body 51a and the rear end portion 62 of the body fluid absorbent panel 60. Are bonded to each portion facing each other via a hot melt adhesive (not shown).
- the sheet members 31a and 32a can be made of a nonwoven fabric such as a spunbond nonwoven fabric or a meltbonded nonwoven fabric.
- the first and second front elastic bodies 41a and 42a and the first and second rear elastic bodies 51a and 52a are coated with a hot melt adhesive at a rate of 10 to 17 g / m 2 with respect to the surfaces of the sheet members 31a. , 32a.
- the front leg elastic body 43 and the rear leg elastic body 53 are made of the same material as the front elastic sheet 37 and the rear elastic sheet piece 38 described later, or a tensile elastic modulus different from the tensile elastic modulus of these elastic sheet pieces 37 and 38. Can be used.
- the preferred front elastic sheet piece 37 and rear elastic sheet piece 38 have a width of 15 to 30 mm in the front-rear direction Z in FIGS. 2 and 3, and are respectively provided for the sheet members 31a and 32a and the intermediate sheet 36 described later.
- hot melt adhesive can be applied and bonded at a rate of 2 to 5 g / m 2 .
- a pattern such as a dot shape or an omega shape can be adopted as a pattern when applying the hot melt adhesive.
- the sheet members 31a and 32a include composite fibers that are thermally crimped, in order to stabilize the formation of the sheet members 31a and 32a, a plurality of spot-like welded portions are subjected to embossing under heating. Can be formed intermittently.
- the central panel 33 in the chassis 35 is bonded to an outer sheet 33a formed of a thermoplastic synthetic nonwoven fabric and an inner sheet 33 formed of a liquid-impervious plastic film with a hot melt adhesive (not shown). Therefore, the outer sheet 33a is bonded to the inner surfaces of the front and rear panels 31 and 32 via a hot melt adhesive (not shown).
- the intermediate sheet 36 in the unfolded diaper 101 has both side edges 66 curved so as to protrude toward the first center line PP, and the intermediate sheet 36 overlaps the chassis 35.
- Each of the side edge portions 66 coincides with a portion 44 on the front panel 31 and a portion 54 on the rear panel 32 to form the edge portion 8a (see FIG. 1) of the leg opening 12 in the diaper 1.
- a nonwoven fabric or a plastic film formed of thermoplastic synthetic fibers can be used.
- the preferred intermediate sheet 36 has water repellency and / or liquid impermeability.
- the front elastic sheet piece 37 and the rear elastic sheet piece 38 in the unfolded diaper 101 include an elastic fiber filament 111 (see FIG. 5) that elastically expands and contracts and an inelastic fiber filament 112 (see FIG. 5) that expands inelastically.
- a non-woven piece that elastically expands and contracts in the transverse direction X due to the presence of the filament 111 is used.
- Both sheet pieces 37 and 38 are joined to the chassis 35 and the body fluid-absorbing panel 60 where they overlap with each other in a state of extending in the lateral direction X.
- the front elastic sheet piece 37 is used so as to be interposed between the chassis 35 and the body fluid absorbent panel 60, and the rear elastic sheet piece 38 is formed at the rear end portion of the body fluid absorbent panel 60.
- the deployment diaper 101 is replaced with a mode in which both sheet pieces 37 and 38 are interposed between the chassis 35 and the body fluid absorbent panel 60, or both sheet pieces 37 and 38 are the body fluid absorbent panel 60. It is also possible to replace the front and rear end portions 61 and 62 with a covering mode.
- the body fluid-absorbing panel 60 in the unfolded diaper 101 has a body fluid-absorbing core material 69 interposed between a liquid-permeable inner surface sheet 67 and a water-repellent outer surface sheet 68 that is more preferably water-repellent and liquid-impermeable.
- a body fluid-absorbing material aggregate such as pulverized pulp or superabsorbent polymer particles, or a body coated with the tissue is used.
- a breakwater 70 extending in the front-rear direction Z is formed.
- Leakage breakwater 70 is made of water-repellent, more preferably water-repellent, and liquid-impervious sheet pieces are folded, and thread-like elastic bodies 71 extending in the front-rear direction Z are interposed between the stacked sheet pieces in an expanded state. It is formed by letting.
- the breakwater 70 also has a proximal edge 72 and a distal edge 73, the proximal edge 72 is fixed to the body fluid absorbent panel 60 in the entire length in the front-rear direction Z, and the distal edge 73 is formed in the front-rear direction Z Only the both end portions 73a and 73b of this part overlap with a part of the leakage barrier 70 and are fixed to the body fluid-absorbing panel 60 together with the part.
- the elastic body 71 contracts and the distal edge 73 rises from the inner surface of the body fluid-absorbing panel 60, which is well known in the technical field of disposable diapers. It becomes a three-dimensional leakage barrier.
- the joining of the members using a hot-melt-adhesive is meant.
- FIG. 4 is an enlarged view of the portion IV in FIG. 1 and illustrates an aspect of the dot-like joint portion 9 in which the side edge portions 6a and 7a are integrated.
- the joint portion 9 is a portion formed by press-contacting a horn of an ultrasonic welder, and has a base e and a height f in the range of 0.7 to 1.2 mm, more preferably the joint portion 9. Is formed to fit in a size of 1 mm square. Further, the distance g in the lateral direction X between the joints 9 is in the range of 0.3 to 0.7 mm, and the dimension h in the vertical direction Y is in the range of 0.7 to 3.7 mm. The width i of 9 is in the range of 4 to 8 mm.
- the side edge portions 6a and 7a are joined to the side edge portions 6a and 7a by dispersely arranging the dot-shaped contact areas 9 which preferably do not exceed the size of 1 mm square.
- the problem of extreme stiffness due to the presence of the diaper 1 can be solved, and the diaper 1 can be easily bent or rounded in the vertical direction Y.
- FIG. 5 (a) and 5 (b) are diagrams schematically showing the VV line cut surface in FIG. 2 and a state when the cut surface is contracted in the lateral direction X.
- the line VV is inside the third elastic region 23 in the rear waistline region 7.
- the sheet member 32a and the rear elastic sheet piece 38 in the rear panel 32 of FIG. 5A are joined via a hot-melt adhesive 110, and the hot-melt adhesive 110 is transverse X in FIG. And at least the horizontal direction X of the front-rear direction Z, it is intermittently distributed and applied to the sheet member 32a at a rate of 2 to 5 g / m 2 .
- the rear elastic sheet piece 38 is formed by mixing the elastically extending / contracting filament 111 and the non-elastically extending filament 112 and welding these filaments 111 and 112 at some of the intersecting portions. It is a formed nonwoven fabric.
- the rear elastic sheet piece 38 is contracted in the lateral direction X in the third elastic region 23 in FIG.
- the rear elastic sheet piece 38 is 1.5 to 3 in the horizontal direction X in FIG. It is in a state of being stretched to double.
- a back elastic sheet piece 38 has an inner surface 116 facing the wearer's skin (not shown) and an outer surface 117 opposite to the inner surface 116.
- the inner surface 116 is substantially flat. There are some undulations in the transverse direction X.
- the outer surface 117 is joined to the sheet member 32a.
- the sheet member 32a is a nonwoven fabric such as a spunbond nonwoven fabric or a meltbond nonwoven fabric formed by thermoplastic synthetic fibers 113 in the form of filaments or staples, and does not elastically stretch or contract in a substantial sense. Is.
- FIG. 5B is a rear view when the rear waistline region 7 in FIG. 5A is released from the force that is extending the rear elastic sheet piece 38 and is elastically contracted in the lateral direction X.
- seat member 32a is shown.
- the state of the rear elastic sheet piece 38 and the sheet member 32a at this time is the same as the state of the rear elastic sheet piece 38 and the sheet member 32a in the third elastic region 23 of FIG.
- convex strips 121 that are convex toward the skin and concave strips 122 that are concave toward the skin appear alternately in the lateral direction X.
- the filament 111 is elastically contracted to shorten the length of the filament 111, while the filament 112 is reduced in length. It will not be shortened, it will be bent.
- the protruding portion 121 is a portion where the filaments 112 bent in such a manner are accumulated, and has a flexibility that can be easily deformed when touched by a fingertip.
- the convex strip 121 and the concave strip 122 extend in the front-rear direction Z in the developed diaper 101 of FIG. 2, and extend in the vertical direction Y in the diaper 1 of FIG. 1.
- the ridges 121 and the ridges 122 extend over the entire length in the front-rear direction Z of the rear elastic sheet piece 38 in FIG. 2 or disappear in the middle of the total length. In addition, even when extending over the entire length, it may extend straight or bend while extending.
- the convex strip 121 having such a form is poor in action to increase the rigidity of the rear elastic sheet piece 38 and is preferable in making the rear elastic sheet piece 38 flexible.
- the sheet member 32a joined to the rear elastic sheet piece 38 is deformed so as to repeat irregular undulations in the lateral direction X as the rear elastic sheet piece 38 contracts to form a gather 123.
- the gather 123 has a single-layer structure formed only by the sheet member 32a, and does not have a two-layer structure including the sheet member 32a and the rear elastic sheet piece 38. Because the gather 123 is not a two-layer structure but a one-layer structure, the gather 123 becomes flexible and easily deforms when touched by a fingertip. Such a gather 123 appears as a third gather 23 in the rear waist region 7 of the diaper 1 of FIG. That is, in the rear panel 32, the portion where the rear elastic sheet piece 38 is present forms the third elastic region 23 of FIG.
- the first gather 21 in the rear waist region 7 of the diaper 1 is mainly formed by contraction of the first rear elastic body 51a, and the portion where the first rear elastic body 51a exists and its vicinity are the first of the rear waist region 7.
- One elastic region 21 is obtained.
- the second gather 22 is mainly formed by contraction of the rear leg elastic body 53, and a portion where the rear leg elastic body 53 exists and its vicinity become a second elastic region 22.
- the front elastic sheet piece 37 and the sheet member 31a in the front panel 31 that overlap each other in the developed diaper 101 in FIG. 2 are formed in the same manner as the rear elastic sheet piece 38 and the sheet 32a in FIG.
- a third gather 23 (see FIG. 1) that repeats irregular undulations in the waistline direction appears on the outer surface of the sheet member 31a. That is, in the front panel 31, the portion where the front elastic sheet piece 37 is present forms the third elastic region 23 of the front waistline region 6 of FIG.
- the first gather 21 in the front waistline region 6 of the diaper 1 is formed mainly by contraction of the first front elastic body 41a, and a portion where the first front elastic body 41a exists and its vicinity are the first elastic region 21 and the vicinity thereof.
- the second gather 22 in the front waistline region 6 is formed mainly by contraction of the front leg elastic body 43, and a portion where the front leg elastic body 43 exists and its vicinity become the second elastic region 22.
- the front elastic sheet piece 37 and the rear elastic sheet piece 38 are used as shown in the figure, when the wearing article is worn and the convex part 121 of these sheet pieces 37 and 38 comes into contact with the skin, the concave part When 122 is separated from the skin, a gap is formed between the groove 122 and the skin, so that air and water vapor move inside the gap to suppress sweating and stuffy skin. Can do.
- the rear elastic sheet piece 38 is inside the body fluid absorbent panel 60 as illustrated in the rear waist region 7 of FIG. 2, the body fluid absorbent panel containing moisture in the rear waist region 7 when the diaper 1 is worn.
- the space between the skin and the rear elastic sheet piece 38 is in a state of being able to ventilate in the concave portion 121, so that it is possible to effectively prevent the stuffiness caused by wearing the diaper. it can.
- the joint portion 9 between the side edge portions 6 a and 7 a of the front and rear waist regions 6 and 7 is in the form as shown in FIG.
- the problem that the edges 6a and 7a become hard and difficult to deform can be solved.
- the worn article can be made soft and supple.
- the third elastic region 23 of the front and rear waist regions 6 and 7 is not formed of a plurality of thread rubbers as in the prior art, but is formed of a non-woven fabric in the vertical direction Y of FIG. 1.
- a front elastic sheet piece 37 and a rear elastic sheet piece 38 having a large size (width) are used, and both the sheet pieces 37 and 38 also serve as backing sheets for the sheet member 31a and the sheet member 32. Therefore, compared to a conventional diaper that sandwiches a plurality of thread rubber with two sheet pieces in the waist area, it is possible to reduce the amount of hot melt adhesive used in the waist area, The problem that the waist area becomes hard due to the influence of the hot melt adhesive used therein can be solved.
- the gather 123 formed on the outer surface side of the front and rear waist regions 6 and 7 acts to make the front and rear waist regions 6 and 7 soft and supple, because it is a single layer structure.
- the inner surfaces of the front and rear waist regions 6 and 7 where the front elastic sheet piece 37 and the rear elastic sheet piece 38 are used in the diaper 1 are soft and supple.
- the crimped fiber can soften and soften the outer surface.
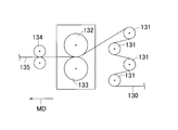
- FIG. 6 is a diagram showing a part of the manufacturing process of the elastic web 135 that can be used as the front elastic sheet piece 37 and the rear elastic sheet piece 38, and FIG. 7 shows the parts of the gear rolls 132 and 133 used in the process.
- FIG. 8 is a partially enlarged view of the gear roll 132 of FIG. From the right side of the figure is a web 130 which is a mixture of filaments 111 of elastic fibers such as polyurethane fibers and filaments 112 of non-elastic fibers including at least one of polyolefin fibers, polyester fibers and polyamide fibers. Supplied in a preheated state downstream in the direction MD and passes through a plurality of guide rolls 131.
- an extension force is applied to one or more filaments having a length L 0 at room temperature to make the length 2L 0 , and then the extension force is released and one minute elapses. It means that the length after shrinking to 1.1 L 0 or less.
- the term non-elastic fibers for web 130 its length to 2L 1 by the action of stretching force to one or a plurality of filaments of a length L 1 which is at room temperature, one minute Solve subsequent stretching force It means that the length after being 1.7L is 1 or more.
- the web 130 that has passed through the guide roll 131 is supplied between a pair of gear rolls 132 and 133 that are heated to a required temperature, and is stretched to a required magnification, for example, 1.5 to 3 times.
- the stretched web is elastically contracted in the process of exiting the gear rolls 132 and 133 and being supplied to the feed roll 134 or the process following the process, and returns to a dimension close to the dimension before the stretch. Then, it is supplied to the manufacturing process (not shown) of the diaper 1.
- the elastic web 135 the filament 111 in the web 130 is stretched and then elastically contracted to return to a dimension close to the dimension before the stretching, but the inelastic fiber filament 112 is stretched inelastically. Therefore, when the filament 111 contracts, the ridge 121 in FIG. 4 (2) is formed.
- Such an elastic web 135 is intermittently joined in the machine direction MD to the fiber web to be the sheet members 31a and 32a in a state where the elastic web 135 is elastically expanded to a required magnification in the machine direction MD.
- the pair of gear rolls 132 and 133 shown in FIG. 6 have the same shape, and upper teeth 136 and lower teeth 137 that mesh with each other are formed at equal pitches in the circumferential direction.
- the web 130 is supplied between the upper teeth 136 and the lower teeth 137, the web 130 is mainly stretched between the tops of the upper teeth 136 and the lower teeth 137, and the tops of the upper teeth 136 and the lower teeth 137 are extended.
- the portion that has been in contact with the top hardly extends, and forms the concave streak 122 in FIG.
- FIG. 8 shows specific examples of the dimensions of the respective parts for the upper teeth 136 and the lower teeth 137.
- the depth at which the upper teeth 136 and the lower teeth 137 mesh is a value determined by the expected expansion ratio with respect to the web 130. For example, when the web 130 is expanded to 2.5 to 3 times, As an example, the engaging depth is set to about 6 mm.
- the web 130 has, as an example, a polyurethane fiber filament 111 and a polypropylene fiber filament 112 having a fineness in the range of 2.5 to 6 dtex in a weight ratio of 40:60 to 60:40. Those mixed at a ratio and having a mass per unit area of 20 to 50 g / m 2 are used in a state preheated to about 50 ° C.
- the web 130 is further heated to about 55 ° C. and supplied to the gear rolls 132 and 133.
- FIG. 9 is a photograph showing a cross section of an example of the elastic web 135 obtained by using the process of FIG.
- the elastic web 135 has a ridge 121 and a recess 122.
- the concave portion 122 is a portion where the web 135 is in contact with the top of the upper tooth 136 or the top of the lower tooth 137, and the convex portion 121 is between the upper tooth 136 and the lower tooth 137, and the web 130 extends. It is the site that contracted after being done.
- the ridge 121 is formed by collecting and flexing filaments 112 of inelastic fibers that are permanently deformed and lengthened, and are flexible and easily deform when touched by a fingertip.
- the thickness of the ridge 121 is about 1.2 mm
- the thickness of the ridge 122 is about 0.3 mm
- the pitch of the ridge 121 is about 2.2 mm.
- the outer surface sheet in the other part excluding the body fluid absorbing panel in the front and rear waist region and the elastic sheet bonded thereto When the surface properties of the outer sheet were measured using KES-FB4 as an index of softness and flexibility, MIU ( ⁇ ): 0.5 or less, MMD ( ⁇ ): 0.013 or less, SMD ( ⁇ m): When the bending characteristics of the outer sheet and the elastic sheet bonded thereto are measured using KES-FB2, B (gf ⁇ cm 2 / cm): 0.14 or less, 2HB (gf ⁇ cm / cm) : 0.2, it is possible to obtain a wearing article having Bwale (gf ⁇ cm 2 /cm):0.5 hereinafter become such excellent softness, suppleness as characteristic I was able to confirm the door.
- the present invention described taking the pants-type disposable diaper 1 as an example can be implemented in disposable wearing articles such as open-type disposable diapers, incontinence patient pants, training pants and the like.
Landscapes
- Health & Medical Sciences (AREA)
- Epidemiology (AREA)
- Engineering & Computer Science (AREA)
- Biomedical Technology (AREA)
- Heart & Thoracic Surgery (AREA)
- Vascular Medicine (AREA)
- Life Sciences & Earth Sciences (AREA)
- Animal Behavior & Ethology (AREA)
- General Health & Medical Sciences (AREA)
- Public Health (AREA)
- Veterinary Medicine (AREA)
- Absorbent Articles And Supports Therefor (AREA)
- Undergarments, Swaddling Clothes, Handkerchiefs Or Underwear Materials (AREA)
- Orthopedics, Nursing, And Contraception (AREA)
Priority Applications (3)
| Application Number | Priority Date | Filing Date | Title |
|---|---|---|---|
| EP11792552.9A EP2581069B1 (en) | 2010-06-11 | 2011-06-10 | Disposable garment |
| US13/698,103 US8900211B2 (en) | 2010-06-11 | 2011-06-10 | Disposable wearing article |
| CN201180028712.9A CN102939064B (zh) | 2010-06-11 | 2011-06-10 | 一次性穿用物品 |
Applications Claiming Priority (2)
| Application Number | Priority Date | Filing Date | Title |
|---|---|---|---|
| JP2010134559A JP5674345B2 (ja) | 2010-06-11 | 2010-06-11 | 使い捨ての着用物品 |
| JP2010-134559 | 2010-06-11 |
Publications (1)
| Publication Number | Publication Date |
|---|---|
| WO2011155595A1 true WO2011155595A1 (ja) | 2011-12-15 |
Family
ID=45098198
Family Applications (1)
| Application Number | Title | Priority Date | Filing Date |
|---|---|---|---|
| PCT/JP2011/063333 Ceased WO2011155595A1 (ja) | 2010-06-11 | 2011-06-10 | 使い捨ての着用物品 |
Country Status (6)
| Country | Link |
|---|---|
| US (1) | US8900211B2 (enExample) |
| EP (1) | EP2581069B1 (enExample) |
| JP (1) | JP5674345B2 (enExample) |
| CN (1) | CN102939064B (enExample) |
| AR (1) | AR081862A1 (enExample) |
| WO (1) | WO2011155595A1 (enExample) |
Families Citing this family (10)
| Publication number | Priority date | Publication date | Assignee | Title |
|---|---|---|---|---|
| JP6132638B2 (ja) * | 2013-04-11 | 2017-05-24 | ユニ・チャーム株式会社 | パンツ型着用物品 |
| WO2014208639A1 (ja) * | 2013-06-28 | 2014-12-31 | 花王株式会社 | パンツ型使い捨ておむつ及びその製造方法 |
| JP6245644B2 (ja) * | 2013-06-28 | 2017-12-13 | 花王株式会社 | パンツ型使い捨ておむつ及びその製造方法 |
| TWI619480B (zh) * | 2013-06-28 | 2018-04-01 | Kao Corp | Pants type disposable diaper and manufacturing method thereof |
| CN105283159B (zh) * | 2013-06-28 | 2019-03-19 | 花王株式会社 | 短裤型一次性尿布和其制造方法 |
| JP6468724B2 (ja) * | 2014-05-02 | 2019-02-13 | ユニ・チャーム株式会社 | 使い捨てオムツ |
| WO2016000009A1 (en) * | 2014-06-30 | 2016-01-07 | Kimberly-Clark Worldwide, Inc. | Diaper and method and apparatus for the manufacture thereof |
| JP6901313B2 (ja) * | 2016-05-30 | 2021-07-14 | 花王株式会社 | 吸収性物品 |
| JP6942590B2 (ja) * | 2017-09-27 | 2021-09-29 | 大王製紙株式会社 | パンツタイプ使い捨て着用物品 |
| EP3691592B1 (en) | 2017-10-03 | 2022-03-30 | Essity Hygiene and Health Aktiebolag | Absorbent article |
Citations (8)
| Publication number | Priority date | Publication date | Assignee | Title |
|---|---|---|---|---|
| JPH03162854A (ja) | 1989-08-10 | 1991-07-12 | Uni Charm Corp | 使い捨て着用物品 |
| JPH04166150A (ja) | 1990-10-31 | 1992-06-12 | Kao Corp | 使い捨ておむつ |
| JPH04289201A (ja) | 1991-03-19 | 1992-10-14 | Uni Charm Corp | 使い捨てブリーフ |
| JPH0470965B2 (enExample) * | 1987-07-14 | 1992-11-12 | Kubota Kk | |
| JP2001061885A (ja) * | 1999-08-30 | 2001-03-13 | Uni Charm Corp | 使い捨て着用物品 |
| JP2007138374A (ja) * | 2005-04-25 | 2007-06-07 | Kao Corp | 伸縮性不織布 |
| WO2008066009A1 (fr) * | 2006-11-28 | 2008-06-05 | Uni-Charm Corporation | Feuille composite et article absorbant comprenant ladite feuille |
| JP2008148834A (ja) * | 2006-12-15 | 2008-07-03 | Kao Corp | パンツ型物品及びその製造方法 |
Family Cites Families (17)
| Publication number | Priority date | Publication date | Assignee | Title |
|---|---|---|---|---|
| NL6611374A (enExample) * | 1965-08-16 | 1967-02-17 | ||
| US4209563A (en) * | 1975-06-06 | 1980-06-24 | The Procter & Gamble Company | Method for making random laid bonded continuous filament cloth |
| DE69129636T2 (de) * | 1991-03-20 | 1998-12-24 | Reinhardt Nils Appleton Wis. Sabee | Elastisches gewebe mit endlosfäden und verfahren zur herstellung |
| JPH1099371A (ja) * | 1996-09-27 | 1998-04-21 | Uni Charm Corp | 使い捨ての体液吸収性着用物品 |
| JP3340032B2 (ja) * | 1996-09-30 | 2002-10-28 | ユニ・チャーム株式会社 | 使い捨ておむつ |
| JP2002119537A (ja) * | 2000-10-13 | 2002-04-23 | Uni Charm Corp | パンツ型の使い捨て着用物品 |
| JP4070965B2 (ja) | 2001-06-08 | 2008-04-02 | ユニ・チャーム株式会社 | 伸縮性複合シートおよび伸縮性複合シートに多数の襞を形成する方法 |
| JP4341325B2 (ja) * | 2002-08-08 | 2009-10-07 | チッソ株式会社 | 弾性不織布及びこれを用いた繊維製品 |
| US7405171B2 (en) * | 2002-08-08 | 2008-07-29 | Chisso Corporation | Elastic nonwoven fabric and fiber products manufactured therefrom |
| JP4363840B2 (ja) * | 2002-12-04 | 2009-11-11 | ユニ・チャーム株式会社 | 使い捨ておむつ |
| KR101237367B1 (ko) | 2005-04-25 | 2013-02-28 | 가오 가부시키가이샤 | 신축성시트 및 그 제조방법 |
| CN101166859B (zh) * | 2005-04-25 | 2010-09-29 | 花王株式会社 | 伸缩性无纺布及其制造方法 |
| JP5363015B2 (ja) * | 2007-03-28 | 2013-12-11 | 花王株式会社 | 着用物品の製造方法 |
| JP5156353B2 (ja) * | 2007-11-30 | 2013-03-06 | 大王製紙株式会社 | パンツ型使い捨ておむつ |
| JP5604041B2 (ja) * | 2007-12-10 | 2014-10-08 | 花王株式会社 | 伸縮性複合シート |
| JP5253064B2 (ja) * | 2008-09-18 | 2013-07-31 | ユニ・チャーム株式会社 | 使い捨ておむつ |
| JP5410079B2 (ja) * | 2008-11-27 | 2014-02-05 | 大王製紙株式会社 | 使い捨ておむつ |
-
2010
- 2010-06-11 JP JP2010134559A patent/JP5674345B2/ja not_active Expired - Fee Related
-
2011
- 2011-06-10 CN CN201180028712.9A patent/CN102939064B/zh not_active Expired - Fee Related
- 2011-06-10 US US13/698,103 patent/US8900211B2/en not_active Expired - Fee Related
- 2011-06-10 EP EP11792552.9A patent/EP2581069B1/en not_active Not-in-force
- 2011-06-10 WO PCT/JP2011/063333 patent/WO2011155595A1/ja not_active Ceased
- 2011-06-10 AR ARP110102026A patent/AR081862A1/es unknown
Patent Citations (8)
| Publication number | Priority date | Publication date | Assignee | Title |
|---|---|---|---|---|
| JPH0470965B2 (enExample) * | 1987-07-14 | 1992-11-12 | Kubota Kk | |
| JPH03162854A (ja) | 1989-08-10 | 1991-07-12 | Uni Charm Corp | 使い捨て着用物品 |
| JPH04166150A (ja) | 1990-10-31 | 1992-06-12 | Kao Corp | 使い捨ておむつ |
| JPH04289201A (ja) | 1991-03-19 | 1992-10-14 | Uni Charm Corp | 使い捨てブリーフ |
| JP2001061885A (ja) * | 1999-08-30 | 2001-03-13 | Uni Charm Corp | 使い捨て着用物品 |
| JP2007138374A (ja) * | 2005-04-25 | 2007-06-07 | Kao Corp | 伸縮性不織布 |
| WO2008066009A1 (fr) * | 2006-11-28 | 2008-06-05 | Uni-Charm Corporation | Feuille composite et article absorbant comprenant ladite feuille |
| JP2008148834A (ja) * | 2006-12-15 | 2008-07-03 | Kao Corp | パンツ型物品及びその製造方法 |
Non-Patent Citations (1)
| Title |
|---|
| See also references of EP2581069A4 |
Also Published As
| Publication number | Publication date |
|---|---|
| CN102939064A (zh) | 2013-02-20 |
| JP2011255120A (ja) | 2011-12-22 |
| US20130060220A1 (en) | 2013-03-07 |
| JP5674345B2 (ja) | 2015-02-25 |
| AR081862A1 (es) | 2012-10-24 |
| EP2581069B1 (en) | 2016-08-31 |
| EP2581069A1 (en) | 2013-04-17 |
| EP2581069A4 (en) | 2013-11-13 |
| CN102939064B (zh) | 2015-01-14 |
| US8900211B2 (en) | 2014-12-02 |
Similar Documents
| Publication | Publication Date | Title |
|---|---|---|
| JP5674345B2 (ja) | 使い捨ての着用物品 | |
| JP5592168B2 (ja) | 使い捨て着用物品 | |
| CN101541526B (zh) | 复合片及使用复合片的吸收性物品 | |
| US8105303B2 (en) | Sheet member, high-density region-containing sheet manufacturing method and disposable diaper using sheet member | |
| JP7307061B2 (ja) | 視覚的に異なるシャシーおよびウェストバンドを有する吸収性物品 | |
| KR20170131423A (ko) | 흡수성 물품의 신축 구조, 및 팬티 타입 일회용 기저귀 | |
| JP5374242B2 (ja) | 吸収性物品 | |
| JP6311872B2 (ja) | パンツ型吸収性物品 | |
| CN102686199B (zh) | 裤型一次性穿着产品 | |
| JP5367961B2 (ja) | 使い捨ておむつ、シート部材およびプリーツシートの製造方法 | |
| JP5767783B2 (ja) | パンツタイプ使い捨ておむつ | |
| KR20090084952A (ko) | 흡수성 물품 및 복합 시트 | |
| TW201720401A (zh) | 吸收性物品 | |
| JP6124282B2 (ja) | 吸収性物品及びフィット用伸縮部の形成方法 | |
| JP2014171690A (ja) | 使い捨て着用物品およびその製造方法 | |
| JP4981539B2 (ja) | 高密度領域含有シートの製造方法および高密度含有シートを使用した使い捨ておむつ | |
| JP2011177285A5 (enExample) | ||
| JP5620645B2 (ja) | パンツタイプ使い捨ておむつ | |
| JP6547150B2 (ja) | パンツ型吸収性物品 | |
| RU2737447C1 (ru) | Впитывающее изделие | |
| JP6335558B2 (ja) | 使い捨て紙おむつ | |
| JP5775906B2 (ja) | 吸収性物品 | |
| JP7519968B2 (ja) | パンツタイプ使い捨て着用物品 | |
| JP5777499B2 (ja) | 使い捨て着用物品 | |
| CN223263110U (zh) | 伸缩片结构以及一次性吸收性物品 |
Legal Events
| Date | Code | Title | Description |
|---|---|---|---|
| WWE | Wipo information: entry into national phase |
Ref document number: 201180028712.9 Country of ref document: CN |
|
| 121 | Ep: the epo has been informed by wipo that ep was designated in this application |
Ref document number: 11792552 Country of ref document: EP Kind code of ref document: A1 |
|
| WWE | Wipo information: entry into national phase |
Ref document number: 13698103 Country of ref document: US |
|
| REEP | Request for entry into the european phase |
Ref document number: 2011792552 Country of ref document: EP |
|
| WWE | Wipo information: entry into national phase |
Ref document number: 2011792552 Country of ref document: EP |
|
| NENP | Non-entry into the national phase |
Ref country code: DE |
|
| WWE | Wipo information: entry into national phase |
Ref document number: 1201006315 Country of ref document: TH |