WO2011114653A1 - 評価装置及び評価方法 - Google Patents

評価装置及び評価方法 Download PDF

Info

Publication number
WO2011114653A1
WO2011114653A1 PCT/JP2011/001330 JP2011001330W WO2011114653A1 WO 2011114653 A1 WO2011114653 A1 WO 2011114653A1 JP 2011001330 W JP2011001330 W JP 2011001330W WO 2011114653 A1 WO2011114653 A1 WO 2011114653A1
Authority
WO
WIPO (PCT)
Prior art keywords
tissue
change
laser catheter
evaluation result
evaluation
Prior art date
Legal status (The legal status is an assumption and is not a legal conclusion. Google has not performed a legal analysis and makes no representation as to the accuracy of the status listed.)
Ceased
Application number
PCT/JP2011/001330
Other languages
English (en)
French (fr)
Japanese (ja)
Inventor
山口 恭司
志穗 箱守
玉村 好司
荒井 恒憲
亜莉沙 伊藤
淳 内山
Current Assignee (The listed assignees may be inaccurate. Google has not performed a legal analysis and makes no representation or warranty as to the accuracy of the list.)
Keio University
Sony Corp
Original Assignee
Keio University
Sony Corp
Priority date (The priority date is an assumption and is not a legal conclusion. Google has not performed a legal analysis and makes no representation as to the accuracy of the date listed.)
Filing date
Publication date
Application filed by Keio University, Sony Corp filed Critical Keio University
Priority to SG2012066239A priority Critical patent/SG183946A1/en
Priority to CN201180013008.6A priority patent/CN102791329B/zh
Priority to US13/583,531 priority patent/US9277865B2/en
Priority to EP11755846.0A priority patent/EP2548616B1/en
Priority to KR1020127023300A priority patent/KR20130052539A/ko
Publication of WO2011114653A1 publication Critical patent/WO2011114653A1/ja
Anticipated expiration legal-status Critical
Ceased legal-status Critical Current

Links

Images

Classifications

    • AHUMAN NECESSITIES
    • A61MEDICAL OR VETERINARY SCIENCE; HYGIENE
    • A61BDIAGNOSIS; SURGERY; IDENTIFICATION
    • A61B5/00Measuring for diagnostic purposes; Identification of persons
    • A61B5/0059Measuring for diagnostic purposes; Identification of persons using light, e.g. diagnosis by transillumination, diascopy, fluorescence
    • A61B5/0071Measuring for diagnostic purposes; Identification of persons using light, e.g. diagnosis by transillumination, diascopy, fluorescence by measuring fluorescence emission
    • AHUMAN NECESSITIES
    • A61MEDICAL OR VETERINARY SCIENCE; HYGIENE
    • A61NELECTROTHERAPY; MAGNETOTHERAPY; RADIATION THERAPY; ULTRASOUND THERAPY
    • A61N5/00Radiation therapy
    • A61N5/06Radiation therapy using light
    • AHUMAN NECESSITIES
    • A61MEDICAL OR VETERINARY SCIENCE; HYGIENE
    • A61BDIAGNOSIS; SURGERY; IDENTIFICATION
    • A61B10/00Instruments for taking body samples for diagnostic purposes; Other methods or instruments for diagnosis, e.g. for vaccination diagnosis, sex determination or ovulation-period determination; Throat striking implements
    • AHUMAN NECESSITIES
    • A61MEDICAL OR VETERINARY SCIENCE; HYGIENE
    • A61BDIAGNOSIS; SURGERY; IDENTIFICATION
    • A61B18/00Surgical instruments, devices or methods for transferring non-mechanical forms of energy to or from the body
    • A61B18/18Surgical instruments, devices or methods for transferring non-mechanical forms of energy to or from the body by applying electromagnetic radiation, e.g. microwaves
    • A61B18/20Surgical instruments, devices or methods for transferring non-mechanical forms of energy to or from the body by applying electromagnetic radiation, e.g. microwaves using laser
    • A61B18/22Surgical instruments, devices or methods for transferring non-mechanical forms of energy to or from the body by applying electromagnetic radiation, e.g. microwaves using laser the beam being directed along or through a flexible conduit, e.g. an optical fibre; Couplings or hand-pieces therefor
    • A61B18/24Surgical instruments, devices or methods for transferring non-mechanical forms of energy to or from the body by applying electromagnetic radiation, e.g. microwaves using laser the beam being directed along or through a flexible conduit, e.g. an optical fibre; Couplings or hand-pieces therefor with a catheter
    • AHUMAN NECESSITIES
    • A61MEDICAL OR VETERINARY SCIENCE; HYGIENE
    • A61BDIAGNOSIS; SURGERY; IDENTIFICATION
    • A61B5/00Measuring for diagnostic purposes; Identification of persons
    • A61B5/0059Measuring for diagnostic purposes; Identification of persons using light, e.g. diagnosis by transillumination, diascopy, fluorescence
    • A61B5/0082Measuring for diagnostic purposes; Identification of persons using light, e.g. diagnosis by transillumination, diascopy, fluorescence adapted for particular medical purposes
    • A61B5/0084Measuring for diagnostic purposes; Identification of persons using light, e.g. diagnosis by transillumination, diascopy, fluorescence adapted for particular medical purposes for introduction into the body, e.g. by catheters
    • AHUMAN NECESSITIES
    • A61MEDICAL OR VETERINARY SCIENCE; HYGIENE
    • A61BDIAGNOSIS; SURGERY; IDENTIFICATION
    • A61B5/00Measuring for diagnostic purposes; Identification of persons
    • A61B5/48Other medical applications
    • A61B5/4848Monitoring or testing the effects of treatment, e.g. of medication
    • AHUMAN NECESSITIES
    • A61MEDICAL OR VETERINARY SCIENCE; HYGIENE
    • A61BDIAGNOSIS; SURGERY; IDENTIFICATION
    • A61B5/00Measuring for diagnostic purposes; Identification of persons
    • A61B5/68Arrangements of detecting, measuring or recording means, e.g. sensors, in relation to patient
    • A61B5/6846Arrangements of detecting, measuring or recording means, e.g. sensors, in relation to patient specially adapted to be brought in contact with an internal body part, i.e. invasive
    • A61B5/6847Arrangements of detecting, measuring or recording means, e.g. sensors, in relation to patient specially adapted to be brought in contact with an internal body part, i.e. invasive mounted on an invasive device
    • A61B5/6852Catheters
    • AHUMAN NECESSITIES
    • A61MEDICAL OR VETERINARY SCIENCE; HYGIENE
    • A61BDIAGNOSIS; SURGERY; IDENTIFICATION
    • A61B5/00Measuring for diagnostic purposes; Identification of persons
    • A61B5/68Arrangements of detecting, measuring or recording means, e.g. sensors, in relation to patient
    • A61B5/6846Arrangements of detecting, measuring or recording means, e.g. sensors, in relation to patient specially adapted to be brought in contact with an internal body part, i.e. invasive
    • A61B5/6867Arrangements of detecting, measuring or recording means, e.g. sensors, in relation to patient specially adapted to be brought in contact with an internal body part, i.e. invasive specially adapted to be attached or implanted in a specific body part
    • A61B5/6869Heart
    • AHUMAN NECESSITIES
    • A61MEDICAL OR VETERINARY SCIENCE; HYGIENE
    • A61NELECTROTHERAPY; MAGNETOTHERAPY; RADIATION THERAPY; ULTRASOUND THERAPY
    • A61N5/00Radiation therapy
    • A61N5/06Radiation therapy using light
    • A61N5/0601Apparatus for use inside the body
    • AHUMAN NECESSITIES
    • A61MEDICAL OR VETERINARY SCIENCE; HYGIENE
    • A61NELECTROTHERAPY; MAGNETOTHERAPY; RADIATION THERAPY; ULTRASOUND THERAPY
    • A61N5/00Radiation therapy
    • A61N5/06Radiation therapy using light
    • A61N5/0613Apparatus adapted for a specific treatment
    • A61N5/062Photodynamic therapy, i.e. excitation of an agent
    • AHUMAN NECESSITIES
    • A61MEDICAL OR VETERINARY SCIENCE; HYGIENE
    • A61BDIAGNOSIS; SURGERY; IDENTIFICATION
    • A61B18/00Surgical instruments, devices or methods for transferring non-mechanical forms of energy to or from the body
    • A61B2018/00315Surgical instruments, devices or methods for transferring non-mechanical forms of energy to or from the body for treatment of particular body parts
    • A61B2018/00345Vascular system
    • A61B2018/00351Heart
    • AHUMAN NECESSITIES
    • A61MEDICAL OR VETERINARY SCIENCE; HYGIENE
    • A61BDIAGNOSIS; SURGERY; IDENTIFICATION
    • A61B5/00Measuring for diagnostic purposes; Identification of persons
    • A61B5/24Detecting, measuring or recording bioelectric or biomagnetic signals of the body or parts thereof
    • A61B5/316Modalities, i.e. specific diagnostic methods
    • A61B5/318Heart-related electrical modalities, e.g. electrocardiography [ECG]
    • AHUMAN NECESSITIES
    • A61MEDICAL OR VETERINARY SCIENCE; HYGIENE
    • A61NELECTROTHERAPY; MAGNETOTHERAPY; RADIATION THERAPY; ULTRASOUND THERAPY
    • A61N5/00Radiation therapy
    • A61N5/06Radiation therapy using light
    • A61N5/0601Apparatus for use inside the body
    • A61N2005/0602Apparatus for use inside the body for treatment of blood vessels
    • AHUMAN NECESSITIES
    • A61MEDICAL OR VETERINARY SCIENCE; HYGIENE
    • A61NELECTROTHERAPY; MAGNETOTHERAPY; RADIATION THERAPY; ULTRASOUND THERAPY
    • A61N5/00Radiation therapy
    • A61N5/06Radiation therapy using light
    • A61N2005/0626Monitoring, verifying, controlling systems and methods

Definitions

  • the present invention relates to an evaluation apparatus and an evaluation method for evaluating the progress of treatment using a laser catheter.
  • Atrial fibrillation is known as a type of tachyarrhythmia. Atrial fibrillation occurs when an abnormal excitation site that generates an electric pulse appears near the junction between the pulmonary vein and the left atrium, and the left atrium vibrates and contracts finely by stimulation of the electric pulse.
  • PDT photodynamic therapy
  • singlet oxygen is generated by irradiating myocardial tissue into which a photosensitizing agent has been incorporated with excitation light using a laser catheter.
  • Singlet oxygen with strong oxidizing power damages the myocardial tissue surrounding the abnormally excited site, and forms an electrical conduction block that blocks (blocks) the conduction of electrical pulses from the abnormally excited site to the left atrium.
  • electrical conduction between the abnormal excitation site and the left atrium is blocked, and abnormal vibration and contraction of the left atrium are suppressed.
  • Photosensitive drugs have the property of selectively accumulating in specific tissues. Therefore, generally, after a predetermined time (for example, 8 to 48 hours) has elapsed since the photosensitizing agent was administered to the patient, the photosensitizing agent concentration in the treated tissue is high and the photosensitizing agent concentration in other tissues or blood is low.
  • the excitation light is irradiated after the contrast of the so-called photosensitizing agent is obtained.
  • a PDT that irradiates excitation light when the photosensitive drug is delivered to the tissue to be treated by blood without using the accumulation property of the photosensitive drug has been proposed.
  • a device such as a catheter provided with a detection means such as an electrode is guided to the excitation light irradiation site, and the catheter is used for evaluation. It is possible. However, in the treatment using light, the irradiation site and the potential measurement site by the electrode do not exactly match each other, and therefore means for evaluating a more accurate treatment effect in real time is required.
  • an object of the present invention is to provide an evaluation apparatus and an evaluation method that can accurately and in real time evaluate the progress of treatment using a laser catheter.
  • an evaluation apparatus is an apparatus that irradiates a tissue into which a photosensitive drug that absorbs excitation light and emits fluorescence is incorporated from the distal end of a laser catheter. And it has a connection part, a light source, and a detection part.
  • the laser catheter can be attached to and detached from the connection portion.
  • the light source outputs the excitation light to the laser catheter via the connection portion.
  • the detection unit is configured to evaluate the change of the tissue due to the reaction between the excitation light irradiated from the tip of the laser catheter and the photosensitive drug taken into the tissue through the connection unit from the laser catheter. The intensity of the incident fluorescence is detected.
  • tissue change refers to, for example, a cell killing effect, injury to tissue such as an electric conduction block, damage, thermal denaturation and the like.
  • the detection unit is configured to change the tissue due to a reaction between the excitation light irradiated from the distal end portion of the laser catheter and the photosensitive drug taken into the tissue, and a contact state of the distal end portion of the laser catheter with the tissue.
  • the intensity of the fluorescence incident from the laser catheter via the connection portion may be detected.
  • the laser catheter may move due to the influence of respiration and heartbeat, and the contact state with the tissue to be treated may change.
  • changes in myocardial tissue and the contact state of the tip of the laser catheter can be monitored in real time, and irradiation conditions can be set and changed according to the situation.
  • the evaluation apparatus further includes a change in the tissue due to a reaction between the excitation light irradiated from the distal end portion of the laser catheter and a photosensitive drug taken into the tissue according to the detected fluorescence intensity, You may have a control part which evaluates simultaneously the contact state with respect to the said structure
  • the control unit visually reflects the current evaluation result of the tissue change in the maximum evaluation result of the tissue change, and simultaneously outputs the evaluation result of the tissue change and the evaluation result of the contact state.
  • a signal for notification may be output.
  • output signal means, for example, outputting a display command including display information to the display unit.
  • the practitioner can intuitively recognize the current evaluation result of the tissue change and the contact state of the laser catheter tip at the same time.
  • the practitioner can recognize the deviation of the tip of the laser catheter due to the influence of heartbeat or respiration in real time, and can immediately control the posture.
  • the practitioner can accurately and in real time understand the evaluation results of tissue changes that vary depending on individual differences and treatment sites. The practitioner needs to look at multiple screens during the procedure and judge everything. For this reason, displaying the current evaluation result of the tissue change and the contact state of the laser catheter tip in an intuitively recognizable manner is useful for the practitioner to perform a smooth treatment.
  • the evaluation apparatus may further include a storage unit that stores the maximum evaluation result of the tissue change.
  • the control unit records the current evaluation result of the tissue change in the storage unit, and the current evaluation result of the tissue change is greater than or equal to the maximum evaluation result of the tissue change recorded in the storage unit.
  • the maximum evaluation result of the change of the organization recorded in the storage unit is updated with the current evaluation result of the change of the organization, the current evaluation result of the change of the organization is updated to the maximum evaluation result of the change of the organization.
  • the practitioner can calculate the difference between the maximum evaluation result and the current evaluation result by contacting the tip of the laser catheter. It can be intuitively recognized as a change in state. For example, the practitioner can intuitively recognize that the contact state of the distal end portion of the laser catheter is changed from an ideal contact state and is shifted from the tissue and floating in the blood.
  • the evaluation apparatus further evaluates the change in the tissue due to the reaction between the excitation light irradiated from the distal end portion of the laser catheter and the photosensitive drug taken into the tissue according to the detected fluorescence intensity. You may have a control part to do.
  • the control unit may output a signal for notifying the change of the tissue according to the evaluation result.
  • output signal means that a display command including display information is output to the display unit or a voice output command is output to the speaker unit.
  • the control unit may output a signal for prompting the change of the excitation light irradiation condition according to the evaluation result.
  • the control unit may acquire an electrocardiogram signal and evaluate the change in the tissue according to the correlation between the electrocardiogram signal and the fluorescence intensity.
  • An evaluation apparatus for treatment of atrial fibrillation is an apparatus that irradiates a myocardial tissue into which a photosensitive drug that absorbs excitation light and emits fluorescence is incorporated from the distal end portion of a laser catheter. And it has a connection part, a light source, and a detection part.
  • the laser catheter can be attached to and detached from the connection portion.
  • the light source outputs the excitation light to the laser catheter via the connection portion.
  • the detection unit is configured to connect the connection unit from the laser catheter. And detecting the intensity of the fluorescence incident thereon.
  • the detection unit includes a change in the myocardial tissue due to a reaction between the excitation light irradiated from the distal end portion of the laser catheter and a photosensitive drug taken into the myocardial tissue, and the myocardial tissue at the distal end portion of the laser catheter.
  • the intensity of the fluorescence incident from the laser catheter via the connection portion may be detected.
  • the evaluation apparatus further changes the myocardial tissue due to a reaction between the excitation light irradiated from the distal end portion of the laser catheter and the photosensitive agent taken into the myocardial tissue according to the detected fluorescence intensity.
  • a controller that simultaneously evaluates the contact state of the tip of the laser catheter with the myocardial tissue.
  • the control unit visually reflects the maximum evaluation result of the change of the myocardial tissue in the current evaluation result of the change of the myocardial tissue, the evaluation result of the change of the tissue, the evaluation result of the contact state, May be output simultaneously.
  • the evaluation apparatus may further include a storage unit that stores a maximum evaluation result of the change in the myocardial tissue.
  • the control unit records the current evaluation result of the change of the myocardial tissue in the storage unit, and the maximum evaluation of the change of the myocardial tissue in which the current evaluation result of the change of the myocardial tissue is recorded in the storage unit.
  • the maximum evaluation result of the change in the myocardial tissue recorded in the storage unit is updated with the current evaluation result of the change in the myocardial tissue, and the updated maximum evaluation result of the change in myocardial tissue is obtained.
  • a signal for simultaneously reporting the evaluation result of the change of the myocardial tissue and the evaluation result of the contact state may be output by displaying the current evaluation result of the change of the myocardial tissue in a superimposed manner.
  • An evaluation method includes irradiating a tissue into which a photosensitive drug that absorbs excitation light and emits fluorescence is taken in, from the distal end portion of the laser catheter.
  • the fluorescence corresponding to the irradiated excitation light is extracted through the laser catheter.
  • the change of the tissue due to the reaction between the excitation light irradiated from the tip of the laser catheter and the photosensitive drug taken into the tissue is evaluated.
  • the tissue changes due to the reaction between the excitation light irradiated from the tip of the laser catheter and the photosensitizer incorporated in the tissue according to the intensity of the extracted fluorescence, and the laser.
  • the evaluation method further visually reflects the current evaluation result of the tissue change in the maximum evaluation result of the tissue change, and the evaluation result of the tissue change and the evaluation result of the contact state May be output simultaneously.
  • the evaluation method records the current evaluation result of the tissue change in a storage unit, and the current evaluation result of the tissue change is equal to or greater than the maximum evaluation result of the tissue change recorded in the storage unit.
  • the maximum evaluation result of the organizational change recorded in the storage unit is updated with the current evaluation result of the organizational change, and the current evaluation result of the organizational change is updated to the updated maximum evaluation result of the organizational change.
  • the evaluation method may acquire an electrocardiogram signal and evaluate the change in the tissue in accordance with the correlation between the electrocardiogram signal and the fluorescence intensity. By calculating the correlation between the electrocardiogram signal and the intensity of fluorescence, it is possible to discriminate in real time the tissue change due to the reaction between the excitation light and the photosensitive drug.
  • An evaluation method includes a photosensitive agent that absorbs excitation light and emits fluorescence, a laser catheter that can irradiate the excitation light from a distal end portion, a connection portion to which the laser catheter can be attached and detached, and the above
  • the photosensitive drug is taken up by the tissue.
  • the distal end portion of the laser catheter attached to the connection portion is guided to the tissue that has taken in the photosensitive drug.
  • Excitation light output from the light source is irradiated from the tip of the laser catheter to the tissue that has taken in the photosensitive drug.
  • the fluorescence corresponding to the irradiated excitation light is extracted through the laser catheter.
  • the change of the tissue due to the reaction between the excitation light irradiated from the tip of the laser catheter and the photosensitive drug taken into the tissue is evaluated.
  • the tissue changes due to the reaction between the excitation light irradiated from the tip of the laser catheter and the photosensitizer incorporated in the tissue according to the intensity of the extracted fluorescence, and the laser.
  • the evaluation method further visually reflects the current evaluation result of the tissue change in the maximum evaluation result of the tissue change, and the evaluation result of the tissue change and the evaluation result of the contact state May be output simultaneously.
  • the evaluation method records the current evaluation result of the tissue change in a storage unit, and the current evaluation result of the tissue change is equal to or greater than the maximum evaluation result of the tissue change recorded in the storage unit.
  • the maximum evaluation result of the organizational change recorded in the storage unit is updated with the current evaluation result of the organizational change, and the current evaluation result of the organizational change is updated to the updated maximum evaluation result of the organizational change.
  • the evaluation method may acquire an electrocardiogram signal and evaluate the change in the tissue according to the correlation between the electrocardiogram signal and the intensity of the fluorescence.
  • the progress of treatment using a laser catheter can be evaluated accurately and in real time, and the certainty of treatment can be ensured.
  • the numerical formula for calculating the contact degree with respect to the tissue inner wall of the laser catheter tip is shown.
  • PDT device photodynamic therapy device
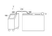
  • FIG. 1 is a schematic diagram showing a PDT apparatus according to a first embodiment of the present invention.
  • the PDT apparatus 1 includes a PDT apparatus main body 100, a tube 200 connected to the PDT apparatus main body 100, and a connector 210 provided at the tip of the tube 200.
  • the tube 200 is a hollow soft tube and can transmit light through a built-in device-attached optical fiber 201 (see FIG. 3).
  • the laser catheter 300 is detachably connected to the connector 210.
  • Photosensitive drugs are drugs that absorb and excite specific wavelengths of light and emit fluorescence.
  • talaporfin sodium Rezafilin (registered trademark), Meiji Seika Co., Ltd.
  • the drug has a Q-band absorption wavelength around 664 nm, for example, 600-800 nm, preferably 660-680 nm, and more preferably 664 ⁇ 2 nm is used as the excitation light source for this drug.
  • FIG. 2 is a schematic view showing a laser catheter inserted into the heart.
  • the laser catheter 300 is inserted into the right atrium 14 of the heart 10 through the femoral vein or jugular vein of the patient 2.
  • the laser catheter 300 that has reached the right atrium 14 passes through the septum and is guided to the left atrium 13.
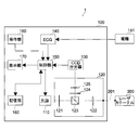
  • FIG. 3 is a block diagram showing the PDT apparatus main body.
  • the PDT apparatus main body 100 includes a light source 110, an optical system 120, a detection unit 130, an electrocardiogram acquisition unit 140, a control unit 150, a storage unit 160, a display unit 170, and an operation unit 180.
  • the light source 110 outputs excitation light of a photosensitive drug.
  • the wavelength of the light output from the light source 110 is equal to the absorption wavelength in the Q band of the photosensitive drug.
  • a photosensitizer having a Q-band absorption wavelength of around 664 nm a semiconductor laser having an oscillation wavelength of 600-800 nm, preferably 660-680 nm, more preferably 664 ⁇ 2 nm is used as the light source 110.
  • the excitation light output from the light source 110 enters the laser catheter 300 through the optical system 120.
  • the optical system 120 makes the excitation light emitted from the light source 110 incident on the laser catheter 300 connected to the connector 210 via the optical fiber 201 attached to the apparatus.
  • the optical system 120 extracts the fluorescence emitted from the photosensitive drug irradiated with the excitation light from the laser catheter 300 and enters the detection unit 130.
  • the optical system 120 includes a short pass filter 121, a first lens 122, a polarizing beam splitter (hereinafter referred to as “PBS”) 123, a long pass filter 124, and a second lens 125.
  • PBS polarizing beam splitter
  • the short pass filter 121 is a short wavelength transmission filter having a cut-on wavelength of 670 nm, and cuts radiation on the long wave side.
  • Excitation light from the light source 110 has a radiation component in the fluorescence observation wavelength region (longer wavelength side than the peak wavelength). Therefore, the radiation component on the long wave side of the excitation light is cut before the light is condensed on the laser catheter 300.
  • the excitation light transmitted through the short pass filter 121 is incident on the first lens 122.
  • the first lens 122 collects the excitation light incident from the short pass filter 121 on one end surface of the laser catheter 300.
  • the first lens 122 condenses the fluorescence from the distal end portion of the laser catheter 300 on the PBS 123.
  • a part of the excitation light from the light source 110 is reflected from the end face of the device-attached optical fiber 201 on the PDT device main body 100 side, the connector 210, or the distal end portion of the laser catheter 300, and enters the PBS 123 as specularly reflected light. .
  • specularly reflected lights become noise when detecting fluorescence.
  • the PBS 123 transmits the specularly reflected light reflected by the end face of the optical fiber in the tube 200 using the difference in deflection among the light incident from the first lens 122, and detects fluorescence and other end faces. The regular reflection light at is reflected and guided to the detector.
  • the fluorescence transmitted through the PBS 123 enters the long pass filter 124.
  • the long pass filter 124 does not transmit the specularly reflected light reflected from the inside of the connector 210 and the tip of the laser catheter 300 out of the light incident from the PBS 123, but transmits only the fluorescence and guides it to the detector.
  • the fluorescence that has passed through the long pass filter 124 enters the second lens 125.
  • the second lens 125 condenses the fluorescence incident from the long pass filter 124 on the detection unit 130.
  • the detection unit 130 is, for example, a linear image sensor, and spectrally detects fluorescence incident from the optical system 120. That is, the detection unit 130 detects fluorescence of the photosensitive drug that is light having an excitation wavelength and light longer than the light having the excitation wavelength. The detection unit 130 outputs the detected fluorescence intensity to the control unit 150 as an electrical signal.
  • the electrode pad 141 is connected to the electrocardiogram acquisition unit 140 via an electrode cord (not shown).
  • the electrocardiogram acquisition unit 140 acquires the electrocardiogram signal of the patient 2 via the electrode pad 141 and the electrode cord attached to the patient 2 and supplies the acquired electrocardiogram signal to the control unit 150.
  • the control unit 150 controls each unit in the PDT apparatus 1.
  • the control unit 150 calculates the fluorescence intensity based on the electrical signal acquired from the detection unit 130.
  • the control unit 150 calculates the drug concentration in the tissue or blood based on the calculated fluorescence intensity (drug concentration monitoring operation).
  • the control unit 150 determines whether or not additional drug administration is necessary based on the calculated drug concentration.
  • the control unit 150 determines the contact state of the laser catheter 300 with respect to the tissue based on the electrical signal acquired from the detection unit 130 (contact monitoring operation).
  • the control unit 150 determines the presence / absence of abnormalities such as foreign matter and damage and the cell-killing effect based on the change in the fluorescence intensity during the excitation light irradiation (foreign matter / damage monitoring operation and cell-killing effect determination operation).
  • the control unit 150 controls the light source 110 based on the determination result to stop the excitation light irradiation.
  • the control unit 150 determines whether or not an electric conduction block is formed based on the electric signal acquired from the detection unit 130 and the electrocardiogram signal acquired from the electrocardiogram acquisition unit 140 (discriminating operation for forming an electric conduction block).
  • the control unit 150 outputs to the display unit 170 display commands for displaying the various calculation results and determination results and various information.
  • the storage unit 160 is a non-volatile memory, and is set to, for example, a flash memory, an HDD (Hard Disk Drive), or other solid-state memory.
  • the control unit 150 includes information on the fluorescence intensity acquired from the detection unit 130, time information acquired from a time measurement unit (not shown) that measures an elapsed time from a reference time such as a time at which excitation light irradiation is started, and the like. Are associated with each other and recorded in the storage unit 160 as a change in fluorescence intensity over time.
  • the control unit 150 associates the information related to the electrocardiogram signal acquired from the electrocardiogram acquisition unit 140 with the time information, and records them in the storage unit 160 as an electrocardiogram.
  • the display unit 170 is a display device using, for example, a liquid crystal display.
  • the display unit 170 displays, for example, information on the fluorescence intensity, information on the electrocardiogram signal, time information, and the like on the display screen based on the display information included in the display command.
  • the operation unit 180 receives a command by an input operation from the practitioner, and outputs the received command to the control unit 150.
  • the command is, for example, a command related to on / off of excitation light output from the light source 110, intensity switching, and the like.
  • the intensity of the excitation light is at least a first intensity of low power (for example, an optical output of 1 mW or less) that is minimally invasive to tissues and blood, and a high power of about 1000 times the first intensity. Two types with two intensities can be selected. The first intensity is selected when the drug concentration or the contact state of the laser catheter 300 is monitored before treatment. The second intensity is selected when performing the treatment. The first intensity is a fixed value, and the second intensity may be variable.
  • the laser catheter 300 emits excitation light from the distal end portion.
  • FIG. 4 is a cross-sectional view showing the distal end portion of the laser catheter.
  • the laser catheter 300 includes a catheter tube 310, a support part 320, an optical fiber 330, and an optical window 340.
  • the catheter tube 310 is a hollow soft tube and is guided to the inner wall of the myocardial tissue of the heart 10 of the patient 2.
  • the catheter tube 310 contains an optical fiber 330.
  • the support part 320 is fixed to the catheter tube 310.
  • the support part 320 holds the optical fiber 330 and the optical window 340 with respect to the catheter tube 310.
  • the optical fiber 330 is, for example, one quartz step index fiber having a core diameter of 133 ⁇ m and an outer shape of 500 ⁇ m.
  • the optical fiber 330 transmits the excitation light from the PDT device 1.
  • the optical fiber 330 emits the transmitted excitation light as irradiation light 301 to the optical window 340 from the tip.
  • the beam diameter of the irradiation light 301 increases at an angle determined by the opening (NA) of the optical fiber 330.
  • the tip of the optical fiber 330 is processed so that the beam diameter of the irradiation light 301 is appropriately increased.
  • the optical fiber 330 transmits the fluorescence emitted by the photosensitive drug taken into the tissue irradiated with the excitation light to the PDT device 1.
  • the optical window 340 is provided on the outermost part of the distal end portion of the laser catheter 300 so as to be optically continuous with the distal end of the optical fiber 330.
  • the optical window 340 is made of a solid transparent material, for example, a glass material such as BK7.
  • the optical window 340 transmits the irradiation light 301 emitted from the tip of the optical fiber 330 as an irradiation unit.
  • the optical window 340 as a light receiving unit, condenses the fluorescence emitted by the photosensitive drug at the tip of the optical fiber 330.
  • the number of optical fibers built into the laser catheter be one, particularly in diseases requiring an approach from the heart chamber such as atrial fibrillation and ventricular flutter.
  • it is necessary to detect fluorescence with low power intensity that does not affect the living body it is necessary to configure a measurement system with a high SN (Signal-Noise) ratio with a single optical fiber.
  • the PBS 123 and the long pass filter 124 remove regular reflection light from the fiber incident end face, and the short pass filter 121 removes the radiation component on the long wave side of the excitation light. Accordingly, the detection unit 130 can detect fluorescence with a high SN ratio while the laser fiber 300 uses the irradiation fiber and the detection fiber as one optical fiber 330. As a result, fluorescence can be detected with a low power that does not affect the living body. Thereby, in the treatment and diagnosis of a circulatory system disease, a minimally invasive diagnosis is possible even though the laser catheter is sufficiently thin and capable of increasing the curvature.
  • FIG. 5 is a flowchart showing the operation of the PDT apparatus.
  • Steps S101 to S103 (2) Drug concentration monitoring operation (steps S104 to S105)
  • the light source 110 outputs the excitation light at the first intensity
  • the control unit 150 calculates the drug concentration over time based on the fluorescence intensity detected by the detection unit 130, and the calculated drug concentration is calculated. Based on the above, it is determined whether or not additional drug administration is necessary.
  • step S106 to S108 In the contact monitoring operation, the light source 110 outputs excitation light at a first intensity, and the control unit 150 determines the contact state of the laser catheter 300 with respect to the tissue inner wall based on the fluorescence intensity detected by the detection unit 130, and the excitation light. The irradiation protocol (intensity, time, etc.) is calculated.
  • step S109 to S112 In the foreign object / damage monitor operation, the light source 110 outputs excitation light at the second intensity, and the control unit 150 uses an appropriate treatment protocol based on the fluorescence intensity detected by the detection unit 130 for any reason during laser irradiation.
  • step S113 In the cell killing effect determination operation, the light source 110 outputs excitation light at the second intensity, and the control unit 150 performs cell killing in the tissue irradiated with the excitation light based on the fluorescence intensity detected by the detection unit 130. Determine if it was effective.
  • Electric conduction block formation discrimination operation steps S114 to S117
  • the electrical conduction block is a block in which the conduction of electrical pulses from the abnormal excitation site to the left atrium is blocked by necrotizing the myocardial tissue surrounding the abnormal excitation site.
  • the determination operation of the electric conduction block formation is determined by calculating the time change data of the fluorescence intensity used in the cell killing effect determination operation (step S113) and the electrocardiographic waveform data by the control unit.
  • the formation of the electrical conduction block may be determined by rearranging the laser catheter in the electrical conduction block, changing the light source 110 to the first intensity, and performing the same processing.
  • FIG. 6 is a schematic diagram showing a laser catheter inserted into the left atrium.
  • an operator such as a doctor inserts the laser catheter 300 into the heart 10 through the femoral vein or jugular vein of the patient 2.
  • the distal end portion of the laser catheter 300 is disposed in the vicinity of the pulmonary vein 12 on the inner wall of the myocardial tissue 11 of the left atrium 13 (step S101).
  • step S102 administers a photosensitive drug to the patient 2 with reference to various reference data
  • step S103 administers a photosensitive drug to the patient 2 with reference to various reference data.
  • a description will be given on the assumption that an amount of a photosensitive drug necessary for treatment is administered to patient 2 by intravenous injection.
  • the administered photosensitive drug diffuses into the blood and is taken up by the tissue.
  • a drug concentration monitoring operation is performed.
  • the practitioner operates the operation unit 180 to input an excitation light output command with a low power first intensity to the control unit 150.
  • the control unit 150 outputs the excitation light output command with the first intensity to the light source 110.
  • the light source 110 receives the excitation light output command from the control unit 150, the light source 110 outputs the excitation light with the first intensity.
  • the excitation light output from the light source 110 is applied to the tissue and blood via the optical system 120 and the laser catheter 300.
  • the photosensitive drug taken into the tissue or blood absorbs the excitation light from the laser catheter 300 and emits fluorescence.
  • the fluorescence emitted by the photosensitive drug is extracted by the optical system 120 via the laser catheter 300 and is incident on the detection unit 130.
  • the detection unit 130 detects the incident fluorescence, and outputs the detected fluorescence intensity to the control unit 150 as an electrical signal.
  • the control unit 150 calculates the fluorescence intensity based on the electrical signal acquired from the detection unit 130.
  • the control unit 150 starts recording the temporal change of the fluorescence intensity in the storage unit 160 as a log that associates the calculated fluorescence intensity with the time information acquired from the time measurement unit (not shown).
  • the control unit 150 Based on the calculated fluorescence intensity and the elapsed time from the reference time such as the time when the intravenous injection is started, the control unit 150 generates display information related to the temporal change of the fluorescence intensity, and includes the generated display information.
  • the command is output to the display unit 170.
  • the display unit 170 displays the change in fluorescence intensity with time on the display screen based on the display information included in the display command. For example, the display unit 170 displays the change in fluorescence intensity over time as a graph on the display screen.
  • FIG. 7 is a graph showing changes in fluorescence intensity over time.
  • a photosensitive drug resaphyrin
  • excitation light semiconductor laser, oscillation wavelength, for example, 600-800 nm, preferably 660--, which matches the absorption band of the drug.
  • 680 nm, more preferably 664 ⁇ 2 nm, 400 ⁇ W shows the change over time in fluorescence intensity (Intensity).
  • the distal end of the laser catheter 300 was placed in the pig right atrium.
  • the fluorescence intensity in blood monotonously decreased after drug administration.
  • the fluorescence intensity in the myocardial tissue increased until a certain time after the drug administration, and then decreased.
  • the fluorescence intensity in blood is larger than the fluorescence intensity in myocardial tissue.
  • FIG. 8 is a graph showing the correlation between fluorescence intensity and drug concentration.
  • the figure shows the correlation between the absolute value of the drug concentration (PS concentration) obtained by the blood collection method and the fluorescence intensity (Intensity) when the excitation light shown in the previous figure is irradiated on the blood.
  • the absolute value of the drug concentration and the fluorescence intensity almost coincided. That is, the drug concentration can be monitored in real time based on the fluorescence intensity calculated over time.
  • the control unit 150 calculates the drug concentration in the tissue and blood based on the calculated fluorescence intensity (step S104).
  • the control unit 150 starts recording the change over time in the drug concentration in the storage unit 160 as a log in which the calculated drug concentration is associated with the time information acquired from the time measurement unit (not shown).
  • the control unit 150 also generates display information regarding the change over time of the drug concentration based on the calculated drug concentration and the elapsed time from the reference time such as the time when the intravenous injection is started, and displays the generated display information.
  • a display command including the same is output to the display unit 170.
  • the display unit 170 displays the change in the drug concentration with time on the display screen based on the display information included in the display command. For example, the display unit 170 displays changes over time in the drug concentration as a graph on the display screen.
  • FIG. 9 is a graph showing changes in drug concentration over time.
  • the fluorescence intensity in blood is greater than that in myocardial tissue, and there is a correlation between fluorescence intensity and drug concentration. Accordingly, the concentration of the drug in the blood monotonously decreases after the administration of the drug, similarly to the change with time of the fluorescence intensity in the blood.
  • the drug concentration in the tissue increases until a certain time after the drug administration, and decreases thereafter, in the same manner as the change in fluorescence intensity in the tissue over time. Further, the drug concentration in the blood shows a higher level than the drug concentration in the tissue.
  • the control unit 150 determines whether or not the calculated drug concentration is equal to or greater than a threshold value (step S105). When determining that the drug concentration is equal to or higher than the threshold, the control unit 150 estimates that the drug concentration is sufficient, and proceeds to a contact monitoring operation (Yes in step S105). On the other hand, when the control unit 150 determines that the drug concentration is less than the threshold, the control unit 150 estimates that the drug concentration is insufficient, generates display information that prompts additional drug administration, and displays a display command including the generated display information. Output to 170. When the display unit 170 obtains a display command from the control unit 150, the display unit 170 displays information that prompts the practitioner to administer additional photosensitizer based on the display information included in the display command (No in step S105).
  • the practitioner such as a doctor can obtain the fluorescence intensity without calculating the drug concentration by the control unit 150.
  • the drug concentration can be estimated from
  • a method for monitoring a change in drug concentration in blood a method is known in which the absorbance of blood collected at regular intervals after drug administration is measured.
  • this method limits the number of plots because the amount of blood that can be collected is limited, and the concentration cannot be measured in real time.
  • a method of monitoring by creating a bypass route outside the body, irradiating light to blood passing through the route, and observing the fluorescence intensity is known.
  • this method requires attention to hygiene.
  • a method for monitoring the drug concentration in a tissue a method is known in which a part of carbon constituting a drug is simultaneously converted to an isotope, and the drug concentration in each tissue is monitored from the radiation dose.
  • the change with time of the drug concentration correlated with the fluorescence intensity can be calculated by calculating the change with time of the fluorescence intensity.
  • tissue and blood can be monitored in real time.
  • it is less invasive than the above conventional monitoring method and it is possible to monitor a change in the drug concentration over time stably and with high reproducibility.
  • the change in the drug concentration over time is monitored via a catheter using the excitation light from the light source 110 of the PDT device 1, it is not necessary to add a drug concentration detection device separately, and low cost and space saving can be realized.
  • the drug concentration can be monitored in real time, it is possible to perform discrimination assistance for additional drug administration in real time.
  • the drug concentration monitoring operation of the present embodiment is not limited to PDT, and can also be executed in treatment and diagnosis using a drug that absorbs excitation light and emits fluorescence. It is important to understand pharmacokinetics (drug delivery) in treatment and diagnosis using drugs.
  • the drug concentration of a desired tissue can be measured in real time and microscopically via a catheter, and the dynamics of various drugs can be grasped.
  • the drug concentration monitoring operation of the present embodiment can also be executed in a system (DDS, Drug Delivery System) that allows a drug to reach only a specific location, and evaluates whether the drug has actually reached a local area. Useful to do.
  • DDS Drug Delivery System
  • FIG. 10 is a schematic diagram showing a contact state of the laser catheter.
  • the laser catheter 300 is desirably arranged so that the distal end as a light emitting portion is in perpendicular contact with the inner wall of the myocardial tissue 11 (see FIG. 10A, hereinafter referred to as “vertical contact state”). This is because the atrial blood 15 is excluded from the tip of the laser catheter 300 to suppress activation of the photosensitive drug in the atrial blood 15. Another reason is to selectively activate the photosensitive drug taken into the tissue by bringing the tip of the laser catheter 300 into direct contact with the tissue. However, it is difficult to recognize the accurate contact state of the distal end portion of the laser catheter 300 by X-ray imaging or tactile sense.
  • the distal end portion of the laser catheter 300 is not always in a vertical contact state with the tissue.
  • the blood 15 may be interposed between the distal end portion of the laser catheter 300 and the tissue, and the distal end portion may be present in the blood (see FIG. 10C, hereinafter referred to as “non-contact state”).
  • the distal end portion of the laser catheter 300 may contact the tissue obliquely, and blood 15 may partially exist in the gap between the distal end portion and the tissue (see FIG. 10B, hereinafter “oblique contact state”). ”).
  • the contact state of the tip of the laser catheter 300 that is, whether it is in a contact state or a non-contact state, a contact angle in a contact state (vertical contact state / oblique contact state), etc. Monitored.
  • the “contact angle” does not mean only a narrow angle value, but a broad contact angle indicating whether the contact state of the tip of the laser catheter 300 with respect to the tissue is vertical or oblique. Is also meant.
  • the light source 110 outputs excitation light to the optical system 120 at the first intensity
  • the control unit 150 calculates the fluorescence intensity and the drug concentration
  • the display unit 170 displays the change over time in the fluorescence intensity on the display screen.
  • the display unit 170 displays a change in fluorescence intensity over time as a graph on the display screen.
  • FIG. 11 is a graph showing changes in fluorescence intensity over time.
  • This figure is a graph showing the change in fluorescence intensity over time under the same conditions as in FIG.
  • the A line has low fluorescence intensity
  • the C line has high fluorescence intensity
  • the B line fluctuated between the fluorescence intensity of the A line and the fluorescence intensity of the C line.
  • a change in fluorescence intensity with time when the tip of the laser catheter 300 is in a vertical contact state, an oblique contact state, and a non-contact state is shown in one graph.
  • the C line is considered to indicate the fluorescence intensity when the laser catheter 300 irradiates blood with excitation light. Therefore, when the fluorescence intensity such as C line is calculated, it is considered that the fluorescence intensity in the blood is reflected because the distal end portion of the laser catheter 300 is not in contact with the tissue.
  • line B Since the B line is located between the fluorescence intensity of the A line and the fluorescence intensity of the C line, it is considered that the distal end portion of the laser catheter 300 is in an oblique contact state with the tissue. Further, since the contact object at the tip of the laser catheter 300 is a moving myocardial tissue, the laser catheter 300 moves following the movement of the tissue.
  • the distal end portion of the laser catheter 300 when the distal end portion of the laser catheter 300 is in contact with the tissue obliquely, the blood volume between the distal end portion of the laser catheter 300 and the tissue is likely to change during measurement.
  • the blood flow in the myocardial tissue and the atrium also changes according to the heart rate. Under these influences, the fluorescence intensity fluctuation of the B line becomes larger than that of the A line and the C line.
  • the laser catheter 300 may be affected by the movement of the myocardial tissue.
  • the contact state of the distal end portion of the laser catheter 300 varies between a contact state (a vertical contact state and an oblique contact state) and a non-contact state.
  • the fluctuation of the fluorescence intensity becomes more severe. Therefore, it can be determined whether or not the laser catheter 300 follows the movement of the myocardial tissue based on the fluctuation of the fluorescence intensity shown in the waveform. For example, in the A line in the graph, the fluorescence intensity in the vicinity of 4 seconds after drug administration is high because the tip of the laser catheter 300 instantaneously changed from the vertical contact state to the non-contact state and returned to the vertical contact state again. Indicates.
  • the control unit 150 determines the contact state (contact / non-contact, contact angle at the time of contact) of the tip of the laser catheter 300 based on the calculated fluorescence intensity (step S106). Specifically, when determining that the calculated fluorescence intensity is greater than or equal to the first threshold, the control unit 150 determines a non-contact state (C line). When determining that the minimum value of the fluorescence intensity is smaller than the second threshold value or smaller than the second threshold value or at the same level, the control unit 150 determines the vertical contact state (A line). When it is determined that the fluorescence intensity fluctuates at a constant cycle between the first threshold value and the second threshold value, the control unit 150 determines the oblique contact state (line B).
  • the control unit 150 uses the display unit 170 to notify the practitioner of the determined contact state. Specifically, when the control unit 150 determines the oblique contact state or the non-contact state, the control unit 150 generates display information that prompts the contact state change of the distal end portion of the laser catheter 300 and displays a display command including the generated display information. Output to 170. When the display unit 170 obtains a display command from the control unit 150, the display unit 170 displays information that prompts the practitioner to change the contact state of the distal end portion of the laser catheter 300 based on the display information included in the display command (step S107). The practitioner can change the contact state of the distal end portion of the laser catheter 300 with the tissue by operating a handpiece (not shown) provided on the laser catheter 300.
  • the control unit 150 continues to calculate the fluorescence intensity and the drug concentration.
  • the control unit 150 refers to the fluorescence intensity and the drug concentration stored in the storage unit 160.
  • the control unit 150 calculates the amount of blood existing in the gap between the tip of the laser catheter 300 and the tissue based on the referenced fluorescence intensity. Based on the calculated blood volume and the referenced drug concentration, the control unit 150 calculates the excitation light irradiation protocol during treatment, that is, the second intensity and irradiation time of the excitation light (step S108). .
  • the control unit 150 When calculating the excitation light irradiation protocol, the control unit 150 generates display information related to the irradiation protocol and outputs a display command including the generated display information to the display unit 170.
  • the display unit 170 When the display unit 170 obtains a display command from the control unit 150, the display unit 170 displays information related to the excitation light irradiation protocol (second intensity, irradiation time) based on the display information included in the display command. As described above, the control unit 150 calculates the drug concentration and blood volume based on the fluorescence intensity, and calculates the excitation light irradiation protocol based on the calculated drug concentration and blood volume. That is, the control unit 150 can calculate the excitation light irradiation protocol based on the fluorescence intensity.
  • the control unit 150 Since the temporal change in fluorescence intensity varies depending on the contact state of the distal end portion of the laser catheter 300, if the temporal change in fluorescence intensity is displayed on the display screen by the display unit 170, the control unit 150 does not determine the contact state. Even so, the practitioner can estimate the contact state from the change in fluorescence intensity over time.
  • the potential measurement is a method of determining the contact state with the myocardial tissue by measuring the potential because the myocardial tissue is contracting by potential propagation.
  • the distal end portion of the catheter contact portion with the myocardial tissue
  • part will be provided in sites other than the front-end
  • the light irradiation site and the potential measurement site are inconsistent, and there is a possibility that the diagnosis region and the treatment region are misaligned so that accurate treatment cannot be performed.
  • the electrode area is reduced, the accuracy of angle determination may be reduced.
  • the temperature measurement is a method for identifying an occlusion by temperature measurement in a disease having a blood vessel occlusion (see JP-T-2007-525263). However, it is a diagnostic method limited to an obstructed part and cannot be applied to a disease having no occluded space such as atrial fibrillation and ventricular flutter. In addition, unnecessary heat may be applied to the normal blood vessel wall.
  • Force measurement pressure, stress is a method of specifying a contact object by mounting a pressure sensor or stress sensor on a catheter (Japanese translations of PCT publication No. 2009-542371, US Pat. No. 6,696,808, US Pat. (See 2008/0009750, International Publication No.
  • the reflected light measurement using a multicolor light source is a method that uses an absorption coefficient that varies depending on the wavelength. Specifically, a multicolor light source is used to discriminate the tissue from the difference in reflectance at each wavelength (see Japanese Patent No. 4261101). In this method, the blood volume between the catheter and the tissue can be estimated, but since a plurality of light sources are prepared, the optical system becomes complicated, the apparatus becomes large, and the cost may increase.
  • the contact state and the follow-up movement to the desired tissue can be discriminated in real time via a catheter by detecting the fluorescence intensity.
  • This method is minimally invasive because it does not require blood removal or the like.
  • the excitation light irradiation protocol can be calculated based on the determined contact state and the like, safe and reliable treatment and diagnosis can be assisted.
  • a foreign object / damage monitoring operation is performed.
  • the practitioner refers to the excitation light irradiation protocol displayed on the display unit 170 and operates the operation unit 180 to input an excitation light output command at a high power second intensity to the control unit 150.
  • the control unit 150 outputs the excitation light output command with the second intensity to the light source 110.
  • the light source 110 receives the excitation light output command from the control unit 150, the light source 110 outputs the excitation light with the second intensity.
  • the excitation light output from the light source 110 is applied to the tissue via the optical system 120 and the laser catheter 300, and photodynamic treatment is performed (step S109).
  • the control unit 150 calculates the fluorescence intensity based on the electrical signal acquired from the detection unit 130. Based on the calculated fluorescence intensity and the elapsed time from the reference time such as the time when the intravenous injection is started, the control unit 150 generates display information related to the temporal change of the fluorescence intensity, and includes the generated display information.
  • the command is output to the display unit 170.
  • the display unit 170 acquires the display command from the control unit 150, the display unit 170 displays the change in fluorescence intensity with time on the display screen based on the display information included in the display command.
  • the control unit 150 determines whether or not the calculated fluorescence intensity is greater than or equal to a threshold value (step S110).
  • This threshold is, for example, a value that is several times greater than the normal fluorescence intensity.
  • FIG. 19 is a graph showing the relationship between wavelength and fluorescence intensity. This figure shows the relationship between the wavelength (Wavelength) and the fluorescence intensity (Intensity) of a laser catheter or a normal laser catheter that may be in contact with or damaged by a foreign substance. It can be seen that when the tip of the laser catheter comes into contact with or is damaged by a foreign substance other than the living tissue, the fluorescence intensity becomes stronger than the normal fluorescence intensity.
  • controller 150 determines that the fluorescence intensity is greater than or equal to the threshold, that is, if it is determined that the fluorescence intensity has increased several times as much as the previous fluorescence intensity is disregarded, it estimates that there is a foreign object or damage (in step S110). Yes).
  • the control unit 150 When it is estimated that there is a foreign object or damage, the control unit 150 generates display information regarding the end of excitation light irradiation and the occurrence of the foreign object / damage, and outputs a display command including the generated display information to the display unit 170.
  • the display information related to the occurrence of foreign matter / breakage includes information that prompts the stop of the excitation light irradiation, resetting of the irradiation time, resetting of the irradiation power, inspection of the laser catheter 300, and the like.
  • the display unit 170 obtains a display command from the control unit 150, the display unit 170 displays the information regarding the end of excitation light irradiation (step S111) and the occurrence of foreign matter / damage to the practitioner based on the display information included in the display command (step S112). ).
  • control unit 150 also estimates that there is foreign matter or damage when detecting an abnormal intensity increase at any wavelength other than the fluorescence wavelength (excitation light wavelength, etc.) (Yes in step S110), and the same processing is performed. (Step S111, Step S112) may be performed.
  • the controller 150 estimates that there is no foreign matter or damage, and proceeds to the cell killing effect determination operation (No in step S110).
  • the controller 150 does not have to estimate the occurrence of the foreign object or damage. However, the practitioner can estimate the occurrence of foreign matter or damage from the fluorescence intensity.
  • the laser catheter 300 may come into contact with another catheter. For example, if light is emitted from the laser catheter 300 in contact with another catheter placed in the heart chamber, both catheters may lose their functions. If irradiation of the excitation light is continued without noticing the abnormality of the distal end portion of the laser catheter 300, the distal end portion of the laser catheter 300 generates heat and there is a risk of causing thermal damage to the living body. Further, the catheter on the contact side may not be able to perform its function.
  • the foreign object / breakage monitoring operation of the present embodiment when the object is in contact with other than the living tissue, strong reflected light is measured, so that the occurrence of the foreign object / breakage can be estimated in a catheter-like manner in real time. Accordingly, the operator can be encouraged to inspect the laser catheter 300, so that treatment can be performed extremely safely without causing harm to the patient.
  • the photosensitive drug taken into the tissue absorbs excitation light from the laser catheter 300 to obtain energy, and changes from a ground state to a singlet excited state. Most energy shifts from a singlet excited state to a triplet excited state due to intersystem crossing, but the remaining part returns from the singlet state to the ground state, and emits fluorescence at this time.
  • the photosensitizer in the triplet excited state collides with oxygen in the triplet state, energy is transferred to oxygen, and singlet oxygen having strong oxidizing power is generated. This oxidizing power damages the tissue and destroys (bleaching) the photosensitive drug.
  • the fluorescence emitted by the photosensitive drug is extracted by the optical system 120 via the laser catheter 300 and is incident on the detection unit 130.
  • the detection unit 130 detects fluorescence incident from the optical system 120, and outputs the detected fluorescence intensity to the control unit 150 as an electrical signal.
  • the light source 110 outputs excitation light to the optical system 120 at the second intensity
  • the control unit 150 calculates the fluorescence intensity
  • the display unit 170 displays the change in fluorescence intensity over time on the display screen.
  • the display unit 170 displays the change in fluorescence intensity over time as a graph on the display screen.
  • FIG. 12 is a graph showing changes in fluorescence intensity over time.
  • the figure shows the time-dependent change of fluorescence intensity when excitation light irradiation is performed for 20 seconds at 20 minutes after intravenous injection of a photosensitive drug into pigs.
  • the decrease in the amount of fluorescence serves as an index of bleaching and tissue damage, so that the progress of PDT can be displayed in real time by displaying the decay curve of the fluorescence intensity.
  • the control unit 150 determines whether or not the calculated fluorescence intensity has been attenuated to less than a threshold value (step S113). When determining that the fluorescence intensity has attenuated to less than the threshold, the control unit 150 estimates that there is a cell killing effect in the tissue irradiated with the excitation light (Yes in step S113). And the control part 150 produces
  • the display unit 170 obtains a display command from the control unit 150, the display unit 170 displays information on the cell killing effect indicator to the practitioner based on the display information included in the display command. The practitioner refers to the information regarding the cell killing effect index displayed on the display unit 170, and shifts to the determination operation of the electric conduction block formation.
  • the controller 150 prompts extension of excitation light irradiation or resetting of the light intensity based on the calculated fluorescence intensity.
  • Display information is generated, and a display command including the generated display information is output to the display unit 170 (No in step S113).
  • the display unit 170 obtains a display command from the control unit 150, the display unit 170 displays information that prompts the practitioner to extend the excitation light irradiation or reset the light intensity based on the display information included in the display command.
  • control unit 150 proceeds to the operation of step S108.
  • the control unit 150 since it can be estimated that there was a cell killing effect when the fluorescence intensity was attenuated to less than a threshold value, if the fluorescence intensity is displayed on the display screen by the display unit 170, the control unit 150 does not have to estimate the presence or absence of the cell killing effect. The practitioner can estimate the cell killing effect from the fluorescence intensity.
  • the damage to the cardiomyocytes progressing in the tissue irradiated with the excitation light that is, the therapeutic effect in real time. Since it can be measured by transcatheter, reliable treatment is possible.
  • the practitioner places the distal end portion of the laser catheter 300 in the electric conduction block (in the alternate long and short dash line shown in FIG. 13) or the excitation light irradiation site. Then, the practitioner operates the operation unit 180 to input an excitation light output command at the first intensity with low power to the control unit 150.
  • the control unit 150 outputs the excitation light output command with the first intensity to the light source 110.
  • the light source 110 receives the excitation light output command from the control unit 150, the light source 110 outputs the excitation light with the first intensity.
  • the excitation light output from the light source 110 is applied to the tissue via the optical system 120 and the laser catheter 300.
  • the photosensitive drug taken into the tissue absorbs excitation light from the laser catheter 300 and emits fluorescence.
  • the fluorescence emitted by the photosensitive drug is extracted by the optical system 120 via the laser catheter 300 and enters the detection unit 130.
  • the detection unit 130 detects fluorescence incident from the optical system 120, and outputs the detected fluorescence intensity to the control unit 150 as an electrical signal.
  • the controller 150 calculates the fluorescence intensity based on the acquired electrical signal.
  • the electrocardiogram acquisition unit 140 acquires an electrocardiogram signal and supplies the acquired electrocardiogram signal to the control unit 150.
  • the control unit 150 generates display information based on the calculated fluorescence intensity and the acquired electrocardiogram signal, and outputs a display command including the generated display information to the display unit 170.
  • the display unit 170 displays the correlation between the fluorescence intensity and the R wave of the electrocardiogram on the display screen based on the display information included in the display command.
  • FIG. 14 is a diagram showing the relationship between ECG, intracardiac pressure, and coronary blood flow that governs the blood flow of myocardial tissue, and the premise described in “Essential Anatomy and Physiology” (Gakken Medical Shujunsha, 2001) This knowledge is useful for the following explanation. As shown in the figure, the temporal change in blood flow differs between the blood flow in the heart chamber and in the myocardial tissue.
  • the blood flow in the heart chamber reaches a peak when it coincides with the R wave, whereas the blood flow in the myocardial tissue of the right heart system is delayed by about 400 ms when the first peak is delayed by about 200 ms from the R wave. A second peak appears at the time.
  • FIG. 15 is a diagram showing the correlation between the fluorescence intensity and the R wave when the laser catheter is in a vertical contact state.
  • a correlation between the fluorescence intensity (for example, when the irradiation power is 900 mW) and the R wave when the distal end portion of the laser catheter 300 is in a vertical contact state will be described.
  • a fluorescence peak is observed at a delay of about 100 ms and 400 ms with respect to the R wave.
  • the change is proportional to the left coronary blood flow in the previous figure. This is because the ventricle contracts when an R wave is generated, and blood is supplied to the whole body (including myocardial tissue). Since blood contains a photosensitive drug, the fluorescence intensity of the myocardial tissue is highest when blood is supplied to the blood vessels of the myocardium. For this reason, a fluorescence intensity peak occurs after a predetermined time from R wave generation.
  • FIG. 16 is a diagram showing the correlation between the fluorescence intensity and the R wave when the laser catheter is in an oblique contact state.
  • a correlation between the fluorescence intensity (for example, when the irradiation power is 900 mW) and the R wave when the distal end portion of the laser catheter 300 is in an oblique contact state will be described.
  • the oblique contact state blood exists in the gap, and the control of the blood flow in the heart chamber becomes stronger, so the peak of the fluorescence intensity matches the R wave.
  • the phase difference between the R wave and the fluorescence intensity peak is clearly different, and the phase difference is constant if the contact state is maintained.
  • the control unit 150 determines whether or not the electric conduction block is formed by determining whether the phase difference between the fluorescence intensity and the R wave is constant based on the calculated fluorescence intensity and the acquired electrocardiogram signal. It discriminate
  • FIG. 13 is a schematic diagram showing a locus of movement of the laser catheter.
  • the practitioner moves the tip of the laser catheter 300 so as to surround the abnormal excitation site of the pulmonary vein (PV, Pulmonary Vein) (one-dot chain line or dotted line in the figure).
  • PV pulmonary vein
  • Pulmonary Vein one-dot chain line or dotted line in the figure.
  • the control unit 150 determines that an electric conduction block has been formed (Yes in step S114), and terminates the excitation light irradiation to the practitioner and the laser catheter.
  • a display command that prompts removal of 300 is generated, and a display command including the generated display information is output to the display unit 170.
  • the display unit 170 obtains a display command from the control unit 150, based on the display information included in the display command, the display unit 170 displays information prompting the practitioner to end the excitation light irradiation and to remove the laser catheter 300 on the display screen. Is finished (step S115).
  • an electrically conductive block is formed when the fluorescence intensity and the phase difference between the R waves are not constant.
  • the electrically conductive block in which the injured cardiomyocytes are formed in a box shape does not contract itself but moves so as to follow the contraction motion of the nearby myocardial tissue.
  • the contact state of the tip of the laser catheter 300 becomes unstable and changes every moment.
  • the phase difference between the fluorescence intensity and the R wave becomes unstable.
  • the correlation between the fluorescence intensity and the R wave is in a state where the correlation shown in FIGS. 15 and 16 is performed.
  • the formation of the electric conduction block can be discriminated in real time based on the phase difference between the fluorescence intensity and the R wave of the electrocardiogram. Specifically, when the fluorescence intensity peak occurs after a predetermined time from the R wave, it can be determined that the electric conduction block is not formed and the distal end portion of the laser catheter 300 is in a vertical contact state. When the peak of the fluorescence intensity and the R wave are generated substantially simultaneously, it can be determined that the electrically conductive block is not formed and the tip of the laser catheter 300 is in an oblique contact state. When the phase difference with respect to the R wave at the peak of the fluorescence intensity is not constant, it can be determined that an electric conduction block is formed.
  • the control unit 150 Even without estimating the presence or absence of the electric conduction block formation, the practitioner can estimate the presence or absence of the electric conduction block formation from the correlation between the fluorescence intensity and the R wave.
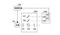
  • FIG. 17 is a block diagram illustrating an optical system, a detection unit, and the like according to the second embodiment of the present invention.
  • the optical system 120 a includes a short pass filter 121, a first lens 122, a PBS 123, a first dichroic mirror (hereinafter referred to as “DM”) 126, and a second DM 127.
  • DM first dichroic mirror
  • the detection unit 130a includes a first photodiode (hereinafter referred to as “PD”) 131 and a second PD 132.
  • PD first photodiode
  • the first DM 126 reflects light of a specific wavelength out of light incident from the PBS 123 and transmits light of other wavelengths. As a result, the first DM 126 reflects part of the fluorescence from the laser catheter 300 and transmits the fluorescence and specularly reflected light from the laser catheter 300 having other wavelengths.
  • the fluorescence reflected by the first DM 126 is incident on the first PD 131.
  • the first PD 131 detects the fluorescence incident from the first DM 126.
  • the first PD 131 outputs the detected fluorescence intensity to the control unit 150 as an electrical signal.
  • the second DM 127 reflects light of a specific wavelength out of the light transmitted through the first DM 126 and transmits light of other wavelengths. Thereby, the second DM 127 reflects a part of the fluorescence transmitted through the first DM 126 and transmits the fluorescence having the other wavelengths and the specular reflection light.
  • the fluorescence reflected by the second DM 127 is incident on the second PD 132.
  • the second PD 132 detects the fluorescence incident from the second DM 127.
  • the second PD 132 outputs the detected fluorescence intensity to the control unit 150 as an electrical signal.
  • the optical system 120a may further include a DM having the same configuration as the first DM 126 and the second DM 127. In this way, finally, the plurality of DMs 126, 127... Reflect the fluorescence from the laser catheter 300, and the plurality of PDs 131, 132. The plurality of DMs 126, 127... Transmit regular reflection light.
  • a pulsed light source may be used as the light source 110 to separate temporally reflected light from the fiber incident end face from the difference in optical path length (about twice the length of the laser catheter 300).
  • the step of contact monitoring is executed based on the phase difference between the fluorescence intensity peak and the R wave in the RR wave interval.
  • the discriminating operation for forming the electric conduction block of the first embodiment the formation of the electric conduction block was discriminated based on the phase difference between the peak of the fluorescence intensity at the RR wave interval and the R wave. This principle may be used for the contact monitoring operation.
  • the light source 110 outputs excitation light to the optical system 120 with a first intensity.
  • the detection unit 130 detects fluorescence incident from the optical system 120.
  • the detection unit 130 outputs the detected fluorescence intensity to the control unit 150 as an electrical signal.
  • the controller 150 calculates the fluorescence intensity based on the acquired electrical signal.
  • the electrocardiogram acquisition unit 140 acquires an electrocardiogram signal and supplies the acquired electrocardiogram signal to the control unit 150.
  • the control unit 150 generates display information based on the calculated fluorescence intensity and the acquired electrocardiogram signal, and outputs a display command including the generated display information to the display unit 170.
  • the display unit 170 displays the correlation between the fluorescence intensity and the R wave of the electrocardiogram on the display screen based on the display information included in the display command.
  • the control unit 150 determines the contact state of the distal end portion of the laser catheter 300 based on the calculated fluorescence intensity and the acquired electrocardiogram signal (step S106). Specifically, when determining that the peak of the fluorescence intensity occurs after a predetermined time from the R wave, the control unit 150 determines that the distal end portion of the laser catheter 300 is in a vertical contact state. When the controller 150 determines that the fluorescence intensity peak and the R wave are generated simultaneously, the controller 150 determines that the distal end portion of the laser catheter 300 is in an oblique contact state. The blood volume between the tip of the laser catheter 300 and the inner wall of the tissue can also be estimated from the fluorescence peak intensity.
  • the step of touch monitoring is executed using the difference in the spectrum of autofluorescence.
  • Autofluorescence refers to light emitted by the tissue itself, and does not mean fluorescence from a drug. That is, the fourth embodiment shows a diagnostic method that does not use a drug.
  • the light source 110 outputs excitation light that can easily discriminate the difference between the autofluorescence spectrum characteristics of the myocardial tissue and the autofluorescence spectrum characteristics of the blood.
  • the detection unit 130 detects the incident fluorescence.
  • the detection unit 130 outputs the detected fluorescence intensity to the control unit 150 as an electrical signal.
  • the controller 150 calculates a fluorescence spectrum based on the acquired electrical signal.
  • the control unit 150 determines whether the calculated fluorescence spectrum indicates the autofluorescence spectrum characteristic of the myocardial tissue or the autofluorescence spectrum characteristic of the blood.
  • the control unit 150 compares the calculated fluorescence spectrum with the autofluorescence spectral characteristics of the myocardial tissue and blood, and determines the contact state of the tip of the laser catheter 300 (step S106).
  • the control unit 150 determines that the distal end portion of the laser catheter 300 is in a vertical contact state. When determining that the calculated fluorescence spectrum indicates the autofluorescence spectrum characteristic of blood, the control unit 150 determines that the distal end portion of the laser catheter 300 is in a non-contact state. If the controller 150 determines that the calculated fluorescence spectrum does not show any autofluorescence spectrum characteristics, the controller 150 determines that the tip of the laser catheter 300 is in an oblique contact state.
  • FIG. 18 is a schematic diagram showing a contact state of a laser catheter in a blood vessel lumen. Whether the distal end portion of the laser catheter 300 is in contact with the vascular occlusion portion (adenoma) 21 of the blood vessel 20 (see FIG. 18A) or the vascular wall 22 in the treatment of a disease having a vascular occlusion portion. It is required to discriminate (see FIG. 18B).
  • the composition ratio of collagen, elastin, lipid, etc. differs between the vascular occlusion and the vascular wall.
  • the composition ratio of the vascular occlusion is 70% water, 5% collagen, 6% elastin, and 9% lipid.
  • the composition ratio of blood vessels is 73% water, 6.5% collagen, 10.5% elastin, and 1% lipid.
  • the autofluorescence spectrum characteristic of the blood vessel occlusion part and the autofluorescence spectrum characteristic of the blood vessel wall are different.
  • the contact monitor using the difference in autofluorescence spectrum can determine the presence or absence of atheroma from the composition ratio, so IVUS (Intravascular Ultrasound) to determine the presence or absence of atheroma from the size of the blood vessel diameter More accurate diagnosis can be made.
  • IVUS Intravascular Ultrasound
  • ⁇ Fifth Embodiment> In the (5) cell killing effect determining operation of the first embodiment, it was determined whether or not there was a cell killing effect during the photodynamic therapy (step S113 in FIG. 5). On the other hand, in the fifth embodiment, during the photodynamic treatment, in addition to the determination of the cell killing effect, the contact state of the tip of the laser catheter 300 with the tissue inner wall is determined.
  • the laser catheter 300 may move due to the influence of respiration or heartbeat, and the contact state with the tissue to be treated may change. For this reason, even if the contact state at the tip of the laser catheter 300 is confirmed before the excitation light irradiation (step S106 in FIG. 5), the change in the contact state at the tip of the laser catheter 300 is monitored even during the implementation of photodynamic therapy. Is good.
  • the amount of singlet oxygen generated at the site to be treated varies. Cell effects should also be monitored in real time.
  • the irradiation time is not lengthened or the set irradiation power is not increased, the therapeutic effect is obtained. May be insufficient.
  • the progress of PDT (cell killing effect) in the tissue to be treated and the contact state of the tip of the laser catheter 300 are monitored in real time, and irradiation conditions are set and changed according to the situation. It is good.
  • Examples of methods for monitoring the contact state of the tip of the laser catheter 300 during treatment light irradiation include X-ray fluoroscopic images and potential measurement (impedance measurement).
  • X-ray fluoroscopic images it is necessary to continue fluoroscopy during the operation, and there is a problem that the amount of exposure of the patient and the practitioner becomes enormous.
  • potential measurement impedance measurement
  • the contact state can be grasped to some extent by the potential.
  • the treatment is started, the electric potential of the cardiomyocytes is lost and the potential disappears, so that the potential cannot be observed even if it is in contact. That is, there is a problem that even if the contact state of the catheter tip changes during treatment, it cannot be detected.
  • the present embodiment discriminates between the estimation of the cytocidal effect and the contact state of the tip of the laser catheter 300 with the tissue inner wall according to the detected fluorescence intensity during the photodynamic treatment. It is something to try.
  • FIG. 20 is a flowchart showing the operation of the PDT apparatus.
  • the difference between the operation of the PDT device shown in FIG. 5 and the operation of the PDT device shown in FIG. 5 is that the contact state of the tip of the laser catheter 300 is determined after it is determined that there is no cell killing effect (No in step S113). (Step S118) Points.
  • the light source 110 continues to output the excitation light at the second intensity to the optical system 120 started in step S109, and the control unit 150
  • the fluorescence intensity is calculated, and the display unit 170 displays the change in fluorescence intensity over time on the display screen.
  • the display unit 170 displays the change in fluorescence intensity over time as a graph on the display screen.
  • FIG. 21 is a graph showing changes in fluorescence intensity over time.
  • the figure shows an example in which irradiation is started in an ideal contact state (vertical contact state).
  • the fluorescence intensity has a high value at two times indicated by arrows.
  • the drug concentration in blood is higher than the drug concentration in myocardial tissue.
  • the practitioner knows that the tip of the laser catheter 300 is away from the myocardial tissue and contacts the blood at two times when the fluorescence intensity is high.
  • the posture of the tip of the laser catheter 300 is returned to an ideal contact state (vertical contact state) by operating a handpiece or the like (not shown) (No in step S118). .
  • control unit 150 continues to output the excitation light at the second intensity to the optical system 120 without controlling the posture of the tip of the laser catheter 300.
  • Control for performing is performed (Yes in step S118).
  • the graph shown in the figure also reflects the state of drug bleaching (fluorescence attenuation) that occurs as PDT progresses.
  • the practitioner simultaneously monitors the PDT progress (cell killing effect) and the contact monitor in real time during treatment light irradiation, and the laser catheter 300 takes a posture different from the vertical contact state. If this happens, the posture can be controlled again. The practitioner can stop the irradiation when the PDT progression (cell killing effect) reaches a sufficient range.
  • the contact state of the tip of the laser catheter 300 is evaluated using the increase amount of fluorescence as an index, and the degree of PDT progress (cell killing effect) is evaluated using the attenuation amount of fluorescence as an index.
  • the degree of PDT progression is evaluated using the amount of fluorescence attenuation as an index, there is a case where a sensory inconsistency is felt that the index decreases as the treatment progresses.
  • a method for discriminating the degree of PDT progression (cell killing effect) in consideration of variations and differences in irradiation conditions and drug administration conditions has not been established.
  • the sixth embodiment evaluates the degree of PDT (cell killing effect) in consideration of variations and differences in irradiation conditions and drug administration conditions, and at the same time, against the tissue inner wall at the tip of the laser catheter 300. It is intended to determine the contact state.
  • FIG. 22 is a flowchart showing the monitoring operation of the PDT progress degree and the contact state. This PDT progress degree and contact state monitoring operation is performed, for example, in step S113 (cell killing effect determination operation) in the flowchart of FIG. 5 or FIG.
  • control unit 150 calculates the current value of PDT progress (hereinafter referred to as “current progress”) based on the fluorescence intensity (step S201).
  • FIG. 23 is a diagram for explaining mathematical formulas for calculating the PDT progress degree.
  • P fl indicates fluorescence intensity
  • t is a variable indicating the irradiation time.
  • Pref represents the average intensity (background) of the fluorescence waveform when excitation light is irradiated before drug administration.
  • P fl 1 (0) -Pref indicates the fluorescence intensity at a predetermined time after drug administration and before excitation light irradiation, and this is the initial value (100 in this example).
  • X (mg / kg) is a variable indicating the drug dosage
  • P (W / cm 2 ) is a variable indicating the excitation light irradiation power.
  • the correlation between the concentration at the time of drug administration and the irradiation power may be set as follows instead of using the standard conditions determined by experimentally searching for conditions.
  • FIG. 24 is a diagram for explaining a method of calculating the degree of PDT progress.
  • the concentration at the time of drug administration (PS) so that the amount of singlet oxygen generated per unit volume in the deepest layer of the tissue to be treated (in the ellipse in FIG. 25) exceeds the threshold of singlet oxygen generation that induces cell death. dose) and irradiation power I need to be set.
  • k x is the reaction rate constant
  • ⁇ 0 is the lifetime of T 1 in an oxygen-free atmosphere
  • is the absorption cross section
  • v is the speed of light in the medium
  • [X] is the concentration of the substance X
  • T represents the total treatment light irradiation time at each irradiation position.
  • FIG. 25 shows mathematical formulas for setting the concentration and irradiation power during drug administration.
  • t represents the irradiation time at each position
  • t ′ represents the elapsed time from the administration of the drug
  • represents the light density at the depth d.
  • the drug concentration [S 0 ] t (t) in the tissue is a function of the PS dose, which is the concentration at the time of drug administration (the amount of drug relative to body weight), and the times t and t ′, but is generally unknown unless actually measured. There are often. However, there has been no useful method for actually measuring the change over time in the drug concentration in the tissue of the same individual. According to the present embodiment, it is possible to actually measure the temporal change in the tissue concentration of the same individual in real time.
  • FIG. 26 is a graph showing the degree of PDT progress calculated based on the mathematical formula of FIG.
  • the fluorescence intensity (see FIG. 21, Fluorescence Intensity) can be converted into PDT progress (PDT progress) using the formula in FIG.
  • the control unit 150 starts recording the temporal change of the PDT progress in the storage unit 160 as a log in which the calculated PDT progress is associated with the time information acquired from the time measurement unit (not shown). Further, the control unit 150 records the maximum value of the recorded PDT progress degrees in the storage unit 160 as the maximum progress degree.
  • the control unit 150 also generates display information related to the temporal change of the PDT progress based on the calculated PDT progress and the elapsed time from the reference time based on the irradiation start time at each irradiation position.
  • a display command including the generated display information may be output to the display unit 170.
  • the display unit 170 displays a change in the PDT progress over time on the display screen based on display information included in the display command. For example, the display unit 170 displays the temporal change in the degree of PDT progress as a graph shown in FIG. 26 or 27 on the display screen.
  • FIG. 27 is a graph showing a modification of FIG.
  • the scale of the PDT progression with time may be fixed at 0 to 100.
  • 0 may indicate the background before drug administration
  • 100 may indicate the maximum fluorescence intensity immediately after the start of irradiation at the time of high power irradiation at a certain reference time.
  • control unit 150 calculates the current degree of progress (step S201)
  • the control unit 150 starts an operation for evaluating the contact state of the tip of the laser catheter 300 (steps S202 to S205).
  • the contact state is evaluated from the difference between the maximum progress and the current progress.
  • the principle will be described.
  • drug consumption proceeds at that site (myocardial tissue), and as a result, the fluorescence intensity decreases.
  • the fluorescence intensity decreases, the PDT progression increases with time, so the current progression should continue to update the maximum value (maximum progression).
  • the laser catheter 300 deviates from the myocardial tissue and floats in the blood, the fluorescence signal from the blood having a higher drug concentration than the myocardial tissue is mixed and the fluorescence intensity increases.
  • the degree of PDT progression decreases.
  • this difference is used for the evaluation of the contact state.
  • control unit 150 compares the current progress calculated in step S201 based on the mathematical formula of FIG. 23 with the maximum progress recorded in the storage unit 160 (step S202). When determining that the current progress is equal to or greater than the maximum progress (Yes in Step S202), the control unit 150 updates the maximum progress recorded in the storage unit 160 with the current progress (Step S203).
  • the case where the control unit 150 determines that the current degree of progress is less than the maximum degree of progress is a case where the value of the current degree of progress that should be the maximum degree of progress is lower than the maximum degree of progress. is there.
  • the laser catheter 300 is displaced from the myocardial tissue and floats in the blood, and the fluorescence intensity increases due to mixing of fluorescence signals from the blood.
  • the control unit 150 subtracts the current progress from the maximum progress (step S204).
  • the maximum progress is updated by the current progress (step S203)
  • the subtraction result is 0, which is the contact state (step 1) confirmed by the laser catheter 300 at low power (first intensity) before starting the treatment light irradiation. S106) or that the contact state immediately after the start of irradiation is maintained.
  • the value of the current degree of progress is lower than the maximum degree of progress (No in step S202)
  • the subtraction result becomes larger than 0, which means that there is a gap between the laser catheter 300 and the myocardial tissue, that is, more diagonally. Indicates a change to a state of contact or floating in blood.
  • the control unit 150 generates display information regarding the contact state of the tip of the laser catheter 300 based on the subtraction result, and outputs a display command including the generated display information to the display unit 170. Specifically, the control unit 150 visually reflects the maximum degree of progress on the current degree of progress, and display information for notifying the contact state of the tip of the laser catheter 300 based on the difference between the current degree of progress and the maximum degree of progress. And a display command including the generated display information is output to the display unit 170 (step S205).
  • the display unit 170 obtains a display command from the control unit 150
  • the display unit 170 displays information on the contact state of the tip of the laser catheter 300 on the display screen based on the display information included in the display command. For example, the display unit 170 displays information on the degree of PDT progress and the contact state of the tip of the laser catheter 300 on the display screen.
  • FIG. 28 is a display screen that displays the degree of PDT progress and the contact state of the tip of the laser catheter 300.
  • the graph on the left (hereinafter referred to as time waveform display) in the figure shows the change over time in the degree of PDT progress, and the scale is fixed at 0-100.
  • the index on the right in the figure (hereinafter referred to as level meter display) indicates the current progress and the maximum progress at the same time, and indicates the difference between the current progress and the maximum progress.
  • a numerical value (51 a.u.) indicating the current progress is also displayed at the same time.
  • FIG. 28 shows an example in which the maximum progress and the current progress match.
  • the maximum progress and the current progress are the same, the difference between the maximum progress and the current progress does not occur and is not displayed.
  • the practitioner has not changed the contact state at the tip of the laser catheter 300 from the contact state (step S106) confirmed at low power (first intensity) before the start of treatment light irradiation or the contact state immediately after the start of irradiation. Can be recognized.
  • FIG. 29 is another display screen that displays the degree of PDT progress and the contact state of the tip of the laser catheter 300.
  • the figure shows an example in which a difference between the maximum progress and the current progress is generated.
  • the solid line indicates the temporal change of the PDT progress
  • the broken line indicates the maximum progress.
  • the control unit 105 continues to update the maximum progress for about 3 seconds, and then the current progress decreases and a difference from the maximum progress is generated.
  • the current progress (27 a.u.) is superimposed on the maximum progress (about 51 a.u.).
  • the practitioner can recognize the difference between the maximum degree of progress and the current degree of progress as a range indicated by diagonal lines in the figure as a change in the contact state of the tip of the laser catheter 300.
  • the practitioner changes the contact state at the tip of the laser catheter 300 from the contact state (step S106) confirmed at low power (first intensity) before the start of treatment light irradiation or the contact state immediately after the start of irradiation.
  • the device is in an oblique contact state or a non-contact state.
  • FIG. 30 is another display screen that displays the degree of PDT progress and the contact state of the tip of the laser catheter 300.
  • the control unit 105 continues to update the maximum progress for about 1 second (arrow A). This shows a state in which the PDT is progressing while maintaining the contact state (step S106) confirmed by the laser catheter 300 at low power (first intensity) before the start of treatment light irradiation or the contact state immediately after the start of irradiation. . Thereafter, the current degree of progress continues to decrease for a while (arrow B). This shows that the laser catheter 300 gradually moves away from the myocardial tissue, and the area of the tip of the laser catheter 300 that touches blood increases.
  • the control unit 105 does not update the maximum progress, and continues to display the maximum progress just before the current progress begins to decrease as the maximum progress (arrow C).
  • the practitioner refers to the display screen, and the contact state of the tip of the laser catheter 300 is changed from the contact state (step S106) confirmed at low power (first intensity) before the start of treatment light irradiation or from the contact state immediately after the start of irradiation. If it is recognized, the posture of the tip of the laser catheter 300 is controlled. As a result, when the laser catheter 300 returns to the vertical contact state, the current degree of progress continues to increase again for a while (arrow D). When the current degree of progress becomes equal to or greater than the maximum degree of progress, the control unit 105 continues to update the maximum degree of progress with the current degree of progress (arrow E). FIG. 30 shows how this operation is repeated.
  • the current progress (73 a.u.) is superimposed on the maximum progress (about 80 a.u.).
  • the practitioner can intuitively recognize the difference between the maximum degree of progress and the current degree of progress as a range indicated by hatching in the figure as a change in the contact state of the tip of the laser catheter 300.
  • the practitioner changes the contact state at the tip of the laser catheter 300 from the contact state (step S106) confirmed at low power (first intensity) before the start of treatment light irradiation or the contact state immediately after the start of irradiation.
  • step S106 low power
  • the practitioner refers to the degree of progress of the PDT and the contact state of the tip of the laser catheter 300 displayed in step S ⁇ b> 205, and determines whether or not to end the monitoring operation of the degree of PDT progress and the contact state.
  • the practitioner performs a predetermined input operation on the operation unit 180 to end the monitoring operation.
  • the operation unit 180 receives a monitor operation end command by an input operation from the practitioner, and outputs the received command to the control unit 150.
  • the control unit 150 ends the monitoring operation based on the command from the operation unit 180 (Yes in step S206).
  • the control unit 150 continues to monitor the PDT progress and the contact state (No in step S206).
  • the control unit 150 visually reflects the maximum evaluation result (maximum progress) of the tissue change on the current evaluation result (current progress) of the tissue change, thereby changing the tissue change.
  • the evaluation result and the contact state of the tip of the laser catheter 300 are simultaneously notified.
  • the practitioner can intuitively recognize the current evaluation result (current progress) of the change in the tissue and the contact state of the tip of the laser catheter 300 at the same time.
  • the practitioner can recognize the deviation of the tip of the laser catheter 300 due to the influence of heartbeat or respiration in real time, and can immediately control the posture.
  • the practitioner can accurately and in real time understand the degree of PDT progress that is known to vary depending on individual differences and treatment sites.
  • a practitioner such as a doctor needs to judge everything by looking at a plurality of screens such as fluoroscopic images during the treatment. Therefore, displaying the current evaluation result (current progress) of the tissue change and the contact state of the tip of the laser catheter 300 in an intuitively recognizable manner is useful for the practitioner to perform smooth treatment. It is.
  • the display mode of the degree of PDT progress and the contact state of the tip of the laser catheter 300 may be different from the display mode shown in FIGS.
  • the display screen for notifying the contact state of the distal end of the laser catheter 300 by visually reflecting the maximum progress in the current progress is shown.
  • the seventh embodiment shows a display screen that displays the current degree of progress and information for notifying the contact state of the tip of the laser catheter 300 independently of each other.
  • FIG. 31 is another display screen that displays the degree of PDT progress and the contact state of the tip of the laser catheter 300.
  • a time waveform display indicating a change with time in PDT progress a level meter display indicating the current progress, and a numerical value (51) indicating the current progress are displayed.
  • the contact state at the tip of the laser catheter 300 is not changed as the numerical value indicating the contact state is small, and the contact state at the tip of the laser catheter 300 is greatly changed as the numerical value is large. It can be seen that there is a gap. Since the numerical value indicating the contact state is 0, the practitioner can recognize that the contact state of the tip of the laser catheter 300 has not changed.
  • FIG. 32 is another display screen that displays the degree of PDT progress and the contact state of the tip of the laser catheter 300.
  • a time waveform display indicating a change with time in PDT progress a level meter display indicating the current progress, and a numerical value (27) indicating the current progress are displayed.
  • a time waveform display showing the change over time of the difference between the maximum progress (51) as the contact state of the laser catheter 300 and the current progress, and the maximum as the contact state of the current laser catheter 300 are shown.
  • the difference between the maximum progress of PDT and the current progress is used as an index indicating the contact state of the distal end of the catheter 300.
  • the difference between the minimum value of the fluorescence intensity and the current value is used as an index indicating the contact state of the distal end of the catheter 300.
  • step S201 is omitted in the flowchart of FIG. 22, and first, the control unit 150 compares the current value and the minimum value of the fluorescence intensity (step S202). When determining that the current value of the fluorescence intensity is equal to or less than the minimum value (Yes in step S202), the control unit 150 updates the minimum value of the fluorescence intensity with the current value (step S203).
  • the case where the control unit 150 determines that the current value of the fluorescence intensity is greater than the minimum value is a case where the current value of the fluorescence intensity that should originally be the minimum value increases from the minimum value. is there.
  • the laser catheter 300 is displaced from the myocardial tissue and floats in the blood, and the fluorescence intensity increases due to mixing of fluorescence signals from the blood.
  • control unit 150 subtracts the minimum value from the current value of the fluorescence intensity (step S204).
  • a subtraction result of 0 indicates that the laser catheter 300 is in an ideal contact state (vertical contact state).
  • the subtraction result being greater than 0 indicates that the laser catheter 300 is displaced from the myocardial tissue and is floating in the blood.
  • control unit 150 visually reflects the minimum value on the current value of the fluorescence intensity to generate display information for notifying the contact state of the tip of the laser catheter 300, and a display command including the generated display information Is output to the display unit 170 (step S205).
  • the state of contact of the tip of the laser catheter 300 with the tissue inner wall is intuitively displayed while the excitation light is being output at the second intensity of high power used for treatment.
  • the state of contact of the tip of the laser catheter 300 with the tissue inner wall is intuitively displayed while the excitation light is being output with the first intensity of low power.
  • This low-power contact monitoring operation is performed during a waiting time (interval time) from the administration of the drug by intravenous injection until the start of treatment by the output of the excitation light of the second intensity.
  • the low power contact monitoring operation is performed in step S104 (drug concentration monitoring operation) and steps S106 and S107 (contact monitoring operation) in the flowchart of FIG. 5 or FIG.
  • this low power contact monitoring operation may be performed every time before the excitation light is output at the second intensity, that is, before the treatment is performed, or may be omitted. In the case where the patient is a human, when the treatment time is as long as 3 hours, the low power contact monitoring operation may be performed again as recalibration.
  • the drug concentration may be considered to be substantially constant during the standard operation time that is basically assumed, the low-power contact monitoring operation is performed after the drug is administered by intravenous injection and the output of the second intensity excitation light. May be performed during the waiting time (interval time) until treatment is started.
  • FIG. 33 shows mathematical formulas for calculating the degree of contact of the tip of the laser catheter 300 with the tissue inner wall.
  • FIG. 34 is a diagram for explaining a method of calculating the contact degree.
  • P fl b is fluorescence intensity in a non-contact state, that is, fluorescence intensity in blood
  • P fl t is fluorescence intensity in a vertical contact state, that is, fluorescence intensity in tissue
  • P (t) is arbitrary The fluorescence intensity in the contact state is shown.
  • the practitioner places the distal end portion of the laser catheter 300 in a non-contact state with respect to the tissue after drug administration.
  • the control unit 150 outputs the excitation light output command at the first intensity to the light source 110, and also receives the electrical signal acquired from the detection unit 130.
  • the fluorescence intensity in a non-contact state that is, the fluorescence intensity P fl b in the blood is calculated (FIG. 34, point A).
  • the practitioner places the distal end portion of the laser catheter 300 in vertical contact with the tissue.
  • the control unit 150 calculates the fluorescence intensity P fl t in tissue (FIG. 34, point B).
  • the control unit 150 subtracts the fluorescence intensity P fl t in the tissue from the calculated fluorescence intensity P fl b in the blood, and sets the calculated value (P fl b ⁇ P fl t ) as the maximum value of the contact degree.
  • the control unit 150 When acquiring the excitation light output command from the practitioner via the operation unit 180, the control unit 150 outputs the excitation light output command at the first intensity to the light source 110, and also receives the electrical signal acquired from the detection unit 130. In addition, the fluorescence intensity P (t) in the contact state in this arbitrary posture is calculated (FIG. 34, point C). The control unit 150 starts recording the temporal change of the fluorescence intensity in the storage unit 160 as a log that associates the calculated fluorescence intensity with the time information acquired from the time measurement unit (not shown).
  • the control unit 150 subtracts the calculated fluorescence intensity P (t) from the fluorescence intensity P fl b in the blood, and uses the calculated value (P fl b ⁇ P (t)) as a current value for the maximum value of the contact degree. Contact degree.
  • the control unit 150 displays the contact degree of the tip of the laser catheter 300 calculated based on the mathematical formula of FIG. 33 in a manner that allows intuitive recognition. For example, as shown in FIG. 34, the control unit 150 can intuitively recognize the contact degree in a mode in which the range up to the current contact degree value is superimposed on the band indicating the maximum value of the contact degree. In this manner, the display unit 170 may display the display screen (level meter display).
  • control unit 150 may cause the display unit 170 to display the time waveform display and the level meter display on the display screen as a mode in which the change in the contact degree with time and the current contact degree can be intuitively recognized. Good. Further, the contact degree calculated from the mathematical expression of FIG. 33 may be displayed numerically.
  • FIG. 35 is a display screen showing a time waveform display and a level meter display of the contact degree.
  • the change with time of the degree of contact of the tip of the laser catheter 300 with the tissue is displayed on a scale of 0 to 100, so that the practitioner can shift the tip of the laser catheter 300 due to the influence of heartbeat or respiration. Can be recognized and the posture can be controlled immediately.
  • the current contact degree of the tip of the laser catheter 300 is displayed in an intuitively recognizable manner, so that the practitioner cannot actually visually check the contact of the tip of the current laser catheter 300. The state can be recognized intuitively. When the contact degree exceeds the maximum value (100 in this example), the contact degree may be displayed as the maximum value. Note that only the display relating to the current contact degree may be used.
  • FIG. 36 is a schematic diagram showing the contact state of the laser catheter at different contact degrees shown in FIG.
  • the laser catheter 300 calculated based on the mathematical formula of FIG.
  • the contact degree of the tip is 12, for example.
  • the contact degree is 55, for example.
  • the contact degree is 100, for example.
  • the practitioner can intuitively recognize the current contact state of the tip of the laser catheter 300 by visually recognizing these contact degree values by the time waveform display and the level meter display. Then, the practitioner can recognize the deviation of the tip of the laser catheter 300 due to the influence of heartbeat or respiration, and can immediately control the posture.
  • the laser catheter 300 is detachably connected to the connector 210 of the PDT apparatus 1, but the laser catheter 300 may be provided integrally with the PDT apparatus 1.
  • the tube 200 is provided in the PDT apparatus main body 100 and the connector 210 is provided at the tip of the tube 200.
  • the connector 210 may be provided in the PDT apparatus main body 100.
  • PBS 123 is used, but DM may be used instead.
  • control unit 150 notifies the display unit 170 of information that prompts the practitioner to perform predetermined control, but the present invention is not limited to this.
  • a speaker unit is provided in the PDT apparatus 1, and the control unit 150 generates a voice output command when prompting the practitioner to perform predetermined control, and outputs the generated voice output command to the speaker unit to output the voice to the speaker unit.
  • the practitioner may be urged to perform predetermined control.
  • SYMBOLS 1 Photodynamic Therapy (PDT) apparatus 100 ... PDT apparatus main body 110 ... Light source 120, 120a ... Optical system 121 ... Short pass filter 122 ... First lens 123 ... Polarizing beam splitter (PBS) 124 ... Long pass filter 125 ... Second lens 126 ... First dichroic mirror (DM) 127 ... Second dichroic mirror (DM) 130, 130a... Detection unit 131... First photodiode (PD) 132: Second photodiode (PD) DESCRIPTION OF SYMBOLS 140 ... Electrocardiogram acquisition part 141 ... Electrode pad 150 ... Control part 160 ... Memory
  • Operation part 200 Tube 201 ... Optical fiber 210 attached to apparatus 210 ... Connector 300 . Laser catheter 301 ... Irradiation light 310 ... Catheter tube 320: support portion 330 ... optical fiber 340 ... optical window

Landscapes

  • Health & Medical Sciences (AREA)
  • Life Sciences & Earth Sciences (AREA)
  • Engineering & Computer Science (AREA)
  • Biomedical Technology (AREA)
  • Animal Behavior & Ethology (AREA)
  • General Health & Medical Sciences (AREA)
  • Public Health (AREA)
  • Veterinary Medicine (AREA)
  • Pathology (AREA)
  • Surgery (AREA)
  • Biophysics (AREA)
  • Physics & Mathematics (AREA)
  • Heart & Thoracic Surgery (AREA)
  • Medical Informatics (AREA)
  • Molecular Biology (AREA)
  • Nuclear Medicine, Radiotherapy & Molecular Imaging (AREA)
  • Radiology & Medical Imaging (AREA)
  • Cardiology (AREA)
  • Optics & Photonics (AREA)
  • Electromagnetism (AREA)
  • Otolaryngology (AREA)
  • Investigating, Analyzing Materials By Fluorescence Or Luminescence (AREA)
  • Radiation-Therapy Devices (AREA)
  • Laser Surgery Devices (AREA)
  • Endoscopes (AREA)
PCT/JP2011/001330 2010-03-15 2011-03-07 評価装置及び評価方法 Ceased WO2011114653A1 (ja)

Priority Applications (5)

Application Number Priority Date Filing Date Title
SG2012066239A SG183946A1 (en) 2010-03-15 2011-03-07 Estimating apparatus and estimating method
CN201180013008.6A CN102791329B (zh) 2010-03-15 2011-03-07 评价装置和评价方法
US13/583,531 US9277865B2 (en) 2010-03-15 2011-03-07 Estimating apparatus and estimating method
EP11755846.0A EP2548616B1 (en) 2010-03-15 2011-03-07 Evaluation device
KR1020127023300A KR20130052539A (ko) 2010-03-15 2011-03-07 평가 장치 및 평가 방법

Applications Claiming Priority (4)

Application Number Priority Date Filing Date Title
JP2010-058385 2010-03-15
JP2010058385 2010-03-15
JP2010-275511 2010-12-10
JP2010275511A JP5719159B2 (ja) 2010-03-15 2010-12-10 評価装置

Publications (1)

Publication Number Publication Date
WO2011114653A1 true WO2011114653A1 (ja) 2011-09-22

Family

ID=44648769

Family Applications (1)

Application Number Title Priority Date Filing Date
PCT/JP2011/001330 Ceased WO2011114653A1 (ja) 2010-03-15 2011-03-07 評価装置及び評価方法

Country Status (7)

Country Link
US (1) US9277865B2 (enExample)
EP (1) EP2548616B1 (enExample)
JP (1) JP5719159B2 (enExample)
KR (1) KR20130052539A (enExample)
CN (1) CN102791329B (enExample)
SG (1) SG183946A1 (enExample)
WO (1) WO2011114653A1 (enExample)

Cited By (4)

* Cited by examiner, † Cited by third party
Publication number Priority date Publication date Assignee Title
WO2014185372A1 (ja) * 2013-05-13 2014-11-20 株式会社アライ・メッドフォトン研究所 治療進行度モニタ装置及びその方法
WO2015182428A1 (ja) * 2014-05-29 2015-12-03 シャープ株式会社 測定プローブ、測定装置およびアタッチメント機構
EP2888988A4 (en) * 2012-08-23 2016-06-15 Sbi Pharmaceuticals Co Ltd PHOTODYNAMIC DIAGNOSTIC DEVICE WITH A COLLIMATOR
JPWO2020012545A1 (ja) * 2018-07-10 2021-05-13 オリンパス株式会社 光治療支援装置、光治療システムおよび光治療支援方法

Families Citing this family (20)

* Cited by examiner, † Cited by third party
Publication number Priority date Publication date Assignee Title
JP5635282B2 (ja) * 2010-03-15 2014-12-03 ソニー株式会社 判別装置
WO2013044182A1 (en) 2011-09-22 2013-03-28 The George Washington University Systems and methods for visualizing ablated tissue
ES2727868T3 (es) 2011-09-22 2019-10-21 Univ George Washington Sistemas para visualizar el tejido ablacionado
EP2835094A4 (en) 2012-04-05 2016-03-09 Sbi Pharmaceuticals Co Ltd DEVICE FOR DETERMINING THE METASTASE OF CANCER ON WEEKLY LYMPHOTIC NODES
JP2017000838A (ja) * 2012-06-01 2017-01-05 ソニー株式会社 医療用装置及び制御方法
JP2015089489A (ja) * 2013-11-07 2015-05-11 株式会社アライ・メッドフォトン研究所 医療用具及び光線治療装置
WO2015073871A2 (en) 2013-11-14 2015-05-21 The George Washington University Systems and methods for determining lesion depth using fluorescence imaging
CN105744883B (zh) 2013-11-20 2022-03-01 乔治华盛顿大学 用于心脏组织高光谱分析的系统和方法
JP2017537681A (ja) * 2014-11-03 2017-12-21 ザ・ジョージ・ワシントン・ユニバーシティThe George Washingtonuniversity 損傷評価システム及びその方法
CN113208723B (zh) * 2014-11-03 2024-09-20 460医学股份有限公司 用于接触质量的评估的系统和方法
US10779904B2 (en) 2015-07-19 2020-09-22 460Medical, Inc. Systems and methods for lesion formation and assessment
US11918823B2 (en) 2016-10-07 2024-03-05 Research Foundation Of The City University Of New York Singlet oxygen generating device for selective destruction of pathogens
US10835629B2 (en) * 2016-10-07 2020-11-17 Research Foundation Of The City University Of New York Singlet oxygen generating device for selective destruction of pathogens
KR102030237B1 (ko) * 2017-08-02 2019-10-08 재단법인 아산사회복지재단 광섬유를 이용한 선단의 압력 감지 카테터 및 카테터 시스템
JP6897483B2 (ja) * 2017-10-18 2021-06-30 株式会社ニコン 光照射装置、光照射プログラム、及び光照射装置の駆動方法
DE112019006944T5 (de) * 2019-02-28 2021-12-02 Olympus Corporation Medizinisches System
US20220288411A1 (en) * 2019-08-27 2022-09-15 Shimadzu Corporation Treatment support device and therapeutic light control method
EP4087511A4 (en) 2020-01-08 2024-02-14 460Medical, Inc. SYSTEMS AND METHODS FOR OPTICAL INQUIRY OF ABLATION INJURIES
WO2022041102A1 (zh) * 2020-08-28 2022-03-03 深圳大学 一种基于光动力治疗系统的治疗方法及光动力治疗系统
WO2022230178A1 (ja) * 2021-04-30 2022-11-03 オリンパス株式会社 光治療進度測定方法、光治療進度測定装置および光治療システム

Citations (15)

* Cited by examiner, † Cited by third party
Publication number Priority date Publication date Assignee Title
JPH10216252A (ja) * 1997-02-07 1998-08-18 Hamamatsu Photonics Kk ガン治療装置
JP2001004542A (ja) * 1999-06-24 2001-01-12 Hamamatsu Photonics Kk 一重項酸素検出装置とこれを用いた光線力学的治療装置
WO2001033165A1 (en) 1999-10-29 2001-05-10 Advanced Sensor Technology, Llc Optical fiber navigation system
US6696808B2 (en) 2000-03-01 2004-02-24 Valeo Auto-Electric Wischer Und Motoren Gmbh Windscreen wiper device for wiping windscreens
WO2004112902A1 (ja) * 2003-06-20 2004-12-29 Keio University 光線力学的治療装置、光線力学的治療装置の制御方法、および光線力学的治療方法
JP2006167046A (ja) * 2004-12-14 2006-06-29 Susumu Terakawa 癌治療状況評価方法および装置ならびに癌治療方法および装置
JP2007525263A (ja) 2004-01-29 2007-09-06 イコス コーポレイション カテーテルによる血管の状態の検出方法及び装置
WO2007116582A1 (ja) * 2006-03-31 2007-10-18 Nikon Corporation 細胞機能の評価方法、細胞機能の評価システム、蛍光顕微鏡システム、光治療方法、及び光治療システム
US20080009750A1 (en) 2006-06-09 2008-01-10 Endosense Sa Catheter having tri-axial force sensor
WO2008066126A1 (en) 2006-11-30 2008-06-05 Science Laboratories, Inc. Chemically modified fullerene, process for production thereof, and proton conductive film comprising chemically modified fullerene
JP2008531170A (ja) 2005-03-04 2008-08-14 エンドサンス ソシエテ アノニム 光ファイバ負荷検知能力を備えた医療装置システム
WO2009025826A1 (en) * 2007-08-22 2009-02-26 Cardiac Pacemakers, Inc. Systems and devices for photoablation
JP4261101B2 (ja) 1999-07-14 2009-04-30 カーディオフォーカス・インコーポレイテッド 光剥離システム
JP2009148550A (ja) 2007-11-16 2009-07-09 Biosense Webster Inc 分離された光路を有する全方向性光学先端部を備えたカテーテル
JP2009542371A (ja) 2006-06-30 2009-12-03 アセロメッド, インコーポレイテッド アテローム切除術の装置および方法

Family Cites Families (11)

* Cited by examiner, † Cited by third party
Publication number Priority date Publication date Assignee Title
US5350375A (en) 1993-03-15 1994-09-27 Yale University Methods for laser induced fluorescence intensity feedback control during laser angioplasty
US5851225A (en) * 1994-03-18 1998-12-22 Spectra Science Corporation Photoemitting catheters and other structures suitable for use in photo-dynamic therapy and other applications
GB9521784D0 (en) * 1995-10-24 1996-01-03 Rosslyn Medical Ltd Diagnostic apparatus
US6602274B1 (en) * 1999-01-15 2003-08-05 Light Sciences Corporation Targeted transcutaneous cancer therapy
US6514277B1 (en) * 1999-06-11 2003-02-04 Photonics Research Ontario Fiber optic multitasking probe
US6542524B2 (en) * 2000-03-03 2003-04-01 Charles Miyake Multiwavelength laser for illumination of photo-dynamic therapy drugs
US6749623B1 (en) * 2000-03-31 2004-06-15 Richard A Hsi Method and apparatus for catheter phototherapy with dose sensing
EP1467760A2 (en) 2002-01-23 2004-10-20 Light Sciences Corporation Systems and methods for photodynamic therapy
CN101594827B (zh) * 2006-11-30 2012-09-05 学校法人庆应义墪 利用光动力治疗(pdt)来阻断异常电传导的装置
AT11794U1 (de) * 2010-03-25 2011-05-15 Abdula Kurkayev Einrichtung zur photodynamischen therapie des gewebes eines lebewesens
US20120209125A1 (en) * 2011-02-10 2012-08-16 Physical Sciences, Inc. Singlet Oxygen Production and Dosimetry for Photodynamic Therapy

Patent Citations (15)

* Cited by examiner, † Cited by third party
Publication number Priority date Publication date Assignee Title
JPH10216252A (ja) * 1997-02-07 1998-08-18 Hamamatsu Photonics Kk ガン治療装置
JP2001004542A (ja) * 1999-06-24 2001-01-12 Hamamatsu Photonics Kk 一重項酸素検出装置とこれを用いた光線力学的治療装置
JP4261101B2 (ja) 1999-07-14 2009-04-30 カーディオフォーカス・インコーポレイテッド 光剥離システム
WO2001033165A1 (en) 1999-10-29 2001-05-10 Advanced Sensor Technology, Llc Optical fiber navigation system
US6696808B2 (en) 2000-03-01 2004-02-24 Valeo Auto-Electric Wischer Und Motoren Gmbh Windscreen wiper device for wiping windscreens
WO2004112902A1 (ja) * 2003-06-20 2004-12-29 Keio University 光線力学的治療装置、光線力学的治療装置の制御方法、および光線力学的治療方法
JP2007525263A (ja) 2004-01-29 2007-09-06 イコス コーポレイション カテーテルによる血管の状態の検出方法及び装置
JP2006167046A (ja) * 2004-12-14 2006-06-29 Susumu Terakawa 癌治療状況評価方法および装置ならびに癌治療方法および装置
JP2008531170A (ja) 2005-03-04 2008-08-14 エンドサンス ソシエテ アノニム 光ファイバ負荷検知能力を備えた医療装置システム
WO2007116582A1 (ja) * 2006-03-31 2007-10-18 Nikon Corporation 細胞機能の評価方法、細胞機能の評価システム、蛍光顕微鏡システム、光治療方法、及び光治療システム
US20080009750A1 (en) 2006-06-09 2008-01-10 Endosense Sa Catheter having tri-axial force sensor
JP2009542371A (ja) 2006-06-30 2009-12-03 アセロメッド, インコーポレイテッド アテローム切除術の装置および方法
WO2008066126A1 (en) 2006-11-30 2008-06-05 Science Laboratories, Inc. Chemically modified fullerene, process for production thereof, and proton conductive film comprising chemically modified fullerene
WO2009025826A1 (en) * 2007-08-22 2009-02-26 Cardiac Pacemakers, Inc. Systems and devices for photoablation
JP2009148550A (ja) 2007-11-16 2009-07-09 Biosense Webster Inc 分離された光路を有する全方向性光学先端部を備えたカテーテル

Non-Patent Citations (3)

* Cited by examiner, † Cited by third party
Title
"Essential Anatomy and Physiology", 2001, GAKKEN MEDICAL SHUJUNSHA CO., LTD.
CHARLES J. CORNER; ANGELA FERRARIO: "Tissue Distribution and Photosensitizing Properties of Mono-L-aspartyl Chlorin e6 in a Mouse Tumor Model", CANCER RESEARCH, vol. 50, 1 July 1990 (1990-07-01), pages 3985 - 3990
See also references of EP2548616A4

Cited By (9)

* Cited by examiner, † Cited by third party
Publication number Priority date Publication date Assignee Title
EP2888988A4 (en) * 2012-08-23 2016-06-15 Sbi Pharmaceuticals Co Ltd PHOTODYNAMIC DIAGNOSTIC DEVICE WITH A COLLIMATOR
WO2014185372A1 (ja) * 2013-05-13 2014-11-20 株式会社アライ・メッドフォトン研究所 治療進行度モニタ装置及びその方法
JP2014221117A (ja) * 2013-05-13 2014-11-27 株式会社アライ・メッドフォトン研究所 治療進行度モニタ装置及びその方法
WO2015182428A1 (ja) * 2014-05-29 2015-12-03 シャープ株式会社 測定プローブ、測定装置およびアタッチメント機構
JP2015223431A (ja) * 2014-05-29 2015-12-14 シャープ株式会社 測定プローブ、測定装置およびアタッチメント機構
US10638928B2 (en) 2014-05-29 2020-05-05 Sharp Life Science Corporation Measurement probe, measurement device, and attachment mechanism
JPWO2020012545A1 (ja) * 2018-07-10 2021-05-13 オリンパス株式会社 光治療支援装置、光治療システムおよび光治療支援方法
JP7066850B2 (ja) 2018-07-10 2022-05-13 オリンパス株式会社 光治療支援装置、光治療システムおよび光治療支援方法
US11839774B2 (en) 2018-07-10 2023-12-12 Olympus Corporation Phototherapy assistance device, phototherapy system, and phototherapy assistance method

Also Published As

Publication number Publication date
EP2548616B1 (en) 2015-10-07
JP2011212423A (ja) 2011-10-27
US9277865B2 (en) 2016-03-08
EP2548616A4 (en) 2013-08-28
US20130123642A1 (en) 2013-05-16
SG183946A1 (en) 2012-10-30
CN102791329A (zh) 2012-11-21
CN102791329B (zh) 2016-01-20
KR20130052539A (ko) 2013-05-22
JP5719159B2 (ja) 2015-05-13
EP2548616A1 (en) 2013-01-23

Similar Documents

Publication Publication Date Title
JP5719159B2 (ja) 評価装置
JP5635282B2 (ja) 判別装置
JP4236014B2 (ja) 心筋の脈管再生のモニタリング
JP5608871B2 (ja) レーザカテーテル出射部の血液焦げ付き防止システム
JP2014221117A (ja) 治療進行度モニタ装置及びその方法
CN103458816B (zh) 基于功能成像的消融监测
US20130289672A1 (en) Laser therapy apparatus, laser therapy system, and determination method
JP2014526283A (ja) 血管内のイメージング及びフラッシングのための方法
JP5736116B2 (ja) 算出装置
JP2015089489A (ja) 医療用具及び光線治療装置
JP6724163B2 (ja) 組織の自己蛍光を使用した組織アブレーションの監視のためのシステム及び方法
US11751938B2 (en) Ablation catheter with blood perfusion sensor

Legal Events

Date Code Title Description
WWE Wipo information: entry into national phase

Ref document number: 201180013008.6

Country of ref document: CN

121 Ep: the epo has been informed by wipo that ep was designated in this application

Ref document number: 11755846

Country of ref document: EP

Kind code of ref document: A1

WWE Wipo information: entry into national phase

Ref document number: 7595/DELNP/2012

Country of ref document: IN

WWE Wipo information: entry into national phase

Ref document number: 2011755846

Country of ref document: EP

ENP Entry into the national phase

Ref document number: 20127023300

Country of ref document: KR

Kind code of ref document: A

NENP Non-entry into the national phase

Ref country code: DE

WWE Wipo information: entry into national phase

Ref document number: 13583531

Country of ref document: US