WO2011055467A1 - 照明装置 - Google Patents
照明装置 Download PDFInfo
- Publication number
- WO2011055467A1 WO2011055467A1 PCT/JP2010/002625 JP2010002625W WO2011055467A1 WO 2011055467 A1 WO2011055467 A1 WO 2011055467A1 JP 2010002625 W JP2010002625 W JP 2010002625W WO 2011055467 A1 WO2011055467 A1 WO 2011055467A1
- Authority
- WO
- WIPO (PCT)
- Prior art keywords
- point
- light
- light emitting
- optical axis
- emitting surface
- Prior art date
- Legal status (The legal status is an assumption and is not a legal conclusion. Google has not performed a legal analysis and makes no representation as to the accuracy of the status listed.)
- Ceased
Links
Images
Classifications
-
- F—MECHANICAL ENGINEERING; LIGHTING; HEATING; WEAPONS; BLASTING
- F21—LIGHTING
- F21V—FUNCTIONAL FEATURES OR DETAILS OF LIGHTING DEVICES OR SYSTEMS THEREOF; STRUCTURAL COMBINATIONS OF LIGHTING DEVICES WITH OTHER ARTICLES, NOT OTHERWISE PROVIDED FOR
- F21V7/00—Reflectors for light sources
- F21V7/0091—Reflectors for light sources using total internal reflection
-
- F—MECHANICAL ENGINEERING; LIGHTING; HEATING; WEAPONS; BLASTING
- F21—LIGHTING
- F21V—FUNCTIONAL FEATURES OR DETAILS OF LIGHTING DEVICES OR SYSTEMS THEREOF; STRUCTURAL COMBINATIONS OF LIGHTING DEVICES WITH OTHER ARTICLES, NOT OTHERWISE PROVIDED FOR
- F21V5/00—Refractors for light sources
- F21V5/04—Refractors for light sources of lens shape
-
- G—PHYSICS
- G02—OPTICS
- G02B—OPTICAL ELEMENTS, SYSTEMS OR APPARATUS
- G02B19/00—Condensers, e.g. light collectors or similar non-imaging optics
- G02B19/0004—Condensers, e.g. light collectors or similar non-imaging optics characterised by the optical means employed
- G02B19/0028—Condensers, e.g. light collectors or similar non-imaging optics characterised by the optical means employed refractive and reflective surfaces, e.g. non-imaging catadioptric systems
-
- G—PHYSICS
- G02—OPTICS
- G02B—OPTICAL ELEMENTS, SYSTEMS OR APPARATUS
- G02B19/00—Condensers, e.g. light collectors or similar non-imaging optics
- G02B19/0033—Condensers, e.g. light collectors or similar non-imaging optics characterised by the use
- G02B19/0047—Condensers, e.g. light collectors or similar non-imaging optics characterised by the use for use with a light source
- G02B19/0061—Condensers, e.g. light collectors or similar non-imaging optics characterised by the use for use with a light source the light source comprising a LED
-
- G—PHYSICS
- G02—OPTICS
- G02B—OPTICAL ELEMENTS, SYSTEMS OR APPARATUS
- G02B19/00—Condensers, e.g. light collectors or similar non-imaging optics
- G02B19/0033—Condensers, e.g. light collectors or similar non-imaging optics characterised by the use
- G02B19/0047—Condensers, e.g. light collectors or similar non-imaging optics characterised by the use for use with a light source
- G02B19/0071—Condensers, e.g. light collectors or similar non-imaging optics characterised by the use for use with a light source adapted to illuminate a complete hemisphere or a plane extending 360 degrees around the source
-
- F—MECHANICAL ENGINEERING; LIGHTING; HEATING; WEAPONS; BLASTING
- F21—LIGHTING
- F21Y—INDEXING SCHEME ASSOCIATED WITH SUBCLASSES F21K, F21L, F21S and F21V, RELATING TO THE FORM OR THE KIND OF THE LIGHT SOURCES OR OF THE COLOUR OF THE LIGHT EMITTED
- F21Y2105/00—Planar light sources
-
- F—MECHANICAL ENGINEERING; LIGHTING; HEATING; WEAPONS; BLASTING
- F21—LIGHTING
- F21Y—INDEXING SCHEME ASSOCIATED WITH SUBCLASSES F21K, F21L, F21S and F21V, RELATING TO THE FORM OR THE KIND OF THE LIGHT SOURCES OR OF THE COLOUR OF THE LIGHT EMITTED
- F21Y2105/00—Planar light sources
- F21Y2105/10—Planar light sources comprising a two-dimensional array of point-like light-generating elements
-
- F—MECHANICAL ENGINEERING; LIGHTING; HEATING; WEAPONS; BLASTING
- F21—LIGHTING
- F21Y—INDEXING SCHEME ASSOCIATED WITH SUBCLASSES F21K, F21L, F21S and F21V, RELATING TO THE FORM OR THE KIND OF THE LIGHT SOURCES OR OF THE COLOUR OF THE LIGHT EMITTED
- F21Y2115/00—Light-generating elements of semiconductor light sources
- F21Y2115/10—Light-emitting diodes [LED]
-
- H—ELECTRICITY
- H10—SEMICONDUCTOR DEVICES; ELECTRIC SOLID-STATE DEVICES NOT OTHERWISE PROVIDED FOR
- H10H—INORGANIC LIGHT-EMITTING SEMICONDUCTOR DEVICES HAVING POTENTIAL BARRIERS
- H10H20/00—Individual inorganic light-emitting semiconductor devices having potential barriers, e.g. light-emitting diodes [LED]
- H10H20/80—Constructional details
- H10H20/85—Packages
- H10H20/855—Optical field-shaping means, e.g. lenses
Definitions
- the present invention relates to a lighting device using a surface light source.
- LEDs light-emitting diodes
- LED bulbs lighting devices
- the light distribution characteristics of the LED bulb are required to be the same as those of the conventional incandescent bulb.
- the blue LED chip has a light emission distribution characteristic close to Lambertian
- a white or light bulb color LED light source using a blue LED and a phosphor has a light distribution distribution characteristic almost similar to Lambertian.
- Lambertian is a light emission distribution in which the distribution of the emission intensity with respect to the observation angle is proportional to the observation angle cos (cosine). Therefore, when an LED is used as a light source, it is not possible to irradiate light such as an incandescent lamp so that the light wraps around the rear side of the light source, that is, a solid angle of 2 ⁇ or more, and the front surface of the light emitting surface. The light intensity in the direction becomes strong.
- the first is a method of three-dimensionally arranging LED chips in various directions.
- the manufacturing cost increases, and a problem arises in terms of the thermal design of the LED.
- the second method is to arrange an optical element for controlling the direction of light in front of the light source.
- the larger the size of the optical element relative to the size of the light source the easier it is to control the direction of the light. This is because, as the optical surface of the optical element is farther from the light source, the direction of light incident on an arbitrary position on the optical surface is uniquely determined, so that all light can be controlled freely. is there. Conversely, when the size of the optical element is approximately the same as the size of the light source, the optical surface of the optical element is close to the light source, so the direction of light incident on an arbitrary position on the optical surface varies. It is impossible to control all the configurations freely.
- the optical element is used to distribute light emitted from a surface light source such as an LED so that a sufficient amount of light is emitted in various directions with respect to a solid angle of 2 ⁇ or more.
- a lighting device has not been developed.
- a compact illumination device that uses an optical element to distribute light emitted from a surface light source such as an LED so as to irradiate a solid angle of 2 ⁇ or more.
- An illumination device includes a surface light source, an incident surface disposed to face the light emitting surface of the surface light source, a first output surface facing the incident surface, and the incident surface and the first surface. And an optical element having a second emission surface that connects the emission surface.
- the center of the light emitting surface is a first point
- the edge point of the light emitting surface is a second point
- the axis passing through the first point and perpendicular to the light emitting surface is the optical axis of the optical element
- the first emission surface of the element has a shape in which the vicinity of the optical axis is recessed with respect to the periphery, and the first point in the cross section of the optical element including the optical axis and the second point A point on the first exit surface at a prospective angle of 15 degrees from the optical axis is defined as a third point, and a light beam emitted from the second point and traveling parallel to the optical axis is defined as the first exit surface.
- the intersection point is the fourth point
- the axis connecting the first point and the second point is the X axis
- the X coordinate of the point farthest from the optical axis of the first exit surface is the second point More than 1.5 times the value of the point
- the first exit surface is an area of 80% or more of the area where the X coordinate is greater than or equal to the value of the third point, and the incidence of light emitted from the first point
- the angle is greater than the critical angle and the X coordinate is 80% or more regions of the region which the value of 4 points or less, the incident angle of light emitted from the second point is configured to be less than the critical angle.
- the size of the first emission surface in the X-axis direction is 1.5 times or more the size of the light-emitting surface in the X-axis direction. Most of the light emitted from the first point of the light emitting surface and reaching the region where the X coordinate of the first emitting surface is equal to or greater than the value of the third point is totally reflected, and from the second point of the light emitting surface. Most of the light that exits and reaches the region of the first exit surface where the X coordinate is less than or equal to the value of the fourth point is refracted.
- the light emitted from a point between the first point P1 and the second point P2 on the light emitting surface determines the ratio of the light totally reflected and refracted by the first emission surface by the X coordinate.
- the ratio of the light that is totally reflected by the first emission surface increases, and the X coordinate of the point that emits light becomes the second point.
- the ratio of light refracted by the first exit surface increases. Therefore, by configuring the first emission surface as described above, the ratio of the light totally reflected by the first emission surface and the light refracted among the light emitted from various points on the surface light source is appropriately determined. be able to.
- the edge point of the light emitting surface is a point on the light emitting surface farthest from the optical axis in the cross section including the optical axis.
- the present invention focuses on the path of light emitted from the first and second points, appropriately determines the shape of the emission surface, and the X axis of the optical element with respect to the size of the surface light source in the X axis direction. This is based on the new knowledge that a compact illumination device that distributes light emitted from a surface light source so as to irradiate a solid angle of 2 ⁇ or more can be obtained by appropriately determining the ratio of direction sizes. .
- An illumination device includes a surface light source, an incident surface disposed to face the light emitting surface of the surface light source, a first output surface facing the incident surface, and the incident surface and the first surface. And an optical element having a second emission surface that connects the emission surface.
- the center of the light emitting surface is a first point
- the edge point of the light emitting surface is a second point
- the axis passing through the first point and perpendicular to the light emitting surface is the optical axis of the optical element
- the first emission surface of the element has a shape in which the vicinity of the optical axis is recessed with respect to the periphery.
- the first emission surface has a first angle in a region having a prospective angle of 25 degrees to 60 degrees from the optical axis with respect to the first point.
- the exit surface has a region where an angle with respect to the straight line connecting the first and second points is 20 degrees or less, and is at a position of a prospective angle of 15 degrees from the optical axis with respect to the first point.
- a point on the first emission surface is defined as a third point
- a point where a light beam emanating from the second point and traveling parallel to the optical axis intersects the first emission surface is defined as a fourth point
- the first point The incident angle of the light beam emitted from the point and reaching the third point to the first exit surface is ⁇ 13
- the light beam exiting from the second point and reaching the third point is incident on the first exit surface.
- the angle theta 23 the first incidence angle to the output surface theta 14 of light reaching the fourth point is injected from the first point
- the light reaching the fourth point is injected from the second point First emission
- the critical angle the incident angle to, It is.
- the ratio of the light that is totally reflected and the light that is refracted is appropriately determined on the first emission surface, and is uniform not only in the forward direction but also in the lateral and backward directions. Can be irradiated with light.
- the ratio of the light that is totally reflected and the light that is refracted becomes more appropriate on the first emission surface.
- the axis connecting the first point and the second point is the X axis
- the X coordinate is the third.
- the first emission surface is configured to totally reflect all the light emitted from the first point.
- light can be irradiated uniformly not only in the forward direction but also in the lateral direction and the backward direction.
- an axis connecting the first point and the second point is an X axis
- the first emission surface is configured to refract all the light emitted from the second point.
- an axis connecting the first point and the second point is an X axis
- the first emission surface is located on the opposite side of the surface light source with respect to a straight line connecting the third point and the fourth point.
- the area of the light emitting surface is A, and the area of the first emission surface is B. It is.
- the area of the light emitting surface is A
- the projected area of the first emission surface onto the surface parallel to the surface light source is C. It is.
- the area of the light emitting surface is A
- the height of the optical element is D
- the area of the light emitting surface is A, and the depth of the depression of the first emission surface is E. It is.
- the first emission surface has a protrusion structure for light diffusion in a region closer to the optical axis than the third point.
- the light emitting surface and the incident surface are separated from each other with an interval.
- the refraction of light at the incident surface can be used, and the degree of freedom of light beam control is increased.
- the area of the light emitting surface is A, and the distance between the light emitting surface and the incident surface is F. It is.
- an axis connecting the first point and the second point is an X axis, and the first emission surface
- the derivative of X with respect to X is continuous.
- At least a part of the first emission surface and the second emission surface is provided with a minute uneven shape.
- light can be irradiated more uniformly.
- the second exit surface has a linear portion in the cross section of the optical element including the optical axis and the second point.
- the optical element of the illuminating device according to the present embodiment can suppress light beam unevenness that is likely to occur near the boundary between the first emission surface and the second emission surface.
- the optical element includes an optical surface for light diffusion in the vicinity of the boundary between the first emission surface and the second emission surface.
- the present embodiment it is possible to suppress light beam unevenness that is likely to occur near the boundary between the first emission surface and the second emission surface.
- the optical surface for light diffusion has a concave shape with a radius of curvature R, and the area of the light emitting surface is A, It is.
- the optical surface for light diffusion of the optical element of the illumination device according to the present embodiment has a sufficient light diffusion function.
- the optical element includes a light guide portion extending outward in the vicinity of the boundary between the first emission surface and the second emission surface.
- the light guide unit functions to suppress light unevenness that is likely to occur near the boundary between the first emission surface and the second emission surface.
- a cover that covers the light source and the optical element is provided, and the cover is connected to the optical element by the light guide.
- an illuminating device that solves the problem of heat from the light source while suppressing unevenness of light rays that are likely to occur near the boundary between the first emission surface and the second emission surface.
- the optical element is an infinitely rotationally symmetric body around the optical axis.
- uniform irradiation can be performed in each radiation direction around the optical axis in a cross section perpendicular to the optical axis.
- a portion cut out from a rotationally symmetric shape around the optical axis into a fan shape of 180 ° or less is used.
- an illumination device having a more appropriate shape can be obtained according to the application.
- a portion cut into a fan shape of 180 ° or less from a rotationally symmetric shape around the optical axis is used, and the cut surface of the optical element is a curved surface.
- an illumination device having a more appropriate shape can be obtained according to the application.
- the shape of a cross section perpendicular to the optical axis of the optical element is configured to be different depending on the radiation direction so that irradiation is different depending on the radiation direction centered on the optical axis. .
- different irradiations can be performed depending on the radiation direction around the optical axis in a cross section perpendicular to the optical axis.
- An illumination device includes a surface light source, an incident surface disposed to face the light emitting surface of the surface light source, a first output surface facing the incident surface, and the incident surface and the first surface. And an optical element having a second emission surface connecting the emission surface, wherein a region of the second emission surface close to the incident surface deviates from a direction perpendicular to the light emission surface.
- H is the area of the light emitting surface as A
- a value within a range in which there is a light beam having an expected angle of 15 degrees from the optical axis passing through the center of the virtual light emitting surface, the center of the virtual light emitting surface being the first point, and the edge of the virtual light emitting surface The first point of the optical element passes through the first point and the axis perpendicular to the virtual light emitting surface is the optical axis of the optical element.
- the third point is the point on the exit surface
- the fourth point is the point where the light beam passing through the second point and traveling parallel to the optical axis intersects the first exit surface
- the first point is
- the X coordinate of the point farthest from the optical axis of the first exit surface is the 1.5 point of the value of the second point, with the origin and the axis connecting the first point and the second point as the X axis.
- the exit surface is an area of 80% or more of the area where the X coordinate is equal to or greater than the value of the third point, the incident angle of the light passing through the first point is equal to or greater than the critical angle, and the X coordinate is the fourth value.
- An illumination device configured such that an incident angle of light that has passed through a second point is smaller than a critical angle in an area that is 80% or more of an area that is equal to or less than a point value.
- the light beam can be directed backward at a high position away from the light source, and a lot of light can be guided in the backward direction of the light source.
- An illumination device includes a surface light source, an incident surface disposed to face the light emitting surface of the surface light source, a first output surface facing the incident surface, and the incident surface and the first surface. And an optical element having a second emission surface connecting the emission surface, wherein a region of the second emission surface close to the incident surface deviates from a direction perpendicular to the light emission surface.
- H is the area of the light emitting surface as A
- a value within a range in which there is a light beam having an expected angle of 15 degrees from the optical axis passing through the center of the virtual light emitting surface, the center of the virtual light emitting surface being the first point, and the edge of the virtual light emitting surface The first point of the optical element passes through the first point and the axis perpendicular to the virtual light emitting surface is the optical axis of the optical element.
- the first exit surface has a region in which an angle with respect to a straight line connecting the first and second points is 20 degrees or less, and an expected angle of 15 degrees from the optical axis with respect to the first point.
- a point on the first exit surface at a position is defined as a third point, and a point where a light beam passing through the second point and traveling parallel to the optical axis intersects the first exit surface is defined as a third point.
- the light beam can be directed backward at a high position away from the light source, and a lot of light can be guided in the backward direction of the light source.
- FIG. 2A It is a figure which shows the whole ellipse in which one part was shown by FIG. 2B. It is a figure for demonstrating the shape of the cross section containing the optical axis of the 1st output surface of an optical element.
- FIG. 1 is a diagram showing a configuration of a lighting device according to an embodiment of the present invention.
- the illumination device according to the present embodiment includes a surface light source 101 and an optical element 103.
- the surface light source 101 is, for example, a surface emitting LED (Light Emitting Diode) chip alone, or an array of surface emitting LED chips on the surface, OLED (Organic Light-Emitting Diode), LEP (Light Emitting Polymer). ) Etc.
- the surface light source 101 may be circular. Further, when the LED chips are arranged on the surface, the surface may have a curvature. Further, for example, a surface light source on which LED chips are arranged may be sealed with a hemispherical transparent material (for example, silicon resin).
- the optical element 103 has, for example, a shape that is infinitely rotationally symmetric about an axis that passes through the center of the circle of the circular surface light source 101 and is perpendicular to the surface of the surface light source 101. This axis is called the optical axis.
- the incident surface 203 of the optical element 103 faces the light emitting surface 201 of the surface light source 101.
- the optical element 103 further includes a first exit surface 205 facing the entrance surface 203, and a second exit surface 207 that connects the entrance surface 203 and the first exit surface 205 to form a side surface.
- the first emission surface 205 is recessed around the optical axis as compared to the peripheral edge. The shape of the first emission surface 205 will be described in detail later.
- the light emission area of the surface light source 101 is represented by A.
- the light emitting area refers to the area of the arrayed area when, for example, a plurality of LED chips are arrayed.
- the LED chip is sealed with a phosphor or the like, it indicates the area of a region where light is substantially transmitted.
- the total area of the first emission surface 205 and the second emission surface 207 of the optical element 103 is represented by B. Further, the projected area of the first emission surface 205 onto a plane parallel to the surface light source 101 is represented by C.
- the distance in the optical axis direction from the point farthest from the plane including the light emitting surface 201 of the first emission surface 205 to the plane including the light emitting surface 201 is represented by D.
- the depth of the depression of the first emission surface 205 is represented by E.
- the depth E of the dent is the distance in the optical axis direction between the highest point and the lowest point of the first emission surface 205.
- the distance between the light emitting surface 201 and the incident surface 203 is represented by F.
- FIG. 2A is a diagram showing a cross-sectional shape including the optical axis of the optical element 103 according to the present embodiment.
- FIG. 2B is a diagram showing the shape of a figure rotated around the rotation axis (optical axis) in order to obtain a rotationally symmetric body having the cross-sectional shape shown in FIG. 2A.
- the unit of the numbers in FIG. 2B is millimeters.
- the numbers enclosed in FIG. 2B designate the elliptical shape of the cross section of the first exit surface 205. In general, the cross section of the first emission surface 205 may not be elliptical.
- FIG. 2C is a diagram showing the entire ellipse partly shown in FIG. 2B.
- the numbers enclosed in FIGS. 2B and 2C specifically indicate the center position, major axis length, and minor axis length of the ellipse.
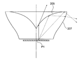
- FIG. 3 is a diagram for explaining the cross-sectional shape of the first emission surface 205 of the optical element 103 including the optical axis.
- the optical element 103 has the shape shown in FIGS. 2A and 2B.
- the intersection of the optical axis and the light emitting surface 201 is defined as a first point P1.
- a point on the circumference of the light emitting surface 201 is defined as a second point P2.
- a point on the first emission surface 205 that is at a prospective angle of 15 degrees from the optical axis with respect to the first point P1 is defined as a third point P3.
- an intersection of a perpendicular standing on the light emitting surface 201 at the second point P2 and a line indicating a cross section of the first emission surface 205 is defined as a fourth point P4.
- the incident angle of the light beam exiting from the first point P1 and reaching the third point P3 to the first exit surface 205 is ⁇ 13 , and the light beam exiting from the second point P2 and reaching the third point P3
- the incident angle on the first exit surface 205 is ⁇ 23
- the incident angle on the first exit surface 205 of the light beam that exits from the first point P 1 and reaches the fourth point P 4 is ⁇ 14
- the second point
- the incident angle of the light ray that has exited from P2 and reaches the fourth point P4 on the first exit surface 205 is ⁇ 24 .
- the following formula is obtained from the geometric relationship.
- the X coordinate of the point farthest from the optical axis of the first exit surface 205 is 10 (millimeter), and the X coordinate of the second point P2 is 4 (millimeter). Therefore, the ratio of the two is 2.5.
- ⁇ 13 is 61.7 °
- ⁇ 14 is 56.0 °.
- the incident angle of the light beam that is emitted from the first point P1 and reaches the region between the third point P3 and the fourth point P4 of the first emission surface 205 to the first emission surface 205. Is greater than the critical angle ⁇ c 39.1 °. Accordingly, the light beam that is emitted from the first point P1 and reaches the region between the third point P3 and the fourth point P4 of the first emission surface 205 is totally reflected by the first emission surface 205. Further, in the present embodiment, the light beam that is emitted from the first point P1 and reaches the entire area outside the third point P3 of the first emission surface 205 is totally reflected by the first emission surface 205. To do.
- theta 23 is 25.8 °
- theta 24 is 29.4 °.
- the first emission surface 205 is An angle with respect to a straight line connecting the first point P1 and the second point P2 is 20 degrees or less.
- the inventor configures the first emission surface 205 as follows, and thus the ratio of the light that is totally reflected by the first emission surface 205 and the light that is refracted out of the light emitted from various points on the surface light source. And the knowledge that light can be irradiated as uniformly as possible not only in the forward direction but also in the lateral and backward directions. That is, in the cross section of the optical element 103 including the optical axis and the second point P2, the first point P1 is the origin, and the axis connecting the first point P1 and the second point P2 is the X axis.
- the light exit surface 205 is an area of 80% or more of the area where the X coordinate is equal to or greater than the value of the third point P3, and the light emitted from the first point P1 is totally reflected, and the X coordinate is the fourth point P4.
- the light emitted from the second point P2 is refracted without being totally reflected in an area of 80% or more of the area that is equal to or less than the value of.
- the ratio of the light that is totally reflected by the first emission surface 205 increases, and the X coordinate of the point that emits light becomes the second value.
- the ratio of light refracted by the first exit surface 205 increases. Therefore, by configuring the first exit surface 205 as described above, the ratio of the light totally reflected by the first exit surface 205 to the refracted light among the light exiting from various points on the surface light source is set. It can be determined appropriately.
- the ratio of the X coordinate of the point farthest from the optical axis of the first emission surface 205 and the X coordinate of the second point P2 is changed. It is possible to further adjust the ratio to the light to be performed. In general, the ratio between the two is preferably 1.5 or more.
- 80% or more area is an “80% or more area” in the X coordinate area. Also, “80% or more area” is intended to exclude some exceptional areas such as the periphery of singular points.
- the rear direction of the light source can be more efficiently achieved. Light can be distributed.
- the shape of the first emission surface 205 can be determined as follows.
- the shape of the first emission surface 205 in the cross section including the optical axis and the second point P2 is referred to as a profile.
- the profile can be represented by a straight line connecting the third point P3 and the fourth point P4.
- the slope of the straight line is determined so that ⁇ 13 and ⁇ 14 are equal to or greater than the critical angle, and ⁇ 24 and ⁇ 24 are smaller than the critical angle. If determined in this way, the incident angle of the light beam incident from the first point P1 to the point on the straight line outside the third point P3 becomes larger than the critical angle, and the light beam is totally reflected. Further, the incident angle of the light beam incident from the second point P2 to the point on the straight line on the optical axis side from the fourth point P4 becomes smaller than the critical angle, and the light beam is refracted.
- the following processing is performed.
- the first point P1 and the second point P2 The ratio at which light rays emitted from any point in between are totally reflected by the first emission surface 205 increases.
- the ratio of the totally reflected light further increases. .
- the following processing is performed to increase the proportion of light that is totally reflected by the first exit surface 205 and irradiated in the backward direction. While satisfying the condition that ⁇ 24 is less than the critical angle, the inclination of the profile near and outside the fourth point P4 with respect to the X axis is reduced, and the X of the point farthest from the optical axis of the first exit surface 205 is reduced. By moving away from the light source while increasing the ratio between the coordinates and the X coordinate of the second point P2, the ratio of the light that is totally reflected by the first exit surface 205 and irradiated in the backward direction increases.
- the following processing is performed. While satisfying the condition that ⁇ 13 is greater than or equal to the critical angle, the inclination of the profile near the third point P3 and the optical axis side with respect to the X axis is reduced, and the first point P1 is emitted. Of the light reaching the region closer to the optical axis than the third point P3 on the exit surface 205, the proportion of light that is refracted increases.
- the ratio of the light totally reflected by the first emission surface 205 and the light refracted is appropriately determined, and the lateral direction and the backward direction as well as the forward direction are determined.
- the following formula needs to be satisfied.
- the gradient of the recess near the optical axis of the first emission surface 205 is too steep, so that the number of rays that pass through in the front direction decreases.
- the ratio of the totally reflected light to the refracted light is not appropriate.
- the gradient of the depression near the optical axis of the first emission surface 205 is too gentle. Therefore, the ratio of the light that is totally reflected and the light that is refracted at the first emission surface 205 is not appropriate. Further, even when the condition of Expression (3) is not satisfied, the ratio of the light that is totally reflected and the light that is refracted on the first emission surface 205 is not appropriate.
- the ratio of the light that is totally reflected and the light that is refracted at the first emission surface 205 becomes more appropriate.
- the shape of the first exit surface 205 near the third point P3 is determined so that the ratio of the totally reflected light to the refracted light becomes more appropriate.
- the ratio of the light that is totally reflected and the light that is refracted at the first emission surface 205 becomes more appropriate.
- the ratio of the size of the optical element to the size of the light source it is preferable that the following expression is satisfied.
- Equations (6) to (9) When each of the terms of Equations (6) to (9) is smaller than the lower limit value, the amount of light traveling in the forward direction of the surface light source increases, and when the value is greater than the upper limit value, the lateral light source moves from the lateral direction to the backward direction. More light goes forward.
- FIG. 4A is a diagram showing a path of a light beam that is emitted from a point in the vicinity of the first point P1 and reaches the first emission surface 205.
- a light beam emitted from a point near the first point P1 and reaching the region near the optical axis of the first emission surface 205 is refracted without being totally reflected and proceeds forward.
- light rays that are emitted from a point near the first point P1 and reach the region near the optical axis of the first emission surface 205 are totally reflected.
- a light beam emitted from a point near the first point P1 and reaching a region other than the region near the optical axis of the first emission surface 205 is totally reflected and proceeds laterally or backward.
- light rays that are refracted without being totally reflected by the first exit surface 205 are indicated by solid lines, and light rays that are totally reflected are indicated by dotted lines.
- FIG. 4B is a diagram illustrating a path of a light beam emitted from the second point P2 and reaching the first emission surface 205.
- the light beam that has exited from the second point P2 and reaches the region closer to the optical axis than the fourth point P4 of the first exit surface 205 is refracted and travels forward without being totally reflected.
- a light beam emitted from the second point P ⁇ b> 2 and reaching the peripheral edge of the first emission surface 205 is totally reflected by the first emission surface 205.
- a light beam emitted from the second point P2 and reaching the peripheral edge of the first emission surface 205 may not be totally reflected by the first emission surface 205.
- light rays that are refracted without being totally reflected by the first exit surface 205 are indicated by solid lines, and light rays that are totally reflected are indicated by dotted lines.
- FIG. 5 is a diagram conceptually showing an irradiation area by refracted light and an irradiation area by total reflection light in the lighting apparatus according to the present embodiment.
- Light emitted from the surface light source 101 and refracted by the first emission surface 205 irradiates in the forward direction.
- the light emitted from the surface light source 101 and totally reflected by the first emission surface 205 irradiates in the lateral and backward directions.
- FIG. 6 is a diagram showing a specific shape of the lighting device 100 according to the present embodiment.
- the surface light source 101 is circular with a radius of 4 millimeters.
- the incident surface 203 of the optical element 103 has a circular shape with a radius of 5.5 millimeters.
- the shape of the optical element 103 is shown in FIGS. 2A and B.
- the optical element 103 is made of a transparent material (for example, epoxy resin) having a refractive index of 1.585. However, in general, any material can be used as the material constituting the optical element as long as it is transparent to the target wavelength.
- FIG. 7A is a diagram showing a relative illuminance distribution around the illumination device 100 according to the present embodiment.
- the relative illuminance is on a spherical surface having a radius of 500 millimeters around the center of the light source (a point corresponding to the first point P1).
- the horizontal axis of the graph in FIG. 7A represents an angle with respect to the optical axis, and the vertical axis represents relative illuminance.
- the numerical values of ⁇ 500 to +500 described on the horizontal axis correspond to the position coordinates Y with the light emitting surface 201 as the origin and the optical axis direction as the negative direction, and the numerical values of 0 ° to 180 ° are the light emitting surface 201.
- the relative illuminance in the graph of FIG. 7A shows a value of 1/2 or more of the average value in the range from 0 ° to about 160 ° with respect to the optical axis, and the angle with respect to the optical axis from about 30 ° to about 140 ° In this range, the average value is 2/3 or more.
- FIG. 7B is a diagram for explaining an angle with respect to the optical axis.
- the angle with respect to the optical axis is an angle formed by a straight line extending from the center of the light source with the optical axis.
- the relative illuminance at an angle of 90 ° with respect to the optical axis is relative illuminance at a point where a straight line extending in the horizontal direction from the center of the light source intersects the spherical surface.
- the angle 0 ° with respect to the optical axis is the front direction (front direction) of the surface light source 101
- the angle 180 ° with respect to the optical axis is the back direction (rear direction) of the surface light source 101.
- FIG. 8A to FIG. 8H are diagrams showing the path of the light beam for each irradiation direction.
- FIG. 8A is a diagram showing a path of irradiation light in the forward direction. Most of the light rays are refracted by the first exit surface 205 and travel in the front direction.
- FIG. 8B is a diagram showing a path of irradiation light in a direction that forms an angle smaller than 90 ° with respect to the optical axis. There are light rays that are refracted by the first emission surface 205 and traveling forward, and light rays that are totally reflected by the first emission surface 205 and refracted by the second emission surface 207 and travel forward.
- FIG. 8C is a diagram showing a path of a light beam of irradiation light in a direction smaller than 90 ° with respect to the optical axis and at a larger angle than the case of FIG. 8B.
- About half of the light beam is a light beam that is totally reflected by the first light exit surface 205, refracted by the second light exit surface 207, and travels forward.
- FIG. 8D is a diagram illustrating a path of a light beam of irradiation light in a direction smaller than 90 ° with respect to the optical axis and at a larger angle than in the case of FIG. 8C. Most of the light rays are totally reflected by the first exit surface 205, refracted by the second exit surface 207, and travel forward.
- FIG. 8E is a diagram showing a path of light rays of irradiation light in a direction that forms an angle of approximately 90 ° with respect to the optical axis. Most of the light rays are totally reflected by the first exit surface 205, refracted by the second exit surface 207, and travel in a substantially lateral direction.
- FIG. 8F is a diagram showing a path of irradiation light in a direction that forms an angle larger than 90 ° with respect to the optical axis. Most of the light rays are totally reflected by the first emission surface 205, refracted by the second emission surface 207, and travel backward.
- FIG. 8G is a diagram showing a path of light rays of irradiation light in a direction larger than 90 ° with respect to the optical axis and at a larger angle than in the case of FIG. 8F. Most of the light rays are totally reflected by the first emission surface 205, refracted by the second emission surface 207, and travel backward.
- FIG. 8H is a diagram showing a path of light rays of irradiation light in a direction larger than 90 ° with respect to the optical axis and at a larger angle than in the case of FIG. 8G. Most of the light rays are totally reflected by the first emission surface 205, refracted by the second emission surface 207, and travel backward.
- FIG. 9 is a diagram showing a specific shape (a cross-sectional shape including an optical axis) of an optical element according to another embodiment.
- the curve or the broken line indicating the first emission surface is convex on the side opposite to the surface light source.
- FIG. 10 is a diagram showing a specific shape (a cross-sectional shape including an optical axis) of an optical element according to still another embodiment.
- a part of a curve or a broken line indicating the first emission surface is convex toward the surface light source side.
- FIG. 11 is a diagram showing an embodiment of an optical element in which a light diffusion optical surface 206 is provided in the vicinity of the boundary between the first emission surface 205 and the second emission surface 207 of the optical element.
- a light diffusing optical surface for diffusing light is provided near the boundary of a region where the lens power does not change continuously.
- the optical surface for light diffusion has a concave shape with a constant radius of curvature R, Is preferred. When the upper limit is exceeded, the light diffusing action is reduced.
- FIG. 12 shows various forms near the bottom of the recess of the optical element. For example, as shown in FIG. 12 (c), by providing a protrusion 251 at the bottom of the depression, it is possible to diffuse the light collected near the optical axis.
- FIG. 13 is a diagram illustrating a configuration of a lighting device according to an embodiment of the present invention.
- the illumination device according to the present embodiment includes a surface light source 101 and an optical element 103.
- the light beam emitted from the light emitting surface 201 of the surface light source 101 enters the optical element 103 from the incident surface 203, and the light beam that is more than half of the total light amount of the light source is the first light beam between the incident surface 203 and the first light emitting surface 205.
- the light is guided in the optical axis direction by total reflection on the surface of the second exit surface 208 close to the incident surface 203, thereby forming a virtual light emitting surface 301.
- the virtual light emitting surface 301 has a shape in which the distance from the light emitting surface 201 is H inside the optical element 103 and the light emitting surface 201 is projected onto a plane parallel to 201, and H represents the area of the light emitting surface as A. As And a value in a range in which a light beam having a prospective angle of 15 degrees from the optical axis passing through the center of the virtual light emitting surface exists.
- the light beam that has passed through the virtual light emitting surface 301 is mainly refracted by the first exit surface 205 and is emitted to the outside of the optical element 103, and after being totally reflected by the first exit surface 205, A circuit that is refracted at the exit surface 208 and exits outside the optical element 103 is traced. As a result, a lot of light can be guided in the backward direction of the surface light source 101.
- the optical element is an infinitely rotationally symmetric body.
- the optical element is an infinitely rotationally symmetric body, uniform irradiation is performed radially in the plane perpendicular to the optical axis (rotating axis).
- the optical element does not have to be an infinitely rotationally symmetric body.
- FIG. 14 is a diagram showing an embodiment of an illumination device in which the surface light source 101 is sealed with a hemispherical transparent sealing member 501.
- the incident surface 203 of the optical element 103 is recessed in a hemispherical shape so that the sealing member 501 and the optical element 103 do not interfere with each other. With such a configuration, even when the surface light source 101 sealed by the transparent sealing member 501 is used, light from the surface light source 101 can be efficiently taken into the optical element 103.
Landscapes
- Physics & Mathematics (AREA)
- General Physics & Mathematics (AREA)
- Optics & Photonics (AREA)
- Engineering & Computer Science (AREA)
- General Engineering & Computer Science (AREA)
- Led Device Packages (AREA)
- Planar Illumination Modules (AREA)
- Lenses (AREA)
- Non-Portable Lighting Devices Or Systems Thereof (AREA)
Priority Applications (4)
| Application Number | Priority Date | Filing Date | Title |
|---|---|---|---|
| CN2010800044743A CN102282416B (zh) | 2009-11-04 | 2010-04-09 | 照明装置 |
| EP10828030.6A EP2497996B1 (en) | 2009-11-04 | 2010-04-09 | Lighting device |
| JP2010529162A JP4660654B1 (ja) | 2009-11-04 | 2010-04-09 | 照明装置 |
| US12/973,177 US8118457B2 (en) | 2009-11-04 | 2010-12-20 | Illuminating device |
Applications Claiming Priority (4)
| Application Number | Priority Date | Filing Date | Title |
|---|---|---|---|
| US25795909P | 2009-11-04 | 2009-11-04 | |
| US61/257,959 | 2009-11-04 | ||
| US29295010P | 2010-01-07 | 2010-01-07 | |
| US61/292,950 | 2010-01-07 |
Related Child Applications (1)
| Application Number | Title | Priority Date | Filing Date |
|---|---|---|---|
| US12/973,177 Continuation US8118457B2 (en) | 2009-11-04 | 2010-12-20 | Illuminating device |
Publications (1)
| Publication Number | Publication Date |
|---|---|
| WO2011055467A1 true WO2011055467A1 (ja) | 2011-05-12 |
Family
ID=43969710
Family Applications (1)
| Application Number | Title | Priority Date | Filing Date |
|---|---|---|---|
| PCT/JP2010/002625 Ceased WO2011055467A1 (ja) | 2009-11-04 | 2010-04-09 | 照明装置 |
Country Status (5)
| Country | Link |
|---|---|
| US (1) | US8118457B2 (enExample) |
| EP (1) | EP2497996B1 (enExample) |
| JP (1) | JP5315503B2 (enExample) |
| CN (1) | CN102282416B (enExample) |
| WO (1) | WO2011055467A1 (enExample) |
Cited By (9)
| Publication number | Priority date | Publication date | Assignee | Title |
|---|---|---|---|---|
| CN102444861A (zh) * | 2011-11-17 | 2012-05-09 | 中国科学院深圳先进技术研究院 | Led透镜及含有该led透镜的led灯具 |
| CN102853288A (zh) * | 2011-06-30 | 2013-01-02 | 浚洸光学科技股份有限公司 | 光学元件及具有该光学元件的发光装置 |
| CN102900970A (zh) * | 2011-07-27 | 2013-01-30 | 丽光科技股份有限公司 | 光源模块 |
| CN103104834A (zh) * | 2011-11-10 | 2013-05-15 | 晶元光电股份有限公司 | 发光装置 |
| JP2014049440A (ja) * | 2012-08-30 | 2014-03-17 | Lg Innotek Co Ltd | 光学レンズ、発光素子、及びこれを備えた照明装置 |
| US20140293582A1 (en) * | 2013-03-28 | 2014-10-02 | Chang Hyuck LEE | Optical lens, light emitting device, and lighting device |
| JP2015041547A (ja) * | 2013-08-22 | 2015-03-02 | 槌屋ヤック株式会社 | 照射レンズ及び該照射レンズを用いたマーカーランプ |
| JP2015191838A (ja) * | 2014-03-28 | 2015-11-02 | パナソニックIpマネジメント株式会社 | 照明器具 |
| KR101948378B1 (ko) * | 2012-08-03 | 2019-02-14 | 지이 라이팅 솔루션스, 엘엘씨 | 발광 다이오드용 절두원추형 표면을 포함한 전방향 반사기 |
Families Citing this family (52)
| Publication number | Priority date | Publication date | Assignee | Title |
|---|---|---|---|---|
| JP5174835B2 (ja) * | 2010-01-08 | 2013-04-03 | シャープ株式会社 | Led電球 |
| US10451251B2 (en) * | 2010-08-02 | 2019-10-22 | Ideal Industries Lighting, LLC | Solid state lamp with light directing optics and diffuser |
| US8297799B2 (en) * | 2010-12-02 | 2012-10-30 | Aether Systems Inc. | Omnidirectional LED lamp and complex, unitary lens |
| TWI418853B (zh) * | 2010-12-15 | 2013-12-11 | Cal Comp Electronics & Comm Co | 光學透鏡模組及其發光裝置 |
| CN102537831B (zh) * | 2010-12-22 | 2016-05-11 | 欧司朗股份有限公司 | 透镜和具有该透镜的照明装置 |
| JP5172988B2 (ja) * | 2011-04-12 | 2013-03-27 | シャープ株式会社 | 照明装置 |
| JP6067246B2 (ja) * | 2011-06-30 | 2017-01-25 | 株式会社東芝 | 照明装置 |
| US8757845B2 (en) * | 2011-07-29 | 2014-06-24 | TSMC Solid State Lighting, Ltd. | Wide angle based indoor lighting lamp |
| US9081125B2 (en) | 2011-08-08 | 2015-07-14 | Quarkstar Llc | Illumination devices including multiple light emitting elements |
| US8523407B2 (en) * | 2011-09-13 | 2013-09-03 | Chun Kuang Optics Corp. | Optical element and illuminant device using the same |
| KR101347095B1 (ko) | 2011-11-16 | 2014-01-06 | 김성제 | 렌즈형 도광판 |
| JP5747196B2 (ja) * | 2011-12-20 | 2015-07-08 | ナルックス株式会社 | 光学素子、該光学素子を含む照明装置及び該照明装置を使用した照明モジュール |
| CN102563526B (zh) * | 2011-12-28 | 2014-08-20 | 东莞雷笛克光学有限公司 | 均光透镜 |
| EP2815263A1 (en) | 2012-02-16 | 2014-12-24 | Koninklijke Philips N.V. | Optical element for uniform lighting |
| CN103375768A (zh) * | 2012-04-26 | 2013-10-30 | 全亿大科技(佛山)有限公司 | 透镜及光源模组 |
| WO2013180366A1 (en) * | 2012-05-31 | 2013-12-05 | Lg Innotek Co., Ltd. | Member for cotrolling luminous flux, display device, and light emitting device |
| US20140016299A1 (en) * | 2012-06-14 | 2014-01-16 | Solar Science, Co., Ltd. | Photon enhancement guiding structures, devices, and methods for light emitting devices |
| JP5228217B1 (ja) * | 2012-06-19 | 2013-07-03 | 鈴木 優一 | レンズ、照明装置、受光装置および光学装置 |
| CN103511977A (zh) * | 2012-06-19 | 2014-01-15 | 欧司朗股份有限公司 | 透镜和包括该透镜的全向照明装置、改型灯 |
| KR101355815B1 (ko) | 2012-08-03 | 2014-01-27 | 방주광학 주식회사 | 발광장치 및 이를 구비하는 조명장치 |
| KR102023540B1 (ko) * | 2012-08-08 | 2019-09-24 | 엘지이노텍 주식회사 | 광속 제어 부재, 발광 장치 및 표시 장치 |
| TW201408946A (zh) * | 2012-08-21 | 2014-03-01 | 辰峯光電股份有限公司 | 發光裝置 |
| CN103672729B (zh) * | 2012-09-13 | 2016-12-21 | 赛尔富电子有限公司 | 透镜、led模组及使用该led模组的照明系统 |
| KR101419031B1 (ko) | 2012-11-12 | 2014-07-11 | 방주광학 주식회사 | 발광장치 및 이를 구비하는 조명장치 |
| KR102093649B1 (ko) * | 2012-12-14 | 2020-03-26 | 엘지이노텍 주식회사 | 발광 확산 소자, 이를 갖는 엘이디 어레이 유닛 및 이를 갖는 백라이트 어셈블리 |
| KR102024291B1 (ko) | 2012-12-18 | 2019-09-23 | 엘지이노텍 주식회사 | 램프 유닛 및 그를 이용한 차량 램프 장치 |
| KR101299528B1 (ko) * | 2012-12-18 | 2013-08-23 | (주)애니캐스팅 | 측면 방출형 발광다이오드용 렌즈, 이를 구비하는 백라이트유닛 및 표시장치 |
| KR102081246B1 (ko) * | 2013-04-15 | 2020-02-25 | 엘지전자 주식회사 | 디스플레이 장치 |
| TWM461760U (zh) * | 2013-04-29 | 2013-09-11 | 勝華科技股份有限公司 | 光學透鏡與光源裝置 |
| TWI503581B (zh) * | 2013-07-10 | 2015-10-11 | E Pin Optical Industry Co Ltd | 透鏡、光源裝置以及直下式光源模組 |
| KR20150009860A (ko) * | 2013-07-17 | 2015-01-27 | 서울반도체 주식회사 | 광 확산 렌즈, 이를 구비한 발광 디바이스 |
| WO2015019683A1 (ja) * | 2013-08-09 | 2015-02-12 | 株式会社 東芝 | 照明装置および広配光レンズ |
| CN105793646B (zh) | 2013-09-17 | 2018-12-21 | 夸克星有限责任公司 | 用于直接-间接照明的照明装置 |
| US8979320B1 (en) * | 2013-10-23 | 2015-03-17 | Kevin McDermott | LED lighting device |
| KR102087946B1 (ko) * | 2013-10-30 | 2020-03-11 | 엘지이노텍 주식회사 | 발광소자 패키지 |
| JP6248576B2 (ja) | 2013-11-25 | 2017-12-20 | セイコーエプソン株式会社 | 機能素子、電子機器、および移動体 |
| CN104748068B (zh) * | 2013-12-30 | 2018-04-17 | 赛恩倍吉科技顾问(深圳)有限公司 | 透镜及使用该透镜的光源模组 |
| CN104009145A (zh) * | 2014-05-05 | 2014-08-27 | 深圳雷曼光电科技股份有限公司 | 一种背光模组、贴片式led及其封装工艺 |
| CN105531607B (zh) * | 2014-07-17 | 2019-11-15 | 首尔半导体(株) | 光漫射透镜以及包括光漫射透镜的发光装置 |
| KR101604667B1 (ko) * | 2014-08-19 | 2016-03-21 | 주식회사 에이치엘옵틱스 | 직하 백라이트유닛 확산 렌즈 |
| KR101604666B1 (ko) * | 2014-08-19 | 2016-03-21 | 주식회사 에이치엘옵틱스 | 직하 백라이트유닛 확산 렌즈 |
| KR102266737B1 (ko) * | 2014-11-03 | 2021-06-18 | 엘지이노텍 주식회사 | 렌즈, 렌즈를 포함하는 발광 장치, 및 발광 장치를 포함하는 백 라이트 유닛 |
| US9920904B2 (en) * | 2015-12-07 | 2018-03-20 | George A. Articolo | Critical angle lens reflector |
| US11181678B2 (en) | 2016-05-04 | 2021-11-23 | Lumileds Llc | Molded light guide for optically coupling light from LEDs |
| CN110249175B (zh) * | 2017-02-02 | 2021-11-05 | 昕诺飞控股有限公司 | 具有拒绝中心透镜的介电准直器 |
| JP6775470B2 (ja) * | 2017-05-24 | 2020-10-28 | シチズン時計株式会社 | 照明装置 |
| KR102330015B1 (ko) | 2017-07-21 | 2021-11-22 | 엘지디스플레이 주식회사 | 렌즈, 광원 장치, 백라이트 유닛 및 전자 기기 |
| WO2020057514A1 (zh) * | 2018-09-17 | 2020-03-26 | 欧普照明股份有限公司 | 一种照明灯具及照明模组及透镜 |
| JP7280125B2 (ja) * | 2019-06-28 | 2023-05-23 | コイト電工株式会社 | 光学レンズ |
| JP7280126B2 (ja) * | 2019-06-28 | 2023-05-23 | コイト電工株式会社 | 光学レンズ |
| JP7383465B2 (ja) * | 2019-11-29 | 2023-11-20 | 株式会社エンプラス | 光束制御部材、発光装置、面光源装置および表示装置 |
| CN113900343B (zh) * | 2021-10-19 | 2023-10-27 | 马瑞利汽车零部件(芜湖)有限公司 | 大角度车身投影光学系统 |
Citations (4)
| Publication number | Priority date | Publication date | Assignee | Title |
|---|---|---|---|---|
| JPH0626270U (ja) * | 1992-09-02 | 1994-04-08 | スタンレー電気株式会社 | Ledランプ |
| US6543911B1 (en) | 2000-05-08 | 2003-04-08 | Farlight Llc | Highly efficient luminaire having optical transformer providing precalculated angular intensity distribution and method therefore |
| JP2008226702A (ja) | 2007-03-14 | 2008-09-25 | Stanley Electric Co Ltd | 照明装置 |
| JP2009021086A (ja) * | 2007-07-11 | 2009-01-29 | Panasonic Electric Works Co Ltd | 発光ユニット |
Family Cites Families (27)
| Publication number | Priority date | Publication date | Assignee | Title |
|---|---|---|---|---|
| US2254961A (en) * | 1937-08-21 | 1941-09-02 | George M Cressaty | Unitary lens system |
| US2362176A (en) * | 1943-03-25 | 1944-11-07 | Swanson Harold | Flashlight full-beam electric lamp |
| JPH0626270A (ja) | 1992-04-24 | 1994-02-01 | Fujita Corp | 躯体外壁開口部の構造 |
| US6598998B2 (en) * | 2001-05-04 | 2003-07-29 | Lumileds Lighting, U.S., Llc | Side emitting light emitting device |
| US6679621B2 (en) * | 2002-06-24 | 2004-01-20 | Lumileds Lighting U.S., Llc | Side emitting LED and lens |
| US8075147B2 (en) * | 2003-05-13 | 2011-12-13 | Light Prescriptions Innovators, Llc | Optical device for LED-based lamp |
| US7329029B2 (en) * | 2003-05-13 | 2008-02-12 | Light Prescriptions Innovators, Llc | Optical device for LED-based lamp |
| US7083313B2 (en) * | 2004-06-28 | 2006-08-01 | Whelen Engineering Company, Inc. | Side-emitting collimator |
| DE102004043516A1 (de) * | 2004-09-08 | 2006-03-23 | Osram Opto Semiconductors Gmbh | Seitlich emittierendes strahlungserzeugendes Bauelement und Linse für ein solches Bauelement |
| CN101014894B (zh) * | 2004-09-08 | 2010-11-10 | 奥斯兰姆奥普托半导体有限责任公司 | 侧面发出辐射的器件和用于如此器件的透镜 |
| TWI249257B (en) * | 2004-09-24 | 2006-02-11 | Epistar Corp | Illumination apparatus |
| KR100677135B1 (ko) * | 2004-09-25 | 2007-02-02 | 삼성전자주식회사 | 측 발광 디바이스 및 이를 광원으로 사용하는 백라이트유닛 및 이를 채용한 액정표시장치 |
| KR100638657B1 (ko) * | 2004-10-20 | 2006-10-30 | 삼성전기주식회사 | 양극성 측면 방출형 발광 다이오드 렌즈 및 이를 구비하는발광 다이오드 모듈 |
| KR100657281B1 (ko) * | 2004-10-29 | 2006-12-14 | 삼성전자주식회사 | 측 발광 디바이스 및 이를 광원으로 사용하는 백라이트유닛 및 이를 채용한 액정표시장치 |
| KR20060040502A (ko) * | 2004-11-06 | 2006-05-10 | 럭스피아 주식회사 | 발광 유니트 및 이를 채용한 백라이트 장치 |
| KR100754169B1 (ko) * | 2004-11-24 | 2007-09-03 | 삼성전자주식회사 | 측 발광 디바이스 및 이를 광원으로 사용하는 백라이트유닛 및 이를 채용한 액정표시장치 |
| US20090273727A1 (en) * | 2004-12-03 | 2009-11-05 | Sony Corporation | Light-emission lens, light-emitting element assembly, sheet-shaped light source device and color liquid crystal display assembly |
| TWI317829B (en) * | 2004-12-15 | 2009-12-01 | Epistar Corp | Led illumination device and application thereof |
| DE102005019832A1 (de) * | 2005-02-28 | 2006-09-14 | Osram Opto Semiconductors Gmbh | Beleuchtungsvorrichtung |
| TWI262604B (en) * | 2005-04-19 | 2006-09-21 | Young Lighting Technology Inc | LED lens |
| TWI260380B (en) * | 2005-08-05 | 2006-08-21 | Chi Lin Technology Co Ltd | Lens for LED |
| KR100651550B1 (ko) * | 2005-08-18 | 2006-11-29 | 삼성전기주식회사 | 상, 중, 하부로 구성된 led 광원용 렌즈 |
| KR100722590B1 (ko) * | 2005-08-30 | 2007-05-28 | 삼성전기주식회사 | 백라이트용 led 렌즈 |
| US7254309B1 (en) * | 2006-07-14 | 2007-08-07 | Coretronic Corporation | Side emitting LED and lens |
| US7438445B2 (en) * | 2006-07-14 | 2008-10-21 | Coretronic Corporation | Side-emitting light-emitting element and packaging lens thereof |
| US7524098B2 (en) * | 2006-10-12 | 2009-04-28 | Dicon Fiberoptics, Inc. | Solid-state lateral emitting optical system |
| TWI354839B (en) * | 2007-08-28 | 2011-12-21 | Chunghwa Picture Tubes Ltd | Back light module |
-
2010
- 2010-04-09 CN CN2010800044743A patent/CN102282416B/zh active Active
- 2010-04-09 WO PCT/JP2010/002625 patent/WO2011055467A1/ja not_active Ceased
- 2010-04-09 EP EP10828030.6A patent/EP2497996B1/en active Active
- 2010-11-09 JP JP2010251150A patent/JP5315503B2/ja active Active
- 2010-12-20 US US12/973,177 patent/US8118457B2/en active Active
Patent Citations (5)
| Publication number | Priority date | Publication date | Assignee | Title |
|---|---|---|---|---|
| JPH0626270U (ja) * | 1992-09-02 | 1994-04-08 | スタンレー電気株式会社 | Ledランプ |
| US6543911B1 (en) | 2000-05-08 | 2003-04-08 | Farlight Llc | Highly efficient luminaire having optical transformer providing precalculated angular intensity distribution and method therefore |
| US6899443B2 (en) | 2000-05-08 | 2005-05-31 | Farlight Llc | Light module |
| JP2008226702A (ja) | 2007-03-14 | 2008-09-25 | Stanley Electric Co Ltd | 照明装置 |
| JP2009021086A (ja) * | 2007-07-11 | 2009-01-29 | Panasonic Electric Works Co Ltd | 発光ユニット |
Non-Patent Citations (1)
| Title |
|---|
| See also references of EP2497996A4 |
Cited By (16)
| Publication number | Priority date | Publication date | Assignee | Title |
|---|---|---|---|---|
| CN102853288A (zh) * | 2011-06-30 | 2013-01-02 | 浚洸光学科技股份有限公司 | 光学元件及具有该光学元件的发光装置 |
| CN102900970A (zh) * | 2011-07-27 | 2013-01-30 | 丽光科技股份有限公司 | 光源模块 |
| JP2013030728A (ja) * | 2011-07-27 | 2013-02-07 | Beautiful Light Technology Corp | 光源モジュール |
| US8641238B2 (en) | 2011-07-27 | 2014-02-04 | Beautiful Light Technology Corp. | Light source module |
| CN103104834A (zh) * | 2011-11-10 | 2013-05-15 | 晶元光电股份有限公司 | 发光装置 |
| CN103104834B (zh) * | 2011-11-10 | 2017-05-03 | 晶元光电股份有限公司 | 发光装置 |
| CN102444861A (zh) * | 2011-11-17 | 2012-05-09 | 中国科学院深圳先进技术研究院 | Led透镜及含有该led透镜的led灯具 |
| CN102444861B (zh) * | 2011-11-17 | 2013-08-07 | 中国科学院深圳先进技术研究院 | Led透镜及含有该led透镜的led灯具 |
| KR101948378B1 (ko) * | 2012-08-03 | 2019-02-14 | 지이 라이팅 솔루션스, 엘엘씨 | 발광 다이오드용 절두원추형 표면을 포함한 전방향 반사기 |
| US9625118B2 (en) | 2012-08-30 | 2017-04-18 | Lg Innotek Co., Ltd. | Optical lens, light emitting device, and lighting device having the same |
| US9236543B2 (en) | 2012-08-30 | 2016-01-12 | Lg Innotek Co., Ltd. | Optical lens, light emitting device, and lighting device having the same |
| JP2014049440A (ja) * | 2012-08-30 | 2014-03-17 | Lg Innotek Co Ltd | 光学レンズ、発光素子、及びこれを備えた照明装置 |
| US20140293582A1 (en) * | 2013-03-28 | 2014-10-02 | Chang Hyuck LEE | Optical lens, light emitting device, and lighting device |
| US9995461B2 (en) * | 2013-03-28 | 2018-06-12 | Lg Innotek Co., Ltd. | Optical lens, light emitting device, and lighting device |
| JP2015041547A (ja) * | 2013-08-22 | 2015-03-02 | 槌屋ヤック株式会社 | 照射レンズ及び該照射レンズを用いたマーカーランプ |
| JP2015191838A (ja) * | 2014-03-28 | 2015-11-02 | パナソニックIpマネジメント株式会社 | 照明器具 |
Also Published As
| Publication number | Publication date |
|---|---|
| EP2497996A1 (en) | 2012-09-12 |
| EP2497996A4 (en) | 2017-04-05 |
| EP2497996B1 (en) | 2018-08-15 |
| JP2011100134A (ja) | 2011-05-19 |
| US20110157898A1 (en) | 2011-06-30 |
| CN102282416B (zh) | 2013-04-10 |
| US8118457B2 (en) | 2012-02-21 |
| JP5315503B2 (ja) | 2013-10-16 |
| CN102282416A (zh) | 2011-12-14 |
Similar Documents
| Publication | Publication Date | Title |
|---|---|---|
| JP5315503B2 (ja) | 照明装置 | |
| JP4660654B1 (ja) | 照明装置 | |
| JP5050149B1 (ja) | 照明装置 | |
| JP6235491B2 (ja) | 均一な照明を得るための光学素子 | |
| US7070301B2 (en) | Side reflector for illumination using light emitting diode | |
| CN102338347B (zh) | 适用于半导体灯的光学装置 | |
| EP2287653A1 (en) | Optical lens and illumination fixture using the same | |
| JP5342939B2 (ja) | 照明用レンズ、発光装置、面光源および液晶ディスプレイ装置 | |
| JP6073718B2 (ja) | 光学レンズ | |
| CN110537054B (zh) | 光束控制部件、发光装置、面光源装置及显示装置 | |
| WO2013179610A1 (ja) | 光束制御部材、発光装置および照明装置 | |
| JP2011199576A (ja) | 線状照明装置および画像読取装置 | |
| JP6437252B2 (ja) | 光束制御部材、発光装置および照明装置 | |
| JP2016218185A (ja) | 照明器具用フレネルレンズおよびそれを有する照明器具 | |
| JP5342941B2 (ja) | 照明用レンズ、発光装置、面光源および液晶ディスプレイ装置 | |
| JP6437242B2 (ja) | 光束制御部材、面光源装置および表示装置 | |
| WO2019087871A1 (ja) | 光束制御部材、発光装置、面光源装置および表示装置 | |
| JP2011228226A (ja) | 照明用レンズ、発光装置、面光源および液晶ディスプレイ装置 | |
| JP2012164544A (ja) | 照明装置 | |
| JP2009259448A (ja) | 照明モジュール、光源ユニット及び照明器具 | |
| JP2024031623A (ja) | 光学素子および照明装置 | |
| WO2018186413A1 (ja) | 導光体、及び面状発光モジュール | |
| JP2019040101A (ja) | 光学素子、照明装置及び集光装置 | |
| WO2017038758A1 (ja) | 光束制御部材、発光装置、面光源装置および表示装置 | |
| JP2015035422A (ja) | 照明装置 |
Legal Events
| Date | Code | Title | Description |
|---|---|---|---|
| WWE | Wipo information: entry into national phase |
Ref document number: 201080004474.3 Country of ref document: CN |
|
| WWE | Wipo information: entry into national phase |
Ref document number: 2010529162 Country of ref document: JP |
|
| 121 | Ep: the epo has been informed by wipo that ep was designated in this application |
Ref document number: 10828030 Country of ref document: EP Kind code of ref document: A1 |
|
| NENP | Non-entry into the national phase |
Ref country code: DE |
|
| WWE | Wipo information: entry into national phase |
Ref document number: 2010828030 Country of ref document: EP |