WO2011040426A1 - 半導体装置の製造方法 - Google Patents

半導体装置の製造方法 Download PDF

Info

Publication number
WO2011040426A1
WO2011040426A1 PCT/JP2010/066886 JP2010066886W WO2011040426A1 WO 2011040426 A1 WO2011040426 A1 WO 2011040426A1 JP 2010066886 W JP2010066886 W JP 2010066886W WO 2011040426 A1 WO2011040426 A1 WO 2011040426A1
Authority
WO
WIPO (PCT)
Prior art keywords
plasma
semiconductor device
film
manufacturing
oxide film
Prior art date
Legal status (The legal status is an assumption and is not a legal conclusion. Google has not performed a legal analysis and makes no representation as to the accuracy of the status listed.)
Ceased
Application number
PCT/JP2010/066886
Other languages
English (en)
French (fr)
Japanese (ja)
Inventor
吉宏 佐藤
俊彦 塩澤
辰夫 西田
良浩 廣田
Current Assignee (The listed assignees may be inaccurate. Google has not performed a legal analysis and makes no representation or warranty as to the accuracy of the list.)
Tokyo Electron Ltd
Original Assignee
Tokyo Electron Ltd
Priority date (The priority date is an assumption and is not a legal conclusion. Google has not performed a legal analysis and makes no representation as to the accuracy of the date listed.)
Filing date
Publication date
Application filed by Tokyo Electron Ltd filed Critical Tokyo Electron Ltd
Priority to KR1020127011218A priority Critical patent/KR101380094B1/ko
Priority to US13/498,259 priority patent/US20120184107A1/en
Publication of WO2011040426A1 publication Critical patent/WO2011040426A1/ja
Anticipated expiration legal-status Critical
Ceased legal-status Critical Current

Links

Images

Classifications

    • HELECTRICITY
    • H01ELECTRIC ELEMENTS
    • H01LSEMICONDUCTOR DEVICES NOT COVERED BY CLASS H10
    • H01L21/00Processes or apparatus adapted for the manufacture or treatment of semiconductor or solid state devices or of parts thereof
    • H01L21/02Manufacture or treatment of semiconductor devices or of parts thereof
    • H01L21/02104Forming layers
    • H01L21/02107Forming insulating materials on a substrate
    • H01L21/02225Forming insulating materials on a substrate characterised by the process for the formation of the insulating layer
    • H01L21/0226Forming insulating materials on a substrate characterised by the process for the formation of the insulating layer formation by a deposition process
    • H01L21/02263Forming insulating materials on a substrate characterised by the process for the formation of the insulating layer formation by a deposition process deposition from the gas or vapour phase
    • H01L21/02271Forming insulating materials on a substrate characterised by the process for the formation of the insulating layer formation by a deposition process deposition from the gas or vapour phase deposition by decomposition or reaction of gaseous or vapour phase compounds, i.e. chemical vapour deposition
    • H01L21/02274Forming insulating materials on a substrate characterised by the process for the formation of the insulating layer formation by a deposition process deposition from the gas or vapour phase deposition by decomposition or reaction of gaseous or vapour phase compounds, i.e. chemical vapour deposition in the presence of a plasma [PECVD]
    • HELECTRICITY
    • H01ELECTRIC ELEMENTS
    • H01LSEMICONDUCTOR DEVICES NOT COVERED BY CLASS H10
    • H01L21/00Processes or apparatus adapted for the manufacture or treatment of semiconductor or solid state devices or of parts thereof
    • H01L21/70Manufacture or treatment of devices consisting of a plurality of solid state components formed in or on a common substrate or of parts thereof; Manufacture of integrated circuit devices or of parts thereof
    • H01L21/71Manufacture of specific parts of devices defined in group H01L21/70
    • H01L21/76Making of isolation regions between components
    • H01L21/762Dielectric regions, e.g. EPIC dielectric isolation, LOCOS; Trench refilling techniques, SOI technology, use of channel stoppers
    • H01L21/76224Dielectric regions, e.g. EPIC dielectric isolation, LOCOS; Trench refilling techniques, SOI technology, use of channel stoppers using trench refilling with dielectric materials
    • HELECTRICITY
    • H01ELECTRIC ELEMENTS
    • H01JELECTRIC DISCHARGE TUBES OR DISCHARGE LAMPS
    • H01J37/00Discharge tubes with provision for introducing objects or material to be exposed to the discharge, e.g. for the purpose of examination or processing thereof
    • H01J37/32Gas-filled discharge tubes
    • H01J37/32009Arrangements for generation of plasma specially adapted for examination or treatment of objects, e.g. plasma sources
    • H01J37/32192Microwave generated discharge
    • HELECTRICITY
    • H01ELECTRIC ELEMENTS
    • H01LSEMICONDUCTOR DEVICES NOT COVERED BY CLASS H10
    • H01L21/00Processes or apparatus adapted for the manufacture or treatment of semiconductor or solid state devices or of parts thereof
    • H01L21/02Manufacture or treatment of semiconductor devices or of parts thereof
    • H01L21/02104Forming layers
    • H01L21/02107Forming insulating materials on a substrate
    • H01L21/02225Forming insulating materials on a substrate characterised by the process for the formation of the insulating layer
    • H01L21/02227Forming insulating materials on a substrate characterised by the process for the formation of the insulating layer formation by a process other than a deposition process
    • H01L21/0223Forming insulating materials on a substrate characterised by the process for the formation of the insulating layer formation by a process other than a deposition process formation by oxidation, e.g. oxidation of the substrate
    • H01L21/02233Forming insulating materials on a substrate characterised by the process for the formation of the insulating layer formation by a process other than a deposition process formation by oxidation, e.g. oxidation of the substrate of the semiconductor substrate or a semiconductor layer
    • H01L21/02236Forming insulating materials on a substrate characterised by the process for the formation of the insulating layer formation by a process other than a deposition process formation by oxidation, e.g. oxidation of the substrate of the semiconductor substrate or a semiconductor layer group IV semiconductor
    • HELECTRICITY
    • H01ELECTRIC ELEMENTS
    • H01LSEMICONDUCTOR DEVICES NOT COVERED BY CLASS H10
    • H01L21/00Processes or apparatus adapted for the manufacture or treatment of semiconductor or solid state devices or of parts thereof
    • H01L21/02Manufacture or treatment of semiconductor devices or of parts thereof
    • H01L21/04Manufacture or treatment of semiconductor devices or of parts thereof the devices having potential barriers, e.g. a PN junction, depletion layer or carrier concentration layer
    • H01L21/18Manufacture or treatment of semiconductor devices or of parts thereof the devices having potential barriers, e.g. a PN junction, depletion layer or carrier concentration layer the devices having semiconductor bodies comprising elements of Group IV of the Periodic Table or AIIIBV compounds with or without impurities, e.g. doping materials
    • H01L21/30Treatment of semiconductor bodies using processes or apparatus not provided for in groups H01L21/20 - H01L21/26
    • H01L21/302Treatment of semiconductor bodies using processes or apparatus not provided for in groups H01L21/20 - H01L21/26 to change their surface-physical characteristics or shape, e.g. etching, polishing, cutting
    • H01L21/306Chemical or electrical treatment, e.g. electrolytic etching
    • H01L21/30604Chemical etching
    • HELECTRICITY
    • H01ELECTRIC ELEMENTS
    • H01LSEMICONDUCTOR DEVICES NOT COVERED BY CLASS H10
    • H01L21/00Processes or apparatus adapted for the manufacture or treatment of semiconductor or solid state devices or of parts thereof
    • H01L21/02Manufacture or treatment of semiconductor devices or of parts thereof
    • H01L21/04Manufacture or treatment of semiconductor devices or of parts thereof the devices having potential barriers, e.g. a PN junction, depletion layer or carrier concentration layer
    • H01L21/18Manufacture or treatment of semiconductor devices or of parts thereof the devices having potential barriers, e.g. a PN junction, depletion layer or carrier concentration layer the devices having semiconductor bodies comprising elements of Group IV of the Periodic Table or AIIIBV compounds with or without impurities, e.g. doping materials
    • H01L21/30Treatment of semiconductor bodies using processes or apparatus not provided for in groups H01L21/20 - H01L21/26
    • H01L21/31Treatment of semiconductor bodies using processes or apparatus not provided for in groups H01L21/20 - H01L21/26 to form insulating layers thereon, e.g. for masking or by using photolithographic techniques; After treatment of these layers; Selection of materials for these layers
    • H01L21/3105After-treatment
    • H01L21/311Etching the insulating layers by chemical or physical means
    • H01L21/31105Etching inorganic layers
    • H01L21/31111Etching inorganic layers by chemical means
    • HELECTRICITY
    • H10SEMICONDUCTOR DEVICES; ELECTRIC SOLID-STATE DEVICES NOT OTHERWISE PROVIDED FOR
    • H10DINORGANIC ELECTRIC SEMICONDUCTOR DEVICES
    • H10D84/00Integrated devices formed in or on semiconductor substrates that comprise only semiconducting layers, e.g. on Si wafers or on GaAs-on-Si wafers
    • H10D84/01Manufacture or treatment
    • H10D84/0123Integrating together multiple components covered by H10D12/00 or H10D30/00, e.g. integrating multiple IGBTs
    • H10D84/0126Integrating together multiple components covered by H10D12/00 or H10D30/00, e.g. integrating multiple IGBTs the components including insulated gates, e.g. IGFETs
    • H10D84/0165Integrating together multiple components covered by H10D12/00 or H10D30/00, e.g. integrating multiple IGBTs the components including insulated gates, e.g. IGFETs the components including complementary IGFETs, e.g. CMOS devices
    • H10D84/0181Manufacturing their gate insulating layers
    • HELECTRICITY
    • H10SEMICONDUCTOR DEVICES; ELECTRIC SOLID-STATE DEVICES NOT OTHERWISE PROVIDED FOR
    • H10DINORGANIC ELECTRIC SEMICONDUCTOR DEVICES
    • H10D84/00Integrated devices formed in or on semiconductor substrates that comprise only semiconducting layers, e.g. on Si wafers or on GaAs-on-Si wafers
    • H10D84/01Manufacture or treatment
    • H10D84/02Manufacture or treatment characterised by using material-based technologies
    • H10D84/03Manufacture or treatment characterised by using material-based technologies using Group IV technology, e.g. silicon technology or silicon-carbide [SiC] technology
    • H10D84/038Manufacture or treatment characterised by using material-based technologies using Group IV technology, e.g. silicon technology or silicon-carbide [SiC] technology using silicon technology, e.g. SiGe

Definitions

  • the present invention relates to a method for manufacturing a semiconductor device applicable to the manufacture of, for example, a transistor.
  • a LOCOS (Local Oxidation of Silicon) method for forming an element isolation film by a thermal oxidation method has been used as a method for separating semiconductor elements.
  • the LOCOS method has a limit in miniaturization of elements because the element isolation region occupies a large area. Therefore, the STI (Shallow Trench Isolation) method has been developed as a technique to replace the LOCOS method.
  • the STI method since a trench is formed in a silicon wafer and an element isolation film is embedded, the area occupied by the element isolation region is small, and miniaturization is possible.
  • etching is performed using this silicon nitride film as a mask to form a trench.
  • the inside of the trench is oxidized to form a thin oxide film.
  • a thick silicon dioxide film is formed on the entire surface of the semiconductor substrate so as to fill the trench in which the thin oxide film is formed, and planarized by chemical mechanical polishing using the silicon nitride film as a stopper. By doing so, an element isolation film is formed.
  • a plurality of silicon dioxide films having different thicknesses are formed as gate oxide films of transistors constituting these devices.
  • a relatively thick gate oxide film is used in an I / O portion or a cell, and a relatively thin gate oxide film is used in a core CMOS or the like.
  • a thin gate oxide film is used for the transistor of the surrounding logic device in order to improve the driving speed performance of the whole device, and the transistor of the DRAM cell
  • a design using a thick gate oxide film having excellent withstand voltage has been performed.
  • gate oxide films having different thicknesses are required depending on the power supply voltage.
  • the element isolation film embedded in the trench by the STI method is a silicon oxide film formed by a coating method such as a plasma CVD method or SOD / SOG, the film quality is dense or has many defects. Therefore, the etching resistance is lower than that of the thermal oxide film, and the element isolation film is greatly reduced while the wet etching is repeated in the device manufacturing process.
  • the reduction in the element isolation film is increased, a depression is generated around the active region, and the element isolation function becomes insufficient, which causes a reduction in device reliability and yield.
  • an object of the present invention is to provide a semiconductor device manufacturing method capable of manufacturing a semiconductor device while suppressing as much as possible the element isolation film formed using STI from being lost by the wet etching process. is there.
  • a silicon substrate a trench formed in the silicon substrate at a predetermined interval, an element isolation oxide film embedded in the trench, and the element isolation oxide film
  • a silicon surface exposed to the substrate, a sacrificial oxide film is formed by plasma oxidation of the silicon surface, and the silicon surface is removed by wet etching. And exposing the exposed silicon surface to an oxidation treatment to form a silicon dioxide film.
  • the plasma oxidation treatment of the silicon surface is a treatment containing oxygen in a treatment vessel of a plasma treatment apparatus.
  • O ( 1 D 2 ) radicals generated using a gas are performed using dominant plasma.
  • a silicon substrate, a trench formed in the silicon substrate at a predetermined interval, an element isolation oxide film embedded in the trench, and the element isolation oxide film An object to be processed having an exposed silicon surface, oxidizing the silicon surface to form a sacrificial oxide film, peeling the sacrificial oxide film by wet etching, Exposing the exposed silicon surface to a plasma oxidation process to form a silicon dioxide film; removing at least a portion of the silicon dioxide film by wet etching; and removing the silicon dioxide film to expose the silicon dioxide film. Forming a silicon dioxide film having a thickness smaller than that of the silicon dioxide film by oxidizing the silicon surface of the exposed portion. Plasma oxidation treatment of the silicon surface, in the processing vessel of the plasma processing apparatus, O (1 D 2) radicals were produced using a process gas containing oxygen is carried out by plasma predominated, the manufacturing method of a semiconductor device Provided.
  • the exposed silicon surface may be subjected to plasma oxidation to form a silicon dioxide film, and at least a part of the silicon dioxide film may be removed by wet etching.
  • the oxidation treatment in the first aspect, the oxidation treatment of the silicon surface in the second aspect and / or the oxidation treatment of the silicon surface exposed by removing the silicon dioxide are performed in a processing vessel of a plasma processing apparatus.
  • O ( 1 D 2 ) radicals generated using a processing gas containing oxygen be performed by a dominant plasma.
  • the density of O ( 1 D 2 ) radicals in the plasma is 1 ⁇ 10 12 [cm ⁇ 3 ] or more.
  • the pressure in the processing vessel is within a range of 1.33 to 333 Pa. Further, it is preferable that the ratio of oxygen in the processing gas is in the range of 0.2 to 1%. Further, the processing gas preferably contains hydrogen at a ratio of 1% or less.
  • the plasma is formed by the processing gas and a microwave introduced into the processing chamber by a planar antenna having a plurality of slots. Microwave excitation plasma is preferred.
  • high-frequency power is preferably supplied to a mounting table on which a target object is mounted during the plasma oxidation process.
  • the plasma oxidation treatment is performed by modifying the oxide film for element isolation simultaneously with the oxidation treatment of the silicon surface. Is preferable.
  • FIG. 6 is a view showing a state after a CMP process in forming a gate oxide film according to the method of the present invention
  • FIG. 2 is a process diagram subsequent to FIG. 1, illustrating a state after the silicon nitride film is peeled off.
  • FIG. 3 is a process diagram subsequent to FIG. 2, illustrating a state after the pad oxide film 107 is removed.
  • FIG. 4 is a process diagram subsequent to FIG. 3, showing a state in which a sacrificial oxide film is formed by plasma oxidation treatment.
  • FIG. 5 is a process diagram subsequent to FIG. 4, illustrating a state where a sacrificial oxide film is peeled off.
  • FIG. 6 is a process diagram subsequent to FIG.
  • FIG. 5 showing a state in which a thick gate oxide film is formed by plasma oxidation treatment. It is process drawing following FIG. 6, and is drawing which shows the state which peeled the mask after wet etching.
  • FIG. 8 is a process diagram subsequent to FIG. 7, illustrating a state in which a thin gate oxide film is formed by plasma oxidation treatment. In the comparative method, it is drawing which shows the state in which the sacrificial oxide film was formed by thermal oxidation treatment.
  • FIG. 10 is a process diagram subsequent to FIG. 9, illustrating a state after the sacrificial oxide film is peeled off.
  • FIG. 11 is a process diagram subsequent to FIG. 10, illustrating a state after a thick gate oxide film is formed by a thermal oxidation method.
  • FIG. 12 is a process diagram subsequent to FIG. 11, showing a state after the gate oxide film is partially peeled off.
  • FIG. 13 is a process diagram subsequent to FIG. 12, illustrating a state after a thin gate oxide film is formed by a thermal oxidation method.
  • It is a schematic sectional drawing which shows an example of the plasma processing apparatus suitable for implementation of the method of this invention. It is a schematic sectional drawing which shows another example of the plasma processing apparatus suitable for implementation of the method of this invention. It is drawing which shows the structure of a planar antenna. It is explanatory drawing which shows the structural example of a control part.
  • O (1 D 2) is a view for explaining the mechanism of action of plasma oxidation by radicals.
  • FIG. 4 is a graph showing the relationship between the oxide film depth and the wet etching rate in Experiment 1.
  • FIG. It is a graph which extracts and shows some conditions of the graph of FIG. 18A.
  • 10 is a graph showing the RMS roughness of the surface of the SiO 2 film in Experiment 2.
  • 6 is a graph showing the RMS roughness of the Si / SiO 2 interface in Experiment 2.
  • 6 is a graph showing measurement results of boron concentration distribution in silicon by SIMS (secondary ion mass spectrometer) in Experiment 3.
  • FIG. 6 is a graph showing the relationship between the depth of an oxide film and the wet etching rate in Experiment 4.
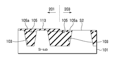
  • FIG. 1 shows a state in which a plurality of trenches 103 are formed in a silicon substrate 101 and a silicon dioxide film 105 as an element isolation film is embedded in each trench 103. Between the silicon dioxide film 105 and the silicon dioxide film 105 is an active region for forming a transistor.
  • FIG. 1 shows a state in which a plurality of trenches 103 are formed in a silicon substrate 101 and a silicon dioxide film 105 as an element isolation film is embedded in each trench 103. Between the silicon dioxide film 105 and the silicon dioxide film 105 is an active region for forming a transistor.
  • the left side toward the paper surface is a region 201 for forming a transistor used for, for example, I / O, a cell, and the right side is, for example, This is a transistor formation region 203 used for a core CMOS or the like.
  • the region 201 is for forming a high voltage transistor
  • the region 203 is for forming a low voltage transistor (note that the expressions “high voltage” and “low voltage” are relative only).
  • a pad oxide film 107 is formed on the silicon substrate 101, and a silicon nitride film 109 is formed thereon.
  • the pad oxide film 107 is a SiO 2 film formed by thermal oxidation with a thickness of about 0.02 to 0.05 ⁇ m formed for the purpose of protecting the silicon surface.
  • the silicon nitride film 109 is a mask when the trench 103 is formed in the silicon substrate 101 and a stopper when the silicon dioxide film 105 is planarized by CMP.
  • FIG. 1 shows a state after the CMP process.
  • the pad oxide film 107 is formed by thermally oxidizing the silicon surface of the silicon substrate 101.
  • a silicon nitride film 109 is formed on the pad oxide film 107 by, for example, a CVD method.
  • a photoresist film (not shown) is patterned on the silicon nitride film 109. Using this patterned photoresist film as a mask, silicon nitride film 109, pad oxide film 107 and silicon substrate 101 are etched to form trench 103 in silicon substrate 101.
  • a silicon dioxide film to be an element isolation film (silicon dioxide film 105) later is formed in the trench 103 and on the silicon nitride film 109.
  • the trench 103 is embedded by SOD, SOG, CVD, or plasma CVD in order to cope with miniaturization.
  • a step of forming a Si—O bond by performing thermal oxidation treatment or thermal annealing treatment can be included.
  • chemical mechanical polishing (CMP) is performed by using the silicon nitride film 109 as a stopper to remove the silicon dioxide film existing on the silicon nitride film 109 and leave the silicon dioxide film 105 in the trench 103, whereby the silicon dioxide film 105 of FIG. A structure can be made.
  • the silicon dioxide film 105 as an element isolation film is a film formed by SOD film, SOG film, CVD or plasma CVD.
  • the SOD film / SOG film can be formed from, for example, polysilazane or an inorganic material obtained by a sol-gel method. More specifically, for example, Spinfil (registered trademark) series 400 and 600 (manufactured by AZ Electronic Materials) can be used. Both the SOD material and the SOG material can be made SiO 2 by forming Si—O bonds by, for example, thermal oxidation in a water vapor atmosphere after being buried in the trench. When SiO 2 is buried in the trench by CVD or plasma CVD, the silicon dioxide film 105 can be formed by performing thermal annealing.
  • FIG. 2 shows a state after the silicon nitride film 109 is peeled from the state of FIG.
  • the silicon nitride film 109 can be peeled off by wet etching using, for example, hot phosphoric acid (warmed phosphoric acid aqueous solution).
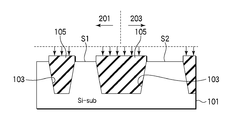
  • FIG. 3 shows a state after the pad oxide film 107 is peeled off.
  • the pad oxide film 107 is a thermal oxide film and the silicon dioxide film 105 is an SOD film, an SOG film, or a CVD film, and thus the silicon dioxide film 105 is more easily etched than the pad oxide film 107.
  • the sacrificial oxide film 111 is formed by oxidizing the silicon surfaces S1 and S2.
  • the sacrificial oxide film 111 is preferably formed by performing plasma oxidation using plasma in which O ( 1 D 2 ) radicals are dominant, as will be described later. More preferably, the plasma oxidation process is performed while applying a bias voltage to the substrate 101.
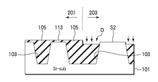
  • FIG. 4 shows a state where the sacrificial oxide film 111 is formed by the plasma oxidation process.
  • the sacrificial oxide film 111 is formed with a thickness of 1 to 6 nm, for example, and the silicon dioxide film 105 is also modified and densified with a thickness of 3 to 200 nm from the surface, for example.
  • a densified modified layer near the surface of the silicon dioxide film 105 is indicated by reference numeral 105a.
  • FIG. 5 shows a state where the sacrificial oxide film 111 is peeled and the silicon surfaces S1 and S2 are exposed. Since the silicon dioxide film 105 is densified at the same time as the plasma oxidation process and the modified layer 105a is formed, the etching resistance is increased. Therefore, even after the sacrificial oxide film 111 is peeled off, the reduction of the silicon dioxide film 105 is suppressed. Note that the film thickness of the modified layer 105a is slightly reduced by wet etching.
  • the surface of the silicon dioxide film 105 is modified by performing the plasma oxidation process using the plasma in which the O ( 1 D 2 ) radical is dominant in some oxidation steps in the process.
  • the film becomes dense and the film loss during wet etching can be suppressed.
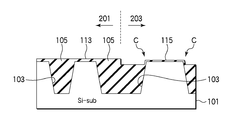
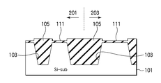
  • FIG. 6 shows a state in which a thick gate oxide film 113 is formed by plasma oxidation.
  • the gate oxide film 113 having a thickness of 2 to 6 nm is formed, and at the same time, the modified layer 105a on the surface of the silicon dioxide film 105 is increased.
  • the silicon dioxide film 105 is further modified. More preferable.
  • the gate oxide film 113 in the region 203 is removed while leaving the gate oxide film 113 in the region 201.
  • the gate oxide film 113 in the region 203 is removed by wet etching.
  • FIG. 7 shows a state after wet etching (after the mask is also peeled off).
  • the gate oxide film 113 is removed and the silicon surface S2 is exposed.
  • the modified layer 105a of the silicon dioxide film 105 is slightly etched and reduced. As a result, as schematically shown in FIG.
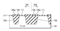
  • FIG. 8 shows a state after the plasma oxidation treatment.
  • the silicon surface S2 in the region 203 is oxidized, and a thin gate oxide film 115 having a thickness of 1 to 4 nm, for example, is formed.
  • the reduced of the element isolation film the silicon dioxide film 105 including the modified layer 105a
  • a step or gap between the gate oxide film 115 and the adjacent silicon dioxide film 105 in the region 203 is suppressed. There is no dent.
  • the modified layer 105a on the surface of the silicon dioxide film 105 is increased by the plasma oxidation treatment.
  • FIGS. 9 to 13 show a case where thermal oxidation is performed in the same process as FIGS. 1 to 8 instead of plasma oxidation using plasma in which O ( 1 D 2 ) radicals are dominant. Yes. Note that the same components as those in FIGS. 1 to 8 are denoted by the same reference numerals and description thereof is omitted.
  • FIG. 9 corresponds to FIG. 4 and shows a state after the sacrificial oxide film 111 is formed.
  • the silicon dioxide film 105 is also heat-treated at the same time, but the surface of the silicon dioxide film 105 is not densified (the modified layer is formed). It has not been). This is presumably because the thermal oxidation treatment does not supply sufficient energy to break intermolecular bonds or interatomic bonds.
  • the sacrificial oxide film 111 is peeled off by wet etching using dilute hydrofluoric acid.
  • FIG. 10 corresponds to FIG.
  • FIG. 5 shows a state after the sacrificial oxide film 111 is peeled off.
  • the thickness of the silicon dioxide film 105 is greatly reduced compared to FIG. This is because the SOD / SOG film having a lower etching resistance than the thermal oxide film and the silicon dioxide film 105, which is a CVD film, are largely etched away by wet etching.
  • FIG. 11 corresponds to FIG. 6 and shows a state after the thick gate oxide film 113 is formed by the thermal oxidation method. Even in this step, since the gate oxide film 113 is formed by the thermal oxidation method in the comparative method, the surface of the silicon dioxide film 105 is not densified. Then, from the state of FIG. 11, the thick gate oxide film 113 is partially removed (only on the region 203 side) by wet etching. That is, a mask (not shown) is formed on the region 201 side, and only the region 203 side is etched with dilute hydrofluoric acid.
  • FIG. 12 corresponds to FIG. 7 and shows a state after the gate oxide film 113 is partially removed (only on the region 203 side). In comparison between FIG. 12 and FIG.
  • the silicon dioxide film 105 closer to the region 203 than in FIG. 7 is greatly reduced from the surface, and a depression D lower than the silicon surface S ⁇ b> 2 is generated.
  • This dent D is a result of the silicon dioxide film 105 having a lower etching resistance than the thermal oxide film being scraped each time the wet etching is repeated.
  • Such a recess D makes the subsequent process difficult and lowers the function of separating adjacent elements, which causes a reduction in device reliability and yield.
  • FIG. 13 corresponds to FIG. 8 and shows a state after a thin gate oxide film 115 is formed by a thermal oxidation method.
  • the surface of the silicon dioxide film 105 is greatly diminished on the region 203 side and lower than the silicon surface, and is covered with the gate oxide film 115 in FIG. Nevertheless, the shape of the corner portion C of silicon is exposed as the surface step shape between the gate oxide film 115 and the silicon dioxide film 105 as it is.
  • Such a shape is a result of the silicon dioxide film 105 having lower etching resistance than the thermal oxide film being scraped each time the wet etching is repeated.
  • Such a shape of the corner portion C of silicon is likely to be a starting point of leakage current generation, and causes a reduction in device reliability and yield.
  • the formation of the depression D can be suppressed by forming a protective mask on the silicon dioxide film 105 or separately providing a process for modifying the silicon dioxide film 105 to lower the wet etching rate.
  • the number of processes increases unnecessarily.
  • plasma oxidation treatment is performed using plasma in which O ( 1 D 2 ) radicals are dominant to oxidize the silicon surfaces S 1 and S 2 and the SiO 2 surface of the silicon dioxide film 105. Since the modification (densification) can be performed simultaneously, the formation of the recess D can be suppressed without providing a separate modification step, and the process efficiency is excellent.
  • plasma oxidation treatment is performed while applying a bias voltage to the object to be processed, so that the silicon dioxide film 105 can be modified to a deeper position to form a denser film. This is presumably because radicals can break bonds between molecules or atoms by supplying energy larger than the bond energy between molecules or atoms by diffusing into the film.
  • the oxidation process for forming the sacrificial oxide film and the gate oxide film is performed using plasma in which the O ( 1 D 2 ) radical is dominant, so that a process at a low temperature is possible.
  • the surface of the element isolation film can be modified and densified. Therefore, loss of the surface of the element isolation film due to wet etching can be suppressed without providing an additional modification step.
  • by applying such a plasma oxidation treatment with plasma in which O ( 1 D 2 ) radicals are dominant in a process in which the wet etching process is repeated it is possible to effectively suppress the loss of the element isolation film. Therefore, it is possible to prevent a decrease in the reliability of the semiconductor device due to the decrease in the element isolation film, and it is possible to manufacture the semiconductor device without reducing the process efficiency.
  • the gate oxide film to be finally formed can be formed by other methods such as thermal oxidation treatment instead of plasma oxidation treatment using plasma in which O ( 1 D 2 ) radicals are dominant.
  • thermal oxidation treatment instead of plasma oxidation treatment using plasma in which O ( 1 D 2 ) radicals are dominant.
  • the method of the present invention is a process in which the sacrificial oxide film 111 is formed after the silicon dioxide film 105 as the element isolation film is formed and the sacrificial oxide film 111 is peeled off by wet etching at least once. Widely applicable.
  • the sacrificial oxide film 111 is formed by performing plasma oxidation processing using plasma in which O ( 1 D 2 ) radicals are dominant, thereby reducing the loss of the silicon dioxide film 105. (See FIGS. 4 and 5).
  • the modified layer 105a is formed on the surface of the silicon dioxide film 105 as the element isolation film by using the plasma in which the O ( 1 D 2 ) radical is dominant in the formation process of the sacrificial oxide film 111, wet etching is performed. Resistance is improved. Therefore, the subsequent oxidation step, for example, formation of the gate oxide film 113 and the like may be performed by, for example, a thermal oxidation method. Plasma oxidation treatment In the case of processing, it is more preferable that the bias voltage is applied to the silicon substrate 101 that is the object to be processed.
  • the method of the present invention is a process having at least one step of forming a gate oxide film 113 after forming a silicon dioxide film 105 as an element isolation film and peeling at least a part of the gate oxide film 113 by wet etching. If so, it is widely applicable.
  • an effect of suppressing the reduction of the silicon dioxide film 105 is obtained by performing plasma oxidation treatment using plasma in which the O ( 1 D 2 ) radical is dominant in forming the gate oxide film 113. (See FIGS. 6 and 7).
  • the sacrificial oxide film 111 may be formed by, for example, a thermal oxidation method.
  • the plasma oxidation treatment is more preferably performed while applying a bias voltage to the silicon substrate 101 that is the object to be processed.
  • the method of the present invention forms a sacrificial oxide film 111 after forming a silicon dioxide film 105 as an element isolation film, and then forms a gate oxide film 113 by stripping the sacrificial oxide film 111 by wet etching.
  • the present invention can be widely applied to processes having a combination with a step of removing at least part of the gate oxide film 113 by wet etching.
  • the formation of the sacrificial oxide film 111 and the gate oxide film 113 are each performed by plasma oxidation using plasma in which O ( 1 D 2 ) radicals are dominant, thereby suppressing loss of the element isolation film. (See FIGS. 4 to 7).
  • partial or total oxidation for example, a sacrificial oxidation process, A particularly significant effect can be obtained in a process having a gate oxidation step) and a step of removing at least a part of a gate oxide film (for example, gate oxide film 113) by wet etching twice or more (see FIGS. 4 to 8).
  • the plasma oxidation treatment is more preferably performed while applying a bias voltage to the silicon substrate 101 that is the object to be processed.
  • the gate oxide film can be formed while suppressing the loss of the element isolation film.
  • the gate oxide film thus obtained can be used as a gate oxide film of a transistor. That is, the method for manufacturing a semiconductor device according to the present invention is preferably applicable to the case where a gate insulating film is formed in the process of manufacturing a transistor. In the above description, only characteristic steps of the method of the present invention are shown, and descriptions of other steps are omitted.
  • FIG. 14A and 14B are cross-sectional views schematically showing the schematic configuration of the plasma processing apparatuses 100A and 100B.
  • FIG. 15 is a plan view showing a planar antenna that can be used in the plasma processing apparatuses 100A and 100B of FIGS. 14A and 14B.
  • the difference between the plasma processing apparatus 100A shown in FIG. 14A and the plasma processing apparatus 100B shown in FIG. 14B is whether or not a bias applying means for applying a bias voltage to the object to be processed is provided. Therefore, a configuration common to the plasma processing apparatuses 100A and 100B will be described first, and then a bias applying unit of the plasma processing apparatus 100B, which is a difference between the two, will be described.
  • the plasma processing apparatuses 100A and 100B have a high density and low density by introducing microwaves into a processing container using a planar antenna having a plurality of slot-shaped holes, in particular, RLSA (Radial Line Slot Antenna). It is configured as an RLSA microwave plasma processing apparatus that can generate microwave-excited plasma having an electron temperature.
  • RLSA Random Line Slot Antenna
  • the plasma processing apparatuses 100A and 100B can be suitably used as plasma oxidation processing apparatuses that form silicon oxide films (SiO 2 films) by oxidizing silicon during the manufacturing process of various semiconductor devices.
  • the plasma processing apparatuses 100 ⁇ / b> A and 100 ⁇ / b> B mainly include a processing container 1, a gas supply device 18 that supplies gas into the processing container 1, a gas introduction unit 15 that is connected to the gas supply apparatus 18, and the processing container 1.
  • An exhaust device provided with a vacuum pump 24 for evacuating the inside, a microwave introducing device 27 as a plasma generating means for generating plasma in the processing vessel 1, and each component of these plasma processing devices 100A and 100B
  • a control unit 50 for controlling.
  • the processing container 1 is formed of a grounded substantially cylindrical container. Note that the processing container 1 may be formed of a rectangular tube-shaped container.
  • the processing container 1 has a bottom wall 1a and a side wall 1b made of a metal such as aluminum or an alloy thereof.
  • a mounting table 2 is provided for horizontally supporting a semiconductor wafer (hereinafter referred to as “wafer”) W that is an object to be processed.
  • the mounting table 2 is made of a material having high thermal conductivity, such as ceramics such as AlN.
  • the mounting table 2 is supported by a cylindrical support member 3 extending upward from the center of the bottom of the exhaust chamber 11.
  • the support member 3 is made of ceramics such as AlN, for example.
  • the mounting table 2 is provided with a cover ring 4 for covering the outer edge portion thereof and guiding the wafer W.
  • the cover ring 4 is an annular member made of a material such as quartz, AlN, Al2O3, or SiN.
  • a resistance heating type heater 5 as a temperature adjusting mechanism is embedded in the mounting table 2.
  • the heater 5 is heated by the heater power supply 5a to heat the mounting table 2 and uniformly heats the wafer W, which is a substrate to be processed, with the heat.
  • the mounting table 2 is provided with a thermocouple (TC) 6.
  • TC thermocouple
  • the heating temperature of the wafer W can be controlled in a range from room temperature to 900 ° C., for example.
  • the mounting table 2 is provided with wafer support pins (not shown) for supporting the wafer W and raising and lowering it.
  • Each wafer support pin is provided so as to protrude and retract with respect to the surface of the mounting table 2.
  • a cylindrical liner 7 made of quartz is provided on the inner periphery of the processing vessel 1.
  • a quartz baffle plate 8 having a large number of exhaust holes 8 a is annularly provided on the outer peripheral side of the mounting table 2 in order to uniformly exhaust the inside of the processing container 1.
  • the baffle plate 8 is supported by a plurality of support columns 9.
  • a circular opening 10 is formed at a substantially central portion of the bottom wall 1a of the processing container 1.
  • An exhaust chamber 11 that communicates with the opening 10 and protrudes downward is provided on the bottom wall 1a.
  • An exhaust pipe 12 is connected to the exhaust chamber 11 and is connected to a vacuum pump 24 through the exhaust pipe 12.
  • a plate 13 having a circular opening at the center is joined to the upper portion of the processing container 1.
  • the inner periphery of the opening protrudes toward the inside (inside the processing container space) and forms an annular support portion 13a.
  • the plate 13 has a function as a lid that is disposed on the processing container 1 and opens and closes.
  • the plate 13 and the processing container 1 are hermetically sealed via a seal member 14.
  • An annular gas introduction portion 15 is provided on the side wall 1b of the processing vessel 1.
  • the gas introduction unit 15 is connected to a gas supply device 18 that supplies an oxygen-containing gas and a plasma excitation gas via a gas line 20d.
  • the gas introduction unit 15 may be connected to a plurality of gas lines (piping). Further, the gas introduction part 15 may be provided in a nozzle shape or a shower shape.
  • a loading / unloading port 16 for loading / unloading the wafer W between the plasma processing apparatuses 100A and 100B and a transfer chamber (not shown) adjacent thereto is provided on the side wall 1b of the processing container 1.
  • a gate valve G1 that opens and closes the loading / unloading port 16 is provided on the side wall 1b of the processing container 1.
  • the gas supply device 18 includes a gas supply source (for example, an inert gas supply source 19a, an oxygen-containing gas supply source 19b, a hydrogen gas supply source 19c), a pipe (for example, gas lines 20a, 20b, 20c, and 20d), It has a flow control device (for example, mass flow controllers 21a, 21b, and 21c) and valves (for example, on-off valves 22a, 22b, and 22c).
  • the gas supply device 18 may have a purge gas supply source or the like used when replacing the atmosphere inside the processing container 1 as a gas supply source (not shown) other than the above.
  • the inert gas for example, a rare gas can be used.
  • the rare gas for example, Ar gas, Kr gas, Xe gas, He gas, or the like can be used.
  • Ar gas for example, Ar gas, Kr gas, Xe gas, He gas, or the like can be used.
  • Ar gas it is particularly preferable to use Ar gas because it is economical.
  • oxygen-containing gas for example, oxygen gas (O 2 ), water vapor (H 2 O), ozone (O 3 ), or the like can be used.
  • the inert gas, oxygen-containing gas, and hydrogen gas (when added) supplied from the inert gas supply source 19a, oxygen-containing gas supply source 19b, and hydrogen gas supply source 19c of the gas supply device 18 are respectively connected to the gas lines 20a,
  • the gas line 20d is joined via 20b, 20c, reaches the gas introduction part 15 via the gas line 20d, and is introduced into the processing container 1 from the gas introduction part 15.
  • Each gas line 20a, 20b, 20c connected to each gas supply source is provided with mass flow controllers 21a, 21b, 21c and a pair of opening / closing valves 22a, 22b, 22c before and after. With such a configuration of the gas supply device 18, the supplied gas can be switched and the flow rate can be controlled.
  • the exhaust device is provided with a vacuum pump 24.
  • a vacuum pump 24 for example, a high-speed vacuum pump such as a turbo molecular pump can be used.
  • the vacuum pump 24 is connected to the exhaust chamber 11 of the processing container 1 through the exhaust pipe 12.
  • the gas in the processing container 1 uniformly flows into the space 11a of the exhaust chamber 11, and is further exhausted to the outside through the exhaust pipe 12 by operating the vacuum pump 24 from the space 11a.
  • the inside of the processing container 1 can be depressurized at a high speed to a predetermined degree of vacuum, for example, 0.133 Pa.
  • the microwave introduction device 27 includes a transmission plate 28, a planar antenna 31, a slow wave material 33, a cover member 34, a waveguide 37, a matching circuit 38, and a microwave generation device 39 as main components.
  • the microwave introduction device 27 is a plasma generation unit that introduces electromagnetic waves (microwaves) into the processing container 1 to generate plasma.
  • the transmission plate 28 that transmits microwaves is supported on a support portion 13 a that protrudes toward the inner periphery of the plate 13.
  • the transmission plate 28 is made of a dielectric material, for example, ceramics such as quartz, Al2O3, and AlN.
  • a gap between the transmission plate 28 and the support portion 13a is hermetically sealed through a seal member 29. Therefore, the inside of the processing container 1 is kept airtight.
  • the planar antenna 31 is provided above the transmission plate 28 so as to face the mounting table 2.
  • the planar antenna 31 has a disk shape.
  • the shape of the planar antenna 31 is not limited to a disk shape, and may be a square plate shape, for example.
  • the planar antenna 31 is locked to the upper end of the plate 13.
  • the planar antenna 31 is made of, for example, a copper plate or an aluminum plate having a surface plated with gold or silver.
  • the planar antenna 31 has a number of slot-shaped microwave radiation holes 32 that radiate microwaves.
  • the microwave radiation holes 32 are formed through the planar antenna 31 in a predetermined pattern.
  • the individual microwave radiation holes 32 have an elongated rectangular shape (slot shape), for example, as shown in FIG. And typically, the adjacent microwave radiation holes 32 are arranged in a “T” shape. Further, the microwave radiation holes 32 arranged in combination in a predetermined shape (for example, T shape) are further arranged concentrically as a whole.
  • the length and arrangement interval of the microwave radiation holes 32 are determined according to the wavelength ( ⁇ g) of the microwave.
  • the interval between the microwave radiation holes 32 is arranged to be ⁇ g / 4 to ⁇ g.
  • the interval between adjacent microwave radiation holes 32 formed concentrically is indicated by ⁇ r.
  • the microwave radiation hole 32 may have another shape such as a circular shape or an arc shape.
  • the arrangement form of the microwave radiation holes 32 is not particularly limited, and may be arranged in a spiral shape, a radial shape, or the like in addition to the concentric shape.
  • a slow wave material 33 having a dielectric constant larger than that of a vacuum is provided on the upper surface of the planar antenna 31.
  • the slow wave material 33 has a function of adjusting the plasma by shortening the wavelength of the microwave because the wavelength of the microwave becomes longer in vacuum.
  • the material of the slow wave material 33 for example, quartz, polytetrafluoroethylene resin, polyimide resin or the like can be used.
  • planar antenna 31 and the transmission plate 28 and the slow wave member 33 and the planar antenna 31 may be brought into contact with or separated from each other, but are preferably brought into contact with each other.
  • a cover member 34 is provided on the upper portion of the processing container 1 so as to cover the planar antenna 31 and the slow wave material 33.
  • the cover member 34 is made of a metal material such as aluminum or stainless steel.
  • the cover member 34 and the planar antenna 31 form a flat waveguide.
  • the upper end of the plate 13 and the cover member 34 are sealed by a seal member 35.
  • a cooling water channel 34 a is formed inside the cover member 34.
  • An opening 36 is formed at the center of the upper wall (ceiling part) of the cover member 34, and a waveguide 37 is connected to the opening 36.
  • a microwave generator 39 that generates microwaves is connected to the other end of the waveguide 37 via a matching circuit 38.
  • the waveguide 37 is connected to a coaxial waveguide 37a having a circular cross section extending upward from the opening 36 of the cover member 34, and an upper end portion of the coaxial waveguide 37a via a mode converter 40. And a rectangular waveguide 37b extending in the horizontal direction.
  • the mode converter 40 has a function of converting the microwave propagating in the TE mode in the rectangular waveguide 37b into the TEM mode.
  • An inner conductor 41 extends in the center of the coaxial waveguide 37a.
  • the inner conductor 41 is connected and fixed to the center of the planar antenna 31 at its lower end. With such a structure, the microwave is efficiently and uniformly propagated radially and uniformly to the flat waveguide formed by the cover member 34 and the planar antenna 31 via the inner conductor 41 of the coaxial waveguide 37a.
  • the microwave generated by the microwave generation device 39 is propagated to the planar antenna 31 through the waveguide 37, and the microwave radiation hole (slot) 32 of the planar antenna 31 is transmitted. Further, it is introduced into the processing container 1 through the transmission plate 28.
  • 2.45 GHz is preferably used as the frequency of the microwave, and 8.35 GHz, 1.98 GHz, or the like can also be used.
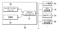
  • the control unit 50 includes a process controller 51 including a CPU, a user interface 52 connected to the process controller 51, and a storage unit 53.
  • the process controller 51 includes each component in the plasma processing apparatuses 100A and 100B, for example, a heater power supply 5a related to process conditions such as temperature, pressure, gas flow rate, and microwave output, a gas supply device 18, a vacuum pump 24, and microwave generation. This is control means for controlling the device 39 and the like in an integrated manner.
  • the user interface 52 includes a keyboard that allows a process manager to input commands to manage the plasma processing apparatuses 100A and 100B, a display that visualizes and displays the operating status of the plasma processing apparatuses 100A and 100B, and the like. ing.
  • the storage unit 53 stores a recipe in which a control program (software) and processing condition data for realizing various processes executed by the plasma processing apparatuses 100A and 100B are controlled by the process controller 51. Has been.
  • recipes such as the control program and processing condition data may be stored in a computer-readable storage medium such as a CD-ROM, hard disk, flexible disk, flash memory, DVD, or Blu-ray disk. Alternatively, it may be transmitted from other devices as needed via, for example, a dedicated line and used online.
  • a bias applying unit that applies a bias to the mounting table 2, which is a characteristic configuration of the plasma processing apparatus 100B.
  • An electrode 42 is embedded on the surface side of the mounting table 2 of the plasma processing apparatus 100B.
  • a high-frequency power supply 44 for applying a bias is connected to the electrode 42 via a matching box (MB) 43 through a feeder line 42a.
  • MB matching box
  • the electrode 42, the power supply line 42a, the matching box (MB) 43, and the high frequency power supply 44 constitute a bias applying unit in the plasma processing apparatus 100B.
  • the electrode 42 As a material of the electrode 42, for example, a conductive material such as molybdenum or tungsten can be used.
  • the electrode 42 is formed in, for example, a mesh shape, a lattice shape, a spiral shape, or the like.
  • the plasma processing apparatuses 100A and 100B configured as described above, it is possible to perform damage-free plasma processing on the underlayer or the like at a low temperature of 600 ° C. or lower. Further, since the plasma processing apparatuses 100A and 100B are excellent in plasma uniformity, processing uniformity can be realized in the plane of the wafer W even for a large wafer W having a diameter of 300 mm or more, for example. .
  • the gate valve G1 is opened, and the wafer W is loaded into the processing container 1 from the loading / unloading port 16 and mounted on the mounting table 2. Then, for example, Ar gas and O 2 gas are introduced from the inert gas supply source 19a and the oxygen-containing gas supply source 19b of the gas supply device 18 into the processing container 1 through the gas introduction unit 15 at a predetermined flow rate. The processing pressure is maintained.
  • the density of the O ( 1 D 2 ) radical is 1 ⁇ 10
  • the ratio (volume ratio) of O 2 gas in the processing gas is preferably 1% or less, and more preferably in the range of 0.2% to 1%.
  • the gas flow rate is selected, for example, from the range of Ar gas 100 to 10000 mL / min (sccm) and O 2 gas 1 to 100 mL / min (sccm) so that the ratio of oxygen to the total gas flow rate is the above value. Can do.
  • H 2 gas can also be introduced from the hydrogen gas supply source 19c at a predetermined ratio.
  • the ratio of H 2 gas is preferably, for example, 1% or less by volume with respect to the total amount of the processing gas, and more preferably 0.01 to 1%.
  • the upper limit of the treatment pressure is preferably 333 Pa or less, more preferably 267 Pa or less, in order to form a plasma having an O ( 1 D 2 ) radical density of 1 ⁇ 10 12 [cm ⁇ 3 ] or more. .3 Pa or less is desirable.
  • the lower limit of the treatment pressure is preferably 1.33 Pa.
  • the processing temperature (the temperature of the mounting table 2) can be selected from room temperature to 600 ° C., for example, preferably in the range of 300 to 500 ° C.
  • a microwave having a predetermined frequency, for example, 2.45 GHz, generated by the microwave generator 39 is guided to the waveguide 37 via the matching circuit 38.
  • the microwave guided to the waveguide 37 sequentially passes through the rectangular waveguide 37 b and the coaxial waveguide 37 a and is supplied to the planar antenna 31 through the inner conductor 41.
  • the microwave propagates in the TE mode in the rectangular waveguide 37b, and the TE mode microwave is converted into the TEM mode by the mode converter 40, and the cover member 34 is connected to the cover member 34 via the coaxial waveguide 37a. It propagates through a flat waveguide constituted by the planar antenna 31.
  • the microwave is radiated to the space above the wafer W in the processing chamber 1 through the transmission plate 28 from the slot-shaped microwave radiation hole 32 formed through the planar antenna 31.
  • the output density of the microwave is preferably 0.6 W or more, for example, 0.7 to 3 W, more preferably 0.7 to 2.4 W, per 1 cm 2 of the area of the transmission plate 28.
  • the microwave output can be selected from a range of 1000 W to 4000 W.
  • An electromagnetic field is formed in the processing container 1 by the microwave radiated from the planar antenna 31 through the transmission plate 28 to the processing container 1, and Ar gas and O 2 gas and, when added, H 2 gas is turned into plasma.
  • the plasma thus excited has a high density of about 1 ⁇ 10 10 to 5 ⁇ 10 12 / cm 3 and a low electron temperature of about 1.2 eV or less in the vicinity of the wafer W.
  • the plasma oxidation process is performed on the silicon surface of the wafer W by the action of active species in the plasma, mainly O ( 1 D 2 ) radicals. Specifically, taking the formation of a sacrificial oxide film as an example, as shown in FIGS.
  • the silicon surfaces S1 and S2 are oxidized at a low temperature by the action of O ( 1 D 2 ) radicals, thereby sacrificing oxidation.
  • the surface of the silicon dioxide film 105 which is an element isolation film is modified deeply by the action of O ( 1 D 2 ) radicals, and the SiO 2 is densified to form the modified layer 105a. It is formed. Taking the formation of the gate oxide film as an example, as shown in FIGS.
  • the silicon surfaces S1 and S2 are oxidized at a low temperature by the action of the O ( 1 D 2 ) radical, and the gate oxide film 113, At the same time as 115 is formed, the surface of the silicon dioxide film 105 which is an element isolation film is further modified deeply by the action of O ( 1 D 2 ) radicals, and the modified layer 105a is increased.
  • High-frequency bias voltage When the plasma processing apparatus 100B is used, high-frequency power having a predetermined frequency and power can be supplied from the high-frequency power supply 44 to the electrode 42 of the mounting table 2 during the plasma oxidation process.
  • a bias voltage is applied to the wafer W by the high-frequency power supplied from the high-frequency power supply 44, and the plasma oxidation process is promoted while maintaining a low electron temperature (0.7 to 2 eV) of the plasma. That is, by applying a bias voltage, it is possible to draw oxygen ions in the plasma into the wafer W while modifying with O ( 1 D 2 ) radicals. But it can be modified deeply.
  • the frequency of the high frequency power supplied from the high frequency power supply 44 is preferably in the range of 400 kHz to 60 MHz, for example, and more preferably in the range of 400 kHz to 13.5 MHz.
  • the high frequency power is preferably supplied within the range of, for example, 0.14 W / cm 2 or more and 1.4 W / cm 2 or less as the power density per area of the wafer W, and is 0.42 W / cm 2 or more and 1.4 W / cm. It is more preferable to supply within the range of 2 or less.
  • the power density is less than 0.07 W / cm 2 , the ion pulling force is weak, and a high oxidation rate and a high dose cannot be obtained.
  • the high frequency power is preferably 100 W or more, for example, more preferably in the range of 100 W to 900 W, and preferably in the range of 300 W to 900 W. What is necessary is just to set so that it may become the said power density from the range of such a high frequency electric power.
  • the high-frequency power supplied to the electrode 42 of the mounting table 2 has an action of drawing the ion species in the plasma into the wafer W while maintaining a low electron temperature of the plasma. Therefore, by supplying a high frequency power to the electrode 42 of the mounting table 2 and applying a bias voltage to the wafer W, oxygen ions are drawn simultaneously with the modification by the O ( 1 D 2 ) radical, and the plasma oxidation rate and the oxygen dose are increased. Since the amount increases, the film can be modified deeply even at a low temperature.
  • the O ( 1 D 2 ) radical generated under these conditions has an action of replacing impurities such as N and H contained in the SiO 2 film with oxygen atoms. Therefore, in the oxidation by plasma in which the O ( 1 D 2 ) radical is dominant, as shown in FIG. 17, the O 2 ( 1 D 2 ) radical replaces the impurity Imp contained in the film with an oxygen atom, thereby making SiO 2 It is thought that the film quality of the film is densified. In addition, such a modification effect of the SiO 2 film is further increased because oxygen ions are drawn by applying a bias voltage to the silicon substrate 101 that is the object to be processed.
  • plasma is generated by selecting conditions for generating O ( 1 D 2 ) radicals, and by treating the SiO 2 film simultaneously with the silicon surface, impurities in the film are removed. It can be modified into a dense SiO 2 film with few defects, which is removed to form regular Si—O bonds.
  • the SiO 2 film thus modified has higher wet etching resistance than the SOD film, SOG film, and plasma CVD film, so that even if the wet etching is repeated in the subsequent semiconductor process, the loss is reduced. Can be suppressed.
  • Experiment 1 A plasma processing apparatus 100A similar to that shown in FIG. 14A is used for a silicon dioxide film (film thickness: 450 nm) formed by applying an SOD method using polysilazane as a raw material and steam oxidation (WVG).
  • the plasma treatment is performed under the plasma treatment conditions 1 and 2 where the O ( 1 D 2 ) radical is dominant, and the case where the plasma treatment is not performed or the O ( 3 P 2 ) radical is dominant.
  • the wet etching rate was significantly reduced. Therefore, it was confirmed that the etching resistance can be improved by treating the SOD oxide film with plasma in which O ( 1 D 2 ) radicals are dominant.
  • Experiment 2 Using the same plasma processing apparatus 100A as shown in FIG. 14A, the silicon (100) surface and the (111) surface were subjected to plasma oxidation treatment under the above conditions 1 to 3.
  • FIG. 19 shows the roughness of the surface of the SiO 2 film
  • FIG. 20 shows the roughness of the Si / SiO 2 interface.
  • the SiO 2 film formed under conditions 1 and 2 that can generate plasma in which O ( 1 D 2 ) radicals are dominant has a surface and Si / SiO 2 interface compared to the thermal oxide film. It can be seen that the RMS roughness is low and flattened. Therefore, by using the SiO 2 film formed under conditions 1 and 2 as the gate oxide film of the transistor, it is possible to improve the mobility characteristics and reliability of the semiconductor device and to reduce flicker noise (1 / f noise). Predicted.
  • Experiment 3 After a screen oxide film having a thickness of 5 nm was formed on the silicon surface, 1 ⁇ 10 13 ions / cm 2 of 11B + ions were implanted at an energy of 5 eV. Thereafter, annealing was performed at 1000 ° C. for 10 seconds, the screen oxide film was removed by wet etching to expose the silicon surface, and an initial sample was obtained. A plasma processing apparatus 100A similar to that shown in FIG. 14A is used for this initial sample, and plasma oxidation is performed under the above condition 2 to form a 3 nm silicon dioxide film. The concentration distribution of boron in silicon was examined with an ion mass spectrometer. For comparison, the concentration distribution of boron was similarly examined after the initial sample was subjected to thermal oxidation treatment in an O 2 / H 2 atmosphere at 950 ° C. instead of plasma oxidation treatment. The results are shown in FIG.
  • the wet etching rate was lower than that in the case where the plasma process was not performed.
  • the O ( 3 P 2 ) radical is obtained by performing plasma treatment under the plasma treatment condition 5 in which the O ( 1 D 2 ) radical is dominant.
  • the wet etching rate is significantly reduced.
  • the surface of the SiO 2 film can be modified and densified by performing the plasma oxidation treatment with plasma in which O ( 1 D 2 ) radicals are dominant.
  • This effect is further increased by the drawing of oxygen ions by performing the plasma oxidation process while applying a bias voltage to the wafer W that is the object to be processed. Therefore, loss of the element isolation film surface due to wet etching can be suppressed without providing an additional modification step. Therefore, for example, in a semiconductor process such as transistor formation, it is possible to prevent a decrease in reliability of the semiconductor device due to the loss of the element isolation film, and the process efficiency is also excellent.
  • O ( 1 D 2 ) radicals oxidize silicon at the interface between the gate oxide film and silicon, thereby causing gate oxidation. Since the flatness of the film surface and the interface between the silicon and the gate oxide film can be improved, mobility characteristics and reliability can be improved, and flicker noise (1 / f noise) can be reduced.
  • the process using plasma in which the O ( 1 D 2 ) radical is dominant is capable of processing at a low temperature of 600 ° C. or lower, so that problems such as impurity diffusion are less likely to occur. In device design and channel engineering, Excellent convenience.
  • the present invention is not limited to the above embodiment, and various modifications can be made.
  • the RLSA type microwave plasma processing apparatus is used for the plasma oxidation process.
  • the present invention is applicable to all plasma processing apparatuses that generate O ( 1 D 2 ) radical-dominated plasma. Applicable. Therefore, other types of plasma processing apparatuses such as an ICP plasma system, an ECR plasma system, a surface reflection wave plasma system, and a magnetron plasma system can be used.
  • the method for manufacturing a semiconductor device of the present invention is not limited to a transistor manufacturing process, and can be widely applied to a process in which formation of a silicon oxide film and peeling by wet etching are repeatedly performed.

Landscapes

  • Engineering & Computer Science (AREA)
  • Physics & Mathematics (AREA)
  • Condensed Matter Physics & Semiconductors (AREA)
  • General Physics & Mathematics (AREA)
  • Manufacturing & Machinery (AREA)
  • Computer Hardware Design (AREA)
  • Microelectronics & Electronic Packaging (AREA)
  • Power Engineering (AREA)
  • Chemical & Material Sciences (AREA)
  • Chemical Kinetics & Catalysis (AREA)
  • Plasma & Fusion (AREA)
  • General Chemical & Material Sciences (AREA)
  • Analytical Chemistry (AREA)
  • Inorganic Chemistry (AREA)
  • Element Separation (AREA)
  • Formation Of Insulating Films (AREA)
  • Metal-Oxide And Bipolar Metal-Oxide Semiconductor Integrated Circuits (AREA)
  • Semiconductor Memories (AREA)
PCT/JP2010/066886 2009-09-30 2010-09-29 半導体装置の製造方法 Ceased WO2011040426A1 (ja)

Priority Applications (2)

Application Number Priority Date Filing Date Title
KR1020127011218A KR101380094B1 (ko) 2009-09-30 2010-09-29 반도체 장치의 제조 방법
US13/498,259 US20120184107A1 (en) 2009-09-30 2010-09-29 Semiconductor device manufacturing method

Applications Claiming Priority (4)

Application Number Priority Date Filing Date Title
JP2009-227638 2009-09-30
JP2009227638 2009-09-30
JP2010-207773 2010-09-16
JP2010207773A JP2011097029A (ja) 2009-09-30 2010-09-16 半導体装置の製造方法

Publications (1)

Publication Number Publication Date
WO2011040426A1 true WO2011040426A1 (ja) 2011-04-07

Family

ID=43826242

Family Applications (1)

Application Number Title Priority Date Filing Date
PCT/JP2010/066886 Ceased WO2011040426A1 (ja) 2009-09-30 2010-09-29 半導体装置の製造方法

Country Status (5)

Country Link
US (1) US20120184107A1 (enExample)
JP (1) JP2011097029A (enExample)
KR (1) KR101380094B1 (enExample)
TW (1) TW201125071A (enExample)
WO (1) WO2011040426A1 (enExample)

Families Citing this family (13)

* Cited by examiner, † Cited by third party
Publication number Priority date Publication date Assignee Title
JP5981206B2 (ja) * 2012-04-20 2016-08-31 株式会社東芝 半導体装置の製造方法および半導体製造装置
CN103258732B (zh) * 2013-05-07 2016-08-24 上海华力微电子有限公司 防止硅衬底表面损伤的方法
US9379132B2 (en) * 2014-10-24 2016-06-28 Sandisk Technologies Inc. NAND memory strings and methods of fabrication thereof
US20160172190A1 (en) * 2014-12-15 2016-06-16 United Microelectronics Corp. Gate oxide formation process
JP2016134614A (ja) * 2015-01-22 2016-07-25 ルネサスエレクトロニクス株式会社 半導体装置の製造方法
US11008431B2 (en) * 2016-03-31 2021-05-18 Lg Chem, Ltd. Method for preparing a barrier film
EP3291008A1 (en) * 2016-09-06 2018-03-07 ASML Netherlands B.V. Method and apparatus to monitor a process apparatus
US10971357B2 (en) * 2018-10-04 2021-04-06 Applied Materials, Inc. Thin film treatment process
CN111627810B (zh) * 2020-06-05 2022-10-11 合肥晶合集成电路股份有限公司 一种半导体结构及其制造方法
JP7618681B2 (ja) * 2020-06-29 2025-01-21 アプライド マテリアルズ インコーポレイテッド 化学機械研磨のための蒸気発生の制御
KR102497494B1 (ko) * 2021-06-03 2023-02-08 주식회사 기가레인 기판 배치 유닛
KR102461496B1 (ko) * 2021-06-03 2022-11-03 주식회사 기가레인 기판 배치 유닛
CN116759325B (zh) * 2023-08-23 2023-11-03 江苏卓胜微电子股份有限公司 用于监控离子注入剂量的阻值监控方法

Citations (4)

* Cited by examiner, † Cited by third party
Publication number Priority date Publication date Assignee Title
JP2001156059A (ja) * 1999-09-16 2001-06-08 Matsushita Electronics Industry Corp 絶縁膜の形成方法および半導体装置の製造方法
JP2005072358A (ja) * 2003-08-26 2005-03-17 Seiko Epson Corp 半導体装置の製造方法
JP2008053535A (ja) * 2006-08-25 2008-03-06 Toshiba Corp 半導体装置の製造方法及び不揮発性記憶装置の製造方法
WO2009093760A1 (ja) * 2008-01-24 2009-07-30 Tokyo Electron Limited シリコン酸化膜の形成方法、記憶媒体、および、プラズマ処理装置

Family Cites Families (9)

* Cited by examiner, † Cited by third party
Publication number Priority date Publication date Assignee Title
JP2004153037A (ja) * 2002-10-31 2004-05-27 Renesas Technology Corp 半導体装置の製造方法
JP4989076B2 (ja) * 2005-01-12 2012-08-01 オンセミコンダクター・トレーディング・リミテッド 半導体装置の製造方法
TW200629421A (en) * 2005-01-12 2006-08-16 Sanyo Electric Co Method of producing semiconductor device
JP4509864B2 (ja) * 2005-05-30 2010-07-21 東京エレクトロン株式会社 プラズマ処理方法およびプラズマ処理装置
US7799649B2 (en) * 2006-04-13 2010-09-21 Texas Instruments Incorporated Method for forming multi gate devices using a silicon oxide masking layer
WO2008026531A1 (en) * 2006-08-28 2008-03-06 National University Corporation Nagoya University Method of plasma oxidation processing
JP5229711B2 (ja) * 2006-12-25 2013-07-03 国立大学法人名古屋大学 パターン形成方法、および半導体装置の製造方法
JP5029089B2 (ja) * 2007-03-26 2012-09-19 東京エレクトロン株式会社 プラズマ処理装置用の載置台及びプラズマ処理装置
JPWO2009099252A1 (ja) * 2008-02-08 2011-06-02 東京エレクトロン株式会社 絶縁膜のプラズマ改質処理方法

Patent Citations (4)

* Cited by examiner, † Cited by third party
Publication number Priority date Publication date Assignee Title
JP2001156059A (ja) * 1999-09-16 2001-06-08 Matsushita Electronics Industry Corp 絶縁膜の形成方法および半導体装置の製造方法
JP2005072358A (ja) * 2003-08-26 2005-03-17 Seiko Epson Corp 半導体装置の製造方法
JP2008053535A (ja) * 2006-08-25 2008-03-06 Toshiba Corp 半導体装置の製造方法及び不揮発性記憶装置の製造方法
WO2009093760A1 (ja) * 2008-01-24 2009-07-30 Tokyo Electron Limited シリコン酸化膜の形成方法、記憶媒体、および、プラズマ処理装置

Also Published As

Publication number Publication date
KR20120069754A (ko) 2012-06-28
KR101380094B1 (ko) 2014-04-01
US20120184107A1 (en) 2012-07-19
JP2011097029A (ja) 2011-05-12
TW201125071A (en) 2011-07-16

Similar Documents

Publication Publication Date Title
KR101380094B1 (ko) 반도체 장치의 제조 방법
US8372761B2 (en) Plasma oxidation processing method, plasma processing apparatus and storage medium
JP5073482B2 (ja) シリコン酸化膜の製造方法、その制御プログラム、記憶媒体及びプラズマ処理装置
JP5231233B2 (ja) プラズマ酸化処理方法、プラズマ処理装置、及び、記憶媒体
KR101102690B1 (ko) 실리콘 산화막의 형성 방법, 플라즈마 처리 장치 및 기억 매체
US20110017586A1 (en) Method for forming silicon oxide film, storage medium, and plasma processing apparatus
JP5231232B2 (ja) プラズマ酸化処理方法、プラズマ処理装置、及び、記憶媒体
JP2012216632A (ja) プラズマ処理方法、及び素子分離方法
WO2008038788A1 (en) Method for forming silicon oxide film, plasma processing apparatus and storage medium
JP5271702B2 (ja) シリコン酸化膜の形成方法およびシリコン酸化膜の形成装置
WO2006025363A1 (ja) シリコン酸化膜の形成方法、半導体装置の製造方法およびコンピュータ記憶媒体

Legal Events

Date Code Title Description
121 Ep: the epo has been informed by wipo that ep was designated in this application

Ref document number: 10820541

Country of ref document: EP

Kind code of ref document: A1

WWE Wipo information: entry into national phase

Ref document number: 13498259

Country of ref document: US

NENP Non-entry into the national phase

Ref country code: DE

ENP Entry into the national phase

Ref document number: 20127011218

Country of ref document: KR

Kind code of ref document: A

122 Ep: pct application non-entry in european phase

Ref document number: 10820541

Country of ref document: EP

Kind code of ref document: A1